| Интервал сервисног одржавања | Поступак одржавања |
|---|---|
| Пре сваке употребе или свакодневно |
|
Ova traktor kosilica sa rotacionim sečivom je namenjena za upotrebu od strane stručnog, unajmljenog operatera. Prevashodno je projektovana za košenje trave na dobro održavanim travnjacima stambenih ili poslovnih objekata. Korišćenje ovog proizvoda za namene za koje nije predviđen može da bude opasno po vas i okolne posmatrače.
Pažljivo pročitajte ove informacije da biste naučili kako da pravilno koristite i održavate svoj uređaj i kako da izbegnete povrede i oštećenje proizvoda. Pravilno i bezbedno rukovanje proizvodom je vaša odgovornost.
Posetite www.Toro.com za materijale u vezi sa bezbednošću i za obuku za korišćenje proizvoda, za informacije o dodatnoj opremi, za pomoć u pronalaženju prodavca ili da biste registrovali svoj proizvod.
Kad god vam je potreban servis, originalni Toro delovi ili dodatne informacije, obratite se ovlašćenom serviseru ili Toro korisničkoj službi i pripremite broj modela i serijski broj vašeg proizvoda. Слика 1 pokazuje lokaciju modela i serijskog broja na proizvodu. Zapišite brojeve u za to predviđenom prostoru.
Important: Možete da mobilnim uređajem skenirate QR kôd na nalepnici sa serijskim brojem (ako je deo opreme) kako biste pristupili informacijama o garanciji, delovima i drugim informacijama o proizvodu.

Ovaj priručnik koristi 2 reči za isticanje informacija. Važno skreće pažnju na posebne mehaničke informacije, a Napomena naglašava opšte informacije koje zaslužuju posebnu pažnju.
Simbol za bezbednosno upozorenje (Слика 2) pojavljuje se i u ovom priručniku i na mašini radi označavanja važnih bezbednosnih poruka koje morate da pratite da biste izbegli nezgode. Simbol će se pojaviti praćen rečju Opasnost, Upozorenje ili Oprez.
Opasnost označava neminovnu opasnu situaciju koja će, ukoliko se ne izbegne, dovesti do teške povrede ili smrtnog slučaja.
Upozorenje označava potencijalno opasnu situaciju koja bi mogla, ukoliko se ne izbegne, dovesti do teške povrede ili smrtnog slučaja.
Oprez označava potencijalno opasnu situaciju koja može, ukoliko se ne izbegne, dovesti do manje ili umereno teške povrede.

Ovaj proizvod zadovoljava sve relevantne evropske direktive; za detalje pogledajte odvojeni list deklaracije o usaglašenosti (DOC) za određeni proizvod.
Potražite informacije proizvođača motora priložene uz ovu mašinu.
Bruto ili neto obrtni moment: bruto ili neto obrtni moment ovog motora je ocenio proizvođač motora u laboratoriji u skladu sa standardima J1940 ili J2723 Društva automobilskih inženjera (engl. Society of Automotive Engineers, SAE). S obzirom da je konfigurisan da zadovolji zahteve u pogledu bezbednosti, emisije i rada, stvarni obrtni moment motora na ovoj klasi kosilice biće značajno manji. Potražite informacije proizvođača motora priložene uz ovu mašinu.
КАЛИФОРНИЈА
Предлог 65 Упозорење
У савезној држави Калифорнија познато је да издувни гасови мотора овог производа садрже хемикалије које изазивају карцином, оштећења плода и друге репродуктивне проблеме.
У савезној држави Калифорнија познато је да стубићи и клеме акумулатора, као и додатна опрема, садрже олово и оловна једињења који изазивају карцином и репродуктивне проблеме. Оперите руке након руковања.
У савезној држави Калифорнија познато је да употреба овог производа може довести до излагања хемикалијама које изазивају карцином, оштећења плода и друге репродуктивне проблеме.
Ovaj proizvod je u stanju da amputira šake i stopala i da baca predmete. Uvek poštujte sva bezbednosna uputstva kako biste izbegli tešku telesnu povredu ili smrtni ishod.
Pre pokretanja motora, s razumevanjem pročitajte sadržaj ovog priručnika za operatera.
Vodite računa da posmatrači i deca budu na bezbednom rastojanju.
Ne dozvolite deci ili neobučenim osobama da koriste ili servisiraju mašinu. Samo osobama koje su odgovorne, obučene, upoznate sa uputstvima i fizički u stanju dozvolite da koriste ili servisiraju mašinu.
Uvek držite rol-bar u potpuno podignutom i zaključanom položaju i vezujte sigurnosni pojas.
Ne koristite mašinu blizu strmina, rovova, nasipa, vode ili drugih opasnih mesta, niti na nagibima većim od 15°.
Nemojte približavati šake ili stopala pokretnim komponentama mašine.
Nemojte da rukujete mašinom ako svi štitnici, bezbednosni prekidači i drugi sigurnosni zaštitni uređaji nisu na mestu i ne funkcionišu pravilno.
Pre nego što napustite položaj operatera, isključite motor, uklonite ključ i sačekajte da se svi pokretni delovi zaustave. Pre servisiranja, podešavanja, punjenja goriva, čišćenja ili odlaganja mašine, sačekajte da se ohladi.

![]() |
Bezbednosne nalepnice i uputstva su lako vidljivi operateru i nalaze se u blizini svake oblasti sa potencijalnom opasnošću. Zamenite svaku nalepnicu koja je oštećena ili nedostaje. |





















Pre pokretanja motora i rukovanja mašinom, upoznajte sve komande.

Prekidač kontakta, koji se koristi za pokretanje i isključivanje motora, ima 3 položaja: ISKLJUčENO, RAD i POKRETANJE. Pogledajte Pokretanje motora.
Prekidač za svetlo pali svetla u UKLJUčENOM položaju i gasi ih u ISKLJUčENOM položaju (Слика 5).
Koristite komandu čoka za pokretanje hladnog motora.
Komanda gasa kontroliše brzinu motora i ima kontinuirano-promenljivo podešavanje od SPORO do BRZO (Слика 5).
Prekidač za kontrolu sečiva, predstavljen simbolom priključnog vratila (PTO), aktivira i deaktivira pogon sečiva kosilice (Слика 5).
Brojač radnih sati beleži broj sati rada motora. On radi kada motor radi. Na osnovu tih vremena planirajte redovno održavanje (Слика 6).

Na brojaču radnih sati postoje simboli koji pomoću crnog trougla pokazuju da je komponenta za blokadu pravilno postavljena (Слика 6).
Ako okrenete prekidač kontakta u položaj UKLJUčENO na nekoliko sekundi, na mestu gde se obično prikazuje broj sati se prikaže napon akumulatora.
Lampica akumulatora se pali kada je prekidač kontakta uključen i kada je napunjenost ispod odgovarajućeg nivoa za rad (Слика 6).
Koristite ručice za kontrolu kretanja za vožnju mašine unapred, unazad i okretanje u bilo kom smeru (Слика 4).
Pomerite ručice za kontrolu kretanja prema spolja iz središnjeg položaja u NEUTRALNO ZAKLJUčANI položaj kada izlazite iz mašine (Слика 25). Ručice za kontrolu kretanja uvek postavite u NEUTRALNO ZAKLJUčANI položaj kada zaustavljate mašinu ili je ostavljate bez nadzora.
Kad god isključite motor, aktivirajte parkirnu kočnicu da biste sprečili slučajno pomeranje mašine.
Zatvorite nepovratni ventil za gorivo kada transportujete ili skladištite mašinu; pogledajte Korišćenje nepovratnog ventila za gorivo.
Note: Specifikacije i dizajn mogu da se promene bez najave.
| Kučište od 122 cm | Kučište od 132 cm | Kučište od 152 cm | |
|---|---|---|---|
| Bez kućišta kosilice | 129 cm | 137 cm | 140 cm |
| Usmerivač podignut | 141 cm | 150 cm | 166 cm |
| Usmerivač spušten | 160 cm | 171 cm | 191 cm |
| Usmerivač skinut | 132 cm | 141 cm | 156 cm |
| Pneumatici od 24" | Pneumatici od 26" | |
|---|---|---|
| Dužina | 219 cm | 220 cm |
| Pneumatici od 24" | Pneumatici od 26" | |
|---|---|---|
| Rol-bar – podignut | 182 cm | 185 cm |
| Rol-bar – spušten | 126 cm | 129 cm |
| Mašine | Težina |
| Mašine od 122 cm | 512 kg |
| Mašine od 132 cm | 531 do 540 kg |
| Mašine od 152 cm | 535 do 590 kg |
Radi poboljšanja i proširenja mogućnosti mašine, za korišćenje sa njom je dostupan izbor dodatne opreme i priključaka koje je odobrila kompanija Toro. Za listu odobrene dodatne opreme i priključaka obratite se ovlašćenom serviseru ili ovlašćenom distributeru kompanije Toro ili posetite www.Toro.com.
Da biste obezbedili optimalne performanse i produžetak bezbednosne sertifikacije mašine, koristite samo originalne zamenske delove i dodatnu opremu kompanije Toro. Zamenski delovi i dodatna oprema drugih proizvođača može biti opasna i njihovo korišćenje može da poništi garanciju za proizvod.
Note: Utvrdite levu i desnu stranu mašine iz uobičajenog položaja operatera.
Ne dozvolite deci ili neobučenim osobama da koriste ili servisiraju mašinu. Lokalni propisi mogu da ograniče starost operatera. Vlasnik je odgovoran za obuku svih operatera i mehaničara.
Pregledajte prostor na kom ćete koristiti mašinu i uklonite sve predmete koji bi mogli ometati rad mašine ili koje bi mašina mogla odbaciti.
Upoznajte se sa bezbednim korišćenjem opreme, komandama operatera i bezbednosnim znacima.
Proverite da li su kontrole za prisustvo operatera, bezbednosni prekidači i štitnici pričvršćeni i da li pravilno funkcionišu. Nemojte koristiti mašinu ako ne funkcioniše pravilno.
Pre nego što napustite položaj operatera, isključite motor, uklonite ključ i sačekajte da se svi pokretni delovi zaustave. Pre servisiranja, podešavanja, punjenja goriva, čišćenja ili odlaganja mašine, sačekajte da se ohladi.
Pre košenja, pregledajte mašinu da biste se uverili da sklopovi za sečenje pravilno funkcionišu.
Procenite teren da biste odredili odgovarajuću opremu i sve potrebne priključke ili dodatnu opremu za pravilno i bezbedno korišćenje mašine.
Nosite odgovarajuću odeću, uključujući zaštitu za oči; dugačke pantalone; izdržljivu neklizajuću obuću; i zaštitu za uši. Vežite dugu kosu i nemojte nositi široku odeću ili labavi nakit.
Nemojte voziti nikoga na mašini.
Posmatrače i ljubimce držite dalje od mašine tokom rada. Isključite mašinu i priključak(e) ako neko uđe u prostor.
Nemojte koristiti mašinu ako svi štitnici i sigurnosni uređaji, poput deflektora i/ili sakupljača trave, nisu na mestu i ne funkcionišu pravilno. Po potrebi zamenite pohabane ili dotrajale delove.
Gorivo je lako zapaljivo i vrlo eksplozivno. Požar ili eksplozija goriva može da izazove opekotine kod vas i drugih osoba i može oštetiti imovinu.
Da biste sprečili da statički elektricitet zapali gorivo, uklonite mašinu iz kamiona ili prikolice i napunite je na zemlji, daleko od svih vozila. Ako to nije moguće, postavite prenosni kanister za gorivo na zemlju, dalje od svih vozila, i napunite ga; zatim napunite mašinu gorivom iz kanistera sa gorivom, a ne iz mlaznice za doziranje goriva.
Rezervoar za gorivo punite napolju na ravnom tlu, na otvorenom prostoru i kada je motor hladan. Obrišite gorivo koje se prospe.
Nemojte rukovati gorivom dok pušite ili u blizini otvorenog plamena ili varnica.
Nemojte skidati poklopac za gorivo niti dolivati gorivo u rezervoar dok motor radi ili je vruć.
Ako prospete gorivo, ne pokušavajte da pokrenete motor. Izbegavajte stvaranje izvora paljenja dok se pare goriva ne rasprše.
Gorivo čuvajte u odobrenom kanistru i držite ga van domašaja dece.
Gorivo je štetno ili smrtonosno ako se proguta. Dugotrajno izlaganje parama može dovesti do teške povrede i bolesti.
Izbegavajte dugotrajno udisanje para.
Držite šake i lice podalje od mlaznice i otvora rezervoara za gorivo.
Gorivo držite podalje od očiju i kože.
Mašinu ili kanister sa gorivom nemojte skladištiti na mestu na kom ima otvorenog plamena, varnica ili pomoćni plamenik, kao na kotlu za grejanje vode ili na drugim aparatima.
Nemojte koristiti mašinu ako celi izduvni sistem nije na mestu i u ispravnom radnom stanju.
Držite mlaznicu za doziranje goriva u kontaktu sa obodom rezervoara za gorivo ili otvorom kanistra sve vreme dok se punjenje goriva ne završi. Nemojte koristiti uređaj za otvaranje/zatvaranje mlaznice.
Ako prolijete gorivo po odeći, odmah se presvucite.
Nemojte da prepunite rezervoar za gorivo. Vratite poklopac za gorivo i čvrsto ga zategnite.
Očistite travu i otpatke iz jedinice za sečenje, izduvnog lonca, pogona, sakupljača trave i motornog prostora kako biste pomogli u sprečavanju požara. Očistite prosuto ulje ili gorivo.
Za najbolje rezultate koristite samo čist, svež (star manje od 30 dana), bezolovni benzin sa oktanskim brojem 87 ili više ((R+M)/2 metod ocenjivanja).
Etanol: benzin sa do 10% etanola (gasohol) ili 15% MTBE (metil tercijarni butil etar) po zapremini je prihvatljiv. Etanol i MTBE nisu isto. Benzin sa 15% etanola (E15) po zapremini nije odobren za korišćenje. Nikad nemojte koristiti benzin koji sadrži više od 10% etanola po zapremini, kao što je E15 (sadrži 15% etanola), E20 (sadrži 20% etanola) ili E85 (sadrži do 85% etanola). Korišćenje nedozvoljenog benzina može dovesti do problema sa učinkom i/ili oštećenja motora, što možda nije pokriveno garancijom.
Nemojte koristiti benzin koji sadrži metanol.
Nemojte čuvati gorivo bilo u rezervoaru za gorivo ili kantici za gorivo preko zime osim ako ne koristite sredstvo za stabilizaciju goriva.
Nemojte dodavati ulje u benzin.
U mašini koristite stabilizator/regenerator goriva radi sledećih korisnih dejstava:
Gorivo duže održava svežim kada se koristi prema preporukama proizvođača stabilizatora za gorivo
Čisti motor dok motor radi
Eliminiše gumaste naslage u sistemu za gorivo koje uzrokuju teško pokretanje
Important: Nemojte koristiti aditive za gorivo koji sadrže metanol ili etanol.
Dodajte odgovarajuću količinu stabilizatora/regeneratora goriva u gorivo.
Note: Stabilizator/regenerator goriva je najefikasniji kada se meša sa svežim gorivom. Da smanjite opasnost od pojave naslaga u sistemu za gorivo uvek koristite stabilizator goriva.
Parkirajte mašinu na ravnoj površini.
Aktivirajte parkirnu kočnicu.
Isključite motor i uklonite ključ.
Očistite oko poklopca rezervoara za gorivo.
Napunite rezervoar za gorivo do dna cevi za punjenje (Слика 7).
Note: Nemojte da punite rezervoar za gorivo do kraja. Prazan prostor u rezervoaru omogućava širenje goriva.

Svakog dana pre pokretanja mašine obavite procedure pri svakom korišćenju / svakodnevne procedure navedene u .
Novim motorima treba vremena da razviju punu snagu. Kućište kosilice i pogonski sistemi imaju veće trenje kada su novi, što dodatno opterećuje motor. Dopustite 40 do 50 sati vremena uhodavanja da nove mašine razviju punu snagu i najbolje performanse.
Da izbegnete povredu ili smrtni ishod pri prevrtanju, držite rol-bar u potpuno podignutom i zaključanom položaju i vezujte sigurnosni pojas.
Proverite da je sedište pričvršćeno za mašinu.
Ne postoji zaštita pri prevrtanju kada je rol-bar u spuštenom položaju.
Spustite rol-bar samo kad je to apsolutno neophodno.
Nemojte nositi sigurnosni pojas kada je zaštitni ram u donjem položaju.
Vozite polako i pažljivo.
Podignite rol-bar čim rastojanje do prepreke to dozvoli.
Pažljivo proverite da li ima slobodnog prostora iznad glave (tj. grana, okvira za vrata ili električnih žica) pre vožnje ispod bilo kakvih predmeta i nemojte ih dodirivati.
Ako su prekidači bezbednosne blokade isključeni ili oštećeni, mašina može neočekivano da se aktivira i izazove telesnu povredu.
Nemojte vršiti neovlašćene izmene na prekidačima za blokiranje.
Svakodnevno proveravajte ispravnost prekidača za blokiranje i pre korišćenja mašine zamenite svaki prekidač koji je oštećen.
Sistem bezbednosne blokade je projektovan da spreči pokretanje motora ako sledeći uslovi nisu ispunjeni:
Parkirna kočnica je aktivirana.
prekidač za kontrolu sečiva (PTO) je deaktiviran.
Ručice za kontrolu kretanja su u NEUTRALNOM-ZAKLJUčANOM položaju.
Sistem bezbednosne blokade je takođe projektovan da isključi motor kad se ručice za kontrolu kretanja pomere iz NEUTRALNOG-ZAKLJUčANOG položaja kad je parkirna kočnica aktivirana ili ako ustanete sa sedišta kad je PTO aktiviran.
Brojač radnih sati ima indikatore koji obaveštavaju korisnika kad je komponenta za blokadu u ispravnom položaju. Kad je komponenta u ispravnom položaju, na ekranu se prikaže indikator.

| Интервал сервисног одржавања | Поступак одржавања |
|---|---|
| Пре сваке употребе или свакодневно |
|
Pre svakog korišćenja mašine testirajte sistem bezbednosne blokade. Ako bezbednosni sistem ne funkcioniše na način opisan u nastavku, odmah pozovite ovlašćenog servisera da ga popravi.
Sedite u sedište, aktivirajte parkirnu kočnicu i pomerite prekidač za kontrolu sečiva (PTO) u UKLJUčEN položaj. Pokušajte da pokrenete motor; motor ne bi trebalo da se pokrene.
Sedite u sedište, aktivirajte parkirnu kočnicu i pomerite prekidač za kontrolu sečiva (PTO) u ISKLJUčEN položaj. Pomerite bilo koju ručicu za kontrolu kretanja iz NEUTRALNOG-ZAKLJUčANOG položaja. Pokušajte da pokrenete motor; motor ne bi trebalo da se pokrene. Ponovite za drugu ručicu za kontrolu.
Sedite u sedište, aktivirajte parkirnu kočnicu, pomerite prekidač za kontrolu sečiva (PTO) u ISKLJUčEN položaj, a ručice za kontrolu kretanja pomerite u NEUTRALNI-ZAKLJUčANI položaj. Sad pokrenite motor. Dok motor radi, deaktivirajte parkirnu kočnicu, aktivirajte prekidač za kontrolu sečiva (PTO) i malo ustanite sa sedišta; motor bi trebalo da se isključi.
Sedite u sedište, aktivirajte parkirnu kočnicu, pomerite prekidač za kontrolu sečiva (PTO) u ISKLJUčEN položaj, a ručice za kontrolu kretanja pomerite u NEUTRALNI-ZAKLJUčANI položaj. Sad pokrenite motor. Dok motor radi, centrirajte bilo koju ručicu za kontrolu kretanja i pomerite je (unapred ili unazad); motor bi trebalo da se isključi. Ponovite za drugu ručicu za kontrolu kretanja.
Sedite u sedište, deaktivirajte parkirnu kočnicu, pomerite prekidač za kontrolu sečiva (PTO) u ISKLJUčEN položaj, a ručice za kontrolu kretanja pomerite u NEUTRALNI-ZAKLJUčANI položaj. Pokušajte da pokrenete motor; motor ne bi trebalo da se pokrene.
Sedište može da se pomera unapred i unazad. Namestite sedište tako da imate najbolju kontrolu nad mašinom i da vam bude najudobnije (Слика 11).

Sistem vešanja MyRide™ se podešava kako bi vožnja bila glatka i udobna. Možete da podesite zadnja 2 sklopa amortizera da brzo i lako promenite sistem vešanja. Postavite sistem vešanja gde će vam biti najudobnije.
Žlebovi za zadnje sklopove amortizera imaju zaustavne položaje kao referentne tačke. Zadnje sklopove amortizera možete postaviti bilo gde u žlebu, a ne samo u zaustavne položaje označene zaporima. Na sledećoj slici su prikazani položaji za meko ili tvrdo vešanje kao i različiti zaustavni položaji (Слика 12).

Note: Levi i desni sklop amortizera treba uvek da budu podešeni u isti položaj.
Podešavanje zadnjih sklopova amortizera (Слика 13).


Vlasnik/operater može da spreči i odgovoran je za nezgode koje mogu dovesti do telesne povrede ili oštećenja imovine.
Usredsredite svu pažnju dok upravljate mašinom. Nemojte se baviti aktivnostima koje odvlače pažnju; u suprotnom može doći do povrede ili materijalne štete.
Nemojte da rukujete mašinom kada ste bolesni, umorni ili pod uticajem alkohola ili opijata.
Dodirivanje sečiva može dovesti do teške telesne povrede. Pre nego što napustite položaj operatera, isključite motor, uklonite ključ i sačekajte da se svi pokretni delovi zaustave. Kada okrenete ključ u položaj ISKLJUČENO, motor bi trebalo da se isključi i sečivo bi trebalo da se zaustavi. Ako to nije slučaj, odmah prestanite da koristite mašinu i obratite se ovlašćenom serviseru.
Mašinom rukujte samo u uslovima dobre vidljivosti i odgovarajućim vremenskim uslovima. Nemojte koristiti mašinu kada postoji opasnost od udara groma.
Držite šake i stopala podalje od jedinica za sečenje. Držite se podalje od otvora za pražnjenje.
Nemojte kositi kada je usmerivač za pražnjenje podignut, uklonjen ili izmenjen osim ako je postavljen sistem za prikupljanje trave ili komplet za malč i ako pravilno funkcioniše.
Nemojte kositi unazad osim ako to nije apsolutno neophodno. Uvek pogledajte nadole i iza sebe pre pomeranja mašine unazad.
Budite naročito pažljivi kada prilazite slepim uglovima, žbunju, drveću ili drugim predmetima koji mogu da vam zaklone pogled.
Zaustavite sečiva kad god ne kosite.
Ako mašina udari u neki predmet ili počne da vibrira, odmah isključite motor, uklonite ključ (ako je deo opreme) i sačekajte da se svi pokretni delovi zaustave pre pregledanja mašine u potrazi za oštećenjem. Obavite sve potrebne popravke pre nego što nastavite sa radom.
Usporite i budite oprezni prilikom okretanja mašine i prelaska puteva i trotoara. Uvek prepustite prvenstvo prolaza.
Pre nego što napustite položaj operatera, uradite sledeće:
Parkirajte mašinu na ravnoj površini.
Deaktivirajte priključno vratilo i spustite priključke.
Aktivirajte parkirnu kočnicu.
Isključite motor i uklonite ključ.
Sačekajte da se svi pokretni delovi zaustave.
Motor pokrećite samo u dobro provetrenom prostoru. Izduvni gasovi sadrže ugljen-monoksid, koji je smrtonosan ako se udiše.
Nikada ne ostavljajte bez nadzora mašinu koja radi.
Pričvrstite opremu za vuču za mašinu samo na mestu pričvršćivanja.
Nemojte koristiti mašinu ako svi štitnici i sigurnosni uređaji, poput deflektora i/ili sakupljača trave, nisu na mestu i ne funkcionišu pravilno. Po potrebi zamenite pohabane ili dotrajale delove.
Koristite isključivo dodatnu opremu i priključke koje je odobrila kompanija Toro.
Ova mašina proizvodi nivoe buke veće od 85 dBA u nivou ušiju operatera i može izazvati gubitak sluha tokom dužeg perioda izlaganja.

Očistite travu i otpatke iz jedinice za sečenje, pogona, izduvnog lonca i motora kako biste pomogli u sprečavanju požara.
Pokrenite motor dok su vam stopala dovoljno daleko od sečiva.
Imajte u vidu putanju za pražnjenje kosilice i usmerite odvod dalje od drugih osoba. Izbegavajte pražnjenje materijala uz zid ili prepreku, jer bi materijal mogao da se odbije ka vama.
Zaustavite sečiva, usporite mašinu i budite pažljivi kada prelazite površine koje nisu travnate ili pri transportu mašine do i od radnog prostora.
Nemojte menjati brzinu regulatora motora i ne prekoračujte brzinu motora.
Decu često privlači mašina i košenje. Nemojte nikada pretpostavljati da će deca ostati tamo gde ste ih poslednji put videli.
Držite decu van radnog prostora i pod brižnim nadzorom odgovorne odrasle osobe koja nije operater.
Budite oprezni i isključite mašinu ako deca uđu u radni prostor.
Pre kretanja unazad ili okretanja mašine, pogledajte nadole i naokolo da se uverite da nema male dece u blizini.
Nemojte prevoziti decu na mašini, čak i kad se sečiva ne pokreću. Deca bi mogla da padnu sa mašine i da se teško povrede ili da vas spreče u bezbednom korišćenju mašine. Deca koja su ranije vožena na mašini mogu da se pojave u radnom prostoru bez upozorenja i postoji opasnost da ih mašina pregazi.
ROPS je integralni sigurnosni uređaj. Nemojte ukloniti nijedan deo ROPS sistema sa mašine.
Proverite da je sigurnosni pojas prikačen i da ga možete brzo otpustiti u hitnom slučaju.
Držite rol-bar u potpuno podignutom i zaključanom položaju i uvek vezujte sigurnosni pojas kad god je rol-bar podignut.
Pažljivo proverite da li postoje predmeti iznad glave pre nego što vozite ispod njih, i nemojte ih dodirivati.
Zamenite oštećene delove ROPS sistema. Nemojte ih popravljati niti prepravljati.
Ne postoji zaštita pri prevrtanju kada je rol-bar spušten.
Točkovi koji skliznu preko ivica, preko strmina ili u vodu mogu da izazovu prevrtanje, što može dovesti to teške povrede ili smrtnog ishoda.
Nemojte vezivati sigurnosni pojas kada je rol-bar spušten.
Spustite rol-bar samo kad je to neophodno; podignite ga čim rastojanje do prepreke to dozvoli.
U slučaju prevrtanja, odnesite mašinu ovlašćenom serviseru da pregleda ROPS.
Za ROPS koristite samo priključke i dodatnu opremu koje je odobrila kompanija Toro.
Nagibi su glavni faktor povezan sa gubitkom kontrole i nezgodama sa prevrtanjem, što može dovesti do teške povrede ili smrtnog ishoda. Operater je odgovoran za bezbedno upravljanje na nagibu. Korišćenje mašine na bilo kom nagibu zahteva dodatnu pažnju. Pre korišćenja mašine na nagibu, uradite sledeće:
Pročitajte s razumevanjem uputstva za nagibe u priručniku i na mašini.
Iskoristite indikator ugla da biste odredili približni ugao nagiba oblasti.
Nemojte nikada raditi na nagibima većim od 15°.
Procenite uslove tog dana na lokaciji da biste odredili da li je nagib bezbedan za korišćenje mašine. Tu procenu obavite koristeći zdrav razum i dobro rasuđivanje. Promene u terenu, poput vlage, mogu brzo da utiču na rad mašine na nagibu.
Prepoznajte opasnosti pri dnu nagiba. Ne koristite mašinu blizu strmina, rovova, nasipa, vode ili drugih opasnih mesta. Mašina bi mogla iznenada da se prevrne ako točak sklizne preko ivice ili ako se ivica uruši. Održavajte bezbedno rastojanje (dvostruku širinu mašine) između mašine i bilo kakve opasnosti. Travu u ovim oblastima pokosite pomoću samohodne kosilice ili ručnog trimera.
Izbegavajte pokretanje, zaustavljanje ili okretanje mašine na nagibima. Izbegavajte nagle promene brzine ili pravca; skrećite polako i postepeno.
Nemojte upravljati mašinom u uslovima kada je u pitanje dovedeno prianjanje, upravljanje ili stabilnost. Imajte u vidu da korišćenje mašine na mokroj travi, poprečno po nagibima ili nizbrdo može dovesti do gubitka prianjanja mašine. Gubitak prianjanja pogonskih točkova može dovesti do klizanja i gubitka mogućnosti kočenja i upravljanja. Mašina može da sklizne čak i kada su pogonski točkovi zaustavljeni.
Uklonite ili obeležite prepreke poput rovova, rupa, brazdi, izbočina, kamenja ili drugih skrivenih opasnosti. Visoka trava može da sakriva prepreke. Neravan teren može da prevrne mašinu.
Budite naročito pažljivi dok koristite dodatnu opremu ili priključke, kao što su sistemi za prikupljanje trave. Oni mogu da promene stabilnost mašine i dovedu do gubitka kontrole. Pratite uputstva za kontra tegove.
Ako je moguće, kada radite na nagibima držite kućište spušteno do zemlje. Podizanje kućišta dok radite na nagibima može dovesti do toga da mašina postane nestabilna.

Koristite kućište kosilice kao stepenik da sednete u položaj operatera (Слика 16).

Parkirnu kočnicu uvek aktivirajte kada mašinu zaustavite ili ostavite bez nadzora.
Parkirajte mašinu na ravnoj površini.


Prekidač za kontrolu sečiva (PTO) pokreće i zaustavlja sečiva kosilice i sve pogonjene priključke.
Note: Aktiviranje prekidača za kontrolu sečiva (PTO) sa položajem gasa na pola ili manje izaziva prekomerno habanje pogonskih kaiševa.


Komandu gasa možete pomerati između položaja BRZO i SPORO (Слика 21).
Uvek koristite položaj BRZO prilikom aktiviranja PTO.

Note: Topao ili vruć motor možda neće zahtevati pokretanje čoka.
Important: Nemojte uključivati starter duže od 5 sekundi odjednom. Uključivanje startera duže od 5 sekundi može oštetiti starter. Ako se motor ne pokreće, sačekajte 10 sekundi pre ponovnog pokretanja startera motora.

Deca ili posmatrači se mogu povrediti ako pomeraju ili pokušaju da koriste mašinu bez nadzora.
Uvek uklonite ključ i aktivirajte parkirnu kočnicu kada ostavljate mašinu bez nadzora.


Pogonski točkovi se okreću samostalno, pokreću ih hidraulični motori na svakoj osovini. Možete okrenuti jednu stranu unazad dok drugu okrećete unapred, što dovodi do rotiranja mašine umesto skretanja. To umnogome poboljšava manevrisanje mašinom, ali će vam možda trebati neko vreme da se prilagodite načinu na koji se kreće.
Komanda gasa reguliše brzinu motora mereno u o/min (broj obrtaja u minuti). Postavite komandu gasa u položaj BRZO za najbolje performanse. Uvek radite u položaju punog gasa kada kosite.
Mašina se može rotirati vrlo brzo. Možete da izgubite kontrolu nad mašinom i time dovesti do telesne povrede ili oštećenja mašine.
Budite pažljivi prilikom skretanja.
Usporite mašinu pre oštrih skretanja.
Note: Motor se isključuje kada pomerite kontrolu gasa dok je parkirna kočnica aktivirana.
Da zaustavite mašinu, postavite ručice za kontrolu kretanja u NEUTRALNI položaj.
Deaktivirajte parkirnu kočnicu.
Pomerite ručice za kontrolu kretanja u središnji, otključani položaj.
Za kretanje napred, polako gurnite ručice za kontrolu kretanja unapred (Слика 26).

Pomerite ručice za kontrolu kretanja u središnji, otključani položaj.
Za kretanje unazad, polako gurnite ručice za kontrolu kretanja unazad (Слика 27).

Kosilica ima preklopni usmerivač za travu koji rasipa pokošenu travu u stranu i nadole prema travnjaku.
Bez montiranog usmerivača za travu, poklopca odvoda ili čitavog sklopa sakupljača za travu, vi i druge osobe ste izloženi dodiru sa sečivom i bačenim otpacima. Kontakt sa rotirajućim sečivom/sečivima kosilice i bačenim otpacima će dovesti do povrede ili smrtnog ishoda.
Nikada ne uklanjajte usmerivač za travu sa kućišta kosilice, jer usmerivač za travu usmerava materijal nadole prema travnjaku. Ako se usmerivač za travu ikada ošteti, odmah ga zamenite.
Nikada nemojte stavljati šake ili stopala ispod kućišta kosilice.
Nemojte nikada pokušavati da očistite prostor za pražnjenje ili sečiva kosilice ako pre toga niste prebacili prekidač za kontrolu sečiva (PTO) u položaj ISKLJUčENO, okrenuli prekidač kontakta u položaj ISKLJUčENO i uklonili ključ iz prekidača kontakta.
Proverite da li je usmerivač za travu u spuštenom položaju.
Možete da podesite visinu košenja od 38 do 140 mm u koracima od po 6 mm premeštanjem osigurača u različite rupe.
Pritisnite papučicu za podizanje kućišta do kraja da bi se kućište kosilice blokiralo u položaju za TRANSPORT (takođe i položaj za visinu košenja od 140 mm) kako je prikazano na Слика 29.
Za podešavanje visine izvadite osigurač iz nosača za visinu košenja (Слика 29).
Izaberite rupu u nosaču za visinu košenja koja odgovara željenoj visini košenja, pa umetnite osigurač (Слика 29).
Pritisnite papučicu za podizanje kućišta, gurnite transportnu blokadu unapred, pa polako spustite kućište kosilice.

Pritisnite prekidač za podizanje kućišta nagore (Слика 30).

Izaberite rupu u nosaču za visinu košenja koja odgovara željenoj visini košenja, pa umetnite osigurač (Слика 31).
Pritisnite prekidač za podizanje kućišta nadole dok veza za visinu košenja ne dođe u blagi kontakt sa osiguračem za visinu košenja (Слика 31).
Note: Previše kontakta između veze za visinu košenja i osigurača za visinu košenja može negativno da utiče na visinu košenja i nivelisanje kućišta kosilice.

Svaki put kada promenite visinu košenja, podesite visinu valjaka protiv struganja.
Note: Podesite valjke protiv struganja tako da valjci ne dodiruju zemlju u normalnim, ravnim područjima košenja.
Parkirajte mašinu na ravnoj površini, deaktivirajte prekidač za kontrolu sečiva i aktivirajte parkirnu kočnicu.
Pre nego što napustite položaj operatera, isključite motor, uklonite ključ i sačekajte da se svi pokretni delovi zaustave.
Podesite valjke protiv struganja kao što je prikazano na Слика 32.

Za najbolje košenje i maksimalnu cirkulaciju vazduha, motor pokrećite u položaju BRZO. Vazduh je potreban za temeljno sečenje pokošene trave, zato ne postavljajte visinu košenja toliko nisko da u potpunosti okružite kosilicu nepokošenom travom. Uvek pokušajte da jedna strana kosilice bude slobodna od nepokošene trave, što omogućava uvlačenje vazduha u kućište kosilice.
Kosite travu na malo veću visinu od uobičajene kako biste se uverili da visina košenja kućišta kosilice ne struže neravno tlo. Ipak, uglavnom je visina košenja koja je ranije korišćena ona koju je najbolje koristiti. Prilikom košenja trave više od 15 cm, možda je bolje da dvaput pokosite travnjak kako biste postigli prihvatljivi kvalitet košenja.
Najbolje je pokositi samo oko trećine vlati trave. Ne preporučuje se da skraćujete travu više od toga, osim ako je proređena ili ako je kasna jesen kada trava sporije raste.
Naizmenično menjajte smer košenja da bi trava stajala uspravno. To pomaže i u rasipanju pokošene trave, što poboljšava razlaganje i đubrenje.
Trava raste različitom brzinom u različita doba godine. Da biste održali istu visinu košenja, češće kosite u rano proleće. Kako se brzina rasta trave usporava sredinom leta, kosite ređe. Ako niste u mogućnosti da kosite duži vremenski period, najpre pokosite na većoj visini košenja, a zatim za 2 dana pokosite na nižoj postavci visine.
Da biste poboljšali kvalitet košenja, u određenim uslovima koristite manju brzinu kretanja.
Kada kosite neravan travnjak, podignite visinu košenja da biste izbegli struganje travnjaka.
Ako morate da prekinete kretanje mašine unapred tokom košenja, na vaš travnjak može pasti grumen pokošene trave. Da biste to izbegli, pređite na prethodno pokošenu površinu sa aktiviranim sečivima ili možete da deaktivirate kućište kosilice dok se krećete unapred.
Nakon svake upotrebe očistite ostatke pokošene trave i prljavštinu sa donje strane kućišta kosilice. Ako se unutar kućišta kosilice nakupi trava i prljavština, kvalitet košenja će na kraju postati nezadovoljavajući.
Sečivo održavajte oštrim tokom sezone košenja, jer oštro sečivo kosi pravilno, bez kidanja ili komadanja vlati trave. Kidanje i komadanje dovodi do toga da trava postane smeđa na ivicama, što usporava rast i povećava mogućnost razvoja bolesti. Nakon svake upotrebe proverite oštrinu sečiva kosilice, kao i ima li znaka istrošenosti ili oštećenja. Isturpijajte sve zareze i naoštrite sečiva po potrebi. Ako je sečivo oštećeno ili pohabano, odmah ga zamenite originalnim Toro zamenskim sečivom.
Pre nego što napustite položaj operatera aktivirajte parkirnu kočnicu, isključite motor, uklonite ključ i sačekajte da se svi pokretni delovi zaustave. Pre servisiranja, podešavanja, punjenja goriva, čišćenja ili odlaganja mašine, sačekajte da se ohladi.
Očistite travu i otpatke iz jedinice za sečenje, izduvnog lonca, pogona, sakupljača trave i motornog prostora kako biste pomogli u sprečavanju požara. Očistite prosuto ulje ili gorivo.
Pre skladištenja ili transportovanja mašine zatvorite dovod goriva i uklonite ključ.
Zatvorite nepovratni ventil za gorivo prilikom transporta, održavanja i skladištenja (Слика 33).
Pazite da je nepovratni ventil za gorivo otvoren kada pokrećete motor.


Šake se mogu uplesti u rotirajuće pogonske komponente ispod kućišta motora, što može dovesti do teške povrede.
Pre nego što pristupate ventilima za otpuštanje pogonskih točkova isključite motor, uklonite ključ i sačekajte da se svi pokretni delovi zaustave.
Motor i jedinice sa hidrauličnim pogonom mogu biti vrući. Dodirivanje vrućeg motora ili jedinica sa hidrauličnim pogonom može da izazove teške opekotine.
Pustite motor i jedinice sa hidrauličnim pogonom da se potpuno ohlade pre nego što pristupate ventilima za otpuštanje pogonskih točkova.
Ventili za otpuštanje pogonskih točkova se nalaze sa leve i desne strane ispod kućišta motora.
Parkirajte mašinu na ravnoj površini, deaktivirajte prekidač za kontrolu sečiva i aktivirajte parkirnu kočnicu.
Pre nego što napustite položaj operatera, isključite motor, uklonite ključ i sačekajte da se svi pokretni delovi zaustave.
Da biste gurali mašinu pomerite obe ručice za premošćavanje unapred i blokirajte ih na mestu (Слика 34).
Pre guranja mašine deaktivirajte parkirnu kočnicu.
Da biste koristili mašinu pomerite ručice za premošćavanje unazad i blokirajte ih na mestu (Слика 34).

Za transportovanje mašine koristite prikolicu ili kamion predviđene za teške primene. Koristite rampu pune širine. Proverite da li prikolica ili kamion poseduju sve neophodne kočnice, svetlosnu signalizaciju i oznake u skladu sa zakonom. Pažljivo pročitajte sva bezbednosna uputstva. Poznavanje ovih informacija može pomoći u izbegavanju povrede kod vas ili posmatrača. Pogledajte lokalne propise za prikolice i zahteve za vezivanje.
Vožnja ulicom ili putem bez migavaca, svetala, reflektivnih oznaka ili simbola za sporohodno vozilo je opasna i može da izazove nezgode sa telesnim povredama.
Nemojte voziti mašinu javnim ulicama ili putevima.
Utovar mašine na prikolicu ili kamion povećava mogućnost prevrtanja i može dovesti do teške povrede ili smrtnog ishoda (Слика 35).
Koristite samo rampu pune širine; nemojte koristiti pojedinačne rampe za svaku stranu mašine.
Ne premašujte ugao od 15 stepeni između rampe i tla ili između rampe i prikolice ili kamiona.
Postarajte se da dužina rampe bude barem 4 puta duža od visine poda prikolice ili kamiona od zemlje. To obezbeđuje da ugao rampe ne prekorači 15 stepeni na ravnom tlu.

Utovar mašine na prikolicu ili kamion povećava mogućnost prevrtanja i može dovesti do teške povrede ili smrtnog ishoda.
Budite naročito pažljivi prilikom upravljanja mašinom na rampi.
Vozite mašinu unazad uz rampu i vozite mašinu unapred niz rampu.
Kada vozite mašinu po rampi izbegavajte naglo ubrzavanje ili usporavanje, jer to može dovesti do gubitka kontrole ili prevrtanja.
Ako koristite prikolicu, povežite je sa vučnim vozilom i povežite bezbednosne lance.
Ako je primenljivo, povežite kočnice i svetla prikolice.
Spustite rampu, vodeći računa da ugao između rampe i tla ne bude veći od 15 stepeni (Слика 35).
Vozite mašinu unazad uz rampu (Слика 36).

Isključite motor, izvadite ključ i aktivirajte parkirnu kočnicu.
Privežite mašinu blizu prednjih točkova i zadnjeg okvira pomoću traka, lanaca, sajli ili užadi (Слика 37). Pogledajte lokalne propise za zahteve za vezivanje.

Ako ostavite ključ u prekidaču, neko bi mogao slučajno da pokrene motor i da ozbiljno povredi vas ili nekog od posmatrača. Pre bilo kakvog održavanja, uklonite ključ iz prekidača.
Pre nego što napustite položaj operatera, uradite sledeće:
Parkirajte mašinu na ravnoj površini.
Deaktivirajte pogone.
Aktivirajte parkirnu kočnicu.
Isključite motor i uklonite ključ.
Pre održavanja sačekajte da se komponente mašine ohlade.
Ne dozvolite neobučenom osoblju da servisira mašinu.
Držite šake i stopala podalje od pokretnih delova ili vrućih površina. Ako je moguće, nemojte vršiti podešavanja dok motor radi.
Pažljivo oslobodite pritisak iz komponenti sa uskladištenom energijom.
Često proveravajte ispravnost parkirne kočnice. Podešavajte je i servisirajte po potrebi.
Nemojte nikada vršiti neovlašćene izmene na bezbednosnim uređajima. Redovno proveravajte njihovu ispravnost.
Očistite travu i otpatke iz jedinice za sečenje, izduvnog lonca, pogona, sakupljača trave i motornog prostora kako biste sprečili požar.
Očistite prosuto ulje ili gorivo i uklonite ostatke natopljene gorivom.
Ne oslanjajte se na hidrauličke ili mehaničke dizalice za podupiranje mašine; pri svakom podizanju mašine, poduprite je podupiračima.
Sve delove održavajte u dobrom radnom stanju i vodite računa da svi zavrtnji budu dobro pritegnuti, naročito oni za pričvršćivanje sečiva. Zamenite sve pohabane ili oštećene nalepnice.
Pre popravljanja mašine odvojite kabl od negativnog terminala akumulatora.
Da biste obezbedili optimalne performanse, koristite samo originalne zamenske delove i dodatnu opremu kompanije Toro. Zamenski delovi i dodatna oprema drugih proizvođača može biti opasna i njihovo korišćenje može da poništi garanciju za proizvod.
| Интервал сервисног одржавања | Поступак одржавања |
|---|---|
| Након првих 100 сати |
|
| Пре сваке употребе или свакодневно |
|
| Након сваке употребе |
|
| Сваких 50 сати |
|
| Сваких 100 сати |
|
| Сваких 200 сати |
|
| Сваких 250 сати |
|
| Сваких 400 сати |
|
| Na svakih 400 radnih sati ili godišnje, koji se uslov pre ispuni |
|
| Сваких 500 сати |
|
| Месечно |
|
| Годишње |
|
| Годишње или пре складиштења |
|
Important: Dodatne postupke održavanja potražite u priručniku za vlasnike motora.
Ako ostavite ključ u prekidaču, neko bi mogao slučajno da pokrene motor i da ozbiljno povredi vas ili nekog od posmatrača.
Pre bilo kakvog održavanja, isključite motor i uklonite ključ iz prekidača.
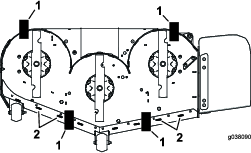
Skinite rascepku da otpustite pregradu kućišta kosilice i pristupite vrhu kućišta kosilice. Kada obavite održavanje montirajte pregradu pomoću prethodno skinute rascepke.
Olabavite 2 prednja zavrtnja i skinite limeni štitnik da pristupite kaiševima i vretenima kosilice (Слика 38). Kada obavite održavanje montirajte limeni štitnik i zategnite zavrtnje.

Podmazujte mašinu češće u prljavim ili prašnjavim uslovima.
Tip maziva: litijumova ili molibdenova mast br. 2
Parkirajte mašinu na ravnoj površini, deaktivirajte prekidač za kontrolu sečiva i aktivirajte parkirnu kočnicu.
Pre nego što napustite položaj operatera, isključite motor, uklonite ključ i sačekajte da se svi pokretni delovi zaustave.
Mazalice obrišite krpom.
Note: Sastružite boju sa prednje strane mazalice(a).
Priključite pištolj za podmazivanje na mazalicu.
Upumpavajte mazivo u mazalice dok mazivo ne počne da curi iz ležajeva.
Obrišite višak maziva.
| Интервал сервисног одржавања | Поступак одржавања |
|---|---|
| Сваких 100 сати |
|
Pomoću laganog ulja ili maziva u spreju podmažite obrtne oslonce za podizanje kućišta.

| Интервал сервисног одржавања | Поступак одржавања |
|---|---|
| Сваких 400 сати |
|
| Годишње |
|
Parkirajte mašinu na ravnoj površini, deaktivirajte prekidač za kontrolu sečiva i aktivirajte parkirnu kočnicu.
Pre nego što napustite položaj operatera, isključite motor, uklonite ključ i sačekajte da se svi pokretni delovi zaustave.
Skinite poklopac za prašinu i podesite rukavce zakretnih točkova i nemojte vraćati poklopac za prašinu dok ne završite podmazivanje; pogledajte Podmazivanje mašine.
Skinite heksagonalni čep.
Uvucite mazalicu u rupu.
Ubrizgavajte mazivo u mazalicu dok ne procuri oko gornjeg ležaja.
Izvucite mazalicu iz rupe. Montirajte heksagonalni čep i poklopac.
| Интервал сервисног одржавања | Поступак одржавања |
|---|---|
| Годишње |
|
Parkirajte mašinu na ravnoj površini, deaktivirajte prekidač za kontrolu sečiva i aktivirajte parkirnu kočnicu.
Pre nego što napustite položaj operatera, isključite motor, uklonite ključ i sačekajte da se svi pokretni delovi zaustave.
Podignite kosilicu da biste imali pristup.
Skinite zakretni točak sa viljuške točka.
Skinite štitnik zaptivke sa glavčine točka.

Skinite odstojnu navrtku sa sklopa osovine u zakretnom točku.
Note: Jedinjenje za osiguranje navoja je naneto kako bi se odstojne navrtke pričvrstile za osovinu.
Skinite osovinu (sa drugom odstojnom navrtkom i dalje pričvršćenom za nju) sa sklopa točka.
Izvucite zaptivke i pregledajte ležajeve za znakove habanja ili oštećenja i po potrebi ih zamenite.
Napunite ležajeve mazivom opšte namene.
Umetnite 1 ležaj i 1 novu zaptivku u točak.
Ako na sklopu osovine nedostaju obe odstojne zaptivke, nanesite jedinjenje za osiguranje navoja na 1 odstojnu navrtku i zavrnite je na osovinu sa ravnim delovima za ključ okrenutim prema spolja.
Note: Nemojte je do kraja zavrnuti na kraj osovine. Ostavite oko 3 mm prostora od spoljašnje površine odstojne navrtke do kraja osovine u navrtki.
Umetnite osovinu sa navrtkom u točak na strani sa novom zaptivkom i ležajem.
Sa otvorenim krajem točka okrenutim na gore, napunite prostor unutar točka oko osovine mazivom opšte namene.
Umetnite drugi ležaj i novu zaptivku u točak.
Nanesite jedinjenje za osiguranje navoja na drugu odstojnu navrtku i zavrnite je na osovinu sa ravnim delovima za ključ okrenutim prema spolja.
Zategnite navrtku momentom od 8 do 9 N∙m, olabavite navrtku, pa je zategnite momentom od 2 do 3 N∙m.
Note: Pazite da osovina ne izlazi ni iz jedne od navrtki.
Postavite štitnike zaptivni na glavčinu točka pa umetnite točak u viljušku točka.
Montirajte zavrtanj točka i zategnite ga do kraja.
Important: Često proveravajte podešenost ležaja kako biste izbegli oštećenje zaptivke i ležaja. Zavrtite točak. Točak ne bi trebalo da se vrti slobodno (više od 1 ili 2 obrta) niti da ima praznog hoda sa strane. Ako se točak slobodno vrti, podesite zategnutost odstojne navrtke dok se ne oseti malo otpora. Nanesite još jedan sloj jedinjenja za osiguranje navoja.
Držite šake, stopala, lice, druge delove tela i odeću podalje od izduvnog lonca i drugih vrućih površina. Pre održavanja sačekajte da se komponente motora ohlade.
Nemojte menjati brzinu regulatora motora i ne prekoračujte brzinu motora.
| Интервал сервисног одржавања | Поступак одржавања |
|---|---|
| Сваких 250 сати |
|
| Сваких 500 сати |
|
Note: Češće servisirajte čistač vazduha ako su uslovi rada izrazito prašnjavi ili peskoviti.
Parkirajte mašinu na ravnoj površini, deaktivirajte prekidač za kontrolu sečiva (PTO) i aktivirajte parkirnu kočnicu.
Pre nego što napustite položaj operatera, isključite motor, uklonite ključ i sačekajte da se svi pokretni delovi zaustave.
Otpustite brave na čistaču vazduha i svucite poklopac čistača vazduha sa tela čistača vazduha (Слика 41).

Očistite unutrašnjost poklopca čistača vazduha komprimovanim vazduhom.
Polako izvucite primarni filter iz tela čistača vazduha (Слика 41).
Note: Izbegavajte udarce filtera u bočnu stranu tela.
Uklonite sigurnosni filter samo da biste ga zamenili.
Pregledajte sigurnosni filter. Ako je prljav, zamenite i sigurnosni i primarni filter.
Important: Ne pokušavajte da očistite sigurnosni filter. Ako je sigurnosni filter prljav, onda je primarni filter oštećen.
Pregledajte da li ima oštećenja na primarnom filteru gledajući u filter dok jakim svetlom obasjavate spoljašnju stranu filtera. Ako je primarni filter prljav, savijen ili oštećen, zamenite ga.
Note: Rupe u filteru se vide kao svetle tačke. Nemojte čistiti primarni filter.
Important: Da biste sprečili oštećenje motora, koristite motor samo ako su postavljena oba filtera za vazduh i poklopac.
Ako postavljate nove filtere, proverite svaki filter na oštećenja usled transporta.
Note: Nemojte koristiti oštećeni filter.
Ako menjate unutrašnji filter, pažljivo ga gurnite u telo filtera (Слика 41).
Pažljivo navucite primarni filter preko sigurnosnog filtera (Слика 41).
Note: Pazite da primarni filter u potpunosti nalegne tako što ćete pritiskati spoljašnji obod dok ga postavljate.
Important: Nemojte pritiskati meko, unutrašnje područje filtera.
Postavite poklopac čistača vazduha i pričvrstite bravama (Слика 41).
| Интервал сервисног одржавања | Поступак одржавања |
|---|---|
| Пре сваке употребе или свакодневно |
|
| Сваких 100 сати |
|
| Сваких 200 сати |
|
Tip ulja: deterdžentno ulje (API servis SF, SG, SH, SJ ili SL)
Kapacitet kućišta motora:
Motori Kawasaki FX691 – 2,0 l sa zamenom ulja; 1,8 l bez zamene ulja
Motori Kawasaki FX801 – 2,3 l sa zamenom ulja; 2,1 l bez zamene ulja
Viskoznost: pogledajte donju tabelu.

Note: Iako je motorno ulje 10W-40 preporučeno za većinu uslova, možda ćete morati da promenite viskoznost ulja da biste se prilagodili vremenskim uslovima. Korišćenje motornog ulja 20W-50 pri višim okolnim temperaturama može da smanji potrošnju ulja.
Note: Proverite ulje kada je motor hladan.
Important: Ako sipate previše ili premalo ulja u kućište radilice motora i pokrenete motor, time možete oštetiti motor.
Parkirajte mašinu na ravnoj površini, deaktivirajte prekidač za kontrolu sečiva (PTO) i aktivirajte parkirnu kočnicu.
Pre nego što napustite položaj operatera, isključite motor, uklonite ključ i sačekajte da se svi pokretni delovi zaustave.
Note: Uverite se da je motor hladan tako da ima vremena da ulje iscuri u karter.
Da biste sačuvali motor od prljavštine, pokošene trave itd., očistite područje oko poklopca za ulje i šipke za merenje ulja pre nego što je izvučete (Слика 43).


Note: Iskorišćeno ulje odložite u centar za reciklažu.
Pokrenite motor i pustite ga da radi 5 minuta.
Note: Time se ulje zagreva da bi se bolje ispustilo.
Parkirajte mašinu tako da strana odvoda bude nešto niža od suprotne strane da bi ulje sigurno u potpunosti iscurilo.
Deaktivirajte prekidač za kontrolu sečiva (PTO) i aktivirajte parkirnu kočnicu.
Pre nego što napustite položaj operatera, isključite motor, uklonite ključ i sačekajte da se svi pokretni delovi zaustave.
Ispustite ulje iz motora (Слика 44).


Polako sipajte oko 80% specifikovanog ulja u cev za punjenje i polako dodajte dodatno ulje dok ne dođe do oznake za pun rezervoar (Слика 45).

Pokrenite motor i odvezite mašinu do ravne površine.
Ponovo proverite nivo ulja.
Ispustite ulje iz motora; pogledajte Zamena motornog ulja.
Zamenite filter za motorno ulje (Слика 46).


Note: Proverite da li zaptivka filtera za ulje dodiruje motor, a zatim okrenite filter za ulje za dodatnih ¾ kruga.
Napunite kućište motora odgovarajućim tipom novog ulja; pogledajte Specifikacije motornog ulja.
| Интервал сервисног одржавања | Поступак одржавања |
|---|---|
| Сваких 100 сати |
|
Proverite da li je vazdušni razmak između centralne i bočnih elektroda ispravan pre postavljanja svećice. Koristite ključ za svećice za uklanjanje i postavljanje svećice i alat za razdvajanje ili merni list za proveru i podešavanje vazdušnog razmaka. Postavite novu svećicu ako je potrebno.
Tip svećice:
Motori Kawasaki FX691 i FX801 – NGK® BPR4ES ili ekvivalentna
Vazdušni zazor: 0,75 mm
Parkirajte mašinu na ravnoj površini, deaktivirajte prekidač za kontrolu sečiva (PTO) i aktivirajte parkirnu kočnicu.
Pre nego što napustite položaj operatera, isključite motor, uklonite ključ i sačekajte da se svi pokretni delovi zaustave.
Očistite područje oko dna utikača kako biste sprečili ulazak prljavštine i ostataka u motor.
Locirajte i uklonite svećicu(e) kako je prikazano na Слика 47.


Important: Nemojte čistiti svećicu(e). Uvek zamenite svećicu(e) ako ima crni premaz, istrošene elektrode, uljni film ili pukotine.
Ako vidite svetlobraon ili sivu boju na izolatoru, motor radi pravilno. Crni premaz na izolatoru obično znači da je čistač vazduha prljav.
Podesite razmak na 0,75 mm.


U određenim uslovima, gorivo je lako zapaljivo i vrlo eksplozivno. Požar ili eksplozija goriva može da izazove opekotine kod vas i drugih osoba i može oštetiti imovinu.
Pogledajte Bezbednost goriva za kompletnu listu mera opreza u vezi sa gorivom.
| Интервал сервисног одржавања | Поступак одржавања |
|---|---|
| Сваких 500 сати |
|
Important: Postavite creva voda za gorivo i pričvrstite ih plastičnim vezicama kako su originalno postavljena u fabrici kako bi vod za gorivo bio odmaknut od komponenti koje mogu da ga oštete.
Nikada ne postavljajte prljavi filter nakon njegovog uklanjanja iz voda za gorivo.
Filter za gorivo se nalazi blizu motora, sa njegove prednje leve strane.
Parkirajte mašinu na ravnoj površini, deaktivirajte prekidač za kontrolu sečiva (PTO) i aktivirajte parkirnu kočnicu.
Pre nego što napustite položaj operatera, isključite motor, uklonite ključ i sačekajte da se svi pokretni delovi zaustave.
Sačekajte da se mašina potpuno ohladi.
Zamenite filter za gorivo (Слика 50).
Note: Pazite da strelica za smer toka na zamenskom filteru bude okrenuta ka motoru.

Nemojte pokušavati da ispraznite rezervoar za gorivo. Ovlašćeni serviser treba da prazni rezervoar za gorivo i da servisira sve komponente sistema za gorivo.
Pre popravljanja mašine odvojite kabl od negativnog terminala akumulatora.
Akumulator punite na otvorenom, dobro provetrenom prostoru, dalje od varnica i plamena. Pre priključivanja ili isključivanja akumulatora, iskopčajte punjač. Nosite zaštitnu odeću i koristite izolovane alate.
| Интервал сервисног одржавања | Поступак одржавања |
|---|---|
| Месечно |
|
Može doći do kratkog spoja terminala akumulatora ili metalnih alata sa metalnim komponentama mašine i pojave varnica. Varnice mogu dovesti do eksplozije gasova iz akumulatora, a time i do telesne povrede.
Pri uklanjanju ili postavljanju akumulatora, vodite računa da terminali akumulatora ne dodirnu metalne delove mašine.
Vodite računa da ne dođe do kratkog spoja između terminala akumulatora i metalnih delova mašine.
Pogrešno uklanjanje kabla iz akumulatora moglo bi da ošteti mašinu i kablove, stvarajući varnice. Varnice mogu dovesti do eksplozije gasova iz akumulatora, a time i do telesne povrede.
Uvek odspojite negativni (crni) kabl akumulatora pre nego što odspojite pozitivni (crveni) kabl.
Uvek spojite pozitivni (crveni) kabl akumulatora pre nego što spojite negativni (crni) kabl.
Parkirajte mašinu na ravnoj površini, deaktivirajte prekidač za kontrolu sečiva (PTO) i aktivirajte parkirnu kočnicu.
Pre nego što napustite položaj operatera, isključite motor, uklonite ključ i sačekajte da se svi pokretni delovi zaustave.
Uklonite akumulator kako je prikazano na Слика 51.


Punjenje akumulatora proizvodi gasove koji mogu da eksplodiraju.
Nemojte nikada pušiti u blizini akumulatora i držite ga dalje od varnica i plamena.
Important: Neka vam akumulator uvek bude u potpunosti napunjen (specifična težina 1,265). To je naročito važno da bi se sprečilo oštećenje akumulatora kada je temperatura ispod 0°C.
Uklonite akumulator iz šasije; pogledajte Uklanjanje akumulatora.
Punite akumulator 10 do 15 minuta na 25 do 30 A ili 30 minuta na 10 A.
Note: Nemojte da prepunite akumulator.
Kada je akumulator potpuno napunjen, isključite punjač iz električne utičnice, a zatim odvojite vodove punjača iz stubova akumulatora (Слика 52).
Postavite akumulator u mašinu i spojite kablove akumulatora; pogledajte Postavljanje akumulatora.
Note: Nemojte pokretati mašinu kada akumulator nije spojen; može doći do oštećenja elektrosistema.

Postavite akumulator u ležište tako da su stubići prekoputa hidrauličnog rezervoara (Слика 51).
Postavite pozitivni (crveni) kabl akumulatora na pozitivni (+) terminal akumulatora.
Postavite negativni (crni) kabl akumulatora i žicu za uzemljenje na negativni (–) terminal akumulatora.
Note: Kod mašina MyRide pazite da se žica za uzemljenje ne tare o uzdužno rame vešanja ili donji nosač amortizera (Слика 53).

Pričvrstite kablove pomoću 2 zavrtnja, 2 podloške i 2 kontra navrtke (Слика 51).
Navucite crvenu kapicu na pozitivni (+) stubić akumulatora.
Pričvrstite akumulator pomoću gumenog držača (Слика 51).
Električni sistem je zaštićen osiguračima. Ne zahteva održavanje; međutim, ako osigurač pregori, proverite da li kod komponente ili strujnog kola postoji neispravnost ili kratak spoj.
Osigurači se nalaze na desnoj konzoli pored sedišta (Слика 54).
Za zamenu osigurača, izvucite osigurač da biste ga uklonili.
Postavite novi osigurač (Слика 54).

| Интервал сервисног одржавања | Поступак одржавања |
|---|---|
| Пре сваке употребе или свакодневно |
|
Pregledajte sigurnosni pojas za znakove habanja i posekotine i proverite da li retraktor i kopča ispravno rade. Zamenite sigurnosni pojas ako je oštećen.
Deaktivirajte prekidač za kontrolu sečiva (PTO).
Odvezite mašinu na otvoreni, ravan prostor i pomerite ručice za kontrolu kretanja u NEUTRALNI-ZAKLJUčANI položaj.
Pomerite ručicu gasa na pola puta između položaja BRZO i SPORO.
Pomerite obe ručice za kontrolu kretanja unapred dok obe ne udare u graničnike u žlebu u obliku slova T.
Proverite na koju stranu mašina održava pravac.
Ako mašina održava pravac udesno, umetnite šestougaoni ključ od 3/16" kroz pristupnu rupu na levoj prednjoj zaštitnoj ploči i okrenite vijak za održavanje pravca u smeru ili suprotno od smera kretanja kazaljke na satu da biste podesili hod poluge (Слика 55).
Ako mašina održava pravac ulevo, umetnite šestougaoni ključ od 3/16" kroz pristupnu rupu na desnoj prednjoj zaštitnoj ploči i okrenite vijak za održavanje pravca u smeru ili suprotno od smera kretanja kazaljke na satu da biste podesili hod poluge (Слика 55).
Vozite mašinu i proverite održavanje pravca pri kretanju unapred punom brzinom.
Ponavljajte podešavanje dok se ne postigne željeno održavanje pravca.

| Интервал сервисног одржавања | Поступак одржавања |
|---|---|
| Сваких 50 сати |
|
Održavajte pritisak vazduha u zakretnim i zadnjim pneumaticima na 0,9 bara (90 kPa). Neujednačen pritisak u pneumaticima može dovesti do neravnomernog košenja. Za najtačnije očitavanje pritiska, proveravajte pritisak kada su pneumatici hladni.

Proverite i zategnite navrtke točkova momentom od 122 do 136 N∙m.
| Интервал сервисног одржавања | Поступак одржавања |
|---|---|
| Након првих 100 сати |
|
| Сваких 500 сати |
|
Note: Obavezno proverite da li je kočnica ispravno podešena. Ovaj postupak morate da pratite nakon prvih 100 sati ili kada je komponenta kočnice uklonjena ili zamenjena.
Parkirajte mašinu na ravnoj površini.
Deaktivirajte prekidač za kontrolu sečiva (PTO), pomerite ručice za kontrolu kretanja u NEUTRALNI-ZAKLJUčANI položaj i aktivirajte parkirnu kočnicu.
Pre nego što napustite položaj operatera, isključite mašinu, uklonite ključ i sačekajte da se svi pokretni delovi zaustave.
Podesite mašinu da se gura ručno. Pogledajte Korišćenje ventila za otpuštanje pogonskih točkova.
Podignite zadnji deo mašine i poduprite mašinu dizalicama.
Oslanjanje isključivo na mehaničke ili hidraulične dizalice za podupiranje podignute mašine radi servisiranja ili održavanja može da bude opasno jer dizalice možda neće pružiti dovoljno potpore ili mogu da popuste i puste mašinu da padne i eventualno dovedu do teške povrede.
Nemojte se oslanjati isključivo na mehaničke ili hidraulične dizalice za potporu. Koristite odgovarajuće podupirače ili ekvivalentnu potporu.
Aktivirajte i deaktivirajte parkirnu kočnicu i proverite svaki pneumatik pogonskog točka kako biste se uverili da se svaka kočnica aktivira i deaktivira.
Ako je potrebno podešavanje, deaktivirajte parkirnu kočnicu. Pregledajte sve komponente veze parkirne kočnice za znakove habanja. Zamenite sve pohabane komponente (Слика 57) i ponovite korak 6.

Proverite dužine obe opruge kao što je prikazano na Слика 58. Ako je potrebno podešavanje, okrenite navrtku za zadržavanje opruge u smeru kretanja kazaljke na satu da biste skratili oprugu i u smeru suprotnom od kretanja kazaljke na satu da biste je produžili. Ponovite korak 6.

Kada je podešavanje završeno, uklonite podupirače ili ekvivalentnu potporu i spustite mašinu.
Postavite mašinu u RADNI položaj. Pogledajte Korišćenje ventila za otpuštanje pogonskih točkova.
| Интервал сервисног одржавања | Поступак одржавања |
|---|---|
| Сваких 50 сати |
|
Zamenite kaiš ako je pohaban. Znakovi pohabanog kaiša uključuju škripanje dok se kaiš okreće; klizanje sečiva tokom košenja trave; i izlizane ivice, tragove gorenja i pukotine na kaišu.
Parkirajte mašinu na ravnoj površini, deaktivirajte prekidač za kontrolu sečiva (PTO) i aktivirajte parkirnu kočnicu.
Pre nego što napustite položaj operatera, isključite motor, uklonite ključ i sačekajte da se svi pokretni delovi zaustave.
Spustite kosilicu do visine košenja od 76 mm.
Olabavite zavrtanj na svakom poklopcu kaiša.
Otpustite pregradu kućišta kosilice uklanjanjem rascepke; pogledajte Otpuštanje pregrade kosilice.
Skinite limeni štitnik; pogledajte Skidanje limenog štitnika.
Skinite poklopce kaiševa (Слика 59).

Umetnite račnu od ⅜" u četvrtastu rupu na sponi praznog hoda da otpustite zategnutost opruge praznog hoda (Слика 60).
Skinite kaiš sa remenica kućišta kosilice i remenice kvačila.
Skinite vođicu kaiša sa spone praznog hoda sa oprugom (Слика 60).
Skinite postojeći kaiš.
Postavite novi kaiš oko remenica kosilice i remenice kvačila ispod motora (Слика 60).

Postavite vođicu kaiša na sponu praznog hoda (Слика 60).
Umetnite račnu od ⅜" u četvrtastu rupu i postavite oprugu praznog hoda (Слика 60).
Note: Pazite da krajevi opruge nalegnu u pričvrsne žlebove.
Postavite poklopce kaiševa (Слика 61).

Parkirajte mašinu na ravnoj površini, deaktivirajte prekidač za kontrolu sečiva (PTO) i aktivirajte parkirnu kočnicu.
Pre nego što napustite položaj operatera, isključite motor, uklonite ključ i sačekajte da se svi pokretni delovi zaustave.
Uklonite kaiš kosilice; pogledajte Zamena kaiša kosilice.
Podignite mašinu i poduprite je podupiračima.
Umetnite račnu ili produženi ključ od ½" u jednu od četvrtastih rupa na sponi praznog hoda da otpustite zategnutost opruge praznog hoda (Слика 62).
Skinite postojeći kaiš sa remenice praznog hoda, 2 remenice pogona hidraulične pumpe, i remenice motora (Слика 62).
Postavite novi kaiš oko remenice praznog hoda, remenice motora i 2 remenice hidraulične pumpe (Слика 62).
Umetnite račnu ili produženi ključ od ½" u jednu od četvrtastih rupa i postavite oprugu praznog hoda.
Note: Pazite da krajevi opruge nalegnu u pričvrsne žlebove.
Postavite kaiš kosilice; pogledajte Zamena kaiša kosilice.

Ako krajevi ručica udaraju jedan o drugi, pogledajte Podešavanje veze za kontrolu kretanja.
Ručice za kontrolu kretanja možete podesiti u viši ili niži položaj za maksimalnu udobnost.
Parkirajte mašinu na ravnoj površini, deaktivirajte prekidač za kontrolu sečiva (PTO) i aktivirajte parkirnu kočnicu.
Pre nego što napustite položaj operatera, isključite motor, uklonite ključ i sačekajte da se svi pokretni delovi zaustave.
Skinite pričvršćivače koji drže ručicu za kontrolu na osovini regulacione spone.

Pomerite ručicu za kontrolu u sledeći skup rupa. Pričvrstite ručicu pomoću pričvršćivača.
Ponovite podešavanje za drugu ručicu za kontrolu.
Parkirajte mašinu na ravnoj površini, deaktivirajte prekidač za kontrolu sečiva (PTO) i aktivirajte parkirnu kočnicu.
Pre nego što napustite položaj operatera, isključite motor, uklonite ključ i sačekajte da se svi pokretni delovi zaustave.
Otpustite gornji zavrtanj koji drži ručicu za kontrolu na osovini regulacione spone.
Otpustite donji zavrtanj tek toliko da okrenete ručicu za kontrolu unapred ili unazad. Zategnite oba zavrtnja kako biste pričvrstili ručicu za kontrolu u novom položaju.
Ponovite podešavanje za drugu ručicu za kontrolu.

Sa obe strane mašine ispod sedišta nalaze se veze koje spajaju pumpu i kontrolu kretanja. Okretanjem krajnje navrtke pomoću nasadnog ključa dubine ½" vrše se fina podešavanja da se mašina ne bi pomerala u neutralnom položaju. Sva podešavanja treba vršiti samo za neutralni položaj.
Da biste mogli da izvršite podešavanja motor mora da radi a pogonski točkovi da se okreću. Kontakt sa pokretnim delovima ili vrućim površinama može dovesti do telesne povrede.
Držite prste, šake i odeću dalje od rotirajućih komponenti i vrućih površina.
Parkirajte mašinu na ravnoj površini, deaktivirajte prekidač za kontrolu sečiva (PTO) i aktivirajte parkirnu kočnicu.
Pre nego što napustite položaj operatera, isključite motor, uklonite ključ i sačekajte da se svi pokretni delovi zaustave.
Pritisnite papučicu za podizanje kućišta, izvadite osigurač za visinu košenja i spustite kućište kosilice do zemlje
Podignite zadnji kraj mašine tek toliko da pogonski točkovi mogu slobodno da se okreću i poduprite ga podupiračima (ili ekvivalentnom potporom).
Skinite električni priključak sa bezbednosnog prekidača sedišta, koji se nalazi ispod donjeg jastuka sedišta.
Note: Prekidač je deo sklopa sedišta.
Privremeno montirajte spojni kabl preko terminala u priključku glavnog snopa kablova.
Pokrenite motor, dajte pun gas i deaktivirajte parkirnu kočnicu.
Note: Pre pokretanja motora proverite da je parkirna kočnica aktivirana i da su ručice za kontrolu kretanja napolju. Ne morate da budete u sedištu.
Pustite mašinu da radi barem 5 minuta sa pogonskim polugama u položaju za kretanje unapred punom brzinom da bi hidraulična tečnost dostigla radnu temperaturu.
Note: Ručice za kontrolu kretanja moraju biti u neutralnom položaju dok vršite podešavanja.
Pomerite ručice za kontrolu kretanja u NEUTRALNI položaj.
Proverite i uverite se da jezičci kontrolne ploče dodiruju ploče za povratak u neutralni položaj na hidrauličnim jedinicama.
Podesite dužine pogonskih poluga pumpe okretanjem navrtke u odgovarajućem smeru dok se točkovi ne budu lagano pomerali unazad (Слика 65 i Слика 66).


Pomerite ručice za kontrolu kretanja u položaj za kretanje UNAZAD i dok lagano pritiskate ručicu, pustite opruge indikatora kretanja unazad da vrate ručice u neutralni položaj.
Note: Točkovi bi trebalo da prestanu da se okreću ili da se lagano pomeraju unazad.
Note: Možda ćete morati da skinete poklopac kontrole kretanja da biste imali pristup.
Isključite mašinu.
Skinite spojni kabl sa snopa kablova i uključite priključak u prekidač sedišta.
Uklonite podupirače.
Podignite kućište kosilice i postavite osigurač za visinu košenja.
Proverite i uverite se da nema laganog pomeranja mašine dok je u neutralnom položaju sa deaktiviranom parkirnom kočnicom.
Ako se tečnost ubrizga u kožu odmah potražite pomoć lekara. Ubrizganu tečnost mora hirurški da ukloni doktor u roku od nekoliko sati.
Proverite da su sva creva i vodovi za hidrauličnu tečnost u dobrom stanju i da su svi hidraulički spojevi i priključci zategnuti pre nego što primenjujete pritisak na hidraulični sistem.
Držite telo i šake dalje od curenja u tankom mlazu ili mlaznica koje izbacuju hidrauličnu tečnost pod visokim pritiskom.
Koristite karton ili papir da biste otkrili gde curi hidraulična tečnost.
Bezbedno oslobodite sav pritisak iz hidrauličnog sistema pre nego što vršite bilo kakve radove na hidrauličnom sistemu.
Tip hidraulične tečnosti: Hidraulična tečnost Toro® HYPR-OIL™ 500
Important: Koristite specificiranu tečnost. Druge tečnosti mogu da oštete hidraulični sistem.
Kapacitet hidrauličnog sistema (sa uklonjenim filterima): 7,57 l
| Интервал сервисног одржавања | Поступак одржавања |
|---|---|
| Пре сваке употребе или свакодневно |
|
Sačekajte da se hidraulična tečnost ohladi. Proverite nivo ulja kada je tečnost hladna.
Proverite ekspanzionu posudu i po potrebi dodajte hidrauličnu tečnost Toro® HYPR-OIL™ 500 do linije FULL COLD (PUNO HLADNO) (Слика 67).

| Интервал сервисног одржавања | Поступак одржавања |
|---|---|
| Након првих 100 сати |
|
Da bi se zamenila hidraulična tečnost filteri moraju da se uklone. Zamenite oba istovremeno; pogledajte Specifikacije hidraulične tečnosti za specifikacije tečnosti.
Kada postavite nove filtere i dodate tečnost izbacite sav vazduh iz sistema. Pogledajte Odzračivanje hidrauličnog sistema. Ponovite postupak odzračivanja dok tečnost ne ostane na nivou linije FULL COLD (puno hladno) u rezervoaru nakon izbacivanja vazduha.
Important: Ako se ovaj postupak ne izvrši pravilno može doći do nepopravljivog oštećenja pogonskog sistema menjača-diferencijala.
Parkirajte mašinu na ravnoj površini, deaktivirajte prekidač za kontrolu sečiva (PTO) i aktivirajte parkirnu kočnicu.
Pre nego što napustite položaj operatera, isključite motor, uklonite ključ i sačekajte da se svi pokretni delovi zaustave.
Sačekajte da se motor ohladi.
Pomoću nastavka i nasadnog ključa od 7/16" pristupite čepu ventilacionog otvora sa vrha mašine kroz rupe u blizini nosača rol-bara (Слика 68).
Note: Vodite računa gde ostavljate čep ventilacionog otvora kad ga skinete, jer se lako može zagubiti.

Pažljivo očistite prostor oko filtera.
Important: Nemojte dopustiti da prljavština prodre u hidraulični sistem; u protivnom može doći do zagađenja sistema.
Postavite posudu za istakanje ispod filtera da hvata tečnost koja ističe kad se uklone filter i čepovi ventilacionih otvora.
Skinite poklopac filtera za hidrauličnu tečnost sa menjača-diferencijala da biste ispustili tečnost (Слика 69).

Skinite O-prsten sa poklopca filtera i bacite O-prsten.
Kada se hidraulična tečnost isprazni iz menjača-diferencijala, uklonite filter iz kućišta menjača-diferencijala.
Ponovite postupak na drugoj strani mašine.
Postavite novi filter u menjač-diferencijal i novi O-prsten na poklopac filtera.
Postavite poklopac filtera.
Zategnite poklopac filtera momentom od 22,6 do 33,8 N∙m.
Skinite čep ekspanzione posude i napunite menjače-diferencijale specificiranom tečnošću dok se ne dostignu odgovarajući kapaciteti tečnosti.
Note: Punjenje menjača-diferencijala bi moglo trajati duže od očekivanog.
Postavite prethodno skinute čepove ventilacionih otvora i zategnite čepove momentom od 3,95 do 9,04 N∙m.
Pređite na Odzračivanje hidrauličnog sistema.
Important: Neizvršavanje postupka za Odzračivanje hidrauličnog sistema nakon zamene filtera hidraulike i hidraulične tečnosti može dovesti do nepopravljivog oštećenja pogonskog sistema menjača-diferencijala.
Podignite zadnji kraj mašine tek toliko da pogonski točkovi mogu slobodno da se okreću i poduprite ga podupiračima (ili ekvivalentnom potporom).

Pokrenite motor, pomerite komandu gasa unapred u položaj na ½ gasa, i deaktivirajte parkirnu kočnicu.
Pomerite ručice za premošćavanje u položaj za guranje mašine. Sa otvorenim bajpas ventilima i motorom koji radi, polako pomerite ručice za kontrolu kretanja i unapred i unazad 5 ili 6 puta.
Pomerite ručice za premošćavanje u položaj za rad sa mašinom.
Sa zatvorenom bajpas ventilom i motorom koji radi, polako pomerite ručicu za kontrolu kretanja i unapred i unazad 5 ili 6 puta.
Isključite motor i proverite nivo tečnosti u ekspanzionoj posudi. Dodajte specificiranu tečnost dok ne dostigne liniju FULL COLD (puno hladno) na ekspanzionoj posudi.
Ponovite korak 2 dok sav vazduh ne bude potpuno izbačen iz sistema.
Note: Kada menjač-diferencijal radi pri normalnom nivou buke, glatko se kreće unapred i kreće se unazad pri normalnim brzinama, vazduh je izbačen.
Još jednom proverite nivo tečnosti u ekspanzionoj posudi. Dodajte specificiranu tečnost dok ne dostigne liniju FULL COLD (puno hladno) na ekspanzionoj posudi.
Periodično proveravajte da li su sečiva istrošena ili oštećena.
Budite pažljivi prilikom provere sečiva. Sečiva umotajte ili nosite rukavice i budite pažljivi kada ih servisirate. Sečiva samo menjajte ili oštrite; nemojte ih nikada ispravljati ni variti.
Na mašinama sa više sečiva, vodite računa jer rotiranje jednog sečiva može dovesti do rotiranja ostalih.
Zamenite istrošena ili oštećena sečiva i zavrtnje zamenom čitavog kompleta, kako biste očuvali ravnotežu.
Da biste obezbedili odličan kvalitet košenja, održavajte sečiva oštrim. Radi praktičnog oštrenja i zamene, dobro je da pri ruci imate dodatna sečiva.
Parkirajte mašinu na ravnoj površini, deaktivirajte prekidač za kontrolu sečiva (PTO) i aktivirajte parkirnu kočnicu.
Isključite motor, uklonite ključ i skinite kablove svećice sa svećica.
| Интервал сервисног одржавања | Поступак одржавања |
|---|---|
| Пре сваке употребе или свакодневно |
|
Pregledajte oštrice (Слика 71).
Ako oštrice nisu oštre ili imaju zareze, uklonite sečivo i naoštrite ga; pogledajte Oštrenje sečiva.
Pregledajte sečiva, naročito na zakrivljenoj površini.
Ako primetite bilo kakve pukotine, pohabanost ili formiranje žlebova na toj površini, odmah postavite novo sečivo (Слика 71).

Note: Za sledeći postupak mašina mora biti na ravnoj površini.
Podignite kućište kosilice do najvišeg položaja za podešavanje visine košenja.
Noseći debelo postavljene rukavice ili drugu odgovarajuću zaštitu za šake, polako rotirajte sečivo do položaja koji vam omogućava da izmerite rastojanje između oštrice i ravne površine na kojoj se mašina nalazi (Слика 72).

Merite od vrha sečiva do ravne površine (Слика 73).

Isto sečivo rotirajte za 180 stepeni, kako bi naspramna oštrica sada bila u istom položaju (Слика 74).

Merite od vrha sečiva do ravne površine (Слика 75).
Note: Odstupanje ne bi trebalo da bude veće od 3 mm.

Ako je razlika između A i B veća od 3 mm, zamenite sečivo novim; pogledajte Uklanjanje sečiva i Montiranje sečiva.
Note: Ako je iskrivljeno sečivo zamenjeno novim, a postignuta dimenzija i dalje premašuje 3 mm, vreteno sečiva je možda iskrivljeno. Za servis se obratite ovlašćenom serviseru.
Ako je odstupanje u okviru ograničenja, pređite na sledeće sečivo.
Ponovite ovaj postupak za svako sečivo.
Sečiva zamenite ako njima udarite u tvrd predmet ili ako je sečivo van ravnoteže ili iskrivljeno.
Postavite ključ na ravan deo osovine vretena ili držite kraj sečiva pomoću krpe ili debelo postavljene rukavice.
Uklonite zavrtanj sečiva, čauru i sečivo sa osovine vretena (Слика 76).

Naoštrite oštricu turpijom na oba kraja sečiva (Слика 77).
Note: Održavajte originalni ugao.
Note: Sečivo će zadržati svoju ravnotežu ako se sa obe oštrice ukloni ista količina materijala.

Proverite ravnotežu sečiva tako što ćete ga staviti na balanser sečiva (Слика 78).
Note: Ako sečivo ostane u horizontalnom položaju, sečivo je izbalansirano i može da se koristi.
Note: Ako sečivo nije izbalansirano, skinite malo metala turpijanjem samo s kraja jedra (Слика 77).

Ponovite ovaj postupak dok sečivo ne bude izbalansirano.
Postavite čauru kroz sečivo sa prirubnicom čaure na donjoj strani sečiva (prema travi) (Слика 79).

Montirajte sklop čaure/sečiva na osovinu vretena (Слика 80).

Po potrebi nanesite mazivo ili mast na bazi bakra na navoje zavrtnja za sečivo da bi se sprečilo blokiranje. Postavite zavrtanj sečiva i zategnite rukom.
Stavite ključ na ravni deo osovine vretena i dotegnite zavrtanj sečiva momentom od 75 do 81 N∙m.
Proverite da li je ploča kućišta kosilice ravna svaki put kada postavljate kosilicu ili kada vidite neravnomerno košenje na svom travnjaku.
Pre nivelisanja proverite kućište kosilice na znakove savijenih sečiva, a zatim uklonite i zamenite sva savijena sečiva; pogledajte Servisiranje sečiva za košenje pre nego što nastavite.
Prvo nivelišite kosilicu od jedne do druge strane; zatim možete podesiti nagib od prednjeg do zadnjeg kraja.
Zahtevi:
Mašina mora biti na ravnoj površini.
Svi pneumatici moraju biti pravilno napumpani; pogledajte Provera pritiska u pneumaticima.
Parkirajte mašinu na ravnoj površini, deaktivirajte prekidač za kontrolu sečiva (PTO) i aktivirajte parkirnu kočnicu.
Pre nego što napustite položaj operatera, isključite motor, uklonite ključ i sačekajte da se svi pokretni delovi zaustave.
Proverite pritisak u pogonskim pneumaticima; pogledajte Provera pritiska u pneumaticima.
Postavite kućište kosilice u položaj transportne blokade ili na najviše podešavanje za visinu košenja.
Pažljivo okrećite sečiva sa jedne na drugu stranu.
Izmerite rastojanje između vrha sečiva i ravne površine (Слика 81). Ako obe mere nisu u razmaku od 5 mm, podesite nivelaciju; nastavite sa ovim postupkom.

Proverite nagiba sečiva od prednjeg do zadnjeg kraja (Слика 82). Proverite da je vrh prednjeg sečiva niži od vrha zadnjeg sečiva kako je prikazano u tabeli visina blokova i nagiba. Ako je potrebno podešavanje nastavite sa ovim postupkom.

Postavite valjke protiv struganja na gornje otvore ili ih potpuno uklonite za ovo podešavanje.
Podignite kućište u položaj za transport (140 mm).
Polako olabavite zavrtanj za podešavanje na opruzi za dizanje dok ne budete mogli da uklonite zavrtanj (Слика 83).
Note: Sačuvajte zavrtanj za montažu.

Stavite 2 bloka (vidite Tabelu visina blokova i nagiba) ispod zadnje ivice maske reznog kućišta, po jedan sa svake strane reznog kućišta (Слика 84).
Postavite ručicu za podešavanje visine košenja na položaj od 76 mm; pogledajte Podešavanje visine košenja.
Stavite 2 bloka ispod svake strane prednje ivice kućišta, ali ne ispod nosača ili varova valjka protiv struganja.

| Veličina Kućišta | Prednja visina blokova | Nagib |
| Sva kućišta kosilice | 73 mm | 4,8 do 6,4 mm |
Pažljivo okrećite sečiva sa jedne na drugu stranu (Слика 81).
Spustite kućište kosilice na položaj od 76 mm; pogledajte Podešavanje visine košenja.
Olabavite kontra navrtke (Слика 85) na sva 4 ugla i proverite da kućište kosilice dobro naleže na sva 4 bloka.
Uklonite prazan hod iz visećih ležajeva kućišta i proverite da je nožna poluga za podizanje kućišta pritisnuta do graničnika.
Zategnite 4 kontra navrtke.

Proverite da blokovi čvrsto stoje ispod maske kućišta i da su svi zavrtnji za pričvršćivanje pritegnuti
Nastavite sa nivelisanjem kućišta kosilice proverom nagiba sečiva od prednjeg do zadnjeg kraja.
Proverite da li su sečiva nivelisana i po potrebi ponovite postupak nivelisanja kućišta.
Podignite kućište u položaj za transport (140 mm).
Postavite zavrtanj za podešavanje opruge za dizanje koji ste prethodno skinuli u koraku 10.
Podesite razmak između opruge i nosača na 22 do 29 mm.
Pre servisiranja ili uklanjanja kućišta kosilice blokirajte krakove kućišta pod dejstvom opruge.
Parkirajte mašinu na ravnoj površini, deaktivirajte prekidač za kontrolu sečiva (PTO) i aktivirajte parkirnu kočnicu.
Pre nego što napustite položaj operatera, isključite motor, uklonite ključ i sačekajte da se svi pokretni delovi zaustave.
Spustite kosilicu do visine košenja od 76 mm.
Otpustite pregradu kućišta kosilice uklanjanjem rascepke; pogledajte Otpuštanje pregrade kosilice.
Skinite poklopce kaiševa.
Olabavite zupčanik praznog hoda kućišta kosilice i skinite kaiš kosilice; pogledajte Одржавање појаса.
Skinite zavrtnje i navrtke sa prednje strane ploče ispod oslonca za stopalo.
Skinite i sačuvajte zavrtnje i navrtke sa obe strane mašine (Слика 86).

Izvucite kućište sa desne strane mašine.
Nepokriveni otvor za pražnjenje može da omogući mašini da baca predmete prema vama ili prolaznicima, što može dovesti do teške povrede. Takođe, može doći do kontakta sa sečivom.
Nikada nemojte koristiti mašinu ako niste montirali ploču za malčiranje, usmerivač za pražnjenje ili sistem za prikupljanje trave.
Skinite kontra navrtku, zavrtanj, oprugu i odstojnik koji pričvršćuju usmerivač za okretne nosače (Слика 87).
Skinite oštećeni ili pohabani usmerivač za travu (Слика 87).

Postavite odstojnik i oprugu na usmerivač za travu.
Postavite 1 kraj opruge sa kukom u obliku slova J iza ivice kućišta.
Note: Pazite da 1 kraj opruge sa kukom u obliku slova J bude montiran iza ivice kućišta pre nego što postavite zavrtanj kako je prikazano na Слика 87.
Postavite zavrtanj i navrtku.
Postavite 1 kraj opruge sa kukom u obliku slova J oko usmerivača za travu (Слика 87).
Important: Usmerivač trave mora biti slobodan da se okreće. Podignite usmerivač u potpuno otvoreni položaj i proverite da li se okreće u potpuno spušteni položaj.
| Интервал сервисног одржавања | Поступак одржавања |
|---|---|
| Након сваке употребе |
|
Parkirajte mašinu na ravnoj površini, deaktivirajte prekidač za kontrolu sečiva (PTO) i aktivirajte parkirnu kočnicu.
Pre nego što napustite položaj operatera, isključite motor, uklonite ključ i sačekajte da se svi pokretni delovi zaustave.
Podignite kućište kosilice u položaj za TRANSPORT.
Sistem vešanja čistite pomoću komprimovanog vazduha.
Note: Nemojte čistiti sklopove amortizera vodom pod pritiskom (Слика 88).

Motorno ulje, akumulatori, hidraulična tečnost i rashladno sredstvo za motor su materije koje zagađuju životnu sredinu. Odlažite ih u skladu sa državnim i lokalnim propisima.
Pre nego što napustite položaj operatera, isključite mašinu, uklonite ključ i sačekajte da se svi pokretni delovi zaustave. Pre podešavanja, servisiranja, čišćenja ili odlaganja mašine, sačekajte da se ohladi.
Mašinu ili gorivo nemojte skladištiti blizu plamena niti ispuštati gorivo u zatvorenom prostoru ili unutar zatvorene prikolice.
Mašinu ili kanister sa gorivom nemojte skladištiti na mestu na kom ima otvorenog plamena, varnica ili pomoćni plamenik, kao na kotlu za grejanje vode ili na drugim aparatima.
Deaktivirajte prekidač za kontrolu sečiva (PTO) i aktivirajte parkirnu kočnicu.
Pre nego što napustite položaj operatera, isključite motor, uklonite ključ i sačekajte da se svi pokretni delovi zaustave.
Uklonite pokošenu travu, prljavštinu i nečistoće sa spoljašnjih delova čitave mašine, naročito motora i hidrauličkog sistema. Očistite prljavštinu i otpatke sa spoljašnje strane rebara glave cilindra i kućišta ventilatora.
Important: Mašinu možete oprati blagim deterdžentom i vodom. Ne perite mašinu pod pritiskom. Izbegavajte preteranu upotrebu vode, naročito u blizini kontrolne table, pogona, hidrauličnih pumpi i motora.
Proverite ispravnost parkirne kočnice; pogledajte Podešavanje parkirne kočnice.
Servisiranje čistača vazduha; pogledajte Servisiranje čistača vazduha.
Podmažite mašinu; pogledajte Podmazivanje mašine.
Zamenite ulje u kućištu motora; pogledajte Servisiranje motornog ulja.
Proverite pritisak u pneumaticima; pogledajte Provera pritiska u pneumaticima.
Zamenite filtere hidraulike; pogledajte Zamena hidraulične tečnosti i filtera.
Napunite akumulator; pogledajte Punjenje akumulatora.
Sastružite naslage trave i prljavštine sa donje strane kosilice, a zatim operite kosilicu baštenskim crevom.
Note: Nakon pranja, pustite da mašina radi sa aktiviranim prekidačem za kontrolu sečiva (PTO) i motorom u velikoj brzini praznog hoda 2 do 5 minuta.
Proverite stanje sečiva; pogledajte Servisiranje sečiva za košenje.
Pripremite mašinu za skladištenje kada se ne koristi duže od 30 dana. Pripremite mašinu za skladištenje na sledeći način:
U gorivo u rezervoaru dodajte stabilizator/regenerator na bazi nafte. Pratite uputstva za mešanje koja daje proizvođač stabilizatora. Nemojte koristiti stabilizator na bazi alkohola (etanol ili metanol).
Note: Stabilizator/regenerator goriva je najefikasniji kada se meša sa svežim gorivom i uvek koristi.
Pustite da motor radi 5 minuta da se distribuira regenerisano gorivo kroz sistem goriva.
Isključite motor, sačekajte da se ohladi i ispraznite rezervoar za gorivo.
Pokrenite motor i pustite ga da radi dok se ne zaustavi.
Pravilno odložite gorivo. Reciklirajte gorivo prema lokalnim propisima.
Important: Ne skladištite gorivo koje sadrži stabilizator/regenerator duže od vremena koje preporučuje proizvođač stabilizatora goriva.
Izvadite i proverite stanje svećice(a); pogledajte Servisiranje svećice(a). Sa svećicom(ama) izvađenih iz motora, sipajte 30 ml (2 kašike) motornog ulja u otvor za svećicu. Koristite starter da biste pokrenuli motor i distribuirali ulje unutar cilindra. Postavite svećicu(e). Nemojte stavljati kabl na svećicu(e).
Proverite i zategnite sve zavrtnje, navrtke i vijke. Popravite ili zamenite svaki deo koji je oštećen.
Ofarbajte sve površine koje su izgrebane ili na kojima je metal ogoljen. Boja je dostupna kod vašeg ovlašćenog servisera.
Mašinu skladištite u čistoj, suvoj garaži ili skladištu. Uklonite ključ iz prekidača i držite ga van domašaja dece ili drugih neovlašćenih korisnika. Pokrijte mašinu da biste je zaštitili i održavali čistom.
| Problem | Possible Cause | Corrective Action |
|---|---|---|
| Motor se pregreva. |
|
|
| Starter se ne pokreće. |
|
|
| Motor se ne pokreće, teško se pokreće ili ne radi. |
|
|
| Motor gubi snagu. |
|
|
| Kosilica vuče na levo ili desno (kada su ručice napred do kraja) |
|
|
| Mašina neće da se kreće. |
|
|
| Mašina neuobičajeno vibrira. |
|
|
| Visina košenja je nejednaka. |
|
|
| Sečiva se ne okreću. |
|
|
| Kvačilo ne hvata. |
|
|

