| Cadenza di manutenzione | Procedura di manutenzione |
|---|---|
| Dopo ogni utilizzo |
|
Questa macchina è pensata per l'utilizzo in applicazioni professionali da parte di operatori professionisti del verde. È stata concepita principalmente per la lavorazione di ampie superfici di tappeti erbosi ben mantenuti di parchi, campi da golf, campi sportivi e terreni commerciali. L'utilizzo di questo prodotto per scopi diversi da quelli previsti potrebbe rivelarsi pericoloso per voi ed eventuali astanti.
Leggete attentamente queste informazioni al fine di utilizzare e mantenere correttamente il prodotto ed evitare infortuni e danni. Il proprietario è responsabile del corretto utilizzo del prodotto e della sicurezza.
Visitate il sito www.Toro.com per ricevere materiali di formazione sulla sicurezza e il funzionamento dei prodotti, avere informazioni sugli accessori, ottenere assistenza nella ricerca di un rivenditore o registrare il vostro prodotto.
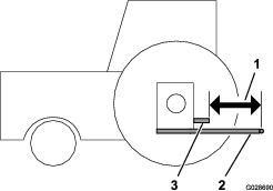
Per assistenza, ricambi originali Toro o ulteriori informazioni, rivolgetevi a un Distributore Toro autorizzato o ad un Centro Assistenza Toro, ed abbiate sempre a portata di mano il numero del modello ed il numero di serie del prodotto. La Figura 1 e la Figura 2 individuano la posizione del numero del modello e del numero di serie sul prodotto. Scrivete i numeri nello spazio previsto.
Important: Con il vostro dispositivo mobile potete scansionare il codice QR (se presente) sulla targa che riporta il numero di serie per accedere alla garanzia, ai ricambi e ad altre informazioni sui prodotti.


Il sistema di avvertimento adottato dal presente manuale identifica i pericoli potenziali e riporta messaggi di sicurezza, identificati dal simbolo di avvertimento (Figura 3), che segnala un pericolo in grado di provocare infortuni gravi o la morte se non si osservano le precauzioni raccomandate.

Per evidenziare le informazioni vengono utilizzate due parole. Importante indica informazioni di carattere meccanico di particolare importanza e Nota evidenzia informazioni generali di particolare rilevanza.
Questo prodotto è conforme a tutte le direttive europee pertinenti; vedere i dettagli nella Dichiarazione di Conformità (DICO) specifica del prodotto, fornita a parte.
CALIFORNIA
Avvertenza norma "Proposition 65"
L'utilizzo del presente prodotto potrebbe esporre a sostanze chimiche che nello Stato della California sono considerate cancerogene e causa di anomalie congenite o di altre problematiche della riproduzione.
Questo prodotto è in grado di amputare mani e piedi e scagliare oggetti. Rispettate sempre tutte le norme di sicurezza per evitare gravi infortuni alla persona.
L'utilizzo di questo prodotto per scopi diversi da quelli previsti potrebbe rivelarsi pericoloso per voi ed eventuali astanti.
Leggete e comprendete il contenuto di questo Manuale dell'operatore prima di utilizzare la macchina.
Prestate la massima attenzione mentre utilizzate la macchina. Non intraprendete alcuna attività che vi possa distrarre; in caso contrario potreste causare infortuni o danni alla proprietà.
Non mettete le mani o i piedi vicino a componenti in movimento della macchina.
Non utilizzate la macchina senza che tutti gli schermi e gli altri dispositivi di protezione siano montati e funzionanti.
Tenetevi a distanza da tutte le aperture di scarico. Tenete gli astanti e gli animali domestici a distanza dalla macchina.
Tenete gli astanti e i bambini lontano dall’area di lavoro. Non permettete mai che bambini e ragazzi utilizzino la macchina.
Spegnete sempre il motore dell'unità motrice, togliete la chiave (se presente), attendete che tutte le parti in movimento si fermino e lasciate raffreddare la macchina prima di effettuare interventi di regolazione, assistenza, pulizia o rimessaggio.
L'errato utilizzo o la manutenzione di questa macchina
può causare infortuni. Per ridurre il rischio di incidenti,
rispettate le seguenti norme di sicurezza e fate sempre attenzione
al simbolo di allarme
, che indica: Attenzione, Avvertenza
o Pericolo – “norme di sicurezza”. Il mancato rispetto
di queste istruzioni può provocare infortuni o morte.
![]() |
Gli adesivi di sicurezza e di istruzione sono chiaramente visibili e sono affissi accanto a zone particolarmente pericolose. Sostituite eventuali adesivi danneggiati o mancanti. |















Utilizzate il seguente elenco come riferimento:
In presenza di terreni da leggeri a normali (terreni da sabbiosi a franco sabbiosi con compattazione media) serve una potenza min. di 30 cavalli della presa di forza per l'arieggiatura.
In presenza di terreni da normali a pesanti (francolimosi, argillosi e rocciosi con compattazione sopra la media) serve una potenza min. di 35 cavalli della presa di forza per l'arieggiatura.
La motrice deve a avere un attacco a 3 punti di categoria I o II con una capacità minima di sollevamento dell'accessorio di 714 kg.
La motrice deve avere una velocità dell'albero di uscita della PDF di 540 g/min.
Un peso adeguato (zavorra) nella parte anteriore per compensare il peso della macchina.
Controllate la pressione dell'aria degli pneumatici della motrice.
Regolate la pressione dell'aria degli pneumatici secondo necessità.
Important: Non superate le pressioni massima o minima di gonfiaggio consigliata dal produttore degli pneumatici.
Utilizzate il seguente elenco come riferimento:
In presenza di terreni da leggeri a normali (terreni da sabbiosi a franco sabbiosi con compattazione media) serve una potenza min. di 45 cavalli della presa di forza per l'arieggiatura.
In presenza di terreni da normali a pesanti (francolimosi, argillosi e rocciosi con compattazione sopra la media) serve una potenza min. di 50 cavalli della presa di forza per l'arieggiatura.
La motrice deve a avere un attacco a 3 punti di categoria II con una capacità minima di sollevamento dell'accessorio di 1043 kg.
La motrice deve avere una velocità dell'albero di uscita della PDF di 540 g/min.
Un peso adeguato (zavorra) nella parte anteriore per compensare il peso della macchina.
Controllate la pressione dell'aria degli pneumatici della motrice.
Regolate la pressione dell'aria degli pneumatici secondo necessità.
Important: Non superate le pressioni massima o minima di gonfiaggio consigliata dal produttore degli pneumatici.
Montare la macchina nella parte posteriore della motrice diminuisce il carico sull'assale anteriore.
Qualora non venga aggiunta la zavorra adeguata, potrebbero derivarne un incidente e gravi lesioni o la morte.
Per garantire l'adeguatezza del controllo della sterzata e della stabilità potrebbe essere necessario applicare zavorra sulla parte anteriore dell'unità motrice.
Fate riferimento al manuale dell'operatore della motrice per i requisiti della zavorra.
Parti necessarie per questa operazione:
| Coppiglia ad anello | 2 |
Per le operazioni di installazione, assicuratevi che la macchina sia collocata su una superficie piana.
Assicuratevi che la PDF sia disinserita.
Indietreggiate con l'unità motrice direttamente fino alla macchina sinché i bracci di articolazione inferiori non sono allineati ai perni di traino.
Innestate il freno di stazionamento, spegnete il motore ed estraete la chiave di accensione. Attendete l'arresto del motore e di tutte le parti in movimento prima di smontare dal sedile dell'operatore.
Note: Per ottenere la massima distanza da terra, inserite i perni di traino nei fori di montaggio inferiori della piastra di traino della macchina (Figura 5). Fate riferimento alla procedura di configurazione Collegamento dell'albero di trasmissione della PDF per stabilire quando usare i fori di montaggio superiori.

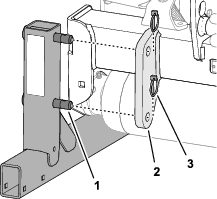
Inserite i bracci di articolazione inferiori destro e sinistro sui perni di traino (Figura 6).

Fissate i bracci di articolazione inferiori ai perni di traino con le coppiglie ad anello (Figura 6).
Parti necessarie per questa operazione:
| Perno d’attacco | 1 |
| Coppiglia ad anello | 1 |
Note: Per ottenere fori di arieggiatura della massima qualità, allineare verticalmente la parte anteriore della macchina durante l'utilizzo (Figura 7). Regolate l’articolazione superiore per controllare questo angolo. Per ulteriori informazioni, consultate la sezione Suggerimenti.

Collegate l'articolazione superiore al foro inferiore nella staffa e fissatelo con il perno d'attacco e la coppiglia ad anello (Figura 8).

Ingrassate i tubi di acciaio filettati dell'articolazione superiore.
Ruotate l’articolazione superiore per serrarla. Regolatela sinché il telaio sulla parte anteriore della macchina non è verticale (Figura 8).
Serrate il dado di bloccaggio per bloccare l’articolazione superiore in posizione.
Parti necessarie per questa operazione:
| Bullone (½" x 3") | 1 |
| Dado (½") | 1 |
| Albero di trasmissione corto, n. cat. 115-2839 (può essere necessario; venduto separatamente) | – |
Important: Fate riferimento al manuale d'uso dell'albero di trasmissione della PDF per informazioni operative e di sicurezza aggiuntive.
Posizionate un regolo tra le estremità dei bracci di traino per determinare la distanza tra queste e l'estremità dell'albero di uscita della PDF (Figura 9).

Misurate la distanza tra l'estremità dell'albero di uscita della PDF e il punto di attacco dei bracci di traino inferiori (Figura 9). Registrate la vostra misurazione qui:
Important: Contattate il vostro distributore autorizzato Toro se vi serve assistenza per questa misurazione e se dovete ordinare un gruppo dell'albero di trasmissione della PDF più corto.
Determinate se vi occorre un albero di trasmissione della PDF di lunghezza standard o corto dalla posizione dell'albero di uscita della PDF sul trattorino, in relazione alla posizione dei bracci di traino inferiori. Questa distanza è indicata come dimensione “M”.
L'albero di trasmissione standard della PDF in dotazione alla macchina è adatto a una dimensione “M” della motrice di 48,89 cm.
Se la dimensione “M” è più piccola, proponiamo come accessorio un gruppo dell'albero di trasmissione della PDF più corto, adatto a una dimensione “M” della motrice di 39,37 cm; fate riferimento al Catalogo ricambi della vostra macchina.
Important: Se necessario, montate l'albero di trasmissione corto, n. cat. 115-2839 (venduto separatamente). Nella maggior parte dei casi l'albero di trasmissione corto non è necessario.
Se il vostro trattorino è dotato di bracci di traino regolabili, modificate la lunghezza dei bracci di traino fino a quando la dimensione “M” non è pari a:
Fate riferimento al Manuale dell'operatore del vostro trattorino.
48,89 cm o superiore per l'albero della PDF standard
39,37 cm o superiore per l'albero della PDF opzionale corto
L'azionamento della macchina in assenza delle protezioni e degli schermi della PDF può causare infortuni o la morte.
Tenete tutte le protezioni e gli schermi della PDF montati.
Sui modelli CE, collegate le catene tra le protezioni dell'albero di trasmissione della PDF e i bracci di articolazione.
Solo su ProCore 864, togliete il carter della presa di forza inferiore (Figura 10).

Montate l'albero di trasmissione della PDF sull'albero di ingresso della scatola degli ingranaggi della macchina (Figura 11) servendovi di un bullone (½" x 3") e di un dado (½").

Assemblare l'albero di trasmissione della PDF e l'albero di uscita della PDF della motrice.

Fate scorrere in avanti l'albero di trasmissione della PDF fino al punto in cui l'albero di uscita della PDF lo consente.
Tirate indietro l'anello di bloccaggio dell'accoppiamento dell'albero della PDF per fissare l'albero di trasmissione della presa di forza. Spostate avanti e indietro l'albero di trasmissione della PDF per assicurarvi che sia correttamente bloccato.
Solo sui modelli CE, collegate le catene di sicurezza dalle protezioni dell'albero di trasmissione ai fermi saldati sui bracci di articolazione. Le catene devono rimanere lente quando la macchina è sollevata o abbassata.
Su ProCore 864, montate lo schermo inferiore della PDF sulla macchina.
Verificate che il tubo telescopico abbia una sovrapposizione minima di 76 mm quando la macchina è sollevata alla massima altezza.
Per controllare la sovrapposizione, misurate la distanza tra gli schermi alle estremità, come illustrato nella Figura 13 Questa dimensione non deve superare 406 mm. In caso contrario, spostate i perni di sollevamento inferiori nel set di fori superiore prima dell'utilizzo della macchina.

ProCore 864 è progettato per essere disassato rispetto all'interasse dell'unità motrice. L'albero di ingresso della scatola degli ingranaggi è disassato di 40 mm a sinistra rispetto al centro e la macchina è disassata di 145 mm a destra dell'interasse. Regolate le staffe di oscillazione secondo necessità.
ProCore 1298 è progettato per essere centrato rispetto all'interasse dell'unità motrice. Regolate le staffe di oscillazione secondo necessità.
Regolate le staffe di oscillazione sui bracci di traino inferiori dell'attacco a 3 punti in modo tale da limitare lo spostamento laterale a un massimo di 25 mm su ogni lato (Figura 14).

Spostate le articolazioni inferiori verso l'interno sinché non sono a contatto con le piastre di montaggio della macchina. In questo modo ridurrete la tensione sui perni. Se la motrice è dotata di catene di oscillazione invece che di staffe di oscillazione, montate delle rondelle tra il braccio di articolazione inferiore e la coppiglia ad anello per ridurre il carico sospeso sui perni di sollevamento.
Note: Fate riferimento al manuale dell'operatore della motrice per maggiori informazioni sulle procedure di installazione e regolazione.
Parcheggiate l'unità motrice e la macchina su una superficie piana e stabile.
Collocate una livella sul telaio della macchina per verificare l'allineamento da un lato all'altro (Figura 15).

Se in dotazione, ruotate il corpo dell'attacco regolabile per sollevare o abbassare il braccio di articolazione fino a livellare la macchina da un lato all'altro.
Note: Fate riferimento al manuale dell'operatore della motrice per conoscere ulteriori procedure di regolazione.
Regolate il raschiarulli in modo da avere un gioco di circa 1–2 mm tra raschiatore e rullo.
Allentate i dispositivi di fissaggio che ancorano ciascuna estremità del raschiatore all'aletta del raschiarulli (Figura 16).

Fate scorrere il raschiarulli avanti o indietro fino al raggiungimento della posizione richiesta e serrate i dispositivi di fissaggio.
Solo su ProCore 864, potete regolare il bullone di arresto sul supporto centrale per ottenere la distanza corretta.
La macchina dispone di una vasta gamma di fustelle e di relative teste. Scegliete le fustelle del tipo, della dimensione e della spaziatura adatte al lavoro da eseguire. Montate la testa delle fustelle e le fustelle attenendovi alle istruzioni fornite in ciascun kit fustelle. Fate riferimento alla tabella di configurazione delle fustelle di ProCore 864 e di ProCore 1298 in Attrezzi/accessori.
Important: Non azionate mai la macchina se le teste delle fustelle non sono montate. I bracci potrebbero muoversi eccessivamente e danneggiare il telaio della macchina.
Parti necessarie per questa operazione:
| Protezioni del tappeto erboso (non in dotazione) | – |
La macchina dispone di una vasta gamma di protezioni per il tappeto erboso. Utilizzate le protezioni del tappeto erboso corrette per le teste delle fustelle selezionate.
Allentate i dadi che fissano le fascette delle protezioni del tappeto erboso alla barra delle protezioni del tappeto erboso (Figura 17).

Fate scorrere la protezione del tappeto erboso corretta sotto alla fascetta della protezione del tappeto erboso.
Regolate le protezioni del tappeto erboso, da sinistra a destra, per mantenere pari distanza dalle fustelle in ciascuna scanalatura.
Serrate i dadi che fissano la protezione del tappeto erboso.
Montate le protezioni del tappeto erboso rimanenti e fissate le relative fascette.
Important: Dalla parte posteriore della macchina, controllate che le fustelle siano allineate con il centro degli spazi previsti nelle protezioni del tappeto erboso.
Parti necessarie per questa operazione:
| Kit di conformità CE, n. cat. 110-4693 (non incluso) | 1 |
Note: Il kit di completamento CE, n. cat. 110-4693 è necessario per il completamento di questo passaggio.
Sul modello ProCore 864, montate una staffa di chiusura sui fermi sinistro e destro del cofano posteriore inferiore e del cofano superiore con un bullone senza dado (4 in tutto); fate riferimento alla Figura 18.

Sul modello ProCore 1298, montate una staffa di chiusura su tutti i fermi del cofano posteriore inferiore e sul fermo esterno del cofano superiore sulle coperture posteriori sinistra e destra con un bullone senza dado (3 per testa di carotaggio, 6 in tutto); fate riferimento alla Figura 18.
Mediante una pinza o una chiave regolabile montate una rondella di bloccaggio interna su ogni bullone (1-2 filetti) per fissare il fermo (Figura 18).
Parti necessarie per questa operazione:
| Adesivo di aggrovigliamento CE | 4 |
Important: Questa procedura è necessaria per tutti i paesi CE e ovunque l'inglese non sia comunemente parlato.
Ruotate la protezione dell'albero per accedere all'adesivo di aggrovigliamento esistente (Figura 19).

Pulite l'adesivo di aggrovigliamento esistente e l'area di protezione attorno all'adesivo.
Rimuovere la pellicola dall'adesivo di aggrovigliamento CE.
Posizionate l'adesivo di aggrovigliamento CE sull'adesivo di aggrovigliamento esistente (Figura 19).
Parti necessarie per questa operazione:
| Coppiglia ad anello (ProCore 864) | 4 |
Important: Utilizzate i supporti di rimessaggio ogniqualvolta rimuovete la macchina dalla motrice.
Avviate la motrice, sollevate la macchina a un'altezza tra 7,6 e 15,2 cm da terra, spegnete il motore e rimuovete la chiave.
Rimuovete le 2 coppiglie ad anello che fissano uno dei due supporti di rimessaggio alla staffa del supporto sul telaio del gancio di traino della macchina (Figura 20).

Rimuovete il supporto di rimessaggio.
Ripetete i passaggi 2 e 3 sull’altro lato della macchina.
Inserite le coppiglie ad anello (in dotazione nelle parti sfuse) nei perni di supporto per il rimessaggio (Figura 20).
Important: Utilizzate il supporto di rimessaggio ogniqualvolta rimuovete la macchina dalla motrice.
Note: Il supporto di rimessaggio pesa approssimativamente 85 kg.
Avviate la motrice, sollevate leggermente la macchina da terra, spegnete il motore e rimuovete la chiave.
Rimuovete le 2 coppiglie che fissano i 2 perni del supporto di rimessaggio a quest'ultimo (Figura 21).

Rimuovete i 2 perni del supporto di rimessaggio (Figura 21).
Avviate la motrice e utilizzatela per sollevare la macchina dal supporto di rimessaggio.
Ruotate l'albero di entrata del regolatore di profondità in senso orario per ridurre la profondità di arieggiatura o in senso antiorario per aumentarla (Figura 22).

Note: 17 giri del regolatore di profondità equivalgono a una modifica della profondità di 6,4 mm circa.
Note: Specifiche e disegno sono soggetti a variazione senza preavviso.
| Larghezza operativa | 163 cm |
| Larghezza totale | 170 cm |
| Lunghezza totale | 89 cm |
| Altezza totale | 98 cm |
| Peso | 714 kg |
| Larghezza operativa | 249 cm |
| Larghezza totale | 257 cm |
| Lunghezza totale | 89 cm |
| Altezza totale | 98 cm |
| Peso | 1043 kg |
È disponibile una gamma di attrezzi ed accessori approvati da Toro per l'impiego con la macchina, per ottimizzare ed ampliare le sue applicazioni. Richiedete la lista degli attrezzi ed accessori approvati ad un Centro assistenza Toro o a un distributore autorizzati, oppure visitate www.Toro.com.
Per garantire prestazioni ottimali e mantenere sempre la macchina in conformità con le norme di sicurezza, utilizzate esclusivamente ricambi e accessori originali Toro. L'utilizzo di parti di ricambio e accessori di altri produttori può essere pericoloso e rendere nulla la garanzia.
| Descrizione del kit fustelle | Fustella aghiforme | Fustella Quad (2x5) | Fustella Quad (1x6) | ||||||
|---|---|---|---|---|---|---|---|---|---|
| N. del modello | 09739 | 09736 | 09737 | ||||||
| Q.tà Kit | 4 | 4 | 4 | ||||||
| Fustelle richieste | 40 | 80 | 48 | ||||||
| Spaziatura laterale | 40 mm | 40 mm | 33 mm | ||||||
| Supporto | 5 mm e 8 mm | diametro 10 mm | diametro 10 mm | ||||||
| N. cat. Turf Guard | 120-1047 | 120–1061 | 120-1062 | 120-1047 | 120-1061 | 120-1062 | 120-1050 | 120-1063 | 120-1064 |
| Q.tà necessaria | 2 | 1 | 1 | 2 | 1 | 1 | 2 | 1 | 1 |
| Opzioni fustelle | Aghi da 5 mm e 8 mm | Titan e Titan Quad; Titan e Titan Max Cross; Titan Solid Round | Titan e Titan Quad; Titan e Titan Max Cross; Titan Solid Round | ||||||
| Descrizione del kit fustelle | A 3 fustelle | A 4 fustelle | A 3 fustelle HD | ||||||
|---|---|---|---|---|---|---|---|---|---|
| N. del modello | 09794 | 09796 | 09797 | ||||||
| Q.tà Kit | 4 | 4 | 4 | ||||||
| Fustelle richieste | 24 | 32 | 24 | ||||||
| Spaziatura laterale | 66 mm | 51 mm | 66 mm | ||||||
| Supporto | diametro 19 mm | diametro 19 mm | diametro 22 mm | ||||||
| N. cat. Turf Guard | 120-1044 | 120-1057 | 120-1058 | 120-1045 | 120-1059 | 120-1060 | 120-1044 | 120-1057 | 120-1058 |
| Q.tà necessaria | 2 | 1 | 1 | 2 | 1 | 1 | 2 | 1 | 1 |
| Opzioni fustelle | Titan Hollow e Max Hollow; Titan Side Eject e Max Side Eject | Titan Hollow e Max Hollow; Titan Side Eject e Max Side Eject | Titan Hollow e Max Hollow; Titan Side Eject e Max Side Eject | ||||||
| Titan Cross e Max Cross*; Titan Slicing; Titan Fairway e HD Fairway Titan Split; Titan Solid Round | Titan Cross e Max Cross*; Titan Slicing; Titan Fairway e HD Fairway Titan Split; Titan Solid Round | Titan Cross e Max Cross*; Titan Slicing; Titan Fairway e HD Fairway Titan Split; Titan Solid Round | |||||||
| Descrizione del kit fustelle | A cambio rapido (3 fustelle) | A cambio rapido (4 fustelle) | ||||||
|---|---|---|---|---|---|---|---|---|
| N. del modello | 09711 | 09719 | ||||||
| Q.tà Kit | 4 | 4 | ||||||
| Fustelle richieste | 24 | 32 | ||||||
| Spaziatura laterale | 66 mm | 51 mm | ||||||
| Supporto | Non applicabile | Non applicabile | ||||||
| Descrizione boccola | 19 mm | 122 mm | 19 mm | 22 mm | ||||
| N. cat. | 108-6837 | 108-6838 | 108-6837 | 108-6838 | ||||
| Q.tà necessaria | 24 | 24 | 32 | 32 | ||||
| N. cat. Kit utensili (1 necessario) | 114-0890-01 | 114-0890-01 | ||||||
| N. cat. Turf Guard | 120-1044 | 120-1057 | 120-1058 | 120-1045 | 120–1059 | 120-1060 | ||
| Q.tà necessaria | 2 | 1 | 1 | 2 | 1 | 1 | ||
| Opzioni fustelle | Titan Hollow e Max Hollow; Titan Side Eject e Max Side Eject | Titan Hollow e Max Hollow; Titan Side Eject e Max Side Eject | ||||||
| Titan Cross e Max Cross*; Titan Slicing; Titan Fairway e HD Fairway Titan Split; Titan Solid Round | Titan Cross e Max Cross*; Titan Slicing; Titan Fairway e HD Fairway Titan Split; Titan Solid Round | |||||||
| Descrizione del kit fustelle | Fustella aghiforme | Fustella Quad (2x5) | Fustella Quad (1x6) | A 3 fustelle | ||||
|---|---|---|---|---|---|---|---|---|
| N. del modello | 09739 | 09736 | 09737 | 09794 | ||||
| Q.tà Kit | 6 | 6 | 6 | 6 | ||||
| Fustelle richieste | 60 | 120 | 72 | 36 | ||||
| Spaziatura laterale | 40 mm | 40 mm | 33 mm | 66 mm | ||||
| Supporto | 5 mm e 8 mm | diametro 10 mm | diametro 10 mm | diametro 19 mm | ||||
| N. cat. Turf Guard | 120-1047 | 120-1052 | 120-1047 | 120-1052 | 120-1050 | 120-1053 | 120-1044 | 120-1051 |
| Q.tà necessaria | 4 | 2 | 4 | 2 | 4 | 2 | 4 | 2 |
| Opzioni fustelle | Aghi da 5 mm e 8 mm | Titan e Titan Quad; Titan e Titan Max Cross; Titan Solid Round | Titan e Titan Quad; Titan e Titan Max Cross; Titan Solid Round | Titan Hollow e Max Hollow; Titan Side Eject e Max Side Eject | ||||
| Titan Cross e Max Cross*; Titan Slicing; Titan Fairway e HD Fairway Titan Split; Titan Solid Round | ||||||||
| Descrizione del kit fustelle | A 4 fustelle | A 3 fustelle HD | A cambio rapido (3 fustelle) | A cambio rapido (4 fustelle) | ||||
|---|---|---|---|---|---|---|---|---|
| N. del modello | 09796 | 09797 | 09711 | 09719 | ||||
| Q.tà Kit | 6 | 6 | 6 | 6 | ||||
| Fustelle richieste | 48 | 36 | 36 | 48 | ||||
| Spaziatura laterale | 51 mm | 66 mm | 66 mm | 51 mm | ||||
| Supporto | diametro 19 mm | diametro 22 mm | Non applicabile | Non applicabile | ||||
| Descrizione boccola | Non applicabile | Non applicabile | 19 mm | 22 mm | 19 mm | 22 mm | ||
| N. cat. | 108-6837 | 108-6838 | 108-6837 | 108-6838 | ||||
| Q.tà necessaria | 36 | 36 | 48 | 48 | ||||
| N. cat. Kit utensili (1 necessario) | Non applicabile | Non applicabile | 114-0890-01 | 114-0890-01 | ||||
| N. cat. Turf Guard | 120-1045 | 120-1046 | 120-1044 | 120-1051 | 120-1044 | 120-1051 | 120-1045 | 120-1046 |
| Q.tà (necessaria) | 4 | 2 | 4 | 2 | 4 | 2 | 4 | 2 |
| Opzioni fustelle | Titan Hollow e Max Hollow; Titan Side Eject e Max Side Eject | Titan Hollow e Max Hollow; Titan Side Eject e Max Side Eject | Titan Hollow e Max Hollow; Titan Side Eject e Max Side Eject | Titan Hollow e Max Hollow; Titan Side Eject e Max Side Eject | ||||
| Titan Cross e Max Cross*; Titan Slicing; Titan Fairway e HD Fairway Titan Split; Titan Solid Round | Titan Cross e Max Cross*; Titan Slicing; Titan Fairway e HD Fairway Titan Split; Titan Solid Round | Titan Cross e Max Cross*; Titan Slicing; Titan Fairway e HD Fairway Titan Split; Titan Solid Round | Titan Cross e Max Cross*; Titan Slicing; Titan Fairway e HD Fairway Titan Split; Titan Solid Round | |||||
Note: Stabilite i lati sinistro e destro della macchina dalla normale posizione di guida.
Non lasciate mai che bambini o persone non addestrate utilizzino o effettuino interventi di manutenzione sulla macchina. Le normative locali possono imporre limiti all'età dell'operatore. Il proprietario è responsabile della formazione di tutti gli operatori e i meccanici.
Acquisite familiarità con il funzionamento sicuro dell'attrezzatura, dei comandi dell'operatore e dei segnali di sicurezza.
Spegnete sempre il motore dell'unità motrice, togliete la chiave, attendete che tutte le parti in movimento si fermino e lasciate raffreddare la macchina prima di effettuare interventi di regolazione, assistenza, pulizia o rimessaggio.
Imparate come arrestare la macchina e spegnere il motore rapidamente.
Non utilizzate la macchina senza che tutti gli schermi e gli altri dispositivi di protezione siano montati e funzionanti.
Prima dell'utilizzo, ispezionate sempre la macchina per accertarvi che le fustelle siano in buone condizioni operative. Sostituite le fustelle usurate o danneggiate.
Ispezionate l'area dove utilizzerete la macchina e rimuovete tutti gli oggetti contro cui la macchina potrebbe cozzare.
Individuate e contrassegnate la posizione delle linee elettriche o di comunicazione, i componenti del sistema di irrigazione e altri ostacoli nell’area che deve essere arieggiata. Rimuovete le possibili fonti di pericolo, ove possibile, o pensate a un modo per evitarli.
Assicuratevi che la vostra motrice sia adatta all'utilizzo con una macchina di questo peso. Controllate presso il fornitore o il produttore della vostra motrice.
Fate riferimento al Manuale dell'operatore della motrice Outcross per informazioni relative a comandi e funzionamento, nonché per ulteriori informazioni sulla configurazione della macchina.
Important: Regolate la profondità di arieggiatura solo quando la motrice è parcheggiata, il freno di stazionamento è inserito, la PDF è disinserita e il motore è spento.
Posate la fustella desiderata sull'adesivo di profondità allineando la punta della fustella con la profondità di arieggiatura desiderata, come illustrato nella Figura 23.

Determinate l'impostazione indicata dalla lettera allineata con l'estremità di montaggio della fustella (Figura 23). Regolate il comando della profondità sulla lettera corrispondente sull'adesivo.
Inserite una bussola da 1,4 cm con un cricchetto sull'albero di entrata del regolatore di profondità (Figura 24).

Spingete la bussola o usate una mano per premere la piastra di bloccaggio.
Ruotate il regolatore di profondità in senso orario per ridurre la profondità di arieggiatura o in senso antiorario per aumentarla (Figura 24).
Ruotate l'albero di entrata del regolatore di profondità fino al raggiungimento della profondità desiderata, come illustrato sull'adesivo indicatore di profondità (Figura 24).
Note: 17 giri dell'albero di ingresso del regolatore di profondità equivalgono a una modifica della profondità di 6,4 mm circa.
Prima di azionare la macchina è necessario che familiarizziate con il funzionamento dei seguenti comandi dell'unità motrice:
Innesto della presa di forza
Attacco di traino a tre punti (sollevamento/abbassamento)
Frizione
Acceleratore
Cambio delle marce
Freno di stazionamento
Important: Per le istruzioni di funzionamento, fate riferimento al Manuale dell'operatore della motrice.
L'attacco a 3 punti dell'unità motrice solleva la macchina per il trasferimento e la abbassa per l'azionamento.
La potenza della presa di forza (PDF) dell'unità motrice è trasmessa attraverso gli alberi di trasmissione, la scatola ingranaggi e le cinghie al gruppo albero a gomito, che guida i bracci su cui sono montate le fustelle nella superficie del tappeto erboso.
Mentre l'unità motrice avanza sul terreno con la presa di forza innestata e la macchina abbassata, sul tappeto erboso viene creata una serie di fori.
La profondità di penetrazione delle fustelle è determinata dall'altezza del comando di profondità.
La spaziatura tra i fori di arieggiatura è determinata dal rapporto di trasmissione della motrice (o dalla posizione del pedale di trazione idrostatico) e dal numero di fustelle per ogni testa.
Note: Variando il numero di giri del motore, la spaziatura dei fori non cambia.
Important: Quando collegate la presa di forza, assicuratevi di non sollevare la macchina più del necessario. Sollevando eccessivamente la macchina si rischia di rompere le articolazioni dell'albero di trasmissione della presa di forza (Figura 25). La presa di forza può funzionare con un'angolazione massima di 25° e non può mai superare un angolazione di 35° quando la macchina si trova nella posizione più alta; in caso contrario possono prodursi gravi danni all'albero.

Prima di utilizzare la macchina, trovate un'area sgombra ed esercitatevi nell'utilizzo della motrice con la macchina montata.
Important: Se nell'area da arieggiare sono presenti ugelli per l'irrigazione, cavi elettrici, cavi telefonici o altri ostacoli, contrassegnatene la posizione in modo da non danneggiarli nel corso del lavoro.
Utilizzate l'unità motrice con le impostazioni di marcia e le velocità della presa di forza consigliate; imparate a padroneggiare la motrice quando vi è collegata la macchina.
Esercitatevi ad arrestare ed avviare, a sollevare e abbassare la macchina, a disinnestare la presa di forza e ad allineare la macchina con le passate precedenti.
Sedute di pratica vi aiuteranno a prendere confidenza con il funzionamento della macchina e a farvela usare correttamente.
Interventi di regolazione o di manutenzione della macchina mentre la motrice è in funzione possono essere causa di incidenti, di ferite gravi o di morte..
Prima di abbandonare la postazione dell'operatore, disinnestate la trasmissione della PDF, inserite il freno di stazionamento, spegnete il motore, togliete la chiave e attendete che tutte le parti in movimento si fermino.
Mentre eseguite riparazioni sulla macchina collocatela sui supporti di rimessaggio o su blocchi di sostegno o cavalletti adeguati.
Prima di utilizzare di nuovo la macchina, assicuratevi che tutti i dispositivi di sicurezza siano al proprio posto.
Ispezionate l'area di lavoro per individuare eventuali ostacoli che potrebbero danneggiare la macchina e rimuoveteli, ove possibile, o pensate a un modo per evitarli. Portate con voi fustelle di ricambio e attrezzi, nell'evenienza che le fustelle si danneggino a causa del contatto con materiali estranei.
Il proprietario/operatore può impedire ed è responsabile di incidenti che possano causare infortuni personali o danni alla proprietà.
Non azionate la macchina se siete stanchi, malati o sotto l'influenza di alcol o farmaci.
Prestate la massima attenzione mentre utilizzate la macchina. Non intraprendete alcuna attività che vi possa distrarre; in caso contrario potreste causare infortuni o danni alla proprietà.
Indossate abbigliamento consono, comprendente occhiali di protezione, calzature robuste e antiscivolo, pantaloni lunghi e protezioni per l'udito. Legate i capelli lunghi e non indossate abiti o gioielli larghi o pendenti.
Non trasportate mai passeggeri sulla macchina e tenete astanti e animali domestici a distanza dalla macchina durante l'utilizzo.
Utilizzate la macchina solo in buone condizioni di visibilità per evitare buche o pericoli nascosti.
Tenete mani e piedi a distanza dalle fustelle.
Prima di fare marcia indietro, guardate indietro e in basso, assicurandovi che il percorso sia libero.
Dopo aver colpito un oggetto o se sulla macchina si avvertono vibrazioni anomale, arrestate la macchina, spegnete il motore e attendete che tutte le parti in movimento siano ferme, quindi ispezionate le fustelle. Effettuate tutte le riparazioni necessarie prima di riprendere le operazioni.
La macchina è pesante. Quando è montato su una motrice e si trova in posizione sollevata il suo peso influenza la stabilità, la capacità di frenata e di sterzata. Agite con cautela durante il trasferimento da un'area di lavoro all'altra.
Mantenete sempre una pressione corretta sugli pneumatici della motrice.
Assicuratevi di essere in regola con tutte le norme prima di trasportare attrezzature su strade pubbliche e a traffico veloce. Verificate che tutti i catarifrangenti e i dispositivi di illuminazione obbligatori siano presenti, puliti e visibili da parte dei veicoli in sorpasso e di quelli che procedono nel senso di marcia inverso.
Riducete la velocità su strade e superfici accidentate
Durante il trasporto i freni delle ruote indipendenti devono sempre essere bloccati.
Utilizzate la macchina solo quando la visibilità è buona. Non utilizzate la macchina se c'è rischio di fulmini.
Per tutti i componenti in acciaio dell'albero di trasmissione della presa di forza (tubi, cuscinetti, giunti, ecc.) si consiglia di contattare il proprio distributore Toro di zona. La rimozione di componenti al fine di eseguire interventi di riparazione o di riassemblaggio può causare danni, qualora non sia effettuata da tecnici esperti e con attrezzi specifici.
L'albero di trasmissione della presa di forza non deve essere usato senza le protezioni fornite.
Durante l'utilizzo la frizione può scaldarsi. Non toccatela. Per prevenire il rischio d'incendio, nell'area attorno alla frizione non deve essere presente materiale infiammabile ed è necessario evitare lo slittamento protratto della frizione.
Consultate le specifiche della motrice per accertarvi che non state superando le sue capacità in pendenza.
Le pendenze sono la causa principale di incidenti dovuti a perdita di controllo e ribaltamenti, che possono provocare gravi infortuni o la morte. Siete responsabili del funzionamento sicuro in pendenza. L'utilizzo della macchina su qualsiasi pendenza richiede un livello superiore di attenzione.
Valutate le condizioni del sito, inclusa l’ispezione in loco, per stabilire se la macchina può essere azionata senza rischi in pendenza. Basatevi sempre su buon senso e giudizio quando effettuate questa ricognizione.
Consultate le istruzioni per l’utilizzo in pendenza della macchina elencate di seguito e verificate le condizioni d’uso al fine di determinare se è possibile azionare la macchina in quel particolare giorno e in quel sito. I cambiamenti del terreno possono determinare un cambiamento del funzionamento in pendenza della macchina.
Evitate di avviare, arrestare o sterzare con la macchina in pendenza. Evitate di cambiare bruscamente la velocità o la direzione. Sterzate in modo lento e graduale.
Non azionate la macchina in condizioni in cui trazione, sterzaggio o stabilità possono essere compromessi.
Rimuovete o segnalate le ostruzioni, come fossati, buche, solchi, dossi, rocce o altri pericoli nascosti. L'erba alta può nascondere delle ostruzioni. Il terreno accidentato può ribaltare la macchina.
Siate consapevoli del fatto che l'utilizzo della macchina su erba bagnata, trasversalmente su pendenze o in discesa può causare una perdita di trazione della macchina. La perdita di trazione delle ruote motrici può comportare uno slittamento e una perdita di capacità frenante e sterzante.
Prestate estrema cautela durante l'utilizzo della macchina in prossimità di scarpate, fossati, terrapieni, zone d'acqua pericolose o altri pericoli. La macchina potrebbe ribaltarsi improvvisamente nel caso in cui una ruota ne superi il bordo o se il bordo dovesse cedere. Individuate un'area di sicurezza tra la macchina ed eventuali pericoli.
Note: Quando utilizzate teste per fustelle aghiformi, assicuratevi di leggere le istruzioni in dotazione con il kit per le procedure di funzionamento uniche.
Abbassate la macchina sull'attacco a 3 punti, in modo da portare le fustelle quasi a contatto con il suolo quando si trovano nel punto più basso della loro corsa.
Ad un regime motore basso, mettete in funzione la macchina innestando la frizione della presa di forza (PDF).
Important: Non azionate mai la macchina se le teste delle fustelle non sono montate.
Selezionate una marcia che faccia avanzare l'unità motrice a una velocità compresa tra 1 e 4 km/h circa, con un regime nominale della presa di forza di 540 giri/min (fate riferimento al manuale dell'operatore dell'unità motrice).
Quando rilasciate la frizione e l'unità motrice comincia ad avanzare, abbassate completamente la macchina fino al contatto con il tappeto erboso e aumentate il regime del motore per arrivare a massimo 540 giri/min della PDF.
Important: Non azionate mai la PDF della motrice oltre 540 giri/min, per evitare di danneggiare la macchina.
Note: Accertatevi che il rullo sia a livello del suolo.
Osservate i fori sul tappeto erboso. Se avete bisogno di una maggiore spaziatura tra i fori, aumentate la velocità della motrice innestando una marcia più alta o, in caso di motrice con trasmissione idrostatica, agite sulla leva o sul pedale dell'idrostato. Per avere fori più vicini tra loro, diminuite la velocità di avanzamento della motrice. La variazione del regime motore in una determinata marcia non cambia lo schema dei fori.
Important: Guardate spesso indietro per accertarvi che la macchina funzioni correttamente e mantenga l'allineamento con le passate precedenti.
Usate la ruota anteriore della motrice come guida per mantenere spaziatura laterale dei fori uguale alla passata precedente.
Al termine dell'arieggiatura, sollevate la macchina e disinnestate la presa di forza.
Se dovete spostarvi in retromarcia in un'area stretta (come quella del tee), disinnestate la presa di forza e sollevate la macchina nella posizione più alta. Prestate attenzione a non impigliare le protezioni del tappeto erboso nel tappeto stesso.
Sgomberate sempre la zona di lavoro da parti danneggiate della macchina, come fustelle spezzate ecc., per impedire che vengano raccolte da tosaerba o da altre attrezzature per la manutenzione dei tappeti erbosi e siano scagliate in aria.
Sostituite le fustelle rotte, ispezionate e riparate quelle danneggiate che sono ancora utilizzabili. Riparate eventuali altri danni alla macchina prima di continuare ad utilizzarla.
La spaziatura anteriore tra i fori è determinata dal rapporto di marcia della motrice (o dal pedale della trazione idrostatica).. Variando la velocità del motore, la spaziatura anteriore non cambia.
La spaziatura laterale tra i fori è determinata dal numero di fustelle presenti nelle teste.
| Spaziatura tra i fori | Velocità di trasferimento | ||||||||||||
|---|---|---|---|---|---|---|---|---|---|---|---|---|---|
| mm | km/h (mph) | ||||||||||||
| 25 (1) | 0,6 (0,4) | 0,6 (0,4) | 0,6 (0,4) | 0,6 (0,4) | 0,6 (0,4) | 0,6 (0,4) | 0,6 (0,4) | 0,6 (0,4) | 0,8 (0,5) | 0,8 (0,5) | 0,8 (0,5) | 0,8 (0,5) | 0,8 (0,5) |
| 32 (1,25) | 0,8 (0,5) | 0,8 (0,5) | 0,8 (0,5) | 0,8 (0,5) | 0,8 (0,5) | 0,8 (0,5) | 0,8 (0,5) | 1,0 (0,6) | 1,0 (0,6) | 1,0 (0,6) | 1,0 (0,6) | 1,0 (0,6) | 1,0 (0,6) |
| 38 (1,5) | 1,0 (0,6) | 1,0 (0,6) | 1,0 (0,6) | 1,0 (0,6) | 1,0 (0,6) | 1,0 (0,6) | 1,1 (0,7) | 1,1 (0,7) | 1,1 (0,7) | 1,1 (0,7) | 1,1 (0,7) | 1,1 (0,7) | 1,1 (0,7) |
| 44 (1,75) | 1,1 (0,7) | 1,1 (0,7) | 1,1 (0,7) | 1,1 (0,7) | 1,1 (0,7) | 1,1 (0,7) | 1,3 (0,8) | 1,3 (0,8) | 1,3 (0,8) | 1,3 (0,8) | 1,3 (0,8) | 1,3 (0,8) | 1,3 (0,8) |
| 51 (2) | 1,3 (0,8) | 1,3 (0,8) | 1,3 (0,8) | 1,3 (0,8) | 1,3 (0,8) | 1,4 (0,9) | 1,4 (0,9) | 1,4 (0,9) | 1,4 (0,9) | 1,4 (0,9) | 1,4 (0,9) | 1,6 (1,0) | 1,6 (1,0) |
| 57 (2,25) | 1,4 (0,9) | 1,4 (0,9) | 1,4 (0,9) | 1,4 (0,9) | 1,4 (0,9) | 1,6 (1,0) | 1,6 (1,0) | 1,6 (1,0) | 1,6 (1,0) | 1,6 (1,0) | 1,8 (1,1) | 1,8 (1,1) | 1,8 (1,1) |
| 64 (2,5) | 1,6 (1,0) | 1,6 (1,0) | 1,6 (1,0) | 1,6 (1,0) | 1,6 (1,0) | 1,8 (1,1) | 1,8 (1,1) | 1,8 (1,1) | 1,8 (1,1) | 1,9 (1,2) | 1,9 (1,2) | 1,9 (1,2) | 1,9 (1,2) |
| 70 (2,75) | 1,6 (1,0) | 1,8 (1,1) | 1,8 (1,1) | 1,8 (1,1) | 1,8 (1,1) | 1,9 (1,2) | 1,9 (1,2) | 1,9 (1,2) | 1,9 (1,2) | 2,1 (1,3) | 2,1 (1,3) | 2,1 (1,3) | 2,1 (1,3) |
| 76 (3) | 1,8 (1,1) | 1,9 (1,2) | 1,9 (1,2) | 1,9 (1,2) | 2,1 (1,3) | 2,1 (1,3) | 2,1 (1,3) | 2,1 (1,3) | 2,3 (1,4) | 2,3 (1,4) | 2,3 (1,4) | 2,3 (1,4) | 2,4 (1,5) |
| 83 (3,25) | 1,9 (1,2) | 2,1 (1,3) | 2,1 (1,3) | 2,1 (1,3) | 2,3 (1,4) | 2,3 (1,4) | 2,3 (1,4) | 2,3 (1,4) | 2,4 (1,5) | 2,4 (1,5) | 2,4 (1,5) | 2,6 (1,6) | 2,6 (1,6) |
| 89 (3,5) | 2,1 (1,3) | 2,3 (1,4) | 2,3 (1,4) | 2,3 (1,4) | 2,4 (1,5) | 2,4 (1,5) | 2,4 (1,5) | 2,6 (1,6) | 2,6 (1,6) | 2,6 (1,6) | 2,7 (1,7) | 2,7 (1,7) | 2,7 (1,7) |
| 95 (3,75) | 2,3 (1,4) | 2,4 (1,5) | 2,4 (1,5) | 2,4 (1,5) | 2,6 (1,6) | 2,6 (1,6) | 2,6 (1,6) | 2,7 (1,7) | 2,7 (1,7) | 2,7 (1,7) | 2,9 (1,8) | 2,9 (1,8) | 3,1 (1,9) |
| 102 (4) | 2,4 (1,5) | 2,6 (1,6) | 2,6 (1,6) | 2,6 (1,6) | 2,7 (1,7) | 2,7 (1,7) | 2,7 (1,7) | 2,9 (1,8) | 2,9 (1,8) | 3,1 (1,9) | 3,1 (1,9) | 3,1 (1,9) | 3,2 (2,0) |
| 108 (4,25) | 2,6 (1,6) | 2,7 (1,7) | 2,7 (1,7) | 2,7 (1,7) | 2,9 (1,8) | 2,9 (1,8) | 3,1 (1,9) | 3,1 (1,9) | 3,1 (1,9) | 3,2 (2,0) | 3,2 (2,0) | 3,2 (2,0) | 3,4 (2,1) |
| 114 (4,5) | 2,7 (1,7) | 2,9 (1,8) | 2,9 (1,8) | 2,9 (1,8) | 3,1 (1,9) | 3,1 (1,9) | 3,2 (2,0) | 3,2 (2,0) | 3,2 (2,0) | 3,4 (2,1) | 3,4 (2,1) | 3,5 (2,2) | 3,5 (2,2) |
| 121 (4,75) | 2,9 (1,8) | 3,1 (1,9) | 3,1 (1,9) | 3,1 (1,9) | 3,2 (2,0) | 3,2 (2,0) | 3,4 (2,1) | 3,4 (2,1) | 3,5 (2,2) | 3,5 (2,2) | 3,5 (2,2) | 3,7 (2,3) | 3,7 (2,3) |
| 127 (5) | 3,1 (1,9) | 3,2 (2,0) | 3,2 (2,0) | 3,2 (2,0) | 3,4 (2,1) | 3,4 (2,1) | 3,5 (2,2) | 3,5 (2,2) | 3,7 (2,3) | 3,7 (2,3) | 3,9 (2,4) | 3,9 (2,4) | 4,0 (2,5) |
| 133 (5,25) | 3,2 (2,0) | 3,4 (2,1) | 3,4 (2,1) | 3,4 (2,1) | 3,5 (2,2) | 3,5 (2,2) | 3,7 (2,3) | 3,7 (2,3) | 3,9 (2,4) | 3,9 (2,4) | 4,0 (2,5) | 4,0 (2,5) | 4,2 (2,6) |
| 140 (5,5) | 3,4 (2,1) | 3,4 (2,1) | 3,5 (2,2) | 3,5 (2,2) | 3,7 (2,3) | 3,7 (2,3) | 3,9 (2,4) | 3,9 (2,4) | 4,0 (2,5) | 4,0 (2,5) | 4,2 (2,6) | 4,2 (2,6) | 4,3 (2,7) |
| 146 (5,75) | 3,5 (2,2) | 3,5 (2,2) | 3,7 (2,3) | 3,9 (2,4) | 3,9 (2,4) | 4,0 (2,5) | 4,0 (2,5) | 4,2 (2,6) | 4,2 (2,6) | 4,3 (2,7) | 4,3 (2,7) | 4,5 (2,8) | 4,5 (2,8) |
| 152 (6) | 3,7 (2,3) | 3,7 (2,3) | 3,9 (2,4) | 4,0 (2,5) | 4,0 (2,5) | 4,2 (2,6) | 4,2 (2,6) | 4,3 (2,7) | 4,3 (2,7) | 4,5 (2,8) | 4,5 (2,8) | 4,7 (2,9) | 4,7 (2,9) |
| Giri/min PDF | 420 | 430 | 440 | 450 | 460 | 470 | 480 | 490 | 500 | 510 | 520 | 530 | 540 |
Se il terreno è troppo sodo per ottenere la profondità di carotaggio desiderata, la testa di carotaggio può assumere un ritmo 'rimbalzante'. Questo è causato dalle fustelle cercano di penetrare il terreno sodo. Potete correggere questa condizione provando a seguire questi consigli:
I migliori risultati si ottengono dopo la pioggia o il giorno successivo a quello d'irrigazione del tappeto erboso.
Riducete il numero di fustelle su ogni braccio del gruppo di pressione; cercate di mantenere una configurazione simmetrica delle fustelle per caricare in modo uniforme i bracci del gruppo di pressione;
Se il terreno è molto compatto e sodo riducete la penetrazione delle fustelle (impostazione della profondità). Raccogliete le carote, innaffiate il tappeto erboso e arieggiate di nuovo ad una maggiore profondità.
L'arieggiatura di terreni costruiti su terreno di sottofondo duro (sabbia o terra sopra terreno roccioso) può produrre fori di qualità indesiderata. Ciò avviene quando la profondità di arieggiatura è superiore a quella dello strato di terreno superiore e le fustelle non possono penetrare il terreno di sottofondo perché è troppo sodo. Quando le fustelle vengono a contatto con questo terreno di sottofondo, la macchina può sollevarsi e allungare la parte superiore dei fori. Riducete la profondità di arieggiatura quanto basta per evitare la penetrazione nel duro terreno di sottofondo.
L'utilizzo di fustelle lunghe su una testa per fustelle aghiformi o per mini fustelle può lasciare sulla parte anteriore o posteriore del foro una cresta di terra o una piccola deformazione. Con questo tipo di fustelle in genere la qualità del foro migliora se si riduce la velocità delle teste di carotaggio di un 10–15% rispetto alla piena velocità operativa. Riducete il regime motore fino a raggiungere 460-490 giri/min circa della presa di forza. Riducendo la velocità del motore la spaziatura anteriore non cambia. La qualità del foro varia anche in funzione della posizione del gruppo ammortizzatore Rotalink. Vedere Regolazione del gruppo Rotalink.
L'utilizzo di teste per mini fustelle, in combinazione con fustelle di carotaggio più grandi o fustelle piene di diametro maggiore, può causare un notevole stress allo strato radicale del tappeto erboso. Questo stress può rompere lo strato radicale e sollevare il tappeto erboso. In caso di danni, adottate una o più delle seguenti misure:
Riducete la densità delle fustelle (rimuovete alcune fustelle).
Diminuite la profondità di carotaggio
Note: Provate a diminuire la profondità della carota di 13 mm alla volta.
Aumentate la spaziatura anteriore dei fori (passate alla marcia superiore della motrice).
Diminuite il diametro delle fustelle (piene o per carotaggio).
L'altezza di montaggio del gruppo ammortizzatore Rotalink influisce sulla forza di reazione applicata al braccio del gruppo di pressione e sul lavoro a livello del terreno durante l'arieggiatura. Nel caso di spinta sulla parte anteriore del foro (allungata o infossata), una posizione più "rigida" può aiutare a contrastare la spinta e a migliorare la qualità del foro. Nel caso di spinta sulla parte posteriore del foro (allungata o infossata), una posizione più "morbida" può aiutare a migliorare la qualità del foro.
Togliete i 2 dadi di bloccaggio (½") che fissano il gruppo ammortizzatore Rotalink al sottoscocca del telaio della testa di carotaggio (Figura 26).
Abbassate il gruppo ammortizzatore per esporre i distanziali (Figura 26).
Spostate 1 o 2 distanziali per lato dal gruppo ammortizzatore sulla parte superiore del telaio della testa di carotaggio. Ciascun distanziale equivale a ½". Il distanziale del paraurti inferiore deve rimanere sul gruppo ammortizzatore.

Montate nuovamente il gruppo ammortizzatore sul telaio della testa di carotaggio. Accertatevi che la rondella D sia montata contro il telaio della testa di carotaggio, come illustrato nella Figura 26. Fissate i 2 dadi di bloccaggio.
Per vedere gli effetti di questa regolazione, regolate solo 3-4 gruppi per confrontare la posizione originale e la nuova posizione su una passata di prova. Una volta ottenuti risultati soddisfacenti, spostate i gruppi rimanenti alla stessa altezza dei bracci desiderati.
Interventi di regolazione o di riparazione della macchina mentre la motrice è in funzione possono essere causa di incidenti, di ferite gravi o di morte.
Prima di abbandonare la postazione dell'operatore, disinnestate la trasmissione della PDF, inserite il freno di stazionamento, spegnete il motore e togliete la chiave.
Prima di eseguire riparazioni sulla macchina collocatela sui supporti di rimessaggio o su blocchi di sostegno adeguati.
Prima di utilizzare di nuovo la macchina, assicuratevi che tutti i dispositivi di sicurezza siano al proprio posto.
Innestate la presa di forza a regimi motore bassi. Aumentate il regime motore sino a raggiungere 540 giri/min (massimo) della presa di forza e abbassate la macchina. Adottate un regime motore che consenta il funzionamento fluido della macchina.
Note: La variazione del regime del motore o della presa di forza in una particolare marcia della motrice (o la posizione con il pedale fisso in caso di motrice con trasmissione idrostatica), non cambia la spaziatura tra i fori.
In fase di arieggiatura eseguite curve molto graduali. Non eseguite mai curve strette quando la macchina è abbassata. Programmate il percorso di arieggiatura prima di abbassare la macchina.
Se il carico operativo rallenta il motore durante l'arieggiatura della macchina su terreno duro o in salita, sollevate leggermente la macchina fino a quando il motore non riacquista velocità, quindi abbassatela nuovamente.
Non eseguite l'arieggiatura se il terreno è troppo duro o arido. I migliori risultati si ottengono dopo la pioggia o il giorno successivo a quello d'irrigazione del tappeto erboso.
Note: Se il rullo si solleva da terra durante l'arieggiatura, significa che il suolo è troppo duro per potere ottenere la profondità di penetrazione delle fustelle desiderata; riducete la profondità di arieggiatura fino a quando il rullo non entra in contatto con il suolo.
Se il terreno è compatto e sodo riducete la penetrazione della macchina. Liberate il tappeto dai residui dell'arieggiatura e arieggiate a una profondità maggiore, meglio se dopo l'irrigazione.
ProCore 864 è decentrato sul lato destro della motrice per consentire che l'arieggiatura si svolga senza passare sopra alle carote con gli pneumatici. Quando possibile arieggiate con il disassamento più lungo rivolto verso la passata di arieggiatura precedente.
Controllate/regolate sempre l'attacco superiore ogni volta che cambiate profondità di arieggiatura. La parte anteriore della macchina deve essere verticale.
Guardate spesso indietro per accertarvi che la macchina funzioni correttamente e mantenga l'allineamento con le passate precedenti.
Sgomberate sempre la zona di lavoro da parti danneggiate della macchina, come fustelle spezzate ecc., per impedire che vengano raccolte da tosaerba o da altre attrezzature per la manutenzione dei tappeti erbosi e siano scagliate in aria.
Sostituite le fustelle spezzate, ispezionate e riparate i danni delle fustelle utilizzabili. Riparate eventuali danni alla macchina prima di iniziare ad utilizzarla.
Parcheggiate la macchina su una superficie piana; prima di scendere dal posto di guida inserite il freno di stazionamento, spegnete il motore, togliete la chiave e attendete che si fermino tutte le parti in movimento.
Mantenete tutte le parti della macchina in buone condizioni operative e la bulloneria ben serrata.
Sostituite tutti gli adesivi usurati, danneggiati o mancanti.
Per iniziare le operazioni di trasferimento, sollevate la macchina e disinnestate la presa di forza. Per evitare di perdere il controllo della macchina, salite lentamente i pendii ripidi, procedete a velocità ridotta sulle aree accidentate e prestate attenzione sui terreni particolarmente ondulati.
Important: Non superate la velocità di trasferimento di 24 km/h.
| Cadenza di manutenzione | Procedura di manutenzione |
|---|---|
| Dopo ogni utilizzo |
|
Important: Non utilizzate acqua salmastra o depurata per pulire la macchina.
A lavoro terminato, ogni giorno lavate bene la macchina con un flessibile da giardino privo di ugello, per evitare contaminazioni e non danneggiare guarnizioni o cuscinetti con acqua sotto eccessiva pressione.
Note: Utilizzate una spazzola per rimuovere con più facilità morchia e detriti accumulati, secchi o compattati.
Lavate i carter con un detersivo neutro.
Ispezionate la macchina per escludere danni, perdite di olio e componenti o fustelle usurati.
Una volta pulita la macchina, ingrassate tutti i componenti di trasmissione e i cuscinetti a sfera; fate riferimento a Ingrassaggio di cuscinetti e boccole.
Spruzzate leggermente dell'olio nebulizzato sui cuscinetti della testa di carotaggio (gomito e connessioni dell'ammortizzatore).
Togliete le fustelle, pulitele e lubrificatele.
| Cadenza di manutenzione | Procedura di manutenzione |
|---|---|
| Dopo le prime 8 ore |
|
| Prima di ogni utilizzo o quotidianamente |
|
| Dopo ogni utilizzo |
|
| Ogni 50 ore |
|
| Ogni 100 ore |
|
| Ogni 250 ore |
|
| Ogni 500 ore |
|
| Prima del rimessaggio |
|
| Ogni anno |
|
Prima di effettuare interventi di regolazione, pulizia, manutenzione o prima di abbandonare la macchina, effettuate quanto segue:
Parcheggiate la macchina su terreno pianeggiante.
Spostate l'interruttore dell'acceleratore in posizione di minima inferiore.
Disinnestate la PDF.
Assicuratevi che la trazione sia in folle.
Inserite il freno di stazionamento.
Spegnete il motore dell'unità motrice e togliete la chiave.
Attendete che tutte le parti mobili si fermino.
Lasciate che i componenti della macchina si raffreddino prima di effettuare la manutenzione.
Eseguite solamente gli interventi di manutenzione indicati in questo manuale. Qualora siano necessari interventi di assistenza o di riparazione importanti, rivolgetevi a un distributore Toro autorizzato.
Accertatevi che la macchina si trovi in condizioni operative sicure serrando dadi, bulloni e viti.
Se possibile, non effettuate la manutenzione mentre il motore è in funzione. Tenetevi a distanza dalle parti in movimento.
Non controllate o regolate la tensione della cinghia quando il motore della motrice è in funzione.
Scaricate con cautela la pressione dai componenti che hanno accumulato energia.
Quando lavorate sotto la macchina, sorreggetela con blocchi di sostegno o supporti di rimessaggio. Non affidatevi mai al sistema idraulico per sorreggere la macchina.
Controllate quotidianamente i bulloni di montaggio delle fustelle per accertarvi che siano serrati come da specifiche.
Al termine degli interventi di manutenzione o regolazione sulla macchina, assicuratevi che tutte le protezioni siano state montate e che il cofano sia ben chiuso.
Per garantire prestazioni sicure e ottimali della macchina, utilizzate solo ricambi originali Toro. Ricambi fabbricati da altri costruttori possono essere pericolosi e tale utilizzo potrebbe rendere nulla la garanzia del prodotto.
Se la macchina non è correttamente supportata da blocchi o cavalletti metallici, può spostarsi o cadere, e causare infortuni.
Parcheggiate la macchina su terreno piano e solido, per esempio un pavimento in cemento. Bloccate sempre gli pneumatici della motrice.
Prima di sollevare la macchina togliete tutti gli accessori che possano interferire con il sollevamento sicuro e corretto della macchina.
In sede di sostituzione di accessori o per altri interventi di manutenzione, usate blocchi, paranchi e cavalletti idonei.
Sostenete la macchina su cavalletti metallici o su blocchi di legno duro.
Note: Se disponibile, utilizzate un paranco per sollevare la parte posteriore della macchina. Come punti di attacco per il sollevamento utilizzate i ganci ad occhiello nelle sedi dei cuscinetti della testa di carotaggio (Figura 27).

| Cadenza di manutenzione | Procedura di manutenzione |
|---|---|
| Ogni 50 ore |
|
I cuscinetti principali della macchina sono sigillati a vita e non richiedono alcuna manutenzione o lubrificazione. Questa caratteristica riduce drasticamente gli interventi di manutenzione ed elimina il rischio di caduta di grasso od olio sul tappeto erboso.
Vi sono raccordi di ingrassaggio che devono essere lubrificati con grasso universale SAE per utilizzo ad alte temperature e ad alte pressioni (EP) o con grasso universale SAE a base di litio.
Important: Lubrificate i raccordi immediatamente dopo ogni lavaggio, indipendentemente dalla cadenza indicata.
Ingrassate la macchina nei seguenti punti:
Albero di trasmissione della PDF (3) (Figura 28)

Cuscinetti del rullo (ProCore 864: 2: ProCore 1298: 4) (Figura 29)

Cuscinetti dell'albero di trasmissione (ProCore 864: 1: ProCore 1298: 2) (Figura 30).

Important: È raro che i cuscinetti accusino avarie a causa di difetti di materiale o lavorazione. La causa più comune di avarie è l'umidità e la contaminazione che penetrano oltre le tenute di protezione. I cuscinetti ingrassati fanno affidamento su una manutenzione regolare per eliminare i residui dannosi dalla zona dei cuscinetti. I cuscinetti sigillati vengono riempiti inizialmente con un grasso speciale, e fanno affidamento su una guarnizione di tenuta integrale e robusta per tenere l'umidità e le sostanze contaminanti fuori dagli elementi girevoli.
I cuscinetti ermetici non hanno bisogno di lubrificazione o manutenzione a breve termine. L'utilizzo di cuscinetti sigillati riduce la manutenzione ordinaria e i rischi di danneggiare il tappeto erboso a causa della contaminazione da grasso. Controllate periodicamente le condizioni dei cuscinetti e l'integrità della tenuta per evitare tempi di fermo macchina. Controllate i cuscinetti sigillati a ogni stagione e sostituiteli se risultano danneggiati o usurati. Verificate che i cuscinetti non generino calore eccessivo, non producano rumore, non vibrino eccessivamente o trasudino ruggine; il loro funzionamento deve essere fluido.
A causa delle condizioni operative alle quali sono soggetti questi cuscinetti e confezioni ermetiche (es. sabbia, sostanze chimiche sul tappeto erboso, acqua, urti ecc.) essi sono considerati articoli di normale usura. I cuscinetti avariati per cause non attribuibili a difetti di materiale o lavorazione non sono normalmente coperti da garanzia.
Note: La vita utile dei cuscinetti può essere compromessa da procedure di lavaggio non adeguate. Non lavate l'attrezzo quando è ancora caldo ed evitate di spruzzare i cuscinetti con lance ad alta pressione o ad alto volume.In genere dai cuscinetti nuovi di una macchina nuova fuoriesce grasso. Questo grasso spurgato diventa nero a causa dei detriti raccolti, non per il calore eccessivo. Tergete il grasso superfluo dalle guarnizioni di tenuta dopo le prime 8 ore di servizio. La zona attorno al labbro della tenuta potrebbe presentarsi sempre bagnata. Ciò non nuoce alla vita utile del cuscinetto, anzi mantiene lubrificato il labbro della guarnizione.Sostituite i cuscinetti della testa di carotaggio ogni 500 ore. Presso il vostro distributore è disponibile il kit di manutenzione dei cuscinetti, sufficiente per l'intera testa di carotaggio.
| Cadenza di manutenzione | Procedura di manutenzione |
|---|---|
| Ogni 100 ore |
|
La trasmissione è riempita con olio per trasmissioni 80W-90 o equivalente. Fate raffreddare la trasmissione prima di controllare la lubrificazione.
Eliminate eventuali detriti dal tappo di riempimento e dal tappo di controllo per evitare la contaminazione.
Rimuovete il tappo di controllo dalla trasmissione (Figura 31).

Verificate che il livello dell'olio nella trasmissione arrivi al bordo inferiore del foro del tappo di controllo (Figura 31).
Se il livello dell'olio è basso, togliete il tappo di riempimento dalla trasmissione e aggiungete olio in base alle esigenze.
Montate i tappi.
| Cadenza di manutenzione | Procedura di manutenzione |
|---|---|
| Dopo le prime 8 ore |
|
| Ogni 250 ore |
|
La trasmissione è riempita con olio per trasmissioni 80W-90 o equivalente.
Eliminate eventuali detriti dal tappo di riempimento e dal tappo di spurgo per evitare la contaminazione (Figura 31).
Togliete il tappo di riempimento per facilitare lo scorrimento dell'olio.
Mettete una bacinella sotto il tubo di spurgo e togliete il tappo.
Note: L'alta viscosità dell'olio freddo prolunga il tempo dello spurgo (circa 30 minuti).
Una volta che l'olio è fuoriuscito del tutto, rimontate il tappo di spurgo.
Riempite la trasmissione con 1650 ml di olio di alta qualità 80W-90.
Montate il tappo di spurgo.
Controllate il livello dell’olio.
| Cadenza di manutenzione | Procedura di manutenzione |
|---|---|
| Dopo le prime 8 ore |
|
| Ogni 250 ore |
|
Dopo le 8 ore iniziali di utilizzo, controllate i fermi della testa di carotaggio per garantire una coppia corretta. I requisiti della coppia dei fermi sono elencati sull'adesivo relativo al servizio riportato sotto e applicato alla testa di carotaggio.

| Cadenza di manutenzione | Procedura di manutenzione |
|---|---|
| Ogni anno |
|
Le cinghie di trasmissione della macchina sono resistenti. Tuttavia, la normale esposizione alle radiazioni UV, all'ozono o l'esposizione accidentale a sostanze chimiche possono col tempo far deteriorare i composti in gomma e causare anzitempo l'usura o perdite di materiale (strappamento).
Si raccomanda vivamente di controllare annualmente le cinghie per accertarvi che non siano usurate, che non vi siano crepe eccessive o grossi detriti incassati e di sostituirle quando necessario.
| Cadenza di manutenzione | Procedura di manutenzione |
|---|---|
| Prima di ogni utilizzo o quotidianamente |
|
Assicuratevi che la cinghia abbia la corretta tensione per garantire un funzionamento adeguato della macchina ed evitarne un inutile consumo.
Controllate che la tensione della cinghia sia corretta comprimendo la molla di tensione fino a una lunghezza di 146 mm; fate riferimento alla Figura 33.

Regolate la tensione della cinghia come segue:
Togliete la copertura della testa di carotaggio posteriore (Figura 34).

Togliete i bulloni di montaggio del carter della puleggia e rimuovete il carter (Figura 34).
Allentate il dado di bloccaggio che fissa il fermo della molla (Figura 35).

Regolate il fermo della molla per ottenere la lunghezza della molla compressa richiesta (Figura 35).
Serrate il dado di bloccaggio contro il fermo della molla per fissare la regolazione.
Montate il carter della puleggia e la copertura della testa di carotaggio.
Note: Non è necessario rimuovere il braccio del gruppo di pressione per sostituire la cinghia di trasmissione.
Togliete la copertura della testa di carotaggio posteriore (Figura 36).

Togliete i bulloni di montaggio del carter della puleggia e rimuovete il carter (Figura 36).
Rimuovete i dispositivi di fissaggio che ancorano il carter dello sporco e il carter della cinghia inferiore (Figura 37). Rimuovete il carter dello sporco e il carter della cinghia inferiore.

Per rilasciare la tensione della molla, allentate il dado di bloccaggio che fissa il fermo della molla (Figura 38) e ruotate il fermo.

Le molle sono sotto tensione, prestate attenzione durante la regolazione o la rimozione.
Allentate e togliete i 2 dadi di bloccaggio e le rondelle che fissano l'ammortizzatore Rotalink per il braccio del gruppo di pressione n. 1 (Figura 39).

Abbassate l'ammortizzatore Rotalink dal telaio della testa di carotaggio.
Dirigete la cinghia di trasmissione in basso attraverso il telaio della testa di carotaggio e attorno all'estremità inferiore del braccio del gruppo di pressione n. 1 (Figura 39).
Dirigete la nuova cinghia di trasmissione attorno all'estremità inferiore del braccio del gruppo di pressione n. 1 e verso l'alto attraverso il telaio della testa di carotaggio.
Posizionate la cinghia di trasmissione sulla puleggia dell'albero motore, sotto al gruppo tendicinghia e sopra alla puleggia di trasmissione.
Sollevate l'ammortizzatore Rotalink per il braccio del gruppo di pressione n. 1 sul telaio della testa di carotaggio. Accertatevi che i distanziali dell'ammortizzatore siano installati nella stessa posizione di quando sono stati rimossi.
Fissate l'ammortizzatore Rotalink alla testa di carotaggio con le 2 rondelle e i dadi di bloccaggio rimossi in precedenza.
Montate la puleggia tendicinghia e regolatela alla tensione corretta.
Rimuovete il carter dello sporco e il carter della cinghia inferiore. Regolate il carter inferiore per assicurare che la cinghia abbia del gioco.
Montate le coperture della puleggia e della testa di carotaggio.
Regolate i deflettori laterali della testa di carotaggio in modo che durante la fase di arieggiatura la loro base si trovi tra 25 e 38 mm dal tappeto erboso.
Allentate i bulloni e i dadi di fissaggio del deflettore laterale al telaio (Figura 40).

Regolate il deflettore alzandolo o abbassandolo, e serrate i dadi.
Sostituite tutte le protezioni del tappeto erboso (Figura 41) in caso di rottura o di usura a uno spessore inferiore a ¼". Se sono rotte, le protezioni del tappeto erboso possono impigliarsi nel tappeto erboso e strapparlo, causando danni incresciosi.

La progettazione delle teste di carotaggio della macchina, strutturate in singole unità, offre un funzionamento fluido, leader del settore, e allo stesso tempo elimina il problema di calcolare le fasi.
ProCore 864 (Figura 42)
Ciascuna coppia di bracci a gomito unita attraverso l'alloggiamento di un cuscinetto è temporizzata a una distanza di 180 gradi (ovvero posizioni dei bracci 1–2, 3–4, 5–6, 7–8). Le coppie adiacenti sono tutte impostate alla stessa fase, rispetto alla quale le coppie successive hanno un ritardo di 120 gradi. La stessa coppia di giunti fusi viene utilizzata tra tutte le coppie adiacenti (ovvero posizioni dei giunti 2–3, 4–5, 6–7). Per ridurre ulteriormente le vibrazioni di funzionamento, vengono aggiunti 2 contrappesi alla posizione n. 1 sulla puleggia e alla posizione n. 8.
Note: Per il ProCore 864 i numeri impressi sui bracci a gomito non saranno allineati con il segno dell'indicatore di sollevamento sugli alloggiamenti dei cuscinetti.

ProCore 1298 (Figura 43)
Questa unità è composta da 2 teste di carotaggio indipendenti con 6 bracci ciascuna. La fase di una testa di carotaggio non dipende dalla testa di carotaggio adiacente. I segni di fase sono facilmente individuabili grazie ai numeri impressi sulle fusioni dei bracci a gomito e il localizzatore sollevato sugli alloggiamenti dei cuscinetti. Il braccio n. 1 inizia sempre con la puleggia di trasmissione.

Important: Fate riferimento al manuale d'uso dell'albero di trasmissione della PDF per informazioni operative e di sicurezza aggiuntive.
Note: È possibile rimessare la macchina sul supporto di rimessaggio del pallet originale con cui è stata spedita.
Parcheggiate la motrice e la macchina su una superficie pianeggiante, disinnestate la PDF, inserite il freno di stazionamento, spegnete il motore, togliete la chiave e attendete che tutte le parti in movimento si arrestino prima di abbandonare la posizione dell'operatore.
Inserite il perno del supporto di rimessaggio nei fori della staffa del supporto del telaio del gancio di traino (Figura 44).

Fissate il perno del supporto di rimessaggio alla staffa del supporto utilizzando le 2 coppiglie ad anello (Figura 44).
Ripetete i passaggi 1 e 2 sull’altro lato della macchina.
Abbassate lentamente la macchina fino al contatto dei supporti di rimessaggio con il suolo.
Note: Il supporto di rimessaggio pesa approssimativamente 85 kg.
Allineate le piastre di supporto del supporto di rimessaggio alla staffa del supporto del telaio del gancio di traino della macchina (Figura 45)

Abbassate la macchina sul supporto di rimessaggio fino a quando i fori del supporto non sono allineati con quelli della staffa del supporto del gancio di traino (Figura 45).
Fissate il supporto di rimessaggio alla macchina utilizzando i 2 perni del supporto di rimessaggio e 2 coppiglie (Figura 46).

Abbassate lentamente la macchina finché questa non entra a contatto con il supporto di rimessaggio.
Rimuovete le 2 coppiglie ad anello e fate scorrere i bracci di articolazione inferiori giù dai perni di traino della macchina (Figura 47).
Conservate le coppiglie ad anello insieme alla macchina.

Allentate il dado di bloccaggio (Figura 48) e ruotate l'attacco di regolazione superiore per rilasciare la tensione tra la macchina e la motrice.

Rimuovete la coppiglia ad anello e il perno d'attacco che fissano l'attacco di regolazione superiore alle piastre di traino superiori della macchina (Figura 48).
Rimuovete la coppiglia ad anello e il perno d'attacco che fissano l'attacco di regolazione superiore alla staffa dell'attacco della motrice (Figura 48).
Note: Conservate la coppiglia ad anello e il perno d'attacco superiore insieme alla macchina.
Scollegate la catena della protezione (Figura 49) dalla presa di forza della motrice (solo CE).

Tirate indietro l'anello di bloccaggio per scollegare l'albero di trasmissione della PDF dall'albero di uscita della PDF sulla motrice.

Fate scorrere indietro l'albero di trasmissione della PDF e toglietelo dalla motrice.
Utilizzate la catena della protezione per supportare l'albero di trasmissione della PDF collegando la catena alla protezione della PDF e alla macchina (Figura 51).
Note: Supportare l'albero di trasmissione della PDF impedisce che questo entri a contatto con il terreno.

Prima di regolare, pulire, rimessare o riparare la macchina, parcheggiatela su una superficie piana, inserite il freno di stazionamento della motrice, spegnete il motore, togliete la chiave e attendete l'arresto completo prima di abbandonare la motrice.
Riponete la macchina su supporti di rimessaggio posizionati su una superficie compatta e piana, per evitare che si affossi o si ribalti.
Riponete la macchina lontano da zone in cui si svolgono attività umane.
Non permettete ai bambini di giocare sull'arieggiatore o nelle sue vicinanze.
Al termine della stagione di arieggiatura o quando la macchina è stata rimessata per un lungo periodo, eseguite la procedura descritta di seguito:
Eliminate lo sporco o il grasso che si è eventualmente accumulato sulla macchina o sulle parti mobili.
Rimuovete e pulite le fustelle. Rivestite le fustelle con uno strato di olio per prevenire la formazione di ruggine durante il rimessaggio.
Aprite il cofano e pulite l'interno della macchina.
Lubrificate tutti i raccordi d'ingrassaggio.
Riponete la macchina sui supporti di rimessaggio forniti, su una superficie solida e asciutta.
Sostenete con la catena l'albero di trasmissione della presa di forza quando è in posizione di rimessaggio per evitare che si danneggi o rimuovete la presa di forza e riponetela sotto il cofano per limitarne la corrosione.
Verniciate il rullo e ritoccate tutti gli altri punti della macchina che presentano graffi sulla vernice.
Sostituite tutti gli adesivi mancanti o danneggiati.
Conservate la macchina in un edificio asciutto e protetto. La conservazione della macchina in un luogo chiuso riduce la necessità di manutenzione, allunga la vita operativa della macchina stessa e ne aumenta il valore. Se non è possibile riporre la macchina al chiuso, avvolgetela in un telo pesante o in un'incerata, e legate il telo.