Konserwacja
Note: Należy ustalić lewą i prawą stronę maszyny ze standardowego stanowiska operatora.
Zasady bezpieczeństwa podczas konserwacji
Ostrożnie
Jeżeli pozostawisz kluczyk we włączniku, silnik może zostać przypadkowo uruchomiony przez osobę postronną, co może grozić poważnymi obrażeniami ciała operatora lub innych osób.
Przez przystąpieniem do wykonywania jakichkolwiek czynności konserwacyjnych wyciągnij kluczyk z włącznika.
-
Zaparkuj maszynę na równej nawierzchni, rozłącz hydraulikę osprzętu, opuść osprzęt, załącz hamulec postojowy (jeśli występuje), wyłącz silnik i wyjmij kluczyk. Przed przystąpieniem do regulacji, czyszczenia, naprawy lub przed przechowywaniem sprzętu należy zaczekać, aż wszystkie elementy ruchome się zatrzymają, a maszyna ostygnie.
-
Pamiętaj, aby usunąć rozlany olej lub paliwo.
-
Nie pozwalać nieprzeszkolonym osobom serwisować maszyny.
-
Jeśli zajdzie taka potrzeba, użyj podpór do podparcia elementów maszyny.
-
Ostrożnie uwalniaj ciśnienie z podzespołów magazynujących energię, patrz Rozładowywanie ciśnienia hydraulicznego.
-
Przed przystąpieniem do jakichkolwiek napraw odłączyć akumulator; patrz Korzystanie z odłącznika akumulatora.
-
Ręce i nogi operatora muszą znajdować się w bezpiecznej odległości od części ruchomych. W miarę możliwości nie dokonywać żadnych regulacji przy włączonym silniku.
-
Utrzymuj wszystkie części w nienagannym stanie, a wszystkie elementy montażowe dobrze dokręcone. Należy wymieniać wszystkie zużyte lub uszkodzone naklejki.
-
Nie wolno manipulować urządzeniami zabezpieczającymi.
-
Używaj jedynie osprzętu zatwierdzonego przez Toro. Osprzęt może zmienić stabilność i charakterystykę pracy maszyny. Używanie z maszyną niezatwierdzonego osprzętu może skutkować utratą gwarancji.
-
Używaj wyłącznie oryginalnych części zamiennych Toro.
-
Jeżeli jakikolwiek rodzaj konserwacji lub naprawy wymaga uniesienia ramion ładowarki, należy je zabezpieczyć w pozycji uniesienia za pomocą blokad(y) siłownika/ów hydraulicznego/ych.
-
Należy zapoznać się z lokalnymi przepisami dotyczącymi zasad bezpieczeństwa przy konserwacji maszyny oraz przymocować etykietę ostrzegawczą do panelu sterowania, aby poinformować inne osoby o trwających czynnościach konserwacyjnych.
Zalecany harmonogram konserwacji
| Częstotliwość serwisowania | Procedura konserwacji |
|---|---|
| Po pierwszych 8 godzinach |
|
| Po pierwszych 50 godzinach |
|
| Przed każdym użyciem lub codziennie |
|
| Co 25 godzin |
|
| Co 50 godzin |
|
| Co 100 godzin |
|
| Co 250 godzin |
|
| Co 400 godzin |
|
| Co 500 godzin |
|
| Co 1000 godzin |
|
| Co 1500 godzin lub co 2 lata w zależności od tego, co nastąpi szybciej |
|
| Co rok |
|
| Co rok lub przed składowaniem |
|
| Co 2 lata |
|
Important: Dodatkowe procedury konserwacyjne zostały podane w instrukcji obsługi silnika.
Przed wykonaniem konserwacji
Używanie blokad siłowników
Ostrzeżenie
Podniesione ramiona ładowarki mogą opaść i przygnieść osobę znajdującą się pod nimi, co grozi śmiercią lub poważnymi obrażeniami.
Przed przeprowadzeniem czynności konserwacyjnych wymagających uniesienia ramion ładowarki zainstaluj blokady siłowników.
Instalowanie blokad siłowników
-
Odłącz osprzęt.
-
Unieś ramiona ładowarki do pozycji całkowicie podniesionej.
-
Wyłącz silnik i wyjmij kluczyk ze stacyjki.
-
Wyjmij 2 sworznie mocujące blokadę siłownika do słupków po obu stronach maszyny.
-
Nałóż blokadę siłownika na tłoczysko siłownika podnoszenia (Rysunek 32).

-
Powtórz kroki od 4 do 5 dla drugiej strony maszyny.
-
Powoli opuść ramiona ładowarki, aż blokady siłowników dotkną korpusów siłowników i główek tłoczysk.
Demontaż i przechowywanie blokad siłowników
Important: Przed przystąpieniem do eksploatacji maszyny zdejmij blokady siłowników z tłoczysk i poprawnie zamocuj je w położeniu przechowywania.
-
Uruchom silnik.
-
Unieś ramiona ładowarki do pozycji całkowicie podniesionej.
-
Wyłącz silnik i wyjmij kluczyk ze stacyjki.
-
Wyjmij sworznie mocujące blokady siłowników.
-
Nałóż blokady siłowników na słupki po obu stronach maszyny i zabezpiecz je zawleczkami.
-
Opuść ramiona ładowarki.
Dostęp do elementów wewnętrznych
Ostrzeżenie
Otwarcie lub zdjęcie osłon, pokryw i siatek przy pracującym silniku umożliwi kontakt z poruszającymi się częściami. Kontakt z poruszającymi się częściami grozi śmiercią lub poważnymi obrażeniami.
Przed zdjęciem jakichkolwiek osłon, pokryw i siatek wyłącz silnik, wyjmij kluczyk zapłonu i zaczekaj, aż silnik ostygnie.
Otwieranie maski silnika
-
Poluzuj śrubę blokującą maskę.

-
Otwórz zaczep maski kluczykiem i naciśnij przycisk, aby go zwolnić.

-
Podnieś maskę..
Zamykanie maski
-
Zamknij maskę.
-
Naciśnij zaczep, aby zablokować maskę.
-
Zamknij zaczep maski, używając kluczyka, a następnie dokręć śrubę blokującą maskę.
Zdejmowanie tylnej pokrywy
-
Wykręć 2 śruby mocujące górną część tylnej pokrywy.

-
Wyjmij pokrywę ze szczelin we wsporniku chłodnicy.

Tylną pokrywę montuje się w odwrotnej kolejności.
Demontaż osłony dolnej
-
Wykręć 2 śruby mocujące osłonę dolną.

-
Zdejmij dolną osłonę.
Zdejmowanie przedniej osłony
-
Unieś ramiona ładowarki i zamocuj je za pomocą blokad siłowników.
-
Poluzuj 2 śruby mocujące przednią osłonę do maszyny.

-
Wysuń pokrywę z maszyny.
-
Montując pokrywę, dokręć śruby z momentem 41 N∙m.
Zdejmowanie zespołu przedniej osłony
-
Unieś ramiona ładowarki i zamocuj je za pomocą blokad siłowników.
-
Otwórz maskę.
-
Zdejmij 4 śruby mocujące zespół osłony do maszyny.

-
Zdejmij zespół osłony.
Zdejmowanie przedniej płyty dostępowej
Poluzuj 2 śruby i zdejmij przednią płytę dostępową.

Zdejmowanie osłon bocznych
-
Otwórz maskę.
-
Wysuń osłonę z przedniej i tylnej szczeliny.

Smarowanie
Smarowanie maszyny
| Częstotliwość serwisowania | Procedura konserwacji |
|---|---|
| Przed każdym użyciem lub codziennie |
|
Typ smaru: Smar ogólnego zastosowania.
-
Ustaw maszynę na poziomej nawierzchni, opuść ramiona ładowarki i załącz hamulec postojowy.
-
Wyłącz silnik i wyjmij kluczyk ze stacyjki.
-
Oczyść smarowniczki za pomocą szmatki.

-
Podłączyć smarownicę do każdej smarowniczki.
-
Następnie pompować smar do smarowniczek, aż zacznie wyciekać z łożysk (w przybliżeniu 3 wtłoczenia).
-
Wytrzeć nadmiar smaru.
Konserwacja silnika
Bezpieczeństwo obsługi silnika
-
Przed sprawdzeniem poziomu oleju lub dolaniem oleju do skrzyni korbowej wyłącz silnik.
-
Nie zmieniaj ustawień regulatora silnika i nie stosuj nadmiernej prędkości obrotowej silnika.
-
Trzymaj ręce, stopy, twarz, inne części ciała i odzież w bezpiecznej odległości od tłumika i innych gorących powierzchni.
Serwisowanie filtra powietrza
| Częstotliwość serwisowania | Procedura konserwacji |
|---|---|
| Przed każdym użyciem lub codziennie |
|
| Co 25 godzin |
|
| Co 500 godzin |
|
Sprawdzanie filtra powietrza.
Important: Aby zapobiec uszkodzeniu silnika, włączaj go tylko wtedy, gdy filtr powietrza i pokrywa są na swoich miejscach.
Important: Główny filtr powietrza wymieniaj tylko wtedy, gdy wskaźnik serwisowy wskazuje kolor czerwony. Zbyt wczesna wymiana filtra powietrza może jedynie zwiększyć ryzyko wprowadzenia zanieczyszczeń do silnika po zdjęciu filtra.
-
Ustaw maszynę na poziomej nawierzchni, opuść ramiona ładowarki i załącz hamulec postojowy.
-
Wyłącz silnik i wyjmij kluczyk ze stacyjki.
-
Otwórz maskę.
-
Sprawdź korpus filtra powietrza pod kątem uszkodzeń mogących być przyczyną nieszczelności i uchodzenia powietrza. Sprawdź cały układ wlotowy pod kątem nieszczelności, uszkodzeń lub poluzowania obejm przewodów. Wymień lub napraw wszelkie uszkodzone komponenty.
-
Wyciągnij zatrzaski na pokrywie filtra powietrza, a następnie obróć i ściągnij pokrywę.
Important: Nie wyjmuj filtrów powietrza.

-
Ściśnij boki pokrywki przeciwpyłowej, aby ją otworzyć; wytrzep pył.
-
Wyczyść wnętrze pokrywy filtra powietrza za pomocą sprężonego powietrza o ciśnieniu nieprzekraczającym 2,05 bara.
Important: Nie stosuj sprężonego powietrza do czyszczenia korpusu filtra powietrza.
-
Sprawdź wskaźnik serwisowy.
-
Jeżeli wskaźnik serwisowy jest przezroczysty, zamontuj pokrywę wraz z osłoną przeciwpyłową, skierowaną w dół i zamocuj zatrzaski.
-
Jeżeli wskaźnik serwisowy jest czerwony, wymień filtr powietrza.

-
Wymiana filtra (filtrów)
-
Delikatnie wysuń główny filtr powietrza z obudowy.
Note: Nie wytrzepuj filtra o ścianki obudowy.
Important: Nie próbuj oczyszczać filtra.

-
Jeżeli wymieniasz filtr, delikatnie wysuń główny filtr powietrza z obudowy.
-
Sprawdź nowy filtr (filtry) pod kątem rozdarć, warstwy oleju i uszkodzenia gumowej uszczelki. Sprawdź filtr pod kątem uszkodzeń, zaglądając do wnętrza filtra przy jego silnym oświetleniu z zewnątrz. Dziury w filtrze będą wyglądać jak jasne plamki.
Jeśli filtr jest uszkodzony, nie używaj go.
-
Ostrożnie zamontuj filtr (filtry).
Note: Upewnij się, że każdy filtr został mocno osadzony, dociskając zewnętrzną krawędź filtra podczas montażu.
Important: Nie naciskaj miękkiej, wewnętrznej powierzchni filtra.
-
Zamontuj osłonę filtra powietrza wraz z osłoną przeciwpyłową, skierowaną w dół jak pokazano na Rysunek 43 i zamocuj zatrzaski.
-
Zamknij maskę.
-
Opuść ramiona ładowarki.
Wymiana oleju silnikowego
| Częstotliwość serwisowania | Procedura konserwacji |
|---|---|
| Przed każdym użyciem lub codziennie |
|
| Co 250 godzin |
|
Specyfikacja oleju silnikowego
Rodzaj oleju:
-
Klasa API CD, CF, CF-4, CI-4
-
Klasa ACEA E3, E-4, E-5
-
Klasa JASO DH-1
Pojemność skrzyni korbowej: 3,6 l z filtrem.

Note: Olej silnikowy Toro Premium jest dostępny w autoryzowanych serwisach.
Sprawdzanie poziomu oleju w silniku
-
Ustaw maszynę na poziomej nawierzchni, opuść ramiona ładowarki i załącz hamulec postojowy.
-
Wyłącz silnik, wyjmij kluczyk zapłonu i odczekaj, aż silnik ochłodzi się.
-
Otwórz maskę.
-
Zdejmij lewą osłonę.
-
Wyczyść obszar wokół wskaźnika poziomu oleju i korka wlewu oleju.

-
Sprawdź poziom oleju; w razie potrzeby uzupełnij jego poziom.
Important: Nie napełniaj skrzyni korbowej zbyt dużą ilością oleju; Jeśli poziom oleju w skrzyni korbowej jest zbyt wysoki, uruchomienie silnika może spowodować jego uszkodzenie.

-
Zamknij maskę.
Wymiana oleju silnikowego i filtra
-
Odłącz cały osprzęt.
-
Uruchom silnik i pozwól mu pracować przez pięć minut.
Note: Dzięki temu olej zostanie podgrzany i łatwiej spłynie.
-
Zaparkuj maszynę na równej powierzchni.
-
Unieś ramiona ładowarki i załóż blokady siłowników.
-
Zaciągnij hamulec postojowy.
-
Wyłącz silnik i wyjmij kluczyk ze stacyjki.
-
Spuść olej pod platformą.
Ostrożnie
Jeżeli maszyna była uruchomiona, elementy będą gorące. Zetknięcie z gorącymi elementami grozi drobnymi lub umiarkowanymi obrażeniami.
Uważaj, aby podczas wymiany oleju i/lub filtra nie dotknąć gorących podzespołów.


-
Dokręć korek spustowy z momentem od 46 do 56 N·m.
-
Otwórz maskę.
-
Zdejmij lewą osłonę; patrz Zdejmowanie osłon bocznych.
-
Umieść pod filtrem płytką tackę lub szmatkę, aby zapobiec rozlaniu się wypływającego oleju.
-
Wymień filtr oleju.

-
Wykręć korek wlewu oleju i powoli wlej około 80% podanej ilości oleju przez pokrywę zaworów.
-
Sprawdź poziom oleju.
-
Powoli dolewaj oleju, aby podnieść jego poziom do otworu na wskaźniku.
-
Wkręć korek wlewu oleju.
-
Zamontuj lewą osłonę.
-
Zamknij maskę.
Konserwacja układu paliwowego
Niebezpieczeństwo
W niektórych warunkach paliwo jest niezwykle łatwopalne i wybuchowe. Zapłon lub wybuch paliwa może poparzyć operatora i osoby postronne oraz spowodować straty materialne.
Pełną listę ostrzeżeń dotyczących paliwa można znaleźć w Bezpieczeństwo związane z paliwem.
Osuszanie separatora wody
| Częstotliwość serwisowania | Procedura konserwacji |
|---|---|
| Co 50 godzin |
|
-
Ustaw maszynę na poziomej nawierzchni, opuść ramiona ładowarki i załącz hamulec postojowy.
-
Wyłącz silnik i wyjmij kluczyk ze stacyjki.
-
Zdejmij tylną pokrywę.
-
Podstaw czysty pojemnik pod separator wody.

-
Odkręć zawór spustowy na dole obudowy filtra i odczekaj, aż woda spłynie.
-
Dokręć zawór spustowy.
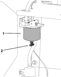
Wymiana filtra separatora wody
| Częstotliwość serwisowania | Procedura konserwacji |
|---|---|
| Co 500 godzin |
|
-
Ustaw maszynę na poziomej nawierzchni, opuść ramiona ładowarki i załącz hamulec postojowy.
-
Wyłącz silnik i wyjmij kluczyk ze stacyjki.
-
Zdejmij osłonę tylną; patrz Zdejmowanie tylnej pokrywy.
-
Wyczyść obszar wokół punktów mocowania filtra separatora wody.

-
Wyjmij filtr i oczyść powierzchnię montażową.
-
Nasmaruj uszczelkę na obudowie nowego filtra świeżym olejem.
-
Napełnij obudowę paliwem.
-
Przykręcaj ręcznie wkład filtra, aż uszczelka zetknie się z powierzchnią montażową, a następnie obróć o dodatkowe pół obrotu.
-
Zamontuj tylną pokrywę.
Sprawdzanie przewodów i połączeń paliwowych
| Częstotliwość serwisowania | Procedura konserwacji |
|---|---|
| Co 400 godzin |
|
Sprawdź przewody paliwowe i ich połączenia pod kątem zużycia, uszkodzeń lub obluzowanych połączeń. Dokręć wszelkie obluzowane połączenia i skontaktuj się z przedstawicielem autoryzowanego serwisu w celu pomocy przy naprawie uszkodzonych przewodów paliwowych.
Wymiana przepływowego filtra paliwa
| Częstotliwość serwisowania | Procedura konserwacji |
|---|---|
| Co 500 godzin |
|
-
Ustaw maszynę na poziomej nawierzchni, opuść ramiona ładowarki i załącz hamulec postojowy.
-
Wyłącz silnik i wyjmij kluczyk ze stacyjki.
-
Zdejmij osłonę tylną; patrz Zdejmowanie tylnej pokrywy.
-
Wymień filtr w sposób pokazany na rysunku.
Note: Upewnij się, że oznaczenia na filtrze odpowiadają kierunkowi przepływu paliwa.

-
Zamontuj tylną pokrywę.
Odpowietrzanie układu paliwowego
Należy odpowietrzyć układ paliwowy przed uruchomieniem silnika, jeśli zaistniała któraś z następujących sytuacji:
-
Pierwsze uruchomienie nowej maszyny
-
Silnik przestał pracować z powodu braku paliwa.
-
Wykonane były prace konserwacyjne związane z układem paliwowym, takie jak wymiana filtra paliwa itp.
-
Obróć kluczyk do pozycji PRACA.
-
Przed uruchomieniem maszyny pozwól, aby pompa paliwa pracowała przez 2 minuty.
Opróżnianie zbiornika(ów) paliwa
| Częstotliwość serwisowania | Procedura konserwacji |
|---|---|
| Co 2 lata |
|
Oddaj maszynę do przedstawiciela autoryzowanego serwisu w celu opróżnienia i oczyszczenia zbiornika(-ów) paliwa.
Konserwacja instalacji elektrycznej
Bezpieczna praca przy instalacji elektrycznej
-
Przed przystąpieniem do jakichkolwiek napraw odłączyć akumulator; patrz Korzystanie z odłącznika akumulatora.
-
Ładuj akumulator na otwartym, dobrze wentylowanym obszarze, z dala od źródeł iskier i ognia. Należy odłączać ładowarkę od zasilania przed podłączeniem lub odłączeniem od akumulatora. Należy nosić odzież ochronną i używaj narzędzi izolowanych.
-
Kwas z akumulatora jest trujący i może spowodować poparzenia. Unikaj kontaktu ze skórą, oczami i odzieżą. W czasie pracy z akumulatorem należy chronić twarz, oczy i odzież.
-
Gazy z akumulatora mogą eksplodować. Akumulator należy trzymać z dala od papierosów, źródła iskier i ognia.
Serwisowanie akumulatora
| Częstotliwość serwisowania | Procedura konserwacji |
|---|---|
| Co 50 godzin |
|
Korzystanie z odłącznika akumulatora
Ostrożnie
Zetknięcie z gorącymi powierzchniami grozi drobnymi lub umiarkowanymi obrażeniami.
Trzymaj ręce, stopy, twarz, inne części ciała i odzież w bezpiecznej odległości od tłumika i innych gorących powierzchni.
-
Ustaw maszynę na poziomej nawierzchni, opuść ramiona ładowarki i załącz hamulec postojowy.
-
Wyłącz silnik i wyjmij kluczyk ze stacyjki.
-
Otwórz maskę.
-
Przekręć odłącznik akumulatora do pozycji ON (wł.) lub OFF (wył.), aby wykonać następującą czynność:
-
Aby włączyć zasilanie elektryczne maszyny, przekręć odłącznik akumulatora w prawo do pozycji ON (Rysunek 54).
-
Aby odłączyć zasilanie elektryczne maszyny, przekręć odłącznik akumulatora w lewo do pozycji OFF (Rysunek 54).

-
Demontaż akumulatora
Ostrzeżenie
Nieprawidłowe poprowadzenie przewodów akumulatora może spowodować uszkodzenie maszyny i przewodów z powodu iskrzenia. Iskrzenie może spowodować wybuch gazów akumulatora, co grozi śmiercią lub obrażeniami ciała.
Zawsze odłączaj najpierw ujemny przewód akumulatora (czarny), a następnie przewód dodatni (czerwony).
-
Odłącz cały osprzęt.
-
Zaparkuj maszynę na równej powierzchni.
-
Unieś ramiona ładowarki i załóż blokady siłowników.
-
Zaciągnij hamulec postojowy.
-
Wyłącz silnik i wyjmij kluczyk ze stacyjki.
-
Zdejmij zespół osłony przedniej; patrz Zdejmowanie zespołu przedniej osłony.
-
Odłącz ujemny (czarny) przewód uziemienia od bieguna akumulatora. Zachowaj wszystkie elementy mocujące.

-
Zsuń gumową osłonę z dodatniego (czerwonego) przewodu akumulatora.
-
Odłącz dodatni (czerwony) przewód od bieguna akumulatora. Zachowaj wszystkie elementy mocujące.
-
Odkręć nakrętki motylkowe, pręty i zdejmij taśmę.
-
Zdemontuj akumulator.
Ładowanie akumulatora
Ostrzeżenie
Podczas ładowania akumulatora powstają gazy, które mogą eksplodować, co grozi śmiercią lub poważnymi obrażeniami ciała.
Nigdy nie pal tytoniu w pobliżu akumulatora; utrzymuj akumulator z dala od źródeł iskier i płomieni.
Important: Zawsze utrzymuj akumulator w pełni napełniony (ciężar właściwy elektrolitu 1,265). Jest to szczególnie ważne, aby zapobiec uszkodzeniu akumulatora, gdy temperatura spadnie poniżej 0 °C.
-
Zdemontuj akumulator z maszyny; patrz Demontaż akumulatora.
-
Ładuj akumulator prądem o natężeniu od 3 do 4 A przez 4 do 8 godzin (Rysunek 56). Nie dopuszczać do przeładowania akumulatora.

-
Gdy akumulator będzie w pełni naładowany, należy odłączyć ładowarkę od gniazdka elektrycznego, a następnie odłączyć przewody ładowarki od biegunów akumulatora (Rysunek 56).
Czyszczenie akumulatora
Note: Utrzymuj w czystości zaciski i całą obudowę akumulatora, aby przedłużyć jego żywotność.
-
Ustaw maszynę na poziomej nawierzchni, opuść ramiona ładowarki i załącz hamulec postojowy.
-
Wyłącz silnik i wyjmij kluczyk ze stacyjki.
-
Zdemontuj akumulator z maszyny; Demontaż akumulatora.
-
Całą obudowę akumulatora przemyj roztworem wody z sodą oczyszczoną.
-
Opłucz akumulator czystą wodą.
-
Aby zapobiec korozji, pokryj bieguny akumulatora i złącza przewodów smarem Grafo 112X (zewnętrznym) lub wazeliną.
-
Zamontuj akumulator, patrz Instalacja akumulatora.
Instalacja akumulatora
Ostrzeżenie
Nieprawidłowe poprowadzenie przewodów akumulatora może spowodować uszkodzenie maszyny i przewodów z powodu iskrzenia. Iskrzenie może spowodować wybuch gazów akumulatora, co grozi śmiercią lub obrażeniami ciała.
Zawsze podłączaj najpierw przewód dodatni (czerwony), a następnie przewód ujemny akumulatora (czarny).
-
Umieść akumulator na tacy akumulatora i zabezpiecz go taśmą, nakrętkami motylkowymi i prętami.

-
Za pomocą wcześniej zdemontowanych elementów mocujących podłącz dodatni (czerwony) przewód do dodatniego (+) bieguna akumulatora.
-
Nasuń czerwoną osłonę zacisku na dodatni biegun akumulatora.
-
Za pomocą elementów mocujących zdemontowanych wcześniej podłącz ujemny przewód (czarny) do ujemnego (-) zacisku akumulatora.
-
Zamontuj zespół osłony przedniej.
Konserwacja nowego akumulatora po wymianie
Oryginalny akumulator jest bezobsługowy i nie wymaga prac konserwacyjnych. Odpowiednie informacje dotyczące konserwacji zamiennego akumulatora można znaleźć w instrukcji producenta.
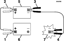
Uruchamianie silnika za pomocą kabli rozruchowych
Ostrzeżenie
Podczas uruchamiania silnika z użyciem zewnętrznego akumulatora w akumulatorze mogą powstawać gazy, których wybuch grozi śmiercią lub poważnymi obrażeniami ciała.
Nigdy nie pal papierosów w pobliżu akumulatora i dopilnuj, aby w pobliżu akumulatora nie występowały iskry ani płomienie.
-
Ustaw maszynę na poziomej nawierzchni, opuść ramiona ładowarki i załącz hamulec postojowy.
-
Wyłącz silnik i wyjmij kluczyk ze stacyjki.
-
Zdejmij przednią osłonę.
-
Przed uruchomieniem za pomocą kabli rozruchowych sprawdź zaciski akumulatora i usuń z nich korozję. Upewnij się, że złącza są prawidłowo podłączone.
Ostrożnie
Korozja lub poluzowane połączenia mogą spowodować niepożądane wzrosty napięcia elektrycznego podczas procedury uruchamiania z użyciem zewnętrznego akumulatora, co może spowodować drobne lub umiarkowane obrażenia ciała.
Nie wolno podejmować prób uruchomienia maszyny za pomocą kabli rozruchowych z luźnymi lub skorodowanymi zaciskami akumulatora, w przeciwnym razie może dojść do uszkodzenia silnika.
Niebezpieczeństwo
Uruchamianie z użyciem zewnętrznego akumulatora w sytuacji, gdy akumulator maszyny jest słabo naładowany, pęknięty lub zamarznięty, ma niski poziom elektrolitu lub otwarte/zwarte ogniwo może spowodować wybuch skutkujący śmiercią lub poważnymi obrażeniami ciała.
W powyższych warunkach nie próbuj uruchamiać maszyny z zewnętrznego akumulatora.
-
Upewnij się, że zewnętrzny akumulator jest dobrym i w pełni naładowanym akumulatorem kwasowo-ołowiowym o napięciu 12,6 V lub wyższym.
Note: Aby zmniejszyć spadek napięcia między instalacjami, należy stosować odpowiednio zwymiarowane kable rozruchowe o niewielkiej długości. Upewnij się, że przewody są oznaczone kolorem lub etykietą w celu zapewnienia prawidłowej biegunowości.
Ostrzeżenie
Akumulatory zawierają kwas i wytwarzają gazy, których wybuch może spowodować śmierć lub poważne obrażenia.
-
Zawsze osłaniaj oczy i twarz od akumulatorów.
-
Nie nachylaj się nad akumulator.
Note: Upewnij się, że korki odpowietrzające są szczelne i równo ustawione. W miarę możliwości umieść wilgotną szmatkę nad korkami odpowietrzającymi obu akumulatorów. Upewnij się, że maszyny nie stykają się ze sobą i obie instalacje elektryczne są wyłączone oraz mają takie samo znamionowe napięcie systemowe. Niniejsza instrukcja dotyczy wyłącznie instalacji z biegunem ujemnym połączonym z masą.
-
-
Podłącz przewód dodatni (+) do dodatniego (+) zacisku rozładowanego akumulatora, który jest podłączony do rozrusznika lub zaworu elektromagnetycznego w pokazany sposób.

-
Drugi koniec dodatniego (+) przewodu rozruchowego podłącz do dodatniego bieguna akumulatora w drugim pojeździe.
-
Podłącz jeden koniec ujemnego (-) przewodu rozruchowego do ujemnego bieguna akumulatora w drugim pojeździe.
-
Drugi koniec ujemnego (-) przewodu rozruchowego podłącz do masy pojazdu, na przykład do niemalowanej śruby lub elementu ramy.
-
Uruchom silnik w drugim pojeździe. Pozwól mu pracować przez kilka minut, a następnie uruchom silnik w uruchamianym pojeździe.
-
Przewody odłączaj w kolejności odwrotnej niż przy podłączaniu.
-
Zamontuj pokrywę przednią.
Konserwacja bezpieczników
Instalacja elektryczna jest zabezpieczona za pomocą bezpieczników. Nie wymaga ona konserwacji, jeśli jednak przepali się bezpiecznik, sprawdź element/obwód pod kątem uszkodzeń lub zwarć.

| 1 | 2 | 3 | 4 | 5 | 6 | 7 | 8 | 9 | 10 | 11 | 12 | |
| A | X | X | X | X | X | X | Akcesoria | Zasilanie systemu | Zasilanie systemu 2 | |||
| (10 A) | (15 A) | (7,5 A) | ||||||||||
| B | X | X | X | X | X | X | Światła/USB | Telematyka | Zasilanie systemu 4 | |||
| (15 A) | (10 A) | (7,5 A) | ||||||||||
| C | X | X | X | X | X | X | Klakson | TDM 2002 | Zasilanie systemu 3 | |||
| (20 A) | (10 A) | (7,5 A) | ||||||||||
| D | X | X | X | X | X | X | X | X | (Przekaźnik) | (Przekaźnik) | ||
| E | X | X | X | X | X | X | X | X | ||||
Note: Jeżeli maszyna nie daje się uruchomić, bezpiecznik obwodu głównego lub bezpiecznik panelu sterowania/przekaźnika mogą być przepalone.
Konserwacja układu napędowego
Serwisowanie gąsienic
| Częstotliwość serwisowania | Procedura konserwacji |
|---|---|
| Po pierwszych 8 godzinach |
|
| Po pierwszych 50 godzinach |
|
| Przed każdym użyciem lub codziennie |
|
| Co 50 godzin |
|
Czyszczenie gąsienic
-
Zaparkuj maszynę na równej powierzchni.
-
Gdy łyżka jest zamocowana i jest odchylona w dół, opuść ją na podłoże tak, aby przód zespołu jezdnego uniósł się kilkanaście centymetrów nad podłoże.
-
Zaciągnij hamulec postojowy.
-
Wyłącz silnik i wyjmij kluczyk ze stacyjki.
-
Korzystając z węża z wodą lub myjki ciśnieniowej, usuń zabrudzenia z każdego systemu gąsienic.
Important: Upewnij się, że używasz wody pod dużym ciśnieniem jedynie do mycia obszaru gąsienic. Nie używaj wody pod dużym ciśnieniem do mycia pozostałej części zespołu jezdnego. Nie polewaj obszaru między kołem napędowym a zespołem jezdnym wodą pod dużym ciśnieniem, ponieważ mogłoby to spowodować uszkodzenie uszczelnień silnika. Mycie pod wysokim ciśnieniem może uszkodzić instalację elektryczną i zawory hydrauliczne lub wypłukać smar.
Important: Upewnij się, że koła jezdne, koło przednie, koło tylne i koło napędowe zostały w pełni wyczyszczone. Po oczyszczeniu koła jezdne powinny swobodnie się obracać.

Sprawdzanie i regulacja napięcia gąsienic
Podnieś/podeprzyj jedną stronę maszyny i wykorzystując ciężar gąsienicy sprawdź, czy luz między dolną krawędzią koła jezdnego wynosi 19 mm. Jeżeli tak nie jest, należy skorygować napięcie gąsienicy w następujący sposób.

-
Ustaw maszynę na poziomej nawierzchni, opuść ramiona ładowarki i załącz hamulec postojowy.
-
Wyłącz silnik i wyjmij kluczyk ze stacyjki.
-
Podnieś regulowaną stronę maszyny tak, aby gąsienica znalazła się nad ziemią.
-
Poluzuj śruby na osłonie tylnej i zdejmij pokrywę.

-
Poluzuj przeciwnakrętkę i wyreguluj śrubę napinającą, aż ugięcie gąsienicy wyniesie 19 mm.

-
Dokręć nakrętkę zabezpieczającą.
-
Załóż osłonę i dokręć z powrotem śruby.
-
Powtórz procedurę dla drugiej gąsienicy.
-
Jedź maszyną, a następnie zaparkuj ją na równej nawierzchni, włącz hamulec postojowy, wyłącz silnik i wyjmij kluczyk.
-
Sprawdź, czy ugięcie gąsienicy wynosi 19 mm. W razie potrzeby wyreguluj.
Wymiana gąsienic
Zdejmowanie gąsienic
-
Odłącz cały osprzęt.
-
Ustaw maszynę na równym podłożu, upewniając się, że tylko jedna połowa koła łańcuchowego jest zaczepiona o gąsienicę

-
Opuść ramiona ładowarki.
-
Wyłącz silnik i wyjmij kluczyk ze stacyjki.
-
Unieś maszynę nad podłoże tak, aby spód gąsienicy znajdował się w odległości co najmniej 10,2 cm nad podłożem. Podeprzyj maszynę na podpórkach.
Note: Użyj podpórek o nośności dostosowanej do masy maszyny.
Ostrzeżenie
Podnośniki mechaniczne lub hydrauliczne mogą nie utrzymać maszyny, co może skutkować wypadkiem grożącym śmiercią lub poważnymi obrażeniami ciała.
Do podparcia maszyny należy użyć podpór.
-
Poluzuj śruby na osłonie tylnej i zdejmij pokrywę.

-
Poluzuj przeciwnakrętkę i przekręć śrubę napinającą, aby zwolnić naprężenie.

-
Zdejmij segment koła zębatego napędowego, na którym nie opiera się gąsienica.
Important: Jeśli segment koła łańcuchowego nie zostanie zdjęty, założenie nowej gąsienicy bez jej uszkodzenia może być trudne.

-
Uruchom maszynę i zwolnij hamulec postojowy.
-
Przesuń dźwignię sterowania jazdą do przodu, aby druga połowa napędowego koła łańcuchowego została odłączona od gąsienicy.

-
Wyłącz silnik i wyjmij kluczyk ze stacyjki.
-
Zdemontuj gąsienicę z ramy gąsienicy, piasty napędowej, a następnie z przedniego koła.
Instalowanie gąsienic
-
Owiń nową gąsienicę wokół przedniego koła.

-
Wepchnij gąsienicę pod oraz pomiędzy koła jezdne i owiń ją wokół tylnego koła.
-
Uruchom silnik i zwolnij hamulec postojowy.
-
Przesuń dźwignię sterowania jazdą do przodu, aby połowa napędowego koła łańcuchowego zaczepiła się o gąsienicę.

-
Wyłącz silnik i wyjmij kluczyk ze stacyjki.
-
Nałóż środek do zabezpieczenia gwintów na śruby wymontowanej połowy koła łańcuchowego napędowego i zamontuj drugą połowę koła łańcuchowego. Dokręć śruby z momentem od 80 do 99 N·m.

-
Wyreguluj śrubę napinającą, aż ugięcie gąsienicy wyniesie 19 mm.

-
Dokręć nakrętkę zabezpieczającą.
-
Załóż osłonę i dokręć z powrotem śruby.
-
Powtórz procedurę, aby wymienić gąsienicę po drugiej stronie maszyny.
-
Opuść maszynę na podłoże.
-
Jedź maszyną, a następnie zaparkuj ją na równej nawierzchni, włącz hamulec postojowy, wyłącz silnik i wyjmij kluczyk.
-
Sprawdź, czy naprężenie gąsienicy jest prawidłowe (patrz Sprawdzanie i regulacja napięcia gąsienic).
Konserwacja układu chłodzenia
Bezpieczeństwo układu chłodzenia
-
Połknięcie płynu chłodzącego silnik może spowodować zatrucie. Przechowuj go w miejscu niedostępnym dla dzieci i zwierząt.
-
Spuszczanie gorącego płynu chłodzącego pod ciśnieniem lub dotykanie gorącej chłodnicy i otaczających ją części może spowodować poważne obrażenia.
-
Przed odkręceniem korka chłodnicy poczekaj co najmniej 15 minut, aż silnik ostygnie.
-
Do odkręcania korka użyj szmatki i odkręcaj go powoli, pozwalając wydostać się nagromadzonej parze.
-
Serwisowanie układu chłodzenia
| Częstotliwość serwisowania | Procedura konserwacji |
|---|---|
| Przed każdym użyciem lub codziennie |
|
| Co 100 godzin |
|
Czyszczenie osłony chłodnicy
| Częstotliwość serwisowania | Procedura konserwacji |
|---|---|
| Przed każdym użyciem lub codziennie |
|
Za pomocą sprężonego powietrza usuń z osłony chłodnicy trawę, brud lub inne zanieczyszczenia.
Sprawdzenie poziomu cieczy chłodzącej silnik.
Pojemność zbiornika: 4,4 l
Typ płynu chłodzącego: mieszanina wody i środka przeciw zamarzaniu na bazie glikolu etylenowego w proporcjach 50:50.
Important: Nie odkręcaj korka chłodnicy w tylnej części maszyny jeżeli zbiornik wyrównawczy nie jest pusty, gdyż spowoduje to wyciekanie płynu chłodniczego.
-
Ustaw maszynę na poziomej nawierzchni, opuść ramiona ładowarki i załącz hamulec postojowy.
-
Wyłącz silnik, wyjmij kluczyk zapłonu i odczekaj, aż silnik ochłodzi się.
-
Otwórz maskę.
-
Należy sprawdzać poziom płynu chłodzącego w zbiorniku wyrównawczym.
Powierzchnia płynu chłodzącego powinna znajdować się na lub powyżej oznaczenia na boku zbiornika.

-
W przypadku niskiego poziomu płynu chłodzącego odkręć korek zbiornika wyrównawczego i dodaj mieszankę wody i trwałego środka przeciw zamarzaniu na bazie glikolu etylenowego w proporcji 50/50.
Important: Nie wlewaj nadmiernej ilości płynu do zbiornika wyrównawczego.
-
Zakręć korek zbiornika wyrównawczego.
-
Zamknij maskę.
Wymiana płynu chłodzącego silnik
| Częstotliwość serwisowania | Procedura konserwacji |
|---|---|
| Co rok |
|
Raz w roku należy oddać maszynę do przedstawiciela autoryzowanego serwisu w celu wymiany płynu chłodzącego silnik.
W celu dolania płynu chłodzącego silnik zapoznaj się z Sprawdzenie poziomu cieczy chłodzącej silnik..
Konserwacja elementów sterowania
Regulacja dźwigni sterujących
Elementy sterujące są regulowane fabrycznie przed wysłaniem maszyny. Jednakże po wielu godzinach eksploatacji konieczne może okazać się wyosiowanie dźwigni sterowania zespołem jezdnym, POłOżENIA NEUTRALNEGO dźwigni sterowania zespołem jezdnym oraz sprawdzenie zdolności jazdy zespołu jezdnego na wprost przy ustawieniu dźwigni sterowania zespołem jezdnym w położeniu ruchu do przodu.
Aby dokonać regulacji elementów sterujących w swojej maszynie, skontaktuj się z przedstawicielem autoryzowanego serwisu.
Konserwacja instalacji hydraulicznej
Bezpieczeństwo układów hydraulicznych
-
Jeżeli płyn dostanie się do skóry, należy niezwłocznie skonsultować się z lekarzem. Płyn, który dostał się do skóry, musi zostać usunięty chirurgicznie w ciągu kilku godzin przez lekarza.
-
Przed podaniem ciśnienia na układ hydrauliczny upewnij się, że wszystkie jego przewody i węże są w dobrym stanie, a połączenia/złączki — szczelne.
-
Trzymaj ciało i ręce z dala od wycieków z otworów sworzni lub dysz, które wyrzucają płyn hydrauliczny pod dużym ciśnieniem.
-
Wycieki płynu hydraulicznego można zlokalizować za pomocą kartonu lub papieru.
-
Przed wykonaniem jakichkolwiek czynności przy tym układzie należy dokonać w sposób bezpieczny całkowitej dekompresji w układzie hydraulicznym.
Rozładowywanie ciśnienia hydraulicznego
Aby rozładować ciśnienie hydrauliczne przy pracującym silniku, rozłącz układ hydrauliki osprzętu i całkowicie opuść ramiona ładowarki.
Aby rozładować ciśnienie przy wyłączonym silniku, obróć przełącznik kluczykowy w położenie PRACA, naciśnij i przytrzymaj dolną część przełącznika sterowania maszyny i przełączaj dźwignię ramion ładowarki/przechylania osprzętu między pozycjami do przodu, aby opuścić ramiona ładowarki. Przy przełączniku kluczykowym w położeniu PRACA naciskaj przełącznik hydrauliki osprzętu w jedną i drugą stronę.

Specyfikacja oleju hydraulicznego
| Częstotliwość serwisowania | Procedura konserwacji |
|---|---|
| Co 100 godzin |
|
| Co 400 godzin |
|
| Co 1000 godzin |
|
Pojemność układu hydraulicznego: 43,5 litra
Zalecany olej hydrauliczny: olej hydrauliczny Toro PX Extended Life
Note: Maszyna pracująca z zalecanym zastępczym olejem wymaga rzadszych wymian oleju i filtrów.
Alternatywne oleje: jeśli olej hydrauliczny Toro PX Extended Life jest niedostępny, można użyć tradycyjnych olejów hydraulicznych na bazie ropy naftowej o parametrach, które mieszczą się w podanym zakresie dla wszystkich poniższych właściwości materiału oraz są zgodne ze standardami branżowymi. Nie stosuj oleju syntetycznego. Aby określić odpowiedni produkt, skontaktuj się z dystrybutorem środków smarujących.
Note: Firma Toro nie ponosi odpowiedzialności za jakiekolwiek zniszczenie powstałe na skutek wykorzystania niewłaściwych zamienników, dlatego też należy korzystać wyłącznie z markowych produktów, których producent gwarantuje ich prawidłową pracę.
| Właściwości materiału: | ||
| Lepkość ASTM D445 | cSt przy 40°C: 44 do 48 | |
| Wskaźnik lepkości ASTM D2270 | 140 lub wyższy | |
| Temperatura krzepnięcia, ASTM D97 | od -37 °C do -45 °C | |
| Dane techniczne: | Eaton Vickers 694 (I-286-S, M-2950-S/35VQ25 lub M-2952-S) | |
Note: Większość olejów hydraulicznych jest niemal bezbarwna, co utrudnia obserwację potencjalnych nieszczelności. Czerwony barwnik do oleju hydraulicznego jest dostępny w butelkach o pojemności 20 ml. Butelka wystarcza na 15 do 22 litrów oleju hydraulicznego. Zamów część o numerze katalogowym Toro 44-2500 u przedstawiciela autoryzowanego serwisu.
Sprawdzanie poziomu oleju hydraulicznego
| Częstotliwość serwisowania | Procedura konserwacji |
|---|---|
| Przed każdym użyciem lub codziennie |
|
Important: Należy zawsze stosować odpowiedni płyn hydrauliczny. Płyny o nieokreślonych właściwościach mogą uszkodzić układ hydrauliczny. Patrz Specyfikacja oleju hydraulicznego.
-
Odłącz cały osprzęt.
-
Zaparkuj maszynę na równej powierzchni.
-
Opuść ramiona ładowarki do końca i obróć płytę osprzętu do tyłu.
-
Zaciągnij hamulec postojowy.
-
Wyłącz silnik i wyjmij kluczyk ze stacyjki.
-
Spójrz na szklany wziernik znajdujący się po prawej stronie maszyny. Jeżeli nie widzisz płynu hydraulicznego we wzierniku, uzupełnij poziom płynu w następujący sposób:

-
Odkręć śrubę i nakrętkę.

-
Podnieś wspornik.
-
Oczyść okolice korka wlewu płynu, a następnie odkręć korek.

-
Dolej płynu hydraulicznego tak, aby był on widoczny we wzierniku.
-
Załóż korek wlewu.
-
Opuść wspornik i zamocuj go za pomocą śruby i nakrętki.
-
Wymiana filtra oleju hydraulicznego
Important: Nie stosuj samochodowych zamienników filtra oleju, ponieważ może dojść do poważnego uszkodzenia układu hydraulicznego.
-
Odłącz cały osprzęt.
-
Zaparkuj maszynę na równej powierzchni.
-
Unieś ramiona ładowarki i załóż blokady siłowników.
-
Zaciągnij hamulec postojowy.
-
Wyłącz silnik, wyjmij kluczyk zapłonu i odczekaj, aż silnik ochłodzi się.
-
Zdejmij przednią płytę dostępową.
-
Umieść miskę spustową pod filtrem i wymień filtr.

-
Wytrzyj rozlany płyn.
-
Uruchom silnik i pozwól mu pracować przez około dwie minuty w celu usunięcia powietrza z układu.
-
Wyłącz silnik i sprawdź, czy nie ma wycieków.
-
Sprawdź poziom płynu w zbiorniku hydraulicznym (patrz Sprawdzanie poziomu oleju hydraulicznego) i dolej płynu, aż poziom dojdzie do oznaczenia na wskaźniku.
Important: Nie wlewaj nadmiernej ilości płynu do zbiornika.
-
Zamontuj pokrywę przednią.
-
Wymontuj i umieść w bezpiecznym miejscu blokady siłowników i opuść ramiona ładowarki.
Wymiana płynu hydraulicznego
-
Ustaw maszynę na poziomej nawierzchni, opuść ramiona ładowarki i załącz hamulec postojowy.
-
Wyłącz silnik i wyjmij kluczyk ze stacyjki.
-
Umieść duży pojemnik o pojemności co najmniej 57 litrów pod korkiem spustowym zbiornika oleju hydraulicznego.

-
Odkręć korek spustowy i poczekaj, aż olej ścieknie do pojemnika.
-
Po zakończeniu spuszczania oleju załóż i dokręć korek spustowy.
Note: Oddaj zużyty olej do odpowiedniego centrum utylizacji.
-
Napełnij zbiornik olejem hydraulicznym; patrz Specyfikacja oleju hydraulicznego.
-
Uruchom silnik i pozwól mu pracować przez kilka minut.
-
Wyłącz silnik i wyjmij kluczyk ze stacyjki.
-
Sprawdź poziom oleju hydraulicznego i w razie potrzeby dolej oleju do zbiornika; patrz Sprawdzanie poziomu oleju hydraulicznego.
Czyszczenie
Usuwanie zanieczyszczeń
| Częstotliwość serwisowania | Procedura konserwacji |
|---|---|
| Przed każdym użyciem lub codziennie |
|
Important: Eksploatacja silnika z zablokowanymi osłonami lub bez kanałów chłodzących spowoduje jego uszkodzenie z powodu przegrzania.
-
Ustaw maszynę na poziomej nawierzchni, opuść ramiona ładowarki i załącz hamulec postojowy.
-
Wyłącz silnik, wyjmij kluczyk zapłonu i odczekaj, aż silnik ochłodzi się.
-
Otwórz maskę.
-
Usuń zanieczyszczenia z przedniej i bocznych osłon.
-
Zetrzyj brud z filtra powietrza.
-
Usuń zanieczyszczenia nagromadzone na silniku oraz na żeberkach chłodnicy oleju szczotką lub dmuchawą.
Important: Eksploatacja silnika z zatkanymi osłonami i/lub bez kanałów chłodzących spowoduje uszkodzenie silnika z powodu przegrzania.
-
Usuń zanieczyszczenia z otworu maski, tłumika, osłon termicznych i osłony chłodnicy (jeżeli występuje).
-
Zamknij maskę.
Mycie maszyny
Podczas ciśnieniowego mycia maszyny należy:
-
Nosić sprzęt ochrony osobistej właściwy dla pracy przy użyciu myjki ciśnieniowej.
-
Nie zdejmować żadnych osłon maszyny.
-
Unikać kierowania strumienia na podzespoły elektroniczne.
-
Unikać kierowania strumienia na krawędzie etykiet samoprzylepnych.
-
Myć maszynę tylko od zewnątrz. Nie kierować strumienia na otwory maszyny.
-
Myć tylko brudne części maszyny.
-
Korzystać z dysz o kącie rozprysku 40 stopni lub większym. Dysze o kącie rozprysku 40 stopni zazwyczaj są koloru białego.
-
Trzymać końcówkę myjki ciśnieniowej w odległości co najmniej 61 cm od mytej powierzchni.
-
Korzystać tylko z myjek ciśnieniowych o ciśnieniu nie przekraczającym 137,9 bar i przepływie poniżej 7,6 litra/minutę.
-
Wymień uszkodzone lub odklejające się etykiety.
-
Po zakończeniu mycia nasmaruj maszynę przez wszystkie punkty smarowania, patrz Smarowanie maszyny.
Czyszczenie podwozia
| Częstotliwość serwisowania | Procedura konserwacji |
|---|---|
| Co 100 godzin |
|
W miarę upływu czasu na podwoziu pod silnikiem gromadzą się zanieczyszczenia, które trzeba usuwać. Regularnie otwieraj maskę i korzystając z latarki sprawdzaj obszar pod silnikiem. Czyszczenie podwozia zespołu jezdnego przeprowadź, gdy grubość warstwy zanieczyszczeń osiągnie od 2,5 do 5 cm.
-
Ustaw maszynę na poziomej nawierzchni, opuść ramiona ładowarki i załącz hamulec postojowy.
-
Wyłącz silnik i wyjmij kluczyk ze stacyjki.
-
Podnieś przód maszyny tak, aby odchylić ją do tyłu ukośnie do podłoża.
-
Zdejmij osłonę dolną, patrz Demontaż osłony dolnej.
-
Zdejmij zespół osłony przedniej; patrz Zdejmowanie zespołu przedniej osłony.
-
Spłukuj podwozie wodą, aby oczyścić je z pyłu i zanieczyszczeń.
Note: Woda będzie spływać z tyłu maszyny.
Important: Nie spryskuj wodą silnika.
-
Nasmaruj maszynę; patrz Smarowanie maszyny.
-
Zamontuj osłonę dolną.
-
Zamontuj zespół osłony przedniej.
-
Opuść maszynę.


, który oznacza:
uwaga, ostrzeżenie lub niebezpieczeństwo – instrukcja
dotycząca bezpieczeństwa osobistego. Nieprzestrzeganie
powyższych zasad może doprowadzić do obrażeń
ciała lub do śmierci.





















































































