Manutenção
Note: Determine os lados direito e esquerdo da máquina a partir da posição normal de utilização.
Segurança de manutenção
Cuidado
Se deixar a chave na ignição, alguém pode ligar acidentalmente o motor e feri-lo a si ou às pessoas que se encontrarem próximo da máquina.
Retire a chave do interruptor antes de fazer qualquer revisão.
-
Estacione a máquina numa superfície plana, desengate a hidráulica auxiliar, desça o acessório, engate o travão de estacionamento (se equipado), desligue a máquina e retire a chave da ignição. Aguarde que todo o movimento cesse e deixe a máquina arrefecer antes de a ajustar, limpar, guarda ou reparar.
-
Limpe as zonas que tenham óleo ou combustível derramado.
-
Não permita que pessoas sem formação realizem a manutenção da máquina.
-
Utilize preguiças para sustentar componentes quando necessário.
-
Cuidadosamente, liberte a pressão dos componentes com energia acumulada; consulte Aliviar a pressão hidráulica.
-
Desligue a bateria antes de efetuar qualquer reparação; consulte Utilização do interruptor de desligar a bateria.
-
Mantenha as mãos e os pés longe de peças em movimento. Se possível, não efetue qualquer ajuste quando o motor se encontrar em funcionamento.
-
Mantenha todas as peças em boas condições de trabalho e as partes corretamente apertadas. Substitua todos os autocolantes gastos ou danificados.
-
Não desative os sistemas de segurança.
-
Utilize apenas engates aprovados pela Toro. Os acessórios podem alterar a estabilidade e as características de funcionamento da máquina. Pode anular a garantia se utilizar a máquina com acessórios não aprovados.
-
Utilize apenas peças de substituição genuínas da Toro.
-
Se, para alguma intervenção de manutenção ou reparação, for necessário que os braços do carregador estejam na posição elevada, imobilize os braços nessa posição com o bloqueio do cilindro hidráulico.
-
Consulte os regulmantos locais para uma manutenção segura da máquina e coloque uma etiqueta de aviso no painel de controlo para informar terceiros de que a máquina está em manutenção.
Plano de manutenção recomendado
| Intervalo de assistência | Procedimento de manutenção |
|---|---|
| Após as pimeiras 8 horas |
|
| Após as pimeiras 50 horas |
|
| Em todas as utilizações ou diariamente |
|
| A cada 25 horas |
|
| A cada 50 horas |
|
| A cada 100 horas |
|
| A cada 250 horas |
|
| A cada 400 horas |
|
| A cada 500 horas |
|
| A cada 1000 horas |
|
| A cada 1500 horas ou 2 anos, o que ocorrer primeiro |
|
| Anualmente |
|
| Anualmente ou antes do armazenamento |
|
| Cada 2 anos |
|
Important: Para informações detalhadas sobre os procedimentos de manutenção adicionais, consulte o Manual do proprietário do motor.
Procedimentos a efectuar antes da manutenção
Uso dos bloqueios do cilindro
Aviso
Os braços de carga podem baixar quando na posição elevada, esmagando quem estiver por baixo dos mesmos, o que pode resultar em morte ou ferimentos graves.
Instale os bloqueios do cilindro antes de realizar manutenção que requeira os braços do carregador elevados.
Instalação dos bloqueios do cilindro
-
Remova o acessório.
-
Eleve os braços do carregador até à posição totalmente elevada.
-
Desligue o motor e retire a chave.
-
Retire os 2 pinos que fixam o bloqueio do cilindro aos postes na lateral da máquina.
-
Posicione o bloqueio do cilindro sobre a barra do cilindro de elevação (Figura 32).

-
Repita os passos 4 e 5 para o outro lado da máquina.
-
Lentamente desça os braços do carregador até que os bloqueios do cilindros entrem em contacto com os corpos do cilindro e extremidades da barra.
Remoção e arrumação dos bloqueios do cilindro
Important: Remova os bloqueios do cilindro das barras e prenda-os completamente na posição de armazenamento antes de operar a máquina.
-
Ligue o motor.
-
Eleve os braços do carregador até à posição totalmente elevada.
-
Desligue o motor e retire a chave.
-
Remova os pinos que prendem os bloqueios do cilindro.
-
Coloque os bloqueios dos cilindros nos postes nas laterais da máquina e fixe com os pinos.
-
Desça os braços do carregador.
Aceder aos componentes internos
Aviso
Abrir ou remover as coberturas, capots e filtros enquanto o motor está a funcionar poderia permitir o contacto com peças em movimento. Tocar nas peças em movimento pode resultar em morte ou ferimentos graves.
Antes de abrir as coberturas, capots e filtros, desligue o motor, retire a chave da ignição e deixe o motor arrefecer.
Abrir o capô
-
Desaperte o parafuso de bloqueio do capot.

-
Desbloqueie o capot utilizando a chave do trinco e prima o botão para soltar o trinco.

-
Levante o capot para abrir.
Fechamento do capot
-
Desça o capot.
-
Pressione o trinco para fixar o capot.
-
Bloqueio o capot utilizando a chave de bloqueio e aperte o parafuso de bloqueio do capot.
Retire a tampa traseira
-
Retire os dois parafusos que fixam a parte superior da tampa traseira.

-
Levante a tampa para fora das ranhuras no suporte do radiador.

Efetue o procedimento na forma inversa para instalar a cobertura traseira.
Retire a placa inferior
-
Retire os dois parafusos que fixam a placa inferior.

-
Retire a placa inferior.
Remover a cobertura frontal
-
Eleve os braços do carregador e prenda-os com bloqueios do cilindro.
-
Desaperte os dois parafusos que fixam a cobertura frontal à máquina.

-
Deslize a cobertura para fora da máquina.
-
Ao instalar a tampa, aperte os parafusos com 41 N∙m.
Remoção da montagem da tampa frontal
-
Eleve os braços do carregador e prenda-os com bloqueios do cilindro.
-
Abra o capot.
-
Remova os quatro parafusos que prendem o conjunto da cobertura à máquina.

-
Remova o conjunto do cobertura.
Remova a placa de acesso frontal.
Desaperte os dois parafusos e remova a placa de acesso frontal.

Retiração dos painéis laterais
-
Abra o capot.
-
Deslize o filtro para fora das ranhuras da frente e de trás.

Lubrificação
Lubrificação da máquina
| Intervalo de assistência | Procedimento de manutenção |
|---|---|
| Em todas as utilizações ou diariamente |
|
Tipo de lubrificante: Lubrificante para utilizações gerais.
-
Estacione a máquina numa superfície nivelada, desça os braços do carregador e engate o travão de estacionamento.
-
Desligue o motor e retire a chave.
-
Limpe os bocais de lubrificação com um pano.

-
Ligue uma pistola de lubrificação ao bocal.
-
Coloque lubrificante nos encaixes até que comece a escorrer massa lubrificante dos rolamentos (aproximadamente 3 bombas).
-
Limpe o lubrificante em excesso.
Manutenção do motor
Segurança do motor
-
Desligue o motor antes de verificar ou adicionar óleo no cárter.
-
Não altere os valores do regulador do motor, nem acelere o motor excessivamente.
-
Mantenha as mãos, pés, cara, outras partes do corpo e roupa afastadas da panela de escape e de outras superfícies quentes.
Assistência ao filtro de ar
| Intervalo de assistência | Procedimento de manutenção |
|---|---|
| Em todas as utilizações ou diariamente |
|
| A cada 25 horas |
|
| A cada 500 horas |
|
Verificação do filtro de ar
Important: Só deve utilizar o motor quando o filtro e a cobertura estiverem montados; se não o fizer, poderá danificar o motor.
Important: Substitua o filtro de ar principal apenas quando o indicador de manutenção ficar vermelho. Mudar o filtro de ar antes de ser necessário apenas aumenta a possibilidade de entrar sujidade no motor quando se retira o filtro.
-
Estacione a máquina numa superfície nivelada, desça os braços do carregador e engate o travão de estacionamento.
-
Desligue o motor e retire a chave.
-
Abra o capot.
-
Verifique se existe algum dano no corpo do filtro de ar que possa provocar uma fuga de ar. Verifique todo o sistema de admissão para ver se tem fugas, se está danificado ou se há braçadeiras das mangueiras soltas. Substitua ou repare componentes danificados.
-
Puxe o trinco da cobertura do filtro de ar e depois rode e puxe a cobertura para fora.
Important: Não retire os filtros de ar.

-
Aperte os lados da tampa do filtro para pó para a abrir e retire o pó.
-
Limpe o interior da cobertura com ar comprimido abaixo de 2,05 bar.
Important: Não utilize ar comprimido na estrutura do filtro de ar.
-
Verifique o indicador de serviço.
-
Se o indicador de serviço estiver transparente, instale a cobertura com a tampa de poeira orientada para baixo e fixe os trincos.
-
Se o indicador de serviço estiver vermelho, substitua o filtro de ar.

-
Substituição do(s) filtro(s)
-
Deslize suavemente o filtro principal para fora do corpo do filtro.
Note: Evite que o filtro bata na parte lateral do corpo.
Important: Não tente limpar o filtro.

-
Se substituir o filtro de segurança, deslize suavemente o filtro principal para fora do corpo do filtro.
-
Verifique se o(s) filtro(s) tem rasgões, uma película de óleo ou o vedante de borracha danificado. Olhe para o filtro enquanto coloca uma luz brilhante no exterior do filtro; buracos no filtro aparecem como pontos brilhantes.
Se o filtro estiver danificado, não o utilize.
-
Instale cuidadosamente o(s) filtro(s).
Note: Assegure-se de que cada filtro fica bem colocado empurrando-o pelo anel exterior do filtro quando o instalar.
Important: Não pressione a zona macia central do filtro.
-
Instale a cobertura do filtro de ar com a tampa de poeira orientada para baixo como em Figura 43 e prenda os trincos.
-
Feche o capô.
-
Desça os braços do carregador.
Verificação do óleo do motor
| Intervalo de assistência | Procedimento de manutenção |
|---|---|
| Em todas as utilizações ou diariamente |
|
| A cada 250 horas |
|
Especificações do óleo do motor
Tipo de óleo:
-
Categoria API: CD, CF, CF-4, CI-4
-
Categoria ACEA: E3, E-4, E-5
-
Categoria JASO: JASO DH-1
Capacidade do cárter: 3,6 litros com o filtro

Note: O óleo de motor Toro Premium está disponível junto do seu representante de assistência autorizado.
Verificação do nível de óleo do motor
-
Estacione a máquina numa superfície nivelada, desça os braços do carregador e engate o travão de estacionamento.
-
Desligue o motor, retire a chave da ignição e deixe o motor arrefecer.
-
Abra o capot.
-
Remova o filtro do lado esquerdo.
-
Limpe a área em redor da tampa do tubo de enchimento de óleo/vareta.

-
Verifique o nível de óleo e ateste se necessário.
Important: Não encha demasiado o cárter com óleo; se o óleo do cárter estiver demasiado alto e o motor estiver em funcionamento, pode danificar o motor.

-
Feche o capô.
Substituição do óleo e do filtro do motor
-
Remova os acessórios.
-
Ligue o motor e deixe-o a funcionar durante cinco minutos.
Note: Desta forma, o óleo aquece e flui melhor.
-
Estacione a máquina numa superfície nivelada.
-
Eleve os braços do carregador e instale bloqueios do cilindro.
-
Acione o freio de estacionamento.
-
Desligue o motor e retire a chave.
-
Purgue o óleo por baixo da plataforma.
Cuidado
Os componentes estarão quentes se a máquina tiver funcionado. Tocar nas peças quentes pode resultar em ferimentos ligeiros ou moderados.
Tenha cuidado para evitar tocar nos componentes quentes enquanto troca o óleo e/ou o filtro.


-
Aperte o tampão de escoamento com uma força de 46 a 56 N·m.
-
Abra o capot.
-
Retire o filtro esquerdo; consulte Retiração dos painéis laterais.
-
Coloque um recipiente pouco profundo ou um pano debaixo do filtro para apanhar o óleo.
-
Mude o filtro do óleo.

-
Retire a tampa de enchimento e coloque lentamente cerca de 80% da quantidade de óleo especificada através da cobertura da válvula.
-
Verifique o nível de óleo.
-
Adicione lentamente óleo suficiente para elevar o nível de óleo até ao furo superior da vareta.
-
Volte a colocar o tampão de enchimento.
-
Instale o filtro esquerdo.
-
Feche o capô.
Manutenção do sistema de combustível
Perigo
Em determinadas circunstâncias, o combustível é extremamente inflamável e explosivo. Um incêndio ou explosão provocado(a) por combustível pode resultar em queimaduras e danos materiais.
Consulte Segurança do combustível para obter uma lista completa de precauções a ter com o combustível.
Drenagem do separador de água
| Intervalo de assistência | Procedimento de manutenção |
|---|---|
| A cada 50 horas |
|
-
Estacione a máquina numa superfície nivelada, desça os braços do carregador e engate o travão de estacionamento.
-
Desligue o motor e retire a chave.
-
Remova a cobertura traseira.
-
Coloque um recipiente debaixo do separador de água.

-
Liberte a válvula de escoamento que se encontra na zona inferior do recipiente do filtro e deixe a água drenar.
-
Aperte a válvula de drenagem.
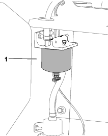
Substituição do filtro separador de água
| Intervalo de assistência | Procedimento de manutenção |
|---|---|
| A cada 500 horas |
|
-
Estacione a máquina numa superfície nivelada, desça os braços do carregador e engate o travão de estacionamento.
-
Desligue o motor e retire a chave.
-
Retire a cobertura traseira; consulte Retire a tampa traseira.
-
Limpe a área onde o filtro separador de água se monta.

-
Retire o recipiente do filtro e limpe a superfície de montagem
-
Lubrifique a junta do novo filtro com óleo limpo.
-
Encha o recipiente com combustível.
-
Monte o filtro manualmente até que a junta entre em contacto com a superfície de montagem, rodando em seguida o filtro mais 1/2 volta.
-
Instale a cobertura traseira.
Verificar as tubagens e ligações de combustível
| Intervalo de assistência | Procedimento de manutenção |
|---|---|
| A cada 400 horas |
|
Verifique se existem sinais de deterioração, danos ou ligações soltas. Aperte as ligações soltas e entre em contacto com o representante de assistência autorizado para obter assistência para a reparação de tubos de combustível danificados.
Substituição do filtro do interior da tubagem
| Intervalo de assistência | Procedimento de manutenção |
|---|---|
| A cada 500 horas |
|
-
Estacione a máquina numa superfície nivelada, desça os braços do carregador e engate o travão de estacionamento.
-
Desligue o motor e retire a chave.
-
Retire a cobertura traseira; consulte Retire a tampa traseira.
-
Substitua o filtro de combustível conforme se mostra.
Note: Certifique-se de que as marcas no filtro seguem a direção do fluxo do combustível.

-
Instale a cobertura traseira.
Purga do sistema de combustível
Deve purgar o sistema de combustível antes de pôr o motor a trabalhar caso tenha ocorrido uma das seguintes situações:
-
Arranque inicial de uma máquina nova
-
Paragem do motor por falta de combustível
-
A revisão dos componentes do sistema de combustível foi realizada (ex: filtro substituído).
-
Rode a chave para a posição FUNCIONAMENTO.
-
Deixe a bomba de combustível funcionar durante dois minutos antes de ligar a máquina.
Esvaziar o depósito de combustível
| Intervalo de assistência | Procedimento de manutenção |
|---|---|
| Cada 2 anos |
|
Peça a um representante de assistência autorizado para drenar e limpar os depósitos de combustível.
Manutenção do sistema eléctrico
Segurança do sistema elétrico
-
Desligue a bateria antes de efetuar qualquer reparação; consulte Utilização do interruptor de desligar a bateria.
-
Carregue a bateria num espaço aberto e bem ventilado, longe de faíscas e chamas. Retire a ficha do carregador da tomada antes de o ligar ou desligar da bateria. Utilize roupas adequadas e ferramentas com isolamento.
-
O ácido da bateria é venenoso e poderá provocar queimaduras. Evite qualquer contacto com a pele, olhos e vestuário. Proteja a cara, olhos e roupa sempre que manusear uma bateria.
-
Os gases da bateria são explosivos. Mantenha cigarros, faíscas e chamas afastados da bateria.
Manutenção da bateria
| Intervalo de assistência | Procedimento de manutenção |
|---|---|
| A cada 50 horas |
|
Utilização do interruptor de desligar a bateria
Cuidado
Tocar nas superfícies quentes pode resultar em ferimentos ligeiros ou moderados.
Mantenha as mãos, pés, cara, roupa e outras partes do corpo afastadas da panela de escape e de outras superfícies quentes.
-
Estacione a máquina numa superfície nivelada, desça os braços do carregador e engate o travão de estacionamento.
-
Desligue o motor e retire a chave.
-
Abra o capot.
-
Rode o interruptor de desligar a bateria para a posição LIGAR ou DESLIGAR para executar o seguinte:
-
Para energizar a máquina eletricamente, rode o interruptor de desligar a bateria no sentido dos ponteiros do relógio para a posição LIGAR (Figura 54).
-
Para não energizar a máquina eletricamente, rode o interruptor de desligar a bateria no sentido contrário ao dos ponteiros do relógio para a posição DESLIGAR (Figura 54).

-
Remover a bateria
Aviso
A ligação incorreta dos cabos da bateria poderá danificar o veículo e os cabos, produzindo faíscas. As faíscas podem provocar uma explosão dos gases da bateria, resultando em morte ou ferimentos graves.
Desligue sempre o cabo negativo (preto) antes de desligar o cabo positivo (vermelho).
-
Remova os acessórios.
-
Estacione a máquina numa superfície nivelada.
-
Eleve os braços do carregador e instale bloqueios do cilindro.
-
Acione o freio de estacionamento.
-
Desligue o motor e retire a chave.
-
Retire o conjunto da cobertura frontal; consulte Remoção da montagem da tampa frontal.
-
Desligue o cabo negativo (negro) do borne da bateria. Guarde todos os fixadores.

-
Deslize a cobertura de borracha para fora do cabo positivo (vermelho).
-
Desligue o cabo positivo (vermelho) do pólo da bateria. Guarde todos os fixadores.
-
Remove as porcas de orelhas, as barras e a correia.
-
Retirar a bateria.
Carregamento da bateria
Aviso
Carregar a bateria produz gases que podem explodir, resultando em morte ou ferimentos graves.
Nunca fume perto da bateria e mantenha-a afastada de faíscas e chamas.
Important: Deverá manter sempre a bateria carregada (1.265 de gravidade específica). Este procedimento torna-se especialmente importante quando a temperatura desce abaixo dos 0°C.
-
Retire a bateria da máquina; consulte Remover a bateria.
-
Carregue a bateria durante 4 a 8 horas a uma taxa de 3 a 4 A (Figura 56). Não carregue demasiado a bateria.

-
Quando a bateria estiver totalmente carregada, desligue o carregador da tomada elétrica e em seguida desligue os cabos do carregador dos bornes da bateria (Figura 56).
Limpar a bateria
Note: Mantenha os terminais e toda a caixa da bateria em perfeitas condições de limpeza para ajudar a aumentar a duração da bateria.
-
Estacione a máquina numa superfície nivelada, desça os braços do carregador e engate o travão de estacionamento.
-
Desligue o motor e retire a chave.
-
Retire a bateria da máquina; Remover a bateria.
-
Lave toda a caixa com uma solução de bicarbonato de sódio e água.
-
Enxague a bateria com água limpa.
-
Cubra os polos da bateria e ligações dos cabos com lubrificante Grafo 112X ou vaselina para evitar qualquer corrosão.
-
Coloque a bateria; consulte Montagem da bateria.
Montagem da bateria
Aviso
A ligação incorreta dos cabos da bateria poderá danificar o veículo e os cabos, produzindo faíscas. As faíscas podem provocar uma explosão dos gases da bateria, resultando em morte ou ferimentos graves.
Ligue sempre o cabo positivo (vermelho) antes de ligar o cabo negativo (preto).
-
Coloque a bateria no tabuleiro da bateria e prenda-a com a correia, porcas de orelhas e barras.

-
Ligue o cabo positivo (vermelho) ao terminal positivo (+) da bateria utilizando os dispositivos de fixação previamente removidos.
-
Faça deslizar a proteção do terminal vermelho para o borne positivo da bateria.
-
Utilizando os fixadores anteriormente retirados, instale o cabo da bateria negativo (preto) no terminal da bateria negativo (-).
-
Instale o conjunto da cobertura frontal.
Manutenção de uma bateria de substituição
A bateria original não requer manutenção nem assistência. Para fazer a manutenção de uma bateria de substituição, consulte as instruções do fabricante.
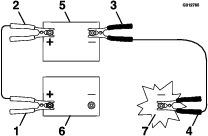
Arrancar a máquina com cabos de bateria
Aviso
Ligar a bateria com cabos de bateria produz gases que podem explodir, resultando em morte ou ferimentos graves.
Não fume perto da bateria e mantenha-a afastada de faíscas e chamas.
-
Estacione a máquina numa superfície nivelada, desça os braços do carregador e engate o travão de estacionamento.
-
Desligue o motor e retire a chave.
-
Retire a cobertura frontal.
-
Verifique e limpe a corrosão dos terminais da bateria antes de iniciar o arranque. Assegure-se de que as ligações estão apertadas.
Cuidado
A corrosão ou ligações soltas podem causar picos de tensão elétrica indesejados em qualquer altura durante o procedimento de arranque, resultando em ferimentos ligeiros ou moderados.
Não tente ligar a máquina com os terminais da bateria soltos ou corroídos, ou podem ocorrer danos no motor.
Perigo
O arranque de uma bateria fraca que esteja rachada ou congelada ou com um baixo nível de eletrólitos ou uma célula de bateria aberta/separada pode causar uma explosão, resultando em morte ou ferimentos graves.
Não efetue a ligação direta de uma bateria fraca, se estas condições se verificarem.
-
Certifique-se de que a bateria de reforço é uma bateria de chumbo-ácido boa e totalmente carregada a 12,6 V ou superior.
Note: Utilize cabos de arranque de tamanho adequado com comprimentos curtos para reduzir a queda de tensão entre sistemas. Certifique-se de que os cabos estão codificados por cor ou etiquetados com a polaridade correta.
Aviso
As baterias contêm ácido e produzem gases explosivos que podem resultar em morte ou ferimentos graves.
-
Proteja sempre os seus olhos e o seu rosto das baterias.
-
Não se incline sobre as baterias.
Note: Assegure-se de que as tampas de ventilação estão apertadas e niveladas. Coloque um pano húmido, se disponível, sobre qualquer tampa de ventilação em ambas as baterias. Certifique-se também de que as máquinas não se tocam e que ambos os sistemas elétricos estão desligados e com a mesma tensão nominal do sistema. Estas instruções são apenas para sistemas de terra negativos.
-
-
Ligue o cabo positivo (+) ao terminal positivo (+) da bateria descarregada que está ligada ao arrancador ou solenóide, conforme indicado.

-
Ligue a extremidade do outro cabo positivo (+) ao terminal positivo da bateria da outra máquina.
-
Ligue uma extremidade do cabo jumper negativo (-) ao polo negativo da bateria da outra máquina.
-
Ligue a extremidade do outro cabo jumper negativo (-) a um ponto de ligação à terra, como um parafuso não pintado ou perfil do chassis.
-
Ligue o motor na outra máquina. Deixe-o funcionar alguns minutos e, em seguida, ponha o motor da sua máquina a funcionar.
-
Retire os cabos na ordem inversa de ligação.
-
Instale a cobertura frontal.
Manutenção dos fusíveis
O sistema elétrico está protegido por fusíveis. Não é necessária qualquer manutenção; no entanto, se um fusível queimar, verifique se há alguma avaria ou curto-circuito no componente/circuito.

| 1 | 2 | 3 | 4 | 5 | 6 | 7 | 8 | 9 | 10 | 11 | 12 | |
| A | X | X | X | X | X | X | Acessório | Alimentação do sistema | Alimentação do sistema 2 | |||
| (10 A) | (15 A) | (7,5 A) | ||||||||||
| B | X | X | X | X | X | X | Luzes/USB | Telemática | Alimentação do sistema 4 | |||
| (15 A) | (10 A) | (7,5 A) | ||||||||||
| C | X | X | X | X | X | X | Buzina | TDM 2002 | Alimentação do sistema 3 | |||
| (20 A) | (10 A) | (7,5 A) | ||||||||||
| D | X | X | X | X | X | X | X | X | (Relé) | (Relé) | ||
| E | X | X | X | X | X | X | X | X | ||||
Note: Se a máquina não arrancar, o circuito principal ou o fusível do painel de controlo/relé pode estar queimado.
Manutenção do sistema de transmissão
Manutenção das lagartas
| Intervalo de assistência | Procedimento de manutenção |
|---|---|
| Após as pimeiras 8 horas |
|
| Após as pimeiras 50 horas |
|
| Em todas as utilizações ou diariamente |
|
| A cada 50 horas |
|
Limpeza da esteiras
-
Estacione a máquina numa superfície nivelada.
-
Com o balde instalado e inclinado para baixo, baixe-o para o chão de modo a que a frente da unidade de tração se levante do chão alguns centímetros.
-
Acione o freio de estacionamento.
-
Desligue o motor e retire a chave.
-
Utilizando uma mangueira ou uma máquina de lavar à pressão, retire a sujidade de cada sistema de lagarta.
Important: Certifique-se de que utiliza uma máquina de lavar de alta pressão para lavar apenas a área da lagarta. Não utilize uma máquina de lavar de alta pressão para limpar o resto da máquina. Não utilize água a alta pressão entre a roda motora de transmissão e a unidade de tração ou poderá danificar os vedantes do motor. A máquina de lavar de alta pressão pode danificar o sistema elétrico e as válvulas hidráulicas ou retirar lubrificante.
Important: Certifique-se de que limpa completamente as rodas da estrada, roda dianteira, roda traseira e roda dentada. As rodas de estrada devem rodar livremente quando limpas.

Verificação e ajuste da tensão da lagarta
Levante/apoie um lado da máquina e utilizando o peso da lagarta, verifique se o espaço entre o fundo da aba da roda da estrada e a lagarta é de 19 mm. Caso contrário, ajuste a tensão da lagarta utilizando o seguinte procedimento.

-
Estacione a máquina numa superfície nivelada, desça os braços do carregador e engate o travão de estacionamento.
-
Desligue o motor e retire a chave.
-
Levante o lado da máquina que está a ajustar para que a lagarta fique fora do solo.
-
Desaperte os parafusos que fixam a cobertura traseira e retire a cobertura.

-
Desaperte a porca de aperto e rode o parafuso tensor no sentido dos ponteiros do relógio até a deformação da lagarta ser de 19 mm.

-
Aperte a porca de bloqueio.
-
Instale a cobertura e aperte os parafusos.
-
Repita o procedimento para a outra lagarta.
-
Conduza a máquina e estacione-a numa superfície nivelada, engate o travão de estacionamento, desligue o motor e retire a chave.
-
Verifique se a deflexão da lagarta é de 19 mm. Efetue um novo ajuste, se necessário.
Substituição das lagartas
Remoção as lagartas
-
Remova os acessórios.
-
Estacione a máquina numa superfície nivelada, assegurando que apenas uma metade da roda motora está engatada na lagarta.

-
Desça os braços do carregador.
-
Desligue o motor e retire a chave.
-
Levante a máquina do solo para que o fundo da pista fique pelo menos a 10,2 cm do solo. Apoie a máquina utilizando macacos.
Note: Utilize macacos para a sua máquina.
Aviso
Os macacos hidráulicos ou mecânicos podem não conseguir apoiar a máquina, o que pode resultar em morte ou ferimentos graves.
Utilize macacos para suportar a máquina.
-
Desaperte os parafusos que fixam a cobertura traseira e retire a cobertura.

-
Desaperte a porca de aperto e rode o parafuso de aperto para libertar a tensão.

-
Remova o segmento da roda motora não engatado com a lagarta.
Important: Se não remover o segmento da roda motora, pode ser difícil instalar uma nova lagarta sem a danificar.

-
Ligue a máquina e liberte o travão de estacionamento.
-
Mova o controlo de tração para a frente até que a outra metade da roda motora não esteja engatada na lagarta

-
Desligue o motor e retire a chave.
-
Remova a lagarta da estrutura da lagarta, cubo de transmissão e depois roda dianteira.
Instalação das lagartas
-
Envolver a nova lagarta à volta da roda da frente.

-
Empurre a lagarta por baixo e entre as rodas da estrada e envolva-a à volta da estrutura da roda traseira.
-
Ligue o motor e liberte o travão de estacionamento.
-
Mova o controlo de tração para a frente até que a outra metade da roda motora engate na lagarta.

-
Desligue o motor e retire a chave.
-
Aplique fixador de roscas nos parafusos da metade da roda motora da transmissão que retirou e instale a outra metade da roda motora. Aperte os parafusos com 80 a 99 N·m.

-
Ajuste o parafuso de tensionamento até a deflexão da lagarta ser de 19 mm.

-
Aperte a porca de bloqueio.
-
Instale a cobertura e aperte os parafusos.
-
Repita o procedimento para substituir a outra lagarta.
-
Baixe a máquina para o chão.
-
Conduza a máquina e estacione-a numa superfície nivelada, engate o travão de estacionamento, desligue o motor e retire a chave.
-
Verifique se a tensão da lagarta está correta; consulte a Verificação e ajuste da tensão da lagarta.
Manutenção do sistema de arrefecimento
Segurança do sistema refrigeração
-
Engolir o líquido de refrigeração do motor pode causar envenenamento; mantenha-o afastado do alcance das crianças e dos animais.
-
Descarregar líquido de refrigeração pressurizado e quente ou tocar num radiador quente ou nas peças envolventes pode causar queimaduras graves.
-
Deixe o motor arrefecer, pelo menos, 15 minutos antes de retirar o tampão do radiador.
-
Use um trapo quando abrir o tampão do radiador, fazendo-o lentamente para permitir a saída do vapor.
-
Manutenção do sistema de arrefecimento
| Intervalo de assistência | Procedimento de manutenção |
|---|---|
| Em todas as utilizações ou diariamente |
|
| A cada 100 horas |
|
Limpeza do filtro do radiador
| Intervalo de assistência | Procedimento de manutenção |
|---|---|
| Em todas as utilizações ou diariamente |
|
Remova a acumulação de relva, sujidade ou outros detritos do filtro do radiador com ar comprimido.
Verificação do nível do líquido de arrefecimento do motor
Capacidade: 4,4 L
Tipo: solução 50/50 de água e anticongelante etileno glicol permanente.
Important: Não remova a tampa do radiador na traseira da máquina, exceto se o depósito de expansão estiver vazio; caso contrário dar-se-á uma fuga do líquido de arrefecimento.
-
Estacione a máquina numa superfície nivelada, desça os braços do carregador e engate o travão de estacionamento.
-
Desligue o motor, retire a chave da ignição e deixe o motor arrefecer.
-
Abra o capot.
-
Verifique o nível do líquido de arrefecimento no depósito de expansão.
Este deve situar-se entre as marcas existentes na lateral do depósito.

-
Se o nível do líquido de arrefecimento for baixo, retire o tampão do depósito de expansão e adicione uma solução de água e anticongelante etilenoglicol a 50/50.
Important: Não encha demasiado o depósito de expansão.
-
Coloque o tampão do depósito de expansão.
-
Feche o capô.
Substituição do líquido de arrefecimento do motor
| Intervalo de assistência | Procedimento de manutenção |
|---|---|
| Anualmente |
|
Peça a um representante de assistência autorizado para mudar o líquido de arrefecimento do motor anualmente.
Se precisar de adicionar líquido de arrefecimento de motor, consulte Verificação do nível do líquido de arrefecimento do motor.
Manutenção do sistema de controlo
Ajuste dos controlos
A fábrica ajusta os controlos antes de expedir a máquina. Todavia, após muitas horas de utilização, pode precisar de ajustar o alinhamento do controlo de tração, a posição PONTO MORTO do controlo de tração e o acompanhamento do controlo de tração na posição para a frente total.
Contacte o seu representante de assistência autorizado para ajustar os controlos da sua máquina.
Manutenção do sistema hidráulico
Segurança do sistema hidráulico
-
Em caso de penetração do fluido na pele, consulte imediatamente um médico. O fluido injetado tem de ser cirurgicamente retirado por um médico no prazo de algumas horas.
-
Certifique-se de que todos os tubos e tubos hidráulicos se encontram bem apertados e em bom estado de conservação antes de colocar o sistema sob pressão.
-
Mantenha o seu corpo e mãos longe de fugas ou bicos que projetem fluido hidráulico sob pressão.
-
Utilize um pedaço de cartão ou papel para encontrar fugas do fluido hidráulico.
-
Elimine com segurança toda a pressão do sistema hidráulico antes de executar qualquer procedimento neste sistema.
Aliviar a pressão hidráulica
Para aliviar a pressão hidráulica com o motor ligado, desengate a hidráulica auxiliar e desça completamente os braços do carregador.
Para aliviar a pressão enquanto o motor está desligado, rode a chave para posição RUN (funcionamento), prima e mantenha premido a parte inferior do interruptor de ativação da máquina, e mova a alavanca do braço do carregador/inclinação do acessório entre as posições “para a frente” para baixar os braços do carregador. Com a chave na posição FUNCIONAMENTO e prima o interruptor da hidráulica auxiliar para trás e para a frente.

Especificações do fluido hidráulico
| Intervalo de assistência | Procedimento de manutenção |
|---|---|
| A cada 100 horas |
|
| A cada 400 horas |
|
| A cada 1000 horas |
|
Capacidade do sistema hidráulico: 43,5 litros
Fluido hidráulico: Toro PX Extended Life Hydraulic Fluid
Note: Uma máquina que utilize o fluido de substituição recomendado requer substituições de fluido e filtro menos frequentes.
Fluidos hidráulicos alternativos: Se o Fluido hidráulico Toro PX Extended Life não estiver disponível, pode utilizar outros fluidos hidráulicos convencionais à base de petróleo, desde que as respetivas especificações cumpram os intervalos indicados de todas as propriedades seguintes dos materiais e que cumpram as normas industriais. Não utilize fluido sintético. Consulte o seu distribuidor de lubrificantes para identificar um produto satisfatório.
Note: A Toro não assume a responsabilidade por danos causados devido ao uso de substitutos inadequados, pelo que recomendamos a utilização exclusiva de produtos de fabricantes com boa reputação no mercado.
| Propriedades do material: | ||
| Viscosidade, ASTM D445 | cSt a 40°C 44 a 48 | |
| Índice de viscosidade ASTM D2270 | 140 ou superior | |
| Ponto de escoamento, ASTM D97 | -37°C a -45°C | |
| Especificações industriais: | Eaton Vickers 694 (I-286-S, M-2950-S/35VQ25 ou M-2952-S) | |
Note: A maioria dos fluidos são incolores, o que dificulta a deteção de fugas. Encontra-se à sua disposição um aditivo vermelho para o fluido hidráulico, em recipientes de 20 ml. Um recipiente é suficiente para 15 a 22 litros de fluido hidráulico. Poderá encomendar a peça n.º 44-2500 ao seu representante de assistência autorizado.
Verificação do nível de fluido hidráulico
| Intervalo de assistência | Procedimento de manutenção |
|---|---|
| Em todas as utilizações ou diariamente |
|
Important: Utilize sempre o fluido hidráulico correto. Outros fluidos podem danificar o sistema hidráulico. Consulte Especificações do fluido hidráulico.
-
Remova os acessórios.
-
Estacione a máquina numa superfície nivelada.
-
Baixe completamente os braços de carga e enrole a placa do acessório para trás.
-
Acione o freio de estacionamento.
-
Desligue o motor e retire a chave.
-
Espreite pela bolha de vidro no lado direito da máquina. Se não conseguir ver o fluido hidráulico na bolha, adicione fluido da seguinte forma:

-
Retire o parafuso e a porca.

-
Eleve o suporte.
-
Limpe a zona em torno do tampão de enchimento e remova-o.

-
Adicione fluido hidráulico até ficar visível na bolha.
-
Volte a colocar o tampão de enchimento.
-
Baixe o suporte e prenda-o com o parafuso e a porca.
-
Substituição do filtro hidráulico
Important: Não substitua um filtro de óleo automóvel, pois pode danificar gravemente o sistema hidráulico.
-
Remova os acessórios.
-
Estacione a máquina numa superfície nivelada.
-
Eleve os braços do carregador e instale bloqueios do cilindro.
-
Acione o freio de estacionamento.
-
Desligue o motor, retire a chave da ignição e deixe o motor arrefecer.
-
Remova a placa de acesso frontal.
-
Coloque um recipiente de escoamento debaixo do filtro e substitua o filtro.

-
Limpe todo o fluido derramado.
-
Ligue o motor e deixe funcionar a máquina durante dois minutos para eliminar o ar do sistema.
-
Desligue o motor e verifique se existem fugas.
-
Verifique o nível de fluido no depósito hidráulico; consulte Verificação do nível de fluido hidráulico e adicione fluido para fazer subir o nível até à marca na vareta.
Important: Não encha demasiado o depósito.
-
Instale a cobertura frontal.
-
Remova e guarde os bloqueios do cilindro e desça os braços do carregador.
Substituição do fluido hidráulico
-
Estacione a máquina numa superfície nivelada, desça os braços do carregador e engate o travão de estacionamento.
-
Desligue o motor e retire a chave.
-
Coloque um recipiente de drenagem com capacidade para 57 litros sob o tampão de drenagem no depósito hidráulico.

-
Retire o tampão de escoamento e deixe o óleo escorrer para recipientes adequados.
-
Quando o óleo acabar de drenar, instale e aperte o tampão de drenagem.
Note: O óleo usado deve ser tratado num centro de reciclagem certificado.
-
Encha o depósito hidráulico com fluido hidráulico; consulte Especificações do fluido hidráulico.
-
Ligue o motor e deixe-o a funcionar durante alguns minutos.
-
Desligue o motor e retire a chave.
-
Verifique o nível do fluido hidráulico e encha, se necessário; consulte Verificação do nível de fluido hidráulico.
Limpeza
Remoção de detritos
| Intervalo de assistência | Procedimento de manutenção |
|---|---|
| Em todas as utilizações ou diariamente |
|
Important: Operar o motor com filtros bloqueados e/ou resguardos de arrefecimento removidos pode danificar o motor por sobreaquecimento.
-
Estacione a máquina numa superfície nivelada, desça os braços do carregador e engate o travão de estacionamento.
-
Desligue o motor, retire a chave da ignição e deixe o motor arrefecer.
-
Abra o capot.
-
Limpe os detritos dos filtros frontal e lateral.
-
Limpe todos os detritos do filtro de ar.
-
Limpe os detritos acumulados no motor e aletas de refrigeração do óleo com uma escova ou um soprador.
Important: Operar o motor com filtros bloqueados e/ou resguardos de arrefecimento removidos pode danificar o motor devido a sobreaquecimento.
-
Limpe detritos da abertura do exaustor, silenciador, proteções térmicas e filtro do radiador (se aplicável).
-
Feche o capô.
Lavagem da máquina
Quando lavar a máquina com água sob pressão, faça o seguinte:
-
Utilize equipamento pessoal de proteção adequado para a água sob pressão.
-
Mantenha todas as proteções instaladas.
-
Evite pulverizar sobre componentes eletrónicos.
-
Evite pulverizar sobre cantos de autocolantes.
-
Pulverize apenas no exterior da máquina. Não pulverize diretamente na abertura da máquina.
-
Pulverize apenas nas partes sujas da máquina.
-
Utilize um bico de pulverização de 40 graus ou superior. Os bicos de 40 graus habitualmente são brancos.
-
Mantenha a ponta da lavadora de pressão, no mínimo, a 61 cm da superfície a ser lavada.
-
Utilize apenas lavadoras de pressão com pressões abaixo de 137,9 bar e fluxo abaixo de 7,6 litros por minuto.
-
Substitua autocolantes danificados ou a descolar.
-
Lubrifique todos os pontos de lubrificação após a lavagem; consulte Lubrificação da máquina.
Limpeza do chassis
| Intervalo de assistência | Procedimento de manutenção |
|---|---|
| A cada 100 horas |
|
Com o passar do tempo, o chassis sob o motor recolhe a sujidade e detritos que devem ser removidos. Utilizando uma lanterna, abra o capô e inspecione regularmente a área debaixo do motor. Quando os detritos tiverem 2,5 a 5 cm de espessura, limpe o chassis.
-
Estacione a máquina numa superfície nivelada, desça os braços do carregador e engate o travão de estacionamento.
-
Desligue o motor e retire a chave.
-
Eleve a frente da máquina de forma a que a máquina fique inclinada para trás.
-
Retire a placa inferior; consulte Retire a placa inferior.
-
Retire o conjunto da cobertura frontal; consulte Remoção da montagem da tampa frontal.
-
Pulverize água para dentro do chassis para limpar a sujidade e os detritos.
Note: A água vai escorrer na parte de trás da máquina.
Important: Não borrife água para o motor.
-
Lubrifique a máquina; consulte Lubrificação da máquina.
-
Instale a placa inferior.
-
Instale o conjunto da cobertura frontal.
-
Desça a máquina.


, que indica: Cuidado, Aviso
ou Perigo — instruções de segurança pessoal.
O não cumprimento destas instruções pode resultar
em ferimentos pessoais ou mesmo em morte.





















































































