| Tíðni viðhaldsþjónustu | Viðhaldsferli |
|---|---|
| Fyrir hverja notkun eða daglega |
|
Gangandi starfsmaður stjórnar þessari vinnuvél og er hún ætluð fagfólki og verktökum til atvinnunota. Vinnuvélin er sérstaklega hönnuð fyrir loftun á stórum svæðum á vel viðhöldnum grasflötum í almenningsgörðum, á golfvöllum, íþróttavöllum og atvinnusvæðum. Notkun þessarar vöru við annað en tilætlaða notkun getur skapað hættu fyrir stjórnanda og nærstadda.
Lesið þessar upplýsingar vandlega til að læra að stjórna og sinna réttu viðhaldi á vörunni og til að koma í veg fyrir meiðsl og skemmdir á vörunni. Eigandi ber ábyrgð á réttri og öruggri notkun vörunnar.
Á www.Toro.com er að finna kennsluefni tengt öryggi og notkun vörunnar, upplýsingar um aukabúnað, upplýsingar um söluaðila og vöruskráningu.
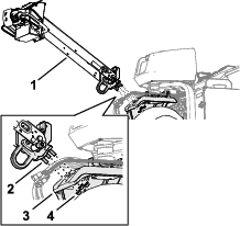
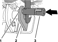
Þegar þörf er á þjónustu, upprunalegum Toro varahlutum eða frekari upplýsingum skal hafa samband við viðurkenndan söluaðila Toro og hafa tegundar- og raðnúmer vörunnar við höndina. Mynd 1 sýnir hvar tegundar- og raðnúmerin eru á vörunni. Skrifið númerin í kassann hér á síðunni.

Öryggistáknið (Mynd 2) sem sýnt er í þessari handbók og á vélinni gefa til kynna mikilvæg öryggisskilaboð sem fylgja verður til að koma í veg fyrir slys.

Öryggistáknið birtist fyrir ofan upplýsingar sem vara þig við óöruggum aðgerðum eða aðstæðum og á eftir kemur orðið HÆTTA, VIÐVÖRUN eða VARÚÐ.
HÆTTA gefur til kynna yfirvofandi hættulega stöðu sem, ef ekki er komið í veg fyrir, mun valda dauða eða alvarlegum meiðslum.
VIÐVÖRUN gefur til kynna hugsanlega hættulega stöðu sem, ef ekki er komið í veg fyrir, gæti valdið dauða eða alvarlegum meiðslum.
VARÚÐ gefur til kynna hugsanlega hættulega stöðu sem, ef ekki er komið í veg fyrir, gæti valdið minniháttar eða miðlungs alvarlegum meiðslum.
Þessi handbók notar tvö önnur orð til að leggja áherslu á upplýsingar. Mikilvægt“ vekur athygli á sérstökum vélrænum upplýsingum og Athugið“ undirstrikar almennar upplýsingar sem vert er að lesa vandlega.
Þessi vara uppfyllir allar viðeigandi evrópskar reglugerðir; frekari upplýsingar er að finna á aðskildu samræmisyfirlýsingarskjali vörunnar.
Neistavara er krafist á vél þessarar vinnuvélar á sumum svæðum samkvæmt staðbundnum reglugerðum eða fylkis- eða alríkislögum og af þeim sökum er hann í boði sem aukabúnaður. Leitið til viðurkennds dreifingaraðila Toro ef þörf er á neistavara. Neistavarar frá Toro eru vottaðir af bandarískum skógræktaryfirvöldum.
Meðfylgjandi notendahandbók vélarinnar inniheldur upplýsingar um Umhverfisverndarstofnun Bandaríkjanna (EPA) og útblástursreglugerð Kaliforníu fyrir útblásturskerfi, viðhald þeirra og ábyrgð. Hægt er að panta varahluti hjá framleiðanda vélarinnar.
Ef þessi vél er búin fjarvirknibúnaði skaltu leita til viðurkennds Toro-dreifingaraðila til að fá leiðbeiningar um hvernig á að virkja búnaðinn.
KALIFORNÍA
Viðvörun, tillaga 65
Vélarútblástur frá þessari vöru inniheldur efni sem Kaliforníuríki eru kunnugt um að geti valdið krabbameini og fæðingargöllum eða öðrum æxlunarskaða.
Rafgeymaskaut og tengihlutir innihalda blý og blýsambönd, efni sem Kaliforníuríki er kunnugt um að geti valdið krabbameini og æxlunarskaða. Þvoið hendur eftir meðhöndlun.
Notkun á þessari vöru getur valdið snertingu við efni sem Kaliforníuríki er kunnugt um að geti valdið krabbameini og fæðingargöllum eða öðrum æxlunarskaða.
Þessi vara getur valdið meiðslum á fólki. Fylgið alltaf öryggisleiðbeiningum til að koma í veg fyrir meiðsl á fólki.
Lesið vandlega efni þessara notandahandbókar áður en vélin er gangsett.
Sýnið árvekni á meðan unnið er á vinnuvélinni. Ekki gera neitt sem veldur truflun; slíkt kann að leiða meiðsla eða eignatjóns.
Ekki setja hendur eða fætur nærri íhlutum á hreyfingu.
Ekki nota vinnuvélina án hlífa og annars öryggisbúnaðar á sínum stað á vinnuvélinni og í nothæfu ástandi.
Haldið nærstöddum fjarri vinnuvélinni þegar hún er á ferð.
Haldið öruggri fjarlægð frá opinu í kringum tindana. Haldið nærstöddum og gæludýrum í öruggri fjarlægð frá vinnuvélinni.
Haldið börnum utan vinnusvæðisins. Aldrei skal leyfa börnum að vinna á vinnuvélinni.
Leggið vinnuvélinni á jafnsléttu, togið og festið handfangið til að setja stöðuhemilinn á, drepið á vélinni, takið lykilinn úr og bíðið þar til allir hlutar á hreyfingu hafa stöðvast áður en vinnuvélin er þjónustuð, fyllt er á eldsneyti eða stíflur losaðar.
Röng notkun eða viðhald þessarar vinnuvélar
getur leitt til meiðsla. Til að draga úr slysahættu
skal fara eftir þessum öryggisleiðbeiningum og vera
ávallt vakandi fyrir öryggistákninu
, sem merkir Aðgát“, Viðvörun“
eða Hætta“ – öryggisleiðbeiningar.
Ef ekki er farið eftir þessum leiðbeiningum er hætta
á meiðslum á fólki eða dauða.
![]() |
Öryggismerkingar og leiðbeiningar sjást greinilega og eru hjá öllum svæðum þar sem möguleg hætta er til staðar. Skiptið um skemmdar eða týndar merkingar. |
















Note: Framhluti vinnuvélarinnar er staðsettur við handfang stjórnandans, sem er eðlileg staða hans. Vinstri og hægri miðast við akstursstefnu þegar gengið er með vélina í eftirdragi.
Note: Til að lyfta götunarhausnum eftir að vinnuvélin er afhent skal sleppa loftunarstönginni og gangsetja vélina; frekari upplýsingar er að finna í Vélin gangsett og Götunarhausnum lyft.
Hlutar sem þarf fyrir þetta verk:
| Hjólasamstæða | 2 |
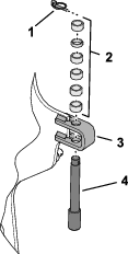
Note: Ef lyftibúnaður er til staðar skal nota hann til að lyfta afturhluta vinnuvélarinnar. Notið bindiaugun í leguhúsum götunarhaussins sem festipunkta lyftibúnaðar (Mynd 3).

Fjarlægið felgurærnar fjórar aftan á vinnuvélinni sem festa afturhluta hennar festingarnar á flutningabrettinu.
Setjið felgu á hvora hjólnöf að aftan festið felgurónum fjórum (Mynd 4).

Herðið felgurærnar í 61 til 75 N m (45 til 55 ft-lb).
Endurtakið skref 3 til 1 á hinni hlið vinnuvélarinnar.
Hleypið lofti úr öllum hjólbörðum niður í 83 kPa (12 psi).
Hlutar sem þarf fyrir þetta verk:
| Handfang | 1 |
| Lásró (½ to.) | 3 |
Stingið pinnunum á enda handfangsstangarinnar í götin á stýrisarminum (Mynd 5).
Note: Fáið aðstoð frá annarri manneskju við að halda handfangsstönginni.

Skrúfið sjálflæsandi ró (1/2 to.) á pinnana þrjá.
Herðið sjálflæsandi róna í 91 til 113 Nm (67 til 83 ft-lb).
Snúið handfangsstönginni upp og festið hana með pinna handfangslæsingarinnar (Mynd 6).

Leiðið tengi hemlavírsins undir rás handfangsstangarinnar (Mynd 7).

Festið tengi hemlavírsins á splittboltann og festið hana á pinnann með skinnunni og splittinu.
Leiðið 6 pinna tengi og 12 pinna tengi rafleiðsluknippis vinnuvélarinnar í gegnum gúmmíkragann í rás handfangsstangarinnar (Mynd 8).

Stingið 12 pinna tengi rafleiðsluknippis vinnuvélarinnar í 12 pinna innstungu rafleiðsluknippis handfangsstangarinnar (Mynd 9).

Stingið 6 pinna tengi rafleiðsluknippis vinnuvélarinnar í 6 pinna innstungu rafleiðsluknippis handfangsstangarinnar.
Ýtið festingu rafleiðsluknippis vinnuvélarinnar í gatið á handfangsstangarrásinni (Mynd 10).

Ýtið festingu rafleiðsluknippis vinnuvélarinnar í gatið á stýrifestingunni.
Festið rafleiðsluknippi vinnuvélarinnar í rás handfangsstangarinnar með plastbandi í gegnum raufarnar í rásinni (Mynd 11).

Festið rafleiðsluknippi vinnuvélarinnar í stýrifestinguna með plastbandi í gegnum raufarnar í festingunni.
Stillið raufina á hlífinni af við samsvarandi nibbu á stönginni (Mynd 12).

Stillið götin á hlífinni af við götin í rás handfangsstangarinnar.
Festið hlífina við stöngina með sex snittmótandi skrúfum (1/4 to.).
Hlutar sem þarf fyrir þetta verk:
| Bolti (1/4 x 1 to.) | 2 |
| Sjálflæsandi ró (5/16 to.) | 2 |
Geymasýra inniheldur brennisteinssýru sem er banvæn og veldur alvarlegum brunasárum.
Forðist snertingu við húð, augu og fatnað. Notið hlífðargleraugu til að verja augu og gúmmíhanska til að verja hendur.
Losun, hleðsla og uppsetning rafgeymisins skal ávallt fara fram þar sem gott aðgengi er að hreinu vatni til að skola húðina.
Hleðsla rafgeymisins myndar sprengifimar lofttegundir.
Aldrei reykja nærri rafgeymi og hann þarf að verja gegn neistaflugi og opnum eldi.
Rafgeymaskaut eða verkfæri úr málmi geta valdið skammhlaupi í málmhluta vinnuvélarinnar með meðfylgjandi neistaflugi. Neistar geta kveikt í gasi frá rafgeyminum og valdið sprengingu og meiðslum á fólki.
Þegar rafgeymirinn er tekinn úr eða settur í þarf að koma í veg fyrir að rafgeymaskautin snerti málmhluta vinnuvélarinnar.
Komið í veg fyrir að verkfæri úr málmi valdi skammhlaupi á milli rafgeymaskautanna og málmhluta vinnuvélarinnar.
Rangt lagðir rafgeymiskaplar geta valdið skemmdum á vinnuvélinni og köplunum sem leitt geta til neistaflugs. Neistar geta kveikt í gasi frá rafgeyminum og valdið sprengingu og meiðslum á fólki.
Aftengið alltaf mínusrafgeymiskapalinn (svartur) áður en plúskapallinn (rauður) er aftengdur.
Tengið alltaf plúsrafgeymiskapalinn (rauður) áður en mínuskapallinn (svartur) er tengdur.
Losið og opnið hlerann að rafgeymishólfinu (Mynd 13).

Fjarlægið rafgeyminn úr rafgeymishólfinu.
Notið hleðslutæki með 3 til 4 ampera hleðslugetu til að hlaða rafgeyminn.
Þegar rafgeymirinn er fullhlaðinn skal taka hleðslutækið úr sambandi við rafmagnsinnstunguna og rafgeymaskautin.
Setjið rafgeyminn á bakkann rafgeymishólfinu (Mynd 14). Staðsetjið rafgeyminn þannig að skautin vísi út.

Festið rafgeyminn í hólfið með haldstöng, tveimur J-stöngum, tveimur skinnum og tveimur vængjaróm.
Festið plúskapalinn (rauður) við plússkaut (+) rafgeymisins með burðarbolta og ró.
Setjið gúmmíhettuna á plússkautið.
Festið mínuskapalinn (svarta) við mínusskaut (–) rafgeymisins með burðarbolta og ró.
Lokið og læsið hlera rafgeymishólfsins.
Hlutar sem þarf fyrir þetta verk:
| Klinkulás | 2 |
| Uppsnittaður bolti | 2 |
| Tennt innri lásskinna | 2 |
Ef vinnuvélin er sett upp til notkunar innan Evrópusambandsins (CE) skal setja læsingu á vélarhlífina að aftan á eftirfarandi hátt til að hlíta CE-reglugerðum.
Takið vélarhlífina að aftan af.
Setjið lás á klinku vélarhlífarinnar (Mynd 15) með uppsnittuðum bolta (tveir alls).

Notið töng og skrúflykil til að skrúfa innri lásskinnu á hvorn bolta (einn til tveir snúningar) til að festa boltana í vélarhlífina.
Endurtakið skref 2 til 3 á hinni hlið vélarhlífarinnar.
Setjið vélarhlífina að aftan á.
Hlutar sem þarf fyrir þetta verk:
| Dragreipi | 1 |
| Draghnoð | 1 |
| Bolti (¼ x 1 to.) | 1 |
| Lásró (¼ to.) | 1 |
Ef vinnuvélin er sett upp í samræmi við CE-reglugerðir skal setja festiband upp á reimarhlífinni á eftirfarandi hátt.
Finnið gatið á reimarhlífinni við hliðina á raufinni fyrir læsingarhandfangið (Mynd 16 og Mynd 17).

Festið festibandið í gatið á reimarhlífinni með draghnoði (Mynd 17).

Skrúfið boltann í klinkuhandfangið (Mynd 18).

Mikið úrval af tindfestingum, grassvarðarhlífum og tindum er í boði fyrir vinnuvélina. Frekari upplýsingar eru í Uppsetning grassvarðarhlífa, tindfestinga og tinda.


Notið festingu handfangsstangarinnar (Mynd 21) til að festa stöngina í uppréttri stöðu og til að setja stöðuhemilinn á.
Important: Festið handfangsstöngina alltaf í uppréttri stöðu þegar stjórnandastaðan er yfirgefin.
Gangstöngin (Mynd 21) tryggir að stjórnandi sé til staðar þegar vinnuvélinni er ekið eða þegar götunarhausinn er keyrður.
Note: Ekki er drepið á vélinni þegar gangstönginni er sleppt.
Notið InfoCenter-skjáinn (Mynd 21) til að stilla virkni stjórntækja götunarhaussins.
Ef stjórnandi kemur við sparkstöðvunarrofann (Mynd 21) eru eftirfarandi aðgerðir framkvæmdar í vinnuvélinni:
Vinnuvélin er stöðvuð.
Götunarhausnum er lyft og hann stöðvast.
Note: Ekki er drepið á vélinni þegar sparkstöðvunarrofinn er snertur. Hægt er að aka vinnuvélinni aftur á bak, en það þarf að endurstilla sparkrofann til að aka áfram.

Notið flutnings-/loftunarrofann (Mynd 22) til að stilla hámarkshraða vinnuvélarinnar meðan á loftun eða flutningi vinnuvélarinnar stendur.
Staðan AERATION (loftun) er fyrir loftun og takmarkar aksturshraða við 4,0 km/klst. eða hægari akstur.
Staðan TRANSPORT (flutningur) er fyrir akstur vinnuvélarinnar á fullum hraða eða hægar á milli vinnusvæða.
Note: Ekki er hægt að keyra loftun þegar flutnings-/loftunarrofinn er í stöðunni TRANSPORT.
Notið vinstra eða hægra akstursstjórntæki (Mynd 22) til að aka vinnuvélinni áfram eða aftur á bak.
Notaðu hraðalæsingarrofann (Mynd 22) til að halda aksturshraða vinnuvélarinnar; virkar svipað og hraðastillir í bílum.
Staðan ENGAGE (virkja) festir yfirstandandi aksturshraða vinnuvélarinnar.
Staðan ON (kveikt) virkjar aksturshraðalæsinguna.
Staðan OFF (slökkt) afturkallar læsingu aksturshraða.
Notið hraðalæsingarrofann (Mynd 22) til að halda aksturshraðanum í samræmi við stillt bil á milli götunar við loftun.
Staðan ON (kveikt) – virkjar hraðalæsinguna til að halda hraða í samræmi við stillt bil á milli götunar við loftun þegar loftunarstönginni er sleppt við lok loftunarferðar.
Staðan OFF (slökkt) tekur hraðalæsinguna af – vinnuvélin stöðvast þegar loftunarstönginni er sleppt.

Notið inngjafarstöngina (Mynd 24) til að stjórna vélarhraðanum:
Ef inngjafarstöngin er færð fram á við eykst snúningshraði vélarinnar – að stöðunni FAST (hratt).
Þegar inngjafarstöngin er færð afturábak minnkar snúningshraði vélarinnar – að stöðunni SLOW (hægt).
Note: Snúningshraði vélarinnar stjórnar hraða götunarhaussins.
Notið innsogið við gangsetningu kaldrar vélar (Mynd 24).
Notið svissinn (Mynd 24) til að gangsetja og drepa á vélinni. Rofinn hefur 3 stillingar:
GANGSETJA – snúið lyklinum réttsælis í stöðuna GANGSETJA til að virkja startarann.
GANGSETJA – sleppið lyklinum þegar vélin fer í gang og hann fer sjálfkrafa í KVEIKTA stöðu.
SLöKKT – Drepið er á vélinni með því að snúa lyklinum rangsælis til að svissa AF.
Notið snúningshraðamælinn til að stilla snúningshraða vélarinnar (Mynd 24).
Notið afsláttarloka eldsneytis til að stjórna eldsneyti frá eldsneytisgeyminum (Mynd 25).

InfoCenter-skjárinn (Mynd 26) sýnir upplýsingar um vinnuvélina þína, svo sem notkunarstöðu, ýmsar greiningar og aðrar upplýsingar um vinnuvélina.

Note: Virkni hnappanna getur breyst eftir því hvað þarf að gera hverju sinni. Hnapparnir eru merktir með tákni sem sýnir núverandi virkni.
Notið leiðsagnarhnappana til að fletta á milli nokkurra skjáa og valmyndarliða:
Risskjár: sýnir núverandi vinnuvélarupplýsingar í nokkrar sekúndur eftir að þú færir lykilinn í stöðuna ON (kveikt).
Aðalvalmynd: sjá Notkun valmynda.
|
SERVICE DUE |
Gefur til kynna hvenær framkvæma skal áætlaða viðhaldsvinnu |
|
|
Flutningsstilling |
|
|
Holudýpt |
|
|
Holubil |
|
|
Þvermál tinds |
|
|
Tindar á festingu |
|
|
Rafgeymir |
|
|
Vinnustundamælir |
|
|
Virk/OK |
|
|
Óvirk |
|
|
Áfram |
|
|
Fyrri skjámynd |
|
|
Valmynd |
|
|
Auka/minnka gildi |
|
|
Skruna upp/niður |
|
|
Skruna til hægri/vinstri |
|
|
Fara í valmynd |
|
|
|
Til að fara í aðalvalmyndina skaltu ýta á til baka/hætta hnappinn á einhverjum upplýsingaskjánum.
Sjá eftirfarandi töflur til að fá lýsingu á valkostunum sem eru í boði í valmyndunum:
|
Valmyndaratriði |
Lýsing |
|---|---|
|
BILUN |
Inniheldur lista yfir nýlegar bilanir í vinnuvélinni. Sjá Þjónustuhandbók eða hafðu samband við viðurkenndan Toro dreifingaraðila til að fá frekari upplýsingar um bilunarvalmyndina. |
|
ÞJóNUSTA |
Inniheldur upplýsingar um vinnuvélina, t.d. vinnustundir, teljara og aðrar sambærilegar tölur. |
|
GREININGAR |
Sýnir ýmsar stöður sem vinnuvélin er í á viðkomandi stundu; hægt er að nota þessa valmynd til að bilanagreina tiltekin vandamál þar sem hún veitir skjótar upplýsingar um á hvaða stjórntækjum vinnuvélarinnar er kveikt og slökkt. |
|
STILLINGAR |
Gerir þér kleift að slá inn PIN-númerið eða sérsníða InfoCenter-skjámynd. |
|
STILLINGAR VINNUVéLAR |
Gerir þér kleift að breyta notkunareiginleikum og uppsetningu vélarinnar. |
|
UM |
Sýnir tegundarnúmer, raðnúmer og hugbúnaðarútgáfu vinnuvélarinnar. |
|
Valmyndaratriði |
Lýsing |
|---|---|
|
TöLFRæðI |
Sýnir teljara fyrir keyrslugögn vinnuvélar og notkunargögn, svo sem keyrslutíma hreyfils, loftunarsvæði/rúmmál/tími, loftunarferðalengd. |
|
VINNUSTUNDIR |
Sýnir heildarfjölda vinnustunda sem vinnuvélin, vélin og aflúttakið hafa verið kveikt, svo og fjölda vinnustunda sem vinnuvélin hefur verið flutt og væntanlega þjónustu. |
|
TALNINGAR |
Sýnir fjölmargar talningar sem vinnuvélin hefur upplifað. |
|
ÞJóNUSTULYFTA |
Virkja eða slökkva á þjónustulyftu. |
|
ÞJóNUSTULæKKA |
Virkja eða slökkva á þjónustulækkun. |
|
3WD |
Virkjaðu sjálfvirka 3WD eða alltaf á 3WD. |
|
Hæð FRá JöRðU |
Gefur til kynna hvort kvörðun skynjara sé gild, byrjar kvörðunarferlið og skráir rafmagnsgildi skynjarans. |
|
GRIPDæLA |
Gefur til kynna hvort kvörðun skynjara sé gild, byrjar kvörðunarferlið og skráir rafmagnsgildi skynjarans. |
|
GRIPINNTAK |
Gefur til kynna hvort kvörðun skynjara sé gild, byrjar kvörðunarferlið og skráir rafmagnsgildi skynjarans. |
|
HæðARSKYNJARI |
Gefur til kynna hvort kvörðun skynjara sé gild, byrjar kvörðunarferlið og skráir rafmagnsgildi skynjarans. |
|
|
|
|
Valmyndaratriði |
Lýsing |
|---|---|
|
SLáðU INN PIN-NúMER |
Veitir vottuðum einstaklingi með PIN-númer aðgang að vörðum valmyndum |
|
BAKLýSING |
Stjórnar birtustigi LCD-skjámyndar |
|
TUNGUMáL |
Stjórnar tungumálinu sem notað er á InfoCenter-skjánum |
|
EININGAR |
Stjórnar því hvaða einingar eru notaðar á InfoCenter-skjánum (enskar mælieiningar eða metrakerfið) |
|
BREYTA PIN-NúMERI |
Leyfir viðurkenndum aðila með PIN-númerið að breyta PIN-númerinu |
|
VERNDA STILLINGAR |
Virkjar eða slekkur á kröfu um að slá inn PIN-númer til að fá aðgang að vörðum stillingum |
|
ENDURSTILLA í SJáLFGEFIð |
Setur allar stillingar aftur í sjálfgefnar |
|
|
|
|
Valmyndaratriði |
Lýsing |
|
HáM. FLUTNINGUR |
Gerir þér kleift að breyta hámarkshraða áfram á jörðu niðri; sjálfgefið = 6,4 km/klst. (4 míl./klst.) |
|
HANDVIRK LOFTUN |
Virkjar eða slekkur á handvirkri loftun |
|
|
|
|
Valmyndaratriði |
Lýsing |
|---|---|
|
tegund |
Sýnir tegundarnúmer vinnuvélarinnar |
|
SN |
Sýnir raðnúmer vinnuvélarinnar |
|
S/W endurskoðun |
Sýnir endurskoðun hugbúnaðar aðalstjórnbúnaðarins |
|
Tölfræði CAN |
Sýnir stöðu gagnabrautar vinnuvélarinnar |
|
InfoCenter Revision |
Sýnir endurskoðun hugbúnaðar InfoCenter-skjásins. |
|
|
|
|
Valmyndaratriði |
Lýsing |
|---|---|
|
Traction (akstur) |
Sjá Þjónustuhandbók eða hafðu samband við viðurkenndan Toro dreifingaraðila til að fá frekari upplýsingar um greiningarvalmyndaratriði. |
|
Loftun |
|
|
Vél |
Varðar valmyndir eru ekki sýndar sjálfgefið. Þessar stillingar eru opnaðar með því að slá inn PIN-númerið.
Note: Sjálfgefið PIN-númer frá verksmiðju fyrir vinnuvélina þína er annað hvort 0000 eða 1234; við afhendingu gæti dreifingaraðili þinn hafa breytt PIN-númerinu.Ef skipt er um PIN-númer og það gleymist þarf að leita aðstoðar hjá viðurkenndum dreifingaraðila Toro.
Frá AðALVALMYND skaltu skruna niður að STILLINGAR valmyndinni og ýta á valhnappinn (Mynd 27).

Í STILLINGAR valmyndinni skaltu skruna að SLáðU INN PIN-NúMER og ýta á valhnappinn (Mynd 28A).

Til að slá inn PIN-númerið skaltu ýta á upp/niður leiðsagnarhnappana þar til réttur fyrsti stafurinn birtist, ýttu síðan á hægri leiðsagnarhnappinn til að fara í næsta tölustaf (Mynd 28B og Mynd 28C). Endurtaktu þetta skref þar til síðasta talan er slegin inn.
Ýttu á valhnappinn (Mynd 28D).
Note: Ef skjámyndin samþykkir PIN-númerið
og vernduðu valmyndirnar eru ólæstar birtist
í efra hægra
horninu á skjánum.
Til að fela vernduðu valmyndirnar skaltu snúa svissinum í OFF (slökkt)stöðuna og síðan í ON (kveikt) stöðuna.
Þegar PIN-númerið hefur verið slegið inn skaltu fara í STILLINGAR valmyndina og skruna niður að VERNDARSTILLINGAR.
Til að leyfa skoðun á vernduðu
valmyndunum án þess að slá inn PIN-númer,
notaðu valhnappinn til að breyta VERNDARSTILLINGUNUM í
(Off) (slökkt).
Til að krefjast PIN-númersins til að
skoða vernduðu valmyndirnar, notaðu valhnappinn til að
breyta VERNDARSTILLINGUNUM í
(On) (kveikt), stilltu PIN-númerið
og snúðu lyklinum í kveikjurofanum í stöðuna OFF (slökkt) og síðan í stöðuna ON (kveikt).

Blikkandi rautt—virk bilun
Stöðugt rautt—virk ráðgjöf
Stöðugt blátt—kvörðun/svargluggaskilaboð
Stöðugt grænt—eðlileg notkun
Note: Tæknilýsingar og hönnun geta breyst án fyrirvara.
| Breidd | 127 cm |
| Hjólhaf | 113 cm |
| Sporvídd | 97 cm |
| Þvermál götunar | 122 cm |
| Lengd | 295 cm |
| Haushæð (uppi) | 114 cm |
| Haushæð (niðri) | 93 cm |
| Hæð, handfang | 154,2 cm |
| Fríbil frá jörðu | 12 cm |
| Hraði áfram | 0 til 7,2 km/klst. |
| Hraði aftur á bak | 0 til 4 km/klst. |
| Nettóþyngd | 745 kg |
Úrval tengitækja og aukabúnaðar sem Toro samþykkir er í boði fyrir vinnuvélina til að auka við afkastagetu hennar. Hafið samband við viðurkenndan þjónustu- og söluaðila eða dreifingaraðila Toro eða farið á www.Toro.com þar sem finna má lista yfir öll samþykkt tengitæki og aukabúnað.
Notið eingöngu varahluti og aukabúnað frá Toro til að tryggja hámarksafköst. Varahlutir og aukabúnaður frá öðrum framleiðendum geta reynst hættulegir og notkun þeirra kann að fella ábyrgðina úr gildi.
Skoðið eftirfarandi samstillingartöflu tinda til að fá upplýsingar um tindahaus, grassvarðarhlíf og tinda:
| Lýsing á tindahaus | Bil milli tindahausa | Stærð leggs | Fjöldi tinda | Gerð grassvarðarhlífar (fjöldi) |
|---|---|---|---|---|
| Haus með 2x5 litlum tindum | 41 mm | 9,5 mm | 60 | 5-tindur – stuttur (2) |
| 5-tindur – langur (1) | ||||
| Haus með 1x6 litlum tindum | 32 mm | 9,5 mm | 36 | 6-tindur – stuttur (2) |
| 6-tindur – langur (1) | ||||
| 3 tindahaus (⅞ to.) | 66 mm | 22,2 mm | 18 | 3-tindur – stuttur (2) |
| 3-tindur – langur (1) | ||||
| 3 tindahaus (¾ to.) | 66 mm | 19,5 mm | 18 | 3-tindur – stuttur (2) |
| 3-tindur – langur (1) | ||||
| 4 tindahaus (¾ to.) | 51 mm | 19,5 mm | 24 | 4-tindur – stuttur (2) |
| 4-tindur – langur (1) | ||||
| Haus með 5 mjóum tindum | 41 mm | — | 30 | 5-tindur – stuttur (2) |
| 5-tindur – langur (1) |
Note: Miðið vinstri og hægri hlið vinnuvélarinnar út frá hefðbundinni vinnustöðu.
Aldrei leyfa börnum eða óþjálfuðum einstaklingum að vinna á eða við vinnuvélina. Gildandi reglur á hverjum stað kunna að setja takmörk við aldur stjórnanda. Eigandinn ber ábyrgð á að þjálfa stjórnendur og vélvirkja.
Kynnið ykkur örugga notkun búnaðarins, stjórntækjanna og öryggismerkinganna.
Lærið að stöðva vinnuvélina og drepa á vélinni á skjótan máta.
Skoðið ávallt vinnuvélina fyrir notkun til að ganga úr skugga um að tindarnir séu í góðu ásigkomulagi. Skiptið um slitna eða skemmda tinda.
Skoðið svæðið þar sem nota á vinnuvélina og fjarlægið alla hluti sem hún getur rekist í.
Finnið og merkið allar rafmagns- eða samskiptalínur, vökvunarhluta og aðrar hindranir á svæðinu sem á að lofta. Fjarlægið hætturnar ef það er hægt eða finnið út hvernig skuli forðast þær.
Leggið vinnuvélinni á jafnsléttu, togið og festið handfangið til að setja stöðuhemilinn á, drepið á vélinni, takið lykilinn úr og bíðið þar til allir hlutar á hreyfingu hafa stöðvast.
Gangið úr skugga um að kerfi fyrir nærveru stjórnanda, öryggisrofar og hlífar séu á sínum stað og virki rétt. Ekki nota vinnuvélina ef þessir hlutir virka ekki rétt.
Gætið ýtrustu varúðar við meðhöndlun eldsneytis. Það er mjög eldfimt og eldsneytisgufur eru sprengifimar.
Drepið í sígarettum, vindlum, pípum og öðrum kveikjuvöldum.
Notið eingöngu samþykkt eldsneytisílát.
Ekki fjarlægja eldsneytislokið eða fylla á eldsneytisgeyminn með vélina í gangi eða á meðan hún er heit.
Fyllið hvorki á né tappið af eldsneyti í lokuðu rými.
Geymið ekki vinnuvélina eða eldsneytisílát nærri óvörðum loga, neistaflugi eða kveikiloga, á borð við vatnshitara eða önnur heimilistæki.
Ef eldsneyti hellist niður skal ekki reyna að gangsetja vélina og forðast að kveikja minnsta neista þar til eldsneytisgufurnar hafa dreifst.
| Gerð | Blýlaust bensín |
| Lágmarksoktanatala er | 87 (BNA) eða 91 (oktantala við rannsóknir; utan BNA) |
| Etanól | Ekki yfir 10% |
| Metanól | Engin |
| MTBE (metýltertbútýleter) | Ekki yfir 15% |
| Olía | Bætið ekki á eldsneytið |
Notið aðeins hreint, nýtt (ekki eldra en 30 daga) eldsneyti frá áreiðanlegum dreifingaraðila.
Important: Til að lágmarka vandamál við ræsingu skal bæta stöðgara/bætiefni fyrir eldsneyti saman við nýtt eldsneyti, í samræmi við leiðbeiningar framleiðanda stöðgara/bætisefnis.
Rúmtak eldsneytisgeymis: 26,5 l
Leggið vinnuvélinni á jafnsléttu, togið og festið handfangið til að setja stöðuhemilinn á, drepið á vélinni, takið lykilinn úr og bíðið þar til allir hlutar á hreyfingu hafa stöðvast.
Hreinsið svæðið í kringum eldsneytislokið og fjarlægið það (Mynd 30).

Fyllið á eldsneyti þar til það er um 6 til 13 mm fyrir neðan neðri brún áfyllingarstútsins.
Important: Þetta býður upp á útþenslurými fyrir eldsneytið. Stútfyllið aldrei eldsneytisgeyminn.
Festið eldsneytislokið tryggilega á.
Þurrkið upp eldsneyti sem hellist niður.
Fara skal í gegnum ferli fyrir notkun/daglegt ferli sem lýst er í áður en unnið er á vinnuvélinni í upphafi hvers dags.
| Tíðni viðhaldsþjónustu | Viðhaldsferli |
|---|---|
| Fyrir hverja notkun eða daglega |
|
Ef öryggissamlæsingarkerfið er aftengt eða skemmt gæti vinnuvélin farið óvænt af stað og valdið meiðslum á fólki.
Ekki fikta í samlæsingarrofunum.
Kannið virkni samlæsingarkerfisins daglega og skiptið um skemmda samlæsingarhluta áður en unnið er á vinnuvélinni.
Öryggissamlæsingarkerfið kemur í veg fyrir að vélin fari í gang nema akstursstjórntækið sé í stöðunni NEUTRAL (hlutlaus staða).
Öryggissamlæsingarkerfið kemur í veg fyrir að vélin fari í gang nema gangstöngin sé alveg laus.
Öryggissamlæsingarkerfið kemur í veg fyrir að vélin fari í gang nema götunarhaussstöngin sé alveg laus.
Öryggissamlæsingarkerfið hækkar götunarhausinn og slekkur á honum ef vinnuvélinni er ekið aftur á bak við loftun eða sparkstöðvunarrofinn er snertur.
Important: Ef öryggissamlæsingarkerfið virkar ekki eins og lýst er hér að ofan skal tafarlaust fá viðurkenndan dreifingaraðila Toro til að gera við það.
Framkvæmið eftirfarandi ef götunarhausinn er niðri. Ef götunarhausinn er uppi skal fara strax í Samlæsing startara prófuð.
Gangsetjið vélina og stillið snúningshraði vélarinnar í stöðuna SLOW (hægt); sjá Vélin gangsett.
Setjið handfangsstöngina niður (Mynd 31).

Ýtið á einhvern hnapp á InfoCenter-skjánum.
Note: Götunarhausnum er lyft.
Drepið á vélinni; sjá Drepið á vélinni.
Drepið á vélinni ef hún er í gangi.
Grípið í gangstöngina og snúið akstursstjórntækinu (Mynd 32) annaðhvort fram eða aftur á bak og gangsetjið síðan vélina.
Important: Vélin má ekki fara í gang.

Sleppið gangstönginni, færið akstursstjórntækið í stöðuna NEUTRAL (hlutlaus staða) og gangsetjið vélina.
Grípið í aðra hvora gangstöngina og snúið efsta hluta akstursstjórntækisins fram (Mynd 33).
Note: Vinnuvélin ekur áfram.

Sleppið gangstönginni (Mynd 34) á meðan akstursstjórntækinu er haldið.
Important: Akstur vinnuvélarinnar áfram á að stöðvast.

Grípið í aðra hvora gangstöngina og snúið efsta hluta akstursstjórntækisins fram (Mynd 35).
Note: Vinnuvélin ekur áfram.

Snertið sparkstöðvunarrofann (Mynd 36) á meðan gangstönginni og akstursstjórntækinu er haldið.
Important: Akstur vinnuvélarinnar áfram á að stöðvast.
Note: Vélin er áfram í gangi.

Endurstillið sparkstöðvunarrofann; sjá Endurstilling á sparkstöðvunarrofa.
Framkvæmið eitt af eftirfarandi:
Akið vinnuvélinni á grasivaxið svæði þar sem hægt er að lofta án þess að skemma tindana eða svæðið.
Fjarlægið tindana.
Grípið í aðra hvora gangstöngina, snúið efsta hluta akstursstjórntækisins fram og kreistið loftunarstöngina (Mynd 37).
Note: Vinnuvélin ekur áfram, götunarhausinn er ræstur og hann lækkar.

Á meðan gangstönginni og loftunarstönginni er haldið skal snúa efsta hluta akstursstjórntækisins afturábak (Mynd 38).
Important: Götunarhausinn á að hækka og stöðvast.
Note: Vélin er áfram í gangi.

Færið akstursstjórntækið í stöðuna NEUTRAL (hlutlaus staða).
Ef tindarnir voru fjarlægðir skal setja þá aftur á og kvarða hæð þeirra; sjá Uppsetning tindanna á götunarhausnum og Hæð tinda frá jörðu kvörðuð.
Important: Kvarða þarf hæð tinda frá jörðu í hvert skipti sem skipt er úr lengri tindum í styttri og úr styttri í lengri.
Mikið úrval af tindfestingum, grassvarðarhlífum og tindum er í boði fyrir vinnuvélina. Veljið nauðsynlega íhluti í töflu yfir aukabúnað í hlutanum Tengitæki og aukabúnaður.
Lyftið götunarhausnum og festið hann á sinn stað með viðhaldslokanum, sjá Stuðningur við götunarhausinn með viðhaldslokanum.
Leggið vinnuvélinni á jafnsléttu, togið og festið handfangið til að setja stöðuhemilinn á, drepið á vélinni, takið lykilinn úr og bíðið þar til allir hlutar á hreyfingu hafa stöðvast.
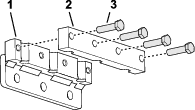
Note: Vinnuvélinni fylgja klemmur fyrir grassvarðarhlíf, skinnur og sjálflæsandi kragarær fastar við festingar grassvarðarhlífar (Mynd 39).
Festið grassvarðarhlífarnar lauslega á festingarnar með 4 klemmum og 12 sjálflæsandi kragaróm (3/8 tommu) og 12 skinnum (7/16 x 13/16 tommu).
Note: Ekki herða sjálflæsandi rær.

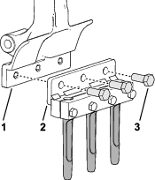
Festið tindklemmu lauslega á hverja tindfestingu (Mynd 40) með 4 boltum (3/8 x 1-1/2 to.). Ekki herða boltana.
Note: Boltarnir eru hluti af tindfestingasettunum.

Setjið tindana á tindfestinguna og tindaklemmuna (Mynd 41).

Herðið boltana (3/8 x 1-1/2 to.) sem festa tindaklemmurnar og tindana í 40,6 N∙m (30 ft-lb).
Endurtakið skref 1 til 3 fyrir hinar tindaklemmurnar, tindfestingarnar og tindana.
Festið tindfestinguna og tindana lauslega á tindarm #2 (Mynd 42 og Mynd 43) með 3 boltum (1/2 x 1-1/4 to.).


Herðið boltana (1/2 x 1-1/4 to.) í 102 N∙m (75 ft-lb).
Endurtakið skref 1 og 2 fyrir tindarm #5.
Tryggið að grassvarðarhlífarraufarnar flútti við tindana til að tryggja að þeir séu í miðjunni (Mynd 44).
Note: Stillið grassvarðarhlífarnar eftir þörfum.

Herðið sjálflæsandi kragarærnar (3/8 to.) sem festa þrjár klemmur grassvarðarhlífanna og þrjár festingar grassvarðarhlífanna.
Setjið tindfestingarnar sem eftir eru og tindana á tindfestingar #1, #3, #4 og #6 með 12 boltum (1/2 x 1-1/4 to.).
Herðið boltana (1/2 x 1-1/4 to.) í 102 N∙m (75 ft-lb).
Kvarðið vinnuvélina fyrir hæð tinda frá jörðu; sjá Keyrsla á tillöguforriti fyrir hæðarkvörðun frá jörðu.
Snúið svissinum í stöðuna RUN (í gangi).
Ef örvarnar birtast ekki á TRANSPORT (flutningur) hamskjánum eða AERATE (götun) stillingarskjánum, sláðu inn PIN-númerið til að fá aðgang að vernduðum valmyndum; sjá Varðar valmyndir opnaðar.
Note: Hamskjárinn TRANSPORT (flutningur) eða hamskjárinn AERATE (götun) opnast (Mynd 45).

Ýttu tvisvar á hægri hnappinn til að birta skjámyndina Calibrating the Tine Ground Height (kvarðar hæð frá jörð) (Mynd 46).
Note: Ýttu á vinstri hnappinn til að birta hamskjáinn TRANSPORT (flutningur) eða AERATE(götun).

Ýttu á hægri hnappinn til að birta skjáinn Setting the Hole Depth (Stilla holudýpt) (Mynd 47).
Note: Ýttu á vinstri hnappinn til að birta skjáinn Teach Ground Height (Kenna hæð jarðar).

Ýttu á hægri hnappinn til að birta skjámyndina Setting the Hole Spacing (Stilla holubil) (Mynd 48).
Note: Ýttu á vinstri hnappinn til að birta skjáinn Setting the Hole Depth (Stilla holudýpt).

Ýttu á hægri hnappinn til að birta skjáinn Setting the Tine Diameter (Stilla tindaþvermál) (Mynd 48).
Note: Ýttu á vinstri hnappinn til að birta skjáinn Setting the Hole Spacing (Stilla holubil).

Ýttu á hægri hnappinn til að birta skjáinn Setting the Tine Quantity (Stilla fjölda tinda) (Mynd 50).
Note: Ýttu á vinstri hnappinn til að birta skjáinn Setting the Tine Diameter (Stilla tindaþvermál).

Note: ProCore 648s er hannaður til að skila bestu mögulegu loftun í fjölbreyttum gras- og jarðvegsgerðum, ræktunaraðstæðum og tindagerðum þegar hann er stilltur á 7,6 cm dýpi (3 tommu). Þegar hann er notaður með grynnri stillingum, sérstaklega á dýpi innan við 5 cm (2 tommur) með minni tindum, getur það valdið meiri röskun á yfirborðinu.
Gangið úr skugga um að götunarhausnum sé lyft; sjá Götunarhausnum lyft.
Snúið svissinum í stöðuna RUN (í gangi).

Ýttu á hægri hnappinn þar til skjárinn Setting the Hole Depth (Stilla holudýpt) birtist (Mynd 51 og Mynd 52).
Stilltu tindadýptina með því að nota upp og niður hnappana (Mynd 52) sem hér segir:
Ýttu á niður hnappinn til að minnka holudýpt.
Ýttu á upp hnappinn til að auka holudýpt.

Ýttu á vinstri eða hægri hnappinn til að vista stillingarnar þínar og fara úr dýptarskjánum.
Snúið svissinum á stöðuna OFF (slökkt).
Note: Ef loftað er á hámarks leyfilegu dýpi (með hvaða tindalengd sem er) eftir að hafa keyrt jarðhæðarkvörðunina, og grassvarðarboltarnir dragast eða snerta grassvörðinn, minnkið dýptina um eitt skref (1/4 tommu).
Note: Þegar valið er bil á milli hola stjórnar vinnuvélin aksturshraðanum til að viðhalda réttu bili á milli hola.
Gangið úr skugga um að götunarhausnum sé lyft; sjá Götunarhausnum lyft.
Snúið svissinum í stöðuna RUN (í gangi).

Ýttu á hægri hnappinn þar til skjárinn Setting the Hole Spacing (Stilla holubil) birtist (Mynd 53 og Mynd 54).
Stillið bilið á milli hola (Mynd 54) á eftirfarandi hátt:
Ýttu á niður hnappinn til að minnka holubilið.
Ýttu á upp hnappinn til að auka holubilið.

Ýttu á vinstri eða hægri hnappinn til að vista stillingarnar þínar og fara úr bilskjánum.
Snúið svissinum á stöðuna OFF (slökkt).
Gangið úr skugga um að götunarhausnum sé lyft; sjá Götunarhausnum lyft.
Snúið svissinum í stöðuna RUN (í gangi).

Ýttu á hægri hnappinn þar til skjárinn Setting the Tine Diameter (Stilla tindaþvermál) birtist (Mynd 55 og Mynd 56).
Stilltu þvermál tindanna með því að nota upp og niður hnappana (Mynd 56) sem hér segir:
Ýttu á upp hnappinn til að auka þvermál tindanna.
Ýttu á niður hnappinn til að minnka þvermál tindanna.

Ýttu á vinstri eða hægri hnappinn til að vista stillingarnar þínar og fara úr þvermálsskjánum.
Snúið svissinum á stöðuna OFF (slökkt).
Gangið úr skugga um að götunarhausnum sé lyft; sjá Götunarhausnum lyft.
Snúið svissinum í stöðuna RUN (í gangi).

Ýttu á hægri hnappinn þar til skjámyndin Setting the Tine Quantity (Stilla fjölda tinda) birtist (Mynd 58).
Stilltu fjölda tinda með því að nota upp og niður hnappana (Mynd 58) sem hér segir:
Important: Tindafjöldi er fjöldi tinda fyrir 1 haldara.
Ýttu á upp hnappinn til að auka fjölda tinda.
Ýttu á niður hnappinn til að minnka fjölda tinda.

Ýttu á vinstri eða hægri hnappinn til að vista stillingarnar þínar og fara úr tindafjöldaskjánum.
Snúið svissinum á stöðuna OFF (slökkt).
| Tíðni viðhaldsþjónustu | Viðhaldsferli |
|---|---|
| Fyrir hverja notkun eða daglega |
|
Important: Kvarðið jarðhæð tinda í hvert sinn sem skipt er um tinda eða slitnum tindum er skipt út.
Gangið úr skugga um að götunarhausnum sé lyft.
Leggið vinnuvélinni á jafnsléttu, togið og festið handfangið til að setja stöðuhemilinn á, drepið á vélinni, takið lykilinn úr og bíðið þar til allir hlutar á hreyfingu hafa stöðvast.
Fjarlægið hlíf götunarhaussins; sjá Hlíf á götunarhaus fjarlægð.
Snúið trissu götunarhaussins (Mynd 59) þar til ystu tindarnir eru sem næst jörðu (Mynd 60).
Important: Haldið fingrunum fjarri svæðinu þar sem reimin sameinast og fer frá trissunni til að klemma ekki fingurna.


Setjið hlífina á götunarhausinn; sjá Hlíf á götunarhaus sett upp.
Snúið svissinum í stöðuna RUN (í gangi).
Note: Skjámynd stillingarinnar TRANSPORT (flutningur) eða stillingarinnar AERATE loftun opnast (Mynd 61).

Færið handfangsstöngina þannig að ystu tindarnir sjáist stilltir voru í Vinnuvélin undirbúin.
Ýttu á hægri hnappinn þar til TEACH GROUND HEIGHT (Kenna hæð jarðar) hjálpin birtist.
Á Teach Ground Height (Kenna hæð jarðar) skjánum (Mynd 62), ýttu síðan á annan hvorn miðhnappinn.

Á skjánum PRESS OK TO START TEACH (Ýttu á OK til að hefja kennslu) (Mynd 63), ýttu á valhnappinn.

Note: Skilaboðin CALIBRATION ENGAGED (Kvörðun virkjuð) birtast og götunarhausinn lækkar hægt.
Important: Haldið hendinni nálægt InfoCenter-skjánum.
Note: Götunarhausinn lækkar hægar ef glussinn er kaldur.
Þegar einhver tindur snertir jörðina skaltu ýta á valhnappinn á skjánum Lowering Head (haus lækkar) (Mynd 64).
Note: Tindar eiga aðeins að snerta jörðina, ekki lyfta eða létta þyngd af hjólbörðunum.Ef götunarhausinn lyftir vinnuvélinni kvarðar vinnuvélin hæð frá jörðu rangt sem leiðir til rangrar holudýptar og stungu loftunarhola.

Note: skilaboðin CALIBRATION COMPLETE (Kvörðun lokið) birtast og hausinn lyftist að fullu.
Ýttu á til baka hnappinn til að hætta í Teach Ground Height (Kenna hæð jarðar) forritinu.
Eigandinn/stjórnandinn getur komið í veg fyrir og ber ábyrgð á slysum sem geta valdið meiðslum á fólki eða eignatjóni.
Klæðist viðeigandi klæðnaði, þar á meðal hlífðargleraugum, síðbuxum, sterkum skófatnaði með skrikvörn og heyrnarhlífum. Takið sítt hár í tagl, festið lausan fatnað og berið ekki hangandi skartgripi.
Notkun vinnuvélarinnar er bönnuð ef stjórnandi er þreyttur, veikur eða undir áhrifum áfengis eða annarra vímuefna.
Haldið nærstöddum, börnum og gæludýrum, utan vinnusvæðisins. Ekki leyfa börnum að stjórna vinnuvélinni. Leyfið eingöngu fólki með þroska, þjálfun, þekkingu og líkamlega burði að stjórna vinnuvélinni.
Flytjið aldrei farþega á vinnuvélinni.
Vinnið eingöngu á vinnuvélinni með góða yfirsýn til að forðast holur og duldar hættur.
Haldið höndum og fótum fjarri tindunum.
Lítið aftur fyrir og niður áður en bakkað er til að tryggja að leiðin sé greið.
Stöðvið vinnuvélina, drepið á vélinni, takið lykilinn úr, bíðir þar til allir hlutir á hreyfingu hafa stöðvast og skoðið tindana ef rekist var í hlut eða vinnuvélin titrar óeðlilega. Sinnið öllum nauðsynlegum viðgerðum áður en vinnu er haldið áfram.
Haldið ávallt réttum þrýstingi í hjólbörðum.
Draga úr dráttarhraða á grófum vegum og yfirborði.
Brekkur valda mikilli hættu á stjórnmissi eða veltu sem leitt getur til alvarlegra meiðsla eða dauða. Stjórnandinn er ábyrgur fyrir öruggri notkun í halla. Sýna þarf sérstaka aðgát þegar vinnuvélinni er ekið í halla.
Metið og kannið aðstæður á vinnusvæðinu til að ákvarða hvort hallinn er öruggur til vinnu. Beitið almennu hyggjuviti og sýnið góða dómgreind við þessa skoðun.
Skoðið leiðbeiningarnar fyrir notkun í halla hér að neðan og kannið aðstæður til að ákvarða hvort hægt er að nota vinnuvélina við viðkomandi skilyrði á viðkomandi degi og á viðkomandi vinnusvæði. Breytingar á undirlagi geta leitt til breytinga á notkun vinnuvélarinnar í halla.
Forðist að taka af stað, stoppa eða beygja vinnuvélinni í halla. Forðist skyndilegar hraðabreytingar eða stefnubreytingar. Beygið hægt og rólega.
Vinnið ekki á vinnuvélinni við neinar aðstæður þar sem grip, stjórn eða stöðugleiki eru skert.
Fjarlægið eða merkið hindranir á borð við skurði, holur, hjólför, ójöfnur, grjót eða aðrar duldar hættur. Hátt gras getur hulið hindranir. Óslétt undirlag getur valdið því að vinnuvélin velti.
Hafið í huga að vinnuvélin getur misst grip þegar unnið er í blautu grasi, þvert á halla eða niður brekku. Ef dekkin missa grip er hætta á að vinnuvélin renni til, missi hemlagetu og verði stjórnlaus.
Gætið fyllstu varúðar þegar unnið er á vinnuvélinni nálægt háum bökkum, skurðum, bökkum, vatni eða annarri hættu. Vinnuvélin getur oltið mjög skyndilega ef hjól fer út fyrir brún eða brún gefur sig. Haldið öruggri fjarlægð á milli vinnuvélarinnar og hvers kyns hættu.
Togið handfangið alveg upp til að setja stöðuhemilinn á (Mynd 65).

Gangið úr skugga um að pinni handfangslæsingarinnar nái í gegnum gatið á haldplötunni (Mynd 66).
Ef stöðuhemillinn er ekki settur á getur vinnuvélin hreyfst úr stað og slasað stjórnanda eða nærstadda.
Gangið úr skugga um að handfangið sé alveg uppi og tryggilega fest við haldplötuna.

Togið handfangið alveg upp og læsið því til að setja stöðuhemilinn á; sjá Stöðuhemill settur á.
Notið innsogið (Mynd 70) á eftirfarandi hátt:
Áður en köld vél er gangsett skal færa innsogsstýringuna í stöðuna KVEIKT.
Ekki er víst að nota þurfi innsogið þegar heit vél er gangsett.

Færið inngjafarstöngina í HRAðA stöðu áður en köld vél er gangsett.
Snúið svissinum í stöðuna START (gangsetja). Sleppið lyklinum þegar vélin fer í gang.
Important: Ekki nota startarann lengur en í 10 sekúndur í senn. Ef vélin fer ekki í gang skal láta 30 sekúndna kælingartíma líða á milli tilrauna. Startarinn getur brennt úr sér ef ekki er farið eftir þessum fyrirmælum.
Eftir að vélin fer í gang skal færa innsogið í fram í stöðuna OFF (slökkt). Ef vélin byrjar að hiksta skal færa innsogið aftur í stöðuna ON (kveikt) í nokkrar sekúndur. Færið síðan inngjafarstöngina í æskilega stillingu fyrir snúningshraða vélar.
Note: Endurtakið þetta skref eftir þörfum.
Börn og nærstaddir geta orðið fyrir meiðslum við að aka eða reyna að aka vinnuvél sem ekki er undir eftirliti.
Togið alltaf alveg upp og læsið því til að setja stöðuhemilinn á, drepið á vélinni og takið lykilinn úr þegar vinnuvélin er yfirgefin, jafnvel þótt hún standi eftirlitslaus í aðeins nokkrar mínútur.
Togið handfangið upp til að setja stöðuhemilinn á. Frekari upplýsingar er að finna í Stöðuhemill settur á.
Færið inngjafarstöngina í (Mynd 71) HæGA stöðu.

Látið vélina vera í lausagangi í 60 sekúndur.
Snúið lyklinum í SLöKKTA stöðu og takið lykilinn úr.
Lokið afsláttarloka eldsneytis (Mynd 72) áður en vinnuvélin er dregin eða sett í geymslu.
Important: Lokið afsláttarloka eldsneytis áður en vinnuvélin er dregin á eftirvagni eða sett í geymslu. Togið handfangið upp og festið til að setja stöðuhemilinn á áður en vinnuvélin er dregin. Takið lykilinn úr svissinum til að koma í veg fyrir að eldsneytisdælan gangi og rafgeymirinn afhlaðist.

Important: Gangið áfram fyrir framan vinnuvélina á meðan hún er notuð, gangið ekki aftur á bak þegar vinnuvélin er notuð.

Með því að nota hraðalæsinguna er hægt að aka vinnuvélinni án þess að þurfa að halda akstursstjórntækinu.
Note: Ekki er hægt að nota hraðalæsingareiginleikann við að aka vinnuvélinni aftur á bak.
Með því að nota hraðalæsinguna meðan á loftun stendur er hægt að halda áfram að aka vinnuvélinni á völdum götunarhraða í lok loftunarferðar, snúa vinnuvélinni við og hefja næstu loftunarferð án þess að breyta stöðu akstursstjórntækisins.
Note: Hraðalæsingareiginleikinn í loftunarstillingu er virkur þegar götunarhausinn er í stillingu fyrir seinkaða lækkun; hraðalæsingareiginleikinn er læstur í stillingu fyrir tafarlausa lækkun.
Aksturshraðalæsingin virkar eins og hraðastillir fyrir bíla.
Ýtið á flutnings-/loftunarrofann í FLUTNINGSSTöðU (Mynd 74).

Ýtið hraðalæsingarrofanum í stöðuna ON (kveikt).
Akið vinnuvélinni áfram á æskilegum aksturshraða.
Ýtið hraðalæsingarrofanum í stöðuna ENGAGE (slökkt).
Note: Aksturshraðalæsingin viðheldur núverandi aksturshraða vinnuvélarinnar. Þú getur sleppt akstursstjórntækinu.
Til að aftengja hraðalæsinguna skal framkvæma eitt af eftirfarandi:
Ýtið hraðalæsingarrofanum í stöðuna OFF (slökkt).
Snúið efri hluta akstursstjórntækisins aftur á bak til að aka vinnuvélinni aftur á bak.
Sleppið gangstönginni.
Ýtið á sparkstöðvunarrofann.
Note: Aksturshraðalæsingin er ekki tiltæk þegar loftað er í stillingu fyrir tafarlausa lækkun.
Ýtið á flutnings-/loftunarrofann í stöðunni AERATE (loftun) (Mynd 75).

Ýtið hraðalæsingarrofanum í stöðuna ON (kveikt).
Akið vinnuvélinni áfram og lokið loftunarstönginni.
Note: Aksturshraðalæsingin verður virk og götunarhausinn sígur.
Þegar loftuninni lýkur skal sleppa loftunarstönginni.
Note: Götunarhausnum er lyft en vinnuvélin heldur aksturshraðanum fyrir bil milli holna við loftun.
Til að aftengja hraðalæsinguna skal framkvæma eitt af eftirfarandi:
Ýtið hraðalæsingarrofanum í stöðuna OFF (slökkt).
Snúið efri hluta akstursstjórntækisins aftur á bak til að aka vinnuvélinni aftur á bak.
Sleppið gangstönginni.
Ýtið á sparkstöðvunarrofann.
Note: Notið flutningsstöðu þegar vinnuvélin er færð á milli vinnusvæða.
Note: Vinnuvélinni er ekið á minni breytilegum hraða þegar flutnings-/loftunarrofinn er í stöðunni AERATION (loftun).
Gangsetjið vélina og færið inngjöfina í stöðuna FAST (hröð); frekari upplýsingar eru í Vélin gangsett.
Lækkið handfangið til að taka stöðuhemilinn af; frekari upplýsingar eru í Stöðuhemill tekinn af.
Ýtið vinstra megin á flutnings-/loftunarrofann til að setja hann í stöðuna TRANSPORT (flutningur) (Mynd 76).

Note: InfoCenter-skjárinn birtir táknið TRANSPORT (flutningur) (Mynd 77).

Horfið í áttina að fyrirhugaðri leið til að ganga úr skugga um að hún sé greið.
Grípið um vinstra eða hægra handfangið og gangstöngina (Mynd 76) og kreistið stöngina að handfanginu.
Snúið vinstri eða hægri akstursstjórntækinu með þumlinum til að aka vinnuvélinni eins og hér segir:
Snúið efri hluta akstursstjórntækisins áfram til að aka vinnuvélinni áfram.
Snúið efri hluta akstursstjórntækisins aftur á bak til að aka vinnuvélinni aftur á bak.
Note: Ef akstursstjórntækinu er snúið lengra eykst aksturshraði vinnuvélarinnar.
Important: Til að stöðva vinnuvélina tafarlaust skal ýta á sparkstöðvunarrofann (Mynd 78).

Ef verið er að lofta skal sleppa loftunarstönginni (Mynd 79) til að lyfta götunarhausnum; frekari upplýsingar eru í Götunarhausnum lyft.

Sleppið akstursstjórntækinu og leyfið því að fara í stöðuna NEUTRAL (hlutlaus).
Sleppið gangstönginni.
Togið handfangið upp til að setja stöðuhemilinn á. Frekari upplýsingar er að finna í Stöðuhemill settur á.
Note: Vinnuvélinni er ekið á minni breytilegum hraða þegar götunarhausinn er uppi.
Gangsetjið vélina og færið inngjöfina í stöðuna FAST (hröð); frekari upplýsingar eru í Vélin gangsett.
Lækkið handfangið til að taka stöðuhemilinn af; frekari upplýsingar eru í Stöðuhemill tekinn af.
Ýtið hægra megin á flutnings-/loftunarrofann til að setja hann í stöðuna AERATE (flytja) (Mynd 80).

InfoCenter-skjárinn birtir núverandi holudýpt og holubil (Mynd 81).

Horfið í áttina að fyrirhugaðri leið til að ganga úr skugga um að hún sé greið.
Grípið um vinstra eða hægra handfangið og gangstöngina (Mynd 80) og kreistið stöngina að handfanginu.
Snúið vinstra eða hægra akstursstjórntækinu með þumlinum til að aka vinnuvélinni eins og hér segir.
Note: Við loftun ekur vélin á hraða í samræmi við valið holubil.
Þegar aksturshraðalæsingin er notuð og loftunarstönginni er sleppt án þess að staða akstursstjórntækisins sé breytt heldur vinnuvélin sama aksturshraða, líkt og með hraðastilli í bíl.
Þegar vinnuvélinni er bakkað verður hraðastillingin óvirk og vinnuvélin ekur á breytilegum hraða.
Þegar hausnum er lyft til að hægt sé beygja vinnuvélinni í næstu loftunarferð er hægt að auka hraðann með því að færa akstursstjórntækið framar. Þegar akstursstjórntækið er sett aftur í stöðuna NEUTRAL (hlutlaus staða) hægir vinnuvélin á sér niður í aksturshraða fyrir stillt bil á milli loftunarhola.
Notið hjólbarða að framan til að greina lækkunarstaðinn í stillingu fyrir seinkaða lækkun.
Ýtið ofan á stjórnrofa lækkunar (Mynd 82) í stöðuna DROP-DELAY (seinkuð lækkun).

Akið vinnuvélinni áfram; sjá Vinnuvélinni ekið í loftunarstöðu.
Þegar framhjólbarðinn fer yfir jaðar loftunarsvæðisins skal klemma saman annaðhvort vinstri eða hægri loftunarstöngina (Mynd 83).
Note: Götunarhausinn keyrir og lækkar þegar vinnuvélin ekur inn á markloftunarsvæðið.

Notið hjólbarða að framan (Mynd 84) til að greina hækkunarstaðinn í stillingu fyrir seinkaða lækkun.

Framkvæmið eitt af eftirfarandi til að hækka götunarhausinn:
Þegar framhjólbarðinn fer yfir jaðar loftunarsvæðisins skal sleppa loftunarstönginni (Mynd 85).
Note: Vélin seinkar lyftu götunarhaussins þar til götunarhausinn nær markstaðnum greindur var útfrá framhjólbarðanum og loftunarstönginni var sleppt á.

Bakkið vinnuvélinni; sjá Vinnuvélinni bakkað.
Ýtið neðsta hluta lækkunarstjórnrofans (Mynd 86) í stöðuna IMMEDIATE-DROP (tafarlaus lækkun).
Note: Ljósið í rofanum kviknar.

Akið vinnuvélinni áfram; sjá Vinnuvélinni ekið í loftunarstöðu.
Lokaðu loftunarstönginni hægra eða vinstra megin Mynd 87.
Note: Götunarhausinn lækkar strax og loftun hefst.

Framkvæmið eitt af eftirfarandi til að hækka götunarhausinn:
Sleppið loftunarstönginni (Mynd 88).
Note: Vélin lyftir götunarhausnum tafarlaust.

Bakkið vinnuvélinni; sjá Vinnuvélinni bakkað.
Sleppið akstursstjórntækinu og leyfið því að fara í stöðuna NEUTRAL (hlutlaus) og sleppið gangstönginni (Mynd 91).

Gangið fjær sparkstöðvunarrofanum (Mynd 92).
Note: Gormur í sparkstöðvunarrofanum endurstillir rofann.

Grípið um vinstra eða hægra handfangið og gangstöngina (Mynd 93) og kreistið stöngina að handfanginu.

Akið vinnuvélinni; sjá Vinnuvélinni ekið í flutningsstöðu og Vinnuvélinni ekið í loftunarstöðu.
Notið línumerkingu til að stilla af loftunarlínur (Mynd 94).

Vélin notar tvo teljara til að skrá loftaða svæðið og rúmmál af fluttum jarðvegskjarna. Notið upplýsingarnar úr þessum teljurum til að meta það dreifingarmagn sem á að fara á loftað/loftuð grassvarðarsvæði.
Svæðisteljari 1 er ekki varinn með PIN-númeri og stjórnanda vélarinnar er ætlað að endurstilla hann.
Note: Ef stjórnandinn skráir niðurstöður teljara fyrir hvert loftunarsvæði getur hann áætlað dreifingarmagn og flutningsþörf fyrir hvert svæði.
Svæðisteljari 2 er varinn með PIN-númeri og eftirlitsaðila eða fulltrúa hans er ætlað að endurstilla hann.
Loftað svæði er birt í m2 (alþjóðlega einingakerfið) eða fet2 (enskar mælieiningar).
Rúmmál á fluttum kjarna er birt í mælieiningunum m3 (alþjóðlega einingakerfið) eða yd3 (enskar mælieiningar).
Við skoðun á rúmmálsteljurum fyrir flutta kjarna reiknar vélin rúmmálið út með þvermáli tindar og fjölda tinda sem valinn er á InfoCenter-skjánum.
Important: Ef gildi fyrir þvermál tindar og/eða fjöldi tinda eru röng áður en svæði er loftað mun InfoCenter-skjárinn reikna út og birta röng rúmmálsgildi kjarna fyrir svæði 1 og svæði 2. Ef gildum fyrir þvermál og/eða fjölda er breytt eftir loftun mun InfoCenter-skjárinn breyta birtum rúmmálsgildum.
Leggið vinnuvélinni á jafnsléttu.
Gangið úr skugga um að vélin sé í gangi eða að kveikjulykillinn sé í KEYRSLUSTöðU.
Í InfoCenter-skjánum, flettu að AðALVALMYND.
Ýttu á niður hnappinn þar til ÞJóNUSTA valkosturinn er valinn, ýttu síðan á valhnappinn (Mynd 95).

Á skjánum ÞJóNUSTA skaltu ýta á niðurhnappinn þar til TöLFRæðI valkosturinn er valinn, ýttu síðan á valhnappinn (Mynd 96).

Note: Teljarinn AREA (svæði) birtist á skjámyndinni STATISTICS (tölfræði).

Á skjánum TöLFRæðI skaltu ýta á niður hnappinn þar til valkosturinn SVæðI 1 er valinn (Mynd 98).

Skráið loftunarsvæðið og rúmmál jarðvegskjarna niður á vinnublað; sjá dæmi hér að neðan.
|
Dagsetning |
Völlur (ef margir) |
Staðsetning |
Loftunarsvæði |
Rúmmál kjarna |
Ýttu á valhnappinn til að birta endurstillta svæðið og hljóðstyrksskjá.
Í ENDURSTILLA SVæðI OG HLJóðSTYRKSSKJáNUM skaltu ýta á valhnappinn.
Note: InfoCenter-skjárinn birtir tölfræðiskjámyndina og teljarar fyrir svæði og rúmmál eru núllstilltir.
Note: Ef teljari fyrir Svæði 1 er ekki endurstilltur halda teljarar fyrir svæði og rúmmál áfram að safna gögnum.

Endurtakið skref 1 til 4 eftir þörfum.
Ýttu á til baka hnappinn til að fara til baka í aðalvalmyndina.
Note: Endurstilling á teljurum fyrir AREA 2 (svæði 2) endurstillir ekki teljara fyrir AREA 1 (svæði 1).
Færið inn PIN-númerið til að fá aðgang að vörðum valmyndum; sjá Varðar valmyndir opnaðar.
Á skjánum TöLFRæðI skaltu ýta á niður hnappinn þar til SVæðI 2 valkosturinn er valinn (Mynd 100).

Ef þörf krefur skal skrá gögn yfir loftunarsvæði og rúmmál jarðvegskjarna.
Ýttu á valhnappinn til að birta endurstillta svæðið og hljóðstyrksskjá.
Í ENDURSTILLA SVæðI OG HLJóðSTYRKSSKJáNUM skaltu ýta á valhnappinn (Mynd 101).
Note: InfoCenter-skjárinn birtir tölfræðiskjámyndina og teljarar fyrir svæði og rúmmál eru núllstilltir.
Note: Ef teljari fyrir Svæði 2 er ekki endurstilltur halda teljarar fyrir svæði og rúmmáláfram að safna gögnum.

Ýttu á til baka hnappinn til að fara til baka í aðalvalmyndina.
Komið viðhaldslokanum fyrir áður en viðhaldsvinna er framkvæmd á götunarhausnum eða þegar vélin er sett í geymslu lengur en í tvo daga.
Ef götunarhausnum er lyft og hann ekki læstur getur hann lækkað skyndilega og valdið meiðslum á stjórnanda vinnuvélarinnar eða öðrum í grenndinni.
Í hvert skipti sem viðhaldsvinna er framkvæmd á götunarhausnum, þ.á.m. á tindum eða grassvarðarhlífum skal nota viðhaldslokann til að festa götunarhausinn í reistri stöðu.
Lyftið götunarhausnum.
Leggið vélinni á jafnsléttu, togið og festið handfangið til að setja stöðuhemilinn á, drepið á vélinni, takið lykilinn úr og bíðið þar til allir hlutar á hreyfingu hafa stöðvast.
Fjarlægið hlífina á götunarhausnum; sjá Hlíf á götunarhaus fjarlægð.
Fjarlægið splittið sem festir viðhaldslokann við hliðarplötuna (Mynd 102).

Snúið viðhaldslokanum aftur á bak og staðsetjið hann fyrir ofan stoðpinna götunarhaussins.
Festið lokann við stoðpinnann með splittinu.
Ef þörf krefur skal setja hlífina á götunarhausinn; sjá Hlíf á götunarhaus sett upp.
Leggið vélinni á jafnsléttu, togið og festið handfangið til að setja stöðuhemilinn á, drepið á vélinni, takið lykilinn úr og bíðið þar til allir hlutar á hreyfingu hafa stöðvast.
Ef hlíf götunarhaussins er uppsett skal fjarlægja hana; sjá Hlíf á götunarhaus fjarlægð.
Fjarlægið splittið sem festir viðhaldslokann við stoðpinna götunarhaussins (Mynd 103).

Snúið viðhaldslokanum niður á við og staðsetjið hann fyrir ofan stoðpinna hliðarplötunnar.
Festið lokann við stoðpinnann með splittinu.
Setjið hlífina á götunarhausinn; sjá Hlíf á götunarhaus sett upp.
Important: Að skipta út skemmdum tindi fyrir tind af sömu lengd. Mislangir tindar hafa neikvæð áhrif á útlit gata.
Mislangir tindar hafa áhrif á útlit gata.
Sjá skýringarmynd Uppsetning grassvarðarhlífa, tindfestinga og tinda.
Lyftið götunarhausnum og festið hann á sinn stað með viðhaldslokanum.
Leggið vinnuvélinni á jafnsléttu, togið og festið handfangið til að setja stöðuhemilinn á, drepið á vélinni, takið lykilinn úr og bíðið þar til allir hlutar á hreyfingu hafa stöðvast.
Losið bolta tindhaldarans og fjarlægið gamla tindinn / gömlu tindana.
Setjið nýjan tind / nýja tinda í tindhaldarann.
Herðið bolta tindhaldarans í 40,6 N m (30 ft-lb).
Endurtakið þetta ferli á hinum örmunum.
Notaðu greiningarforritið fyrir hæðarkvörðun frá jörðu til að athuga fljótt núverandi jarðhæð tindanna.
Forritið færir hausinn niður í áður kvarðaða stöðu; þegar hausinn er kominn í stöðu er hægt að skoða fjarlægð tindaoddanna frá jörðu.
Gangið úr skugga um að götunarhausnum sé lyft.
Leggið vinnuvélinni á jafnsléttu, togið og festið handfangið til að setja stöðuhemilinn á, drepið á vélinni, takið lykilinn úr og bíðið þar til allir hlutar á hreyfingu hafa stöðvast.
Fjarlægið hlíf götunarhaussins; sjá Hlíf á götunarhaus fjarlægð.
Snúið trissu götunarhaussins (Mynd 104) þar til ystu tindarnir eru sem næst jörðu.
Important: Haldið fingrunum fjarri svæðinu þar sem reimin sameinast og fer frá trissunni til að klemma ekki fingurna.


Setjið hlífina á götunarhausinn; sjá Hlíf á götunarhaus sett upp.
Færið inn PIN-númerið til að fá aðgang að vörðum valmyndum; sjá Varðar valmyndir opnaðar.
Í InfoCenter-skjánum, flettu að AðALVALMYND.
Ýttu á niður hnappinn þar til ÞJóNUSTA valkosturinn er valinn, ýttu síðan á valhnappinn (Mynd 105).

Ýttu á niður hnappinn á InfoCenter-skjánum til að fletta að Hæð FRá JöRð valkostinum, ýttu síðan á valhnappinn.
Ýttu á niður hnappinn á InfoCenter-skjánum til að fletta að MUNA KVöRðUN valkostinum, ýttu síðan á valhnappinn.
Á skjánum Hæðarkvörðun frá jörðu (Mynd 106) skaltu ýta á valhnappinn.

Á skjánum Haus mun lækka (Mynd 107) skaltu ýta á valhnappinn.

Note: Skilaboðin Lowering Head“ (haus lækkar) birtast og götunarhausinn lækkar.
Fylgist með eftirfarandi ástandi á ystu tindunum sem bendir til að þess að kvörðun vanti.
Ef tindarnir byrja að stingast í jörðina—ýttu á valhnappinn (Mynd 108) og keyrðu TEACH GROUND HEIGHT (kenna hæð jarðar) forritið; sjáKeyrsla á tillöguforriti fyrir hæðarkvörðun frá jörðu.
Ef tindarnir eru fyrir ofan jörðu—ýttu á valhnappinn og keyrðu TEACH GROUND HEIGHT (kenna hæð jarðar) forritið; sjá Keyrsla á tillöguforriti fyrir hæðarkvörðun frá jörðu.

Ef ystu tindarnir snerta jörðina létt, ýttu á valhnappinn til að lyfta götunarhausnum.
Vélin flytur þyngd frá dráttareiningunni til götunarhaussins til að viðhalda holudýpt í alls kyns jarðvegi. Götunarhausinn gæti þurft meiri þyngdarfærslu ef jarðvegurinn er það þéttur í sér að full loftunardýpt næst ekki. Í verksmiðjunni er vélin stillt á venjulega þyngdarfærslu. Til að auka niðurþrýsting á gormum þyngdarfærslunnar skal gera eftirfarandi:
Skyndileg losun á gormaplötunum gæti valdið meiðslum.
Fáið einhvern sem getur aðstoðað við að stilla gorm þyngdarfærslurnar.
Leggið vinnuvélinni á jafnsléttu, togið og festið handfangið til að setja stöðuhemilinn á, drepið á vélinni, takið lykilinn úr og bíðið þar til allir hlutar á hreyfingu hafa stöðvast.
Losið um fremri sjálflæsandi róna og burðarbolta sem festa gormspenntu plötuna við stoðfestingu götunarhaussins (Mynd 109).
Note: Fjarlægið hvorki lásró né burðarbolta.

Fjarlægið aftari sjálflæsandi róna sem festir gormafestingarnar við stoðfestinguna.
Note: Fjarlægið ekki burðarboltann.
Stingið 1/2 tommu skralli eða átaksskafti í ferhyrnda gatið á gormspenntu plötunni (Mynd 110).

Snúið skrallinu eða átaksskaftinu til að losa spennuna á aftari burðarboltanum og fjarlægja hann úr efra gatinu.
Note: Efra gatið er staðsetning fyrir venjulega þyngdarfærslu.
Snúið gormspenntu plötunni þar til hún er staðsett við neðra gatið í stoðfestingunni, stingið burðarboltanum í gegnum götin á plötunni og festingunni.
Note: Neðra gatið er staðsetning fyrir meiri þyngdarfærslu. Þyngdarfærslan eykst ef gormaplötunum er snúið upp á við.
Festið burðarboltann við stoðfestinguna og gormspenntu plötuna með sjálflæsandi rónni.
Herðið sjálflæsandi róna í 37 til 45 N m (27 til 33 ft-lb).
Til að ná sem bestum holugæðum og vélarafköstum skal nota sjálfvirku yfirborðssópunina við loftun.
Notið aðeins handvirka yfirborðssópun ef stöðuskynjari tinda er skemmdur.
Leggið vinnuvélinni á jafnsléttu, togið og festið handfangið til að setja stöðuhemilinn á, drepið á vélinni, takið lykilinn úr og bíðið þar til allir hlutar á hreyfingu hafa stöðvast.
Fjarlægið hlíf götunarhaussins; sjá Hlíf á götunarhaus fjarlægð.
Fjarlægið splittið sem festir dýptarstöðvunarpinnann og stöðuhólkana við stöðvunarfestinguna (Mynd 111 og Mynd 112).


Staðsetjið stöðuhólkana fyrir ofan eða neðan stöðvunarfestinguna til að stilla æskilega götunardýpt.
Með alla stöðuhólka á efri hluta stöðvunarfestingarinnar er dýptarstillingin 10,7 cm.
Þykkir stöðuhólkar jafngilda 19 mm aukningu.
Mjóir stöðuhólkar jafngilda 9,5 mm dýptaraukningu.
Note: Setja verður upp alla stöðuhólkana, burtséð frá staðsetningu þeirra.
Notið splittið til að festa dýptarstöðvunarpinnann og stöðuhólkana við stöðvunarfestinguna.
Endurtakið skref 3 til 5 á hinni hlið vinnuvélarinnar.
Important: Gangið úr skugga um að staðsetning stöðuhólka fyrir ofan og neðan bæði vinstri og hægri festingarnar sé hin sama.
Setjið hlífina á götunarhausinn; sjá Hlíf á götunarhaus sett upp.
Note: Við loftun í handvirkri stillingu verður að stilla InfoCenter-skjáinn á handvirka yfirborðssópunarstillingu í hvert sinn sem vélin er gangsett.
Snúið svissinum á RUN (gangstaða).
Note: Ekki setja vélina í gang.
Færið inn PIN-númerið til að fá aðgang að vörðum valmyndum; sjá Varðar valmyndir opnaðar.
Í InfoCenter-skjánum, flettu að AðALVALMYND.
Ýttu á niður hnappinn þar til STILLINGAR VINNUVéLAR valkosturinn er valinn, ýttu síðan á valhnappinn.
Ýttu á niður hnappinn þar til HANDVIRK LOFTUN valkosturinn er valinn, ýttu síðan á valhnappinn (Mynd 113) til að stilla handvirka loftun á ON (kveikt).

Gangsetjið vélina.
Loftið með því að nota Loftun með seinkaðri lækkun eða Loftun með tafarlausri lækkun.
Note: Þegar drepið er á vélinni og hún gangsett fer vélin að sjálfgefnu í sjálfvirka yfirborðssópunarstillingu.
Leggið vinnuvélinni á jafnsléttu, togið og festið handfangið til að setja stöðuhemilinn á, drepið á vélinni, takið lykilinn úr og bíðið þar til allir hlutar á hreyfingu hafa stöðvast.
Fjarlægið hlíf götunarhaussins; sjá Hlíf á götunarhaus fjarlægð.
Fjarlægið splittið sem festir dýptarstöðvunarpinnann stöðuhólkana við stöðvunarfestinguna (Mynd 114).


Staðsetjið alla stöðuhólkana ofan við stöðvunarfestinguna.
Notið splittið til að festa dýptarstöðvunarpinnann og stöðuhólkana við stöðvunarfestinguna.
Note: Setja verður alla stöðuhólka í geymslustöðu.
Endurtakið skref 3 til 5 á hinni hlið vinnuvélarinnar.
Setjið hlífina á götunarhausinn; sjá Hlíf á götunarhaus sett upp.
Þegar þyngdarfærslan er stillt er hægt að lofta grassvörð með svo hörðu undirlagi að afturdekk vélarinnar lyftast frá jörðu. Þetta getur orðið til þess að holubil verði óreglulegt.
Ef þessi lyfting á sér stað er hægt bæta annarri mótvægisplötu á öxulslöngu afturgrindar. Hver mótvægisplata bætir 28,5 kg við vélina. Hægt er að bæta við allt að 2 plötum. Frekari upplýsingar um mótvægi og vélbúnaðarhlutanúmer vélarinnar er að finna í Parts Catalog (varahlutaskrá).
Nauðsynleg verkfæri: 15 mm toppur og topplykill
Important: Notið ekki vinnuvélina með hjáveitulokann opinn lengur en í 10 til 15 sekúndur.
Leggið vinnuvélinni á jafnsléttu ef þess er kostur.
Togið og festið handfangið til að setja stöðuhemilinn á, drepið á vélinni, takið lykilinn úr og bíðið þar til allir hlutar á hreyfingu hafa stöðvast.
Fjarlægið tvo flansakragabolta sem festa geymsluhólfið við festingu hólfsins (Mynd 115).

Finnið hlífina fyrir skrúfu hjáveitulokans á milli vélar og vökvadælu eins og sýnt er á Mynd 116).

Notið 15 mm topp og topplykil til að snúa hjáveitulokanum 1-1/2 hringi rangsælis.
Important: Ekki snúa hjáveitulokanum meira en 1-1/2 hring.
Ef vélin er dregin skal nota til þess festingarhringinn að framan (Mynd 117).
Important: Ekki ýta eða draga vélina meira en 30,5 m eða hraðar en 0,6 km/klst., slíkt getur valdið skemmdum á vökvakerfisíhlut.

Lækkið handfangið til að taka stöðuhemilinn af áður en vélinni er ýtt eða hún dregin.
Important: Lækka verður handfangið til að taka stöðuhemilinn af áður en vélin er færð.
Important: Loka verður hjáveitulokanum til að aka vinnuvélinni. Ekki reyna að nota dráttarkerfið með hjáveitulokann opinn.
Finnið skrúfu hjáveitulokans á milli vélar og vökvadælu.
Note: Staðsetning hlífarinnar fyrir skrúfu hjáveitulokans er sýnd á Mynd 118.

Notið 15 mm topp og topplykil til að snúa hjáveitulokanum 1-1/2 hringi réttsælis.
Note: Ekki herða hjáveituskrúfuna of mikið.
Notið 15 mm skiptilykil til að setja hlífina fyrir hjáveituskrúfuna á vökvadæluna.
Setjið geymsluhólfið í festingu hólfsins með tveimur flansakragaboltum.
Ef vélin hættir að ganga þegar götunarhausinn er niðri og tindarnir eru í jarðveginum og ekki er hægt að gangsetja vélina skal framkvæma annaðhvort Startarinn notaður til að lyfta götunarhausnum eða Tindhaldarar fjarlægðir af stimpilörmunum.
Færið lykilinn í GANGSTöðUNA.
Í InfoCenter-skjánum, flettu að AðALVALMYND.
Ýttu á niður hnappinn þar til ÞJóNUSTA valkosturinn er valinn, ýttu síðan á valhnappinn (Mynd 119).

Ýttu á niður hnappinn þar til ÞJóNUSTLYFTA valkosturinn er valinn, ýttu síðan á valhnappinn (Mynd 120).
Note: Þjónustulyfta valkosturinn breytist í KVEIKT.

Færið lykilinn í GANGSETNINGARSTöðU og reynið gangsetningu með startaranum í 10 sekúndur.
Important: Ekki nota startarann lengur en í 10 sekúndur í senn. Ef tindarnir hafa ekki losnað frá jörðu skal láta 30 sekúndna kælingartíma líða á milli tilrauna. Startarinn getur brennt úr sér ef ekki er farið eftir þessum fyrirmælum.
Note: Götunarhausinn lyftir tindunum frá jörðu.
Important: Tindarnir losna alveg úr jörðu áður en vélin er hreyfð.
Opnið hjáveitulokann; sjá Farið framhjá vökvadælunni og vélin færð.
Dragið eða ýtið vinnuvélinni á nærliggjandi stað til að halda viðhaldsvinnu áfram eða komið henni fyrir á eftirvagni.
Important: Ekki draga eða ýta vélinni meira en 30,5 m eða hraðar en 1,6 km/klst., slíkt getur valdið skemmdum á vökvakerfi.
Fjarlægið tindhaldarana af stimpilörmunum.
Opnið hjáveitulokann; sjá Farið framhjá vökvadælunni og vélin færð.
Dragið eða ýtið vinnuvélinni á nærliggjandi stað til að halda viðhaldsvinnu áfram eða komið henni fyrir á eftirvagni.
Important: Ekki draga eða ýta vélinni meira en 30,5 m eða hraðar en 1,6 km/klst., slíkt getur valdið skemmdum á vökvakerfi.
Takið aflíðandi beygjur þegar loftun er í gangi. Takið aldrei skarpar beygjur þegar götunarhausinn er í notkun. Skipuleggið loftunarleiðina áður en jarðvegsloftunarvélin er látin síga.
Verið ávallt meðvituð um það sem framundan er í akstursstefnu. Forðist loftun við hliðina á byggingum, girðingum og öðrum búnaði.
Lítið um öxl með reglulegu millibili til að ganga úr skugga um að vinnuvélin starfi eðlilega og að haldið sé sömu stefnu og í umferðinni á undan.
Hreinsið ávallt svæðið af skemmdum hlutum vinnuvélarinnar, t.d. brotnum tindum o.s.frv., til að koma í veg fyrir að þeir flækist í sláttuvélum og öðrum garðviðhaldsbúnaði.
Skiptið um brotna tinda og skoðið og lagið skemmdir á þeim sem enn eru nothæfir. Gerið við allar aðrar skemmdir á vélinni fyrir notkun.
Þegar loftun er gerð með minna en fullri breidd vinnuvélarinnar má fjarlægja tindana, en tindahausarnir eiga að vera áfram á stimpilörmunum til að tryggja rétt jafnvægi og rétta notkun vinnuvélarinnar.
Þessi vinnuvél loftar dýpra en flestar jarðvegsloftunarvélar ætlaðar grasflötum. Á upprunalegum eða breyttum upphækkuðum flötum og teigum geta lengri holóttir tindar sem ná dýpra átt erfitt með að losa sig við allan kjarnann. Það er vegna harðari jarðvegs sem festist á enda tindsins. Tindar með hliðarlosun frá framleiðanda haldast hreinni og stytta tímann sem þarf til að hreinsa úr tindunum. Þetta ástand heyrir sögunni til með áframhaldandi loftun og dreifingaráformum.
Þessi vél er gerð til að veita eins mikla dýpt og mögulegt er. Hins vegar geta sumar aðstæður valdið því að grasvarðarhlífar og/eða rærnar á grasvarðarhlífum valdi skaða þegar loftun er gerð við mestu dýptarstillingu. Ef loftað er á hámarks leyfilegu dýpi (með hvaða tindalengd sem er) eftir að hafa keyrt jarðhæðarkvörðunina, og grassvarðarboltarnir dragast eða snerta grassvörðinn, minnkið dýptina um eitt skref (1/4 tommu).
Ef jörðin er of hörð til að ná tilætlaðri götunardýpt getur götunarhausinn farið að hristast. Það gerist vegna harðs undirlags sem tindarnir eru að reyna að stingast í gegnum. Lagið þetta ástand með því að reyna eftirfarandi:
Loftið ekki ef jörðin er of hörð eða þurr. Besta loftunin næst daginn eftir úrkomu eða vökvun grassins.
Skiptið yfir í þriggja tinda haus, ef reynt er að nota fjögurra tinda haus, eða fækkið fjölda tinda á hverjum stimpilarmi. Reynið að halda samhverfri röðun á tindum til að hlaða jafnt á stimpilarmana.
Ef jörðin er þétt í sér skal draga úr götun (dýptarstillingu) jarðvegsloftunarvélar, hreinsa út kjarnana, vökva grasið og lofta aftur með dýpri götun.
Loftun jarðvegsgerða sem settar eru yfir hart undirlag (þ.e. jarðvegur/sandur sem settur er yfir grýtt undirlag) getur valdið óæskilegum holugæðum. Þetta gerist þegar loftunardýptin er meiri en þykkt jarðvegsins og undirlagið er of hart til að komast í gegnum. Þegar tindarnir komast í snertingu við þetta harðara undirlag getur jarðvegsloftunarvélin lyfst upp og valdið því að efsti hluti holanna verði ílangur. Minnkið loftunardýptina nægilega mikið til að forðast að stinga í hart undirlagið.
Gæði holunnar versna þegar hún raufótt (er toguð áfram).
Ef gæði holuinngangsins versna skal athuga hæðarkvörðun frá jörðu, sjá Athugun á hæðarkvörðun tinda frá jörðu.
Vegna tvöfaldrar raðar krefst götunarhaus lítilla tinda þess að holubilið sé stillt á 6,3 cm. Aksturshraði skiptir miklu máli við að viðhalda 3,2 cm holubili. Skoðið Stilling holubils ef holubilið þarfnast smávægilegrar breytingar.
Þegar lítill tindahaus eða stærri, gegnheill tindur er notaður skiptir rótarkerfið miklu máli til að koma í veg fyrir skemmdir á grasinu vegna slits á rótarsvæði. Ef miðjuarmarnir tveir byrjar að lyfta grassverðinum eða valda of miklum skemmdum á rótarsvæðinu skal gera eftirfarandi:
Auka holubilið
Minnka tindastærð
Minnka tindadýpt
Fjarlægja suma tindana
Lyftingin sem verður þegar gegnheill tindur er dreginn úr grassverðinum getur valdið skemmdum á grasinu. Lyftingin getur rifið upp rótarsvæðið ef þéttleiki eða þvermál tinda er of mikið.
Þegar loftað er með lengri gegnheilum tindum (þ.e. ⅜ x 4 to.) eða nálartindum getur framhluti holanna rifnað eða lyfst upp. Prófið eftirfarandi til að endurheimta mestu holugæði fyrir þessa stillingu:
Kvarðið hæð tinda frá jörðu; sjá Hæð tinda frá jörðu kvörðuð.
Hægið á hröðum lausagangi vélarinnar niður í 2800 til 2900 sn./mín.
Note: Það hefur ekki áhrif á holubilið vegna þess að aksturshraði og hraði götunarhaussins eykst og minnkar með vélarhraða.
Ef lægri vélarhraði bætir holugæðin fyrir lengri og gegnheila tinda eða nálartinda skal laga stillinguna á roto-link dempurunum.
Note: Verksmiðjustillingin virkar best við flestar aðstæður.
Ef framhlið á holum er raufótt eða hefur lyfst upp getur stífari stilling á roto-link komið í veg fyrir að holu sé þrýst niður og bætt gæði hennar.
Ef bakhlið á holum er raufótt eða hefur lyfst upp getur mýkri stilling á roto-link bætt gæði holunnar.
Note: Snúa verður við stöðu roto-Link demparana ef skipt er aftur í kjarnatinda eða einhverja af minni tindunum.
Leggið vinnuvélinni á jafnsléttu, togið og festið handfangið til að setja stöðuhemilinn á, drepið á vélinni, takið lykilinn úr og bíðið þar til allir hlutar á hreyfingu hafa stöðvast.
Fjarlægið hlíf götunarhaussins; sjá Hlíf á götunarhaus fjarlægð.
Festið götunarhausinn með þjónustulokanum; sjá Stuðningur við götunarhausinn með viðhaldslokanum.
Note: Í verksmiðjunni er einn roto-link stöðuhólkur settur á roto-link demparaskaftið og einn stöðuhólkur er í geymslustöðu fyrir hvern arm demparans.
Note: Með því að stilla roto-link demparana er hægt að nota vélina á fullum vélarhraða (3400 sn./mín.) en til að bæta holugæðin gæti reynst nauðsynlegt að lofta á lægri vélarhraða.
Fjarlægið tvær lásrær á flansa sem festa roto-link demparaskaftið við afturgrind vélarinnar (Mynd 121).

Fjarlægið stöðuhólkinn (ef hann er í geymslustöðu) og hertu sporöskjuskinnurnar.
Snúið demparatenginu og demparaskaftinu niður á við (Mynd 122).

Staðsetjið roto-link stöðuhólkinn til að leiðrétta eftirfarandi holugerðarskilyrði:
Note: Hver stöðuhólkur jafngildir 12,7 mm. Neðri sparkstöðvunarhólkurinn verður áfram að vera fastur við demparaskaftið.
Ef framhlið á holum er raufótt eða hefur lyfst upp – staðsetjið stöðuhólkana fyrir ofan afturgrindina, í geymslustöðu.
Ef bakhlið gatanna er raufótt eða hefur lyfst upp – staðsetjið báða stöðuhólkana fyrir ofan afturgrindina, báðum megin á roto-link demparaskaftinu.
Snúið demparatenginu og demparaskaftinu upp á við og stingið pinnunum í gegnum götin á afturgrind vélarinnar.
Festið demparaskaftið og stöðuhólkana við afturgrindina með hertu sporöskjuskinnunum og lásrónum (Mynd 123).

Herðið sjálflæsandi róna í 47 til 61 Nm (35 til 45 ft-lb).
Endurtakið skref 1 til 7 á næstu tveimur stimpilörmum.
Setjið viðhaldslokann í geymslustöðu; sjá Geymsla á viðhaldsloka.
Setjið hlífina á götunarhausinn; sjá Hlíf á götunarhaus sett upp.
Kvarðið hæð tinda frá jörðu; sjá Hæð tinda frá jörðu kvörðuð.
Farið með vinnuvélina á prófunarsvæði og loftið grassvörðinn til að bera saman holugæðin.
Ef holugæði batna skal endurtaka skrefin í Vinnuvélin undirbúinStilling á Roto-Link dempurum, og Hlíf á götunarhaus sett upp til að stilla roto-link demparana við hina þrjá demparaarmana.
Leggið vinnuvélinni á jafnsléttu, togið og festið handfangið til að setja stöðuhemilinn á, drepið á vélinni, takið lykilinn úr og bíðið þar til allir hlutar á hreyfingu hafa stöðvast.
Látið götunarhausinn síga eða festið hann með þjónustulásnum þegar vinnuvélin er ekki í gangi.
Haldið öllum hlutum vinnuvélarinnar í góðu ásigkomulagi og tryggið að vélbúnaður sé vel hertur.
Skiptið um slitnar eða skemmdar merkingar og setjið nýjar í stað merkinga sem vantar.
| Tíðni viðhaldsþjónustu | Viðhaldsferli |
|---|---|
| Fyrir hverja notkun eða daglega |
|
Important: Ekki nota ísalt vatn eða hreinsað vatn til að þrífa vinnuvélina.
Important: Þrýstiþvoið ekki vinnuvélina.
Leggið vinnuvélinni á jafnsléttu, togið og festið handfangið til að setja stöðuhemilinn á, drepið á vélinni, takið lykilinn úr og bíðið þar til allir hlutar á hreyfingu hafa stöðvast.
Þrífið vinnuvélina vandlega.
Notið garðslöngu án stúts til að vatn fari ekki inn fyrir þétti og blandist við legufeiti.
Notið bursta til að fjarlægja efni sem er fast á vinnuvélinni.
Notið mild hreinsiefni til að þrífa hlífarnar.
Berið bílabón reglulega á hlífar eftir að vinnuvélin hefur verið hreinsuð til að viðhalda glansandi áferð hlífa.
Leitið eftir skemmdum á vinnuvélinni, olíulekum og sliti á íhlutum og tindum.
Fjarlægið, hreinsið og olíuberið tindana. Úðið léttum olíuúða á legur götunarhaussins (tengibúnað startara og dempara).
Important: Festið götunarhausinn með viðhaldslokanum ef vinnuvélin er geymd lengur en í tvo daga.
Festipunktar eru staðsettir á fram- og afturhluta vinnuvélarinnar (Mynd 124, Mynd 125 ogMynd 126).
Note: Notið rétta DOT-samþykktar stroffur til að binda vinnuvélina; frekari upplýsingar um þyngd vinnuvélarinnar er að finna í Tæknilýsing.



Hættulegt er að aka vinnuvélinni á götum eða vegum án stefnuljósa, ljósa, endurskinsmerkja eða merkingar um hægfara ökutæki og slíkt kann að leiða til slysa og meiðsla á fólki.
Ekki nota vinnuvélina á götum eða vegum.
Important: Notið skábrautir í fullri breidd við að aka vélinni á eftirvagn eða palla.
Akið vinnuvélinni upp á eftirvagn eða pall (helst götunarhausinn á undan).
Togið og festið handfangið til að setja stöðuhemilinn á, drepið á vélinni, takið lykilinn úr og bíðið þar til allir hlutar á hreyfingu hafa stöðvast.
Festið götunarhausinn með þjónustulokanum; sjáStuðningur við götunarhausinn með viðhaldslokanum.
Lokið afsláttarloka eldsneytis; sjá Afsláttarloki eldsneytis.
Notið festipunktana til að binda vinnuvélina við eftirvagn eða pall með köðlum, keðjum eða stroffum; sjá Festipunktar.
| Þyngd | 745 kg eða 829 kg með tveimur valkvæðum þyngdum |
| Breidd | 130 cm að lágmarki |
| Lengd | 267 cm að lágmarki |
| Skábrautarhorn | 3,5/12 halli (16°) að hámarki |
| Hleðsluátt | Götunarhaus snýr fram (æskilegt) |
| Dráttargeta ökutækis | Meiri en heildarþyngd eftirvagns |
Note: Farið á www.Toro.com og leitið að viðkomandi vinnuvél í gegnum handbókartengilinn á heimasíðunni til að sækja ókeypis eintak af teikningum rafkerfis eða vökvakerfis.
Note: Frekari upplýsingar um viðhaldsferli eru í notendahandbók vélarinnar.
Note: Miðið vinstri og hægri hlið vinnuvélarinnar út frá hefðbundinni vinnustöðu.
Leggið vinnuvélinni á jafnsléttu, togið og festið handfangið til að setja stöðuhemilinn á, drepið á vélinni, takið lykilinn úr og bíðið þar til allir hlutar á hreyfingu hafa stöðvast. Leyfið vinnuvélinni að kólna áður en hún er stillt, þjónustuð, þrifin eða sett í geymslu.
Framkvæmið aðeins viðhald samkvæmt leiðbeiningum í þessari handbók. Hafið samband við viðurkenndan dreifingaraðila Toro ef gera þarf umfangsmikla viðgerð á vélinni eða fá aðstoð.
Tryggið að vinnuvélin sé í öruggu ástandi með því að herða allar rær, bolta og skrúfur.
Ekki sinna viðhaldi með vélina í gangi, ef því verður við komið. Haldið öruggri fjarlægð frá hlutum á hreyfingu.
Losið varlega uppsafnaðan þrýsting í íhlutum.
Skoðið festibolta tindanna daglega til að ganga úr skugga um að þeir séu hertir með tilskildu átaki.
Gangið úr skugga um að allar hlífar séu á sínum stað og að vélarhlífin sé fest eftir viðhald eða breytingar á vinnuvélinni.
| Tíðni viðhaldsþjónustu | Viðhaldsferli |
|---|---|
| Eftir fyrstu 8 klukkustundirnar |
|
| Eftir fyrstu 50 klukkustundirnar |
|
| Fyrir hverja notkun eða daglega |
|
| Á 25 klukkustunda fresti |
|
| Á 50 klukkustunda fresti |
|
| Á 100 klukkustunda fresti |
|
| Á 200 klukkustunda fresti |
|
| Á 250 klukkustunda fresti |
|
| Á 400 klukkustunda fresti |
|
| Á 500 klukkustunda fresti |
|
| Fyrir geymslu |
|
| Árlega |
|
Important: Frekari upplýsingar um viðhaldsferli eru í notendahandbók vélarinnar.
Afritið þessa blaðsíðu til að skrá reglubundið viðhald.
| Viðhaldsatriði | Vika: | ||||||
|---|---|---|---|---|---|---|---|
| Mán. | Þri. | Mið. | Fim. | Fös. | Lau. | Sun. | |
| Kannið virkni öryggissamlæsingarinnar. | |||||||
| Kannið virkni stöðuhemilsins. | |||||||
| Kannið stöðu smurolíu. | |||||||
| Athuga eldsneytisstöðu. | |||||||
| Skoðið loftsíuna. | |||||||
| Skoðið hvort óhreinindi séu á vélinni. | |||||||
| Hlustið eftir óeðlilegum vélarhljóðum. | |||||||
| Hlustið eftir óeðlilegum vinnsluhljóðum. | |||||||
| Kannið stöðu glussans. | |||||||
| Leitið eftir skemmdum á vökvaslöngum. | |||||||
| Leitið eftir leka. | |||||||
| Athugið virkni verkfæris. | |||||||
| Athugið ástand tindanna. | |||||||
| Blettið í lakkskemmdir. | |||||||
Important: Frekari upplýsingar um viðhaldsferli eru í notendahandbók vélarinnar.
| Skoðun framkvæmd af: | ||
| Hluti | Dagsetning | Upplýsingar |
| 1 | ||
| 2 | ||
| 3 | ||
| 4 | ||
| 5 | ||
| 6 | ||
| 7 | ||
| 8 | ||
Ef lykillinn er skilinn eftir í svissinum getur hver sem er óvart gangsett vélina og valdið alvarlegum meiðslum á stjórnanda eða öðrum nærstöddum.
Leggið vinnuvélinni á jafnsléttu, togið og festið handfangið til að setja stöðuhemilinn á, drepið á vélinni, takið lykilinn úr og bíðið þar til allir hlutar á hreyfingu hafa stöðvast.
Important: Festingarnar á hlífunum á þessari vinnuvél eru hannaðar til að fylgja með hlífinni þegar hún er tekin af. Losið allar festingarnar á hverri hlíf nokkra hringi þannig að hlífin losni án þess að losa hana alveg af, haldið svo áfram að losa þær þar til hlífin losnar alveg. Þetta kemur í veg fyrir að boltarnir séu óvart teknir alveg úr festingunum.
Leggið vinnuvélinni á jafnsléttu.
Togið handfangið upp til að setja stöðuhemilinn á; sjá Stöðuhemill settur á.
Drepið á vélinni, takið lykilinn úr og bíðið eftir að allir hlutir hafi stöðvast áður en stigið er af vinnuvélinni, sjá Drepið á vélinni.
Bíðið þar til vinnuvélin hefur kólnað.
Ef vinnuvélin er ekki almennilega studd með stoðum eða búkkum getur vélin hreyfst til eða fallið, sem getur valdið meiðslum á fólki.
Þegar skipt er um tengibúnað, hjólbarða eða annarri viðhaldsvinnu sinnt skal nota réttar stoðir, lyftibúnað og tjakka.
Gangið úr skugga um að vinnuvélinni sé lagt á föstu, sléttu yfirborði eins og steyptu gólfi.
Áður en vinnuvélinni er lyft skal fjarlægja allan tengibúnað sem geta truflað örugga og rétta lyftingu hennar.
Setjið alltaf skorður við hjól. Notið búkka eða heilar tréblokkir til að styðja við upplyfta vinnuvélina.
Búið vinnuvélina undir viðhald; sjá Undirbúningur vinnuvélar fyrir viðhald.
Skorðið afturdekkin til að koma í veg fyrir að vinnuvélin fari á hreyfingu.
Important: Ekki setja tjakkinn undir framhjólamótorinn til að forðast að skemma hann.
Komið tjakkinum tryggilega fyrir undir stuðningsarmi framhjóla (Mynd 127).

Lyftið framhluta vinnuvélarinnar frá jörðu.
Setjið búkkana eða harðviðarblokkirnar undir framhluta grindarinnar til að styðja við vinnuvélina.
Búið vinnuvélina undir viðhald; sjá Undirbúningur vinnuvélar fyrir viðhald.
Skorðið framdekkin til að koma í veg fyrir að vinnuvélin fari á hreyfingu.
Important: Ekki setja tjakkinn undir afturhjólamótorinn til að forðast að skemma hann.
Komið tjakkinum tryggilega fyrir undir grindplötunni rétt fyrir innan afturhjólið (Mynd 128).

Note: Ef lyftibúnaður er til staðar skal nota hann til að lyfta afturhluta vinnuvélarinnar. Notið bindiaugun í leguhúsum götunarhaussins sem festipunkta lyftibúnaðar (Mynd 129).

Lyftið afturhluta vinnuvélarinnar frá jörðu.
Setjið búkkana eða harðviðarblokkirnar undir grindina til að styðja við vinnuvélina.
Staðsetjið festingu beltishlífarinnar við stoðfestingu hlífarinnar á grind vinnuvélarinnar (Mynd 133).

Lokið reimarhlífinni (Mynd 134).

Lækkið klinkuhandfangið alveg niður til að festa hlífina (Mynd 135).

Ef vinnuvélin er með dragreipisklinku fyrir CE-beltishlíf, skal þræða dragreipisboltann inn í gatið á hlífðarklinkunni og herða boltann (Mynd 136).


Ef vélin er með CE-klinkulás skal losa um lásplötuboltann þar til lásplatan losar um raufina á hlið götunarhausshlífarinnar (Mynd 138).

Snúið lásplötunni til að losa klinkuna (Mynd 138).
Endurtakið skref 1 og 2 á hinni hlið hlífarinnar.
Losið um hlífina götunarhaussins þar sem klinkurnar 4 eru staðsettar (Mynd 137 og Mynd 139).

Lyftið hlíf götunarhaussins af vinnuvélinni (Mynd 140).

Staðsetjið hlíf götunarhaussins á vinnuvélinni líkt og sýnt er í Mynd 141.

Læsið hlíf götunarhaussins þar sem klinkurnar 4 eru staðsettar (Mynd 142).
Ef vinnuvélin er með CE-klinkulás skal snúa lásplötunni þar til hún er samhliða raufinni á hlið í götunarhausshlífarinnar (Mynd 143).



Herðið lásplötuboltann (Mynd 143).
Endurtakið skref 4 og 3 á hinni hlið hlífarinnar.
| Tíðni viðhaldsþjónustu | Viðhaldsferli |
|---|---|
| Á 500 klukkustunda fresti |
|
| Árlega |
|
Engir smurkoppar eru á vinnuvélinni sem þarf að smyrja.
Important: Legur bregðast sjaldan vegna efnis- eða smíðagalla. Algengasta ástæðan fyrir bilun er raki og mengun sem kemst framhjá þétti. Legur sem eru smurðar þurfa reglubundið viðhald til að hreinsa burt skaðleg óhreinindi af legusvæðinu. Innsiglaðar legur treysta á fyrstu áfyllingu af sérstakri smurfeiti og öflugu innbyggðu þétti til að halda mengun og raka frá keflalegum.
Innsiglaðar legur þurfa ekki smurningu eða skammtímaviðhald. Þetta lágmarkar nauðsynlegt reglubundið viðhald og minnkar líkurnar á grasskemmdum vegna smurmengunar. Þessar innsigluðu legur gefa góða raun og endast lengi við eðlilega notkun, en reglulegar skoðanir á ástandi og heilleika leganna ættu að fara fram til að fyrirbyggja tafir vegna viðgerða. Gerið árstíðabundnar skoðanir á legunum og skiptið um ef þær eru skemmdar eða slitnar. Legur eiga að virka án vandræða og vera lausar við neikvæða þætti eins og háan hita, hávaða, skrölt eða ryðleka.
Vegna vinnsluskilyrða (t.d. sands, íðefna sem notuð eru á grasið, vatns, högga) teljast þessar legur/þétti vera eðlilegir slithlutir. Legur sem bregðast af öðrum ástæðum en vegna efnis- eða smíðagalla falla yfirleitt ekki undir ábyrgð.
Note: Rangar aðferðir við þrif geta haft neikvæð áhrif á legur. Þrífið ekki vinnuvélina á meðan hún er enn heit og forðist að beina háþrýstibunu eða miklu magni af vatni á legurnar.
Algengt er að smurfeiti leki úr þétti á nýrri vinnuvél. Þessi smurfeiti verður svört vegna uppsafnaðra óhreininda, ekki sökum of mikils hita. Það er góð vinnuregla að þurrka umframfeitina af þéttinu eftir fyrstu 8 klukkustundirnar. Svæðið umhverfis þéttið gæti virst blautt. Það hefur ekki neikvæð áhrif á endingartímann og heldur utanverðu þéttinu smurðu.
Drepið á vélinni áður en olían er könnuð eða olíu hellt á sveifarhúsið.
Ekki breyta gangráðshraðanum eða setja vélina á yfirsnúning.
| Tíðni viðhaldsþjónustu | Viðhaldsferli |
|---|---|
| Á 25 klukkustunda fresti |
|
| Á 100 klukkustunda fresti |
|
Búið vinnuvélina undir viðhald; sjá Undirbúningur vinnuvélar fyrir viðhald.
Hreinsið í kringum loftsíuna til að koma í veg fyrir að óhreinindi komist í vélina og valdi skemmdum.
Skrúfið hnúðinn af og fjarlægið loftsíuhlífina (Mynd 144).

Rennið svampforsíunni varlega af pappírseiningunni (Mynd 144).
Skrúfið róna af og fjarlægið hlífina, stöðuhólkinn og pappírssíuna (Mynd 144).
Important: Skiptið um svampeininguna ef hún er rifin eða slitin.
Þvoið svampforsíuna með fljótandi sápu og volgu vatni. Skolið hana vandlega þegar hún er orðin hrein.
Þurrkið forsíuna með því að kreista hana í hreinum klút (ekki vinda hann).
Setjið 3 til 6 cl af olíu á forsíuna (Mynd 145).

Kreistið forsíuna til að dreifa úr olíunni.
Leitið eftir rifum á síupappírnum, olíumengun og skemmdum á gúmmíþéttinu (Mynd 146).

Important: Hreinsið aldrei pappírselementið. Skiptið um pappírseininguna ef hún er óhrein eða skemmd.
Important: Notið ávallt vinnuvélina með svamp og loftsíupappír í til að koma í veg fyrir að vélin skemmist.
Rennið svampforsíunni varlega á pappírssíuna (Mynd 147).

Setjið loftsíusamstæðuna á loftsíugrunninn.
Setjið hlífina, stöðuhólkinn og róna saman.
Herðið róna í 11 N m (95 in-lb).
Setjið hlífina á lofthreinsarann og festið með hnúðnum.
Gerð olíu: Hágæða hreinsiolía (API-flokkun SJ eða hærri)
Seigjustig olíu: Sjá töfluna að neðan:

| Tíðni viðhaldsþjónustu | Viðhaldsferli |
|---|---|
| Fyrir hverja notkun eða daglega |
|
Vélin er afhent með olíu í sveifarhúsinu. Engu að síður þarf að kanna stöðu smurolíunnar fyrir og eftir fyrstu gangsetningu vélarinnar.
Notið hágæðasmurolíu eins og lýst er í Forskriftir vélarolíu.
Important: Yfirfyllið ekki sveifarhúsið með olíu.Ekki láta vélina ganga ef smurolíuhæð er undir lágmarki.
Note: Ráðlagt er að athuga smurolíuhæðina þegar vélin er köld og áður en vélin hefur verið gangsett. Leyfið olíunni að renna aftur niður í pönnuna í a.m.k. 10 mínútur áður en smurolíuhæðin er athuguð ef vélin hefur verið gangsett.
Búið vinnuvélina undir viðhald; sjá Undirbúningur vinnuvélar fyrir viðhald.
Leyfið aflvélinni að kólna.
Hreinsið í kringum olíuáfyllingarlokið og olíukvarðann (Mynd 149).

Takið olíukvarðann úr, þurrkið af honum og stingið honum í þar til hann er kyrfilega fastur.
Fjarlægið olíukvarðann og athugið olíuhæðina.
Olíuhæð vélarinnar ætti að vera á milli merkinganna F“ fyrir fullt og L“ fyrir lágt á olíukvarðanum
Ef olíuhæðin er undir lágmarkinu L“ skal fjarlægja olíuáfyllingarlokið og bæta við tilgreindri olíu þar til hæðin nær upp að F“ á olíukvarðanum.
Setjið olíuáfyllingarlokið og olíukvarðann á sinn stað.
| Tíðni viðhaldsþjónustu | Viðhaldsferli |
|---|---|
| Eftir fyrstu 50 klukkustundirnar |
|
| Á 100 klukkustunda fresti |
|
Rúmtak sveifarhúss: u.þ.b. 1,9 l með síunni.
Gangsetjið vélina og látið hana ganga í fimm mínútur. Þetta hitar upp olíuna og þannig er auðveldara að tappa henni af.
Leggið vinnuvélinni þannig að aftöppunarhliðin sé örlítið neðar en gagnstæð hlið til að tryggja að öll olían renni út, drepið á vélinni, lyftið handbremsunni og festið, setjið stöðuhemilinn á og takið lykilinn úr.
Setjið pönnu undir botntappa olíuafrennslis og fjarlægið tappann (Mynd 150).
Note: Bíðið þar til olían tappast af.

Setjið botntappa olíuafrennslisins í vélina og herðið hann.
Note: Fargið notuðu olíunni á viðurkenndri endurvinnslustöð.
Setjið grunna pönnu undir olíusíuna og fjarlægið síuna (Mynd 150).
Note: Fargið notuðu olíusíunni á viðurkenndri endurvinnslustöð.
Þrífið yfirborð síutengis.
Fyllið á nýju olíusíuna upp að neðri gengjanna með tilgreindri olíu.
Leyfið síunni að draga í sig olíuna í 2 mínútur og hellið síðan umframolíunni.
Berið þunnt lag af nýrri olíu á pakkninguna á nýju síunni.
Skrúfið olíusíuna á síutengið þar til pakkningin snertir festiplötuna (Mynd 150) og herðið svo í höndunum um 1/2 úr hring í viðbót.

Hreinsið svæðið í kringum olíuáfyllingarlokið og olíukvarðann (Mynd 152).

Fjarlægið olíuáfyllingarlokið og hellið rólega um það bil 80% af tilgreindu magni af olíu í gegnum ventlahlífina.
Bætið rólega við meiri olíu þar til F-merkinu á olíukvarðanum er náð, sjá Forskriftir vélarolíu og Smurolíuhæð könnuð.
Important: Yfirfyllið ekki sveifarhúsið með olíu.
Setjið olíuáfyllingarlokið og olíukvarðann á sinn stað.
| Tíðni viðhaldsþjónustu | Viðhaldsferli |
|---|---|
| Á 200 klukkustunda fresti |
|
Búið vinnuvélina undir viðhald; sjá Undirbúningur vinnuvélar fyrir viðhald.
Togið vírana af kertunum (Mynd 153).

Hreinsið svæðið í kringum kertin.
Notið kertalykil til að fjarlægja bæði kerti og málmpakkningar.
Gerð kerta: Champion RC12YC eða samsvarandi
Loftbil: 0,75 mm
Skoðið miðju beggja kertanna (Mynd 154). Ef brúnn eða grár litur sést á einangruninni vinnur vélin rétt. Svört húð á einangruninni gefur yfirleitt til kynna að loftsían sé skítug.
Important: Hreinsið aldrei kertin. Skiptið alltaf um kertin ef þau eru þakin svartri húð, með slitin rafskaut, olíuborin eða með sprungum.

Skoðið bilið á milli miðju- og hliðarrafskauta.
Beygið hliðarrafskautið ef bilið er ekki rétt.
Tryggið að bilið á milli miðjunnar og hliðarrafskauta sé rétt áður en hvert kerti er sett í. Notið kertalykil til að skrúfa kertin í og úr og kertabilsverkfæri/föler til að kanna og stilla bilið. Setjið ný kerti í ef þess gerist þörf.
Stingið kertunum inn í kertisgöt vélarinnar.
Notið kertalykil og átaksmæli til að herða kertin í 27 Nm (20 ft-lb).
Tengið kertavírana við kertin (Mynd 155).

| Tíðni viðhaldsþjónustu | Viðhaldsferli |
|---|---|
| Fyrir hverja notkun eða daglega |
|
Skoðið og hreinsið vélarsíuna fyrir hverja notkun. Fjarlægið uppsafnað gras, mold og önnur laus óhreinindi af loftinntakssíu vélarinnar.
Við tiltekin skilyrði eru eldsneyti og eldsneytisgufur sérstaklega eldfim og sprengifim. Eldur eða sprenging af völdum eldsneytis getur valdið brunasárum og eignatjóni.
Fyllið á eldsneytisgeyminn utandyra, á opnu svæði, með kalda vél sem er ekki í gangi. Þurrkið upp allan eldsneytisleka.
Stútfyllið aldrei eldsneytisgeyminn. Fyllið á eldsneyti þar til það hæðin er um 25°mm fyrir neðan efri brún geymisins, ekki áfyllingarstútsins. Þetta tómarúm býður upp á útþenslurými fyrir eldsneytið.
Aldrei reykja við meðhöndlun eldsneytis og haldið eldsneyti fjarri opnum eldi, annars er hætta á að neistaflug geti kveikt í eldsneytisgufum.
Geymið eldsneytið í hreinu og öryggisvottuðu íláti og hafið lokið á.
| Tíðni viðhaldsþjónustu | Viðhaldsferli |
|---|---|
| Á 100 klukkustunda fresti |
|
Important: Setjið aldrei skítuga síu aftur í eftir að hún hefur verið fjarlægð af eldsneytisleiðslunni.
Búið vinnuvélina undir viðhald; sjá Undirbúningur vinnuvélar fyrir viðhald.
Lokið afsláttarloka eldsneytis (Mynd 156).


Kreistið saman endana á hosuklemmunum og rennið þeim frá síunni.
Fjarlægið síuna úr eldsneytisslöngunum.
Staðsetjið eldsneytissíuna þannig að örin vísi að vélinni og setjið eldsneytisslönguna saman yfir síufestingunum.
Staðsetjið hosuklemmurnar nálægt eldsneytissíunni og herðið þær.
Þurrkið upp eldsneyti sem hellist niður.
Opnið afsláttarloka eldsneytis.
Við sérstakar aðstæður getur eldsneyti verið sérstaklega eldfimt og mjög sprengifimt. Eldur eða sprenging af völdum eldsneytis getur valdið brunasárum og eignatjóni.
Tappið eldsneyti af eldsneytisgeyminum þegar vélin er orðin köld. Þetta skal gera utan dyra og á opnu svæði. Þurrkið upp allan eldsneytisleka.
Aldrei reykja þegar eldsneyti er tappað af og haldið eldsneyti fjarri opnum eldi, annars er hætta á að neistaflug geti kveikt í eldsneytisgufum.
Búið vinnuvélina undir viðhald; sjá Undirbúningur vinnuvélar fyrir viðhald.
Lokið afsláttarloka eldsneytis (Mynd 157).


Losið hosuklemmuna við eldsneytissíuna og rennið henni upp eldsneytisleiðsluna í áttina frá eldsneytissíunni.
Togið eldsneytisleiðsluna af eldsneytissíunni.
Opnið afsláttarloka eldsneytis og leyfið eldsneytinu að renna í eldsneytisbrúsa eða á afrennslispönnu.
Note: Nú er besti tíminn til að setja upp nýja eldsneytissíu því eldsneytisgeymirinn er tómur.
Setjið eldsneytisslönguna saman yfir síufestingunum.
Staðsetjið hosuklemmuna nálægt eldsneytissíunni og herðið hana.
Aftengið rafgeyminn áður en gert er við vinnuvélina. Aftengið mínusskautið fyrst og plússkautið síðast. Tengið plússkautið fyrst og mínusskautið síðast.
Hlaðið rafgeyminn á opnu og vel loftræstu svæði, fjarri neistum og opnum eldi. Takið hleðslutækið úr sambandi áður en rafgeymirinn er tengdur eða aftengdur.
Klæðist hlífðarfatnaði og notið einangruð verkfæri.
| Tíðni viðhaldsþjónustu | Viðhaldsferli |
|---|---|
| Árlega |
|
Þurrkið ofan af rafgeyminum.
Losið og opnið hlerann að rafgeymishólfinu (Mynd 158).

Hreinsið efri hluta rafgeymisins með bursta bleyttum í ammoníaki eða matarsódalausn.
Important: Ekki taka áfyllingarlokin fyrir hreinsun.
Skolið yfirborð rafgeymisins og rafgeymishólfsins vel með hreinu vatni.
Lokið og læsið hleranum að rafgeymishólfinu.
| Tíðni viðhaldsþjónustu | Viðhaldsferli |
|---|---|
| Árlega |
|
Rafgeymaskaut eða verkfæri úr málmi geta valdið skammhlaupi í málmhluta dráttarvélarinnar með meðfylgjandi neistaflugi. Neistar geta kveikt í gasi frá rafgeyminum og valdið sprengingu og meiðslum á fólki.
Þegar rafgeymirinn er tekinn úr eða settur í þarf að koma í veg fyrir að rafgeymaskautin snerti málmhluta vinnuvélarinnar.
Komið í veg fyrir að verkfæri úr málmi valdi skammhlaupi á milli rafgeymaskautanna og málmhluta vinnuvélarinnar.
Rangt lagðir rafgeymiskaplar geta valdið skemmdum á vinnuvélinni og köplunum sem leitt geta til neistaflugs. Neistar geta kveikt í gasi frá rafgeyminum og valdið sprengingu og meiðslum á fólki.
Aftengið alltaf mínusrafgeymiskapalinn (svartur) áður en plúskapallinn (rauður) er aftengdur.
Tengið alltaf plúsrafgeymiskapalinn (rauður) áður en mínuskapallinn (svartur) er tengdur.
Losið og opnið hlerann að rafgeymishólfinu (Mynd 159).

Gangið úr skugga um að kapalklemmur rafgeymisins séu festar.
Herðið lausar kapalklemmur vélbúnaðar.
Athugið hvort tæring sjáist á klemmum rafgeymiskapals og rafgeymaskautum.
Ef tæring er á skautunum skal fjarlægja mínuskapal rafgeymisins.
Fjarlægið plúskapal rafgeymisins.
Hreinsið kapalklemmur og rafgeymaskaut.
Tengið plúskapal rafgeymisins.
Tengið mínuskapal rafgeymisins.
Berið Grafo 112X-húðunarfeiti (Toro hlutarnúmer 505-47) á kaplaskautin og rafgeymaskautin.
Lokið og læsið hleranum að rafgeymishólfinu.
Rafkerfið er varið með öryggjum. Ef öryggi opnast skal athuga íhlutinn og raflagnir fyrir jarðhlaup.
Losið og opnið hlerann að rafgeymishólfinu (Mynd 160).

Takið hlífina af öryggjaboxinu (Mynd 161).
Note: Öryggi viftunnar er staðsett beint fyrir aftan rafgeyminn (Mynd 162).


Fjarlægið opna öryggið.
Setjið upp nýtt öryggi með straumstyrknum sem er tilgreindur á merkingu á öryggjaboxi.
Setjið hlífina á öryggjaboxið (eða á beintengt öryggi viftu).
Lokið og læsið hlera rafgeymishólfsins.
| Tíðni viðhaldsþjónustu | Viðhaldsferli |
|---|---|
| Á 50 klukkustunda fresti |
|
Búið vinnuvélina undir viðhald; sjá Undirbúningur vinnuvélar fyrir viðhald.
Gangið úr skugga um að loftþrýstingur í öllum hjólbörðum sé 83 kPa (12 psi). Nákvæmasta þrýstingsmælingin næst þegar hjólbarðarnir eru kaldir.
Important: Ójafn þrýstingur í hjólbörðum getur valdið ójafnri götunardýpt.

Hjólið er mjög þungt, 33 kg.
Gætið varúðar þegar það er tekið undan.
| Tíðni viðhaldsþjónustu | Viðhaldsferli |
|---|---|
| Árlega |
|
Drifreimar vélarinnar eru endingargóðar. Hins vegar getur venjuleg útsetning fyrir útfjólublárri geislun, ósoni eða tilfallandi útsetning fyrir íðefnum orðið til þess að gúmmíið skemmist með tímanum og valdið ótímabæru sliti og efnistapi (þ.e. aðskilin eða glötuð beltislög).
Fjarlægið reimarhlífina, sjá Reimarhlíf fjarlægð.
Skoðið reimar vökvadælunnar, drifskaftsins og sveifarássins (Mynd 164) í leit að skemmdum, sliti, miklum sprungum eða áföstum óhreinindum.
Note: Skiptið um reim þegar þörf er á.

Komið reimarhlífinni fyrir, sjá Uppsetning reimarhlífar.
| Tíðni viðhaldsþjónustu | Viðhaldsferli |
|---|---|
| Eftir fyrstu 8 klukkustundirnar |
|
Búið vinnuvélina undir viðhald; sjá Undirbúningur vinnuvélar fyrir viðhald.
Fjarlægið reimarhlífina; sjá Reimarhlíf fjarlægð.
Losið kragaboltana og sjálflæsandi róna sem festir lausahjólið fyrir reim vökvadælunnar, þar til boltinn fer í raufina á stoð lausahjólsins (Mynd 165).


Smellið efst á lausahjólið og leyfið strekkifjöðrinni að stilla strekkingu reimarinnar.
Important: Ekki strekkja reimina meira en strekkifjöðrin leyfir því að skemmdir gætu orðið á íhlutum.
Herðið kragaboltann í 37 til 45 Nm (27 til 33 ft-lb).
Komið reimarhlífinni fyrir, sjá Uppsetning reimarhlífar.
Leitið tafarlaust til læknis ef glussi sprautast undir húð. Læknir verður að fjarlægja glussa sem kemst undir húð með skurðaðgerð innan nokkurra klukkustunda frá slysi.
Tryggið að allar vökvaslöngur og -leiðslur séu í góðu ásigkomulagi og að öll vökvatengi séu vel hert áður en þrýstingi er hleypt á vökvakerfið.
Haldið líkama og höndum í öruggri fjarlægð frá hárfínum leka eða stútum sem sprauta út glussa undir miklum þrýstingi.
Notið bylgjupappa eða pappír til að finna glussaleka.
Losið allan þrýsting af vökvakerfinu áður en unnið er við það.
Styðjið við götunarhausinn með þjónustulokanum; sjáStuðningur við götunarhausinn með viðhaldslokanum.
Drepið á vélinni.
Snúið svissinum á RUN (gangstaða).
Í InfoCenter-skjánum, flettu að AðALVALMYND.
Ýttu á niður hnappinn þar til ÞJóNUSTA valkosturinn er valinn, ýttu síðan á valhnappinn (Mynd 166).

Note: Götunarhausinn sígur þar til viðhaldslokinn styður hann að fullu.
Ýttu á niður hnappinn þar til ÞJóNUSTLæKKA valkosturinn er valinn, ýttu síðan á valhnappinn (Mynd 167).

Snúið svisslyklinum í stöðuna STOP (stöðva).
Note: Gangsetjið vélina og látið götunarhausinn lyftast með vökvaafli svo hægt sé að setja viðhaldslokann í geymslustöðu; sjá Geymsla á viðhaldsloka.
| Tíðni viðhaldsþjónustu | Viðhaldsferli |
|---|---|
| Fyrir hverja notkun eða daglega |
|
Fyrir notkun skal leita eftir leka á vökvaleiðslum og slöngum, lausum festingum, beygluðum slöngum, lausum festistoðum, vélrænu sliti og ummerkjum eftir slit af völdum veðurs eða íðefna. Skiptið út slitnum eða skemmdum vökvaleiðslum áður en vélin er notuð.
Note: Tryggið að óhreinindi safnist ekki upp í kringum vökvakerfið.
Geymirinn er fylltur í verksmiðju með hágæða glussa. Athugið hæð glussans áður en vélin er gangsett í fyrsta sinn og daglega þar á eftir, sjá Smurolíuhæð könnuð.
Ráðlagður glussi fyrir glussaskipti: Toro PX Extended Life Hydraulic Fluid sem fæst í 19 l fötum eða 208 l tunnum.
Note: Þegar notaður er ráðlagður vökvi á vinnubílnum er ekki þörf á því að skipta eins oft um vökva og síur.
Aðrar gerðir af glussa: Í tilvikum þegar Toro PX Extended Life Hydraulic Fluid er ekki tiltækur er hægt að nota aðra hefðbundna jarðolíuglussa með sömu forskriftir og alla tilgreinda efnislega eiginleika og uppfylla staðla í iðnaði. Notið ekki syntetískan vökva. Leitið ráða hjá söluaðila smurefnisins til að fá ábendingar um hentugan glussa.
Note: Toro tekur enga ábyrgð á skemmdum vegna notkunar rangrar gerðar af glussa og þar af leiðandi skal eingöngu nota vörur frá áreiðanlegum framleiðendum sem geta ábyrgst vörur sínar.
| Efniseiginleikar: | ||
| Seigja, ASTM D445 | cSt @ 40°C 44 til 48 | |
| Seigjustuðull, ASTM D2270 | 140 eða hærri | |
| Rennslismark, ASTM D97 | -37°C til -+45°C | |
| Forskriftir iðnaðarstaðla: | Eaton Vickers 694 (I-286-S, M-2950-S/35VQ25 eða M-2952-S) | |
Note: Margar gerðir glussa eru nánast litlausar og því erfitt að greina þær við leka. Rautt litarefni fyrir glussa er í boði í 20 ml flöskum. Ein flaska dugar fyrir 15 til 22 l af glussa. Pantið hlutarnr. 44-2500 frá viðurkenndum dreifingaraðila Toro.
Important: Þolmikill, sérframleiddur og vistvænn glussi frá Toro er eini sérframleiddi, lífbrjótanlegi glussinn samþykktur af Toro. Slíkur glussi er samhæfur við gúmmílíkið sem er notað í vökvakerfum Toro og hentar til notkunar við ólík hitastig. Slíkur glussi er samhæfur við hefðbundnar jarðolíur. Hins vegar ætti að vökvakerfið vandlega með hefðbundnum glussa til að ná fram hámarks lífbrjótanleika og afköstum. Olían fæst í 19 l fötum eða 208 l tunnum hjá viðurkenndum dreifingaraðila Toro.
| Tíðni viðhaldsþjónustu | Viðhaldsferli |
|---|---|
| Fyrir hverja notkun eða daglega |
|
Important: Með götunarhausinn í upphækkaðri stöðu skal athuga vökvastigið áður en vélin er ræst í fyrsta skipti og daglega eftir það.
Glussageymirinn er fylltur í verksmiðju með gæðaglussa.
Búið vinnuvélina undir viðhald; sjá Undirbúningur vinnuvélar fyrir viðhald.
Fjarlægið reimarhlífina, sjá Reimarhlíf fjarlægð.
Hreinsið svæðið í kringum áfyllingarstút og lok glussageymisins (Mynd 168). Fjarlægið lokið af áfyllingarrörinu.

Takið olíukvarðann úr og strjúkið af honum með hreinum klút. Stingið olíukvarðanum í áfyllingarstútinn; takið hann aftur úr og athugið vökvahæðina. Vökvahæðin ætti að vera upp að merkingunni á olíukvarðanum (Mynd 169).

Þegar vökvahæðin er lág skal fylla á með tilgreindum glussa þar til vökvahæðin er við fulla merkingu.
Komið olíukvarðanum og lokinu fyrir á áfyllingarstútnum.
Komið reimarhlífinni fyrir, sjá Uppsetning reimarhlífar.
| Tíðni viðhaldsþjónustu | Viðhaldsferli |
|---|---|
| Á 200 klukkustunda fresti |
|
| Á 400 klukkustunda fresti |
|
Rúmtak glussageymis: u.þ.b. 6,6 l
Important: Ekki nota olíusíur fyrir bíla. Slíkt kann að leiða til alvarlegra skemmda á vökvakerfinu.
Note: Ef retúrsían er fjarlægð tæmist allur vökvageymirinn.
Búið vinnuvélina undir viðhald; sjá Undirbúningur vinnuvélar fyrir viðhald.
Setjið afrennslispönnu undir síurnar, fjarlægið gömlu síurnar og strjúkið af pakkningartenginu (Mynd 170).

Berðu þunnt lag af hreinni glussaolíu á pakkningarnar á nýju síunum.
Setjið síurnar á síutengin. Snúið báðum síunum réttsælis þar til pakkningin snertir síutengið og herðið svo báðar síurnar um hálfan snúning í viðbót.
Bætið við tilgreindum glussa þar til vökvahæðin er við fulla merkingu á olíukvarðanum, sjá Forskriftir fyrir glussa og Staða glussa könnuð.
Gangsetjið vélina og látið hana ganga í tvær mínútur til að lofttæma kerfið. Drepið á vélinni, takið lykilinn úr og leitið að glussaleka.
Kannið stöðu glussa. Fyllið á með tilgreindum glussa þar hæðin er við FULLA merkingu á olíukvarðanum ef þess gerist þörf.
Note: Ekki yfirfylla glussageyminn.
Komið reimarhlífinni fyrir, sjá Uppsetning reimarhlífar.
| Tíðni viðhaldsþjónustu | Viðhaldsferli |
|---|---|
| Eftir fyrstu 8 klukkustundirnar |
|
| Á 250 klukkustunda fresti |
|
Búið vinnuvélina undir viðhald; sjá Undirbúningur vinnuvélar fyrir viðhald.
Fjarlægið hlíf götunarhaussins; sjá Hlíf á götunarhaus fjarlægð.
Athugið festingar götunarhauss, festingar stýrisstangar og felgurær hjóls til að ganga úr skugga um að herslan sé rétt. Kröfur um hersluátak festingar eru tilgreindar á herslumerkingu sem er staðsett á þjónusturás götunarhaussins (Mynd 171).

Setjið hlífina á götunarhausinn; sjá Hlíf á götunarhaus fest.
Búið vinnuvélina undir viðhald; sjá Undirbúningur vinnuvélar fyrir viðhald.
Losið um bolta og sjálflæsandi rær sem festa hliðarhlífina við grind götunarhaussins (Mynd 172).

Færið hlífarnar upp eða niður þar til þær eru í 25 til 38 mm hæð frá jörðu.
Herðið skrúfurnar og sjálflæsandi rær.
Endurtakið skref 2 til 4 á hinni hlið vinnuvélarinnar.
Skiptið um allar grassvarðarhlífar ef þær eru brotnar eða minna en 6 mm á þykkt. Brotnar grassvarðarhlífar geta rifið upp grassvörðinn og valdið skemmdum.

Auðvelt er að sjá tímamörk götunarhaussins á ígreyptu merkingunum á leguhúsunum þremur.

Áður en stjórnandinn fer úr sæti sínu skal gera eftirfarandi:
Leggið vinnuvélinni á jafnsléttu.
Togið handfangið upp og festið til að setja stöðuhemilinn á.
Drepið á vélinni og takið lykilinn úr (ef hann er til staðar).
Bíðið þar til hlutir á hreyfingu hafa stöðvast.
Leyfið vinnuvélinni að kólna áður en hún er stillt, þjónustuð, þrifin eða sett í geymslu.
Geymið ekki vinnuvélina eða eldsneytisílát nærri óvörðum loga, neistaflugi eða kveikiloga, á borð við vatnshitara eða önnur heimilistæki.
Hleðsla rafgeymisins myndar sprengifimar lofttegundir.
Aldrei reykja nærri rafgeymi og hann þarf að verja gegn neistaflugi og opnum eldi.
Búið vinnuvélina undir viðhald; sjá Undirbúningur vinnuvélar fyrir viðhald.
Tengið kertavírinn.
Fjarlægið gras, mold og óhreinindi af ytri hluti vinnuvélarinnar, sérstaklega vél og vökvakerfi. Hreinsið mold og hismi af fönum strokkloks vélarinnar og blásturshúsinu.
Skiptið um loftsíuna; frekari upplýsingar eru í Unnið við loftsíuna.
Skiptið um smurolíu; frekari upplýsingar eru í Skipt um smurolíu og síu.
Skiptið um glussasíur og glussa; sjá Skipt um glussa og síur.
Kannið þrýsting í hjólbörðum; sjá Þrýstingur hjólbarða kannaður.
Athugið ástand tindanna.
Ef setja á vélina í geymslu skal fylgja öllum skrefum í Vinnuvélin geymd í minna en 30 daga og eftirfarandi:
Skoðið og herðið alla bolta, rær og skrúfur. Gerið við eða skiptið um skemmda eða slitna hluti.
Skolið og þurrkið vinnuvélina vandlega. Fjarlægið tindana og hreinsið þá og olíuberið. Úðið léttum olíuúða á legur götunarhaussins (tengibúnað startara og dempara).
Important: Vinnuvélina má þrífa með mildu hreinsiefni og vatni. Ekki skal háþrýstiþvo vinnuvélina. Forðist mikla notkun vatns, sérstaklega nærri stjórnborðinu, vélinni, vökvadælunum og mótorunum.
Note: Látið vélina ganga í hröðum lausagangi í tvær til fimm mínútur að loknum þvotti.
Lakkið yfir rispaða eða óvarða málmfleti. Lakk er fáanlegt hjá viðurkenndum dreifingaraðila Toro.
Festið viðhaldsloka ef geyma á vinnuvélina lengur en í tvo daga.
Geymið vinnuvélina í hreinni, þurri vélageymslu eða geymslusvæði. Takið lykilinn úr svissinum og geymið þar sem börn eða óviðkomandi ná ekki til.
Breiðið yfir vinnuvélina til að verja hana og halda hreinni.
Bætið jarðolíublönduðu varðveisluefni/bætiefni fyrir eldsneyti á geyminn. Fylgið leiðbeiningum um blöndun frá framleiðanda varðveisluefnisins. Ekki nota alkóhólblönduð varðveisluefni (etanól eða metanól).
Note: Best er að blanda alltaf varðveisluefni/bætiefni fyrir eldsneyti í ferskt eldsneyti.
Important: Ekki geyma eldsneyti sem inniheldur varðveisluefni/bætiefni lengur en framleiðandi eldsneytisvarðveisluefnisins mælir með.
Látið vélina ganga til að dreifa meðhöndluðu eldsneyti í gegnum eldsneytiskerfið í fimm mínútur.
Drepið á vélinni, bíðið þar til hún kólnar og tappið af eldsneytisgeyminum; sjá Eldsneytisgeymirinn tæmdur.
Gangsetjið vélina og látið hana ganga þar til hún drepur á sér.
Setjið innsogið á. Gangsetjið vélina og látið hana ganga þar til ekki er hægt að gangsetja hana.
Fjarlægið kertin og kannið ástand þess; sjá Viðhald kerta. Eftir að kertin hafa verið tekin úr vélinni skal hella tveimur matskeiðum af smurolíu í hvort kertagatið. Notið startarann til að gangsetja vélina og dreifa olíunni um strokkana. Setjið kertin aftur í. Ekki tengja vírana við kertin.
Note: Fargið eldsneyti á viðeigandi máta. Endurvinnið það samkvæmt gildandi reglum.
Fjarlægið rafgeymaskautin af rafgeymafestingunum og fjarlægið rafgeyminn úr vinnuvélinni.
Hreinsið rafgeyminn og skautin með vírbursta og matarsódalausn.
Berið Grafo 112X-húðunarfeiti (Toro hlutarnúmer 505-47) eða vaselín á kaplaskautin og rafgeymaskautin til að koma í veg fyrir tæringu.
Endurhlaðið rafgeyminn hægt og rólega í sólarhring á 60 daga fresti til að hefta myndun blýsúlfats í rafgeyminum. Gangið úr skugga um að rafgeymirinn sé fullhlaðinn til að koma í veg fyrir að það frjósi á honum. Eðlisþyngd fullhlaðins rafgeymis er 1,265 til 1,299.
Geymið rafgeyminn annaðhvort á hillunni eða vinnuvélinni. Ef rafgeymirinn er geymdur í vinnuvélinni skal hafa kaplana áfram ótengda. Geymið hann í svölu umhverfi til að koma í veg fyrir að hann afhlaðist of hratt.
| Problem | Possible Cause | Corrective Action |
|---|---|---|
| Startarinn gangsetur ekki. |
|
|
| Vélin fer ekki í gang, erfitt er að gangsetja hana eða hún drepur á sér. |
|
|
| Vélin missir afl. |
|
|
| Vélin ofhitnar. |
|
|
| Óeðlilegur titringur er til staðar. |
|
|
| Ekki er hægt að aka vinnuvélinni. |
|
|
| Götunarhausinn keyrir ekki. |
|
|
| Hausinn skoppar við loftun. |
|
|
| Grassvörðurinn rifnar upp við inngöngu. |
|
|
| Tindar með hliðarlosun mynda bungur á holum. |
|
|
| Grassvörðurinn lyftist/rifnar upp við loftun. |
|
|
| Framhluti holunnar er dældaður eða siginn niður. |
|
|