
。いまのうちに番号をメモしておきましょう。| 重要 |
| モデル番号 |
シリアル番号 |

![]() |
危険 | |
![]() |
警告 | |
![]() |
注意 | |
![]() |
警告 | |
| 手順
|
記述称 |
数量
|
用途
|
|---|---|---|---|
| 1
|
部品の要求はありません |
—
|
マシンの準備を行う。
|
| 2
|
ホース—73.7 cm
|
1
|
すすぎタンクの準備を行う
|
| すすぎタンク
|
1
|
||
| 90度フィッティング |
1
|
||
| ホースクランプ |
1
|
||
| リテーナフォーク |
1
|
||
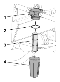
| 3
|
押さえ金具(すすぎタンク)
|
2
|
すすぎタンクを取り付けます。
|
| ボルト(⅜ x 1½") |
2
|
||
| ワッシャ(大)
|
4
|
||
| フランジロックナット(⅜ インチ)
|
2
|
||
| 4
|
部品の要求はありません |
—
|
スプレータンクに穴を開ける。
|
| 5
|
すすぎ用ノズル・アセンブリ |
2
|
すすぎノズルを取り付ける。
|
| バルクヘッドフィッティングアセンブリ |
2
|
||
| 90度フィッティング |
2
|
||
| 6
|
タンクポンプをすすぐ |
1
|
ポンプとフィルターを取り付ける。
|
| ボルト(¼ x 1¾") |
4
|
||
| ワッシャ(小)
|
4
|
||
| 鋸歯状フランジナット |
4
|
||
| バーブ付きストレートフィッティング |
2
|
||
| ホースクランプ |
3
|
||
| フィルタアセンブリ |
1
|
||
| ホースプロテクター |
1
|
||
| ケーブルタイ |
2
|
||
| ポンプカバー |
1
|
||
| 7
|
ホース—61 cm
|
2
|
すすぎタンクホースの取り付け
|
| ホースクランプ |
6
|
||
| T 字フィッティング |
1
|
||
| ホース—180 cm
|
1
|
||
| 8
|
ヒューズ (40 A) |
2
|
リレー、ヒューズ、ダッシュスイッチを取り付ける。
|
| 電源リレー
|
6
|
||
| セルフタッピングボルト(#10)(S/N
420000000以上)
|
1
|
||
| ボルト(#10)(419999999以前)
|
2
|
||
| ロックナット(#10)(S/N
315000000~419999999)
|
2
|
||
| Rクランプ(S/N 315000000~315999999) |
1
|
||
| リレー(5ピン)(S/N 315000000~315999999) |
1
|
||
| ライト付き3ポジションスイッチ(315000000以前)
|
1
|
||
| 3ポジションスイッチ |
1
|
![]() |
注意 | |



| 1
|
ホース—73.7 cm
|
| 1
|
すすぎタンク
|
| 1
|
90度フィッティング |
| 1
|
ホースクランプ |
| 1
|
リテーナフォーク |



| 2
|
押さえ金具(すすぎタンク)
|
| 2
|
ボルト(⅜ x 1½") |
| 4
|
ワッシャ(大)
|
| 2
|
フランジロックナット(⅜")
|


| 重要 |



| 重要 |
| 2
|
すすぎ用ノズル・アセンブリ |
| 2
|
バルクヘッドフィッティングアセンブリ |
| 2
|
90度フィッティング |




| 1
|
タンクポンプをすすぐ |
| 4
|
ボルト(¼ x 1¾") |
| 4
|
ワッシャ(小)
|
| 4
|
鋸歯状フランジナット |
| 2
|
バーブ付きストレートフィッティング |

4本、 小さなワッシャー
4個 、および鋸歯状フランジ
ナット (¼ インチ)
4個を使って、ポンプ
をサドルプレート
に取り付ける。

| 3
|
ホースクランプ |
| 1
|
ホース(20.3 cm)(事前にカット)
|
| 1
|
フィルタアセンブリ |
| 1
|
ホースプロテクター |
| 2
|
ケーブルタイ |



| 1
|
ポンプカバー |

| 2
|
ホース—61 cm
|
| 6
|
ホースクランプ |
| 1
|
T 字フィッティング |
| 1
|
ホース—180 cm
|



| 1
|
ヒューズ(40A) |
| 1
|
電源リレー
|
| 1
|
セルフタッピングボルト(#10) |
を取り付ける。
を使って、電気パネル上の同じスタイルの他のリレーの隣に電源リレー (4 ピン)
を取り付ける。
を見つけて、それを電源リレー (4ピン) に接続する。| シリアル番号315000000~419999999のマシン | |
| 1
|
電源リレー (4 ピン)
|
| 2
|
フランジヘッドボルト(#10-24 x ½ インチ)
|
| 2
|
ロックナット (#10)
|
| シリアル番号315000000~315999999のマシンのみ | |
| 1
|
遅延タイマー |
| 1
|
R クランプ |
| 1
|
リレー(5 ピン)
|
と電気パネルのハードウェアを使って遅延タイマー
を取り付ける。

| 1
|
3ポジションスイッチ(インジケータライト付き - シリアル番号315000000以前のMulti Proマシン)
|
| 1
|
3ポジションスイッチ(インジケータライトなし - シリアル番号316000000以降のMulti Proマシン)
|

| 重要 |


| 重要 |


| 重要 |