การบำรุงรักษา
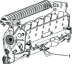
การหนุนชุดตัดหญ้า
เมื่อใดก็ตามที่ต้องเอียงชุดตัดหญ้าเพื่อดูใบมีดล่าง/ใบมีดพวง ให้ค้ำส่วนท้ายของชุดตัดหญ้าด้วยขาตั้ง (ให้มาพร้อมกับรถตัดหญ้า) เพื่อป้องกันไม่ให้น็อตบนปลายด้านหลังของสกรูปรับเบดบาร์ไม่วางอยู่บนพื้น (รูป 21)

การหล่อลื่นชุดตัดหญ้า
หล่อลื่นจุดอัดจาระบีทั้ง 5 จุดของชุดตัดหญ้าแต่ละชุดเป็นประจำ (รูป 22) ด้วยจาระบีลิเธียมหมายเลข 2
มีจุดหล่อลื่น 2 จุดบนลูกกลิ้งด้านหน้า 2 จุดบนลูกกลิ้งด้านหลัง และอีก 1 จุดที่สปลายน์ของมอเตอร์ใบมีดพวง
Note: การหล่อลื่นชุดตัดหญ้าทันทีหลังจากการล้างช่วยไล่น้ำออกจากแบริ่งและเพิ่มอายุการใช้งานของแบริ่ง
-
เช็ดจุดอัดจาระบีแต่ละจุดด้วยผ้าสะอาด
-
อัดจาระบีจนกว่าจาระบีที่สะอาดจะไหลออกมาจากซีลลูกกลิ้งและวาล์วระบายของแบริ่ง
-
เช็ดจาระบีส่วนเกินออก

ข้อมูลจำเพาะของใบมีดล่าง
การซ่อมบำรุงใบมีดล่าง
การถอดชุดเบดบาร์/ใบมีดล่าง
-
หมุนสกรูปรับเบดบาร์ทวนเข็มนาฬิกาเพื่อให้ใบมีดล่างถอยห่างจากใบมีดพวง (รูป 23)

-
ขันน็อตปรับสปริง จนกระทั่งแหวนไม่ได้ดันเบดบาร์อีกต่อไป (รูป 23)
-
คลายน็อตแบบสวมทับที่ยึดสลักเบดบาร์ที่แต่ละด้านของอุปกรณ์ (รูป 24)

-
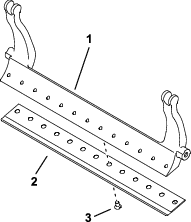
ถอดสลักเบดบาร์แต่ละตัว ซึ่งจะทำให้สามารถดึงเบดบาร์ลงมาและถอดออกจากอุปกรณ์ได้ (รูป 24) เตรียมแหวนไนลอน 2 อันและแหวนเหล็ก 1 อันที่ปลายแต่ละด้านของเบดบาร์ (รูป 25)

-
ถอดใบมีดล่างออกจากเบดบาร์โดยขันสกรูที่ใช้ยึดใบมีดล่างออกทั้งหมด ใช้ประแจบล็อกร่วมกับเครื่องมือขันสกรูใบมีดล่าง (หมายเลขอะไหล่ TOR510880)
Note: คุณสามารถใช้บล็อกกระแทกแบบกลไกหรือแบบแรงดันลมในการขันสกรูใบมีดล่างได้
Note: ทิ้งใบมีดล่างและสกรูของเดิม
การติดตั้งใบมีดล่างอันใหม่
-
เลือกใบมีดล่างอันใหม่ตามตารางเลือกความสูงในการตัดและใบมีดล่าง
-
ขจัดสนิม ตะกรัน และการสึกหรอออกจากพื้นผิวของเบดบาร์และทาน้ำมันบางๆ บนผิวของเบดบาร์
Important: อย่าแกะเนื้อโลหะหล่อที่ติดมากับเบดบาร์ เบดบาร์ออกแบบมาให้เว้าตรงกลาง ห้ามเจียรเบดบาร์
-
ทำความสะอาดเกลียวในเบดบาร์
-
ทาน้ำยากันเกลียวยึดที่สกรูของเบดบาร์อันใหม่ และติดตั้งใบมีดล่างเข้ากับเบดบาร์
Important: ใช้สกรูใบมีดล่างตัวใหม่เท่านั้น
Note: จำนวนสกรูจะแตกต่างกันไป ขึ้นอยู่กับเบดบาร์ที่ใช้

-
ขันสกรูด้านนอก 2 ตัวให้ได้แรงบิด 1 นิวตันเมตร (10 นิ้วปอนด์)
-
เริ่มจากศูนย์กลางของใบมีดล่าง โดยขันสกรูให้ได้แรงบิด 29.8 +/- 1 นิวตันเมตร (22 +/- 1 ฟุตปอนด์)
Important: อย่าขันสกรูใบมีดล่างด้วยบล็อกกระแทกแบบกลไกหรือแบบแรงดันลมจนแน่น

-
เจียรใบมีดล่างอันใหม่ โปรดดู ตารางการซ่อมบำรุงใบมีดล่าง
ตารางการซ่อมบำรุงใบมีดล่าง
ขีดจำกัดการซ่อมบำรุงใบมีดล่างแสดงอยู่ในตารางต่อไปนี้
Important: การใช้งานชุดตัดหญ้าที่มีใบมีดล่างเหลือน้อยกว่าขีดจำกัดการซ่อมบำรุงอาจส่งผลให้ผลลัพธ์หลังจากการตัดออกมาไม่ดี และลดทอนความสมบูรณ์เชิงโครงสร้างของใบมีดล่างในการรองรับแรงกระแทก
| ตารางการซ่อมบำรุงใบมีดล่าง | ||||
| ใบมีดล่าง | หมายเลขอะไหล่ | ความสูงริมใบมีดล่าง | ขีดจำกัดการซ่อมบำรุง* | องศาการเจียรมุมบน/หน้า |
| ความสูงในการตัดต่ำ (อุปกรณ์เสริม) | 147-1248 (27 นิ้ว) | 5.6 มม. | 4.8 มม. | 10/5° |
| 147-1252 (32 นิ้ว) | (0.220 นิ้ว) | (0.190 นิ้ว) | ||
| EdgeMax®(อุปกรณ์เสริม) | 137-6095 (27 นิ้ว) | 6.9 มม. | 4.8 มม. | 10/5° |
| (0.270 นิ้ว) | (0.190 นิ้ว) | |||
| มาตรฐาน (การผลิต) | 147-1249 (รุ่น 03721/22, 27 นิ้ว) | 6.9 มม. | 4.8 มม. | 10/5° |
| 147-1253 (รุ่น 03727, 32 นิ้ว) | (0.270 นิ้ว) | (0.190 นิ้ว) | ||
| สำหรับงานหนัก (อุปกรณ์เสริม) | 147-1250 (27 นิ้ว) | 9.3 มม. | 4.8 มม. | 10/5° |
| 147-1254 (32 นิ้ว) | (0.370 นิ้ว) | (0.190 นิ้ว) | ||

Note: ค่าขีดจำกัดการซ่อมบำรุงใบมีดล่างทั้งหมดสัมพันธ์กับด้านล่างของใบมีดล่าง (รูป 29)

การตรวจสอบมุมเจียรด้านบน
มุมที่คุณใช้เจียรใบมีดล่างเป็นสิ่งสำคัญมาก
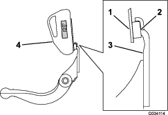
ใช้เครื่องมือวัดมุม (หมายเลขอะไหล่ Toro 131-6828) และที่ยึดเครื่องมือวัดมุม (หมายเลขอะไหล่ Toro 131-6829) เพื่อตรวจสอบมุมที่เครื่องเจียรสร้าง จากนั้นแก้ไขความไม่ถูกต้องที่เกิดขึ้น
-
วางเครื่องมือวัดมุมที่ด้านล่างของใบมีดล่างตามที่แสดงใน รูป 30

-
กดปุ่ม Alt Zero บนเครื่องมือวัดมุม
-
วางที่ยึดเครื่องมือวัดมุมบนขอบใบมีดล่าง เพื่อให้ขอบของแม่เหล็กตรงกับขอบใบมีดล่าง (รูป 31)
Note: หน้าจอดิจิทัลควรมองเห็นได้จากด้านเดียวกันในระหว่างขั้นตอนนี้ เช่นเดียวกันในขั้นตอน 1

-
วางเครื่องมือวัดมุมบนที่ยึดตามที่แสดงใน รูป 31
Note: นี่คือมุมที่เครื่องเจียรสร้างขึ้น และควรอยู่ภายในช่วง 2 องศาของมุมเจียรด้านบนที่แนะนำ
การติดตั้งชุดเบดบาร์/ใบมีดล่าง
-
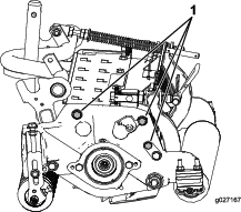
ติดตั้งชุดเบดบาร์/ใบมีดล่าง ขยับหูยึดไว้ระหว่างแหวนกับสกรูปรับเบดบาร์
Important: จัดตำแหน่งให้ตัวปรับ DPA อยู่ตรงกลางในหูเบดบาร์ ดังแสดงใน รูป 32หากตัวปรับ DPA ติดตั้งชิดกับหูเบดบาร์ อาจจะทำให้ใบมีดล่างกับใบมีดพวงสัมผัสกันไม่ถูกต้อง

-
ยึดเบดบาร์ไว้กับแผ่นข้างแต่ละด้านด้วยสลักเบดบาร์ (น็อตบนสลัก) และแหวนรอง 3 วง (รวมทั้งหมด 6 ตัว)
-
วางแหวนไนลอนไว้บนแต่ละด้านของแผ่นข้าง วางแหวนเหล็กไว้ด้านนอกแหวนไนลอนแต่ละอัน (รูป 25)
-
ขันสลักเบดบาร์จนได้แรงบิด 37 ถึง 45 นิวตันเมตร (27 ถึง 33 ฟุตปอนด์)
-
ค่อยขันน็อตล็อกเบดบาร์จนกระทั่งแหวนเหล็กด้านนอกหมุนด้วยมือได้
Important: อย่าขันน็อตล็อกแน่นเกินไป มิฉะนั้นจะทำให้แผ่นข้างสะบัดได้
Note: แหวนไนลอนที่อยู่ระหว่างใบมีดล่างกับแผงข้างจะมีช่องว่างเล็ก ๆ อยู่
-
ขันน็อตปรับความตึงสปริงจนกว่าสปริงจะหด จากนั้นถอยกลับ 1/2 รอบ (รูป 33)

ข้อมูลจำเพาะสำหรับใบมีดพวง
การเจียรมุมหลบใบมีดพวง
ใบมีดพวงใหม่มีความกว้างบ่า 1.3 ถึง 1.5 มม. (0.050 ถึง 0.060 นิ้ว) และและมีมุมหลบการเจียร 30 องศา
เมื่อความกว้างบ่าขยายกว้างกว่า 3 มม. (0.120 นิ้ว) ให้ดำเนินการดังนี้:
-
เจียรมุมหลบ 30 องศาบนใบมีดพวงทั้งหมดจนความกว้างบ่าคือ 1.3 มม. (0.050 นิ้ว) (รูป 34)

-
เจียรใบมีดพวงจนกร่อนเข้าไปน้อยกว่า 0.025 มม. (0.001 นิ้ว)
Note: วิธีนี้จะทำให้ความกว้างบ่าขยายขึ้นเล็กน้อย
Note: เพื่อให้ขอบของใบมีดพวงและใบมีดล่างคมได้นานขึ้น หลังจากเจียรใบมีดพวงและ/หรือใบมีดล่าง ให้ตรวจสอบจุดสัมผัสใบมีดพวงกับใบมีดล่างอีกครั้งหลังจากการตัดแฟร์เวย์ 2 สนาม เนื่องจากรอยขีดใดๆ จะถูกขจัดออกไป ซึ่งจะทำให้เกิดระยะห่างที่ไม่เหมาะสมระหว่างใบมีดพวงกับใบมีดล่าง และทำให้เกิดการสึกหรอเร็วขึ้น
-
ใช้สายวัดเส้นผ่านศูนย์กลางวัดเส้นผ่านศูนย์กลางด้านนอกของใบมีดพวงบริเวณปลายทั้งสองด้าน (รูป 35) ส่วนต่างของเส้นผ่านศูนย์กลางของปลายทางสองด้านควรน้อยกว่า 0.250 มม. 0.010 นิ้ว หากส่วนต่างเกินกว่านี้ ให้ทำการเจียรใบมีดพวงเพื่อแก้ไขขนาด
Note: สายวัดเส้นผ่านศูนย์กลางด้านนอกสั่งซื้อได้จากตัวแทนจำหน่ายของ Toro ที่ได้รับอนุญาต

การซ่อมบำรุงตัวปรับ HD Dual Point (DPA)
-
ถอดชิ้นส่วนทั้งหมด (โปรดดูคำแนะนำในการติดตั้งสำหรับชุด HD DPA และ รูป 36)
-
ทาสารกันติดที่ด้านในบริเวณบุชชิงบนโครงกลางของชุดตัดหญ้า (รูป 36)
-
เรียงขีดบนบุชชิ่งติดจานเข้ากับช่องในโครงและติดตั้งบุชชิ่ง (รูป 36)
-
ติดตั้งแหวนคลื่นลงบนเพลาตัวปรับ และเลื่อนเพลาตัวปรับเข้าไปในบุชชิ่งติดจานในโครงของชุดตัดหญ้า (รูป 36)
-
ยึดเพลาตัวปรับด้วยแหวนแบนและน็อตล็อก (รูป 36)
-
ขันน็อตล็อกจนได้แรงบิด 20 ถึง 27 นิวตันเมตร (15 ถึง 20 ฟุตปอนด์)
Note: เพลาตัวปรับเบดบาร์มีเกลียวที่หมุนไปทางซ้าย

-
ทาสารกันติดที่เกลียวของสกรูปรับเบดบาร์ที่ติดตั้งเข้าไปในเพลาตัวปรับ
-
ขันสกรูปรับเบดบาร์เข้าไปในเพลาตัวปรับ
-
ติดตั้งแหวนแข็ง สปริง และน็อตปรับสปริงลงบนสกรูตัวปรับหลวม ๆ
-
ติดตั้งเบดบาร์ ขยับหูจับที่อยู่ระหว่างแหวนกับตัวปรับเบดบาร์
-
ยึดเบดบาร์ไว้กับแผ่นข้างแต่ละแผ่นด้วยสลักเบดบาร์ (น็อตบนสลัก) และแหวนรอง 6 อัน
Note: วางแหวนไนลอนไว้บนแต่ละด้านของแผ่นข้าง
-
วางแหวนเหล็กไว้ด้านนอกแหวนไนลอนแต่ละอัน (รูป 36)
-
ขันสลักเบดบาร์จนได้แรงบิด 37 ถึง 45 นิวตันเมตร (27 ถึง 33 ฟุตปอนด์)
-
ขันน็อตล็อกจนกว่าแหวนเหล็กด้านนอกหยุดหมุน และไม่มีการหมุนที่ปลาย แต่อย่าขันแน่นเกินไป หรือทำให้แผงข้างเบี่ยงออก
Note: แหวนที่ด้านในอาจมีช่องว่าง (รูป 36)
-
ขันน็อตบนตัวปรับเบดบาร์แต่ละชุดจนกว่าสปริงอัดจะหดจนสุด จากนั้นคลายน็อต 1/2 รอบ (รูป 36)
-
ทำซ้ำขั้นตอนเดียวกันนี้ที่อีกด้านของชุดตัดหญ้า
-
ปรับใบมีดล่างเข้ากับใบมีดพวง โปรดดู การปรับใบมีดล่างเข้ากับใบมีดพวง
การซ่อมบำรุงลูกกลิ้ง
ชุดซ่อมลูกกลิ้ง (หมายเลขอะไหล่ 114-5430) และชุดเครื่องมือซ่อมลูกกลิ้ง (หมายเลขอะไหล่ 115-0803) (รูป 37) มีจัดจำหน่ายสำหรับการซ่อมบำรุงลูกกลิ้ง ชุดซ่อมลูกกลิ้งมาพร้อมแบริ่ง น็อตแบริ่ง ซีลด้านใน และซีลด้านนอกครบชุดสำหรับการซ่อมบำรุงลูกกลิ้ง ชุดเครื่องมือซ่อมลูกกลิ้งมาพร้อมเครื่องมือทั้งหมดและคำแนะนำในการติดตั้งที่จำเป็นสำหรับการซ่อมลูกกลิ้งด้วยชุดซ่อมลูกกลิ้ง โปรดดูแคตตาล็อกอะไหล่หรือติดต่อตัวแทนจำหน่ายที่ได้รับอนุญาตของ Toro เพื่อขอคำแนะนำ



ได้แก่ ข้อควรระวัง คำเตือน
หรืออันตราย ซึ่งเป็นคำแนะนำเพื่อความปลอดภัยส่วนบุคคล การไม่ปฏิบัติตามคำแนะนำเหล่านี้อาจส่งผลให้บาดเจ็บหรือเสียชีวิตได้
















