| Tíðni viðhaldsþjónustu | Viðhaldsferli |
|---|---|
| Fyrir hverja notkun eða daglega |
|
Þessi vinnubíll er aðallega ætlaður til notkunar utan vega við flutning fólks og efnis. Notkun þessarar vöru við annað en tilætlaða notkun getur skapað hættu fyrir stjórnanda og nærstadda.
Lesið þessar upplýsingar vandlega til að læra að stjórna og sinna réttu viðhaldi á vörunni og til að koma í veg fyrir meiðsl og skemmdir á vörunni. Eigandi ber ábyrgð á réttri og öruggri notkun vörunnar.
Á www.Toro.com er að finna kennsluefni tengt öryggi og notkun vörunnar, upplýsingar um aukabúnað, upplýsingar um söluaðila og vöruskráningu.
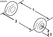
Þegar þörf er á þjónustu, varahlutum frá Toro eða frekari upplýsingum skal hafa samband við viðurkenndan þjónustu- og dreifingaraðila eða þjónustuver Toro og hafa tegundar- og raðnúmer vörunnar við höndina. Mynd 1 sýnir hvar tegundar- og raðnúmerin eru á vörunni. Skrifið númerin í kassann hér á síðunni.
Important: Hægt er nálgast upplýsingar um ábyrgð, varahluti og aðrar vöruupplýsingar með því að skanna QR-kóðann á raðnúmersmerkingunni (ef hann er til staðar) með fartæki.

Þessi handbók notar 2 orð til að auðkenna upplýsingar. Mikilvægtvekur athygli á sérstökum vélrænum upplýsingum og Athugiðundirstrikar almennar upplýsingar sem vert er að lesa vandlega.
Öryggistáknið (Mynd 2) kemur bæði fyrir í þessari handbók og á vinnubílnum og er ætlað að auðkenna mikilvægar öryggisupplýsingar sem taka þarf mið af til að forðast slys. Þetta tákn birtist ásamt orðinu Hætta, Viðvörun eða Varúð.
Hætta gefur til kynna yfirvofandi hættulegar aðstæður sem valda dauða eða alvarlegum meiðslum ef ekki er komið í veg fyrir þær.
Viðvörun gefur til kynna hugsanlega hættu sem gæti valdið dauða eða alvarlegum meiðslum ef ekki er komið í veg fyrir hana.
Varúð gefur til kynna hugsanlega hættu sem getur valdið minni háttar eða alvarlegri meiðslum ef ekki er komið í veg fyrir hana.

Þessi vara uppfyllir allar viðeigandi evrópskar reglugerðir; frekari upplýsingar er að finna á aðskildu samræmisyfirlýsingarskjali vörunnar.
Notkun vélarinnar á skógivaxið, runnavaxið eða grasivaxið landsvæði telst brjóta í bága við almenningsauðlindalöggjöf Kaliforníu, hluta 4442 eða 4443, nema vélin sé búin neistavara, samkvæmt skilgreiningu í hluta 4442, henni sé haldið í góðu vinnuástandi eða hún hefur verið byggð, útbúin og viðhaldið þannig að komið sé í veg fyrir eldsvoða.
Meðfylgjandi notendahandbók vélarinnar inniheldur upplýsingar um Umhverfisverndarstofnun Bandaríkjanna (EPA) og útblástursreglugerð Kaliforníu fyrir útblásturskerfi, viðhald þeirra og ábyrgð. Hægt er að panta varahluti hjá framleiðanda vélarinnar.
Ef þessi vinnuvél er búin fjarskiptabúnaði skaltu hafa samband við viðurkenndan Toro dreifingaraðila til að fá leiðbeiningar um að virkja tækið.
KALIFORNÍA
Viðvörun, tillaga 65
Rafmagnssnúran fyrir þessa vöru inniheldur blý, sem er efni sem Kaliforníuríki er kunnugt um að geti valdið fæðingargöllum eða öðrum æxlunarskaða. Þvoið hendur eftir meðhöndlun.
Rafgeymaskaut og tengihlutir innihalda blý og blýsambönd, efni sem Kaliforníuríki er kunnugt um að geti valdið krabbameini og æxlunarskaða. Þvoið hendur eftir meðhöndlun.
Notkun á þessari vöru getur valdið snertingu við efni sem Kaliforníuríki er kunnugt um að geti valdið krabbameini og fæðingargöllum eða öðrum æxlunarskaða.
Þessi vara getur valdið meiðslum á fólki eða dauða. Fylgið alltaf öryggisleiðbeiningum til að koma í veg fyrir meiðsl á fólki.
Óviðeigandi notkun, viðhald eða léleg umhirða vinnubílsins getur valdið því að hún verði óstöðug; aðrir þættir eru meðal annars landslag, halli, hraði og léleg dómgreind stjórnanda.
Lesið til hlítar efni þessarar notendahandbókar áður en vinnubíllinn er tekinn í notkun. Gangið úr skugga um að allir sem nota vinnubílinn kunni að nota hann og skilji viðvaranirnar.
Sýnið árvekni á meðan unnið er á vinnubílnum. Ekki gera neitt sem veldur truflun; slíkt kann að leiða meiðsla eða eignatjóns.
Ekki setja hendur eða fætur nærri íhlutum á hreyfingu.
Notið ekki vinnubílinn án þess að allar hlífar og annar öryggisbúnaður sé til staðar og í góðu lagi.
Haldið nærstöddum og börnum utan vinnusvæðisins. Aldrei skal leyfa börnum að vinna á vinnubílnum.
Stöðvið vinnubílinn, drepið á honum og fjarlægið lykilinn áður en viðhaldi er sinnt.
Röng notkun eða viðhald þessarar
vinnuvélar getur leitt til meiðsla. Til að draga úr
slysahættu skal fara eftir þessum öryggisleiðbeiningum
og vera ávallt vakandi fyrir öryggistákninu
, sem merkir Aðgát,
Viðvörun eða Hætta – öryggisleiðbeiningar.
Ef ekki er farið eftir þessum leiðbeiningum er hætta
á meiðslum á fólki eða dauða.
![]() |
Öryggismerkingar og leiðbeiningar sjást greinilega og eru hjá öllum svæðum þar sem möguleg hætta er til staðar. Skiptið um skemmdar eða týndar merkingar. |
















Hlutar sem þarf fyrir þetta verk:
| Stýri | 1 |
| Lásró | 1 |
| Stýrishlíf | 1 |
| Skrúfa | 3 |
Setjið stýrið á stýrisskaftið.
Tryggið að stýrið sé miðjað (þ.e. flati botninn sé samsíða gólfinu).
Notið lásróna til að festa stýrið við stýrisskaftið.
Herðið lásróna í 27 N∙m (20 ft-lb).

Notið þrjár skrúfur til að festa hlífina á stýrið.
Herðið skrúfurnar þrjár í 0,6 N∙m (5 in-lb).

Hlaðið vinnubílinn; sjá Virkni Li-ion hleðslutækis.
Athugið bremsuvökvamagnið áður en vinnubílinn er ræstur í fyrsta skipti; sjá Athugun á hæð hemlavökvans.
Athugið gírkassavökvamagnið áður en vinnubílinn er ræstur í fyrsta skipti; sjá Athugun á hæð vökva í sambyggðum gírkassa og drifi.
Kannið loftþrýsting í hjólbörðum; sjá Þrýstingur hjólbarða kannaður.
Slípið (keyrið til) hemlana fyrir notkun til að tryggja hámarksvirkni hemlakerfisins.
Akið vinnubílnum eins hratt og hægt er og hemlið svo hratt án þess að læsa hemlunum.
Endurtakið þetta tíu sinnum, með einnar mínútu hléum, til að koma í veg fyrir að hemlarnir ofhitni.
Important: Þetta ferli skilar bestum árangri ef vinnubíllinn ber 227 kg farm.
Hlutar sem þarf fyrir þetta verk:
| Notendahandbók | 1 |
| Skráningarskírteini | 1 |
| Fylgiskjal vegna skoðunar fyrir afhendingu | 1 |
| Gæðavottorð | 1 |
| Hnappur | 2 |
Lesið notendahandbókina.
Fyllið út skráningarskírteinið.
Ljúkið við fylgiskjal vegna skoðunar fyrir afhendingu.
Farið yfir gæðavottorðið.



Notið inngjafarfótstigið (Mynd 7) til að stjórna aksturshraða vinnubílsins. Stígið á inngjafarfótstigið til að gangsetja vinnubílinn. Aksturshraðinn eykst eftir því sem stigið er fastar á fótstigið. Vinnubíllinn hægir á sér um leið og stigið er af fótstiginu og síðan drepur vinnubíllinn á sér.
Hámarkshraði áfram í afkastastillingu er 26 km/klst. eins og sýnt er á Mynd 18.
Hámarkshraði áfram í sparnaðarstillingu er 19 km/klst. eins og sýnt er á Mynd 18.
Notið hemlafótstigið til að stöðva eða hægja á vinnubílnum.
Að nota vinnubíl með slitnum eða rangt stilltum hemlum getur valdið meiðslum á fólki.
Ef hemlafótstigið fer innan við 25 mm frá gólfi vinnubílsins skal stilla eða gera við hemlana.
Stöðuhemilsstöngin er á mælaborðinu (Mynd 7).
Setjið alltaf stöðuhemilinn á þegar drepið er á vélinni til að koma í veg fyrir að vinnubíllinn hreyfist úr stað fyrir slysni. Ef vinnubílnum er lagt í miklum halla skal gæta þess að setja stöðuhemilinn á.
Togið stöðuhemilsstöngina í átt að stjórnanda til að setja stöðuhemilinn á (Mynd 8).

Til að taka stöðuhemilinn af skal ýta á hnappinn efst á stöðuhemilsstönginni, toga stöðuhemiulsstöngina í átt að stjórnanda til að losa um þrýsting og ýta stöðuhemilsstönginni því næst fram (Mynd 9).

Stefnustöngin er vinstra megin við stöðuhemilsstöngina. Stefnustöngin hefur tvær stöður: ÁFRAM ogAFTURáBAK (Mynd 7).
Important: Stöðvið ávallt vinnubílinn áður en skipt er um akstursstefnu.
Flauturofinn er á stjórnborðinu (Mynd 7). Ýtið á flauturofann til að flauta.
Notið ljósarofann (Mynd 7) til að kveikja á aðalljósunum. Ýtið ljósarofanum upp til að kveikja á aðalljósunum. Ýtið ljósarofanum niður til að slökkva á aðalljósunum.
Notið USB-tengið (Mynd 7) til að knýja fartæki.
Important: Þegar ekki er verið að nota USB-tengið skal setja gúmmítappann í til að koma í veg fyrir skemmdir á tenginu.
Notið svissinn (Mynd 7) til að gangsetja vinnubílinn og drepa á honum.
Svissinn er hægt að setja í tvær stöður: Á og AF. Svissið Á til að nota vinnubílinn. Eftir að vinnubíllinn hefur verið stöðvaður skal snúa lyklinum rangsælis til að svissa AF og drepa á bílnum. Fjarlægið ávallt lykilinn þegar gengið er frá vinnubílnum.
Skjárinn birtir upplýsingar um vinnubílinn, á borð við vinnslustöðu, ýmsar greiningar og aðrar upplýsingar um vinnubílinn (Mynd 10).

Skjárinn sýnir upphafsskjá, akstursskjá og hleðsluskjá (Mynd 11, Mynd 12 og Mynd 13).
Mynd 12 er sýnishorn af því sem kann að sjást skjánum þegar unnið er á vinnubílnum. Upphafsskjámyndin opnast í nokkrar sekúndur eftir að svissað er Á og áður en akstursskjárinn opnast.



Akstursskjárinn ásamt stöðustefnu (Mynd 14) birtist þegar skipt er um akstursátt.

Akstursskjárinn ásamt núverandi aksturshraða vinnubílsins (Mynd 15) birtist þegar honum er ekið.

Virkur bilunarkóði (Mynd 16) birtist á skjánum ef vandamál kemur upp í vinnubílnum.

Þegar vísirinn fyrir kalda rafhlöðu (Mynd 17) birtist breytast afköst tækisins þar til hitastig rafhlöðunnar er yfir 0 °C.

![]() | Stefna—FRAMGíR |
![]() | Stefna—BAKKGíR |
![]() | Stöðuhemill er á. |
![]() | Vinnustundamælir |
![]() | Rafhlöðuspenna |
![]() | Hleðslustig rafhlöðu |
![]() |
Rafhlaðan er í hleðslu |
![]() |
Viðvörun um litla hleðslu á rafhlöðu |
![]() | Kveikt er á Eco-stillingu. |
![]() | Virk bilun |
![]() | Vísir fyrir heita rafhlöðu—hitastig rafhlöðu er hærra en 67 °C |
![]() | Vísir fyrir heita rafhlöðu—hitastig rafhlöðu er lægra en 0 °C |
Hraðaeftirlitsrofinn er undir sætissamstæðunni og hefur tvær stillingar: AFKASTASTILLINGU og SPARNAðARSTILLINGU. Snúið rofanum réttsælis á SPARNAðARSTILLINGUNA til að takmarka aksturshraða vinnubílsins við 19 km/klst. Snúið rofanum rangsælis á AFKASTASTILLINGUNA til að endurstilla hámarkshraða vinnubílsins á 26 km/klst. eins og sýnt er á Mynd 18.

Handföng fyrir farþega eru staðsett á hverju sæti að utanverðu (Mynd 19).

Note: Tæknilýsingar og hönnun geta breyst án fyrirvara.
| Grunnþyngd | 445 kg |
| Uppgefin afkastageta (á sléttu undirlagi) | 544 kg samtals, eða ásamt stjórnanda vinnubíls sem er 91 kg og farþega sem er 91 kg, hlassi, aukabúnaði og tengitækjum |
| Hámarksheildarþyngd ökutækisins (GVW) – á sléttu undirlagi | 988 kg samtals, þar með taldar allar þyngdir sem taldar eru upp hér að ofan |
| Hámarks burðargeta fyrir farm (á sléttu undirlagi) | 363 kg samtals, þ.m.t. aukabúnaði sem er festur að aftan |
| Hámarkshleðsla festinga fyrir aukabúnað á palli að aftan | 45 kg alls |
| Dráttargeta | Þyngd á krók: 91 kg |
| Hámarksþyngd eftirvagns (GTW): 680 kg | |
| Heildarbreidd | 119 cm |
| Heildarlengd | 302 cm |
| Heildarhæð | 127,5 cm |
| Fríbil frá jörðu | 21,6 cm að framan, án farms og stjórnanda |
| 14 cm að aftan, án farms og stjórnanda | |
| Hjólhaf | 220 cm |
| Sporvídd (miðlína að miðlínu) | Að framan: 119 cm |
| Að aftan: 119 cm | |
| Lengd palls | Að innanverðu: 102 cm |
| Að utanverðu: 114,3 cm | |
| Breidd palls | Að innan: 98 cm |
| Á formmótuðu stuðurunum að utanverðu: 107,3 cm | |
| Hæð palls | 28 cm að innanverðu |
Úrval tengitækja og aukabúnaðar sem Toro samþykkir er í boði fyrir vinnuvélina til að auka við afkastagetu hennar. Hafið samband við viðurkenndan þjónustu- og söluaðila eða dreifingaraðila Toro eða farið á www.Toro.com þar sem finna má lista yfir öll samþykkt tengitæki og aukabúnað.
Notið eingöngu varahluti og aukabúnað frá Toro til að tryggja hámarksafköst og áframhaldandi öryggisvottun vinnuvélarinnar. Varahlutir og aukabúnaður frá öðrum framleiðendum geta reynst hættulegir og notkun þeirra kann að fella ábyrgðina úr gildi.
Note: Verklagið í þessum kafla sýnir vinnubíl með plastpall og körfusæti. Upplýsingar um verklag fyrir tengibúnað af annarri gerð er að finna í notkunarkafla (ef slíkt á við) leiðbeininga um uppsetningu. Farið á www.Toro.com til að fá leiðbeiningar eða skannið inn QR-kóða tengitækisins (þegar slíkt á við).
Aldrei leyfa börnum eða fólki, sem ekki hefur til þess þjálfun eða líkamlega getu, að vinna á eða við vinnubílinn. Gildandi reglur á hverjum stað kunna að setja takmörk við aldur stjórnanda. Eigandinn ber ábyrgð á að þjálfa stjórnendur og vélvirkja.
Kynnið ykkur örugga notkun búnaðarins, stjórntækjanna og öryggismerkinganna.
Drepið á vélinni, takið lykilinn úr og bíðið þar til allir hlutar hafa stöðvast áður en farið er úr ökumannssætinu. Leyfið vinnubílnum að kólna áður en hann er stilltur, þjónustaður, þrifinn eða settur í geymslu.
Lærið að stöðva vinnubílinn og drepa á honum á skjótan máta.
Tryggið að farþegar (stjórnandi og farþegi) séu ekki fleiri en handföngin á vinnubílnum.
Gangið úr skugga um að allur öryggisbúnaður og merkingar séu á sínum stað. Gerið við eða skiptið um öryggisbúnað og setjið nýjar merkingar í stað þeirra sem eru ólæsilegar eða vantar. Ekki nota vinnubílinn ef þessir hlutir eru ekki til staðar eða virka ekki rétt.
| Tíðni viðhaldsþjónustu | Viðhaldsferli |
|---|---|
| Fyrir hverja notkun eða daglega |
|
Fara skal í gegnum ferli fyrir hverja notkun/daglegt ferli sem lýst er í Gátlisti fyrir daglegt viðhald áður en unnið er á vinnubílnum í upphafi hvers dags.
| Tíðni viðhaldsþjónustu | Viðhaldsferli |
|---|---|
| Fyrir hverja notkun eða daglega |
|
Forskrift loftþrýstings í hjólbörðum afturdekkja: 2,07 bar
Important: Farið ekki yfir hámarksþrýstinginn sem tilgreindur er á annarri hlið hjólbarðans.
Note: Áskilinn loftþrýstingur í hjólbörðum ræðst af farmþunganum sem bílnum er ætlað að bera.
Kannið loftþrýsting í hjólbörðum.
Notið lægri loftþrýsting í hjólbörðum þegar farmþungi er minni, til að minka þjöppun jarðvegar, gera aksturinn jafnari og lágmarka hjólfaramyndun.
Notið hærri loftþrýsting í hjólbörðum þegar ekið er með meiri farmþunga á meiri hraða.
Stillið loftþrýsting í hjólbörðunum, ef þörf krefur, með því að bæta við eða tappa af lofti í hjólbörðunum.

| Tíðni viðhaldsþjónustu | Viðhaldsferli |
|---|---|
| Eftir fyrstu 100 klukkustundirnar |
|
Fylgið leiðbeiningum um tilkeyrslu nýrra vinnubíla til að tryggja fullnægjandi afköst og endingartíma vinnubílsins.
Athugið hæð hemlavökva.
Ekki hemla of skart fyrstu vinnustundirnar við tilkeyrslu vinnubílsins. Hugsanlega skila hemlaklossar ekki hámarksafköstum fyrr en nokkrum vinnustundum eftir notkun eftir tilkeyrslu hemlanna.
Sjá varðandi tíðari skoðanir.
Kannið staðsetningu fjöðrunar að framan og stillið eftir þöfum. Sjá nánar í Stilling hjólastillingar.
Til að hámarka afköst og endingu rafhlöðunnar skal hlaða rafhlöðurnar í 100% þegar vinnubíllinn er móttekinn.
Eigandinn/stjórnandinn getur komið í veg fyrir og ber ábyrgð á slysum sem geta valdið meiðslum á fólki eða eignatjóni.
Farþegar mega eingöngu sitja í þar til ætluðu sæti. Flytjið ekki farþega á pallinum. Haldið nærstöddum og gæludýrum í öruggri fjarlægð frá vinnubílnum meðan á vinnu stendur.
Klæðist viðeigandi klæðnaði, þar á meðal hlífðargleraugum, síðbuxum og sterkum skófatnaði með skrikvörn. Takið sítt hár í tagl og ekki klæðast víðum fatnaði eða hangandi skartgripum.
Sýnið árvekni á meðan unnið er á vinnuvélinni. Ekki gera neitt sem veldur truflun; slíkt kann að leiða meiðsla eða eignatjóns.
Notið ekki vinnubílinn veik, þreytt eða undir áhrifum áfengis eða annarra vímuefna.
Ekki fara yfir hámarksheildarþyngd vinnubílsins.
Sýnið sérstaka aðgát við að hemla eða beygja með þungan farm á pallinum.
Mjög fyrirferðarmikill farmur á pallinum dregur úr stöðugleika vinnubílsins. Ekki fara umfram burðargetu pallsins.
Akstur með efni sem ekki er hægt binda niður hefur neikvæð áhrif á stýringu, hemla og stöðugleika vinnubílsins. Sýnið aðgát við stýringu og hemlun þegar ekið er með efni sem ekki er hægt að binda niður.
Akið með léttari farm og á minni hraða þegar ekið er yfir gróft og ójafnt undirlag og nærri köntum, holum og öðrum miklum breytingum á undirlagi. Farmur getur hreyfst til og valdið því að vinnubíllinn verður óstöðugur.
Áður en vinnubíllinn er gangsettur þarf að tryggja að gírskiptingin sé í hlutlausum gír, stöðuhemillinn sé á og að stjórnandinn sitji í sætinu.
Stjórnandi og farþegar skulu sitja í sæti sínu þegar vinnubíllinn er á ferð. Haldið höndum á stýri; farþegar skulu nota þar til gerð handföng. Haldið handleggjum og fótleggjum öllum stundum innan bíls.
Vinnið eingöngu á vinnubílnum með góða yfirsýn. Verið vakandi fyrir holum, skorningum, ójöfnum, grjóti eða öðrum huldum hlutum. Óslétt undirlag getur valdið því að vinnubíllinn velti. Hátt gras getur hulið hindranir. Sýnið aðgát þegar komið er að blindhornum, runnum, trjám eða öðrum hlutum sem kunna að takmarka útsýnið.
Ekki aka vinnubílnum nálægt háum bökkum, skurðum og vegköntum. Vinnubíllinn getur oltið mjög skyndilega ef hjól fer fram af brúninni eða bakkinn gefur eftir.
Verið alltaf vakandi fyrir og forðist hindranir fyrir ofan bílinn, svo sem trjágreinar, dyrastafi, göngubrýr o.s.frv.
Lítið aftur fyrir og niður áður en bakkað er til að tryggja að leiðin sé greið.
Þegar vinnubílnum er ekið á vegum skal fylgja umferðarreglum og nota allan viðbótarbúnað sem lög kunna að krefjast, svo sem ljós, stefnuljós, merki um hægfara ökutæki og annað sem krafist ef.
Ef vinnubíllinn titrar óeðlilega mikið skal stöðva vinnubílinn og drepa á honum tafarlaust. Bíðið þar til hlutir á hreyfingu hafa stöðvast og leitið eftir skemmdum. Gerið við skemmdir áður en vinna hefst.
Stöðvunartími vinnubílsins kann að vera lengri á blautu undirlagi en á þurru undirlagi. Hægt er að þurrka blauta hemla með því að aka hægt á jafnsléttu og stíga um leið létt á hemlafótstigið.
Við nauðhemlun á miklum hraða er hætta á að afturdekkin læsist. Slíkt skerðir stjórn á vinnubílnum.
Ekki snerta vélina á meðan hún er í gangi eða stuttu eftir að drepið er á vélinni þar sem hitastig þessara svæða getur valdið brunasárum.
Ekki skilja vinnubílinn eftir í gangi.
Áður en svæði stjórnanda er yfirgefið skal gera eftirfarandi:
Leggið vinnubílnum á jafnsléttu.
Setjið stöðuhemilinn á.
Drepið á vinnuvélinni og takið lykilinn úr.
Bíðið þar til hlutir á hreyfingu hafa stöðvast.
Ekki nota vinnubílinn þegar hætta er á eldingum.
Notið eingöngu aukabúnað og tengitæki sem samþykktur er af Toro® Company.
Ekki fara yfir hámarksheildarþyngd vinnubílsins. Gera þarf ráð fyrir stjórnanda, farþegum og farþunga á palli við útreikning hámarksheildarþyngd vinnubílsins.
Farþegar mega eingöngu sitja í þar til ætluðu sæti. Farþegar mega aldrei sitja á farmpallinum.
Stjórnandi og farþegar skulu sitja í sæti sínu þegar vinnubíllinn er á ferð.
Viðbótarlengd vinnubílsins gerir snúningsradíusinn stærri og það þarf því að gera ráð fyrir meira plássi til að færa bílinn til.
Note: Veltigrind með tveimur stoðum er í boði sem aukabúnaður fyrir þennan vinnubíl. Notið veltigrind ef vinna á nærri þverhnípi, vatni, á ósléttri jörð eða í brekku, þar sem hætta er á veltu. Hafið samband við viðurkenndan dreifingaraðila Toro til að fá frekari upplýsingar.
Brekkur valda mikilli hættu á stjórnmissi eða veltu sem leitt getur til alvarlegra meiðsla eða dauða.
Skoðið vinnusvæðið til að ákvarða í hvaða brekkum er hægt að vinna á vinnubílnum og skipuleggið verklag og reglur fyrir vinnu í þeim brekkum. Beitið almennu hyggjuviti og sýnið góða dómgreind við þessa skoðun.
Ef stjórnanda finnst óþægilegt að vinna á vinnubílnum í halla skal viðkomandi sleppa því.
Tryggið að allar hreyfingar í halla séu hægar og jafnar. Breytið hvorki hraða né stefnu vinnubílsins skyndilega.
Forðist að aka vinnubílnum á blautu undirlagi. Hjólbarðar kunna að missa grip. Velta getur átt sér stað áður en hjólbarðar missa grip.
Akið beint upp og niður halla.
Ef vinnubíllinn byrjar að missa hraða á leið upp halla skal stíga hægt á hemlana og bakka svo rólega beint niður hallann.
Hættulegt getur verið að beygja þegar ekið er upp eða niður halla. Ef nauðsynlegt reynist að beygja í halla þarf að gera það rólega og sýna mikla aðgát.
Þungur farmur getur haft áhrif á stöðugleika í halla. Akið með léttari farm og hægar þegar ekið er í halla eða þegar þungamiðja farmsins er há. Festið farminn á pallinn til að koma í veg fyrir að hann hreyfist til. Sýnið sérstaka aðgát við flutning farms sem hreyfist auðveldlega til (t.d. vökva, grjót, sand o.s.frv).
Forðist að taka af stað, stöðva eða beygja í halla, sérstaklega með farm. Lengri tíma tekur að stöðva vinnubílinn þegar ekið er niður halla en þegar stöðvað er á jafnsléttu. Ef stöðva þarf vinnubílinn skal forðast skyndilegar hraðabreytingar. Þær geta valdið hættu á veltu. Ekki hemla skyndilega þegar bíllinn rennur aftur á bak þar sem það veldur hættu á að hann velti aftur fyrir sig.
Ekki skal fara yfir hámarksheildarþyngd vinnubílsins þegar farmur er á pallinum og/eða verið er að draga eftirvagn; sjá Tæknilýsing.
Dreifið farmi jafnt um pallinn til að auka stöðugleika og stjórn vinnubílsins.
Áður en losað er skal ganga úr skugga um að enginn sé fyrir aftan vinnubílinn.
Ekki losa farm af palli á meðan vinnubíllinn stendur þversum í halla. Breytingar á þyngdardreifingu geta skapað hættu á veltu.
Pallur í hæstu stöðu getur dottið niður og valdið meiðslum á fólki sem vinnur undir honum.
Notið ávallt stífu til að halda pallinum uppi þegar unnið er undir honum.
Fjarlægið allt efni af pallinum áður en honum er lyft.
Hætta er á veltu ef ekið er með pallinn uppi. Hætta er á að pallurinn skemmist ef ekið er með hann uppi.
Akið vinnubílnum með pallinn niðri.
Látið pallinn síga eftir að hann hefur verið tæmdur.
Ef farmur er aftarlega á pallinum þegar klinkurnar eru losaðar er hætta á að pallurinn sturti óvænt og valdi meiðslum á nærstöddum.
Reynið að hafa farm á miðjum pallinum, ef því er við komið.
Haldið pallinum niðri og tryggið að enginn halli sér yfir pallinn eða standi fyrir aftan hann þegar klinkurnar eru losaðar.
Fjarlægið allan farm af pallinum áður en honum er lyft vegna viðhaldsvinnu.
Pallurinn getur verið þungur. Hendur og aðrir líkamshlutar geta kramist.
Haldið höndum og öðrum líkamshlutum í öruggri fjarlægð þegar pallurinn er látinn síga niður.
Ef verið var að afferma laust efni, svo sem sand, hleðslusteina eða viðarkurl, af palli vinnubílsins er hugsanlegt að eitthvað af því efni hafi safnast fyrir á svæðinu í kringum lamir afturhlerans. Áður en afturhleranum er lokað skal gera eftirfarandi.
Notið hendurnar til að fjarlægja sem allra mest af lausu efni af svæðinu í kringum lamirnar.
Snúið afturhleranum í um það bil 45° horn (Mynd 24).

Snúið afturhleranum fram og til baka nokkrum sinnum með stuttum hristihreyfingum (Mynd 24).
Note: Við það losnar efnið sem kann að hafa safnast fyrir á svæðinu í kringum lamirnar.
Látið afturhlerann síga og kannið hvort eitthvað laust efni er enn á svæðinu í kringum lamirnar.
Endurtakið skref 1 til og með 4þar til allt efni hefur verið fjarlægt af svæðinu í kringum lamirnar.
Snúið afturhleranum í hring upp á við og lyftið afturhleranum upp í grópirnar á pallinum.
Skoðið hleðslustig rafhlöðu á skjánum; sjá Skjámynd.
Ef rafhlöðustaðan verður of lág (þ.e. undir 10%) birtist tákn um lága rafhlöðu á skjánum. Þegar slík hleðslustaða birtist við notkun vinnubílsins skal aka honum á þar til gert hleðslusvæði og hlaða rafhlöðurnar; sjá Li-ion rafhlöður settar í hleðslu.
Ef vinnubíllinn er notaður á meðan hleðslustaðan er tóm, starfar vinnubíllinn á lægri hraða (þ.e. 5 km/klst.).
Important: Þegar vinnubíllinn er stöðvaður í halla skal nota aksturshemlana til að stöðva vinnubílinn og setja svo stöðuhemilinn á til að halda vinnubílnum kyrrum. Mótorinn kann að ofhitna eða rafhlöðurnar kunna að tæmast ef inngjöfin er notuð til að stöðva vinnubílinn í halla.
Takið fótinn af inngjafarfótstiginu.
Stígið hemlafótstigið hægt niður til að setja aksturshemilinn á þar til vinnubíllinn hefur stöðvast alveg.
Note: Hemlunarfjarlægðin getur verið mislöng, allt eftir farmþunga og hraða.
Fylgið eftirfarandi leiðbeiningum við fermingu palls og notkun vinnubílsins:
Takið mið af burðargetu vinnubílsins og takmarkið þyngd farms á pallinum í samræmi við það sem tilgreint er á Tæknilýsing og á merkimiða fyrir heildarþyngd vinnubílsins.
Note: Tilgreind hámarksþyngd farms á aðeins við fyrir notkun á sléttu yfirborði.
Þegar vinnubíllinn er notaður á hæðóttu og ósléttu yfirborði þarf að minnka farmþyngdina á pallinum.
Þegar vinnubíllinn er notaður til að ferja háreist efni (með hárri þyngdarmiðju), svo sem múrsteinsstafla, palla- og girðingaefni eða áburðarpoka, þarf að minnka farmþyngdina á pallinum. Dreifið úr farminum til að lækka hann sem mest og gætið þess að farmurinn skerði ekki útsýnið aftur fyrir vinnubílinn við notkun.
Miðjustillið farminn á pallinum sem hér segir:
Dreifið þyngd farmsins jafnt á pallinum, frá einni hlið til annarar.
Important: Ef þyngd farms á pallinum er öll öðrum megin er aukin hætta á að vinnubílnum hvolfi.
Dreifið farminum á pallinum jafnt frá framhlið af afturhlið.
Important: Ef þyngd farms er mest fyrir aftan afturöxulinn er aukin hætta á að stjórnandi missi stjórn á vinnubílnum eða bílnum hvolfi, auk þess sem grip á framhjólbörðum verður minna.
Sýnið sérstaka aðgát þegar farmur sem inniheldur mjög stóra hluti er fluttur á pallinum, sérstaklega.
Þegar þess er kostur skal alltaf festa farminn tryggilega með ólum við pallinn, til að forðast að hann færist til.
Við flutninga á vökva skal sýna aðgát þegar vinnubílnum er ekið upp eða niður brekku, við skyndilegar hraðabreytingar eða við stöðvun, eða þegar ekið er yfir ójafnt yfirborð.
Afkastageta pallsins er 0,28 m3. Magn (rúmtak) efnis sem setja má á pallinn án þess að fara yfir uppgefna burðargetu vinnubílsins getur verið mjög mismunandi, allt eftir eðlismassa efnisins.
Upplýsingar um hámark mismunandi efna er að finna á eftirfarandi töflu:
| Efni | Eðlismassi | Hámarksburðargeta palls(á sléttu undirlagi) |
| Möl, þurr | 1522 kg/m3 | Fullur |
| Möl, blaut | 1922 kg/m3 | Fyllt að ¾ |
| Sandur, þurr | 1442 kg/m3 | Fullur |
| Sandur, blautur | 1922 kg/m3 | Fyllt að ¾ |
| Timbur | 721 kg/m3 | Fullur |
| Börkur | <721 kg/m3 | Fullur |
| Mold, þjöppuð | 1602 kg/m3 | Fyllt að ¾ (um það bil) |
Áður en svæði stjórnanda er yfirgefið skal gera eftirfarandi:
Leggið vinnubílnum á jafnsléttu.
Setjið stöðuhemilinn á.
Drepið á vinnuvélinni og takið lykilinn úr.
Bíðið þar til hlutir á hreyfingu hafa stöðvast.
Leyfið vinnuvélinni að kólna áður en hún er stillt, þjónustuð, þrifin eða sett í geymslu.
Geymið ekki vinnubílinn nærri óvörðum loga, neistaflugi eða kveikiloga, á borð við vatnshitara eða önnur heimilistæki.
Haldið öllum hlutum vinnubílsins í góðu ásigkomulagi og tryggið að vélbúnaður sé vel hertur.
Haldið sætisbeltum við og þrífið eftir þörfum.
Skiptið um slitnar eða skemmdar merkingar og setjið nýjar í stað merkinga sem vantar.
VIÐVÖRUN: Hætta á eldi og raflosti—Rafhlöðurnar eru ekki með neinum hlutum sem notandi getur viðhaldið.
Gangið úr skugga um að spennan sem notuð er í viðkomandi landi henti hleðslutækinu.
Verjið hleðslutækið gegn bleytu; verjið það gegn rigningu og snjó.
Hætta er á eldsvoða, raflosti eða meiðslum þegar notaður er aukabúnaður sem Toro mælir ekki með eða selur.
Fylgið þessum leiðbeiningum og leiðbeiningum hvers þess búnaðar sem á að nota nærri hleðslutækinu til að draga úr hættu á sprengingu í rafhlöðu.
Rafhlöður gætu gefið frá sér sprengifimar lofttegundir ef þær eru ofhlaðnar verulega.
Leitið til viðurkennds dreifingaraðila til að þjónusta eða skipta um rafhlöðu.
Aldrei leyfa börnum eða óþjálfuðum einstaklingum að vinna með eða við hleðslutækið. Gildandi reglur á hverjum stað kunna að setja takmörk við aldur stjórnanda. Eigandinn ber ábyrgð á að þjálfa stjórnendur og vélvirkja.
Lesið vandlega og fylgið öllum leiðbeiningum á hleðslutækinu og í handbókinni áður en hleðslutækið er notað. Þekkið rétta notkun hleðslutækisins.
Haldið nærstöddum og börnum í öruggri fjarlægð á meðan hleðsla stendur yfir.
Klæðist viðeigandi klæðnaði á meðan hleðsla stendur yfir, þar á meðal hlífðargleraugum, síðum buxum og góðum vinnuskóm með skrikvörn.
Slökkvið á vinnubílnum og bíðið þar til vinnubíllinn hefur slökkt alveg á sér áður en hann er hlaðinn. Ef þetta er ekki gert er hætta á neistahlaupi.
Tryggið að hleðsla fari fram á vel loftræstu svæði.
Hleðslutækið er aðeins ætlað til notkunar við nafnspennu 120 til 240 VAC. Þegar notast er við 240 volta rafrásir þarf að fá rétta rafmagnssnúru hjá viðurkenndum dreifingaraðila Toro.
Hlaðið ekki frosna rafhlöðu.
Farið vel með rafmagnssnúruna. Ekki taka hleðslutækið upp á rafmagnssnúrunni eða kippa í hana til að taka hleðslutækið úr sambandi. Verjið snúruna fyrir hita, olíu og hvössum brúnum.
Tengið hleðslutækið beint við innstungu með jarðtengingu. Notið ekki hleðslutækið í ójarðtengdri innstungu, jafnvel ekki með jarðtengdu millistykki.
Ekki breyta meðfylgjandi rafmagnssnúru eða kló.
Fjarlægið málmhluti á borð við hringa, armbönd, hálsmen og úr þegar unnið er við Li-ion rafhlöðu. Li-ion rafhlaða getur myndað nægan straum til að valda alvarlegu brunasári.
Aldrei nota hleðslutækið nema í góðu skyggni eða lýsingu.
Notið framlengingarsnúru sem getur höndlað 15 A eða meira. Ef hlaðið er utandyra, notið þá framlengingarsnúru sem er hönnuð til notkunar utandyra.
Ef skemmdir verða á snúrunni á meðan hún er í sambandi skal taka hana úr sambandi við innstunguna og fá nýja rafmagnssnúru hjá viðurkenndum dreifingaraðila Toro.
Takið hleðslutækið úr sambandi við rafmagnsinnstungu þegar það er ekki í notkun, áður en það er flutt til eða áður en það er þjónustað.
Geymið hleðslutækið á þurrum og öruggum stað innandyra, sem óviðkomandi hafa ekki aðgang að.
Ekki taka hleðslutækið í sundur. Farið með hleðslutækið til viðurkennds dreifingaraðila Toro þegar þörf er á þjónustu eða viðgerð.
Takið rafmagnssnúruna úr sambandi við innstunguna áður en viðhald eða þrif fara fram til að draga úr hættu á raflosti.
Haldið við eða skiptið um öryggis- og leiðbeiningarmerkingar, eftir þörfum.
Ekki nota hleðslutækið með skemmdri snúru eða kló. Hafið samband við viðurkenndan dreifingaraðila Toro til að fá nýja snúru.
Ef hleðslutækið hefur orðið fyrir höggi, dottið eða skemmst á annan hátt skal ekki nota það; farið með það til viðurkennds dreifingaraðila Toro.
Sýnið aðgát þegar vinnubíllinn er settur á eða tekinn af eftirvagni eða palli.
Notið skábrautir í fullri breidd við að aka honum á eftirvagn eða palla.
Festið vinnubílinn tryggilega.
Frekari upplýsingar um festingarstaði á vinnubílnum er að finna á Mynd 25Mynd 26.
Note: Akið vinnubílnum á eftirvagn þannig að framhluti hans snúi fram. Ef það er ekki hægt skal binda vélarhlífina fasta við grindina með stroffu eða taka hana af og flytja og festa aðskilið. Að öðrum kosti er hætta á að vélarhlífin fjúki af við flutninga.
Ef sæti eru laus er hætta á að þau detti af vinnubílnum og eftirvagninum þegar vinnubíllinn er fluttur, eða sæti lendi á öðrum vinnuvélum eða myndi tálma á vegum.
Fjarlægið sætin, eða gangið úr skugga um að sæti hafi verið fest tryggilega með snúningspinnum.


Í neyðartilvikum er hægt að draga vinnubílinn stuttar vegalengdir; þetta er hins vegar ekki hefðbundin notkun.
Hætta er á stjórnmissi þegar dregið er á of miklum hraða. Slíkt getur leitt til meiðsla á fólki.
Aldrei draga vinnubíl hraðar en 8 km/klst.
Dráttur vinnubílsins krefst aðkomu tveggja einstaklinga. Ef flytja þarf vinnubílinn um langan veg skal nota vörubíl eða eftirvagn; sjá Dráttur eftirvagns.
Drepið á vinnuvélinni og takið lykilinn úr.
Important: Rafmagnskerfið getur orðið fyrir skemmdum ef vinnubíllinn er dreginn á meðan svissað er Á.
Festið dráttartaug í beislið framan á grind vinnubílsins (Mynd 25).
Takið stöðuhemilinn af.
Þessi vinnubíll getur dregið eftirvagna. Dráttarkrókar eru í boði fyrir vinnubílinn. Hafið samband við viðurkenndan dreifingaraðila Toro til að fá frekari upplýsingar.
Ekki ofhlaða vinnubílinn eða eftirvagninn þegar ekið er með farm eða eftirvagn (tengitæki) í eftirdragi. Ofhleðsla vinnubílsins eða eftirvagnsins getur skert afkastagetu eða valdið skemmdum á hemlum, öxli, mótor, sambyggðum gírkassa og drifi, stýri, fjöðrun, undirvagni eða hjólbörðum.
Hlaðið eftirvagn alltaf þannig að 60% farmsins liggi á framhluta eftirvagnsins. Þetta veltir um 10% af heildarþyngd eftirvagnsins yfir á dráttarkrók vinnubílsins.
Til að tryggja viðunandi hemlun og grip skal alltaf ferma pallinn þegar eftirvagn er í notkun. Ekki skal fara yfir heildarþyngdarmörk fyrir pall og eftirvagn.
Forðist að leggja vinnubíl með eftirvagni í brekku. Ef ekki verður hjá því komist að leggja í halla skal setja stöðuhemilinn á og skorða hjólbarða eftirvagnsins.
Samgönguráðuneyti Bandaríkjanna og alþjóðleg flutningsyfirvöld krefjast þess að Li-ion rafhlöður séu fluttar í sérstökum pakkningum og eingöngu með flutningatækjum sem eru vottuð fyrir slíkan flutning. Í Bandaríkjunum má flytja rafhlöðu uppsetta í vinnuvélinni sem rafknúinn búnað, í samræmi við reglugerðir. Samgönguráðuneyti Bandaríkjanna eða önnur viðeigandi opinber stofnun annarra landa veitir nákvæmar upplýsingar um reglugerðir varðandi flutning rafhlaðanna eða vinnuvélarinnar með rafhlöðunum í.
Hægt er að fá frekari upplýsingar um flutning á rafhlöðum hjá viðurkenndum dreifingaraðila Toro.
Snerting við vatn meðan á hleðslu stendur getur valdið raflosti og meiðslum eða dauða.
Ekki meðhöndla klóna eða hleðslutækið með blautum höndum eða standandi í vatni.
Ekki má hlaða rafhlöðurnar í rigningu eða bleytu.
Hleðslutækið er með þriggja pinna kló með jarðtengingu (gerð B) til að draga úr hættu á raflosti. Ef klóin passar ekki í vegginnstunguna eru aðrar jarðtengdar klær í boði; hafið samband við viðurkenndan dreifingaraðila Toro.
Ekki breyta hleðslutækinu eða kló rafmagnssnúrunnar á nokkurn hátt.
Important: Leitið reglulega eftir götum eða sprungum í einangrun rafmagnssnúrunnar. Ekki nota skemmda snúru. Ekki láta snúruna liggja í vatni eða blautu grasi.
Sjá Mynd 27 varðandi kröfur um aflgjafa.

Stingið rafmagnssnúrunni í innstungu fyrir hleðslutæki á vinnubílnum (Mynd 28).
Skemmd hleðslusnúra getur valdið raflosti eða eldhættu.
Skoðið rafmagnssnúruna vandlega áður en hleðslutækið er notað. Ef snúran er skemmd skal ekki nota hleðslutækið fyrr en búið er að útvega nýja snúru.

Stingið kló rafmagnssnúrunnar í jarðtengda rafmagnsinnstungu.
Tilraun til að hlaða rafhlöðurnar með hleðslutæki sem Toro býður ekki upp á getur leitt til mikils hita og annarra tengdra bilana í vörunni, sem geta leitt til eignatjóns og/eða meiðsla.
Notið hleðslutæki frá Toro til að hlaða rafhlöðurnar.
Ráðlagt hitasvið fyrir hleðslu: 0 ° til 45 °C
Important: Hlaðið rafhlöðurnar aðeins við hitastig sem er innan ráðlagðs hitasviðs.
Note: Hleðslutækið virkar ekki við hitastig sem fer yfir lágmarks- eða hámarkshita. Vísar fyrir heita eða kalda rafhlöðu birtast á skjánum.
Hleðslustaðan er sýnd á skjánum.
Ef bilun kemur upp birtist villuboð á skjánum. Til að leiðrétta villu skal vísa til viðhaldshandbókar vinnubílsins.
Taktu rafmagnssnúruna úr innstungu fyrir hleðslutæki á vinnubílnum.
Geymið snúruna á öruggum stað.
Gangsetjið vinnubílinn.
Athugið hleðslustöðuna; sjá Eftirlit með hleðslustöðu rafhlöðukerfis.
Note: Verklagið í þessum kafla sýnir vinnubíl með plastpall og körfusæti. Upplýsingar um verklag fyrir tengibúnað af annarri gerð er að finna í viðhaldskafla (ef slíkt á við) leiðbeininga um uppsetningu. Farið á www.Toro.com til að fá leiðbeiningar eða skannið inn QR-kóða tengitækisins (þegar slíkt á við).
Ekki leyfa óþjálfuðu starfsfólki að þjónusta vinnubílinn.
Áður en svæði stjórnanda er yfirgefið skal gera eftirfarandi:
Leggið vinnubílnum á jafnsléttu.
Setjið stöðuhemilinn á.
Drepið á vinnuvélinni og takið lykilinn úr.
Bíðið þar til hlutir á hreyfingu hafa stöðvast.
Leyfið vinnuvélinni að kólna áður en hún er stillt, þjónustuð, þrifin eða sett í geymslu.
Setjið alltaf búkka undir vinnubílinn þegar unnið er undir honum.
Ekki vinna undir palli sem hefur verið lyft án þess að nota viðeigandi öryggisstífu.
Ekki hlaða rafgeyminn á meðan unnið er við vinnubílinn.
Tryggið að allur vélbúnaður sé vel hertur til að viðhalda góðu ástandi vinnubílsins.
Til að draga úr eldhættu skal hreinsa smurfeiti, gras, lauf og óhreinindi af vinnubílnum.
Ekki sinna viðhaldi með vélina gangi, ef því verður við komið. Haldið öruggri fjarlægð frá hlutum á hreyfingu.
Ef vélin þarf að vera í gangi við stillingu skal halda höndum, fótum, fatnaði og öðrum líkamshlutum fjarri hlutum á hreyfingu. Haldið nærstöddum í öruggri fjarlægð frá vinnubílnum.
Kannið virkni stöðuhemilsins, eins og sagt er til um í viðhaldsáætluninni og stillið hann og þjónustið eftir þörfum.
Haldið öllum hlutum vinnubílsins í góðu ásigkomulagi og tryggið að vélbúnaður sé rétt hertur. Skiptið um slitnar eða skemmdar merkingar.
Aldrei breyta ætlaðri virkni öryggisbúnaðar eða skerða þá vörn sem öryggisbúnaður veitir.
Ef þörf er á meiriháttar viðgerðum eða aðstoð skal hafa samband við viðurkenndan þjónustu- og söluaðila.
Hvers kyns breytingar á vinnubílnum kunna að hafa áhrif á virkni hans, afköst eða endingu, auk þess sem hætta skapast á meiðslum á fólki eða dauða. Slík notkun getur fellt úr gildi vöruábyrgð Toro® Company.
| Tíðni viðhaldsþjónustu | Viðhaldsferli |
|---|---|
| Eftir fyrstu 100 klukkustundirnar |
|
| Fyrir hverja notkun eða daglega |
|
| Á 100 klukkustunda fresti |
|
| Á 300 klukkustunda fresti |
|
| Á 400 klukkustunda fresti |
|
| Á 800 klukkustunda fresti |
|
| Á 1.000 klukkustunda fresti |
|
Note: Farið á www.Toro.com og leitið að viðkomandi vinnubíl í gegnum handbókartengilinn á heimasíðunni til að sækja eintak af teikningum rafkerfisins.
Ef viðeigandi viðhaldi er ekki sinnt á vinnubílnum er hætta á ótímabærri bilun í kerfum bílsins, sem sett getur stjórnanda eða nærstadda í hættu.
Sinnið reglulegu viðhaldi á vinnubílnum og haldið honum í góðu ásigkomulagi, eins sagt er til um í þessum leiðbeiningum.
Afritið þessa blaðsíðu til að skrá reglubundið viðhald.
| Viðhaldsatriði | Vika: | ||||||
|---|---|---|---|---|---|---|---|
| Mánudagur | Þriðjudagur | Miðvikudagur | Fimmtudagur | Föstudagur | Laugardagur | Sunnudagur | |
| Athugið virkni aksturshemils og stöðuhemils. | |||||||
| Athugið virkni stefnustangarinnar. | |||||||
| Athugið hæð hemlavökvans. | |||||||
| Hlustið eftir óvenjulegum vinnsluhljóðum. | |||||||
| Kannið þrýsting í hjólbörðum. | |||||||
| Leitið eftir leka. | |||||||
| Athugið virkni verkfæris. | |||||||
| Athugið virkni inngjafarinnar. | |||||||
| Lagfærið lakk sem hefur flagnað eða skemmst. | |||||||
| Þrífið vinnubílinn. | |||||||
| Lagfærið lakk sem hefur flagnað eða skemmst. | |||||||
Important: Ef vinnubíllinn er notaður við einhverjar af þeim aðstæðum sem taldar eru upp hér að neðan skal sinna viðhaldi helmingi oftar:
Vinna í eyðimörk
Vinna við köld skilyrði – undir 10°C
Dráttur eftirvagns
Mikil notkun við rykugar aðstæður
Byggingarvinna
Eftir langa notkun í aur, sandi, vatni eða öðrum álíka óhreinindum skal gera eftirfarandi:
Láta skoða og hreinsa hemlana svo fljótt sem auðið er. Þetta kemur í veg fyrir að sverfandi efni valdi óeðlilegu sliti.
Þrífið vinnubílinn með vatni eingöngu eða með mildu hreinsiefni.
Important: Ekki nota ísalt vatn eða hreinsað vatn til að þrífa vinnubílinn.
Lyftið pallinum áður en viðhaldsvinnu eða viðgerðum er sinnt. Hækkaður pallur getur fallið niður og skaðað starfsfólk sem er að störfum undir honum.
Notið ávallt stífu til að halda pallinum uppi áðu en unnið er undir honum.
Fjarlægið allt efni af pallinum áður en unnið er undir pallinum.
Leggið vinnubílnum á jafnsléttu.
Setjið stöðuhemilinn á.
Drepið á vinnuvélinni og takið lykilinn úr.
Lyftið pallinum og látið hann síga.
Þegar tjakkur er í notkun getur vinnubíllinn verið óstöðugur. Vinnubíllinn gæti runnið af tjakknum og valdið slysum á fólki sem er undir bílnum.
Aldrei má gangsetja bílinn á meðan hann er á tjakki.
Takið lykilinn alltaf úr svissinum áður en vinnubíllinn er yfirgefinn.
Skorðið hjólbarðana þegar stutt er við vinnubílinn með lyftibúnað.
Notið tjakkstanda til að styðja við vinnubílinn þegar honum hefur verið lyft.
Important: Í hvert sinn sem vinnubíllinn er gangsettur vegna reglubundins viðhalds og/eða bilanagreininga skal gæta þess að afturhjól vinnubílsins séu í 25 mm fjarlægð frá jörðu og að afturöxull sé studdur með tjakkstöndum.
Lyftipunktarnir framan á vinnubílnum eru staðsettir framan á grindinni, á bak við dráttarbeislið (Mynd 29).

Lyftipunktarnir aftan á vinnubílnum eru staðsettir undir öxlinum (Mynd 30).

Rennið sætissamstæðunni upp á pinnana og látið hana síga (Mynd 34).

Ýtið sessunni fram á við, í efstu stöðu.
Rennið sessunni til hliðar, út af pinnunum og lyftið henni upp (Mynd 35).

Rennið sessunni á pinnana og lækkið sessuna niður (Mynd 36).

| Tíðni viðhaldsþjónustu | Viðhaldsferli |
|---|---|
| Á 300 klukkustunda fresti |
|
Tilgreind smurfeiti: Mobilgrease XHP™-222
Lyftið vinnubílnum að framan og setjið tjakkstanda undir framhliðina.
Fjarlægið felgurærnar fjórar sem festa hjólið við hjólnöfina (Mynd 37).

Fjarlægið kragaboltana (⅜ x ¾ to.) sem halda festingunni fyrir hemlasamstæðuna fastri við drifið og skiljið hemilinn frá drifinu (Mynd 38).
Note: Setjið stoðir undir hemlasamstæðuna áður en lengra er haldið.

Fjarlægið rykhlífina af hjólnöfinni (Mynd 39).

Fjarlægið klofsplittið og festiróna af drifinu og drifrónni (Mynd 39).
Fjarlægið drifróna úr drifinu og skiljið hjólnöf og snúðsamstæðu frá drifinu (Mynd 39 og Mynd 40).

Þurrkið vel af drifinu með klúti.
Endurtakið skref 1 til og með7 fyrir hjólnöfina og snúðinn á hinni hlið vinnubílsins.
Fjarlægið utanáliggjandi legu og legugróp af hjólnöfinni (Mynd 41).

Fjarlægið þéttið úr legu að innanverðu úr hjólnöfinni (Mynd 41).
Þurrkið vel af þéttinu og leitið eftir sliti eða skemmdum á því.
Note: Notið ekki leysiefni til að hreinsa þéttið. Ef þéttið er slitið eða skemmt skal skipta um það.
Hreinsið legurnar og legugrópirnar og skoðið íhlutina til að leita eftir sliti eða skemmdum.
Note: Skiptið um slitna eða skemmda íhluti. Gangið úr skugga um að legurnar og grópirnar séu hreinar og þurrar.
Hreinsið alla feiti, óhreinindi og laust efni úr holrýminu í hjólnöfinni (Mynd 41).
Setjið tilgreinda smurfeiti í legurnar.
Fyllið holrýmið í hjólnöfinni sem nemur um 50 til 80% af tilgreindu magni smurfeiti (Mynd 41).
Setjið leguna að innanverðu í grópina í hjólnöfinni innanverðri og setjið þéttið á (Mynd 41).
Endurtakið skref 1 til og með 8 fyrir legurnar í hinni hjólnöfinni.
Berið þunnt lag af tilgreindri smurfeiti á drifið (Mynd 42).

Setjið hjólnöf og snúð upp á drifið, með snúðinn að innanverðu (Mynd 42).
Setjið legu að utanverðu upp á drifið og komið legunni fyrir í grópinni að utanverðu (Mynd 42).
Setjið flipaskinnuna upp á drifið (Mynd 42).
Skrúfið drifróna á drifið og herðið hana í 15 N∙m, en snúið um leið hjólnöfinni til að legan fari á réttan stað (Mynd 42).
Losið drifróna svolítið, eða þar til hjólnöfin snýst hindrunarlaust.
Herðið drifróna í 170 til 225 N·m.
Setjið festiróna yfir róna og athugið hvort raufin í festirónni og gatið fyrir klofsplittið í drifinu flútta (Mynd 43).
Note: Ef raufin í festirónni flúttar ekki við gatið á drifinu skal herða drifróna þar til raufin og gatið flútta, að hámarki að 226 N·m á rónni.

Setjið klofsplittið í og sveigið hvorn legg utan um festiróna (Mynd 43).
Setjið rykhlífina á hjólnöfina (Mynd 43).
Endurtakið skref 1 til og með10 fyrir hjólnöfina og snúðinn á hinni hlið vinnubílsins.
Hreinsið kragaboltana tvo (⅜ x ¾ to.) og berið lag af miðlungssterku gengjulími á skrúfganga boltanna.
Gangið úr skugga um að hemlaklossarnir sitt hvorum megin við snúðinn (Mynd 38) og götin í festingu fyrir klafann flútti við göt hemlafestingarinnar í drifgrindinni (Mynd 42).
Festið festinguna fyrir klafann við drifgrindina (Mynd 38) með tveimur kragaboltum (⅜ x ¾ to.).
Herðið kragaboltana tvo í 47 til 54 N∙m (35 til 40 ft-lb).
Gangið úr skugga um að götin á felgunni flútti við pinnana á hjólnöfinni og setjið felguna á hjólnöfina, þannig að ventilleggurinn vísi út á við (Mynd 37).
Note: Gangið úr skugga um að uppsetningarflötur hjólsins flútti við hjólnöfina.
Festið hjólið við hjólnöfina með felgurónum (Mynd 37).
Herðið felgurærnar í 108 til 122 N m (80 til 90 ft-lb).
Endurtakið skref 1 til og með 5 fyrir hemlana og hjólið á hinni hlið vinnubílsins.
Takið rafmagnssnúruna úr sambandi áður en rafgeymirinn er tengdur eða aftengdur.
Klæðist hlífðarfatnaði og notið einangruð verkfæri. Aftengið rafgeyminn áður en gert er við vinnuvélina. Aftengið mínusskautið fyrst og plússkautið síðast. Tengið plússkautið fyrst og mínusskautið síðast.
Aftengið rafmagnssnúruna við hleðslutækið ef hún er tengd.
Fjarlægið eða ýtið sætissamstæðunni upp.
Færið rafgeymisrofann í æskilega stöðu eins og sýnt er á Mynd 44.

Note: Vinnubíllinn er búinn að minnsta kosti tveimur litíum-jóna rafhlöðum.
Fargið eða endurvinnið Li-ion rafhlöður í samræmi við staðbundnar reglur og landslög. Ef rafhlaða krefst þjónustu skal leita aðstoðar viðurkennds dreifingaraðila Toro.
Ekki opna rafhlöðuna. Ef vandamál kemur upp með rafhlöðu skal leita aðstoðar hjá viðurkenndum dreifingaraðila Toro.
Rafhlöðurnar innihalda háspennu sem gæti brennt eða valdið rafstuði.
Ekki reyna að opna rafhlöðurnar.
Gætið fyllstu varúðar við meðhöndlun rafhlöðu með rofið ytra byrði.
Notið eingöngu hleðslutæki sem hannað er fyrir rafhlöðurnar.
Litíum-jóna rafhlöðurnar halda nægilega hleðslu til að framkvæma tilætlaða vinnu á líftíma sínum.
Fylgið eftirfarandi leiðbeiningum til að ná hámarksendingu og -notkun úr rafhlöðunum:
Ekki opna rafhlöðuna.
Geymið/leggið vinnubílnum í hreinni, þurri vélageymslu eða geymslusvæði í vari fyrir sólarljósi, hitagjöfum, rigningu og bleytu. Geymið þær ekki á stað þar sem hitastigið fer yfir það svið sem tilgreint er í Rafhlöðurnar þjónustaðar. Hiti utan marka skemmir rafhlöðurnar. Mikill hiti við geymslu, sérstaklega þegar hleðslustaða er há, dregur úr endingu rafhlaðanna.
Þegar vinnubíllinn er geymdur í meira en 10 daga skal ganga úr skugga um að hann sé á köldum og þurrum stað, fjarri sólarljósi, rigningu og bleytu.
Notið ljós aðeins þegar nauðsyn krefur.
Important: Rafmagnsviðgerðir skulu eingöngu framkvæmdar hjá viðurkenndum dreifingaraðila Toro.
Hleðslutækið þarfnast lítils viðhalds annað en að vernda það gegn skemmdum og veðri.
Þrífið snúrurnar og hylkið á rafhlöðunni og hleðslutækinu með örlítið rökum klút eftir hverja notkun.
Note: Hreinsið ekki raffeiti af skautunum.
Vindið snúrurnar upp þegar þær eru ekki í notkun.
Leitið reglulega eftir skemmdum á snúrunum og skiptið um þær þegar með þarf með varahlutum sem samþykktir eru af Toro.
Aftengið afl vinnubílsins; sjá Notkun rafgeymisrofa.
Opnið vélarhlífina.
Aftengið raftengi leiðsluknippis frá tengi ljósasamstæðunnar (Mynd 47).

Fjarlægið smellurnar sem festa aðalljósið við festingu fyrir aðalljós (Mynd 47).
Note: Geymið alla íhluti fyrir uppsetningu á nýju aðalljósi.
Fjarlægið aðalljósasamstæðuna með því að færa hana fram á við, gegnum opið á framstuðaranum (Mynd 47).
Setjið nýja aðalljósið upp gegnum opið á stuðaranum (Mynd 47).
Note: Gangið úr skugga um að stillistoðirnar flútti við götin í festingunni á bak við stuðarann.
Festið aðalljósasamstæðuna með smellunum sem voru fjarlægðar í skrefi 4.
Tengið rafmagnstengi leiðsluknippis við tengið á ljósasamstæðunni (Mynd 47).
Stillið aðalljósin þannig að ljóskeilan beinist á æskilegan stað. Frekari upplýsingar eru í Stilling aðalljósa.
Notið eftirfarandi aðferð til að stilla stöðu aðalljósanna í hvert sinn sem skipt er um aðalljósasamstæðuna eða hún er fjarlægð.
Leggið vinnubílnum á jafnsléttu með aðalljósin í um það bil 7,6 m fjarlægð frá vegg (Mynd 48).
Mælið fjarlægðina frá gólfi að miðju aðalljósanna og setjið merki á vegginn í þeirri hæð.
Snúið svissinum í KVEIKTA stöðu og kveikið á aðalljósunum.
Gefið gaum að því hvar á veggnum aðalljósin lenda.
Skærasti hluti aðalljóskeilunnar ætti að vera 20 cm fyrir neðan merkið á veggnum (Mynd 48).

Snúið stilliskrúfunum (Mynd 47) aftan á aðalljósasamstæðunni til að snúa samstæðunni og stilla stöðu kastljósgeislans.
Lokið hlífinni.
| Tíðni viðhaldsþjónustu | Viðhaldsferli |
|---|---|
| Á 100 klukkustunda fresti |
|
Athugið hvort slit eða skemmdir sjást á hjólbörðum og felgum.
Note: Árekstrar sem kunna að verða við notkun vinnubílsins, líkt og þegar ekið er á gangstéttarbrúnir, geta valdið skemmdum á hjólbörðum eða felgum og raskað hjólastillingum. Skoðið því ástand hjólbarða eftir slíka árekstra.
Herðið felgurærnar í 108 til 122 N∙m.
| Tíðni viðhaldsþjónustu | Viðhaldsferli |
|---|---|
| Á 100 klukkustunda fresti |
|
Hafið stýrið í miðlægri stöðu (Mynd 49) og snúið því til vinstri eða hægri. Ef stýrinu er snúið meira en 13 mm til vinstri eða hægri og hjólbarðar snúast ekki skal skoða eftirfarandi íhluti stýris og fjöðrunar til að ganga úr skugga um að þeir séu ekki slitnir eða skemmdir:
Stýrisskaft í samskeytalið stýrisstangar
Important: Athugið ástand og öryggi þéttis í pinnastönginni (Mynd 50).
Millistangir í stýrisstangarsamstæðu


| Tíðni viðhaldsþjónustu | Viðhaldsferli |
|---|---|
| Á 100 klukkustunda fresti |
|
Athugið loftþrýstinginn í hjólbörðunum til að tryggja að framhjólbarðarnir séu blásnir upp í 138 kPa (20 psi).
Stjórnandi vinnubílsins skal sitja í sætinu, að öðrum kosti skal setja þyngd í sætið sem nemur þyngd þess sem á að aka bílnum. Stjórnandi vinnubílsins, eða jafngild þyngd, verður að vera í sætinu á meðan þessi stilling er framkvæmd.
Látið vinnubílinn renna beint aftur á bak á jafnsléttu um 2 til 3 metra og síðan beint áfram að upphafsstaðsetningu. Þannig nær fjöðrunin að komast í notkunarstöðu.
Verkfæri sem eigandi útvegar: skrúflykill, Toro-íhlutur nr. 132-5069. Frekari upplýsingar fást hjá viðurkenndum dreifingaraðila Toro.
Important: Stillið hjólhallann aðeins ef það á að nota tengitæki að framan eða ef hjólbarðarnir eru mismikið slitnir.
Note: Þessa aðferð er hægt að framkvæma á fram- og afturhjólbörðum.
Skoðið hjólhallastillingu á hverju hjóli. Stillingin ætti að vera eins nærri hlutlausu (núllstillingu) og unnt er.
Note: Hjólbarðana skal stilla þannig að þeir nái jafnri snertingu við jörð, til að minnka ójafnt slit.
Ef hjólhalli er ekki réttur skal nota skrúflykil til að snúa kraganum á höggdeyfinum og stilla hjólið rétt (Mynd 51).

Important: Áður en innskeifni er stillt skal ganga úr skugga um að stilling hjólhalla sé eins hlutlaus og unnt er. Frekari upplýsingar eru í Stilling hjólhalla.
Mælið fjarlægðina á milli framhjólanna við öxulhæð, bæði framan og aftan á framhjólunum (Mynd 52).

Ef mælingin er ekki innan við 0 til +/- 3 mm skal losa um festirærnar á ytri enda stýrisstanganna (Mynd 53).

Snúið báðum millistöngunum til að færa framhlið hjólbarðans inn eða út á við.
Herðið festiró tengistangarinnar þegar stillingin er rétt.
Gangið úr skugga um að stýrið hreyfist alla leið í báðar áttir.
| Tíðni viðhaldsþjónustu | Viðhaldsferli |
|---|---|
| Á 100 klukkustunda fresti |
|
Fjarlægið áfyllingartappann á sambyggðum gírkassa og drifi (Mynd 54).
Note: Vökvahæðin ætti að nema við neðsta hluta áfyllingartappans.

Ef vökvahæðin er of lítil skal fjarlægja áfyllingartappann og fylla á með tilgreindum vökva, þar til vökvinn seytlar út um opið (Mynd 54).
Komið afrennslistappanum fyrir og herðið hann með 20 til 27 N∙m hersluátaki.
| Tíðni viðhaldsþjónustu | Viðhaldsferli |
|---|---|
| Á 100 klukkustunda fresti |
|
| Á 800 klukkustunda fresti |
|
Gerð vökva: SAE 10W-30 (API þjónustuflokkur SJ eða hærri)
Rúmtak vökva: 0,66 l
Setjið afrennslispönnu undir hlíf sambyggða gírkassans og drifsins (Mynd 55).

Fjarlægið boltana úr sambyggða gírkassanum og drifinu og tappið öllum vökvanum af (Mynd 55).
Note: Setjið hlíf sambyggða gírkassans og boltann til hliðar.
Komið hlíf sambyggða gírkassans og drifsins fyrir með boltunum sem áður voru fjarlægðir og herðið boltana með 22 til 32 N∙m hersluátaki.
Fyllið á sambyggðan gírkassa og drif með tilgreindum vökva, þar til vökvi seytlar út um opið (Mynd 54).
Komið afrennslistappanum fyrir og herðið hann með 20 til 27 N∙m hersluátaki.
Setjið stöðuhemilinn á með því að toga stöðuhemilsstöngina í átt að stjórnanda þar til vart verður við spennu.
Ef stjórnandi finnur enga spennu þegar stöðuhemill er togaður í átt að stjórnanda innan 11,4 til 16,5 cm frá P-tákninu á mælaborðinu þarf að stilla stöðuhemilinn. Frekari upplýsingar eru í Stöðuhemillinn stilltur.
Gangið úr skugga um að stöðuhemillinn sé ekki á.
Notið tjakkstanda til að lyfta afturhluta vinnubílsins. Frekari upplýsingar eru í Vinnuvélinni lyft.
Notið tvo skiptilykla; annan til að halda stillistönginni á klafanum á sínum stað, hinn til að losa festiróna sem nemur fjórðungi úr snúningi (Mynd 56).

Haldið stillingastoðinni og festirónni á réttum stað og herðið um leið stillingastoðina með því að snúa henni (Mynd 56).
Note: Framkvæmið þetta skref þar til vart verður við viðnám í felgunni.
Haldið stillistönginni og festirónni á réttum stað og snúið festirónni um leið sem nemur fjórðungi úr snúningi aftur á bak (Mynd 56).
Haldið stillingastoðinni og festirónni á réttum stað og herðið um leið festiróna (Mynd 56).
Framkvæmið skref 1 til og með 6 á hinni hliðinni.
Sannreynið að stöðuhemill hafi verið stilltur í réttri spennu. Frekari upplýsingar eru í Skoðun stöðuhemils.
Note: Ef ekki reynist unnt að stilla stöðuhemillinn með áskildri spennu eru bremsuklossarnir hugsanlega slitnir og skipta verður um bremsuklossana. Hægt er að fá frekari aðstoð hjá viðurkenndum dreifingaraðila Toro.
| Tíðni viðhaldsþjónustu | Viðhaldsferli |
|---|---|
| Fyrir hverja notkun eða daglega |
|
Gerð hemlavökva: DOT 3
Leggið vinnubílnum á jafnsléttu, setjið stöðuhemilinn á, drepið á vélinni og takið lykilinn úr.
Lyftið vélarhlífinni til að komast að aðalhemlatjakki og geymi (Mynd 57).

Lítið eftir vökvastöðu á hlið geymisins (Mynd 58).
Note: Hæðin ætti að vera yfir lágmarkslínunni.

Ef vökvastaða er lág skal gera eftirfarandi:
Lokið vélarhlífinni.
| Tíðni viðhaldsþjónustu | Viðhaldsferli |
|---|---|
| Á 100 klukkustunda fresti |
|
Important: Hemlar eru mikilvægir öryggisíhlutir vinnubílsins. Skoðið hemlana gaumgæfilega samkvæmt áætluðu viðhaldsbili til að tryggja hámarksafköst og öryggi.
Skoðið hemlaborðana m.t.t. slits eða skemmda. Ef þykkt borða (hemlaklossi) er undir 1,6 mm skal skipta um hemlaborða.
Skoðið bakplötuna og aðra íhluti m.t.t. óeðlilegs slits eða aflögunar. Skiptið um alla íhluti sem hafa aflagast.
Skoðið hemlaleiðslur, festingar og klemmur til að leita að merkjum um leka, slit eða lausar tengingar.
Athugið hæð hemlavökvans; sjá Athugun á hæð hemlavökvans.
Note: Gerið við alla skemmda eða leka íhluti hemlakerfisins áður en vinnubíllinn er notaður.
| Tíðni viðhaldsþjónustu | Viðhaldsferli |
|---|---|
| Á 400 klukkustunda fresti |
|
Hafið samband við viðurkenndan dreifingaraðila Toro varðandi skoðun og hugsanleg skipti á bremsuklossum hemla og stöðuhemils.
| Tíðni viðhaldsþjónustu | Viðhaldsferli |
|---|---|
| Á 1.000 klukkustunda fresti |
|
Hafið samband við viðurkenndan dreifingaraðila Toro.
Ef klinkan á pallinum er vanstillt hristist pallurinn upp og niður þegar vinnubílnum er ekið. Hægt er að stilla klinkustoðirnar til að klinkurnar haldi pallinum þétt að undirvagninum.
Gangið úr skugga um að pallurinn læsist.
Note: Líklega er slagpinninn á klinku pallsins of lágt niðri ef pallurinn læsist ekki. Þegar pallurinn læsist en hristist upp og niður þegar vinnubílnum er ekið er slagpinninn á klinku pallsins líklega of hátt uppi.
Lyftið pallinum, Pallinum lyft í sturtustöðu.
Losið um boltana tvo á slagpinna klinku pallsins og færið slagpinnann upp eða niður, eftir því hvort hann var of hátt uppi eða of lágt niðri (Mynd 59).

Herðið boltana tvo á slagpinna klinku pallsins (Mynd 59).
Gangið úr skugga um að stillingin sér rétt með því að festa klinkuna á pallinum nokkrum sinnum.
| Tíðni viðhaldsþjónustu | Viðhaldsferli |
|---|---|
| Fyrir hverja notkun eða daglega |
|
Notið eingöngu vatn eða mild hreinsiefni til að þrífa vinnubílinn eftir þörfum. Nota má tusku til að þrífa vinnubílinn.
Important: Ekki nota ísalt vatn eða hreinsað vatn til að þrífa vinnubílinn.
Important: Ekki er ráðlagt að nota háþrýstivatn til að þvo vinnubílinn. Slíkt getur skemmt rafkerfið, losað um mikilvægar merkingar eða skolað í burtu nauðsynlegri smurfeiti af núningsstöðum. Ekki nota of mikið vatn, sér í lagi nálægt stjórnborðinu, mótornum, stjórnbúnaði mótorsins, hleðslutækinu, afturhluta stjórnborðsins og rafhlöðunum.
Drepið á vélinni, takið lykilinn úr og bíðið þar til allir hlutar hafa stöðvast áður en farið er úr ökumannssætinu. Leyfið vinnuvélinni að kólna áður en hún er stillt, þjónustuð, þrifin eða sett í geymslu.
Geymið ekki vinnuvélina eða eldsneytisílát nærri óvörðum loga, neistaflugi eða kveikiloga, á borð við vatnshitara eða önnur heimilistæki.
Leggið vinnubílnum á jafnsléttu, setjið stöðuhemilinn á, drepið á vélinni og takið lykilinn úr.
Hreinsið óhreinindi og gróm af vinnubílnum, þ.m.t. af ytra byrði vélarhússins.
Important: Sláttuvélina má þrífa með mildu hreinsiefni og vatni. Ekki nota háþrýstibúnað til að þrífa vinnubílinn. Háþrýstiþvottur getur skemmt rafkerfið eða skolað í burtu nauðsynlegri smurfeiti af núningsstöðum. Ekki nota of mikið vatn, sérstaklega nærri stjórnborðinu, ljósunum, mótorunum og rafhlöðunum.
Skoðið hemlana; sjá Hemlaskoðun.
Kannið þrýsting í hjólbörðum; sjá Viðhald hjólbarðanna.
Skoðið og herðið alla bolta, rær og skrúfur. Gerið við eða skiptið um skemmda hluta.
Lakkið yfir rispaða eða óvarða málmfleti.
Note: Lakk er fáanlegt hjá viðurkenndum dreifingaraðila Toro.
Breiðið yfir vinnuvélina til að verja hana og halda henni hreinni.
Note: Ekki þarf að fjarlægja rafhlöðurnar úr vinnuvélinni fyrir geymslu.
Vísið til hitastigsmarkanna fyrir geymslu í eftirfarandi töflu:
| Geymsluhitastig | Viðeigandi geymslutími |
| 45° til 55 °C | 1 vika |
| 25° til 45 °C | 3 vikur |
| -20° til 25 °C | 52 vikur |
Important: Hitastig utan þessara marka mun skemma rafhlöðurnar.Hitastigið sem rafhlöðurnar eru geymdar við hefur áhrif á endingartíma þeirra. Geymsla í langan tíma við mjög háan hita styttir endingartíma rafhlöðunnar. Ef hitastigið er yfir 25 °C skal aðeins geyma vinnubílinn í viðeigandi tíma sem tilgreindur er í töflunni.
Áður en vinnubíllinn er geymdur skal hlaða eða tæma rafhlöðurnar að 40% til 60%.
Note: 50% hleðsla er best til að tryggja hámarksendingu rafhlaða. Endingartími rafhlaðanna styttist ef þær eru hlaðnar í 100% hleðslu fyrir geymslu.Ef gert er ráð fyrir að vinnuvélin verði geymd í lengri tíma skal hlaða rafhlöðurnar í um 60% hleðslu.
Á sex mánaða fresti skal kanna hleðslustöðu rafhlaðanna og tryggja að hún sé á milli 40% og 60%. Ef hleðslan er undir 40% þarf að hlaða rafhlöðurnar í 40% til 60% hleðslu.
Takið hleðslutækið úr sambandi við rafmagn þegar hleðslu er lokið.