| Tíðni viðhaldsþjónustu | Viðhaldsferli |
|---|---|
| Fyrir hverja notkun eða daglega |
|
Þessi vinnubíll er aðallega ætlaður til notkunar utan vega við flutning fólks og efnis. Notkun þessarar vöru við annað en tilætlaða notkun getur skapað hættu fyrir stjórnanda og nærstadda.
Lesið þessar upplýsingar vandlega til að læra að stjórna og sinna réttu viðhaldi á vörunni og til að koma í veg fyrir meiðsl og skemmdir á vörunni. Eigandi ber ábyrgð á réttri og öruggri notkun vörunnar.
Á www.Toro.com er að finna kennsluefni tengt öryggi og notkun vörunnar, upplýsingar um aukabúnað, upplýsingar um söluaðila og vöruskráningu.
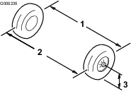
Þegar þörf er á þjónustu, varahlutum frá Toro eða frekari upplýsingum skal hafa samband við viðurkenndan þjónustu- og dreifingaraðila eða þjónustuver Toro og hafa tegundar- og raðnúmer vörunnar við höndina. Mynd 1 sýnir hvar tegundar- og raðnúmerin eru á vörunni. Skrifið númerin í kassann hér á síðunni.
Important: Hægt er nálgast upplýsingar um ábyrgð, varahluti og aðrar vöruupplýsingar með því að skanna QR-kóðann á raðnúmersmerkingunni (ef hann er til staðar) með fartæki.

Þessi vara uppfyllir allar viðeigandi evrópskar reglugerðir; frekari upplýsingar er að finna á aðskildu samræmisyfirlýsingarskjali vörunnar.
Ef þessi vinnubíll er búin fjarskiptabúnaði skaltu hafa samband við viðurkenndan Toro dreifingaraðila til að fá leiðbeiningar um að virkja tækið.
KALIFORNÍA
Viðvörun, tillaga 65
Rafmagnssnúran fyrir þessa vöru inniheldur blý, sem er efni sem Kaliforníuríki er kunnugt um að geti valdið fæðingargöllum eða öðrum æxlunarskaða. Þvoið hendur eftir meðhöndlun.
Rafgeymaskaut og tengihlutir innihalda blý og blýsambönd, efni sem Kaliforníuríki er kunnugt um að geti valdið krabbameini og æxlunarskaða. Þvoið hendur eftir meðhöndlun.
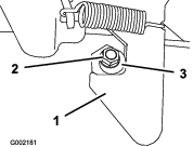
Öryggistáknið (Mynd 2) sem sýnt er í þessari handbók og á vinnubílnum gefa til kynna mikilvæg öryggisskilaboð sem fylgja verður til að koma í veg fyrir slys.

Öryggistáknið birtist fyrir ofan upplýsingar sem vara þig við óöruggum aðgerðum eða aðstæðum og á eftir kemur orðið HÆTTA, VIÐVÖRUN eða VARÚÐ.
HÆTTA gefur til kynna yfirvofandi hættulega stöðu sem, ef ekki er komið í veg fyrir, mun valda dauða eða alvarlegum meiðslum.
VIÐVÖRUN gefur til kynna hugsanlega hættulega stöðu sem, ef ekki er komið í veg fyrir, gæti valdið dauða eða alvarlegum meiðslum.
VARÚÐ gefur til kynna hugsanlega hættulega stöðu sem, ef ekki er komið í veg fyrir, gæti valdið minniháttar eða miðlungs alvarlegum meiðslum.
Þessi handbók notar tvö önnur orð til að leggja áherslu á upplýsingar. Mikilvægt vekur athygli á sérstökum vélrænum upplýsingum og Athugið undirstrikar almennar upplýsingar sem vert er að lesa vandlega.
Þessi vara getur valdið meiðslum á fólki. Fylgið alltaf öryggisleiðbeiningum til að koma í veg fyrir meiðsl á fólki.
Lesið til hlítar efni þessarar notendahandbókar áður en vinnubíllinn er tekinn í notkun. Gangið úr skugga um að allir sem nota vinnubílinn kunni að nota hann og skilji viðvaranirnar.
Sýnið árvekni á meðan unnið er á vinnubílnum. Ekki gera neitt sem veldur truflun; slíkt kann að leiða meiðsla eða eignatjóns.
Ekki setja hendur eða fætur nærri íhlutum á hreyfingu.
Ekki nota vinnubílinn án hlífa og annars öryggisbúnaðar á sínum stað á vinnubílnum og í nothæfu ástandi.
Haldið nærstöddum og börnum utan vinnusvæðisins. Aldrei skal leyfa börnum að vinna á vinnubílnum.
Stöðvið vinnubílinn, drepið á honum og fjarlægið lykilinn áður en viðhaldi er sinnt.
Röng notkun eða viðhald þessa vinnubíls
getur leitt til meiðsla. Til að draga úr slysahættu
skal fara eftir þessum öryggisleiðbeiningum og vera
ávallt vakandi fyrir öryggistákninu
, sem merkir Aðgát“, Viðvörun“
eða Hætta“ – öryggisleiðbeiningar.
Ef ekki er farið eftir þessum leiðbeiningum er hætta
á meiðslum á fólki eða dauða.
![]() |
Öryggismerkingar og leiðbeiningar sjást greinilega og eru hjá öllum svæðum þar sem möguleg hætta er til staðar. Skiptið um skemmdar eða týndar merkingar. |

















Hlutar sem þarf fyrir þetta verk:
| Stýri | 1 |
| Skrúfa | 5 |
| Gormur | 2 |
| Stýrishlíf | 1 |
| Stýrisklemma | 1 |
Sjá Mynd 3 fyrir þessa aðferð.
Setjið stýrið á stýrisskaftið.
Tryggið að stýrið sé miðjað (þ.e. flati botninn sé samsíða gólfinu).
Notið lásróna til að festa stýrið við stýrisskaftið.
Herðið lásróna í 27 N∙m.
Notið 2 skrúfur og 2 fjaðrir til að festa stýrisklemmuna við stýrishlífina.
Notið þrjár skrúfur til að festa hlífina á stýrið.
Herðið skrúfurnar 5 að 0,6 N∙m.

Hlaðið vinnubílinn; sjá Virkni Li-ion hleðslutækis.
Athugið bremsuvökvamagnið áður en vinnubílinn er ræstur í fyrsta skipti; sjá Athugun á hæð hemlavökvans.
Athugið gírkassavökvamagnið áður en vinnubílinn er ræstur í fyrsta skipti; sjá Athugun á hæð vökva í sambyggðum gírkassa og drifi.
Kannið loftþrýsting í hjólbörðum; sjá Þrýstingur hjólbarða kannaður.
Slípið (keyrið til) hemlana fyrir notkun til að tryggja hámarksvirkni hemlakerfisins.
Akið vinnubílnum eins hratt og hægt er og hemlið svo hratt án þess að læsa hemlunum.
Endurtakið þetta tíu sinnum, með einnar mínútu hléum, til að koma í veg fyrir að hemlarnir ofhitni.

Note: Stýrið er fjarlægt af Mynd 5 fyrir sýnileika.

Notið inngjafarfótstigið til að breyta aksturshraða vinnubílsins. Stígið á inngjafarfótstigið til að gangsetja vinnubílinn. Aksturshraðinn eykst eftir því sem stigið er fastar á fótstigið. Vinnubíllinn hægir á sér um leið og stigið er af fótstiginu og síðan drepur vinnubíllinn á sér.
Hraðinn áfram í afkastaham er 26 km/klst.
Hraðinn áfram í sparnaðarham er 18 km/klst.
Notið hemlafótstigið til að stöðva eða hægja á vinnubílnum.
Að nota vinnubíl með slitnum eða rangt stilltum hemlum getur valdið meiðslum á fólki.
Ef hemlafótstigið fer innan við 25 mm frá gólfi vinnubílsins skal stilla eða gera við hemlana.
Stefnustöngin (Mynd 5) hefur tvær stöður: ÁFRAM og AFTURáBAK.
Note: Vinnubíllinn getur verið í gangi í hverri sem er af þessum tveimur stöðum, en hún hreyfist aðeins í stöðunum ÁFRAM og AFTURáBAK.
Ýtið á flauturofann (Mynd 5) til að flauta flautunni.
Notið ljósarofann (Mynd 5) til að kveikja á aðalljósunum. Ýtið ljósarofanum upp til að kveikja á aðalljósunum. Ýtið ljósarofanum niður til að slökkva á aðalljósunum.
Notið USB-tengið (Mynd 5) til að knýja fartæki.
Important: Þegar ekki er verið að nota USB-tengið skal setja gúmmítappann í til að koma í veg fyrir skemmdir á tenginu.
Notið svissinn (Mynd 5) il að keyra og slökkva á vinnubílnum eða setja vinnubílinn í TRANSPORT-stillingu.
Svissinn hefur þrjár stöður: ON, OFF og TRANSPORT.
Snúið svissinum réttsælis í ON stöðuna til að nota vinnubílinn.
Eftir að vinnubíllinn hefur verið stöðvaður skal snúa lyklinum rangsælis til að svissa AF og drepa á bílnum. Fjarlægið ávallt lykilinn þegar gengið er frá vinnubílnum.
Til að aftengja stöðuhemilinn skal snúa og halda svissinum inni í fimm sekúndur til að fara í stöðuna TRANSPORT.
Skjárinn birtir upplýsingar um vinnubílinn, á borð við vinnslustöðu, ýmsar greiningar og aðrar upplýsingar um vinnubílinn (Mynd 6).

Skjárinn sýnir upphafsskjá, akstursskjá og hleðsluskjá (Mynd 7, Mynd 8 og Mynd 9).
Mynd 8 er sýnishorn af því sem kann að sjást skjánum þegar unnið er á vinnubílnum. Upphafsskjámyndin opnast í nokkrar sekúndur eftir að svissað er Á og áður en akstursskjárinn opnast.



Akstursskjárinn ásamt stöðustefnu (Mynd 10) birtist þegar skipt er um akstursátt.

Akstursskjárinn ásamt núverandi aksturshraða vinnubílsins (Mynd 11) birtist þegar honum er ekið.

Virkur bilunarkóði (Mynd 12) birtist á skjánum ef vandamál kemur upp í vinnubílnum.

Þegar vísirinn fyrir kalda rafhlöðu (Mynd 13) blikkar á keyrsluskjánum meðan á notkun stendur breytast afköst vinnubílsins þar til hitastig rafhlöðunnar er yfir 0 °C.

Vísirinn fyrir kalda rafhlöðu birtist einnig á hleðsluskjánum (Mynd 14) þegar rafhlöðurnar eru of kaldar til að hægt sé að hlaða þær.

![]() | Stefna—ÁFRAM staða |
![]() | Flutningur—HLUTLAUS staða |
![]() | Stefna—AFTURáBAK staða |
![]() | Stöðuhemill er á. |
![]() | Vinnustundamælir |
![]() | Rafhlöðuspenna |
![]() | Hleðslustig rafhlöðu |
![]() |
Rafhlaðan er í hleðslu |
![]() |
Viðvörun um litla hleðslu á rafhlöðu |
![]() | Kveikt er á Eco-stillingu. |
![]() | Virk bilun |
![]() | Vísir fyrir heita rafhlöðu—hitastig rafhlöðu er hærra en 67 °C |
![]() | Vísir fyrir heita rafhlöðu—hitastig rafhlöðu er lægra en 0 °C |
![]() | Rafhlöður eru of kaldar til að hlaða. |
Hraðaeftirlitsrofinn (Mynd 15), sem er staðsettur undir vélarhlífinni, hefur tvær stöður: AFKöST og SPARNAðUR. Snúið rofanum réttsælis í stöðuna SPARNAðUR til að takmarka hámarkshraða vélarinnar við 18 km/klst. Snúið rofanum rangsælis í stöðuna AFKöST til að endurheimta hámarkshraða vélarinnar í 26 km/klst.

Handföng fyrir farþega eru hægra megin við mælaborðið og utan á báðum sætunum (Mynd 16).

Note: Tæknilýsingar og hönnun geta breyst án fyrirvara.
| Grunnþyngd | Þurr 571 kg |
| Uppgefin afkastageta (á sléttu undirlagi) | 767 kg samtals, þar á meðal 90,7 kg stjórnandi og 90,7 kg farþegi, farmur, þyngd eftirvagns á krók, brúttóþyngd eftirvagns, aukahlutir og viðhengi |
| Hámarksheildarþyngd ökutækisins (GVW) – á sléttu undirlagi | Samtals 1.338 kg, þar á meðal allar þyngdir sem taldar eru upp hér að ofan |
| Hámarks burðargeta fyrir farm (á sléttu undirlagi) | Samtals 567 kg, þar á meðal þyngd eftirvagns á krók og brúttóþyngd eftirvagns |
| Dráttargeta: | |
| Staðlaður tengibúnaður | Þyngd á krók: 45 kg |
| Brúttóþyngd eftirvagns (GTW): 363 kg | |
| Álagsþolinn tengibúnaður | Þyngd á krók: 45 kg |
| Brúttóþyngd eftirvagns (GTW): 544 kg | |
| Heildarbreidd | 155 cm |
| Heildarlengd | 307 cm |
| Fríbil frá jörðu | 28 cm að framan án farms eða stjórnanda, 17 cm að aftan án farms eða stjórnanda |
| Hjólhaf | 206 cm |
| Sporvídd (miðlína að miðlínu) | 125 cm að framan, 120 cm að aftan |
| Lengd palls | 113 cm, 137 cm að utan |
| Breidd palls | 125 cm að innan, 155 cm að utan frá mótuðum brettum |
| Hæð palls | 25 cm að innan |
Úrval tengitækja og aukabúnaðar sem Toro samþykkir er í boði fyrir vinnubílinn til að auka við afkastagetu hennar. Hafið samband við viðurkenndan þjónustu- og söluaðila eða dreifingaraðila Toro eða farið á www.Toro.com þar sem finna má lista yfir öll samþykkt tengitæki og aukabúnað.
Notið eingöngu varahluti og aukabúnað frá Toro til að tryggja hámarksafköst og áframhaldandi öryggisvottun vinnubílsins. Varahlutir og aukabúnaður frá öðrum framleiðendum geta reynst hættulegir og notkun þeirra kann að fella ábyrgðina úr gildi.
Aldrei leyfa börnum eða fólki, sem ekki hefur til þess þjálfun eða líkamlega getu, að vinna á eða við vinnubílinn. Gildandi reglur á hverjum stað kunna að setja takmörk við aldur stjórnanda. Eigandinn ber ábyrgð á að þjálfa stjórnendur og vélvirkja.
Kynnið ykkur örugga notkun búnaðarins, stjórntækjanna og öryggismerkinganna.
Drepið á vinnubílnum, takið lykilinn úr og bíðið þar til allir hlutar hafa stöðvast áður en farið er úr ökumannssætinu. Leyfið vinnubílnum að kólna áður en hann er stilltur, þjónustaður, þrifinn eða settur í geymslu.
Lærið að stöðva vinnubílinn og drepa á honum á skjótan máta.
Tryggið að farþegar (stjórnandi og farþegi) séu ekki fleiri en handföngin á vinnubílnum.
Gangið úr skugga um að allur öryggisbúnaður og merkingar séu á sínum stað. Gerið við eða skiptið um öryggisbúnað og setjið nýjar merkingar í stað þeirra sem eru ólæsilegar eða vantar. Ekki nota vinnubílinn ef þessir hlutir eru ekki til staðar eða virka ekki rétt.
| Tíðni viðhaldsþjónustu | Viðhaldsferli |
|---|---|
| Fyrir hverja notkun eða daglega |
|
Fara skal í gegnum ferli fyrir hverja notkun/daglegt ferli sem lýst er í áður en unnið er á vinnubílnum í upphafi hvers dags.
| Tíðni viðhaldsþjónustu | Viðhaldsferli |
|---|---|
| Fyrir hverja notkun eða daglega |
|
Tilgreindur loftþrýstingur í hjólbörðum: 55 til 103 kPa
Important: Farið ekki yfir hámarksþrýstinginn sem tilgreindur er á annarri hlið hjólbarðans.
Note: Áskilinn loftþrýstingur í hjólbörðum ræðst af farmþunganum sem bílnum er ætlað að bera.
Kannið loftþrýsting í hjólbörðum.
Note: Loftþrýstingur í fram- og afturhjólbörðum á að vera 55 til 103 kPa.
Notið lægri loftþrýsting í hjólbörðum þegar farmþungi er minni, til að minka þjöppun jarðvegar, gera aksturinn jafnari og lágmarka hjólfaramyndun.
Notið hærri loftþrýsting í hjólbörðum þegar ekið er með meiri farmþunga á meiri hraða.
Stillið loftþrýsting í hjólbörðunum, ef þörf krefur, með því að bæta við eða tappa af lofti í hjólbörðunum.

| Tíðni viðhaldsþjónustu | Viðhaldsferli |
|---|---|
| Eftir fyrstu 100 klukkustundirnar |
|
Fylgið leiðbeiningum um tilkeyrslu nýrra vinnubíla til að tryggja fullnægjandi afköst og endingartíma vinnubílsins.
Gangið úr skugga um að hemlarnir séu slípaðir; sjá kaflan um slípun í Uppsetningu.
Athugið hemlavökvann; sjá Athugun á hæð hemlavökvans.
Sjá varðandi tíðari skoðanir.
Athugið staðsetningu fram- og afturfjöðrunar og stillið hana ef nauðsyn krefur; sjá Stilling framhjóla.
Til að hámarka afköst og endingu rafhlöðunnar skal hlaða rafhlöðurnar í 100% þegar vinnubíllinn er móttekinn.
Eigandinn/stjórnandinn getur komið í veg fyrir og ber ábyrgð á slysum sem geta valdið meiðslum á fólki eða eignatjóni.
Farþegar mega eingöngu sitja í þar til ætluðu sæti. Flytjið ekki farþega á pallinum. Haldið nærstöddum og gæludýrum í öruggri fjarlægð frá vinnubílnum meðan á vinnu stendur.
Notið viðeigandi fatnað, þar á meðal augnhlífar; síðbuxur og trausta skó með hálkuvörn. Takið sítt hár í tagl og ekki klæðast víðum fatnaði eða hangandi skartgripum.
Sýnið árvekni á meðan unnið er á vinnubílnum. Ekki gera neitt sem veldur truflun; slíkt kann að leiða meiðsla eða eignatjóns.
Notið ekki vinnubílinn veik, þreytt eða undir áhrifum áfengis eða annarra vímuefna.
Ekki fara yfir hámarksheildarþyngd (GVW) vinnubílsins.
Sýnið sérstaka aðgát við að hemla eða beygja með þungan farm á pallinum.
Mjög fyrirferðarmikill farmur á pallinum dregur úr stöðugleika vinnubílsins. Ekki fara umfram burðargetu pallsins.
Akstur með efni sem ekki er hægt binda niður hefur neikvæð áhrif á stýringu, hemla og stöðugleika vinnubílsins. Sýnið aðgát við stýringu og hemlun þegar ekið er með efni sem ekki er hægt að binda niður.
Akið með léttari farm og á minni hraða þegar ekið er yfir gróft og ójafnt undirlag og nærri köntum, holum og öðrum miklum breytingum á undirlagi. Farmur getur hreyfst til og valdið því að vinnubíllinn verður óstöðugur.
Áður en þú ræsir vinnubílinn skaltu ganga úr skugga um að stöðuhemillinn sé virkur og að þú sért í akstursstöðu.
Stjórnandi og farþegar skulu sitja í sæti sínu þegar vinnubíllinn er á ferð. Haldið höndum á stýri; farþegar skulu nota þar til gerð handföng. Haldið handleggjum og fótleggjum öllum stundum innan bíls.
Vinnið eingöngu á vinnubílnum með góða yfirsýn. Verið vakandi fyrir holum, skorningum, ójöfnum, grjóti eða öðrum huldum hlutum. Óslétt undirlag getur valdið því að vinnubíllinn velti. Hátt gras getur hulið hindranir. Sýnið aðgát þegar komið er að blindhornum, runnum, trjám eða öðrum hlutum sem kunna að takmarka útsýnið.
Ekki aka vinnubílnum nálægt háum bökkum, skurðum og vegköntum. Vinnubíllinn getur oltið mjög skyndilega ef hjól fer fram af brúninni eða bakkinn gefur eftir.
Verið alltaf vakandi fyrir og forðist hindranir fyrir ofan bílinn, svo sem trjágreinar, dyrastafi, göngubrýr o.s.frv.
Lítið aftur fyrir og niður áður en bakkað er til að tryggja að leiðin sé greið.
Þegar vinnubílnum er ekið á vegum skal fylgja umferðarreglum og nota allan viðbótarbúnað sem lög kunna að krefjast, svo sem ljós, stefnuljós, merki um hægfara ökutæki (SMV) og annað sem krafist ef.
Ef vinnubíllinn titrar óeðlilega mikið skal stöðva vinnubílinn og drepa á honum tafarlaust. Bíðið þar til hlutir á hreyfingu hafa stöðvast og leitið eftir skemmdum. Gerið við skemmdir áður en vinna hefst.
Stöðvunartími vinnubílsins kann að vera lengri á blautu undirlagi en á þurru undirlagi. Hægt er að þurrka blauta hemla með því að aka hægt á jafnsléttu og stíga um leið létt á hemlafótstigið.
Við nauðhemlun á miklum hraða er hætta á að afturdekkin læsist. Slíkt skerðir stjórn á vinnubílnum.
Ekki snerta vélina á meðan hún er í gangi eða stuttu eftir að drepið er á vélinni þar sem hitastig þessara svæða getur valdið brunasárum.
Ekki skilja vinnubílinn eftir í gangi.
Áður en svæði stjórnanda er yfirgefið skal gera eftirfarandi:
Leggið vinnubílnum á jafnsléttu.
Gangið úr skugga um að stöðuhemillinn sé virkur.
Drepið á vinnubílnum og takið lykilinn úr.
Bíðið þar til hlutir á hreyfingu hafa stöðvast.
Ekki nota vinnuvélina þegar hætta er á eldingum.
Notið aðeins aukahluti og viðhengi sem samþykkt eru af The Toro Company.
Note: Veltigrind með tveimur stoðum er í boði sem aukabúnaður fyrir þennan vinnubíl. Notið veltigrind ef vinna á nærri þverhnípi, vatni, á ósléttri jörð eða í brekku, þar sem hætta er á veltu. Hafið samband við viðurkenndan dreifingaraðila Toro til að fá frekari upplýsingar.
Brekkur valda mikilli hættu á stjórnmissi eða veltu sem leitt getur til alvarlegra meiðsla eða dauða.
Skoðið vinnusvæðið til að ákvarða í hvaða brekkum er hægt að vinna á vinnubílnum og skipuleggið verklag og reglur fyrir vinnu í þeim brekkum. Beitið almennu hyggjuviti og sýnið góða dómgreind við þessa skoðun.
Ef stjórnanda finnst óþægilegt að vinna á vinnubílnum í halla skal viðkomandi sleppa því.
Tryggið að allar hreyfingar í halla séu hægar og jafnar. Breytið hvorki hraða né stefnu vinnubílsins skyndilega.
Forðist að aka vinnubílnum á blautu undirlagi. Hjólbarðar kunna að missa grip. Velta getur átt sér stað áður en hjólbarðar missa grip.
Akið beint upp og niður halla.
Ef vinnubíllinn byrjar að missa hraða á leið upp halla skal stíga hægt á hemlana og bakka svo rólega beint niður hallann.
Hættulegt getur verið að beygja þegar ekið er upp eða niður halla. Ef nauðsynlegt reynist að beygja í halla þarf að gera það rólega og sýna mikla aðgát.
Þungur farmur getur haft áhrif á stöðugleika í halla. Akið með léttari farm og hægar þegar ekið er í halla eða þegar þungamiðja farmsins er há. Festið farminn á pallinn til að koma í veg fyrir að hann hreyfist til. Sýnið sérstaka aðgát við flutning farms sem hreyfist auðveldlega til (t.d. vökva, grjót, sand o.s.frv).
Forðist að taka af stað, stöðva eða beygja í halla, sérstaklega með farm. Lengri tíma tekur að stöðva vinnubílinn þegar ekið er niður halla en þegar stöðvað er á jafnsléttu. Ef stöðva þarf vinnubílinn skal forðast skyndilegar hraðabreytingar. Þær geta valdið hættu á veltu. Ekki hemla skyndilega þegar vinnubíllinn rennur aftur á bak þar sem það veldur hættu á að hann velti aftur fyrir sig.
Ekki skal fara yfir hámarksheildarþyngd (GVW) vinnubílsins þegar farmur er á pallinum og/eða verið er að draga eftirvagn; sjá Tæknilýsing.
Dreifið farmi jafnt um pallinn til að auka stöðugleika og stjórn vinnubílsins.
Áður en losað er skal ganga úr skugga um að enginn sé fyrir aftan vinnubílinn.
Ekki losa farm af palli á meðan vinnubíllinn stendur þversum í halla. Breytingar á þyngdardreifingu geta skapað hættu á veltu.
Pallur í hæstu stöðu getur dottið niður og valdið meiðslum á fólki sem vinnur undir honum.
Notið ávallt stífu til að halda pallinum uppi þegar unnið er undir honum.
Fjarlægið allt efni af pallinum áður en honum er lyft.
Hætta er á veltu ef ekið er með pallinn uppi. Hætta er á að pallurinn skemmist ef ekið er með hann uppi.
Akið vinnubílnum með pallinn niðri.
Látið pallinn síga eftir að hann hefur verið tæmdur.
Ef farmur er aftarlega á pallinum þegar klinkurnar eru losaðar er hætta á að pallurinn sturti óvænt og valdi meiðslum á nærstöddum.
Reynið að hafa farm á miðjum pallinum, ef því er við komið.
Haldið pallinum niðri og tryggið að enginn halli sér yfir pallinn eða standi fyrir aftan hann þegar klinkurnar eru losaðar.
Fjarlægið allan farm af pallinum áður en honum er lyft vegna viðhaldsvinnu.
Pallurinn getur verið þungur. Hendur og aðrir líkamshlutar geta kramist.
Haldið höndum og öðrum líkamshlutum í öruggri fjarlægð þegar pallurinn er látinn síga niður.
Ef verið var að afferma laust efni, svo sem sand, hleðslusteina eða viðarkurl, af palli vinnubílsins er hugsanlegt að eitthvað af því efni hafi safnast fyrir á svæðinu í kringum lamir afturhlerans. Áður en afturhleranum er lokað skal gera eftirfarandi.
Notið hendurnar til að fjarlægja sem allra mest af lausu efni af svæðinu í kringum lamirnar.
Snúið afturhleranum í um það bil 45° horn (Mynd 21).

Snúið afturhleranum fram og til baka nokkrum sinnum með stuttum hristihreyfingum (Mynd 21).
Note: Við það losnar efnið sem kann að hafa safnast fyrir á svæðinu í kringum lamirnar.
Látið afturhlerann síga og kannið hvort eitthvað laust efni er enn á svæðinu í kringum lamirnar.
Endurtakið skref 1 til og með 4 þar til allt efni hefur verið fjarlægt af svæðinu í kringum lamirnar.
Snúið afturhleranum upp og fram á við þar til láskragar afturhlerans flútta við vasa afturhlerans á pallinum (Mynd 20).
Note: Lyftið eða látið afturhlerann síga til að láskragarnir passi í lóðréttar raufarnar á milli kraga afturhlerans og pallsins.
Látið afturhlerann síga þar til hann fellur við afturhluta pallsins (Mynd 20).
Note: Láskragar afturhlerans eru kyrfilega festir við kraga afturhlerans á pallinum.
Skoðið hleðslustig rafhlöðu á skjánum; sjá Skjámynd.
Ef rafhlöðustaðan verður of lág (þ.e. undir 10%) birtist tákn um lága rafhlöðu á skjánum. Þegar slík hleðslustaða birtist við notkun vinnubílsins skal aka honum á þar til gert hleðslusvæði og hlaða rafhlöðurnar; sjá Virkni Li-ion hleðslutækis.
Ef vinnubíllinn er notaður á meðan hleðslustaðan er tóm, starfar vinnubíllinn á lægri hraða (þ.e. 5 km/klst.).
Important: Þegar vinnubíllinn er stöðvaður í halla skal nota aksturshemlana til að stöðva hann og halda honum á sínum stað. Mótorinn kann að ofhitna eða rafhlöðurnar kunna að tæmast ef inngjöfin er notuð til að stöðva vinnubílinn í halla.
Takið fótinn af inngjafarfótstiginu.
Ýtið hægt á hemlafótstigið til að beita aksturshemlum þar til vinnubíllinn stöðvast alveg. Stöðuhemillinn virkjast þegar vélin stöðvast að fullu.
Note: Hemlunarfjarlægðin getur verið mislöng, allt eftir farmþunga og hraða.
Fylgið eftirfarandi leiðbeiningum við fermingu palls og notkun vinnubílsins:
Takið mið af burðargetu vinnubílsins og takmarkið þyngd farms á pallinum í samræmi við það sem tilgreint er á Tæknilýsing og á merkimiða fyrir heildarþyngd vinnubílsins.
Note: Tilgreind hámarksþyngd farms á aðeins við fyrir notkun á sléttu yfirborði.
Þegar vinnubíllinn er notaður á hæðóttu og ósléttu yfirborði þarf að minnka farmþyngdina á pallinum.
Þegar vinnubíllinn er notaður til að ferja háreist efni (með hárri þyngdarmiðju), svo sem múrsteinsstafla, palla- og girðingaefni eða áburðarpoka, þarf að minnka farmþyngdina á pallinum. Dreifið úr farminum til að lækka hann sem mest og gætið þess að farmurinn skerði ekki útsýnið aftur fyrir vinnubílinn við notkun.
Miðjustillið farminn á pallinum sem hér segir:
Dreifið þyngd farmsins jafnt á pallinum, frá einni hlið til annarar.
Important: Ef þyngd farms á pallinum er öll öðrum megin er aukin hætta á að vinnubílnum hvolfi.
Dreifið farminum á pallinum jafnt frá framhlið af afturhlið.
Important: Ef þyngd farms er mest fyrir aftan afturöxulinn er aukin hætta á að stjórnandi missi stjórn á vinnubílnum eða bílnum hvolfi, auk þess sem grip á framhjólbörðum verður minna.
Sýnið sérstaka aðgát þegar farmur sem inniheldur mjög stóra hluti er fluttur á pallinum, sérstaklega.
Þegar þess er kostur skal alltaf festa farminn tryggilega með ólum við pallinn, til að forðast að hann færist til.
Við flutninga á vökva skal sýna aðgát þegar vinnubílnum er ekið upp eða niður brekku, við skyndilegar hraðabreytingar eða við stöðvun, eða þegar ekið er yfir ójafnt yfirborð.
Afkastageta pallsins er 0,37 m3. Magn (rúmtak) efnis sem setja má á pallinn án þess að fara yfir uppgefna burðargetu vinnubílsins getur verið mjög mismunandi, allt eftir eðlismassa efnisins.
Upplýsingar um hámark mismunandi efna er að finna á eftirfarandi töflu:
| Efni | Eðlismassi | Hámarksburðargeta palls(á sléttu undirlagi) |
| Möl, þurr | 1522 kg/m3 | Fullur |
| Möl, blaut | 1922 kg/m3 | Fyllt að 3/4 |
| Sandur, þurr | 1442 kg/m3 | Fullur |
| Sandur, blautur | 1922 kg/m3 | Fyllt að 3/4 |
| Timbur | 721 kg/m3 | Fullur |
| Börkur | <721 kg/m3 | Fullur |
| Mold, þjöppuð | 1602 kg/m3 | Fyllt að 3/4 (um það bil) |
Áður en svæði stjórnanda er yfirgefið skal gera eftirfarandi:
Leggið vinnubílnum á jafnsléttu.
Gangið úr skugga um að stöðuhemillinn sé virkur.
Drepið á vinnubílnum og takið lykilinn úr.
Bíðið þar til hlutir á hreyfingu hafa stöðvast.
Leyfið vinnubílnum að kólna áður en hann er stilltur, þjónustaður, þrifinn eða settur í geymslu.
Geymið ekki vinnubílinn nærri óvörðum loga, neistaflugi eða kveikiloga, á borð við vatnshitara eða önnur heimilistæki.
Haldið öllum hlutum vinnubílsins í góðu ásigkomulagi og tryggið að vélbúnaður sé vel hertur.
Haldið sætisbeltum við og þrífið eftir þörfum.
Skiptið um slitnar eða skemmdar merkingar og setjið nýjar í stað merkinga sem vantar.
VIÐVÖRUN: Hætta á eldi og raflosti—Rafhlöðurnar eru ekki með neinum hlutum sem notandi getur viðhaldið.
Gangið úr skugga um að spennan sem notuð er í viðkomandi landi henti hleðslutækinu.
Ekki hlaða vinnubílinn í blautu umhverfi; verjið hann fyrir rigningu og snjó.
Hætta er á eldsvoða, raflosti eða meiðslum þegar notaður er aukabúnaður sem Toro mælir ekki með eða selur.
Fylgið þessum leiðbeiningum og leiðbeiningum hvers þess búnaðar sem á að nota nærri hleðslutækinu til að draga úr hættu á sprengingu í rafhlöðu.
Rafhlöður gætu gefið frá sér sprengifimar lofttegundir ef þær eru ofhlaðnar verulega.
Leitið til viðurkennds dreifingaraðila til að þjónusta eða skipta um rafhlöðu.
Aldrei leyfa börnum eða óþjálfuðum einstaklingum að vinna með eða við hleðslutækið. Gildandi reglur á hverjum stað kunna að setja takmörk við aldur stjórnanda. Eigandinn ber ábyrgð á að þjálfa stjórnendur og vélvirkja.
Lesið vandlega og fylgið öllum leiðbeiningum á hleðslutækinu og í handbókinni áður en hleðslutækið er notað. Þekkið rétta notkun hleðslutækisins.
Haldið nærstöddum og börnum í öruggri fjarlægð á meðan hleðsla stendur yfir.
Slökkvið á vinnubílnum og bíðið þar til vinnubíllinn hefur slökkt alveg á sér áður en hann er hlaðinn. Ef þetta er ekki gert er hætta á neistahlaupi.
Notið hleðslutækið aðeins innan spennusviðsins sem tilgreint er í þessari notendahandbók og notið aðeins rafmagnssnúru sem Toro hefur samþykkt.
Hafið samband við viðurkenndan Toro-dreifingaraðila til að fá rétta hleðslutækið og rafmagnssnúru.
Hlaðið ekki frosna rafhlöðu.
Farið vel með rafmagnssnúruna. Ekki toga í rafmagnssnúruna til að aftengja hleðslutækið frá innstungunni. Geymið snúruna fjarri hita, olíu og beittum brúnum.
Tengið hleðslutækið beint við innstungu með jarðtengingu. Notið ekki hleðslutækið í ójarðtengdri innstungu, jafnvel ekki með jarðtengdu millistykki.
Ekki breyta meðfylgjandi rafmagnssnúru eða kló.
Fjarlægið málmhluti á borð við hringa, armbönd, hálsmen og úr þegar unnið er við Li-ion rafhlöðu. Li-ion rafhlaða getur myndað nægan straum til að valda alvarlegu brunasári.
Notið framlengingarsnúru sem ræður við hleðslustrauminn sem tilgreindur er í þessari notendahandbók. Ef hlaðið er utandyra, notið þá framlengingarsnúru sem er hönnuð til notkunar utandyra.
Ef skemmdir verða á snúrunni á meðan hún er í sambandi skal taka hana úr sambandi við innstunguna og fá nýja rafmagnssnúru hjá viðurkenndum dreifingaraðila Toro.
Takið hleðslutækið úr sambandi við rafmagnsinnstungu þegar það er ekki í notkun, áður en það er flutt til eða áður en það er þjónustað.
Ekki taka hleðslutækið í sundur.
Farið með hleðslutækið til viðurkennds dreifingaraðila Toro þegar þörf er á þjónustu eða viðgerð.
Takið rafmagnssnúruna úr sambandi við innstunguna áður en viðhald eða þrif fara fram til að draga úr hættu á raflosti.
Haldið við eða skiptið um öryggis- og leiðbeiningarmerkingar, eftir þörfum.
Ekki nota hleðslutækið með skemmdri snúru eða kló. Hafið samband við viðurkenndan dreifingaraðila Toro til að fá nýja snúru.
Ef hleðslutækið er skemmt skaltu ekki nota það; farðu með það til viðurkennds Toro-dreifingaraðila.
Sýnið aðgát þegar vinnubíllinn er settur á eða tekinn af eftirvagni eða palli.
Notið skábrautir í fullri breidd við að aka honum á eftirvagn eða palla.
Festið vinnubílinn tryggilega.
Frekari upplýsingar um festingarstaði á vinnubílnum er að finna á Mynd 22 og Mynd 23.
Note: Akið vinnubílnum á eftirvagn þannig að framhluti hans snúi fram. Ef það er ekki hægt skal binda vélarhlífina fasta við grindina með stroffu eða taka hana af og flytja og festa aðskilið. Að öðrum kosti er hætta á að vélarhlífin fjúki af við flutninga.


Í neyðartilvikum er hægt að draga vinnubílinn stuttar vegalengdir; þetta er hins vegar ekki hefðbundin notkun.
Hætta er á stjórnmissi þegar dregið er á of miklum hraða. Slíkt getur leitt til meiðsla á fólki.
Aldrei draga vinnubíl hraðar en 8 km/klst.
Dráttur vinnubílsins krefst aðkomu tveggja einstaklinga. Ef flytja þarf vinnubílinn um langan veg skal nota vörubíl eða eftirvagn.
Festið dráttarlínu við dráttartungu á framhluta ramma vinnubílsins.
Til að aftengja stöðuhemilinn skal snúa og halda svissinum inni í 5 sekúndur til að fara í stöðuna FLUTNINGUR.
Note: N-táknið (þ.e. HLUTLAUS staða) ætti að birtast á skjánum.
Þessi vinnubíll getur dregið eftirvagna. Dráttarkrókur er í boði fyrir vinnubílinn. Frekari upplýsingar fást hjá viðurkenndum þjónustu- og söluaðila.
Ekki ofhlaða vinnubílinn eða eftirvagninn þegar ekið er með farm eða eftirvagn (tengitæki) í eftirdragi. Ofhleðsla á annaðhvort vinnubílnum eða eftirvagninum getur valdið lélegri afköstum eða skemmdum á hemlum, gírkassa, stýri, fjöðrun, yfirbyggingu eða dekkjum.
Hlaðið eftirvagn alltaf þannig að 60% farmsins liggi á framhluta eftirvagnsins. Þetta veltir um 10% af heildarþyngd eftirvagnsins (GTW) yfir á dráttarkrók vinnubílsins.
Til að tryggja viðunandi hemlun og grip skal alltaf ferma pallinn þegar eftirvagn er í notkun. Ekki skal fara yfir heildarþyngdarmörk fyrir pall og eftirvagn.
Forðist að leggja vinnubíl með eftirvagni í brekku. Ef leggja verður í brekku skal setja klossa við dekk eftirvagnsins.
Samgönguráðuneyti Bandaríkjanna og alþjóðleg flutningsyfirvöld krefjast þess að Li-ion rafhlöður séu fluttar í sérstökum pakkningum og eingöngu með flutningatækjum sem eru vottuð fyrir slíkan flutning. Í Bandaríkjunum má flytja rafhlöðu uppsetta í vinnuvélinni sem rafknúinn búnað, í samræmi við reglugerðir. Samgönguráðuneyti Bandaríkjanna eða önnur viðeigandi opinber stofnun annarra landa veitir nákvæmar upplýsingar um reglugerðir varðandi flutning rafhlaðanna eða vinnuvélarinnar með rafhlöðunum í.
Hægt er að fá frekari upplýsingar um flutning á rafhlöðum hjá viðurkenndum dreifingaraðila Toro.
Snerting við vatn meðan á hleðslu stendur getur valdið raflosti og meiðslum eða dauða.
Ekki meðhöndla klóna eða hleðslutækið með blautum höndum eða standandi í vatni.
Ekki má hlaða rafhlöðurnar í rigningu eða bleytu.
Hleðslutækið er með þriggja pinna kló með jarðtengingu (gerð B) til að draga úr hættu á raflosti. Ef klóin passar ekki í vegginnstunguna eru aðrar jarðtengdar klær í boði; hafið samband við viðurkenndan dreifingaraðila Toro.
Ekki breyta hleðslutækinu eða kló rafmagnssnúrunnar á nokkurn hátt.
Important: Leitið reglulega eftir götum eða sprungum í einangrun rafmagnssnúrunnar. Ekki nota skemmda snúru. Ekki láta snúruna liggja í vatni eða blautu grasi.
Sjá Mynd 24 varðandi kröfur um aflgjafa.

Stingið rafmagnssnúrunni í innstungu fyrir hleðslutæki á vinnubílnum (Mynd 25).
Skemmd hleðslusnúra getur valdið raflosti eða eldhættu.
Skoðið rafmagnssnúruna vandlega áður en hleðslutækið er notað. Ef snúran er skemmd skal ekki nota hleðslutækið fyrr en búið er að útvega nýja snúru.

Stingið kló rafmagnssnúrunnar í jarðtengda rafmagnsinnstungu.
Tilraun til að hlaða rafhlöðurnar með hleðslutæki sem Toro býður ekki upp á getur leitt til mikils hita og annarra tengdra bilana í vörunni, sem geta leitt til eignatjóns og/eða meiðsla.
Notið hleðslutæki frá Toro til að hlaða rafhlöðurnar.
Ráðlagt hitasvið fyrir hleðslu: 0 ° til 45 °C
Important: Hlaðið rafhlöðurnar aðeins við hitastig sem er innan ráðlagðs hitasviðs.
Note: Hleðslutækið virkar ekki við hitastig sem fer yfir lágmarks- eða hámarkshita. Vísar fyrir heita eða kalda rafhlöðu birtast á skjánum.
Hleðslustaðan er sýnd á skjánum.
Ef bilun kemur upp birtist villuboð á skjánum. Til að leiðrétta villu skal vísa til viðhaldshandbókar vinnubílsins.
Taktu rafmagnssnúruna úr innstungu fyrir hleðslutæki á vinnubílnum.
Geymið snúruna á öruggum stað.
Gangsetjið vinnubílinn.
Athugið hleðslustöðuna; sjá Skjámynd.
Ekki leyfa óþjálfuðu starfsfólki að þjónusta vinnubílinn.
Áður en svæði stjórnanda er yfirgefið skal gera eftirfarandi:
Leggið vinnubílnum á jafnsléttu.
Gangið úr skugga um að stöðuhemillinn sé virkur.
Drepið á vinnubílnum og takið lykilinn úr.
Bíðið þar til hlutir á hreyfingu hafa stöðvast.
Leyfið vinnubílnum að kólna áður en hann er stilltur, þjónustaður, þrifinn eða settur í geymslu.
Setjið alltaf búkka undir vinnubílinn þegar unnið er undir honum.
Ekki vinna undir palli sem hefur verið lyft án þess að nota viðeigandi öryggisstífu.
Ekki hlaða rafgeyminn á meðan unnið er við vinnubílinn.
Tryggið að allur vélbúnaður sé vel hertur til að viðhalda góðu ástandi vinnubílsins.
Til að draga úr eldhættu skal hreinsa smurfeiti, gras, lauf og óhreinindi af vinnubílnum.
Ekki sinna viðhaldi með vélina gangi, ef því verður við komið. Haldið öruggri fjarlægð frá hlutum á hreyfingu.
Ef vinnubíllinn þarf að vera í gangi við stillingu skal halda höndum, fótum, fatnaði og öðrum líkamshlutum fjarri hlutum á hreyfingu. Haldið nærstöddum í öruggri fjarlægð frá vinnubílnum.
Kannið virkni stöðuhemilsins, eins og sagt er til um í viðhaldsáætluninni og stillið hann og þjónustið eftir þörfum.
Haldið öllum hlutum vinnubílsins í góðu ásigkomulagi og tryggið að vélbúnaður sé rétt hertur. Skiptið um slitnar eða skemmdar merkingar.
Aldrei breyta ætlaðri virkni öryggisbúnaðar eða skerða þá vörn sem öryggisbúnaður veitir.
Ef þörf er á meiriháttar viðgerðum eða aðstoð skal hafa samband við viðurkenndan þjónustu- og söluaðila.
Hvers kyns breytingar á vinnubílnum kunna að hafa áhrif á virkni hans, afköst eða endingu, auk þess sem hætta skapast á meiðslum á fólki eða dauða. Slík notkun getur fellt úr gildi vöruábyrgð Toro® Company.
| Tíðni viðhaldsþjónustu | Viðhaldsferli |
|---|---|
| Eftir fyrstu 100 klukkustundirnar |
|
| Fyrir hverja notkun eða daglega |
|
| Á 100 klukkustunda fresti |
|
| Á 200 klukkustunda fresti |
|
| Á 300 klukkustunda fresti |
|
| Á 400 klukkustunda fresti |
|
| Á 800 klukkustunda fresti |
|
| Á 1.000 klukkustunda fresti |
|
Note: Farið á www.Toro.com og leitið að viðkomandi vinnubíl í gegnum handbókartengilinn á heimasíðunni til að sækja eintak af teikningum rafkerfisins.
Ef viðeigandi viðhaldi er ekki sinnt á vinnubílnum er hætta á ótímabærri bilun í kerfum bílsins, sem sett getur stjórnanda eða nærstadda í hættu.
Sinnið reglulegu viðhaldi á vinnubílnum og haldið honum í góðu ásigkomulagi, eins sagt er til um í þessum leiðbeiningum.
Viðhald, viðgerðir, stillingar eða skoðanir á vinnubílnum skulu eingöngu vera í höndum hæfs og vottaðs starfsfólks.
Forðist eldhættu og hafið slökkvibúnað ávallt til reiðu á vinnusvæðinu. Ekki nota opinn eld til að athuga vökvastig.
Ekki nota opin ílát með eldfimum hreinsivökvum til að þrífa hluti.
Ef lykillinn er skilinn eftir í svissinum getur hver sem er óvart gangsett vinnuvélina og valdið alvarlegum slysum á stjórnanda eða öðrum nærstöddum.
Drepið á vinnubílnum og fjarlægið lykilinn úr svissinum áður en viðhald er framkvæmt.
Afritið þessa blaðsíðu til að skrá reglubundið viðhald.
| Viðhaldsatriði | Vika: | ||||||
|---|---|---|---|---|---|---|---|
| Mánudagur | Þriðjudagur | Miðvikudagur | Fimmtudagur | Föstudagur | Laugardagur | Sunnudagur | |
| Athugið virkni aksturshemils og stöðuhemils. | |||||||
| Athugið virkni stefnustangarinnar. | |||||||
| Athugið hæð hemlavökvans. | |||||||
| Hlustið eftir óvenjulegum vinnsluhljóðum. | |||||||
| Kannið þrýsting í hjólbörðum. | |||||||
| Leitið eftir leka. | |||||||
| Athugið virkni verkfæris. | |||||||
| Athugið virkni inngjafarinnar. | |||||||
| Lagfærið lakk sem hefur flagnað eða skemmst. | |||||||
| Þrífið vinnubílinn. | |||||||
| Lagfærið lakk sem hefur flagnað eða skemmst. | |||||||
Important: Ef vinnubíllinn er notaður við einhverjar af þeim aðstæðum sem taldar eru upp hér að neðan skal sinna viðhaldi helmingi oftar:
Vinna í eyðimörk
Vinna við köld skilyrði – undir 10 °C
Dráttur eftirvagns
Mikil notkun við rykugar aðstæður
Byggingarvinna
Eftir langa notkun í aur, sandi, vatni eða öðrum álíka óhreinindum skal gera eftirfarandi:
Láta skoða og hreinsa hemlana svo fljótt sem auðið er. Þetta kemur í veg fyrir að sverfandi efni valdi óeðlilegu sliti.
Þrífið vinnubílinn með vatni eingöngu eða með mildu hreinsiefni.
Important: Ekki nota ísalt vatn eða hreinsað vatn til að þrífa vinnubílinn.
Leggið vinnubílnum á jafnsléttu.
Gangið úr skugga um að stöðuhemillinn sé virkur.
Drepið á vinnubílnum og takið lykilinn úr.
Þegar tjakkur er í notkun getur vinnubíllinn verið óstöðugur. Vinnubíllinn gæti runnið af tjakknum og valdið slysum á fólki sem er undir bílnum.
Aldrei má gangsetja vinnubílinn á meðan hann er á tjakki.
Takið lykilinn alltaf úr svissinum áður en vinnubíllinn er yfirgefinn.
Skorðið hjólbarðana þegar stutt er við vinnubílinn með lyftibúnað.
Notið tjakkstanda til að styðja við vinnubílinn þegar honum hefur verið lyft.
Important: Í hvert sinn sem vinnubíllinn er gangsettur vegna reglubundins viðhalds og/eða bilanagreininga skal gæta þess að afturhjól vinnubílsins séu í 25 mm fjarlægð frá jörðu og að afturöxull sé studdur með tjakkstöndum.
Lyftipunktarnir framan á vinnubílnum eru staðsettir framan á grindinni, á bak við dráttarbeislið (Mynd 26).

Lyftipunktarnir aftan á vinnubílnum eru staðsettir undir öxlinum (Mynd 27).

| Tíðni viðhaldsþjónustu | Viðhaldsferli |
|---|---|
| Á 300 klukkustunda fresti |
|
Tilgreind smurfeiti: Mobilgrease XHP™-222
Lyftið vinnubílnum að framan og setjið tjakkstanda undir framhliðina.
Fjarlægið felgurærnar fjórar sem festa hjólið við hjólnöfina (Mynd 29).

Fjarlægið kragaboltana (3/8 x 3/4 to.) sem halda festingunni fyrir hemlasamstæðuna fastri við drifið og skiljið hemilinn frá drifinu (Mynd 30).
Note: Setjið stoðir undir hemlasamstæðuna áður en lengra er haldið.

Fjarlægið rykhlífina af hjólnöfinni (Mynd 31).

Fjarlægið klofsplittið og festiróna af drifinu og drifrónni (Mynd 31).
Fjarlægið drifróna úr drifinu og skiljið hjólnöf og snúðsamstæðu frá drifinu (Mynd 31 og Mynd 32).

Þurrkið vel af drifinu með klúti.
Endurtakið skref 1 til og með 7 fyrir hjólnöfina og snúðinn á hinni hlið vinnubílsins.
Fjarlægið utanáliggjandi legu og legugróp af hjólnöfinni (Mynd 33).

Fjarlægið þéttið úr legu að innanverðu úr hjólnöfinni (Mynd 33).
Þurrkið vel af þéttinu og leitið eftir sliti eða skemmdum á því.
Note: Notið ekki leysiefni til að hreinsa þéttið. Ef þéttið er slitið eða skemmt skal skipta um það.
Hreinsið legurnar og legugrópirnar og skoðið íhlutina til að leita eftir sliti eða skemmdum.
Note: Skiptið um slitna eða skemmda íhluti. Gangið úr skugga um að legurnar og grópirnar séu hreinar og þurrar.
Hreinsið alla feiti, óhreinindi og laust efni úr holrýminu í hjólnöfinni (Mynd 33).
Setjið tilgreinda smurfeiti í legurnar.
Fyllið holrýmið í hjólnöfinni sem nemur um 50 til 80% af tilgreindu magni smurfeiti (Mynd 33).
Setjið leguna að innanverðu í grópina í hjólnöfinni innanverðri og setjið þéttið á (Mynd 33).
Endurtakið skref 1 til og með 8 fyrir legurnar í hinni hjólnöfinni.
Berið þunnt lag af tilgreindri smurfeiti á drifið (Mynd 34).

Setjið hjólnöf og snúð upp á drifið, með snúðinn að innanverðu (Mynd 34).
Setjið legu að utanverðu upp á drifið og komið legunni fyrir í grópinni að utanverðu (Mynd 34).
Setjið flipaskinnuna upp á drifið (Mynd 34).
Skrúfið drifróna á drifið og herðið hana í 15 N∙m, en snúið um leið hjólnöfinni til að legan fari á réttan stað (Mynd 34).
Losið drifróna svolítið, eða þar til hjólnöfin snýst hindrunarlaust.
Herðið drifróna í 170 til 225 N·m.
Setjið festiróna yfir róna og athugið hvort raufin í festirónni og gatið fyrir klofsplittið í drifinu flútta (Mynd 35).
Note: Ef raufin í festirónni flúttar ekki við gatið á drifinu skal herða drifróna þar til raufin og gatið flútta, að hámarki að 226 N·m á rónni.

Setjið klofsplittið í og sveigið hvorn legg utan um festiróna (Mynd 35).
Setjið rykhlífina á hjólnöfina (Mynd 35).
Endurtakið skref 1 til og með 10 fyrir hjólnöfina og snúðinn á hinni hlið vinnubílsins.
Hreinsið kragaboltana tvo (⅜ x ¾ to.) og berið lag af miðlungssterku gengjulími á skrúfganga boltanna.
Gangið úr skugga um að hemlaklossarnir sitt hvorum megin við snúðinn (Mynd 30) og götin í festingu fyrir klafann flútti við göt hemlafestingarinnar í drifgrindinni (Mynd 34).
Festið festinguna fyrir klafann við drifgrindina (Mynd 30) með tveimur kragaboltum (⅜ x ¾ to.).
Herðið kragaboltana tvo í 47 til 54 N∙m.
Gangið úr skugga um að götin á felgunni flútti við pinnana á hjólnöfinni og setjið felguna á hjólnöfina, þannig að ventilleggurinn vísi út á við (Mynd 29).
Note: Gangið úr skugga um að uppsetningarflötur hjólsins flútti við hjólnöfina.
Festið hjólið við hjólnöfina með felgurónum (Mynd 29).
Herðið felgurærnar í 108 til 122 N m (80 til 90 ft-lb).
Endurtakið skref 1 til og með 5 fyrir hemlana og hjólið á hinni hlið vinnubílsins.
Aftengið rafmagnssnúruna við hleðslutækið ef hún er tengd.
Lyftið pallinum.
Færið rafgeymisrofann í æskilega stöðu eins og sýnt er á Mynd 36.

Note: Vinnubíllinn er búin fjórum Li-ion rafhlöðum.
Fargið eða endurvinnið Li-ion rafhlöður í samræmi við staðbundnar reglur og landslög. Ef rafhlaða krefst þjónustu skal leita aðstoðar viðurkennds dreifingaraðila Toro.
Ekki opna rafhlöðuna. Ef vandamál kemur upp með rafhlöðu skal leita aðstoðar hjá viðurkenndum dreifingaraðila Toro.
Rafhlöðurnar innihalda háspennu sem gæti brennt eða valdið rafstuði.
Ekki reyna að opna rafhlöðurnar.
Gætið fyllstu varúðar við meðhöndlun rafhlöðu með rofið ytra byrði.
Notið eingöngu hleðslutæki sem hannað er fyrir rafhlöðurnar.
Litíum-jóna rafhlöðurnar halda nægilega hleðslu til að framkvæma tilætlaða vinnu á líftíma sínum.
Fylgið eftirfarandi leiðbeiningum til að ná hámarksendingu og -notkun úr rafhlöðunum:
Ekki opna rafhlöðuna.
Geymið/leggið vinnubílnum í hreinni, þurri vélageymslu eða geymslusvæði í vari fyrir sólarljósi, hitagjöfum, rigningu og bleytu. Geymið þær ekki á stað þar sem hitastigið fer yfir það svið sem tilgreint er í Kröfur fyrir geymslu rafhlöðu. Hiti utan marka skemmir rafhlöðurnar. Mikill hiti við geymslu, sérstaklega þegar hleðslustaða er há, dregur úr endingu rafhlaðanna.
Þegar vinnubíllinn er geymdur í meira en 10 daga skal ganga úr skugga um að hann sé á köldum og þurrum stað, fjarri sólarljósi, rigningu og bleytu.
Notið ljós aðeins þegar nauðsyn krefur.
Important: Rafmagnsviðgerðir skulu eingöngu framkvæmdar hjá viðurkenndum dreifingaraðila Toro.
Hleðslutækið þarfnast lítils viðhalds annað en að vernda það gegn skemmdum og veðri.
Þrífið snúrurnar og hylkið á rafhlöðunni og hleðslutækinu með örlítið rökum klút eftir hverja notkun.
Note: Hreinsið ekki raffeiti af skautunum.
Vindið snúrurnar upp þegar þær eru ekki í notkun.
Leitið reglulega eftir skemmdum á snúrunum og skiptið um þær þegar með þarf með varahlutum sem samþykktir eru af Toro.
Tæknilýsing: Frekari upplýsingar eru í varahlutaskrá.
Aftengið rafhhlöðuna; sjá Notkun rafgeymisrofa.
Opnið vélarhlífina.
Aftengið raftengi leiðsluknippis frá tengi ljósasamstæðunnar (Mynd 39).

Fjarlægið smellurnar sem festa aðalljósið við festingu fyrir aðalljós (Mynd 39).
Note: Geymið alla íhluti fyrir uppsetningu á nýju aðalljósi.
Fjarlægið aðalljósasamstæðuna með því að færa hana fram á við, gegnum opið á framstuðaranum (Mynd 39).
Setjið nýja aðalljósið upp gegnum opið á stuðaranum (Mynd 39).
Note: Gangið úr skugga um að stillistoðirnar flútti við götin í festingunni á bak við stuðarann.
Festið aðalljósasamstæðuna með smellunum sem voru fjarlægðar í skrefi 4.
Tengið rafmagnstengi leiðsluknippis við tengið á ljósasamstæðunni (Mynd 39).
Stillið aðalljósin þannig að ljóskeilan beinist á æskilegan stað. Frekari upplýsingar eru í Stilling aðalljósa.
Notið eftirfarandi aðferð til að stilla stöðu aðalljósanna í hvert sinn sem skipt er um aðalljósasamstæðuna eða hún er fjarlægð.
Leggið vinnubílnum á jafnsléttu með aðalljósin í um það bil 7,6 m fjarlægð frá vegg (Mynd 40).
Mælið fjarlægðina frá gólfi að miðju aðalljósanna og setjið merki á vegginn í þeirri hæð.
Snúið svissinum í KVEIKTA stöðu og kveikið á aðalljósunum.
Gefið gaum að því hvar á veggnum aðalljósin lenda.
Skærasti hluti aðalljóskeilunnar ætti að vera 20 cm fyrir neðan merkið á veggnum (Mynd 40).

Snúið stilliskrúfunum (Mynd 39) aftan á aðalljósasamstæðunni til að snúa samstæðunni og stilla stöðu kastljósgeislans.
Tengið rafhlöðuna, sjá Notkun rafgeymisrofa.
| Tíðni viðhaldsþjónustu | Viðhaldsferli |
|---|---|
| Á 100 klukkustunda fresti |
|
Athugið hvort slit eða skemmdir sjást á hjólbörðum og felgum.
Note: Árekstrar sem kunna að verða við notkun vinnubílsins, líkt og þegar ekið er á gangstéttarbrúnir, geta valdið skemmdum á hjólbörðum eða felgum og raskað hjólastillingum. Skoðið því ástand hjólbarða eftir slíka árekstra.
Herðið felgurærnar í 108 til 122 N∙m.
| Tíðni viðhaldsþjónustu | Viðhaldsferli |
|---|---|
| Á 100 klukkustunda fresti |
|
Hafið stýrið í miðlægri stöðu (Mynd 41) og snúið því til vinstri eða hægri. Ef stýrinu er snúið meira en 13 mm til vinstri eða hægri og hjólbarðar snúast ekki skal skoða eftirfarandi íhluti stýris og fjöðrunar til að ganga úr skugga um að þeir séu ekki slitnir eða skemmdir:
Stýrisskaft í samskeytalið stýrisstangar
Important: Athugið ástand og öryggi þéttis í pinnastönginni (Mynd 42).
Millistangir í stýrisstangarsamstæðu


| Tíðni viðhaldsþjónustu | Viðhaldsferli |
|---|---|
| Á 100 klukkustunda fresti |
|
Kannið þrýsting í hjólbörðum til að ganga úr skugga um að framhjól séu fyllt að 82 kPa.
Stjórnandi vinnubílsins skal sitja í sætinu, að öðrum kosti skal setja þyngd í sætið sem nemur þyngd þess sem á að aka bílnum. Stjórnandi vinnubílsins, eða jafngild þyngd, verður að vera í sætinu á meðan þessi stilling er framkvæmd.
Látið vinnubílinn renna beint aftur á bak á jafnsléttu um 2 til 3 metra og síðan beint áfram að upphafsstaðsetningu. Þannig nær fjöðrunin að komast í notkunarstöðu.
Verkfæri sem eigandi útvegar: skrúflykill, Toro-íhlutur nr. 132-5069. Frekari upplýsingar fást hjá viðurkenndum dreifingaraðila Toro.
Important: Stillið hjólhallann aðeins ef það á að nota tengitæki að framan eða ef hjólbarðarnir eru mismikið slitnir.
Skoðið hjólhallastillingu á hverju hjóli. Stillingin ætti að vera eins nærri hlutlausu (núllstillingu) og unnt er.
Note: Hjólbarðana skal stilla þannig að þeir nái jafnri snertingu við jörð, til að minnka ójafnt slit.
Ef hjólhalli er ekki réttur skal nota skrúflykil til að snúa kraganum á höggdeyfinum og stilla hjólið rétt (Mynd 43).

Important: Áður en innskeifni er stillt skal ganga úr skugga um að stilling hjólhalla sé eins hlutlaus og unnt er. Frekari upplýsingar eru í Stilling hjólhalla.
Gangið úr skugga um að hjólbarðarnir að framan snúi beint áfram.
Mælið fjarlægðina á milli framhjólanna við öxulhæð, bæði framan og aftan á framhjólunum (Mynd 44).

Ef mæligildin eru ekki á milli 0 og 6 mm skal losa festirærnar yst á millistöngunum (Mynd 45).

Snúið báðum millistöngunum til að færa framhlið hjólbarðans inn eða út á við.
Herðið festiró tengistangarinnar þegar stillingin er rétt.
Gangið úr skugga um að stýrið hreyfist alla leið í báðar áttir.
| Tíðni viðhaldsþjónustu | Viðhaldsferli |
|---|---|
| Á 100 klukkustunda fresti |
|
Fjarlægið áfyllingartappann á sambyggðum gírkassa og drifi (Mynd 46).
Note: Vökvahæðin ætti að nema við neðsta hluta áfyllingartappans.

Ef vökvahæð er lág skal fjarlægja áfyllingartappann og bæta við tilgreindum vökva [sem gefinn er til kynna í Skipt um vökva í sambyggðum gírkassa og drifi] þar til hann rennur upp úr gatinu (Mynd 46).
Setjið áfyllingartappann á og herðið hann með 27 til 41 N∙m.
| Tíðni viðhaldsþjónustu | Viðhaldsferli |
|---|---|
| Á 100 klukkustunda fresti |
|
| Á 800 klukkustunda fresti |
|
Gerð vökva: Mobil 424
Vökvamagn: 0,95 L
Stillið niðurfallsskál undir botntappa gírkassans (Mynd 47).

Fjarlægið áfyllingatappann (Mynd 47).
Fjarlægið botntappann og látið vökvann tæmast alveg.
Setjið botntappann í og herðið hann upp í 12 til 19 N∙m.
Fyllið gírkassann með tilgreindum vökva í gegnum gatið á áfyllingartappanum þar til hann rennur út um áfyllingargatið.
Setjið áfyllingartappann á og herðið hann með 27 til 41 N∙m.
| Tíðni viðhaldsþjónustu | Viðhaldsferli |
|---|---|
| Á 100 klukkustunda fresti |
|
Important: Hemlar eru mikilvægir öryggisíhlutir vinnubílsins. Skoðið hemlana gaumgæfilega samkvæmt áætluðu viðhaldsbili til að tryggja hámarksafköst og öryggi.
Skoðið hemlaborðana m.t.t. slits eða skemmda. Ef þykkt borða (hemlaklossi) er undir 1,6 mm skal skipta um hemlaborða.
Skoðið bakplötuna og aðra íhluti m.t.t. óeðlilegs slits eða aflögunar. Skiptið um alla íhluti sem hafa aflagast.
Skoðið hemlaleiðslur, festingar og klemmur til að leita að merkjum um leka, slit eða lausar tengingar.
Note: Gerið við alla skemmda eða leka íhluti hemlakerfisins áður en vinnubíllinn er notaður.
Athugið hæð hemlavökvans; sjá Athugun á hæð hemlavökvans.
| Tíðni viðhaldsþjónustu | Viðhaldsferli |
|---|---|
| Fyrir hverja notkun eða daglega |
|
Gerð hemlavökva: DOT 3
| Tíðni viðhaldsþjónustu | Viðhaldsferli |
|---|---|
| Á 1.000 klukkustunda fresti |
|
Hafið samband við viðurkenndan dreifingaraðila Toro.
Ef klinkan á pallinum er vanstillt hristist pallurinn upp og niður þegar vinnubílnum er ekið. Hægt er að stilla klinkustoðirnar til að klinkurnar haldi pallinum þétt að undirvagninum.
| Tíðni viðhaldsþjónustu | Viðhaldsferli |
|---|---|
| Fyrir hverja notkun eða daglega |
|
Notið eingöngu vatn eða mild hreinsiefni til að þrífa vinnubílinn eftir þörfum. Nota má tusku til að þrífa vinnubílinn.
Important: Ekki nota ísalt vatn eða hreinsað vatn til að þrífa vinnubílinn.
Important: Ekki er ráðlagt að nota háþrýstivatn til að þvo vinnubílinn. Slíkt getur skemmt rafkerfið, losað um mikilvægar merkingar eða skolað í burtu nauðsynlegri smurfeiti af núningsstöðum. Ekki nota of mikið vatn, sér í lagi nálægt stjórnborðinu, mótornum, stjórnbúnaði mótorsins, hleðslutækinu, afturhluta stjórnborðsins og rafhlöðunum.
Drepið á vinnubílnum, takið lykilinn úr og bíðið þar til allir hlutar hafa stöðvast áður en farið er úr ökumannssætinu. Leyfið vinnubílnum að kólna áður en hann er stilltur, þjónustaður, þrifinn eða settur í geymslu.
Eigandi ber ábyrgð á að skoða hleðslu- og geymslusvæði eða -aðstöðu reglulega og fara yfir verklagsreglur til að tryggja að kröfum sé fylgt.
| Tíðni viðhaldsþjónustu | Viðhaldsferli |
|---|---|
| Á 200 klukkustunda fresti |
|
| Á 400 klukkustunda fresti |
|
Leggið vinnubílnum á slétt yfirborð, drepið á honum og fjarlægið lykilinn.
Hreinsið óhreinindi og gróm af vinnubílnum, þ.m.t. af ytra byrði vélarhússins.
Important: Vinnubílinn má þrífa með mildu hreinsiefni og vatni. Ekki nota háþrýstibúnað til að þrífa vinnubílinn. Háþrýstiþvottur getur skemmt rafkerfið eða skolað í burtu nauðsynlegri smurfeiti af núningsstöðum. Ekki nota of mikið vatn, sérstaklega nærri stjórnborðinu, ljósunum, mótorunum og rafhlöðunum.
Athugið hemlana, sjá Hemlaskoðun.
Kannið þrýsting í hjólbörðum; sjá Vökvastaða og þrýstingur í hjólbörðum könnuð.
Skoðið og herðið alla bolta, rær og skrúfur. Gerið við eða skiptið um skemmda hluta.
Lakkið yfir rispaða eða óvarða málmfleti.
Note: Lakk er fáanlegt hjá viðurkenndum dreifingaraðila Toro.
Breiðið yfir vinnubílinn til að verja hann og halda honum hreinum.
Note: Ekki þarf að fjarlægja rafhlöðurnar úr vinnubílnum fyrir geymslu.
Vísið til hitastigsmarkanna fyrir geymslu í eftirfarandi töflu:
| Geymsluhitastig | Viðeigandi geymslutími |
| 45° til 55 °C | 1 vika |
| 25° til 45 °C | 3 vikur |
| -20° til 25 °C | 52 vikur |
Important: Hitastig utan þessara marka mun skemma rafhlöðurnar.Hitastigið sem rafhlöðurnar eru geymdar við hefur áhrif á endingartíma þeirra. Geymsla í langan tíma við mjög háan hita styttir endingartíma rafhlöðunnar. Ef hitastigið er yfir 25 °C skal aðeins geyma vinnubílinn í viðeigandi tíma sem tilgreindur er í töflunni.
Áður en vinnubíllinn er geymdur skal hlaða eða tæma rafhlöðurnar að 40% til 60%.
Note: 50% hleðsla er best til að tryggja hámarksendingu rafhlaða. Endingartími rafhlaðanna styttist ef þær eru hlaðnar í 100% hleðslu fyrir geymslu.Ef gert er ráð fyrir að vinnubíllinn verði geymd í lengri tíma skal hlaða rafhlöðurnar í um 60% hleðslu.
Á sex mánaða fresti skal kanna hleðslustöðu rafhlaðanna og tryggja að hún sé á milli 40% og 60%. Ef hleðslan er undir 40% þarf að hlaða rafhlöðurnar í 40% til 60% hleðslu.
Takið hleðslutækið úr sambandi við rafmagn þegar hleðslu er lokið.
Ef hleðslutækið er haft á vinnubílnum slekkur það á sér þegar rafhlöðurnar eru fullhlaðnar og ekki kviknar aftur á því fyrr en búið er að taka það úr sambandi og setja aftur í samband.