การบำรุงรักษา
Note: ดูด้านซ้ายและขวาของอุปกรณ์จากตำแหน่งปกติในการควบคุมเครื่อง
การแยกชิ้นส่วนชุดใบมีดเปิดพื้นหญ้า
แยกชิ้นส่วนชุดใบมีดเปิดพื้นหญ้าเมื่อต้องการเปลี่ยนใบมีดหรือเปลี่ยนแบริ่ง
-
ใช้คีมจับน็อตสวมทับบนพุกเกลียวขวาที่ส่วนปลายของชุดใบมีดเปิดพื้นหญ้า ซึ่งมีแหวนอยู่
Important: ห้ามถอดแหวนหรือน็อตบนชุดใบมีดเปิดพื้นหญ้าด้านนี้
-
ถอดพุกเกลียว แบริ่ง และซีลสักหลาดออก
-
ถอดพุกเกลียวซ้ายที่อีกด้านหนึ่งของเพลาออก
ข้อควรระวัง
ใบมีดคมมากและอาจมีรอยขูดที่บาดมือคุณได้
สวมใส่ถุงมือและใช้ความระมัดระวังเมื่อถอดใบมีดออกจากเพลา
-
ถอดแบริ่ง ซีลสักหลาด ใบมีด และตัวคั่นออก ทำความสะอาดและหล่อลื่นเพลาด้วยการเคลือบจาระบีบางๆ เพื่อให้ประกอบได้ง่าย

-
ทาน้ำยาล็อกเกลียวแรงยึดปานกลาง (เช่น Blue Loctite 243) ลงบนเกลียวพุกตอนที่ประกอบชุดใบมีดเปิดพื้นหญ้า
Important: ลำดับการแยกชิ้นส่วนนั้นสำคัญอย่างยิ่ง อย่าสับเปลี่ยนตำแหน่งใบมีดขณะแยกชิ้นส่วนหรือย้อนลำดับตอนประกอบ สังเกตรูดัชนีบนใบมีดแต่ละเล่ม รูดัชนีใช้สำหรับการประกอบชิ้นส่วนเพื่อให้ได้เกลียวที่เหมาะสม หมุนใบมีดในทิศทางทวนเข็มนาฬิกาโดยใช้รูดัชนี 1 สำหรับแต่ละใบมีดตามลำดับ เพื่อให้ชุดใบมีดเปิดพื้นหญ้าได้องศาเกลียวที่เหมาะสม

-
ขันพุกเกลียว สลักเกลียวหกเหลี่ยม และน็อตสวมทับจนได้แรงบิด 108 ถึง 135 นิวตันเมตร (80 ถึง 100 ฟุตปอนด์)
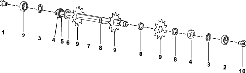
การแยกชิ้นส่วนชุดใบมีดเปิดพื้นหญ้า
แยกชิ้นส่วนชุดใบมีดเปิดพื้นหญ้าเมื่อต้องการเปลี่ยนใบมีดหรือเปลี่ยนแบริ่ง
-
ใช้คีมจับน็อตสวมทับบนพุกเกลียวขวาที่ส่วนปลายของชุดใบมีดเปิดพื้นหญ้า ซึ่งมีแหวนอยู่
Important: ห้ามถอดแหวนหรือน็อตบนชุดใบมีดเปิดพื้นหญ้าด้านนี้
-
ถอดพุกเกลียว แบริ่ง และซีลสักหลาดออก
-
ถอดพุกเกลียวซ้ายที่อีกด้านหนึ่งของเพลาออก
ข้อควรระวัง
ใบมีดคมมากและอาจมีรอยขูดที่บาดมือคุณได้
สวมใส่ถุงมือและใช้ความระมัดระวังเมื่อถอดใบมีดออกจากเพลา
-
ถอดแบริ่ง ซีลสักหลาด ใบมีด และตัวคั่นออก ทำความสะอาดและหล่อลื่นเพลาด้วยการเคลือบจาระบีบางๆ เพื่อให้ประกอบได้ง่าย
Note: ชุดใบมีดสเตนเลสสตีลมาพร้อมแหวนขนาดใหญ่และติดตั้งใบมีดเพิ่มอีกหนึ่งชิ้นด้านหน้าตัวคั่นตัวแรก ดังแสดงด้านล่าง

-
ทาน้ำยาล็อกเกลียวแรงยึดปานกลาง (เช่น Blue Loctite 243) ลงบนเกลียวพุกตอนที่ประกอบชุดใบมีดเปิดพื้นหญ้า
-
ขันพุกเกลียว สลักเกลียวหกเหลี่ยม และน็อตสวมทับจนได้แรงบิด 108 ถึง 135 นิวตันเมตร (80 ถึง 100 ฟุตปอนด์)
การซ่อมบำรุงลูกกลิ้ง
ชุดซ่อมลูกกลิ้ง Greens (หมายเลขอะไหล่ 140-5552) และชุดเครื่องมือซ่อมลูกกลิ้ง Greens (หมายเลขอะไหล่ 140-5553) (รูป 13) มีจัดจำหน่ายสำหรับการซ่อมบำรุงลูกกลิ้ง ชุดซ่อมลูกกลิ้งมาพร้อมแบริ่ง น็อตแบริ่ง และซีลครบชุดสำหรับการซ่อมบำรุงลูกกลิ้ง
ชุดเครื่องมือซ่อมลูกกลิ้งมาพร้อมเครื่องมือทั้งหมดและคำแนะนำในการติดตั้งที่จำเป็นสำหรับการซ่อมลูกกลิ้งด้วยชุดซ่อมลูกกลิ้ง โปรดดูแคตตาล็อกอะไหล่หรือติดต่อตัวแทนจำหน่ายที่ได้รับอนุญาตของ Toro เพื่อขอคำแนะนำ



ได้แก่ ข้อควรระวัง คำเตือน
หรืออันตราย ซึ่งเป็นคำแนะนำเพื่อความปลอดภัยส่วนบุคคล การไม่ปฏิบัติตามคำแนะนำเหล่านี้อาจส่งผลให้บาดเจ็บหรือเสียชีวิตได้







