![]() |
A biztonsági címkék és utasítások a kezelő számára feltűnő helyen, a potenciálisan veszélyes területek közelében találhatók. A sérült vagy hiányzó matricát cserélje le, illetve pótolja. |








Parkolja le a gépet sík talajon.
Húzza be a rögzítőféket.
Emelje fel a platót vagy távolítsa el a gépről (ha van rajta).
Note: A plató felemelésével és eltávolításával kapcsolatban további tájékoztatásért lásd a gép Kezelői kézikönyvét.
Állítsa le a motort, vegye ki a kulcsot, és hagyja a gépet lehűlni.
Kösse le az akkumulátort; lásd a Kezelői kézikönyvet.
Hajtsa fel a védőburkolatot a fényszórónyílásoknál fogva, hogy az alsó rögzítőfülek kijöjjenek a lökhárító nyílásaiból (Ábra 1).

Billentse fel annyira a védőburkolatot az aljánál fogva, hogy ki tudja húzni a felső rögzítőfüleket a váz nyílásaiból (Ábra 1).
Billentse előre a védőburkolat felső részét, és húzza ki a fényszórók csatlakozóit (Ábra 1).
Távolítsa el a védőburkolatot.
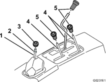
Távolítsa el az összes gombot a konzol karjairól és az előválasztó karról az óramutató járásával ellentétes irányba elforgatva őket (Ábra 4).

Távolítsa el a 4 hatlapfejű csavart, amelyek a fokozatjelző fedelét az ülésburkolathoz rögzítik (Ábra 5).

Emelje fel a fokozatjelzőt, válassza le a csatlakozóját a gép kábelkötegének csatlakozójáról, és vegye le a fokozatjelző fedelét a gépről (Ábra 5).
Távolítsa el a 6 hatlapfejű csavart, amelyek a vezérlőkar-fedelet az ülésburkolathoz rögzítik, majd magát a vezérlőkar-fedelet is (Ábra 5).
Hajtsa ki a 8 imbuszcsavart, amelyek az üléssíneket az alvázhoz rögzítik, és távolítsa el az üléseket (Ábra 6).

Távolítsa el a tömlőbilincset, amely a CVT-hűtőcsatornát a CVT-szívónyílás karimájához rögzíti a bukókeret hátsó részén, az utasoldalon (Ábra 7).

Emelje meg, és vegye ki a hűtőfolyadék-tartályt az ülésburkolat hátulján lévő tartórekeszből (Ábra 8).

Állítsa a hűtőfolyadék-tartályt függőlegesen a motorra/vázra.
Workman HDX gépek esetén:
Húzza be a rögzítőféket (Ábra 11).

A differenciálzár-kapcsoló rúdját tolja előre és jobbra, hogy bekapcsolt állásban rögzítse (Ábra 11).
Workman HDX-Auto gépek esetén:
Válassza le a fokozatjelző csatlakozóját a gép vezetékkötegéről (Ábra 12).

Emelje fel és fordítsa el a középső vezérlőkar egységet az útból, hogy hozzáférjen a felfüggesztés rugóihoz.
Mindkét gépnél:
Emelje fel az ülésburkolatot, és vegye le a gépről (Ábra 13).

Workman HDX-Auto gépek esetén:
Távolítsa el az emelőszelepet a vezérlőkar-konzolhoz rögzítő csavarokat, valamint a vezérlőkar-konzolt a géphez rögzítő anyákat és csavarokat (Ábra 14).

A felemelt gép instabil lehet, és lecsúszhat az emelőről, sérülést okozva az alatta tartózkodó személynek.
Ne indítsa be a gépet, amíg az emelőn van, mert a motor rezgése vagy a kerék elmozdulása miatt a gép lecsúszhat az emelőről.
Mindig vegye ki az indítókulcsot a gyújtáskapcsolóból, mielőtt elhagyja a gépet.
Legyenek kiékelve a kerekek, amíg a gép emelőn van.
Ne dolgozzon a gép alatt emelőbakok nélkül. A gép lecsúszhat az emelőről, és alatta lévő személyek megsérülhetnek.
A gép első emelési pontjai az elülső, középső vázmerevítő alatt találhatók (Ábra 15).

Ehhez az eljáráshoz szükséges alkatrészek:
| Nyomórugó (fekete) | 2 |
Szerelje be a rugóösszehúzó rudat (Ábra 17) a rugóbölcsők furatain át (Ábra 18).
Important: A rugóbölcső eltávolításakor járjon el óvatosan; a rugó össze van nyomva.


Mérje meg és jegyezze fel a rugók hosszát.
Szerelje fel az anyákat és az alátéteket a rúd két végére (Ábra 19).

A rugók biztosításához húzzon meg mindkét rúdon 1 anyát (Ábra 19).
Távolítsa el a csavarokat és az anyákat a stabilizátorrudak végéről (Ábra 20 A).
Távolítsa el a rugóbölcsőket rögzítő csavarokat és anyákat a vezérlőkarról (Ábra 20 B).
Vegye ki a rugóbölcsőket a rugókkal együtt a gépből (Ábra 20 C).
Note: Figyelje meg a rugóbölcsőkön a matricák helyzetét. A bölcsőket ugyanarra a helyre kell visszahelyezni.

Vegye ki a jelenlegi rugókat a rugótartó bölcsőkből, és helyezze be a készletből származó a rugókat (fekete rugók) a rugótartó bölcsőkbe.
Használja a rugóösszehúzó rúdját a rugók összenyomásához a 3. lépésben mért értékre.
Helyezze vissza a rugókat a bölcsőkel együtt a gépbe.
Szerelje vissza a stabilizátorrúdból és a vezérlőkarból korábban eltávolított csavarokat és anyákat.
Szerelje fel az első kerekeket, és engedje le a gépet.
Húzza meg a kerékanyákat 109–122 N·m nyomatékkal.
Ehhez az eljáráshoz szükséges alkatrészek:
| Belső sárvédő | 1 |
| Sárvédő rögzítőpánt | 2 |
| Hatlapfejű peremes csavar (¼ × ¾") | 6 |
| Peremes anya (¼") | 8 |
| Gumiütköző | 2 |
| Alátét | 2 |
| Kábelkötöző | 2 |
Megfelelő szemvédelem nélkül fúrási munkát végezve törmelék juthat a szemébe, és sérülést okozhat.
Fúrás közben viseljen szemvédő eszközt.
Igazítsa a sárvédő rögzítőpántokat az ülésalapkeret alsó széléhez, és használja a pántokat sablonként az ülésalapkeret (Ábra 21) mindkét oldalán 3 furat (5/16") bejelöléséhez és elkészítéséhez.

Szerelje fel a belső sárvédőt és a sárvédő rögzítőpántokat a 6 hatlapfejű peremes csavar (¼ × ¾") és 6 peremes anya (¼") segítségével a Ábra 22 szerint.

Hajtsa le a gumilapot, és tűrje be a padlóperem mögé (Ábra 23).
Rögzítse a gumilapot 2 kábelkötözővel a középső vázcsőhöz (Ábra 23).

Szereljen fel gumiütközőt alátét és peremes anya (¼") segítségével mindkét oldalra (Ábra 24).

Ehhez az eljáráshoz szükséges alkatrészek:
| Bal fülketartó egység | 1 |
| Jobb fülketartó egység | 1 |
| Állítócsavar (⅜ × 2") | 2 |
| Hatlapú anya (⅜") | 2 |
| Hatlapfejű peremes csavar (⅜ × 1") | 4 |
| Peremes anya (⅜") | 4 |
| Első fülketartó konzol | 2 |
| Hatlapfejű csavar (7/16") | 2 |
| Nyomóalátét | 2 |
| Önbiztosító anya (½") | 2 |
| Gumi csillapítóelem | 2 |
| Távtartó | 2 |
| Alátét | 2 |
| Önbiztosító anya | 2 |
| Peremes fejű csavar (½ × 2¼") | 2 |
Szerelje fel a hátsó konzolokat a gépre (Ábra 25) a bukókeretből eltávolított kötőelemekkel, lásd: A bukókeret eltávolítása.

Húzza meg a csavarokat 94–108 Nm nyomatékkal.
Szerelje fel a bal és a jobb fülketartó egységet az első fülketartó konzolokra a 2 hatlapfejű peremes csavar (⅜ × 1") és 2 peremes anya (⅜") segítségével a két oldalra (Ábra 26).
A szerelés során használja a rögzítőegység középső furatait.
Szerelje be az állítócsavart (⅜ × 2") és a hatlapú anyát (⅜") a gép két oldalán a bal és a jobb oldali rögzítőegységbe (Ábra 26).

Szerelje fel az első fülketartó konzolokat hatlapfejű csavar (7/16"), nyomóalátét és önbiztosító anya (½") segítségével mindkét oldalon (Ábra 27).

Szerelje fel a 2 gumiszigetelőt peremes fejű csavar (½ × 2¼"), távtartó, alátét és önbiztosító anya segítségével mindkét oldalon (Ábra 28).
Note: Használjon szappanos vizet, hogy segítse a konzoltartók felszerelését.

Mindkét gépnél:
Igazítsa az ülésburkolaton a rögzítőfék számára kialakított nyílást a rögzítőfék fogantyújához.
Igazítsa a fokozatválasztó kar szoknyán lévő nyílást a fokozatválasztó karhoz.
Igazítsa az ülésburkolaton lévő nyílást a platóemelő kar rúdjaihoz, a gyors-lassú fokozattartomány váltókarjához és a differenciálzár karjához.
Engedje le az ülésburkolatot.
Igazítsa a burkolaton lévő, az ülés rögzítésére szolgáló furatokat az alváz üléstartó konzoljaihoz.
Ne húzza meg a csavarokat.
Csatlakoztassa a fokozatjelzőt, és rögzítse a vezérlőkar-konzolt a csavarokkal (Ábra 12 és Ábra 14), amiket korábban eltávolított, lásd: Az ülésburkolat eltávolítása.
Important: Ez a lépés csak a Workman HDX-Auto gépekre vonatkozik.
Ehhez az eljáráshoz szükséges alkatrészek:
| Oldallemez | 2 |
| Fülkeváz | 1 |
| Csavar(½") | 4 |
| Alátét (½") | 4 |
| Anya (½") | 4 |
| Alsó műszerfal-tömítés | 1 |
Lazítsa meg a sárvédők csavarjait körülbelül 1 fordulattal, hogy az oldalsó lemezek a helyükre csúszhassanak.
Csúsztassa be az oldalsó lemezeket az ülésburkolat és az oldalsó sárvédők közé (Ábra 29).
Note: Bizonyosodjon meg arról, hogy a lemezek megfelelően illeszkednek, majd húzza meg a csavarokat.

Húzza meg a sárvédők csavarjait.
Note: Ne húzza túl a csavarokat.
Szerelje fel az alsó műszerfal-tömítést a fülkére (Ábra 30).
Ügyeljen arra, hogy a tömítés hosszabb pereme nézzen előre (Ábra 30).

Fogja meg a fülkevázat az emelőpontoknál, és helyezze a gépre (Ábra 31).
Note: Mielőtt a fülkét a gépre engedi, kenje be szappanos vízzel a műszerfalat, hogy az alsó műszerfal-tömítés kenve maradjon.
Note: Ügyeljen arra, hogy a műszerfal alsó tömítésének első és hátsó pereme a szerelés során ne tűrődjenek be.

Rögzítse a vázat a géphez a 4 csavar (½"), 4 alátét (½") és 4 anya (½") segítségével a Ábra 32 szerint.
Note: Ne húzza meg a 4 csavart (½").

Állítsa be a fülkét oldalirányban, hogy a fülke középre kerüljön.
Használja az állítócsavart (Ábra 26) a fülke középre állításához.
Húzza meg a 4 csavart (½") 91–113 Nm nyomatékkal.
Ehhez az eljáráshoz szükséges alkatrészek:
| Vezetékköteg | 1 |
| Kábelkötözők | 4 |
| Biztosíték (30 A) | 1 |
Vezesse el a kábelköteget a Ábra 33 szerint, és rögzítse a 4 kábelkötözővel.

Csatlakoztassa a kábelköteg gyűrűs csatlakozóját a testblokkhoz, a biztosítéktömb-csatlakozót pedig illessze be egy szabad biztosítékblokk-csatlakozóba (Ábra 34).
Note: Ha nincs szabad biztosítékblokk-csatlakozó, akkor fel kell szerelni egy biztosítékblokkot a csoporthoz. Vegye fel a kapcsolatot a hivatalos márkaszervizzel a további információkért.

Ehhez az eljáráshoz szükséges alkatrészek:
| Hátsó lemez | 1 |
| Beállító lemez | 1 |
| Önmetsző csavar (½ × 4") | 1 |
| Peremes anya (½") | 1 |
| Ütközőlemez | 1 |
| Kapupántcsavar (1/4 × 1¾") | 4 |
| Peremes anya (¼") | 4 |
Mérjen le 20,7 cm-t a motorháztető tartó alsó szélétől balra, és jelölje meg a helyet (Ábra 35).

Szerelje fel a beállító lemezt és a hátsó lemezt a műszerfaltartó csőre a 4 kapupántcsavar (¼ × 1¾") és a peremes anyák (¼") segítségével a Ábra 36 szerint.

Szerelje be az önmetsző csavar (½ × 4"), a peremes anyát (½") és az ütközőlemezt a beállító lemezbe (Ábra 37).

Zárja le a műszerfal és a fülke közötti rést az önmetsző csavart (½ × 4") addig állítva, amíg az ütközőlemez felfelé nekinyomódik a műszerfalnak (Ábra 38).

Ehhez az eljáráshoz szükséges alkatrészek:
| Vízelvezető | 1 |
| Utasoldali átlátszó cső –122 cm | 1 |
| Vezetőoldali átlátszó cső – 43 cm | 1 |
| Padló átlátszó csöve – 33 cm | 1 |
| T-idom | 1 |
| Mágneses kábelkötöző-tartó | 3 |
| Kábelkötöző | 3 |
Távolítsa el az 5 alátétes hatlapfejű csavart a műszerfalból (Ábra 39).
Tartsa meg az 5 alátétes hatlapfejű csavart.

Csúsztassa be a vízelvezetőt a gép műszerfala és a segédváz közé, és rögzítse a korábban eltávolított 5 alátétes hatlapfejű csavarral (Ábra 40).

Távolítsa el lemezvágó ollóval a vízelvezető két oldaláról a szállítmányozási fület (Ábra 41).

Csatlakoztassa a 122 cm-es átlátszó csövet a 33 cm-es átlátszó csőhöz és a 43 cm-es átlátszó csőhöz a T-idommal (Ábra 42).

Az utasoldaltól kezdve vezesse el a csatlakoztatott átlátszó csövet a padlólemezen keresztül (a tengelykapcsoló pedál mentén) a vezető felőli oldalra (Ábra 43).
Rögzítse a csatlakoztatott átlátszó csövet a 3 mágneses kábelkötöző-tartó és 3 kábelkötöző segítségével (Ábra 43).

Csípje össze az átlátszó cső mindkét végét, és vágja le 45°-os szögben (Ábra 44).
Igazítsa az átlátszó csövet a vízelvezető aljához úgy, hogy a ferde rész teteje a gép külső oldala felé nézzen, majd rögzítse (Ábra 44).

Ehhez az eljáráshoz szükséges alkatrészek:
| Padlólemez | 2 |
| Oldallemez | 2 |
| Csavar (¼") | 12 |
Ehhez az eljáráshoz szükséges alkatrészek:
| Csavar (¼") | 2 |
| Távtartó | 2 |
| Szíj | 1 |
| Anya (¼") | 2 |
| CVT-hűtőrács egység (külön kell beszerezni) | 1 |
Szerelje fel a Kezelési útmutató csövét (Ábra 47).

Igazítsa össze az üléssíneken lévő furatokat az ülés rögzítési pozícióinak (Ábra 6) a burkolaton lévő furataival.
Rögzítse az üléseket a 8 imbuszcsavar (Az ülések eltávolítása) segítségével, amelyet korábban eltávolított, lásd: Ábra 6.
Rögzítse a CVT-hűtőcsatornát (Ábra 7) a szívócső csatlakozójához a korábban eltávolított tömlőbilincs segítségével, lásd: A CVT hűtőcsatorna (csak HDX-Auto gépek), a hűtőfolyadék-tartály, a bukókeret és az ülésburkolat eltávolítása.
Important: Ez a lépés csak a Workman HDX-Auto gépekre vonatkozik.
Note: Ehhez a készlethez Workman HDX-Auto gép esetén szükség van a CVT-hűtőrács egységre is. Vegye fel a kapcsolatot a hivatalos márkakereskedővel.
Igazítsa rá a középkonzol paneljét a vezérlőrudakra (Ábra 3 és Ábra 5), és rögzítse a korában eltávolított csavarokkal, lásd: A középkonzol panel és az ülések eltávolítása.
Szerelje fel a korábban eltávolított gombokat, lásd: A középkonzol panel és az ülések eltávolítása.
Igazítsa a hűtőfolyadék-tartály tartókonzoljának bal és jobb peremét az ülésburkolaton lévő tartóhoz (Ábra 8).
Engedje bele a tartályt a tartóba, amíg a tartály szilárdan nem ül (Ábra 8).
Lásd a gép Kezelői kézikönyvét.
Csatlakoztassa a pozitív akkumulátorkábelt az akkumulátorhoz.
Nyomja össze az akkumulátor burkolatát, igazítsa a füleket az akkumulátor alapjához, majd engedje ki az akkumulátor burkolatát.
Note: Lásd a gép Kezelői kézikönyvét.
Engedje le a platót; lásd a Kezelői kézikönyvet.
Igazítsa a motorháztető alját a lökhárító tetejéhez.
Kösse be a lámpákat.
Illessze be a felső rögzítőfüleket a váz nyílásaiba.
Helyezze az alsó rögzítő füleket a lökhárítóban lévő zsebekbe.
Ügyeljen arra, hogy a védőburkolat teljesen beilleszkedjen a felső, oldalsó és alsó hornyokba.
A szélvédő kinyitásához hajtsa fel a reteszeket (Ábra 49). A szélvédő nyitott helyzetben való rögzítéséhez nyomja be a reteszt. A szélvédő bezárásához és rögzítéséhez húzza ki és lefelé a reteszt.
