| Karbantartási időköz | Karbantartási intézkedés |
|---|---|
| Minden egyes használat előtt, vagy naponta |
|
Ezen haszonjárművet elsődlegesen emberek és anyagok autópályán kívüli szállítására tervezték. A termék nem rendeltetésszerű használata veszélyezteti az Ön és a közelben tartózkodók biztonságát.
Gondosan olvassa el ezt a tájékoztatót, hogy a termék megfelelő üzemeltetését és karbantartását elsajátítva elkerülje a sérüléseket, valamint a termék károsodását. Ön felelős a termék megfelelő és biztonságos üzemeltetéséért.
A www.Toro.com webhelyen további információk is találhatók, például munkavédelmi tanácsok, oktatóanyagok, tartozékokról szóló információk, segítség márkakereskedés kereséséhez, valamint a termékregisztráció is itt végezhető el.
Ha szervizre, eredeti Toro-alkatrészekre vagy további információra van szüksége, forduljon hivatalos márkaszervizhez vagy a Toro ügyfélszolgálatához, és tartsa kéznél terméke típus- és sorozatszámát. A(z) Ábra 1 jelzi a típus- és gyári szám helyét a terméken. Írja fel a számokat az erre előkészített helyre.
Important: Mobileszköze segítségével a sorozatszámot tartalmazó címkén található QR-kódot (ha van) beolvasva elérheti a garanciális, az alkatrészekre vonatkozó és más termékinformációkat.

Ez a kézikönyv 2 szót használ az információ kiemelésére. A Fontos szó speciális műszaki információkra hívja fel a figyelmet, a Megjegyzés szó külön figyelemre érdemes általános információkat emel ki.
Ez a kézikönyvben és a gépen is megtalálható biztonsági figyelmeztető jelzés (Ábra 2) fontos biztonsági üzenetet jelöl, amelyet a balesetek elkerülése érdekében követni kell. Ezt a jelzést a Veszély, a Figyelmeztetés vagy a Figyelem kifejezés követi.
Veszély: olyan közvetlenül veszélyes helyzetet jelöl, amely halált vagy súlyos személyi sérülést eredményez, ha nem sikerül elkerülni.
Figyelmeztetés: olyan potenciálisan veszélyes helyzetet jelöl, amely halált vagy súlyos személyi sérülést eredményezhet, ha nem sikerül elkerülni.
Figyelem: olyan potenciálisan veszélyes helyzetet jelöl, amely enyhébb vagy mérsékelt személyi sérülést okozhat, ha nem sikerül elkerülni.

A termék megfelel minden vonatkozó európai irányelvnek; a részletekért kérjük, olvassa el a különálló termékspecifikus megfelelőségi nyilatkozatot (DOC).
A kaliforniai közös természeti erőforrásokról szóló törvény (California Public Resource Code) 4442. és 4443. szakasza értelmében tilos a motor működtetése erdős, bokrokkal vagy fűvel takart talajon, kivéve akkor, ha a motor a 4442. szakaszban meghatározott szikragátló berendezéssel rendelkezik, rendszeres karbantartáson esik át, vagy a motor felépítése, felszerelése és karbantartása a tűzesetek megakadályozásának szem előtt tartásával történt.
A motor mellékelt kezelési útmutatója tartalmazza az USA környezetvédelmi hivatalával (EPA) és a kipufogórendszerek, karbantartás és garancia szabályozásáról szóló California Emission Control Regulation jogszabállyal kapcsolatos információkat. Pótalkatrészek a motorgyártótól rendelhetők.
Ha a gép telematikai eszközzel van felszerelve, az eszköz aktiválásához szükséges utasításokért forduljon a hivatalos Toro-forgalmazóhoz.
|
Elektromágneses összeférhetőségi tanúsítvány |
|
Helyben értékesített gépek: A berendezés teljesíti az FCC előírások 15. fejezetének követelményeit. A használat az alábbi két feltételhez van kötve: (1) az eszköz nem okozhat ártalmas zavarokat és (2) az eszköznek el kell viselnie minden zavaró jelet, beleértve azokat is, amelyek az eszköz nem kívánt működését okozhatják. |
|
FCC-azonosító: OF7RTS24 IC: 3575A-RTS24 |
|
A berendezést tesztelték, és ennek során úgy találták, hogy az FCC szabályozás 15. része szerint megfelel a B kategóriájú digitális eszközökre vonatkozó határértékeknek. Ezek a határértékek úgy lettek kialakítva, hogy lakókörnyezeti használat során észszerű védelmet nyújtsanak a káros zavarok ellen. A berendezés rádiófrekvenciás energiát hoz létre, használ és sugározhat, és amennyiben az üzembe helyezése és használata nem az utasításoknak megfelelően történik, káros zavarokat okozhat a rádiókommunikációban. Az azonban nem garantálható, hogy valamely adott kiépítésben nem okoz zavart. Ha a berendezés káros zavart okoz a rádió- vagy televízióvételben, ami a berendezés ki- és bekapcsolásával megállapítható, a felhasználónak az alábbi intézkedések közül egyet vagy többet végrehajtva meg kell próbálnia megszüntetni a zavart:
|
|
Argentína |
![]() |
|
Ausztrália |
![]() |
|
Marokkó |
|
|---|---|
|
AGREE PAR L’ANRT MAROC |
|
|
Numero d’agrement: |
MR00003613ANRT2024 |
|
Delivre d’agrement: |
22/08/2024 |
KALIFORNIA
65-ös számú figyelmeztetés
A dízelmotor kipufogógázai és azok bizonyos összetevői Kalifornia államban rákkeltő hatásúnak, születési rendellenességeket és egyéb reproduktív károsodást okozónak minősülnek.
Az akkumulátor sarkai, telepkapcsai és alkatrészei ólmot és ólomvegyületeket tartalmaznak, melyek Kalifornia állam hatóságainak ismeretei szerint olyan vegyi anyagok, amelyek rákot és reproduktív károsodást okoznak. Az anyagokkal való érintkezést követően mosson kezet.
A termék személyi sérülést okozhat. A súlyos személyi sérülések elkerülése érdekében mindig kövesse a biztonsági utasításokat.
Olvassa el, és minden részletében értse meg a kezelői kézikönyvet, mielőtt elindítja a gépet. Gondoskodjon arról, hogy minden felhasználója ismerje a termék használatát és a figyelmeztetések jelentését.
A gép működtetését teljes odafigyeléssel végezze. Ne bonyolódjon olyan tevékenységbe, amely elvonhatja a figyelmét, különben személyi sérülés vagy anyagi kár lehet a következmény.
Tartsa távol kezeit és lábait a gép mozgó alkatrészeitől.
Ne működtesse a gépet felszerelt és üzemképes védőburkolatok és biztonsági berendezések nélkül.
Tartsa távol a nézelődőket és a gyerekeket a működtetési területtől. Soha ne engedje, hogy a gépet gyerekek üzemeltessék.
Álljon meg a géppel, kapcsolja ki a gépet, és vegye ki az indítókulcsot, mielőtt elkezdené a gép szervizelését vagy tankolását.
A gép nem megfelelő használata vagy karbantartása
személyi sérüléshez vezethet. A lehetséges
sérülések elkerülése érdekében
kövesse a biztonsági útmutatóban leírtakat,
és mindig ügyeljen a biztonsági figyelmeztető
szimbólumra (
), amelynek jelentése lehet Figyelem, Vigyázat
vagy Veszély – személyes biztonsági utasítások.
Az utasítások be nem tartása súlyos személyi
sérüléshez vagy halálhoz vezethet.
![]() |
A biztonsági címkék és utasítások a kezelő számára feltűnő helyen, a potenciálisan veszélyes területek közelében találhatók. A sérült vagy hiányzó matricát cserélje le, illetve pótolja. |


























Note: A gép jobb és bal oldalát normál üzemeltetési helyzetben határozza meg.
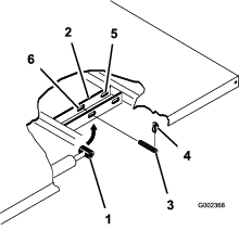
Ehhez az eljáráshoz szükséges alkatrészek:
| Kormánykerék | 1 |
Oldja ki a kormánykerék hátulján a kormánykerékagy középső burkolatát rögzítő füleket, majd vegye le a burkolatot.
Távolítsa el az önbiztosító anyát és az alátétet a kormánytengelyről.
Csúsztassa rá a kormánykereket és az alátétet a kormánytengelyre.
Note: Igazítsa be úgy a kormánykereket a tengelyén, hogy a keresztben álló küllői vízszintes helyzetben legyenek, amikor a kerekek előre néznek, a kormánykerék vastagabb küllője pedig lefelé álljon.
Note: A porvédőt gyárilag helyeztük fel a kormánytengelyre.
Rögzítse a kormánykereket a tengelyre az önbiztosító anyával a Ábra 3 szerint, majd húzza meg az anyát 24–29 N·m nyomatékkal.
Igazítsa a burkolat füleit a kormánykeréken található nyílásokkal, majd pattintsa rá a burkolatot a kormánykerékagyra (Ábra 3).

Ehhez az eljáráshoz szükséges alkatrészek:
| Bukócső | 1 |
| Peremes fejű csavar (½ × 1¼") | 6 |
Kenjen közepes minőségű (szereléskor eltávolítható) menetrögzítő pasztát a 6 peremes fejű csavar (½ × 1¼") meneteire.
Igazítsa össze a bukócső két oldalát a gépvázon kialakított rögzítőfuratokkal (Ábra 4).

Rögzítse a bukócső rögzítőkonzolját a gépvázhoz oldalanként 3 peremes fejű csavar (½ × 1¼") segítségével (Ábra 4).
Húzza meg a peremes fejű csavarokat (½ × 1¼") 115 N·m nyomatékkal.
Ellenőrizze a motorolaj szintjét, mielőtt először beindítja a motort, és miután leállította; lásd: A motor olajszintjének ellenőrzése.
Ellenőrizze a hajtómű-/hidraulikafolyadék szintjét, mielőtt először beindítja a motort; lásd: A hajtómű-/hidraulikafolyadék szintjének ellenőrzése.
Ellenőrizze a fékfolyadék szintjét, mielőtt először beindítja a motort; lásd: A fékfolyadék szintjének ellenőrzése.
Ellenőrizze a levegőnyomást a gumiabroncsokban; lásd A gumiabroncsok nyomásának ellenőrzése.
A fékrendszer optimális teljesítménye érdekében a használat előtt járassa be (koptassa be) a fékeket.
Haladjon a géppel teljes sebességgel, majd a fékekkel gyorsan, a gumiabroncsok blokkolása nélkül állítsa le a gépet.
Ismételje meg ezt az eljárást 10-szer, a megállítások között várjon 1 percet a fékek túlmelegedésének elkerülése érdekében.
Important: Ez az eljárás 454 kg rakománnyal végezhető a leghatékonyabban.
A motor beindítása és a gép működtetése előtt ismerkedjen meg az összes kezelőszervvel.


A gázpedállal (Ábra 7) változtathatja a gép haladási sebességét bekapcsolt sebességi fokozat esetén. A gázpedált lenyomva nő a motorfordulatszám és a haladási sebesség. A gázpedált felengedve csökken a motorfordulatszám és a haladási sebesség.

Nyomja le teljesen a tengelykapcsoló pedált (Ábra 7) a tengelykapcsoló oldásához a motor beindításakor és fokozatváltáskor. Sebességi fokozat kapcsolása után engedje fel a tengelykapcsoló pedált lassan, hogy ne okozzon szükségtelen kopást a hajtásláncon és a kapcsolódó alkatrészeken.
Important: A munkagép használata közben ne tartsa a lábát a tengelykapcsoló pedálon. A tengelykapcsoló pedálnak teljesen felengedett helyzetben kell lennie, különben a tengelykapcsoló csúszni fog, ami hőfejlődéssel és kopással jár. Ne a tengelykapcsoló pedállal tartsa (mérlegállásban) egy helyben a gépet emelkedőn. A tengelykapcsoló károsodhat.
A fékpedál segítségével állhat meg vagy lassíthat (Ábra 7).
Személyi sérülést okozhat, ha a gépet kopott vagy helytelenül beállított fékekkel működteti.
Ha a fékpedál a gép padlólemezétől számítva 25 mm-re lenyomható, állítsa be vagy javítsa meg a fékeket.
Nyomja le teljesen a tengelykapcsoló pedált, majd állítsa a fokozatváltó kart (Ábra 8) a kívánt sebességi fokozatba. Alább a sebességi fokozatok elhelyezkedése látható.

Important: Csak a jármű álló helyzetében kapcsoljon HáTRAMENETBE vagy ELőREMENETI fokozatba; az erőátviteli rendszer egyébként károsodhat.
Túl nagy sebesség mellett visszakapcsolva a hátsó kerekek megcsúszhatnak, emiatt elveszítheti az uralmát a gép felett, emellett károsodhat a tengelykapcsoló és/vagy a hajtóműegység is.
Végezze finoman a fokozatváltást, hogy a fogaskerekek ne sérüljenek meg.
A differenciálzár (Ábra 9) segítségével a hátsó tengely a kerekek tapadásának növelése érdekében összezárható. A differenciálzár haladás közben is bekapcsolható.
A differenciálzár bekapcsolásához tolja előre, majd jobbra a kart.
Note: A differenciálzár be- és kikapcsolásához a gépnek mozgásban kell lennie, és enyhén kanyarodnia kell.
Bekapcsolt differenciálzárral történő kanyarodáskor elveszítheti az uralmát a gép felett.
Ne használja a gépet bekapcsolt differenciálzárral élesen kanyarodva vagy nagy sebességgel; lásd: A differenciálzár bovdenjének beállítása.

Amikor leállítja a motort, mindig húzza be a rögzítőféket (Ábra 9), hogy a gép ne mozdulhasson el.
A rögzítőfék behúzásához húzza hátra a karját.
A rögzítőfék kiengedéséhez nyomja előre a rögzítőfék karját.
Note: Elindulás előtt engedje ki a rögzítőféket.
Meredek lejtőn parkolva húzza be a rögzítőféket, ha emelkedőnek áll, kapcsoljon ELSő fokozatba, lejtőnek állva HáTRAMENETBE, és ékelje ki a kerekeket a lejtő felé eső oldalukon.
A hidraulikus emelővel billenthető fel és engedhető vissza a plató. A kart hátrahúzva a plató felemelkedik, előretolva pedig leereszkedik (Ábra 9).
Important: A plató leengedésekor tartsa még 1–2 másodpercig előretolt helyzetben a kart, miután a plató az alvázhoz ért, hogy biztonságosan rögzüljön leengedett helyzetben. Ne tartsa a hidraulikus emelőt 5 másodpercnél hosszabb ideig felemelt vagy leengedett helyzetben, amikor a munkahengerek már elérték a véghelyzetüket.
A hidraulikus emelő zárja az emelőkart rögzíti, hogy a hidraulikus munkahengerek ne lépjenek működésbe, ha a gépen nincs plató (Ábra 9). A berendezés az emelőkart BE helyzetben is képes rögzíteni, ha a hidraulika-rendszer munkaeszközt működtet.
A gyors-lassú fokozattartomány váltókarja 3 további sebességi fokozatot biztosít a haladási sebesség pontosabb szabályozása érdekében (Ábra 9):
A GYORS és a LASSú tartomány közti váltás csak a jármű álló helyzetében történhet.
Csak sík talajon váltson.
Nyomja le teljesen a tengelykapcsoló pedált.
A GYORS tartomány kapcsolásához tolja ütközésig előre, a LASSú tartomány kapcsolásához húzza ütközésig hátra a kart.
GYORS tartomány – nagyobb sebességű haladáshoz sík, száraz felületeken, kis terheléssel.
LASSú tartomány – lassabb haladáshoz. Akkor használja ezt a tartományt, ha a normálnál nagyobb teljesítményre vagy finomabb irányításra van szükség. Például meredek lejtők, nehéz terep, nehéz rakomány, lassú haladás, de nagy motorfordulatszám (permetezés).
Important: A kar GYORS és LASSú fokozat közötti helyzetében a hajtómű egyik tartományba sincs bekapcsolva. Ne használja ezt a helyzetet SEMLEGES fokozatként, mert a gép váratlanul megindulhat, ha a kar beugrik valamelyik fokozatba, amikor a sebességváltó nincs üresben.
A négykerék-meghajtás kézi bekapcsolásához nyomja le hosszan a 4WD gombot (Ábra 9) a középkonzolon menet közben, ekkor a négykerék-meghajtás bekapcsol.
A gyújtáskapcsolóval (Ábra 5) indíthatja be és állíthatja le a motort.
A gyújtáskapcsoló 3 helyzetbe állítható: KI, BE és INDíTóZáS. Az indítómotor bekapcsolásához fordítsa az indítókulcsot INDíTóZáS helyzetbe. Engedje el az indítókulcsot, amint a motor beindult. A kulcs magától visszatér BE helyzetbe.
A motor leállításához fordítsa a kulcsot KI helyzetbe.
Fordítsa a felügyeleti kapcsolót (Ábra 5) LASSÚ helyzetbe, majd vegye ki a kulcsot. A felügyeleti kapcsoló a motorfordulatszámot harmadik fokozatban és GYORS tartományban 2200 ford/perc értékre korlátozza, ezáltal a gép csúcssebessége 21 km/h-ra korlátozódik.
Az üzemóra-számláló (Ábra 6) a gép teljes üzemóraszámát jelzi.
Az üzemóra-számláló akkor lép működésbe, amikor a gyújtáskapcsolót BE helyzetbe fordítja, és a motor fordulatszáma 6 percenként 500 ford./perc fölé nő.
Állítsa a harmadik gyors fokozat kizáró kapcsolóját (Ábra 5) LASSú helyzetbe, majd vegye ki a kulcsot, ekkor a harmadik sebességfokozat GYORS tartományban nem lesz kapcsolható. A motor leáll, ha a fokozatváltó kart GYORS tartományban a harmadik fokozatba kapcsolják.
Note: A kulcs mindkét helyzetében eltávolítható.
Nyomja meg a világításkapcsolót (Ábra 5) a fényszórók be- vagy kikapcsolásához.
Az olajnyomás-visszajelző (Ábra 6) akkor világít, ha a motorolaj nyomása járó motornál a biztonságos szint alá süllyed.
Important: Ha a visszajelző villog, vagy továbbra is világít, álljon le a géppel, állítsa le a motort, és ellenőrizze az olajszintet. Ha az olajszint alacsony, de a visszajelző olaj betöltése után sem alszik el a motor beindítása után, azonnal állítsa le a motort, és forduljon hivatalos márkaszervizhez.
Ellenőrizze a visszajelzők működését az alábbi módon:
Húzza be a rögzítőféket.
Fordítsa az indítókulcsot BE/IZZíTáS helyzetbe, de ne indítózzon.
Note: Az olajnyomás-visszajelzőnek pirosan világítania kell. Ha a visszajelző nem működik, az izzója kiéghetett, vagy hiba keletkezett a rendszerben, amelyet el kell hárítani.
Note: Ha a motort épp leállította, elképzelhető, hogy a visszajelző csak 1–2 perc elteltével kezd világítani.
Az izzítás-visszajelző (Ábra 6) akkor világít pirosan, amikor az izzítógyertyák működnek.
Important: Az izzítás-visszajelző további 15 másodpercen át világít, amikor a kapcsolót INDíTóZáS helyzetbe fordítja.
A hűtőfolyadék-hőmérséklet műszere és visszajelzője a motor hűtőfolyadékának hőmérsékletét jelzi, és csak a gyújtáskapcsoló BE helyzetében működik (Ábra 6).
A hőmérsékletet jelző 5 sáv mindegyike villog, ha a motor túlmelegedett.
A töltésvisszajelző akkor világít, ha az akkumulátor merül. Ha a visszajelző üzem közben világítani kezd, álljon meg a géppel, állítsa le a motort, és keresse meg a hiba lehetséges okát, ellenőrizze például a generátorékszíjat (Ábra 6).
Important: Ha a generátorékszíj laza vagy elszakadt, csak akkor használja újra a gépet, ha beállította vagy megjavította. Ennek a figyelmeztetésnek a be nem tartása károsíthatja a motort.
Ellenőrizze a visszajelzők működését az alábbi módon:
Húzza be a rögzítőféket.
Fordítsa az indítókulcsot BE/IZZíTáS helyzetbe, de ne indítózzon. A hűtőfolyadék-hőmérséklet, a töltésvisszajelző és az olajnyomás-visszajelző fényének szintén világítania kell. Ha valamelyik visszajelző nem működik, az izzója kiéghetett, vagy hiba keletkezett a rendszerben, amelyet el kell hárítani.
Az üzemanyag-szintjelző az üzemanyagtartályban levő üzemanyag szintjét jelzi. A műszer csak a gyújtáskapcsoló BE helyzetében jelez (Ábra 6).
Egyetlen sáv azt jelzi, hogy kevés az üzemanyag, 1 villogó sáv pedig azt, hogy szinte kiürült az üzemanyagtartály.
A négykerék-meghajtás kapcsolója (Ábra 5) bekapcsolt helyzetében automatikusan bekapcsol a négykerék-meghajtás, ha az érzékelő szerint a hátsó kerekek elpörögnek. A négykerék-meghajtás bekapcsolt állapotát a négykerékmeghajtás-kapcsoló visszajelzőjének világítása jelzi.
A négykerék-meghajtás csak előremenetben, AUTOMATIKUS üzemmódban működik. Ha HáTRAMENETBEN szeretné használni, nyomja meg a négykerék-meghajtás gombját.
Kapcsolja be a kapcsolót a nagy térfogatáramú hidraulika-rendszer használatához (Ábra 5).
A kürtkapcsoló a kezelőpanelen található (Ábra 5). Kürtjelzéshez nyomja meg a kürtkapcsolót.
A fordulatszámmérő a motor fordulatszámát mutatja (Ábra 6).
Note: Az 540 ford/perc fordulatszámú TLT használatához 3300 ford/perc a kívánt motorfordulatszám.
A kilométeróra a gép haladási sebességét mutatja (Ábra 6).
A tápaljzat (Ábra 5) az opcionális 12 V-os elektromos tartozékok áramellátására szolgál.
Az utaskapaszkodó a műszerfalon található (Ábra 10).

Az ülés helyzete az Ön kényelme érdekében hosszirányban állítható (Ábra 11).

Note: A műszaki adatok és a kialakítás külön értesítés nélkül változhatnak.
| Teljes szélesség | 160 cm |
| Teljes hossz | Plató nélkül: 326 cm |
| Teljes méretű platóval: 331 cm | |
| ⅔ méretű platóval a hátsó rögzítési helyen: 346 cm | |
| Alaptömeg (szárazon) | 07385 típus: 887 kg |
| 07385TC típus: 924 kg | |
| 07387 típus: 914 kg | |
| 07387TC típus: 951 kg | |
| Névleges teherbírás (91 kg súlyú kezelővel, 91 kg súlyú utassal és megrakott munkaeszközzel) | 07385 típus: 1471 kg |
| 07385TC típus: 1435 kg | |
| 07387 típus: 1445 kg | |
| 07387TC típus: 1408 kg | |
| Legnagyobb megengedett össztömeg (GVW) | 2359 kg |
| Vontatási teherbírás | Vonóhorogra függőlegesen nehezedő megengedett tömeg: 272 kg |
| Pótkocsi maximális tömege: 1587 kg | |
| Hasmagasság | 18 cm üresen |
| Tengelytáv | 118 cm |
| Nyomtáv (középvonaltól középvonalig) | Elöl: 117 cm |
| Hátul: 121 cm | |
| Magasság | 191 cm a bukócső tetejéig |
A Toro által jóváhagyott tartozékok és adapterek széles választéka kapható a géphez, amelyek javítják és bővítik annak képességeit. A jóváhagyott tartozékok és adapterek listájáért forduljon a hivatalos márkakereskedőhöz, forgalmazóhoz, vagy látogasson el a www.Toro.com címre.
Az optimális teljesítmény és a gép folyamatos tanúsított biztonsága érdekében csak eredeti Toro-pótalkatrészeket és -tartozékokat használjon. A más által gyártott pótalkatrészek és tartozékok használata veszélyes lehet, emellett ez a garanciát is érvényteleníti.
Ne engedje, hogy gyermekek, illetve olyan személyek működtessék vagy szervizeljék a gépet, akik nem képzettek, vagy fizikailag nem képesek erre. A helyi szabályozás korlátozhatja a kezelő életkorát. Az összes kezelő és szerelő képzéséért a tulajdonos tartozik felelősséggel.
Ismerkedjen meg a berendezés biztonságos üzemeltetésével, a kezelőszervekkel és a biztonsági jelzésekkel.
Állítsa le a gépet, vegye ki az indítókulcsot, és várja meg, amíg az összes mozgó alkatrész leáll, csak ezután hagyja el a kezelőülést. Hagyja lehűlni a gépet, mielőtt beállítási, szervizelési, tisztítási vagy tárolási munkába kezd rajta.
Ismerje meg, hogyan kell gyorsan megállítani és leállítani a gépet.
Ügyeljen arra, hogy ne tartózkodjon több utas (Ön és utasai) a gépen annál, ahány utaskapaszkodó található a gépen.
Győződjön meg arról, hogy az összes biztonsági berendezést és matrica a helyén van. Javítsa meg vagy cserélje ki az összes biztonsági berendezést, illetve cserélje ki az olvashatatlan vagy hiányzó matricákat. Ne üzemeltesse a gépet, csak ha ezek jelen vannak és megfelelően működnek.
Az üzemanyag kezelése során járjon el különös körültekintéssel. Az üzemanyag rendkívül gyúlékony, és a gőzei robbanásveszélyesek.
Oltson el minden cigarettát, szivart, pipát és egyéb tűzforrást.
Csak jóváhagyott üzemanyagtartályt használjon.
Járó vagy meleg motornál ne vegye le a tanksapkát, és ne tankoljon.
Ne zárt helyen tankoljon vagy ürítse le az üzemanyagot.
Ne tárolja a gépet vagy az üzemanyagtartályt olyan helyen, ahol nyílt láng, szikra vagy őrláng fordul elő, mint például vízmelegítőkön vagy más eszközökön.
Ha kifolyt az üzemanyag, ne kísérelje meg a motor beindítását; kerülje bármely gyújtóforrás kialakulását, amíg az üzemanyag gőze el nem oszlott.
| Karbantartási időköz | Karbantartási intézkedés |
|---|---|
| Minden egyes használat előtt, vagy naponta |
|
Mielőtt elkezdené a napi munkát a géppel, végezze el a minden használat előtti/napi ellenőrzéseket, amelyek felsorolásáért lásd: .
| Karbantartási időköz | Karbantartási intézkedés |
|---|---|
| Minden egyes használat előtt, vagy naponta |
|
Az első kerekeken lévő gumiabroncsok előírt légnyomása: 2,2 bar.
A hátsó kerekeken lévő gumiabroncsok előírt légnyomása: 1,24 bar.
Important: Ellenőrizze a gumiabroncsok nyomását rendszeresen. Ha a nyomásuk nem megfelelő, a gumiabroncsok idő előtt elkophatnak, és a jármű a négykerék-meghajtás ellenére is elakadhat.
Ábra 12 – példa a túl alacsony nyomás miatti kopásra.

Ábra 13 – példa a túl magas nyomás miatti kopásra.

Kizárólag tiszta, friss, alacsony (<500 ppm) vagy ultraalacsony (<15 ppm) kéntartalmú dízelüzemanyagot vagy biodízel-üzemanyagot tankoljon. A minimális cetánszám 40 legyen. A frissesség biztosítása érdekében csak olyan mennyiségben vásároljon üzemanyagot, amennyit 180 napon belül felhasznál.
–7 °C hőmérséklet felett használjon nyári (No. 2-D), ez alatt téli (No. 1-D vagy No. 1-D/2-D-keverék) üzemanyagot.
Alacsonyabb hőmérsékleten a téli üzemanyag használata alacsonyabb lobbanáspontot és hideg áramlási jellemzőket biztosít, ami megkönnyíti az indítást, és csökkenti az üzemanyagszűrő eldugulásának kockázatát.
Note: –7 °C hőmérséklet felett a nyári üzemanyag használata jóvoltából megnő az üzemanyag-szivattyú élettartama, és a motor teljesítménye is nagyobb lesz a téli üzemanyaggal való működtetéshez képest.
Important: Ne használjon kerozint vagy benzint dízelolaj helyett. Ennek a figyelmeztetésnek a be nem tartása károsítja a motort.
A gép legfeljebb B20 (20% biodízel-üzemanyag, 80% gázolaj) biodízel-üzemanyagkeverékkel is üzemeltethető. A keverékben lévő gázolaj legyen alacsony vagy ultraalacsony kéntartalmú. Tegye meg a következő óvintézkedéseket:
Az üzemanyag biodízel része feleljen meg az ASTM D6751 vagy EN14214 szabvány előírásainak.
A keverék üzemanyag feleljen meg az ASTM D975 vagy az EN590 szabvány előírásainak.
A biodízel-keverékek károsíthatják a festett felületeket.
Hideg időben használjon B5 (5% biodízel-tartalom) vagy még kevesebb biodízelt tartalmazó keveréket.
Figyelje az üzemanyaggal kapcsolatba kerülő szigeteléseket, tömlőket és tömítéseket, idővel ezek állaga romolhat.
A biodízel-keverékekre való átállást követően egy idő után várható az üzemanyagszűrő eltömődése.
A biodízel-üzemanyaggal kapcsolatos további tájékoztatásért forduljon a forgalmazóhoz.
Az üzemanyagtartály befogadóképessége: 22 l.
Tisztítsa meg a tanksapka körüli területet.
Távolítsa el a tanksapkát (Ábra 14).

Tankoljon meg majdnem színültig (a betöltőnyílás alsó széléig) majd tegye vissza a tanksapkát.
Note: Ne töltse túl az üzemanyagtartályt az üzemanyaggal.
Töröljön le minden, esetlegesen melléfolyt üzemanyagot, hogy megelőzze a tűzveszélyt.
| Karbantartási időköz | Karbantartási intézkedés |
|---|---|
| Az első 100 óra után |
|
Tartsa be az alábbi útmutatást, hogy biztosítható legyen a gép megfelelő teljesítménye:
Gondoskodjon arról, hogy a fékek be legyenek koptatva; lásd: A fékek bejáratása.
Ellenőrizze rendszeresen a folyadékszinteket és a motorolaj szintjét. Figyeljen arra, nehogy a gép vagy alkatrészei túlmelegedjenek.
A hideg motort a beindítása után melegítse kb. 15 másodpercig, mielőtt a géppel dolgozni kezdene.
Note: Hideg időben tartson tovább a motor bemelegítése.
Üzemeltetés közben változtasson néha a motor fordulatszámán. Kerülje a hirtelen elindulásokat és megállásokat.
Nincs szükség bejárató motorolaj használatára. Az eredeti motorolaj megegyezik azzal, amelyet olajcsere esetén használni kell.
A speciális, rövid futásidő utáni ellenőrzésekért lásd: .
| Karbantartási időköz | Karbantartási intézkedés |
|---|---|
| Minden egyes használat előtt, vagy naponta |
|
A biztonsági reteszelőrendszer feladata meggátolni a motor indítózását vagy beindulását, ha a tengelykapcsoló pedál nincs lenyomva.
A biztonsági reteszelőkapcsolók lekötése vagy károsodása esetén a gép váratlanul működni kezdhet, ezzel személyi sérülést okozhat.
Ne bolygassa a biztonsági reteszelőkapcsolókat.
Ellenőrizze naponta a reteszelőkapcsolók működését, cserélje ki a károsodott kapcsolókat, mielőtt működtetni kezdené a gépet.
Note: A biztonsági reteszelőrendszer ellenőrzését lásd a gép Kezelői kézikönyvében.
A kezelőülésben ülve húzza be a rögzítőféket.
Állítsa a fokozatválasztó kart ÜRES helyzetbe.
Note: A motor nem indul be, ha a hidraulikus emelő karja előre tolt reteszelt helyzetben van.
Fordítsa a kulcsot INDíTóZáS helyzetbe anélkül, hogy lenyomná a tengelykapcsoló pedált.
Note: Ha az indítómotor forgatni kezdi a motort, vagy a motor beindul, a reteszelőrendszer hibás, és a gép használata előtt meg kell javítani.
A kezelőülésben ülve húzza be a rögzítőféket.
Állítsa a fokozatválasztó kart ÜRES helyzetbe, a hidraulikus emelő karja pedig legyen középhelyzetben.
Nyomja le a tengelykapcsoló pedált.
Tolja előre a hidraulikus emelő karját, majd fordítsa a gyújtáskapcsolót INDíTóZáS helyzetbe.
Note: Ha az indítómotor forgatni kezdi a motort, vagy a motor beindul, a reteszelőrendszer hibás, és a gép használata előtt meg kell javítani.
A tulajdonos/üzemeltető felelős a balesetekért, amelyek személyi sérülést is okozhatnak, és megakadályozhatja azokat.
Az utasoknak csak a kijelölt ülésekben szabad ülniük. Ne szállítson utasokat a platón. Tartsa távol a nézelődőket és a gyerekeket a működtetési területtől.
Viseljen megfelelő öltözéket, beleértve a védőszemüveget, a hosszú szárú nadrágot, a megfelelő, csúszásgátló lábbelit és a hallásvédelmi eszközt. Hosszú haját kösse hátra, és ne viseljen laza ruházatot vagy ékszert.
A gép működtetését teljes odafigyeléssel végezze. Ne bonyolódjon olyan tevékenységbe, amely elvonhatja a figyelmét, különben személyi sérülés vagy anyagi kár lehet a következmény.
Ne üzemeltesse a gépet, ha fáradt, vagy amíg alkohol vagy gyógyszer befolyása alatt áll.
A gépet csak kültéren jól szellőző helyen üzemeltesse.
Ne lépje túl a gép legnagyobb megengedett össztömegét (GVW).
Rendkívül óvatosan járjon el a gép használata közben, illetve fékezéskor és kanyarodáskor, amikor nehéz terhet szállít a platón.
A túlméretes rakományok platón való szállítása csökkenti a gép stabilitását. Ne lépje túl a plató teherbírását.
A gép kormányzását, fékezését és stabilitását hátrányosan befolyásolja az olyan anyagok szállítása, amelyek nem rögzíthetők a géphez. Óvatosan járjon el kormányzás vagy fékezés közben, amikor olyan anyagokat szállít, amelyek nem rögzíthetők a géphez.
Kisebb terhet szállítson, és csökkentse a munkasebességet, ha durva, egyenetlen terepen, járdák, kátyúk és más hirtelen terepváltozások közelében végez munkát. A rakomány elmozdulhat, amitől a gép instabillá válhat.
Mielőtt beindítaná a gépet, gondoskodjon arról, hogy a váltómű semleges helyzetben legyen, a rögzítőfék be legyen húzva, Ön pedig a kezelői helyen tartózkodjon.
A gép mozgás a közben Önnek és az utasoknak is az ülésen kell maradniuk. Tartsa a kezét a kormánykeréken; az utasok pedig használják a kapaszkodókat. Mindig tartsa karját és a lábát a gép karosszériáján belül.
Csak megfelelő fényviszonyok mellett használja a gépet. Ügyeljen a lyukakra, keréknyomokra, zökkenőkre, kövekre vagy egyéb rejtett tárgyakra. Egyenetlen terepen a gép fel is borulhat. A magas fű akadályokat rejthet. Ügyeljen, amikor be nem látható kanyarokhoz, cserjékhez, fákhoz vagy más olyan tárgyakhoz közelít, amelyek akadályozhatják a látást.
Ne vezesse a gépet átvágások, levezető árkok vagy feltöltések közelében. A gép hirtelen felborulhat, ha egy kereke túllóg azok peremén, vagy a perem beszakad.
Mindig figyelje és kerülje el az alacsonyan lévő túlnyúlásokat (pl. faágak, kőalapzatok, felüljárók stb.).
A géppel való tolatás előtt nézzen hátra és lefelé, hogy szabad-e az út.
Ha a gépet közúton használja, tartsa be az összes közlekedési előírást, és használja a törvény által előírt kiegészítő tartozékokat (például lámpák, irányjelzők, lassú jármű [SMV] táblákat stb.).
Ha rendellenes rezgést tapasztal a gépen, azonnal álljon meg, és állítsa le a gépet, majd várja meg, amíg minden mozgó alkatrész megáll, és keressen sérüléseket. Javítsa ki a gép összes sérülését, mielőtt folytatná a használatát.
A gép fékútja hosszabb lehet nedves felületen, mint száraz felületen. A nedves fékek kiszárításához haladjon lassan sík talajon, miközben finom nyomást gyakorol a fékpedálra.
Ha nagy sebességről hirtelen fékez, a hátsó kerekek blokkolhatnak, ami rontja a gép irányíthatóságát.
Ne érjen a motorhoz, a váltóműhöz, a kipufogódobhoz vagy a kipufogócsonkhoz, amíg a motor jár, illetve nem sokkal a motor leállítása után, mert ezek a területek ilyenkor olyan forrók lehetnek, hogy égési sérülést okozhatnak.
Ne hagyjon járó gépet felügyelet nélkül.
A kezelőállás elhagyása előtt végezze el az alábbiakat:
Parkolja le a gépet sík talajon.
Kapcsolja a váltóművet SEMLEGES helyzetbe.
Húzza be a rögzítőféket.
Engedje le a platót.
Kapcsolja ki a gépet, és vegye ki a kulcsát.
Várja meg, amíg minden mozgó alkatrész megáll.
Ne használja a gépet, ha villámcsapás lehetősége áll fenn.
Csak a The Toro® Company által jóváhagyott tartozékokat és munkaeszközöket használja.
A borulásvédelmi rendszer egy integrált biztonsági berendezés.
Ne távolítsa el a borulásvédelmi rendszert a gépről.
Mindig viselje a biztonsági övet; ellenőrizze, hogy be van-e csatolva, és hogy vészhelyzet esetén a lehető leggyorsabban ki tudja oldani.
Ügyeljen a magasban található akadályokra és arra, hogy ne ütközzön nekik.
Tartsa a borulásvédelmi rendszert biztonságos üzemállapotban – rendszeres időközönként alaposan ellenőrizze épségét és a csavarok meghúzott állapotát.
A borulásvédelmi rendszer sérült elemeit cserélje le. Ne végezzen rajtuk javítást vagy átalakítást.
A lejtők a megcsúszásos és borulásos balesetek fő tényezői, amelyek súlyos sérülésekhez vezethetnek.
Vizsgálja át a helyszínt, és határozza meg, hogy mely lejtők biztonságosak a gép működtetésére, majd állítson fel saját eljárásokat és szabályokat az ezeken a lejtőkön történő üzemeltetéshez. Használja mindig józan eszét és ítélőképességét a felmérés során.
Ha kényelmetlennek érzi a lejtőn való munkát, ne végezze azt.
A lejtőn minden mozgást lassan és fokozatosan végezzen. Ne változtasson hirtelen a sebességén vagy a haladási irányán.
Ne üzemeltesse a gépet nedves terepen. A gumiabroncsok elveszíthetik tapadásukat. Ha a kerekek elvesztik a tapadást, a gép felborulhat.
A lejtőkön egyenesen haladjon felfelé és lefelé.
Ha elkezd veszíteni a lendületéből a lejtőn felfelé, fokozatosan fékezzen, és lassan, egyenesen tolasson vissza a géppel a lejtőn.
A lejtőn felfelé vagy lefelé haladáskor a kanyarodás veszélyes lehet. Ha mindenképpen kanyarodnia kell egy lejtőn, akkor azt lassan és körültekintéssel végezze.
A nehéz rakományok rontják a stabilitást a lejtőkön. Könnyebb rakománnyal és kisebb munkasebességgel haladjon a lejtőkön vagy ha a rakomány súlypontja magasan van. Rögzítse a rakományt a gép platójához, hogy megakadályozza a rakomány elmozdulását. Különösen óvatosan járjon el könnyen elmozduló rakományok (pl. folyadékok, kövek, homok stb.) szállításakor.
Kerülje a lejtőn való elindulást, megállást vagy kanyarodást, különösen rakomány szállításakor. A lejtőn történő megállás hosszabb ideig tart, mint a sík talajon történő megállás. Ha meg kell állnia a géppel, kerülje a hirtelen sebességváltozásokat, amelyek a gép megbillenését vagy felborulását okozhatják. Ne fékezzen hirtelen hátrafelé guruláskor, mivel ez a gép felborulását okozhatja.
Ne lépje túl a gép megengedett össztömegét (GVW), ha a platón rakomány van és/vagy pótkocsit vontat; lásd: Műszaki adatok.
A gép stabilitásának és irányításának javítása érdekében egyenletesen ossza el a rakományt a platón.
Az ürítés megkezdése előtt győződjön meg arról, hogy senki nem tartózkodik a gép mögött.
Ne ürítse le a rakományt a platóról, ha a gép oldalt áll egy lejtőn. A súlyeloszlás változása a gép felborulásához vezethet.
A felemelt plató leeshet, és az alatta dolgozó személyek megsérülhetnek.
A plató alatt történő munkavégzés előtt mindig támassza alá a platót a kitámasztórúddal.
A felemelése előtt távolítson el minden rakományanyagot a platóról.
A gép könnyebben felbillenhet vagy felborulhat, ha a gépet felemelt platóval vezeti. A plató szerkezetének sérülését okozhatja, ha a gépet felemelt platóval működteti.
Leengedett platóval működtesse a gépet.
A leürítése után engedje le a platót.
Ha a rakomány a reteszek kioldásakor a plató hátsó részére koncentrálódik, akkor a plató váratlanul felbillenhet, ami az Ön vagy a közelben tartózkodók sérülését okozhatja.
Ha lehet, középre helyezze a rakományt a platón.
Tartsa lent a platót, és ügyeljen arra, hogy senki ne hajoljon a plató fölé vagy ne álljon mögötte a reteszek kioldásakor.
Távolítsa el az összes rakományt a platóról, mielőtt a platót a gép szervizelése miatt felemelné.
Húzza hátra a kart a plató felemeléséhez (Ábra 15).

A plató nehéz lehet. Fennáll a kéz és egyéb testrészek zúzódásának veszélye.
A plató leengedésekor tartsa távol a kezét és más testrészeit.
Tolja előre a kart a plató leengedéséhez (Ábra 15).
Győződjön meg arról, hogy a plató leengedett és reteszelt helyzetben van.
Oldja a plató két oldalán a reteszeket, majd nyissa le a plató hátsó falát (Ábra 16).

A kezelőülésben ülve húzza be a rögzítőféket.
Kapcsolja ki a mellékhajtást (TLT) és a nagy térfogatáramú hidraulika-rendszert (ha van), majd állítsa a kézigáz karját (ha van) KI helyzetbe.
Állítsa a fokozatválasztó kart ÜRES helyzetbe, és nyomja le a tengelykapcsoló pedált.
Győződjön meg arról, hogy a hidraulika emelőkarja középső helyzetben van.
Ne érjen a gázpedálhoz.
Fordítsa a gyújtáskapcsolót BE helyzetbe.
Note: Ha az izzítás-visszajelző világítani kezd, a motor beindítható.
Fordítsa a gyújtáskapcsolót INDíTóZáS helyzetbe.
Note: Miután a motor beindult, engedje el a kulcsot, és hagyja, hogy visszatérjen ÜZEM helyzetbe.
Note: Az izzítás-visszajelző további 15 másodpercen át világít, amikor a gyújtáskapcsoló visszaáll ÜZEM helyzetbe.
Note: Ne indítózzon 10 másodpercnél hosszabban, mert idő előtt meghibásodhat az indítómotor. Ha a motor 10 másodperc indítózásra nem indul be, fordítsa a kulcsot KI helyzetbe. Nézze át a kezelőszerveket és az indítási eljárást, várjon további 10 másodpercet, majd ismételje meg az indítási műveletet.
Az automatikus négykerék-meghajtás bekapcsolásához állítsa a billenőkapcsolót AUTOMATIKUS 4X4 helyzetbe (Ábra 17).

A négykerék-meghajtás kapcsolója bekapcsolt helyzetében automatikusan bekapcsol a négykerék-meghajtás, ha az érzékelő szerint a hátsó kerekek elpörögnek. A négykerék-meghajtás bekapcsolt állapotát a négykerékmeghajtás-kapcsoló visszajelzőjének világítása jelzi.
Important: A gép hátramenetben nem kapcsolja be automatikusan a négykerék-meghajtást. Hátramenetben kézzel kell bekapcsolnia a négykerék-meghajtást a négykerék-meghajtás gombjával.
A négykerék-meghajtás kézi bekapcsolásához nyomja le hosszan a négykerék-meghajtás gombját a középkonzolon menet közben, ekkor a négykerék-meghajtás bekapcsol.
Note: A négykerék-meghajtás csak addig marad bekapcsolva, amíg nyomva tartja a gombot; a négykerék-meghajtás kapcsolójának nem kell AUTOMATIKUS helyzetben lennie a négykerék-meghajtás kézi bekapcsolásához.
Engedje ki a rögzítőféket.
Nyomja le teljesen a tengelykapcsoló pedált.
Állítsa a fokozatváltó kart az első fokozatba.
Engedje fel lassan a tengelykapcsoló pedált, miközben gázt ad.
Amikor a gép már kellően felgyorsult, lépjen le a gázpedálról, nyomja le teljesen a tengelykapcsoló pedált, kapcsoljon a következő sebességi fokozatba, majd engedje fel a tengelykapcsoló pedált, miközben gázt ad.
Ismételje meg az eljárást, amíg el nem éri a kívánt sebességet.
Important: Feltétlenül álljon meg, mielőtt előremenetből hátramenetbe, vagy hátramenetből előremenetbe kapcsol.
Note: Ne járassa hosszan alapjáraton a motort.
Állapítsa meg az alábbi táblázat segítségével, hogy milyen sebességgel halad a munkagép 3600 ford/perc motorfordulatszám mellett.
| Fokozat | Tartomány | Áttétel | Sebesség (kmh) | Sebesség (mph) |
|---|---|---|---|---|
| 1 | L (lassú) | 82,83 : 1 | 4,7 | 2,9 |
| 2 | L (lassú) | 54,52 : 1 | 7,2 | 4,5 |
| 3 | L (lassú) | 31,56 : 1 | 12,5 | 7,7 |
| 1 | H (gyors) | 32,31 : 1 | 12,2 | 7,6 |
| 2 | H (gyors) | 21,27 : 1 | 18,5 | 11,5 |
| 3 | H (gyors) | 12,31 : 1 | 31,9 | 19,8 |
| R (hátramenet) | L (lassú) | 86,94 : 1 | 4,5 | 2,8 |
| R (hátramenet) | H (gyors) | 33,91 : 1 | 11,6 | 7,1 |
Important: Ne kísérelje meg betolással vagy behúzással beindítani a munkagép motorját. A hajtáslánc károsodhat.
A megálláshoz lépjen le a gázpedálról, majd nyomja le a fékpedált.
Parkolja le a gépet sík talajon.
Húzza be a rögzítőféket.
Fordítsa a gyújtáskapcsolót KI helyzetbe, és vegye ki a kulcsot.
A munkagép domboldalon bekövetkező felborulása vagy átfordulása súlyos személyi sérüléssel jár.
A differenciálzárral elérhető extra tapadás elegendő lehet ahhoz, hogy veszélyes helyzetekbe kerüljön, például túl meredek emelkedő megmászásakor. Legyen óvatos, ha bekapcsolt differenciálzárral dolgozik, különösen meredekebb lejtőkön.
Ha a differenciálzár be van kapcsolva, éles kanyarban nagyobb sebesség esetén a hátsó belső kerék elemelkedhet a talajról, így elveszítheti a gépe feletti irányítást, ami a gép megcsúszását okozhatja. A differenciálzárat csak kis sebességek mellett használja.
Bekapcsolt differenciálzárral történő kanyarodáskor elveszítheti az uralmát a gép felett. Ne használja a gépet bekapcsolt differenciálzárral élesen kanyarodva vagy nagy sebességgel.
A differenciálzár a hátsó kerekeket összereteszelve növeli meg a tapadást, hogy egyik hátsó kerék se tudjon elpörögni. Segíthet, ha nehéz terheket kell szállítani nedves gyepen vagy csúszós területeken, emelkedőn vagy homokos felületen. Fontos azonban megjegyezni, hogy ez az extra vonóerő csak átmeneti és korlátozott használatra szolgál. Nem helyettesíti a biztonságos üzemeltetést.
Bekapcsolt differenciálzár esetén a két hátsó kerék azonos fordulatszámmal forog. A differenciálzár használatakor némileg nehezebben vehetők be az éles kanyarok, és a kerekek felsérthetik a gyepet. Csak akkor használja a differenciálzárat, ha szükséges, és csak első vagy második sebességi fokozatban.
A hidraulika-rendszer vezérlése szabályozza a hidraulikus teljesítményt, amelyet a szivattyú biztosít, amikor jár a motor. A teljesítmény a gép hátsó részén található gyorscsatlakozóknál használható fel.
A kiszökő nagynyomású hidraulikafolyadék a bőrön áthatolva súlyos sérülést okozhat.
Járjon el kellő körültekintéssel a hidraulika-rendszer gyorscsatlakozóinál a csatlakoztatás és a leválasztás során. Állítsa le a motort, húzza be a rögzítőféket, engedje le a munkaeszközt, és állítsa lebegésre a távmeghajtás hidraulikaszelepét, hogy megszüntesse a nyomást, mielőtt a gyorscsatlakozókat csatlakoztatja vagy leválasztja.
Important: Ha több munkagép használja ugyanazt a munkaeszközt, előfordulhat a hidraulikafolyadék keresztszennyeződése. Ilyenkor cserélje gyakrabban a hidraulikafolyadékot.
KI helyzet
Ez a vezérlőszelep normál helyzete, amikor az nincs használatban. Ebben a helyzetben a vezérlőszelep munkanyílásai el vannak zárva, mindkét irányban a visszacsapó szelepek viselik a terhelést.
EMELéSI (A” gyorscsatlakozó) helyzet
Ebben a helyzetben emelkedik fel a plató és a hátsó vonószerkezetre csatlakozó munkaeszköz, vagy kerül nyomás alá az A” gyorscsatlakozó. Ugyanekkor a hidraulikafolyadék a B” gyorscsatlakozón át visszaáramolhat a szelepbe, majd onnan a tartályba. Ez átmeneti helyzet, a kart elengedésekor rugó téríti azt vissza középállásba, KI helyzetbe.

LEENGEDéSI (B gyorscsatlakozó) helyzet
Ebben a helyzetben ereszkedik le a plató és a hátsó vonószerkezetre csatlakozó munkaeszköz, vagy kerül nyomás alá a B” gyorscsatlakozó. Ugyanekkor a hidraulikafolyadék a A” gyorscsatlakozón át visszaáramolhat a szelepbe, majd onnan a tartályba. Ez átmeneti helyzet, a kart elengedésekor rugó téríti azt vissza középállásba, KI helyzetbe. A vezérlőkart ebben a helyzetben röviden megtartva hidraulikafolyadék-áramlást biztosít a B” gyorscsatlakozóhoz, ezáltal a hátsó vonószerkezet lenyomódik. A kart elengedve a vonószerkezeten megmarad a lefelé ható erő.
Important: Ha hidraulikus munkahengerrel használja a funkciót, a vezérlőkart alsó helyzetben megtartva a hidraulikafolyadék biztonsági szelepen fog átáramlani, ami károsíthatja a hidraulika-rendszert.
BE helyzet
Ez a helyzet a LEENGEDéSI (B” GYORSCSATLAKOZó) helyzethez hasonló. Ugyanúgy a B” gyorscsatlakozóhoz irányítja a hidraulikafolyadékot, kivéve, hogy a kart egy, a kezelőpanelen található akasztókar ebben a helyzetben tartja. Ez lehetővé teszi a hidraulikafolyadék folyamatos áramlását hidraulikus motorral rendelkező munkaeszköz működtetéséhez.
Ezt a helyzetet csak hidraulikus motorral rendelkező munkaeszköz működtetéséhez használja.
Important: Ha hidraulikus munkahengerrel vagy munkaeszköz nélkül használja a funkciót, BE helyzetben a hidraulikafolyadék biztonsági szelepen fog átáramlani, ami károsíthatja a hidraulika-rendszert. Ezt a helyzetet csak átmenetileg vagy hidraulikus motorral használja.
Important: A munkaeszköz felszerelését követően ellenőrizze a hidraulikafolyadék szintjét. Ellenőrizze a munkaeszköz működését úgy, hogy többször kitéríti a véghelyzetei között, eltávolítva a levegőt a rendszerből, majd ellenőrizze újra a hidraulikafolyadék szintjét. A munkaeszköz munkahengere kissé megváltoztatja a folyadékszintet a hajtóműben. A gépet alacsony hidraulikafolyadék-szinttel üzemeltetve károsodhat a szivattyú, a távmeghajtású hidraulika-rendszer, a szervokormány és a hajtómű.
Important: A csatlakoztatásuk előtt tisztítsa le a gyorscsatlakozókat. A koszos csatlakozókról szennyeződés kerülhet a hidraulika-rendszerbe.
Húzza hátra a csatlakozón a rögzítőgyűrűt.
Csúsztassa be a tömlő csonkját a csatlakozóba, hogy a helyére kattanjon.
Note: Amikor távvezérelt berendezést csatlakoztat a gyorscsatlakozókra, határozza meg, melyik oldal igényli a nyomást, majd az ehhez tartozó tömlőt kösse a B” csatlakozóra, amely a vezérlőkart előrenyomva vagy BE helyzetben reteszelve nyomás alá kerül.
Note: Miután a gépet és a munkaeszközt is leállította, az emelőkart előre-hátra mozgatva engedje ki a rendszerből a nyomást, megkönnyítve egyben a gyorscsatlakozók leválasztását.
Húzza hátra a csatlakozón a rögzítőgyűrűt.
Húzza ki határozottan a tömlőt a csatlakozóból.
Important: Tisztítsa meg, majd szerelje fel a porvédő dugókat és sapkákat a gyorscsatlakozók végeire, ha azok nincsenek használatban.
Nehéz a gyorscsatlakozók csatlakoztatása vagy leválasztása.
Nem szüntették meg a nyomást (a gyorscsatlakozó nyomás alatt van).
A szervokormányt nehéz vagy nem lehet elfordítani.
A hidraulikafolyadék szintje alacsony.
A hidraulikafolyadék túl forró.
A szivattyú nem működik.
Szivárog a hidraulika-rendszer.
A szerelvények lazák.
A szerelvényből hiányzik az O-gyűrű.
Nem működik egy munkaeszköz.
A gyorscsatlakozók nincsenek teljesen a helyükön.
A gyorscsatlakozókat felcserélték.
Visító zaj hallatszik.
A szelep BE helyzetben maradt, így a hidraulikafolyadék a biztonsági szelepen keresztül áramlik.
Laza az ékszíj.
A motor nem indul be.
A hidraulika karja ELőREMENETI helyzetben rögzült.
A kezelőállás elhagyása előtt végezze el az alábbiakat:
Parkolja le a gépet sík talajon.
Kapcsolja a váltóművet SEMLEGES helyzetbe.
Húzza be a rögzítőféket.
Engedje le a platót.
Kapcsolja ki a gépet, és vegye ki a kulcsát.
Várja meg, amíg minden mozgó alkatrész megáll.
Hagyja lehűlni a gépet, mielőtt beállítási, szervizelési, tisztítási vagy tárolási munkába kezd rajta.
Ne tárolja a gépet olyan helyen, ahol nyílt láng, szikra vagy őrláng fordul elő, mint például vízmelegítőkön vagy más eszközökön.
Tartsa a gép összes részegységét megfelelő üzemállapotban, a kötőelemeket pedig kellően meghúzva.
Végezze el a biztonsági öv karbantartását és tisztítását szükség szerint.
Cserélje ki az összes kopott, sérült vagy hiányzó matricát.
Óvatosan járjon el a gép utánfutóra vagy teherjárműre történő felrakásakor vagy levételekor.
A gép utánfutóra vagy teherjárműre történő felrakásakor használjon teljes szélességű rámpákat.
Kösse le a gépet biztonságosan.
A gép rögzítési helyeiért lásd: Ábra 19 és Ábra 20.
Note: Úgy helyezze el a gépet pótkocsin, hogy gép eleje előre nézzen. Ha ez nem lehetséges, rögzítse a gép motorháztetőjét egy hevederrel a vázhoz, vagy távolítsa el a motorháztetőt, majd külön elhelyezve és rögzítve szállítsa, ellenkező esetben a motorháztetőt lefújhatja a menetszél szállítás közben.


Vészhelyzet esetén rövid távolságon vontathatja a gépet; ekkor azonban ne a normál használat szerint járjon el.
A túl nagy sebességgel való vontatás az irányíthatóság elvesztését okozhatja, ami személyi sérüléshez vezethet.
Soha ne vontassa a gépet 8 km/h-nál nagyobb sebességgel.
Note: A kormányrásegítés nem működik, amitől nehézzé válik a kormányzás.
A gép vontatása kétszemélyes feladat. Ha a gépet jelentős távolságra kell mozgatni, teherautón vagy utánfutón kell szállítani.
Rögzítse a vontatókötelet a gépváz elején lévő vonószemhez (Ábra 19).
Kapcsolja a váltóművet SEMLEGES helyzetbe, és engedje ki a rögzítőféket.
A gép nálánál nagyobb tömegű pótkocsik és munkaeszközök vontatására is képes. Különféle vonóhorgok kaphatók a géphez annak alkalmazásától függően. Vegye fel a kapcsolatot a hivatalos márkaszervizzel a részletekkel kapcsolatban.
Ha a hátsó hídhoz csavarral rögzített vonóhorgot használ, a gép 1587 kg megengedett legnagyobb össztömegű pótkocsi vagy munkaeszköz vontatására képes.
A pótkocsit mindig úgy rakodja meg, hogy a rakomány tömegének 60%-a a pótkocsi elejére kerüljön. Ez a pótkocsi megengedett össztömegének körülbelül 10%-ával (legfeljebb 272 kg) terheli meg a gép vonóhorgát.
Rakomány szállításakor vagy pótkocsi (munkaeszköz) vontatásakor ne terhelje túl a gépet vagy a pótkocsit. A túlterhelés gyenge teljesítményt vagy a fékek, a tengely, a motor, a váltómű, a kormányzás, a felfüggesztés, a karosszériaszerkezet vagy a gumiabroncsok károsodását okozhatja.
Important: A hajtáslánc-károsodás esélyének csökkentése érdekében használja a lassú fokozattartományt.
Nyeregszerkezetes munkaeszköz, például fairway szellőztetőgép vontatásakor mindig szerelje fel a kerékrudat (a nyeregszerkezet készlet része), hogy az első kerekek ne emelkedjenek el a talajról, ha a vontatott munkaeszköz hirtelen nem megfelelően mozdul.
Ne engedje, hogy a gépet oktatásban nem részesült személyzet üzemeltesse.
A kezelőállás elhagyása előtt végezze el az alábbiakat:
Parkolja le a gépet sík talajon.
Kapcsolja a váltóművet SEMLEGES helyzetbe.
Húzza be a rögzítőféket.
Engedje le a platót.
Kapcsolja ki a gépet, és vegye ki a kulcsát.
Várja meg, amíg minden mozgó alkatrész megáll.
Hagyja lehűlni a gépet, mielőtt beállítási, szervizelési, tisztítási vagy tárolási munkába kezd rajta.
Bakolja alá a gépet, ha alatta végez munkát.
Ne végezzen munkát felemelt rakfelület alatt, ha nincs a helyén megfelelő rakfelület-alátámasztás.
Győződjön meg az összes hidraulikavezeték-csatlakozó szorosan meghúzott állapotáról, valamint a hidraulikus tömlők és -vezetékek megfelelő állapotáról, mielőtt nyomás alá helyezi a rendszert .
Mielőtt a hidraulika-rendszert leválasztja, vagy dolgozni kezd rajta, szüntessen meg benne minden nyomást, leállítva a motort, kitérítve a hidraulika vezérlőkarját emelés és leengedés irányba, valamint leengedve a platót és a munkaeszközt, ha van. Állítsa a távmeghajtású hidraulika karját lebegés helyzetbe. Ha a platónak felemelt helyzetben kell lennie, helyezzen el alatta biztonsági kitámasztót.
Az energiát tároló alkatrészekből óvatosan engedje ki a nyomást.
A gép javítása közben ne töltse az akkumulátorokat.
Annak érdekében, hogy a teljes gép jó állapotban maradjon, tartsa az összes kötőelemet jól meghúzva.
A lehetséges tűzveszély csökkentése érdekében tartsa a gép területét többletzsírtól, fűtől, levelektől és szennyeződésektől mentesen.
Ha lehetséges, járó gépen ne végezzen karbantartást. Tartózkodjon a mozgó alkatrészektől.
Ha a karbantartási beállítás elvégzéséhez járatni kell a gépet, tartsa távol kezét, lábát, ruházatát és a teste minden részét a mozgó alkatrészektől. Tartsa távol a járókelőket a géptől.
Takarítsa fel a kiömlött olajat és üzemanyagot.
Ellenőrizze a rögzítőfék működését a karbantartási ütemtervnek megfelelően, és végezze el a beállítását és szervizelését szükség szerint.
Tartsa a gép összes részegységét megfelelő üzemállapotban, a kötőelemeket pedig megfelelően meghúzva. Cseréljen ki minden kopott vagy sérült matricát.
Soha ne akadályozza a biztonsági berendezés rendeltetésszerű működését, és ne gyengítse a biztonsági berendezés által biztosított védelmet.
Ne pörgesse túl a motort a szabályozó beállításainak módosításával. A biztonság és pontosság biztosítása érdekében ellenőriztesse hivatalos Toro-forgalmazónál a maximális motorfordulatszámot fordulatszámmérővel.
Ha nagyobb javítás szükséges, vagy segítségre van szüksége, vegye fel a kapcsolatot egy hivatalos Toro-forgalmazóval.
A gép mindennemű módosítása befolyásolhatja a gép működését, teljesítményét, tartósságát, ilyen módon történő használata pedig sérülést vagy halált okozhat. Az ilyen jellegű használat érvénytelenítheti a The Toro® Company által biztosított termékgaranciát.
| Karbantartási időköz | Karbantartási intézkedés |
|---|---|
| Az első 2 óra után |
|
| Az első 10 óra után |
|
| Az első 50 óra után |
|
| Az első 100 óra után |
|
| Minden egyes használat előtt, vagy naponta |
|
| Minden 25 órában |
|
| Minden 50 órában |
|
| Minden 100 órában |
|
| Minden 200 órában |
|
| Minden 400 órában |
|
| Minden 600 órában |
|
| Minden 800 órában |
|
| Minden 1000 órában |
|
| Minden 2000 órában |
|
Note: Az elektromos bekötési rajz másolata letölthető a www.Toro.com weboldalról, miután megkereste a kezdőoldalon lévő Manuals (Kézikönyvek) hivatkozásán keresztül az adott gépet.
Important: A további karbantartási eljárásokra vonatkozóan lásd a motor kezelői kézikönyvét.
A gép karbantartását, javítását, beállítását és ellenőrzését csak és erre jogosult szakember végezheti.
Kerülje el a tűzveszélyt, gondoskodjon tűzvédelmi berendezésről a munkaterületen. Az üzemanyag, az akkumulátor-elektrolit és a hűtőfolyadék szintjének vagy szivárgásának ellenőrzéséhez ne használjon nyílt lángot.
Az alkatrészeket ne üzemanyaggal vagy gyúlékony tisztítószerrel feltöltött nyitott edényben tisztítsa.
A gép nem megfelelő karbantartása a gép rendszereinek idő előtti meghibásodásához vezethet, amely az Ön vagy a közelben tartózkodók sérülését okozhatja.
Tartsa a gépet jól karbantartva és jó üzemállapotban ezen utasítások szerint.
Ha a kulcsot a gyújtáskapcsolóban hagyja, mások véletlenül beindíthatják a motort, és a közelben állók súlyos sérülését okozhatják.
Karbantartási munkák előtt állítsa le a motort, és vegye ki az indítókulcsot a gyújtáskapcsolóból.
Important: Ha a gép az alább felsorolt feltételek bármelyikének ki van téve, kétszer olyan gyakran végezzen karbantartást:
Üzemeltetés sivatagban
Használat hideg éghajlaton – 10 °C alatt
Pótkocsi vontatása
Gyakori használat poros körülmények között
Építkezések
A sárban, homokban, vízben vagy hasonló, szennyezett körülmények között történő huzamosabb használat után tegye a következőket:
Ellenőriztesse és tisztíttassa meg a fékeket a lehető leghamarabb. Ez megakadályozza, hogy az esetleges karcoló anyagok túlzott kopást okozzanak.
Csak vízzel vagy enyhe mosószeres vízzel mossa a gépet.
Important: A gép tisztítására ne használjon sós vizet (brakkvíz), se tisztított szennyvizet.
A karbantartási szakaszban tárgyalt témák közül sok megköveteli a plató felemelését és leengedését. A súlyos, akár végzetes személyi sérülések megelőzése érdekében tegye meg a következő óvintézkedéseket.
Parkolja le a gépet sík talajon.
Húzza be a rögzítőféket.
Ürítse ki és emelje fel a teherszállító rakfelületet; lásd: A plató felemelése.
Állítsa le a motort, és vegye ki az indítókulcsot.
A karbantartás megkezdése előtt hagyja a gépet lehűlni.
Important: A platókitámasztót mindig a plató vonalán kívülről helyezze be vagy távolítsa el.
Emelje fel a platót annyira, hogy a munkahengerek teljesen kitolódjanak.
Vegye ki a platókitámasztót a bukócső paneljének hátulján található tartóiból (Ábra 21).

Nyomja rá a platókitámasztót a munkahengerrúdra, ügyelve arra, hogy a kitámasztó végén levő fülek felfeküdjenek a munkahenger hengerének végére és a munkahengerrúd végére (Ábra 22).

Vegye le a platókitámasztót a munkahengerről, és tegye be a bukócső paneljének hátulján található tartóiba.
Important: Ne kísérelje meg a plató leengedését úgy, hogy a platókitámasztó még a munkahengeren van.
Indítsa be a motort, és a hidraulikus emelő karjával engedje le úgy a platót, hogy a munkahengerek meglazuljanak a nyílásokban.
Engedje el az emelőkart, és állítsa le a motort.
Távolítsa el a biztosítócsapokat a munkahengerrúd kengyelcsapszegeinek külső végéből (Ábra 23).

Távolítsa el a munkahengerrúd végeit a platórögzítő lemezhez rögzítő kengyelcsapszegeket a csapszegeket befelé nyomva (Ábra 23).
Távolítsa el a forgócsapkonzolokat a vázcsatornákhoz rögzítő biztosítócsapokat és kengyelcsapszegeket (Ábra 23).
Emelje le a platót a gépről.
A teljes méretű plató tömege körülbelül 148 kg, ezért ne kísérelje meg egyedül feltenni vagy levenni.
Használjon felső emelőt, vagy kérje további 2 vagy 3 fő segítségét.
Tárolja a munkahengereket a tárolókapcsokban.
Reteszelje a hidraulikus emelő zárját a gépen, nehogy véletlenül kitolja a platóemelő munkahengereket.
Note: Ha az oldalfalakat is felszereli a sík platóra, könnyebb akkor felszerelni azokat, amikor a plató még nincs felszerelve a munkagépre.
A hátsó csuklólemezek legyenek olyan helyzetben felszerelve a platóvázra/-csatornára, hogy az alsó végük hátrafelé hajoljon (Ábra 24).

A teljes méretű plató tömege körülbelül 148 kg, ezért ne kísérelje meg egyedül feltenni vagy levenni.
Használjon felső emelőt, vagy kérje további 2 vagy 3 fő segítségét.
Ügyeljen arra, hogy a távtartókonzolok és a kopóelemek (Ábra 25) úgy legyenek felszerelve, hogy a kapupántcsavarok fejei a gép belseje felé nézzenek.

Az emelő munkahengerek legyenek teljesen behúzott helyzetben.
Tegye rá óvatosan a platót a gépvázra, összeigazítva a plató hátulján a csuklólemez furatait a vázcsatorna hátulján kialakított furatokkal, majd szerelje be a 2 kengyelcsapszeget és biztosítócsapot (Ábra 25).
A plató leengedett helyzetében rögzítse a munkahengerrúd végeit a platórögzítő lemezek megfelelő nyílásaiba a kengyelcsapszegekkel és a biztosítócsapokkal.
A kengyelcsapszeget kívülről szerelje be a platóba úgy, hogy a biztosítócsap kifele nézzen (Ábra 25).
Note: A hátsó nyílások a teljes méretű platóhoz tartoznak; az első nyílások a ⅔-os, teljes méretű platóhoz tartoznak.
Note: Előfordulhat, hogy be kell indítania a motort a munkahengerek kitolásához vagy behúzásához a furatok összeigazítása miatt.
Note: A nem használt nyílást csavar és anya segítségével ledugózhatja, megelőzve az összeszerelési hibákat.
Indítsa be a motort, és a hidraulikus emelő karjával emelje fel a platót.
Engedje el az emelőkart, és állítsa le a motort.
Szerelje be a biztonsági kitámasztót, nehogy véletlenül leengedje valaki a platót; lásd: A platókitámasztó használata.
Szerelje be a biztosítócsapokat a munkahengerrúd-kengyelcsapszegek belső végeibe.
Note: Ha a platóra fel van szerelve az automatikus hátsófalkioldó mechanizmus, a biztosítócsap beszerelése előtt ellenőrizze, hogy az első ürítő összekötőrúdja a bal kengyelcsapszegen belül van.
A felemelt gép instabil lehet, és lecsúszhat az emelőről, sérülést okozva az alatta tartózkodó személynek.
Ne indítsa be a gépet, amíg az emelőn van, mert a motor rezgése vagy a kerék elmozdulása miatt a gép lecsúszhat az emelőről.
Mindig vegye ki az indítókulcsot a gyújtáskapcsolóból, mielőtt elhagyja a gépet.
Legyenek kiékelve a kerekek, amíg a gép emelőn van.
A gép elejének felemelésekor mindig helyezzen fatömböt (vagy hasonlót) az emelő és a gép váza közé.
A gép első emelési pontja az első középső váztartó alatt található (Ábra 26).

A gép hátulján lévő emelési pont a tengely alatt található (Ábra 27).

Hajtsa fel a védőburkolatot a fényszórónyílásoknál fogva, hogy az alsó rögzítőfülek kijöjjenek a váz nyílásaiból (Ábra 28).

Billentse fel annyira a védőburkolatot az aljánál fogva, hogy ki tudja húzni a felső rögzítőfüleket a váz nyílásaiból (Ábra 28).
Billentse előre a védőburkolat felső részét, és húzza ki a fényszórók csatlakozóit (Ábra 28).
Távolítsa el a védőburkolatot.
| Karbantartási időköz | Karbantartási intézkedés |
|---|---|
| Minden 100 órában |
|
A kenőzsír típusa: 2-es sz. lítiumos kenőzsír
Egy ronggyal törölje tisztára a zsírzószemet, hogy ne kerülhessen idegen anyag a csapágyba vagy perselybe.
Zsírpisztollyal nyomjon zsírt a gép zsírzószemeibe.
Törölje le a felesleges zsírt a gépről.
Important: A kardáncsuklókba pumpáljon annyi zsírt, hogy mindegyik kardánkeresztnél mind a 4 csészénél megjelenjen az új zsír.
A zsírzógombok elhelyezkedése és a kenéskor felhasználandó zsír mennyisége a következő:
Gömbcsuklók (4); lásd: Ábra 29
Összekötőrudak (2); lásd: Ábra 29
Csuklós tartók (2); lásd: Ábra 29
Kormány-munkahenger (2); lásd: Ábra 29

Rugótorony (2); lásd: Ábra 30

Tengelykapcsoló pedál (1); lásd: Ábra 31
Gázpedál (1); lásd: Ábra 31
Fékpedál (1); lásd: Ábra 31

Kardáncsuklók (18); lásd: Ábra 32
Kardántengely: (3); lásd: Ábra 32

Állítsa le a motort, vegye ki az indítókulcsot, és várja meg, amíg az összes mozgó alkatrész leáll, csak ezután ellenőrizze az olajszintet vagy töltsön utána.
Tartsa távol kezét, lábát, arcát, ruházatát és más testrészeit a kipufogótól és egyéb forró felületektől.
| Karbantartási időköz | Karbantartási intézkedés |
|---|---|
| Minden 25 órában |
|
| Minden 100 órában |
|
Vizsgálja meg rendszeresen a légszűrőt és a tömlőket, hogy fenntartható legyen a maximális motorvédelem és biztosítható legyen a maximális élettartama. Ellenőrizze a légszűrőházat olyan sérülések szempontjából, amelyek levegőszivárgást okozhatnak. A sérült légszűrőházat cserélje le.
Oldja ki a légszűrő reteszeit, és húzza le a légszűrőfedelet a légszűrőházról (Ábra 33).

Nyomja össze két oldalról a porvédő sapkát, hogy kinyíljon, majd ütögesse ki belőle a port.
Csúsztassa ki óvatosan a légszűrőbetétet a légszűrőházból (Ábra 33).
Note: Ügyeljen arra, hogy ne ütődjön a szűrőbetét a szűrőháznak.
Note: Ne kísérelje meg a légszűrőbetét tisztítását.
Vizsgálja meg az új szűrőt sérülés szempontjából úgy, hogy a fény felé tartva a szűrő külső részét belenéz a szűrőbe.
Note: Az esetleges lyukak a szűrőbetét anyagán világos foltként jelennek meg. Vizsgálja meg a szűrőbetétet szakadás, olajos réteg és a gumitömítés károsodása szempontjából. Ha a szűrőbetét sérült, ne használja.
Note: A károsodása megelőzése érdekében csak úgy indítsa be a motort, ha a légszűrőbetét és a légszűrőfedél is a helyén van.
Óvatosan csúsztassa rá a szűrőbetétet a ház csövére (Ábra 33).
Note: A beszerelése során a külső peremét nyomva gondoskodjon arról, hogy teljesen felüljön a helyén.
A légszűrőfedelet szerelje úgy vissza, hogy az oldala felfelé nézzen, majd rögzítse a kapcsokkal (Ábra 33).
Note: Cseréljen gyakrabban motorolajat, ha különösen poros vagy homokos környezetben dolgozik a géppel.
Note: A fáradt motorolaj és olajszűrő ártalmatlanítását végezze tanúsítással rendelkező újrahasznosító központban.
Olajtípus: detergenstartalmú motorolaj (API SJ vagy magasabb)
A forgattyúház kapacitása: 3,2 l szűrőcsere esetén
Viszkozitás: lásd az alábbi táblázatot.

| Karbantartási időköz | Karbantartási intézkedés |
|---|---|
| Minden egyes használat előtt, vagy naponta |
|
Note: A legjobb időpont a motorolaj szintjének ellenőrzésére hideg motornál, mielőtt a munkanap elején beindítja a motort. Ha járt a motor, hagyja visszacsorogni az olajat az olajteknőbe legalább 10 percig, mielőtt ellenőrzi a szintjét. Ha az olajszint a nívópálcán levő alacsony jelölésen vagy az alatt látható, olajat betöltve emelje a szintet a tele jelölésig. Ne töltse túl a motort olajjal. Ha az olajszint a nívópálca felső és alsó jelölése közé esik, nem kell rátöltenie.
Parkolja le a gépet sík talajon.
Húzza be a rögzítőféket.
Állítsa le a motort, és vegye ki az indítókulcsot.
Vegye ki a nívópálcát, és törölje le tiszta ronggyal (Ábra 35).

Dugja vissza a nívópálcát a csőbe teljesen (Ábra 35).
Vegye ki nívópálcát, és ellenőrizze az olaj szintjét (Ábra 35).
Ha az olajszint alacsony, vegye le a feltöltősapkát (Ábra 35), és töltsön be annyi olajat, hogy az olajszint elérje a nívópálcán a tele jelzést.
Note: Az olaj betöltésekor a nívópálca ne legyen a helyén, hogy távozhasson a levegő. Az olajat lassan öntse be, és gyakran ellenőrizze közben az olajszintet. Ne töltse túl a motort olajjal.
Important: Olajbetöltéskor legyen némi távolság az olajbetöltő eszköz és a szelepfedélen lévő olajbetöltő nyílás között, ahogyan az alábbi ábrán látható: Ábra 36. Erre a résre azért van szükség, hogy lehetővé tegye feltöltéskor a szellőzést, meggátolva, hogy az olaj a szellőzőnyílásba jusson.

Tegye vissza a nívópálcát szorosan a helyére (Ábra 35).
| Karbantartási időköz | Karbantartási intézkedés |
|---|---|
| Az első 50 óra után |
|
| Minden 200 órában |
|
Emelje fel a platót, és tegye fel a kitolt munkahengerrúdra a biztonsági kitámasztót a plató biztosítására.
Szerelje ki a leeresztőcsavart, és ürítse le az olajat egy megfelelő edénybe (Ábra 37).

Ha már nem jön több olaj, szerelje vissza a leeresztőcsavart.
Távolítsa el az olajszűrőt (Ábra 37).
Kenje be vékonyan friss olajjal az új olajszűrő tömítését, majd szerelje fel az olajszűrőt.
Szerelje fel és húzza meg kézzel a szűrőt annyira, hogy a tömítése felüljön a rögzítőlemezre. Húzzon még rajta ezután további ½–⅔ fordulatot.
Note: Ne húzza meg túlságosan.
Töltse fel az előírt olajjal a forgattyúházat.
Note: A motor hibakódjait csak a Toro kereskedelmi termékeire szakosodott szakemberei tudják kiolvasni.
Parkolja le a gépet sík talajon.
Húzza be a rögzítőféket.
Állítsa le a motort, és vegye ki az indítókulcsot.
Vegye fel a kapcsolatot a hivatalos márkakereskedővel.
| Karbantartási időköz | Karbantartási intézkedés |
|---|---|
| Minden egyes használat előtt, vagy naponta |
|
Helyezzen egy tiszta edényt az üzemanyagszűrő alá (Ábra 38).
Lazítsa meg a leeresztőcsavart a szűrőtartály alján.

Húzza meg a leeresztőcsavart a szűrőtartály alján.
| Karbantartási időköz | Karbantartási intézkedés |
|---|---|
| Minden 400 órában |
|
Ürítse le a vizet a vízleválasztóból; lásd: Az üzemanyagszűrő/vízleválasztó leürítése.
Tisztítsa meg a szűrő rögzítési helyének környékét (Ábra 38).
Távolítsa el a szűrőt, és tisztítsa meg a rögzítési felületet.
Kenje meg a szűrő tömítését tiszta olajjal.
Szerelje fel a szűrőt, és húzza meg kézzel annyira, hogy a tömítése felüljön rögzítési felületre, majd húzzon még rajta további ½ fordulatot.
Húzza meg a leeresztőcsavart a szűrőtartály alján.
| Karbantartási időköz | Karbantartási intézkedés |
|---|---|
| Minden 400 órában |
|
Vizsgálja meg az üzemanyag-vezetékeket, a szerelvényeket és a csatlakozókat szivárgás, elhasználódás, károsodás és lazulás szempontjából.
Note: A gép használata előtt javítsa meg az üzemanyagrendszer sérült vagy szivárgó elemeit.
Kösse le az akkumulátort a gép javítása előtt. Kösse le először a negatív, majd csak ezután a pozitív pólust. Kösse vissza először a pozitív, majd csak ezután a negatív pólust.
Az akkumulátor töltését végezze nyitott, jól szellőző helyen, szikráktól és nyílt lángtól távol. A töltőt az akkumulátorra való csatlakoztatása vagy leválasztása előtt húzza ki a konnektorból. Viseljen védőöltözéket, és használjon szigetelt szerszámokat.
A külső akkumulátorról való indítás veszélyes lehet. A személyi sérülések és a gép elektromos alkatrészei károsodásának elkerülése érdekében tartsa be az alábbi figyelmeztetéseket:
Ne végezzen segédindítást 15 V-nál (DC) nagyobb feszültségű tápforrásról; ez károsíthatja az elektromos rendszert.
Ne kíséreljen meg segédindítást elfagyás miatt lemerült akkumulátoron. A segédindítás során az megrepedhet vagy felrobbanhat.
Tartsa be az akkumulátorral kapcsolatos összes figyelmeztetést a gép segédindítása során.
Ügyeljen arra, hogy a gép és a segédindítást végző gép ne érintkezzen.
A kábelek hibás csatlakoztatása személyi sérüléshez és/vagy az elektromos rendszer károsodásához vezethet.
Nyomja össze az akkumulátorfedelet, hogy a fülei elváljanak az akkumulátorrekesz aljától, majd vegye le az akkumulátorfedelet (Ábra 41).

Csatlakoztassa az egyik segédindító kábelt a 2 akkumulátor pozitív pólusa közé (Ábra 42).
Note: A pozitív pólust az akkumulátorfedélen elhelyezett + jel jelölheti.
Csatlakoztassa a másik segédindító kábel egyik végét a másik gép akkumulátorának negatív pólusára.
Note: A negatív kivezetést az akkumulátorfedélen a NEG” felirat jelöli.
Note: A segédindító kábel másik végét ne a lemerült akkumulátor negatív pólusára csatlakoztassa. Csatlakoztassa a segédindító kábelt a motorhoz vagy a vázhoz. A segédindító kábelt ne az üzemanyagrendszerhez csatlakoztassa.

Indítsa be a segédindítást végző munkagép motorját.
Note: Járassa pár percig, majd indítsa be a saját gép motorját.
A negatív segédindító kábelt először a saját gép motorjáról, majd a másik gép akkumulátoráról kösse le.
Szerelje fel az akkumulátorfedelet az akkumulátorrekesz aljára.
| Karbantartási időköz | Karbantartási intézkedés |
|---|---|
| Minden 50 órában |
|
Az akkumulátor elektrolitja kénsavat tartalmaz, amely lenyelve halálos, bőrre kerülve pedig súlyos égési sérüléseket okoz.
Ügyeljen arra, hogy ne kerüljön elektrolit a szájába, bőrére, szemébe vagy a ruházatára. Viseljen védőszemüveget szemei, valamint gumikesztyűt a keze védelmére.
Olyan helyen végezze az akkumulátor feltöltését elektrolittal, ahol van a közelben tiszta víz, hogy szükség esetén rögtön leöblíthesse a bőrét.
Az akkumulátort mindig tartsa tisztán és teljesen feltöltött állapotban.
Ha az akkumulátorcsatlakozók korrodáltak, tisztítsa meg őket 4 rész vízből és 1 rész szódabikarbónából készült oldattal.
A korrózió csökkentése érdekében enyhén zsírozza meg az akkumulátorcsatlakozókat.
Gondoskodjon arról, hogy az akkumulátor elektrolitszintje mindig megfelelő legyen.
Mossa le rendszeresen az akkumulátor tetejét ammóniás vagy szódabikarbónás oldattal benedvesített ecsettel. Öblítse le a felső felületet tiszta vízzel a lemosás után. Az akkumulátor tisztítása közben a cellakupakok legyenek a helyükön.
Gondoskodjon arról, hogy az akkumulátorsaruk szorosan illeszkedjenek az akkumulátor pólusain, hogy jó elektromos érintkezést biztosítsanak.
A cellákban az elektrolitszintet desztillált vagy ionmentes vízzel tartsa fenn. A cellákat ne töltse a betöltőnyílás alsó pereme fölé.
Ha olyan helyen tárolja a gépet, ahol a hőmérséklet nagyon magas, az akkumulátor gyorsabban lemerül, mint ha hűvös helyen történik a tárolása.
| Karbantartási időköz | Karbantartási intézkedés |
|---|---|
| Minden 100 órában |
|
Parkolja le a gépet sík talajon.
Húzza be a rögzítőféket.
Állítsa le a motort, és vegye ki az indítókulcsot.
Tisztítsa meg a betöltő-/ellenőrzőnyílás zárócsavarja körüli területet a differenciálművön (Ábra 43).

Távolítsa el a betöltő-/ellenőrzőnyílás zárócsavarját, és ellenőrizze az olajszintet.
Note: Az olajnak a nyílásig kell érnie.
Ha az olajszint alacsony, töltsön rá az előírt olajból.
Szerelje vissza a betöltő-/ellenőrzőnyílás zárócsavarját.
| Karbantartási időköz | Karbantartási intézkedés |
|---|---|
| Minden 800 órában |
|
A differenciálmű előírt olaja: Mobil 424 hidraulikafolyadék
Parkolja le a gépet sík talajon.
Húzza be a rögzítőféket.
Állítsa le a motort, és vegye ki az indítókulcsot.
Tisztítsa meg a leeresztőnyílás zárócsavarja körüli területet a differenciálművön (Ábra 43).
Helyezzen egy felfogóedényt a leeresztőcsavar alá.
Szerelje ki a leeresztőcsavart, és ürítse le az olajat az edénybe.
Szerelje vissza és húzza meg a zárócsavart, ha már nem jön több olaj.
Tisztítsa meg a betöltő-/ellenőrzőnyílás zárócsavarja körüli területet a differenciálművön.
Szerelje ki a betöltő-/ellenőrzőnyílás zárócsavarját, és töltsön be az előírt olajból annyit, hogy a szintje a nyílásig érjen.
Szerelje vissza a betöltő-/ellenőrzőnyílás zárócsavarját.
| Karbantartási időköz | Karbantartási intézkedés |
|---|---|
| Minden 200 órában |
|
Ellenőrizze a kardáncsukló gumiharangját repedések, lyukak és laza bilincs szempontjából. Vegye fel a kapcsolatot a hivatalos márkaszervizzel a javítása érdekében, ha hibát talál.
| Karbantartási időköz | Karbantartási intézkedés |
|---|---|
| Az első 10 óra után |
|
| Minden 200 órában |
|
Állítsa a fokozatválasztó kart ÜRES helyzetbe.
Távolítsa el a váltóbovdeneket a hajtómű váltókarjaihoz rögzítő kengyelcsapszegeket (Ábra 44).

Lazítsa meg a kengyeleken az ellenanyát, majd állítsa be a kengyeleket úgy, hogy a bovden játéka azonos legyen előrefelé és hátrafelé a váltókar furatában (a váltókar azonos irányú játékával együtt).
Ha végzett, szerelje vissza a kengyelcsapszegeket, és húzza meg az ellenanyákat.
| Karbantartási időköz | Karbantartási intézkedés |
|---|---|
| Minden 200 órában |
|
Távolítsa el a gyors–lassú váltóbovdent a váltókarhoz rögzítő kengyelcsapszeget (Ábra 44).
Lazítsa meg a kengyelen az ellenanyát, majd állítsa be úgy a kengyelt, hogy a furata egybe essen a hajtómű konzoljának furatával.
Ha végzett, szerelje vissza a kengyelcsapszeget, és húzza meg az ellenanyát.
| Karbantartási időköz | Karbantartási intézkedés |
|---|---|
| Minden 200 órában |
|
Állítsa a differenciálzár karját KI helyzetbe.
Lazítsa meg a differenciálzár bovdenjét a hajtóművön található konzolhoz rögzítő ellenanyákat (Ábra 45).

Állítsa be úgy az ellenanyákat, hogy 0,25–1,5 mm hézag legyen a rugó horga és a hajtómű karjában lévő furat felső széle között.
Húzza meg az ellenanyákat, ha végzett.
| Karbantartási időköz | Karbantartási intézkedés |
|---|---|
| Minden 100 órában |
|
Az első kerekeken lévő gumiabroncsok előírt légnyomása: 2,2 bar.
A hátsó kerekeken lévő gumiabroncsok előírt légnyomása: 1,24 bar.
A használat közbeni balesetek (például padkának ütközés) károsíthatják a gumiabroncsot vagy a keréktárcsát, illetve elállíthatják a kerékbeállítást, ezért minden baleset után ellenőrizze a gumiabroncsok állapotát.
Important: Ellenőrizze a gumiabroncsok nyomását rendszeresen. Ha a nyomásuk nem megfelelő, a gumiabroncsok idő előtt elkophatnak, és a jármű a négykerék-meghajtás ellenére is elakadhat.
Ábra 46 – példa a túl alacsony nyomás miatti kopásra.

Ábra 47 – példa a túl magas nyomás miatti kopásra.

| Karbantartási időköz | Karbantartási intézkedés |
|---|---|
| Minden 400 órában |
|
Az első kerékgeometria ellenőrzése előtt ellenőrizze a gumiabroncsok megfelelő nyomását; lásd: A gumiabroncsok nyomásának ellenőrzése.
Vagy üljön egy kezelő a kezelőülésbe, vagy legyen egy az átlag kezelő súlyával megegyező tömegű súly a kezelőülésen.
A kezelőnek vagy a súlynak az ülésen kell maradnia a kerékgeometria beállítási eljárás ideje alatt.
Sík felületen guruljon hátra a géppel egyenesen 2–3 métert, majd guruljon egyenesen előre az eredeti kiindulási helyzetbe.
Így a felfüggesztés normál üzemi helyzetbe állhat.
A kerekek álljanak egyenesen előre.
Mérje meg a két első gumiabroncs közötti távolságot tengelymagasságban a gumiabroncsok első és hátsó részénél is (Ábra 48).
A kerékösszetartás helyes értéke 0 ± 6 mm.
Important: A méréseket a gumiabroncsok azonos pontjain kell végezni. A gépnek sík talajon kell állnia, egyenesen előre néző kerekekkel.

Ha a kerékösszetartás nem megfelelő, végezze el a beállítást az alábbi módon:
Lazítsa meg az összekötőrudak közepénél található ellenanyákat (Ábra 49).

Forgassa el mindkét összekötőrudat a gumiabroncsok elejének befelé vagy kifelé mozgatásához.
Amikor a kerékösszetartás beállítása megfelelő, húzza meg az összekötőrudak ellenanyáit.
Húzza meg az összekötőrudak ellenanyáit 62–74 N·m nyomatékkal.
A kerékösszetartás beállítása után ellenőrizze, hogy a kormány mindkét irányban teljesen kitéríthető-e.
A kormány két végkitérítése során nem érhetnek egymáshoz a munkagép alkatrészei. Állítson utána szükség szerint.
| Karbantartási időköz | Karbantartási intézkedés |
|---|---|
| Az első 2 óra után |
|
| Az első 10 óra után |
|
| Minden 200 órában |
|
Kerékanyák előírt meghúzási nyomatéka: 109–122 N·m
Húzza meg az első és a hátsó kereket rögzítő kerékanyákat keresztirányú mintát követve a Ábra 50 szerint az előírt nyomatékkal.

A hűtőfolyadék lenyelése mérgezést okozhat; gyermekektől és háziállatoktól elzárva tartandó.
A nyomás alatt lévő forró kiáramló hűtőfolyadék, valamint a forró hűtő és kapcsolódó alkatrészei súlyos égési sérüléseket okozhatnak.
Hagyja hűlni a motort legalább 15 percig, mielőtt levenné a hűtősapkát.
A hűtősapka levételéhez használjon rongyot, a sapkát pedig lassan nyissa meg, hogy a gőz eltávozhasson.
Ne működtesse a gépet, ha nincsenek a helyükön a védőburkolatok.
Tartsa távol ujjait, a kezét és a ruházatát a forgó ventilátortól és a hajtásékszíjtól.
Állítsa le a motort, és vegye ki az indítókulcsot, mielőtt karbantartásba kezd.
| Karbantartási időköz | Karbantartási intézkedés |
|---|---|
| Minden egyes használat előtt, vagy naponta |
|
A hűtőrendszer űrtartalma: 3,7 l
A hűtőfolyadék típusa: víz és tartósan használható etilén-glikolos fagyálló 50/50 arányú keveréke
Ha a motor már egy ideje jár, a túlnyomás alatt lévő, forró hűtőfolyadék kilövellhet, és égési sérüléseket okozhat.
Ne nyissa fel a hűtőt a hűtőfolyadék betöltéséhez; ettől levegős lesz a rendszer, és károsodhat a motor. Csak a kiegyenlítő tartályba töltsön hűtőfolyadékot.
Ne vegye le a hűtősapkát, ha meleg a motor.
A hűtősapka levételéhez használjon rongyot, a sapkát pedig lassan nyissa meg, hogy a gőz eltávozhasson.
Parkolja le a gépet sík talajon.
Kapcsolja a sebességváltót P (PARKOLáS) fokozatba.
Állítsa le a motort, és vegye ki az indítókulcsot.
Ellenőrizze a hűtőfolyadék szintjét a tágulási tartályban.

Note: Amikor a motor hideg, a folyadékszintnek a töltőnyílás aljánál kell lennie.
Ha kevés a hűtőfolyadék, vegye le a tágulási tartály sapkáját, és töltsön be 50% etilénglikol és 50% desztillált víz keverékéből álló, szerves adalék technológiával (OAT) készült fagyálló hűtőfolyadékot.
Ne töltse túl.
Húzza meg kézzel a tágulási tartály sapkáját.
| Karbantartási időköz | Karbantartási intézkedés |
|---|---|
| Minden egyes használat előtt, vagy naponta |
|
Parkolja le a gépet sík talajon.
Húzza be a rögzítőféket.
Állítsa le a motort, és vegye ki az indítókulcsot.
Tisztítsa meg alaposan a motorteret minden hulladéktól.
Oldja ki, és távolítsa el a hűtőrácsot a hűtő elől (Ábra 52).

Fordítsa el a reteszeket, ha vannak, és hajtsa el az olajhűtőt a hűtőtől (Ábra 53).

Tisztítsa ki a hűtőt, az olajhűtőt és a hűtőrácsot sűrített levegővel.
Note: Fúvassa el a hulladékot a hűtőtől.
Szerelje vissza az olajhűtőt és a hűtőrácsot a hűtőre.
| Karbantartási időköz | Karbantartási intézkedés |
|---|---|
| Minden 1000 órában |
|
A hűtőrendszer űrtartalma: 3,7 l
A hűtőfolyadék típusa: víz és tartósan használható etilén-glikolos fagyálló 50/50 arányú keveréke
Forduljon a hivatalos Toro-forgalmazóhoz.
| Karbantartási időköz | Karbantartási intézkedés |
|---|---|
| Minden egyes használat előtt, vagy naponta |
|
| Minden 1000 órában |
|
Fékfolyadék típusa: DOT 3
Parkolja le a gépet sík talajon.
Húzza be a rögzítőféket.
Állítsa le a motort, és vegye ki az indítókulcsot.
Hajtsa fel a védőburkolatot, hogy hozzáférjen a főfékhengerhez és a fékfolyadéktartályhoz (Ábra 54).

Ellenőrizze, hogy a folyadékszint a tartály tele jelzéséig ér-e (Ábra 55).

Ha a folyadékszint alacsony, tisztítsa meg a tartálysapka környékét, távolítsa el a tartálysapkát, és töltsön be a megfelelő szintig az előírt fékfolyadékból (Ábra 55).
Note: Ne töltse túl a tartályt fékfolyadékkal.
| Karbantartási időköz | Karbantartási intézkedés |
|---|---|
| Az első 10 óra után |
|
| Minden 200 órában |
|
Távolítsa el a gumimarkolatot a rögzítőfék karjáról (Ábra 56).

Lazítsa meg a gombot a rögzítőfékkarhoz rögzítő hernyócsavart (Ábra 57).

Forgassa el a gombot (Ábra 57) úgy, hogy 200–220 N erőre legyen szükség a kar behúzásához.
Húzza meg a hernyócsavart, ha végzett (Ábra 57).
Note: Ha a rögzítőfék karjánál nem végezhető el a kellő mértékű beállítás, lazítsa meg a kart a beállítási tartomány közepéig, végezzen beállítást a bovden hátsó végénél, majd ismételje meg a 3. lépést.
Szerelje vissza a gumimarkolatot a rögzítőfék karjára (Ábra 56).
| Karbantartási időköz | Karbantartási intézkedés |
|---|---|
| Minden 200 órában |
|
Note: A beállításhoz távolítsa el az első védőburkolatot.
Távolítsa el a főfékhenger kengyelét a fékpedál forgócsuklójához rögzítő sasszeget és kengyelcsapszeget (Ábra 58).

Húzza fel a fékpedált (Ábra 59) annyira, hogy nekiérjen a váznak.
Lazítsa meg az ellenanyát, ami a kengyelt a főfékhenger tengelyéhez rögzíti (Ábra 59).
Állítsa be úgy a kengyelt, hogy a furatai egybeessenek a fékpedál forgócsuklójának furataival.
Rögzítse a kengyelt a fékpedál forgócsuklójához a kengyelcsapszeg és a sasszeg segítségével.
Húzza meg az ellenanyát, ami a kengyelt a főfékhenger tengelyéhez rögzíti.
Note: Megfelelő beállítás mellett a főfékhengernek el kell engednie a nyomást.

| Karbantartási időköz | Karbantartási intézkedés |
|---|---|
| Az első 10 óra után |
|
| Minden 200 órában |
|
Emelje fel a platót, és helyezze a kitolt munkahengerrúdra a biztonsági kitámasztót a plató biztosítására.
Ellenőrizze a szíjfeszességet úgy, hogy a főtengely szíjtárcsa és a generátor szíjtárcsa között félúton 100 N erővel benyomja az ékszíjat (Ábra 60).
Note: Az új ékszíj benyomódásának normál esetben 8–12 mm-nek kell lennie.
Note: A használt ékszíj benyomódásának normál esetben 10–14 mm-nek kell lennie. Ha a benyomódás nem megfelelő, folytassa a következő lépéssel. Ha megfelelő, folytassa a munkagép használatát.
A szíjfeszesség beállításához járjon el az alábbi módon:
| Karbantartási időköz | Karbantartási intézkedés |
|---|---|
| Minden 200 órában |
|
Note: A tengelykapcsoló pedál bovdenjének a beállítása a külső tengelykapcsolóháznál vagy a tengelykapcsoló pedál gömbcsuklójánál történhet. A pedál gömbcsuklója könnyebben hozzáférhető, ha eltávolítja az első védőburkolatot.
Lazítsa meg a tengelykapcsoló-bovdent a külső tengelykapcsolóházon található konzolhoz rögzítő ellenanyákat (Ábra 61).
Note: Szükség lehet a gömbcsukló eltávolítására és elforgatására, ha további beállításra van szükség.

Akassza le a visszahúzó rugót a tengelykapcsoló karról.
Állítsa be úgy az ellenanyákat vagy a gömbcsuklót, hogy a tengelykapcsoló pedál hátsó széle 9,2–9,8 cm távolságra legyen a padlólemez gyémántmintás felszínétől, ha 18 N erővel nyomja a pedált (Ábra 62).

Note: Azért kell a pedált így lenyomni, hogy a kinyomócsapágy kissé hozzáérjen a nyomólap ujjaihoz.
A megfelelő beállítás elérése után húzza meg az ellenanyákat.
Az ellenanyák meghúzása után ellenőrizze ismét a 9,2–9,8 cm távolságot, hogy nem állítódott-e el.
Note: Szükség esetén módosítsa a beállítást.
Akassza vissza a visszahúzó rugót a tengelykapcsoló karra.
Important: Ellenőrizze, hogy a rúd vége derékszögben áll a gömbhöz képest, nincs elcsavarodva, és az ellenanya meghúzása után is párhuzamos marad a tengelykapcsoló pedállal (Ábra 63).
Note: A tengelykapcsoló holtjátéka nem lehet 19 mm-nél kisebb.

Parkolja le a gépet sík talajon, húzza be a rögzítőféket, állítsa le a motort, és vegye ki az indítókulcsot.
Állítsa be úgy a gázbovden gömbcsuklójának (Ábra 64) helyzetét, hogy 2,54–6,35 mm távolság legyen a gázpedál karja és a padlólemez gyémántmintás felszíne (Ábra 65) között, amikor a pedál közepét 111 N erővel nyomja.
Note: A motor ekkor ne járjon, és legyen a helyén a visszahúzó rugó.
Húzza meg az ellenanyát (Ábra 64).


Important: A magas alapjárat maximális fordulatszáma 3650 ford/perc. Ne állítson a magas alapjárat ütközőjén.
Ha hidraulikafolyadék került a bőre alá, azonnal kérjen orvosi segítséget. A bejutott folyadékot pár órán belül orvossal sebészileg el kell távolíttatni.
Mielőtt a hidraulika-rendszert leválasztja, vagy azon dolgozni kezd, szüntessen meg benne minden nyomást, leállítva a motort, kitérítve a hidraulika vezérlőkarját emelés és leengedés irányba, valamint leengedve a platót és a munkaeszközt, ha van. Állítsa a távmeghajtású hidraulika karját lebegés helyzetbe. Ne végezzen munkát felemelt rakfelület alatt, ha nincs a helyén megfelelő rakfelület-alátámasztás.
Mielőtt nyomás alá helyezi a hidraulika-rendszert, győződjön meg arról, hogy minden hidraulikatömlő és -vezeték megfelelő állapotban van, és az összes hidraulikus csatlakozó és szerelvény szorosan illeszkedik.
Egyetlen testrészével se kerüljön közel olyan szivárgó lyukakhoz, fúvókákhoz, ahonnan nagynyomású hidraulikafolyadék távozhat.
A hidraulikafolyadék esetleges szivárgását ellenőrizze kartonlap vagy papírlap segítségével.
A hajtómű-/hidraulikafolyadék típusa: Dexron III ATF
| Karbantartási időköz | Karbantartási intézkedés |
|---|---|
| Minden egyes használat előtt, vagy naponta |
|
Parkolja le a gépet sík talajon.
Húzza be a rögzítőféket.
Állítsa le a motort, és vegye ki az indítókulcsot.
Tisztítsa meg a nívópálca körüli területet (Ábra 66).

Hajtsa ki a nívópálcát a hajtómű tetejéből, és törölje le egy tiszta ronggyal.
Csavarja vissza a nívópálcát a hajtóműbe úgy, hogy teljesen felüljön a helyén.
Csavarja ki a nívópálcát, és ellenőrizze a folyadék szintjét.
Note: A szintnek a nívópálcán kialakított lapos rész tetejénél kell lennie.
Ha a szint alacsony, töltsön be annyi előírt folyadékot, hogy megfelelő legyen a szint; lásd: A hajtómű-/hidraulikafolyadékra vonatkozó előírások.
| Karbantartási időköz | Karbantartási intézkedés |
|---|---|
| Minden 800 órában |
|
A hidraulikafolyadék mennyisége: 7 l
Parkolja le a gépet sík talajon.
Húzza be a rögzítőféket.
Állítsa le a motort, és vegye ki az indítókulcsot.
Szerelje ki a leeresztőcsavart a tartály oldalából, és engedje ki a hidraulikafolyadékot egy megfelelő edénybe (Ábra 67).

Jegyezze meg a szitaszűrőhöz csatlakozó hidraulikatömlő és 90°-os szerelvény helyzetét a tartály oldalán (Ábra 68).
Távolítsa el a hidraulikatömlőt és 90°-os szerelvényt.
Távolítsa el a szitaszűrőt, és tiszta zsírtalanítóval ellenárammal átöblítve tisztítsa meg.
Note: Hagyja levegőn megszáradni, mielőtt visszaszereli.

Szerelje vissza a szitaszűrőt.
Szerelje vissza a hidraulikatömlőt és a 90°-os szerelvényt az eredeti helyzetében.
Szerelje be, és húzza meg a leeresztőcsavart.
Töltse fel a hidraulikatartályt kb. 7 l előírt hidraulikafolyadékkal; lásd: A hajtómű-/hidraulikafolyadék szintjének ellenőrzése.
Indítsa be a motort, és hidraulika-rendszer feltöltéséhez működtesse a gépet.
Ellenőrizze a hidraulikafolyadék szintjét, és szükség esetén töltsön rá.
Important: Csak az előírt hidraulikafolyadékot használja. Más folyadék károsíthatja a rendszert.
| Karbantartási időköz | Karbantartási intézkedés |
|---|---|
| Az első 10 óra után |
|
| Minden 800 órában |
|
Important: Bármilyen más szűrő használata érvénytelenítheti az egyes részegységekre vállalt garanciát.
Parkolja le a gépet sík talajon.
Húzza be a rögzítőféket.
Állítsa le a motort, és vegye ki az indítókulcsot.
Tisztítsa meg a szűrő rögzítési területének környékét.
Tegyen egy edényt a szűrő alá, majd szerelje le a szűrőt (Ábra 69).

Kenje meg az új szűrő tömítését.
Ellenőrizze a szűrő felfogatási területének tisztaságát.
Szerelje fel és húzza meg kézzel a szűrőt annyira, hogy a tömítése felüljön a rögzítőlemezre, majd húzzon még rajta további ½ fordulatot.
Indítsa be a motort, és járassa nagyjából 2 percig a rendszer légtelenítéséhez.
Állítsa le a motort, ellenőrizze a hidraulikafolyadék szintjét, és hogy nincs-e szivárgás.
A tartályt gyárilag kiváló minőségű hidraulikafolyadékkal töltjük fel. Ellenőrizze a hidraulikafolyadék szintjét, mielőtt először beindítja a motort, majd utána naponta; lásd: A nagy térfogatáramú hidraulika-rendszer folyadékszintjének ellenőrzése.
Javasolt hidraulikafolyadék: Toro PX Extended Life Hydraulic Fluid (megnövelt élettartamú hidraulikafolyadék); kapható 19 literes kannában és 208 literes hordóban.
Note: A javasolt cserefolyadék használata esetén ritkábban kell cserélni a folyadékot és a szűrőt.
Más használható hidraulikafolyadékok: ha a Toro PX Extended Life Hydraulic Fluid nem kapható, használhat más olyan hagyományos, nyersolajbázisú hidraulikafolyadékot, amelynek tulajdonságai megfelelnek az alábbi anyagjellemzőknek, és amely megfelel az iparági szabványoknak. Ne használjon szintetikus folyadékot. Forduljon a kenőanyag forgalmazójához a megfelelő termékkel kapcsolatban.
Note: A Toro nem vállalja a felelősséget a nem megfelelő helyettesítő termék használatából eredő károkért, használja ezért megbízható, neves gyártó termékét.
| Anyagjellemzők: | ||
| Viszkozitás, ASTM D445 | 40 °C-on 44–48 cSt | |
| Viszkozitási index, ASTM D2270 | 140 vagy magasabb | |
| Dermedéspont, ASTM D97 | –37 °C és –45 °C között | |
| Iparági előírások: | Eaton Vickers 694 (I-286-S, M-2950-S/35VQ25 vagy M-2952-S) | |
Note: Sok hidraulikafolyadék majdnem színtelen, ezért nehéz észrevenni a szivárgását. A hidraulikafolyadékhoz piros festékadalék kapható 20 ml-es palackban. A palack tartalma 15–22 l hidraulikafolyadékhoz elegendő. 44-2500 cikkszámon megrendelhető a hivatalos Toro-forgalmazótól.
| Karbantartási időköz | Karbantartási intézkedés |
|---|---|
| Minden egyes használat előtt, vagy naponta |
|
Parkolja le a gépet sík talajon.
Húzza be a rögzítőféket.
Állítsa le a motort, és vegye ki az indítókulcsot.
Tisztítsa meg a hidraulikatartály betöltőnyílása és sapkája körüli területet (Ábra 70).
Távolítsa el a sapkát a betöltőnyílásról.

Vegye ki a nívópálcát (Ábra 70) a betöltőnyílásból, és törölje le egy tiszta ronggyal.
Tegye vissza a nívópálcát a betöltőnyílásba, ezután vegye ki, és ellenőrizze a folyadékszintet.
Note: A folyadékszintnek a nívópálca 2 jelölése között kell lennie.
Ha a szint alacsony, töltsön be a megfelelő folyadékból annyit, hogy a szint a felső jelzésnél legyen; lásd: A nagy térfogatáramú hidraulika-rendszer folyadékának és szűrőjének cseréje.
Tegye vissza a nívópálcát és a sapkát is a betöltőnyílásra.
Indítsa be a motort, és kapcsolja be a munkaeszközt.
Note: Járassa nagyjából 2 percig a rendszer légtelenítéséhez.
Important: A motornak járnia kell, mielőtt elindítja a nagy térfogatáramú hidraulika-rendszert.
Állítsa le a motort és a munkaeszközt, és keressen esetleges szivárgást.
| Karbantartási időköz | Karbantartási intézkedés |
|---|---|
| Minden 800 órában |
|
| Minden 1000 órában |
|
| Minden 2000 órában |
|
Hidraulikafolyadék mennyiség: kb. 15 l
Parkolja le a gépet sík talajon.
Húzza be a rögzítőféket.
Állítsa le a motort, és vegye ki az indítókulcsot.
Tisztítsa meg a nagy térfogatáramú szűrő felszerelési területének környékét (Ábra 69).
Tegyen egy edényt a szűrő alá, majd szerelje le a szűrőt.
Note: Ha nem engedi le a hidraulikafolyadékot, kösse szét és dugózza le a szűrőhöz menő csövet.
Kenje meg az új szűrő tömítését, és hajtsa rá a szűrőt kézzel a szűrőfejre, amíg a tömítés a szűrőfejhez nem ér. Ezután húzza meg még ¾ fordulatnyit. A szűrőnek így már tömítenie kell.
Töltse fel a hidraulikatartályt kb. 15 liter hidraulikafolyadékkal.
Indítsa el a gépet, és járassa kb. 2 percig, hogy áramoltassa a hidraulikafolyadékot, és eltávolítson a rendszerből minden belekerült légbuborékot.
Állítsa le a gépet, és ellenőrizze a folyadék szintjét.
Ellenőrizze a folyadék szintjét.
A folyadék ártalmatlanítását végezze az előírásoknak megfelelően.
A plató vészhelyzetben a motor beindítása nélkül is felemelhető indítózással vagy a hidraulika-rendszer külső táplálásával.
Indítózzon, miközben az emelőkart emelés helyzetben tartja. Működtesse az indítómotort 10 másodpercig, majd várjon 60 másodpercet a következő indítózás előtt. Ha az indítómotor nem forgatja a motort, a motor vagy a hajtómű szervizeléséhez el kell távolítania a rakományt és a platót (munkaeszközt).
A rakománnyal együtt megemelt plató megfelelő alátámasztás nélkül váratlanul visszaereszkedhet. Alátámasztás nélkül a megemelt plató alatt dolgozva személyi sérülés történhet.
Mielőtt a gép szervizelésébe kezd vagy beállításokba kezd rajta, parkolja le sík talajon, húzza be a rögzítőféket, állítsa le a motort, és vegye ki az indítókulcsot.
Távolítsa el a rakományt vagy az egyéb munkaeszközt a platóról, és tegye rá a biztonsági kitámasztót a teljesen kitolt munkahengerrúdra, mielőtt a felemelt plató alatt dolgozni kezd.
A művelethez szüksége lesz 2 hidraulikatömlőre olyan dugaszos és hüvelyes csatlakozókkal, amelyek a gép csatlakozóihoz illenek.
Tolasson a másik géppel a meghibásodott gép hátuljához.
Important: A gép hidraulika-rendszere Dexron III ATF folyadékkal van feltöltve. A rendszer elszennyeződésének elkerülése érdekében a külső táplálást adó másik járműben is ilyen folyadéknak kell lennie.
Mindkét gépen kösse le a 2 gyorscsatlakozós tömlőt a csatlakozó konzoljához rögzített tömlőkről (Ábra 71).

A meghibásodott gépen csatlakoztassa a 2 összekötő tömlőt a lekötött tömlőkhöz (Ábra 72).
Dugózza le a nem használt szerelvényeket.

A másik gépen csatlakoztassa a 2 összekötő tömlőt a csatlakozókonzolon levő csatlakozókra (csatlakoztassa a felső tömlőt a felső csatlakozóra, az alsó tömlőt pedig az alsó csatlakozóra) (Ábra 73).
Dugózza le a nem használt szerelvényeket.

Tartsa távol a járókelőket a gépektől.
Indítsa be a segítő járművet, és állítsa az emelőkart emelési helyzetbe; az így a meghibásodott jármű platóját fogja megemelni.
Állítsa a hidraulikus emelő karját SEMLEGES helyzetbe, és zárja az emelőkar reteszt.
Tegye fel a platókitámasztót a kitolt munkahengerrúdra; lásd: A platókitámasztó használata.
Note: Miután mindkét gépet leállította, az emelőkart előre-hátra mozgatva engedje ki a rendszerből a nyomást, megkönnyítve egyben a gyorscsatlakozók leválasztását.
Miután befejezte a műveletet, távolítsa el az összekötő tömlőket, és kösse vissza mindkét járműnél a hidraulikus tömlőket.
Important: Ellenőrizze a hidraulikafolyadék szintjét mindkét járműnél, mielőtt újra használni kezdené azokat.
Mossa le a gépet szükség szerint csak vízzel vagy enyhe mosószerrel is. A gép lemosásához rongyot is használhat.
Important: A gép tisztítására ne használjon sós vizet (brakkvíz), se tisztított szennyvizet.
Important: Ne használjon nagynyomású mosót a gépen. A nagynyomású mosó károsíthatja az elektromos rendszert, lelazíthat fontos címkéket, vagy kimoshatja a fontos zsírt a súrlódó pontokból. Kerülje a bő víz használatát, különösen a vezérlőpanel, a motor és az akkumulátor környékén.
Important: Ne járó motorral mossa a gépet. A gép lemosása járó motor mellett belső motorkárosodást okozhat.
Állítsa le a gépet, vegye ki az indítókulcsot, és várja meg, amíg az összes mozgó alkatrész leáll, csak ezután hagyja el a kezelőülést. Hagyja lehűlni a gépet, mielőtt beállítási, szervizelési, tisztítási vagy tárolási munkába kezd rajta.
Ne tárolja a gépet vagy az üzemanyagtartályt olyan helyen, ahol nyílt láng, szikra vagy őrláng fordul elő, mint például vízmelegítőkön vagy más eszközökön.
| Karbantartási időköz | Karbantartási intézkedés |
|---|---|
| Az első 50 óra után |
|
| Minden 200 órában |
|
| Minden 400 órában |
|
| Minden 600 órában |
|
Parkolja le a gépet sík talajon, húzza be a rögzítőféket, állítsa le a motort, és vegye ki az indítókulcsot.
Tisztítsa le a szennyeződéseket és lerakódásokat az egész gépből, beleértve a hengerfej hűtőbordáit és a ventilátorház külső részét is.
Ellenőrizze a fékeket; lásd: A fékfolyadék szintjének ellenőrzése.
Végezze el a légszűrő szervizelését; lásd: A légszűrő szervizelése.
Tömítse el a légszűrő bemenetét és a kipufogónyílást vízálló maszkolószalaggal.
Zsírozza meg a gépet; lásd: A csapágyak és perselyek zsírzása.
Cserélje le a motorolajat és az olajszűrőt; lásd: A motorolaj és az olajszűrő cseréje.
Öblítse át az üzemanyagtartályt friss, tiszta gázolajjal.
Biztosítsa az üzemanyagrendszer összes szerelvényét.
Ellenőrizze a gumiabroncsok nyomását; lásd: A gumiabroncsok nyomásának ellenőrzése.
Ellenőrizze a hűtőfolyadék fagyáspontját, szükség esetén töltsön be víz és fagyálló 50/50 arányú keverékét a régióban várható legalacsonyabb hőmérsékletnek megfelelően.
Szerelje ki az akkumulátort az alvázból, ellenőrizze az elektrolitszintjét, és töltse fel teljesen; lásd Az akkumulátor szervizelése.
Note: Ne kösse vissza az akkumulátor kábeleit az akkumulátorpólusokra a tárolás során.
Important: Az akkumulátornak teljesen feltöltött állapotban kell lennie, hogy ne fagyjon meg és menjen tönkre 0 °C alatt. A teljesen feltöltött akkumulátor kb. 50 napig megtartja a töltöttségét 4 °C alatti hőmérsékleteken. Ha a hőmérséklet 4 °C fölött marad, ellenőrizze az elektrolitszintet az akkumulátorban, és töltse fel az akkumulátort 30 naponként.
Ellenőrizzen és húzzon meg minden csavart és anyát. Javítsa meg vagy cserélje le a károsodott alkatrészeket.
Fesse be az összes karcos vagy csupasz fémfelületet.
A festék a márkaszerviztől beszerezhető.
Tárolja a gépet tiszta, száraz garázsban vagy tárolóhelyiségben.
A védelme érdekében takarja le és tartsa tisztán a gépet.
| Problem | Possible Cause | Corrective Action |
|---|---|---|
| A gyorscsatlakozókat nehéz csatlakoztatni vagy leválasztani. |
|
|
| A szervokormányt nehéz elfordítani. |
|
|
| Szivárgás a hidraulikus szerelvénynél. |
|
|
| Nem működik egy munkaeszköz. |
|
|
| A motor nem indul be. |
|
|