A gyeppermetező járműhöz kiegészítőként használható kézi permetezőszár-készlet professzionális kezelők számára, kereskedelmi alkalmazáshoz készült. Elsősorban parkok, golfpályák, sportpályák és kereskedelmi területeken létesített füves területek jól karbantartott gyepének permetezésére lett tervezve.
A termékekkel és tartozékokkal kapcsolatos információkért, a márkakereskedőkre vonatkozó tájékoztatásért vagy terméke regisztrációjáért a Torót közvetlenül is el tudja érni a www.Toro.com weboldalon.
Győződjön meg arról, hogy a gépben nincs semmilyen folyadék. Ha a gépben vegyszereket használtak, alaposan öblítse át a rendszert tiszta vízzel, majd engedje le az öblítővizet; az utasításokat lásd a jármű Kezelői kézikönyvében.
Kösse le a negatív sarut az akkumulátorról.
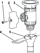
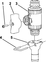
Ehhez az eljáráshoz szükséges alkatrészek:
| Tömlőhorog | 1 |
| Peremes önbiztosító anya (⅜") | 4 |
| Peremes önbiztosító anya (5/16") | 4 |
| Kapupántcsavar (⅜ × ¾") | 4 |
| Kapupántcsavar (5/16 × 1") | 4 |
| R-bilincs | 2 |
| Szórófejtartó | 1 |
Ehhez az eljáráshoz szükséges alkatrészek:
| Belső menetes kupak | 2 |
| Elzárószelep | 2 |
Távolítsa el azt a rögzítőelemet, amely a működtetőelemet a keverőszelephez vagy a szakaszszelephez tartozó elosztószelephez rögzíti.
Note: Nyomja össze a rögzítőelem 2 lábát, és közben nyomja őket lefelé.
Note: Tartsa meg a működtetőelemet és a rögzítőelemet.

Távolítsa el a működtetőt az elosztószelepről.
Távolítsa el a megkerülést beállító egységet tartó rögzítőelemeket, a zárókupakot, valamint a szerelvény és tömlő egységet a Ábra 4 szerint.
Note: A zárókupakot nem fogja használni, de a kupakon lévő O gyűrűt őrizze meg.

Forgassa el a megkerülést beállító egységet 180 fokkal a Ábra 5 szerint.

Szerelje fel a megkerülést beállító szerelvényt, a belső menetes kupakot, az O gyűrűket, az elzárószelepet, valamint a szerelvény és tömlő egységet a korábban eltávolított rögzítőelemekkel az Ábra 6 szerint.

Távolítsa el a csőelosztó végén lévő zárókupakot, és cserélje ki belső menetes kupakra. Rögzítse a sapkát a rögzítőelemmel.

Távolítsa el a tömlőt a csőelosztó végéhez rögzítő rögzítőelemet.

Szerelje fel az elzárószelepet a tömlőre és a gépre. Rögzítse a rögzítőelemekkel.

Ehhez az eljáráshoz szükséges alkatrészek:
| Tekintse meg az alkatrész táblázatot | 0 |
| Alkatrész | 5800 | 1750 | Workman | |||||
|---|---|---|---|---|---|---|---|---|
| Mennyiség | 2023 és előtte | 2024 és utána, GeoLink nélkül | 2024 és utána, GeoLink rendszerrel | 2023 és előtte | 2024 és utána, GeoLink nélkül | 2024 és utána, GeoLink rendszerrel | 2023 és előtte | 2024 és utána |
| Szabályozószelep | 1 | 1 | 1 | 1 | 1 | |||
| Szabályozószelep (karimás zárókupakkal) | 1 | 1 | 1 | |||||
| Szabályozószelep szárnyas fogantyú | 1 | 1 | 1 | 1 | 1 | 1 | 1 | 1 |
| Egyenes szerelvény | 1 | 1 | 1 | 1 | 1 | 1 | 1 | 1 |
| Szeleptartó | 1 | 1 | 1 | 2 | 2 | 2 | ||
| Szabályozószelep tartó (2023) | 1 | |||||||
| Szabályozószelep tartó (furattal) | 1 | 1 | ||||||
| Szabályozószelep tartó (furat nélkül) | 1 | 1 | 1 | |||||
| Elzárószelep | 1 | 1 | 2 | 1 | 1 | |||
| 90°-os könyökszerelvény | 1 | 1 | ||||||
| T szerelvény | 1 | |||||||
| T idom | 1 | 1 | 1 | 1 | ||||
| Tömítés bilincs | 1 | 1 | 1 | |||||
| Csavar (M6 × 12 mm) | 4 | 8 | 4 | 8 | 8 | 8 | ||
| Kapupántcsavar (¼-20 × ⅝") | 2 | 2 | ||||||
| Hatlapfejű csavar (¼-20 × ⅝") | 4 | 2 | 2 | |||||
| Önbiztosító anya (¼") | 4 | 2 | 2 | 2 | 2 | |||
Szerelje fel a zöld szárnyas fogantyút és az egyenes szerelvényt a szabályozószelepre.

Távolítsa el a peremes bilincset, amely a zárókupakot és a csatlakozót rögzíti a nyomásmérő nyílásnál.

Távolítsa el a csatlakozót a zárókupakról.
Szerelje be a szabályozószelep-egységet.
Szerelje be a csatlakozót a 90 fokos szerelvény nyitott nyílásába.
Note: A Multi Pro 1750 és Multi Pro WM 90°-os szerelvényének oldalsó nyílása a csatlakozó elülső oldalán található (nem látható).
Csatlakoztassa a tömlőtekercs táptömlőjét a szabályozószelephez tömlőbilincs segítségével.
Húzza ki a nyomásátalakító 3 aljzatos csatlakozóját.

Távolítsa el a peremes bilincset, amely a nyomásátalakítót a 90°-os szerelvényhez rögzíti, majd távolítsa el a nyomásátalakítót, a tömítést és a peremes bilincset.

Távolítsa el a peremes bilincset, amely a 90°-os szerelvényt az érzékelőcső-csatlakozóval rendelkező 90°-os szerelvényhez rögzíti, majd távolítsa el a 90°-os szerelvény, a tömítést és a peremes bilincset.
Szerelje fel a szeleptartót a szabályozószelepre a Ábra 14 A része szerint.

Rögzítse a szeleptartót a szabályozószelephez a peremes fejű csavarral (#6), és kézzel húzza meg a csavart (Ábra 14 B).
Szerelje fel a szeleptartót a 4 csavarral (6 x 12 mm) és 4 lapos alátéttel a szabályozószelep konzolhoz; húzza meg a csavarokat 10–12 Nm nyomatékkal.

Igazítsa a T szerelvény karimáját a szabályozószelep karimájához.

Rögzítse a T szerelvényt a szabályozószelephez a tömítéssel és a peremes bilinccsel, de még ne húzza meg a kötőelemeket.
Igazítsa a nyomásátalakító karimáját a T szerelvény karimájához.

Szerelje a nyomásátalakítót a T szerelvényhez a tömítéssel és peremes bilinccsel, és húzza meg kézzel a bilincset (Ábra 17).
Igazítsa a T szerelvény karimáját az érzékelőcső-csatlakozóval ellátott 90°-os szerelvény karimájához.

Szerelje össze a T szerelvényt és a 90°-os szerelvényt a tömítéssel és a peremes bilinccsel, de még ne húzza meg a kötőelemeket.
Note: Forgassa el a szabályozószelep konzolt, ha szükséges, hogy a szeleptartó felületével egy szintbe kerüljön.
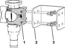
A szabályozószelep konzolt sablonként használva jelölje be a konzol furatainak a helyét a csőelosztó tartó felületén.

Távolítsa el a bilincset, a tömítést és a karimás T szerelvényt az érzékelőcső-csatlakozóval ellátott 90°-os szerelvényről.
Pontozza be a jelöléseket a csőelosztó tartón, amiket a 3. lépésnél elhelyezett.
Készítsen 4 db 6 mm-es furatot a csőelosztó tartóba az 5 lépésben bepontozott helyeken.

Igazítsa a T szerelvény karimáját az érzékelőcső-csatlakozóval ellátott 90°-os szerelvény karimájához.

Szerelje össze a T szerelvényt és a 90°-os szerelvényt a tömítéssel és a peremes bilinccsel, de még ne húzza meg a kötőelemeket.
Szerelje a szabályozószelep konzolt a csőelosztó tartóhoz 4 hatlapfejű csavar (¼ × ⅝") és 4 peremes önbiztosító anya (6 mm) segítségével; húzza meg a csavarokat 10–12 Nm nyomatékkal.
Húzza meg kézzel a szabályozószelepet és a T szerelvényt rögzítő peremes bilincset, valamint a T szerelvényt az érzékelőcső-csatlakozóval ellátott 90°-os szerelvényhez rögzítő peremes bilincset.
Csatlakoztassa a nyomásátalakító 3 aljzatos csatlakozóját.

Rögzítse a szabályozószelep-egységet a konzolhoz 4 csavarral (M6)

Távolítsa el a kötőelemeket a Ábra 26 alapján.

Rögzítse a konzolt a géphez a meglévő kötőelemek segítségével.

Rögzítse a konzol tetejét 4 csavarral (M6).

Szerelje fel a csőelosztó T szerelvényét a szabályozószelepre.

Rögzítse az egységet a konzolra 4 csavarral (M6).

Szerelje fel a szeleptartót az elzárószelepre, és rögzítse a konzolhoz 4 csavarral (M6).




Ehhez az eljáráshoz szükséges alkatrészek:
| Szórófejegység | 1 |
| Egyenes bordás tömlőcsatlakozó | 1 |
| Tömlőbilincs | 2 |
| Tömlő | 1 |
Note: Használjon teflonszalagot a kúpos csőmenetes szerelvények tömítéséhez.
Rögzítse az egyenes bordás tömlőcsatlakozót a tömlőtekercs táptömlőjének szabad végéhez tömlőbilinccsel.

Rögzítse a tömlő végét a szabályozószelepen tömlőbilinccsel.

Tekerje a felesleges tömlőt a tartályon lévő kampó köré, és tegye a szórófejet a konzoljába.
Csatlakoztassa a negatív akkumulátorkábelt az akkumulátorhoz.
Végezze el a megkerülést beállító szerelvény kalibrálását; lásd a gép Kezelői kézikönyvét.
A nagynyomású folyadék a bőrön áthatolva sérülést okozhat.
Tartsa távol testét és kezét a nagy nyomás alatt álló folyadékot kibocsátó fúvókáktól.
Ne irányítsa a permetezőt emberre vagy állatra.
Mielőtt nyomás alá helyezi a folyadéktömlőket, győződjön meg arról, hogy minden tömlő és vezeték megfelelő állapotban van, és az összes csatlakozó és szerelvény szorosan illeszkedik.
Kartonlap vagy papírlap segítségével ellenőrizze, nem szivárog-e a folyadék.
Mielőtt bármilyen munkába kezd a rendszeren, szüntesse meg biztonságosan a nyomást a rendszerben.
Ha folyadék került a bőre alá, azonnal kérjen orvosi segítséget.
A forró folyadékok és vegyi anyagok égési sérüléseket vagy egyéb sérüléseket okozhatnak.
Important: Bizonyos körülmények között a motorból, a hűtőből és a kipufogódobból származó hő károsíthatja a füvet, amikor a permetezőt álló helyzetű üzemmódban használja. Az álló helyzetű üzemmódok közé tartozik a tartálykeverés, a kézi permetezés vagy a gyalog kísért szórórúd használata.
Tegye meg a következő óvintézkedéseket:
Ne végezzen álló helyzetű permetezést rendkívül meleg és/vagy száraz körülmények között, mivel ezen időszakokban a gyep nagyobb stressznek van kitéve.
Ne parkoljon a gyepre, ha álló helyzetű permetezést végez. Amikor csak lehetséges, parkoljon kocsiösvényre.
Minimalizálja azt az időtartamot, amennyit a járó gép egy adott gyepfelületen végighaladva tölt. Az idő és a hőmérséklet egyaránt befolyásolja, hogy a fű mennyire károsodhat.
A motor fordulatszámát állítsa a kívánt nyomás és áramlás eléréséhez szükséges lehető legalacsonyabbra. Ez minimalizálja a keletkező hőt és a hűtőventilátorból eredő légsebességet.
Biztosítsa, hogy a hő felfelé távozhasson el a motortérből – ehhez az álló helyzetű használat során emelje meg a motorvédő burkolatot/ülésszerelvényeket ahelyett, hogy a jármű alá erőltetné őket. Az ülésszerelvények megemelése kapcsán további tájékoztatásért lásd a Kezelői kézikönyvet.
Note: Használjon hővédő takarót a jármű alatt álló üzemben, ha további hővédelmet lát szükségesnek. A gyeppermetezőkhöz való Toro hővédő takarószett beszerzése kapcsán vegye fel a kapcsolatot a hivatalos Toro márkakereskedővel.
Állítsa le a gépet, kapcsolja ki a szórórudakat, és húzza be a rögzítőféket.
A kézi permetező használata közbeni vezetés az irányítás elvesztését okozhatja, ami sérüléshez vagy halálhoz vezethet. Ne használja a kézi permetezőt menet közben.
A gép hátuljánál győződjön meg arról, hogy a szórófej indítókarretesze reteszelt helyzetben van.
Forgassa el a szabályozószelep zöld fogantyúját 90 fokkal.
A kezelőállásban kapcsolja be a szivattyút.
Állítsa a fő szórórúd kapcsolóját BE helyzetbe.
Állítsa a motort a kívánt fordulatszámra, majd kapcsolja be a semleges fordulatszám-rögzítőt.
Important: Ne használjon 1034 kPa-nál nagyobb nyomást a kézi permetezővel.
Forgassa el a szabályozószelep zöld fogantyúját 90 fokkal.
Irányítsa a szórópisztoly fúvókáját egy olyan területre, ahol biztonságosan lehet permetezni, oldja az indítókarreteszt, és húzza addig az indítókart, amíg az összes maradék folyadék ki nem kerül a tömlőből, majd állítsa be az indítókarreteszt.
Tegye vissza a szórófejet a tartójába.
Állítsa vissza a motort alapjárati fordulatszámra.
Állítsa le a szivattyút.
Important: A napi tisztítási rutin során feltétlenül öblítse át friss, tiszta vízzel a szórófejet (lásd a permetezőgép kezelői kézikönyvét). A megfelelő tisztításának elmulasztása ronthatja a szórófej teljesítményét és megbízhatóságát.
Állítsa be a kívánt szórási nyomást a szabályozó kapcsolóval.