| Intervalo de assistência | Procedimento de manutenção |
|---|---|
| Em todas as utilizações ou diariamente |
|
Este veículo utilitário destina-se à utilização fora de estrada para transportar pessoas e materiais. Se a máquina for utilizada com qualquer outro propósito, poderá pôr em perigo o utilizador ou outras pessoas.
Leia estas informações com atenção para saber como operar e realizar a manutenção adequada do produto, além de evitar lesões e danos ao produto. A utilização correta e segura do produto é da exclusiva responsabilidade do utilizador.
Aceda a www.Toro.com para obter materiais de formação sobre segurança e operação de produtos, informações sobre acessórios, ajuda para localizar um representante ou para registar o seu produto.
Sempre que necessitar de assistência, peças genuínas Toro ou informações adicionais, entre em contacto com um Representante de assistência autorizado ou com a assistência ao cliente Toro, indicando os números de modelo e de série do produto. Figura 1 identifica a localização dos números de série e de modelo do produto. Escreva os números no espaço fornecido.
Important: Com o seu dispositivo móvel, pode ler o código QR no autocolante do número de série (se equipado) para aceder às informações de garantia, peças e outras.

Este produto cumpre todas as diretivas europeias relevantes. Para mais informações consultar a folha de Declaração de conformidade (DOC) em separado, específica do produto.
Se esta máquina estiver equipada com um dispositivo de telemática, consulte o seu distribuidor autorizado da Toro para obter as instruções para ativar este dispositivo.
CALIFÓRNIA
Proposição 65 Aviso
É do conhecimento do Estado da Califórnia que o cabo de alimentação deste produto contém chumbo, químico que pode provocar defeitos congénitos ou outros problemas reprodutivos. Lave as mãos após a utilização.
Os pólos, terminais e restantes acessórios da bateria contêm chumbo e derivados de chumbo; é do conhecimento do Estado da Califórnia que estes químicos podem provocar cancro e problemas reprodutivos. Lave as mãos após a utilização.
O símbolo de alerta de segurança (Figura 2) mostrado neste manual e na máquina identifica mensagens de segurança importantes que têm de ser seguidas para evitar acidentes.

O símbolo de alerta de segurança aparece acima de informações que o alertam para operações ou situações perigosas e é seguido da palavra DANGER (PERIGO), WARNING (AVISO), ou CAUTION (CUIDADO).
DANGER indica uma situação de risco iminente que, se não for evitada, irá resultar em morte ou ferimento grave.
WARNING indica uma situação de risco potencial que, se não for evitada, pode resultar em morte ou ferimento grave.
CAUTION indica uma situação de risco potencial que, se não for evitada, poderá resultar em ferimento leve ou moderado.
Neste manual são ainda utilizados dois termos para identificar informações importantes. Importante chama a atenção para informações mecânicas especiais e Nota enfatiza informações gerais dignas de atenção especial.
Este produto pode causar ferimentos pessoais. Respeite sempre todas as instruções de segurança, de modo a evitar ferimentos pessoais graves.
Leia e compreenda o conteúdo deste Manual do utilizador antes de ligar a máquina. Certifique-se de que todos os que utilizam este produto sabem como o utilizar e compreendem os avisos.
Esteja totalmente atento quando utilizar a máquina. Não se envolva em nenhuma atividade que dê azo a distrações, caso contrário poderão ocorrer ferimentos ou danos materiais.
Não coloque as mãos ou os pés perto de componentes em movimento da máquina.
Não opere a máquina sem que todos os resguardos e outros dispositivos protetores de segurança estejam instalados e a funcionar.
Mantenha as pessoas e as crianças pequenas afastadas da área de operação. Nunca permita que crianças utilizem a máquina.
Pare e desligue a máquina e retire a chave da ignição antes de proceder à manutenção.
O uso e manutenção impróprios desta máquina
podem resultar em ferimentos. Para reduzir o risco de lesões,
respeite estas instruções de segurança e preste
sempre atenção ao símbolo de alerta de segurança
, que indica: Cuidado, Aviso
ou Perigo — instruções de segurança pessoal.
O não cumprimento destas instruções pode resultar
em ferimentos pessoais ou mesmo em morte.
![]() |
Os autocolantes de segurança e de instruções são facilmente visíveis e situam-se próximo das zonas de potencial perigo. Substitua todos os autocolantes danificados ou em falta. |

















Peças necessárias para este passo:
| Volante | 1 |
| Parafuso | 5 |
| Mola | 2 |
| Cobertura do volante | 1 |
| Clipe de roda | 1 |
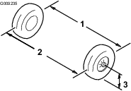
Consulte a Figura 3 para este procedimento.
Coloque o volante na coluna de direção.
Certifique-se de que o volante está centrado (ou seja, a parte inferior está paralela ao solo).
Utilize a porca de bloqueio para prender o volante ao eixo da direção.
Aperte a porca de bloqueio com 27 N·m.
Utilize 2 parafusos e 2 molas para prender o clipe de roda à cobertura do volante.
Utilize três parafusos para prender a cobertura do volante ao volante.
Aperte os 5 parafusos com 0,6 N·m.

Carregue a bateria, consulte a secção Compreensão do carregador das baterias de iões de lítio.
Verifique o nível do fluido dos travões antes de pôr a máquina em funcionamento pela primeira vez; consulte Verificação do nível de fluido dos travões.
Verifique o nível do fluido do eixo da transmissão antes de pôr a máquina em funcionamento pela primeira vez; consulte Verificação do nível de fluido do eixo-transmissão.
Verifique a pressão de ar nos pneus; consulte Verificação da pressão dos pneus.
Para assegurar uma performance otimizada do sistema de travões, acame os travões antes da utilização da máquina.
Leve o veículo a velocidade total, aplique os travões para parar rapidamente o veículo sem bloquear os pneus.
Repita este procedimento 10 vezes, aguardando um minuto entre paragens para evitar sobreaquecimento dos travões.

Note: O volante é removido da Figura 5 para mais clareza.

Utilize o pedal do acelerador para alterar a velocidade da máquina. Se pressionar o pedal, liga a máquina. Se carregar mais no pedal, a velocidade da máquina aumenta. Se libertar o pedal, diminui a velocidade da máquina e desliga a máquina.
A velocidade máxima no modo de desempenho é de 26 km/h.
A velocidade máxima no modo económico é de 18 km/h.
Utilize o pedal dos travões para parar ou diminuir a velocidade da máquina.
Operar uma máquina com travões gastos ou mal afinados pode dar origem a ferimentos pessoais.
Se o pedal do travão apresentar uma folga de até 25 mm até ao piso da máquina, deverá efetuar o ajuste ou reparação dos travões.
O seletor de direção (Figura 5) tem 2 posições: FORWARD (avançar) e REVERSE (marcha-atrás).
Note: A máquina pode estar em qualquer das duas posições, mas apenas se move nas posições FORWARD e REVERSE.
Prima o interruptor da buzina (Figura 5) para apitar.
Utilize o interruptor das luzes (Figura 5) para ligar os faróis. Empurre o interruptor das luzes para cima para acender os faróis. Empurre o interruptor das luzes para baixo para desligar os faróis.
Utilize a porta USB (Figura 5) para ligar dispositivos móveis.
Important: Quando não estiver a usar a porta USB, insira a tomada de borracha para prevenir danos na porta.
Utilize a ignição (Figura 5) para ligar e desligar a máquina, ou colocar a máquina no modo TRANSPORT.
A ignição tem 3 posições: ON (ligar), OFF (desligar) e TRANSPORT (transporte).
Rode a chave para a direita para a posição ON (ligar) para utilizar a máquina.
Quando parar a máquina, rode a chave no sentido contrário ao dos ponteiros do relógio para a posição OFF (desligar) para parar a máquina. Retire a chave sempre que sair da máquina.
Para desengatar o travão de estacionamento, rode e segure a ignição durante 5 segundos para entrar na posição TRANSPORT (transporte).
O ecrã mostra informações sobre a sua máquina, como o estado de funcionamento, vários diagnósticos e outras informações (Figura 6).

Existe um ecrã de inicialização, um ecrã de funcionamento e um ecrã de carregamento no ecrã principal (Figura 7,Figura 8, e Figura 9).
Figura 8 mostra o que pode ver no ecrã quando opera a máquina. O ecrã de inicialização acende durante alguns segundos quando liga a chave para a posição ON e, em seguida, surge o ecrã de funcionamento.



O ecrã de funcionamento com a posição de direção (Figura 10) aparece quando muda de direção.

O ecrã de funcionamento com a velocidade atual da máquina (Figura 11) aparece quando conduz a máquina.

Um código de avaria ativo (Figura 12) aparece no ecrã se a máquina apresentar um problema.

Quando o indicador de bateria fria (Figura 13) piscar no ecrã de funcionamento durante a operação, o desempenho da máquina muda até a temperatura da bateria estar acima de 0°C.

O indicador de bateria fria também aparece no ecrã de carregamento (Figura 14) quando as baterias estão demasiado frias para serem carregadas.

![]() | Direção – FORWARD (avançar) |
![]() | Transporte – NEUTRAL (ponto-morto) |
![]() | Direção – REVERSE (marcha-atrás) |
![]() | O travão de estacionamento está engatado. |
![]() | Contador de horas |
![]() | Tensão da bateria |
![]() | Nível de carga da bateria |
![]() |
Indicador de bateria em carregamento |
![]() |
Notificação de bateria fraca |
![]() | O modo económico está ligado. |
![]() | Avaria ativa |
![]() | Indicador de bateria quente — a temperatura da bateria é superior a 67°C |
![]() | Indicador de bateria fria — a temperatura da bateria é inferior a 0°C |
![]() | As baterias estão demasiado frias para serem carregadas. |
O interruptor de supervisão da velocidade (Figura 15), que se encontra debaixo do capot, tem duas posições: DESEMPENHO e ECONóMICO. Rode o interruptor no sentido dos ponteiros do relógio para a posição ECONóMICO para limitar a velocidade máxima da máquina para 18 km/h. Rode o interruptor no sentido contrário ao dos ponteiros do relógio para a posição DESEMPENHO para repor o limite de velocidade máxima da máquina para 26 km/h.

As pegas do passageiro encontram-se à direita no painel de instrumentos e no exterior de cada banco (Figura 16).

Note: As especificações e o desenho do produto estão sujeitos a alterações sem aviso prévio.
| Peso base | Seco 571 kg |
| Capacidade nominal total (numa superfície nivelada) | 767 kg, incluindo 90,7 kg do condutor e 90,7 kg do passageiro, carga, peso do garfo, peso bruto do atrelado, acessórios e engates |
| Peso bruto do veículo (GVW) – numa superfície nivelada | 1.338 kg no total, incluindo todos os pesos referidos anteriormente |
| Capacidade máxima de carga (numa superfície plana) | 567 kg, incluindo o peso do garfo e o peso bruto do atrelado |
| Capacidade de reboque: | |
| Engate padronizado | Peso do garfo: 45 kg |
| Peso bruto do atrelado (GTW): 363 kg | |
| Engate para atrelados pesados | Peso do garfo: 45 kg |
| Peso bruto do atrelado (GTW): 544 kg | |
| Largura total | 155 cm |
| Comprimento total | 307 cm |
| Altura em relação ao solo | 28 cm à frente, sem carga nem operador; 17 cm atrás, sem carga nem operador |
| Distância entre eixos | 206 cm |
| Piso da roda (centro a centro) | 125 cm à frente; 120 cm à retaguarda |
| Comprimento da plataforma de carga | 113 cm, 137 cm exterior |
| Largura da plataforma de carga | 125 cm interior, 155 cm no exterior dos guarda-lamas moldados |
| Altura da plataforma de carga | 25 cm interior |
Está disponível uma seleção de engates e acessórios aprovados pela Toro para utilização com a máquina, para melhorar e expandir as suas capacidades. Contacte o seu representante ou distribuidor de assistência autorizado ou vá a www.Toro.com para obter uma lista de todos os engates e acessórios aprovados.
Para garantir o máximo desempenho e segurança contínua certificada da máquina, adquira sempre peças sobressalentes e acessórios genuínos da Toro. A utilização de peças sobressalentes e acessórios produzidos por outros fabricantes pode ser perigosa e pode utilizar um espaço vazio na garantia do produto.
Nunca permita que crianças ou pessoas que não tenham formação ou que não estejam fisicamente capazes que operem ou prestem manutenção à máquina. Os regulamentos locais podem determinar restrições relativamente à idade do utilizador. A formação de todos os operadores e mecânicos é da responsabilidade do proprietário.
Familiarize-se com o funcionamento seguro do equipamento, com os controlos do utilizador e com os sinais de segurança.
Desligue a máquina, retire a chave e aguarde até que todo o movimento pare, antes de sair da posição de operação. Deixe a máquina arrefecer antes de ajustar, fazer manutenção, limpar ou armazenar.
Saiba como parar e desligar a máquina rapidamente.
Certifique-se de que não existem mais ocupantes (você e o seu passageiro) do que o número de pegas equipadas na máquina.
Verifique se todos os dispositivos de segurança e autocolantes estão no devido lugar. Repare ou substitua todos os dispositivos de segurança e substitua todos os autocolantes ilegíveis ou em falta. Não utilize a máquina se estes componentes não estiverem presentes e a funcionar corretamente.
| Intervalo de assistência | Procedimento de manutenção |
|---|---|
| Em todas as utilizações ou diariamente |
|
Antes de ligar a máquina diariamente, efetue os procedimentos A cada utilização/diariamente indicados em
| Intervalo de assistência | Procedimento de manutenção |
|---|---|
| Em todas as utilizações ou diariamente |
|
Especificação da pressão de ar dos pneus: 0,55 a 1,03 bar
Important: Não exceda a pressão máxima de ar indicada na lateral do pneu.
Note: A pressão de ar necessária nos pneus é determinada pelo total de carga que tenciona transportar.
Verifique a pressão de ar dos pneus.
Note: A pressão de ar correta nos pneus dianteiros e traseiros é 0,55 a 1,03 bar.
Utilize baixa pressão nos pneus para cargas mais leves, menos compactação do solo, uma condução mais suave e para minimizar as marcas dos pneus no solo.
Utilize elevada pressão nos pneus para transportar cargas mais pesadas a velocidades mais elevadas.
Se necessário, ajuste a pressão de ar nos pneus adicionando ou removendo ar.

| Intervalo de assistência | Procedimento de manutenção |
|---|---|
| Após as pimeiras 100 horas |
|
Siga as orientações na rodagem de uma nova máquina para obter um desempenho adequado e prolongar a vida útil da máquina.
Certifique-se de que os travões estão polidos; consulte a secção de polimento nas Configurações.
Verifique o nível do fluido dos travões; consulte a secção Verificação do nível de fluido dos travões.
Consulte para obtenção de informações detalhadas acerca das verificações programadas.
Verifique o posicionamento das suspensões dianteira e traseira, e ajuste se necessário; consulte a secção Ajuste do alinhamento da roda da frente.
Para um desempenho e vida da bateria otimizados, carregue as baterias até 100% quando receber a máquina.
O proprietário/utilizador pode evitar e é responsável por acidentes que possam causar ferimentos a pessoas ou danos a propriedades.
Os passageiros devem sentar-se apenas nas posições do banco designadas. Não transporte passageiros na plataforma de carga. Mantenha pessoas e animais domésticos longe da máquina durante o funcionamento.
Utilize vestuário adequado, incluindo proteção ocular, calças compridas, proteção auditiva e calçado resistente antiderrapante. Prenda cabelo comprido e não utilize vestuário solto ou joias pendentes.
Esteja totalmente atento quando utilizar a máquina. Não se envolva em nenhuma atividade que dê azo a distrações, caso contrário poderão ocorrer ferimentos ou danos materiais.
Não utilize a máquina quando estiver doente, cansado ou se encontrar sob o efeito de álcool ou drogas.
Não exceda o peso máximo bruto do veículo para a máquina.
Tenha muito cuidado quando operar, travar ou virar a máquina com uma carga pesada na plataforma de carga.
Transportar cargas de maior dimensão na plataforma de carga reduz a estabilidade da máquina. Não exceda a capacidade de transporte da plataforma.
Transportar material que não pode ser preso à máquina afeta de forma adversa a viragem, a travagem e a estabilidade da máquina. Quando transportar material que não possa ser preso à máquina, tenha cuidado ao virar ou travar.
Transporte uma carga pequena e reduza a velocidade da máquina quando a utilizar num terreno acidentado e irregular e perto de lancis, buracos e outras alterações bruscas no terreno. As cargas podem soltar-se e desestabilizar a máquina.
Antes de ligar a máquina, certifique-se de que o travão de estacionamento está engatado e que está na posição de operação.
O operador e os passageiros devem permanecer sentados sempre que a máquina se encontrar em movimento. Mantenha as mãos no volante; os passageiros deves colocar as mãos nas pegas montadas para esse efeito. Mantenha sempre os braços e as pernas dentro da máquina.
A utilização da máquina deve ser efetuada apenas com boa visibilidade. Esteja atento a buracos, carreiras, elevações, pedras ou outros objetos ocultos. O terreno desnivelado poderia fazer tombar a máquina. A relva alta pode ocultar obstáculos. Tome todas as precauções necessárias quando se aproximar de esquinas sem visibilidade, arbustos, árvores ou outros objetos que possam obstruir o seu campo de visão.
Não utilize a máquina perto de depressões, buracos ou bancos de areia. A máquina poderá capotar repentinamente se a roda resvalar numa depressão ou se o piso ceder.
Tome sempre muita atenção a obstáculos suspensos, por exemplo, ramos de árvores, aduelas de portas, passagens suspensas, etc.
Olhe para trás e para baixo antes de recuar, de modo a evitar acidentes.
Ao utilizar a máquina em vias públicas, siga todas as regras de tráfego e utilize acessórios adicionais que possam ser exigidos por lei, por exemplo, luzes, sinais de mudança de direção, sinal de Veículo de Marcha Lenta (VML) e outros, conforme necessário.
Se a máquina vibrar de forma anormal, pare e desligue a máquina imediatamente, aguarde até que tudo se encontre parado e verifique se existem danos. Repare todos os danos na máquina antes de retomar o funcionamento.
O tempo de paragem em superfícies molhadas pode ser superior ao tempo em superfícies secas. Para secar travões molhados, conduza devagar em superfície nivelada, carregando ligeiramente no pedal do travão.
Utilizar a máquina a uma velocidade elevada e, depois, parar rapidamente pode causar o bloqueio das rodas traseiras, o que diminui o controlo da máquina.
Não toque no motor quando o motor se encontrar em funcionamento, ou logo depois de ter desligado o motor, pois estas áreas podem estar a uma temperatura suscetível de provocar queimaduras.
Não deixe a máquina a trabalhar sem vigilância.
Antes de sair da posição de operação, faça o seguinte:
Estacione a máquina numa superfície nivelada.
Certifique-se de que o travão de estacionamento está engatado.
Desligue a máquina e retire a chave.
Aguarde que todo o movimento pare.
Nunca opere a máquina quando existir a possibilidade de trovoadas.
Utilize apenas acessórios e engates aprovados pela The Toro Company.
Note: Está disponível um sistema de proteção anticapotamento de duas colunas (ROPS) para esta máquina como acessório. Utilize um ROPS, se trabalhar próximo de depressões, água, terreno irregular ou em inclinações, o que pode originar capotamento. Contacte um distribuidor autorizado Toro para obter mais informações.
Os declives são um dos principais fatores que contribuem para a perda de controlo e acidentes de capotamento que podem resultar em ferimentos graves ou morte.
Inspecione o local para determinar em que inclinações é seguro utilizar a máquina e defina os seus próprios procedimentos e regras para trabalhar nestas inclinações. Utilize sempre o bom senso e o seu julgamento ao realizar esta inspeção.
Se não se sentir seguro ao operar a máquina num declive, não o faça.
Todos os movimentos em declives devem ser lentos e graduais. Não mude bruscamente a velocidade ou direção da máquina.
Evite a operação da máquina quando o terreno se encontrar molhado. Os pneus podem perder tração. Pode ocorrer capotamento antes de os pneus perderem tração.
Aborde a descida e a subida de declives em linha reta.
Se começar a perder potência numa inclinação, engate os travões de forma gradual e recue lentamente a máquina.
É perigoso mudar de direção numa subida ou descida. Se tiver de inverter o sentido da marcha numa inclinação, conduza devagar e com cuidado.
Cargas pesadas afetam a estabilidade do veículo numa inclinação. Transporte uma carga inferior e reduza a velocidade quando estiver numa inclinação ou quando o centro de gravidade da carga for alto. Fixe a carga na plataforma de carga da máquina para evitar que se desloque. Tenha especial cuidado ao transportar cargas que se soltam facilmente (por ex., líquidos, pedras, areia, etc.).
Evite arrancar, parar ou virar a máquina num declive, especialmente se estiver carregada. Parar numa inclinação leva mais tempo do que parar numa superfície plana. Se precisar de imobilizar a máquina, evite mudanças bruscas de velocidade que podem fazer com que a máquina tombe ou capote. Não engate os travões de repente quando estiver a andar para trás porque a máquina pode capotar.
Não ultrapasse o peso bruto da máquina quando a operar com carga na plataforma de carga, quando rebocar um atrelado ou ambos; consulte Especificações.
Distribua a carga na plataforma de carga uniformemente para melhorar a estabilidade e controlar a máquina.
Antes da descarga, certifique-se de que não está ninguém atrás da máquina.
Não descarregue uma plataforma de carga carregada a máquina de lado numa inclinação. A mudança na distribuição do peso pode provocar o capotamento da máquina.
Uma plataforma elevada pode cair e ferir pessoas que estejam a trabalhar debaixo dela.
Antes de se meter sob a plataforma, acione a barra de apoio para a fixar.
Antes de elevar a plataforma, descarregue o material que lá se encontre.
Ao circular com a plataforma de carga erguida, a máquina pode capotar ou tombar mais facilmente. Pode danificar a estrutura da plataforma de carga, se utilizar a máquina com a plataforma erguida.
Opere a máquina apenas com a plataforma de carga em baixo.
Depois de esvaziar a plataforma de carga, baixe-a.
Se uma carga estiver concentrada perto da parte traseira da plataforma de carga quando libertar os fechos, a plataforma pode abrir inesperadamente, ferindo-o a si ou às pessoas que estão perto.
Centre as cargas na plataforma de carga, se possível.
Pressione a plataforma de carga para baixo e, quando libertar os fechos, certifique-se de que ninguém está inclinado sobre a plataforma ou se encontra por trás dela.
Retire toda a carga da plataforma antes de elevar a plataforma para prestar assistência à máquina.
A plataforma pode ser pesada. Há o risco de esmagamento das mãos ou outras partes do corpo.
Afaste as mãos e outras partes do corpo quando descer a plataforma.
Certifique-se de que a plataforma de carga está para baixo e trancada.
Eleve nos locais indicados no painel traseiro da porta traseira (Figura 20).

Alinhe as flanges de bloqueio da porta traseira com as aberturas entre as flanges da porta traseira da plataforma de carga (Figura 20).
Rode a porta traseira para trás e para baixo (Figura 20).
Se descarregar material solto como areia, pedras ou aparas de madeira da plataforma de carga da máquina, algum material pode alojar-se da área das dobradiças da porta traseira. Faça o seguinte antes de fechar a porta traseira.
Com as mãos, retire tanto material quanto possível da zona das dobradiças.
Rode a porta traseira para a posição de aproximadamente 45° (Figura 21).

Com um movimento breve e oscilante, rode a porta traseira para trás e para a frente várias vezes (Figura 21).
Note: Esta ação vai ajudar a afastar o material da zona das dobradiças.
Baixe a porta traseira e verifique se ficou material na zona das dobradiças.
Repita os passos 1 a 4 até o material ser retirado da zona das dobradiças.
Rode a porta traseira para cima e para a frente até as flanges de bloqueio estarem justas ao espaço da porta na plataforma de carga (Figura 20).
Note: Eleve ou desça a porta traseira para alinhar as flanges de bloqueio na porta traseira com as aberturas verticais entre as flanges da porta traseira da plataforma de carga.
Desça a porta traseira até ficar assente na parte de trás da plataforma de carga (Figura 20).
Note: As flanges de bloqueio da porta traseira ficam completamente presas pelas flanges da porta traseira da plataforma de carga.
Consulte o ecrã para determinar o nível de carga do sistema de baterias; consulte a secção Ecrã.
Se o nível da bateria descer demasiado (ou seja, abaixo de 10%), aparece um ícone de bateria fraca no ecrã. Quando utiliza a máquina nesta percentagem de bateria, conduza a máquina para uma área de carregamento designada e carregue as baterias; consulte a secção Compreensão do carregador das baterias de iões de lítio.
Se utilizar a máquina enquanto o nível de carga da bateria está vazio, a máquina opera a uma velocidade reduzida (ou seja, 5 km/h).
Important: Quando parar numa superfície inclinada, utilize os travões de serviço para parar a máquina. O uso do acelerador para imobilizar a máquina num declive acentuado pode sobreaquecer o motor ou drenar as baterias.
Retire o pé do pedal do acelerador.
Lentamente, pressione o pedal do travão para aplicar os travões de serviço até que a máquina pare completamente. O travão de estacionamento engata quando a máquina para completamente.
Note: A distância de paragem irá depender da carga e velocidade da máquina.
Siga as seguintes diretrizes quando carregar a plataforma de carga e utilizar a máquina:
Respeite a capacidade de peso da máquina e limite o peso da carga que transporta na plataforma de carga, conforme descrito em Especificações e no autocolante do peso bruto da máquina.
Note: A capacidade de carga é específica para o funcionamento da máquina apenas numa superfície plana.
Reduza o peso da carga que transporta na plataforma de carga quando utilizar a máquina em subidas/descidas ou terreno irregular.
Reduza o peso da carga que transporta quando os materiais forem altos (e tenham um centro de gravidade elevado), como um monte de tijolos, madeira para projetos paisagistas ou sacos de fertilizante. Distribua a carga na horizontal, assegurando que a carga não reduz a visibilidade para a traseira da máquina.
Mantenha as cargas centradas carregando a plataforma de carga da seguinte forma:
Posição equilibrada do peso na plataforma de carga de um lado ao outro.
Important: Há maior probabilidade de ocorrer capotamento, se a plataforma de carga tiver carga só de um lado.
Posição equilibrada do peso na plataforma de carga de frente para trás.
Important: Perda da direção ou a máquina pode tombar, se posicionar a carga atrás do eixo traseiro e a tração nos pneus dianteiros for reduzida.
Tenha especial cuidado quando transportar cargas de grandes dimensões na plataforma de carga, particularmente quando não conseguir centrar o peso dessa carga na plataforma.
Sempre que possível, fixe a carga à plataforma de carga para não se mover.
Quando transportar líquidos, tenha cuidado quando conduzir a máquina em subidas ou descidas, quando alterar a velocidade ou parar de repente ou quando conduzir em superfícies irregulares.
A capacidade da caixa de carga é 0,37 m3. A quantidade (volume) de material que pode colocar na plataforma, sem ultrapassar os limites definidos, pode variar grandemente conforme a densidade do material carregado.
Para informações mais detalhadas acerca dos limites do volume de carga para diversos materiais, consulte o quadro seguinte.
| Material | Densidade | Capacidade máxima da caixa de carga (numa superfície plana) |
| Brita, seca | 1522 kg/m3 | Carga total |
| Brita, molhada | 1922 kg/m3 | 3/4 cheia |
| Areia, seca | 1442 kg/m3 | Carga total |
| Areia, molhada | 1922 kg/m3 | 3/4 cheia |
| Madeira | 721 kg/m3 | Carga total |
| Casca de árvore | <721 kg/m3 | Carga total |
| Terra, compactada | 1602 kg/m3 | 3/4 cheia (aproximadamente) |
Antes de sair da posição de operação, faça o seguinte:
Estacione a máquina numa superfície nivelada.
Certifique-se de que o travão de estacionamento está engatado.
Desligue a máquina e retire a chave.
Aguarde que todo o movimento pare.
Deixe a máquina arrefecer antes de a ajustar, lhe fazer a manutenção, limpar ou armazenar.
Não guarde a máquina onde existir uma fonte de fogo, faísca ou luz piloto, como junto de uma caldeira ou outros eletrodomésticos.
Mantenha todas as peças da máquina em boas condições de trabalho e as partes corretamente apertadas.
Mantenha e limpe o(s) cinto(s) de segurança, como necessário.
Substitua todos os autocolantes desgastados, danificados ou em falta.
AVISO: Risco de incêndio e choque elétrico – as baterias não têm partes que exigem manutenção por parte do utilizador.
Confirme a tensão que está disponível no seu país antes de utilizar o carregador.
Não carregue a máquina num ambiente húmido; mantenha-a protegida da chuva e da neve.
Pode haver um risco de incêndio, choque elétrico ou ferimentos da utilização de um acessório não recomendado nem vendido pela Toro.
Para reduzir o risco de explosão da bateria, siga estas instruções e as instruções de qualquer equipamento que pretenda utilizar perto do carregador.
As baterias podem emitir gases explosivos se estiverem demasiado sobrecarregadas.
Consulte um distribuidor autorizado da Toro para obter assistência ou substituir a bateria.
Nunca permita que crianças ou pessoal não qualificado utilizem ou procedam à assistência técnica do carregador. Os regulamentos locais podem determinar restrições relativamente à idade do utilizador. A formação de todos os operadores e mecânicos é da responsabilidade do proprietário.
Leia, compreenda e siga todas as instruções no carregador e no manual(is) antes de utilizar o carregador. Familiarize-se com a utilização adequada do carregador.
Mantenha as crianças, e restantes pessoas, afastadas durante o carregamento.
Desligue a máquina e aguarde até que esta desligue completamente para a começar a carregar. Caso contrário, pode causar arco.
Utilize o carregador apenas dentro dos limites de tensão indicados neste Manual do utilizador, e utilize um cabo de alimentação aprovado pela Toro.
Entre em contacto com o seu distribuidor autorizado da Toro para obter um carregador e um cabo de alimentação adequados.
Não carregue uma bateria congelada.
Não esforce o cabo. Não puxe o cabo de alimentação para desligar o carregador do recetáculo. Armazene o cabo afastado de calor, óleo e extremidades afiadas.
Ligue o carregador diretamente a uma tomada com ligação à terra. Não utilize o carregador numa tomada sem ligação à terra, mesmo utilizando um adaptador.
Não altere o cabo de alimentação ou tomada fornecidos.
Remova itens de metal, como anéis, pulseiras, colares e relógios, quando trabalhar com uma bateria de iões de lítio. Uma bateria de iões de lítio pode produzir corrente suficiente para causar uma queimadura grave.
Utilize um cabo de extensão que suporte a amperagem de carregamento indicada neste Manual do utilizador. Se efetuar o carregamento ao ar livre, utilize um cabo de extensão certificada para tal.
Se o cabo de alimentação estiver danificado enquanto estiver ligado, desligue o cabo do recetáculo da parede e contacte um distribuidor autorizado da Toro para substituição.
Desligue o carregador da tomada elétrica quando não estiver a ser utilizado, antes de o mover para outro local ou antes de lhe prestar assistência.
Não desmonte o carregador.
Leve o carregador a um distribuidor autorizado da Toro quando for necessária assistência ou reparação.
Desligue o cabo da tomada antes de iniciar qualquer manutenção ou limpeza para reduzir o risco de choque elétrico.
Mantenha ou substitua os autocolantes de instruções e de segurança sempre que necessário.
Não opere o carregador com um cabo ou tomada danificados. Entre em contacto com um distribuidor autorizado da Toro para obter um cabo de substituição.
Se o carregador estiver danificado, não o utilize; leve-o até a um distribuidor autorizado da Toro.
Tome todas as precauções necessárias quando colocar ou retirar a máquina de um atrelado ou camião.
Utilize rampas de largura total para carregar a máquina num atrelado ou camião.
Prenda bem a máquina.
Consulte Figura 22 e Figura 23 para localizar os pontos de fixação da máquina.
Note: Carregue a máquina no atrelado com a parte da frente da máquina virada para a frente. Se isso não for possível, prenda o capot da máquina ao chassis com uma cinta, ou retire o capot e transporte-o e prenda-o em separado, pois o capot pode ser projetado durante o transporte.


Em caso de emergência, é possível rebocar a máquina numa curta distância; no entanto, este não deve ser um procedimento de funcionamento padrão.
Rebocar o veículo em excesso de velocidade, pode levar à perda de direção e provocar acidentes pessoais.
Não ultrapasse os 8 km/h durante o reboque.
O reboque da máquina é tarefa para duas pessoas. Se for necessário deslocar a máquina uma distância considerável, deverá utilizar uma carrinha ou um atrelado.
Ate um cabo de reboque ao garfo, na parte dianteira do chassis da máquina.
Para desengatar o travão de estacionamento, rode e segure a ignição durante 5 segundos para entrar na posição TRANSPORT.
Note: O símbolo “N” (a posição NEUTRAL) deve aparecer no ecrã.
A máquina tem capacidade para rebocar atrelados. Está disponível um engate de reboque para a máquina. Contate o representante de assistência autorizado para obter mais pormenores.
Para transportar carga ou rebocar um atrelado, não sobrecarregue a máquina nem o atrelado. A sobrecarga da máquina ou do atrelado poderá diminuir o desempenho ou danificar os travões, o conjunto eixo-transmissão, a direção, a suspensão, o chassis ou os pneus.
Carregue sempre o atrelado com 60% da capacidade de carga na zona dianteira. Desta forma, cerca de 10% do peso bruto do atrelado fica sobre o engate de reboque da máquina.
Para uma travagem e tração adequadas durante o reboque, carregue sempre a plataforma de carga. Não exceda os limites do PBA nem do PMA.
Não estacione a máquina com um atrelado em subidas ou descidas. Se não houver alternativa, bloqueie as rodas do atrelado.
O Departamento de Transportes dos EUA e as autoridades de transporte internacional exigem que as baterias de iões de lítio sejam transportadas utilizando embalagens especiais e que sejam transportadas apenas por transportadores certificados. Nos EUA, pode transportar a bateria quando está instalada na máquina como equipamento movido a bateria, com poucos requisitos reguladores. Contacte o Departamento de Transportes dos EUA ou a agência governamental adequada no seu país para obter os regulamentos detalhados sobre transporte das baterias ou da máquina equipada com as baterias.
Para informações detalhadas sobre como enviar uma bateria, entre em contacte com o seu distribuidor autorizado da Toro.
O contacto com água durante o carregamento da máquina pode causar choque elétrico, causando ferimentos ou morte.
Não manuseie a ficha nem o carregador com as mãos molhadas nem quando estiver dentro de água.
Não carregue as baterias à chuva ou em condições húmidas.
Para reduzir o risco de choque elétrico, este carregador tem uma ficha de três pinos com ligação à terra (tipo B). Se a ficha não encaixar no recetáculo da parede, estão disponíveis outros tipos de fichas com ligação à terra; contacte um distribuidor autorizado da Toro.
Não altere o carregador nem a ficha do cabo de alimentação de forma alguma.
Important: Verifique periodicamente o cabo de alimentação para verificar se há furos ou rachas no isolamento. Não utilize um cabo danificado. Não passe o cabo sobre água ou relva molhada.
Ver a Figura 24 para consultar os requisitos de fonte de energia.

Ligue um cabo de alimentação na tomada de carregamento da máquina (Figura 25).
Um cabo danificado do carregador pode causar choque elétrico ou um incêndio.
Inspecione cuidadosamente o cabo de alimentação antes de utilizar o carregador. Se o cabo estiver danificado, não opere o carregador até obter uma substituição.

Insira a ficha da extremidade do cabo de alimentação da parede numa tomada elétrica com ligação à terra.
Tentar carregar as baterias com um carregador que não seja fornecido pela Toro pode resultar em aquecimento excessivo e outras falhas de produto relacionadas, que podem causar danos de propriedade e/ou ferimentos.
Utilize os carregadores fornecidos pela Toro para carregar as baterias.
Intervalo de temperatura recomendado para carregamento: 0° a 45°C.
Important: Carregue as baterias apenas em temperaturas que respeitam o intervalo recomendado.
Note: O carregador não funcionará em temperaturas que excedem as temperaturas mínimas ou máximas. Os indicadores de bateria quente e fria aparecerão no ecrã.
O estado de carregamento é mostrado no ecrã.
Se existir uma avaria, aparecerá uma mensagem de erro no ecrã. Para corrigir um erro, consulte o Manual de manutenção da máquina.
Remova o cabo de alimentação da tomada de carregamento da máquina.
Coloque o cabo numa posição de armazenamento que evite danos.
Ligue a máquina.
Verifique o nível de óleo; consulte a secção Ecrã.
Não permita que pessoas sem formação realizem a manutenção da máquina.
Antes de sair da posição de operação, faça o seguinte:
Estacione a máquina numa superfície nivelada.
Certifique-se de que o travão de estacionamento está engatado.
Desligue a máquina e retire a chave.
Aguarde que todo o movimento pare.
Deixe a máquina arrefecer antes de a ajustar, lhe fazer a manutenção, limpar ou armazenar.
Apoie a máquina com preguiças sempre que trabalhar debaixo da máquina.
Não trabalhe debaixo de uma plataforma elevada sem o devido suporte de segurança da plataforma instalado.
Não carregue as baterias enquanto estiver a fazer a manutenção da máquina.
Para garantir que toda a máquina se encontra em boas condições de funcionamento, mantenha todas as ferragens devidamente apertadas.
Para reduzir o risco potencial de fogo, mantenha a zona da máquina livre de massa excessiva, folhas e sujidade.
Se possível, não faça manutenção com a máquina em funcionamento. Mantenha-se longe das peças móveis.
Se for necessário colocar a máquina em funcionamento para executar qualquer ajuste, deverá manter as mãos, pés, roupa e outras partes do corpo longe de quaisquer peças em movimento. Mantenha as pessoas afastadas da máquina.
Verifique o funcionamento do travão de estacionamento, como recomendado no programa de manutenção e ajuste e faça a manutenção como necessário.
Mantenha todas as peças da máquina em boas condições de trabalho e as ferragens corretamente apertadas. Substitua todos os autocolantes gastos ou danificados.
Nunca interfira na função original de um dispositivo de segurança nem reduza a proteção fornecida por um dispositivo de segurança.
Se for necessário efetuar reparações de vulto ou se alguma vez necessitar de assistência, contacte um distribuidor autorizado Toro.
Qualquer alteração na máquina pode afetar a operação da máquina, o desempenho, a durabilidade, ou a sua utilização pode provocar lesões ou a morte. Tais alterações podem invalidar a garantia de produto prestada pela The Toro® Company.
| Intervalo de assistência | Procedimento de manutenção |
|---|---|
| Após as pimeiras 100 horas |
|
| Em todas as utilizações ou diariamente |
|
| A cada 100 horas |
|
| A cada 200 horas |
|
| A cada 300 horas |
|
| A cada 400 horas |
|
| A cada 800 horas |
|
| A cada 1000 horas |
|
Note: Descarregue uma cópia gratuita dos esquemas elétricos visitando www.Toro.com e procurando a sua máquina a partir da hiperligação de manuais na página inicial.
Não efetuar a manutenção adequada da máquina pode resultar em falha prematura dos sistemas da máquina, podendo feri-lo a si ou as outras pessoas.
Mantenha uma boa manutenção e um bom estado de funcionamento da máquina, conforme indicado nestas instruções.
Apenas pessoal qualificado e autorizado deverá efetuar a manutenção, reparação, ajuste ou inspeção da máquina.
Evite os riscos de incêndio e mantenha disponível equipamento de combate a incêndios. Não utilize uma chama para verificar os níveos dos fluidos.
Não utilize recipientes abertos de líquidos de limpeza inflamáveis para limpar as peças.
Se deixar a chave na ignição, alguém pode ligar acidentalmente a máquina e feri-lo a si ou às pessoas que se encontrarem próximo da máquina.
Desligue a máquina e retire a chave da ignição antes de realizar qualquer manutenção.
Copie esta página para uma utilização de rotina.
| Verificações de manutenção | Para a semana de: | ||||||
|---|---|---|---|---|---|---|---|
| Segunda-feira | Terça-feira | Quarta-feira | Quinta-feira | Sexta-feira | Sábado | Domingo | |
| Verifique o funcionamento dos travões (pedal dos travões e travão de estacionamento). | |||||||
| Verifique o funcionamento do seletor de direção. | |||||||
| Verifique o nível de fluido dos travões. | |||||||
| Verifique todos os ruídos estranhos de funcionamento. | |||||||
| Verifique a pressão dos pneus. | |||||||
| Verifique se há fuga de fluidos. | |||||||
| Verifique o funcionamento do painel de instrumentos. | |||||||
| Verifique o funcionamento do acelerador. | |||||||
| Retoque a pintura danificada. | |||||||
| Lave a máquina. | |||||||
| Retoque a pintura danificada. | |||||||
Important: Se a máquina estiver sujeita a qualquer uma das condições que a seguir se enumeram, proceda à sua manutenção com o dobro da regularidade:
Funcionamento no deserto
Utilização em clima frio abaixo de 10°C
Reboque do atrelado
Utilização frequente em locais com muita poeira
Estaleiros
Após uma operação alargada em lama, areia, água ou condições de sujidade semelhantes, faça o seguinte:
Proceda à rápida inspeção e limpeza dos travões. Isto evita o desgaste excessivo causado por substâncias abrasivas.
Lave a máquina utilizando apenas água ou com um detergente suave.
Important: Não utilize água salobra ou recuperada para limpar a máquina.
Estacione a máquina numa superfície nivelada.
Certifique-se de que o travão de estacionamento está engatado.
Desligue a máquina e retire a chave.
A máquina poderá perder a estabilidade quando se coloca o macaco. A máquina pode soltar-se do macaco, ferindo quem se encontrar por baixo.
Não ligue a máquina quando esta se encontrar sobre um macaco.
Retire sempre a chave da ignição antes de sair da máquina.
Bloqueie os pneus quando a máquina estiver suportada por equipamento de elevação.
Utilize macacos para apoiar a máquina assim que a tiver elevado.
Important: Sempre que for necessário ligar o motor para efetuar operações de manutenção programada e/ou diagnósticos do motor, as rodas traseiras da máquina deverão encontrar-se a uma distância de 25 mm do solo e o eixo traseiro deverá estar apoiado em suportes adequados.
O ponto de elevação dianteiro da máquina encontra-se na zona dianteira do chassis, por trás do garfo de reboque (Figura 26).

O ponto de elevação traseiro encontra-se por baixo das bainhas do diferencial (Figura 27).

| Intervalo de assistência | Procedimento de manutenção |
|---|---|
| A cada 300 horas |
|
Lubrificante: Mobilgrease XHP™-222
Eleve a dianteira máquina e suporte-a com macacos.
Retire as 4 porcas de rodas que prendem a roda ao cubo (Figura 29).

Retire os parafusos de cabeça flangeada (⅜ x ¾ pol.) que prendem o suporte para o conjunto dos travões ao eixo e afaste o travão do eixo (Figura 30).
Note: Sustente o conjunto dos travões antes de proceder ao passo seguinte.

Retire o tampão antipoeira do cubo (Figura 31).

Retire o contrapino e o retentor da porca do eixo e porca do eixo (Figura 31).
Retire a porca do eixo do eixo e afaste o conjunto do cubo e o rotor do eixo (Figura 31 e Figura 32).

Limpe o eixo com um pano.
Repita os passos de 1 a 7 para o cubo e o rotor do outro lado da máquina.
Retire o rolamento exterior e a correia do rolamento do cubo (Figura 33).

Retire o rolamento interior do cubo (Figura 33).
Limpe o vedante e verifique se está gasto ou danificado.
Note: Não utilize solvente de limpeza para limpar o vedante. Substitua o vedante, se estiver gasto ou danificado.
Limpe os rolamentos e as correias e verifique se estas peças estão gastas ou danificadas.
Note: Substitua todas as peças gastas ou danificadas. Certifique-se de que os rolamentos e as correias estão limpos e secos.
Limpe a cavidade do cubo de lubrificante, sujidade e detritos (Figura 33).
Envolva os rolamentos com o lubrificante especificado.
Encha a cavidade do cubo 50 a 80% com o lubrificante especificado (Figura 33).
Monte o rolamento interior na correia no lado interior do cubo e coloque o vedante (Figura 33).
Repita os passos 1 a 8 para os rolamentos do outro cubo.
Aplique uma leve camada do lubrificante especificado no eixo (Figura 34).

Monte o cubo e o rotor no eixo com o rotor interior (Figura 34).
Monte o rolamento exterior no eixo e coloque o rolamento na correia exterior (Figura 34).
Monte a anilha com patilha no eixo (Figura 34).
Enrosque a porca do eixo no eixo e aperte a porca com 15 N·m, enquanto roda o cubo para assentar o rolamento (Figura 34).
Desaperte a porca do eixo até o cubo rodar livremente.
Aperte a porca do eixo com uma força de 1,7 a 2,26 N·m.
Instale o retentor por cima da porca e verifique o alinhamento da ranhura no retentor e o orifício no eixo para o contrapino (Figura 35).
Note: Se a ranhura no retentor e o orifício no eixo não estiverem alinhados, aperte a porca do eixo para alinhar a ranhura e o orifício com um aperto máximo de 2,26 N∙m na porca.

Coloque o contrapino e dobre as pernas em torno do retentor (Figura 35).
Coloque o tampão antipoeira no cubo (Figura 35).
Repita os passos 1 a 10 para o cubo e o rotor do outro lado da máquina.
Limpe os dois parafusos de cabeça flangeada (⅜ x ¾ pol.) e aplique um revestimento de composto fixador de roscas de resistência média nas roscas dos parafusos.
Alinhe as pastilhas dos travões com cada lado do rotor (Figura 30 ) e os orifícios no suporte da pinça com os orifícios na montagem dos travões da estrutura do eixo (Figura 34).
Prenda o suporte da pinça à estrutura do eixo (Figura 30) utilizando os dois parafusos de cabeça flangeada (⅜ x ¾ pol.)
Aperte os dois parafusos de cabeça flangeada com uma força de 47 a 54 N·m.
Alinhe os orifícios na roda com os pinos do cubo e monte a roda no cubo com a haste da válvula para fora (Figura 29).
Note: Certifique-se de que a superfície de montagem da roda está em contacto com o cubo.
Prenda a roda ao cubo utilizando as porcas das rodas (Figura 29).
Aperte as porcas das rodas com 108 a 122 N·m.
Repita os passos 1 a 5 para o travão e a roda do outro lado da máquina.
Desligue o cabo de alimentação do carregador de baterias, caso esteja ligado.
Levante a plataforma de carga.
Desloque o interruptor de desconexão das baterias para a posição desejada, conforme mostrado na Figura 36.

Note: A máquina está equipada com quatro baterias de iões de lítio.
Uma bateria de iões de lítio tem de ser descartada ou reciclada de acordo com os regulamentos federais e locais. Se uma bateria necessitar de reparação, entre em contacto com o seu distribuidor autorizado da Toro para obter ajuda.
Não abra a bateria. Se tiver problemas com uma bateria, entre em contacto com o seu distribuidor autorizado da Toro para obter ajuda.
As baterias contêm alta voltagem, o que o pode queimar ou eletrocutar.
Não tente abrir as baterias.
Tenha um cuidado extremo quando manusear uma bateria cuja caixa apresente rachas.
Utilize apenas o carregador concebido para as baterias.
As baterias de iões de lítio têm carga suficiente para realizar o trabalho ao qual se destinam durante a respetiva vida útil.
Para alcançar a duração e utilização máximas das suas baterias, siga as seguintes orientações:
Não abra a bateria.
Armazene/estacione a máquina numa garagem ou local de armazenamento limpo e seco, afastada da luz solar direta, de fontes de calor, chuva e condições húmidas. Não a armazene num local em que a temperatua exceda o intervalo indicado em Requisitos do armazenamento da bateria. Temperaturas fora deste intervalo danificam as suas baterias. As temperaturas elevadas durante o armazenamento, especialmente num estado de carga elevado, reduzem a duração da bateria.
Ao armazenar a máquina durante mais de 10 dias, certifique-se de que a máquina está num local fresco e seco, afastada da luz solar, da chuva e de condições húmidas.
Utilize as luzes apenas quando necessário.
Important: Todas as reparações elétricas devem ser realizadas apenas por um distribuidor autorizado da Toro.
O carregador exige pouca manutenção para além da proteção contra danos e condições climáticas adversas.
Limpe os cabos e a caixa do carregador da bateria com um pano ligeiramente humedecido depois de cada utilização.
Note: Não limpe o lubrificante dielétrico dos terminais.
Enrole os cabos quando não estiverem a ser utilizados.
Periodicamente, examine os cabos para verificar se existem danos e substitua-os quando necessário por peças aprovadas pela Toro.
Especificações: Consulte o Catálogo de peças.
Desligue a energia da bateria; consulte a secção Utilização do interruptor de desligar a bateria.
Abra o capot.
Desligue o conector elétrico para a cablagem do conector do conjunto da lâmpada (Figura 39).

Retire os clipes rápidos que fixam o farol ao respetivo suporte (Figura 39).
Note: Guarde todas as peças para instalação do novo farol.
Retire o conjunto do farol movendo-o para a frente através da abertura no pára-choques dianteiro (Figura 39).
Instale o novo farol através da abertura no pára-choques (Figura 39).
Note: Garanta que os polos de ajuste estão alinhados com os furos no suporte de montagem atrás do para-choques.
Prenda o conjunto do farol com os clipes rápidos que retirou no passo 4.
Ligue o conector elétrico para a cablagem ao conector do conjunto da lâmpada (Figura 39).
Ajuste os faróis para dirigir os feixes na posição desejada; consulte Ajuste dos faróis.
Utilize o seguinte procedimento para ajustar a posição do feixe do farol sempre que um conjunto de farol é substituído ou removido.
Estacione a máquina numa superfície nivelada com os faróis a cerca de 7,6 m de uma parede (Figura 40).
Meça a distância do chão ao centro do farol e faça uma marca na parede à mesma altura.
Rode a chave para a posição LIGAR e ligue os faróis.
Anote para onde os faróis apontam na parede.
A parte mais brilhante do feixe do farol deve estar 20 cm abaixo da marca colocada na parede (Figura 40).

Na parte traseira do conjunto de faróis, rode os parafusos de ajuste (Figura 39) para inclinar o conjunto dos faróis e alinhar a posição do feixe.
Ligue a energia da bateria; consulte a secção Utilização do interruptor de desligar a bateria.
| Intervalo de assistência | Procedimento de manutenção |
|---|---|
| A cada 100 horas |
|
Inspecione os pneus e as jantes para detetar sinais de desgaste e danos.
Note: Os acidentes de trabalho, tais como embater contra bermas de passeios elevados, poderão danificar o pneu ou a jante, mas também desalinhar as rodas; deverá, por isso, verificar o estado dos pneus após um acidente.
Aperte as porcas das rodas com 108 a 122 N·m.
| Intervalo de assistência | Procedimento de manutenção |
|---|---|
| A cada 100 horas |
|
Com o volante na posição central (Figura 41), rode-o para a direita e para a esquerda. Se rodar o volante mais de 13 mm para a esquerda ou para a direita e os pneus não rodarem, verifique os seguintes componentes da direção e da suspensão para assegurar que não estão soltos ou danificados.
Eixo da direção para a articulação do conjunto da cremalheira da direção
Important: Verifique o estado e a segurança do vedante do eixo pinhão (Figura 42).
Barras de montagem da cremalheira da direção


| Intervalo de assistência | Procedimento de manutenção |
|---|---|
| A cada 100 horas |
|
Verifique a pressão dos pneus para assegurar que os pneus dianteiros estão cheios a 0,83 bar.
Adicione peso ao banco do condutor igual ao operador médio que vai trabalhar com a máquina ou um operador deve sentar-se no banco. O peso ou o operador tem de permanecer no banco durante o procedimento de ajuste.
Numa superfície nivelada, desloque a máquina 2 a 3 m para trás e, em seguida, para a frente para a posição inicial original. Isto vai permitir à suspensão assentar na posição de funcionamento.
Ferramentas disponibilizadas pelo proprietário: chave de aperto, Peça Toro N.º 132-5069; consulte o seu distribuidor autorizado Toro.
Important: Faça ajustes da inclinação apenas se estiver a utilizar um acessório frontal ou se existir um desgaste irregular dos pneus.
Verifique o alinhamento da inclinação em cada roda; o alinhamento deve ser tão perto do zero (neutro) quanto possível.
Note: Os pneus devem estar uniformemente alinhados com o piso para reduzir o desgaste irregular.
Se o alinhamento da roda estiver desalinhado, utilize a chave de aperto para rodar o anel na mola amortecedora para alinhar a roda (Figura 43).

Important: Antes de ajustar o alinhamento, certifique-se de que o ajuste do alinhamento está tão perto do neutro quanto possível; consulte Ajuste da inclinação.
Assegure que os pneus dianteiros estão em posição de avanço em linha reta.
Meça a distância entre os pneus dianteiros à altura do eixo na zona dianteira e traseira dos pneus dianteiros (Figura 44).

Se a medição obtida não se situar entre 0 e 6 mm, desaperte as porcas de retenção nas extremidades das barras (Figura 45).

Rode as barras para deslocar a zona dianteira do pneu para o interior ou para o exterior.
Volte a apertar as porcas da barra de direção quando a operação de ajuste estiver concluída.
Certifique-se de que movimenta livremente o volante em ambas as direções.
| Intervalo de assistência | Procedimento de manutenção |
|---|---|
| A cada 100 horas |
|
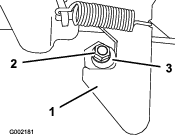
Tire o tampão de enchimento do conjunto eixo-transmissão (Figura 46).
Note: O fluido tem de estar ao nível da parte inferior do tampão de enchimento.

Se o nível de fluido estiver baixo, retire o tampão de enchimento e adicione o fluido [indicado em Substituição do fluido do eixo-transmissão] especificado até sair pelo furo (Figura 46).
Instale o tampão de enchimento e aperte com 27 a 41 N·m.
| Intervalo de assistência | Procedimento de manutenção |
|---|---|
| A cada 100 horas |
|
| A cada 800 horas |
|
Tipo de fluido: Mobil 424
Capacidade de fluido: 0,95 L
Alinhe um recipiente de escoamento com o tampão de escoamento do eixo da transmissão (Figura 47).

Retire o tampão de enchimento (Figura 47).
Retire o tampão de escoamento e deixe o fluido escoar completamente.
Instale o tampão de enchimento e aperte com 12 a 19 N·m.
Encha o conjunto eixo-transmissão com o fluido especificado através do furo do tampão de enchimento até sair pelo furo de enchimento.
Instale o tampão de enchimento e aperte com 27 a 41 N·m.
| Intervalo de assistência | Procedimento de manutenção |
|---|---|
| A cada 100 horas |
|
Important: Os travões são um elemento de segurança muito importante na máquina. Inspecione-os cuidadosamente no intervalo recomendado para assegurar o desempenho e segurança ideais.
Verifique se as pastilhas se encontram gastas ou danificadas. Se a grossura da cobertura (pastilha dos travões) for inferior a 1,6 mm, substitua-a.
Verifique se a placa traseira e outros componentes apresentam sinais de desgaste ou deformação. Substitua quaisquer componentes danificados.
Verifique as tubagens dos travões, as uniões e os grampos para ver se existem sinais de fugas, deterioração ou ligações soltas.
Note: Repare qualquer componente do sistema de travões danificado ou com fuga antes de utilizar a máquina.
Verifique o nível de eletrólito; consulte Verificação do nível de fluido dos travões.
| Intervalo de assistência | Procedimento de manutenção |
|---|---|
| Em todas as utilizações ou diariamente |
|
Tipo de fluido dos travões: DOT 3
| Intervalo de assistência | Procedimento de manutenção |
|---|---|
| A cada 1000 horas |
|
Contacte o distribuidor Toro autorizado.
Se o trinco da plataforma de carga estiver desajustado, a plataforma de carga oscila quando conduz a máquina. Pode ajustar os pernos do trinco para assegurar que os trincos mantêm a plataforma de carga presa no chassis.
Desaperte a porca de bloqueio na extremidade do perno do trinco (Figura 50).

Rode o perno do trinco no sentido dos ponteiros do relógio até encostar à zona de gancho do trinco (Figura 50).
Aperte a porca de bloqueio com 19,7 a 25,4 N·m.
Repita estes passos 1 a 3 para o trinco do outro lado da máquina.
| Intervalo de assistência | Procedimento de manutenção |
|---|---|
| Em todas as utilizações ou diariamente |
|
Lave a máquina quando necessário utilizando apenas água ou com um detergente suave. Pode ser utilizado um pano ao lavar a máquina.
Important: Não utilize água salobra ou recuperada para limpar a máquina.
Important: Não se recomenda a utilização de água sob pressão na lavagem do veículo. Poderá danificar o sistema elétrico, eliminar alguns autocolantes importantes ou eliminar a massa lubrificante existente em alguns pontos de fricção. Evite a utilização excessiva de água, especialmente próximo da zona do painel de controlo, motor, controlador do motor, carregador, parte de trás do painel e baterias.
Desligue a máquina, retire a chave e aguarde até que todo o movimento pare, antes de sair da posição de operação. Deixe a máquina arrefecer antes de ajustar, fazer manutenção, limpar ou armazenar.
O proprietário é responsável por inspecionar periodicamente as áreas de carregamento e armazenamento e rever os procedimentos para garantir que os requisitos estão a ser seguidos.
| Intervalo de assistência | Procedimento de manutenção |
|---|---|
| A cada 200 horas |
|
| A cada 400 horas |
|
Estacione a máquina numa superfície plana, desligue a máquina e retire a chave.
Dê uma lavagem geral ao veículo, incluindo à caixa do motor.
Important: Pode lavar a máquina com água e um detergente suave. Não utilize água sob pressão para lavar a máquina. A lavagem de pressão pode danificar o sistema elétrico ou retirar qualquer lubrificação aplicada nos pontos de fricção. Evite a utilização excessiva de água, especialmente próximo da zona do painel de controlo, luzes, motor e bateria.
Verifique os travões; consulte Verificação dos travões.
Verifique a pressão dos pneus; consulte Verificação dos níveis de fluido e pressão de ar dos pneus.
Verifique e aperte todos os pernos, porcas e parafusos. Repare ou substitua qualquer peça danificada.
Pinte todas as superfícies de metal arranhadas ou descascadas.
Note: O serviço de pintura está disponível no seu distribuidor autorizado Toro.
Tape a máquina para a proteger e mantê-la limpa.
Note: Não necessita de retirar as baterias da máquina para o armazenamento.
Consulte os limites de temperatura para armazenamento na tabela seguinte:
| Temperatura para armazenamento | Tempo de armazenamento adequado |
| 45° a 55°C | 1 semana |
| 25° a 45°C | 3 semanas |
| -20° a 25°C | 52 semanas |
Important: Temperaturas fora destes intervalos danificam as suas baterias.A temperatura a que as baterias são armazenadas afeta a sua duração a longo prazo. Armazenar a máquina durante longos períodos a temperaturas extremas reduz a vida da bateria. Para temperaturas acime de 25°C, armazene a máquina apenas durante o tempo adequado indicado na tabela.
Antes de armazenar a máquina, carregue ou descarregue a bateria entre 40% a 60%.
Note: Uma carga de 50% é ideal para assegurar uma duração máxima da bateria. Quando as baterias são carregadas a 100% antes do armazenamento, a duração da bateria diminui.Se antecipa que a máquina vai ficar armazenada durante um longo período, carregue as baterias em cerca de 60%.
A cada seis meses de armazenamento, verifique o nível da carga da bateria e assegure-se que se encontra entre 40% a 60%. Se a carga estiver abaixo de 40%, carregue as baterias entre 40% e 60%.
Depois de carregar as baterias, desligue o carregador de baterias da alimentação.
Se deixar o carregador na máquina, ele desliga depois de as baterias estarem totalmente carregadas e não volta a ligar, excepto se o carregador for desligado e ligado novamente.