| Onderhoudsinterval | Onderhoudsprocedure |
|---|---|
| Bij elk gebruik of dagelijks |
|
Dit multifunctionele werkvoertuig is voornamelijk bedoeld om mensen en ladingen materiaal te transporteren op kleine wegen en terrein. Het gebruik van dit product voor andere doeleinden dan het bedoelde gebruik kan gevaarlijk zijn voor u en voor omstanders.
Lees deze informatie zorgvuldig door, zodat u weet hoe u dit product op de juiste wijze moet gebruiken en onderhouden en om letsel en schade aan de machine te voorkomen. U bent verantwoordelijk voor het juiste en veilige gebruik van de machine.
Ga naar www.Toro.com voor documentatie over productveiligheid en bedieningsinstructies, informatie over accessoires, hulp bij het vinden van een dealer of om uw product te registreren.
Als u service, originele Toro onderdelen of aanvullende informatie nodig hebt, kunt u contact opnemen met een erkende servicedealer of met de klantenservice van Toro. U dient hierbij altijd het modelnummer en het serienummer van het product te vermelden. De locatie van het plaatje met het modelnummer en het serienummer van het product is aangegeven op Figuur 1. U kunt de nummers noteren in de ruimte hieronder.
Important: U kunt met uw mobiel apparaat de QR-code op het plaatje met het serienummer (indien aanwezig) scannen om toegang te verkrijgen tot de garantie, onderdelen en andere productinformatie.

Dit product voldoet aan alle relevante Europese richtlijnen; zie voor details de aparte productspecifieke conformiteitsverklaring.
Als deze machine is uitgerust met een telematica-apparaat, neem dan contact op met uw erkende Toro distributeur voor instructies over hoe u het apparaat moet activeren.
CALIFORNIË
Proposition 65 Waarschuwing
Het netsnoer van dit product bevat lood, een stof waarvan bekend is dat deze kanker, geboorteafwijkingen of andere schade aan de voortplantingsorganen kan veroorzaken. Was altijd uw handen nadat u met deze onderdelen in aanraking bent geweest.
Accuklemmen, accupolen en dergelijke onderdelen bevatten lood en loodverbindingen. Van deze stoffen is bekend dat ze kanker en schade aan de voortplantingsorganen veroorzaken. Was altijd uw handen nadat u met deze onderdelen in aanraking bent geweest.
Het waarschuwingssymbool (Figuur 2) dat wordt getoond in deze handleiding en op de machine geeft belangrijke veiligheidsinformatie aan die u moet opvolgen om ongelukken te voorkomen.

Het waarschuwingssymbool wordt weergegeven boven de informatie die u waarschuwt voor onveilige acties of situaties en wordt gevolgd door het woord GEVAAR, WAARSCHUWING, of VOORZICHTIG.
GEVAAR: een direct gevaarlijke situatie die, indien niet voorkomen, altijd zal leiden tot ernstig of fataal letsel.
WAARSCHUWING: een mogelijk gevaarlijke situatie die, indien niet voorkomen, kan leiden tot ernstig of fataal letsel.
VOORZICHTIG: een mogelijk gevaarlijke situatie die, indien niet voorkomen, kan leiden tot licht of middelmatig letsel.
Er worden in deze handleiding nog twee woorden gebruikt om uw aandacht op bijzondere informatie te vestigen. Belangrijk attendeert u op bijzondere technische informatie en Opmerking duidt algemene informatie aan die bijzondere aandacht verdient.
Dit product kan lichamelijk letsel veroorzaken. Volg altijd alle veiligheidsinstructies op om ernstig letsel te voorkomen.
Lees de Gebruikershandleiding en verzeker dat u deze begrijpt voordat u de machine start. Zorg dat alle gebruikers van dit product weten hoe ze het dienen te gebruiken en dat ze de waarschuwingen begrijpen.
Geef uw volledige aandacht als u de machine gebruikt. Zorg ervoor dat u met niets anders bezig bent waardoor u kunt worden afgeleid, anders kan er letsel ontstaan of kan eigendom worden beschadigd.
Houd handen en voeten uit de buurt van de bewegende onderdelen van de machine.
Gebruik de machine enkel als de nodige schermen en andere beveiligingsmiddelen aanwezig zijn en naar behoren werken.
Laat geen omstanders of kinderen het werkgebied betreden. Laat kinderen nooit de machine bedienen.
Stop en schakel de machine uit en verwijder het contactsleuteltje voordat u servicewerkzaamheden uitvoert.
Onjuist gebruik of onderhoud van deze machine kan letsel tot
gevolg hebben. Om het risico op letsel te verkleinen, dient u zich
aan de volgende veiligheidsinstructies te houden en altijd op het
veiligheidssymbool
te letten, dat betekent Voorzichtig, Waarschuwing
of Gevaar – instructie voor persoonlijke veiligheid. Niet-naleving
van deze instructies kan leiden tot lichamelijk of dodelijk letsel.
![]() |
Veiligheidsstickers en veiligheidsinstructies zijn gemakkelijk zichtbaar voor de bestuurder en bevinden zich bij plaatsen waar gevaar kan ontstaan. Vervang alle beschadigde of ontbrekende stickers. |

















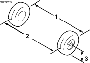
Benodigde onderdelen voor deze stap:
| Stuurwiel | 1 |
| Schroef | 5 |
| Veer | 2 |
| Wieldeksel | 1 |
| Wielclip | 1 |
Raadpleeg Figuur 3 voor deze procedure.
Plaats het stuurwiel op de stuuras.
Zorg ervoor dat het stuurwiel centraal is (d.w.z. de platte onderkant moet evenwijdig met de grond zijn).
Gebruik de borgmoer om het stuurwiel aan de stuuras te bevestigen.
Draai de borgmoer vast met een torsie van 27 N·m.
Gebruik 2 schroeven en 2 veren om de wielclip te bevestigen aan het wieldeksel.
Gebruik 3 schroeven om het wieldeksel aan het stuurwiel de bevestigen.
Draai de 5 schroeven vast met een torsie van 0,6 N·m.

Laad de machine op; zie Belangrijke informatie over de lader van de lithiumionaccu.
Controleer het peil van de remvloeistof voordat u de machine voor de eerste keer start; zie Remvloeistofpeil controleren.
Controleer het peil van de transaxlevloeistof voordat u de machine voor de eerste keer start; zie Het peil van de transaxlevloeistof controleren.
Controleer de bandenspanning; zie Bandenspanning controleren.
Om ervoor te zorgen dat het remsysteem optimaal functioneert, moet u de remmen gebruiksklaar maken (inrijden) voordat u het voertuig gaat gebruiken.
Laat het voertuig op volle snelheid rijden en rem dan om de machine snel te laten stoppen zonder de wielen te blokkeren.
Herhaal deze procedure 10 keer en wacht steeds 1 minuut voordat u opnieuw remt om te voorkomen dat de remmen oververhit raken.

Note: Het stuurwiel is verwijderd van Figuur 5 voor de duidelijkheid.

Gebruik het gaspedaal om de rijsnelheid van de machine te veranderen. Als u het gaspedaal intrapt, start u de machine. Als u het pedaal verder intrapt, verhoogt u de rijsnelheid. Als u het pedaal laat opkomen, vermindert de snelheid van de machine en slaat de machine af.
De snelheid vooruit in de prestatiemodus is 26 km per uur.
De snelheid vooruit in de zuinige modus is 18 km per uur.
Druk op het rempedaal om de machine te stoppen of snelheid te verminderen.
Gebruik van een machine met versleten of onjuist afgestelde remmen kan tot persoonlijk letsel leiden.
Als de vrije slag van het rempedaal tot de vloer van de machine minder dan 25 mm bedraagt, moeten de remmen worden afgesteld of gerepareerd.
De richtingschakelaar (Figuur 5) heeft 2 standen: VOORUIT enACHTERUIT.
Note: De machine kan ingeschakeld zijn in om het even welke van deze 2 standen, maar rijdt enkel in de standen VOORUIT en ACHTERUIT.
Druk op de claxonschakelaar (Figuur 5) om te claxonneren.
Gebruik de lichtschakelaar (Figuur 5) om de koplampen aan te zetten. Duw de schakelaar naar boven om de koplampen in te schakelen. Duw de schakelaar naar beneden om de koplampen uit te schakelen.
Het USB-aansluitpunt (Figuur 5) dient om mobiele toestellen van stroom te voorzien.
Important: Wanneer u het USB-aansluitpunt niet gebruikt, breng dan de rubberen plug aan om te voorkomen dat het aansluitpunt beschadigd raakt.
Gebruik de contactschakelaar (Figuur 5) om de machine in en uit te schakelen of om de machine in de TRANSPORTMODUS te zetten.
De contactschakelaar heeft 3 standen: AAN, UIT en TRANSPORT.
Draai het sleuteltje naar rechts, naar de stand AAN, om de machine te gebruiken.
Om de machine uit te schakelen, draait u het sleuteltje linksom naar de stand UIT. Verwijder altijd het sleuteltje als u de machine verlaat.
Om de parkeerrem vrij te zetten, draait u het contactsleuteltje en houdt u dit op zijn plaats gedurende 5 seconden om de TRANSPORTSTAND in te schakelen.
Het display toont informatie zoals de bedrijfsmodus, diverse diagnostieken en andere informatie over de machine (Figuur 6).

Er is een startscherm, een runscherm en een oplaadscherm op het display (Figuur 7, Figuur 8 en Figuur 9).
Figuur 8 toont wat u kunt zien op het display wanneer u de machine gebruikt. Het startscherm wordt gedurende een paar seconden weergegeven nadat u het sleuteltje naar de stand AAN draait, daarna wordt het runscherm weergegeven.



Het runscherm met de richting (Figuur 10) wordt weergegeven wanneer u van richting verandert.

Het runscherm met de huidige snelheid van de machine (Figuur 11) wordt weergegeven wanneer u met de machine rijdt.

Een actieve foutcode (Figuur 12) wordt weergegeven op het display als er een probleem is met de machine.

Wanneer de indicator voor een koude accu (Figuur 13) knippert op het runscherm tijdens het gebruik, veranderen de prestaties van de machine tot de accutemperatuur boven 0°C is.

De indicator voor een koude accu verschijnt ook op het oplaadscherm (Figuur 14) wanneer de accu’s te koud zijn om te worden opgeladen.

![]() | Richting – stand VOORUIT |
![]() | Transport – NEUTRAALSTAND |
![]() | Richting – stand ACHTERUIT |
![]() | Parkeerrem is ingeschakeld. |
![]() | Urenteller |
![]() | Accuspanning |
![]() | Laadniveau van accu |
![]() |
Accu wordt momenteel opgeladen |
![]() |
Melding lage accuspanning |
![]() | Zuinige modus is ingeschakeld. |
![]() | Actieve fout |
![]() | Indicator voor hete accu - de accutemperatuur is hoger dan 67°C |
![]() | Indicator voor koude accu - de accutemperatuur is lager dan 0°C |
![]() | De accu's zijn te koud om te worden opgeladen. |
De schakelaar van de snelheidsbegrenzer (Figuur 15) bevindt zich onder de motorkap en heeft 2 standen: PERFORMANCE (prestatiemodus) en ECONOMY (zuinige modus). Draai het sleuteltje naar rechts in de ZUINIGE MODUS om de maximale rijsnelheid van de machine te beperken tot 18 km/h. Draai het sleuteltje naar links in de PRESTATIEMODUS om de maximale rijsnelheid van de machine opnieuw in te stellen op 26 km/h.

De handgrepen voor de passagier bevinden zich rechts van het instrumentenpaneel en op de buitenkant van elke stoel (Figuur 16).

Note: Specificaties en ontwerp kunnen zonder voorafgaande kennisgeving worden gewijzigd.
| Basisgewicht | 571 kg (droog) |
| Nominale inhoud (op vlak terrein) | Totaalgewicht 767 kg, inclusief bestuurder (90,7 kg) en passagier (90,7 kg), lading, koppelgewicht van aanhangwagen, maximaal toelaatbaar totaalgewicht van aanhangwagen, accessoires en werktuigen |
| Maximaal toelaatbaar totaalgewicht van voertuig – op vlak terrein | 1.338 kg in totaal, inclusief alle bovengenoemde gewichten |
| Maximaal laadvermogen (op vlak terrein) | 567 kg in totaal, inclusief koppelgewicht van aanhangwagen en maximaal toelaatbaar totaalgewicht van aanhangwagen |
| Trekvermogen: | |
| Standaardhaak | Koppelgewicht: 45 kg |
| Maximale gewicht van de aanhanger: 363 kg | |
| Haak voor zware lasten | Koppelgewicht: 45 kg |
| Maximale gewicht van de aanhanger: 544 kg | |
| Totale breedte | 155 cm |
| Totale lengte | 307 cm |
| Afstand tot de grond | 28 cm aan de voorzijde, zonder lading of bestuurder, 17 cm aan de achterzijde, zonder lading of bestuurder |
| Wielbasis | 206 cm |
| Wielloopvlak (middellijn tot middellijn) | 125 cm aan de voorzijde, 120 cm aan de achterzijde |
| Lengte laadbak | 113 cm, 137 cm aan de buitenzijde |
| Breedte laadbak | 125 cm binnenzijde, 155 cm aan de buitenzijde van de voorgevormde spatschermen |
| Hoogte laadbak | 25 cm binnenzijde |
Een selectie van door Toro goedgekeurde werktuigen en accessoires is verkrijgbaar voor gebruik met de machine om de mogelijkheden daarvan te verbeteren en uit te breiden. Neem contact op met een erkende servicedealer of een erkende Toro-distributeur, of bezoek www.Toro.com voor een lijst van alle goedgekeurde werktuigen en accessoires.
Om de beste prestaties te verkrijgen en ervoor te zorgen dat de veiligheidscertificaten van de machine blijven gelden, moet u ter vervanging altijd originele onderdelen en accessoires van Toro aanschaffen. Gebruik ter vervanging nooit onderdelen en accessoires van andere fabrikanten, omdat dit gevaarlijk kan zijn en de productgarantie kan tenietdoen.
Voorkom dat de machine wordt gebruikt of onderhouden door kinderen of mensen die daarvoor niet opgeleid zijn of daartoe niet lichamelijk in staat zijn. Plaatselijke voorschriften kunnen nadere eisen stellen aan de leeftijd van degene die met de machine werkt. De eigenaar is verantwoordelijk voor de instructie van alle bestuurders en technici.
Zorg ervoor dat u vertrouwd raakt met de bedieningsorganen en de veiligheidssymbolen, en weet hoe u de machine veilig kunt gebruiken.
Zet de machine af, verwijder het contactsleuteltje en wacht totdat alle bewegende onderdelen tot stilstand zijn gekomen voordat u de bestuurderspositie verlaat. Laat de machine afkoelen voordat u er instellingen of onderhoud aan verricht, of de machine schoonmaakt of stalt.
Zorg dat u weet hoe u de machine en de motor snel kunt stoppen.
Verzeker dat er niet meer mensen (u en passagiers) op de machine zitten dan er handgrepen zijn.
Controleer of alle veiligheidsvoorzieningen en stickers op hun plaats zitten. Repareer of vervang veiligheidsvoorzieningen en vervang onleesbare of ontbrekende stickers. Gebruik de machine uitsluitend als deze aanwezig zijn en naar behoren werken.
| Onderhoudsinterval | Onderhoudsprocedure |
|---|---|
| Bij elk gebruik of dagelijks |
|
Voer elke dag voordat u de machine start de procedures uit in het onderdeel Telkens voor gebruik/Dagelijks in .
| Onderhoudsinterval | Onderhoudsprocedure |
|---|---|
| Bij elk gebruik of dagelijks |
|
Aanbevolen bandendruk: 0,55 tot 1,03 bar
Important: De maximale bandenspanning op de wang van de band niet overschrijden.
Note: De vereiste bandenspanning is afhankelijk van het gewicht dat u van plan bent te transporteren.
Controleer de bandenspanning.
Note: De luchtdruk in de voor- en achterbanden moet liggen tussen 0,55 en 1,03 bar.
Gebruik een lagere bandenspanning voor lichtere ladingen, voor minder bodemcompactie, voor een soepeler rijgedrag en voor minder bandensporen op de grond.
Gebruik een hogere bandenspanning om zwaardere ladingen met hogere snelheid te transporteren.
Indien nodig dient u de luchtdruk in de banden aan te passen door lucht in de banden te pompen of deze af te laten.

| Onderhoudsinterval | Onderhoudsprocedure |
|---|---|
| Na de eerste 100 bedrijfsuren |
|
Neem de richtlijnen voor het inrijden van een nieuwe machine in acht om ervoor te zorgen dat deze goede prestaties levert en een lange levensduur heeft.
Zorg ervoor dat de remmen gepolijst zijn; raadpleeg het gedeelte over polijsten in Configuratie.
Controleer de remvloeistof; zie Remvloeistofpeil controleren.
Zie het hoofdstuk voor bijzondere controles op rustige momenten.
Controleer de stand van de voor- en achterwielophanging en stel deze af indien nodig; zie De uitlijning van de voorwielen afstellen.
Voor optimale prestaties en levensduur van de accu laadt u de accu's op tot 100% wanneer u uw machine ontvangt.
De eigenaar/bestuurder is verantwoordelijk voor ongevallen die kunnen leiden tot lichamelijk letsel en materiële schade, en hij kan zulke ongevallen voorkomen.
Passagiers mogen alleen op de daarvoor bedoelde stoelen zitten. Vervoer geen passagiers in de laadbak. Hou omstanders en huisdieren tijdens het werk uit de buurt van de machine.
Draag geschikte kleding, waaronder oogbescherming, een lange broek en stevige schoenen met een gripvaste zool. Draag lang haar niet los en draag geen losse kleding of juwelen.
Geef uw volledige aandacht als u de machine gebruikt. Zorg ervoor dat u met niets anders bezig bent waardoor u kunt worden afgeleid, anders kan er letsel ontstaan of kan eigendom worden beschadigd.
Gebruik de machine niet als u ziek, moe of onder de invloed van alcohol, medicijnen of drugs bent.
U mag het maximaal toelaatbare totaalgewicht van de machine niet overschrijden.
Wees extra voorzichtig bij het remmen, door een bocht gaan of gebruiken van de machine als er een zware last in de laadbak zit.
Te grote ladingen transporteren in de laadbak vermindert de stabiliteit van de machine. Overschrijd de draagcapaciteit van de laadbak niet.
Materiaal transporteren dat niet kan worden vastgemaakt aan de machine heeft een nadelig effect op de stabiliteit en het stuur- en remgedrag van de machine. Wanneer u materiaal transporteert dat niet kan worden vastgemaakt aan de machine, moet u voorzichtig sturen en remmen.
Kies een lichtere lading en verminder uw snelheid als u moet rijden op ruw of oneffen terrein en vlak langs wegranden, kuilen en andere abrupte veranderingen in het terrein. De lading kan gaan schuiven waardoor de machine haar stabiliteit verliest.
Voordat u de machine start: zorg ervoor dat de parkeerrem in werking is gesteld en u zich in de bestuurderspositie bevindt.
U en uw passagiers moeten blijven zitten wanneer de machine rijdt. Houd uw handen aan het stuurwiel; uw passagiers moeten de daartoe voorziene handgrepen gebruiken. Houd uw armen en benen te allen tijde binnen de machine.
Bedien de machine uitsluitend wanneer de zichtbaarheid goed is. Kijk uit voor gaten, geulen, hobbels, stenen of andere verborgen objecten. De machine kan omslaan op oneffenheden in het terrein. In hoog gras zijn obstakels niet altijd zichtbaar. Wees voorzichtig bij het naderen van blinde hoeken, struiken, bomen, en andere objecten die uw zicht kunnen belemmeren.
Rij de machine niet in de buurt van steile hellingen, greppels of dijken. De machine kan plotseling omslaan als een wiel over de rand komt, of als de rand afbrokkelt.
Kijk altijd goed uit en vermijd laag overhangende objecten, zoals boomtakken, deurposten, loopbruggen, enz.
Kijk achterom en omlaag voordat u de machine achteruitrijdt om er zeker van te zijn dat de weg vrij is.
Als u zich met de machine op de openbare weg begeeft, neem dan de verkeersregels in acht en gebruik bijkomende accessoires die wettelijk verplicht kunnen zijn, zoals verlichting, richtingaanwijzers, tekens 'langzaam rijdend voertuig', etc.
Als de machine abnormaal trilt moet u onmiddellijk stoppen, de motor uitschakelen, wachten tot alle bewegende delen tot stilstand zijn gekomen en het voertuig op beschadigingen controleren. Repareer alle schade aan de machine alvorens door te gaan met het werk.
De stoptijd van de machine op een nat oppervlak kan langer zijn dan op een droog oppervlak. Om natte remmen uit te drogen, moet u langzaam rijden op vlak terrein, terwijl u lichte druk uitoefent op het rempedaal.
Als de machine snel rijdt en abrupt stopt, kunnen de achterwielen worden geblokkeerd, waardoor de machine moeilijk bestuurbaar wordt.
Raak de motor niet aan als de motor loopt of direct nadat u de motor hebt afgezet. Deze onderdelen kunnen heet zijn en brandwonden veroorzaken.
U mag een machine met draaiende motor niet onbeheerd achterlaten.
Doe het volgende voordat u de bestuurdersstoel verlaat:
Parkeer de machine op een horizontaal oppervlak.
Zorg ervoor dat de parkeerrem ingeschakeld is.
Zet de machine uit en verwijder het sleuteltje.
Wacht totdat alle bewegende onderdelen tot stilstand zijn gekomen.
Gebruik de machine niet als het kan bliksemen.
Gebruik alleen door The Toro Company goedgekeurde accessoires en werktuigen.
Note: Een rolbeugel met twee stangen is als accessoire beschikbaar voor deze machine. Gebruik een rolbeugel als u gaat werken in de buurt van steile randen of water, of op oneffen terrein of een helling waar de machine zou kunnen omkantelen. Neem voor verdere informatie contact op met een erkende Toro-distributeur.
Hellingen zijn de belangrijkste oorzaak dat de bestuurder de macht over de machine verliest en deze omkantelt. Dit kan leiden tot ernstig of dodelijke letsel.
Inspecteer het terrein en ga na op welke hellingen u de machine veilig kunt gebruiken; stel een procedure en regels op voor het werken op deze hellingen. Gebruik altijd uw gezond verstand en uw beoordelingsvermogen wanneer u dit onderzoek uitvoert.
Als u zich ongemakkelijk voelt wanneer u de machine op een helling gebruikt, maai die helling dan niet.
Voer alle bewegingen op hellingen langzaam en geleidelijk uit. Verander niet plots de snelheid of rijrichting van de machine.
Gebruik de machine niet op een nat terrein. Wielen kunnen grip verliezen. De machine kan omrollen voordat de wielen grip verliezen.
Rij hellingen in een rechte lijn op en af.
Als u vaart begint te verliezen terwijl u een helling oprijdt, moet u voorzichtig het rempedaal indrukken en de helling langzaam achterwaarts in een rechte lijn afrijden.
Draaien als u een helling op- of afrijdt, kan gevaarlijk zijn. Als u absoluut moet draaien op een helling, dient u dit langzaam en voorzichtig te doen.
Een zware lading heeft invloed op de stabiliteit van het voertuig op een helling. Verklein de lading en neem gas terug als u op een helling rijdt of als de lading een hoog zwaartepunt heeft. Maak de lading vast aan de laadbak van de machine om te voorkomen dat de lading gaat schuiven. Wees extra voorzichtig als u ladingen transporteert die gemakkelijk schuiven (vloeistoffen, stenen, zand, enz.).
Zorg dat u de machine niet moet starten, stoppen of keren op een helling, vooral als u een lading vervoert. Stoppen tijdens de afdaling van een helling kost meer tijd dan op vlak terrein. Als u de machine tot stilstand moet brengen, mag u de snelheid niet te abrupt verminderen; anders kan de machine omslaan of gaan rollen. Trap niet te abrupt op het rempedaal als u achterwaarts rolt, omdat de machine dan kan omslaan.
Overschrijd het maximale toelaatbare gewicht van de machine niet als u een lading transporteert in de laadbak en/of als u een aanhangwagen sleept; zie Specificaties.
Verdeel de lading gelijkmatig in de laadbak om de stabiliteit en uw controle over de machine te verbeteren.
Let erop dat er niemand achter de machine staat voordat u de lading stort.
Stort de lading niet uit de bak als de machine zijwaarts op een helling staat. Als gevolg van de verandering in de gewichtsverdeling kan de machine omslaan.
Een opgehaalde laadbak kan vallen en letsel toebrengen aan personen die eronder aan het werk zijn.
Gebruik altijd de steun om de bak omhoog te houden voordat u onder een opgehaalde laadbak gaat werken.
Verwijder de lading uit de laadbak voordat u deze omhoogbrengt.
Als de laadbak tijdens het rijden omhoogstaat, kan de machine gemakkelijker omslaan of gaan rollen. U kunt de laadbak beschadigen als deze tijdens het gebruik van de machine omhoog staat.
Gebruik de machine met de laadbak neergelaten.
Laat de laadbak neer als u hem geleegd hebt.
Als de achterkant van de laadbak belast is wanneer u de sluitingen losmaakt, kan de laadbak onverwacht openklappen en u of andere omstanders verwonden.
Belast indien mogelijk het midden van de laadbak.
Houd de laadbak naar beneden en controleer of niemand over de laadbak leunt of erachter staat als u de sluitingen losmaakt.
Verwijder de lading uit de laadbak voordat u deze omhoogbrengt voor onderhoud aan de machine.
De laadbak kan zwaar zijn. Handen of andere lichaamsdelen kunnen bekneld raken.
Houd uw handen en andere lichaamsdelen uit de buurt van de bak als u deze neerlaat.
Zorg dat de laadbak omlaag en vergrendeld is.
Til de klepjes op het achterste paneel van de achterlaadklep omhoog (Figuur 20).

Lijn de borgflenzen van de achterlaadklep uit met de openingen tussen de flenzen van de achterlaadklep van de laadbak (Figuur 20).
Draai de achterlaadklep naar achteren en omlaag (Figuur 20).
Als u los materiaal zoals zand, kiezels of houtsnippers uit de laadbak van de machine hebt gestort, kan een deel van het gestorte materiaal tussen de hengsels van de achterlaadklep beland zijn. Doe het volgende voordat u de achterlaadklep sluit.
Verwijder handmatig zo veel mogelijk materiaal van tussen de hengsels.
Draai de achterlaadklep ongeveer in de 45°-stand (Figuur 21).

Beweeg de achterlaadklep enkele keren heen en weer met korte, schokkende bewegingen (Figuur 21).
Note: Dit helpt om materiaal tussen de hengsels vandaan te krijgen.
Laat de achterlaadklep zakken en controleer of er materiaal is achtergebleven tussen de hengsels.
Herhaal stappen 1 tot 4 tot al het materiaal van tussen de hengsels is.
Draai de achterlaadklep naar boven en naar voren tot de borgflenzen van de achterlaadklep gelijk komen met het vak voor de achterlaadklep in de laadbak (Figuur 20).
Note: Breng de achterlaadklep omhoog of omlaag om de borgflenzen van de achterlaadklep uit te lijnen met de verticale openingen tussen de achterlaadklepflenzen van de laadbak.
Laat de achterlaadklep zakken tot deze in de achterzijde van de laadbak zit (Figuur 20).
Note: De borgflenzen van de achterlaadklep zitten stevig vast dankzij de achterlaadklepflenzen van de laadbak.
Raadpleeg het display om het laadniveau van het accusysteem na te kijken; zie Display.
Als de accuspanning te laag wordt (d.w.z. onder 10%), wordt een pictogram voor lage accuspanning weergegeven op het display. Bent u aan het werk wanneer de accu dit percentage bereikt, rij de machine dan naar een daartoe voorzien oplaadpunt en laad de accu's op; zie Belangrijke informatie over de lader van de lithiumionaccu.
Als u de machine bedient terwijl het laadniveau van de accu leeg is, werkt de machine op een lagere snelheid (d.w.z. 5 km/h).
Important: Als u de machine op een helling stopt, moet u de bedrijfsremmen intrappen om te voorkomen dat de machine van haar plaats rolt. Als u het gaspedaal gebruikt om de machine op de helling tot stilstand te brengen, kan de motor oververhit raken of kunnen de accu's ontladen worden.
Haal uw voet van het gaspedaal.
Druk het rempedaal langzaam in om met de bedrijfsremmen de machine volledig tot stilstand te brengen. De parkeerrem wordt in werking gesteld wanneer de machine tot volledige stilstand komt.
Note: De lengte van de remweg kan variëren, afhankelijk van de lading en de snelheid van de machine.
Neem de volgende richtlijnen in acht bij het laden van de laadbak en het gebruik van de machine:
Hou rekening met het laadvermogen van de machine en beperk het gewicht van de lading die u in de laadbak transporteert volgens de specificaties in Specificaties en op het label met het toelaatbare totaalgewicht van de machine.
Note: Het laadvermogen geldt alleen voor gebruik van de machine op een gelijke ondergrond.
Verminder het gewicht van de lading die u in de laadbak transporteert als u de machine gebruikt op hellingen en ruw terrein.
Verminder het gewicht van de lading die u in de laadbak transporteert als het materiaal hoog opgestapeld is (en een hoog zwaartepunt heeft), zoals een stapel bakstenen, planken voor tuinelementen of zakken met kunstmest. Verdeel de lading zo laag mogelijk zodat de lading uw zicht achter de machine tijdens gebruik niet belemmert.
Hou ladingen gecentreerd door de laadbak als volgt te laden:
Verdeel het gewicht gelijkmatig over de breedte van de laadbak.
Important: Het risico om te kantelen is groter als de laadbak aan 1 kant zwaarder is geladen.
Verdeel het gewicht gelijkmatig over de lengte van de laadbak.
Important: Als u de lading achter de achteras legt, hebben de voorbanden minder tractie, wat ertoe kan leiden dat de machine onbestuurbaar wordt of omkantelt.
Wees extra voorzichtig als u erg omvangrijke ladingen transporteert in de laadbak, in het bijzonder als u het gewicht van de lading niet centraal in de laadbak kunt plaatsen.
Maak indien mogelijk de lading vast aan de laadbak zodat de lading niet gaat schuiven.
Wanneer u vloeistoffen vervoert, dient u voorzichtig te zijn wanneer u de machine heuvelopwaarts of -afwaarts rijdt, wanneer u stopt of plots van snelheid verandert of wanneer u over ruwe oppervlakken rijdt.
De inhoud van de laadbak is 0,37 m3. De hoeveelheid (het volume) materiaal die u in de bak kunt laden zonder dat het draagvermogen van de machine wordt overschreden, kan sterk variëren afhankelijk van de dichtheid van het materiaal.
Raadpleeg de volgende tabel voor de maximale belading met verschillende materialen.
| Materiaal | Dichtheid | Maximaal laadvermogen laadbak(op een vlakke ondergrond) |
| Grind, droog | 1522 kg/m3 | Vol |
| Grind, nat | 1922 kg/m3 | ¾ vol |
| Zand, droog | 1442 kg/m3 | Vol |
| Zand, nat | 1922 kg/m3 | ¾ vol |
| Hout | 721 kg/m3 | Vol |
| Schors | <721 kg/m3 | Vol |
| Aarde, samengedrukt | 1602 kg/m3 | ¾ vol (bij benadering) |
Doe het volgende voordat u de bestuurdersstoel verlaat:
Parkeer de machine op een horizontaal oppervlak.
Zorg ervoor dat de parkeerrem ingeschakeld is.
Zet de machine uit en verwijder het sleuteltje.
Wacht totdat alle bewegende onderdelen tot stilstand zijn gekomen.
Laat de machine afkoelen voordat u er instellingen of onderhoud aan verricht, of de machine schoonmaakt of stalt.
Sla de machine niet op op plaatsen waar open vlammen, vonken of waakvlammen (bv. van een boiler of andere toestellen) aanwezig kunnen zijn.
Zorg ervoor dat alle onderdelen van de machine in goede staat verkeren en alle bevestigingselementen stevig vastzitten.
Onderhoud en reinig de veiligheidsgordel(s) indien nodig.
Vervang versleten, beschadigde en ontbrekende stickers.
WAARSCHUWING: Risico op brand en elektrische schokken - De accu’s bevatten geen onderdelen waaraan de gebruiker onderhoudswerkzaamheden moet verrichten.
Controleer het voltage dat in uw land beschikbaar is voordat u de lader gebruikt.
Laad de machine niet op in een natte omgeving; bescherm ze tegen regen en sneeuw.
Het gebruik van een accessoire dat niet aanbevolen of verkocht wordt door Toro kan leiden tot brandgevaar, elektrische schok of letsel.
Om het risico op een ontploffing van de accu te verminderen, moet u deze instructies en de instructies van elke apparatuur die u in de buurt van de lader wilt gebruiken opvolgen.
Accu's kunnen explosieve gassen uitstoten als ze danig overladen worden.
Neem contact op met een erkende Toro-distributeur wanneer een accu onderhoud behoeft of aan vervanging toe is.
Laat kinderen of personen die geen instructie hebben ontvangen de acculader nooit gebruiken of er onderhoudswerkzaamheden aan verrichten. Plaatselijke voorschriften kunnen nadere eisen stellen aan de leeftijd van degene die met de machine werkt. De eigenaar is verantwoordelijk voor de instructie van alle bestuurders en technici.
U moet alle instructies op de lader en in de handleiding lezen en begrijpen vóór u de lader in gebruik neemt, en deze instructies uitvoeren. Zorg ervoor dat u vertrouwd bent met het juiste gebruik van de lader.
Houd omstanders en kinderen uit de buurt terwijl de accu wordt opgeladen.
Schakel de machine uit en wacht tot de machine volledig zonder stroom is gevallen alvorens te laden. Als u dit niet doet, kan een vlamboog ontstaan.
Gebruik de lader alleen binnen het spanningsbereik dat in deze Gebruikershandleiding wordt aangegeven en gebruik alleen een door Toro goedgekeurd stroomsnoer.
Neem contact op met uw erkende Toro verdeler voor de juiste oplader en het juiste stroomsnoer.
Geen bevroren accu opladen.
Wees voorzichtig met het snoer. Trek niet aan het stroomsnoer om de lader uit het stopcontact te trekken. Bewaar het snoer uit de buurt van hitte, olie en scherpe randen.
Koppel de lader rechtstreeks aan op een geaard stopcontact. Gebruik de lader niet met een ongeaard stopcontact, zelfs niet als u een aardingsadapter gebruikt.
Maak geen aanpassingen aan het meegeleverde stroomsnoer of de stekker.
Neem metalen voorwerpen zoals ringen, armbanden, kettingen en horloges af voordat u met een lithiumionaccu gaat werken. Een lithiumionaccu kan voldoende stroom produceren om ernstige brandwonden te veroorzaken.
Gebruik een verlengsnoer dat de laadstroomsterkte aankan die in deze Gebruikershandleiding wordt aangegeven. Als u buiten oplaadt, gebruik dan een verlengsnoer dat geschikt is voor gebruik buitenshuis.
Als het stroomsnoer beschadigd raakt bij het aansluiten, haal het snoer dan uit het stopcontact en neem contact op met een erkende Toro distributeur voor een vervangsnoer.
Haal de lader uit het stopcontact als u hem niet gebruikt, voordat u hem verplaatst, of voordat u onderhoud uitvoert.
De lader niet demonteren.
Laat een erkende Toro distributeur de lader nakijken als onderhoud of herstelling vereist is.
Trek de stekker uit het stopcontact voordat u onderhoud uitvoert of de lader schoonmaakt om het gevaar op elektrische schokken te verkleinen.
Zorg ervoor dat de veiligheids- en instructiestickers in goede staat zijn en vervang ze indien nodig.
Gebruik de lader niet als het snoer of de stekker beschadigd is. Voor een vervangsnoer neemt u contact op met een erkende Toro distributeur.
Als de lader beschadigd is, gebruik hem dan niet; breng hem naar een erkende Toro verdeler.
Wees voorzichtig als u de machine inlaadt op een aanhanger of een vrachtwagen of uitlaadt.
Gebruik een oprijplaat van volledige breedte bij het laden van de machine op een aanhanger of vrachtwagen.
Maak de machine stevig vast.
Zie Figuur 22 en Figuur 23 voor de plaats van de bevestigingspunten van de machine.
Note: Laad de machine op de aanhangwagen met de voorzijde van de machine naar voren gericht. Als dat niet mogelijk is, bevestig dan de motorkap met een riem aan het frame of verwijder de motorkap zodat deze er niet af kan waaien tijden het transport.


In noodgevallen kunt u de machine over een korte afstand slepen; maak hier evenwel geen gewoonte van.
Als u de machine bij een te hoge snelheid sleept, kunt u de controle over het stuur verliezen. Dit kan letsel veroorzaken.
Sleep de machine nooit sneller dan 8 km per uur.
De machine moet worden gesleept door 2 personen. Als u de machine over een grote afstand moet verplaatsen, moet u deze vervoeren op een vrachtwagen of een aanhanger.
Bevestig een sleepkabel aan de lip op de voorzijde van het machineframe.
Om de parkeerrem vrij te zetten, draait u het contactsleuteltje en houdt u dit op zijn plaats gedurende 5 seconden om de TRANSPORTSTAND in te schakelen.
Note: Het ‘N’-symbool (d.w.z. de NEUTRAALSTAND) zou op het display moeten verschijnen.
De machine kan een aanhangwagen trekken. Er is een trekhaak verkrijgbaar voor de machine. Vraag uw erkende servicedealer om meer informatie.
Als u een lading vervoert of een aanhangwagen trekt, mag u de machine of de aanhangwagen niet te zwaar beladen. Een te zware lading van de machine of de aanhangwagen kan leiden tot slechte prestaties of beschadiging van de remmen, transaxle, stuurinrichting, ophanging, carrosserie of banden.
Zorg er altijd voor dat 60% van het gewicht van de lading zich in het voorste deel van de aanhangwagen bevindt. Hierdoor komt ongeveer 10% van het totale gewicht van de aanhangwagen op de trekhaak van de machine.
Ten behoeve van een goede remwerking en tractie moet de laadbak altijd zijn geladen als u een aanhangwagen gebruikt. U mag het maximaal toelaatbare totaalgewicht van de trailer en het voertuig niet overschrijden.
Parkeer de machine nooit op een helling als er een aanhangwagen is aangekoppeld. Als u toch op een helling moet parkeren, dient u de wielen van de aanhangwagen te blokkeren.
Volgens het Amerikaanse Department of Transportation en internationale transportorganisaties moeten lithiumionaccu's worden getransporteerd in een speciale verpakking en alleen door transporteurs die daarvoor een certificaat hebben. In de VS is het u toegestaan om een accu te transporteren die gemonteerd is op een met een accu aangedreven machine, en dat onder bepaalde wettelijke vereisten. Neem contact op met het Department of Transportation in de VS of de bevoegde overheidsinstelling in uw land voor gedetailleerde voorschriften in verband met het transport van uw accu's of de machine met uitgeruste accu's.
Neem voor gedetailleerde informatie over het verzenden van een accu contact op met uw erkende Toro distributeur.
Contact met water terwijl de machine opgeladen wordt, kan elektrische schokken veroorzaken en letsel of de dood tot gevolg hebben.
Raak de stekker of de acculader niet aan als u natte handen hebt of in water staat.
Laad de accu's niet op in regen of in natte omgevingen.
Om het gevaar op een elektrische schok te verkleinen, is deze lader uitgerust met een geaarde stekker met 3 contacten (type B). Als de stekker niet past in het stopcontact, zijn er andere geaarde stekkers beschikbaar; neem contact op met een erkende Toro distributeur.
Pas de lader of het stroomsnoer op geen enkele manier aan.
Important: Controleer het stroomsnoer regelmatig op gaten of scheuren in de isolatie. Een beschadigd snoer mag niet worden gebruikt. Laat het snoer niet door staand water of vochtig gras lopen.
Zie Figuur 24 voor de vereisten van de stroombron.

Sluit het stroomsnoer aan op het stopcontact van de lader van de machine (Figuur 25).
Als het snoer van de lader beschadigd is, kan dat elektrische schokken of vuur veroorzaken.
Controleer het stroomsnoer grondig voordat u de lader gaat gebruiken. Als het snoer beschadigd is, mag u de lader niet gebruiken tot het snoer vervangen is.

Sluit het uiteinde van het stroomsnoer met de muurstekker aan op een geaard stopcontact.
De accu's herladen met een lader van die niet door Toro werd geleverd, kan leiden tot oververhitting of soortgelijke storingen, en uiteindelijk tot materiële schade en/of persoonlijk letsel.
Gebruik de door Toro geleverde laders om de accu's op te laden.
Aanbevolen temperatuur voor opladen: 0° tot 45°C
Important: Laad de accu’s alleen op bij temperaturen die binnen het aanbevolen temperatuurbereik liggen.
Note: De lader werkt niet bij temperaturen die buiten het aanbevolen temperatuurbereik liggen. De indicator voor een hete accu of de indicator voor een koude accu zullen verschijnen op het display.
De laadstatus wordt getoond op het display.
Als er een fout is opgetreden, zal er een foutboodschap verschijnen op het display. Raadpleeg de Onderhoudshandleiding om een fout te corrigeren.
Verwijder het stroomsnoer uit het stopcontact van de lader van de machine.
Bewaar het snoer zodanig dat het niet beschadigd kan worden.
Schakel de machine in.
Controleer het laadniveau; zie Display.
Laat personeel dat niet bekend is met de instructies nooit onderhoudswerkzaamheden aan de machine uitvoeren.
Doe het volgende voordat u de bestuurdersstoel verlaat:
Parkeer de machine op een horizontaal oppervlak.
Zorg ervoor dat de parkeerrem ingeschakeld is.
Zet de machine uit en verwijder het sleuteltje.
Wacht totdat alle bewegende onderdelen tot stilstand zijn gekomen.
Laat de machine afkoelen voordat u er instellingen of onderhoud aan verricht, of de machine schoonmaakt of stalt.
Ondersteun de machine met assteunen als u onder de machine werkt.
Werk nooit onder een opgetilde laadbak zonder dat de juiste laadbakbeveiliging is geplaatst.
Laad de accu's niet op terwijl u onderhoud uitvoert aan de machine.
Om de machine in goede staat te houden moet u verzekeren dat alle bevestigingsmiddelen goed zijn aangetrokken.
Om het risico op brand te verminderen moet u de omgeving van de machine vrij houden van overtollig vet, gras, bladeren en vuil.
Indien mogelijk moet u geen onderhoud uitvoeren bij ingeschakelde machine. Blijf uit de buurt van bewegende onderdelen.
Als de machine ingeschakeld moet zijn om een instelling te maken moet u uw handen en voeten, kleding en alle lichaamsdelen uit de buurt van bewegende delen houden. Hou omstanders uit de buurt van de machine.
Controleer de werking van de parkeerrem volgens het onderhoudsschema en stel deze in en voer onderhoud uit naar behoefte.
Zorg dat alle onderdelen van de machine in goede staat verkeren en alle bevestigingsmiddelen goed zijn aangetrokken. Vervang versleten of beschadigde stickers.
Voer geen handelingen uit die van invloed zijn op de bedoelde werking van een veiligheidsvoorziening of die de bescherming waarin de veiligheidsvoorziening voorziet verminderen.
Indien grote reparaties nodig zijn of hulp is vereist, moet u contact opnemen met een erkende Toro distributeur.
Elke verandering aan deze machine kan gevolgen hebben voor de werking, prestaties of levensduur van de machine, en kan letsel of de dood veroorzaken. Dergelijke veranderingen kunnen ertoe leiden dat de garantie op het product van The Toro® Company komt te vervallen.
| Onderhoudsinterval | Onderhoudsprocedure |
|---|---|
| Na de eerste 100 bedrijfsuren |
|
| Bij elk gebruik of dagelijks |
|
| Om de 100 bedrijfsuren |
|
| Om de 200 bedrijfsuren |
|
| Om de 300 bedrijfsuren |
|
| Om de 400 bedrijfsuren |
|
| Om de 800 bedrijfsuren |
|
| Om de 1000 bedrijfsuren |
|
Note: Download het elektrische schema gratis op www.Toro.com; u kunt uw machine zoeken via de link Handleidingen op de startpagina.
Als u de machine niet goed onderhoudt kunnen systemen van de machine voortijdig defect raken en u of omstanders mogelijk letsel toebrengen.
U moet de machine goed onderhouden en in goede staat houden volgens deze instructies.
De machine mag uitsluitend worden onderhouden, gerepareerd, afgesteld of geïnspecteerd door vakbekwame en erkende technici.
Voorkom brandgevaar en zorg ervoor dat er brandbestrijdingsapparatuur in het werkgebied aanwezig is. Gebruik geen open vlam om het vloeistofpeil te controleren.
Gebruik geen open bakken of ontvlambare reinigingsvloeistoffen om onderdelen schoon te maken.
Als u het sleuteltje in het contact laat, bestaat de kans dat iemand de machine per ongeluk start, waardoor u en andere omstanders ernstig letsel kunnen oplopen.
Zet de machine uit en haal het sleuteltje uit het contact voordat u onderhoud uitvoert.
Gelieve deze pagina te kopiëren ten behoeve van gebruik bij routinecontroles.
| Gecontroleerde item | Voor week van: | ||||||
|---|---|---|---|---|---|---|---|
| maandag | dinsdag | woensdag | donderdag | vrijdag | zaterdag | zondag | |
| Werking van rem en parkeerrem controleren. | |||||||
| Werking van richtingschakelaar controleren. | |||||||
| Remvloeistofpeil controleren. | |||||||
| Controleren op ongewone geluiden tijdens het gebruik. | |||||||
| De bandenspanning controleren. | |||||||
| Controleren op lekkages. | |||||||
| Werking van instrumenten controleren. | |||||||
| Werking van het gaspedaal controleren. | |||||||
| Beschadigde lak bijwerken. | |||||||
| Was de machine. | |||||||
| Beschadigde lak bijwerken. | |||||||
Important: Als de machine wordt gebruikt in de hieronder genoemde omstandigheden, moet u de onderhoudswerkzaamheden twee keer zo vaak uitvoeren:
Gebruik in woestijngebied
Gebruik bij lage temperaturen: beneden 0 °C
Trekken van een aanhangwagen
Veelvuldig gebruik in stoffige omstandigheden
Bouwwerkzaamheden
Doe het volgende na langdurig gebruik in modder, zand, water of soortgelijke vuile omstandigheden:
Laat de remmen zo snel mogelijk controleren en reinigen. Dit voorkomt dat schurend materiaal overmatige slijtage veroorzaakt.
Reinig de machine met alleen water of een mild reinigingsmiddel.
Important: Gebruik geen brak of teruggewonnen water om de machine schoon te maken.
Parkeer de machine op een horizontaal oppervlak.
Zorg ervoor dat de parkeerrem ingeschakeld is.
Zet de machine uit en verwijder het sleuteltje.
Een opgekrikte machine kan wankel staan. De machine kan van de krik afglijden, waardoor iemand die zich eronder bevindt letsel kan oplopen.
Start de motor niet als de machine is opgekrikt.
Haal altijd het sleuteltje uit het contact voordat u van de machine stapt.
Blokkeer de wielen wanneer de machine wordt ondersteund door hefwerktuigen.
Gebruik assteunen om de machine te ondersteunen wanneer deze gehesen is.
Important: Als u de machine voor routineonderhoud en/of diagnose laat draaien, zorg dan dat de achterwielen van de machine 25 mm vrij van de grond zijn door de achteras op assteunen te zetten.
Het hefpunt vooraan de machine bevindt zich aan de voorzijde van het frame, achter de sleeplip (Figuur 26).

Het hefpunt aan de achterzijde van de machine bevindt zich onder de asbuizen (Figuur 27).

Til de handgreep van de rubberen grendels aan weerszijden van de motorkap op (Figuur 28).

Til de motorkap op.
Laat de motorkap langzaam zakken.
Bevestig de motorkap door de rubberen grendels uit te lijnen met de grendelbevestigingen aan weerszijden van de motorkap (Figuur 28).
| Onderhoudsinterval | Onderhoudsprocedure |
|---|---|
| Om de 300 bedrijfsuren |
|
Specificatie smeermiddel: Mobilgrease XHP™-222
Til de voorkant van de machine op en plaats deze op assteunen.
Verwijder de 4 wielmoeren waarmee het wiel aan de naaf bevestigd is (Figuur 29).

Verwijder de flenskopbouten (⅜" x ¾") waarmee de beugel voor de rem is bevestigd aan de as en verwijder de rem van de as (Figuur 30).
Note: Ondersteun de rem voordat u verder gaat met de volgende stap.

Verwijder de stofkap van de naaf (Figuur 31).

Verwijder de borgpen en de moerzekering van de as en de asmoer (Figuur 31).
Verwijder de asmoer van de as, en verwijder de naaf en de rotor van de as (Figuur 31 en Figuur 32).

Maak de as schoon met een doek.
Herhaal stap 1 tot en met 7 voor de naaf en de rotor aan de andere kant van de machine.
Verwijder het buitenste lager en de loopring van het lager van de naaf (Figuur 33).

Verwijder de afdichting en het binnenste lager van de naaf (Figuur 33).
Maak de afdichting schoon en controleer op slijtage en beschadiging.
Note: Gebruik geen reinigingsmiddel om de afdichting schoon te maken. Vervang de afdichting als deze versleten of beschadigd is.
Maak de lagers en de loopringen schoon en controleer deze onderdelen op slijtage en beschadiging.
Note: Vervang versleten of beschadigde onderdelen. Controleer of de lagers en loopringen schoon en droog zijn.
Verwijder alle vuil en vet uit de holte van de naaf (Figuur 33).
Smeer de lagers met het aanbevolen smeermiddel.
Vul de holte van de naaf voor 50 tot 80% met het aanbevolen smeermiddel (Figuur 33).
Monteer het binnenste lager op de loopring aan de binnenkant van de naaf en monteer de afdichting (Figuur 33).
Herhaal stap 1 tot en met 8 voor de lagers van de andere naaf.
Breng een laagje van het aanbevolen smeermiddel aan op de as (Figuur 34).

Monteer de naaf en de rotor op de as met de rotor aan de binnenkant (Figuur 34).
Monteer het buitenste lager op de as en plaats het lager in de buitenste loopring (Figuur 34).
Monteer het borgplaatje op de as (Figuur 34).
Draai de asmoer op de as en zet de moer vast met een torsie van 15 N·m terwijl u de naaf draait om het lager te plaatsen (Figuur 34).
Draai de asmoer los tot de naaf vrij kan draaien.
Draai de asmoer vast met een torsie van 1,70 tot 2,26 N·m.
Monteer de borgschroef over de moer en controleer de uitlijning van de sleuf in de schroef en de opening in de as voor de borgpen (Figuur 35).
Note: Als de sleuf in de borgschroef en de opening in de as niet uitgelijnd zijn, moet u de asmoer vastzetten met een torsie van maximaal 2,26 N·m om de sleuf en de opening uit te lijnen.

Monteer de borgpen en plooi beide uiteinden rond de borgschroef (Figuur 35).
Plaats de stofkap op de naaf (Figuur 35).
Herhaal stap 1 tot en met 10 voor de naaf en de rotor aan de andere kant van de machine.
Reinig de 2 flenskopbouten (⅜" x ¾") en breng een laag schroefdraadborgmiddel met gemiddelde sterkte aan op de draden van de bouten.
Lijn de remblokken aan beide zijden van de rotor (Figuur 30) en de openingen in de beugel van de remklauw uit met de openingen in de rembevestiging van het asframe (Figuur 34).
Bevestig de beugel van de remklauw aan het asframe (Figuur 30) met de 2 flenskopbouten (⅜" x ¾").
Draai de 2 flenskopbouten vast met een torsie van 47 tot 54 N·m.
Lijn de openingen in het wiel uit met de bouten van de naaf en monteer het wiel op de naaf met het ventiel naar buiten gericht (Figuur 29).
Note: Zorg dat het montagevlak van het wiel gelijk komt met de naaf.
Bevestig het wiel aan de naaf met de wielmoeren (Figuur 29).
Draai de wielmoeren vast met een torsie van 108 tot 122 N·m.
Herhaal stap 1 tot en met 5 voor de rem en het wiel aan de andere kant van de machine.
Koppel het stroomsnoer af van de acculader als het aangesloten is.
Breng de laadbak omhoog.
Draai de accu-ontkoppelingsschakelaar op de gewenste stand zoals getoond in Figuur 36.

Note: De machine is uitgerust met 4 lithiumionaccu's.
Een lithiumionaccu moet worden afgevoerd of gerecycled in overeenstemming met de plaatselijke en nationale regelgeving. Vraag een erkende Toro distributeur om hulp als een accu onderhoud nodig heeft.
Open de accu niet. Neem contact op met een erkende Toro distributeur als u problemen ondervindt met een accu.
De accu's staan onder een hoge spanning, die u kan verbranden of schokken kan geven.
Probeer de accu's niet te openen.
Wees uiterst voorzichtig bij het behandelen van een accu met een gebarsten behuizing.
Gebruik alleen de lader die ontworpen is voor de accu's.
De lithiumionaccu’s hebben voldoende spanning om de arbeid waarvoor ze bedoeld zijn gedurende hun levensduur uit te voeren.
Om uw accu's een maximale levensduur te geven en deze zo lang mogelijk te gebruiken, dient u de volgende richtlijnen te volgen:
Open de accu niet.
Stal/parkeer de machine in een schone, droge garage of stalruimte. Vermijd direct zonlicht, hittebronnen, regen en vochtige omgevingen. Stal de machine niet op een plaats waar de temperatuur buiten het bereik vermeld in Voorschriften voor het bewaren van de accu valt. Temperaturen buiten deze limieten brengen schade toe aan uw accu’s. Hoge temperaturen tijdens de stallingsperiode verkorten de levensduur van de accu, vooral als deze onder grote spanning staat.
Als u de machine gedurende langer dan 10 dagen wilt stallen, moet u de machine op een koele en droge plaats zetten, buiten het bereik van zonlicht, regen en vochtige omgevingen.
Gebruik de lichten alleen wanneer dit nodig is.
Important: Elektrische herstellingen mogen alleen worden uitgevoerd door een erkende Toro distributeur.
De lader vereist weinig onderhoud. Hij moet enkel worden beschermd tegen beschadiging en de weerselementen.
Maak de snoeren en de behuizing van de acculader telkens na gebruik schoon met een vochtige doek.
Note: Verwijder het diëlelektrisch smeervet niet van de aansluitklemmen.
Rol de snoeren op als u ze niet gebruikt.
Controleer de snoeren regelmatig op schade en vervang indien nodig met erkende Toro onderdelen.
Specificatie: Raadpleeg uw Onderdelencatalogus.
Koppel de accu los; zie De accu-ontkoppelingsschakelaar gebruiken.
Open de motorkap.
Koppel de elektrische aansluiting voor de kabelboom los van de aansluiting van de lamp (Figuur 39).

Verwijder de snelklemmen waarmee de koplamp aan de koplampbeugel is bevestigd (Figuur 39).
Note: Bewaar alle onderdelen voor de montage van de nieuwe koplamp.
Verwijder de koplamp door deze naar voren door de opening in de voorbumper te trekken (Figuur 39).
Monteer de nieuwe koplamp via de opening in de bumper (Figuur 39).
Note: Zorg ervoor dat de afstelpennen op één lijn zijn met de openingen in de montagebeugel achter de bumper.
Zet de koplamp vast met de snelklemmen die u hebt verwijderd in stap 4.
Koppel de elektrische aansluiting voor de kabelboom aan op de aansluiting van de lamp (Figuur 39).
Verstel de koplampen om de lichtbundel in de gewenste stand te zetten; zie Koplampen afstellen.
Ga als volgt te werk om de stand van de koplampen af te stellen als een koplamp is vervangen of verwijderd.
Parkeer de machine op een horizontaal oppervlak met de koplampen op ongeveer 7,6 meter verwijderd van een muur (Figuur 40).
Meet de afstand van de vloer tot het midden van de koplamp en maak een markering op dezelfde hoogte op de muur.
Draai het contactsleuteltje op AAN en ontsteek de koplampen.
Onthoud waar de koplampen gericht zijn op de muur.
Het helderste gedeelte van de lichtstraal van de koplampen dient zich 20 cm onder de markering op de muur te bevinden (Figuur 40).

Draai achteraan de koplamp de stelschroeven (Figuur 39) om de koplamp te draaien en de straal te richten.
Sluit de accu aan; zie De accu-ontkoppelingsschakelaar gebruiken.
| Onderhoudsinterval | Onderhoudsprocedure |
|---|---|
| Om de 100 bedrijfsuren |
|
Inspecteer de banden en velgen op tekenen van slijtage en beschadiging.
Note: Ongelukken tijdens werkzaamheden, zoals een botsing tegen een trottoirband, kunnen een band of een velg beschadigen en tevens de wieluitlijning verstoren. Daarom moet u na een ongeluk de conditie van de banden controleren.
Draai de wielmoeren vast met een torsie van 108 tot 122 N∙m.
| Onderhoudsinterval | Onderhoudsprocedure |
|---|---|
| Om de 100 bedrijfsuren |
|
Zet het stuurwiel in de gecentreerde stand (Figuur 41), en draai het stuurwiel naar links of rechts. Als u het stuurwiel meer dan 13 mm naar links of rechts draait en de banden draaien niet, controleer dan de volgende onderdelen van de stuurinrichting en de ophanging om er zeker van te zijn dat ze niet los zitten of beschadigd zijn:
Stuuras tot verbinding van stuurhuis
Important: Controleer de toestand van de afdichting van de rondselas en ga na of u deze op een veilige manier kunt gebruiken (Figuur 42).
Trekstangen van het stuurhuis


| Onderhoudsinterval | Onderhoudsprocedure |
|---|---|
| Om de 100 bedrijfsuren |
|
Controleer de bandendruk en zorg ervoor dat de banden vooraan tot 0,83 bar gepompt zijn.
Leg ofwel een gewicht op de bestuurdersstoel dat overeenkomt met het gemiddelde gewicht van de bestuurders die met de machine zullen werken, of laat een bestuurder plaatsnemen op de stoel. Het gewicht of de bestuurder dienen gedurende de hele instellingsprocedure op de stoel te blijven.
Rol op een vlakke ondergrond de machine 2 tot 3 meter recht achteruit en vervolgens recht vooruit naar de plaats waar u vertrok. Hierdoor kan de ophanging de bedrijfsstand aannemen.
Benodigdheden (door de eigenaar verschaft): schroefsleutel, Toro-onderdeel 132-5069; verkrijgbaar bij een erkende Toro-distributeur.
Important: Stel de vlucht uitsluitend af indien u een werktuig aan de voorkant gebruikt of indien de slijtage aan de banden ongelijkmatig is.
Controleer de vlucht aan elk wiel; deze moet zo dicht mogelijk in de buurt komen bij neutraal (nul).
Note: De banden moeten uitgelijnd zijn en het loopvlak moet gelijkmatig op de grond rusten om ongelijkmatige slijtage te voorkomen.
Als de vlucht van het wiel onjuist afgesteld is, draai dan met de schroefsleutel aan de kraag van de schokdemper tot het wiel uitgelijnd is (Figuur 43).

Important: Voordat u het toespoor gaat afstellen, moet u ervoor zorgen dat de vlucht zo dicht mogelijk tegen neutraal aanligt; zie De vlucht afstellen.
Zorg ervoor dat de voorbanden recht naar voren wijzen.
Meet ter hoogte van de as de afstand tussen de voorwielen aan de voorkant en de achterkant van de wielen (Figuur 44).

Als deze afstand buiten het bereik van 0 tot 6 mm valt, moet u de contramoeren aan het uiteinde van de spoorstangen losdraaien (Figuur 45).

Draai aan beide spoorstangen om de voorzijde van het wiel naar binnen of naar buiten te draaien.
Draai de contramoeren van de spoorstang weer vast als de afstelling correct is.
Zorg ervoor dat het stuur in beide richtingen volledig kan uitslaan.
| Onderhoudsinterval | Onderhoudsprocedure |
|---|---|
| Om de 100 bedrijfsuren |
|
Verwijder de vulplug op de transaxle (Figuur 46).
Note: Het vloeistofpeil moet tot aan de onderkant van de vulplug komen.

Als het vloeistofpeil te laag is, verwijder dan de vulplug en vul bij met de aanbevolen vloeistof [aangegeven in Transaxle-olie verversen] tot deze uit de opening stroomt (Figuur 46).
Plaats de vulplug terug en draai deze vast met een torsie van 27 tot 41 N∙m.
| Onderhoudsinterval | Onderhoudsprocedure |
|---|---|
| Om de 100 bedrijfsuren |
|
| Om de 800 bedrijfsuren |
|
Type vloeistof: Mobil 424
Vloeistofinhoud: 0,95 liter
Plaats een opvangbak onder de aftapplug van de transaxle (Figuur 47).

Verwijder de vulplug (Figuur 47).
Verwijder de aftapplug en laat alle vloeistof weglopen.
Monteer de aftapplug en draai deze vast met een torsie van 12 tot 19 N·m.
Vul de transaxle door de aanbevolen vloeistof in de opening van de vulplug te gieten tot de vloeistof uit de vulopening stroomt.
Plaats de vulplug terug en draai deze vast met een torsie van 27 tot 41 N·m.
| Onderhoudsinterval | Onderhoudsprocedure |
|---|---|
| Om de 100 bedrijfsuren |
|
Important: De remmen zijn van essentieel belang voor een veilig gebruik van de machine. Controleer de remmen zorgvuldig op de aanbevolen onderhoudsintervallen om de optimale prestaties en veiligheid te verzekeren.
Controleren van de remvoering op slijtage of beschadigingen controleren. Als de dikte van de remvoering (remblok) minder dan 1,6 mm is, moet u de remvoering vervangen.
De ankerplaat en andere onderdelen controleren op tekenen van overmatige slijtage of vervorming. Vervang eventuele beschadigde onderdelen.
Inspecteer de remleidingen, aansluitingen en klemmen op tekenen van lekkage, slijtage of losse connecties.
Note: Repareer beschadigde of lekkende onderdelen van het remsysteem voordat u de machine gebruikt.
Controleer het remvloeistofpeil; zie Remvloeistofpeil controleren.
| Onderhoudsinterval | Onderhoudsprocedure |
|---|---|
| Bij elk gebruik of dagelijks |
|
Remvloeistoftype: DOT 3
Open de motorkap om toegang te krijgen tot de hoofdremcilinder en het reservoir (Figuur 48).

Kijk naar de omtreklijn van het vloeistofpeil aan de zijkant van het reservoir (Figuur 49).
Note: Het peil moet hoger staan dan de Minimum-streep.

Doe het volgende als het vloeistofpeil te laag is:
Sluit de motorkap.
| Onderhoudsinterval | Onderhoudsprocedure |
|---|---|
| Om de 1000 bedrijfsuren |
|
Neem contact op met uw erkende Toro distributeur.
Als de vergrendeling van de laadbak slecht is afgesteld, trilt de laadbak op en neer tijdens het rijden. U kunt de vergrendelstangen zodanig afstellen dat de vergrendelingen de laadbak stevig tegen het chassis houden.
Draai de borgmoer op het uiteinde van de vergrendelstang los (Figuur 50).

Draai de vergrendelstang rechtsom tot deze stevig tegen het gehaakte gedeelte van de vergrendeling aandrukt (Figuur 50).
Draai de borgmoer vast met een torsie van 19,7 tot 25,4 N·m.
Herhaal stappen 1 tot 3 voor de vergrendeling aan de andere zijde van de machine.
| Onderhoudsinterval | Onderhoudsprocedure |
|---|---|
| Bij elk gebruik of dagelijks |
|
Reinig de machine indien nodig met alleen water of een mild reinigingsmiddel. Bij het schoonmaken van de machine kunt u een doek gebruiken.
Important: Gebruik geen brak of teruggewonnen water om de machine schoon te maken.
Important: Gebruik geen hogedrukreiniger om het voertuig te wassen. Daardoor kan het elektrische systeem worden beschadigd, belangrijke stickers losraken of noodzakelijk vet op wrijvingspunten worden weggespoeld. Gebruik niet te veel water, zeker niet in de buurt van het bedieningspaneel, de motor, de motorregelaar, de lader, de achterkant van het dashboard en de accu's.
Zet de machine af, verwijder het contactsleuteltje en wacht totdat alle bewegende onderdelen tot stilstand zijn gekomen voordat u de bestuurderspositie verlaat. Laat de machine afkoelen voordat u er instellingen of onderhoud aan verricht, of de machine schoonmaakt of stalt.
De eigenaar is verantwoordelijk voor het periodiek inspecteren van de laad- en opslagruimten of faciliteiten en het herzien van de procedures om ervoor te zorgen dat de vereisten worden nageleefd.
| Onderhoudsinterval | Onderhoudsprocedure |
|---|---|
| Om de 200 bedrijfsuren |
|
| Om de 400 bedrijfsuren |
|
Parkeer de machine op een horizontaal oppervlak, zet de machine af en verwijder het sleuteltje.
Verwijder vuil en vet van het gehele voertuig, inclusief de buitenkant van de motor en het ventilatorbehuizing.
Important: U kunt het voertuig met een mild reinigingsmiddel en water wassen. Doe dit niet met een hogedrukreiniger. Reinigen met een hogedrukreiniger kan het elektrische systeem beschadigen of noodzakelijk vet op wrijvingspunten wegspoelen. Gebruik niet te veel water, vooral in de buurt van het bedieningspaneel, de lampen, de motor en de accu.
Controleer de remmen; zie De remmen controleren.
Controleer de bandenspanning; zie Het peil van de vloeistoffen en de druk in de banden controleren.
Controleer alle bouten, schroeven en moeren en draai deze vast. Repareer of vervang beschadigde delen.
Werk alle krassen en beschadigingen van de lak bij.
Note: Bijwerklak is verkrijgbaar bij uw erkende Toro distributeur.
Dek de machine af om deze te beschermen en schoon te houden.
Note: U hoeft de accu's niet te verwijderen uit de machine voor opslag.
Controleer in de volgende tabel de temperatuurlimieten voor opslag:
| Opslagtemperatuur | Passende opslagtijd |
| 45° tot 55°C | 1 week |
| 25° tot 45°C | 3 weken |
| -20°C tot 25°C | 52 weken |
Important: Temperaturen buiten deze limieten brengen schade toe aan uw accu's.De temperatuur waarin de accu's worden bewaard heeft invloed op de levensduur ervan. Langdurige opslag bij extreme temperaturen verkort de levensduur van de accu. Bij temperaturen boven 25°C mag de machine slechts gedurende de in de tabel aangegeven tijd worden opgeslagen.
Voordat u de machine stalt, moet u de accu's laden of ontladen tot 40% à 60%.
Note: Een 50% geladen accu verzekert een maximale levensduur. Laadt u de accu's voor 100% op voordat u deze gaat stallen, dan verkort de levensduur.Verwacht u de machine voor langere tijd te stallen, laad de accu's dan voor ongeveer 60%.
Na elke stallingsperiode van 6 maanden moet u het laadniveau van de accu controleren en zorgen dat dit 40 tot 60% bedraagt. Is het laadniveau onder de 40% gezakt, laad de accu dan op tot 40 à 60%.
Bent u klaar met het opladen van de accu's, haal de oplader dan uit het stopcontact.
Als u de lader op de machine laat, zal deze uitschakelen nadat de accu's volledig opgeladen zijn. De lader zal niet opnieuw worden ingeschakeld tenzij hij losgekoppeld wordt en opnieuw wordt aangesloten.