Onderhoud
Note: Bepaal de linker- en rechterzijde van de machine vanuit de normale bedieningspositie.
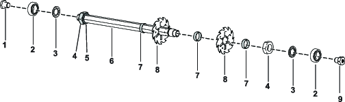
De verticuteermeseenheid demonteren
Demonteer de verticuteermeseenheid wanneer u een mes moet vervangen of de lagers moet vervangen.
-
Zet de contramoer aan het uiteinde van de eenheid, die de ring bevat, vast in een bankschroef.
Note: Verwijder de ring of moer aan deze kant van de eenheid niet.
-
Verwijder de zeskantbout, het lager en de randdichting.
-
Verwijder het spie-as inzetstuk met linkse schroefdraad aan het andere uiteinde van de as.
Voorzichtig
De messen zijn extreem scherp en hebben mogelijk bramen waaraan u uw handen kunt snijden.
Draag handschoenen en wees voorzichtig bij het verwijderen van de messen van de as.
-
Verwijder het lager, de randdichting, de messen en de afstandsstukken. Reinig en smeer de as met een dunne laag smeervet om de montage te vergemakkelijken.

-
Breng middelmatig sterk schroefdraadborgmiddel (zoals Blue Loctite 243) aan op de schroefdraad van het spie-as inzetstuk, de zeskantbout en de contramoer wanneer u de verticuteermeseenheid monteert.
Important: De volgorde waarin de messen worden verwijderd is zeer belangrijk. Keer de messen niet om tijdens het verwijderen en verander ook de volgorde van de messen niet tijdens het monteren. Let op de indexopening in elk mes. De indexopening is bedoeld voor de montage om de juiste schroefgang te verkrijgen. Uitgaand van de indexopening draait u elk van de volgende messen precies 1 schroefgang linksom. Zo verkrijgt de verticuteermachine bij de montage de juiste schroefgang.

-
Draai het spie-as inzetstuk met schroefdraad, de zeskantbout en de contramoer vast met een torsie van 108 tot 135 N·m.
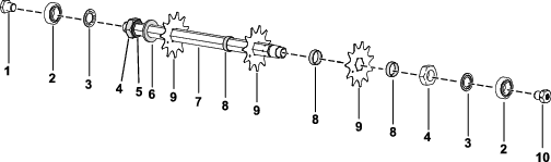
De verticuteermeseenheid demonteren
Demonteer de verticuteermeseenheid wanneer u een mes moet vervangen of de lagers moet vervangen.
-
Zet de contramoer aan het uiteinde van de eenheid, die de ring bevat, vast in een bankschroef.
Note: Verwijder de ring of moer aan deze kant van de eenheid niet.
-
Verwijder de zeskantbout, het lager en de randdichting.
-
Verwijder het spie-as inzetstuk met linkse schroefdraad aan het andere uiteinde van de as.
Voorzichtig
De messen zijn extreem scherp en hebben mogelijk bramen waaraan u uw handen kunt snijden.
Draag handschoenen en wees voorzichtig bij het verwijderen van de messen van de as.
-
Verwijder het lager, de randdichting, de messen en de afstandsstukken. Reinig en smeer de as met een dunne laag smeervet om de montage te vergemakkelijken.
Note: De veerstalen messenset is voorzien van een grote ring en een extra mes dat gemonteerd is vóór het eerste afstandsstuk, zoals hieronder wordt getoond.

-
Breng middelmatig sterk schroefdraadborgmiddel (zoals Blue Loctite 243) aan op de schroefdraad van het spie-as inzetstuk, de zeskantbout en de contramoer wanneer u de verticuteermeseenheid monteert.
-
Draai het spie-as inzetstuk met schroefdraad, de zeskantbout en de contramoer vast met een torsie van 108 tot 135 N·m.
Onderhoud van de rol
Er zijn een revisieset voor de greensrol (onderdeelnr. 140-5552) en een gereedschapsset voor revisie van de greensrol (onderdeelnr. 140-5553) (Figuur 9) verkrijgbaar om de rol een onderhoudsbeurt te geven. De revisieset omvat alle lagers, lagermoeren en pakkingen die nodig zijn om een rol te reviseren.
De gereedschapsset omvat alle werktuigen en montage-instructies die nodig zijn om een rol aan te reviseren met de revisieset. Zie de onderdelencatalogus of neem contact op met uw erkende Toro distributeur als u hulp nodig heeft.



te letten, dat betekent Voorzichtig, Waarschuwing
of Gevaar – instructie voor persoonlijke veiligheid. Niet-naleving
van deze instructies kan leiden tot lichamelijk of dodelijk letsel.



