| Intervalo de mantenimiento y servicio | Procedimiento de mantenimiento |
|---|---|
| Cada vez que se utilice o diariamente |
|
Esta máquina es una segadora de green de asiento, equipada con cuchillas de molinete, diseñada para ser usada por operadores profesionales contratados en aplicaciones comerciales. Se ha diseñado principalmente para cortar hierba en césped bien mantenido. El uso de este producto para otros propósitos que los previstos podría ser peligroso para usted y para otras personas.
Lea este manual detenidamente para aprender a utilizar y mantener correctamente su producto, y para evitar lesiones y daños al producto. Usted es responsable de utilizar el producto de forma correcta y segura.
Visite www.Toro.com para obtener más información, incluidos consejos de seguridad, materiales de formación, información sobre accesorios, ayuda para encontrar a un distribuidor o para registrar su producto.
Cuando necesite asistencia técnica, piezas genuinas Toro o información adicional, póngase en contacto con un distribuidor autorizado Toro y tenga a mano los números de modelo y serie de su producto. Figura 1 identifica la ubicación de los números de modelo y serie en el producto. Escriba los números en el espacio provisto.
Important: Con su dispositivo móvil, puede escanear el código QR de la calcomanía del número de serie (en su caso) para acceder a información sobre la garantía, las piezas, y otra información sobre el producto.

Este manual identifica peligros potenciales y contiene mensajes de seguridad identificados por el símbolo de alerta de seguridad (Figura 2), que señala un peligro que puede causar lesiones graves o la muerte si usted no sigue las precauciones recomendadas.

Este manual utiliza 2 palabras más para resaltar información. Importante llama la atención sobre información mecánica especial, y Nota resalta información general que merece una atención especial.
Este producto cumple todas las directivas europeas aplicables; si desea más detalles, consulte la Declaración de Conformidad (Declaration of Conformity – DOC) de cada producto.
El uso o la operación del motor en cualquier terreno forestal, de monte o cubierto de hierba a menos que el motor esté equipado con parachispas (conforme a la definición de la sección 4442) mantenido en buenas condiciones de funcionamiento, o que el motor haya sido fabricado, equipado y mantenido para la prevención de incendios, constituye una infracción de la legislación de California (Sección 4442 o 4443 del California Public Resource Code).
El Manual del propietario del motor adjunto ofrece información sobre las normas de la U.S. Environmental Protection Agency (EPA) y de la California Emission Control Regulation sobre sistemas de emisiones, mantenimiento y garantía. Puede solicitarse un manual nuevo al fabricante del motor.
Si la máquina está equipada con un dispositivo telemático, consulte a su distribuidor autorizado Toro para obtener instrucciones para activar el dispositivo.
CALIFORNIA
Advertencia de la Propuesta 65
Los gases de escape de este producto contienen productos químicos que el Estado de California sabe que causan cáncer, defectos congénitos u otros peligros para la reproducción.
Los bornes, terminales y otros accesorios de la batería contienen plomo y compuestos de plomo, productos químicos reconocidos por el Estado de California como causantes de cáncer y daños reproductivos. Lávese las manos después de manejar el material.
El uso de este producto puede provocar la exposición a sustancias químicas que el Estado de California considera causantes de cáncer, defectos congénitos u otros trastornos del sistema reproductor.
Este producto es capaz de amputar manos y pies y de lanzar objetos al aire.
Lea y comprenda el contenido de este manual del operador antes de arrancar el motor.
Preste toda su atención al utilizar la máquina. No realice ninguna actividad que genere distracciones, de lo contrario pueden producirse lesiones o daños en la propiedad.
No coloque las manos o los pies cerca de componentes en movimiento de la máquina.
No utilice la máquina a menos que tenga instalados y estén en funcionamiento todos los protectores y otros dispositivos de seguridad.
Mantenga a otras personas, especialmente a los niños, alejadas del área de operación. Nunca permita a los niños utilizar la máquina.
Apague la máquina, retire la llave y espere a que se detenga todo movimiento antes de dejar el puesto del operador. Deje que la máquina se enfríe antes de realizar ajustes, tareas de mantenimiento y de limpieza o de guardarla.
El uso o mantenimiento incorrecto de esta máquina puede
causar lesiones. Para reducir el peligro de lesiones, cumpla estas
instrucciones de seguridad y preste atención siempre al símbolo
de alerta de seguridad
, que significa: Cuidado, Advertencia
o Peligro – instrucción relativa a la seguridad personal.
El incumplimiento de estas instrucciones puede dar lugar a lesiones
personales o la muerte.
![]() |
Las calcomanías e instrucciones de seguridad están a la vista del operador y están ubicadas cerca de cualquier zona de peligro potencial. Sustituya cualquier calcomanía que esté dañada o que falte. |










Piezas necesarias en este paso:
| Barra antivuelco | 1 |
| Perno (½" x 3¾") | 4 |
| Tuerca con arandela prensada (½") | 4 |
Retire el soporte superior de la caja.
Retire la barra antivuelco de la caja.
Retire los 3 pernos que sujetan la cubierta derecha a la máquina, y retire la cubierta lateral.
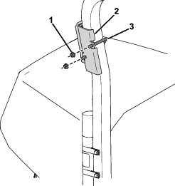
Retire los 2 pernos que sujetan el soporte del bloque de fusibles al soporte del ROPS, como se muestra en la Figura 3.

Alinee el soporte del bloque de fusibles en el soporte derecho del ROPS y utilice 4 pernos (½" x 3¾") y 4 tuercas con arandela prensada (½") para instalar la barra antivuelco en los soportes del ROPS en cada lado de la máquina.
Apriete las fijaciones a entre 136 y 149 N∙m.
Utilice los 3 pernos que retiró anteriormente para sujetar la cubierta derecha a la máquina.
Piezas necesarias en este paso:
| Asiento | 1 |
| Arnés de cables del asiento | 1 |
Note: Monte el asiento en el juego delantero de taladros de montaje para tener 7,6 cm adicionales en el ajuste delantero, o en el juego de taladros trasero para tener 7,6 cm adicionales en el ajuste trasero.
Retire y deseche los tornillos que sujetan los lados del asiento y corte los flejes de transporte.
Retire los 4 pernos (5/16" × ¾") y las arandelas del soporte de transporte y deseche el soporte.
Sujete el asiento a la base del asiento con los 4 pernos y arandelas retirados anteriormente (Figura 4).

Localice el conector abierto del arnés de cables principal, a la derecha del asiento, y conéctelo al arnés de cables suministrado con el asiento.
Pase el arnés de cables alrededor de los raíles del asiento, asegurándose de que no queda aprisionado al desplazar el asiento, y conéctelo al conector de la parte inferior del asiento.
Piezas necesarias en este paso:
| Volante | 1 |
| Contratuerca (1½") | 1 |
| Arandela | 1 |
| Tapón del volante | 1 |
Piezas necesarias en este paso:
| Dispositivo telemático | 1 |
| Soporte del dispositivo | 1 |
| Arnés de cables de la telemática | 1 |
| Perno de cabeza hexagonal (n.º 10 × 1") | 4 |
| Contratuerca (n.º 10) | 4 |
| Perno en U | 1 |
| Tuerca con arandela prensada (⅜") | 2 |
| Brida | 4 |
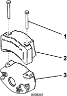
Utilice 4 pernos de cabeza hexagonal (n.º 10 × 1") y 4 contratuercas (n.º 10) para sujetar el dispositivo telemático al soporte del dispositivo (Figura 6).

Utilice un perno en U y 2 tuercas con arandela prensada (⅜") para sujetar el soporte del dispositivo encima del tubo del manual de la barra antivuelco (Figura 7).

Instale el conector marcado P02 del arnés de cables de la telemática en el dispositivo telemático (Figura 8).

Retire la cubierta lateral derecha (Figura 9) de la máquina.

Enrute el arnés de cables hacia abajo por la barra antivuelco y conecte el conector del arnés de cables marcado P01 al conector del arnés de cables de la máquina marcado P49 (Figura 10).
Sujete el arnés de la telemática al arnés principal con una brida (Figura 10).

Sujete el arnés a la barra antivuelco con bridas, como se muestra en la figura.

Instale la cubierta lateral derecha en la máquina (Figura 9).
Cargue la batería; consulte Carga de la batería.
Piezas necesarias en este paso:
| Kit de enfriador de aceite – Unidad de tracción Greensmaster Serie 3300 (Pieza Nº 119-1691 [se compra por separado]) | – |
Si va a utilizar la máquina en climas cálidos, con temperatura ambiente superior a los 29 °C, o la va a usar en condiciones duras (segar zonas que no sean greens, por ejemplo la siega de calles o el verticorte), instale el kit opcional de enfriador del aceite hidráulico (Pieza Nº 119-1691).
Piezas necesarias en este paso:
| Gancho del recogedor | 6 |
| Pernos con arandela prensada | 12 |
Instale los 6 ganchos de los recogedores en los extremos de las barras de los brazos de suspensión usando 12 pernos con arandela prensada (Figura 12).

Piezas necesarias en este paso:
| Barra de ajuste | 1 |
| Unidad de corte (disponible a través de su distribuidor autorizado Toro) | 3 |
| Recogedor | 3 |
| Contrapeso del motor de molinete eléctrico | 3 |
| Tornillo | 6 |
| Junta tórica | 3 |
Prepare las unidades de corte para su instalación; consulte el Manual del operador de la unidad de corte.
Aplique grasa al diámetro interno del acoplamiento de tracción.
Instale una junta tórica en cada motor del molinete, tal y como se muestra en la Figura 13.

Instale el contrapeso del motor de molinete eléctrico; consulte Instalación de los contrapesos eléctricos.
Instale las unidades de corte; consulte Instalación de las unidades de corte.
La máquina dispone de una función de control de corte que varía la velocidad de los molinetes en función de la velocidad de la máquina para mantener una frecuencia de corte constante. De esta manera se logra una calidad de corte uniformemente alta, y un aspecto homogéneo después de la siega. La función de control de corte está desactivada por defecto; para configurarla y activarla, consulte Ajuste de la función de control de corte.
Piezas necesarias en este paso:
| Kit de pesos (pieza n.º 119-7129) – se vende por separado | 1 |
| Kit de pesos de tracción a tres ruedas (pieza n.º 120-5750) – se vende por separado) | 1 |
Esta máquina cumple las normas ANSI B71.4-2017 y EN ISO 5395 cuando está equipada con el kit de pesos (pieza n.º 119-7129).
Si la máquina está equipada con el kit de tracción a tres ruedas, la máquina cumple con las normas ANSI B71.4-2017 y EN ISO 5395 cuando está instalado el kit de pesos de tracción a tres ruedas (pieza n.º 120-5750).
Piezas necesarias en este paso:
| Pegatina de advertencia (Pieza N.º 136-8505) | 1 |
| Pegatina con marca CE | 1 |
| Pegatina con el año de fabricación | 1 |
Si utiliza esta máquina en un país que se rija por las normas CE, siga estos pasos después de instalar el kit de protector en la máquina:
Coloque la pegatina de advertencia CE (Pieza N.º 136-8505) sobre la pegatina de advertencia existente (Pieza N.º 136-8506).
Aplique la pegatina con marca CE al bastidor debajo de la parte delantera del asiento (Figura 14).

Coloque la pegatina del año de producción junto a la placa con el número de serie (Figura 15).

Los neumáticos se sobreinflan en fábrica para el transporte. Reduzca la presión al nivel correcto antes de arrancar la máquina; consulte Comprobación de la presión de los neumáticos.
Bruña los frenos; consulte Bruñido de los frenos.

El pedal de tracción (Figura 17) tiene 3 funciones: desplazar la máquina hacia adelante, desplazarla hacia atrás, y parar la máquina. Pise la parte superior del pedal para desplazarse hacia delante y la parte inferior para desplazarse hacia atrás, o para ayudar en el frenado al desplazarse hacia adelante. Deje que el pedal se desplace a la posición de punto muerto para detener la máquina. Para su comodidad, no apoye el talón sobre la sección de marcha atrás del pedal de tracción mientras conduce la máquina hacia adelante (Figura 18).


Las velocidades de avance son las siguientes:
Velocidad de siega hacia adelante: 3,2 a 8 km/h
Velocidad máxima de transporte: 16 km/h
Velocidad en marcha atrás: 4,0 km/h
Pise el pedal (Figura 17) y eleve o baje el brazo de dirección a la posición más cómoda; luego suelte el pedal para bloquear el brazo.
Con la palanca del acelerador (Figura 19) puede controlar la velocidad del motor. Mueva la palanca del acelerador hacia la posición RáPIDO para aumentar la velocidad del motor; muévala hacia LENTO para disminuir la velocidad del motor.
Note: No es posible apagar el motor usando la palanca del acelerador.

Para arrancar el motor cuando está frío, cierre el estárter del carburador empujando la palanca del estárter hacia delante (Figura 19) a la posición de CERRADO. Después de que el motor arranque, regule la palanca del estárter para que el motor siga funcionando suavemente. Lo antes posible, abra el estárter tirando de la palanca hacia atrás, a la posición de ABIERTO. Si el motor está caliente, no será necesario usar el estárter, o sólo muy poco.
Si se mueve el control (Figura 19) hacia adelante durante la siega, se bajan las unidades de corte y se ponen en movimiento los molinetes. Tire del control hacia atrás para parar los molinetes y elevar las unidades de corte. Para parar los molinetes sin elevar las unidades de corte, tire hacia atrás del control momentáneamente y suéltelo. Arranque los molinetes moviendo el control hacia adelante.
La palanca de control funcional (Figura 19) ofrece dos selecciones de tracción, más una posición de punto muerto. Está permitido cambiar de segar a transporte, o de transporte a segar (no a punto muerto) con la máquina en movimiento; no se producirá daño alguno.
Posición TRASERA – punto muerto; utilice esta posición para autoafilar los molinetes
Posición CENTRAL – utilice esta posición para la siega
Posición DELANTERA – utilice esta posición para conducir la máquina entre diferentes lugares de trabajo
Introduzca la llave de contacto (Figura 19) y gírela en sentido horario a la posición de ARRANQUE para arrancar el motor. Suelte la llave en cuanto arranque el motor; la llave vuelve a la posición de CONECTADO. Gire la llave hacia la izquierda, a la posición PARADA para parar el motor.
Tire de la palanca del freno (Figura 20) para poner el freno de estacionamiento. Para quitarlo, apriete la palanca de liberación situada debajo de la palanca del freno y bájela a la posición de quitado. Accione el freno de estacionamiento siempre que vaya a dejar la máquina desatendida.

La pantalla del InfoCenter muestra información sobre la máquina, como por ejemplo el estado operativo, diferentes diagnósticos y otra información sobre la máquina.

Note: El propósito de cada botón puede variar dependiendo de lo que se necesite en cada momento. El icono de cada botón indicará su función en cada momento.
Utilice los botones de navegación para desplazarse entre la pantalla de información principal, la pantalla del motor eReel y los elementos de los menús:
Pantalla principal de información (Figura 22): muestra información actual de la máquina con la llave en la posición de CONECTADO.

Pantalla de motores eReel (Figura 23): muestra la velocidad y la corriente de cada motor de las unidades de corte.

Menú principal: consulte Uso de los menús.
![]() | Horímetro |
![]() | El interruptor de control de funciones está en la posición de PUNTO MUERTO. |
![]() | El interruptor de control de funciones está en la posición de TRANSPORTE. |
![]() | El interruptor de control de funciones está en la posición de SIEGA. |
![]() | El operador debe sentarse en el asiento. |
![]() | El freno de estacionamiento está accionado. |
![]() | Arranque el motor. |
![]() | Motor |
![]() | La TDF está engranada. |
![]() | La TDF está desengranada. |
![]() | Batería |
![]() | Indica que las unidades de corte se están elevando. |
![]() | Indica que las unidades de corte se están bajando. |
![]() | Activar |
![]() | Inactivo |
![]() | Anterior |
![]() | Siguiente |
![]() | Aumentar |
![]() | Reducir |
![]() | Pantalla anterior |
![]() | Siguiente pantalla |
![]() | Aumentar el valor |
![]() | Reducir el valor |
![]() | Menú |
![]() | Desplazamiento hacia arriba/hacia abajo |
![]() | Desplazamiento hacia la izquierda/hacia la derecha |
Para entrar en el sistema de menús del InfoCenter, pulse el botón de ACCESO A LOS MENúS en la pantalla principal. De este modo accede al MENú PRINCIPAL. Las tablas siguientes contienen un resumen de las opciones disponibles en cada menú.
| Elemento del menú | Descripción |
| FAULT (Fallos) | El menú FAULTS (Fallos) contiene una lista de los fallos recientes de la máquina. Consulte el manual de mantenimiento o póngase en contacto con su distribuidor Toro autorizado si desea más información sobre el menú FALLOS y la información que contiene. |
| SERVICE (Mantenimiento) | El menú MANTENIMIENTO contiene información sobre la máquina, como por ejemplo horas de uso y otros datos similares. Consulte la tabla Sevice (Mantenimiento). |
| DIAGNOSTICS (Diagnósticos) | El menú DIAGNOSTICS (Diagnósticos) muestra diversos estados actuales de la máquina. Puede utilizar esta información para identificar y resolver algunos problemas, puesto que indica rápidamente qué controles de la máquina están activados/encendidos, y cuáles están desactivados/apagados. |
| SETTINGS (Ajustes) | Con el menú SETTINGS (Ajustes), puede modificar los ajustes de la pantalla del InfoCenter. Consulte la tabla Settings (Ajustes). |
MACHINE SETTINGS (Ajustes de la
máquina) ![]() | En el menú MACHINE SETTINGS (Ajustes de la máquina) puede establecer ajustes de la máquina como la velocidad de los molinetes, la velocidad máxima de siega y la velocidad máxima de transporte. Consulte la tabla Machine Settings (Ajustes de la máquina). |
| ABOUT (Acerca de) | El menú ABOUT (Acerca de) muestra el número de modelo, el número de serie y la versión del software de su máquina. Consulte la tabla About (Acerca de). |
| Elemento del menú | Descripción |
| HOURS (HORAS) | Muestra el número total de horas durante las que la máquina, el motor, los molinetes, el autoafilado y el ventilador han estado encendidos, así como el número de horas de transporte y de sobrecalentamiento de la máquina. |
| COUNTS (RECUENTOS) | Indica el número de precalentamientos y arranques de la máquina. |
| BACKLAP (AUTOAFILADO) | CONECTA/DESCONECTA el autoafilado (una vez que está conectado, puede desconectar el autoafilado con este ajuste o desconectando la llave de contacto). |
| Elemento del menú | Descripción |
| ENTER PIN (Introducir PIN) | Permite que una persona (superintendente o mecánico) autorizada por la empresa con código PIN acceda a los menús protegidos. |
| BACKLIGHT (Retroiluminación) | Controla el brillo de la pantalla LCD. |
| LANGUAGE (Idioma) | Controla el idioma utilizado en el InfoCenter. |
| FONT SIZE (Tamaño de fuente) | Controla el tamaño de la fuente en el InfoCenter. |
| UNITS (Unidades) | Controla las unidades utilizadas en el InfoCenter. Las opciones de menú son Inglés o Métrico. |
PROTECT SETTINGS (Proteger ajustes) ![]() | Controla los menús protegidos. |
RESET DEFAULTS (Restablecer ajustes
predeterminados) ![]() | Reinicia el InfoCenter con los valores predeterminados. |
| Elemento del menú | Descripción |
RESET DEFAULTS (Restablecer ajustes
predeterminados) ![]() | Reinicia el InfoCenter con los valores predeterminados. |
RAISE DELAY (Demora de elevación) ![]() | Controla el tiempo de la demora de elevación de la unidad de corte central. |
LOWER DELAY (Demora de bajada) ![]() | Controla el tiempo de la demora de bajada de la unidad de corte central. |
TAPOFF TIME (Tiempo de Apagado
rápido) ![]() | Controla la demora del apagado rápido. |
REEL SPEED (Velocidad de los molinetes) ![]() | Controla la velocidad de las cuchillas en las unidades de corte. |
BACKLAP SPEED (Velocidad de autoafilado) ![]() | Controla la velocidad del autoafilado. |
CLIP CONTROL (Control de corte) ![]() | Activa/desactiva la función de control de corte automático. |
BLADE COUNT (Número de cuchillas) ![]() | Ajusta el número de cuchillas en cada molinete. Este ajuste solo es necesario si el CLIP CONTROL (Control de corte) está CONECTADO. |
HEIGHT OF CUT (Altura de corte) ![]() | Establece la altura de corte deseada. Este ajuste solo es necesario si el CLIP CONTROL (Control de corte) está CONECTADO. |
| Elemento del menú | Descripción |
| MODEL | Muestra el número de modelo de la máquina. |
| SN | Muestra el número de serie de la máquina. |
| S/W REV (Versión de SW) | Indica la versión del software del controlador maestro. |
XDM-2700 ![]() | Indica la revisión de software del InfoCenter. |
CUTTING UNIT 1 (Unidad de corte
1) ![]() | Indica la versión del software del motor de la unidad de corte central. |
CUTTING UNIT 2 (Unidad de corte
2) ![]() | Indica la versión del software del motor de la unidad de corte delantera izquierda. |
CUTTING UNIT 3 (Unidad de corte
3) ![]() | Indica la revisión de software del motor de la unidad de corte delantera derecha. |
GENERADOR![]() | Indica el número de serie del generador. |
Note:
Protegido
en menús protegidos – accesible solo al introducir el
PIN; consulte Acceso a los menús protegidos.
Note: El PIN predeterminado de fábrica de la máquina es 0000 o bien 1234.Si ha cambiado el código PIN y lo ha olvidado, póngase en contacto con su Distribuidor Autorizado Toro para obtener ayuda.
En el menú PRINCIPAL, vaya al menú SETTINGS (Ajustes) y pulse el botón de selección (Figura 24).

En el menú SETTINGS (Ajustes), vaya a ENTER PIN (Introducir PIN) y pulse el botón de selección (Figura 25A).

Para introducir el código PIN, presione los botones de navegación Arriba/Abajo hasta que aparezca el primer dígito correcto y, a continuación, pulse el botón de navegación Derecha para desplazarse al dígito siguiente (Figura 25B y Figura 25C). Repita este paso hasta que haya introducido el último dígito.
Pulse el botón de selección (Figura 25D).
Note: Si la pantalla acepta el código PIN y el menú
protegido se desbloquea, aparece
en la esquina superior derecha de la pantalla.
Para bloquear el menú protegido, gire el interruptor de encendido a la posición DESCONECTADO y luego a la posición CONECTADO.
En SETTINGS (Ajustes), vaya a PROTECT SETTINGS (Proteger ajustes).
Para ver y modificar los ajustes sin introducir un
código PIN, utilice el botón de selección para
cambiar PROTECT SETTINGS (Proteger ajustes)
a
(Desactivado).
Para ver y modificar los ajustes con un código
PIN, utilice el botón de selección para cambiar PROTECT SETTINGS (Proteger ajustes) a
(Activado), introduzca
el código PIN y gire la llave del interruptor de encendido
a la posición de DESCONECTADO y
luego a la posición de CONECTADO.

Rojo intermitente — fallo activo
Rojo fijo — aviso activo
Azul fijo — Mensajes de calibración/diálogo
Verde fijo — operación normal
Ajuste como desee el tiempo de demora de la elevación y la bajada de la unidad de corte central con el InfoCenter, de 1 a 10, según se indica en la siguiente tabla. El ajuste de fábrica es el 6 (375 ms) y está optimizado para una velocidad de siega de 6,1 km/h.
| Incremento número | Tiempo de demora (segundos) |
| 1 | 0,100 |
| 2 | 0,150 |
| 3 | 0,200 |
| 4 | 0,250 |
| 5 | 0,300 |
| 6 | 0,375 |
| 7 | 0,475 |
| 8 | 0,600 |
| 9 | 0,750 |
| 10 | 0,925 |
La función de demora del Apagado rápido permite desactivar las unidades de corte sin elevarlas, y puede ajustarse con el InfoCenter. La demora representa el tiempo máximo que el joystick de elevación/bajada debe permanecer en la posición Elevar para activar esta función. El ajuste de fábrica es el 1, que deshabilita esta función.
| Incremento número | Tiempo de demora (segundos) |
| 1 | Desconectado |
| 2 | 0,050 |
| 3 | 0,100 |
| 4 | 0,150 |
| 5 | 0,200 |
| 6 | 0,250 |
| 7 | 0,300 |
| 8 | 0,350 |
| 9 | 0,400 |
| 10 | 0,450 |
Para obtener una calidad de corte alta y un aspecto uniforme después de la siega, la máquina dispone de una función de control de corte que varía la velocidad de los molinetes según la velocidad de la máquina, para mantener un corte constante. Esta función está DESACTIVADA por defecto. Si activa esta función, asegúrese de que el número de cuchillas y la altura de corte estén configurados en el valor idóneo en el menú SETTINGS (Ajustes).
La función de control de corte ajusta automáticamente la velocidad del molinete para que coincida con la velocidad de la máquina. Si opta por no utilizar la función de control de corte, ajuste la velocidad del molinete de forma manual del siguiente modo:
Seleccione el ajuste de altura de corte de las unidades de corte.
Seleccione la velocidad de avance más adecuada para las condiciones existentes.
Usando el gráfico apropiado (Figura 27) para unidades de corte de 5, 8, 11 o 14 cuchillas, determine el ajuste correcto para la velocidad de los molinetes.

Para establecer la velocidad de los molinetes en el InfoCenter, abra el menú principal y desplácese hacia abajo hasta la opción SETTINGS (Ajustes).
En el menú SETTINGS (Ajustes), desplácese hacia abajo hasta REEL SPEED (Velocidad de los molinetes) y utilice el botón idóneo para establecer la velocidad de los molinetes que desee.
El icono del indicador del registro de fallos aparece en la pantalla principal si se detecta un fallo en la máquina. Cuando este icono aparezca, habrá una nueva entrada en el menú de Fallos que usted o su distribuidor puede utilizar para identificar el problema.
Para obtener una lista de fallos, consulte a su distribuidor Autorizado Toro o el Manual de mantenimiento.
La palanca de ajuste del asiento, situada en la esquina delantera izquierda del asiento (Figura 28), permite ajustar el asiento hacia adelante o hacia atrás.
Note: Si necesita ajustar más el asiento, puede retirar las cuatro tuercas que sujetan los raíles guía del asiento a la base y trasladar los raíles guía del asiento al segundo conjunto de taladros de montaje.

Cierre la válvula de cierre de combustible (Figura 29) (situada detrás del asiento y debajo del depósito de combustible) antes de almacenar la máquina o de transportarla en un camión o un remolque.

Antes de instalar, retirar o trabajar en las unidades de corte, desconecte las unidades de corte de la fuente de alimentación desenchufando los conectores de alimentación de las unidades de corte (Figura 30), situado en la base del poste anti-vuelco en el lado izquierdo de la unidad de tracción. Enchufe los conectores antes de utilizar la máquina.

Si no desconecta la alimentación de las unidades de corte, alguien podría ponerlas en marcha accidentalmente y causarle heridas muy graves en las manos o en los pies.
Desenchufe siempre los conectores de alimentación de las unidades de corte antes de trabajar en las unidades de corte.
Note: Las especificaciones y diseños están sujetos a modificación sin previo aviso.
Note: El peso indicado es el peso de la máquina en la configuración más habitual.El peso total incluye la unidad de tracción con tres unidades de corte de 11 cuchillas.
| Anchura de corte | 151 cm |
| Distancia entre ruedas | 128 cm |
| Distancia entre ejes | 119 cm |
| Longitud total (con recogedores) | 249 cm |
| Anchura total | 179 cm |
| Altura total | 205 cm |
| Peso | 712 kg (1569 lb) |
Está disponible una selección de aperos y accesorios homologados por Toro que se pueden utilizar con la máquina a fin de potenciar y aumentar sus prestaciones. Póngase en contacto con su servicio técnico autorizado o con su distribuidor Toro autorizado, o bien visite www.Toro.com para obtener una lista de todos los aperos y accesorios homologados.
Para asegurar un rendimiento óptimo y mantener la certificación de seguridad de la máquina, utilice solamente piezas y accesorios genuinos Toro. Las piezas de repuesto y accesorios de otros fabricantes podrían ser peligrosos, y su uso podría invalidar la garantía del producto.
Note: Los lados derecho e izquierdo de la máquina se determinan desde la posición normal del operador.
No deje nunca que la máquina sea utilizada o mantenida por niños o por personas que no hayan recibido la formación adecuada al respecto. La normativa local puede imponer límites sobre la edad del operador. El propietario es responsable de proporcionar formación a todos los operadores y mecánicos.
Familiarícese con la operación segura del equipo, los controles del operador y las señales de seguridad.
Accione el freno de estacionamiento, apague la máquina, retire la llave y espere a que se detenga todo movimiento antes de dejar el puesto del operador. Deje que la máquina se enfríe antes de realizar ajustes, tareas de mantenimiento y de limpieza o de guardarla.
Sepa cómo detener la máquina y apagar la máquina rápidamente.
Compruebe que los controles de presencia del operador, los interruptores de seguridad y los dispositivos protectores de seguridad están colocados y que funcionan correctamente. No utilice la máquina si no funcionan correctamente.
Antes de segar, siempre inspeccione la máquina para asegurarse de que las unidades de corte están en buenas condiciones de funcionamiento.
Inspeccione la zona en la que va a utilizar la máquina y retire cualquier objeto que pudiera ser arrojado por la máquina.
Extreme las precauciones al manejar el combustible. Es inflamable y sus vapores son explosivos.
Apague cualquier cigarrillo, cigarro, pipa u otra fuente de ignición.
Utilice solamente un recipiente de combustible homologado.
No retire la tapa de combustible ni llene el depósito de combustible si el motor está en marcha o está caliente.
No añada ni drene combustible en un lugar cerrado.
No guarde la máquina o un recipiente de combustible en un lugar donde pudiera haber una llama desnuda, chispas o una llama piloto, por ejemplo en un calentador de agua u otro electrodoméstico.
Si se derrama combustible, no intente arrancar el motor; evite crear fuentes de ignición hasta que los vapores del combustible se hayan disipado.
Capacidad del depósito de combustible: 20 litros
Combustible recomendado: gasolina sin plomo con un octanaje de 87 o más (método (R + M)/2)
Etanol: Es aceptable el uso de gasolina con hasta el 10 % de etanol (gasohol) o el 15 % de MTBE (éter metil tert-butílico) por volumen. El etanol y el MTBE no son lo mismo. No está autorizado el uso de gasolina con el 15 % de etanol (E15) por volumen.
No utilice nunca gasolina que contenga más del 10 % de etanol por volumen, como por ejemplo la E15 (contiene el 15 % de etanol), la E20 (contiene el 20 % de etanol) o la E85 (contiene hasta el 85 % de etanol).
No utilice combustible que contenga metanol.
No guarde combustible en el depósito de combustible o en recipientes de combustible durante el invierno, a menos que utilice un estabilizador de combustible.
No añada aceite a la gasolina.
Para obtener los mejores resultados, utilice solamente gasolina fresca (comprada hace menos de 30 días).
El uso de gasolina no autorizada puede causar problemas de rendimiento o daños en el motor que pueden no estar cubiertos bajo la garantía.
Important: No utilice aditivos de combustible salvo un estabilizador/acondicionador de combustible. No use estabilizadores a base de alcohol, tales como etanol, metanol o isopropanol.
Limpie alrededor del tapón de combustible y retírelo (Figura 31).

Añada combustible del tipo especificado al depósito de combustible hasta que el nivel esté a 25 mm por debajo del extremo inferior del cuello de llenado. Este espacio vacío en el depósito permite la dilatación del combustible.
Important: No llene completamente el depósito de combustible.
Coloque el tapón.
Note: Oirá un clic cuando el tapón esté encajado.
Limpie cualquier combustible derramado.
| Intervalo de mantenimiento y servicio | Procedimiento de mantenimiento |
|---|---|
| Cada vez que se utilice o diariamente |
|
Antes de arrancar la máquina cada día, haga lo siguiente:
Compruebe el nivel del aceite del motor; consulte Comprobación del aceite del motor.
Compruebe el nivel del fluido hidráulico; consulte Comprobación del nivel de fluido hidráulico.
Compruebe el contacto entre el molinete y la contracuchilla; consulte Comprobación del contacto molinete-contracuchilla.
Compruebe la presión de los neumáticos; consulte Comprobación de la presión de los neumáticos.
El propietario/operador puede prevenir y es responsable de cualquier accidente que pudiera provocar lesiones personales o daños materiales.
Lleve ropa adecuada, incluida protección ocular, pantalones largos, calzado resistente y antideslizante y protección auricular. Si tiene el pelo largo, recójaselo, y no lleve prendas o joyas sueltas.
No utilice la máquina si está enfermo, cansado o bajo la influencia de alcohol o drogas.
Preste toda su atención al utilizar la máquina. No realice ninguna actividad que genere distracciones, de lo contrario pueden producirse lesiones o daños en la propiedad.
Antes de arrancar el motor, asegúrese de que todas las transmisiones están en punto muerto, de que el freno estacionamiento está accionado y de que usted se encuentra en la posición del operador.
No lleve pasajeros en la máquina.
Mantenga a otras personas, especialmente a los niños, alejadas del área de operación. Si es necesario que estén presentes otros trabajadores, tenga cuidado y asegúrese de que los recogedores están instalados en la máquina.
Utilice la máquina únicamente con buena visibilidad para evitar agujeros y peligros ocultos.
Evite segar la hierba mojada. La reducción de la tracción podría hacer que la máquina se resbalara.
Mantenga las manos y los pies alejados de las unidades de corte.
Mire hacia atrás y hacia abajo antes de poner marcha atrás para asegurarse de que el camino está despejado.
Tenga cuidado al acercarse a esquinas ciegas, arbustos, árboles u otros objetos que puedan dificultar la visión.
Pare las unidades de corte si no está segando.
Vaya más despacio y tenga cuidado al girar y al cruzar calles y aceras con la máquina. Ceda el paso siempre.
Accione el motor únicamente en áreas bien ventiladas. Los gases de escape contienen monóxido de carbono, que resulta letal si se inhala.
No deje la máquina desatendida mientras esté funcionando.
Antes de abandonar la posición del operador, haga lo siguiente:
Aparque la máquina en una superficie nivelada.
Baje las unidades de corte al suelo y asegúrese de que están desengranadas.
Accione el freno de estacionamiento.
Apague el motor y retire la llave.
Espere a que se detenga todo movimiento.
Utilice la máquina únicamente si existen condiciones meteorológicas y de visibilidad adecuadas. No utilice la máquina cuando exista riesgo de caída de rayos.
No retire ninguno de los componentes del ROPS de la máquina.
Asegúrese de abrocharse el cinturón de seguridad y de que puede desabrocharlo rápidamente en caso de emergencia.
Lleve puesto siempre el cinturón de seguridad.
Compruebe detenidamente si hay obstrucciones sobre la máquina y no entre en contacto con ellas.
Mantenga el ROPS en condiciones seguras de funcionamiento, inspeccionándolo periódicamente en busca de daños y manteniendo bien apretados todas las fijaciones de montaje.
Sustituya todos los componentes del ROPS dañados. No los repare ni los modifique.
Las pendientes son una de las principales causas de accidentes por pérdida de control y vuelcos, que pueden causar lesiones graves o la muerte. Usted es responsable de la seguridad cuando trabaja en pendientes. La conducción de la máquina en pendientes requiere extremar la precaución.
Evalúe las condiciones del lugar de trabajo para determinar si es seguro trabajar en la pendiente con la máquina; puede ser necesario realizar un estudio detallado de la zona. Aplique siempre el sentido común y un buen criterio a la hora de realizar esta valoración.
Revise las instrucciones sobre pendientes, que se indican a continuación, para conducir la máquina en pendientes. Antes de utilizar la máquina, revise las condiciones del lugar de trabajo para determinar si la máquina puede utilizarse en las condiciones reinantes en un día y un lugar determinados. Los cambios en el terreno pueden producir un cambio en el funcionamiento de la máquina en pendientes.
Evite arrancar, parar o girar la máquina en cuestas o pendientes. Evite realizar cambios bruscos de velocidad o de dirección. Realice giros de forma lenta y gradual.
No utilice la máquina en condiciones que puedan comprometer la tracción, la dirección o la estabilidad de la máquina.
Retire o señale obstrucciones como terraplenes, baches, surcos, montículos, rocas u otros peligros ocultos. La hierba alta puede ocultar obstrucciones. Un terreno irregular podría hacer volcar la máquina.
Tenga en cuenta que conducir en hierba mojada, atravesar pendientes empinadas, o bajar cuestas puede hacer que la máquina pierda tracción. La pérdida de tracción de las ruedas motrices puede hacer que la máquina patine, así como sufrir pérdida de frenado o de dirección.
Extreme las precauciones cuando utilice la máquina cerca de terraplenes, fosas, taludes, obstáculos de agua u otros obstáculos. La máquina podría volcar repentinamente si una rueda pasa por el borde de un terraplén o fosa, o si se socava un talud. Establezca un área de seguridad entre la máquina y cualquier peligro.
Identifique peligros situados en la base de la pendiente. Si hay algún peligro, siegue la pendiente con una máquina controlada por un peatón.
Si es posible, mantenga las unidades de corte bajadas hasta el suelo al utilizar la máquina en pendientes. Si las unidades de corte se elevan en pendientes, la máquina puede desestabilizarse.
Extreme las precauciones cuando utilice sistemas de recogida de hierba u otros accesorios. Estos pueden cambiar la estabilidad de la máquina y causar pérdidas de control.
Consulte el Manual del propietario del motor, suministrado con la máquina, si desea información sobre los procedimientos de cambio de aceite y mantenimiento recomendados durante el periodo de rodaje.
Sólo se necesitan 8 horas de uso para completar el periodo de rodaje.
Puesto que las primeras horas de operación son de vital importancia para la futura fiabilidad de la máquina, usted debe vigilar de cerca su rendimiento y sus funciones para poder observar y corregir pequeñas dificultades que podrían convertirse en problemas importantes. Inspeccione la máquina frecuentemente durante el rodaje buscando señales de fugas de aceite, cierres sueltos o cualquier otra señal de funcionamiento indebido.
Note: Inspeccione las zonas de debajo de las unidades de corte para asegurarse de que están libres de residuos.
Siéntese en el asiento, ponga el freno de estacionamiento, desengrane el control de elevación/bajada de las unidades de corte y mueva la palanca de control funcional a la posición de PUNTO MUERTO.
Asegúrese de que el pedal de tracción está en PUNTO MUERTO y que no está pisando el pedal.
Si el motor está frío, mueva el estárter a la posición de ACTIVADO.
Mueva la palanca del acelerador a la posición INTERMEDIA.
Introduzca la llave de contacto y gírela en el sentido de las agujas del reloj hasta que el motor arranque.
Después de que el motor arranque, ajuste el estárter para que el motor siga funcionando suavemente. Lo antes posible, abra el estárter tirando del mismo hacia atrás a la posición de DESACTIVADO. Si el motor está caliente, no será necesario usar el estárter, o sólo muy poco.
Mueva la palanca del acelerador a la posición de RáPIDO.
Mueva la palanca de control de elevación/bajada momentáneamente hacia adelante.
Las unidades de corte deben bajar y todos los molinetes deben girar.
Note: La palanca funcional debe estar en la posición central (siega) para que los molinetes giren mientras bajan las unidades de corte
Mueva la palanca de control de elevación/bajada de las unidades de corte hacia atrás.
Los molinetes deben dejar de rotar y las unidades de corte deben elevarse completamente hasta la posición de transporte.
Ponga el freno para que la máquina no pueda desplazarse, y pise el pedal de tracción en las posiciones de marcha hacia delante y marcha atrás.
Continúe el procedimiento anterior durante 1–2 minutos. Mueva la palanca de control funcional a la posición de PUNTO MUERTO, ponga el freno de estacionamiento y apague el motor.
Compruebe que no haya fugas de fluido y apriete los acoplamientos hidráulicos si encuentra alguna fuga.
Note: Cuando la máquina está nueva y los cojinetes y los molinetes están apretados, es necesario utilizar la posición de RáPIDO de la palanca del acelerador para esta comprobación. Es posible que no sea necesario usar el ajuste Rápido después del periodo de rodaje.
Note: Si siguen apareciendo fugas de fluido, póngase en contacto con su distribuidor Toro autorizado para solicitar ayuda y, en caso de necesidad, piezas de repuesto.
Important: Un poco de fluido en las juntas del motor o de las ruedas es normal. Las juntas requieren una pequeña cantidad de lubricante para funcionar correctamente.
Mueva la palanca del acelerador a la posición de LENTO, mueva hacia atrás el control de elevación/bajada de las unidades de corte y mueva la palanca de control funcional a PUNTO MUERTO.
Gire la llave de arranque a la posición DESCONECTADO para apagar el motor. Retire la llave de contacto para evitar un arranque accidental.
Cierre la válvula de cierre del combustible antes de almacenar la máquina.
| Intervalo de mantenimiento y servicio | Procedimiento de mantenimiento |
|---|---|
| Cada vez que se utilice o diariamente |
|
Si los interruptores de seguridad son desconectados o están dañados, la máquina podría ponerse en marcha inesperadamente, causando lesiones personales.
No manipule los interruptores de seguridad.
Compruebe la operación de los interruptores de seguridad cada día, y sustituya cualquier interruptor dañado antes de operar la máquina.
El propósito del sistema de interruptores de seguridad es impedir la operación de la máquina cuando hay riesgo de lesiones para usted o daños a la máquina.
El sistema de interruptores de seguridad impide que el motor arranque, a menos que:
El pedal de tracción se encuentra en la posición de PUNTO MUERTO.
La palanca de control funcional se encuentra en la posición de PUNTO MUERTO.
El sistema de interruptores de seguridad impide que la máquina se desplace, a menos que:
El freno de estacionamiento esté quitado.
Usted está sentado en el asiento del operador.
La palanca de control funcional se encuentra en la posición de SIEGA o de TRANSPORTE.
El sistema de interruptores de seguridad impide que se pongan en marcha los molinetes a menos que la palanca de control funcional esté en la posición de SIEGA.
| Intervalo de mantenimiento y servicio | Procedimiento de mantenimiento |
|---|---|
| Cada vez que se utilice o diariamente |
|
Realice las siguientes comprobaciones del sistema cada día para garantizar que el sistema de seguridad funciona correctamente:
Siéntese en el asiento, mueva el pedal de tracción a la posición de PUNTO MUERTO, mueva la palanca de control funcional a la posición de PUNTO MUERTO y accione el freno de estacionamiento.
Intente mover el pedal de tracción hacia adelante o hacia atrás.
El pedal no debe desplazarse, lo que indica que el sistema de seguridad funciona correctamente. Corrija el problema si el funcionamiento no es el correcto.
Siéntese en el asiento, mueva el pedal de tracción a la posición de PUNTO MUERTO, mueva la palanca de control funcional a la posición de PUNTO MUERTO y accione el freno de estacionamiento.
Mueva la palanca de control funcional a la posición de PUNTO MUERTO o la posición de TRANSPORTE e intente arrancar el motor.
El motor no debe girar o arrancar, lo que indica que el sistema de seguridad funciona correctamente. Corrija el problema si el funcionamiento no es el correcto.
Siéntese en el asiento, mueva el pedal de tracción a la posición de PUNTO MUERTO, mueva la palanca de control funcional a la posición de PUNTO MUERTO y accione el freno de estacionamiento.
Arranque el motor y mueva la palanca de control funcional a la posición de SIEGA o a la posición de TRANSPORTE.
El motor debe apagarse, lo que indica que el sistema de seguridad funciona correctamente.
Corrija el problema si el funcionamiento no es el correcto.
Siéntese en el asiento, mueva el pedal de tracción a la posición de PUNTO MUERTO, mueva la palanca de control funcional a la posición de PUNTO MUERTO y accione el freno de estacionamiento.
Arranque el motor.
Quite el freno de estacionamiento, mueva la palanca de control funcional a la posición de SEGAR y levántese del asiento.
El motor debe apagarse, lo que indica que el sistema de seguridad funciona correctamente. Corrija el problema si el funcionamiento no es el correcto.
Siéntese en el asiento, mueva el pedal de tracción a la posición de PUNTO MUERTO, mueva la palanca de control funcional a la posición de PUNTO MUERTO y accione el freno de estacionamiento.
Arranque el motor.
Mueva la palanca de control de elevación/bajada de las unidades de corte hacia adelante para bajar las unidades de corte. Las unidades de corte deben bajar pero no deben empezar a girar.
Si empiezan a girar, el sistema de seguridad no funciona correctamente; corrija el problema antes de utilizar la máquina.
Asegúrese de que las unidades de corte estén totalmente elevadas.
Mueva la palanca de control funcional a la posición de TRANSPORTE.
Utilice los frenos para ralentizar la máquina al bajar cuestas empinadas para evitar perder el control.
Siempre acérquese a terrenos irregulares a velocidad reducida y tenga cuidado al atravesar zonas muy onduladas.
Familiarícese con la anchura de la máquina. No intente pasar entre objetos que están muy juntos, para evitar costosos daños y tiempo de reparación.
Important: Si la alarma del detector de fugas (si el modelo está equipado con una) suena o si observa una fuga de aceite mientras siega un green, eleve las unidades de corte inmediatamente, lleve la máquina directamente fuera del green y pare la máquina en una zona alejada del green. Determine la causa de la fuga y corrija el problema.
Antes de segar greens, busque una zona despejada y practique las funciones básicas de la máquina (por ejemplo, arrancar y parar la máquina, elevar y bajar las unidades de corte, y girar).
Asegúrese de que no haya residuos en el green, retire la bandera del hoyo y determine la mejor dirección de siega. La dirección dependerá de la dirección de siega anterior. Siegue siempre con un patrón opuesto al de la siega anterior, de manera que las hojas de hierba tengan menos tendencia a quedar aplastadas y a ser difíciles de atrapar entre las cuchillas del molinete y la contracuchilla.
Acérquese al green con la palanca de control funcional en la posición de SIEGA y el acelerador a toda velocidad.
Empiece en un borde del green para poder utilizar el procedimiento de corte en bandas.
Note: Esto reduce al mínimo la compactación y deja un dibujo atractivo y limpio en los greens.
Mueva hacia adelante la palanca de elevación/bajada de las unidades de corte cuando los bordes delanteros de los recogedores crucen el borde exterior del green.
Note: Este procedimiento baja las unidades de corte al suelo y pone en movimiento los molinetes.
Important: La unidad de corte central baja y se eleva un poco después de las unidades de corte delanteras; por tanto, debe practicar para perfeccionar la sincronización necesaria a fin de minimizar los retoques necesarios después de la siega.
Note: La demora en la elevación y bajada de la unidad de corte central depende de la temperatura del fluido hidráulico. Con fluido hidráulico frío, la demora aumenta. Al aumentar la temperatura del fluido, disminuye la demora.
Debe haber un solape mínimo con las pasadas anteriores.
Note: Para ayudar a mantener una línea recta a través del green y mantener la máquina a la misma distancia de la pasada anterior, imagínese una línea que va desde un punto situado a 1,8–3 m aproximadamente por delante de la máquina, hasta el borde de la parte no segada del green (Figura 33). Incluya el borde exterior del volante como parte de la línea imaginaria, es decir, mantenga el borde del volante alineado con un punto que se mantiene siempre a la misma distancia de la parte delantera de la máquina.
Cuando el borde delantero de los recogedores cruce el borde exterior del green, mueva hacia atrás la palanca de elevación/bajada de las unidades de corte y manténgala en esa posición hasta que se hayan elevado todas las unidades de corte. De este modo se detienen los molinetes y se elevan las unidades de corte.
Important: Sincronice correctamente este paso para segar la mayor parte posible del green sin adentrarse en la zona que lo rodea, con el fin de minimizar la cantidad de hierba a recortar en la periferia del green.
Para ganar tiempo y facilitar la alineación correcta para la pasada siguiente, gire la máquina momentáneamente en la dirección opuesta, y luego gire hacia la parte que todavía no está cortada. Este movimiento es un giro en forma de lágrima (Figura 32), que permite alinear la máquina rápidamente para la pasada siguiente.

Note: Procure que el giro sea lo más corto posible, aunque si hace calor, un arco más amplio minimiza la posibilidad de dañar el césped.

Note: El volante no vuelve a su posición original después de completar un giro.
Important: No pare la máquina nunca en el green con las unidades de corte engranadas, porque pueden producirse daños en el césped. Si detiene la máquina en un green mojado, las ruedas pueden dejar señales o huecos.
Termine de segar el green cortando por la periferia. Cambie la dirección de siega respecto a la siega anterior.
Note: Utilice la palanca del acelerador para ajustar la velocidad de la máquina al cortar la periferia. De esta manera la frecuencia de corte se adapta al green y el anillo tríplex puede verse reducido.
Note: Tenga siempre en cuenta las condiciones climatológicas y las del césped, y asegúrese de cambiar la dirección de siega respecto a la siega anterior.
Cuando termine de segar la periferia del green, pare los molinetes mediante un golpecito hacia atrás en la palanca de elevación/bajada de las unidades de corte, y salga del green. Cuando todas las unidades de corte hayan salido del green, eleve las unidades de corte.
Note: Este paso minimiza la acumulación de recortes en el green.
Vuelva a colocar la bandera.
Vacíe todos los recortes de los recogedores antes de transportar la máquina al green siguiente.
Note: Los recortes de hierba mojados y pesados suponen una carga excesiva en los recogedores y añaden peso innecesario a la máquina, lo que aumenta la carga sobre los sistemas de la máquina (por ejemplo, el motor, el sistema hidráulico y los frenos).
Ponga el freno de estacionamiento, apague el motor, retire la llave y espere a que se detenga todo movimiento antes de abandonar el puesto del operador. Deje que la máquina se enfríe antes de realizar ajustes, tareas de mantenimiento y de limpieza o de guardarla.
Limpie la hierba y los residuos de las unidades de corte y las transmisiones para ayudar a prevenir incendios. Limpie cualquier aceite o combustible derramado.
Cierre el combustible si va a almacenar o transportar la máquina.
Desengrane la transmisión al accesorio siempre que transporte la máquina o no la esté utilizando.
Espere a que se enfríe la máquina antes de guardarla en un recinto cerrado.
Realice el mantenimiento de los cinturones y límpielos cuando sea necesario.
No guarde la máquina o un recipiente de combustible en un lugar donde pudiera haber una llama desnuda, chispas o una llama piloto, por ejemplo en un calentador de agua u otro electrodoméstico.
Remolque únicamente si la máquina tiene un enganche diseñado para el remolcado. Enganche el equipo a remolcar únicamente en el punto de enganche.
Siga las recomendaciones del fabricante del apero sobre los límites de peso de los equipos remolcados y sobre remolcar en pendientes. En las pendientes, el peso del equipo remolcado puede causar una pérdida de tracción y de control.
No deje que suban niños u otras personas en los equipos remolcados.
Conduzca lentamente y deje una distancia de parada mayor mientras se realizan tareas de remolcado.
En caso de emergencia, es posible remolcar la máquina hasta 0,4 km.
Important: No remolque la máquina a más de 3 a 5 km/h, para evitar dañar el sistema de transmisión. Si es necesario trasladar la máquina más de 0,4 km, transpórtela sobre un camión o un remolque.
Localice la válvula de desvío en la bomba (Figura 34).

Abra la válvula de desvío girando la válvula 3 vueltas en sentido antihorario.
Antes de arrancar el motor, apriete la válvula de desvío a 12 N·m.
Important: No arranque el motor con la válvula de desvío abierta.
| Intervalo de mantenimiento y servicio | Procedimiento de mantenimiento |
|---|---|
| Cada vez que se utilice o diariamente |
|
Después de segar, lave a fondo la máquina con una manguera de jardín sin boquilla para evitar que la presión excesiva de agua pueda contaminar y dañar las juntas y los cojinetes. No lave un motor caliente ni las conexiones eléctricas con agua.
Después de limpiar la máquina, haga lo siguiente:
Compruebe que no hay fugas de fluido hidráulico, o daños o desgaste en los componentes mecánicos e hidráulicos.
Compruebe que las cuchillas de las unidades de corte están afiladas.
Lubrique el conjunto del eje del freno con aceite o lubricante en spray SAE 30 para impedir la corrosión y mantener la máquina en condiciones satisfactorias durante la siguiente operación de siega.
Tenga cuidado al cargar o descargar la máquina en/desde un remolque o un camión.
Utilice una rampa de ancho completo para cargar la máquina en un remolque o un camión.
Amarre la máquina firmemente con correas, cadenas, cables o cuerdas. Tanto la correa delantera como la trasera deben orientarse hacia abajo y hacia fuera respecto a la máquina (Figura 35).

Si no se mantiene debidamente la máquina, los sistemas de la máquina podrían fallar de forma prematura, con lo que podría sufrir lesiones usted o causarlas a otras personas.
Mantenga la máquina en condiciones de funcionamiento óptimas, tal y como se indica en estas instrucciones.
Note: Los lados derecho e izquierdo de la máquina se determinan desde la posición normal del operador.
Note: Para descargar una copia gratuita del esquema eléctrico o hidráulico, visite www.toro.com y busque su máquina en el enlace Manuales de la página de inicio.
Important: Consulte los demás procedimientos de mantenimiento del manual del propietario del motor.
Si deja la llave en el interruptor de encendido, alguien podría arrancar el motor accidentalmente y causar lesiones graves a usted o a otras personas.
Retire la llave del interruptor de encendido y desconecte los cables de las bujías antes de realizar cualquier operación de mantenimiento. Aparte los cables para evitar su contacto accidental con las bujías.
Antes de dejar el puesto del operador, realice lo siguiente:
Aparque la máquina en una superficie nivelada.
Desengrane la(s) unidad(es) de corte.
Accione el freno de estacionamiento.
Apague el motor y retire la llave.
Espere a que se detenga todo movimiento.
Deje que los componentes de la máquina se enfríen antes de realizar el mantenimiento.
Si es posible, no realice tareas de mantenimiento con el motor en marcha. Manténgase alejado de las piezas en movimiento.
Apoye la máquina con caballetes siempre que trabaje debajo de la máquina.
Alivie con cuidado la tensión de aquellos componentes que tengan energía almacenada.
Mantenga todas las piezas en buen estado de funcionamiento y todos los herrajes bien apretados.
Sustituya cualquier calcomanía desgastada o deteriorada.
Para garantizar un rendimiento seguro y óptimo de la máquina, utilice únicamente piezas de repuesto genuinas Toro. Las piezas de repuesto de otros fabricantes podrían ser peligrosas y su uso podría invalidar la garantía del producto.
| Intervalo de mantenimiento y servicio | Procedimiento de mantenimiento |
|---|---|
| Después de la primera hora |
|
| Después de las primeras 10 horas |
|
| Después de las primeras 50 horas |
|
| Cada vez que se utilice o diariamente |
|
| Cada 50 horas |
|
| Cada 100 horas |
|
| Cada 200 horas |
|
| Cada 400 horas |
|
| Cada 500 horas |
|
| Cada 800 horas |
|
| Cada 1000 horas |
|
| Cada 2000 horas |
|
| Cada año |
|
| Cada 2 años |
|
Duplique esta página para su uso rutinario.
| Elemento a comprobar | Para la semana de: | ||||||
|---|---|---|---|---|---|---|---|
| Lun. | Mar. | Miér. | Jue. | Vie. | Sáb. | Dom. | |
| Compruebe el funcionamiento de los interruptores de seguridad. | |||||||
| Compruebe la operación de los instrumentos | |||||||
| Compruebe la alarma del detector de fugas. | |||||||
| Compruebe el funcionamiento de los frenos. | |||||||
| Compruebe el nivel de combustible. | |||||||
| Compruebe el nivel de fluido hidráulico. | |||||||
| Compruebe el nivel de aceite del motor. | |||||||
| Limpie las aletas de refrigeración del aire del motor. | |||||||
| Inspeccione el pre-limpiador del filtro de aire. | |||||||
| Compruebe que no haya ruidos extraños en el motor. | |||||||
| Compruebe el ajuste entre el molinete y la contracuchilla. | |||||||
| Compruebe que las mangueras hidráulicas no están dañadas. | |||||||
| Compruebe que no haya fugas de fluidos. | |||||||
| Compruebe la presión de los neumáticos. | |||||||
| Compruebe el ajuste de altura de corte. | |||||||
| Retoque cualquier pintura dañada. | |||||||
| Anotación para áreas problemáticas: | ||
| Inspección realizada por: | ||
| Elemento | Fecha | Información |
| Intervalo de mantenimiento y servicio | Procedimiento de mantenimiento |
|---|---|
| Cada 400 horas |
|
Lubrique los engrasadores regularmente con grasa de litio Nº 2.
Limpie el engrasador para evitar que penetre materia extraña en el cojinete o el casquillo (Figura 36).

Bombee grasa en el cojinete o casquillo hasta que la grasa sea visible. Limpie cualquier exceso de grasa.
Apague el motor antes de comprobar el aceite o añadir aceite al cárter.
No cambie la velocidad del regulador ni haga funcionar el motor a una velocidad excesiva.
| Intervalo de mantenimiento y servicio | Procedimiento de mantenimiento |
|---|---|
| Cada 50 horas |
|
| Cada 100 horas |
|
Limpie la cubierta del limpiador de aire (Figura 37).

Abra los enganches y retire la tapa del limpiador de aire.
Retire la tuerca de orejeta que sujeta los elementos a la carcasa del limpiador de aire (Figura 38).
Si el elemento de espuma está sucio, sepárelo del elemento de papel (Figura 38). Límpielo a fondo, de la manera siguiente:
Lave el elemento de espuma con una solución de jabón líquido y agua templada. Apriételo para eliminar la suciedad.
Seque el filtro envolviéndolo en un paño limpio. Apriete el trapo y el elemento de espuma para secarlo.
Important: No retuerza el elemento de espuma para secarlo; la espuma podría romperse.

Compruebe la condición del elemento de papel. Límpielo golpeándolo suavemente en una superficie plana, o cámbielo si es necesario.
Instale el elemento de espuma, el elemento de papel, la tuerca de orejeta y la tapa del limpiador de aire.
Important: No haga funcionar el motor sin el elemento del limpiador de aire porque lo más probable es que se produzca un desgaste extremo y daños en el motor.
El motor se suministra con aceite en el cárter; sin embargo, debe comprobar el nivel de aceite antes y después de arrancar el motor por primera vez.
Clasificación API del aceite: SJ o superior
Viscosidad del aceite: SAE 30
Note: Utilice cualquier aceite detergente de alta calidad.
| Intervalo de mantenimiento y servicio | Procedimiento de mantenimiento |
|---|---|
| Cada vez que se utilice o diariamente |
|
Aparque la máquina en una superficie nivelada, apague el motor y retire la llave.
Desenrosque la varilla, retírela y límpiela con un trapo limpio.
Introduzca la varilla en el tubo y enrósquela en el tubo (Figura 39).

Desenrosque la varilla, retírela del tubo y compruebe el nivel de aceite.
Si el nivel de aceite es bajo, retire el tapón de llenado de la cubierta de la válvula, y vierta aceite en el motor por el cuello de llenado hasta que el nivel de aceite llegue a la marca LLENO de la varilla.
Añada el aceite lentamente y compruebe el nivel a menudo durante este proceso.
Important: No llene el motor con demasiado aceite.
Instale el tapón de llenado y la varilla.
| Intervalo de mantenimiento y servicio | Procedimiento de mantenimiento |
|---|---|
| Cada 100 horas |
|
Cantidad de aceite del motor: 1,65 l con filtro
Retire el tapón de vaciado (Figura 40) y deje fluir el aceite a un recipiente apropiado.

Limpie las roscas del tapón de vaciado, aplique sellador de PTFE, e instale el tapón de vaciado (Figura 40).
Retire el filtro de aceite (Figura 40).
Aplique una capa ligera de aceite limpio a la junta del filtro nuevo.
Enrosque el filtro a mano hasta que la junta toque el adaptador del filtro, luego apriete de ¾ a 1 vuelta más. No lo apriete demasiado.
Añada aceite al cárter; consulte Comprobación del aceite del motor y Especificación del aceite del motor.
Elimine correctamente el aceite usado y el filtro de aceite.
| Intervalo de mantenimiento y servicio | Procedimiento de mantenimiento |
|---|---|
| Cada 1000 horas |
|
Especificación de la bujía: Champion RC 14YC
Especificación del hueco entre electrodos: 0,76 mm
Limpie la zona alrededor de las bujías para que no pueda caer suciedad en el cilindro.
Retire los cables de las bujías y retire las bujías.
Compruebe el estado del electrodo lateral, el electrodo central y el aislamiento del electrodo central para verificar que no están dañados.
Important: Cualquier bujía agrietada, sucia o de otra manera deteriorada debe ser cambiada. No limpie los electrodos con chorro de arena, ni los rasque ni utilice un cepillo de alambre, porque pueden desprenderse partículas de la bujía que caerán dentro del cilindro y pueden dañar el motor.
Ajuste la distancia entre los electrodos central y lateral a 0,76 mm, tal y como se muestra en la Figura 41).

Instale la bujía y la junta, y apriete la bujía a 23 N·m.
| Intervalo de mantenimiento y servicio | Procedimiento de mantenimiento |
|---|---|
| Cada 500 horas |
|
El filtro de combustible en línea se encuentra en el tubo de combustible, entre el depósito de combustible y el carburador (Figura 42).
En ciertas condiciones, el combustible es extremadamente inflamable y altamente explosivo. Un incendio o una explosión provocados por el combustible puede causarle quemaduras a usted y a otras personas así como daños materiales.
Drene el combustible del depósito cuando el motor esté frío. Realice esta operación en un área abierta. Limpie cualquier combustible derramado.
No fume nunca mientras drena el combustible y manténgase alejado de llamas desnudas o de lugares donde una chispa pueda inflamar los vapores de combustible.
Cierre la válvula de cierre del combustible (Figura 42).

Coloque un recipiente debajo del filtro, afloje la abrazadera en el lado del carburador del filtro y retire el tubo de combustible del filtro (Figura 42).
Afloje la otra abrazadera y retire el filtro (Figura 42).
Instale el filtro nuevo con la flecha del filtro apuntando hacia el carburador.
| Intervalo de mantenimiento y servicio | Procedimiento de mantenimiento |
|---|---|
| Cada 2 años |
|
Compruebe que los tubos de combustible no están deteriorados o dañados, y que las conexiones no están sueltas.
Desconecte la batería antes de reparar la máquina. Desconecte primero el terminal negativo y luego el positivo. Conecte primero el terminal positivo y luego el negativo.
Cargue la batería en una zona abierta y bien ventilada, lejos de chispas y llamas. Desenchufe el cargador antes de conectar o desconectar la batería. Lleve ropa protectora y utilice herramientas aisladas.
Los bornes de la batería o una herramienta metálica podrían hacer cortocircuito si entran en contacto con los componentes metálicos, causando chispas. Las chispas podrían hacer explotar los gases de la batería, causando lesiones personales.
Al retirar o colocar la batería, no deje que los bornes toquen ninguna parte metálica de la máquina.
No deje que las herramientas metálicas hagan cortocircuito entre los bornes de la batería y las partes metálicas de la máquina.
Un enrutado incorrecto de los cables de la batería podría dañar la máquina y los cables, causando chispas. Las chispas podrían hacer explotar los gases de la batería, causando lesiones personales.
Desconecte siempre el cable negativo (negro) de la batería antes de desconectar el cable positivo (rojo).
Un enrutado incorrecto de los cables de la batería podría dañar la máquina y los cables, causando chispas. Las chispas podrían hacer explotar los gases de la batería, causando lesiones personales.
Conecte siempre el cable positivo (rojo) de la batería antes de conectar el cable negativo (negro).
Los bornes de la batería o una herramienta metálica podrían hacer cortocircuito si entran en contacto con los componentes metálicos de la máquina, causando chispas. Las chispas podrían hacer explotar los gases de la batería, causando lesiones personales.
Al retirar o colocar la batería, no deje que los bornes toquen ninguna parte metálica de la máquina.
No deje que las herramientas metálicas hagan cortocircuito entre los bornes de la batería y las partes metálicas de la máquina.
Desconecte la batería; consulte Desconexión de la batería.
Retire las tuercas de orejeta y las varillas que sujetan la batería a la plataforma (Figura 45) y retire la batería.

Conecte un cargador de batería de 2 a 4 amperios a los bornes de la batería. Cargue la batería durante al menos 2 horas a 4 amperios o durante al menos 4 horas a 2 amperios, hasta que la gravedad específica sea de 1,250 o más y la temperatura sea de al menos 16 °C con todas las celdas liberando gas.
El proceso de carga de la batería produce gases que pueden explotar.
No fume nunca cerca de la batería, y mantenga alejados de la batería chispas y llamas.
Important: Si no carga la batería durante al menos el tiempo especificado en este paso, puede reducir la vida útil de la batería.
Cuando la batería esté cargada, desconecte el cargador de la toma de electricidad, luego de los bornes de la batería.
Coloque la batería en la bandeja y sujétela con las varillas y las fijaciones que retiró anteriormente (Figura 45).
Conecte la batería; consulte Conexión de la batería.
Si es necesario arrancar la máquina con la batería de otro vehículo, puede utilizarse el borne positivo alternativo (situado en el solenoide del motor de arranque) en lugar del borne positivo de la batería (Figura 48).

| Intervalo de mantenimiento y servicio | Procedimiento de mantenimiento |
|---|---|
| Cada vez que se utilice o diariamente |
|
Varíe la presión de las 3 ruedas, dependiendo de las condiciones del césped, desde un mínimo de 0,83 bar a un máximo de 1,10 bar.
| Intervalo de mantenimiento y servicio | Procedimiento de mantenimiento |
|---|---|
| Después de la primera hora |
|
| Después de las primeras 10 horas |
|
| Cada 200 horas |
|
Si no se mantienen correctamente apretadas las tuercas de las ruedas, podrían producirse lesiones personales.
Apriete las tuercas de las ruedas al par especificado en los intervalos especificados.
Especificación del par de apriete de las tuercas de las ruedas:95 a 122 N·m
Note: Para asegurar una distribución uniforme, apriete las tuercas de las ruedas siguiendo un patrón en forma de X.
Si la máquina se desplaza cuando el pedal de control de tracción está en PUNTO MUERTO, ajuste el mecanismo de retorno a punto muerto.
Asegúrese de que la válvula de desvío está cerrada.
Levante la máquina y apóyela sobre el bastidor de manera que una de las ruedas delanteras esté levantada del suelo.
Note: Si la máquina está equipada con un kit de tracción a 3 ruedas, eleve y bloquee también la rueda trasera.
Arranque el motor, ponga el acelerador en la posición de LENTO y compruebe que la rueda delantera que está levantada del suelo no gira.
Si la rueda está girando, pare el motor y proceda de la manera siguiente:
Afloje la tuerca que sujeta el excéntrico a la parte superior del hidrostato (Figura 49).

Mueva la palanca de control funcional a la posición de PUNTO MUERTO y el acelerador a la posición de LENTO. Arranque el motor.
Gire el excéntrico hasta que no haya movimiento en ningún sentido. Cuando la rueda deje de girar, apriete la tuerca para bloquear el excéntrico y el ajuste (Figura 49). Compruebe el ajuste con el acelerador en las posiciones LENTO y RáPIDO.
Note: Si la rueda sigue girando con el excéntrico en su ajuste máximo, póngase en contacto con su distribuidor Toro autorizado o consulte el Manual de mantenimiento para realizar más ajustes.
El pedal de tracción viene ajustado para la velocidad máxima de transporte, pero puede ser necesario ajustarlo si el pedal hace su recorrido completo antes de llegar al tope, o si se desea reducir la velocidad de transporte.
Para obtener la velocidad máxima de transporte, ponga la palanca de control funcional en la posición de TRANSPORTE y pise el pedal de tracción. Si el pedal toca el tope (Figura 50) antes de que se note tensión en el cable, ajústelo como se indica a continuación:

Ponga la palanca de control funcional en la posición de TRANSPORTE y afloje la contratuerca que fija el tope del pedal a la chapa del suelo (Figura 50).
Apriete el tope del pedal hasta que no esté en contacto con el pedal de tracción.
Siga aplicando una carga ligera sobre el pedal de transporte y ajuste el tope hasta que entre en contacto con la varilla del pedal, y apriete las tuercas.
Important: Asegúrese de que el cable no está demasiado tensado; si lo está, se acortará su vida útil.
Pise el pedal de tracción y afloje la contratuerca que fija el tope del pedal a la chapa del suelo.
Afloje el tope del pedal hasta obtener la velocidad de transporte deseada.
Apriete la contratuerca para afianzar el ajuste del tope.
La velocidad de siega es ajustada en fábrica a 6,1 km/h.
La velocidad de avance puede ajustarse entre 0 y 8 km/h.
Afloje la contratuerca del tornillo de caperuza del muñón (Figura 51).
Afloje la tuerca que fija los soportes de bloqueo y siega de la articulación del pedal.

Gire el perno del muñón en el sentido de las agujas del reloj para reducir la velocidad de siega, y en el sentido contrario para aumentarla.
Apriete la contratuerca del perno del muñón y la tuerca de la articulación del pedal para bloquear el ajuste (Figura 51). Compruebe el funcionamiento, y vuelva a ajustar si es necesario.
| Intervalo de mantenimiento y servicio | Procedimiento de mantenimiento |
|---|---|
| Cada año |
|
Aplique los frenos firmemente y conduzca la máquina, a velocidad de siega, hasta que el olor indique que los frenos están calientes. Puede ser necesario ajustar los frenos después del periodo de rodaje; consulte Ajuste de los frenos.
Si el freno no es capaz de retener la máquina cuando está aparcada, puede ajustar los frenos usando el mecanismo situado junto al tambor del freno. Consulte con su Servicio Técnico Autorizado o remítase al Manual de mantenimiento para obtener más información.
Note: Debe bruñir los frenos cada año; consulte Bruñido de los frenos.
Busque atención médica inmediatamente si el fluido penetra en la piel. Un médico deberá eliminar quirúrgicamente el fluido inyectado en pocas horas.
Asegúrese de que todas las mangueras y líneas de fluido hidráulicos están en buenas condiciones de uso, y que todos los acoplamientos y conexiones hidráulicos están apretados, antes de aplicar presión al sistema hidráulico.
Mantenga el cuerpo y las manos alejados de fugas pequeñas o boquillas que liberan fluido hidráulico a alta presión.
Utilice un cartón o un papel para buscar fugas hidráulicas.
Alivie de manera segura toda presión en el sistema hidráulico antes de realizar trabajo alguno en el sistema hidráulico.
Important: Cualquiera que sea el tipo de fluido hidráulico utilizado, cualquier unidad de tracción que se utilice fuera de los greens, para el verticorte o a temperatura ambiente superior a los 29 °C debe tener instalado un Kit de enfriador de aceite; consulte Instalación del enfriador de aceite.
El depósito se llena en la fábrica con fluido hidráulico de alta calidad. Compruebe el nivel del fluido hidráulico antes de arrancar el motor por primera vez y luego a diario; consulte Comprobación del nivel de fluido hidráulico.
Fluido hidráulico recomendado: fluido hidráulico Toro PX Extended Life, disponible en recipientes de 19 litros o en bidones de 208 litros.
Note: Una máquina que utilice el fluido de recambio recomendado necesita menos cambios de filtro y de fluido.
Fluidos hidráulicos alternativos: si no se encuentra disponible el fluido hidráulico Toro PX Extended Life, puede utilizar otro fluido hidráulico convencional basado en petróleo cuyas especificaciones referentes a todas las propiedades materiales estén dentro de los intervalos relacionados a continuación y que cumpla las normas industriales. No utilice fluidos sintéticos. Consulte a su distribuidor de lubricantes para identificar un producto satisfactorio.
Note: Toro no asume responsabilidad alguna por daños causados por sustituciones no adecuadas, por lo que debe utilizar solamente productos de fabricantes reputados que respalden sus recomendaciones.
| Propiedades de materiales: | ||
| Viscosidad, ASTM D445 | cSt a 40 °C 44 a 48 | |
| Índice de viscosidad ASTM D2270 | 140 o más | |
| Punto de descongelación, ASTM D97 | -37 °C a -45 °C | |
| Especificaciones industriales: | Eaton Vickers 694 (I-286-S, M-2950-S/35VQ25 o M-2952-S) | |
Note: La mayoría de los fluidos hidráulicos son casi incoloros, por lo que es difícil detectar fugas. Está disponible un aditivo de tinte rojo para el fluido hidráulico, en botellas de 20 ml. Una botella es suficiente para 15 a 22 litros de fluido hidráulico. Solicite el N.º de pieza 44-2500 a su distribuidor autorizado Toro.
Important: El fluido hidráulico biodegradable Toro Premium Synthetic es el único fluido sintético biodegradable homologado por Toro. Este fluido es compatible con los elastómeros usados en los sistemas hidráulicos Toro, y es apropiado para un amplio intervalo de temperaturas. Este fluido es compatible con aceites minerales convencionales, pero para obtener la máxima biodegradabilidad y rendimiento es necesario purgar el sistema hidráulico completamente de fluido convencional. Su distribuidor Toro autorizado dispone de este aceite en recipientes de 19 litros o en bidones de 208 litros.
| Intervalo de mantenimiento y servicio | Procedimiento de mantenimiento |
|---|---|
| Cada vez que se utilice o diariamente |
|
El depósito hidráulico se llena en fábrica con aproximadamente 25,7 litros de fluido hidráulico de alta calidad. Cada día, antes de usar la máquina, compruebe el nivel del fluido hidráulico. La máquina tiene una varilla en el depósito de fluido hidráulico (detrás del asiento, en el lado izquierdo) que se utiliza para comprobar el nivel de fluido hidráulico. El fluido debe estar entre las marcas de la varilla; si no es así, añada el fluido apropiado.
Important: Para evitar la contaminación del sistema, limpie la parte superior de los recipientes de fluido hidráulico antes de perforarlos. Asegúrese de que el vertedor y el embudo están limpios.
Coloque la máquina en una superficie nivelada.
Note: Asegúrese de que la máquina se ha enfriado para que el fluido esté frío.
Localice la varilla en la parte superior del depósito hidráulico principal (Figura 52) y continúe con el paso 3.

Retire la varilla y límpiela con un trapo limpio, luego vuelva a enroscar la varilla en el depósito.
Retire la varilla y compruebe el nivel de fluido. Si el fluido está entre las marcas de la varilla, el nivel es correcto. Si el nivel de fluido no está entre las marcas, es necesario añadir fluido.
Retire la varilla del depósito de fluido hidráulico y llene el depósito lentamente con fluido hidráulico de alta calidad del tipo correcto, hasta que el nivel esté entre las dos marcas de la varilla.
Note: No mezcle fluidos.
Coloque el tapón.
Note: Realice una inspección visual detenida de los componentes del sistema hidráulico. Inspeccione los componentes en busca de problemas (por ejemplo, fugas, fijaciones sueltas, piezas que faltan o tuberías incorrectamente enrutadas). Haga las correcciones necesarias.
| Intervalo de mantenimiento y servicio | Procedimiento de mantenimiento |
|---|---|
| Cada 800 horas |
|
| Cada 1000 horas |
|
| Cada 2000 horas |
|
Capacidad de fluido hidráulico: 25,7 litros
Si el fluido se contamina, póngase en contacto con su distribuidor Toro autorizado para purgar el sistema. El fluido contaminado tiene un aspecto lechoso o negro en comparación con el fluido limpio.
Limpie la zona de montaje del filtro (Figura 53). Coloque un recipiente debajo del filtro y retire el filtro.

Note: Si no se va a drenar el fluido, desconecte y tapone la línea hidráulica que va al filtro.
Llene el filtro nuevo con fluido hidráulico del tipo correcto, lubrique la junta y apriételo a mano hasta que la junta entre en contacto con la base del filtro. Luego apriételo ¾ de vuelta más.
Llene el depósito hidráulico con fluido hidráulico; consulte Especificación del fluido hidráulico y Comprobación del nivel de fluido hidráulico.
Arranque la máquina y déjela funcionar al ralentí durante 3 a 5 minutos para hacer circular el aceite y eliminar el aire que esté atrapado en el sistema. Pare el motor y compruebe el nivel de fluido.
Elimine adecuadamente el aceite y el filtro.
| Intervalo de mantenimiento y servicio | Procedimiento de mantenimiento |
|---|---|
| Cada vez que se utilice o diariamente |
|
Las fugas de fluido hidráulico bajo presión pueden penetrar en la piel y causar lesiones.
Busque atención médica inmediatamente si el fluido penetra en la piel.
Asegúrese de que todos los tubos y manguitos hidráulicos están en buenas condiciones, y que todos los acoplamientos y accesorios del sistema hidráulico están apretados, antes de aplicar presión al sistema hidráulico.
Mantenga el cuerpo y las manos alejados de fugas pequeñas o boquillas que liberan fluido hidráulico a alta presión.
Utilice un cartón o un papel para buscar fugas hidráulicas.
Alivie de manera segura toda presión en el sistema hidráulico antes de realizar trabajo alguno en el sistema hidráulico.
Cada día, compruebe que las líneas y mangueras hidráulicas no tienen fugas, que no están dobladas, que los soportes no están sueltos, y que no haya desgaste, elementos sueltos, o deterioro causado por agentes ambientales o químicos. Haga todas las reparaciones necesarias antes de utilizar la máquina.
El sistema de detección de fugas está diseñado para ayudar a detectar rápidamente fugas de fluido del sistema hidráulico. Si el nivel de fluido del depósito hidráulico principal se reduce en 118–177 ml, el interruptor del flotador dentro del depósito se cerrará. Después de una demora de un segundo, suena la alarma, alertando al operador (Figura 56). La expansión del fluido, debida a un calentamiento normal durante la operación de la máquina, hace que se transfiera fluido al depósito de aceite auxiliar. El fluido vuelve al depósito principal cuando se desactiva el interruptor de encendido.



Con la llave de contacto en la posición de CONECTADO, mueva el interruptor del detector de fugas hacia atrás y sujételo allí. Después de la demora de un segundo, debe sonar la alarma.
Suelte el interruptor del detector de fugas.
Ponga la llave de contacto en la posición de CONECTADO. No arranque el motor.
Retire el tapón del depósito hidráulico del cuello del depósito.
Introduzca una varilla o un destornillador limpio en el cuello del depósito y empuje hacia abajo, con cuidado, el flotador del sensor (Figura 57); debe sonar la alarma después de la demora de un segundo.

Suelte el flotador: la alarma debe dejar de sonar.
Instale el tapón del depósito hidráulico.
Ponga la llave de contacto en la posición de DESCONECTADO.
La alarma del detector de fugas puede sonar por una de las siguientes razones:
Se ha producido una fuga de 118 a 177 ml.
El nivel de fluido del depósito principal se ha reducido en 118–177 ml debido a la contracción del fluido al enfriarse.
Si suena la alarma, apague la máquina lo antes posible y compruebe si hay alguna fuga. Si suena la alarma mientras la máquina está en un green, salga del green primero. Determine el lugar de la fuga y repárelo antes de seguir usando la máquina.
Si no encuentra ninguna fuga y sospecha una falsa alarma, mueva la llave de contacto a la posición de DESCONECTADO y espere 1 a 2 minutos para dejar que se estabilicen los niveles de fluido. Luego arranque la máquina y trabaje en una zona menos sensible para confirmar que no existen fugas.
Las falsas alarmas debidas a la contracción del fluido pueden deberse a un ralentí prolongado de la máquina después de la operación normal. Una falsa alarma también puede ocurrir por la operación de la máquina con carga reducida después de un periodo prolongado de trabajo con mayor carga. Para evitar falsas alarmas, pare el motor en lugar de tenerlo al ralentí durante periodos prolongados.
Una cuchilla o una contracuchilla desgastada o dañada puede romperse, y un trozo de la cuchilla podría ser arrojado hacia usted u otra persona, lo que puede provocar lesiones personales graves o la muerte.
Inspeccione periódicamente las cuchillas y las contracuchillas, para asegurarse de que no presentan un desgaste excesivo ni daños.
Tenga cuidado al comprobar las cuchillas. Lleve guantes y extreme las precauciones durante su mantenimiento. Las cuchillas y las contracuchillas solo se pueden cambiar o afilar; no las enderece ni las suelde nunca.
En máquinas con múltiples unidades de corte, tenga cuidado al girar una unidad de corte, ya que puede hacer que giren los molinetes en las otras unidades de corte.
Note: Antes de afilar, ajustar la altura de corte o realizar otros procedimientos de mantenimiento sobre las unidades de corte, guarde los motores de los molinetes de las unidades de corte en el lugar de almacenamiento situado en la parte delantera de los brazos de suspensión para evitar que se dañen.
Important: No eleve la suspensión a la posición de transporte cuando los motores del molinete están en los soportes del bastidor de la máquina. Podrían dañarse los motores o los manguitos.
Important: Cuando sea necesario inclinar la unidad de corte, apoye la parte trasera de la unidad de corte para asegurarse de que las tuercas de los tornillos de ajuste de la barra de asiento no estén apoyadas en la superficie de trabajo (Figura 58).

Desenchufe los conectores de alimentación de las unidades de corte; consulte Conectores de alimentación de las unidades de corte.
Si no desconecta la alimentación de las unidades de corte, alguien podría ponerlas en marcha accidentalmente y causarle heridas muy graves en las manos o en los pies.
Separe siempre los conectores de la alimentación de las unidades de corte antes de trabajar en dichas unidades.
Levante el reposapiés y gírelo hacia arriba, para tener acceso a la posición de la unidad de corte central (Figura 61).
El reposapiés puede atrapar los dedos si se cae y se cierra.
Mantenga los dedos alejados de la zona de asiento del reposapiés mientras esté abierto.

Coloque la unidad de corte debajo del brazo de suspensión central.
Con los enganches del brazo de suspensión orientados hacia arriba (es decir, abiertos (Figura 62), empuje hacia abajo el brazo de suspensión de modo que la barra encaje en la barra situada en la parte superior de la unidad de corte (Figura 63).


Presione los enganches hacia abajo alrededor de la barra de la unidad de corte y bloquéelas (Figura 62).
Note: Puede escuchar y sentir un “clic” cuando los enganches se cierren y bloqueen correctamente.
Cubra el eje acanalado del motor de la unidad de corte con grasa limpia (Figura 64).
Introduzca el motor en el lado izquierdo de la unidad de corte (visto desde el puesto del operador) y tire de la barra de retención del motor en la unidad de corte hacia el motor hasta que oiga un “clic” en ambos lados del motor (Figura 64).

Monte un recogedor en los ganchos del brazo de suspensión.
Repita el procedimiento en las otras unidades de corte.
Enchufe los conectores de alimentación de las unidades de corte; consulte Conectores de alimentación de las unidades de corte.
Desenchufe los conectores de alimentación de las unidades de corte; consulte Conectores de alimentación de las unidades de corte.
Si no desconecta la alimentación de las unidades de corte, alguien podría ponerlas en marcha accidentalmente y causarle heridas muy graves en las manos o en los pies.
Separe siempre los conectores de la alimentación de las unidades de corte antes de trabajar en dichas unidades.
Aparque la máquina en una superficie nivelada y limpia, baje las unidades de corte al suelo hasta que el sistema hidráulico de la suspensión esté totalmente extendido, apague el motor y accione el freno de estacionamiento.
Retire la barra de retención del motor de las ranuras del motor, hacia la unidad de corte, y retire el motor de la unidad de corte.

Mueva el motor al lugar de almacenamiento en la parte delantera del brazo de suspensión (Figura 66).

Note: Antes de afilar, ajustar la altura de corte o realizar otros procedimientos de mantenimiento sobre las unidades de corte, guarde los motores de los molinetes de las unidades de corte en el lugar de almacenamiento situado en la parte delantera de los brazos de suspensión para evitar que se dañen.
Important: No eleve la suspensión a la posición de transporte cuando los motores del molinete están en los soportes del bastidor de la máquina. Podrían dañarse los motores o las mangueras. Si es necesario trasladar la unidad de tracción sin tener instaladas las unidades de corte, sujételas a los brazos de suspensión usando bridas.
Abra los enganches de la barra del brazo de suspensión de la unidad de corte que está retirando (Figura 62).
Desconecte los enganches de la barra de la unidad de corte.
Retire la unidad de corte de debajo del brazo de suspensión.
Repita los pasos 3 a 7 en las demás unidades de corte.
Enchufe los conectores de alimentación de las unidades de corte; consulte Conectores de alimentación de las unidades de corte.
| Intervalo de mantenimiento y servicio | Procedimiento de mantenimiento |
|---|---|
| Cada vez que se utilice o diariamente |
|
Cada día, antes de usar la máquina, compruebe el contacto entre el molinete y la contracuchilla, aunque anteriormente la calidad de corte haya sido aceptable. Debe haber un contacto ligero en toda la longitud del molinete y la contracuchilla; consulte el Manual del operador de la unidad de corte.
Antes de comprobar los molinetes, desenchufe los conectores de alimentación de las unidades de corte; consulte Conectores de alimentación de las unidades de corte. Cuando haya terminado, vuélvalos a conectar.
El contacto con los molinetes u otras piezas en movimiento puede causar lesiones personales.
Mantenga las manos, los pies y la ropa alejados de los molinetes u otras piezas en movimiento.
No intente nunca girar los molinetes con la mano o con el pie con el motor en marcha.
Aparque la máquina en una superficie nivelada, baje las unidades de corte, pare el motor y ponga el freno de estacionamiento.
Retire la cubierta de plástico en el lado izquierdo del asiento.
Realice los ajustes iniciales de molinete a contracuchilla apropiados para el autoafilado en todas las unidades de corte que se vayan a autoafilar; consulte el Manual del operador de la unidad de corte.
Arranque el motor y déjelo funcionar a velocidad de ralentí bajo. Si el motor se cala, aumente la velocidad del motor.
En el control de InfoCenter, en el menú MANTENIMIENTO, seleccione AUTOAFILADO.
Ajuste AUTOAFILADO en CONECTADO.
Vaya al Menú principal y desplácese hasta Ajustes.
En el menú AJUSTES, vaya a VELOCIDAD DE AUTOAFILADO y utilice el botón ± para establecer la velocidad de autoafilado que desee.
Con la palanca de control funcional en la posición de PUNTO MUERTO, mueva hacia adelante el control de elevación/bajada de las unidades de corte para iniciar la operación de autoafilado en los molinetes seleccionados.
Aplique pasta de autoafilado con un cepillo de mango largo. No utilice nunca una brocha de mango corto.
Si los molinetes se atascan o si la velocidad no es estable durante el autoafilado, seleccione una velocidad más alta hasta que la velocidad se estabilice.
Para ajustar las unidades de corte durante el autoafilado, pare los molinetes moviendo hacia atrás el control de elevación/bajada de las unidades de corte y apague el motor. Una vez completados los ajustes, repita los pasos4 a 10.
Repita el procedimiento para todas las unidades de corte que desea autoafilar.
Cuando acabe, vuelva a ajustar en el InfoCenter el ajuste de AUTOAFILADO a DESCONECTADO o bien gire la llave de contacto a la posición de DESCONECTADO para que la máquina vuelva a la operación de corte hacia delante.
Lave las unidades de corte para eliminar toda la pasta de autoafilado. Ajuste el molinete de la unidad de corte a la contracuchilla según sea necesario. Mueva el control de velocidad de los molinetes de la unidad de corte a la posición de siega deseada.
Si usted va a almacenar la máquina durante un periodo de tiempo prolongado, siga estos pasos:
Apague la máquina, retire la llave y espere a que se detenga todo movimiento antes de dejar el puesto del operador. Deje que la máquina se enfríe antes de realizar ajustes, tareas de mantenimiento y de limpieza o de guardarla.
No guarde la máquina o un recipiente de combustible en un lugar donde pudiera haber una llama desnuda, chispas o una llama piloto, por ejemplo en un calentador de agua u otro electrodoméstico.
Apague siempre el motor, retire la llave (si dispone de ella), espere a que se detengan todas las piezas en movimiento y deje que la máquina se enfríe antes de ajustarla, limpiarla, guardarla o repararla.
Retire cualquier acumulación de suciedad y recortes de hierba. Afile los molinetes y las contracuchillas, si es necesario; consulte el Manual del operador de la unidad de corte. Unte las contracuchillas y las cuchillas de los molinetes con un anticorrosivo. Lubrique todos los puntos de engrase.
Eleve y apoye la máquina para que su peso no descanse sobre los neumáticos.
Cambie el fluido hidráulico y el filtro. Inspeccione los tubos y los acoplamientos hidráulicos y sustituya las piezas dañadas o desgastadas, tal y como sea necesario. Consulte Comprobación de líneas y mangueras hidráulicas, Comprobación del nivel de fluido hidráulico y Cambio del fluido hidráulico y del filtro.
El depósito de combustible debe quedar vacío. Ponga en marcha el motor hasta que se apague. Cambie el filtro de combustible, consulte Cambio del filtro de combustible.
Con el motor todavía caliente, drene el aceite del cárter. Vuelva a llenar con aceite limpio; consulte Cambio del aceite de motor y el filtro.
Retire las bujías, vierta 30 ml de aceite SAE 30 en los cilindros y haga girar lentamente el motor para distribuir el aceite. Cambie las bujías; consulte Cambio de las bujías.
Limpie la suciedad y la broza del cilindro, de las aletas de la culata y de la carcasa del soplador.
Retire la batería y cárguela completamente; consulte Carga de la batería. Guárdela en una estantería o en la máquina. Deje desconectados los cables si la guarda en la máquina. Guarde la batería en un ambiente fresco para evitar el rápido deterioro de la carga.
Si es posible, almacene la máquina en un lugar cálido y seco.