| Intervalo de mantenimiento y servicio | Procedimiento de mantenimiento |
|---|---|
| Cada vez que se utilice o diariamente |
|
Esta máquina es una minicargadora compacta indicada para utilizarse en diversas actividades de movimientos de tierras y otros materiales en trabajos de jardinería y construcción. Está diseñada para funcionar con una gran variedad de accesorios, cada uno de los cuales realiza una función específica. El uso de este producto para otros propósitos que los previstos podría ser peligroso para usted y para otras personas. No modifique la máquina ni los implementos.
Esta máquina debe ser utilizada, mantenida y reparada únicamente por profesionales que estén familiarizados con sus características y con los procedimientos de seguridad pertinentes.
Utilice esta máquina en temperaturas ambiente de -18 °C a 38 °C. Póngase en contacto con su Servicio Técnico Autorizado si necesita adquirir los materiales necesarios para trabajar en temperaturas extremas.
Lea este manual detenidamente para aprender a utilizar y mantener correctamente su producto, y para evitar lesiones y daños al producto. Usted es responsable de utilizar el producto de forma correcta y segura.
Visite www.Toro.com para buscar materiales de formación y seguridad o información sobre accesorios, para localizar un distribuidor o para registrar su producto.
Cuando necesite asistencia técnica, piezas genuinas Toro o información adicional, póngase en contacto con un Servicio Técnico Autorizado o con Asistencia al Cliente Toro, y tenga a mano los números de modelo y serie de su producto. Figura 1 identifica la ubicación de los números de modelo y serie en el producto. Escriba los números en el espacio provisto.
Important: Con su dispositivo móvil, puede escanear el código QR de la calcomanía del número de serie (si se incluye) para acceder a información sobre la garantía, las piezas y otros datos sobre el producto.

Este manual identifica peligros potenciales y contiene mensajes de seguridad identificados por el símbolo de alerta de seguridad (Figura 2), que señala un peligro que puede causar lesiones graves o la muerte si usted no sigue las precauciones recomendadas.

Este manual utiliza 2 palabras para resaltar información. Importante llama la atención sobre información mecánica especial, y Nota resalta información general que merece una atención especial.
Este producto cumple todas las directivas europeas aplicables; si desea más detalles, consulte la Declaración de Conformidad (Declaration of Conformity – DOC) de cada producto.
El uso o la operación del motor en cualquier terreno forestal, de monte o cubierto de hierba a menos que el motor esté equipado con parachispas (conforme a la definición de la sección 4442) correctamente mantenido en buenas condiciones de funcionamiento, o que el motor haya sido fabricado, equipado y mantenido para la prevención de incendios, constituye una infracción de la legislación de California (California Public Resource Code Section 4442 o 4443).
El manual del propietario del motor (adjunto) ofrece información sobre las normas de la US Environmental Protection Agency (EPA) y de la California Emission Control Regulation sobre sistemas de emisiones, mantenimiento y garantía. Puede solicitarse un manual nuevo al fabricante del motor.
CALIFORNIA
Advertencia de la Propuesta 65
Es sabido por el Estado de California que los gases de escape de los motores diesel y algunos de sus componentes causan cáncer, defectos congénitos y otros peligros para la reproducción.
Los bornes, terminales y otros accesorios de la batería contienen plomo y compuestos de plomo, productos químicos reconocidos por el Estado de California como causantes de cáncer y daños reproductivos. Lávese las manos después de manejar el material.
El uso de este producto puede provocar la exposición a sustancias químicas que el Estado de California considera causantes de cáncer, defectos congénitos u otros trastornos del sistema reproductor.
Puede haber conducciones de servicios enterradas en la zona de trabajo. Si se perforan, pueden causar descargas eléctricas o explosiones.
Marque las áreas de la zona de trabajo que contienen tendidos enterrados, y no excave en las zonas marcadas. Póngase en contacto con su servicio de marcado local o con su compañía de electricidad/agua, etc., para que marquen la finca (por ejemplo, en Estados Unidos, llame al 811, o en Australia, llame al 1100 para contactar con el servicio de marcado nacional).
Siga siempre todas las instrucciones de seguridad con el fin de evitar lesiones corporales graves e incluso la muerte.
No supere la capacidad nominal de trabajo, puesto que la máquina puede desestabilizarse y causar una pérdida de control.
No transporte una carga con los brazos elevados o extendidos; transporte siempre cargas cerca del suelo, con los brazos de carga retraídos.
Las pendientes son una de las principales causas de accidentes por pérdida de control y vuelcos, que pueden causar lesiones graves o la muerte. La conducción de la máquina en cualquier pendiente o terreno irregular requiere extremar la precaución.
Al subir y bajar pendientes, hágalo con el extremo más pesado de la máquina cuesta arriba, la carga cerca del suelo y los brazos de carga retraídos. La distribución del peso varía dependiendo del accesorio. Si el accesorio de carga está vacío, el extremo más pesado de la máquina será la parte trasera y, si el accesorio de carga está lleno, el extremo más pesado será la parte delantera de la máquina. Con la mayoría de los demás implementos, la parte delantera de la máquina será el extremo más pesado.
Marque las áreas de la zona de trabajo que contienen tendidos enterrados y otros objetos, y no excave en las zonas marcadas.
Lea y comprenda el contenido de este Manual del operador antes de arrancar el motor.
Preste toda su atención al manejo de la máquina. No realice ninguna actividad que pudiera distraerle; de lo contrario, podrían producirse lesiones o daños materiales.
No deje nunca que la máquina sea utilizada por niños o por personas que no hayan recibido la formación adecuada.
Mantenga las manos y los pies alejados de componentes e implementos en movimiento.
No haga funcionar la máquina si no están colocados y funcionando los protectores y dispositivos de seguridad.
Mantenga alejados a otras personas y a los animales domésticos de la máquina.
Pare la máquina, apague el motor y retire la llave antes de realizar tareas de mantenimiento o repostaje y antes de eliminar obstrucciones en la máquina.
El uso o mantenimiento incorrecto de esta máquina puede
causar lesiones. Para reducir el peligro de lesiones, cumpla estas
instrucciones de seguridad y preste atención siempre al símbolo
de alerta de seguridad
, que significa: Cuidado, Advertencia o Peligro
– instrucción relativa a la seguridad personal. El incumplimiento
de estas instrucciones puede dar lugar a lesiones personales o la
muerte.
![]() |
Las calcomanías de seguridad e instrucciones están a la vista del operador y están ubicadas cerca de cualquier zona de peligro potencial. Sustituya cualquier calcomanía que esté dañada o que falte. |






























Familiarícese con todos los controles antes de poner en marcha el motor y trabajar con la unidad de tracción.

La llave de contacto, que se utiliza para arrancar y apagar el motor, tiene tres posiciones: PARADA, MARCHA y ARRANQUE.
Los controles de tracción y del brazo de carga se deshabilitan automáticamente cuando la máquina arranca. El freno de estacionamiento se activa automáticamente cuando se apaga la máquina.
Pulse el interruptor para desactivar el freno de estacionamiento y habilitar los controles de tracción y del brazo de carga; pulse el interruptor otra vez para activar el freno de estacionamiento y deshabilitar los controles.
Note: La luz del interruptor se enciende cuando se activa el freno de estacionamiento.

Mantenga el interruptor hacia delante durante 2 segundos o más para ajustar el acelerador en RALENTÍ ALTO; mantenga el interruptor hacia atrás durante 2 segundos o más para ajustar el acelerador en RALENTÍ BAJO; o bien, pulse momentáneamente el interruptor en cualquier dirección para aumentar o reducir la velocidad del motor en incrementos más pequeños.
Al conducir la unidad de tracción, utilice la barra de referencia como manillar y punto de apoyo para controlar el control de la tracción y la palanca del joystick. Para asegurar un funcionamiento suave y controlado, no quite las manos de las barras de referencia mientras utiliza la máquina.

Para desplazarse hacia adelante, mueva el control de tracción hacia adelante.

Para desplazarse hacia atrás, mueva el control de tracción hacia atrás.
Important: Mientras conduzca en marcha atrás, mire hacia atrás para asegurarse de que el camino está despejado, y mantenga ambas manos en la barra de referencia.

Para girar a la derecha, gire el control de tracción en sentido horario.

Para girar a la izquierda, gire el control de tracción en sentido antihorario.

Para detener la máquina, suelte el control de tracción.
Note: Cuanto más mueva el control de tracción en cualquier sentido, más rápido se moverá la máquina en dicha dirección.
Mueva lentamente la palanca para accionar los brazos de carga e inclinar el apero.
Note: La posición de retención (flotar) permite que aperos tales como el nivelador y la pala hidráulica sigan los contornos del terreno (es decir, que 'floten') durante las operaciones de nivelación.

Si mueve la palanca a una posición intermedia (por ejemplo, hacia adelante y a la izquierda), puede mover los brazos de carga e inclinar el implemento al mismo tiempo.

Note: Los brazos de carga puede que no se extiendan cuando están totalmente elevados, debido a que hay presión atrapada; baje los brazos ligeramente para aliviar la presión y poder extenderlos.
Al mover la máquina con los brazos de carga extendidos puede afectar a la estabilidad de la máquina.
Reduzca al mínimo el movimiento de la máquina mientras están extendidos los brazos de carga.
Accione el sistema hidráulico hacia delante o hacia atrás y, a continuación, utilice el pie derecho para pulsar el interruptor de bloqueo para continuar el flujo y liberar la mano para otros controles.

Este indicador mide la cantidad de combustible que queda en el/los depósito(s).

La pantalla LCD del InfoCenter muestra información sobre la máquina como, por ejemplo, el estado operativo, diferentes diagnósticos y otra información sobre la máquina. El InfoCenter tiene una pantalla de presentación y una pantalla principal de información. Puede cambiar entre la pantalla de inicio y la pantalla principal de información en cualquier momento, pulsando cualquiera de los botones del InfoCenter y luego seleccionando la tecla de flecha correspondiente.

Botón izquierdo: Acceso a Menú/Botón Atrás—pulse este botón para acceder a los menús del InfoCenter. Puede usarlo para salir de cualquier menú que esté utilizando.
Botón central—utilice este botón para desplazarse hacia abajo en los menús.
Botón derecho—utilice este botón para abrir un menú si aparece la flecha a la derecha que indica la existencia de contenido adicional.
Note: El propósito de cada botón puede variar dependiendo de lo que se necesite en cada momento. El icono de cada botón indica su función en cada momento.
![]() | Acceso al menú |
![]() | Siguiente |
![]() | Anterior |
![]() | Hacia abajo |
![]() | Introducir |
![]() | Cambiar el valor siguiente de la lista |
![]() | Aumentar |
![]() | Reducir |
![]() | Guardar valor |
![]() | Salir del menú |
![]() | Aceptar |
![]() | La opción está bloqueada. |
![]() | Horímetro |
![]() | Ajustar dígito |
![]() | Advertencia |
![]() | Acceso a la pantalla de velocidad de transporte |
![]() | Rápido |
![]() | Lento |
![]() | Punto muerto |
![]() | Bloqueo auxiliar |
![]() | Arranque frío |
![]() | Freno de estacionamiento |
![]() | Motor |
![]() | Bujías |
![]() | Temperatura del refrigerante del motor |
![]() | Velocidad del motor |
![]() | Voltaje de la batería |
![]() | El sistema Smart Load está activo. |
![]() | Indica cuándo debe realizarse el mantenimiento programado. |
![]() | Es necesario realizar una regeneración del DPF. |
![]() | Se está procesando una regeneración de recuperación o con la máquina aparcada. |
![]() | Alta temperatura de los gases de escape |
![]() | Funcionamiento deficiente del diagnóstico de control de NOx; lleve la máquina al taller y póngase en contacto con su distribuidor Toro autorizado. |
Para entrar en el sistema de menús del InfoCenter, pulse
el botón de acceso a los menús
en la pantalla principal.
Aparecerá el menú principal. Las tablas siguientes contienen
un resumen de las opciones disponibles en cada menú.
| Elemento del menú | Descripción |
|---|---|
| Fallos | El menú Fallos contiene una lista de los fallos recientes de la máquina. Consulte el Manual de mantenimiento o a su distribuidor Toro autorizado si desea obtener más información sobre el menú Fallos y la información que contiene. |
| Service (Mantenimiento) | El menú Mantenimiento contiene información sobre la máquina, como por ejemplo horas de uso y otros datos similares. |
| Diagnostics (Diagnóstico) | El menú Diagnóstico muestra el estado de la salida de cada interruptor, sensor y control de la máquina. Puede utilizar esta información para identificar y resolver algunos problemas, puesto que indica rápidamente qué controles de la máquina están activados/encendidos, y cuáles están desactivados/apagados. |
| Settings (Ajustes) | El menú Ajustes le permite personalizar y modificar las variables de ajustes de la pantalla del InfoCenter. |
| About (Acerca de) | El menú Acerca de muestra el número de modelo, el número de serie y la versión del software de su máquina. |
| Elemento del menú | Descripción |
|---|---|
| Hours (Horas) | Muestra el número total de horas durante las que la máquina, el motor y el sistema hidráulico auxiliar han estado encendidos, así como el número de horas de servicio del motor y del sistema hidráulico. |
| Counts (Recuentos) | Enumera la cantidad de arranques que ha experimentado la máquina, el número de veces que la máquina ha advertido de que la temperatura del motor es demasiado alta y el número de veces que el motor se ha apagado debido a altas temperaturas. |
| DPF Regeneration (Regeneración del DPF) | La opción de DPF y los submenús de DPF. |
| Inhibit Regen (Inhibir regeneración) | Se utiliza para controlar la regeneración de restablecimiento. |
| Parked Regen (Regeneración con máquina aparcada) | Se utiliza para iniciar una regeneración con la máquina aparcada. |
| Last Regen (Última regeneración) | Enumera las horas desde la última regeneración de restablecimiento, con la máquina aparcada o de recuperación. |
| Recover Regen (Regeneración de recuperación) | Se utiliza para iniciar una regeneración de recuperación. |
| Elemento del menú | Descripción |
|---|---|
| Traction (Tracción) | Indica las entradas y salidas para la conducción de la máquina. |
| Auxiliary (Auxiliar) | Indica las entradas y salidas para accionar el sistema hidráulico auxiliar. |
| Engine (Motor) | Indica las entradas y salidas para el arranque de la máquina. |
| Boom (Brazo) | Indica las entradas y salidas para extender y retraer los brazos telescópicos. |
| Elemento del menú | Descripción |
|---|---|
| Unidades | Controla las unidades utilizadas en el InfoCenter. Las opciones en el menú son sistema métrico o imperial. |
| Idioma | Controla el idioma utilizado en el InfoCenter. |
| Brightness (Brillo) | Controla el brillo de la pantalla LCD. |
| Contrast (Contraste) | Controla el contraste de la pantalla LCD. |
| Menús protegidos | Permite acceder a los menús protegidos. |
| Ajustes de protección | Cambia si se necesita o no un código PIN en los menús protegidos. |
| Elemento del menú | Descripción |
|---|---|
| Model (Modelo) | Muestra el número de modelo de la máquina |
| Serial (Serie) | Muestra el número de serie de la máquina |
| Software | Indica la versión del software del sistema de la máquina. |
| Display (Pantalla) | Indica la versión de software de la pantalla del InfoCenter. |
Note: El código PIN predeterminado para su máquina es 0000 o 1234.Si cambió su código PIN y olvidó el código, póngase en contacto con su Servicio Técnico Autorizado para obtener ayuda.
En el MENú PRINCIPAL, utilice el botón central para desplazarse hacia abajo al menú AJUSTES y pulse el botón derecho.

En el menú AJUSTES, desplácese hacia abajo hasta el menú MENúS PROTEGIDOS y pulse el botón derecho.

Para introducir el código PIN, pulse el botón central hasta que aparezca el primer dígito correcto, luego pulse el botón derecho para desplazarse al dígito siguiente. Repita este paso hasta que haya introducido el último dígito, y pulse el botón derecho una vez más.

Pulse el botón central para confirmar el código PIN.
Note: Si el InfoCenter acepta el código PIN y el menú protegido se desbloquea, la palabra “PIN" aparece en la esquina superior derecha de la pantalla.
Puede ver y modificar los ajustes en el MENú PROTEGIDO. Una vez que haya accedido al MENú PROTEGIDO, baje a AJUSTES DE PROTECCIóN. Utilice el botón derecho para cambiar el ajuste. Si desactiva (OFF) Proteger configuración podrá ver y modificar los ajustes del MENú PROTEGIDO sin introducir el código PIN. Si activa (ON) Ajustes de protección se ocultan las opciones protegidas y es necesario introducir el código PIN para modificar el ajuste en el MENú PROTEGIDO.
Note: Las especificaciones y el diseño están sujetos a modificación sin previo aviso.
| Anchura | 116,8 cm |
| Longitud | 215,6 cm |
| Altura | 143,5 cm |
| Peso | 1750 kg |
| Capacidad operativa (35 % de capacidad de vuelco1) | |
| 589,7 kg |
| 280 kg | |
| Capacidad de vuelco1 | |
| 1685 kg |
| 792 kg | |
| Distancia entre ejes | 99,1 cm |
| Altura de volcado (con cazo de serie) | |
| 180,1 cm |
| 230,3 cm | |
| Alcance – elevación máxima (con cazo de serie) | |
| 33,5 cm |
| 67,8 cm | |
| Altura hasta el pasador de la bisagra (cazo de serie en posición de elevación máxima) | |
| 227,1 cm |
| 277,3 cm |
1. La capacidad operativa se calcula como el 35 % de la capacidad de volcado con un cazo de serie y un peso del operador de 75 kg, según la norma ISO 14397-1. Otros accesorios tendrán distintas capacidades operativas; consulte el Manual del operador o la pegatina de capacidad de carga del accesorio.
Se encuentra disponible una selección de aperos y accesorios fabricados por Toro que se pueden utilizar con la máquina para potenciar y aumentar sus prestaciones. Póngase en contacto con su servicio técnico autorizado o con su distribuidor Toro autorizado, o bien visite www.Toro.com para obtener una lista de todos los aperos y accesorios fabricados por Toro.
Para garantizar un rendimiento óptimo, utilice piezas de repuesto y accesorios genuinos de Toro. Toro no acepta responsabilidad alguna por daños en la máquina o lesiones personales que resulten del uso de aperos de otros fabricantes. El usuario acepta la carga de estos riesgos.
Note: Los lados derecho e izquierdo de la máquina se determinan desde la posición normal del operador.
No deje nunca que la máquina la utilicen o mantengan niños o personas que no hayan recibido la formación adecuada. La normativa local puede imponer límites sobre la edad del operador o requerir que éste haya recibido una formación homologada. El propietario es responsable de proporcionar formación a todos los operarios y mecánicos.
Familiarícese con la operación segura del equipo, los controles del operador y las calcomanías de seguridad.
Accione siempre el freno de estacionamiento (si está equipado), apague el motor, retire la llave, espere a que se detengan todas las piezas en movimiento y deje que la máquina se enfríe antes de ajustarla, revisarla, limpiarla o guardarla.
Sepa cómo parar rápidamente la máquina y apagar el motor.
Compruebe que los controles de presencia del operador, los interruptores de seguridad y los protectores de seguridad están instalados y que funcionan correctamente. No utilice la máquina si no funcionan correctamente.
Localice las zonas de aprisionamiento señaladas en la máquina y en los implementos, y mantenga los pies y las manos alejados de estas zonas.
Antes de utilizar la máquina con un implemento, asegúrese de que el implemento ha sido instalado correctamente y que es un implemento Toro genuino. Lea los manuales de todos los implementos.
Evalúe el terreno para determinar los implementos y accesorios necesarios para realizar el trabajo de manera correcta y segura.
Haga que se marquen las áreas de la zona de trabajo que contienen tendidos enterrados y otros objetos, y no excave en las zonas marcadas; anote la posición de obstáculos y estructuras sin señalizar, como pueden ser tanques de almacenamiento subterráneo, pozos o fosas sépticas.
Inspeccione la zona en la que va a utilizar el equipo en busca de superficies irregulares o peligros ocultos.
Asegúrese de que no haya nadie en la zona antes de poner en marcha la máquina. Pare la máquina si alguien entra en la zona.
Extreme las precauciones al manejar el combustible. Es inflamable y sus vapores son explosivos.
Apague cualquier cigarrillo, cigarro, pipa u otra fuente de ignición.
Utilice solamente un recipiente de combustible homologado.
No retire el tapón de combustible ni rellene de combustible el depósito mientras el motor está en marcha o está caliente.
No añada ni drene combustible en un lugar cerrado.
No guarde la máquina o un recipiente de combustible en un lugar donde pudiera haber una llama desnuda, chispas o una llama piloto, por ejemplo en un calentador de agua u otro electrodoméstico.
Si se derrama combustible, no intente arrancar el motor; evite crear fuentes de ignición hasta que los vapores del combustible se hayan disipado.
Para evitar que una carga estática incendie el combustible, retire la máquina del camión o del remolque y repóstela en el suelo, alejada de todos los vehículos. Si no es posible, coloque un recipiente portátil de combustible en el suelo, alejado de todos los vehículos y llénelo; a continuación, reposte la máquina con el recipiente en lugar de un surtidor de combustible.
Mantenga la boquilla en contacto con el borde del depósito de combustible o el orificio del recipiente en todo momento hasta que termine de repostar. No utilice dispositivos que mantengan abierta la boquilla.
Utilice solamente combustible diésel o biodiésel fresco y limpio, muy bajo en azufre (<15 ppm). El número mínimo de octanos debe ser de 45. Se recomienda un número de octanos superior a 50, sobre todo a temperaturas inferiores a -20 °C o a altitudes superiores a 1500 m. Compre el combustible en cantidades que puedan ser consumidas en 180 días para asegurarse de que el combustible es nuevo.
El uso de un combustible que no sea ultrabajo en azufre dañará el sistema de emisiones del motor.
Utilice combustible diésel tipo verano (N.º 2-D o N.º 2-D S15) a temperaturas superiores a -10 °C y combustible diésel tipo invierno (N.º 1-D o N.º 1-D S15) a temperaturas inferiores. El uso de combustible tipo invierno a bajas temperaturas proporciona un punto de inflamación menor y características de flujo en frío que facilitarán el arranque y reducirán la obturación del filtro del combustible.
El uso de combustible tipo verano con temperaturas por encima de los -10 °C contribuye a alargar la vida útil de la bomba de combustible y a incrementar la potencia en comparación con el combustible tipo invierno.
Important: No utilice queroseno o gasolina en lugar de combustible diésel. El incumplimiento de esta precaución dañará el motor.
Esta máquina también puede utilizar una mezcla de combustible biodiésel de hasta B5 (5 % biodiésel, 95 % petrodiésel). La porción de petrodiésel debe ser bajo o ultrabajo en azufre. Tome las siguientes precauciones:
La parte de biodiésel del combustible deberá cumplir con la especificación ASTM D6751 o EN 14214.
La composición de la mezcla de combustible debe cumplir la norma ASTM D975 o EN 590.
Las superficies pintadas pueden ser dañadas por mezclas de combustible biodiésel.
Utilice B5 (contenido de biodiésel del 5%) o mezclas menores cuando hace frío.
Vigile los retenes, las mangueras y las juntas que estén en contacto con el combustible porque pueden degradarse con el tiempo.
El filtro de combustible puede obstruirse durante cierto tiempo después de la conversión a una mezcla de biodiésel.
Póngase en contacto con su distribuidor si desea más información acerca del biodiésel.
Capacidad del depósito de combustible: 43,5 litros
Aparque la máquina en una superficie nivelada, ponga el freno de estacionamiento y baje los brazos de carga.
Apague el motor y retire la llave.
Levante el soporte.

Retire el tapón de combustible.
Llene el depósito con combustible hasta el cuello de llenado.
Coloque el tapón.
Baje el soporte.
Cada día, antes de arrancar la máquina, siga los procedimientos marcados como "Cada uso/A diario" en la sección de .
Important: Compruebe el nivel de fluido hidráulico, y purgue el sistema de combustible antes de arrancar el motor por primera vez; consulte Comprobación del nivel de fluido hidráulico y Purga del sistema de combustible.
No supere la capacidad nominal de trabajo, puesto que la máquina puede desestabilizarse y causar una pérdida de control. La capacidad operativa se reduce si extiende los brazos de carga hasta el punto en que pueda ver la pegatina rayada dentro de los brazos.
No transporte un apero/una carga con los brazos elevados o extendidos; transporte siempre los accesorios/la carga cerca del suelo, con los brazos de carga retraídos.
Los implementos pueden cambiar la estabilidad y las características operativas de la máquina.
Máquinas con plataforma:
Baje los brazos de carga antes de bajarse de la plataforma.
No intente estabilizar la máquina poniendo el pie en el suelo. Si usted pierde el control de la máquina, bájese de la plataforma y aléjese de la máquina.
No coloque los pies debajo de la plataforma.
No mueva la máquina a menos que esté de pie con ambos pies en la plataforma, sujetando las barras de referencia o el control de la cargadora con las manos.
Preste toda su atención al manejo de la máquina. No realice ninguna actividad que pudiera distraerle; de lo contrario, podrían producirse lesiones o daños materiales.
Mire hacia atrás y hacia abajo antes de conducir hacia atrás, para asegurarse de que el camino está despejado.
Nunca mueva bruscamente los controles; utilice movimientos suaves y continuos.
El propietario/usuario puede prevenir, y es responsable de, cualquier accidente que pueda causar lesiones personales o daños materiales.
Lleve ropa adecuada, incluida protección ocular, pantalón largo, calzado resistente y antideslizante y protección auditiva; además, lleve una mascarilla respiratoria o una máscara de polvo en entornos con polvo. Si tiene el pelo largo, recójaselo, y no lleve joyas o prendas sueltas.
No utilice la máquina si está cansado, enfermo o bajo la influencia de alcohol o drogas.
No lleve nunca pasajeros, y no deje que se acerquen a la máquina animales domésticos u otras personas.
Utilice la máquina únicamente con buena luz, alejándose de agujeros y peligros ocultos.
Asegúrese de que todas las transmisiones estén en punto muerto antes de arrancar el motor. Arranque el motor únicamente desde el puesto del operador en la plataforma.
Tenga cuidado al acercarse a esquinas ciegas, arbustos, árboles u otros objetos que puedan dificultar la visión.
Vaya más despacio y tenga cuidado al girar y al cruzar calles y aceras. Esté atento al tráfico.
Pare el apero si usted no está trabajando.
Pare la máquina, apague el motor, retire la llave e inspeccione la máquina después de golpear un objeto. Haga las reparaciones necesarias antes de volver a utilizar la máquina.
No haga funcionar nunca el motor en un lugar cerrado.
No deje nunca desatendida la máquina si está en marcha.
Antes de abandonar el puesto del operador, haga lo siguiente:
Aparque la máquina en una superficie nivelada.
Baje los brazos de carga y desengrane el sistema hidráulico auxiliar.
Accione el freno de estacionamiento.
Apague el motor y retire la llave.
No utilice la máquina cuando exista riesgo de caída de rayos.
Utilice la máquina únicamente en zonas en las que tenga suficiente espacio para maniobrarla con seguridad. Esté atento a obstáculos situados muy cerca de usted. Si no se mantiene a una distancia apropiada de árboles, paredes, muros y otras barreras puede dar lugar a lesiones durante la operación de la máquina en marcha atrás, si usted no está atento a lo que le rodea.
Compruebe que hay espacio suficiente antes de conducir por debajo de cualquier objeto (por ejemplo, cables eléctricos, ramas o portales), y no entre en contacto con ellos.
No sobrecargue el apero y mantenga siempre la carga nivelada mientras eleva los brazos de carga. Los objetos transportados en el implemento podrían caerse, causando lesiones.
Al subir y bajar pendientes, hágalo con el extremo más pesado de la máquina cuesta arriba. La distribución del peso varía dependiendo del implemento. Si el accesorio de carga está vacío, el extremo más pesado de la máquina será la parte trasera y, si el accesorio de carga está lleno, el extremo más pesado será la parte delantera de la máquina. Con la mayoría de los demás accesorios, la parte delantera de la máquina será el extremo más pesado.
La elevación o la extensión de los brazos de carga en una pendiente afecta a la estabilidad de la máquina. Mantenga los brazos de carga en posición bajada y retraída mientras esté en pendientes.
Las pendientes son un factor de primera importancia relacionado con los accidentes por pérdida de control y vuelcos, que pueden causar lesiones graves o la muerte. La conducción de la máquina en cualquier pendiente o terreno irregular requiere extremar la precaución.
Establezca sus propios procedimientos y reglas para trabajar en pendientes. Estos procedimientos deben incluir un estudio del lugar de trabajo para determinar en qué cuestas o pendientes es seguro trabajar con la máquina. Utilice siempre el sentido común y el buen juicio al realizar este estudio.
Vaya más despacio y extreme la precaución en las pendientes. Las condiciones del suelo pueden afectar a la estabilidad de la máquina.
Evite arrancar o parar en una cuesta o pendiente. Si la máquina pierde tracción, vaya lentamente, cuesta abajo, en línea recta.
Evite girar en pendientes y cuestas. Si es imprescindible girar, hágalo lentamente y mantenga el extremo más pesado de la máquina cuesta arriba.
Haga todos los movimientos en cuestas y pendientes de forma lenta y gradual. No haga cambios bruscos de velocidad o de dirección.
Si no se siente cómodo usando la máquina en una pendiente, no lo haga.
Esté atento a baches, surcos o montículos, puesto que un terreno desigual puede hacer que la máquina vuelque. La hierba alta puede ocultar obstáculos.
Extreme las precauciones al utilizar la máquina sobre superficies mojadas. Una reducción en la tracción podría causar derrapes.
Evalúe el área para garantizar que el terreno es lo suficientemente estable para sostener la máquina.
Tenga cuidado al utilizar la máquina cerca de las siguientes áreas:
Terraplenes
Fosas
Taludes
Masas de agua
La máquina podría volcar repentinamente si una oruga pasa por un borde o si se desploma el borde. Mantenga una distancia segura entre la máquina y cualquier peligro.
No desmonte ni monte implementos en una pendiente.
No aparque la máquina en una cuesta o pendiente.
Si golpea una conducción de servicios públicos, realice lo siguiente:
Apague la máquina y retire la llave.
Aleje a todas las personas del área de trabajo.
Avise inmediatamente a los servicios de emergencia y a las compañías de servicios.
Si daña un cable de fibra óptica, no mire a la luz expuesta.
No abandone la plataforma del operador si la máquina está cargada con electricidad. Estará seguro mientras permanezca en la plataforma.
El contacto con cualquier parte de la máquina puede cerrar el circuito a tierra.
No deje que otras personas toquen o se acerquen a la máquina si está cargada.
Dé por sentado siempre que la máquina está cargada si golpea una conducción eléctrica o de comunicación. No intente abandonar la máquina.
Las fugas de gas son inflamables y explosivas y pueden causar lesiones graves o la muerte. No fume mientras trabaja con la máquina.
Compruebe que el interruptor de desconexión de la batería está en posición de ACTIVADO; consulte Uso del interruptor de desconexión de la batería.
Asegúrese de que el control de tracción está en la posición de PUNTO MUERTO.
Introduzca la llave en el interruptor de encendido y gírela a la posición de CONECTADO. Deje que las bujías precalienten el motor.
Gire la llave de contacto a la posición de ARRANQUE. Cuando el motor arranque, suelte la llave.
Important: No active el motor de arranque durante más de 10 segundos cada vez. Si el motor no arranca, espere 30 segundos entre intentos para que el motor de arranque se enfríe. Si no se siguen estas instrucciones, puede quemarse el motor de arranque.
Si la temperatura exterior está por debajo de 0 C, almacene la máquina en un garaje para mantenerla caliente y facilitar el arranque.
El software de la máquina puede limitar automáticamente las rpm del motor si el refrigerante está extremadamente frío. Tras arrancar el motor, espere a que desaparezcan el icono del copo de nieve y la advertencia de fluido hidráulico frío del InfoCenter antes de aumentar la aceleración y de accionar el sistema hidráulico auxiliar.
Important: Si se hace funcionar el motor a alta velocidad cuando el sistema hidráulico está frío (por ejemplo, cuando la temperatura del aire ambiente es de 0 °C o menos), pueden producirse daños en el sistema hidráulico.
Utilice los controles de tracción para desplazar la máquina. Cuanto más mueva los controles de tracción en cualquier sentido, más rápido se moverá la máquina en dicha dirección. Suelte los controles de tracción para detener la máquina.
El control del acelerador regula la velocidad del motor en rpm (revoluciones por minuto). Haga funcionar el motor con el acelerador alto para obtener el mejor rendimiento.
Aparque la máquina en una superficie nivelada y baje los brazos de carga.
Desengrane el sistema hidráulico auxiliar.
Ponga el acelerador en ralentí bajo.
Si el motor ha estado funcionando durante mucho tiempo o si está muy caliente, déjelo funcionar en ralentí durante 5 minutos antes de girar el interruptor de encendido a la posición de DESCONECTADO.
Note: Esto ayuda a enfriar el motor antes de apagarlo. En una situación de emergencia, puede apagar el motor inmediatamente.
Gire la llave de contacto a la posición de DESCONECTADO y retire la llave.
Un niño u otra persona no preparada podría intentar operar la unidad de tracción y lesionarse.
Retire la llave del interruptor siempre que deje la unidad de tracción desatendida, aunque sea por pocos segundos.
Important: Utilice solamente implementos homologados por Toro. Los implementos pueden cambiar la estabilidad y las características operativas de la máquina. La garantía de la máquina puede quedar anulada si se utiliza la máquina con implementos no homologados.
Important: Antes de instalar el implemento, asegúrese de que las placas de montaje están libres de suciedad o residuos y de que los pasadores se mueven libremente. Si los pasadores no se mueven libremente, engráselos.
Coloque el implemento en una superficie nivelada con suficiente espacio detrás para colocar la máquina.
Arranque el motor.
Incline hacia adelante la placa de montaje del implemento.
Coloque la placa de montaje debajo del reborde superior de la placa receptora del implemento.

Eleve los brazos de carga, inclinando hacia atrás la placa de montaje al mismo tiempo.
Important: El apero debe elevarse lo suficiente para que no toque el suelo, y la placa de montaje debe inclinarse hacia atrás hasta hacer tope.
Apague el motor y retire la llave.
Acople los pasadores de enganche rápido, asegurándose de que están correctamente introducidos hasta el fondo en la placa de montaje.
Important: Si los pasadores no giran a la posición de engranado, la placa de montaje no está correctamente alineada con los taladros de la placa receptora del implemento. Compruebe la placa receptora y límpiela si es necesario.
Si los pasadores de enganche rápido no pasan completamente a través de la placa de montaje del implemento, el implemento podría caerse de la máquina, aplastándole a usted o a otra persona.
Asegúrese de que los pasadores de enganche rápido están correctamente introducidos en la placa de montaje del implemento.

Las fugas de fluido hidráulico bajo presión pueden penetrar en la piel y causar lesiones. Cualquier fluido inyectado bajo la piel debe ser eliminado quirúrgicamente en unas horas por un médico familiarizado con este tipo de lesión, de lo contrario podría producirse gangrena.
Asegúrese de que todas las mangueras y líneas de fluido hidráulico están en buenas condiciones de uso, y que todos los acoplamientos y conexiones hidráulicos están apretados, antes de aplicar presión al sistema hidráulico.
Mantenga el cuerpo y las manos alejados de fugas pequeñas o de boquillas que liberan fluido hidráulico a alta presión.
Utilice un cartón o un papel para buscar fugas hidráulicas; no utilice nunca las manos.
Los acoplamientos hidráulicos, las mangueras/válvulas hidráulicos y el fluido hidráulico pueden estar calientes. Si usted toca un componente caliente, puede quemarse.
Lleve guantes al manejar los acoplamientos hidráulicos.
Deje que la máquina se enfríe antes de tocar los componentes hidráulicos.
No toque los derrames de fluido hidráulico.
Si el accesorio requiere el sistema hidráulico para su operación, conecte las mangueras hidráulicas de la manera siguiente:
Apague el motor y retire la llave.
Retire los protectores de los conectores hidráulicos de la máquina.
Asegúrese de limpiar cualquier materia extraña de los conectores hidráulicos.
Enchufe el conector macho del implemento en el conector hembra de la máquina.
Note: Al conectar primero el conector macho del implemento, se alivia cualquier presión residual en el implemento.
Enchufe el conector hembra del implemento en el conector macho de la máquina.
Confirme que la conexión es segura tirando de las mangueras.
Aparque la máquina en una superficie nivelada.
Baje el apero al suelo.
Apague el motor y retire la llave.
Desacople los pasadores de enganche rápido girándolos hacia fuera.

Si el implemento utiliza el sistema hidráulico, deslice hacia atrás los collarines de los acoplamientos hidráulicos y desconéctelos.
Important: Conecte entre sí las mangueras del implemento para evitar la contaminación del sistema hidráulico durante el almacenamiento.
Instale los tapones de protección en los acoplamientos hidráulicos de la máquina.
Arranque el motor, incline hacia adelante la placa de montaje, y aleje la máquina del apero en marcha atrás.
El sistema Smart Load además mide la presión hidráulica en los cilindros de los brazos de carga para determinar el alcance máximo.
Al extender los brazos de carga al alcance máximo para la altura del brazo y el peso de la carga, el InfoCenter mostrará el icono de Smart Load y hará parpadear el indicador, sonará una alarma y los brazos dejarán de extenderse.
Para extender más los brazos de carga, aligere la carga.

El filtro de partículas diésel (DPF) es parte del sistema de escape. El catalizador de oxidación diésel del DPF reduce los gases dañinos y el filtro de hollín elimina el hollín de los gases de escape del motor.
El proceso de regeneración del DPF utiliza el calor de los gases de escape del motor para incinerar el hollín acumulado en el filtro, con lo que convierte el hollín en ceniza, y limpia los canales del filtro de hollín para que los gases de escape filtrados del motor salgan del DPF.
El ordenador del motor supervisa la acumulación de hollín midiendo la contrapresión en el DPF. Si la contrapresión es demasiado alta, el hollín no se está incinerando en el filtro de hollín mediante el funcionamiento normal del motor Para mantener el DPF libre de hollín, recuerde lo siguiente:
La regeneración pasiva se produce continuamente mientras el motor está en funcionamiento: accione el motor a velocidad máxima cuando sea posible para fomentar la regeneración del DPF.
Si la contrapresión del DPF es demasiado alta o no se ha realizado una regeneración de restablecimiento en 100 horas, el ordenador del motor le indica a través del InfoCenter cuando se esté realizando la regeneración de restablecimiento.
Deje que el proceso de regeneración de restablecimiento finalice antes de apagar el motor.
Utilice y mantenga la máquina teniendo en cuenta el funcionamiento del DPF. La carga del motor a velocidad de ralentí alta (velocidad máxima) por lo general produce una temperatura adecuada de los gases de escape para la regeneración del DPF.
Important: Limite el tiempo en el que mantiene a ralentí el motor o en el que lo utiliza a velocidad baja, para contribuir a reducir la acumulación de hollín en el filtro de hollín.
Con el tiempo, el filtro de partículas diésel acumula hollín en el filtro de hollín. El ordenador del motor supervisa el nivel de hollín en el DPF.
Cuando se acumula suficiente hollín, el ordenador le informa de que es el momento de regenerar el DPF.
La regeneración del DPF es un proceso que calienta el DPF para convertir el hollín en ceniza.
Además de los mensajes de advertencia, el ordenador reduce la potencia producida por el motor en distintos niveles de acumulación de hollín.
| Nivel de indicación | Código de fallo | Potencia nominal del motor | Acción recomendada |
| Nivel 1: Advertencia del motor | ![]() Comprobar el motorSPN 3719, FMI 16 | El ordenador reduce la potencia del motor un 85 %. | Realice una regeneración con la máquina aparcada lo antes posible, consulte Realización de una regeneración con la máquina aparcada o de recuperación. |
| Nivel 2: Advertencia del motor | ![]() Comprobar el motorSPN 3719, FMI 0 | El ordenador reduce la potencia del motor un 50%. | Realice una regeneración de recuperación lo antes posible, consulte Realización de una regeneración con la máquina aparcada o de recuperación. |
La ceniza más ligera se descarga a través del sistema de escape; la ceniza más pesada se acumula en el filtro de hollín.
La ceniza es un residuo del proceso de regeneración. Con el tiempo, el filtro de partículas diésel acumula ceniza que no se descarga con los gases de escape del motor.
El ordenador del motor calcula la cantidad de ceniza acumulada en el DPF.
Cuando se acumula suficiente ceniza, el ordenador del motor envía la información al InfoCenter en forma de fallo del motor, para indicar la acumulación de ceniza en el DPF.
Los mensajes de fallos indican que es el momento de realizar el mantenimiento del DPF.
Además de las advertencias, el ordenador reduce la potencia producida por el motor a distintos niveles de acumulación de ceniza.
| Nivel de indicación | Código de fallo | Reducción de la velocidad del motor | Potencia nominal del motor | Acción recomendada |
|---|---|---|---|---|
| Nivel 1: Advertencia del motor | ![]() Comprobar el motorSPN 3720, FMI 16 | Ninguno | El ordenador reduce la potencia del motor un 85 %. | Revise el DPF; consulte Realización de una regeneración con la máquina aparcada o de recuperación |
| Nivel 2: Advertencia del motor | ![]() Comprobar el motorSPN 3720, FMI 0 | Ninguno | El ordenador reduce la potencia del motor un 50%. | Revise el DPF; consulte Regeneración de recuperación o con la máquina aparcada |
| Tipo de regeneración | Condiciones que causan una regeneración del DPF | Descripción del funcionamiento del DPF |
|---|---|---|
| Regeneración pasiva | Se produce durante el funcionamiento normal de la máquina con velocidad del motor alta o carga alta del motor. |
Consulte Regeneración pasiva del DPF . |
| Regeneración de asistencia | Se produce por la baja velocidad del motor, la baja carga del motor o después de que el ordenador detecte que el DPF se ha obstruido con hollín. |
Consulte Regeneración de asistencia del DPF. |
| Reiniciar |
Se produce cada 100 horas. También se produce después de la regeneración de asistencia solo si el ordenador detecta que esta regeneración no ha reducido lo suficiente el nivel de hollín. |
Consulte Regeneración de restablecimiento. |
| Tipo de regeneración | Condiciones que causan una regeneración del DPF | Descripción del funcionamiento del DPF |
|---|---|---|
| Con la máquina aparcada | Se produce porque el ordenador detecta contrapresión en el DPF debido a la acumulación de hollín. |
Consulte Realización de una regeneración con la máquina aparcada o de recuperación. |
| También se produce porque el operador inicia una regeneración con la máquina aparcada. | ||
| Puede producirse porque ha ajustado el InfoCenter para que inhiba la regeneración de restablecimiento y ha seguido utilizando la máquina, con lo que se añade más hollín cuando el DPF ya necesita que se realice una regeneración de restablecimiento. | ||
| Puede ocurrir si se utiliza un combustible o aceite de motor incorrecto | ||
| Regeneración de recuperación | Se produce porque el operador ha ignorado las solicitudes de regeneración con la máquina aparcada y ha seguido utilizando la máquina, con lo que se añade más hollín al DPF. |
Consulte Realización de una regeneración con la máquina aparcada o de recuperación. |
Acceda al menú Mantenimiento y desplácese hasta DPF REGENERATION (Regeneración de DPF).

Pulse el botón derecho para seleccionar el menú DPF Regeneration (Regeneración de DPF).
Vaya al menú DPF Regeneration (Regeneración de DPF) y desplácese hacia abajo a la opción LAST REGEN (Última regeneración).
Utilice el campo LAST REGEN (Última regeneración) para determinar el número de horas que ha funcionado el motor desde la última regeneración de reinicio, con la máquina aparcada o de recuperación.

Important: Para mayor comodidad, puede que decida realizar una regeneración con la máquina aparcada antes de que la carga de hollín llegue al 100 %, siempre que el motor haya estado en funcionamiento 50 horas desde que se realizara con éxito la última regeneración de restablecimiento, con la máquina aparcada o de recuperación.
Utilice el menú Technician (Técnico) para ver el estado actual del control de regeneración del motor y el nivel de hollín registrado.
Acceda al menú DPF Regeneration (Regeneración de DPF), desplácese hacia abajo y acceda al menú TECHNICIAN (Técnico).

Utilice la tabla de funcionamiento de DPF para comprender el estado actual del funcionamiento del DPF.

| Estado | Descripción | |
|---|---|---|
| Normal | El DPF se encuentra en modo de funcionamiento normal, regeneración pasiva. | |
| Assist Regen (Regeneración de asistencia) | El ordenador del motor está realizando una regeneración de asistencia. | |
| Reset Stby (En espera de regeneración de restablecimiento) | El ordenador del motor está intentando realizar una regeneración de restablecimiento, pero una de las siguientes condiciones impide la regeneración: | El ajuste de inhibición de regeneración está ajustado en ON (Activado). |
| La temperatura de los gases de escape es demasiado baja para la regeneración. | ||
| Reset Regen (Regeneración de restablecimiento) | El ordenador del motor está ejecutando una regeneración de restablecimiento. | |
| Parked Stby (En espera de regeneración con la máquina aparcada) | El ordenador del motor está solicitando que realice una regeneración con la máquina aparcada. | |
| Parked Regen (Regeneración con máquina aparcada) | Ha iniciado una solicitud de regeneración con la máquina aparcada y el ordenador del motor está procesando la regeneración. | |
| Recov. Stby (En espera de regeneración de recuperación) | El ordenador del motor está solicitando que realice una regeneración de recuperación. | |
| Recov. Regen (Regeneración de recuperación) | Ha iniciado una solicitud de regeneración de recuperación y el ordenador del motor está procesando la regeneración. | |
La carga de hollín se mide como porcentaje del hollín en el DPF; consulte la tabla de carga de hollín.
Note: El valor de carga de hollín varía a medida que se utiliza la máquina y se produce la regeneración de DPF.

| Valores importantes de carga de hollín | Estado de la regeneración |
|---|---|
| 0 % a 5 % | Rango mínimo de carga de hollín |
| 78 % | El ordenador del motor realiza una regeneración de asistencia. |
| 100 % | El ordenador del motor solicita automáticamente una regeneración con la máquina aparcada. |
| 122 % | El ordenador del motor solicita automáticamente una regeneración de recuperación. |
La regeneración pasiva se produce como parte del funcionamiento normal del motor.
Mientras se utiliza la máquina, accione el motor a la velocidad máxima y con carga alta cuando sea posible para fomentar la regeneración del DPF.
El ordenador del motor ajusta la configuración del motor para aumentar la temperatura de los gases de escape.
Mientras se utiliza la máquina, accione el motor a la velocidad máxima y con carga alta cuando sea posible para fomentar la regeneración del DPF.
La temperatura del escape es alta (alrededor de 600 °C durante la regeneración del DPF. Los gases de escape calientes puede causar lesiones a usted o a otras personas.
No haga funcionar nunca el motor en un lugar cerrado.
Asegúrese de que no haya materiales inflamables alrededor del sistema de escape.
No toque nunca un componente del sistema de escape caliente.
No se sitúe nunca cerca o alrededor del tubo de escape de la máquina.
Aparece el icono de temperatura alta de los gases
de escape
en el InfoCenter mientras se está procesando la regeneración
de restablecimiento.
El ordenador del motor ajusta la configuración del motor para aumentar la temperatura de los gases de escape.
Important: El icono de temperatura alta de los gases de escape indica que la temperatura de los gases descargados de la máquina puede ser más elevada que durante el funcionamiento normal.
Mientras se utiliza la máquina, accione el motor a la velocidad máxima y con carga alta cuando sea posible para fomentar la regeneración del DPF.
Siempre que sea posible, no apague el motor ni reduzca la velocidad del mismo mientras se está procesando la regeneración de restablecimiento.
Important: Siempre que sea posible, deje que la máquina finalice el proceso de regeneración de restablecimiento antes de apagar el motor.
Si el motor no ha finalizado correctamente una regeneración de restablecimiento, con la máquina aparcada o de recuperación en las 100 horas anteriores de funcionamiento del motor, el ordenador del motor intentará realizar una regeneración de restablecimiento.
La regeneración de restablecimiento produce una gran cantidad de gases de escape del motor. Si está utilizando la máquina cerca de árboles, arbustos, hierba alta u otras plantas o materiales sensibles a la temperatura, puede utilizar el ajuste Inhibit Regen (Inhibir regeneración) para evitar que el ordenador del motor realice una regeneración de restablecimiento.
Important: Cuando se apaga y se vuelve a arrancar el motor, el valor de Inhibit Regen (Inhibición de la regeneración) vuelve a su valor predeterminado de OFF (Desactivado).
Note: Si ajusta el InfoCenter para que inhiba la regeneración, el InfoCenter muestra ADVISORY #185 (Aviso n.º 185) cada 15 minutos mientras el motor solicita una regeneración de restablecimiento.

Vaya al menú DPF Regeneration (Regeneración del DPF) y desplácese hacia abajo hasta INHIBIT REGEN (Inhibir regeneración).

Pulse el botón derecho para cambiar el ajuste de inhibición de regeneración a ACTIVADO o DESACTIVADO.

El InfoCenter muestra el icono de temperatura alta de los gases
de escape
cuando la regeneración de restablecimiento está en
curso.
Note: Si Inhibit Regen (Inhibir regeneración) está ajustado en ON (Activado), el InfoCenter muestra ADVISORY #185 (Aviso n.º 185). Pulse el botón derecho para establecer el ajuste de inhibición de regeneración enOFF (Desactivado) y seguir con la regeneración de restablecimiento.

Note: Si el InfoCenter muestra ADVISORY #186 (Aviso n.º 185), ajuste el motor a velocidad máxima (ralentí alto) para permitir que continúe la regeneración de restablecimiento.

Note: Una vez finalizada la regeneración de restablecimiento,
desaparece el icono de alta temperatura de los gases de escape
en el InfoCenter.
Cuando el ordenador del motor solicita una regeneración
con la máquina aparcada o una regeneración de recuperación,
aparece el icono de solicitud de regeneración (
) en el InfoCenter.
La máquina no realiza automáticamente una regeneración con la máquina aparcada o una regeneración de recuperación, sino que debe ejecutar dicha generación a través del InfoCenter.
Cuando el ordenador del motor solicita una regeneración con la máquina aparcada, aparecen los siguientes mensajes en el InfoCenter.
Advertencia del motor SPN 3720, FMI 16

ADVISORY #188 (Aviso n.º 188) Parked regeneration required (Es necesaria una regeneración con la máquina aparcada)
Note: Se muestra Advisory #188 (Aviso n.º 188) cada 15 minutos.

Cuando el ordenador del motor solicita una regeneración de recuperación, aparecen los siguientes mensajes en el InfoCenter.
Advertencia del motor SPN 3719, FMI 0
Lea el Manual de mantenimiento o consulte a su distribuidor Toro autorizado para obtener más detalles.

Si el ordenador del motor solicita una regeneración con la máquina aparcada o está procesando una regeneración de este tipo, la opción PARKED REGEN (Regeneración con máquina aparcada) se bloquea y aparece el icono del candado en la pantalla.

Si el ordenador del motor solicita una regeneración con la máquina aparcada o está procesando una regeneración de este tipo, la opción RECOVERY REGEN (Regeneración de recuperación) se bloquea y aparece el icono del candado en la pantalla.

La temperatura del escape es alta (alrededor de 600 °C durante la regeneración del DPF. Los gases de escape calientes puede causar lesiones a usted o a otras personas.
No haga funcionar nunca el motor en un lugar cerrado.
Asegúrese de que no haya materiales inflamables alrededor del sistema de escape.
No toque nunca un componente del sistema de escape caliente.
No se sitúe nunca cerca o alrededor del tubo de escape de la máquina.
Important: El ordenador de la máquina cancela la regeneración del DPF si aumenta la velocidad del motor desde el ralentí bajo o quita el freno de estacionamiento.
Asegúrese de que la máquina tiene suficiente combustible en el depósito para el tipo de regeneración que vaya a realizar:
Regeneración con la máquina aparcada: 1/4 del depósito de combustible
Regeneración de recuperación: la mitad del depósito de combustible
Aparque la máquina en una superficie nivelada, en un área alejada de materiales combustibles.
Accione el freno de estacionamiento y baje los brazos de carga.
Mueva el acelerador a la posición de RALENTí bajo.
En el menú DPF Regeneration (Regeneración de DPF), desplácese hasta PARKED REGEN START (Inicio de regeneración con máquina aparcada) o RECOVERY REGEN START (Inicio de regeneración de recuperación). Pulse el botón derecho para iniciar la regeneración.

Cuando se le indique, compruebe que tiene el nivel de combustible suficiente, tal y como se indica en el paso 1. Pulse el botón derecho para continuar.

En la pantalla de lista de comprobación del DPF, verifique que está accionado el freno de estacionamiento y que la velocidad del motor está ajustada en ralentí bajo. Pulse el botón derecho para continuar

En la pantalla INITIATE DPF REGEN (Iniciar regeneración de DPF), pulse el botón derecho para continuar.

El InfoCenter muestra el mensaje INITIATING DPF REGEN (Iniciando regeneración del DPF).

El InfoCenter muestra el mensaje del tiempo restante.
Una regeneración con la máquina aparcada tarda en realizarse hasta 30 minutos.
Una regeneración de recuperación tarda hasta 3 horas.
Note: Si debe cancelar la regeneración después de iniciada, consulte Cancelación de una regeneración con la máquina aparcada o de recuperación.


El ordenador del motor comprueba el estado del motor y la información de fallos. El InfoCenter puede mostrar los siguientes mensajes:
| Mensaje | Acción correctora |
|---|---|
![]() | Salga del menú de regeneración y ponga en marcha la máquina hasta que el tiempo desde la última regeneración sea superior a 50 horas; consulte Tiempo transcurrido desde la última regeneración. |
![]() | Resuelva el fallo del motor y vuelva a intentar la regeneración del DPF. |
![]() | Arranque el motor y déjelo funcionar. |
![]() | Mantenga en funcionamiento el motor para aumentar la temperatura del refrigerante hasta 60 °C. |
![]() | Reduzca la velocidad del motor a ralentí lento. |
![]() | Resuelva la condición del motor y vuelva a intentar la regeneración del DPF. |
El InfoCenter muestra la página de inicio y
el icono de reconocimiento de regeneración
aparece en la esquina inferior
derecha de la pantalla mientras se procesa la regeneración.
Note: Durante la regeneración del DPF, el InfoCenter muestra
el icono de alta temperatura del escape
.
Cuando el ordenador del motor finaliza una regeneración con la máquina aparcada o de recuperación, el InfoCenter muestra ADVISORY #183 (Aviso n.º 183); si falla, el InfoCenter muestra ADVISORY #184 (Aviso n.º 184). Pulse el botón de la izquierda para salir a la pantalla de inicio.

En el menú DPF Regeneration (Regeneración de DPF), desplácese hasta PARKED REGEN CANCEL (Cancelación de regeneración con máquina aparcada) o RECOVERY REGEN CANCEL (Cancelación de regeneración de recuperación).

Pulse el botón derecho para cancelar la regeneración.
Accione el freno de estacionamiento (si está equipado), baje los brazos de carga, apague el motor, retire la llave, espere a que se detengan todas las piezas en movimiento y deje que la máquina se enfríe antes de realizar trabajos de ajuste, limpieza, almacenamiento o mantenimiento.
Limpie cualquier residuo de los aperos, las transmisiones, los silenciadores y el motor para ayudar a prevenir incendios. Limpie cualquier aceite o combustible derramado.
Mantenga todas las piezas en buenas condiciones de funcionamiento, y todos los herrajes bien apretados.
No toque piezas que pueden estar calientes después de estar en funcionamiento. Deje que se enfríen antes de intentar mantener, ajustar o revisar la máquina.
Tenga cuidado al cargar o descargar la máquina en/desde un remolque o un camión.
Si la máquina se queda atascada (por ejemplo, en un lugar con barro), tire de la máquina hasta dejarla en una posición estable con los dos puntos de elevación delanteros o con los dos puntos de amarre traseros simultáneamente.
Important: No utilice los puntos de amarre delanteros para tirar de la máquina.

Important: No remolque ni tire de la máquina sin antes abrir las válvulas de remolcado, o se dañará el sistema hidráulico.
Apague el motor y retire la llave.
Retire la placa inferior; consulte Retirada de la placa inferior.
En cada motor de tracción, retire la tapa.

Lubrique una arandela (M12) con aceite en ambos lados.
Enrosque una tuerca (M12) en un tornillo (M12) y, a continuación, instale el tornillo a través de la arandela y la herramienta de desvío en el pistón del freno. No apriete demasiado.

Apriete la tuerca para liberar el freno.

Retire la cubierta delantera; Retirada de la cubierta delantera.
Gire las válvulas de remolcado bajo las bombas hidráulicas dos veces en sentido antihorario.

Remolque la máquina cuanto sea necesario utilizando los puntos descritos en Recuperación de una máquina atascada.
Después de reparar la máquina, cierre las válvulas de remolcado antes de usarla.
Instale la cubierta delantera.
Retire las fijaciones y la herramienta de desvío de cada motor de tracción e instale la tapa.
Instale la placa inferior.
Utilice un remolque para cargas pesadas o un camión para transportar la máquina. Utilice una rampa de ancho completo. Asegúrese de que el remolque o el camión está equipado con todos los frenos, luces y señalizaciones que requiera la ley. Por favor, lea cuidadosamente todas las instrucciones de seguridad. El conocer esta información puede ayudar a evitarle lesiones a usted o a otras personas. Consulte en la normativa local los requisitos aplicables al remolque y al sistema de amarre.
Conducir en una calle o carretera sin señales de giro, luces, marcas reflectantes o un indicador de vehículo lento es peligroso y puede ser causa de accidentes que pueden provocar lesiones personales.
No conduzca la máquina en una calle o carretera pública.
Cargar o descargar la máquina en/de un remolque o un camión aumenta la posibilidad de vuelco y podría causar lesiones graves o la muerte (Figura 53).
Utilice únicamente rampas de ancho completo.
Asegúrese de que la rampa tiene una longitud de al menos cuatro veces la altura de la plataforma del remolque o del camión sobre el suelo. De esta forma se asegura que el ángulo de la rampa no supere los 15 grados en terreno llano.

Cargar o descargar la máquina en/de un remolque o un camión aumenta la posibilidad de vuelco y podría causar lesiones graves o la muerte.
Extreme las precauciones al manejar la máquina en una rampa.
Suba y baje la máquina por la rampa con el extremo más pesado hacia arriba.
Evite acelerar o desacelerar bruscamente al conducir la máquina en una rampa, porque esto podría provocar un vuelco o una pérdida de control.
Si utiliza un remolque, conéctelo al vehículo de remolque y conecte las cadenas de seguridad.
En su caso, conecte los frenos del remolque.
Baje la(s) rampa(s).
Baje los brazos de carga.
Cargue la máquina en el remolque por la rampa con el extremo más pesado hacia arriba, y la carga en la posición más baja posible.
Si la máquina tiene un apero de carga lleno (por ejemplo, un cazo) o un apero que no sea de carga (por ejemplo, una zanjadora), suba la máquina por la rampa conduciendo hacia adelante.
Si la máquina tiene un implemento de carga vacío o si no tiene implemento acoplado, suba la máquina por la rampa en marcha atrás.

Baje del todo los brazos de carga.
Ponga el freno de estacionamiento, apague el motor y retire la llave.
Utilice los puntos de amarre metálicos de la máquina para sujetar la máquina con firmeza al remolque o al camión con correas, cadenas, cables o cuerdas. Consulte la normativa local respecto a los requisitos de amarre.
Important: No utilice los puntos de amarre para elevar la máquina.

Baje la(s) rampa(s).
Descargue la máquina del remolque por la rampa con el extremo más pesado hacia arriba y la carga en la posición más baja posible.
Si la máquina tiene un implemento de carga lleno (por ejemplo, un cazo) o un implemento que no sea de carga (por ejemplo, una zanjadora), baje la máquina por la rampa en marcha atrás.
Si la máquina tiene un implemento de carga vacío, o si no tiene implemento acoplado, baje la máquina por la rampa conduciendo hacia adelante.

| Intervalo de mantenimiento y servicio | Procedimiento de mantenimiento |
|---|---|
| Cada vez que se utilice o diariamente |
|
Retire los accesorios y eleve la máquina con los 4 puntos de elevación.
No supere un ángulo de 30 grados al elevar la máquina; utilice las longitudes de cadena mínimas que se indican a continuación.

Note: Los lados derecho e izquierdo de la máquina se determinan desde la posición normal del operador.
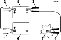
Si deja la llave en el interruptor de encendido, alguien podría arrancar el motor accidentalmente y causar lesiones graves a usted o a otras personas.
Retire la llave del interruptor antes de realizar cualquier operación de mantenimiento.
Aparque la máquina en una superficie nivelada, desengrane el sistema hidráulico auxiliar, baje el apero, ponga el freno de estacionamiento (si está instalado), apague el motor y retire la llave. Espere a que se detengan todas las piezas en movimiento y deje que se enfríe la máquina antes de hacer trabajos de ajuste, limpieza, almacenamiento o reparación.
Limpie cualquier aceite o combustible derramado.
No permita que personas que no hayan recibido formación realicen mantenimiento en la máquina.
Utilice caballetes para apoyar los componentes cuando sea necesario.
Alivie con cuidado la tensión de aquellos componentes que tengan energía almacenada; consulte Alivio de presión hidráulica.
Desconecte la batería antes de efectuar cualquier reparación; consulte Uso del interruptor de desconexión de la batería.
Mantenga las manos y los pies alejados de las piezas en movimiento. Si es posible, no haga ajustes mientras el motor está funcionando.
Mantenga todas las piezas en buenas condiciones de funcionamiento, y todos los herrajes bien apretados. Sustituya cualquier calcomanía desgastada o deteriorada.
No manipule los dispositivos de seguridad.
Los aperos y accesorios pueden cambiar la estabilidad y las características operativas de la máquina.
Utilice solamente piezas de repuesto genuinas de Toro.
Si alguna operación de mantenimiento o reparación requiere que los brazos de carga estén en posición elevada, bloquee los brazos en la posición elevada usando el/los bloqueo(s) del/de los cilindro(s) hidráulico(s).
Consulte la normativa local respecto al mantenimiento seguro de la máquina, y conecte una etiqueta de advertencia al panel de control para informar a otras personas que la máquina está en mantenimiento.
| Intervalo de mantenimiento y servicio | Procedimiento de mantenimiento |
|---|---|
| Después de las primeras 8 horas |
|
| Después de las primeras 50 horas |
|
| Cada vez que se utilice o diariamente |
|
| Cada 25 horas |
|
| Cada 50 horas |
|
| Cada 100 horas |
|
| Cada 250 horas |
|
| Cada 400 horas |
|
| Cada 500 horas |
|
| Cada 800 horas |
|
| Cada 1000 horas |
|
| Cada 1500 horas |
|
| Cada 3000 horas |
|
| Cada año o antes del almacenamiento |
|
| Cada 2 años |
|
Important: El manual del propietario del motor puede contener procedimientos adicionales de mantenimiento que debe consultar.
Los brazos de carga pueden bajarse accidentalmente cuando están en posición elevada, aplastando a cualquier persona que se encuentre debajo de ellos.
Instale los bloqueos de los cilindros antes de realizar cualquier operación de mantenimiento que requiera que los brazos de carga estén elevados.
Retire el implemento.
Lleve los brazos de carga a su posición de elevación máxima.
Apague el motor y retire la llave.
Afloje el pomo que fija el bloqueo del cilindro al brazo de carga.

Deslice el bloqueo del cilindro sobre la varilla del cilindro de elevación.

Repita los pasos 4 y 6 en el otro lado de la máquina.
Baje los brazos de carga lentamente hasta que los bloqueos de los cilindros toquen los cuerpos de los cilindros y los extremos de las varillas.
Important: Retire los bloqueos de los cilindros de las varillas y sujételos en la posición de almacenamiento antes de operar la máquina.
Arranque el motor.
Lleve los brazos de carga a su posición de elevación máxima.
Apague el motor y retire la llave.
Retire los pasadores que fijan los bloqueos del cilindro.
Retire los bloqueos del cilindro de las varillas del cilindro de elevación.
Inserte los pasadores en los bloqueos.
Coloque los bloqueos del cilindro en los brazos de carga con los pasadores de anilla debajo de los bloqueos y fije cada bloqueo con un pomo.

Baje los brazos de carga.
Si abre o retira una cubierta, un capó, o una rejilla con el motor en marcha, podría tocar alguna pieza en movimiento y sufrir graves lesiones.
Antes de abrir una cubierta, un capó o una rejilla, apague el motor, retire la llave del interruptor y deje que el motor se enfríe.
Aparque la máquina en una superficie nivelada, ponga el freno de estacionamiento y baje los brazos de carga.
Apague el motor, retire la llave y deje que el motor se enfríe.
Abra el capó con la llave de cierre y pulse el botón para liberar el cierre.

Levante el capó para abrirlo.
Baje el capó.
Pulse el cierre hacia abajo para asegurar el capó.
Cierre el capó con la llave de cierre.
Retire los 2 pernos que fijan la parte superior de la cubierta trasera.

Levante la cubierta para sacarla de las ranuras en el soporte del radiador.

Retire los 2 pernos que fijan la placa inferior

Retire la placa inferior.
Eleve los brazos de carga y fíjelos con los bloqueos de los cilindros.
Afloje los 2 pernos que sujetan la cubierta delantera a la máquina.

Deslice la cubierta para separarla de la máquina.
Al instalar la cubierta, apriete los pernos a 41 N∙m.
Eleve los brazos de carga y fíjelos con los bloqueos de los cilindros.
Abra el capó.
Retire los 4 pernos que fijan el conjunto de cubierta a la máquina.

Retire el conjunto de cubierta.
Abra el capó.
Deslice la rejilla para sacarla de las ranuras delanteras y traseras.

| Intervalo de mantenimiento y servicio | Procedimiento de mantenimiento |
|---|---|
| Cada vez que se utilice o diariamente |
|
Tipo de grasa: Grasa de propósito general.
Aparque la máquina en una superficie nivelada, baje los brazos de carga y ponga el freno de estacionamiento.
Apague el motor y retire la llave.
Limpie con un trapo los puntos de engrase.

Conecte una pistola de engrasar a cada punto de engrase.
Bombee grasa hasta que empiece a rezumar grasa de los cojinetes (3 aplicaciones aproximadamente)
Limpie cualquier exceso de grasa.
Apague el motor antes de comprobar el aceite o añadir aceite al cárter.
No cambie los ajustes del regulador del motor ni haga funcionar el motor a una velocidad excesiva.
Mantenga las manos, los pies, la cara, otras partes del cuerpo y la ropa alejados del silenciador y de otras superficies calientes.
| Intervalo de mantenimiento y servicio | Procedimiento de mantenimiento |
|---|---|
| Cada vez que se utilice o diariamente |
|
| Cada 100 horas |
|
| Cada 500 horas |
|
Aparque la máquina en una superficie nivelada, ponga el freno de estacionamiento y baje los brazos de carga.
Apague el motor y retire la llave.
Abra el capó.
Inspeccione la carcasa del limpiador de aire en busca de daños que pudieran causar una fuga de aire.
Cambie la carcasa del limpiador de aire si está dañada.
Compruebe el sistema de admisión en busca de fugas, daños o abrazaderas sueltas.
Revise el filtro del limpiador de aire y el elemento de seguridad cuando se le indique.
Important: No revise en exceso el filtro de aire.

Asegúrese de que la tapa esté bien asentada y de que haga un buen sello con la carcasa del limpiador de aire.
Note: Si la junta de espuma de la cubierta está dañada, sustitúyala.
Important: Evite utilizar aire a alta presión, porque podría hacer que la suciedad penetrara a través del filtro al conducto de admisión.
Important: No limpie el filtro usado para evitar daños en el medio filtrante.
Important: No utilice un filtro dañado.
Important: No aplique presión al centro flexible del filtro.

| Intervalo de mantenimiento y servicio | Procedimiento de mantenimiento |
|---|---|
| Después de las primeras 50 horas |
|
| Cada vez que se utilice o diariamente |
|
| Cada 250 horas |
|
El motor se suministra con aceite en el cárter; sin embargo, es necesario comprobar el nivel de aceite antes y después de la primera puesta en marcha del motor.
Capacidad del cárter: 5,2 litros con el filtro
Aceite de motor recomendado: aceite de motor Toro Premium
Si se utiliza otro aceite, utilice un aceite de motor de alta calidad bajo en cenizas que cumpla o supere las siguientes especificaciones:
Categoría de servicio API CJ-4 o superior
Categoría de servicio ACEA E6
Categoría de servicio JASO DH-2
Important: El uso de un aceite de motor que no sea de clasificación API CJ-4 o superior, ACEA E6 o JASO DH-2 puede hacer que el filtro de partículas diésel se obture o puede provocar daños en el motor.
Utilice el siguiente grado de viscosidad de aceite del motor:
SAE 10W-30 o 5W-30 (todas las temperaturas)
SAE 15W-40 (por encima de -18 °C)
Note: Su distribuidor Toro autorizado dispone de aceite de motor Toro Premium.
Aparque la máquina en una superficie nivelada, ponga el freno de estacionamiento y baje los brazos de carga.
Apague el motor, retire la llave y deje que el motor se enfríe.
Abra el capó.
Retire la rejilla lateral izquierda.
Limpie la zona alrededor de la varilla de aceite y el tapón de llenado de aceite.

Compruebe el nivel de aceite y añada más si es necesario.
Important: No llene excesivamente el cárter de aceite; si el nivel de aceite del cárter es demasiado alto y usted arranca el motor, puede dañar el motor.

Cierre el capó.
Retire todos los aperos.
Arranque el motor y déjelo funcionar durante 5 minutos.
Note: De esta forma, el aceite se calentará y será más fácil drenarlo.
Aparque la máquina en una superficie nivelada y ponga el freno de estacionamiento.
Eleve los brazos de carga e instale los bloqueos de los cilindros.
Apague el motor y retire la llave.
Drene el aceite por debajo de la plataforma.
Los componentes estarán calientes si la máquina ha estado funcionando. Si usted toca un componente caliente puede quemarse.
Tenga cuidado de evitar cualquier contacto con los componentes calientes mientras cambia el aceite y/o el filtro.


Apriete el tapón de vaciado a entre 46 y 56 N∙m.
Abra el capó.
Retire la rejilla izquierda; consulte Retirada de las rejillas laterales.
Coloque un recipiente poco hondo o un paño debajo del filtro para recoger el aceite.
Cambie el filtro de aceite.

Retire el tapón de llenado de aceite y vierta lentamente aproximadamente el 80 % de la cantidad especificada de aceite a través de la tapa de la válvula.
Compruebe el nivel de aceite.
Añada lentamente más aceite hasta que el nivel llegue al orificio superior de la varilla.
Vuelva a colocar el tapón de llenado.
Instale la rejilla izquierda.
Cierre el capó.
Note: Elimine el aceite usado en un centro de reciclaje homologado.
| Intervalo de mantenimiento y servicio | Procedimiento de mantenimiento |
|---|---|
| Cada 3000 horas |
|
Si se muestran los fallos (Comprobar motor spn 3251 fmi 0), (Comprobar motor spn 3720 fmi 0) o (Comprobar motor spn 3720 fmi 16) en el InfoCenter, limpie el filtro de hollín siguiendo los pasos indicados a continuación:



Consulte la sección sobre Motor en el Manual de mantenimiento para obtener información sobre el montaje y el desmontaje del catalizador de oxidación diésel y el filtro de hollín del DPF.
Consulte a su distribuidor Toro autorizado si desea más información sobre el mantenimiento o las piezas de sustitución del catalizador de oxidación diésel o el filtro de hollín.
Póngase en contacto con su distribuidor Toro autorizado para que restablezca la ECU del motor después de instalar un DPF limpio.
En ciertas condiciones, el combustible es extremadamente inflamable y altamente explosivo. Un incendio o una explosión provocados por el combustible puede causarle quemaduras a usted y a otras personas así como daños materiales.
Consulte Seguridad del combustible para obtener una lista completa de precauciones relacionadas con el sistema de combustible.
| Intervalo de mantenimiento y servicio | Procedimiento de mantenimiento |
|---|---|
| Cada 50 horas |
|
Aparque la máquina en una superficie nivelada, ponga el freno de estacionamiento y baje los brazos de carga.
Apague el motor y retire la llave.
Coloque un envase bajo el separador de agua.

Afloje la válvula de vaciado de la parte inferior del cartucho del filtro y deje que se vacíe el agua.
Apriete la válvula de vaciado.
| Intervalo de mantenimiento y servicio | Procedimiento de mantenimiento |
|---|---|
| Cada 500 horas |
|
Aparque la máquina en una superficie nivelada, ponga el freno de estacionamiento y baje los brazos de carga.
Apague el motor y retire la llave.
Retire la cubierta trasera; consulte Retirada de la cubierta trasera.
Limpie el área donde se monta el filtro del separador de agua.

Retire el cartucho del filtro y limpie la superficie de montaje.
Lubrique la junta del cartucho del filtro nuevo con aceite limpio.
Llene el cartucho con combustible.
Instale el cartucho del filtro a mano hasta que la junta entre en contacto con la superficie de montaje y, a continuación, gírelo media vuelta más.
Instale la cubierta trasera.
| Intervalo de mantenimiento y servicio | Procedimiento de mantenimiento |
|---|---|
| Cada 400 horas |
|
Compruebe que los tubos y las conexiones del sistema de combustible no están deteriorados o dañados, y que las conexiones no están sueltas. Apriete cualquier conexión que esté floja y póngase en contacto con su Servicio Técnico Autorizado si necesita ayuda para reparar tubos de combustible dañados.
| Intervalo de mantenimiento y servicio | Procedimiento de mantenimiento |
|---|---|
| Cada 500 horas |
|
Aparque la máquina en una superficie nivelada, ponga el freno de estacionamiento y baje los brazos de carga.
Apague el motor y retire la llave.
Abra el capó.
Limpie la zona de montaje del filtro de combustible.

Retire el cartucho del filtro y limpie la superficie de montaje.
Lubrique la junta del cartucho del filtro nuevo con aceite limpio.
Instale el cartucho del filtro a mano hasta que la junta entre en contacto con la superficie de montaje y, a continuación, gírelo media vuelta más.
Purgue el sistema de combustible; consulte Purga del sistema de combustible.
Arranque el motor y compruebe que no hay fugas de combustible alrededor de la cabeza del filtro.
Cierre el capó.
El sistema de combustible debe purgarse antes de arrancar el motor si ha ocurrido alguna de las situaciones siguientes:
Arranque inicial de una máquina nueva
El motor ha dejado de funcionar debido a falta de combustible.
Se han realizado tareas de mantenimiento sobre componentes del sistema de combustible (por ejemplo, sustitución del filtro).
Gire la llave a la posición de MARCHA.
Deje que la bomba de combustible funcione durante dos minutos antes de arrancar la máquina.
| Intervalo de mantenimiento y servicio | Procedimiento de mantenimiento |
|---|---|
| Cada 500 horas |
|
Póngase en contacto con el servicio técnico autorizado para que drene y limpie el depósito o los depósitos de combustible.
Desconecte la batería antes de efectuar cualquier reparación; consulte Uso del interruptor de desconexión de la batería.
Cargue la batería en una zona abierta y bien ventilada, lejos de chispas y llamas. Desenchufe el cargador antes de conectar o desconectar la batería. Lleve ropa protectora y utilice herramientas aisladas.
El ácido de la batería es venenoso y puede causar quemaduras. Evite el contacto con la piel, los ojos y la ropa. Protéjase la cara, los ojos y la ropa cuando trabaje con una batería.
Los gases de la batería pueden explotar. Mantenga alejados de la batería los cigarrillos, las chispas y las llamas.
Aparque la máquina en una superficie nivelada, ponga el freno de estacionamiento y baje los brazos de carga.
Apague el motor y retire la llave.
Abra el capó.
Gire el interruptor de desconexión de la batería a la posición de ENCENDIDO o APAGADO para realizar lo siguiente:
Para que la máquina reciba energía eléctrica, gire el interruptor de desconexión de la batería en sentido horario hasta la posición de ENCENDIDO .
Para que la máquina deje de recibir energía eléctrica, gire el interruptor de desconexión de la batería en sentido antihorario hasta la posición de APAGADO.

| Intervalo de mantenimiento y servicio | Procedimiento de mantenimiento |
|---|---|
| Cada 50 horas |
|
Un enrutado incorrecto de los cables de la batería podría dañar la máquina y los cables, causando chispas. Las chispas podrían hacer explotar los gases de la batería, causando lesiones personales.
Desconecte siempre el cable negativo (negro) de la batería antes de desconectar el cable positivo (rojo).
Retire todos los aperos.
Aparque la máquina en una superficie nivelada y ponga el freno de estacionamiento.
Eleve los brazos de carga e instale los bloqueos de los cilindros.
Apague el motor y retire la llave.
Retire el conjunto de cubierta delantera; consulte Retirada del conjunto de cubierta delantera.
Desconecte el cable negativo de tierra (negro) del borne de la batería. Guarde las fijaciones.

Levante la cubierta de goma del cable positivo (rojo).
Desconecte el cable positivo (rojo) del borne de la batería. Guarde las fijaciones.
Retire las tuercas de orejeta, las varillas y la correa.
Retire la batería.
El proceso de carga de la batería produce gases que pueden explotar.
No fume cerca de la batería, y mantenga alejada de la batería cualquier chispa o llama.
Important: Mantenga siempre la batería completamente cargada (densidad de 1.265). Esto es especialmente importante para evitar daños a la batería cuando la temperatura está por debajo de los 0 °C.
Retire la batería de la máquina; consulte Retirada de la batería.
Cargue la batería durante 4 a 8 horas a un ritmo de 3 a 4 A. No cargue la batería en exceso.

Cuando la batería esté completamente cargada, desconecte el cargador de la toma de electricidad, luego desconecte los cables del cargador de los bornes de la batería.
Note: Mantenga limpios los terminales y toda la carcasa de la batería para alargar la vida de la batería.
Aparque la máquina en una superficie nivelada, ponga el freno de estacionamiento (si hay) y baje los brazos de carga.
Apague el motor y retire la llave.
Retire la batería de la máquina; Retirada de la batería.
Lave toda la caja con una solución de bicarbonato y agua.
Enjuague la batería con agua clara.
Aplique una capa de grasa Grafo 112X o de vaselina a los conectores de los cables y a los bornes de la batería para evitar la corrosión.
Instale la batería; consulte Instalación de la batería.
Un enrutado incorrecto de los cables de la batería podría dañar la máquina y los cables, causando chispas. Las chispas podrían hacer explotar los gases de la batería, causando lesiones personales.
Conecte siempre el cable positivo (rojo) de la batería antes de conectar el cable negativo (negro).
Coloque la batería sobre la bandeja de la batería y fíjela con la correa, las tuercas de orejeta y las varillas.

Con las fijaciones que retiró antes, conecte el cable positivo (rojo) de la batería en el borne positivo (+) de la batería.
Deslice el protector de borne rojo sobre el borne positivo de la batería.
Con las fijaciones que retiró antes, conecte el cable negativo (negro) en el borne negativo (-) de la batería.
Instale el conjunto de cubierta delantera.
La batería original no requiere mantenimiento. Consulte las instrucciones del fabricante de la batería respecto al mantenimiento de una batería de recambio.
El arranque de la batería con cables puente puede producir gases explosivos.
No fume cerca de la batería y mantenga alejada de la batería cualquier chispa o llama.
Retire la cubierta delantera; consulte Retirada de la cubierta delantera.
Compruebe si hay signos de corrosión en los bornes de la batería y límpielos antes de realizar un arranque externo de la batería. Asegúrese de que las conexiones están apretadas.
La corrosión o las conexiones sueltas pueden causar picos de tensión no deseados en cualquier momento del procedimiento de arranque externo.
No intente realizar un arranque externo de la máquina con bornes de la batería sueltos o con corrosión; de lo contrario, se pueden producir daños en el motor.
Cualquier intento de realizar un arranque externo de una batería agrietada, congelada, con bajo nivel de electrolito o que tenga una celda abierta o cortocircuitada podría provocar una explosión y causar lesiones personales graves.
No realice un arranque externo de una batería descargada si existe cualquiera de estas condiciones.
Asegúrese de que la batería externa sea de plomo-ácido, que se encuentre en perfecto estado, esté totalmente cargada y sea de 12,6 V o más.
Note: Utilice cables de puente del tamaño correcto, que no sean demasiado largos para reducir la caída de tensión entre los dos sistemas. Asegúrese de que los cables están codificados por color o etiquetados con la polaridad correcta.
Las baterías contienen ácido y producen gases explosivos.
Protéjase los ojos y el rostro de las baterías en todo momento.
No se incline sobre las baterías.
Note: Asegúrese de que los tapones de ventilación están apretados y nivelados. Coloque un paño húmedo, si tiene uno, sobre los tapones de ventilación, si los hay, de ambas baterías. Además, asegúrese de que las máquinas no se tocan y de que ambos sistemas eléctricos están desconectados y tienen la misma tensión nominal. Estas instrucciones son aplicables únicamente a sistemas con negativo a tierra.
Conecte el cable positivo (+) al borne positivo (+) de la batería descargada que está conectado al motor de arranque o al solenoide, según se indica en Figura 83.

Conecte el otro extremo del cable del puente positivo (+) al terminal positivo de la batería en la otra máquina.
Conecte un extremo del cable del puente negativo (-) al borne negativo de la batería en la otra máquina.
Conecte el otro extremo del cable del puente negativo (-) a un punto de puesta a tierra, como un perno sin pintar o un larguero del chasis.
Arranque el motor en la otra máquina. Déjelo funcionar durante unos minutos, luego arranque su motor.
Retire los cables en el orden inverso de la conexión.
Instale la cubierta delantera.
El sistema eléctrico está protegido con fusibles. No requiere mantenimiento; no obstante, si se funde un fusible, compruebe que no hay avería ni cortocircuito en el componente/circuito.

| 1 | 2 | 3 | 4 | 5 | 6 | 7 | 8 | 9 | 10 | 11 | 12 | |
| A | X | X | Joystick | Alimentación de accesorio | Accesorio | Alimentación técnica | Claxon | |||||
| (5 A) | (20 A) | (10 A) | (7,5 A) | (10 A) | ||||||||
| B | X | X | X | X | TDM 2002 | Nivelación automática | Alimentación técnica | Luces/USB | ||||
| (10 A) | (10 A) | (7,5 A) | (15 A) | |||||||||
| C | X | X | X | X | Telemática | X | X | Alimentación técnica | Alimentación del sistema | |||
| (10 A) | (7,5 A) | (15 A) | ||||||||||
| D | X | X | X | (Relé) | (Relé) | (Relé) | ||||||
| E | X | X | X | |||||||||
Note: Si la máquina no arranca, podría estar fundido el fusible del circuito principal o del panel de control/relé.
| Intervalo de mantenimiento y servicio | Procedimiento de mantenimiento |
|---|---|
| Después de las primeras 8 horas |
|
| Después de las primeras 50 horas |
|
| Cada vez que se utilice o diariamente |
|
| Cada 50 horas |
|
Aparque la máquina en una superficie nivelada y ponga el freno de estacionamiento.
Con el cazo instalado y orientado hacia abajo, bájelo al suelo para que la parte delantera de la unidad de tracción se levante unos centímetros del suelo.
Apague el motor y retire la llave.
Usando una manguera de agua o una lavadora a presión, retire la suciedad de cada conjunto de oruga.
Important: Solamente lave con agua a alta presión la zona de las orugas. No utilice un sistema de lavado a alta presión para limpiar el resto de la unidad de tracción. No utilice agua a alta presión entre la rueda motriz y la unidad de tracción, porque podría dañar las juntas del motor. El lavado a alta presión puede dañar el sistema eléctrico y las válvulas hidráulicas, o eliminar grasa.
Important: Asegúrese de limpiar completamente las ruedas de rodaje, la rueda delantera, la rueda trasera y el piñón de arrastre. Las ruedas de rodaje deben rodar libremente cuando están limpias.

Eleve/apoye 1 lado de la máquina y, con el peso de la oruga, compruebe que el espacio entre la parte inferior del reborde de la rueda de rodaje y la oruga es de 19 mm. Si no es así, ajuste la tensión de las orugas usando el procedimiento siguiente.

Aparque la máquina en una superficie nivelada, ponga el freno de estacionamiento y baje los brazos de carga.
Apague el motor y retire la llave.
Eleve el lateral de la máquina que está ajustando, de modo que la oruga no toque el suelo.
Afloje los pernos de la cubierta trasera y retírela.

Afloje la tuerca autoblocante y gire el tornillo tensor en sentido horario, hasta que la flexión de la oruga sea de 19 mm.

Apriete la contratuerca.
Instale la cubierta y apriete los pernos.
Repita el procedimiento en la otra oruga.
Conduzca la máquina, luego aparque la máquina en una superficie nivelada, ponga el freno de estacionamiento, apague el motor y retire la llave.
Compruebe que la flexión de la oruga es de 19 mm. Ajústelo si es necesario.
Retire todos los implementos.
Aparque la máquina en una superficie nivelada y asegúrese de que solo 1 mitad de piñón está acoplada con la oruga.

Baje los brazos de carga.
Apague el motor y retire la llave.
Eleve la máquina del suelo, de modo que la parte inferior de la oruga esté al menos a 10,2 cm levantada del suelo. Apoye la máquina con caballetes.
Note: Utilice caballetes con capacidad suficiente para el peso de su máquina.
Los gatos mecánicos o hidráulicos pueden no aguantar el peso de la máquina y pueden dar lugar a lesiones graves.
Utilice caballetes para apoyar la máquina.
Afloje los pernos de la cubierta trasera y retírela.

Afloje la tuerca autoblocante y gire el tornillo tensor para liberar la tensión.

Retire el segmento del piñón de arrastre que no esté acoplado con la oruga.
Important: Si no retira el segmento del piñón, puede que sea difícil instalar una nueva oruga sin dañarla.

Arranque la máquina y quite el freno de estacionamiento.
Mueva el control de tracción hacia delante hasta que la otra mitad del piñón de arrastre no esté acoplada con la oruga.

Apague el motor y retire la llave.
Retire la oruga del bastidor de la oruga, el cubo de la transmisión y, a continuación, la rueda delantera.
Coloque la nueva oruga alrededor de la rueda delantera.

Presione la oruga debajo y entre las ruedas de rodaje y colóquela alrededor de la rueda trasera.
Arranque el motor y quite el freno de estacionamiento.
Mueva el control de tracción hacia delante hasta que la mitad del piñón de arrastre se acople con la oruga.

Apague el motor y retire la llave.
Aplique sellador de roscas en los pernos de la mitad del piñón de arrastre que retiró e instale la otra mitad del piñón. Apriete los pernos a entre 80 y 99 N∙m.

Ajuste el tornillo tensor hasta que la flexión de la oruga sea de 19 mm.

Apriete la contratuerca.
Instale la cubierta y apriete los pernos.
Repita el procedimiento para sustituir la otra oruga.
Baje la máquina al suelo.
Conduzca la máquina, luego aparque la máquina en una superficie nivelada, ponga el freno de estacionamiento, apague el motor y retire la llave.
Compruebe que la tensión de la oruga sea correcta; consulte Comprobación y ajuste de la tensión de las orugas.
La ingestión del refrigerante del motor puede causar envenenamiento; manténgalo fuera del alcance de niños y animales domésticos.
Una descarga de refrigerante caliente bajo presión, o cualquier contacto con el radiador caliente y los componentes que lo rodean, puede causar quemaduras graves.
Siempre deje que el motor se enfríe durante al menos 15 minutos antes de retirar el tapón del radiador.
Utilice un trapo al abrir el tapón del radiador, y ábralo lentamente para permitir la salida del vapor.
| Intervalo de mantenimiento y servicio | Procedimiento de mantenimiento |
|---|---|
| Cada vez que se utilice o diariamente |
|
| Cada 100 horas |
|
| Intervalo de mantenimiento y servicio | Procedimiento de mantenimiento |
|---|---|
| Cada vez que se utilice o diariamente |
|
Elimine cualquier acumulación de hierba, suciedad u otros residuos de la rejilla del radiador con aire comprimido.
| Intervalo de mantenimiento y servicio | Procedimiento de mantenimiento |
|---|---|
| Cada vez que se utilice o diariamente |
|
El sistema de refrigeración está lleno de una solución al 50% de agua y anticongelante permanente de etilenglicol.
Aparque la máquina en una superficie nivelada, baje los brazos de carga, ponga el freno de estacionamiento y apague el motor.
Retire la llave del interruptor y deje que el motor se enfríe.
Abra el capó.
Compruebe el nivel de refrigerante en el depósito de expansión.
Note: El nivel del refrigerante debe estar entre o encima de las marcas en el lateral del depósito.

Si el nivel de refrigerante es bajo, retire el tapón del depósito de expansión y añada una mezcla al 50 % de agua y anticongelante permanente de etilenglicol.
Important: No llene demasiado el depósito de expansión.
Instale el tapón del depósito de expansión.
| Intervalo de mantenimiento y servicio | Procedimiento de mantenimiento |
|---|---|
| Cada 800 horas |
|
Haga que un Servicio Técnico Autorizado cambie el refrigerante del motor cada año.
Si necesita añadir refrigerante del motor, consulte Comprobación del nivel de refrigerante del motor.
| Intervalo de mantenimiento y servicio | Procedimiento de mantenimiento |
|---|---|
| Cada 100 horas |
|
Aplique una fuerza de 44 N en la correa del alternador, en el punto intermedio entre las poleas.
Si la flexión no es de 10 mm, afloje los pernos de montaje del alternador.

Aumente o reduzca la tensión de la correa del alternador.
Apriete los pernos de montaje.
Compruebe la flexión de la correa de nuevo para asegurarse de que sea correcta.
Los controles son ajustados en fábrica antes del envío de la máquina. No obstante, tras muchas horas de uso, es posible que usted necesite ajustar la alineación del control de tracción, la posición de PUNTO MUERTO del control de tracción y el desplazamiento del control de tracción en posición hacia adelante a velocidad máxima.
Póngase en contacto con su Servicio Técnico Autorizado para que ajuste los controles de la máquina.
Busque atención médica inmediatamente si el fluido penetra en la piel. Un médico deberá eliminar quirúrgicamente el fluido inyectado en pocas horas.
Asegúrese de que todas las mangueras y líneas de fluido hidráulico están en buenas condiciones de uso, y que todos los acoplamientos y conexiones hidráulicos están apretados, antes de aplicar presión al sistema hidráulico.
Mantenga el cuerpo y las manos alejados de fugas pequeñas o de boquillas que liberan fluido hidráulico a alta presión.
Utilice un cartón o un papel para buscar fugas hidráulicas.
Alivie de manera segura toda la presión del sistema hidráulico antes de realizar trabajo alguno en el sistema hidráulico.
Para aliviar la presión hidráulica mientras el motor está en marcha, desengrane el sistema hidráulico auxiliar y baje totalmente y retraiga los brazos de carga.
Para aliviar la presión mientras el motor está apagado, cambie el joystick entre las posiciones hacia delante para bajar los brazos de carga.

| Intervalo de mantenimiento y servicio | Procedimiento de mantenimiento |
|---|---|
| Cada 100 horas |
|
| Cada 400 horas |
|
| Cada 1000 horas |
|
| Cada 1500 horas |
|
| Cada 2 años |
|
Capacidad del depósito hidráulico: 44,7 litros
Utilice solamente uno de los fluidos siguientes en el sistema hidráulico:
Fluido hidráulico/de transmisión Toro Premium Tractor (consulte a su servicio técnico autorizado si desea más información)
Fluido hidráulico Toro PX Extended Life (consulte a su servicio técnico autorizado si desea más información)
Si ninguno de los fluidos Toro anteriores no está disponible, puede utilizar otro fluido hidráulico universal para tractores (UTHF ), pero en este caso utilice únicamente productos convencionales a base de petróleo. Las especificaciones de todas las propiedades materiales deben estar dentro de los intervalos citados a continuación, y el fluido debe cumplir las normas industriales citadas. Consulte a su proveedor de fluido hidráulico para determinar si el fluido cumple estas especificaciones.
Note: Toro no asume responsabilidad alguna por daños causados por sustitutos no adecuados, así que usted debe utilizar solamente productos de fabricantes responsables que respaldan sus recomendaciones.
| Propiedades de materiales | |
| Viscosidad, ASTM D445 | cSt a 40 °C: 55 a 62 |
| cSt a 100 °C: 9,1 a 9,8 | |
| Índice de viscosidad ASTM D2270: | 140 a 152 |
| Punto de descongelación, ASTMD97 | -37 °C a -43 °C |
| Normas industriales | |
| API GL-4, AGCO Powerfluid 821 XL, Ford New Holland FNHA-2-C-201.00, Kubota UDT, John Deere J20C, Vickers 35VQ25 y Volvo WB-101/BM | |
Note: Muchos fluidos hidráulicos son casi incoloros, por lo que es difícil detectar fugas. Está disponible un aditivo de tinte rojo para el fluido del sistema hidráulico, en botellas de 20 ml. Una botella es suficiente para 15 a 22 litros de fluido hidráulico. Solicite la pieza N.º 44-2500 a su Distribuidor Autorizado Toro.
| Intervalo de mantenimiento y servicio | Procedimiento de mantenimiento |
|---|---|
| Cada 25 horas |
|
Important: Utilice siempre el tipo correcto de fluido hidráulico. Los fluidos que no cumplan las especificaciones dañarán el sistema hidráulico. Consulte Especificación del fluido hidráulico.
Retire todos los aperos.
Aparque la máquina en una superficie nivelada, ponga el freno de estacionamiento y baje los brazos de carga.
Apague el motor y retire la llave.
Levante el soporte.

Limpie la zona alrededor del tapón de llenado.
Retire el tapón del cuello de llenado y compruebe el nivel de fluido en la varilla.
Note: El nivel del fluido debe estar entre las marcas de la varilla.

Si el nivel es bajo, añada fluido suficiente para que llegue al nivel correcto.
Coloque el tapón de llenado.
Baje el soporte.
Important: No utilice un filtro de aceite para automóviles, de lo contrario se pueden producir graves daños en el sistema hidráulico.
Retire todos los accesorios.
Aparque la máquina en una superficie nivelada y ponga el freno de estacionamiento.
Eleve los brazos de carga e instale los bloqueos de los cilindros.
Apague el motor, retire la llave y deje que el motor se enfríe.
Retire la cubierta delantera; consulte Retirada de la cubierta delantera.
Coloque un recipiente debajo del filtro y cambie el filtro.

Limpie cualquier fluido derramado.
Arranque el motor y déjelo funcionar durante unos dos minutos para purgar el aire del sistema.
Apague el motor y compruebe que no hay fugas.
Compruebe el nivel de fluido del depósito hidráulico; consulte Comprobación del nivel de fluido hidráulico y añada fluido para que el nivel llegue a la marca de la varilla.
Important: No llene demasiado el depósito.
Instale la cubierta delantera.
Retire y guarde los bloqueos de los cilindros y baje los brazos de carga.
Aparque la máquina en una superficie nivelada, ponga el freno de estacionamiento y baje los brazos de carga.
Apague el motor y retire la llave.
Coloque un recipiente grande con capacidad para 57 litros debajo del tapón de vaciado en el depósito hidráulico.

Retire el tapón de vaciado y deje fluir el aceite al recipiente.
Cuando el aceite deje de fluir, coloque y apriete el tapón de vaciado.
Note: Elimine el aceite usado en un centro de reciclaje homologado.
Llene el depósito hidráulico con fluido hidráulico; consulte Especificación del fluido hidráulico.
Arranque el motor y déjelo funcionar durante unos minutos.
Apague el motor y retire la llave.
Compruebe el nivel de fluido hidráulico y añada fluido para llenar el depósito, si es necesario; consulte Comprobación del nivel de fluido hidráulico.
| Intervalo de mantenimiento y servicio | Procedimiento de mantenimiento |
|---|---|
| Cada 25 horas |
|
Compruebe el apriete siempre que los brazos de carga inferiores traqueteen.
Aparque la máquina en una superficie nivelada.
Apague el motor, retire la llave y deje que el motor se enfríe.
En cada brazo de carga, afloje los tornillos de fijación en los 4 tornillos de ajuste.

Apriete los tornillos de ajuste a 27 N∙m.
Compruebe que la longitud de los tornillos de ajuste que sobresalen de los brazos sea igual a cada lado.
Aplique fijador de roscas de resistencia media a los tornillos de fijación y apriételos hasta que entren en contacto con los tornillos de ajuste.
Important: No apriete en exceso los tornillos de fijación, de lo contrario puede dañar las roscas de los tornillos de ajuste.
| Intervalo de mantenimiento y servicio | Procedimiento de mantenimiento |
|---|---|
| Cada vez que se utilice o diariamente |
|
Important: La operación del motor con las rejillas obstruidas y/o sin las tapas de ventilación dañará el motor debido al sobrecalentamiento.
Aparque la máquina en una superficie nivelada y baje los brazos de carga.
Apague el motor, retire la llave y deje que el motor se enfríe.
Abra el capó.
Limpie cualquier residuo de las rejillas delantera y laterales.
Retire cualquier residuo del limpiador de aire.
Elimine cualquier acumulación de residuos en el motor y en las aletas del enfriador de aceite con un cepillo o un soplador.
Important: La operación del motor con las rejillas obstruidas y/o sin las tapas de ventilación dañará el motor debido al sobrecalentamiento.
Limpie cualquier residuo del orificio del capó, el silenciador, los protectores térmicos y la rejilla del radiador (en su caso).
Cierre el capó.
Cuando lave la máquina a presión, haga lo siguiente:
Lleve equipos de protección personal apropiados para la lavadora a presión.
Mantenga colocados todos los protectores en la máquina.
Evite dirigir el agua hacia los componentes electrónicos.
Evite dirigir el agua hacia los bordes de las calcomanías.
Pulverice el exterior de la máquina solamente. No pulverice directamente en los orificios de la máquina.
Pulverice únicamente las partes sucias de la máquina.
Utilice una boquilla de 40 grados o más. Las boquillas de 40 grados suelen ser blancas.
Mantenga la punta de la lavadora a presión a una distancia mínima de 60 cm de la superficie a lavar.
Utilice únicamente lavadoras con una presión inferior a 137,9 bar y un caudal inferior a 7,6 litros por minuto.
Cambie cualquier calcomanía que esté dañada o que se esté despegando.
Engrase todos los puntos de engrase después del lavado; consulte Engrasado de la máquina.
| Intervalo de mantenimiento y servicio | Procedimiento de mantenimiento |
|---|---|
| Cada 100 horas |
|
Con el tiempo, el chasis debajo del motor acumula suciedad y residuos que deben ser eliminados. Abra el capó y utilice una linterna para inspeccionar regularmente el área bajo el capó. Cuando la acumulación de residuos llegue a tener una profundidad de 2,5–5 cm, limpie el chasis.
Aparque la máquina en una superficie nivelada y baje los brazos de carga.
Eleve la parte delantera de la máquina de manera que la máquina quede inclinada hacia atrás.
Apague el motor y retire la llave.
Retire la placa inferior; consulte Retirada de la placa inferior.
Retire el conjunto de cubierta delantera; consulte Retirada del conjunto de cubierta delantera.
Pulverice agua sobre el chasis para eliminar la suciedad y los residuos.
Note: El agua se drenará por la parte trasera de la máquina.
Important: No pulverice agua sobre el motor.
Engrase la máquina; consulte Engrasado de la máquina.
Instale la placa inferior.
Instale el conjunto de cubierta delantera.
Baje la máquina.
Apague el motor, retire la llave, espere a que se detengan todas las piezas en movimiento y deje que el motor se enfríe antes de guardar la máquina.
No almacene la máquina o el combustible cerca de una llama.
Aparque la máquina en una superficie nivelada, ponga el freno de estacionamiento y baje los brazos de carga.
Apague el motor y retire la llave.
Limpie la suciedad de toda la máquina.
Important: La máquina puede lavarse con un detergente suave y agua. Evite el uso excesivo de agua, especialmente cerca del panel de control, el motor, las bombas hidráulicas y los motores eléctricos.
Revise el limpiador de aire; consulte Mantenimiento del limpiador de aire.
Engrase la máquina; consulte Engrasado de la máquina.
Cambie el aceite del motor; consulte Cómo cambiar el aceite de motor y el filtro.
Cargue la batería; consulte Cómo cargar la batería.
Compruebe y ajuste la tensión de las orugas; consulte Comprobación y ajuste de la tensión de las orugas.
Revise y apriete todas las fijaciones. Instale las piezas que falten, o bien repare o sustituya las que estén dañadas o desgastadas.
Pinte cualquier superficie rayada o de metal desnudo con pintura disponible en un Servicio Técnico Autorizado.
Guarde la máquina en un garaje o almacén seco y limpio. Retire la llave de contacto y guárdela en un lugar seguro que le sea fácil de recordar.
Desconecte la batería; consulte Uso del interruptor de desconexión de la batería.
Cubra la máquina para protegerla y para conservarla limpia.
Antes de retirar la máquina de servicio, observe la normativa local sobre la eliminación de sustancias peligrosas. Para obtener más información sobre el vaciado de los fluidos, consulte el capítulo sobre Mantenimiento o póngase en contacto con un Servicio Técnico Autorizado.
| Problem | Possible Cause | Corrective Action |
|---|---|---|
| El motor no arranca. |
|
|
| El motor pierde potencia. |
|
|
| El motor arranca, pero no sigue funcionando. |
|
|
| El motor se sobrecalienta. |
|
|
| No es posible conducir la máquina. |
|
|