| Périodicité d'entretien | Procédure d'entretien |
|---|---|
| À chaque utilisation ou une fois par jour |
|
Cette machine est un porte-outil compact prévu pour transporter la terre et autres matériaux utilisés dans les travaux de paysagement et de construction. Elle est conçue pour fonctionner avec un large choix d'outils spécialisés. L'utilisation de ce produit à d'autres fins que celle prévue peut être dangereuse pour vous-même et pour les personnes à proximité. Ne modifiez pas la machine ou ses outils.
Cette machine doit être utilisée, révisée et réparée uniquement par des professionnels connaissant bien ses caractéristiques ainsi que les procédures de sécurité pertinentes.
Utilisez cette machine à des températures ambiantes comprises entre -18 et 38 °C. Contactez votre concessionnaire-réparateur agréé pour connaître les dispositions nécessaires pour utiliser cette machine dans des températures extrêmes.
Lisez attentivement cette notice pour apprendre comment utiliser et entretenir correctement votre produit, et éviter ainsi de l'endommager ou de vous blesser. Vous êtes responsable de l'utilisation sûre et correcte du produit.
Rendez-vous sur www.Toro.com pour tout document de formation à la sécurité et à l'utilisation des produits, pour tout renseignement concernant un produit ou un accessoire, pour obtenir l'adresse des concessionnaires ou pour enregistrer votre produit.
Pour obtenir des prestations de service, des pièces d'origine Toro ou des renseignements complémentaires, munissez-vous des numéros de modèle et de série du produit et contactez un concessionnaire-réparateur agréé ou le service client Toro. La Figure 1 indique l'emplacement des numéros de modèle et de série sur le produit. Inscrivez les numéros dans l'espace réservé à cet effet.
Important: Avec votre appareil mobile, vous pouvez scanner le QR code sur l'autocollant du numéro de série (le cas échéant) pour accéder aux informations sur la garantie, les pièces détachées et autres renseignements concernant le produit.

Les mises en garde de ce manuel soulignent des dangers potentiels et sont signalées par le symbole de sécurité (Figure 2), qui indique un danger pouvant entraîner des blessures graves ou mortelles si les précautions recommandées ne sont pas respectées.

Ce manuel utilise deux termes pour faire passer des renseignements essentiels. Important pour attirer l'attention sur des informations d'ordre mécanique spécifiques et Remarque pour souligner des informations d'ordre général méritant une attention particulière.
Ce produit est conforme à toutes les directives européennes pertinentes. Pour plus de renseignements, reportez-vous à la Déclaration de conformité spécifique du produit fournie séparément.
Vous commettez une infraction à la section 4442 ou 4443 du Code des ressources publiques de Californie si vous utilisez cette machine dans une zone boisée, broussailleuse ou recouverte d'herbe à moins d'équiper le moteur d'un pare-étincelles, tel que défini à la section 4442, maintenu en bon état de marche, ou à moins de construire, équiper et entretenir le moteur de manière à prévenir les incendies.
Le manuel du propriétaire du moteur ci-joint est fourni à titre informatif concernant la réglementation de l'Agence américaine pour la protection de l'environnement (EPA) et la réglementation antipollution de l'état de Californie relative aux systèmes antipollution, à leur entretien et à leur garantie. Vous pouvez vous en procurer un nouvel exemplaire en vous adressant au constructeur du moteur.
CALIFORNIE
Proposition 65 - Avertissement
L'état de Californie considère les gaz d'échappement des moteurs diesel et certains de leurs composants comme susceptibles de provoquer des cancers, des malformations congénitales et autres troubles de la reproduction.
Les bornes de la batterie et accessoires connexes contiennent du plomb et des composés de plomb. L'état de Californie considère ces substances chimiques comme susceptibles de provoquer des cancers et des troubles de la reproduction. Lavez-vous les mains après avoir manipulé la batterie.
L'utilisation de ce produit peut entraîner une exposition à des substances chimiques considérées pas l'état de Californie comme capables de provoquer des cancers, des anomalies congénitales ou d'autres troubles de la reproduction.
Des conduites peuvent être enfouies dans la zone de travail. Vous pouvez provoquer une explosion ou vous électrocuter si vous les touchez en creusant.
Marquez au préalable l'emplacement des lignes ou conduites enfouies dans la zone de travail, et ne creusez pas à ces endroits. Contactez le service de marquage ou la compagnie de service public local(e) pour faire marquer le terrain (par exemple, appelez le service de marquage national au 811 pour États-Unis ou au 1100 pour l'Australie).
Respectez toujours toutes les consignes de sécurité pour éviter des blessures graves ou mortelles.
Ne dépassez pas la capacité nominale de la machine au risque de la déstabiliser et d'en perdre le contrôle.
Ne transportez pas de charge quand les bras sont levés ou déployés ; transportez toujours les charges près du sol, avec les bras de chargeuse rétractés.
Les pentes augmentent significativement les risques de perte de contrôle et de basculement de la machine pouvant entraîner des accidents graves, voire mortels. L'utilisation de la machine sur une pente, quelle qu'elle soit, ou sur un terrain accidenté, demande une attention particulière.
Travaillez toujours dans le sens de la pente (en montée ou en descente), en maintenant le côté le plus lourd de la machine en amont et la charge près du sol, et avec les bras de chargeuse rétractés. La répartition du poids varie selon les outils montés. Quand l'outil de charge est vide, l'arrière de la machine est le point le plus lourd ; lorsqu'il est plein, l'avant de la machine devient plus lourd. La plupart des outils alourdissent l'avant de la machine.
Marquez au préalable l'emplacement des lignes, conduites ou autres objets enfouis dans la zone de travail, et ne creusez pas à ces endroits.
Vous devez lire et comprendre le contenu de ce Manuel de l'utilisateur avant de démarrer le moteur.
Accordez toute votre attention à l'utilisation de la machine. Ne faites rien d'autre qui puisse vous distraire, au risque de causer des dommages corporels ou matériels.
Ne confiez jamais l'utilisation de la machine à des enfants ou à des personnes non qualifiées.
N'approchez jamais les mains ou les pieds des composants et outils mobiles.
N'utilisez pas la machine s'il manque des capots ou d'autres dispositifs de protection, ou s'ils sont endommagés.
Tenez personnes et animaux à l'écart de la machine.
Arrêtez la machine, coupez le moteur et enlevez la clé avant d'effectuer un entretien, de faire le plein de carburant ou d'éliminer une obstruction sur la machine.
L'usage ou l'entretien incorrect de cette machine
peut occasionner des accidents. Pour réduire les risques d'accidents
et de blessures, respectez les consignes de sécurité
qui suivent. Tenez toujours compte des mises en garde signalées
par le symbole de sécurité (
) et la mention Prudence,
Attention ou Danger. Le non respect de ces instructions peut entraîner
des blessures graves ou mortelles.
![]() |
Des autocollants de sécurité et des instructions bien visibles par l'utilisateur sont placés près de tous les endroits potentiellement dangereux. Remplacez tout autocollant endommagé ou manquant. |






























Avant de mettre le moteur en marche et d'utiliser la machine, familiarisez-vous avec toutes les commandes.

Le commutateur d'allumage sert à démarrer et arrêter le moteur, et comporte 3 positions : ARRêT, CONTACT et DéMARRAGE.
Les commandes de déplacement et des bras de chargeuse sont automatiquement désactivées lorsque vous démarrez la machine. Le frein de stationnement se serre automatiquement quand vous coupez le moteur.
Appuyez sur la commande pour desserrer le frein de stationnement et activer les commandes de déplacement et des bras de chargeuse ; appuyez de nouveau sur la commande pour serrer le frein de stationnement et désactiver les commandes.
Note: Le témoin s’allume sur la commande lorsque le frein de stationnement est serré.

Appuyez sur l'avant de la commande pendant au moins 2 secondes pour sélectionner le RALENTI ACCÉLÉRÉ ; appuyez sur l'arrière de la commande pendant au moins 2 secondes pour sélectionner le RALENTI ; ou appuyez brièvement sur l'avant ou l'arrière de la commande pour augmenter ou réduire le régime moteur progressivement.
Lorsque vous conduisez la machine, servez-vous de la barre de référence comme poignée et point de levier pour contrôler la commande de déplacement et le levier multifonction. Pour garder le contrôle de la machine, gardez toujours les mains sur la barre de référence pendant les manœuvres.

Pour vous déplacer en marche avant, poussez la commande de déplacement en avant.

Pour vous déplacer en marche arrière, tirez la commande de déplacement en arrière.
Important: Regardez derrière vous lorsque vous faites marche arrière et gardez toujours les mains sur la barre de référence.

Pour tourner à droite, tournez la commande de déplacement dans le sens horaire.

Pour tourner à gauche, tournez la commande de déplacement dans le sens antihoraire.

Pour arrêter la machine, relâchez la commande de déplacement.
Note: La vitesse de déplacement de la machine, dans l'une ou l'autre direction, est proportionnelle au déplacement de la commande.
Déplacez lentement le levier pour actionner les bras de chargeuse et basculer l'outil.
Note: La position verrouillée (flottement) permet aux outils, comme la niveleuse et la lame hydraulique, de suivre le relief du terrain (c.-à-d. flotter) pendant le nivelage.

Déplacez le levier à une position intermédiaire (par ex. en avant et à gauche) pour actionner les bras de chargeuse et basculer l'outil simultanément.

Note: Les bras de chargeuse peuvent ne pas se déployer lorsqu’ils sont complètement levés, en raison de la pression piégée ; abaissez légèrement les bras pour évacuer la pression, puis déployez-les.
Si vous déplacez la machine alors que les bras de chargeuse sont déployés, cela risque d'affecter la stabilité de la machine.
Minimisez le déplacement de la machine quand les bras de chargeuse sont déployés.
Engagez les commandes hydrauliques de fonctionnement avant ou arrière, puis, avec le pied droit, appuyez sur la commande de blocage ; vous pouvez ainsi maintenir le débit tout en gardant votre main libre pour d'autres commandes.

Elle indique la quantité de carburant qui reste dans le(s) réservoir(s).

L'écran LCD de l'InfoCenter affiche des données relatives à la machine, comme l'état de fonctionnement, ainsi que divers diagnostics et autres renseignements la concernant. L'InfoCenter comprend un écran de démarrage et un écran d'information principal. Vous pouvez alterner entre l'écran de démarrage et l'écran d'information principal à tout moment en appuyant sur l'une des touches de l'InfoCenter puis en sélectionnant la flèche de direction appropriée.

Bouton gauche : bouton d'accès aux menus/de retour – appuyez sur ce bouton pour accéder aux menus de l'InfoCenter. Il permet également de quitter le menu actuellement utilisé.
Bouton central – utilisez ce bouton pour faire défiler les menus.
Bouton droit – utilisez ce bouton pour ouvrir un menu lorsqu'une flèche à droite indique un contenu supplémentaire.
Note: Chaque bouton peut changer de fonction selon les besoins du moment. Chaque bouton est repéré par une icône illustrant sa fonction actuelle.
![]() | Accès aux menus |
![]() | Suivant |
![]() | Précédent |
![]() | Défilement vers le bas |
![]() | Entrée |
![]() | Changer la valeur suivante de la liste |
![]() | Augmenter |
![]() | Diminuer |
![]() | Enregistrer la valeur |
![]() | Quitter le menu |
![]() | Accepter |
![]() | L'option est bloquée. |
![]() | Compteur horaire |
![]() | Modifier le chiffre |
![]() | Attention |
![]() | Accès à l'écran de vitesse de transport |
![]() | Haut régime |
![]() | Bas régime |
![]() | Point mort |
![]() | Blocage du système auxiliaire |
![]() | Démarrage à froid |
![]() | Frein de stationnement |
![]() | Moteur |
![]() | Bougies de préchauffage |
![]() | Température du liquide de refroidissement moteur |
![]() | Régime moteur |
![]() | Tension batterie |
![]() | La fonction Smart Load est active. |
![]() | Indique quand un entretien programmé doit être effectué |
![]() | Régénération du FAP requise. |
![]() | Une régénération en stationnement ou d'urgence est en cours. |
![]() | Température d’échappement élevée |
![]() | Dysfonctionnement du diagnostic de contrôle de NOx ; ramenez la machine à l’atelier et contactez votre concessionnaire-réparateur agréé. |
Pour accéder au système de menus de l'InfoCenter,
appuyez sur le bouton d'accès aux menus
à partir de l'écran
principal. Cela vous amènera au menu principal. Reportez-vous
aux tableaux ci-après pour le synopsis des options disponibles
dans les différents menus :
| Option de menu | Description |
|---|---|
| Anomalies | Le menu Anomalies contient la liste des anomalies récentes de la machine et du moteur. Reportez-vous au Manuel d'entretien ou adressez-vous à votre concessionnaire-réparateur agréé pour plus de renseignements sur le menu Anomalies et sur les informations qu'il contient. |
| Entretien | Le menu Entretien contient des renseignements sur la machine, comme le nombre d'heures de fonctionnement et d'autres renseignements de ce type. |
| Diagnostics | Le menu Diagnostics indique l'état de chaque contacteur, capteur et sortie de commande de la machine. Vous pouvez vous en servir pour détecter certains problèmes, car il vous indiquera rapidement quelles commandes de la machine sont activées ou désactivées. |
| Réglages | Le menu Réglages vous permet de personnaliser et modifier les variables de configuration sur l'écran de l'InfoCenter. |
| À propos | Le menu À propos indique le numéro de modèle, le numéro de série et la version logicielle de votre machine. |
| Option de menu | Description |
|---|---|
| Hours | Indique le nombre total d'heures de fonctionnement de la machine, du moteur et du système hydraulique auxiliaire, ainsi que le nombre d'heures restant avant l’entretien du moteur et du circuit hydraulique. |
| Counts | Indique le nombre de démarrages de la machine, le nombre d'avertissements de surchauffe du moteur et le nombre de coupures du moteur dues à une surchauffe. |
| DPF Regeneration | Option de régénération du FAP et sous-menus FAP. |
| Inhibit Regen | Permet de commander la régénération commandée. |
| Parked Regen | Permet de lancer une régénération en stationnement. |
| Last Regen | Indique le nombre d'heures depuis la dernière régénération commandée, en stationnement ou d'urgence. |
| Recover Regen | Permet de lancer une régénération d'urgence. |
| Option de menu | Description |
|---|---|
| Traction | Indique les entrées et sorties relatives à la conduite de la machine. |
| Auxiliary | Indique les entrées et sorties relatives à l'engagement du système hydraulique auxiliaire. |
| Engine | Indique les entrées et sorties relatives au démarrage du moteur. |
| Boom | Indique les entrées et sorties relatives au déploiement et à la rétraction des bras télescopiques. |
| Option de menu | Description |
|---|---|
| Unités | Permet de choisir les unités utilisées dans l'InfoCenter (métriques ou impériales). |
| Langue | Permet de choisir la langue utilisée dans l'InfoCenter. |
| Luminosité | Permet de régler la luminosité de l'affichage LCD. |
| Contraste | Permet de régler le contraste de l'affichage LCD |
| Menus protégés | Permet d'accéder aux menus protégés. |
| Protection des réglages | Permet de choisir si un code PIN est nécessaire dans les Menus protégés. |
| Option de menu | Description |
|---|---|
| Modèle | Indique le numéro de modèle de la machine |
| Série | Indique le numéro de série de la machine |
| Logiciel | Indique la version logicielle du système de la machine. |
| Affichage | Indique la version logicielle de l’affichage de l'InfoCenter. |
Note: Le code PIN par défaut d'usine de la machine est 0000 ou 1234.Si vous avec changé de code PIN et que vous l'avez oublié, contactez votre concessionnaire agréé.
Dans le menu PRINCIPAL, naviguez jusqu'au menu RéGLAGES, puis appuyez sur le bouton droit.

Dans le menu RéGLAGES, naviguez jusqu'à MENUS PROTéGéS et appuyez sur le bouton droit.

Pour saisir le code PIN, appuyez sur le bouton central jusqu'à ce que le premier chiffre correct s'affiche, puis appuyez sur le bouton droit pour passer au chiffre suivant. Répétez cette procédure jusqu'à ce que le dernier chiffre soit saisi, puis appuyez une nouvelle fois sur le bouton droit.

Appuyez sur le bouton central pour confirmer le code PIN.
Note: Si l'InfoCenter accepte le code PIN et que le menu protégé est déverrouillé, « PIN » s'affiche dans le coin supérieur droit de l'écran.
Vous pouvez visualiser et modifier les réglages dans le MENU PROTéGé. Après avoir ouvert le MENU PROTéGé, naviguez jusqu'à l'option PROTECTION DES RéGLAGES. Appuyez sur le bouton droit pour modifier le réglage. Si vous réglez l'option Protection des réglages sur OFF (désactivée), vous pouvez visualiser et modifier les réglages du MENU PROTéGé sans avoir à saisir le code PIN. Si vous réglez l'option Protection des réglages sur ON (activée), les options protégées sont masquées et vous devez saisir le code PIN pour pouvoir modifier les réglages dans le MENU PROTéGé.
Note: Les caractéristiques et le design de la machine sont susceptibles de modifications sans préavis.
| Largeur | 116,8 cm |
| Longueur | 215,6 cm |
| Hauteur | 143,5 cm |
| Poids | 1750 kg |
| Capacité de fonctionnement (35 % de la capacité de basculement1) | |
| 589,7 kg |
| 280 kg | |
| Capacité de basculement1 | |
| 1685 kg |
| 792 kg | |
| Empattement | 99,1 cm |
| Hauteur de basculement (avec godet standard) | |
| 180,1 cm |
| 230,3 cm | |
| Portée – levage maximum (avec godet standard) | |
| 33,5 cm |
| 67,8 cm | |
| Hauteur jusqu'à l'axe de pivotement (avec godet standard à la hauteur maximale) | |
| 227,1 cm |
| 277,3 cm |
1. La capacité de fonctionnement est calculée comme étant égale à 35 % de la capacité de basculement avec un godet standard et un utilisateur de 75 kg, conformément à la norme ISO 14397-1. D’autres outils ont des capacités de fonctionnement différentes ; voir le Manuel de l’utilisateur ou à l’autocollant de capacité de charge de l’outil en question.
Une sélection d'outils et d'accessoires fabriqués par Toro est disponible pour augmenter et améliorer les capacités de la machine. Pour obtenir la liste de tous les accessoires et outils fabriqués par Toro, contactez votre concessionnaire-réparateur agréé ou votre distributeur Toro agréé, ou rendez-vous sur www.Toro.com.
Pour obtenir des résultats optimaux, utilisez des pièces de rechange et des accessoires d'origine Toro. Toro décline toute responsabilité en cas de dommage de la machine ou de blessure résultant de l'utilisation d'outils provenant d'un autre constructeur. L'utilisateur accepte les conséquences de ces risques.
Note: Les côtés gauche et droit de la machine sont déterminés d'après la position d'utilisation normale.
Ne confiez jamais l'utilisation ou l'entretien de la machine à des enfants ou à des personnes non qualifiées. Certaines législations imposent un âge minimum ou exigent que les utilisateurs suivent une formation certifiée. Le propriétaire de la machine doit assurer la formation de tous les utilisateurs et mécaniciens.
Familiarisez-vous avec le maniement correct du matériel, les commandes et les autocollants de sécurité.
Serrez toujours le frein de stationnement (selon l'équipement), coupez le moteur, enlevez la clé, attendez l'arrêt complet de toutes les pièces mobiles et laissez refroidir la machine avant de la régler, d'en faire l'entretien, de la nettoyer ou de la ranger.
Apprenez à arrêter la machine et le moteur rapidement.
Vérifiez toujours que les commandes de présence de l'utilisateur, les contacteurs de sécurité et les capots de protection sont en place et fonctionnent correctement. N'utilisez pas la machine s'ils ne fonctionnent pas correctement.
Repérez les points de pincement indiqués sur la machine et les outils ; n'approchez pas les mains ni les pieds de ces points.
Avant de conduire la machine équipée d'un outil, vérifiez qu'il s'agit bien d'un outil d'origine Toro et qu'il est fixé correctement. Lisez les manuels d'utilisation de tous les outils.
Examinez la zone de travail pour déterminer quels accessoires et outils vous permettront d'exécuter votre tâche correctement et sans danger.
Marquez au préalable l'emplacement des lignes, conduites ou autres objets enfouis dans la zone de travail, et ne creusez pas à ces endroits ; notez l'emplacement des objets et structures qui ne sont pas repérés, tels réservoirs de stockage souterrains, puits et fosses septiques
Examinez la zone de travail en recherchant des surfaces inégales ou des dangers cachés.
Vérifiez que personne ne se trouve dans la zone de travail avant d'utiliser la machine. Arrêtez la machine si quelqu'un entre dans la zone de travail.
Faites preuve de la plus grande prudence quand vous manipulez du carburant. en raison de son inflammabilité et du risque d'explosion des vapeurs qu'il dégage.
Éteignez cigarettes, cigares, pipes et autres sources d'étincelles.
Utilisez exclusivement un bidon à carburant homologué.
N'enlevez pas le bouchon du réservoir de carburant et n'ajoutez pas de carburant pendant que le moteur tourne ou est encore chaud.
N'ajoutez pas de carburant et ne vidangez pas le réservoir dans un local fermé.
Ne rangez pas la machine ni les bidons de carburant à proximité d'une flamme nue, d'une source d'étincelles ou d'une veilleuse, telle celle d'un chauffe-eau ou autre appareil.
Si vous renversez du carburant, ne mettez pas le moteur en marche. Évitez toute source possible d'inflammation jusqu'à dissipation complète des vapeurs de carburant.
Pour éviter que l'électricité statique n'enflamme le carburant, descendez la machine du camion ou de la remorque et faites le plein quand elle est au sol, à l'écart de tout autre véhicule. Si cela est impossible, placez un bidon de carburant portable sur le sol, à l'écart de tout autre véhicule, et remplissez-le ; faites ensuite le plein de la machine avec le récipient portable plutôt que directement à la pompe.
Maintenez le pistolet en contact avec le bord du réservoir ou du bidon jusqu'à la fin du remplissage. N'utilisez pas de dispositif de verrouillage du pistolet en position ouverte.
Utilisez uniquement du carburant diesel propre et neuf ou du biodiesel à très faible (<15 ppm) teneur en soufre. L'indice minimum de cétane doit être de 45. Utilisez de préférence un indice de cétane supérieur à 50, notamment à une température ambiante inférieure à -20 °C ou une altitude supérieure à 1500 m. Pour garantir la fraîcheur du carburant, n'achetez pas plus de la quantité normalement consommée en 6 mois.
L'utilisation d’un carburant qui n'est pas à très faible teneur en soufre endommagera le système antipollution du moteur.
Utilisez du gazole de qualité été (nº 2-D ou Nº 2-D S15) si la température ambiante est supérieure à -10 °C, et du gazole de qualité hiver (nº 1-D ou nº 1-D S15) en-dessous de cette température. L'usage de carburant de qualité hiver à basses températures réduit le point d'éclair et les caractéristiques d'écoulement à froid, ce qui facilite le démarrage et réduit le colmatage du filtre à carburant.
L'usage de carburant de qualité été au-dessus de -10 °C contribue à prolonger la vie de la pompe à carburant et augmente la puissance comparé au carburant de qualité hiver.
Important: N'utilisez pas de kérosène ou d'essence à la place du gazole, sous peine d'endommager le moteur.
Cette machine peut aussi utiliser un mélange carburant et biodiesel jusqu'à B5 (5 % biodiesel, 95 % pétrodiesel). La partie gazole doit être à faible ou à très faible teneur en soufre. Prenez les précautions suivantes :
La partie biodiesel du carburant doit être conforme à la norme ASTM D6751 ou EN 14214.
Le mélange de carburant doit être conforme à la norme ASTM D975 ou EN590.
Les surfaces peintes peuvent être endommagées par les mélanges biodiesel.
Utilisez du B5 (teneur en biodiesel de 5 %) ou un mélange de plus faible teneur par temps froid.
Examinez régulièrement les joints et flexibles en contact avec le carburant, car ils peuvent se détériorer avec le temps.
Le filtre à carburant peut se colmater pendant quelque temps après l'adoption de mélanges au biodiesel.
Contactez votre distributeur pour plus de renseignements sur le biodiesel.
Capacité du réservoir de carburant : 43,5 litres
Garez la machine sur une surface plane et horizontale, serrez le frein de stationnement et abaissez les bras de chargeuse.
Coupez le moteur et retirez la clé.
Relevez le support.

Enlevez le bouchon du réservoir de carburant.
Remplissez le réservoir de carburant jusqu'au goulot de remplissage.
Remettez le bouchon en place.
Abaissez le support.
Avant de démarrer la machine chaque jour, effectuez les procédures décrites à la section .
Important: Contrôlez le niveau de liquide hydraulique et purgez le système d'alimentation avant le tout premier démarrage du moteur ; voir Contrôle du niveau de liquide hydraulique et Purge du circuit d'alimentation.
Ne dépassez pas la capacité nominale de la machine au risque de la déstabiliser et d'en perdre le contrôle. La capacité de fonctionnement est réduite si vous déployez les bras de chargeuse au point de voir l'autocollant rayé à l'intérieur des bras.
Ne transportez pas les outils/charges en laissant les bras de chargeuse levés ou déployés; transportez-les toujours près du sol, bras de chargeuse rétractés.
Les outils peuvent modifier la stabilité et les caractéristiques de fonctionnement de la machine.
Machines avec plateforme :
Abaissez les bras de chargeuse et descendez de la plateforme.
N'essayez pas de stabiliser la machine en posant le pied à terre. Si vous perdez le contrôle de la machine, descendez de la plateforme et éloignez-vous de la machine.
Ne mettez pas les pieds sous la plateforme.
Ne déplacez pas la machine, à moins d'avoir les deux pieds sur la plateforme et les deux mains posées sur les barres de référence ou la commande de chargeuse.
Accordez toute votre attention à l'utilisation de la machine. Ne faites rien d'autre qui puisse vous distraire, au risque de causer des dommages corporels ou matériels.
Avant de faire marche arrière, vérifiez que la voie est libre juste derrière la machine et sur sa trajectoire.
Ne manœuvrez jamais les commandes sèchement ; actionnez-les régulièrement.
Le propriétaire/l'utilisateur est responsable des accidents pouvant entraîner des dommages corporels ou matériels et peut les prévenir.
Portez des vêtements appropriés, y compris une protection oculaire, un pantalon, des chaussures solides à semelle antidérapante et des protecteurs d'oreilles ; portez également un appareil respiratoire ou un masque antipoussière en cas de conditions poussiéreuses. Si vos cheveux sont longs, attachez-les et ne portez pas de vêtements amples ni de bijoux pendants.
N'utilisez pas la machine si vous êtes fatigué, malade ou sous l'emprise de l'alcool, de drogues ou de médicaments.
Ne transportez jamais de passagers et tenez tout le monde, y compris les animaux, à l'écart de la machine.
N'utilisez la machine que sous un bon éclairage et restez à distance des trous et autres dangers cachés.
Vérifiez que toutes les transmissions sont au point mort avant de mettre le moteur en marche. Ne démarrez le moteur que depuis de la position d'utilisation sur la plateforme.
Soyez prudent à l'approche de tournants sans visibilité, de buissons, d'arbres ou d'autres objets susceptibles de masquer la vue.
Ralentissez et soyez prudent quand vous changez de direction et quand vous traversez des routes et des trottoirs. Faites attention à la circulation.
Arrêtez l'outil quand vous ne travaillez pas.
Arrêtez la machine, coupez le moteur, enlevez la clé et examinez la machine si vous heurtez un obstacle. Effectuez les réparations nécessaires avant de réutiliser la machine.
Ne faites jamais tourner le moteur dans un local fermé.
Ne laissez jamais la machine en marche sans surveillance.
Avant de quitter la position d'utilisation :
Garez la machine sur une surface plane et horizontale.
Abaissez complètement les bras de chargeuse et désengagez les commandes hydrauliques auxiliaires.
Serrez le frein de stationnement.
Coupez le moteur et retirez la clé.
N'utilisez pas la machine s'il y a risque d'orage.
Utilisez la machine uniquement dans des zones suffisamment dégagées pour lui permettre d'évoluer sans risque. Prenez garde aux obstacles à proximité. Si vous ne tenez pas la machine à une distance suffisante des arbres, murs et autres obstacles, elle peut causer des blessures si vous faites marche arrière sans tenir compte de la géographie du terrain.
Vérifiez la hauteur libre avant de passer sous un obstacle (par ex. branches, portes, câbles électriques, etc.) et évitez de le toucher.
Ne remplissez pas l'outil excessivement et maintenez toujours la charge horizontale quand vous levez les bras de chargeuse. Le contenu de l'outil pourrait tomber et causer des blessures.
Travaillez toujours dans le sens de la pente (en montant ou en descendant), le côté le plus lourd de la machine étant en amont. La répartition du poids varie selon les outils montés. Quand l'outil de charge est vide, l'arrière de la machine est le point le plus lourd ; lorsqu'il est plein, l'avant de la machine devient plus lourd. La plupart des outils alourdissent l'avant de la machine.
La stabilité de la machine est compromise si vous levez ou déployez les bras de chargeuse lorsque vous vous trouvez sur une pente. Gardez les bras de chargeuse abaissés et rétractés sur les pentes.
Les pentes augmentent significativement les risques de perte de contrôle et de basculement de la machine pouvant entraîner des accidents graves, voire mortels. L'utilisation de la machine sur une quelconque pente ou sur un terrain accidenté demande une attention particulière.
Établissez vos propres procédures et règles de travail à appliquer sur les pentes. Ces procédures doivent inclure un repérage et une étude du site pour déterminer quelles pentes permettent une utilisation sécuritaire de la machine. Faites toujours preuve de bon sens et de discernement quand vous réalisez cette étude.
Ralentissez et redoublez de prudence sur les pentes. La nature du terrain peut affecter la stabilité de la machine.
Évitez de démarrer ou de vous arrêter en côte. Si la machine perd de sa motricité, descendez lentement la pente en ligne droite.
Évitez de faire demi-tour sur les pentes. Si vous ne pouvez pas faire autrement, procédez lentement en gardant le côté le plus lourd de la machine en amont.
Déplacez-vous à vitesse réduite et progressivement sur les pentes. Ne changez pas soudainement de vitesse ou de direction.
Ne travaillez pas sur les pentes sur lesquelles vous ne vous sentez pas à l'aise.
Méfiez-vous des trous, ornières et bosses, car les irrégularités du terrain risquent de provoquer le retournement de la machine. L'herbe haute peut masquer les accidents du terrain.
Utilisez la machine avec prudence sur les surfaces humides. En effet, la perte de motricité peut faire déraper la machine.
Examinez la zone d'utilisation pour vous assurer que le sol est suffisamment stable pour supporter le poids de la machine.
Utilisez la machine avec prudence près de :
Fortes dénivellations
Fossés
Berges
Étendues d'eau
La machine peut se retourner brusquement si une chenille passe par-dessus une dénivellation quelconque et se retrouve dans le vide, ou si un bord s'effondre. Maintenez une distance de sécurité entre la machine et tout danger potentiel.
N'enlevez pas ou n'ajoutez pas d'outils lorsque la machine se trouve sur une pente.
Ne garez pas la machine sur une pente.
Si vous heurtez une ligne de services publics, procédez comme suit :
Coupez le moteur et retirez la clé.
Éloignez tout le monde de la zone de travail.
Contactez immédiatement les secours et les services publics concernés pour circonscrire la zone.
Si vous endommagez un câble de fibre optique, ne regardez pas le rayon lumineux exposé.
Ne quittez pas la plateforme de l'utilisateur si la machine est chargée d'électricité. Vous ne risquez rien tant que vous restez sur la plateforme.
Ne touchez aucune partie de la machine car vous pourriez être relié(e) à la terre.
Ne laissez personne d'autre toucher la machine ou s'en approcher quand elle est chargée d'électricité.
Partez toujours du principe que la machine est chargée d'électricité si vous heurtez une ligne électrique ou de communication. N'essayez pas de quitter la machine.
Les fuites de gaz sont inflammables et explosives et peuvent causer des blessures graves ou mortelles. Ne fumez pas pendant l'utilisation de la machine.
Vérifiez que le coupe-batterie est à la position SOUS TENSION ; voir Utilisation du coupe-batterie.
Vérifiez que la commande de déplacement est en position POINT MORT.
Introduisez la clé dans le commutateur et tournez-la à la position MARCHE. Attendez que les bougies de préchauffage réchauffent le moteur.
Tournez la clé de contact à la position DéMARRAGE. Relâchez la clé quand le moteur démarre.
Important: N'actionnez pas le démarreur plus de 10 secondes de suite. Si le moteur ne démarre pas, attendez 30 secondes que le démarreur refroidisse avant de faire une nouvelle tentative. Le démarreur risque de griller si vous ne respectez pas ces consignes.
Si la température extérieure est inférieure à 0 °C, remisez la machine dans un garage pour la garder au chaud et faciliter le démarrage.
Le logiciel de la machine peut limiter automatiquement le régime moteur si le liquide de refroidissement est extrêmement froid. Après avoir démarré le moteur, attendez que l'icône du flocon de neige et le témoin de liquide hydraulique froid disparaissent de l'InfoCenter avant d'augmenter le régime moteur et d'engager le système hydraulique auxiliaire.
Important: Si le moteur tourne à haut régime quand le système hydraulique est froid (c.-à-d. quand la température ambiante est égale ou inférieure à 0 °C), ce dernier risque d'être endommagé.
Utilisez les commandes de déplacement pour déplacer la machine. La vitesse de déplacement de la machine, dans l'une ou l'autre direction, est proportionnelle au déplacement des commandes dans cette direction. Relâchez les commandes de déplacement pour immobiliser la machine.
La commande d'accélérateur agit sur le régime moteur qui se mesure en tours/minute (tr/min). Pour des performances optimales, faites tourner le moteur à haut régime.
Garez la machine sur une surface plane et horizontale et abaissez les bras de la chargeuse.
Désengagez les commandes hydrauliques auxiliaires.
Réglez la commande d'accélérateur à la position de ralenti.
Si le moteur a beaucoup travaillé ou est très chaud, laissez-le tourner pendant 5 minutes avant de tourner la clé de contact à la position ARRêT.
Note: Cela aide à refroidir le moteur avant son arrêt complet. En cas d'urgence, vous pouvez arrêter le moteur immédiatement.
Tournez la clé de contact en position ARRêT, puis retirez-la.
Un enfant ou une personne non qualifiée risquent de se blesser en essayant d'utiliser la machine.
Retirez la clé du commutateur d'allumage si vous laissez la machine sans surveillance, ne serait-ce qu'un instant.
Important: Utilisez uniquement des outils agréés par Toro. Les outils peuvent modifier la stabilité et les caractéristiques de fonctionnement de la machine. L'utilisation d'outils non agréés risque d'annuler la garantie de la machine.
Important: Avant d'installer un outil quelconque, vérifiez que les plaques de montage sont propres et que les goupilles bougent librement. Graissez les goupilles si elles ne bougent pas librement.
Placez l'outil sur une surface plane et horizontale en laissant suffisamment de place derrière pour la machine.
Démarrez le moteur.
Basculez la plaque de montage de l'outil en avant.
Insérez la plaque de montage dans le bord supérieur de la plaque réceptrice de l'outil.

Levez les bras de chargeuse et basculez simultanément la plaque de montage vers l'arrière.
Important: L'outil doit être suffisamment levé pour ne pas toucher le sol, et la plaque de montage doit être complètement basculée en arrière.
Coupez le moteur et retirez la clé.
Engagez complètement les goupilles à fixation rapide dans la plaque de montage.
Important: Si les goupilles ne tournent pas à la position engagée, cela signifie que la plaque de montage n'est pas complètement alignée avec les trous de la plaque réceptrice. Vérifiez la plaque réceptrice et nettoyez-la le cas échéant.
L'outil peut se détacher de la machine et écraser quelqu'un dans sa chute si les goupilles ne sont pas correctement engagées dans la plaque de montage.
Vérifiez que les goupilles sont correctement engagées dans la plaque de montage.

Les fuites de liquide hydraulique sous pression peuvent transpercer la peau et causer des blessures graves. L'injection de liquide sous la peau nécessite une intervention chirurgicale dans les heures qui suivent l'accident, réalisée par un médecin connaissant ce genre de blessure, pour éviter le risque de gangrène.
Vérifiez l'état de tous les flexibles et conduits de liquide hydraulique, ainsi que le serrage de tous les raccords et branchements avant de mettre le système hydraulique sous pression.
N'approchez pas les mains ni aucune autre partie du corps des fuites en trou d'épingle ou des gicleurs d'où sort du liquide hydraulique sous haute pression.
Utilisez un morceau de carton ou de papier pour détecter les fuites hydrauliques, jamais les mains.
Les coupleurs hydrauliques, les conduites/valves hydrauliques et le liquide hydraulique peuvent être très chauds, et vous risquez de vous brûler à leur contact.
Portez des gants pour manipuler les raccords hydrauliques.
Laissez refroidir la machine avant de toucher les composants hydrauliques.
Ne touchez pas le liquide hydraulique renversé.
Si l'outil est à commande hydraulique, raccordez les flexibles hydrauliques comme suit :
Coupez le moteur et retirez la clé.
Enlevez les capuchons de protection des raccords hydrauliques de la machine.
Enlevez les saletés éventuellement présentes sur les raccords hydrauliques.
Poussez le raccord mâle de l'outil dans le raccord femelle de la machine.
Note: La pression de l'outil est évacuée si vous branchez le raccord mâle en premier.
Poussez le raccord femelle de l'outil sur le raccord mâle de la machine.
Tirez sur les flexibles pour vérifier si les raccordements tiennent bien.
Garez la machine sur une surface plane et horizontale.
Abaissez l'outil au sol.
Coupez le moteur et retirez la clé.
Tournez les goupilles à fixation rapide vers l'extérieur pour les déverrouiller.

Si l'outil est à commande hydraulique, repoussez les colliers sur les raccords hydrauliques pour les débrancher.
Important: Raccordez ensemble les flexibles de l'outil pour éviter toute contamination du système hydraulique durant le remisage.
Replacez les capuchons de protection sur les coupleurs hydrauliques de la machine.
Mettez le moteur en marche, inclinez la plaque de montage vers l'avant et reculez la machine pour la dégager de l'outil.
Le système Smart Load mesure également la pression hydraulique dans les vérins des bras de chargeuse afin de déterminer la portée maximale.
Lorsque vous déployez les bras de chargeuse à la portée maximale pour la hauteur des bras et le poids de la charge, l'icône Smart Load s’affiche sur l'InfoCenter et le témoin clignote, une alarme retentit et le déploiement des bras s'interrompt.
Pour déployer les bras de chargeuse plus loin, allégez la charge.

Le filtre à particules (FAP) fait partie du système d'échappement. Le catalyseur d'oxydation diesel du FAP réduit les gaz nocifs, et le filtre à suie élimine la suie des gaz d'échappement du moteur.
Le processus de régénération du FAP utilise la chaleur des gaz d'échappement du moteur pour brûler la suie accumulée sur le filtre à suie ; la suie est alors transformée en cendre, et nettoie les canaux du filtre à suie de sorte que les gaz d'échappement qui sortent du FAP sont filtrés.
Le calculateur moteur contrôle l'accumulation de suie en mesurant la contre-pression dans le FAP. Si la contre-pression est trop élevée, la suie ne brûle pas dans le filtre à suie lors du fonctionnement normal du moteur. Pour que la suie ne s'accumule pas dans le FAP, gardez à l'esprit ce qui suit :
La régénération passive s'effectue en continu pendant le fonctionnement du moteur – faites tourner le moteur à plein régime lorsque cela est possible pour favoriser la régénération du FAP.
Si la contre-pression dans le FAP est trop élevée ou si aucune régénération commandée n'a été effectuée depuis 100 heures, le calculateur moteur vous indique, par le biais de l'InfoCenter, quand une régénération commandée est en cours.
Attendez la fin du processus de régénération commandée avant de couper le moteur.
Utilisez et faites l'entretien de votre machine en gardant à l'esprit le rôle du FAP. Faire tourner le moteur à pleine charge au ralenti accéléré (plein gaz) produit généralement une température des gaz d'échappement adéquate pour la régénération du FAP.
Important: Minimisez la durée de fonctionnement du moteur au ralenti ou à bas régime pour aider à réduire l'accumulation de suie dans le filtre à suie.
Avec le temps, la suie du filtre à particules diesel s'accumule dans le filtre à suie. Le calculateur moteur surveille le niveau de suie dans le FAP.
Quand l'accumulation de suie atteint un certain seuil, le calculateur vous informe qu'il est temps de régénérer le FAP.
La régénération est un processus qui chauffe le FAP pour transformer la suie en cendre.
Outre les messages d'avertissement, le calculateur réduit la puissance produite par le moteur à différents niveaux d'accumulation de suie.
| Niveau d'avertissement | Code d'anomalie | Puissance nominale du moteur | Mesure corrective recommandée |
| Niveau 1 : Avertissement moteur | ![]() Anomalie moteurSPN 3719, FMI 16 | Le calculateur réduit la puissance du moteur à 85 %. | Effectuer une régénération en stationnement dès que possible ; voir Exécution d'une régénération en stationnement ou d'urgence. |
| Niveau 2 : Avertissement moteur | ![]() Anomalie moteurSPN 3719, FMI 0 | Le calculateur réduit la puissance du moteur à 50 %. | Effectuer une régénération d'urgence dès que possible ; voir Exécution d'une régénération en stationnement ou d'urgence. |
La cendre plus légère est évacuée par le système d'échappement ; la cendre plus lourde s'accumule dans le filtre à suie.
La cendre est un résidu du processus de régénération. Avec le temps, le filtre à particules diesel accumule la cendre qui n'est pas évacuée avec les gaz d'échappement.
Le calculateur moteur calcule la quantité de cendre accumulée dans le FAP.
Quand l'accumulation de cendre atteint un certain seuil, le calculateur moteur envoie cette information à l'InfoCenter sous forme d'un code d'anomalie moteur, pour indiquer l'accumulation de cendre dans le FAP.
Les messages d’anomalie indiquent qu'il est temps d'effectuer l'entretien du FAP.
Outre les avertissements, le calculateur réduit la puissance produite par le moteur à différents niveaux d'accumulation de cendre.
| Niveau d'avertissement | Code d'anomalie | Réduction du régime moteur | Puissance nominale du moteur | Mesure corrective recommandée |
|---|---|---|---|---|
| Niveau 1 : Avertissement moteur | ![]() Anomalie moteurSPN 3720, FMI 16 | Aucun | Le calculateur réduit la puissance du moteur à 85 %. | Faire l'entretien du FAP ; voir Exécution d'une régénération en stationnement ou d'urgence |
| Niveau 2 : Avertissement moteur | ![]() Anomalie moteurSPN 3720, FMI 0 | Aucun | Le calculateur réduit la puissance du moteur à 50 %. | Faire l'entretien du FAP ; voir Régénération en stationnement ou d'urgence |
| Type de régénération | Conditions de régénération du FAP | Description du fonctionnement du FAP |
|---|---|---|
| Passive | Se produit durant le fonctionnement normal de la machine, à haut régime moteur ou à forte charge moteur |
|
| Assistée | Se produit à cause d’un bas régime moteur, d'une faible charge moteur ou si le calculateur détecte un colmatage du FAP par la suie. |
|
| Commandée |
Se produit toutes les 100 heures Se produit également après une régénération assistée et seulement si le calculateur détecte que celle-ci n'a pas suffisamment réduit le niveau de suie. |
Voir Régénération commandée. |
| Type de régénération | Conditions de régénération du FAP | Description du fonctionnement du FAP |
|---|---|---|
| En stationnement | Se produit quand le calculateur détecte une contre-pression dans le FAP due à l'accumulation de suie |
Voir Exécution d'une régénération en stationnement ou d'urgence. |
| Se produit également quand l’utilisateur lance une régénération en stationnement. | ||
| Peut se produire si vous avez programmé l'InfoCenter pour interdire la régénération commandée et que vous avez continué à utiliser la machine, augmentant ainsi la quantité de suie alors que le FAP avait déjà besoin d'une régénération commandée | ||
| Peut se produire si vous avez utilisé le mauvais type de carburant ou d'huile moteur. | ||
| D'urgence | Se produit quand l'utilisateur a ignoré les demandes de régénération en stationnement et continue à utiliser la machine, augmentant ainsi la quantité de suie dans le FAP |
Voir Exécution d'une régénération en stationnement ou d'urgence. |
Accédez au menu Entretien et naviguez jusqu’à RéGéNéRATION DU FAP.

Appuyez sur le bouton droit pour accéder au menu Régénération du FAP.
Ouvrez le menu Régénération du FAP et naviguez jusqu'à l'option DERNIèRE RéGéNéRATION.
Dans le champ LAST REGEN, entrez le nombre d'heures de fonctionnement du moteur depuis la dernière régénération commandée, en stationnement ou d'urgence.

Important: Pour des raisons pratiques, vous pouvez décider d'exécuter une régénération en stationnement avant que le niveau de suie atteigne 100 %, à condition que le moteur ait tourné plus de 50 heures depuis la dernière régénération commandée, en stationnement ou d'urgence.
Utilisez le menu Technicien pour voir l'état actuel de la commande de régénération moteur et le niveau de suie indiqué.
Ouvrez le menu Régénération du FAP, puis naviguez jusqu’au menu TECHNICIEN.

Reportez-vous au tableau de fonctionnement du FAP pour comprendre son état actuel de fonctionnement.

| État | Description | |
|---|---|---|
| Normal | Le FAP est en mode de fonctionnement normal – régénération passive. | |
| Assist Regen | Le calculateur moteur est en train d'effectuer une régénération assistée. | |
| Reset Stby | Le calculateur moteur tente d'effectuer une régénération commandée, mais l'une des conditions suivantes empêche la régénération : | Le paramètre Regen Inhibit (interdiction de régénération) est réglé sur ON (activé). |
| La température des gaz d'échappement est trop basse pour une régénération. | ||
| Reset Regen | Le calculateur moteur est en train d'effectuer une régénération commandée. | |
| Parked Stby | Le calculateur moteur demande d'effectuer une régénération en stationnement. | |
| Parked Regen | Vous avez lancé une demande de régénération en stationnement et son traitement est en cours par le calculateur moteur. | |
| Recov. Stby | Le calculateur moteur demande d'effectuer une régénération d'urgence. | |
| Recov. Regen | Vous avez lancé une demande de régénération d'urgence et son traitement est en cours par le calculateur moteur. | |
La charge de suie du FAP est mesurée sous forme d'un pourcentage ; voir le tableau de charge de suie.
Note: La valeur de la charge de suie varie pendant le fonctionnement de la machine et la régénération du FAP.

| Importantes valeurs de charge de suie | Statut de la régénération |
|---|---|
| 0 % à 5 % | Plage de charge de suie minimum |
| 78 % | Le calculateur moteur effectue une régénération assistée. |
| 100 % | Le calculateur moteur demande automatiquement une régénération en stationnement. |
| 122 % | Le calculateur moteur demande automatiquement une régénération d'urgence. |
La régénération passive fait partie du fonctionnement normal du moteur.
Pendant l'utilisation de la machine, faites tourner le moteur à plein régime et à forte charge dans la mesure du possible pour favoriser la régénération du FAP.
Le calculateur moteur ajuste les réglages du moteur pour augmenter la température d'échappement.
Pendant l'utilisation de la machine, faites tourner le moteur à plein régime et à forte charge dans la mesure du possible pour favoriser la régénération du FAP.
La température des gaz d'échappement est élevée (approximativement 600 °C pendant la régénération du FAP. Les gaz d'échappement chauds peuvent vous brûler ou brûler d'autres personnes.
Ne faites jamais tourner le moteur dans un local fermé.
Assurez-vous qu'aucune matière inflammable ne se trouve à proximité du système d'échappement.
Ne touchez jamais les composants du système d'échappement quand il est chaud.
Ne vous tenez jamais à proximité du tuyau d'échappement de la machine.
L’icône de température d’échappement
élevée
s'affiche sur l'InfoCenter quand la
régénération commandée est en cours.
Le calculateur moteur ajuste les réglages du moteur pour augmenter la température d'échappement.
Important: L'icône de température d’échappement élevée indique que la température des gaz d'échappement produits par la machine peut être plus élevée que lors du fonctionnement normal.
Pendant l'utilisation de la machine, faites tourner le moteur à plein régime et à forte charge dans la mesure du possible pour favoriser la régénération du FAP.
Dans la mesure du possible, ne coupez pas le moteur ou ne réduisez pas le régime moteur pendant le processus de régénération commandée.
Important: Dans la mesure du possible, attendez la fin du processus de régénération commandée avant de couper le moteur.
Si une régénération commandée, en stationnement ou d'urgence a échoué au cours des 100 dernières heures de fonctionnement du moteur, le calculateur moteur tente d'exécuter une régénération commandée.
Une régénération commandée génère des températures d'échappement élevées. Si vous travaillez près d'arbres, de broussailles, d'herbes hautes ou autres plantes ou matériaux sensibles aux changements de température, vous pouvez utiliser l'option Inhibit Regen (interdiction de régénération) pour empêcher le calculateur moteur d'exécuter une régénération commandée.
Important: Quand vous coupez puis redémarrez le moteur, l'option Inhibit Regen (interdiction de régénération) passe par défaut à OFF (désactivée).
Note: Si vous programmez l'InfoCenter pour interdire la régénération, il affiche l'AVIS Nº 185 toutes les 15 minutes tandis que le moteur demande une régénération commandée.

Ouvrez le menu DPF Regeneration (régénération du FAP) et naviguez jusqu'à l'option INHIBIT REGEN (interdiction de régénération).

Appuyez sur le bouton droit pour faire passer le paramètre Inhibit Regeneration à ON (activé) ou OFF (désactivé).

L'InfoCenter affiche l’icône de température
d'échappement élevée
quand la régénération
commandée est en cours.
Note: Si le paramère Inhibit Regen est réglé sur ON (activé), l'InfoCenter affiche l'AVIS Nº 185. Appuyez sur un bouton droit pour faire passer l'option d'interdiction de régénération à OFF (désactivée) et poursuivre la procédure de régénération commandée.

Note: Si l'InfoCenter affiche l'AVIS Nº 186 (), réglez le moteur au régime maximum (ralenti accéléré) pour que la régénération commandée puisse se poursuive.

Note: Une fois la régénération commandée
terminée, l’icône de température d'échappement
élevée
disparaît de l’écran de l'InfoCenter.
Quand le calculateur moteur demande une régénération
en stationnement ou une régénération d'urgence,
l’icône de demande de régénération
s’affiche sur l’InfoCenter.
La machine n'exécute pas automatiquement une régénération en stationnement ou une régénération d'urgence ; vous devez effectuer la régénération par le biais de l'InfoCenter.
Quand le calculateur moteur demande une régénération en stationnement, les messages suivants s'affichent sur l'InfoCenter :
Avertissement moteur SPN 3720, FMI 16

AVIS Nº 188 Régénération en stationnement requise
Note: L'avis nº 188 s'affiche toutes les 15 minutes.

Quand le calculateur moteur demande une régénération d'urgence, les messages suivants s'affichent sur l'InfoCenter :
Avertissement moteur SPN 3719, FMI 0
Reportez-vous au Manuel d'entretien ou adressez-vous à votre concessionnaire-réparateur agréé pour plus d'informations.

Si le calculateur moteur demande une régénération en stationnement ou est en train d’effectuer une régénération en stationnement, l’option PARKED REGEN est verrouillée et l’icône de verrouillage s’affiche.

Si le calculateur moteur demande une régénération d'urgence ou est en train d’effectuer une régénération d'urgence, l’option RECOVERY REGEN est verrouillée et l’icône de verrouillage s’affiche.

La température des gaz d'échappement est élevée (approximativement 600 °C pendant la régénération du FAP. Les gaz d'échappement chauds peuvent vous brûler ou brûler d'autres personnes.
Ne faites jamais tourner le moteur dans un local fermé.
Assurez-vous qu'aucune matière inflammable ne se trouve à proximité du système d'échappement.
Ne touchez jamais les composants du système d'échappement quand il est chaud.
Ne vous tenez jamais à proximité du tuyau d'échappement de la machine.
Important: L'ordinateur de la machine annule la régénération du FAP si vous augmentez le régime moteur à partir du ralenti ou si vous desserrez le frein de stationnement.
Assurez-vous que le réservoir de carburant de la machine contient au moins la quantité de carburant spécifiée pour le type de régénération que vous effectuez :
Régénération en stationnement : 1/4 du réservoir de carburant
Régénération d'urgence : 1/2 réservoir de carburant
Garez la machine sur une surface plane et horizontale à l'extérieur et à distance des matériaux combustibles.
Serrez le frein de stationnement et abaissez les bras de chargeuse.
Placez la commande d'accélérateur en position de RALENTI.
Dans le menu Régénération du FAP, et naviguez jusqu'à l'option PARKED REGEN START (démarrage régén en stationnement) ou RECOVERY REGEN START (démarrage régén d'urgence). Appuyez sur le bouton droit pour lancer la régénération.

Lorsque vous y êtes invité, vérifiez que le niveau de carburant est suffisant, comme indiqué à l’opération 1. Appuyez sur le bouton droit pour continuer.

Sur l'écran de liste de contrôle du FAP, vérifiez que le frein de stationnement est serré et que le régime moteur est réglé sur ralenti. Appuyez sur le bouton droit pour continuer

Sur l'écran INITIATE DPF REGEN (lancer régén. du FAP), appuyez sur le bouton droit pour continuer.

L'InfoCenter affiche le message INITIATING DPF REGEN (lancement de régén. du FAP).

L'InfoCenter affiche un message indiquant la durée de la régénération.
La régénération en stationnement peut prendre jusqu’à 30 minutes.
Une régénération d'urgence peut prendre jusqu'à 3 heures.
Note: Si vous devez annuler la régénération après son lancement, reportez-vous à la section Annulation d'une régénération en stationnement ou d'urgence.


Le calculateur moteur contrôle l'état du moteur et les informations d'anomalie. L'InfoCenter peut afficher les messages suivants :
| Message | Mesure corrective |
|---|---|
![]() | Quittez le menu de régénération et faites fonctionner la machine jusqu’à ce que la durée depuis la dernière régénération soit supérieure à 50 heures ; voir Temps écoulé depuis la dernière régénération. |
![]() | Remédiez à l'anomalie moteur et faites une nouvelle tentative de régénération du FAP. |
![]() | Démarrez et faites tourner le moteur. |
![]() | Faites tourner le moteur pour chauffer le liquide de refroidissement à 60 °C. |
![]() | Faites passer le régime moteur au ralenti. |
![]() | Remédiez à l'état signalé par le calculateur moteur et faites une nouvelle tentative de régénération du FAP. |
L’InfoCenter affiche l’écran d'accueil
et l’icône de confirmation de régénération
s’affiche en bas
à droite de l’écran pendant le processus la régénération.
Note: Pendant l'exécution de la régénération
du FAP, l'InfoCenter affiche l'icône de haute température
des gaz d'échappement
.
Quand le calculateur moteur achève une régénération en stationnement ou d'urgence, l’InfoCenter affiche l'AVIS Nº 183 ; si la régénération échoue, l’InfoCenter affiche l'AVIS Nº 184. Appuyez sur le bouton gauche pour revenir à l'écran d'accueil.

Dans le menu de Régénération du FAP, naviguez jusqu'à l'option PARKED REGEN CANCEL (annulation de régén en stationnement) ou RECOVERY REGEN CANCEL (annulation régén d'urgence).

Appuyez sur le bouton droit pour annuler la régénération.
Serrez le frein de stationnement (selon l'équipement), abaissez les bras de chargeuse, coupez le moteur, enlevez la clé, attendez l'arrêt complet de tout mouvement et laissez refroidir la machine avant de la régler, la nettoyer, la remiser ou la réparer.
Pour éviter les risques d'incendie, éliminez les débris qui se trouvent sur les outils, les entraînements, les silencieux et le moteur. Nettoyez les coulées éventuelles d'huile ou de carburant.
Maintenez toutes les pièces en bon état de marche et toutes les fixations bien serrées.
Ne touchez aucune des pièces de la machine juste après l'arrêt, car elles peuvent être très chaudes. Laissez-les refroidir avant d'entreprendre une réparation, un réglage ou un entretien de la machine.
Procédez avec prudence pour charger la machine sur une remorque ou un camion, ainsi que pour la décharger.
Si la machine s’enlise (par exemple dans la boue), ramenez-la à une position stable en vous servant soit des deux points de levage avant, soit des deux points d'attache arrière simultanément.
Important: N'utilisez pas les points d'attache avant pour tracter la machine.

Important: Ouvrez toujours les vannes de remorquage avant de remorquer ou de pousser la machine, afin de ne pas endommager le système hydraulique.
Coupez le moteur et retirez la clé.
Déposez la plaque inférieure ; voir Dépose de la plaque inférieure.
Pour chaque moteur d'entraînement, déposez le couvercle.

Lubrifiez les deux côtés d’une rondelle (M12) avec de l'huile.
Vissez un écrou (M12) sur une vis (M12), puis insérez la vis dans la rondelle et l'outil de dérivation, jusque dans le piston de frein. Ne serrez pas excessivement.

Serrez l'écrou pour desserrer le frein.

Déposez le couvercle avant ; voir Dépose du couvercle avant.
Donnez deux tours dans le sens antihoraire aux vannes de remorquage situées sous les pompes hydrauliques.

Remorquez la machine selon les besoins, en utilisant les points décrits à la section Récupérer une machine enlisée.
Une fois la machine réparée, fermez les vannes de remorquage avant de l'utiliser.
Reposez le couvercle avant.
Retirez les fixations et l'outil de dérivation de chaque moteur d'entraînement, et reposez le couvercle.
Remettez la plaque inférieure en place.
Transportez la machine sur une remorque de poids-lourd ou un camion. Utilisez une rampe d'une seule pièce. Le camion ou la remorque doit être équipé(e) des freins, des éclairages et de la signalisation exigés par la loi. Lisez attentivement toutes les consignes de sécurité. Tenez-en compte pour éviter de vous blesser ou de blesser des personnes à proximité. Reportez-vous aux ordonnances locales concernant les exigences d'arrimage et de remorquage.
Il est dangereux de conduire sur la voie publique sans clignotants, éclairages, réflecteurs ou panneau « véhicule lent ». Vous risquez de provoquer un accident et de vous blesser.
Ne conduisez pas la machine sur la voie publique.
Le chargement ou le déchargement de la machine sur une remorque ou un camion augmente le risque de basculement, et donc de blessures graves ou mortelles (Figure 53).
Utilisez uniquement des rampes d'une seule pièce.
La longueur de la rampe doit être au moins 4 fois supérieure à la hauteur du plateau de la remorque ou du camion par rapport au sol. Ainsi, l'angle de la rampe ne dépassera pas 15 degrés par rapport au sol plat.

Le chargement ou le déchargement de la machine sur une remorque ou un camion augmente le risque de basculement, et donc de blessures graves ou mortelles.
Procédez avec la plus grande prudence lorsque vous manœuvrez la machine sur une rampe.
Placez toujours l'extrémité la plus lourde de la machine en haut de la rampe pour la charger ou la décharger.
Évitez d'accélérer ou de décélérer brutalement lorsque vous conduisez la machine sur une rampe, car vous pourriez en perdre le contrôle ou la renverser.
Si vous utilisez une remorque, attelez-la au véhicule de remorquage et attachez les chaînes de sécurité.
Le cas échéant, raccordez les freins de la remorque.
Abaissez la ou les rampes.
Abaissez les bras de chargeuse.
Chargez la machine sur la remorque en gardant le côté le plus lourd en haut de la rampe et en maintenant la charge en bas.
Si la machine est équipée d'un outil porte-charge plein (par ex. godet) ou d'un outil non porte-de charge (par ex. trancheuse), montez la rampe en marche avant.
Si la machine est équipée d'un outil porte-charge vide ou n'a pas d'outil, montez la rampe en marche arrière.

Abaissez complètement les bras de chargeuse au sol.
Serrez le frein de stationnement, coupez le moteur et enlevez la clé de contact.
Servez-vous des points d'attache en métal de la machine pour l'arrimer solidement sur la remorque ou le véhicule de transport au moyen de sangles, chaînes, câbles ou cordes. Voir la réglementation locale concernant les exigences en matière d'arrimage.
Important: N'utilisez pas les points d'attache pour soulever la machine.

Abaissez la ou les rampes.
Descendez la machine de la remorque en gardant le côté le plus lourd en haut de la rampe et en maintenant la charge en bas.
Si la machine est équipée d'un outil porte-charge plein (par ex. godet) ou d'un outil non porte-charge (par ex. trancheuse), descendez la rampe en marche arrière.
Si la machine est équipée d'un outil porte-charge vide ou n'a pas d'outil, descendez la rampe en marche avant.

| Périodicité d'entretien | Procédure d'entretien |
|---|---|
| À chaque utilisation ou une fois par jour |
|
Déposez les outils éventuellement montés et soulevez la machine par les 4 points de levage.
Quand vous levez la machine, ne dépassez pas un angle de 30 degrés ; utilisez les longueurs minimales de chaîne indiquées ci-dessous.

Note: Les côtés gauche et droit de la machine sont déterminés d'après la position d'utilisation normale.
Si vous laissez la clé dans le commutateur d'allumage, quelqu'un pourrait mettre le moteur en marche accidentellement et vous blesser gravement, ainsi que toute personne à proximité.
Retirez la clé du commutateur d'allumage avant tout entretien.
Garez la machine sur une surface plane et horizontale, débrayez les commandes hydrauliques auxiliaires, abaissez l'outil, serrez le frein de stationnement (selon l'équipement), coupez le moteur et enlevez la clé. Attendez l'arrêt complet de tout mouvement et laissez refroidir la machine avant de la régler, la nettoyer, la remiser ou la réparer.
Nettoyez les coulées éventuelles d'huile ou de carburant.
Ne confiez pas l'entretien de la machine à des personnes non qualifiées.
Utilisez des chandelles pour soutenir les composants au besoin.
Libérez la pression emmagasinée dans les composants avec précaution ; voir Évacuer la pression hydraulique.
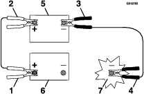
Débranchez la batterie avant d'entreprendre des réparations ; voir Utilisation du coupe-batterie.
N'approchez jamais les mains ou les pieds des pièces mobiles. Dans la mesure du possible, évitez de procéder à des réglages sur la machine quand le moteur tourne.
Maintenez toutes les pièces en bon état de marche et toutes les fixations bien serrées. Remplacez tous les autocollants usés ou endommagés.
Ne modifiez pas les dispositifs de sécurité.
Les outils peuvent modifier la stabilité et les caractéristiques de fonctionnement de la machine.
Utilisez exclusivement des pièces de rechange d'origine Toro.
Si un entretien ou une réparation exige que les bras de chargeuse soient levés, bloquez-les en position levée à l'aide du dispositif de verrouillage de vérins hydrauliques.
Reportez-vous à la réglementation locale concernant la sécurité d'entretien de la machine et apposez une étiquette d'avertissement sur le panneau de commande pour informer les autres utilisateurs de l'entretien en cours.
| Périodicité d'entretien | Procédure d'entretien |
|---|---|
| Après les 8 premières heures de fonctionnement |
|
| Après les 50 premières heures de fonctionnement |
|
| À chaque utilisation ou une fois par jour |
|
| Toutes les 25 heures |
|
| Toutes les 50 heures |
|
| Toutes les 100 heures |
|
| Toutes les 250 heures |
|
| Toutes les 400 heures |
|
| Toutes les 500 heures |
|
| Toutes les 800 heures |
|
| Toutes les 1000 heures |
|
| Toutes les 1500 heures |
|
| Toutes les 3000 heures |
|
| Une fois par an ou avant le remisage |
|
| Tous les 2 ans |
|
Important: Reportez-vous au manuel du propriétaire du moteur pour toutes procédures d'entretien supplémentaires.
Lorsqu'ils sont levés, les bras de chargeuse peuvent s'abaisser accidentellement et d'écraser quelqu'un dans leur chute.
Pour cette raison, installez toujours le dispositif de blocage des vérins avant tout entretien exigeant d'élever les bras de chargeuse.
Retirez l'outil.
Levez les bras de chargeuse au maximum.
Coupez le moteur et retirez la clé.
Desserrez le bouton qui fixe le dispositif de blocage de vérin au bras de chargeuse.

Glissez le dispositif de blocage de vérin sur la tige du vérin.

Répétez les opérations 4 et 6 de l'autre côté de la machine.
Abaissez lentement les bras de chargeuse jusqu'à ce que les dispositifs de blocage rencontrent les corps de vérin et l'extrémité des tiges.
Important: Retirez les dispositifs de blocage des tiges et rangez-les correctement avant d'utiliser la machine.
Démarrez le moteur.
Levez les bras de chargeuse au maximum.
Coupez le moteur et retirez la clé.
Enlevez les goupilles qui fixent les dispositifs de blocage.
Retirez les dispositifs de blocage des tiges de vérin.
Insérez les goupilles dans les dispositifs de blocage.
Placez les dispositif de blocage de vérin sur les bras de chargeuse, en veillant à ce que les anneaux des goupilles se trouvent sous les dispositifs de blocage, et verrouillez chaque dispositif de blocage à l'aide du bouton.

Abaissez les bras de chargeuse.
L'ouverture ou la dépose des couvercles, capots et écrans pendant que le moteur tourne, peut vous exposer à des pièces mobiles et vous blesser gravement.
Avant d'ouvrir tout couvercle, capot ou écran, coupez le moteur, enlevez la clé de contact et laissez refroidir le moteur.
Garez la machine sur une surface plane et horizontale, serrez le frein de stationnement et abaissez les bras de chargeuse.
Coupez le moteur, retirez la clé et laissez refroidir le moteur.
Déverrouillez le capot avec la clé et appuyez sur le bouton pour ouvrir le verrou.

Soulevez le capot.
Abaissez le capot.
Rabattez le loquet vers le bas pour bloquer le capot.
Verrouillez le capot à l'aide de la clé.
Retirez les 2 boulons qui fixent le haut du couvercle arrière.

Soulevez le couvercle hors des fentes du support de radiateur.

Retirez les 2 boulons qui fixent la plaque inférieure.

Déposez la plaque inférieure.
Levez les bras de chargeuse et bloquez-les avec les dispositifs de blocage de vérins.
Desserrez les 2 boulons qui fixent le couvercle avant à la machine.

Faites glisser le couvercle pour l’enlever de la machine.
Quand vous installez le couvercle, serrez les boulons à 41 N∙m.
Levez les bras de chargeuse et bloquez-les avec les dispositifs de blocage de vérins.
Ouvrez le capot.
Retirez les 4 boulons qui fixent le couvercle à la machine.

Déposez le couvercle.
Ouvrez le capot.
Faites coulisser le panneau hors des fentes avant et arrière.

| Périodicité d'entretien | Procédure d'entretien |
|---|---|
| À chaque utilisation ou une fois par jour |
|
Type de graisse : universelle.
Garez la machine sur une surface plane et horizontale, abaissez les bras chargeuse et serrez le frein de stationnement.
Coupez le moteur et retirez la clé.
Nettoyez les graisseurs avec un chiffon.

Raccordez un pistolet de graissage à chaque graisseur.
Injectez de la graisse dans les graisseurs jusqu'à ce qu'elle commence à sortir des roulements (environ 3 injections).
Essuyez tout excès de graisse.
Coupez le moteur avant de contrôler le niveau d'huile ou d'ajouter de l'huile dans le carter.
Ne modifiez pas le réglage du régulateur et ne faites pas tourner le moteur à un régime excessif.
Gardez les mains, les pieds, le visage et toute autre partie du corps ainsi que les vêtements à l'écart du silencieux et autres surfaces brûlantes.
| Périodicité d'entretien | Procédure d'entretien |
|---|---|
| À chaque utilisation ou une fois par jour |
|
| Toutes les 100 heures |
|
| Toutes les 500 heures |
|
Garez la machine sur une surface plane et horizontale, serrez le frein de stationnement et abaissez les bras de chargeuse.
Coupez le moteur et retirez la clé.
Ouvrez le capot.
Vérifiez si le boîtier du filtre à air présente des dommages susceptibles d'occasionner des fuites d'air.
Remplacez le boîtier du filtre s'il est endommagé.
Vérifiez que le système d'admission d’air ne présente pas de fuites, de dommages ou de colliers de flexible desserrés.
Faites l'entretien du filtre à air et de l’élément de sécurité quand le système vous avertit.
Important: N'effectuez pas l'entretien du filtre à air trop souvent.

Le couvercle doit être parfaitement ajusté sur le boîtier du filtre à air.
Note: Remplacez-le joint en mousse du couvercle s'il est endommagé.
Important: N'utilisez pas d'air sous haute pression car il pourrait forcer des impuretés à travers le filtre et dans le canal d'admission.
Important: Ne nettoyez pas le filtre usagé afin de ne pas en endommager le matériau.
Important: N'utilisez pas les éléments filtrants s'ils sont endommagés.
Important: N'appuyez pas sur la partie centrale flexible de l'élément.

| Périodicité d'entretien | Procédure d'entretien |
|---|---|
| Après les 50 premières heures de fonctionnement |
|
| À chaque utilisation ou une fois par jour |
|
| Toutes les 250 heures |
|
À la livraison, le carter moteur contient de l'huile ; vérifiez toutefois le niveau d'huile avant et après le premier démarrage du moteur.
Capacité du carter : 5,2 litres avec le filtre
Huile moteur privilégiée : huile moteur Toro Premium
Si vous utilisez une autre huile, choisissez une huile moteur de qualité, à basse teneur en cendre et conforme ou supérieure aux spécifications suivantes :
Catégorie de service API CJ-4 ou mieux
Catégorie de service ACEA E6
Catégorie de service JASO DH-2
Important: L'utilisation d'une huile moteur d'une catégorie autre que la catégorie API CJ-4 ou mieux, ACEA E6 ou JASO DH-2, peut causer le colmatage du filtre à particules diesel ou endommager le moteur.
Utilisez une huile moteur ayant l'indice de viscosité suivant :
SAE 10W-30 ou 5W-30 (toutes températures)
SAE 15W-40 (au-dessus de -18 °C)
Note: L'huile moteur de première qualité « Toro Premium » est en vente auprès de votre concessionnaire-réparateur Toro agréé.
Garez la machine sur une surface plane et horizontale, serrez le frein de stationnement et abaissez les bras de chargeuse.
Coupez le moteur, retirez la clé et laissez refroidir le moteur.
Ouvrez le capot.
Déposez le panneau latéral gauche.
Nettoyez la surface autour de la jauge d'huile et du bouchon de remplissage.

Contrôlez le niveau d'huile et faites l'appoint au besoin.
Important: Ne remplissez pas excessivement le carter d'huile ; si le niveau d'huile est trop élevé, vous risquez d'endommager le moteur.

Fermez le capot.
Retirez les outils éventuellement montés.
Démarrez le moteur et laissez-le tourner pendant 5 minutes.
Note: Cela permet de réchauffer l'huile qui s'écoule alors plus facilement.
Garez la machine sur une surface plane et horizontale, et serrez le frein de stationnement.
Levez les bras de la chargeuse et montez les dispositifs de blocage de vérins.
Coupez le moteur et retirez la clé.
Vidangez l'huile sous la plateforme.
Les composants sont très chauds si la machine vient de fonctionner. Vous pouvez vous brûler à leur contact.
Prenez garde à ne pas toucher les composants chauds quand vous faites la vidange d'huile et/ou que vous remplacez le filtre à huile.


Serrez le bouchon de vidange à un couple de 46 à 56 N·m.
Ouvrez le capot.
Déposez le panneau gauche ; voir Dépose des panneaux latéraux.
Placez un bac de vidange peu profond ou un chiffon sous le filtre pour récupérer l'huile.
Remplacez le filtre à huile.

Enlevez le bouchon de remplissage et versez lentement environ 80 % de la quantité d'huile spécifiée dans le couvre-culasse.
Contrôlez le niveau d'huile.
Faites l'appoint d'huile avec précaution pour faire monter le niveau jusqu'au trou supérieur de la jauge.
Remettez le bouchon de remplissage.
Reposez le panneau gauche.
Fermez le capot.
Note: Débarrassez-vous de l'huile usagée dans un centre de recyclage agréé.
| Périodicité d'entretien | Procédure d'entretien |
|---|---|
| Toutes les 3000 heures |
|
Si le code d'anomalie moteur , ou s'affiche sur l'InfoCenter, nettoyez le filtre à suie en procédant comme suit :



Voir la section Moteur du Manuel d'entretien pour plus d'informations sur le démontage et le remontage du catalyseur d'oxydation diesel et du filtre à suie du FAP.
Adressez-vous à votre concessionnaire-réparateur agréé concernant les pièces de rechange ou l'entretien du catalyseur d'oxydation diesel et du filtre à suie.
Demandez à votre concessionnaire-réparateur agréé de réinitialiser l'ECU du moteur après la pose d'un FAP propre.
Dans certaines circonstances, le carburant est extrêmement inflammable et hautement explosif. Un incendie ou une explosion causé(e) par du carburant peut vous brûler, ainsi que les personnes se tenant à proximité, et causer des dommages matériels.
Vous trouverez la liste complète des consignes de sécurité relatives au carburant sous Consignes de sécurité pour le carburant.
| Périodicité d'entretien | Procédure d'entretien |
|---|---|
| Toutes les 50 heures |
|
Garez la machine sur une surface plane et horizontale, serrez le frein de stationnement et abaissez les bras de chargeuse.
Coupez le moteur et retirez la clé.
Placez un bac de vidange sous le séparateur d'eau.

Desserrez le robinet de vidange en bas de la cartouche du filtre pour vidanger le liquide.
Resserrez le robinet de vidange.
| Périodicité d'entretien | Procédure d'entretien |
|---|---|
| Toutes les 500 heures |
|
Garez la machine sur une surface plane et horizontale, serrez le frein de stationnement et abaissez les bras de chargeuse.
Coupez le moteur et retirez la clé.
Déposez le couvercle arrière ; voir Dépose du couvercle arrière.
Nettoyez la surface de montage du filtre séparateur d'eau.

Déposez la cartouche du filtre et nettoyez la surface de montage.
Lubrifiez le joint de la cartouche neuve avec de l'huile propre.
Remplissez la cartouche de carburant.
Installez la cartouche à la main jusqu'à ce que le joint soit en appui contre la surface de montage. Serrez ensuite la cartouche d'un demi tour supplémentaire.
Reposez le couvercle arrière.
| Périodicité d'entretien | Procédure d'entretien |
|---|---|
| Toutes les 400 heures |
|
Vérifiez que les conduites et les raccords ne sont pas détériorés, endommagés ou desserrés. Serrez les raccords desserrés et demandez à un réparateur agréé de réparer les conduites de carburant endommagées.
| Périodicité d'entretien | Procédure d'entretien |
|---|---|
| Toutes les 500 heures |
|
Garez la machine sur une surface plane et horizontale, serrez le frein de stationnement et abaissez les bras de chargeuse.
Coupez le moteur et retirez la clé.
Ouvrez le capot.
Nettoyez la surface autour des supports du filtre à carburant.

Déposez la cartouche du filtre et nettoyez la surface de montage.
Lubrifiez le joint de la cartouche neuve avec de l'huile propre.
Installez la cartouche à la main jusqu'à ce que le joint soit en appui contre la surface de montage. Serrez ensuite la cartouche d'un demi tour supplémentaire.
Purgez le système d'alimentation ; voir Purge du circuit d'alimentation.
Démarrez le moteur et vérifiez qu'il n'y a pas de fuite d'huile autour de la tête du filtre.
Fermez le capot.
Vous devez purger le circuit d'alimentation avant de démarrer le moteur dans les cas suivants :
Lors du tout premier démarrage d'un moteur neuf.
Après un arrêt du moteur dû à une panne de carburant.
Après l'entretien des composants du circuit d'alimentation (remplacement du filtre, etc.).
Tournez la clé en position CONTACT.
Faites fonctionner la pompe à carburant pendant 2 minutes avant de démarrer la machine.
| Périodicité d'entretien | Procédure d'entretien |
|---|---|
| Toutes les 500 heures |
|
Demandez à un concessionnaire-réparateur agréé de vidanger et de nettoyer les réservoirs de carburant.
Débranchez la batterie avant d'entreprendre des réparations ; voir Utilisation du coupe-batterie.
Chargez la batterie dans un endroit dégagé et bien aéré, à l'écart des flammes ou sources d'étincelles. Débranchez le chargeur du secteur avant de brancher ou de débrancher la batterie. Portez des vêtements de protection et utilisez des outils isolés.
L'acide de la batterie est toxique et peut causer des brûlures. Évitez tout contact avec la peau, les yeux et les vêtements. Protégez-vous le visage, les yeux et les vêtements quand vous manipulez la batterie.
Les gaz de la batterie sont explosifs. Gardez la batterie éloignée des cigarettes, des flammes ou des sources d'étincelles.
Garez la machine sur une surface plane et horizontale, serrez le frein de stationnement et abaissez les bras de chargeuse.
Coupez le moteur et retirez la clé.
Ouvrez le capot.
Tournez le coupe-batterie à la position SOUS TENSION ou HORS TENSION pour effectuer ce qui suit :
Pour mettre la machine sous tension, tournez le coupe-batterie dans le sens horaire à la position SOUS TENSION.
Pour mettre la machine hors tension, tournez le coupe-batterie dans le sens antihoraire à la position HORS TENSION.

| Périodicité d'entretien | Procédure d'entretien |
|---|---|
| Toutes les 50 heures |
|
S'ils sont mal acheminés, les câbles de la batterie peuvent subir des dommages ou endommager la machine et produire des étincelles. Les étincelles peuvent provoquer l'explosion des gaz de la batterie et vous blesser.
Débranchez toujours le câble négatif (noir) de la batterie avant le câble positif (rouge).
Retirez les outils éventuellement montés.
Garez la machine sur une surface plane et horizontale, et serrez le frein de stationnement.
Levez les bras de la chargeuse et montez les dispositifs de blocage de vérins.
Coupez le moteur et retirez la clé.
Déposez le couvercle avant ; voir Dépose du couvercle avant.
Débranchez le câble de masse négatif (noir) de la borne de la batterie. Conservez les fixations.

Repoussez le capuchon en caoutchouc sur le câble positif (rouge).
Débranchez le câble positif (rouge) de la borne de la batterie. Conservez les fixations.
Retirez les écrous à oreilles, les tiges et la barrette de fixation.
Retrait de la batterie.
La batterie en charge produit des gaz qui peuvent exploser.
Ne fumez jamais à côté de la batterie et tenez-la à l'écart des flammes ou sources d'étincelles.
Important: Gardez toujours la batterie chargée au maximum (densité 1,265). Cela est particulièrement important pour prévenir la dégradation de la batterie si la température tombe en dessous de 0 °C.
Retirez la batterie de la machine ; voir Retrait de la batterie.
Chargez la batterie pendant 4 à 8 heures entre 3 et 4 A. Ne la chargez pas excessivement.

Quand la batterie est chargée au maximum, débranchez le chargeur de la prise, puis débranchez les fils du chargeur des bornes de la batterie.
Note: Maintenez propres les bornes et le bac de la batterie pour prolonger la vie de la batterie.
Garez la machine sur une surface plane et horizontale, serrez le frein de stationnement (selon l'équipement) et abaissez les bras de chargeuse.
Coupez le moteur et retirez la clé.
Retirez la batterie de la machine ; voir Retrait de la batterie.
Lavez le bac complet avec un mélange d'eau et de bicarbonate de soude.
Rincez la batterie à l'eau claire.
Pour prévenir la corrosion, enduisez les bornes de la batterie et les cosses des câbles de graisse Grafo 112X (Skin-Over) ou de vaseline.
Reposez la batterie ; voir Mise en place de la batterie.
S'ils sont mal acheminés, les câbles de la batterie peuvent subir des dommages ou endommager la machine et produire des étincelles. Les étincelles peuvent provoquer l'explosion des gaz de la batterie et vous blesser.
Connectez toujours le câble positif (rouge) de la batterie avant le câble négatif (noir).
Placez la batterie sur son support et fixez-la en place avec la barrette de fixation, les écrous à oreilles et les tiges.

Branchez le câble positif (rouge) de la batterie à la borne positive (+) à l'aide des fixations retirées précédemment.
Placez le capuchon rouge sur la borne positive de la batterie.
Branchez le câble négatif (noir) de la batterie à la borne négative (-) à l’aide des fixations retirées précédemment.
Posez le couvercle avant.
La batterie d'origine ne nécessite aucun entretien. Pour savoir comment faire l'entretien d'une batterie de rechange, reportez-vous aux instructions du fabricant de la batterie.
Le démarrage du moteur avec une batterie de secours produit des gaz susceptibles d'exploser.
Ne fumez pas et n'approchez pas d'étincelles ni de flammes de la batterie.
Déposez le couvercle avant ; voir Dépose du couvercle avant.
Contrôlez et nettoyez la corrosion sur les bornes de la batterie avant d'utiliser une batterie de secours. Vérifiez que les connexions sont bien serrées.
La corrosion ou des connexions desserrées peuvent provoquer des pointes de tension indésirables à tout moment pendant la procédure de démarrage avec une batterie d'appoint.
N'essayez pas de démarrer la machine avec une batterie de secours si les bornes de la batterie à plat sont desserrées ou corrodées car vous pourriez endommager le moteur.
L'utilisation d'une batterie de secours alors que la batterie à plat est fissurée, gelée, ne contient pas assez d'électrolyte ou présente un élément ouvert ou en court-circuit peut provoquer une explosion et de graves blessures.
N'utilisez pas de batterie de secours dans ces conditions.
Vérifiez que la batterie d'appoint est une batterie au plomb en bon état et chargée au maximum à 12,6 V ou plus.
Note: Utilisez des câbles de démarrage du bon calibre et assez courts pour réduire la chute de tension entre les systèmes. Assurez-vous que la couleur et l'étiquetage des câbles correspondent à la polarité.
Les batteries contiennent de l'acide et produisent des gaz explosifs.
Protégez-vous toujours les yeux et le visage lorsque vous vous trouvez près des batteries.
Ne vous penchez pas au-dessus des batteries.
Note: Vérifiez que les bouchons d'aération sont bien serrés et de niveau. Placez un chiffon humide, si vous en disposez, sur l'un des bouchons d'aération sur les deux batteries. Les deux machines ne doivent pas se toucher et les deux systèmes électriques doivent être hors tension et avoir la même tension nominale. Ces instructions ne concernent que les systèmes à masse négative.
Connectez le câble positif (+) à la borne positive (+) de la batterie à plat qui est reliée au démarreur ou au solénoïde, comme montré à la Figure 83.

Connectez l'autre extrémité du câble de démarrage positif (+) à la borne positive de la batterie de l'autre machine.
Connectez une extrémité du câble de démarrage négatif (-) à la borne négative de la batterie de l'autre machine.
Connectez l'autre extrémité du câble de démarrage négatif (-) à un point de masse, tel un boulon non peint ou un élément du châssis.
Démarrez le moteur de l'autre machine. Laissez-le tourner quelques minutes, puis démarrez le moteur de votre véhicule.
Retirez les câbles dans l'ordre inverse de leur connexion.
Reposez le couvercle avant.
Le système électrique est protégé par des fusibles. Il ne nécessite donc aucun entretien. Toutefois, si un fusible grille, contrôlez la pièce ou le circuit pour vérifier son état et vous assurer qu'il n'y a pas de court-circuit.

| 1 | 2 | 3 | 4 | 5 | 6 | 7 | 8 | 9 | 10 | 11 | 12 | |
| A | X | X | Levier multifonction | Alimentation outil | Accessoire | Alimentation Tec | Avertisseur sonore | |||||
| (5 A) | (20 A) | (10 A) | (7,5 A) | (10 A) | ||||||||
| B | X | X | X | X | TDM 2002 | Niveau automatique | Alimentation Tec | Éclairage/USB | ||||
| (10 A) | (10 A) | (7,5 A) | (15 A) | |||||||||
| C | X | X | X | X | Télématique | X | X | Alimentation Tec | Alimentation système | |||
| (10 A) | (7,5 A) | (15 A) | ||||||||||
| D | X | X | X | (Relais) | (Relais) | (Relais) | ||||||
| E | X | X | X | |||||||||
Note: Si la machine refuse de démarrer, il se peut que le fusible du panneau de commande/relais ou du circuit principal soit grillé.
| Périodicité d'entretien | Procédure d'entretien |
|---|---|
| Après les 8 premières heures de fonctionnement |
|
| Après les 50 premières heures de fonctionnement |
|
| À chaque utilisation ou une fois par jour |
|
| Toutes les 50 heures |
|
Garez la machine sur une surface plane et horizontale, et serrez le frein de stationnement.
Le godet étant monté et basculé vers le bas, abaissez-le au sol afin que l'avant du groupe de déplacement se soulève de quelques centimètres.
Coupez le moteur et retirez la clé.
Nettoyez les chenilles au tuyau d'arrosage ou au jet haute pression.
Important: Le jet haute pression ne doit servir qu'au nettoyage des chenilles. Ne l'utilisez jamais pour nettoyer le reste de la machine N'utilisez pas de jet d'eau haute pression entre le pignon d'entraînement et le groupe de déplacement, cela pourrait endommager les joints du moteur. Le lavage au jet d'eau haute pression peut endommager le système électrique et les vannes hydrauliques, ou enlever la graisse.
Important: Nettoyez soigneusement les galets de roulement, la roue avant, la roue arrière et le pignon d'entraînement. Les galets de roulement doivent tourner librement lorsqu'ils sont propres.

Levez/soutenez un côté de la machine, puis en vous aidant du poids de la chenille, vérifiez qu'un espace de 19 mm sépare le bas du rebord du galet de roulement et la chenille. Si ce n'est pas le cas, réglez la tension des chenilles comme suit :

Garez la machine sur une surface plane et horizontale, serrez le frein de stationnement et abaissez les bras de chargeuse.
Coupez le moteur et retirez la clé.
Levez le côté de la machine que vous réglez de sorte à décoller la chenille du sol.
Desserrez les boulons du couvercle arrière et déposez le couvercle.

Desserrez l'écrou de blocage et tournez la vis de tension dans le sens horaire jusqu'à ce que la chenille présente une flèche de 19 mm.

Resserrez l'écrou de blocage.
Reposez le couvercle et serrez les boulons.
Répétez la procédure pour l'autre chenille.
Conduisez la machine, puis garez-la machine sur une surface plane et horizontale, serrez le frein de stationnement, coupez le contact et enlevez la clé de contact.
Vérifiez que la chenille présente une flèche de 19 mm. Réglez au besoin.
Retirez les outils éventuellement montés.
Garez la machine sur une surface plane et horizontale en vérifiant qu'une seule moitié de pignon est engagée sur la chenille.

Abaissez les bras de chargeuse.
Coupez le moteur et retirez la clé.
Soulevez la machine de sorte que le dessous de la chenille se trouve à au moins 10 cm au-dessus du sol. Soutenez la machine avec des chandelles.
Note: Utilisez des chandelles pouvant soutenir le poids de votre machine.
Les crics mécaniques ou hydrauliques peuvent céder sous le poids de la machine et causer des blessures graves.
Utilisez des chandelles pour soutenir la machine.
Desserrez les boulons du couvercle arrière et déposez le couvercle.

Desserrez l'écrou de blocage et tournez la vis de tension pour relâcher la tension.

Déposez la moitié du pignon d'entraînement qui n'est pas engagée sur la chenille.
Important: Si vous ne déposez pas cette moitié du pignon, vous risquez d'avoir du mal à installer une nouvelle chenille sans l'endommager.

Démarrez la machine et desserrez le frein de stationnement.
Poussez la commande de déplacement en avant jusqu'à ce que l'autre moitié du pignon soit dégagée de la chenille.

Coupez le moteur et retirez la clé.
Déposez la chenille du cadre, du moyeu d'entraînement, puis de la roue avant.
Enroulez la chenille neuve sur la roue avant.

Poussez la chenille sous et entre les galets de roulement, puis enroulez-la autour de la roue arrière.
Mettez le moteur en marche et desserrez le frein de stationnement.
Poussez la commande de déplacement en avant jusqu'à ce que la moitié du pignon d'entraînement s'engage sur la chenille.

Coupez le moteur et retirez la clé.
Appliquez du frein-filet sur les boulons du demi-pignon d'entraînement que vous avez retiré et posez l'autre demi-pignon. Serrez les boulons à un couple de 80 à 99 N·m.

Réglez la vis de tension jusqu'à ce que la chenille présente une flèche de 19 mm.

Resserrez l'écrou de blocage.
Reposez le couvercle et serrez les boulons.
Répétez la procédure pour remplacer l'autre chenille.
Abaissez la machine au sol.
Conduisez la machine, puis garez-la machine sur une surface plane et horizontale, serrez le frein de stationnement, coupez le contact et enlevez la clé de contact.
Vérifiez que la chenille est correctement tendue ; voir Contrôle et réglage de la tension des chenilles.
L'ingestion de liquide de refroidissement peut être toxique ; rangez-le hors de la portée des enfants et des animaux domestiques.
Les projections de liquide de refroidissement brûlant sous pression ou le contact avec le radiateur brûlant et les pièces qui l'entourent peuvent causer des brûlures graves.
Laissez toujours refroidir le moteur pendant au moins 15 minutes avant d'enlever le bouchon du radiateur.
Servez-vous d'un chiffon pour ouvrir le bouchon du radiateur et desserrez-le lentement pour laisser la vapeur s'échapper.
| Périodicité d'entretien | Procédure d'entretien |
|---|---|
| À chaque utilisation ou une fois par jour |
|
| Toutes les 100 heures |
|
| Périodicité d'entretien | Procédure d'entretien |
|---|---|
| À chaque utilisation ou une fois par jour |
|
Enlevez à l'air comprimé l'herbe, les saletés et autres débris accumulés sur la grille de radiateur.
| Périodicité d'entretien | Procédure d'entretien |
|---|---|
| À chaque utilisation ou une fois par jour |
|
Le circuit de refroidissement contient un mélange 50/50 d'eau et d'antigel à l'éthylène glycol permanent.
Garez la machine sur une surface plane et horizontale, abaissez les bras de chargeuse, serrez le frein de stationnement et coupez le moteur.
Enlevez la clé du commutateur d'allumage et laissez refroidir le moteur.
Ouvrez le capot.
Vérifiez le niveau de liquide de refroidissement dans le vase d'expansion.
Note: Il doit se situer au même niveau ou au-dessus du repère qui figure sur le côté du vase d'expansion.

Si le niveau de liquide de refroidissement est trop bas, enlevez le bouchon du vase d'expansion et ajoutez un mélange 50/50 d'eau et d'antigel permanent à l'éthylène glycol.
Important: Ne remplissez pas le vase d'expansion excessivement.
Revissez le bouchon du vase d'expansion.
| Périodicité d'entretien | Procédure d'entretien |
|---|---|
| Toutes les 800 heures |
|
Demandez à un réparateur agréé d'effectuer la vidange du liquide de refroidissement une fois par an.
S'il est nécessaire de faire l'appoint de liquide de refroidissement moteur, voir Contrôle du niveau du liquide de refroidissement.
| Périodicité d'entretien | Procédure d'entretien |
|---|---|
| Toutes les 100 heures |
|
Appliquez une force de 44 N sur la courroie d'alternateur, à mi-chemin entre les poulies.
Si vous n'obtenez pas une flèche de 10 mm, desserrez les boulons de montage de l'alternateur.

Augmentez ou diminuez la tension de la courroie d'alternateur.
Resserrez les boulons de montage.
Contrôlez de nouveau la flèche de la courroie pour vérifier si la tension est correcte.
Les commandes sont réglées en usine avant l'expédition de la machine. Toutefois, après de nombreuses heures d'utilisation, il faudra éventuellement ajuster l'alignement, la position POINT MORT et le centrage de la commande de déplacement quand elle est à la position avant maximale.
Demandez à votre concessionnaire-réparateur agréé de régler les commandes de votre machine.
Consultez immédiatement un médecin si du liquide est injecté sous la peau. Toute injection de liquide hydraulique sous la peau doit être éliminée dans les quelques heures qui suivent par une intervention chirurgicale réalisée par un médecin.
Vérifiez l'état de tous les flexibles et conduits de liquide hydraulique, ainsi que le serrage de tous les raccords et branchements avant de mettre le système hydraulique sous pression.
N'approchez pas les mains ni aucune autre partie du corps des fuites en trou d'épingle ou des gicleurs d'où sort du liquide hydraulique sous haute pression.
Utilisez un morceau de papier ou de carton pour détecter les fuites.
Évacuez avec précaution toute la pression du système hydraulique avant toute intervention sur le système.
Pour évacuer la pression hydraulique moteur en marche, désengagez le système hydraulique auxiliaire puis abaissez et rétractez complètement les bras de chargeuse.
Pour évacuer la pression moteur coupé, faites passer le levier multifonction par les différentes positions de marche avant pour abaisser les bras de chargeuse.

| Périodicité d'entretien | Procédure d'entretien |
|---|---|
| Toutes les 100 heures |
|
| Toutes les 400 heures |
|
| Toutes les 1000 heures |
|
| Toutes les 1500 heures |
|
| Tous les 2 ans |
|
Capacité du réservoir de liquide hydraulique : 44,7 litres
Utilisez un seul des liquides suivants dans le système hydraulique :
Liquide hydraulique/de transmission « Toro Premium Transmission/Hydraulic Tractor Fluid » (pour plus de renseignements, adressez-vous à votre concessionnaire-réparateur Toro agréé)
Liquide hydraulique longue durée « Toro PX Extended Life Hydraulic Fluid » (pour plus de renseignements, adressez-vous à votre concessionnaire-réparateur agréé)
Si aucun des liquides Toro ci-dessus n'est disponible, vous pouvez utiliser un autre liquide hydraulique universel pour tracteur (UTHF), à condition que ce soit un produit ordinaire à base de pétrole. Les spécifications doivent rester dans la plage des caractéristiques matérielles et le liquide doit être conforme aux normes industrielles ci-dessous. Vérifiez auprès de votre fournisseur de liquide hydraulique que le liquide est conforme à ces spécifications.
Note: Toro décline toute responsabilité en cas de dommage causé par l'utilisation d'huiles de remplacement inadéquates. Utilisez uniquement des produits provenant de fabricants réputés qui répondent de leur recommandations.
| Propriétés physiques | |
| Viscosité, ASTM D445 | cSt à 40 °C : 55 à 62 |
| cSt à 100 °C : 9,1 à 9,8 | |
| Indice de viscosité, ASTM D2270 | 140 à 152 |
| Point d'écoulement, ASTM D97 | -37 à -43 °C |
| Normes industrielles | |
| API GL-4, AGCO Powerfluid 821 XL, Ford New Holland FNHA-2-C-201.00, Kubota UDT, John Deere J20C, Vickers 35VQ25 et Volvo WB-101/BM | |
Note: De nombreux liquides hydrauliques sont presque incolores, ce qui rend difficile la détection des fuites. Un additif colorant rouge pour liquide hydraulique est disponible en bouteilles de 20 ml. Une bouteille suffit pour 15 à 22 litres de liquide hydraulique. Vous pouvez commander ces bouteilles chez les concessionnaires Toro agréés (réf. 44-2500).
| Périodicité d'entretien | Procédure d'entretien |
|---|---|
| Toutes les 25 heures |
|
Important: Utilisez toujours le liquide hydraulique correct. L'utilisation de liquides non spécifiés endommagera le système hydraulique. Voir Liquides hydrauliques spécifiés.
Retirez les outils éventuellement montés.
Garez la machine sur une surface plane et horizontale, serrez le frein de stationnement et abaissez les bras de chargeuse.
Coupez le moteur et retirez la clé.
Relevez le support.

Nettoyez la surface autour du bouchon de remplissage.
Enlevez le bouchon du goulot de remplissage et vérifiez le niveau de liquide sur la jauge.
Note: Il doit se situer entre les repères sur la jauge.

Si le niveau est bas, ajoutez suffisamment d'huile hydraulique pour le rectifier.
Remettez le bouchon de remplissage.
Abaissez le support.
Important: N'utilisez pas un filtre à huile de type automobile au risque d'endommager gravement le système hydraulique.
Retirez les outils éventuellement montés.
Garez la machine sur une surface plane et horizontale, et serrez le frein de stationnement.
Levez les bras de la chargeuse et montez les dispositifs de blocage de vérins.
Arrêtez le moteur, enlevez la clé de contact et laissez refroidir le moteur.
Déposez le couvercle avant ; voir Dépose du couvercle avant.
Placez un bac de vidange sous le filtre et remplacez le filtre.

Essuyez le liquide éventuellement répandu.
Mettez le moteur en marche et laissez-le tourner environ 2 minutes pour purger l'air du circuit.
Coupez le moteur et recherchez d'éventuelles fuites.
Vérifiez le niveau de liquide dans le réservoir hydraulique (voir Contrôle du niveau de liquide hydraulique) et faites l'appoint jusqu'à ce que le niveau atteigne le repère sur la jauge.
Important: Ne remplissez pas excessivement le réservoir.
Reposez le couvercle avant.
Retirez et rangez les dispositifs de blocage des vérins, puis abaissez les bras de la chargeuse.
Garez la machine sur une surface plane et horizontale, serrez le frein de stationnement et abaissez les bras de chargeuse.
Coupez le moteur et retirez la clé.
Placez un grand bac de vidange (d'au moins 57 litres de capacité) sous le bouchon de vidange du réservoir hydraulique.

Retirez le bouchon de vidange pour permettre à l'huile de s'écouler dans le bac de vidange.
Lorsque la vidange d'huile est terminée, remettez et serrez le bouchon de vidange en place.
Note: Débarrassez-vous de l'huile usagée dans un centre de recyclage agréé.
Remplissez le réservoir de liquide hydraulique ; voir Liquides hydrauliques spécifiés.
Mettez le moteur en marche et laissez-le tourner quelques minutes.
Coupez le moteur et retirez la clé.
Contrôlez le niveau de liquide hydraulique et faites l'appoint au besoin ; voir Contrôle du niveau de liquide hydraulique.
| Périodicité d'entretien | Procédure d'entretien |
|---|---|
| Toutes les 25 heures |
|
Vérifiez le couple de serrage chaque fois que les bras de chargeuse inférieurs bougent et font du bruit.
Garez la machine sur une surface plane et horizontale.
Arrêtez le moteur, enlevez la clé de contact et laissez refroidir le moteur.
Sur chaque bras de chargeuse, desserrez la vis de blocage sur les 4 vis de réglage.

Serrez les vis de réglage à 27 N∙m.
Vérifiez que les vis de réglage dépassent des bras de la même longueur d'un côté à l'autre.
Appliquez du frein-filet moyenne résistance sur les vis de blocage et serrez-les jusqu'à ce qu'elles touchent juste les vis de réglage.
Important: Ne serrez pas excessivement les vis de blocage, au risque d'endommager le filetage des vis de réglage.
| Périodicité d'entretien | Procédure d'entretien |
|---|---|
| À chaque utilisation ou une fois par jour |
|
Important: Le moteur peut surchauffer et être endommagé si vous utilisez la machine alors que les déflecteurs sont obstrués et/ou les carénages de refroidissement sont déposés.
Garez la machine sur une surface plane et horizontale et abaissez les bras de chargeuse.
Arrêtez le moteur, enlevez la clé de contact et laissez refroidir le moteur.
Ouvrez le capot.
Enlevez les débris éventuellement accumulés sur les déflecteurs avant et latéraux.
Essuyez le filtre à air pour enlever les débris.
À l'aide d'une brosse ou d'air comprimé, enlevez les débris accumulés sur le moteur et les ailettes du refroidisseur d'huile.
Important: Le moteur peut surchauffer et être endommagé si vous utilisez la machine alors que les déflecteurs sont obstrués et/ou les carénages de refroidissement sont déposés.
Enlevez les débris accumulés sur l'ouverture du capot, le silencieux, les écrans pare-chaleur et la grille du radiateur (le cas échéant).
Fermez le capot.
Lorsque vous lavez la machine au jet d'eau haute pression, procédez comme suit :
Portez un équipement de protection individuelle adapté pour utiliser le nettoyeur haute pression.
Maintenez toutes les protections en place sur la machine.
Évitez d'utiliser le jet d'eau sous pression sur les composants électroniques.
Évitez d'utiliser le jet d'eau sous pression autour des autocollants.
Utilisez le jet d'eau sous pression uniquement sur l'extérieur de la machine. Ne dirigez pas le jet sous pression dans les ouvertures de la machine.
Utilisez le jet sous pression uniquement sur les parties sales de la machine.
Utilisez un embout de pulvérisation de 40 degrés ou plus. Les embouts de 40 degrés sont généralement blancs.
Maintenez le bout du nettoyeur haute pression à 61 cm au moins de la surface que vous lavez.
Utilisez uniquement des nettoyeurs haute pression de pression inférieure à 138 bar et de débit inférieur à 7,6 l par minute.
Remplacez les autocollants endommagés ou qui se décollent.
Graissez tous les points de graissage après le lavage ; voir Graissage de la machine.
| Périodicité d'entretien | Procédure d'entretien |
|---|---|
| Toutes les 100 heures |
|
Avec le temps, le châssis s'encrasse sous le moteur et doit être nettoyé. Ouvrez le capot et examinez régulièrement la zone située sous le moteur à l'aide d'une torche électrique. Si des débris sont accumulés sur plus de 2,5 à 5 cm d'épaisseur, nettoyez le châssis.
Garez la machine sur une surface plane et horizontale et abaissez les bras de la chargeuse.
Soulevez l'avant de la machine pour incliner la machine en arrière.
Coupez le moteur et retirez la clé.
Déposez la plaque inférieure ; voir Dépose de la plaque inférieure.
Déposez le couvercle avant ; voir Dépose du couvercle avant.
Pulvérisez de l'eau dans le châssis pour nettoyer la saleté et les débris.
Note: L'eau s'écoulera à l'arrière de la machine.
Important: Ne pulvérisez pas d'eau dans le moteur.
Graissez la machine ; voir Graissage de la machine.
Remettez la plaque inférieure en place.
Posez le couvercle avant.
Abaissez la machine.
Coupez le moteur, enlevez la clé, attendez l'arrêt complet de toutes les pièces mobiles et faites refroidir la machine avant de la remiser.
Ne rangez pas la machine ou le carburant à proximité d'une flamme.
Garez la machine sur une surface plane et horizontale, serrez le frein de stationnement et abaissez les bras de chargeuse.
Coupez le moteur et retirez la clé.
Nettoyez soigneusement toute la machine.
Important: Vous pouvez laver la machine avec de l'eau et un détergent doux. N'utilisez pas trop d'eau, surtout près du panneau de commande, du moteur, des pompes hydrauliques et des moteurs électriques.
Faites l'entretien du filtre à air ; voir Entretien du filtre à air.
Graissez la machine ; voir Graissage de la machine.
Vidangez l'huile moteur ; voir Vidange de l'huile moteur et remplacement du filtre à huile.
Chargez la batterie ; voir Charge de la batterie.
Vérifiez et ajustez la tension des chenilles ; voir Contrôle et réglage de la tension des chenilles.
Contrôlez et resserrez toutes les fixations. Réparez ou remplacez les pièces usées, endommagées ou manquantes.
Peignez toutes les surfaces métalliques éraflées ou mises à nu avec de la peinture en vente chez un concessionnaire-réparateur agréé.
Rangez la machine dans un endroit propre et sec, comme un garage ou une remise. Enlevez la clé de contact et rangez-la en lieu sûr.
Débranchez la batterie ; voir Utilisation du coupe-batterie.
Couvrez la machine pour la protéger et la garder propre.
Avant de mettre la machine hors service, observez la réglementation locale en matière d'élimination des substances dangereuses. Pour plus d'information sur la vidange des liquides, voir le chapitre Entretien, ou contactez votre concessionnaire-réparateur agréé.
| Problem | Possible Cause | Corrective Action |
|---|---|---|
| Le moteur ne démarre pas. |
|
|
| Le moteur perd de la puissance. |
|
|
| Le moteur démarre, mais s'arrête aussitôt. |
|
|
| Le moteur surchauffe. |
|
|
| La machine ne se déplace pas. |
|
|