Одржавање
Bezbednost pri održavanju
-
Pre čišćenja, servisiranja ili podešavanja mašine, uradite sledeće:
-
Parkirajte mašinu na ravnoj površini.
-
Sačekajte da se svi pokretni delovi zaustave.
-
Uklonite mašinu sa vučne jedinice.
-
Spustite podupirač.
-
Pre održavanja sačekajte da se komponente mašine ohlade.
-
-
Pridržavajte se samo onih uputstava za održavanje koja su opisana u ovom priručniku. Ako vam ikad budu potrebne veće popravke ili vam bude potrebna pomoć, obratite se ovlašćenom distributeru kompanije Toro.
-
Dok radite ispod mašine, poduprite je blokovima ili podupiračima.
-
Nakon održavanja ili podešavanja mašine, pobrinite se da svi štitnici budu montirani i pričvršćeni.
-
Ne dozvolite neobučenom osoblju da servisira mašinu.
-
Sve delove održavajte u dobrom radnom stanju i vodite računa da svi pričvršćivači budu dobro pritegnuti. Zamenite sve oštećene nalepnice, kao i one koje nedostaju.
-
Nemojte ometati namenjenu funkciju sigurnosnog uređaja ili smanjivati nivo zaštite koji obezbeđuje sigurnosni uređaj. Redovno proveravajte njihovu ispravnost.
-
Ako su ikada neophodne velike popravke ili je potrebna pomoć, obratite se ovlašćenom Toro distributeru.
-
Vršenje prepravki na ovoj mašini na bilo koji način može uticati na rad mašine, učinak, trajnost ili njena upotreba može dovesti do povrede ili smrti. Takva upotreba bi mogla da poništi garanciju kompanije Toro®.
Podmazivanje duvaljke
| Интервал сервисног одржавања | Поступак одржавања |
|---|---|
| Сваких 50 сати |
|
Duvaljka za otpad ima ležajeve i čaure koji se moraju redovno podmazivati. Ako mašina radi pod normalnim uslovima, podmažite ležajeve litijumovom mašću br. 2. Podmažite mazalice odmah nakon svakog ispiranja, bez obzira na navedeni interval.
Tačke za podmazivanje su sledeće:
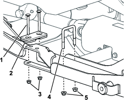
Pogonska remenica (Слика 21)

Vratilo točkića (2) (Слика 22)

Podmazivanje pogonskog vratila
| Интервал сервисног одржавања | Поступак одржавања |
|---|---|
| Пре сваке употребе или свакодневно |
|
Pogonsko vratilo montažnog kompleta ima ležajeve i čaure koje morate redovno da podmazujete. Ako mašinu koristite pod normalnim uslovima, podmažite ležajeve litijumovom mašću br. 2. Podmažite mazalice odmah nakon svakog ispiranja, bez obzira na navedeni interval.
-
Postavite mašinu i duvaljku na ravnu površinu i spustite duvaljku.
-
Postoji 9 mesta za podmazivanje; pogledajte servisnu nalepnicu kompleta za montažu ili Слика 23.

Provera podmazivanja menjača
| Интервал сервисног одржавања | Поступак одржавања |
|---|---|
| Након првих 50 сати |
|
| Сваких 150 сати |
|
Kapacitet menjača: 177ml.
-
Postavite mašinu i duvaljku na ravnu površinu i spustite duvaljku.
-
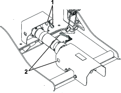
Skinite 5 zavrtanja i podloški koje pričvršćuju poklopac kućišta zupčanika za duvaljku (Слика 24).

-
Uklonite poklopac da biste otkrili kućište zupčanika duvaljke (Слика 24).
-
Skinite čep za punjenje/proveru sa strane menjača (Слика 25).

-
Proverite nivo ulja da biste se uverili da je do otvora sa čepom u menjaču. Ako je nivo maziva nizak, dodajte dovoljno maziva za zupčanike SAE 80-90 da podignete nivo do otvora.
-
Postavite čep za punjenje/proveru na menjač.
-
Postavite poklopac.
Provera mlaznice
| Интервал сервисног одржавања | Поступак одржавања |
|---|---|
| Пре сваке употребе или свакодневно |
|
Provera stezaljke mlaznice i podešavanje položaja
Упозорење
Ispušten vazduh ima značajnu silu i može da dovede do povrede ili gubitka uporišta.
Pre podešavanja položaja mlaznice duvaljke, parkirajte vučnu jedinicu na ravnoj površini, deaktivirajte PTO, uklonite ključ i sačekajte da se svi pokretni delovi zaustave.
-
Stezaljku mlaznice (Слика 26) proveravajte svakodnevno da biste obezbedili njenu zategnutost.
Note: Mlaznica može da se otpusti ukoliko se vuče preko prepreka ili kroz niske delove terena.
-
Zategnite učvršćivače stezaljke da biste zadržali razmak od 1,3 cm.
Mlaznica bi trebalo slobodno rotira kada je pomerate rukom.

Čišćenje vođica mlaznica
Proverite i uklonite svu travu, prljavštinu ili otpatke koji su se nagomilali oko i između vođica mlaznice (Слика 27).
Vodite računa da mlaznica nema otpadaka kako biste sprečili zastoje motora.

Podešavanje kaiša mlaznice
| Интервал сервисног одржавања | Поступак одржавања |
|---|---|
| Након првих 8 сати |
|
| Сваких 50 сати |
|
Podesite kaiš ukoliko proklizava pri promeni smera mlaznice.
-
Pritisnite kaiš na sredini najdužeg raspona, silom od 30 N m (Слика 28).
Note: Kaiš bi trebalo da se savije 4,8 mm.
-
Ako ova vrednost za odvojenost nije dobra, pređite na sledeći korak. Ako je dobra, nastavite sa radom.

-
Otpustite šestostranu navrtku i pritegnite navrtku sa prirubnicom da biste povećali zategnutost kaiša (Слика 28).
Note: Nemojte previše zatezati.
-
Pritegnite šestostranu navrtku da biste pričvrstili podešeno.
Skladištenje
-
Uklonite pokošenu travu, prljavštinu i nečistoće sa spoljašnjih delova čitave duvaljke.
Important: Mašinu možete oprati blagim deterdžentom i vodom. Ne perite mašinu pod pritiskom. Izbegavajte prekomerno korišćenje vode.
-
Proverite i dotegnite sve zavrtnje i navrtke. Zamenite sve oštećene delove.
-
Ofarbajte sve površine koje su izgrebane ili na kojima je metal ogoljen. Boja je dostupna kod vašeg ovlašćenog servisera.
-
Mašinu skladištite u čistoj, suvoj garaži ili skladištu. Upotrebite podupirač da uskladištite duvaljku u uspravnom položaju. Ne spuštajte duvaljku da leži na zemlji.


























