Održavanje
Sigurnost pri održavanju
-
Prije čišćenja, servisiranja ili podešavanja uređaja učinite sljedeće:
-
Parkirajte uređaj na ravnoj površini.
-
Pričekajte da se svi pomični dijelovi zaustave.
-
Odvojite uređaj od vučne jedinice.
-
Spustite podmetač.
-
Pustite da se komponente uređaja ohlade prije održavanja.
-
-
Izvršavajte održavanje uređaja isključivo kako je navedeno u ovom priručniku. Ako su ikad potrebni veći popravci ili trebate pomoć, obratite se ovlaštenom distributeru tvrtke Toro.
-
Poduprite uređaj blokovima ili podmetačima za pridržavanje uređaja kad radite ispod njega.
-
Osigurajte da su svi štitovi sigurno postavljeni nakon održavanja ili podešavanja uređaja.
-
Uređaj nikad ne smije servisirati neosposobljeno osoblje.
-
Držite sve dijelove u dobrom radnom stanju i sve pričvrsne elemente zategnute. Zamijenite sve oštećene ili nedostajuće naljepnice.
-
Nemojte ometati predviđenu funkciju sigurnosnog uređaja ili smanjivati stupanj zaštite koji pruža sigurnosni uređaj. Redovito provjeravajte rade li ispravno.
-
Ako su potrebni veći popravci ili pomoć, kontaktirajte ovlaštenog distributera tvrtke Toro.
-
Bilo kakve izmjene na vozilu mogu utjecati na rad, karakteristike i trajanje vozila, a upotreba takvog vozila može rezultirati tjelesnim ozljedama ili smrću. Takva upotreba može dovesti do poništavanja jamstva tvrtke Toro®.
Podmazivanje puhača
| Interval servisa održavanja | Postupak održavanja |
|---|---|
| Svakih 50 sati |
|
Motorni puhač ima ležajeve i čahure koji se moraju redovito podmazivati. Ako se uređaj upotrebljava u normalnim uvjetima, podmazujte ležajeve litijskim mazivom br. 2. Mazalice podmažite odmah nakon svakog pranja, neovisno o navedenom vremenskom intervalu.
Mjesta za podmazivanje su sljedeća:
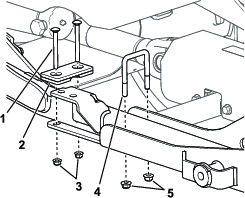
Remenica pogona (Slika 21)

Osovina zakretnih kotača (2) (Slika 22)

Podmazivanje pogonskog vratila
| Interval servisa održavanja | Postupak održavanja |
|---|---|
| Prije svake uporabe ili svakodnevno |
|
Pogonsko vratilo montažne opreme ima ležajeve i čahure koje morate redovito podmazivati. Ako uređaj upotrebljavate u normalnim uvjetima, podmazujte ležajeve litijskim mazivom br. 2. Mazalice podmažite odmah nakon svakog pranja, neovisno o navedenom vremenskom intervalu.
-
Postavite uređaj i puhač na ravnu površinu i spustite puhač.
-
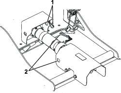
Postoji 9 mjesta za podmazivanje; pogledajte servisnu naljepnicu montažne opreme ili Slika 23.

Provjera podmazivanja mjenjačke kutije
| Interval servisa održavanja | Postupak održavanja |
|---|---|
| Nakon prvih 50 sati |
|
| Svakih 150 sati |
|
Kapacitet mjenjačke kutije: 177ml.
-
Postavite uređaj i puhač na ravnu površinu i spustite puhač.
-
Uklonite 5 vijaka i podloške kojima je poklopac prijenosnika pričvršćen za puhač (Slika 24).

-
Uklonite poklopac kako biste otkrili prijenosnik puhača (Slika 24).
-
Uklonite čep otvora za provjeru/punjenje s bočne strane mjenjačke kutije (Slika 25).

-
Provjerite razinu ulja kako biste se uvjerili da doseže razinu otvora s čepom u mjenjačkoj kutiji. Ako je razina maziva niska, ulijevajte mazivo za zupčanike SAE 80-90 dok se razina ne podigne do otvora.
-
Postavite čep otvora za provjeru/punjenje na mjenjačku kutiju.
-
Postavite poklopac.
Provjera mlaznice
| Interval servisa održavanja | Postupak održavanja |
|---|---|
| Prije svake uporabe ili svakodnevno |
|
Provjera stezaljke mlaznice i podešavanje položaja
Upozorenje
Ispušteni zrak ima znatnu snagu i može uzrokovati ozljedu ili gubitak oslonca.
Prije podešavanja položaja mlaznice puhača, parkirajte vučnu jedinicu na ravnoj površini, isključite PTO uređaj, uklonite ključ i pričekajte da se svi pomični dijelovi zaustave.
-
Svakodnevno provjeravajte stezaljku mlaznice (Slika 26) kako biste osigurali da je čvrsto stegnuta.
Note: Mlaznica se može otpustiti ako se povlači preko prepreka ili kroz niska područja na terenu.
-
Zategnite pričvršćivače stezaljke kako biste zadržali razmak od 1,3 cm.
Mlaznica bi se trebala slobodno okretati kad je pomičete rukom.

Čišćenje vodilica mlaznice
Provjerite i uklonite nakupljenu travu, nečistoće ili druge ostatke oko i između vodilica mlaznice (Slika 27).
Kako biste spriječili zatajenje motora, držite mlaznicu čistom.

Podešavanje remena mlaznice
| Interval servisa održavanja | Postupak održavanja |
|---|---|
| Nakon prvih 8 sati |
|
| Svakih 50 sati |
|
Podesite remen ako prokliže pri promjeni smjera mlaznice.
-
Pritisnite remen na sredini najduljeg raspona s 30 Nm sile (Slika 28).
Note: Remen bi trebao imati otklon od 4,8 mm.
-
Ako otklon nije ispravan, nastavite na sljedeći korak. Ako je ispravan, nastavite s radom.

-
Otpustite šesterokutnu maticu i zategnite prirubnu maticu kako biste povećali napetost remena (Slika 28).
Note: Nemojte ga prekomjerno zategnuti.
-
Pritegnite šesterokutnu maticu kako biste učvrstili podešeni položaj.
Skladištenje
-
Uklonite odrezanu travu, prljavštinu i prašinu s vanjskih dijelova cijelog puhača.
Important: Možete prati uređaj s pomoću blagog deterdženta i vode. Nemojte prati uređaj visokotlačnim peračem. Izbjegavajte prekomjernu upotrebu vode.
-
Provjerite i zategnite sve vijke i matice. Zamijenite istrošene dijelove.
-
Obojite sve izgrebane ili gole metalne površine. Boju možete kupiti kod ovlaštenog servisera.
-
Čuvajte uređaj u čistoj, suhoj garaži ili skladišnom prostoru. Upotrijebite podmetač kako biste držali puhač u uspravnom položaju. Nemojte polijegati puhač na tlo.


























