Întreţinere
Siguranță în timpul întreținerii
-
Înainte de a curăța, repara sau părăsi mașina, procedați astfel:
-
Parcați mașina pe o suprafață plană.
-
Așteptați până când toate piesele mobile se opresc.
-
Îndepărtați mașina de la nivelul unității de tracțiune.
-
Coborâți cricul.
-
Lăsați componentele mașinii să se răcească înainte de a realiza lucrările de întreținere.
-
-
Efectuați doar acele instrucțiuni de întreținere descrise în acest manual. Dacă sunt necesare reparații majore sau dacă aveți nevoie de asistență, contactați un distribuitor autorizat Toro.
-
Sprijiniți mașina cu blocuri sau suporturi de cric atunci când lucrați sub aceasta.
-
Asigurați-vă că sunt montate toate protecțiile după efectuarea lucrărilor de reparații sau reglarea mașinii.
-
Nu permiteți efectuarea lucrărilor de service asupra mașinii de către persoane neinstruite.
-
Mențineți toate componentele în stare bună de funcționare și toate organele de asamblare fixate. Înlocuiți toate autocolantele deteriorate sau lipsă.
-
Nu modificați funcționarea prevăzută a unui dispozitiv de siguranță și nu reduceți protecția oferită de un dispozitiv de siguranță. Verificați periodic funcționarea corectă a acestora.
-
Dacă sunt vreodată necesare reparații majore sau dacă este necesară asistență, contactați un distribuitor autorizat Toro.
-
Modificarea acestei mașini în orice mod poate afecta funcționarea, performanța, durabilitatea sau utilizarea acesteia poate cauza rănirea sau decesul. O astfel de utilizare poate anula garanția produsului oferită de The Toro® Company.
Lubrifierea suflantei
| Interval de întreţinere şi service | Procedură de întreţinere |
|---|---|
| La intervale de 50 de ore |
|
Suflanta de reziduuri are rulmenți și bucșe care trebuie lubrifiate regulat. Dacă mașina este utilizată în condiții normale, lubrifiați rulmenții cu lubrifiant cu litiu nr. 2. Lubrifiați imediat fitingurile după fiecare spălare, indiferent de intervalul menționat.
Punctele de lubrifiere sunt după cum urmează:
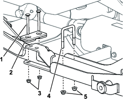
Roată de antrenare (Figura 21)

Arborele rolei (2) (Figura 22)

Lubrifierea arborelui de transmisie
| Interval de întreţinere şi service | Procedură de întreţinere |
|---|---|
| Înainte de fiecare folosinţă sau zilnic |
|
Arborele de transmisie al setului de montare are rulmenți și bucșe pe care trebuie să le lubrifiați regulat. Dacă utilizați mașina în condiții normale, lubrifiați rulmenții cu lubrifiant cu litiu nr. 2. Lubrifiați imediat fitingurile după fiecare spălare, indiferent de intervalul menționat.
-
Poziționați mașina și suflanta pe o suprafață uniformă și coborâți suflanta.
-
Există 9 puncte de lubrifiere; consultați autocolantul cu privire la service al setului de montare sau Figura 23.

Verificarea lubrifierii cutiei de viteze
| Interval de întreţinere şi service | Procedură de întreţinere |
|---|---|
| După primele 50 ore |
|
| La intervale de 150 de ore |
|
Capacitate cutie de viteze: 177ml.
-
Poziționați mașina și suflanta pe o suprafață uniformă și coborâți suflanta.
-
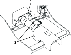
Îndepărtați cele 5 șuruburi și șaibe care fixează capacul carcasei reductorului la nivelul suflantei (Figura 24).

-
Îndepărtați capacul pentru a expune carcasa reductorului a suflantei (Figura 24).
-
Îndepărtați bușonul de verificare/umplere de pe partea laterală a cutiei de viteze (Figura 25).

-
Verificați nivelul de ulei pentru a vă asigura că ajunge până la orificiul bușonului din cutia de viteze. Dacă nivelul de lubrifiant este scăzut, adăugați suficient lubrifiant pentru angrenaje SAE 80-90 pentru a ridica nivelul până la orificiu.
-
Montați bușonul de verificare/umplere la nivelul cutiei de viteze.
-
Montați capacul.
Verificarea duzei
| Interval de întreţinere şi service | Procedură de întreţinere |
|---|---|
| Înainte de fiecare folosinţă sau zilnic |
|
Verificarea clemei duzei și reglarea poziției
Atenţie
Aerul evacuat are o forță considerabilă și poate cauza vătămări corporale sau pierderea echilibrului.
Parcați unitatea de tracțiune pe o suprafață uniformă, decuplați priza de putere, scoateți cheia și așteptați până când toate piesele mobile se opresc înainte de reglarea poziției duzei suflantei.
-
Verificați zilnic clema duzei (Figura 26) pentru a vă asigura că este fixă.
Note: Duza se poate slăbi dacă este trasă peste obstacole sau prin zone joase din teren.
-
Strângeți elementele de fixare ale clemelor pentru a menține o distanță de 1,3 cm.
Duza trebuie să se rotească liber atunci când o mișcați cu mâna.

Curățarea ghidajelor duzei
Verificați și eliminați orice depunere de iarbă, murdărie sau reziduuri din jurul și între ghidajele duzei (Figura 27).
Păstrați duza liberă de reziduuri pentru a împiedica oprirea motorului.

Reglarea curelei duzei
| Interval de întreţinere şi service | Procedură de întreţinere |
|---|---|
| După primele 8 ore |
|
| La intervale de 50 de ore |
|
Reglați cureaua dacă aceasta alunecă la schimbarea direcției duzei.
-
Apăsați cureaua, în centrul celei mai lungi porțiuni, cu o forță de 30 N∙m (Figura 28).
Note: Încovoierea curelei trebuie să fie de 4,8 mm.
-
Dacă încovoierea este incorectă, treceți la pasul următor. Dacă aceasta este corectă, continuați utilizarea.

-
Slăbiți piulița hexagonală și strângeți piulița cu guler pentru a crește tensionarea curelei (Figura 28).
Note: Nu strângeți excesiv.
-
Strângeți piulița hexagonală pentru a fixa reglajul.
Depozitare
-
Îndepărtați reziduurile de iarbă tăiată, murdăria și stratul depus de pe piesele exterioare ale întregii suflante.
Important: Puteți spăla mașina utilizând un detergent delicat și apă. Nu spălați mașina cu presiune. Evitați utilizarea excesivă a apei.
-
Verificați și strângeți toate șuruburile și piulițele. Înlocuiți orice piese uzate.
-
Vopsiţi toate suprafeţele zgâriate sau de metal gol. Vopseaua este disponibilă de la distribuitorul nostru autorizat.
-
Depozitați mașina într-un spațiu de depozitare sau garaj uscat și curat. Utilizați cricul pentru a depozita suflanta în poziție verticală. Nu așezați suflanta pe sol.


























