Vzdrževanje
Varnost pri vzdrževanju
-
Pred čiščenjem, popravilom ali nastavljanjem stroja morate opraviti naslednje:
-
Parkirajte stroj na ravni površini.
-
Počakajte, da se vsi gibljivi deli ustavijo.
-
Stroj odklopite od vlečne enote.
-
Spustite podporno stojalo.
-
Pred začetkom vzdrževanja počakajte, da se vroči deli stroja ohladijo.
-
-
Opravljajte samo vzdrževalna opravila, ki so opisana v tem priročniku. Če potrebujete večja popravila ali kakršno koli pomoč, stopite v stik s pooblaščenim distributerjem za izdelke Toro.
-
Kadar delate pod strojem, ga podprite z bloki ali dvigalkami.
-
Zagotovite, da so po vzdrževanju ali prilagajanju stroja nameščena vsa varovala.
-
Servisiranje stroja sme izvajati samo ustrezno usposobljeno osebje.
-
Dele stroja vzdržujte v brezhibnem stanju in poskrbite, da bodo vijaki in matice dobro priviti. Zamenjajte vse poškodovane ali manjkajoče nalepke.
-
Ne posegajte v predvideno delovanje varoval ter ne omejujte zaščite, ki jo nudijo varnostni pripomočki. Redno preverjajte njihovo pravilno delovanje.
-
Če so potrebna večja popravila ali pomoč, se obrnite na pooblaščenega distributerja podjetja Toro.
-
Kakršno koli spreminjanje tega stroja lahko vpliva na njegovo delovanje, zmogljivost, vzdržljivost ali pa lahko njegova uporaba povzroči poškodbe ali smrt. Takšna uporaba lahko izniči garancijo izdelka podjetja The Toro® Company.
Mazanje puhalnika
| Intervali servisnega vzdrževanja | Postopek vzdrževanja |
|---|---|
| Vsakih 50 ur |
|
Puhalnik ima ležaje in puše, ki jih je treba redno mazati. Če stroj deluje v običajnih pogojih, ležaje mažite z litijevo mastjo št. 2. Po vsakem pranju namažite priključke takoj, ne glede na navedene intervale.
Mazalna mesta so naslednja:
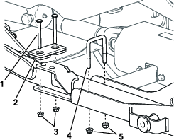
Jermenica pogona (Diagram 21)

Gred samoslednega kolesa (2) (Diagram 22)

Mazanje pogonske gredi
| Intervali servisnega vzdrževanja | Postopek vzdrževanja |
|---|---|
| Pred vsako uporabo ali dnevno |
|
Pogonska gred montažnega kompleta ima ležaje in puše, ki jih je treba redno mazati. Če stroj deluje v običajnih pogojih, ležaje mažite z litijevo mastjo št. 2. Po vsakem pranju namažite priključke takoj, ne glede na navedene intervale.
-
Stroj in puhalnik postavite na ravno površino in spustite puhalnik.
-
Na voljo je 9 mazalnih mest; glejte servisno nalepko montažnega kompleta ali Diagram 23.

Preverjanje mazanja menjalnika
| Intervali servisnega vzdrževanja | Postopek vzdrževanja |
|---|---|
| Po prvih 50 urah |
|
| Vsakih 150 ur |
|
Prostornina menjalnika: 177 ml.
-
Stroj in puhalnik postavite na ravno površino in spustite puhalnik.
-
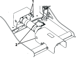
Odstranite 5 vijakov in podložk, ki pritrjujejo pokrov ohišja menjalnika na puhalnik (Diagram 24).

-
Odstranite pokrov, da razkrijete ohišje menjalnika puhalnika (Diagram 24).
-
Odstranite kontrolni/polnilni čep z bočne strani menjalnika (Diagram 25).

-
Preverite raven olja in se prepričajte, da sega do odprtine čepa v menjalniku. Če je raven maziva nizka, dodajte toliko maziva za menjalnike SAE 80–90, da se raven dvigne do odprtine.
-
Namestite kontrolni/polnilni čep v menjalnik.
-
Namestite pokrov.
Preverjanje šobe
| Intervali servisnega vzdrževanja | Postopek vzdrževanja |
|---|---|
| Pred vsako uporabo ali dnevno |
|
Preverjanje objemke šobe in nastavitev položaja
Opozorilo
Izpihani zrak ima precejšnjo moč in lahko povzroči poškodbe oziroma vas spravi iz ravnotežja.
Parkirajte vlečno enoto na ravni površini, izklopite priključno gred, odstranite ključ in počakajte, da se vsi gibljivi deli ustavijo, preden nastavite položaj šobe puhalnika.
-
Vsakodnevno preverite objemko šobe (Diagram 26), da se prepričate, da je pravilno zategnjena.
Note: Šoba se lahko zrahlja, če jo vlečete čez ovire ali po nižjih delih terena.
-
Zategnite elemente za pritrditev objemke, da ohranite razmik 1,3 cm.
Šoba se mora ob ročnem premikanju prosto vrteti.

Čiščenje vodil šobe
Preverite in odstranite morebitne nakopičene ostanke trave, umazanijo ali ostale delce, ki so se nabrali okrog vodil šobe in med vodili šobe (Diagram 27).
Šobo ohranjajte čisto in brez delcev, da preprečite zaustavitev motorja.

Prilagajanje jermena šobe
| Intervali servisnega vzdrževanja | Postopek vzdrževanja |
|---|---|
| Po prvih 8 urah |
|
| Vsakih 50 ur |
|
Če jermen pri spreminjanju smeri šobe zdrsne, prilagodite jermen.
-
Na sredini najdaljšega razpona pritisnite na jermen s silo 30 N·m (Diagram 28).
Note: Jermen se mora odmakniti za 4,8 mm.
-
Če odklon ni pravilen, nadaljujte z naslednjim korakom. Če je pravilen, nadaljujte z uporabo.

-
Zrahljajte šestkotno matico in zategnite matico s prirobnico, da povečate napetost jermena (Diagram 28).
Note: Ne zategnite preveč.
-
Zategnite šestkotno matico, da zaklenete prilagojeni položaj.
Shranjevanje
-
Odstranite pokošeno travo, umazanijo z vseh zunanjih delov puhalnika.
Important: Stroj lahko operete z blagim čistilom in vodo. Ne perite ga z vodo pod tlakom. Ne smete uporabljati prekomerne količine vode.
-
Preverite in zategnite vse vijake in matice. Zamenjajte obrabljene dele.
-
Prebarvajte vse opraskane in oguljene kovinske površine. Barvo lahko kupite pri pooblaščenem prodajalcu.
-
Stroj skladiščite v čistem in suhem skladiščnem prostoru. Za skladiščenje puhalnika v pokončnem položaju uporabite podporno stojalo. Puhalnika ne polagajte na tla.


























