
. U kunt de nummers noteren
in de ruimte hieronder.| Belangrijk |
| Modelnummer: |
Serienummer: |

![]() |
Gevaar | |
![]() |
Waarschuwing | |
![]() |
Opgelet | |
![]() |
Waarschuwing | |
| Procedure
|
Beschrijving
|
Hoeveelheid
|
Gebruik
|
|---|---|---|---|
| 1
|
Geen onderdelen vereist |
—
|
De machine gebruiksklaar maken. |
| 2
|
Slang – 73,7 cm
|
1
|
De spoeltank voorbereiden. |
| Spoeltank
|
1
|
||
| Fitting van 90° |
1
|
||
| Slangklem
|
1
|
||
| Bevestigingsvork
|
1
|
||
| 3
|
Houder (spoeltank) |
2
|
De spoeltank plaatsen. |
| Bout (⅜" x 1½") |
2
|
||
| Grote ring
|
4
|
||
| Flensborgmoer (⅜")
|
2
|
||
| 4
|
Geen onderdelen vereist |
—
|
Gaten boren ind e spuittank |
| 5
|
Geassembleerde spoelmond |
2
|
De spoelmonden monteren. |
| Tussenschotfitting |
2
|
||
| Fitting van 90° |
2
|
||
| 6
|
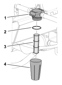
Pomp van spoeltank |
1
|
De pomp en het filter plaatsen. |
| Bout (¼" x 1¾") |
4
|
||
| Kleine ring
|
4
|
||
| Gekartelde flensmoer |
4
|
||
| Rechte slangpilaar |
2
|
||
| Slangklem
|
3
|
||
| Geassembleerd filter |
1
|
||
| Slanghuls
|
1
|
||
| Kabelbinders
|
2
|
||
| Deksel van de pomp |
1
|
||
| 7
|
Slang – 61 cm
|
2
|
Plaats de slangen van de
spoeltank. |
| Slangklem
|
6
|
||
| T-fitting
|
1
|
||
| Slang – 180 cm
|
1
|
||
| 8
|
Zekering (40 A) |
2
|
Het relais, de zekering
en de schakelaar voor het dashboard installeren.
|
| Vermogenrelais
|
6
|
||
| Zelftappende bout (nr. 10) (serienummer
420000000 en hoger) |
1
|
||
| Bout (nr. 10) (419999999 en lager) |
2
|
||
| Borgmoer (nr. 10) (serienummer
315000000 tot 419999999) |
2
|
||
| R-klem (serienummer 315000000
tot 315999999) |
1
|
||
| Relais (5 pinnen) (serienummer
315000000 tot 315999999) |
1
|
||
| Schakelaar met 3 standen en verlichting
(315000000 en lager) |
1
|
||
| Schakelaar met 3 standen |
1
|
![]() |
Opgelet | |



| 1
|
Slang – 73,7 cm
|
| 1
|
Spoeltank
|
| 1
|
Fitting van 90° |
| 1
|
Slangklem
|
| 1
|
Bevestigingsvork
|



| 2
|
Houder (spoeltank) |
| 2
|
Bout (⅜" x 1½") |
| 4
|
Grote ring
|
| 2
|
Flensborgmoer (⅜")
|


| Belangrijk |



| Belangrijk |
| 2
|
Geassembleerde spoelmond |
| 2
|
Tussenschotfitting |
| 2
|
Fitting van 90° |




| 1
|
Pomp van spoeltank |
| 4
|
Bout (1/4 x 1-3/4 inch) |
| 4
|
Kleine ring
|
| 4
|
Gekartelde flensmoer |
| 2
|
Rechte slangpilaar |

op de zittingplaat
; gebruik hierbij 4 bouten (¼” x 1¾”)
, 4 kleine ringen
en 4 gekartelde flensmoeren (¼”)
.

| 3
|
Slangklem
|
| 1
|
Slang — 20,3 cm — eerder ingekort
|
| 1
|
Geassembleerd filter |
| 1
|
Slanghuls
|
| 2
|
Kabelbinders
|



| 1
|
Deksel van de pomp |

| 2
|
Slang – 61 cm
|
| 6
|
Slangklem
|
| 1
|
T-fitting
|
| 1
|
Slang – 180 cm
|



| 1
|
Zekering (40 A) |
| 1
|
Vermogenrelais
|
| 1
|
Zelftappende bout (nr. 10) |
in de open sleuf in de
zekeringenhouder (indien nodig).
naast de overige soortgelijke
relais van het elektrisch bord; gebruik hierbij een bout (nr. 10)
.
van de machinekabelboom
en sluit deze aan op het vermogenrelais (stekker met 4 pinnen).| Machines met serienummer 315000000 tot 419999999 | |
| 1
|
Vermogenrelais (stekker met 4
pinnen) |
| 2
|
Flenskopbout (nr. 10-24 x ½") |
| 2
|
Borgmoer (nr. 10) |
| Enkel machines met serienummer 315000000 tot 315999999 | |
| 1
|
Vertragingstimer
|
| 1
|
R-klem
|
| 1
|
Relais (stekker met 5 pinnen) |
met de R-klem
en het bevestigingsmateriaal
van het elektrisch bord.

| 1
|
3-standenschakelaar (met indicatielampje — Multi Pro machines met serienummer
315000000 en lager) |
| 1
|
3-standenschakelaar (zonder indicatielampje — Multi Pro machines met serienummer
316000000 en hoger) |

| Belangrijk |


| Belangrijk |


| Belangrijk |