| Maintenance Service Interval | Maintenance Procedure |
|---|---|
| Before each use or daily |
|
This rotary-blade, riding lawn mower is intended to be used by professional, hired operators. It is designed primarily for cutting grass on well-maintained lawns on residential or commercial properties. Using this product for purposes other than its intended use could prove dangerous to you and bystanders.
Read this information carefully to learn how to operate and maintain your product properly and to avoid injury and product damage. You are responsible for operating the product properly and safely.
Visit www.Toro.com for product safety and operation training materials, accessory information, help finding a dealer, or to register your product.
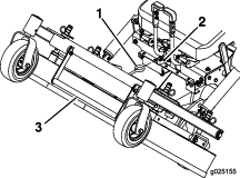
Whenever you need service, genuine Toro parts, or additional information, contact an Authorized Service Dealer or Toro Customer Service and have the model and serial numbers of your product ready. Figure 1 identifies the location of the model and serial numbers on the product. Write the numbers in the space provided.

This manual uses 2 words to highlight information. Important calls attention to special mechanical information and Note emphasizes general information worthy of special attention.
It is a violation of California Public Resource Code Section 4442 or 4443 to use or operate the engine on any forest-covered, brush-covered, or grass-covered land unless the engine is equipped with a spark arrester, as defined in Section 4442, maintained in effective working order or the engine is constructed, equipped, and maintained for the prevention of fire.
The enclosed engine owner's manual is supplied for information regarding the US Environmental Protection Agency (EPA) and the California Emission Control Regulation of emission systems, maintenance, and warranty. Replacements may be ordered through the engine manufacturer.
Gross or Net Torque: The gross or net torque of this engine was laboratory rated by the engine manufacturer in accordance with the Society of Automotive Engineers (SAE) J1940 or J2723. As configured to meet safety, emission, and operating requirements, the actual engine torque on this class of mower will be significantly lower. Please refer to the engine manufacturer’s information included with the machine.
CALIFORNIA
Proposition 65 Warning
The engine exhaust from this product contains chemicals known to the State of California to cause cancer, birth defects, or other reproductive harm.
Battery posts, terminals, and related accessories contain lead and lead compounds, chemicals known to the State of California to cause cancer and reproductive harm. Wash hands after handling.
Use of this product may cause exposure to chemicals known to the State of California to cause cancer, birth defects, or other reproductive harm.
This Safety Alert Symbol (Figure 2) is used both in this manual and on the machine to identify important safety messages which must be followed to avoid accidents.

The safety alert symbol appears above information which alerts you to unsafe actions or situations and will be followed by the word DANGER, WARNING, or CAUTION.
DANGER: Indicates an imminently hazardous situation which, if not avoided, will result in death or serious injury.
WARNING: Indicates a potentially hazardous situation which, if not avoided, could result in death or serious injury.
CAUTION: Indicates a potentially hazardous situation which, if not avoided, may result in minor or moderate injury.
This manual uses two other words to highlight information. Important calls attention to special mechanical information and Note emphasizes general information worthy of special attention.
This machine is capable of amputating hands and feet and of throwing objects. Toro designed and tested this lawn mower to offer reasonably safe service; however, failure to comply with safety instructions may result in injury or death.
Read, understand, and follow all instructions and warnings in the Operator’s Manual and other training material, on the machine, engine, and attachments. All operators and mechanics should be trained. If the operator(s) or mechanic(s) can not read this manual, it is the owner’s responsibility to explain this material to them; other languages may be available on our website.
Only allow trained, responsible, and physically capable operators that are familiar with the safe operation, operator controls, and safety signs and instructions to operate the machine. Never let children or untrained people operate or service the equipment. Local regulations may restrict the age of the operator.
Do not operate the machine near drop-offs, ditches, embankments, water, or other hazards, or on slopes greater than 15 degrees.
Do not put your hands or feet near moving components of the machine.
Never operate the machine with damaged guards, shields, or covers. Always have safety shields, guards, switches and other devices in place and in proper working condition.
Stop the machine, shut off the engine, and remove the key before servicing, fueling, or unclogging the machine.

![]() |
Safety decals and instructions are easily visible to the operator and are located near any area of potential danger. Replace any decal that is damaged or missing. |





















Non-EFI Machines Only

EFI Machines Only





Become familiar with all the controls before you start the engine and operate the machine.

The key switch, used to start and shut off the engine, has 3 positions: OFF, RUN, and START. Refer to Starting the Engine.
The throttle controls the engine speed, and it has a continuous-variable setting from the SLOW to FAST position (Figure 5).
Use the choke control to start a cold engine.
Use the PTO-engagement lever to engage the blades and the blower.
The speed-control lever sets maximum forward speed of the machine (Figure 4). Moving the speed-control lever rearward to the NEUTRAL position places the drive system into neutral.
The brake lever engages a parking brake on the drive wheels (Figure 4).
The hour meter records the number of hours the engine has operated. The hour meter is recording when the decimal point is flashing in the Hour/Voltage display. Use these times for scheduling regular maintenance (Figure 6).

If you turn the key switch to the ON position for a few seconds, the battery voltage displays in the area where the hours are normally displayed.
The battery light turns on when the key switch is turned on and when the charge is below the correct operating level (Figure 6).
There are symbols on the hour meter that indicate with a black triangle that the interlock component is positioned correctly (Figure 6).
The engine-oil-temperature light monitors the temperature of the engine oil. An illuminated engine-oil-temperature light and intermittent buzzing sound signals that the engine is overheating.
The electronic-control unit (ECU) continuously monitors the operation of the EFI system.
If a problem or fault within the system is detected, the malfunction-indicator light (MIL) illuminates.
The MIL is the red light located in the right console panel.
Once the MIL illuminates, make initial troubleshooting checks; refer to the MIL section under .
If these checks do not correct the problem, further diagnosis and servicing by an Authorized Service Dealer is necessary.
Use the motion-control levers to drive the machine forward, reverse, and turn either direction (Figure 4).
Whenever you shut off the engine, engage the parking brake to prevent accidental movement of the machine.
Close the fuel-shutoff valve when transporting or storing the machine.
Note: Specifications and design are subject to change without notice.
| 42-inch Mower Deck | 48-inch Mower Deck | |
|---|---|---|
| Without Mower Deck | 108.2 cm (42.6 inches) | 108.2 cm (42.6 inches) |
| With Mower Deck | 109.7 cm (43.2 inches) | 125.0 cm (49.2 inches) |
| 42-inch Mower Deck | 48-inch Mower Deck | |
|---|---|---|
| Without Mower Deck | 170.9 cm (67.3 inches) | 170.9 cm (67.3 inches) |
| Mower Deck—Up | 209.3 cm (82.4 inches) | 207.6 cm (81.8 inches) |
| Mower Deck—Down | 233.2 cm (91.8 inches) | 240.0 cm (94.5 inches) |
| 42-inch Mower Deck | 48-inch Mower Deck |
|---|---|
| 130.0 cm (51.2 inches) | 130.0 cm (51.2 inches) |
| 42-inch Mower Deck | 48-inch Mower Deck |
|---|---|
| 517 kg (1,140 lb) | 531 kg (1,170 lb) |
A selection of Toro approved attachments and accessories is available for use with the machine to enhance and expand its capabilities. Contact your Authorized Service Dealer or authorized Toro distributor or go to www.Toro.com for a list of all approved attachments and accessories.
To ensure optimum performance and continued safety certification of the machine, use only genuine Toro replacement parts and accessories. Replacement parts and accessories made by other manufacturers could be dangerous, and such use could void the product warranty.
Note: Determine the left and right sides of the machine from the normal operating position.
Evaluate the terrain to determine what accessories and attachments are needed to properly and safely perform the job. Only use accessories and attachments approved by Toro.
Inspect the area where the equipment is to be used and remove all rocks, toys, sticks, wires, bones, and other foreign objects. These can be thrown or interfere with the operation of the machine and may cause personal injury to the operator or bystanders.
Wear appropriate personal protective equipment such as safety glasses, substantial slip-resistant footwear, and hearing protection. Tie back long hair and avoid loose clothing and loose jewelry which may get tangled in moving parts.
This machine produces sound levels in excess of 85 dBA at the operator’s ear and can cause hearing loss through extended periods of exposure.
Wear hearing protection when operating this machine.
Check that the operator presence controls, safety switches, and shields are attached and functioning properly. Do not operate unless they are functioning properly.
Do not operate the mower when people, especially children, or pets are in the area. Stop the machine and attachment(s) if anyone enters the area.
Do not operate the machine without the entire grass collection system, discharge deflector, or other safety devices in place and in proper working condition. Grass catcher components are subject to wear, damage and deterioration, which could expose moving parts or allow objects to be thrown. Frequently check for worn or deteriorating components and replace them with the manufacturer’s recommended parts when necessary.
Use extreme care when handling fuel.
In certain conditions gasoline is extremely flammable and vapors are explosive.
A fire or explosion from gasoline can burn you, others, and cause property damage.
Fill the fuel tank outdoors on level ground, in an open area, when the engine is cold. Wipe up any gasoline that spills.
Never refill the fuel tank or drain the machine indoors or inside an enclosed trailer.
Do not fill the fuel tank completely full. Fill the fuel tank to the bottom of the filler neck. The empty space in the tank allows gasoline to expand. Overfilling may result in fuel leakage or damage to the engine or emission system.
Never smoke when handling gasoline, and stay away from an open flame or where gasoline fumes may be ignited by spark.
Store gasoline in an approved container and keep it out of the reach of children.
Add fuel before starting the engine. Never remove the cap of the fuel tank or add fuel when engine is running or when the engine is hot.
If fuel is spilled, do not attempt to start the engine. Move away from the area of the spill and avoid creating any source of ignition until fuel vapors have dissipated.
Do not operate without entire exhaust system in place and in proper working condition.
In certain conditions during fueling, static electricity can be released causing a spark which can ignite gasoline vapors. A fire or explosion from gasoline can burn you and others and cause property damage.
Always place gasoline containers on the ground away from your vehicle before filling.
Do not fill gasoline containers inside a vehicle or on a truck or trailer bed because interior carpets or plastic truck bed liners may insulate the container and slow the loss of any static charge.
When practical, remove gas-powered equipment from the truck or trailer and refuel the equipment with its wheels on the ground.
If this is not possible, then refuel such equipment on a truck or trailer from a portable container, rather than from a gasoline dispenser nozzle.
If a gasoline dispenser nozzle must be used, keep the nozzle in contact with the rim of the fuel tank or container opening at all times until fueling is complete. Do not use a nozzle lock open device.
Gasoline is harmful or fatal if swallowed. Long-term exposure to vapors has caused cancer in laboratory animals. Failure to use caution may cause serious injury or illness.
Avoid prolonged breathing of vapors.
Keep face away from nozzle and gas tank/container opening.
Keep away from eyes and skin.
Never siphon by mouth.
To help prevent fires:
Keep engine and engine area free from accumulation of grass, leaves, excessive grease or oil, and other debris which can accumulate in these areas.
Clean up oil and fuel spills and remove fuel soaked debris.
Allow the machine to cool before storing the machine in any enclosure. Do not store near flame or any enclosed area where open pilot lights or heat appliances are present.
For best results, use only clean, fresh (less than 30 days old), unleaded gasoline with an octane rating of 87 or higher ((R+M)/2 rating method).
Ethanol: Gasoline with up to 10% ethanol (gasohol) or 15% MTBE (methyl tertiary butyl ether) by volume is acceptable. Ethanol and MTBE are not the same. Gasoline with 15% ethanol (E15) by volume is not approved for use. Never use gasoline that contains more than 10% ethanol by volume, such as E15 (contains 15% ethanol), E20 (contains 20% ethanol), or E85 (contains up to 85% ethanol). Using unapproved gasoline may cause performance problems and/or engine damage which may not be covered under warranty.
Do not use gasoline containing methanol.
Do not store fuel either in the fuel tank or fuel containers over the winter unless you use a fuel stabilizer.
Do not add oil to gasoline.
Use a fuel stabilizer/conditioner in the machine to provide the following benefits:
Keeps fuel fresh longer when used as directed by the fuel-stabilizer manufacturer
Cleans the engine while it runs
Eliminates gum-like varnish buildup in the fuel system, which causes hard starting
Important: Do not use fuel additives containing methanol or ethanol.
Add the correct amount of fuel stabilizer/conditioner to the fuel.
Note: A fuel stabilizer/conditioner is most effective when mixed with fresh fuel. To minimize the chance of varnish deposits in the fuel system, use fuel stabilizer at all times.
Park the machine on a level surface.
Engage the parking brake.
Shut off the engine and remove the key.
Clean around the fuel-tank cap.
Fill the fuel tank to the bottom of the filler neck (Figure 7).
Note: Do not fill the fuel tank completely full. The empty space in the tank allows the fuel to expand.

Before starting the machine each day, perform the Each Use/Daily procedures listed in .
New engines take time to develop full power. Mower decks and drive systems have higher friction when new, placing additional load on the engine. Allow 40 to 50 hours of break-in time for new machines to develop full power and best performance.
Park the machine on a level surface, disengage the PTO, and engage the parking brake.
Shut off the engine, remove the key, and wait for all moving parts to stop before leaving the operating position.
Release the mower deck locking pins on each side (Figure 8).

Using the deck-lift handle, lift the deck and latch it in the raised position (latch is located at front center of seat) as shown in Figure 9.

Engaging the PTO with a deck in the raised position can result in a serious injury or property damage.
Always lower and lock the mower deck in the operation position before engaging the PTO.
While firmly holding onto deck-lift handle, unhook the mower-deck latch from the machine and slowly lower the mower deck to the ground (Figure 9).
Push the deck-locking pins inward and rotate them forward to securely lock the mower deck in the lowered position (Figure 9).
Operating the machine without the locking pins securely latched can result in the mower deck folding up unexpectedly, causing serious injury.
Always operate the machine with the locking pins securely latched.
The fill reduction system has been designed to allow you to reduce the amount of clippings collected by varying degrees. The advantages include less frequent emptying of the hopper and the return of nutrients to the soil.
The following are possible configurations:
Baffles open with standard blades—maximum collection
Baffles closed with standard blades—partial mulching
Baffles closed with mulch blades—intermediate mulching
Mulch plug installed with mulch blades—complete mulching (requires mulch kit)
Adjust the FRS baffles as follows:
Park the machine on a level surface, disengage the PTO, and engage the parking brake.
Shut off the engine, remove the key, and wait for all moving parts to stop before leaving the operating position.
Remove the hairpin cotters and clevis pins from both sides of the PTO guard (Figure 10).
Fold the guard forward.

Loosen the locknuts on the rear studs of the FRS baffles.

Raise the mower deck; refer to Raising the Mower Deck into the Service Position.
Remove the bolt and washer at the front of each FRS baffle (Figure 12).
Rotate the baffles into the desired position and install the bolt and washer.

Lower the mower deck; refer to Lowering the Mower Deck to the Operating Position.
Slightly tighten the locknuts on the rear studs of the FRS baffles.
Note: The locknuts on the rear studs may be left slightly loose if you anticipate adjusting the baffle frequently.
Install the PTO guard using the clevis pins and hairpin cotters removed in step 3.
If the safety-interlock switches are disconnected or damaged, the machine could operate unexpectedly, causing personal injury.
Do not tamper with the interlock switches.
Check the operation of the interlock switches daily and replace any damaged switches before operating the machine.
The safety-interlock system is designed to prevent the engine from starting unless:
The parking brake is engaged.
The PTO-engagement lever is disengaged.
The speed-control lever is in the NEUTRAL position
The safety-interlock system is designed to shut off the engine when you rise from the seat when the PTO is engaged.
The hour meter has indicators to notify the user when the interlock component is in the correct position. When the component is in the correct position, an indicator displays on the screen.

| Maintenance Service Interval | Maintenance Procedure |
|---|---|
| Before each use or daily |
|
Test the safety-interlock system before you use the machine each time. If the safety system does not operate as described below, have an Authorized Service Dealer repair the safety system immediately.
Sit on the seat, engage the parking brake, move the PTO-engagement lever to the ON position, and move the speed-control lever to the NEUTRAL position. Try starting the engine; the engine should not start.
Sit on the seat, engage the parking brake, and move the PTO-engagement lever to the OFF position. Move the speed-control lever out of the NEUTRAL position. Try starting the engine; the engine should not start.
Sit on the seat, disengage the parking brake, move the PTO-engagement lever to the OFF position, and move the speed-control lever to the NEUTRAL position. Try starting the engine; the engine should not start.
Sit on the seat, engage the parking brake, move the PTO-engagement lever to the OFF position, and move the speed-control lever to the NEUTRAL position. Now start the engine. While the engine is running, release the parking brake, engage the PTO-engagement lever, and rise slightly from the seat; the engine should shut off.
Sit on the seat, engage the parking brake, move the PTO-engagement lever to the OFF position, and move the speed-control lever to the NEUTRAL position. Now start the engine. Move the speed-control lever forward; the engine should shut off.
To unlatch the seat, remove the bolt and the pin on the left side of the seat (Figure 14).

The operator must use their full attention when operating the machine. Do not engage in any activity that causes distractions; otherwise, injury or property damage may occur.
Operating engine parts, especially the muffler, become extremely hot. Severe burns can occur on contact and debris, such as leaves, grass, brush, etc. can catch fire.
Allow engine parts, especially the muffler, to cool before touching.
Remove accumulated debris from muffler and engine area.
Engine exhaust contains carbon monoxide, which is an odorless deadly poison that can kill you.
Do not run engine indoors or in a small confined area where dangerous carbon monoxide fumes can collect.
The owner/user can prevent and is responsible for accidents or injuries occurring to himself or herself, other people or property.
This mower was designed for one operator only. Do not carry passengers and keep all others away from machine during operation.
Do not operate the machine under the influence of alcohol or drugs.
Operate only in daylight or good artificial light.
Lightning can cause severe injury or death. If lightning is seen or thunder is heard in the area, Do not operate the machine; seek shelter.
Use extra care while operating with accessories or attachments, such as grass collection systems. These can change the stability of the machine and cause a loss of control. Follow directions for counter weights if required.
Keep away from holes, ruts, bumps, rocks, and other hidden hazards. Use care when approaching blind corners, shrubs, trees, tall grass or other objects that may hide obstacles or obscure vision. Uneven terrain could overturn the machine or cause the operator to lose their balance or footing.
Be sure all drives are in neutral and parking brake is engaged before starting engine. Use seat belts with the roll bar in the raised and locked position.
Start the engine carefully according to instructions with feet well away from the blades.
Never operate the mower with damaged guards, shields, or covers. Always have safety shields, guards, switches and other devices in place and in proper working condition.
Keep clear of the discharge opening at all times. Never mow with the discharge door raised, removed or altered unless there is a grass collection system or mulch kit in place and working properly.
Keep hands and feet away from moving parts. If possible, Do not make adjustments with the engine running.
Hands, feet, hair, clothing, or accessories can become entangled in rotating parts. Contact with the rotating parts can cause traumatic amputation or severe lacerations.
Do not operate the machine without guards, shields, and safety devices in place and working properly.
Keep hands, feet, hair, jewelry, or clothing away from rotating parts.
Never raise the deck with blades running.
Be aware of the mower discharge path and direct discharge away from others. Avoid discharging material against a wall or obstruction as the material may ricochet back toward the operator. Stop the blades, slow down, and use caution when crossing surfaces other than grass and when transporting the mower to and from the area to be mowed.
Be alert, slow down and use caution when making turns. Look behind and to the side before changing directions. Do not mow in reverse unless absolutely necessary.
Do not change the engine governor setting or overspeed the engine.
Park the machine on level ground. Stop engine, wait for all moving parts to stop, and remove the spark plug wire(s).
Before checking, cleaning or working on the mower.
After striking a foreign object or abnormal vibration occurs (inspect the mower for damage and make repairs before restarting and operating the mower).
Before clearing blockages.
Whenever you leave the mower. Do not leave a running machine unattended.
Stop engine, wait for all moving parts to stop:
Before refueling.
Before dumping the grass catcher.
Before making height adjustments.
Tragic accidents can occur if the operator is not alert to the presence of children. Children are often attracted to the machine and the mowing activity. Never assume that children will remain where you last saw them.
Keep children out of the mowing area and under the watchful care of another responsible adult, not the operator.
Be alert and turn the machine off if children enter the area.
Before and while backing or changing direction, look behind, down, and side-to-side for small children.
Never allow children to operate the machine.
Do not carry children, even with the blades shut off. Children could fall off and be seriously injured or interfere with the safe operation of the machine. Children that have been given rides in the past could suddenly appear in the working area for another ride and be run over or backed over by the machine.
Slopes are a major factor related to loss of control and rollover accidents, which can result in severe injury or death. The operator is responsible for safe slope operation. Operating the machine on any slope requires extra caution. Before using the machine on a slope, the operator must:
Review and understand the slope instructions in the manual and on the machine.
Use an angle indicator to determine the approximate slope angle of the area.
Never operate on slopes greater than 15 degrees.
Evaluate the site conditions of the day to determine if the slope is safe for machine operation. Use common sense and good judgment when performing this evaluation. Changes in the terrain, such as moisture, can quickly affect the operation of the machine on a slope.
Identify hazards at the base of the slope. Do not operate the machine near drop offs, ditches, embankments, water or other hazards. The machine could suddenly roll over if a wheel goes over the edge or the edge collapses. Keep a safe distance (twice the width of the machine) between the machine and any hazard. Use a walk behind machine or a hand trimmer to mow the grass in these areas.

Avoid starting, stopping or turning the machine on slopes. Avoid making sudden changes in speed or direction; turn slowly and gradually.
Do not operate a machine under any conditions where traction, steering or stability is in question. Be aware that operating the machine on wet grass, across slopes or downhill may cause the machine to lose traction. Loss of traction to the drive wheels may result in sliding and a loss of braking and steering. The machine can slide even if the drive wheels are stopped.
Remove or mark obstacles such as ditches, holes, ruts, bumps, rocks or other hidden hazards. Tall grass can hide obstacles. Uneven terrain could overturn the machine.
Use extra care while operating with accessories or attachments, such as grass collection systems. These can change the stability of the machine and cause a loss of control. Follow directions for counter weights.
If possible, keep the deck lowered to the ground while operating on slopes. Raising the deck while operating on slopes can cause the machine to become unstable.
Always engage the parking brake when you stop the machine or leave it unattended.
Park the machine on a level surface.


The PTO-engagement lever starts and stops the mower blades and blower.


You can move the throttle control between FAST and SLOW positions (Figure 20).
Always use the FAST position when engaging the PTO.

Move the speed-control lever to the NEUTRAL position.
Engage the parking brake; refer to Engaging the Parking Brake.
Move the PTO-engagement lever to the OFF position (Figure 21).
Move the throttle lever midway between the SLOW and FAST positions.
For EFI machines: Move the choke control to the CLOSED/ON position. On a warm engine, leave the choke in the OPEN/OFF position.

Turn the key to the START position (Figure 21). When the engine starts, release the key.
Important: Do not engage starter for more than 5 seconds at a time. If the engine fails to start, wait 15 seconds between attempts. Failure to follow these instructions can burn out the starter motor.
Note: You may need multiple attempts to start the engine the first time after adding fuel to an empty fuel system.
If the choke is in the CLOSED/ON position, gradually return choke to the OPEN/OFF position as the engine warms up.
Children or bystanders may be injured if they move or attempt to operate the machine while it is unattended.
Always remove the key and engage the parking brake when leaving the machine unattended.
Disengage the PTO.
Move the speed-control lever to the NEUTRAL position.
Engage the parking brake.
Place the throttle in the middle position.
Let the engine idle for 15 seconds, then turn the key switch to the OFF position and remove the key.

The throttle control regulates the engine speed as measured in rpm (revolutions per minute). Place the throttle control in the FAST position for best performance. Always operate in the full throttle position when mowing.
The machine can spin very rapidly. You may lose control of the machine and cause personal injury or damage to the machine.
Use caution when making turns.
Slow the machine down before making sharp turns.
Note: To begin movement (forward or backward), sit on the seat and disengage the parking-brake lever before you move the speed-control lever forward, otherwise the engine shuts off.
To stop the machine, pull the speed control lever to the NEUTRAL position.
Start the engine.
Disengage the parking brake; refer to Disengaging the Parking Brake.
To move forward in a straight line move the speed control lever forward.
Note: The machine moves faster the farther that you move the speed control lever away from the NEUTRAL position.
To turn left or right, pull 1 of the steering levers back toward neutral in the direction desired.
To stop the machine, pull the speed control lever back to the NEUTRAL position.
To move rearward in a straight line, pull both steering levers rearward equally.
To turn left or right, release pressure on the steering lever toward the direction desired.
To stop the machine, release the steering levers to the neutral position.
The cutting height of the mower deck is adjusted from 2.5 to 10.2 cm (1 to 4 inches) in 6.3 mm (1/4 inch) increments.
Park the machine on a level surface, move the speed-control lever to the NEUTRAL position, disengage the PTO, and engage the parking brake.
Shut off the engine, remove the key, and wait for all moving parts to stop before leaving the operating position.
While keeping the front frame down, lift the deck on 1 side so that the deck-support latch engages the fixed pin in the front frame (Figure 23).

Move the cotter pins on the deck-support pins to the proper hole for the desired height of cut.
Lift the deck enough to raise and release the deck-support latch and lower the deck.
Repeat this procedure on the other side of the mower deck.
A full hopper is indicated by a buzzer located behind the seat, in the hopper. Empty the hopper when the buzzer sounds to prevent clogging of the blower or the mower deck.
Park the machine on a level surface, move the speed-control lever to the NEUTRAL position, disengage the PTO, and engage the parking brake.
Shut off the engine, remove the key, and wait for all moving parts to stop before leaving the operating position.
Lift the rear door up and allow it to rest on top of the hopper.
Using the handles at the lower front of the hopper, raise the hopper to dump the contents.
Lower the hopper and close the hopper door.
For best mowing and maximum air circulation, operate the engine at the FAST position. Air is required to thoroughly cut grass clippings, so do not set the height-of-cut so low as to totally surround the mower deck in uncut grass. Always try to have 1 side of the mower deck free from uncut grass, which allows air to be drawn into the mower deck.
Cut grass slightly longer than normal to ensure that the cutting height of the mower deck does not scalp any uneven ground. However, the cutting height used in the past is generally the best one to use. When cutting grass longer than 15 cm (6 inches) tall, you may want to cut the lawn twice to ensure an acceptable quality of cut.
It is best to cut only about a third of the grass blade. Cutting more than that is not recommended unless grass is sparse, or it is late fall when grass grows more slowly.
Alternate the mowing direction to keep the grass standing straight. This also helps disperse clippings, which enhances decomposition and fertilization.
Grass grows at different rates at different times of the year. To maintain the same cutting height, mow more often in early spring. As the grass growth rate slows in mid summer, mow less frequently. If you cannot mow for an extended period, first mow at a high cutting height, then mow again 2 days later at a lower height setting.
To improve cut quality, use a slower ground speed in certain conditions.
When mowing uneven turf, raise the cutting height to avoid scalping the turf.
If you must stop the forward motion of the machine while mowing, a clump of grass clippings may drop onto your lawn. To avoid this, move onto a previously cut area with the blades engaged or you can disengage the mower deck while moving forward.
Clean clippings and dirt from the underside of the mower deck after each use. If grass and dirt build up inside the mower deck, cutting quality will eventually become unsatisfactory.
Maintain a sharp blade throughout the cutting season because a sharp blade cuts cleanly without tearing or shredding the grass blades. Tearing and shredding turns grass brown at the edges, which slows growth and increases the chance of disease. Check the mower blades after each use for sharpness, and for any wear or damage. File down any nicks and sharpen the blades as necessary. If a blade is damaged or worn, replace it immediately with a genuine Toro replacement blade.
Park machine on level ground, disengage drives, set parking brake, stop engine, remove key or disconnect spark plug wire. Wait for all movement to stop and allow the machine to cool before adjusting, cleaning, repairing, or storing. Never allow untrained personnel to service machine.
Clean the machine as stated in the Maintenance section. Keep engine and engine area free from accumulation of grass, leaves, excessive grease or oil, and other debris which can accumulate in these areas. These materials can become combustible and may result in a fire.
Frequently check for worn or deteriorating components that could create a hazard. Tighten loose hardware.
Remove the screen by firmly lifting the screen handles (Figure 24).
Pull the screen toward the back to remove it. As needed, gently tap the screen to remove debris.
Note: Excessive buildup on the screen can cause the blower to plug.
Note: In conditions where the screen clogs quickly, you can turn and install the front removable screen panel under the primary screen to allow free air flow from the hopper.

Hands may become entangled in the rotating drive components below the engine deck, which could result in serious injury.
Shut off the engine, remove the key, and allow all moving parts to stop before accessing the drive-wheel-release valves.
The engine and hydraulic-drive units can become very hot. Touching a hot engine or hydraulic-drive units can cause severe burns.
Allow the engine and hydraulic-drive units to cool completely before accessing the drive-wheel-release valves.
The drive-wheel release valves are located on the top, left, front corner of the hydrostatic pumps.
Move the speed-control lever to the NEUTRAL position to stop the machine.
Disengage the PTO lever, engage the parking brake, shut off the engine, and wait for all moving parts to stop.
Tilt the seat up to gain access to the pumps.
Rotate both release valves 1 turn counterclockwise to release the drive system.
Note: This allows the hydraulic fluid to bypass the pump, enabling the wheels to turn.
Disengage the parking brake before pushing the machine.
Note: Do not tow the machine.
Rotate the valves clockwise to run the machine.
Note: Do not overtighten the valves.
Use a heavy-duty trailer or truck to transport the machine. Use a full-width ramp. Ensure that the trailer or truck has all the necessary brakes, lighting, and marking as required by law. Please carefully read all the safety instructions. Knowing this information could help you or bystanders avoid injury. Refer to your local ordinances for trailer and tie-down requirements.
Driving on the street or roadway without turn signals, lights, reflective markings, or a slow-moving-vehicle emblem is dangerous and can lead to accidents, causing personal injury.
Do not drive the machine on a public street or roadway.
Loading a machine onto a trailer or truck increases the possibility of tip-over and could cause serious injury or death (Figure 25).
Use only a full-width ramp; do not use individual ramps for each side of the machine.
Do not exceed a 15-degree angle between the ramp and the ground or between the ramp and the trailer or truck.
Ensure that the length of the ramp is at least 4 times as long as the height of the trailer or truck bed to the ground. This ensures that the ramp angle does not exceed 15 degrees on flat ground.

Loading a machine onto a trailer or truck increases the possibility of tip-over and could cause serious injury or death.
Use extreme caution when operating a machine on a ramp.
Back the machine up the ramp and drive it forward down the ramp.
Avoid sudden acceleration or deceleration while driving the machine on a ramp as this could cause a loss of control or a tip-over situation.
If using a trailer, connect it to the towing vehicle and connect the safety chains.
If applicable, connect the trailer brakes and lights.
Lower the ramp, ensuring that the angle between the ramp and the ground does not exceed 15 degrees (Figure 25).
Back the machine up the ramp (Figure 26).

Shut off the engine, remove the key, and engage the parking brake.
Securely fasten the machine to the trailer or truck with straps, chains, cable, or ropes down and outward from the machine. Refer to local regulations for tie-down requirements.
While maintenance or adjustments are being made, someone could start the engine. Accidental starting of the engine could seriously injure you or other bystanders.
Remove the key from the ignition switch, engage parking brake, and pull the wire(s) off the spark plug(s) before you do any maintenance. Also push the wire(s) aside so it does not accidentally contact the spark plug(s).
The engine can become very hot. Touching a hot engine can cause severe burns.
Allow the engine to cool completely before service or making repairs around the engine area.
Park machine on level ground, disengage drives, set parking brake, stop engine, remove key or disconnect spark plug wire. Wait for all movement to stop and allow the machine to cool before adjusting, cleaning or repairing. Never allow untrained personnel to service machine.
Disconnect battery or remove spark plug wire before making any repairs. Disconnect the negative terminal first and the positive last. Reconnect positive first and negative last.
Keep the machine, guards, shields and all safety devices in place and in safe working condition. Frequently check for worn or deteriorating components and replace them with the manufacturer’s recommended parts when necessary.
Removal or modification of original equipment, parts and/or accessories may alter the warranty, controllability, and safety of the machine. Unauthorized modifications to the original equipment or failure to use original Toro parts could lead to serious injury or death. Unauthorized changes to the machine, engine, fuel or venting system, may violate applicable safety standards such as: ANSI, OSHA and NFPA and/or government regulations such as EPA and CARB.
Hydraulic fluid escaping under pressure can penetrate skin and cause injury. Fluid accidentally injected into the skin must be surgically removed within a few hours by a doctor familiar with this form of injury or gangrene may result.
If equipped, make sure all hydraulic fluid hoses and lines are in good condition and all hydraulic connections and fittings are tight before applying pressure to hydraulic system.
Keep body and hands away from pinhole leaks or nozzles that eject high pressure hydraulic fluid.
Use cardboard or paper, not your hands, to find hydraulic leaks.
Safely relieve all pressure in the hydraulic system by placing the motion control levers in neutral and shutting off the engine before performing any work on the hydraulic system.
For Kohler EFI (Electronic Fuel Injection) Units:
Fuel system components are under high pressure. The use of improper components can result in system failure, gasoline leakage and possible explosion.
Use only approved fuel lines and fuel filters for high pressure systems.
Use care when checking blades. Wrap the blade(s) or wear gloves, and use caution when servicing them. Only replace damaged blades. Never straighten or weld them.
Use jack stands to support the machine and/or components when required.
Raising the machine for service or maintenance relying solely on mechanical or hydraulic jacks could be dangerous. The mechanical or hydraulic jacks may not be enough support or may malfunction allowing the machine to fall, which could cause injury.
Do not rely solely on mechanical or hydraulic jacks for support. Use adequate jack stands or equivalent support.
Carefully release pressure from components with stored energy.
Keep hands and feet away from moving parts. If possible, do not make adjustments with the engine running. If the maintenance or adjustment procedure require the engine to be running and components moving, use extreme caution.
Contact with moving parts or hot surfaces may cause personal injury.
Keep your fingers, hands, and clothing clear of rotating components and hot surfaces.
Check all bolts frequently to maintain proper tightness.
| Maintenance Service Interval | Maintenance Procedure |
|---|---|
| After the first 50 hours |
|
| After the first 100 hours |
|
| Before each use or daily |
|
| Every 40 hours |
|
| Every 50 hours |
|
| Every 100 hours |
|
| Every 160 hours |
|
| Every 200 hours |
|
| Every 250 hours |
|
| Every 400 hours |
|
| Every 500 hours |
|
| Every 2,000 hours |
|
| Monthly |
|
| Yearly |
|
| Yearly or before storage |
|
Important: Refer to your engine owner's manual for additional maintenance procedures.
If you leave the key in the switch, someone could accidently start the engine and seriously injure you or other bystanders.
Shut off the engine and remove the key from the switch before you perform any maintenance.
| Maintenance Service Interval | Maintenance Procedure |
|---|---|
| Every 40 hours |
|
| Every 100 hours |
|
| Yearly |
|
Grease the machine more often in dirty or dusty conditions.
Grease Type: No. 2 lithium or molybdenum grease
Park the machine on a level surface, disengage the PTO, and engage the parking brake.
Shut off the engine, remove the key, and wait for all moving parts to stop before leaving the operating position.
Clean the grease fittings with a rag.
Note: Scrape any paint off the front of the fitting(s).
Connect a grease gun to the fitting.
Pump grease into the fittings until grease begins to ooze out of the bearings.
Wipe up any excess grease.

| Maintenance Service Interval | Maintenance Procedure |
|---|---|
| Yearly |
|
Park the machine on a level surface, disengage the PTO, and engage the parking brake.
Raise up the hopper (Figure 28).

Shut off the engine, remove the key, and wait for all moving parts to stop before leaving the operating position.
Loosen the bolt holding the air cleaner (Figure 29).
Loosen the clamp holding the hose and remove the air cleaner (Figure 29).

Remove the bolts and the plate below the air cleaner.

Lubricate the pump-belt idler arm (Figure 30).
Install the plate and the air cleaner.
| Maintenance Service Interval | Maintenance Procedure |
|---|---|
| Every 160 hours |
|
Park the machine on a level surface, disengage the PTO, and engage the parking brake.
Shut off the engine, remove the key, and wait for all moving parts to stop before leaving the operating position.
Lubricate the bronze bushings on the brake-handle pivot with a spray type lubricant or light oil (Figure 31).

| Maintenance Service Interval | Maintenance Procedure |
|---|---|
| Every 160 hours |
|
Park the machine on a level surface, disengage the PTO, and engage the parking brake.
Shut off the engine, remove the key, and wait for all moving parts to stop before leaving the operating position.
Unlatch the seat latch and tilt the seat up.
Lubricate the bronze bushings on each end of the brake rod shaft with a spray type lubricant or a light oil.
Note: The bushings are located to the inside of the flange bearings.
Lubricate each end of both steering linkage rods with a spray lubricant or a light oil.
| Maintenance Service Interval | Maintenance Procedure |
|---|---|
| After the first 50 hours |
|
| Every 100 hours |
|
| Every 2,000 hours |
|
Park the machine on a level surface, disengage the PTO, and engage the parking brake.
Shut off the engine, remove the key, and wait for all moving parts to stop before leaving the operating position.
Remove the blades that are attached to the gearbox; refer toRemoving the Blades.
Remove the gearbox and drive-shaft assembly from the mower deck. Retain the hardware for use later.
Remove the large oil drain plug on the front of each of the 3 gearbox sections and drain the oil (Figure 32).

Remove the small magnetic plugs and wipe away any material accumulated on the plugs.
Apply a Teflon® pipe sealant to all small magnetic plugs and install them into the gearbox.
Install the gearbox and drive-shaft assembly to the mower deck.
Fill the gearbox with Mobil® SHC (synthetic) 75W-90 gear lube oil until level with oil drain/fill plug.
Note: Each of the gearbox sections must be filled separately.
Note: Keep the mower deck level to the ground when filling the gearbox with oil. Do not fill the gearbox with the mower deck raised in the service position.
Apply a Teflon pipe sealant to the 3 large oil plugs and install them into the gearbox.
| Maintenance Service Interval | Maintenance Procedure |
|---|---|
| Every 400 hours |
|
| Yearly |
|
Park the machine on a level surface, disengage the blade-control switch, and engage the parking brake.
Shut off the engine, remove the key, and wait for all moving parts to stop before leaving the operating position.
Remove the dust cap and adjust the caster pivots and keep the dust cap off until greasing is done; refer to Greasing the Machine.
Remove the hex plug.
Thread a grease fitting into the hole.
Pump grease into the fitting until it oozes out around the top bearing.
Remove the grease fitting from the hole. Install the hex plug and cap.
| Maintenance Service Interval | Maintenance Procedure |
|---|---|
| Before each use or daily |
|
| Yearly |
|
Park the machine on a level surface, disengage the blade-control switch, and engage the parking brake.
Shut off the engine, remove the key, and wait for all moving parts to stop before leaving the operating position.
Raise the mower for access.
Remove the caster wheel from the caster forks.
Remove the seal guards from the wheel hub.

Remove a spacer nut from the axle assembly in the caster wheel.
Note: Thread-locking compound has been applied to lock the spacer nuts to the axle.
Remove the axle (with the other spacer nut still assembled to it) from the wheel assembly.
Pry out seals and inspect bearings for wear or damage and replace if necessary.
Pack the bearings with a general-purpose grease.
Insert 1 bearing and 1 new seal into the wheel.
If the axle assembly is missing both spacer nuts, apply a thread-locking compound to 1 spacer nut and thread it onto the axle with the wrench flats facing outward.
Note: Do not thread the spacer nut all of the way onto the end of the axle. Leave approximately 3 mm (1/8 inch) from the outer surface of the spacer nut to the end of the axle inside the nut.
Insert the assembled nut and axle into the wheel on the side with the new seal and bearing.
With the open end of the wheel facing up, fill the area inside the wheel around the axle full of general-purpose grease.
Insert the second bearing and new seal into the wheel.
Apply a thread-locking compound to the second spacer nut, and thread it onto the axle with the wrench flats facing outward.
Torque the nut to 8 to 9 N∙m (75 to 80 in-lb), loosen the nut, then torque it to 2 to 3 N∙m (20 to 25 in-lb).
Note: Make sure that the axle does not extend beyond either nut.
Install the seal guards over the wheel hub, and insert the wheel into the caster fork.
Install the caster bolt and tighten the nut fully.
Important: To prevent seal and bearing damage, check the bearing adjustment often. Spin the caster tire. The tire should not spin freely (more than 1 or 2 revolutions) or have any side play. If the wheel spins freely, adjust the torque on the spacer nut until there is a slight amount of drag. Apply another layer of thread-locking compound.
Keep your hands, feet, face, clothing, and other body parts away from the muffler and other hot surfaces. Allow engine components to cool before performing maintenance.
Do not change the engine governor speed or overspeed the engine.
| Maintenance Service Interval | Maintenance Procedure |
|---|---|
| Every 250 hours |
|
| Every 500 hours |
|
Note: Service the air cleaner more frequently if operating conditions are extremely dusty or sandy.
Park the machine on a level surface, disengage the blade-control switch (PTO), and engage the parking brake.
Shut off the engine, remove the key, and wait for all moving parts to stop before leaving the operating position.
Release the latches on the air cleaner and pull the air-cleaner cover off the air-cleaner body (Figure 34).

Clean the inside of the air-cleaner cover with compressed air.
Gently slide the primary filter out of the air-cleaner body (Figure 34).
Note: Avoid knocking the filter into the side of the body.
Remove the safety filter only to replace it.
Inspect the safety filter. If it is dirty, replace both the safety and primary filters.
Important: Do not attempt to clean the safety filter. If the safety filter is dirty, then the primary filter is damaged.
Inspect the primary filter for damage by looking into the filter while shining a bright light on the outside of the filter. If the primary filter is dirty, bent, or damaged, replace it.
Note: Holes in the filter appear as bright spots. Do not clean the primary filter.
Important: To prevent engine damage, always operate the engine with both air filters and the cover installed.
If you are installing new filters, check each filter for shipping damage.
Note: Do not use a damaged filter.
If you are replacing the inner filter, carefully slide it into the filter body (Figure 34).
Carefully slide the primary filter over the safety filter (Figure 34).
Note: Ensure that the primary filter is fully seated by pushing on the outer rim while installing it.
Important: Do not press on the soft, inside area of the filter.
Install the air-cleaner cover and secure the latches (Figure 34).
| Maintenance Service Interval | Maintenance Procedure |
|---|---|
| Before each use or daily |
|
| Every 100 hours |
|
| Every 200 hours |
|
Oil Type: Detergent oil (API service class SJ or higher)
Crankcase Capacity (Non-EFI engines): 1.8 L (61 fl oz) with a filter change; 1.6 L (54 fl oz) with no filter change
Crankcase Capacity (EFI engines): 1.9 L (64 fl oz) with a filter change; 1.6 L (54 fl oz) with no filter change
Viscosity: See the table below.

Note: Check the oil when the engine is cold.
Important: Do not overfill the crankcase with oil because damage to the engine may result. Do not run engine with oil below the low mark because the engine may be damaged.
Park the machine on a level surface, move the speed-control lever to the NEUTRAL position, disengage the PTO, and engage the parking brake.
Shut off the engine, remove the key, and wait for all moving parts to stop before leaving the operating position.
Note: Ensure that the engine is cool so that the oil has had time to drain into the sump.
Raise the hopper
To keep dirt, grass clippings, etc., out of the engine, clean the area around the oil-fill cap and dipstick before removing it (Figure 36).
Remove the dipstick and wipe the oil off.
Insert the dipstick and push it all the way down into the tube.
Remove the dipstick and read the oil level.
If the oil level is low, wipe off the area around the oil-fill cap, remove cap and fill to the full mark on the dipstick (Figure 36).
Important: Do not operate the engine with the oil level below the low (or add) mark on the dipstick or over the full mark.

Note: Dispose of the used oil at a recycling center.
Park the machine so that the rear is slightly lower than the front to ensure that the oil drains completely.
Move the speed-control lever to the NEUTRAL position to stop the machine.
Move the speed-control lever to the NEUTRAL position, disengage the PTO, and engage the parking brake.
Shut off the engine, remove the key, and wait for all moving parts to stop before leaving the operating position.

Slowly pour approximately 80% of the specified oil into the filler tube and slowly add the additional oil to bring it to the full mark on the dipstick (Figure 36).
Start the engine and drive to a flat area. Check the oil level again (Figure 36).
If needed, add oil to the full mark on the dipstick.
Drain the oil from the engine; refer to Changing the Engine Oil.
Change the engine-oil filter (Figure 38).

Note: Ensure that the oil-filter gasket touches the engine, and then turn the oil filter an extra 3/4 turn.
Fill the crankcase with the proper type of new oil; refer to Engine-Oil Specifications.
| Maintenance Service Interval | Maintenance Procedure |
|---|---|
| Every 200 hours |
|
| Every 500 hours |
|
Type for EFI engines: Champion® XC12YC or equivalent
Type for Non-EFI engines: Champion® RC12YC or equivalent
Air Gap: 0.76 mm (0.03 inch)
Shut off the engine, remove the key, and wait for all moving parts to stop before leaving the operating position.
Disengage the PTO, move the motion-control levers to the NEUTRAL-LOCK position, and engage the parking brake.
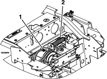
Remove the left hydraulic-unit shroud in the order listed with Figure 39. This gives you access to the front spark plug.


Remove the spark plug.


Important: Do not clean the spark plug(s). Always replace the spark plug(s) when it has a black coating, worn electrodes, an oily film, or cracks.
If you see light brown or gray on the insulator, the engine is operating properly. A black coating on the insulator usually means the air cleaner is dirty.
Set the gap to 0.76 mm (0.03 inch).

| Maintenance Service Interval | Maintenance Procedure |
|---|---|
| Every 50 hours |
|
Hot exhaust-system components may ignite fuel vapors even after you shut off the engine. Hot particles exhausted during engine operation may ignite flammable materials, resulting in personal injury or property damage.
Do not refuel or run the engine unless the spark arrester is installed.
Park the machine on a level surface, disengage the PTO, and engage the parking brake.
Shut off the engine, remove the key, and wait for all moving parts to stop before leaving the operating position.
Wait for the muffler to cool.
If you see any breaks in the screen or welds, replace the arrester.
If the screen is plugged, remove the arrester, shake loose particles out of the arrester, and clean the screen with a wire brush (soak the screen in solvent if necessary).
Install the arrester on the exhaust outlet.
In certain conditions, fuel is extremely flammable and highly explosive. A fire or explosion from fuel can burn you and others and can damage property.
Refer to Fuel Safety for a complete list of fuel related precautions.
Fuel-system components are under high pressure. The use of improper components can result in system failure, fuel leakage, and possible explosion.
Use only approved fuel lines and fuel filters.
This machine contains an electronic fuel-injection system. It controls the fuel flow under different operating conditions.
The electronic-control unit (ECU) continuously monitors the operation of the EFI system.
If a problem or fault within the system is detected, the malfunction-indicator light (MIL) illuminates. The MIL is the red light located in the right console panel.
Once the MIL illuminates, make initial troubleshooting checks; refer to the MIL section under .
If these checks do not correct the problem, further diagnosis and servicing by an Authorized Service Dealer is necessary.
| Maintenance Service Interval | Maintenance Procedure |
|---|---|
| Every 200 hours |
|
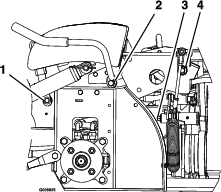
The fuel filter is located near the engine on the front or rear side of the engine.
Park the machine on a level surface, move the speed-control lever to the NEUTRAL position, disengage the blade-control switch (PTO), and engage the parking brake.
Shut off the engine, remove the key, and wait for all moving parts to stop before leaving the operating position.
Allow the machine to cool down.
Clamp the hose on the fuel tank side of the fuel filter.
Replace the fuel filter (Figure 43).
Note: Ensure that the markings on the filter follow the fuel flow direction.

Note: Install the fuel-line hoses and secure them with plastic ties the same as they were originally installed at the factory to keep the fuel line away from components that could cause fuel line damage.
Do not attempt to drain the fuel tank. Ensure that an Authorized Service Dealer drains the fuel tank and services any components of the fuel system.
Disconnect the battery before repairing the machine. Disconnect the negative terminal first and the positive last. Connect the positive terminal first and the negative last.
Charge the battery in an open, well-ventilated area, away from sparks and flames. Unplug the charger before connecting or disconnecting the battery. Wear protective clothing and use insulated tools.
| Maintenance Service Interval | Maintenance Procedure |
|---|---|
| Monthly |
|
Battery electrolyte contains sulfuric acid which is fatal if consumed and causes severe burns.
Do not drink electrolyte and avoid contact with skin, eyes or clothing. Wear safety glasses to shield your eyes and rubber gloves to protect your hands.
Incorrectly removing the cables from battery could damage the machine and cables, causing sparks. Sparks can cause the battery gasses to explode, resulting in personal injury.
Always disconnect the negative (black) battery cable before disconnecting the positive (red) cable.
Always connect the positive (red) battery cable before connecting the negative (black) cable.
Park the machine on a level surface, move the speed-control lever to the NEUTRAL position, disengage the blade-control switch (PTO), and engage the parking brake.
Shut off the engine, remove the key, and wait for all moving parts to stop before leaving the operating position.
Disconnect the negative battery cable (black) from the negative (-) battery terminal (Figure 44).
Slide the red terminal boot off the positive (red) battery terminal and remove the positive (+) battery cable (Figure 44).
Remove the wing nuts securing the J-hooks (Figure 44).
Remove the clamp (Figure 44).
Remove the battery.

Charging the battery produces gasses that can explode.
Never smoke near the battery and keep sparks and flames away from the battery.
Important: Always keep the battery fully charged (1.265 specific gravity). This is especially important to prevent battery damage when the temperature is below 0°C (32°F).
Remove the battery from the chassis; refer to Removing the Battery.
Charge the battery for 10 to 15 minutes at 25 to 30 A or for 30 minutes at 10 A.
Note: Do not overcharge the battery.
When the battery is fully charged, unplug the charger from the electrical outlet, then disconnect the charger leads from the battery posts (Figure 45).
Install the battery in the machine and connect the battery cables; refer to Installing the Battery.
Note: Do not run the machine with the battery disconnected; electrical damage may occur.

Position the battery in the tray with the terminal posts opposite from the hydraulic tank (Figure 44).
Install the positive (red) battery cable to the positive (+) battery terminal.
Install the negative (black) battery cable and ground wire to the negative (-) battery terminal.
Secure the cables with 2 bolts, 2 washers, and 2 locknuts (Figure 44).
Slide the red terminal boot onto the positive (red) battery post.
Install the clamp and secure it with the wing nuts and J-hooks (Figure 44).
The electrical system is protected by fuses. It requires no maintenance; however, if a fuse blows check the component/circuit for a malfunction or short.
The fuses are located on right side behind the seat.
To replace the fuses, pull out on the fuse to remove it.
Install a new fuse.
Adjust all safety switches so that the plunger extends 4.8 mm to 6.4 mm (3/16 inch to 1/4 inch) from the switch body when the plunger is compressed (Figure 46).

Check and clean corrosion from the battery terminals before jump-starting. Ensure that the connections are tight.
Corrosion or loose connections can cause unwanted electrical voltage spikes at any time during the jump-starting procedure.
Do not attempt to jump-start the machine with loose or corroded battery terminals, or damage to the engine or EFI may occur.
Jump-starting a weak battery that is cracked or frozen or has a low electrolyte level or an open/shorted battery cell can cause an explosion, resulting in serious personal injury.
Do not jump-start a weak battery if these conditions exist.
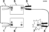
Make sure that the booster battery is a good and fully charged lead-acid battery at 12.6 V or greater.
Note: Use properly sized jumper cables with short lengths to reduce voltage drop between systems. Make sure that the cables are color coded or labeled for the correct polarity.
Connecting the jumper cables incorrectly (wrong polarity) can immediately damage the EFI system.
Be certain of battery-terminal polarity and jumper-cable polarity when hooking up the batteries.
Batteries contain acid and produce explosive gases.
Shield your eyes and face from the batteries at all times.
Do not lean over the batteries.
Note: Ensure that the vent caps are tight and level. Place a damp cloth, if available, over any vent caps on both batteries. Also ensure that the machines do not touch and that both electrical systems are off and at the same rated system voltage. These instructions are for negative ground systems only.
Connect the positive (+) cable to the positive (+) terminal of the discharged battery that is wired to the starter or solenoid as shown in Figure 47.

Connect the other end of the positive cable to the positive terminal of the booster battery.
Connect the black negative (–) cable to the other terminal (negative) of the booster battery.
Make the final connection on the engine block of the stalled machine (not to the negative battery post), away from the battery, and stand back (Figure 48).


Start the machine and remove the cables in the reverse order of connection (disconnect the negative cable from the engine block first).
Note: The tracking knob is located under the seat.
Note: Rotating this knob allows fine tuning adjustments so that the machine tracks straight with the drive levers in the full forward position.
Run the machine at 3/4 speed for at least 5 minutes to bring hydraulic fluid up to operating temperature.
Park the machine on a level surface, move the speed-control lever to the NEUTRAL position, disengage the blade-control switch (PTO), and engage the parking brake.
Shut off the engine, remove the key, and wait for all moving parts to stop before leaving the operating position.
Tilt the seat forward to gain access to the tracking knob.
Rotate the knob toward the right to steer right and rotate it toward the left to steer left.
Adjust in 1/8 turn increments until the machine tracks straight.
Check and ensure that the machine does not creep when in neutral with the parking brakes disengaged (Figure 49).

| Maintenance Service Interval | Maintenance Procedure |
|---|---|
| Every 40 hours |
|
Maintain the air pressure in the rear tires at 103 kPa (15 psi). Uneven tire pressure can cause uneven cut. Check the tires when they are cold, to get the most accurate pressure reading.
Note: The front tires are semi-pneumatic tires and does not require air pressure maintenance.

Note: Do not add any type of tire liner or foam fill material to the tires.
| Maintenance Service Interval | Maintenance Procedure |
|---|---|
| After the first 100 hours |
|
| Every 500 hours |
|
Check and torque the wheel lug nuts to 122 to 129 N∙m (90 to 95 ft-lb).
| Maintenance Service Interval | Maintenance Procedure |
|---|---|
| After the first 100 hours |
|
| Every 500 hours |
|
Check and ensure that the torque of the slotted nut is 373 to 475 N∙m (275 to 350 ft-lb).
| Maintenance Service Interval | Maintenance Procedure |
|---|---|
| Every 500 hours |
|
Park the machine on a level surface, move the speed-control lever to the NEUTRAL position, disengage the blade-control switch (PTO), and engage the parking brake.
Shut off the engine, remove the key, and wait for all moving parts to stop before leaving the operating position.
Remove the dust cap from the caster and tighten the locknut until the spring washers are flat, then back off 1/4 turn to properly set the pre-load on the bearings (Figure 51 and Figure 52).
Important: Make sure that the spring washers are installed correctly as shown in Figure 51 and Figure 52.
Install the dust cap.


Swallowing engine coolant can cause poisoning; keep out of reach from children and pets.
Discharge of hot, pressurized coolant or touching a hot radiator and surrounding parts can cause severe burns.
Always allow the engine to cool at least 15 minutes before removing the radiator cap.
Use a rag when opening the radiator cap, and open the cap slowly to allow steam to escape.
| Maintenance Service Interval | Maintenance Procedure |
|---|---|
| Before each use or daily |
|
Remove any buildup of grass, dirt, or other debris from the oil cooler and the engine screen. This helps ensure adequate cooling and correct engine speed and reduces the possibility of overheating and mechanical damage to the engine.
| Maintenance Service Interval | Maintenance Procedure |
|---|---|
| Every 100 hours |
|
Park the machine on a level surface, move the speed-control lever to the NEUTRAL position, disengage the PTO, and engage the parking brake.
Shut off the engine, remove the key, and wait for all moving parts to stop before leaving the operating position.
Remove the fuel-tank mounting nuts and swing out the fuel tank.
Keep the oil-cooler free of debris by cleaning the fins with a brush.
Swing the fuel tank in and secure it with the mounting nuts.
Back the mounting nuts off 1/2 turn to allow for tank expansion.
| Maintenance Service Interval | Maintenance Procedure |
|---|---|
| Every 100 hours |
|
Park the machine on a level surface, move the speed-control lever to the NEUTRAL position, disengage the PTO, and engage the parking brake.
Shut off the engine, remove the key, and wait for all moving parts to stop before leaving the operating position.
Remove the air-intake screen and fan housing.
Clean the debris and grass from the engine parts.
Install air-intake screen and fan housing.
| Maintenance Service Interval | Maintenance Procedure |
|---|---|
| Before each use or daily |
|
Park the machine on a level surface, move the speed-control lever to the NEUTRAL position, disengage the PTO, and engage the parking brake.
Shut off the engine, remove the key, and wait for all moving parts to stop before leaving the operating position.
Raise the seat.
Clean the debris and grass from the hydraulic pumps.
Lower the seat.
| Maintenance Service Interval | Maintenance Procedure |
|---|---|
| After the first 100 hours |
|
| Every 500 hours |
|
Make sure that the brake is adjusted properly. Follow this procedure when you remove or replace a brake component.
Park the machine on a level surface, move the speed-control lever to the NEUTRAL position, disengage the PTO, and engage the parking brake.
Shut off the engine, remove the key, and wait for all moving parts to stop before leaving the operating position.
Release the parking brake.
Tilt the seat forward.
Check and ensure that there is no slack between the parking-brake handle and the linkage.
If an adjustment is necessary, remove the clevis pin and rotate the linkage counterclockwise to lengthen it or clockwise to shorten it.

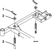
Measure the compressed spring length on both vertical spring assemblies.
Note: The spring should measure between 6 to 7 cm (2.35 to 2.85 inches). If necessary, adjust the nut at the top of the vertical spring assembly to achieve this distance.

Adjust the linkage length with the 2 nuts at the bottom of the vertical spring assembly (Figure 55).
Note: The linkage should measure 22.7 to 23.3 cm (8.92 to 9.16 inches).

Engage and disengage the brakes to check for proper engagement and disengagement. Adjust if necessary.
Note: When the brakes are disengaged, there should be little to no free play in the brake linkage with no dragging in the brakes.
| Maintenance Service Interval | Maintenance Procedure |
|---|---|
| Every 40 hours |
|
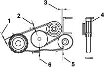
Replace the belt if it is worn. The signs of a worn belt include squealing while the belt is rotating; the blades slipping while cutting grass; and frayed edges, burn marks, and cracks on the belt.
Park the machine on a level surface, move the speed-control lever to the NEUTRAL position, disengage the PTO, and engage the parking brake.
Shut off the engine, remove the key, and wait for all moving parts to stop before leaving the operating position.
Tilt the hopper up and check the pump and PTO drive belts for wear, cracking, or contamination.
Note: The belts are spring tensioned and no adjustment is necessary unless the belts are replaced.
Park the machine on a level surface, move the speed-control lever to the NEUTRAL position, disengage the PTO, and engage the parking brake.
Shut off the engine, remove the key, and wait for all moving parts to stop before leaving the operating position.
With the engine off, engage the PTO lever, then remove the hairpin cotter and clevis pin at the bottom of the PTO-brake band.
Rotate the brake band upward and out of the way of the belts keeping clear of the belt drive.
Disengage the PTO lever.
Loosen belt guides A and B (Figure 56).
Remove the belts.
Route the new belts onto the pulleys as shown in Figure 56.

Engage the PTO lever.
Rotate the brake band down into the original position.
Install the clevis pin and hairpin cotter to secure the brake band.
Loosen the jam nuts and adjust the linkage until the top of the idler arm is aligned with the bottom of the notch on the tension arm as shown in Figure 57.

Tighten the jam nuts and disengage the PTO lever.
Engage the PTO lever and check the alignment.
Check and adjust the belt guides as stated in Adjusting the Belt Guides.
Park the machine on a level surface, move the speed-control lever to the NEUTRAL position, disengage the PTO, and engage the parking brake.
Shut off the engine, remove the key, and wait for all moving parts to stop before leaving the operating position.
Remove the PTO Belts; refer to Replacing the PTO Belts.
Pull the spring idler or remove the spring to relieve the tension of the pump-drive belt.
Remove the old belt.
Route the new belt onto the sheaves as shown in the decal located on the back of the left drive shield (Figure 58).

Install the PTO belts; refer to Replacing the PTO Belts.
Park the machine on a level surface, move the speed-control lever to the NEUTRAL position, disengage the PTO, and engage the parking brake.
Shut off the engine, remove the key, and wait for all moving parts to stop before leaving the operating position.
With the engine off, engage the PTO lever.
Adjust the belt guides as shown in Figure 59.

Align the PTO-drive pulley for any of the following conditions:
The blower has been removed or replaced.
The engine mounting bolts have been loosened or the engine has been moved or replaced.
The jackshaft mounting bolts have been loosened or the jackshaft has been moved or replaced.
Park the machine on a level surface, move the speed-control lever to the NEUTRAL position, disengage the blade-control switch (PTO), and engage the parking brake.
Shut off the engine, remove the key, and wait for all moving parts to stop before leaving the operating position.
Remove the fuel-tank mounting nuts and swing out the fuel tank.
Verify that the blower is installed and tightly secured.
Loosen the 4 engine mounting bolts.
Unhook the pump-belt tension spring.
Loosen the 4 jackshaft mounting bolts.
Measuring from the blower pulley as a baseline, move the engine and jackshaft until the rear surface of all 3 pulleys are aligned within 0.8 to 1.6 mm (1/32 inch to 1/16 inch) (Figure 60).
Note: Use a straight edge to align all 3 surfaces.

Tighten the 4 engine mounting bolts and 4 jackshaft mounting bolts. Check the alignment after tightening.
Install the pump-belt tension spring.
Swing the fuel tank in and install the tank mounting nuts.
Align the pump-drive pulley; Aligning the PTO-Drive Pulley.
The pump-drive-pulley alignment is necessary for any of the following conditions:
The engine mounting bolts have been loosened or the engine has been moved or replaced.
The pump pulleys have been loosened, moved, or replaced.
The PTO pulley has been aligned; refer to Aligning the PTO-Drive Pulley.
Park the machine on a level surface, move the speed-control lever to the NEUTRAL position, disengage the blade-control switch (PTO), and engage the parking brake.
Shut off the engine, remove the key, and wait for all moving parts to stop before leaving the operating position.
Loosen the set screws on both pump pulleys.
Using a straight edge, align each pump pulley with the engine pulley by sliding it along the pump shaft (Figure 60).
Tighten the pulley set screws and check the alignment.
Adjust the PTO brake spring only if the blower has been removed or replaced or if the PTO drive idler arm has been disassembled.
Park the machine on a level surface, move the speed-control lever to the NEUTRAL position, disengage the blade-control switch (PTO), and engage the parking brake.
Shut off the engine, remove the key, and wait for all moving parts to stop before leaving the operating position.
Locate the brake spring and thread the 2 jam nuts out to the end of the brake-spring rod (Figure 61).
Tighten the jam nuts together at end of the brake-spring rod.

Park the machine on a level surface, move the speed-control lever to the NEUTRAL position, disengage the blade-control switch (PTO), and engage the parking brake.
Shut off the engine, remove the key, and wait for all moving parts to stop before leaving the operating position.
Loosen the 6 door hinge nuts (Figure 62).
Open the door and place a 3/8 inch (9.5 mm) rubber strip or 3/8 inch (9.5 mm) diameter hose between the hopper and the hopper door (Figure 62).
Close the door and push it tight against the hopper.
Tighten the hinge hardware.
Open the hopper door and remove the rubber strip.

Seek immediate medical attention if fluid is injected into skin. Injected fluid must be surgically removed within a few hours by a doctor.
Ensure that all hydraulic-fluid hoses and lines are in good condition and all hydraulic connections and fittings are tight before applying pressure to the hydraulic system.
Keep your body and hands away from pinhole leaks or nozzles that eject high-pressure hydraulic fluid.
Use cardboard or paper to find hydraulic leaks.
Safely relieve all pressure in the hydraulic system before performing any work on the hydraulic system.
Hydraulic Fluid Type: Toro® HYPR-OIL™ 500 hydraulic oil or Mobil® 1 15W-50.
Important: Use the fluid specified. Other fluids could cause system damage.
| Maintenance Service Interval | Maintenance Procedure |
|---|---|
| Every 40 hours |
|
Park the machine on a level surface, move the speed-control lever to the NEUTRAL position, disengage the blade-control switch (PTO), and engage the parking brake.
Shut off the engine, remove the key, and wait for all moving parts to stop before leaving the operating position.
Allow the engine and the hydraulic system to cool for 10 minutes.
Note: To get the correct reading, check the hydraulic fluid level when the machine is cool.
Raise the seat up.
Clean the area around the dipstick of the hydraulic-system reservoir (Figure 63).
Remove the dipstick from the hydraulic reservoir (Figure 63).
Wipe the dipstick off and thread the dipstick into the reservoir.
Remove the dipstick and look at the end (Figure 63). If the fluid level is at the add mark, slowly pour only enough fluid into the hydraulic reservoir to raise the level to the full line.
Important: Do not overfill the hydraulic units with fluid, as damage may occur. Do not run the machine with the fluid below the add mark.
Install the dipstick.

| Maintenance Service Interval | Maintenance Procedure |
|---|---|
| After the first 100 hours |
|
| Every 250 hours |
|
| Every 500 hours |
|
Note: Use a summer filter when the temperature is 0°C (32°F) and above. Use a winter filter when the temperature is 0°C (32°F) and below.
Park the machine on a level surface, move the speed-control lever to the NEUTRAL position, disengage the blade-control switch (PTO), and engage the parking brake.
Shut off the engine, remove the key, and wait for all moving parts to stop before leaving the operating position.
Carefully clean the area around the filter.
Important: Ensure that no dirt or contamination enter the hydraulic system.
Unscrew and remove the filter and allow the fluid to drain from the reservoir.
Important: Do not change the hydraulic system fluid (except for what can be drained when changing the filter), unless the fluid has been contaminated or been extremely hot. Changing the hydraulic fluid unnecessarily could damage the hydraulic system by introducing contaminates into the system.
Before installing the new filter, fill it with Toro® HYPR-OIL™ 500 hydraulic fluid and apply a thin coat of fluid on the surface of the rubber seal.
Turn the filter clockwise until the rubber seal contacts the filter adapter, then tighten the filter an additional 2/3 to 3/4 turn.
Fill the reservoir as stated in Checking the Hydraulic Fluid.
Raise the rear of the machine up and support it with jack stands (or equivalent support) just high enough to allow drive wheels to turn freely.
Start the engine and move the throttle control to the FULL-THROTTLE position.
Move the speed-control levers to the full-speed position and run the machine for several minutes.
Shut off the machine and check the fluid level.
Inspect the blades periodically for wear or damage.
Use care when checking the blades. Wrap the blades or wear gloves, and use caution when servicing the blades. Only replace or sharpen the blades; never straighten or weld them.
On multi-bladed machines, take care as rotating one blade can cause other blades to rotate.
Replace worn or damaged blades and bolts in sets to preserve balance.
To ensure a superior quality of cut, keep the blades sharp. For convenient sharpening and replacement, you may want to keep extra blades on hand.
Park the machine on a level surface, disengage the blade-control switch (PTO), and engage the parking brake.
Shut off the engine, remove the key, and disconnect the spark-plug wires from the spark plugs.
| Maintenance Service Interval | Maintenance Procedure |
|---|---|
| Before each use or daily |
|
Inspect the cutting edges (Figure 64).
If the edges are not sharp or have nicks, remove and sharpen the blade; refer to Sharpening the Blades.
Inspect the blades, especially in the curved area.
If you notice any cracks, wear, or a slot forming in this area, immediately install a new blade (Figure 64).

Rotate the blades until the ends face forward and backward.
Measure from a level surface to the cutting edge, position A, of the blades (Figure 65).

Rotate the opposite ends of the blades forward.
Measure from a level surface to the cutting edge of the blades at the same position as in step 2 above.
Note: The difference between the dimensions obtained in steps 2 and 4 must not exceed 3 mm (1/8 inch).
Note: If this dimension exceeds 3 mm (1/8 inch), the blade is bent and must be replaced.
Replace the blades if they hit a solid object, or if the blade is out of balance or bent.
Note: Make note of the red-colored blade position. From the normal user position, it is located on the right side.
Lift the mower deck and secure in the raised position. Refer to Raising the Mower Deck into the Service Position.
Hold the blade end using a rag or thickly padded glove.
Remove the blade, washer, and blade bolt that secures the blade and blade driver (Figure 66).

Remove the blade driver from the existing blade (Figure 66).
Use a file to sharpen the cutting edge at both ends of the blade (Figure 67).
Note: Maintain the original angle.
Note: The blade retains its balance if the same amount of material is removed from both cutting edges.

Check the balance of the blade by putting it on a blade balancer (Figure 68).
Note: If the blade stays in a horizontal position, the blade is balanced and can be used.
Note: If the blade is not balanced, file some metal off the end of the sail area only (Figure 67).

Repeat this procedure until the blade is balanced.
Note: Ensure that you install the red-colored blade on the right side.
Install the blade driver to the new blades with the shear bolts and locknuts (Figure 66).
Torque the shear bolts to 922 to 1130 N∙m (80 to 100 in-lb).
Note: Align the blade-driver flats with the flats on the shaft when installing the blade on the mower deck.
Install the blade, washer, and blade bolt to the spindle shaft (Figure 66).
Torque the blade bolt to 115 to 149 N∙m (85-110 ft-lb).
Lower the mower deck to the operating position. Refer to Lowering the Mower Deck to the Operating Position.
Operating a mower deck with loose or weakened blade bolts can be dangerous. A loose or weakened blade bolt could allow a blade rotating at a high speed to come out from under the mower deck, causing serious injury or property damage.
Replace the blade bolt after striking a foreign object.
Use only genuine Toro replacement parts.
Do not lubricate the threads of the bolt or spindle before assembly.
Park the machine on a level surface, move the speed-control lever to the NEUTRAL position, disengage the blade-control switch (PTO), and engage the parking brake.
Shut off the engine, remove the key, and wait for all moving parts to stop before leaving the operating position.
Check the tire pressure in the drive tires; refer to Checking the Tire Pressure.
Verify that all hairpin cotters are in the 7.62 cm (3 inch) mower-deck-height holes with the spacers under the hairpin cotters (Figure 69).

Shorten or lengthen each mower deck support pin to obtain blade tip height of 7.62 cm (3 inches) at the front of the deck and 8.26 cm (3 1/4 inches) at the rear of the deck (Figure 69).
Note: The front pins are thread into the mower deck and have a jam nut. The rear pins have a rod end threaded into them with a jam nut.
Operating this machine without an approved Toro front mount attachment increases the possibility of operator entanglement in the drive wheels or forward tip-over. Entanglement or tip-over could cause serious injury or death.
When operating this machine without an approved Toro front mount attachment, observe the following:
Keep feet and clothing away from tires.
Limit operation to minimum required to install a different front mount attachment.
Minimize speed and use extreme caution.
Only operate on a flat level surface.
Do not operate up or down a trailer ramp.
Avoid sudden acceleration or deceleration.
Important: Do not transport this machine without an approved Toro front mount attachment.
Park the machine on a level surface, move the speed-control lever to the NEUTRAL position, disengage the blade-control switch (PTO), and engage the parking brake.
Shut off the engine, remove the key, and wait for all moving parts to stop before leaving the operating position.
Raise mower deck up and latch with deck-locking pins. Refer to Raising the Mower Deck into the Service Position.
Remove the hairpin cotters and washers at the top of the deck-lift-assist spring on each side of the machine (Figure 70).

Remove the spring from the spring anchor. Repeat for other side of the machine.
Unlatch the mower deck from the raised position and slowly lower the mower deck to ground; refer to Lowering the Mower Deck to the Operating Position.
Note: The mower deck becomes heavier when you remove the springs from the anchors. Lower the mower deck carefully.
Remove the lynch pins at the front of the push arms on both sides of the machine (Figure 71).

Loosen the bolts attached to the rubber guard (Figure 72).

Unlatch the seat and disconnect the drive shaft using the quick coupler at the jackshaft (Figure 73). Refer to Unlatching the Seat

Pull the mower deck forward to remove it from the machine.
Important: Do not transport the machine without an approved Toro front mount attachment.
Park the machine on a level surface, move the speed-control lever to the NEUTRAL position, disengage the blade-control switch (PTO), and engage the parking brake.
Shut off the engine, remove the key, and wait for all moving parts to stop before leaving the operating position.
Roll the mower deck up to the machine with the discharge tube down, making sure that the deck springs are located above the drive wheel and below the console on each side.
Unlatch the seat and tilt the seat forward.
Install the drive shaft onto the jackshaft (Figure 73).
Align the mower-deck push-arm tubes to the machine push-arms and push the mower deck rearward.
Secure the push arms with the lynch pins on the left and right sides of the machine (Figure 71).
Align the upper portion of the rubber guard and secure it with the attached bolts (Figure 72).
Release the mower-deck-locking pins on each side, raise the mower deck to the service position and secure the deck latch onto the hook. Refer to Raising the Mower Deck into the Service Position.
Install the springs onto the spring anchor pins under the left and right consoles and secure it with a washer and hairpin cotter (Figure 70).
Unlatch the mower deck from the raised position, slowly lower the mower deck to ground, and lock the deck-locking pins on each side. Refer to Lowering the Mower Deck to the Operating Position.
Slide the mower-deck locking pins in on both sides and rotate to lock the deck in the operating position.
Loosen the jam nut and turn the stop screw clockwise until the locking pin is tight and cannot be rotated by hand (Figure 74).

Loosen the stop screw counter clockwise 1/2 turn and tighten the jam nut.
Test the locking pin to make sure it slides freely. Adjust it if necessary.
| Maintenance Service Interval | Maintenance Procedure |
|---|---|
| Before each use or daily |
|
Park the machine on a level surface, move the speed-control lever to the NEUTRAL position, disengage the blade-control switch (PTO), and engage the parking brake.
Shut off the engine, remove the key, and wait for all moving parts to stop before leaving the operating position.
Lift the mower deck and secure it in the raised position. Refer to Raising the Mower Deck into the Service Position.
Clean any grass buildup under the mower deck.
Lower the mower deck to the operating position. Refer to Lowering the Mower Deck to the Operating Position.
| Maintenance Service Interval | Maintenance Procedure |
|---|---|
| Before each use or daily |
|
Park the machine on a level surface, move the speed-control lever to the NEUTRAL position, disengage the blade-control switch (PTO), and engage the parking brake.
Shut off the engine, remove the key, and wait for all moving parts to stop before leaving the operating position.
Clean off any oil, debris, or grass buildup on the machine, especially around the fuel tank, engine, and exhaust area.
Engine oil, batteries, hydraulic fluid, and engine coolant are pollutants to the environment. Dispose of these according to your state and local regulations.
Shut off the engine, remove the key, and wait for all moving parts to stop before you leave the operator’s position. Allow the machine to cool before adjusting, servicing, cleaning, or storing it.
Do not store the machine or fuel near flames or drain the fuel indoors or inside an enclosed trailer.
Do not store the machine or fuel container where there is an open flame, spark, or pilot light, such as on a water heater or on other appliances.
Disengage the blade-control switch (PTO), and engage the parking brake.
Shut off the engine, remove the key, and wait for all moving parts to stop before leaving the operating position.
Remove grass clippings, dirt, and grime from the external parts of the entire machine, especially the engine and hydraulic system. Clean dirt and chaff from the outside of the engine cylinder head fins and blower housing.
Important: You can wash the machine with mild detergent and water. Do not pressure wash the machine. Avoid excessive use of water, especially near the control panel, engine, hydraulic pumps, and motors.
Check the parking brake operation; refer to Operating the Parking Brake.
Service the air cleaner; refer to Servicing the Air Cleaner.
Grease the machine; refer to Lubrication.
Change the crankcase oil; refer to Servicing the Engine Oil.
Check the tire pressure; refer to Checking the Tire Pressure.
Change the hydraulic filters; refer to Replacing the Hydraulic Fluid and Filter.
Charge the battery; refer to Charging the Battery.
Scrape any heavy buildup of grass and dirt from the underside of the mower, then wash the mower with a garden hose.
Note: Run the machine with the blade-control switch (PTO) engaged and the engine at high idle for 2 to 5 minutes after washing.
Check the condition of the blades; refer to Servicing the Cutting Blades.
Prepare the machine for storage when non-use occurs over 30 days. Prepare the machine for storage as follows:
Add a petroleum based stabilizer/conditioner to fuel in the tank. Follow mixing instructions from the stabilizer manufacturer. Do not use an alcohol-based stabilizer (ethanol or methanol).
Note: A fuel stabilizer/conditioner is most effective when mixed with fresh fuel and used at all times.
Run the engine to distribute conditioned fuel through the fuel system (5 minutes).
Shut off the engine, allow it to cool, and drain the fuel tank.
Start the engine and run it until it stops.
Dispose of fuel properly. Recycle the fuel according to local codes.
Important: Do not store fuel containing stabilizer/conditioner longer than the duration recommended by the fuel-stabilizer manufacturer.
Remove and check the condition of the spark plug(s); refer to Servicing the Spark Plug(s). With the spark plug(s) removed from the engine, pour 30 ml (2 tablespoons) of engine oil into the spark plug hole. Use the starter to crank the engine and distribute the oil inside the cylinder. Install the spark plug(s). Do not install the wire on the spark plug(s).
Check and tighten all bolts, nuts, and screws. Repair or replace any part that is damaged.
Paint all scratched or bare metal surfaces. Paint is available from your Authorized Service Dealer.
Store the machine in a clean, dry garage or storage area. Remove the key from the switch and keep it out of reach of children or other unauthorized users. Cover the machine to protect it and keep it clean.
| Problem | Possible Cause | Corrective Action |
|---|---|---|
| The malfunction-indicator light (MIL) comes on. |
|
|
| The starter does not crank. |
|
|
| The engine does not start, starts hard, or fails to keep running. |
|
|
| The engine loses power. |
|
|
| The engine overheats. |
|
|
| The machine pulls to the left or right (with the motion-control levers fully forward). |
|
|
| The machine does not drive. |
|
|
| The machine vibrates abnormally. |
|
|
| The cutting height is uneven. |
|
|
| The blades do not rotate. |
|
|


