Kunnossapito
Tee seuraavat toimet aina leikkurin käytön jälkeen:
-
Irrota akku leikkurista.
-
Pyyhi leikkuri puhtaaksi kostealla liinalla. Älä suihkuta leikkuria vesiletkulla tai upota sitä veteen.
Varoitus
Suuntaimessa oleva siiman katkaisuterä on terävä, ja se voi viiltää käyttäjää.
Älä puhdista suuntainlevyä ja terää käsillä.
-
Pyyhi tai raaputa leikkuupään alue puhtaaksi aina, kun siihen kerääntyy roskaa.
-
Tarkista ja kiristä kaikki kiinnikkeet. Jos jokin osa on vaurioitunut tai irronnut, korjaa tai vaihda se.
-
Pyyhi roskat pois ilmanottoaukoista ja moottorin tuuletusaukosta, jotta moottori ei ylikuumene.
Siiman vaihto
Käytä vain halkaisijaltaan 2,4 mm:n monofiilisiimaa (valmistajan osanumero 88612).
-
Irrota akkuyksikkö.
-
Irrota nykyinen siima kelasta painamalla syöttöpäätä toistuvasti ja vetämällä samalla siimaa ulos yhtä paljon syöttöpään molemmista päistä.
-
Jos käytät 2,4 mm:n paksuista siimaa, katkaise noin 7,3 m:n pala siimaa.
Important: Älä käytä minkään muun paksuista tai tyyppistä siimaa, sillä se voi vaurioittaa leikkuria.
-
Paina ja käännä leikkurin pään alaosaa myötäpäivään, kunnes alaosan vihreät merkit ovat kohdakkain pujotusreikien alla olevien vihreiden merkkien kanssa (Kuva 15).
-
Työnnä siiman toinen pää suoraan pujotusreiän läpi, kunnes se tulee ulos toisen puolen reiästä.

Important: Älä pura leikkurin päätä.
-
Vedä siima leikkurin pään läpi, kunnes kummallakin puolella on yhtä paljon siimaa.
-
Pidä siimaleikkuria paikallaan yhdellä kädellä. Kelaa siimaa toisella kädellä kääntämällä leikkurin pään alaosaa syöttöpään pohjassa näkyvien nuolten osoittamaan suuntaan (myötäpäivään). Jätä noin 152 mm pujotusreikien kummallekin puolelle.
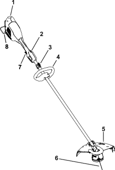
Leikkurin pään vaihto
-
Irrota akkuyksikkö leikkurista.
-
Kohdista rengaslevyn reikä leikkurin vaihteiston reikään (Kuva 16).
-
Estä leikkurin pään liikkuminen työntämällä mukana toimitettu metallitanko rengaslevyn läpi ja leikkurin vaihteiston reikään (Kuva 16).

-
Samalla kun metallitanko pitää leikkurin päätä paikallaan, irrota leikkurin pää hammaspyöräkotelon kierteitetystä tapista kääntämällä sitä myötäpäivään (Kuva 17).

-
Kiinnitä uusi leikkurin pää kääntämällä sitä vastapäivään vaihteiston tappiin samalla, kun pidät rengaslevyä paikallaan metallitangolla.
Vaihteiston voitelu
| Huoltoväli | Huoltotoimenpide |
|---|
-
Katkaise leikkurista virta, irrota akkuyksikkö ja poista mahdolliset roskat leikkurin päästä.
-
Poista etusuojus leikkurista (Kuva 5).
-
Aseta leikkuri niin, että vaihteisto on pystyasennossa.
-
Irrota tulppa leikkurin sivusta (Kuva 17).

-
Lisää pieni määrä rasvaa vaihteistoon voitelupistoolilla.
Note: Käytä litiumpohjaista rasvaa nro 2.
-
Asenna vaihteiston tulppa ja etusuojus.
Säilytys
Important: Säilytä työkalua, akkuyksikköä ja laturia vain soveltuvissa lämpötiloissa. Katso Tekniset tiedot.
Important: Jos varastoit akun talvea varten, lataa sitä, kunnes yksi tai kaksi akun LED-merkkivaloa palaa vihreänä. Älä varastoi täyteen ladattua tai täysin tyhjää akkua. Kun ryhdyt taas käyttämään työkalua, lataa akkuyksikköä, kunnes laturin vasemmanpuoleinen merkkivalo muuttuu vihreäksi tai akun kaikki neljä LED-merkkivaloa muuttuvat vihreiksi.
-
Irrota tuote käytön jälkeen virtalähteestä (eli irrota virtajohto virtalähteestä tai akkuyksiköstä) ja tarkista, että se ei ole rikkoutunut.
-
Älä varastoi työkalua akkuyksikkö asennettuna.
-
Puhdista kaikki lika ja roskat tuotteesta.
-
Käytön ulkopuolella säilytä työkalua, akkuyksikköä ja akkulaturia lasten ulottumattomissa.
-
Pidä työkalu, akkuyksikkö ja akkulaturi loitolla syövyttävistä aineista, kuten puutarhakemikaaleista ja jäänpoistoaineista.
-
Älä säilytä akkuyksikköä ulkona tai ajoneuvoissa, sillä se voi aiheuttaa vakavia loukkaantumisia.
-
Säilytä työkalua, akkuyksikköä ja akkulaturia suljetussa, puhtaassa ja kuivassa tilassa.


















