| Wartungsintervall | Wartungsmaßnahmen |
|---|---|
| Bei jeder Verwendung oder täglich |
|
Dieser Aufsitzsichelmäher sollte nur von geschulten Lohnarbeitern in gewerblichen Anwendungen eingesetzt werden. Er ist hauptsächlich für das Mähen von Gras auf gepflegten Grünflächen in Parkanlagen, Sportplätzen und öffentlichen Anlagen gedacht. Wenn diese Maschine für einen anderen Zweck als vorgesehen eingesetzt wird, kann das für Sie und andere Personen gefährlich sein.
Lesen Sie diese Informationen sorgfältig durch, um sich mit dem ordnungsgemäßen Einsatz und der Wartung des Geräts vertraut zu machen und Verletzungen und eine Beschädigung des Geräts zu vermeiden. Sie tragen die Verantwortung für einen ordnungsgemäßen und sicheren Einsatz des Geräts.
Besuchen Sie Toro.com, hinsichtlich Produktsicherheit und Schulungsunterlagen, Zubehörinformationen, Standort eines Händlers, oder Registrierung des Produkts.
Wenden Sie sich an Ihren autorisierten Service-Vertragshändler oder Kundendienst, wenn Sie eine Serviceleistung, Toro Originalersatzteile oder zusätzliche Informationen benötigen. Halten Sie hierfür die Modell- und Seriennummern Ihres Produkts griffbereit. In Bild 1 ist angegeben, wo an dem Produkt die Modell- und die Seriennummer angebracht sind. Tragen Sie hier die Modell- und Seriennummern des Geräts ein.
Important: Scannen Sie mit Ihrem Mobilgerät den QR-Code auf dem Seriennummernaufkleber (falls vorhanden), um auf Garantie-, Ersatzteil- oder andere Produktinformationen zuzugreifen.

Dieses Sicherheitswarnsymbol (Bild 2) in diesem Handbuch und an der Maschine weißt auf wichtige Sicherheitshinweise hin, die Sie beachten müssen, um Unfälle zu vermeiden.

Das Sicherheitswarnsymbol wird über Information dargestellt, die Sie vor unsicheren Handlungen oder Situationen warnen, gefolgt von dem Wort GEFAHR, WARNUNG oder VORSICHT.
GEFAHR bezeichnet eine unmittelbar drohende Gefahr. Wenn sie nicht gemieden wird, sind Tod oder schwerste Verletzungen die Folge.
WARNUNG bezeichnet eine möglicherweise drohende Gefahr. Wenn sie nicht gemieden wird, können Tod oder schwerste Verletzungen die Folge sein.
VORSICHT bezeichnet eine möglicherweise drohende Gefahr. Wenn sie nicht gemieden wird, können leichte oder geringfügige Verletzungen die Folge sein.
In dieser Anleitung werden zwei weitere Begriffe zur Hervorhebung von Informationen verwendet. Wichtig weist auf spezielle mechanische Informationen hin, und Hinweis hebt allgemeine Informationen hervor, die Ihre besondere Beachtung verdienen.
Dieses Produkt erfüllt alle relevanten europäischen Richtlinien; weitere Details finden Sie in der produktspezifischen Konformitätserklärung (DOC).
Entsprechend dem California Public Resource Code Section 4442 oder 4443 ist der Einsatz des Motors in bewaldeten oder bewachsenen Gebieten ohne richtig gewarteten und funktionsfähigen Funkenfänger, wie in Section 4442 definiert, oder ohne einen Motor verboten, der nicht für die Brandvermeidung konstruiert, ausgerüstet und gewartet ist.
Die beiliegende Motoranleitung enthält Angaben zu den Emissionsbestimmungen der US Environmental Protection Agency (EPA) und den Kontrollvorschriften von Kalifornien zu Emissionsanlagen, der Wartung und Garantie. Sie können einen Ersatz beim Motorhersteller anfordern.
Wenn diese Maschine mit einem Telematikgerät ausgestattet ist, wenden Sie sich an Ihren Toro Vertragshändler, um Anweisungen zur Aktivierung des Geräts zu erhalten.
KALIFORNIEN
Warnung zu Proposition 65
Die Dieselauspuffgase und einige Bestandteile wirken laut den Behörden des Staates Kalifornien krebserregend, verursachen Geburtsschäden oder andere Defekte des Reproduktionssystems
Batteriepole, -klemmen und -zubehör enthalten Blei und Bleibestandteile. Dies sind Chemikalien, die laut den Behörden des Staates Kalifornien krebserregend sind und zu Erbschäden führen können. Waschen Sie sich nach dem Umgang mit diesen Materialien die Hände.
Bei Verwendung dieses Produkts sind Sie ggf. Chemikalien ausgesetzt, die laut den Behörden des Staates Kalifornien krebserregend wirken, Geburtsschäden oder andere Defekte des Reproduktionssystems verursachen.
Dieses Produkt kann Hände und Füße amputieren und Gegenstände aufschleudern. Befolgen Sie zum Vermeiden von schweren Verletzungen immer alle Sicherheitshinweise.
Lesen und verstehen Sie vor dem Anlassen des Motors den Inhalt dieser Bedienungsanleitung.
Konzentrieren Sie sich immer bei der Verwendung der Maschine. Tun Sie nichts, was Sie ablenken könnte, sonst können Verletzungen oder Sachschäden auftreten.
Bedienen Sie die Maschine niemals, wenn nicht alle Schutzvorrichtungen und Abdeckungen angebracht und funktionstüchtig sind.
Berühren Sie bewegliche Teile nicht mit den Händen oder Füßen. Bleiben Sie immer von der Auswurföffnung fern.
Halten Sie Unbeteiligte und Kinder vom Arbeitsbereich fern. Die Maschine darf niemals von Kindern betrieben werden.
Stellen Sie vor dem Verlassen des Fahrersitzes den Motor ab, ziehen Sie den Schlüssel ab und warten Sie, bis alle beweglichen Teile zum Stillstand gekommen sind. Lassen die Maschine abkühlen, bevor Sie sie einstellen, warten, reinigen, oder einlagern.
Der unsachgemäße Einsatz oder die falsche Wartung
dieser Maschine kann zu Verletzungen führen. Befolgen Sie zur
Verringerung des Verletzungsrisikos diese Sicherheitshinweise und
beachten Sie das Warnsymbol
mit der Bedeutung Achtung, Warnung oder Gefahr
– Sicherheitsrisiko. Wenn diese Hinweise nicht beachtet werden,
kann es zu schweren bis tödlichen Verletzungen kommen.
![]() |
Die Sicherheits- und Bedienungsaufkleber sind für den Bediener gut sichtbar und befinden sich in der Nähe der möglichen Gefahrenbereiche. Tauschen Sie beschädigte oder verloren gegangene Aufkleber aus. |






















Note: Bestimmen Sie die linke und rechte Seite der Maschine anhand der üblichen Einsatzposition.
Für diesen Arbeitsschritt erforderliche Teile:
| Herstellungsjahr-Aufkleber | 1 |
Reinigen Sie den Bereich neben dem Typenschild mit Reinigungsalkohol und einem sauberen Tuch. Lassen Sie die Halterung trocknen und bringen Sie den Aufkleber mit dem Herstellungsjahr (Bild 3) an.

Für diesen Arbeitsschritt erforderliche Teile:
| Halterung des Motorhaubenriegels | 1 |
| Niete | 2 |
| Scheibe | 1 |
| Schraube (¼" x 2") | 1 |
| Sicherungsmutter (¼") | 1 |
Haken Sie den Motorhaubenriegel aus der Motorhaubenriegelhalterung aus.
Entfernen Sie die zwei Nieten, mit denen die Halterung des Motorhaubenriegels an der Motorhaube befestigt ist (Bild 4).

Nehmen Sie die Halterung des Motorhaubenriegels von der Motorhaube ab.
Fluchten Sie die Befestigungslöcher aus und positionieren Sie gleichzeitig die Halterung des CE-Riegels und des Motorhaubenriegels auf der Motorhaube (Bild 5).
Note: Die Riegelhalterung muss an der Haube anliegen. Nehmen Sie die Schraube und Mutter nicht vom Halterungsarm für den Riegel ab.

Fluchten Sie die Scheiben mit den Löchern an der Innenseite der Motorhaube aus.
Nieten Sie die Halterungen und Scheiben an die Haube (Bild 5).
Haken Sie den Riegel in die Halterung des Motorhaubenriegels ein (Bild 6).

Setzen Sie die Schraube in den anderen Arm der Halterung des Motorhaubenriegels, um den Riegel zu arretieren (Bild 7). Ziehen Sie die Schraube (nicht die Mutter) an.

Der optionale Heckrollenabstreifer arbeitet am effektivsten, wenn zwischen dem Abstreifer und der Rolle ein Abstand von 0,5 mm bis 1 mm besteht.
Lösen Sie die Schmiernippel und Befestigungsschraube (Bild 8).

Schieben Sie den Abstreifer nach oben oder unten, bis Sie einen Abstand von 0,5 mm bis 1 mm zwischen der Stange und der Rolle erhalten.
Ziehen Sie den Schmiernippel und die Schraube abwechselnd bis auf 41 N∙m an.
Wenden Sie sich an Ihren autorisierten Toro-Vertragshändler, um das richtige Mulchablenkblech zu erhalten.
Reinigen Sie die Befestigungslöcher an der Rückwand und an der linken Wand der Kammer gründlich.
Montieren Sie das Mulchablenkblech in der hinteren Öffnung und befestigen Sie es mit fünf Bundschrauben (Bild 9).

Prüfen Sie, dass das Mulchablenkblech weder die Messerspitze berührt noch in die Rückwand der Kammer vorsteht.
Die Verwendung des Hochhubmessers mit dem Mulchablenkblech kann zum Bruch des Messers führen und schwere oder tödliche Verletzungen zur Folge haben.
Setzen Sie das Hochhubmesser nicht mit dem Ablenkblech ein.
Stellen Sie die Maschine auf einer ebenen Fläche ab.
Für die Maschinen der Serie Groundsmaster 4500 und 4700 sind die Kabel der Mähwerke Nr. 4 und Nr. 5 zu lösen (Bild 39).
Lösen Sie bei Maschinen der Serie Groundsmaster 4700 die Verriegelungen der Mähwerke Nr. 6 und Nr. 7 (Bild 42).
Senken Sie die Mähwerke ab.
Aktivieren Sie die Feststellbremse.
Stellen Sie den Motor ab und ziehen Sie den Schlüssel ab.
Prüfen Sie den Reifendruck vor der Benutzung; siehe Prüfen des Reifendrucks.
Important: Stellen Sie sicher, dass alle Reifen den gleichen Druck haben, um eine gute Schnittqualität und optimale Maschinenleistung zu gewährleisten. Achten Sie darauf, dass der Reifendruck nicht zu niedrig ist.
Prüfen Sie den Stand des Hinterachsenöls vor dem ersten Anlassen des Motors, siehe Prüfen des Hinterachsenöls.
Prüfen Sie den Motorölstand vor dem Anlassen des Motors, siehe Überprüfen des Motorölstands.
Prüfen Sie den Hydraulikölstand vor dem Anlassen des Motors; siehe Prüfen des Hydraulikölstands.
Prüfen Sie das Kühlsystem vor dem Anlassen des Motors; siehe Prüfen der Kühlanlage.
Schmieren Sie die Maschine vor der Benutzung ein; siehe Einfetten der Lager und Büchsen.
Important: Wenn das Gerät nicht richtig geschmiert wird, kommt es zum frühzeitigen Ausfall wichtiger Teile.

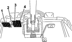
Das Fahrpedal (Bild 10) regelt die Vorwärts- und Rückwärtsfahrt. Treten Sie oben auf das Pedal, um vorwärts zu fahren und unten auf das Pedal, um rückwärts zu fahren. Wenn die Mähwerke vollständig angehoben sind, steuert das Pedal die Motor- und Zuggeschwindigkeit wie bei einem Auto.
Note: In Notbremssituationen den Fuß vom Fahrpedal nehmen und dann die Bremspedale drücken. Mit dieser Methode kommt die Maschine am schnellsten zum Stillstand.
Zwei Fußpedale regeln unabhängige Radbremsen zum Unterstützen des Wendens und Parkens oder zum Beibehalten der Bodenhaftung beim seitlichen Befahren von Hängen. Ein Riegel verbindet die Pedale für die Feststellbremse und den Transport (Bild 10).
Der Pedalsperrriegel verbindet beide Pedale zum Aktivieren der Feststellbremse (Bild 10).
Wenn Sie das Lenkrad zu Ihnen kippen möchten, treten Sie das Pedal durch und ziehen Sie die Lenksäule zu sich, bis Sie die bequemste Stellung erreicht haben. Nehmen Sie dann den Fuß vom Pedal (Bild 10). Treten Sie auf das Fußpedal und bewegen das Lenkrad von sich weg; lösen Sie das Pedal, wenn das Lenkrad in der gewünschten Betriebsstellung ist.
Verbinden Sie die Pedale mit dem Pedalsperrriegel, (Bild 10) treten auf das rechte Bremspedal und aktivieren das Pedal mit den Zehen, um die Feststellbremse zu aktivieren. Treten Sie eines der Bremspedale durch, bis der Riegel der Feststellbremse wieder zurückgeht, um die Feststellbremse zu lösen.
Das Zündschloss (Bild 11) hat drei Stellungen: AUS, EIN/GLüHKERZEN und START.

Der Zapfwellenschalter hat zwei Stellungen: HERAUSGEZOGEN (EINGEKUPPELT) und NICHT HERAUSGEZOGEN (AUSGEKUPPELT). Ziehen Sie den Zapfwellenschalter heraus, um die Mähwerkmesser einzukuppeln. Drücken Sie den Schalter hinein, um die Mähwerkmesser auszukuppeln (Bild 11).
Dieser Schalter (Bild 11) steuert die Maschinen in zwei Geschwindigkeitsbereichen: hoch und niedrig.
Wählen Sie die H/L AUTO-Stellung, damit die Maschine automatisch hohe oder niedrige Geschwindigkeit wählen kann.
Wählen Sie die NIEDRIG-Stellung, um die Maschine manuell auf niedriger Geschwindigkeit zu halten.
Sie können die Schalterposition jederzeit ändern, aber die Maschine schaltet nur dann zwischen den Geschwindigkeitsbereichen um, wenn sich das Fahrpedal in Neutralstellung befindet und die Maschine angehalten wird.
Note: Um in der H/L AUTO-Stellung eine hohe Geschwindigkeit zu erreichen, schalten Sie die Zapfwelle aus und heben Sie die Mähwerke vollständig an.
Note: Wenn sich der Schalter in der H/L AUTO-Stellung befindet, können die Mähwerke nur dann aus der vollständig angehobenen Position abgesenkt werden, wenn sich das Fahrpedal in Neutralstellung befindet und die Maschine angehalten wird.
Der Tempomatschalter stellt den Tempomat ein, um die gewünschte Fahrgeschwindigkeit aufrechtzuerhalten (Bild 12). Wenn Sie hinten auf den Schalter drücken, wird der Tempomat deaktiviert; in der mittleren Stellung des Schalters ist der Tempomat aktiviert und die gewünschte Fahrgeschwindigkeit stellen Sie vorne am Schalter ein.
Sobald der Tempomat eingestellt ist, können Sie die Geschwindigkeit über das InfoCenter ändern (Bild 34).

Mit den Hubschaltern heben Sie die Mähwerke an oder senken Sie sie ab (Bild 11). Drücken Sie den Schalter nach vorne, um die Mähwerke abzusenken und nach hinten, um sie anzuheben. Starten Sie die Maschine bei abgesenkten Mähwerken und drücken Sie den Hubschalter nach unten, sodass die Mähwerke schweben und mähen können.
Note: Die Mähwerke können im hohen Geschwindigkeitsbereich nicht abgesenkt werden und weder abgesenkt noch angehoben werden, wenn der Bediener den Sitz verlässt. Die Mähwerke können abgesenkt werden, wenn die Zündung in der EIN-Stellung ist und der Bediener auf dem Sitz sitzt.
Drücken Sie den Lichtschalter nach oben in die EIN-Stellung, um die Scheinwerfer einzuschalten (Bild 11).
Drücken Sie den Lichtschalter nach unten in die AUS-Stellung, um die Scheinwerfer auszuschalten.
Mit dieser Steckdose (Bild 13) speisen Sie optionales Zubehör mit 12 Volt.

Verwenden Sie den Taschenhalter zum Aufbewahren (Bild 13).
Bewegen Sie den Sitzeinstellhebel an der Seite des Sitzes nach außen, schieben den Sitz in die gewünschte Stellung und lassen den Hebel los, um den Sitz in dieser Stellung zu arretieren (Bild 14).

Drehen Sie das Handrad, um den Winkel der Armlehne einzustellen (Bild 14).
Stellen Sie die Neigung der Rückenlehne mit dem Hebel ein (Bild 14).
Die Gewichtsanzeige gibt an, dass der Sitz auf das Gewicht des Bedieners eingestellt ist (Bild 14). Stellen Sie die Federung in den grünen Bereich, um die Höhe einzustellen.
Stellen Sie den Sitz mit diesem Hebel auf Ihr Gewicht ein (Bild 14). Ziehen Sie am Hebel, um den Luftdruck zu erhöhen, und drücken Sie ihn herunter, um den Luftdruck zu verringern. Die Einstellung ist richtig, wenn die Gewichtsanzeige im grünen Bereich ist.
Auf dem InfoCenter-LCD-Display (Bild 11) werden Informationen zur Maschine angezeigt, u. a. Betriebszustand, verschiedene Diagnostikwerte und andere Informationen zur Maschine.
Die angezeigten Bildschirme sind von den von Ihnen ausgewählten Schaltflächen abhängig. Der Zweck jeder Taste hängt von den aktuellen Erfordernissen ab.

| Beschreibung | 4500-D | Bild 15 Referenz | 4700-D | Bild 15 Referenz | |
|---|---|---|---|---|---|
| Schnittbreite | 280 cm | D | 380 cm | F | |
| Gesamtbreite | |||||
| Abgesenkte Mähwerke | 286 cm | E | 391 cm | G | |
| Angehobene Mähwerke (Transportstellung) | 224 cm | A | 224 cm | A | |
| Spurbreite | |||||
| Vorne | 224 cm | B | 224 cm | B | |
| Hinten | 141 cm | M | 141 cm | M | |
| Höhe inkl. Überrollschutz | |||||
| Angehoben | 226 cm | C | 226 cm | C | |
| Abgesenkt | 165 cm | 165 cm | |||
| Gesamtlänge | |||||
| Abgesenkte Mähwerke | 370 cm | H | 370 cm | H | |
| Angehobene Mähwerke (Transportstellung) | 370 cm | L | 370 cm | L | |
| Bodenfreiheit | 15 cm | 15 cm | |||
| Radstand | 171 cm | K | 171 cm | K | |
| Nettogewicht | 1937 kg | 2277 kg | |||
| (mit Mähwerken und ohne Kraftstoff) | |||||
Note: Technische und konstruktive Änderungen vorbehalten.
| Länge | 86,4 cm |
| Breite | 86,4 cm |
| Höhe | 24,4 cm bis zur Trägerbefestigung |
| 26,7 cm bei einer Schnitthöhe von 1,9 cm | |
| 34,9 cm bei einer Schnitthöhe von 10 cm | |
| Gewicht | 88 kg |
Ein Sortiment an Originalanbaugeräten und -zubehör von Toro wird für diese Maschine angeboten, um den Funktionsumfang des Geräts zu erhöhen und zu erweitern. Wenden Sie sich an Ihren offiziellen Toro-Vertragshändler oder navigieren Sie auf www.Toro.com für eine Liste der zugelassenen Anbaugeräte und des Zubehörs.
Verwenden Sie nur Toro Originalersatzteile und Zubehör. Ersatzteile und Zubehör anderer Hersteller können gefährlich sein und eine Verwendung könnte die Garantie ungültig machen.
Note: Bestimmen Sie die linke und rechte Seite der Maschine anhand der üblichen Einsatzposition.
Kinder oder nicht geschulte Personen dürfen die Maschine weder verwenden noch warten. Örtliche Vorschriften bestimmen u. U. das Mindestalter von Benutzern. Der Besitzer ist für die Schulung aller Bediener und Mechaniker verantwortlich.
Machen Sie sich mit dem sicheren Betrieb der Maschine sowie den Bedienelementen und Sicherheitssymbolen vertraut.
Stellen Sie vor dem Verlassen des Fahrersitzes den Motor ab, ziehen Sie den Schlüssel ab und warten Sie, bis alle beweglichen Teile zum Stillstand gekommen sind. Lassen Sie die Maschine abkühlen, bevor Sie sie einstellen, warten, reinigen, oder einlagern.
Sie müssen wissen, wie Sie die Maschine schnell anhalten und den Motor abstellen können.
Prüfen Sie, ob alle Sitzkontaktschalter, Sicherheitsschalter, und Schutzvorrichtungen montiert und funktionsfähig sind. Nehmen Sie die Maschine nur in Betrieb, wenn diese richtig funktionieren.
Überprüfen Sie vor jedem Mähen, ob die Schnittmesser, -schrauben und die Mähwerke funktionsfähig sind. Tauschen Sie abgenutzte oder defekte Messer und -schrauben als komplette Sätze aus, um die Wucht der Messer beizubehalten.
Prüfen Sie den Arbeitsbereich gründlich und entfernen Sie alle Objekte, die von der Maschine aufgeschleudert werden könnten.
Diese Maschine erzeugt ein elektromagnetisches Feld. Wenn Sie ein implantierbares elektronisches medizinisches Gerät tragen, konsultieren Sie Ihren Arzt, bevor Sie diese Maschine verwenden.
Seien Sie besonders vorsichtig beim Umgang mit Kraftstoff. Kraftstoff ist brennbar und die Dämpfe sind explosiv.
Machen Sie alle Zigaretten, Zigarren, Pfeifen und andere Zündquellen aus.
Verwenden Sie nur einen vorschriftsmäßigen Benzinkanister.
Entfernen Sie nie den Tankdeckel oder füllen den Kraftstofftank, wenn der Motor läuft oder heiß ist.
Füllen Sie Kraftstoff nicht in einem geschlossenen Raum auf oder lassen ihn ab.
Lagern Sie die Maschine oder den Benzinkanister nie an Orten mit offener Flamme, Funken oder Zündflamme, z. B. Warmwasserbereiter, oder anderen Geräten.
Versuchen Sie niemals, bei Kraftstoffverschüttungen den Motor anzulassen. Vermeiden Sie Zündquellen, bis die Verschüttung verdunstet ist.
Prüfen Sie vor dem Anlassen des Motors und vor der Inbetriebnahme der Maschine erst den Ölstand im Kurbelgehäuse, siehe Überprüfen des Motorölstands.
Prüfen Sie vor dem Anlassen des Motors und vor Einsatz der Maschine erst die Kühlanlage, siehe Prüfen der Kühlanlage.
Vor dem Anlassen des Motors und dem Einsatz der Maschine sollten Sie die Hydraulikanlage prüfen, siehe Prüfen des Hydraulikölstands.
Lassen Sie Wasser und andere Verunreinigungen aus dem Wasserabscheider ab Ablassen von Wasser aus dem Kraftstofffilter/Wasserabscheider.
Prüfen Sie auf undichte Stellen an der Hinterachse und am Getriebe, siehe Prüfen auf undichte Stellen an der Hinterachse und am Getriebe.
Fassungsvermögen des Kraftstofftanks: 83 Liter
Important: Verwenden Sie nur Diesel mit extrem niedrigem Schwefelgehalt. Kraftstoff mit höherem Schwefelgehalt verunreinigt den Dieseloxidationskatalysator; dies führt zu Betriebsproblemen und verkürzt die Nutzungsdauer der Motorteile.Das Nichtbefolgen dieser Vorsichtsmaßnahmen zu Motorschäden führen.
Verwenden Sie nie Kerosin oder Benzin statt Dieselkraftstoff.
Mischen Sie nie Kerosin oder altes Motoröl mit Dieselkraftstoff.
Bewahren Sie Kraftstoff nie in Behältern auf, die innen verzinkt sind.
Verwenden Sie keine Kraftstoffzusätze.
Cetanwert: 45 oder höher
Schwefelgehalt: Extrem niedriger Schwefelgehalt (<15 ppm)
| Technische Angaben für Dieselkraftstoff | Ort |
| ASTM D975 | USA |
| Nr. 1-D S15 | |
| Nr. 2-D S15 | |
| EN 590 | Europäische Union |
| ISO 8217 DMX | International |
| JIS K2204 Grad Nr. 2 | Japan |
| KSM-2610 | Korea |
Verwenden Sie nur sauberen, frischen Dieselkraftstoff oder Biodieselkraftstoff
Kaufen Sie den Kraftstoff in Mengen ein, die innerhalb von 180 Tagen verbraucht werden können; damit stellen Sie sicher, dass der Kraftstoff frisch ist.
Verwenden Sie bei Temperaturen über -7 °C Sommerdiesel (Nr. 2-D) und bei niedrigeren Temperaturen Winterdiesel (Nr. 1-D oder Nr. 1-D/2-D-Mischung).
Note: Bei Verwendung von Winterdiesel bei niedrigeren Temperaturen besteht ein niedrigerer Flammpunkt und Kaltflussmerkmale, die das Anlassen vereinfachen und ein Verstopfen des Kraftstofffilters vermeiden.Die Verwendung von Sommerkraftstoff über -7 °C erhöht die Lebensdauer der Kraftstoffpumpe und steigert im Vergleich zum Winterkraftstoff die Kraft.
Diese Maschine kann auch mit einem Kraftstoff eingesetzt werden, der bis zu B20 mit Biodiesel vermischt ist (20 % Biodiesel, 80 % Benzindiesel).
Schwefelgehalt: Extrem niedriger Schwefelgehalt (<15 ppm)
Technische Daten für Biodiesel-Kraftstoff:ASTM D6751 oder EN 14214
Technische Angaben für Mischkraftstoff: ASTM D975, EN 590 oder JIS K2204
Important: Der Erdöldieselanteil muss einen extrem niedrigen Schwefelgehalt haben.
Befolgen Sie die nachstehenden Sicherheitsvorkehrungen:
Biodieselmischungen können lackierte Oberflächen beschädigen.
Verwenden Sie B5 (Biodiesel-Inhalt von 5 %) oder geringere Mischungen in kaltem Wetter.
Prüfen Sie Dichtungen und Schläuche, die mit Kraftstoff in Kontakt kommen, da sie sich nach längerer Zeit abnutzen können.
Nach der Umstellung auf Biodieselmischungen kann es zum Verstopfen des Kraftstofffilters kommen.
Weitere Informationen erhalten Sie vom offiziellen Toro-Vertragshändler.


Füllen Sie den Tank bis ca. 6 mm bis 13 mm unterhalb der Tankoberseite, nicht des Einfüllstutzens, mit Nr. 2 Dieselkraftstoff.
Note: Füllen Sie den Kraftstofftank falls möglich nach jeder Verwendung, dadurch verringert sich eine mögliche Kondensationsablagerung im Kraftstofftank.
| Wartungsintervall | Wartungsmaßnahmen |
|---|---|
| Bei jeder Verwendung oder täglich |
|
Der richtige Reifendruck beträgt 1,38 bar.
Important: Behalten Sie den korrekten Reifendruck bei, um eine gute Schnittqualität und optimale Maschinenleistung zu gewährleisten. Stellen Sie den Reifendruck nicht zu niedrig ein.Prüfen Sie den Reifendruck in allen Reifen, bevor Sie die Maschine verwenden.

| Wartungsintervall | Wartungsmaßnahmen |
|---|---|
| Nach der ersten Betriebsstunde |
|
| Nach 10 Betriebsstunden |
|
| Alle 200 Betriebsstunden |
|
Ziehen Sie die Radmuttern mit 115-136 N∙m in der in Bild 18 und Bild 19 angegebenen Reihenfolge an.


Wenn Sie die Radmuttern nicht fest genug ziehen, kann es zu Verletzungen kommen.
Ziehen Sie die Radmuttern mit dem korrekten Drehmomentwert an.
Lassen Sie den Überrollbügel aufgestellt und arretiert und legen Sie den Sicherheitsgurt an, um schwere oder tödliche Verletzungen aufgrund eines Überschlagens zu vermeiden.
Stellen Sie sicher, dass der Sitz durch den Sitzriegel gesichert ist.
Es besteht kein Überrollschutz, wenn der Überrollbügel abgesenkt ist.
Setzen Sie die Maschine nicht auf unebenem Terrain oder an einer Hanglage ein, wenn der Überrollschutz abgesenkt ist.
Senken Sie den Überrollbügel nur dann ab, wenn es wirklich erforderlich ist.
Legen Sie bei abgesenktem Überrollbügel keinen Sicherheitsgurt an.
Fahren Sie langsam und vorsichtig.
Richten Sie den Überrollbügel sofort wieder auf, wenn die Höhe es zulässt.
Achten Sie sorgfältig auf die lichte Höhe (wie z. B. zu Ästen, Pforten, Stromkabeln), bevor Sie unter irgendeinem Hindernis durchfahren, damit Sie diese nicht berühren.
Important: Legen Sie immer den Sicherheitsgurt an, wenn der Überrollbügel aufgestellt und arretiert ist. Legen Sie keinen Sicherheitsgurt an, wenn der Überrollbügel abgesenkt ist.
Important: Senken Sie den Überrollbügel nur ab, wenn es wirklich erforderlich ist.
Important: Stellen Sie sicher, dass der Sitz durch den Sitzriegel gesichert ist.


Important: Die Sichelmähwerke mähen häufig ca. 6 mm tiefer als ein Spindel-Mähwerk mit der gleichen Einstellung. Sie müssen ggf. den Standardbereich dieser Sichelmähwerke 6 mm höher einstellen als bei Spindel-Mähwerken, die in demselben Bereich schneiden.
Important: Der Zugang zu den Heckmähwerken ist einfacher, wenn Sie das Mähwerk von der Maschine abnehmen.
Parken Sie die Maschine auf einer ebenen Fläche, aktivieren Sie die Feststellbremse, senken Sie die Mähwerke ab, stellen Sie den Motor ab und ziehen Sie den Schlüssel ab.
Lockern Sie die Schrauben, mit denen die Schnitthöhenhalterungen an der Schnitthöhenplatte (vorne und an beiden Seiten) befestigt sind, siehe (Bild 22).
Nehmen Sie die Schraube, angefangen von der vorderen Einstellposition, ab.

Entfernen Sie das Distanzstück, während Sie gleichzeitig die Kammer abstützen (Bild 22).
Stellen Sie die Kammer auf die gewünschte Schnitthöhe ein und setzen Sie das Distanzstück im gewünschten Schnitthöhenloch und -schlitz ein (Bild 23).

Fluchten Sie die Befestigungsplatte mit dem Distanzstück aus.
Bringen Sie die Schraube handfest an.
Wiederholen Sie die Schritte 4 bis 7 für jede seitliche Einstellung.
Ziehen Sie alle drei Schrauben mit 41 N∙m an. Ziehen Sie die vordere Schraube immer zuerst an.
Note: Einstellungen über 3,8 cm erfordern ggf. den vorübergehenden Einbau auf einer dazwischenliegenden Höhe, um ein Festfressen zu verhindern (wie z. B. der Wechsel der Schnitthöhe von 3,1 cm auf 7 cm).
| Wartungsintervall | Wartungsmaßnahmen |
|---|---|
| Bei jeder Verwendung oder täglich |
|
Wenn die Sicherheitsschalter abgeklemmt oder beschädigt werden, kann die Maschine auf eine unerwartete Weise funktionieren, was Verletzungen verursachen kann.
An den Sicherheitsschaltern dürfen keine Veränderungen vorgenommen werden.
Prüfen Sie deren Funktion täglich und tauschen Sie alle defekten Schalter vor der Inbetriebnahme der Maschine aus.
Die Sicherheitsschalter stellen die Maschine ab, wenn der Bediener bei gedrücktem Fahrpedal vom Sitz aufsteht. Sie können jedoch den Sitz bei laufendem Motor verlassen, wenn das Fahrpedal in der NEUTRAL-Stellung ist. Obwohl der Motor weiter läuft, wenn der Zapfwellenschalter ausgekuppelt und das Fahrpedal gelöst ist, sollten Sie den Motor abstellen, bevor Sie den Sitz verlassen.
Parken Sie die Maschine auf eine ebenen Fläche, aktivieren die Feststellbremse, senken die Mähwerke ab und drehen den Schlüssel in die AUS-Stellung.
Treten Sie auf das Fahrpedal und drehen Sie den Schlüssel in die EIN-Stellung.
Note: Wenn der Motor anspringt, besteht eine Fehlfunktion bei den Sicherheitsschaltern. Beheben Sie den Fehler vor der Verwendung der Maschine.
Drehen Sie den Schlüssel in die EIN-Stellung, stehen vom Sitz auf und stellen den Zapfwellenschalter in die EIN-Stellung.
Note: Die Zapfwelle sollte nicht eingekuppelt sein. Wenn die Zapfwelle eingekuppelt ist, besteht eine Fehlfunktion bei den Sicherheitsschaltern. Beheben Sie den Fehler vor der Verwendung der Maschine.
Aktivieren Sie die Feststellbremse, drehen den Schlüssel in die EIN-Stellung und bewegen das Fahrpedal aus der NEUTRAL-Stellung.
Note: Im InfoCenter wird traction denied“ angezeigt, und die Maschine sollte sich nicht bewegen. Wenn sich die Maschine bewegt, sind die Sicherheitsschalter defekt. Beheben Sie den Fehler vor der Verwendung der Maschine.
| Wartungsintervall | Wartungsmaßnahmen |
|---|---|
| Bei jeder Verwendung oder täglich |
|
Note: Senken Sie die Mähwerke auf eine saubere Grünfläche oder eine feste Oberfläche ab, damit kein Staub oder Schmutz aufgewirbelt wird.
Um diese Nachlaufzeit zu überprüfen, setzen Sie sich auf den Sitz und schalten Sie die Zapfwelle aus. Hören Sie auf die Mähwerkmesser und notieren Sie die Zeit bis zum vollständigen Stillstand der Messer. Wenn sie erst nach sieben Sekunden oder länger zum Stillstand kommen, stellen Sie das Bremsventil ein. Ziehen Sie zum Durchführen dieser Einstellung Ihren offiziellen Toro-Vertragshändler hinzu.
Dieses Messer richtet die Halme in den meisten Bedingungen ausgezeichnet auf und verteilt sie. Ziehen Sie ein anderes Messer in Erwägung, wenn Sie eine geringere Aufrichtung der Halme oder eine geringere Verteilungsgeschwindigkeit wünschen.
Attribute: Ausgezeichnetes Anheben und Verteilen der Grashalme in den meisten Bedingungen
Dieses Messer eignet sich am besten für geringere Schnitthöhen von 1,9 cm bis 6,4 cm.
Attribute:
Schnittgut ist gleichmäßiger bei geringeren Schnitthöhen.
Schnittgut wird nicht so leicht nach links ausgeworfen. Dies ergibt ein besseres Aussehen um die Bunker und Fairways.
Geringerer Leistungsbedarf bei geringeren Höhen und dichtem Gras.
Das Messer liefert im Allgemeinen eine bessere Leistung in Schnitthöhen von 7 cm bis 10 cm.
Attribute:
Mehr Hub und größere Auswurfgeschwindigkeit.
Dünne oder abgeknickte Grünfläche wird hauptsächlich bei höheren Schnitthöhen aufgesammelt
Nasses oder klebriges Schnittgut wird besser ausgeworfen. Dies verhindert ein Verstopfen der Mähwerke.
Benötigt mehr Leistung für den Betrieb
Schnittgut wird meistens weiter nach links ausgeworfen und kann bei niedrigen Schnitthöhen zu Schwaden führen
Die Verwendung des Hochhubmessers mit dem Mulchablenkblech kann zum Bruch des Messers führen und schwere oder tödliche Verletzungen zur Folge haben.
Setzen Sie das Hochhubmesser also keinesfalls mit dem Mulchablenkblech ein.
Dieses Messer ist besonders für das Mulchen von Laub geeignet.
Attribute: Ausgezeichnetes Mulchen von Laub
| Abgewinkeltes Flügelmesser | Paralleles Hochhubmesser mit Windflügeln (nicht zusammen mit dem Mulchablenkblech verwenden) | Mulchablenkblech | Rollenabstreifer | |
| Mähen: Schnitthöhe von 1,9 cm bis 4,4 cm | Für die meisten Einsätze geeignet | Kann gute Ergebnisse bei leichtem oder dünnen Gras ergeben | Verbessert bewiesenermaßen die Verteilung und die Performance nach dem Mähen bei Grünflächen in nördlichen Regionen, bei denen mindestens dreimal die Woche weniger als ein Drittel der Grashalmlänge geschnitten wird. Nicht mit dem parallelen Hochhubmesser mit Windflügeln einsetzen | Verwenden Sie es immer dann, wenn sich an den Rollen Gras ansammelt oder Sie große, flache Grasklumpen erkennen. Die Abstreifer können bei gewissen Einsätzen das Verklumpen verstärken. |
| Mähen: Schnitthöhe von 5 cm bis 6,4 cm | Für dickes oder sattes Gras empfohlen | Für leichtes oder dünnes Gras empfohlen | ||
| Mähen: Schnitthöhe von 7 cm bis 10 cm | Kann gute Ergebnisse bei sattem Gras ergeben | Für die meisten Einsätze geeignet | ||
| Laubmulchen | Empfohlen für einen Einsatz mit dem Mulchablenkblech | Nicht zulässig | Nur Verwendung mit Kombinationsflügel, Atomic-Messer oder abgewinkeltem Flügelmesser | |
| Vorteile | Gleichmäßige Verteilung bei geringen Schnitthöhen; professionelleres Aussehen um Bunker und Fairways sowie geringere Kraftanforderungen. | Besseres Anheben und höhere Auswurfgeschwindigkeit. Dünne oder schwache Grashalme werden an der Schnitthöhe aufgenommen. Nasses oder klebriges Schnittgut wird leistungsfähig ausgeworfen | Kann bessere Verteilung und ein besseres Aussehen bei bestimmten Mäheinsätzen ergeben, sehr gut für Laubmulchen geeignet. | Reduziert Rollenablagerungen in gewissen Anwendungen. |
| Nachteile | Grashalme werden bei hohen Schnitthöhen nicht gut angehoben; nasse oder klebrige Grashalme lagern sich schnell in der Kammer ab und führen zu schlechter Schnittqualität und höherem Leistungsbedarf. | Benötigt mehr Kraft in einigen Anwendungen. Neigt bei sattem Gras zum Aufreihen bei niedrigeren Schnitthöhen. Keine Verwendung mit dem Mulchablenkblech. | Grasrückstände lagern sich in der Kammer ab, wenn Sie versuchen, zu viel Gras mit installiertem Ablenkblech zu mähen |
Das Display zeigt Informationen über Ihr Fahrzeug an, zum Beispiel Betriebszustand, unterschiedliche Diagnose- und andere Fahrzeuginformationen. Es gibt mehrere Bildschirme auf dem Display. Sie können jederzeit zwischen den Bildschirmen wechseln, wenn Sie eine Display-Taste drücken und den entsprechenden Richtungspfeil auswählen.

Note: Der Zweck jeder Taste hängt von den aktuellen Erfordernissen ab. Jede Taste ist mit einem Symbol beschriftet, das die aktuelle Funktion anzeigt.
![]() | Betriebsstundenzähler |
![]() | Einstellungen des virtuellen Pedalanschlags |
![]() | Der Bediener muss auf dem Sitz sitzen. |
![]() | Die Feststellbremse ist aktiviert. |
![]() | Kühlmitteltemperatur (°C oder °F) |
![]() | Fahrpedal |
![]() | Der Tempomat ist aktiviert. |
![]() | Anforderung für Standby-Regeneration zurücksetzen |
| Anforderung für geparkte oder Wiederherstellungsregeneration | |
![]() | Eine geparkte oder Wiederherstellungsregeneration wird ausgeführt. |
![]() | Hohe Abgastemperatur |
![]() | Fehlfunktion der NOx-Steuerungsdiagnose: fahren Sie die Maschine zurück in die Werkstatt und wenden Sie sich an Ihren autorisierten Toro-Vertragshändler (ab Softwareversion U). |
![]() | Die Zapfwelle ist deaktiviert. |
![]() | Die Zapfwelle ist eingekuppelt. |
![]() | Akku |
![]() | Warnung |
![]() | Aktiv |
![]() | Inaktiv |
![]() | Zurück |
![]() | Weiter |
![]() | Erhöhen |
![]() | Verringern |
![]() | Vorheriger Bildschirm |
![]() | Nächster Bildschirm |
![]() | Wert erhöhen |
![]() | Wert verringern |
![]() | Menü |
![]() | Hoch/runter scrollen |
![]() | Links/rechts scrollen |
![]() | Hydrauliköltemperatur (°C oder °F) |
![]() | Schneller oder hoher Bereich (Transport) |
![]() | Langsamer oder niedriger Bereich (Mähen) |
![]() | Lüfter (Gebläseumkehr) |
![]() | Alle Mähwerke angehoben |
![]() | Alle Mähwerke abgesenkt |
![]() | Mittlere Mähwerke angehoben |
![]() | Mittlere Mähwerke abgesenkt |
![]() | Linke Mähwerke angehoben |
![]() | Linke Mähwerke abgesenkt |
![]() | Rechte Mähwerke angehoben |
![]() | Rechte Mähwerke abgesenkt |
![]() | Verriegelt |
Nur
durch die Eingabe der PIN zugänglich
Drücken Sie auf dem Hauptbildschirm die Taste für den Menüzugriff, um das InfoCenter-Menüsystem zu öffnen. Das Hauptmenü wird angezeigt. In den folgenden Tabellen finden Sie eine Zusammenfassung der Optionen, die in den Menüs verfügbar sind:
| Hauptmenü: Menüelement | Beschreibung |
| Fehler | Das Fehler-Menü enthält eine Liste der letzten Maschinendefekte. Weitere Informationen zum Fehler-Menü und den im Menü enthaltenen Angaben finden Sie in der Wartungsbedienungsanleitung oder wenden Sie sich an den offiziellen Toro Vertragshändlers. |
| Wartung | Das Menü Wartung“ enthält Informationen zur Maschine, u. a. Betriebsstundenzähler und ähnliche Angaben. |
| Diagnostik | Im Menü Diagnostics“ wird der Zustand der Maschinenschalter, Sensoren sowie der Steuerausgabe angezeigt. Diese Angaben sind bei der Problembehebung nützlich, da Sie sofort sehen, welche Bedienelemente der Maschinen EIN- oder AUSGESCHALTET sind. |
| Einstellungen | Im Einstellungen-Menü können Sie Konfigurationsvariablen auf der Anzeige anpassen und ändern. |
| Maschineneinstellungen | Im Menü "Maschineneinstellungen" können Sie die Schwellenwerte für Beschleunigung, Geschwindigkeit und Gewichtsausgleich einstellen. |
| Info | Im Info-Menü wird die Modellnummer, Seriennummer und Softwareversion der Maschine aufgelistet. |
| Service: Menüelement | Beschreibung |
| Hours | Listet die Gesamtbetriebsstunden der Maschine, des Motors und der Zapfwelle auf, sowie die Transportstunden der Maschine und fälligen Kundendienst. |
| Counts | Listet zahlreiche Ereignisse für die Maschine auf. |
Fahrpedal![]() | |
Traktionspumpe![]() | |
| Fan | Gibt an, ob der Ventilator in den folgenden Situationen aktiv ist: Hohe Motortemperatur, hohe Öltemperatur, hohe Motor- oder Hydrauliktemperatur und Ventilator eingeschaltet |
| Kraftstoffmenge | Zeigt die verbrauchte Kraftstoffmenge an. |
| DPF Regeneration | Die Option für die Regeneration des Dieselpartikelfilters und die Untermenüs für den Dieselpartikelfilter |
| Diagnostics: Menüelement | Beschreibung |
| Left Cutting Unit | Weitere Informationen zum Menü Engine Run“ und den Menüelementen finden Sie in der Wartungsbedienungsanleitung, oder wenden Sie sich an den offiziellen Toro-Vertragshändler. |
| Center Cutting Unit | |
| Right Cutting Unit | |
| Traction | |
| HI/LO Range | |
| PTO | |
| Engine | |
CAN-Statistiken![]() |
| Einstellungen: Menüelement | Beschreibung |
| PIN eingeben | Ermöglicht einer Person (Vorarbeiter/Mechaniker), die von Ihrer Firma dazu berechtigt ist, mit dem PIN-Code auf die geschützten Menüs zuzugreifen |
| Backlight [Hintergrundbeleuchtung] | Steuert die Helligkeit des LCD-Displays. |
| Sprache | Steuert die für das InfoCenter verwendete Sprache*. |
| Schriftgröße | Steuert die Größe der Schrift auf dem Display. |
| Maßeinheiten | Steuert die auf dem InfoCenter verwendeten Maßeinheiten (englische oder metrisch). |
Geschützte Menüs![]() | Ermöglicht einer Person, die von Ihrer Firma dazu berechtigt ist, mit dem PIN-Code auf die geschützten Menüs zuzugreifen |
Einstellungen schützen![]() | Ermöglicht das Ändern der Einstellungen in den geschützten Einstellungen. |
Note: Das Menü Maschineneinstellungen wird nur angezeigt, wenn die PIN eingegeben wurde.
Maschineneinstellungen: Menüelement![]() | Beschreibung |
Mähgeschwindigkeit ![]() | Steuert die maximale Mähgeschwindigkeit (niedriger Bereich) |
Transp.- Geschwindigkeit![]() | Steuert die maximale Transportgeschwindigkeit (niedriger Bereich) |
Smart Power ![]() | Ein- und Ausschalten von Smart Power |
Gegengewicht ![]() | Steuert das richtige Gegengewicht, das von den Mähwerken angewendet wird |
Wenden ![]() | Ein- und Ausschalten der Wende-Funktion |
Beschleunigung ![]() | Die Einstellungen Niedrig“, Medium“ und Hoch“ steuern, wie schnell die Fahrgeschwindigkeit reagiert, wenn Sie das Fahrpedal bewegen. |
Geschützt
unter den geschützten Menüs – Nur durch die Eingabe
der PIN zugänglich
| Info: Menüelement | Beschreibung |
| Modell | Listet die Modellnummer der Maschine auf. |
| Seriennummer | Listet die Seriennummer der Maschine auf. |
| Maschinensteuerung Revision | Listet die Softwarerevision des Hauptsteuergeräts auf. |
| S/W Überprüfung | Listet die Softwarerevision des Hauptsteuergeräts auf. |
InfoCenter Revision![]() | Listet die Softwarerevision des InfoCenter auf |
Sekundäre Software![]() | Zeigt die Teilenummer und Revision der Mähwerkssteuerung für das Modell Groundsmaster 4700 an. |
| Stufe V | Zeigt je nach Motor ja oder nein an. |
Unter dem Menü EINSTELLUNGEN im InfoCenter befinden sich die Einstellmöglichkeiten für die Betriebskonfigurationen. Um diese Einstellungen zu sperren, benutzen Sie das GESCHüTZTE MENü.
Note: Bei der Auslieferung programmiert der Händler den anfänglichen Passcode.
Note: Der werksseitige Standard für den PIN-Code für Ihre Maschine ist entweder 0000 oder 1234.Wenn Sie den PIN-Code geändert und vergessen haben, wenden Sie sich an den offiziellen Toro-Vertragshändler.
Blättern Sie vom HAUPTMENü zum Menü EINSTELLUNGEN und drücken Sie die Auswahltaste (Bild 25).

Blättern in den EINSTELLUNGEN bis zu PIN EINGEBEN und drücken Sie die Auswahltaste (Bild 26A).

Drücken Sie für die Eingabe des PIN-Codes die auf/ab Navigationstasten Bild 26, bis die erste korrekte Ziffer angezeigt wird; drücken Sie dann die rechte Navigationstaste Bild 26, um auf die nächste Ziffer (B und C) zu gehen. Wiederholen Sie diesen Schritt, bis Sie die letzte Ziffer eingegeben haben.
Drücken Sie die Auswahltaste.
Note: Wenn der PIN-Code im Display akzeptiert wird und das geschützte Menü entsperrt ist, wird oben rechts auf dem Bildschirm PIN“ angezeigt.
Drehen Sie den Schlüsselschalter in die AUS-Stellung und dann in die EIN-Stellung, um das geschützte Menü zu sperren.
In EINSTELLUNGEN, scrollen Sie runter auf EINSTELLUNGEN SCHüTZEN.
Um die Einstellungen zu sehen und zu ändern,
ohne einen PIN-Code einzugeben, verwenden Sie die Auswahltaste, um
die EINSTELLUNGEN SCHüTZEN auf
(Aus) zu schalten.
Um die Einstellungen mit einem PIN-Code zu sehen und
zu ändern, verwenden Sie die Auswahltaste um die EINSTELLUNGEN SCHüTZEN auf
(Ein) zu schalten. Stellen
Sie den PIN-Code ein und stellen den Schlüssel im Zündschloss
in die AUS-Stellung und dann in die EIN-Stellung.
Der Timer für Service fällig“ wird nach Durchführung einer planmäßigen Wartungsmaßnahme zurückgesetzt.
In EINSTELLUNGEN, scrollen bis PIN EINGEBEN und die Auswahltaste drücken.
PIN eingeben; siehe Zugreifen auf die geschützten Menüs.
In WARTUNG, zu STUNDEN navigieren und die Auswahltaste drücken.
Nach unten scrollen bis zum SERVICE FäLLIG“.
Note: Wenn der Service gerade fällig ist, JETZT erscheint neben SERVICE FäLLIG.
Markieren Sie das Serviceintervall und drücken Sie die Auswahltaste.
Note: Das Serviceintervall (250 Stunden, 500 Stunden, usw.) befindet sich neben SERVICE FäLLIG“. Das Serviceintervall ist ein geschützter Menüpunkt.
Wann der SERVICE-TIMER ZURüCKSETZEN? Bildschirm erscheint, drücken sie die Auswahltaste für YES [Ja] oder die Taste Zurück“ für NO [Nein].
Nachdem Sie YES [Ja] gewählt haben, wird der Intervall-Bildschirm ausgeblendet und kehrt zur Auswahl Service Hours“ [Betriebsstunden] zurück.
Die gewählte Einstellung wird zusammen mit den Einstellungen des Tempomats und des Pedalanschlags als X auf dem Fahrgeschwindigkeits-Balkendiagramm angezeigt. Ein X in einem Balken zeigt Ihnen an, dass die Höchstgeschwindigkeit durch den Betreiber begrenzt ist (Bild 31).
Note: Diese Einstellung wird im Speicher beibehalten und auf die Fahrgeschwindigkeit angewandt, bis Sie diese ändern.
In MASCHINENEINSTELLUNGEN, runter scrollen auf MäHGESCHWINDIGKEIT.
Verwenden Sie die linke und rechte Navigationstaste, um die maximale Mähgeschwindigkeit in 5 %-Schritten auf dem Hauptbildschirm und in 10 %-Schritten im Menü MASCHINENEINSTELLUNGEN zu erhöhen. Der Einstellbereich für den Hauptbildschirm beträgt 10 bis 100 % und der Bereich für die MASCHINENEINSTELLUNGEN beträgt 30 bis 100 %.
Die gewählte Einstellung wird zusammen mit den Einstellungen des Tempomats und des Pedalanschlags als X auf dem Fahrgeschwindigkeits-Balkendiagramm angezeigt. Ein X in einem Balken zeigt Ihnen an, dass die Höchstgeschwindigkeit durch den Betreiber begrenzt ist (Bild 31).
Note: Diese Einstellung wird im Speicher beibehalten und auf die Fahrgeschwindigkeit angewandt, bis Sie diese ändern.
In MASCHINENEINSTELLUNGEN, runter scrollen auf TRANSPORTGESCHWINDIGKEIT.
Verwenden Sie die linke und rechte Navigationstaste, um die maximale Mähgeschwindigkeit in 5 %-Schritten auf dem Hauptbildschirm und in 10 %-Schritten im Menü MASCHINENEINSTELLUNGEN zu erhöhen. Der Einstellbereich für den Hauptbildschirm beträgt 10 bis 100 % und der Bereich für die MASCHINENEINSTELLUNGEN beträgt 30 bis 100 %.
In EINSTELLUNGEN, scrollen Sie runter auf SMART POWER.
Drücken Sie die rechte Navigationstaste, um zwischen EIN und AUS zu wechseln.
Blättern Sie in MASCHINENEINSTELLUNGEN nach unten auf GEGENGEWICHT.
Drücken Sie auf die rechte Navigationstaste, um Gegengewicht“ auszuwählen und wechseln Sie zwischen den Einstellungen NIEDRIG, MITTEL und HOCH.
In MASCHINENEINSTELLUNGEN, runter scrollen auf BESCHLEUNIGUNG.
Drücken Sie die rechte Navigationstaste, um zwischen NIEDRIG, MITTEL und HOCH zu wechseln.
Scrollen Sie im Menü EINSTELLUNGEN auf WENDEN.
Drücken Sie die rechte Taste, um zwischen ON und OFF zu wechseln.
Note: Aus Betriebsgründen entscheiden Sie ggf., eine geparkte Regeneration auszuführen, bevor die Rußlast 100 % erreicht, wenn der Motor mehr als 50 Betriebsstunden seit der letzten erfolgreichen Zurücksetzen-, Wiederherstellungsregeneration oder geparkten Regeneration gelaufen ist.
Im Menü Technician“ [Techniker] wird der aktuelle Zustand der Regenerationssteuerung des Motors und den erfassten Rußstand angezeigt.
Blättern Sie in EINSTELLUNGEN nach unten zu DPF-REGENERATION und drücken Sie die Auswahltaste.
Blättern sie im Menü DPF-REGENERATION nach unten zu TECHNICIAN [Techniker] und drücken Sie die Auswahltaste.


Blinkt rot - aktiver Fehler
Durchgehend rot - aktiver Hinweis
Durchgehend blau - Kalibrierung/Dialogmeldungen
Durchgehend grün - normaler Betrieb
Diese Maschine zeigt die geschätzten Fahrgeschwindigkeiten in Prozent an.
Die Geschwindigkeit wird zwischen 10 und 100 % für die Tempomat- und virtuellen Pedalanschlag-Bildschirme und zwischen 30 und 100 % im Menü MASCHINENEINSTELLUNGEN angezeigt.
Wenn die Maschine bei kaltem Wetter gestartet wird, begrenzt der Aufwärmmodus die Motordrehzahl für einen kurzen Zeitraum nach dem Anlassen des Motors auf eine niedrige Leerlaufdrehzahl, um mögliche Schäden an Komponenten durch den Betrieb der Maschine mit kaltem Öl zu vermeiden.
Ein Schneeflocken-Symbol
auf dem InfoCenter-Bildschirm zeigt an, dass
der Aufwärmbetrieb aktiv ist. Nehmen Sie die Maschine erst nach
der Aufwärmphase in Betrieb.
Der Besitzer bzw. Bediener ist für Unfälle oder Verletzungen von Dritten sowie Sachschäden verantwortlich und kann diese verhindern.
Tragen Sie geeignete Kleidung, u. a. eine Schutzbrille, lange Hosen, rutschfeste Arbeitsschuhe und einen Gehörschutz. Binden Sie lange Haare hinten zusammen und tragen Sie keinen Schmuck oder weite Kleidung.
Setzen Sie die Maschine nicht ein, wenn Sie müde oder krank sind oder unter Alkohol- oder Drogeneinfluss stehen.
Konzentrieren Sie sich immer bei der Verwendung der Maschine. Tun Sie nichts, was Sie ablenken könnte, sonst können Verletzungen oder Sachschäden auftreten.
Stellen Sie vor dem Anlassen des Motors sicher, dass alle Antriebe in der Neutralstellung sind, dass die Feststellbremse aktiviert ist und Sie in der Bedienungsposition sind.
Nehmen Sie nie Passagiere auf der Maschine mit und halten Sie alle unbeteiligten Personen und Haustiere aus dem Betriebsbereich der Maschine fern.
Setzen Sie die Maschine nur bei guten Sichtverhältnissen ein, um Löcher sowie andere verborgene Gefahren zu vermeiden.
Vermeiden Sie ein Mähen auf nassem Gras. Bei reduzierter Bodenhaftung kann die Maschine ins Rutschen geraten.
Berühren Sie bewegliche Teile nicht mit den Händen oder Füßen. Bleiben Sie immer von der Auswurföffnung fern.
Schauen Sie vor dem Rückwärtsfahren hinter sich und nach unten, um sicherzugehen, dass der Weg frei ist.
Seien Sie vorsichtig, wenn Sie sich unübersichtlichen Kurven, Sträuchern, Bäumen und anderen Objekten nähern, die Ihre Sicht behindern können.
Stellen Sie die Messer ab, wenn Sie nicht mähen.
Halten Sie die Maschine an, ziehen sie den Schlüssel ab und warten Sie, bis alle beweglichen Teile zum Stillstand gekommen sind, bevor Sie das Anbaugerät prüfen, wenn sie ein Objekt berührt haben oder ungewöhnliche Vibrationen auftreten. Führen Sie alle erforderlichen Reparaturen durch, ehe Sie die Maschine wieder in Gebrauch nehmen.
Fahren Sie beim Wenden und beim Überqueren von Straßen und Gehsteigen mit der Maschine langsam und vorsichtig. Geben Sie immer Vorfahrt.
Kuppeln Sie den Antrieb des Mähwerks aus, stellen Sie den Motor ab, ziehen Sie den Schlüssel ab und warten Sie, bis alle beweglichen Teile zum Stillstand gekommen sind, bevor Sie die Schnitthöhe einstellen (wenn Sie sie nicht von der Bedienerposition aus einstellen können).
Betreiben Sie den Motor nur in gut belüfteten Bereichen. Die Abgase enthalten Kohlenmonoxid, das beim Einatmen tödlich ist.
Lassen Sie niemals eine laufende Maschine unbeaufsichtigt zurück.
Bevor Sie den Fahrerstand verlassen, gehen Sie wie folgt vor:
Stellen Sie die Maschine auf einer ebenen Fläche ab.
Kuppeln Sie die Zapfwelle aus und senken Sie die Anbaugeräte ab.
Aktivieren Sie die Feststellbremse.
Stellen Sie den Motor ab und ziehen Sie den Schlüssel ab.
Warten Sie, bis alle beweglichen Teile zum Stillstand gekommen sind.
Setzen Sie die Maschine nur bei guten Sichtverhältnissen ein. Fahren Sie die Maschine nie bei Gewitter, bzw. wenn Gefahr durch Blitzschlag besteht.
Verwenden Sie die Maschine nicht als Zugmaschine.
Verwenden Sie nur von Toro® zugelassenes Zubehör, Anbaugeräte und Ersatzteile.
Verwenden Sie die Geschwindigkeitsregelung (falls vorhanden) nur, wenn Sie die Maschine in einem offenen, ebenen Bereich ohne Hindernisse betreiben können, in dem die Maschine ohne Unterbrechung mit konstanter Geschwindigkeit fahren kann.
Der Überrollschutz ist eine integrierte und leistungsfähige Sicherheitseinrichtung.
Entfernen Sie die Komponenten des Überrollschutzes nicht von der Maschine.
Stellen Sie sicher, dass der Sicherheitsgurt befestigt ist.
Ziehen Sie den Gurt über Ihren Schoß und stecken Sie ihn in das Gurtschloss auf der anderen Seite des Sitzes.
Zum Lösen des Sicherheitsgurts den Gurt festhalten, die Taste auf dem Gurtschloss drücken, um den Gurt zu lösen, und ihn durch die automatische Einzugsöffnung führen. Stellen Sie sicher, dass der Gurt in einem Notfall schnell gelöst werden kann.
Achten Sie immer auf hängende Objekte und berühren Sie sie nicht.
Halten Sie den Überrollschutz in einem sicheren Betriebszustand, überprüfen Sie ihn regelmäßig auf Beschädigungen und halten Sie alle Befestigungen angezogen.
Tauschen Sie beschädigte Teile des Überrollschutzes aus. Führen Sie keine Reparaturen oder Modifikationen daran aus.
Eine von Toro montierte Kabine ist ein Überrollbügel.
Legen Sie immer den Sicherheitsgurt an.
Beim Einsatz der Maschine mit aufgeklapptem Überrollbügel sollten Sie den Überrollbügel hochklappen und arretieren sowie den Sicherheitsgurt anlegen.
Senken Sie den Überrollbügel nur vorübergehend ab, wenn es wirklich erforderlich ist. Legen Sie keinen Sicherheitsgurt an, wenn der Überrollbügel abgesenkt ist.
Es besteht kein Überrollschutz, wenn der klappbare Überrollbügel abgesenkt ist.
Prüfen Sie den Mähbereich und senken Sie den klappbaren Überrollbügel nie in Bereichen mit Gefällen, Abhängen oder Gewässern ab.
Hanglagen sind eine wesentliche Ursache für den Verlust der Kontrolle und Umkippunfälle, die zu schweren ggf. tödlichen Verletzungen führen können. Sie sind für den sicheren Einsatz an Hanglagen verantwortlich. Das Einsetzen der Maschine an jeder Hanglage erfordert große Vorsicht.
Evaluieren Sie das Gelände, einschließlich einer Ortsbegehung, um zu ermitteln, ob die Maschine sicher auf der Hanglage eingesetzt werden kann. Setzen Sie immer gesunden Menschenverstand ein, wenn Sie diese Ortsbegehung durchführen.
Prüfen Sie die unten aufgeführten Anweisungen für den Einsatz der Maschine auf Hanglagen und ermitteln Sie, ob die Maschine in den Bedingungen an diesem Tag und an diesem Ort eingesetzt werden kann. Veränderungen im Gelände können zu einer Veränderung in der Neigung für den Betrieb der Maschine führen.
Vermeiden Sie das Anfahren, Anhalten oder Wenden der Maschine an Hanglagen. Vermeiden Sie plötzliche Geschwindigkeits- oder Richtungsänderungen. Wenden Sie möglichst langsam und vorsichtig.
Benutzern Sie die Maschine niemals unter Bedingungen, bei der die Bodenhaftung, das Lenkverhalten oder die Stabilität des Fahrzeugs gefährdet werden.
Entfernen oder markieren Sie Hindernisse, u. a. Gräben, Löcher, Rillen, Bodenwellen, Steine oder andere verborgene Gefahren. Hohes Gras kann Hindernisse verdecken. Die Maschine könnte sich in unebenem Terrain überschlagen.
Beim Arbeiten auf nassem Gras, Überqueren von steilen Hanglagen oder beim Fahren hangabwärts kann die Maschine die Bodenhaftung verlieren. Wenn die Antriebsräder die Bodenhaftung verlieren, kann die Maschine rutschen und zu einem Verlust der Bremsleistung und Lenkung führen.
Gehen Sie beim Einsatz der Maschine in der Nähe von Abhängen, Gräben, Böschungen, Gewässern oder anderen Gefahrenstellen besonders vorsichtig vor. Die Maschine kann sich plötzlich überschlagen, wenn ein Rad über den Rand fährt oder die Böschung nachgibt. Halten Sie stets einen Sicherheitsabstand von der Maschine zur Gefahrenstelle ein.
Achten Sie auf Gefahren unten am Hang. Mähen Sie die Hanglage mit einer handgeführten Maschine, wenn Gefahren vorhanden sind.
Halten Sie das/die Mähwerk(e), sofern möglich, beim Einsatz der Maschine an Hanglagen abgesenkt. Das Anheben des Mähwerks beim Arbeiten an Hanglagen kann zu einer Instabilität der Maschine führen.
Passen Sie besonders mit Heckfangsystemen oder anderen Anbaugeräten auf. Diese Geräte können die Stabilität der Maschine ändern und zu einem Verlust der Fahrzeugkontrolle führen.
Die Fahrgeschwindigkeit dieser Maschine wird wie bei einem normalen Automobil gesteuert , die durch das Fahrpedal kontrolliert wird.
Diese Maschine verfügt über keinen separaten Gasschalter oder Gashebel.
Wenn Sie den Fuß vom Fahrpedal nehmen, bremst die Maschine dynamisch bis zum Stillstand ab.
Die Pedalsteuerung ist optimiert, um ein reaktionsschnelles und dennoch stabiles Ansprechverhalten zu gewährleisten, so dass der Fahrer eine gleichbleibende Kontrolle über unwegsames Gelände behält und gleichzeitig ein schnelles und sanftes Bremsen ermöglicht.
Während des Transports funktioniert das Fahrpedal ähnlich wie bei einem Automobil und verändert die Motordrehzahl und die Fahrgeschwindigkeit in Abhängigkeit von der Fahrpedalstellung.
Beim Mähen wird die Motordrehzahl automatisch auf hohe Leerlaufdrehzahl angehoben.
Bei niedrigem Leerlaufdrehzahl des Motors wird die Motordrehzahl durch Ausführen einer Funktion wie Heben der Mähwerke oder Betätigen des Fahrpedals auf eine minimale Arbeitsdrehzahl angehoben, so dass genügend Leistung zur effizienten Ausführung der Funktion zur Verfügung steht.
Begrenzen Sie die Dauer des Leerlaufbetriebs der Maschine, wie für die Regeneration des Dieselpartikelfilters (DPF) empfohlen. Schalten Sie Maschine ab, um längere Leerlaufzeiten zu vermeiden.
Die Höchstgeschwindigkeiten, die in den PIN-geschützten Menüeinstellungen festgelegt werden, werden vom Betreiber eingestellt, um die maximale Fahrgeschwindigkeit der Maschine zu begrenzen.
Die erreichbaren Geschwindigkeiten für den Einsatz des Fahrpedals, des Tempomats und des Pedalanschlags werden alle durch die im PIN-geschützten Menü eingestellten Höchstgeschwindigkeiten begrenzt.
Wenn Sie den Motor starten und die Temperatur der Hydraulikflüssigkeit niedrig ist, erhöht sich die Motordrehzahl automatisch, um den Betrieb zu optimieren und die Maschine zu erwärmen. Die Motordrehzahl kehrt automatisch in den niedrigen Leerlauf zurück, nachdem sich die Temperatur der Hydraulikflüssigkeit in einem normalen Betriebsbereich befindet.
Unter normalen Betriebsbedingungen ist diese Maschine für den Betrieb in der H/L AUTO-Stellung am Geschwindigkeitsbereichsschalter (Bild 29) vorgesehen. Diese Position ermöglicht es der Maschine, automatisch zwischen niedrigen und hohen Geschwindigkeitsbereichen umzuschalten, je nachdem, ob die Maschine zum Mähen oder Fahren verwendet wird.
Wenn Sie die NIEDRIG-Stellung am Geschwindigkeitsbereichsschalter (Bild 29) wählen, arbeitet die Maschine immer im niedrigen Drehzahlbereich. Diese Einstellung ist für den Betrieb in einem Werkstattbereich, das Be- oder Entladen von einem Anhänger, das Befahren steiler Steigungen oder jeden anderen Betrieb vorzuziehen, bei dem die höheren Fahrgeschwindigkeiten des hohen Geschwindigkeitsbereichs nicht erwünscht sind.
Wenn Sie auf ein Hindernis stoßen, heben Sie die Mähwerke so an, dass Sie darum herum mähen können.
Wenn Sie die Maschine zwischen den Einsatzbereichen transportieren, schalten Sie die AUTO HI/LOW-Funktion ein, schalten Sie die Zapfwelle aus und heben Sie die Mähwerke vollständig an. Dadurch kann das Fahrpedal wie bei einem Automobil verwendet werden.
Fahren Sie in unebenem Gelände immer langsam.
Üben Sie die Bedienung der Maschine, um sich mit den Funktionen der Maschine vertraut zu machen.
Heben Sie die Mähwerke an, lösen Sie die Feststellbremse, treten Sie auf das Vorwärtsfahrpedal und fahren Sie vorsichtig auf einen freien Bereich.
Üben Sie das Fahren mit der Maschine, da sie ein hydrostatisches Getriebe hat, dessen Fahrverhalten sich von einigen anderen Rasenpflegemaschinen unterscheidet.
Üben Sie das Vorwärts- und Rückwärtsfahren sowie das Starten und Stoppen der Maschine. Nehmen Sie zum Anhalten Ihren Fuß vom Fahrpedal und lassen es in die NEUTRAL-Stellung zurückgehen.
Note: Beim Hangabwärtsfahren müssen Sie zum Stoppen u. U. das Rückwärtsfahrpedal treten.
Nehmen Sie den Fuß vom Fahrpedal und drücken Sie die Bremspedale nach unten, um schnell anzuhalten.
Üben Sie das Umfahren von Hindernissen bei angehobenen und abgesenkten Mähwerken. Fahren Sie vorsichtig zwischen Hindernissen durch, sodass Sie weder die Maschine noch die Mähwerke beschädigen.
Diese Maschine ist mit zwei Fahrgeschwindigkeitsbereichen ausgestattet: niedrig und hoch. Mit dem Geschwindigkeitsbereichsschalter können Sie die folgenden Positionen wählen (Bild 29):
Hoher/Niedriger Auto-Bereich
Wählen Sie die H/L AUTO-Stellung, damit die Maschine automatisch hohe oder niedrige Geschwindigkeit wählen kann. Die H/L AUTO-Stellung ist vergleichbar mit der Wahl der D-Einstellung (Fahren) in einem Auto mit Automatikgetriebe.
Note: Um mögliche Schäden des Rasens zu vermeiden, schaltet die Maschine nur dann zwischen niedrigem und hohem Bereich um, wenn sich das Fahrpedal in der NEUTRAL-Stellung befindet und die Räder nicht mehr in Bewegung sind.
Note: Die Mähwerke können nicht aus der Transportposition abgesenkt werden, während Sie die Maschine im hohen Geschwindigkeitsbereich betreiben.
Wenn die H/L AUTO-Stellung gewählt ist und die Mähwerke zum Mähen abgesenkt werden, ist der Geschwindigkeitsbereich auf den niedrigen Geschwindigkeitsbereich begrenzt.
Um eine hohe Geschwindigkeit zu erreichen, schalten Sie den Geschwindigkeitsbereichsschalter in die H/L AUTO-Stellung, schalten Sie die Zapfwelle aus und heben Sie die Mähwerke vollständig an.
Wenn die H/L AUTO-Stellung gewählt ist, schaltet die Maschine automatisch zwischen hohem und niedrigem Fahrgeschwindigkeitsbereich um, je nach Stellung der Mähwerke und/oder der Position des Zapfwellenschalters.
Niedriger Bereich
In der NIEDRIG-Stellung bleibt die Maschine immer im niedrigen Geschwindigkeitsbereich. Die NIEDRIG-Stellung ist vergleichbar mit der Wahl des 2, 1 ODER L-Gangs in einem Auto mit Automatikgetriebe.
Wenn die NIEDRIG-Stellung gewählt ist, arbeitet die Maschine nur im niedrigen Geschwindigkeitsbereich.
Verwenden Sie die NIEDRIG-Stellung, wenn Sie die Maschine auf einen Anhänger verladen oder in engen Bereichen wie in einer Werkstatt navigieren.

Dieses Pedal steuert die Vorwärts- und Rückwärtsgeschwindigkeit der Maschine sowie das dynamische Bremsen, wenn Sie die Maschine in die Neutralstellung zurückbringen.
Das Fahrpedal funktionieret wie bei einem Automobil – die Motordrehzahl und die Maschinengeschwindigkeit reagieren auf die Stellung des Fahrpedals.
Während des Transports funktioniert das Fahrpedal ähnlich wie bei einem Automobil und verändert die Motordrehzahl und die Fahrgeschwindigkeit in Abhängigkeit von der Fahrpedalstellung.
Während des Mähens wird die Motordrehzahl automatisch auf hohen Leerlauf angehoben, um die Mähleistung zu optimieren, und das Fahrpedal steuert nur die Fahrgeschwindigkeit.
Je weiter Sie das Pedal vorwärts oder rückwärts treten, desto schneller bewegt sich die Maschine.
Um die Maschine während des Transports oder Mähens zu einem sanften Stillstand zu bringen, stellen Sie das Fahrpedal mit dem Fuß mit der gewünschten Geschwindigkeit wieder in den Leerlauf.
Um die maximale Bremsleistung zu erreichen, entfernen Sie Ihren Fuß vom Fahrpedal und lassen Sie ihn in den Leerlauf zurückkehren. Die Maschine bremst dynamisch und kommt zu einem Stopp.
Dieses Traktionssystem ermöglicht es dem Fahrer, die Beschleunigungseinstellungen für den Fahrerkomfort und die Geländebedingungen anzupassen. Informationen zum Ändern der Einstellungen finden Sie hier Funktion des Beschleunigungsmodus.

Mit der Funktion Virtueller Pedalanschlag“ (VPS) können Sie vorübergehend die maximale Fahrgeschwindigkeiten für den Mäh- und Transportbereich festlegen.
Um auf diese Funktion zuzugreifen, drücken Sie im Hauptmenü auf dem InfoCenter die Navigationstaste nach oben oder unten (Bild 31).
Verwenden Sie das VPS, um die maximale Fahrgeschwindigkeit an Ihren Bedarf oder an die Anwendung anzupassen.
Sie können die VPS-Geschwindigkeitsgrenze nicht schneller als die durch die verantwortliche Person geschützte maximale Fahrgeschwindigkeit einstellen.
VPS ist eine vorübergehende Einstellung. Diese Funktion kehrt zu den von der verantwortlichen Person eingestellten Geschwindigkeitseinstellung zurück, wenn die Maschine über den Schlüsselschalter AUSgeschaltet wird.
Wird die maximale Fahrgeschwindigkeit über die geschützten Einstellungen für die maximale Geschwindigkeit oder den virtuellen Pedalanschlag geändert, wird das Fahrpedal automatisch so umprogrammiert, dass der gesamte Pedalweg zwischen dem Leerlauf und der neuen maximalen Geschwindigkeit genutzt wird.
Wenn Sie die maximale Fahrgeschwindigkeit herabsetzen, können Sie das Antriebssystem präzise steuern.

Verringern Sie während der Nutzung des VPS vorübergehend die maximale Geschwindigkeit für die folgenden Aufgaben:
Mähen des Reinigungsdurchgangs auf dem Fairway.
Arbeiten in oder in der Nähe der Werkstatt.
Verladen der Maschine auf einen Anhänger.
Note: Eine niedrigere Höchstgeschwindigkeit ermöglicht eine bessere Kontrolle bei der Durchführung dieser Aufgaben.
Important: In Notbremssituationen den Fuß vom Fahrpedal nehmen und dann die Bremspedale drücken.
Im niedrigen Geschwindigkeitsbereich können Sie die Bremsen einzeln zum Wenden oder zur Verbesserung der Traktion verwenden. Gehen Sie wie folgt vor, wenn Sie die Bremsen individuell verwenden:
Lösen Sie den Pedalsperrriegel (Bild 32).
Drücken Sie für den Wendeassistenten das entsprechende Bremspedal in die Richtung, in die Sie gerade wenden. Dies ermöglicht einen engeren Wenderadius.
Note: Verwenden Sie die Einzelbremsen jedoch vorsichtig, insbesondere auf weichem und nassen Gras, sonst können Sie versehentlich die Grünfläche beschädigen.
Drücken Sie für den Fahrassistenten leicht auf das entsprechende Bremspedal, das dem durchdrehenden Vorderreifen entspricht. An manchen Hängen rutscht das hangaufwärts liegende Rad durch und verliert die Bodenhaftung. Treten Sie in solchen Fällen langsam und sporadisch auf das hangaufwärts liegende Bremspedal, bis das hangaufwärts liegende Rad nicht mehr rutscht, wodurch sich die Bodenhaftung des hangabwärts liegenden Rades verbessert.

Der Tempomatschalter stellt den Tempomat ein, um die gewünschte Fahrgeschwindigkeit aufrechtzuerhalten. Wenn Sie hinten auf den Schalter drücken, wird der Tempomat deaktiviert; in der mittleren Stellung des Schalters ist der Tempomat aktiviert und die gewünschte Fahrgeschwindigkeit stellen Sie vorne am Schalter ein.
Nachdem der Tempomatschalter aktiviert und die Geschwindigkeit eingestellt wurde (Bild 33), verwenden Sie das InfoCenter, um die Geschwindigkeitseinstellung des Tempomaten anzupassen (Bild 31 und Bild 34).
Um den Tempomat auszuschalten, gehen Sie wie folgt vor:
Drücken Sie im Betrieb des hohen Geschwindigkeitsbereichs das Rückwärtsfahrpedal, drücken Sie die Betriebsbremsen oder drücken Sie den Tempomatschalter in die Position AUS.
Drücken Sie im Betrieb des niedrigen Geschwindigkeitsbereich das Rückwärtsfahrpedal, drücken Sie die Betriebsbremsen, schalten Sie den Zapfwellenschalter aus oder drücken Sie den Tempomatschalter in die Position AUS.

Legen Sie eine Geschwindigkeit am Tempomat für lange Strecken ohne viele Hindernisse fest.
Auf unebenem Gelände können Sie die Geschwindigkeit über das InfoCenter steuern.
Verwenden Sie den Tempomat für Wendemanöver wie folgt:
Stellen Sie den Tempomat auf eine langsamere Geschwindigkeit ein, die für ein Wendemanöver angenehm und sicher ist.
Drücken Sie das Fahrpedal, um die Geschwindigkeit zum Mähen während des Mähvorgangs zu erhöhen.
Nehmen Sie den Fuß vom Pedal, wenn Sie für den nächsten Mähdurchgang wenden.
Die Maschine verlangsamt auf die am Tempomat niedrige eingestellte Geschwindigkeit, so dass Sie bei konstanter Geschwindigkeit effizient wenden können.
Verwenden Sie nach dem Wenden das Fahrpedal, um die Geschwindigkeit der Maschine für den nächsten Mähdurchgang wieder zu erhöhen.
Diese Einstellung bestimmt, wie schnell die Maschine die Fahrgeschwindigkeit ändert und bewirkt die Verzögerung der Maschine im niedrigen Geschwindigkeitsbereich. Gehen Sie in die geschützte Menüs im InfoCenter ein, um den Beschleunigungsmodus zu ändern. Der Beschleunigungsmodus hat die folgenden drei Stellungen:
Niedrig: Geringfügige Beschleunigung und Verzögerung
Mittel: Mittlere Beschleunigung und Verzögerung
Hoch: Höchste Beschleunigung und Verzögerung
Der Wende-Modus ermöglicht Ihnen über einen einmaligen komfortablen Tastendruck das Anheben der Mähwerke über die Grasnarbe und ein vorübergehendes Anhalten der Messer. Damit können Sie sich auf das Manövrieren der Maschine am Ende des Mähdurchgangs oder auf das Umfahren von Hindernissen konzentrieren.
Note: Der Wende-Modus ist eine Funktion in den geschützten Einstellungen.
Wenn Sie den Wende-Modus in die EIN-Stellung einstellen und den Hubschalter kurz nach hinten (Bild 11) drücken, werden alle Mähwerke automatisch aus der Schwebestellung in eine voreingestellte Höhe angehoben und die Zapfwelle wird ausgekuppelt. Betätigen Sie den Hubschalter nach vorne, um mit dem Mähvorgang fortzufahren. Alle Mähwerke werden abgesenkt und die Zapfwelle wird eingekuppelt.
Wenn Sie den Wende-Modus in die AUS-Stellung stellen, können Sie die Mähwerke manuell aus der Schwebestellung anheben, indem Sie alle Hubschalter nach hinten gedrückt halten, bis die Mähwerke sich in der gewünschten Höhe befinden. Drücken Sie bei Maschinen der Serie Groundsmaster 4700 alle drei Hubschalter, um die sieben Mähwerke anzuheben (Bild 11). Die Zapfwelle wird erst eingekuppelt, wenn die Mähwerke auf die dieselbe zuvor eingestellte Höhe angehoben sind, wenn der Wende-Modus EINgeschaltet ist.
Note: Standardmäßig ist der Wende-Modus EIN.
Die Gegengewichtanlage erhält den Hydraulikgegendruck auf die Mähwerkhubzylinder. Das Ballastsystem überwacht den Antriebsdruck in Echtzeit und ändert dynamisch den Gegendruck des Hubzylinders, um die Traktionsfähigkeit und das Erscheinungsbild des Nachschnitts zu optimieren. Der Gegengewichtdruck wurde im Werk auf eine optimale Balance von Schnittbild und Antrieb in den meisten Grünflächenbedingungen eingestellt. Das Verringern der Gegengewichteinstellung führt ggf. zu einem stabileren Mähwerk, kann den Antrieb jedoch verschlechtern. Das Erhöhen der Gegengewichteinstellung kann den Antrieb verbessern, sich aber nachteilig auf das Schnittbild auswirken, siehe Einstellen des Gegengewichts.
Die anpassbaren Einstellregler für den Ballast sind wie folgt:
Gering: das meiste Gewicht auf den Mähwerken und das niedrigste Gewicht auf den Antriebsrädern
Mittel: mittleres Gewicht auf den Mähwerken und den Antriebsrädern
Hoch: das geringste Gewicht liegt auf den Mähwerken und das höchste Gewicht auf den Antriebsrädern der Maschine
Mit Smart Power muss der Bediener in schwierigen Bedingungen nicht auf die Motordrehzahl achten. Smart Power verhindert, dass die Maschine in schweren Grünflächen steckenbleibt. Hierfür wird die Maschinengeschwindigkeit automatisch gesteuert und die Mähleistung optimiert.
Note: Standardmäßig ist die Smart Power-Funktion EINgeschaltet.
Important: Entlüften Sie die Kraftstoffanlage, wenn einer der folgenden Umstände eingetreten ist:
Der Motor hat aufgrund von Kraftstoffmangel abgestellt.
Die Kraftstoffanlage wurde gewartet.
Nehmen Sie Ihren Fuß vom Fahrpedal und stellen Sie sicher, dass es in der NEUTRAL-Stellung ist. Stellen Sie sicher, dass die Feststellbremse aktiviert ist.
Drehen Sie den Zündschlüssel in die LAUF-Stellung. Die Glühkerzenlampe sollte aufleuchten.
Drehen Sie den Schlüssel in die START-Stellung, wenn die Glühkerzenlampe ausgeht.
Important: Lassen Sie den Anlasser nie länger als 15 Sekunden am Stück laufen, sonst kann dieser vorzeitig ausfallen. Stellen Sie den Zündschlüssel in die AUS-Stellung, wenn der Motor nach 15 Sekunden nicht anspringt, prüfen Sie die Bedienelemente und -vorgänge erneut, warten weitere 15 Sekunden und wiederholen den Vorgang.
Lassen Sie den Zündschlüssel sofort los und in die LAUF-Stellung zurückgehen, sobald der Motor anspringt.
Bei Temperaturen unter -7 °C kann der Anlasser 30 Sekunden lang laufen und sich dann 60 Sekunden lang abkühlen, bevor Sie einen zweiten Startversuch unternehmen.
Important: Stellen Sie den Motor ab und lassen ihn abkühlen, bevor Sie auf undichte Stellen, lose Teile und andere Defekte prüfen.
Important: Lassen Sie den Motor für 5 Minuten im Leerlauf laufen, bevor Sie ihn nach einem Einsatz unter voller Last ausschalten. Der Turbolader kann dann vor dem Abstellen des Motors abkühlen. Ansonsten kann dies zu einem vorzeitigen Ausfall des Turboladers führen.
Note: Senken Sie die Mähwerke immer ab, wenn Sie die Maschine parken. Dies lässt die Hydrauliklast von der Anlage ab, verhindert eine Abnutzung der Systemteile und verhindert auch ein versehentliches Absenken der Mähwerke.
Stellen Sie den Zapfwellenschalter in die AUS-Stellung.
Aktivieren Sie die Feststellbremse.
Drehen Sie den Zündschlüssel auf die AUS-Stellung.
Ziehen Sie den Zündschlüssel ab, um einem versehentlichen Anlassen vorzubeugen.
Note: Ein Mähen mit einer Rate, die den Motor belastet, fördert die Regeneration des Dieselpartikelfilters.
Lösen Sie die Bremse, schalten Sie die Zapfwelle aus und heben Sie die Mähwerke an.
Stellen Sie den Geschwindigkeitsbereichsschalter in die H/L AUTO- oder LOW-Stellung. Weitere Informationen finden Sie unter Verwendung des Schalters für hohen und niedrigen Geschwindigkeitsbereich.
Note: Wenn die H/L AUTO-Stellung gewählt ist und die Mähwerke angehoben werden, wählt die Maschine automatisch den hohen Geschwindigkeitsbereich.
Fahren Sie die Maschine mit dem Fahrpedal wie bei einem Automobil an den Einsatzort.
Richten Sie die Maschine außerhalb des Mähbereichs für den ersten Mähdurchgang aus.
Senken Sie die Mähwerke mit dem oder den Wippschaltern ab.
Tippen Sie den Hubschalter (GM4500) bzw. den mittleren Hubschalter (GM4700) nach hinten, um die Mähwerke in die Wendeposition zu heben.
Note: Die Wendeposition ist nur verfügbar, wenn sie unter den geschützten Menüs im InfoCenter aktiviert ist. Durch Antippen des Wippschalters, ohne ihn festzuhalten, werden die Mähwerke in die Wendeposition angehoben und die Messer gestoppt, bis die Mähwerk abgesenkt sind.
Ziehen Sie den Zapfwellenschalter heraus, um die Mähwerke einzukuppeln.
Note: Die Motordrehzahl steigt automatisch auf hohe Leerlaufdrehzahl an, wenn Sie die Mähwerke absenken und den Zapfwellenschalter betätigen.
Fahren Sie mit dem Fahrpedal langsam an den Mähbereich heran und senken Sie die Mähwerke mit dem Wippschalter ab, sobald die vorderen Mähwerke über dem Mähbereich sind.
Note: Üben Sie diesen Vorgang, um die Mähwerke nicht vorzeitig abzusenken oder einen unbeabsichtigten Bereich mähen.
Beginnen Sie mit dem Mähen der Fläche.
Nach Abschluss des Mähdurchgangs, tippen Sie den Hubschalter (GM4500) bzw. den mittleren Hubschalter (GM4700) nach hinten, um die Mähwerke in die Wendeposition zu heben.
Führen Sie eine tränenförmige Wende durch, um die Maschine schnell für den nächsten Durchgang auszurichten.
Drücken den Hubschalter (GM4500) bzw. den mittleren Hubschalter (GM4700) nach unten, um die Mähwerke aus der Wendeposition abzusenken und mit dem Mähen fortzufahren.
Der Dieselpartikelfilter (DPF) entfernt Ruß aus den Motorabgasen.
Der DPF-Regenerationsprozess nutzt die Wärme aus dem Motorabgas, die durch den Katalysator erhöht wird, um den angesammelten Ruß zu Asche zu reduzieren.
Beachten Sie Folgendes, um den Dieselpartikelfilter sauber zu halten:
Den Motor möglichst mit voller Motordrehzahl laufen lassen, um die Selbstreinigung des Dieselpartikelfilters zu fördern.
Verwenden Sie das richtige Motoröl.
Minimieren Sie die Zeit, in der Sie den Motor im Leerlauf laufen lassen.
Verwendet Sie nur Diesel mit extrem niedrigem Schwefelgehalt.
Vergessen Sie die Funktion des Dieselpartikelfilters nicht bei der Verwendung oder Wartung Ihrer Maschine. Der Motor unter Last erzeugt in der Regel eine ausreichende Abgastemperatur für die Regeneration des Dieselpartikelfilters.
Important: Verringern Sie die Dauer, für die Sie den Motor im Leerlauf laufen lassen oder den Motor mit einer niedrigen Motordrehzahl verwenden, um die Ansammlung von Ruß im Dieselpartikelfilter zu verringern.
Die Auspufftemperatur ist heiß (ca. 600 °C) bei der Regeneration des Dieselpartikelfilters. Heiße Auspuffgase können Sie oder andere Personen verletzen.
Lassen Sie den Motor nie in geschlossenen Räumen laufen.
Stellen Sie sicher, dass sich keine brennbaren Materialien in der Nähe der Auspuffanlage befinden.
Achten Sie darauf, dass die heißen Abgase nicht mit Oberflächen in Berührung kommen, die durch Hitze beschädigt werden können.
Fassen Sie kein heißes Teil der Auspuffanlage an.
Halten Sie sich nicht in der Nähe oder hinter dem Auspuffrohr der Maschine auf.
| Symbol | Symbolerklärung |
![]() | • Geparkt- oder Regenerationswiederherstellung-Symbol: Regeneration wird angefordert. |
| • Führen Sie die Regeneration sofort durch. | |
![]() | • Eine Regeneration wird quittiert und die Anfrage wird bearbeitet. |
![]() | • Eine Regeneration wird ausgeführt und die Abgastemperatur ist erhöht. |
![]() | • Fehlfunktion des NOx-Steuerungssystems: die Maschine muss gewartet werden. |
| Typ der Regeneration | Konditionen, die eine Regeneration des Dieselpartikelfilters bewirken | Dieselpartikelfilter-Beschreibung des Betriebs |
|---|---|---|
| Passiv | Tritt beim normalen Einsatz der Maschine mit hoher Motordrehzahl oder hoher Motorlast auf | • Im InfoCenter wird kein Symbol angezeigt, das die passive Regeneration angibt. |
| • Bei der passiven Regeneration verarbeitet der Dieselpartikelfilter sehr heiße Auspuffgase, oxidiert schädigende Emissionen und verbrennt Ruß zu Asche. | ||
| Unterstützt | Tritt bei niedriger Motordrehzahl, niedriger Motorlast oder der Computer erkennt, dass der DPF mit Ruß verstopft ist. | • Im InfoCenter wird kein Symbol angezeigt, das die unterstützte Regeneration angibt. |
| • Während der unterstützten Regeneration passt der Motorcomputer die Motoreinstellungen, um die Auspufftemperatur zu erhöhen. | ||
| Zurücksetzen | Tritt alle 100 Betriebsstunden auf | • Wenn das Symbol für die hohe Auspufftemperatur im InfoCenter angezeigt
wird, wird eine Regeneration ausgeführt. |
| Tritt auch auf, wenn der normale Motorbetrieb die zulässige Rußansammlung im Filter überschreitet. | ||
| • Während der Reset-Regeneration hält der Motorcomputer eine erhöhte Motordrehzahl aufrecht, um die Filterregeneration zu gewährleisten. |
| Typ der Regeneration | Konditionen, die eine Regeneration des Dieselpartikelfilters bewirken | Dieselpartikelfilter-Beschreibung des Betriebs |
|---|---|---|
| Geparkt | Tritt auf, weil der Computer feststellt, dass die automatische Reinigung des Dieselpartikelfilters nicht ausreichend war. | • Wenn das Reset-Standby/Geparkt-
oder Wiederherstellungsregeneration-Symbol oder eine Regeneration
angefordert wird. |
| Tritt auch auf, wenn Sie eine geparkte Regeneration eingeleitet haben. | ||
| Kann auftreten, weil die Regenerationsunterdrückung eingeleitet wurde und die automatische Reinigung des Dieselpartikelfilters deaktiviert wurde | • Führen Sie die geparkte Regeneration sobald wie möglich aus, damit keine Wiederherstellungsregeneration erforderlich ist. | |
| Kann aufgrund von falschem Kraftstoff oder Motoröl auftreten | • Eine geparkte Regeneration dauert 30 Minuten bis 60 Minuten. | |
| • Der Kraftstofftank muss mindestens ein Viertel der Kraftstoffmenge enthalten. | ||
| • Sie müssen die Maschine parken, um eine geparkte Regeneration auszuführen. | ||
| Wiederherstellung | Tritt auf, weil die Anforderung für eine geparkte Regeneration ignoriert wurde, wodurch sich der Dieselpartikelfilter kritisch verstopfen kann. | • Wenn das Reset-Standby/Geparkt- oder Wiederherstellungsregeneration-Symbol: oder eine Wiederherstellungsregeneration
angefordert wird. |
| • Eine Wiederherstellungsregeneration dauert ca. 3 Stunden. | ||
| • Der Kraftstofftank muss mindestens halb voll sein. | ||
| • Sie müssen die Maschine parken, um eine Wiederherstellungsregeneration auszuführen. |
Scrollen Sie im HAUPTMENü zu SERVICE und drücken Sie die Auswahltaste.
Blättern Sie in SERVICE zu DPF REGENERATION und drücken Sie die Auswahltaste.
Wählen Sie die gewünschte Regenerationsfunktion aus.

Zugriff auf das Menü zur DPF REGENERATION und scrollen Sie zu LAST REGEN [Letzte Regeneration].
Wählen Sie den Eintrag LAST REGEN [Letzte Regeneration] aus.
Ermitteln Sie mit dem Feld LAST REGEN die Betriebsstunden, für die Sie den Motor seit der letzten Rücksetzregeneration, geparkten Regeneration oder Wiederherstellungsregeneration eingesetzt haben.
Drücken Sie die Zurück“-Taste , um zum Bildschirm DPF-REGENERATION zurückzukehren.

Eine Reset-Regeneration erzeugt erhöhte Motorabgase. Wenn Sie die Maschine in der Nähe von Bäumen, Büschen, hohem Gras oder anderen temperaturempfindlichen Pflanzen oder Materialien betreiben, können Sie die Einstellung INHIBIT REGEN [Regeneration unterdrücken] verwenden, um zu verhindern, dass der Motorcomputer eine Reset-Regeneration durchführt.
Note: Die Option INHIBIT REGEN [Regeneration unterdrücken] wird immer dann verwendet, wenn die Maschine in einem geschlossenen Bereich gewartet wird.
Note: Wenn Sie das InfoCenter so einstellen, dass die Regeneration verhindert wird, zeigt das InfoCenter alle 15 Minuten eine Meldung an, wenn der Motor eine Reset-Regeneration anfordert.
Important: Wenn Sie den Motor abstellen und erneut anlassen, ist die Einstellung für Inhibit Regen.“ standardmäßig OFF.
Rufen Sie das Menü zur REGENERATION DES DIESELPARTIKELFILTERS auf und scrollen Sie zu INHIBIT REGEN [Regeneration unterdrücken].
Wählen Sie den Eintrag REGEN [Regeneration] aus.
Ändern Sie die Einstellung zur Unterdrückung der Regeneration von AUS auf EIN.
Stellen Sie sicher, die Maschine für den Typ der Regeneration, die Sie durchführen, genug Kraftstoff im Tank hat.
Geparkte Regeneration: Stellen Sie sicher, dass der Kraftstofftank mindestens ein Viertel der Kraftstoffmenge enthält, bevor Sie die geparkte Regeneration durchführen.
Wiederherstellungsregeneration: Stellen Sie sicher, dass der Kraftstofftank mindestens halb voll ist, bevor Sie die Wiederherstellunsregeneration durchführen.
Bringen Sie das Gerät in einen Bereich, der entfernt von brennbaren Materialien oder Gegenständen liegt, die durch Hitze beschädigt werden können.
Stellen Sie die Maschine auf einer ebenen Fläche ab, stellen Sie alle Bedienelemente in die NEUTRAL-Stellung, kuppeln Sie die Zapfwelle aus und senken Sie die Mähwerke ab.
Aktivieren Sie die Feststellbremse und warten Sie, bis der Motor die niedrige Leerlaufdrehzahl erreicht hat.
Wurde eine geparkte Regeneration vom Motorcomputer angefordert, folgen Sie den Meldungen im InfoCenter.
Important: Der Computer der Maschine bricht die Regeneration des Dieselpartikelfilters ab, wenn Sie die Motordrehzahl vom niedrigen Leerlauf erhöhen oder die Feststellbremse lösen.
Rufen Sie das Menü DPF REGENERATION auf und scrollen Sie nach unten zu PARKED REGEN [geparkte Regeneration] oder RECOVERY REGEN [Wiederherstellungsregeneration].
Wählen Sie den Eintrag PARKED REGEN [geparkte Regeneration] oder RECOVERY REGEN [Wiederherstellungsregeneration] aus.
Note: Um eine Wiederherstellungsregenerierung einzuleiten, müssen Sie den richtigen PIN-Code eingeben.
Überprüfen Sie auf dem Bildschirm REGEN PARAMETERS [Kraftstofftank überprüfen], dass der Kraftstofftank zu einem Viertel gefüllt ist, wenn Sie eine geparkte Regeneration durchführen, oder dass er halb voll ist, wenn Sie die Wiederherstellungsregeneration ausführen. Stellen Sie sicher, dass die Feststellbremse aktiviert ist und die Motordrehzahl auf niedrigen Leerlauf eingestellt ist. Drücken Sie die Auswahltaste, um fortzufahren.
Betätigen Sie im Bildschirm INITIATE DPF REGEN [Regeneration des Dieselpartikelfilters einleiten] die Weiter“-Taste, um fortzufahren.
Im InfoCenter wird die Meldung INITIATE DPF REGENERATION angezeigt.
Note: Betätigen Sie bei Bedarf das Abbrechen-Symbol, um den Regenerationsvorgang abzubrechen.
Im InfoCenter wird die Meldung über die Abschlusszeit angezeigt.
Das InfoCenter zeigt den Startbildschirm an und das
Symbol für die Bestätigung Regeneration wird eingeblendet
.
Note: Während der Ausführung der Regeneration des Dieselpartikelfilters
wird das Symbol für die hohe Auspufftemperatur
angezeigt.
Wenn der Motorcomputer eine geparkte oder Wiederherstellungsregeneration durchführt, zeigt das InfoCenter eine Meldung an. Drücken Sie eine beliebige Taste, um den Homebildschirm anzuzeigen.
Note: Kann die Regeneration nicht abgeschlossen werden, folgen Sie den Hinweisen und drücken Sie eine beliebige Taste, um den Startbildschirm zu verlassen.
Verwenden Sie die Einstellung PARKED REGEN CANCEL [geparkte Regeneration abbrechen] oder RECOVERY REGEN CANCEL [Wiederherstellungsregeneration abbrechen], um eine laufende geparkte oder Wiederherstellungsregeneration abzubrechen.
Blättern Sie im Menü DPF-REGENERATION zu PARKED REGEN [geparkte Regeneration] oder RECOVERY REGEN [Wiederherstellungsregenerierung].
Drücken Sie auf die Auswahltaste, um eine geparkte Regeneration oder eine Wiederherstellungsregeneration abzubrechen.

Der Kühlventilator des Motors wird normalerweise von der Maschine gesteuert. Die Maschine kann den Ventilator umkehren, um Rückstände vom Heckgitter zu blasen. In normalen Betriebsbedingungen steuert die Maschine die Ventilatorgeschwindigkeit und die Ventilatorrichtung, basierend auf der Temperatur des Kühlmittels und des Hydrauliköls. Der Ventilator wird automatisch umgekehrt, um Rückstände vom Heckgitter zu blasen.
Sie können den Lüfter manuell umkehren, wenn Sie die beiden äußeren Tasten oder die zwei inneren linken und rechten Tasten im InfoCenter (Bild 38) für zwei Sekunden drücken. Der Lüfter löst einen Rückwärtsblaszyklus manuell aus. Kehren Sie die Ventilatorrichtung um, wenn das Heckgitter verstopft ist oder die Maschine in die Werkstatt oder einen Einlagerungsbereich gefahren wird.

Das Ändern der Mähmuster verringert oft Probleme beim Schnittbild, die durch wiederholtes Mähen in der gleichen Richtung auftreten.
Weitere Informationen finden Sie in der Anleitung Beheben von Schnittbildproblemen“ (Aftercut Appearance Troubleshooting Guide) unter www.Toro.com.
Kuppeln Sie zum Mähen die Mähwerke ein und fahren den Arbeitsbereich langsam an. Senken Sie die Mähwerke ab, wenn sich die Frontmähwerke über dem Mähbereich befinden.
Orientieren Sie sich an einem Baum oder einem anderen Gegenstand in einiger Entfernung und fahren diesen geradlinig an, um ein professionelles gerades Schnittbild und Streifen herbeizuführen.
Heben Sie die Mähwerke an, sobald die Frontmähwerke den Mähbereich erreichen, und führen eine tränenförmige Wendung durch, um die Maschine schnell zum nächsten Übergang auszurichten.
Für die Mähwerke sind auch festgeschraubte Mulchablenkbleche erhältlich. Die Mulchablenkbleche funktionieren gut, wenn Sie die Grünfläche regelmäßig mähen, damit jeweils höchstens 25 mm der Schnittlänge des Grases entfernt wird. Wenn Sie bei eingebauten Mulchablenkblechen zu viel Gras schneiden, kann das Schnittbild leiden und der zum Rasenmähen erforderliche Kraftaufwand nimmt zu. Die Mulchablenkbleche eignen sich ebenfalls zum Zerschneiden von herbstlichem Laub.
Mähen Sie ca. 25 mm, aber nie mehr als ⅓ der Grashalme. Sie müssen bei extrem sattem und dichtem Gras u. U. die Schnitthöhe erhöhen.
Ein scharfes Messer mäht sauber, ohne Grashalme zu zerreißen oder zu zerhäckseln, was bei stumpfen Messern vorkommt. Abgerissene und zerhäckselte Grashalme werden an den Kanten braun. Dadurch reduziert sich das Wachstum, und die Anfälligkeit des Rasens für Krankheiten steigt. Stellen Sie sicher, dass sich das Messer in einwandfreiem Zustand befindet, und dass die Windflügel noch ganz sind; siehe Prüfen und Schärfen der Mähwerkmesser.
Stellen Sie sicher, dass die Mähwerkkammern in gutem Zustand sind. Biegen Sie alle Verbiegungen der Kammerteile gerade, um den korrekten Abstand zwischen Messersitzen und der Kammer sicherzustellen. Stellen Sie sicher, dass alle Rollen und Drehgelenke kein Spiel haben, um Rasenschäden oder ein schlechtes Erscheinungsbild nach dem Schnitt zu vermeiden.
Reinigen Sie die Maschine nach dem Mähen gründlich mit einem Gartenschlauch ohne Spritzdüse, um zu vermeiden dass Dichtungen und Lager durch einen zu hohen Wasserdruck verunreinigt oder beschädigt werden. Stellen Sie sicher, dass der Kühler und Ölkühler frei von Schmutz und Schnittgut bleiben. Nach dem Reinigen sollten Sie die Maschine auf mögliche Öllecks, Beschädigungen oder Abnutzung der hydraulischen und mechanischen Komponenten und die Mähwerke auf Schärfe prüfen.
Stellen Sie vor dem Verlassen des Fahrersitzes den Motor ab, ziehen Sie den Schlüssel ab und warten Sie, bis alle beweglichen Teile zum Stillstand gekommen sind. Lassen Sie die Maschine abkühlen, bevor Sie diese einstellen, warten, reinigen oder einlagern.
Um Brände zu vermeiden, stellen Sie sicher, dass Mähwerke, Antriebe, Schalldämpfer, Kühlsiebe und der Motorraum frei von Gras und Schmutzablagerungen sind. Wischen Sie Öl- und Kraftstoffverschüttungen auf.
Befinden sich die Mähwerke in der Transport-Stellung, verwenden Sie die formschlüssige mechanische Sicherung (sofern vorhanden), bevor Sie die Maschine unbeaufsichtigt lassen.
Lassen Sie den Motor abkühlen, bevor Sie die Maschine in einem geschlossenen Raum abstellen.
Ziehen Sie den Schlüssel ab und schließen Sie den Kraftstoffhahn (falls vorhanden), bevor Sie die Maschine einlagern oder schleppen.
Lagern Sie die Maschine oder den Benzinkanister nie an Orten mit offener Flamme, Funken oder Zündflamme, z. B. Warmwasserbereiter, oder andere Geräte.
Den/die Sicherheitsgurt(e) bei Bedarf warten und reinigen
Verhindern Sie mit den Lagerungsverbindungsleinen des Mähwerks, dass sich die äußeren Frontmähwerke absenken, wenn die Maschine über Nacht geparkt ist oder für eine längere Zeit eingelagert wird. Sie können mit den Lagerungsverbindungsleinen des Mähwerks auch verhindern, dass die Mähwerke absinken, wenn Sie die Maschine zwischen Arbeitsbereichen transportieren.

Vergewissern Sie sich, dass die Zapfwelle ausgekuppelt ist.
Stellen Sie die Maschine auf einer ebenen Fläche ab.
Aktivieren Sie die Feststellbremse.
Heben Sie die Mähwerke ganz an.
Fluchten Sie die Verbindungsleine zur Trägerwelle des Hubarms für das äußere Frontmähwerk aus (Bild 40).

Schieben Sie die Schleife der Verbindungsleine über die Trägerwelle, bis die Verbindungsleine fest in der Rille der Welle sitzt (Bild 40).
Wiederholen Sie die Schritte 5 und 6 für das äußere Frontmähwerk an der anderen Seite der Maschine.
Important: Nehmen Sie die Verbindungsleinen von den Trägerwellen ab, bevor Sie die Mähwerke absenken.
Note: Verstauen Sie die Verbindungsleinen, wenn Sie sie nicht verwenden.
Vergewissern Sie sich, dass die Zapfwelle ausgekuppelt ist.
Stellen Sie die Maschine auf einer ebenen Fläche ab.
Aktivieren Sie die Feststellbremse.
Schieben Sie die Schleife der Verbindungsleine bei abgesenkten Mähwerken in den Schlitz in der Verstärkungsplatte der Rollenstütze (Bild 41).

Verwenden Sie beim Transport über längere Strecken, über unebenes Gelände, beim Transport oder beim Einlagern der Maschine die beiden hinteren Transportriegel für die Mähwerke Nr. 6 und Nr. 7 (Bild 15).

Ziehen Sie den Schlüssel ab und schließen Sie den Kraftstoffhahn (falls vorhanden), bevor Sie die Maschine einlagern oder schleppen.
Gehen Sie beim Verladen und Abladen der Maschine auf einen/von einem Anhänger oder Pritschenwagen vorsichtig vor.
Verwenden Sie durchgehende Rampen für das Verladen der Maschine auf einen Anhänger oder Pritschenwagen.
Vergurten Sie die Maschine.
Im Notfall können Sie die Maschine durch Aktivieren der Bypass-Funktion an der stufenlosen Hydraulikpumpe und Schieben oder Schleppen bewegen.
Important: Schieben oder schleppen Sie die Maschine höchstens mit 3-4,8 km/h ab. Wenn Sie die Maschine mit einer höheren Geschwindigkeit schieben oder abschleppen, kann das interne Getriebe beschädigt werden.Die Überdruckventile müssen geöffnet sein, wenn die Maschine geschoben oder geschleppt wird.
Öffnen Sie die Motorhaube und ermitteln Sie die Überdruckventile (Bild 43), die sich oben an der Pumpe hinter dem Akku- bzw. Ablagefach befinden.
Drehen Sie jedes Ventil um drei Umdrehungen nach links, um das Ventil zu öffnen und Flüssigkeit intern abzulenken.
Note: Öffnen Sie die Ventile nicht mehr als drei Umdrehungen. Da das Öl abgelenkt wird, kann die Zugmaschine ohne Schäden am Getriebe langsam bewegt werden.


Schieben oder schleppen Sie die Maschine in Vorwärtsrichtung.
Important: Wenn Sie die Maschine rückwärts schieben oder schleppen müssen, benötigen Sie das Rückwärtsschleppkit (Bestellnr. 136-3620).
Schließen Sie nach dem Schieben oder Abschleppen der Maschine die Überdruckventile wieder. Ziehen Sie das Ventil auf 70 N∙m an.
Note: Vergurten Sie die Maschine in allen vier Ecken mit vom Verkehrsministerium zugelassenen Riemen.
An jeder Seite des Rahmens an der Bedienerplattform
An der hinteren Stoßstange


Note: Bestimmen Sie die linke und rechte Seite der Maschine anhand der üblichen Einsatzposition.
Important: Weitere Informationen zu Wartungsarbeiten finden Sie in der Motorbedienungsanleitung.
Important: Wenn Sie Wartungsarbeiten an der Maschine durchführen und den Motor mit einer Abluftleitung für den Motorauspuff laufen lassen, stellen Sie die Einstellung Inhibit Regen.“ in die EIN-Stellung, siehe Einstellen von Inhibit Regen.“.
Note: Laden Sie ein kostenfreies Exemplar des elektrischen oder hydraulischen Schaltbilds von www.Toro.com herunter und suchen Sie Ihre Maschine vom Link für die Bedienungsanleitungen auf der Homepage.
Bevor Sie den Fahrerstand verlassen, gehen Sie wie folgt vor:
Stellen Sie die Maschine auf einer ebenen Fläche ab.
Kuppeln Sie die Zapfwelle aus und senken Sie die Anbaugeräte ab.
Aktivieren Sie die Feststellbremse.
Stellen Sie den Motor ab und ziehen Sie den Schlüssel ab.
Warten Sie, bis alle beweglichen Teile zum Stillstand gekommen sind.
Tragen Sie geeignete Kleidung, u. a. eine Schutzbrille, lange Hose und rutschfeste Arbeitsschuhe. Halten Sie Hände, Füße, Kleidung, Schmuck und lange Haare von beweglichen Teilen fern.
Wenn Sie den Schlüssel im Zündschloss lassen, könnte eine andere Person den Motor versehentlich anlassen und Sie und Unbeteiligte schwer verletzen. Ziehen Sie den Schlüssel aus dem Zündschloss, bevor Sie Wartungsarbeiten durchführen.
Lassen Sie alle Maschinenteile abkühlen, ehe Sie mit Wartungsarbeiten beginnen.
Befinden sich die Mähwerke in der Transport-Stellung, verwenden Sie die formschlüssige mechanische Sicherung (sofern vorhanden), bevor Sie die Maschine unbeaufsichtigt lassen.
Führen Sie Wartungsarbeiten möglichst nicht bei laufendem Motor durch. Fassen Sie keine beweglichen Teile an.
Betreiben Sie den Motor nur in gut belüfteten Bereichen. Die Abgase enthalten Kohlenmonoxid, das beim Einatmen tödlich ist.
Stützen Sie die Maschine mit Achsständern ab, wenn Sie Arbeiten unter der Maschine ausführen.
Lassen Sie den Druck aus Maschinenteilen mit gespeicherter Energie vorsichtig ab.
Alle Teile der Maschine müssen sich in gutem Zustand befinden, und alle Hardware – insbesondere die Messerbefestigungen – korrekt festgezogen sein.
Ersetzen Sie abgenutzte und beschädigte Aufkleber.
Verwenden Sie nur Originalersatzteile von Toro, um eine sichere und optimale Leistung zu gewährleisten. Ersatzteile anderer Hersteller können gefährlich sein und eine Verwendung könnte die Garantie ungültig machen.
| Wartungsintervall | Wartungsmaßnahmen |
|---|---|
| Nach der ersten Betriebsstunde |
|
| Nach 10 Betriebsstunden |
|
| Nach 50 Betriebsstunden |
|
| Nach 200 Betriebsstunden |
|
| Bei jeder Verwendung oder täglich |
|
| Alle 50 Betriebsstunden |
|
| Alle 100 Betriebsstunden |
|
| Alle 200 Betriebsstunden |
|
| Alle 400 Betriebsstunden |
|
| Alle 500 Betriebsstunden |
|
| Alle 800 Betriebsstunden |
|
| Alle 1000 Betriebsstunden |
|
| Alle 2000 Betriebsstunden |
|
| Alle 3000 Betriebsstunden |
|
| Vor der Einlagerung |
|
| Alle 2 Jahre |
|
Wenn Sie den Schlüssel im Schlüsselschalter lassen, könnte eine andere Person den Motor versehentlich anlassen und Sie und Unbeteiligte schwer verletzen.
Ziehen Sie den Schlüssel ab, bevor Sie Wartungsarbeiten durchführen.
Kopieren Sie diese Seite für regelmäßige Verwendung.
| Wartungsprüfpunkt | Für KW: | ||||||
|---|---|---|---|---|---|---|---|
| Montag | Dienstag | Mittwoch | Donnerstag | Freitag | Samstag | Sonntag | |
| Prüfen Sie die Funktion der Sicherheitsschalter. | |||||||
| Prüfen Sie die Funktion der Bremsen. | |||||||
| Prüfen Sie den Ölstand im Motor. | |||||||
| Prüfen Sie den Stand des Kühlsystems. | |||||||
| Entleeren Sie den Kraftstoff-/Wasserabscheider. | |||||||
| Prüfen Sie den Luftfilter, die Staubschale und das Entlüftungsventil. | |||||||
| Achten Sie auf ungewöhnliche Motorengeräusche.1 | |||||||
| Prüfen Sie den Kühler und das -gitter auf Sauberkeit | |||||||
| Achten Sie auf ungewöhnliche Betriebsgeräusche. | |||||||
| Prüfen Sie den Stand des Hydrauliköls. | |||||||
| Prüfen Sie die Hydraulikschläuche auf Defekte. | |||||||
| Prüfen Sie die Dichtheit. | |||||||
| Prüfen Sie den Kraftstoffstand. | |||||||
| Prüfen Sie den Reifendruck. | |||||||
| Prüfen Sie die Funktion der Instrumente. | |||||||
| Prüfen Sie die Schnitthöheneinstellung. | |||||||
| Schmieren Sie alle Schmiernippel ein.2 | |||||||
| Reinigen Sie die Maschine. | |||||||
| Bessern Sie alle Lackschäden aus. | |||||||
|
1Prüfen Sie bei Startschwierigkeiten, bei zu starkem Qualmen oder unruhigem Motorlauf die Glühkerzen und Einspritzdüsen. 2Sofort nach jedem Reinigen, unabhängig von den aufgeführten Intervallen. |
|||||||
Important: Weitere Wartungsmaßnahmen finden Sie in der Bedienungsanleitung des Motorherstellers.
| Inspiziert durch: | ||
| Punkt | Datum | Informationen |
Heben Sie die Maschine an den folgenden Stellen an:
Vorne an der Maschine: Am Maschinenrahmen vor den Radantriebsmotoren (Bild 46)
Important: Stützen Sie die Maschine nicht an den Radantriebsmotoren ab. Die Hebevorrichtung darf keine Hydraulikschläuche und -leitungen berühren.

Heck der Maschine: In der Mitte der Achse (Bild 47)
Setzen Sie die Achsständer mit der entsprechenden Kapazität an beiden Seiten des Getriebes und unter der Achse an.
Important: Stützen Sie die Maschine nicht an der Spurstange ab.

Öffnen Sie die Motorhaube, um an das Chassis zu gelangen, wie in Bild 48 abgebildet.

Klappen Sie den Sitz hoch, um den Hydraulikhubraum zugänglich zu machen, wie in Bild 49 abgebildet.

| Wartungsintervall | Wartungsmaßnahmen |
|---|---|
| Alle 50 Betriebsstunden |
|
Schmierfettsorte: Nr. 2 Allzweckschmierfett auf Lithiumbasis
Die Schmiernippel und deren Anzahl sind:
Bremsstangen-Drehlager (5), wie in Bild 50 abgebildet

Hinterachsen-Drehbüchsen (2), wie in Bild 51 abgebildet

Lenkzylinder-Kugelgelenke (2), wie in Bild 52 abgebildet

Spurstangen-Kugelgelenke (2), wie in Bild 52 abgebildet
Achsschenkelbüchsen (2), wie in Bild 52 abgebildet
Important: Fetten Sie das obere Anschlussstück am Achsschenkelbolzen nur einmal jährlich (zwei Pumpstöße) ein.
Hubarmbüchsen (1 pro Mähwerk), wie in Bild 53 abgebildet

Hubzylinder-Büchsen (2 pro Mähwerk), wie in Bild 53 abgebildet
Spindelwellenlager des Mähwerks (2 pro Mähwerk), wie in Bild 54 abgebildet
Note: Sie können den Nippel nutzen, der am besten zugänglich ist. Pressen Sie Fett in den Nippel, bis etwas Fett an der Unterseite des Spindelgehäuses (unter dem Mähwerk) erscheint.

Trägerarmbüchsen des Mähwerks (1 pro Mähwerk), wie in Bild 54 abgebildet
Heckrollenlager (2 pro Mähwerk), wie in Bild 55 abgebildet

Important: Stellen Sie sicher, dass die Schmiermittelkerbe in jeder Rollenhalterung mit dem Schmiermittelloch an jedem Ende der Rollenwelle ausgefluchtet sind. Zum leichteren Ausfluchten der Kerbe und des Lochs hat ein Ende der Rollenwelle eine Ausfluchtungsmarkierung.
Stellen Sie den Motor ab und ziehen den Schlüssel ab, bevor Sie den Ölstand prüfen oder Öl in das Kurbelgehäuse einfüllen.
Ändern Sie nicht die Geschwindigkeit des Drehzahlreglers oder überdrehen den Motor.
| Wartungsintervall | Wartungsmaßnahmen |
|---|---|
| Alle 400 Betriebsstunden |
|
Prüfen Sie das Luftfiltergehäuse auf Beschädigungen, die eventuell zu einem Luftaustritt führen können. Ersetzen Sie ihn bei einer Beschädigung. Prüfen Sie die ganze Ansauganlage auf Lecks, Beschädigungen oder lose Schlauchklemmen.
Warten Sie den Luftfilter nur, wenn die Wartungsanzeige dies angibt (Bild 56). Das frühzeitige Auswechseln des Luftfilters erhöht nur die Gefahr, dass Schmutz in den Motor gelangt, wenn Sie den Filter entfernen.

Important: Stellen Sie sicher, dass die Abdeckung richtig angebracht ist und das Luftfiltergehäuse abdichtet.
Tauschen Sie den Luftfilter aus (Bild 57).


Note: Reinigen Sie den gebrauchten Einsatz nicht, da eine Reinigung das Filtermedium beschädigen kann.
Important: Versuchen Sie nie, den Sicherheitsfilter zu reinigen (Bild 58). Tauschen Sie den Sicherheitsfilter bei jeder dritten Wartung des Hauptluftfilters aus.

Stellen Sie die Anzeige (Bild 56) zurück, wenn sie auf Rot steht.
Verwenden Sie qualitativ hochwertiges Öl mit niedrigem Aschengehalt, das die folgenden Spezifikationen erfüllt oder übersteigt:
API-Klassifikation CJ-4 oder höher
ACEA-Klassifikation E6
JASO-Klassifikation DH-2
Important: Wenn Sie Motoröl verwenden, das nicht die Klassifikation API CJ-4 oder höher, ACEA E6 oder JASO DH-2 erfüllt, kann der Dieselpartikelfilter verstopfen und den Motor beschädigen.
Verwenden Sie Motoröl mit der folgenden Motorölviskosität:
Bevorzugte Ölsorte: SAE 15W-40 (über -18 °C)
Ersatzöl: SAE 10W-30 oder 5W-30 (alle Temperaturen)
Premium Motoröl von Toro ist vom offiziellen Toro-Vertragshändler mit einer Viskosität von 15W-40 oder 10W-30 erhältlich. Im Ersatzteilkatalog finden Sie die Bestellnummern.
| Wartungsintervall | Wartungsmaßnahmen |
|---|---|
| Bei jeder Verwendung oder täglich |
|
Der Motor wird vom Werk aus mit Öl befüllt. Prüfen Sie jedoch den Ölstand, bevor und nachdem Sie den Motor das erste Mal verwenden.
Important: Prüfen Sie das Motoröl täglich. Wenn der Stand des Motoröls über der Voll-Markierung am Peilstab liegt, ist das Motoröl ggf. mit Kraftstoff verdünnt.Wenn der Stand des Motoröls über der Voll-Markierung liegt, wechseln Sie das Motoröl.
Der Stand des Motoröls sollte am besten bei kaltem Motor vor dem täglichen Anlassen geprüft werden. Wenn der Motor gelaufen ist, lassen Sie das Öl für 10 Minuten in die Wanne zurücklaufen, bevor Sie den Ölstand prüfen. Wenn der Ölstand an oder unter der Nachfüllen-Markierung am Peilstab liegt, gießen Sie Öl nach, bis der Ölstand die VOLL-Markierung erreicht.Füllen Sie nicht zu viel Motoröl ein.
Important: Halten Sie den Stand des Motoröls zwischen den unteren und oberen Markierungen am Peilstab; der Motor kann ausfallen, wenn er mit zu wenig oder zu viel Öl verwendet wird.
Prüfen Sie den Ölstand im Motor, siehe Bild 59.


Note: Lassen Sie, wenn Sie die Ölsorte wechseln möchten, das Altöl vollständig aus dem Kurbelgehäuse ablaufen, bevor Sie das neue einfüllen.
Ca. 5,7 l mit Filter.
| Wartungsintervall | Wartungsmaßnahmen |
|---|---|
| Alle 500 Betriebsstunden |
|
Note: Den Hinweis für fällige Servicearbeiten im Infocenter zurückzusetzen, siehe Einstellen des Timers für Service fällig“.
Lassen Sie den Motor an und lassen Sie ihn ca. 5 Minuten lang laufen, damit sich das Öl erwärmt.
Parken Sie die Maschine auf einer ebenen Fläche, aktivieren Sie die Feststellbremse, stellen den Motor ab und ziehen den Schlüssel ab.
Tauschen Sie das Motoröl und den Motorölfilter aus (Bild 60).


Füllen Sie Öl in das Kurbelgehäuse, siehe Kurbelgehäuse-Ölfassungsvermögen und Überprüfen des Motorölstands.
| Wartungsintervall | Wartungsmaßnahmen |
|---|---|
| Alle 3000 Betriebsstunden |
|
Informationen zum Entfernen und Montieren des Dieseloxidationskatalysators und des Rußfilters am Dieselpartikelfilter finden Sie in der Wartungsanleitung.
Wenden Sie sich an Ihren offiziellen Toro-Vertragshändler für Ersatzteile für den Dieseloxidationskatalysator und den Rußfilter oder deren Wartung.
Wenden Sie sich nach dem Einsetzen eines sauberen Dieselpartikelfilters an den offiziellen Toro-Vertragshändler, um das elektronische Steuergerät des Motors zurückzusetzen.
Unter gewissen Bedingungen sind Dieselkraftstoff und -dünste äußerst brennbar und explosiv. Feuer und Explosionen durch Kraftstoff können Sie und Unbeteiligte verletzen und Sachschäden verursachen.
Betanken Sie die Maschine mit Hilfe eines Trichters und nur im Freien sowie wenn der Motor abgestellt und kalt ist. Wischen Sie verschütteten Kraftstoff auf.
Füllen Sie den Kraftstofftank nicht ganz auf. Füllen Sie so lange Kraftstoff in den Tank, bis der Füllstand auf zwischen 6 und 13 mm unterhalb der Unterseite des Füllstutzens steht. Der verbleibende Raum im Tank ist für die Ausdehnung des Kraftstoffes erforderlich.
Rauchen Sie beim Umgang mit Kraftstoff unter keinen Umständen und halten Kraftstoff von offenem Licht und jeglichem Risiko von Funkenbildung fern.
Lagern Sie Kraftstoff in einem sauberen, zulässigen Kanister und halten den Deckel aufgeschraubt.
| Wartungsintervall | Wartungsmaßnahmen |
|---|---|
| Alle 800 Betriebsstunden |
|
| Vor der Einlagerung |
|
Zusätzlich zu den aufgeführten Serviceintervallen, sollten Sie den Tank entleeren und reinigen, wenn die Kraftstoffanlage verschmutzt ist oder die Maschine längere Zeit eingelagert wird. Spülen Sie den Tank nur mit frischem Kraftstoff.
| Wartungsintervall | Wartungsmaßnahmen |
|---|---|
| Alle 400 Betriebsstunden |
|
Prüfen Sie die Kraftstoffleitungen auf Verschleiß, Defekte oder lockere Anschlüsse.

| Wartungsintervall | Wartungsmaßnahmen |
|---|---|
| Bei jeder Verwendung oder täglich |
|
Lassen Sie das Wasser aus dem Kraftstofffilter bzw. Wasserabscheider ab, wie in Bild 62 abgebildet.

| Wartungsintervall | Wartungsmaßnahmen |
|---|---|
| Alle 400 Betriebsstunden |
|
Wechseln Sie die Kraftstofffilterglocke aus, wie in Bild 63 abgebildet.

| Wartungsintervall | Wartungsmaßnahmen |
|---|---|
| Alle 400 Betriebsstunden |
|
Reinigen Sie den Bereich um den Kraftstofffilterkopf (Bild 64).

Entfernen Sie den Filter und reinigen die Kontaktfläche (Bild 64).
Fetten Sie die Filterdichtung mit sauberem Motorschmieröl ein. Weitere Informationen finden Sie in der Motorbedienungsanleitung.
Setzen Sie die trockene Filterglocke mit der Hand ein, bis die Dichtung die Kontaktfläche berührt; drehen Sie sie dann um eine weitere ½ Umdrehung fest.
Entlüften Sie den Filter und die Leitungen zur Hochdruckpumpe; siehe Vorfüllen der Kraftstoffanlage.
Lassen Sie den Motor an und achten Sie auf Undichtigkeiten am Filterkopf.
Der Kraftstoffansaugschlauch, der sich im Kraftstofftank befindet, hat ein Sieb, sodass keine Rückstände in die Kraftstoffanlage gelangen. Entfernen Sie den Kraftstoffansaugschlauch und reinigen Sie das Sieb nach Bedarf.
Entfernen Sie die Schlauchklemme, mit der der Kraftstoffzulaufschlauch am Anschlussstück des Kraftstoffansaugschlauchs befestigt ist (Bild 65).

Schließen Sie den Schlauch vom Anschlussstück ab (Bild 65).
Nehmen Sie den Kraftstoffansaugschlauch vom Kraftstofftank ab (Bild 65).
Note: Nehmen Sie den Schlauch direkt von der Büchse im Kraftstofftank ab.
Reinigen Sie das Sieb am Ende des Kraftstoffansaugschlauchs (Bild 65).
Stecken Sie den Kraftstoffansaugschlauch durch die Gummibüchse in den Kraftstofftank (Bild 65).
Note: Stellen Sie sicher, dass der Kraftstoffansaugschlauch richtig in der Gummibüchse sitzt.
Befestigen Sie den Zulaufschlauch am Anschlussstück des Kraftstoffansaugschlauchs und befestigen ihn mit der Schlauchklemme, die Sie in Schritt 1 entfernt haben.
Füllen Sie die Kraftstoffanlage vor, bevor Sie den Motor zum ersten Mal anlassen, wenn er infolge von Kraftstoffmangel abgestellt hat oder nach der Wartung der Kraftstoffanlage (z. B. Ablassen des Filters bzw. Wasserabscheiders, Austauschen des Kraftstoffschlauchs).
Führen Sie zum Befüllen der Kraftstoffanlage die folgenden Schritte aus.
Stellen Sie sicher, dass Kraftstoff im Kraftstofftank ist.
Führen Sie die folgenden Schritte aus, um den Filter und die Leitungen zur Hochdruckpumpe zu befüllen, um Verschleiß oder Beschädigungen an der Pumpe zu vermeiden:
Drehen Sie den Zündschlüssel 15 bis 20 Sekunden lang auf die EIN-Stellung.
Drehen Sie den Zündschlüssel 30 bis 40 Sekunden lang auf die AUS-Stellung.
Note: Dadurch kann das ECU heruntergefahren werden.
Drehen Sie den Zündschlüssel 15 bis 20 Sekunden lang auf die EIN-Stellung.
Überprüfen Sie den Filter und die Schläuche auf Undichtigkeiten.
Important: Füllen Sie die Kraftstoffanlage nicht mit dem Anlassermotor zum Anlassen des Motors vor.
Klemmen Sie vor dem Durchführen von Reparaturen an der Maschine den Akku ab. Klemmen Sie immer zuerst die Minusklemme und dann die Plusklemme ab. Schließen Sie immer zuerst den Pluspol und dann den Minuspol an.
Laden Sie den Akku in offenen, gut gelüfteten Bereichen und nicht in der Nähe von Funken und offenem Feuer. Stecken Sie das Ladegerät aus, ehe Sie die Batterie anschließen oder abklemmen. Tragen Sie Schutzkleidung und verwenden Sie isoliertes Werkzeug.
| Wartungsintervall | Wartungsmaßnahmen |
|---|---|
| Alle 50 Betriebsstunden |
|
Important: Klemmen Sie vor Schweißarbeiten an der Maschine das negative Akkukabel vom Batteriepol ab, um einer Beschädigung der elektrischen Anlage vorzubeugen. Vor Schweißarbeiten an der Maschine müssen Sie auch den Motor, das InfoCenter und die Maschinensteuergeräte abtrennen.
Note: Halten Sie die Klemmen und das ganze Akkugehäuse sauber, da sich ein schmutziger Akku langsam entlädt. Reinigen Sie zum Reinigen des Akkus den ganzen Kasten mit Natronlauge. Spülen Sie mit klarem Wasser nach. Überziehen Sie die Akkupole und Anschlüsse mit Grafo 112X-Schmiermittel (Toro-Bestellnummer 50547) oder mit Vaseline, um einer Korrosion vorzubeugen.
Lösen Sie den Riegel für die Abdeckung des rechten Ablagekastens und heben Sie die Abdeckung hoch (Bild 68).
Die Akkuflüssigkeit enthält Schwefelsäure, die ein tödliches Gift ist und starke chemische Verbrennungen verursacht.
Trinken Sie nie Akkusäure und vermeiden Sie den Kontakt mit Haut, Augen und Kleidungsstücken. Tragen Sie eine Schutzbrille, um Ihre Augen zu schützen, sowie Gummihandschuhe, um Ihre Hände zu schützen.
Füllen Sie den Akku an einem Ort, an dem immer klares Wasser zum Spülen der Haut verfügbar ist.
Nehmen Sie die Gummimuffe vom Pluspol ab und prüfen Sie den Akku.
Klemmen Sie das Minuskabel (Schwarz) vom Minuspol (-) des Akkus und das Pluskabel (Rot ) vom Pluspol (+) des Akkus ab (Bild 66).
Das unsachgemäße Verlegen der Akkukabel kann zu Schäden an der Maschine und den Kabeln führen und Funken erzeugen. Funken können zum Explodieren der Batteriegase führen, was Verletzungen zur Folge haben kann.
Trennen Sie immer das Minuskabel (Schwarz) ab, bevor Sie das Pluskabel (Rot) abtrennen.
Schließen Sie immer das Pluskabel (Rot) an, bevor Sie das Minuskabel (Schwarz) anschließen.
Akkupole und Metallwerkzeuge können an metallischen Teilen Kurzschlüsse verursachen, was Funken erzeugen kann. Funken können zum Explodieren der Gase im Akku führen und Verletzungen verursachen.
Beim Aus- und Einbau des Akkus verhindern, dass Akkupole mit Metallteilen der Maschine in Kontakt kommen.
Verhindern Sie durch den Einsatz von Metallwerkzeugen Kurzschlüsse zwischen Akkupolen und Metallteilen der Maschine.

Schließen Sie ein Ladegerät mit drei Ampere oder vier Ampere an die Akkupole an. Laden Sie den Akku mit drei bis vier Ampere für vier bis acht Stunden auf.
Beim Laden des Akkus werden Gase erzeugt, die explodieren können.
Rauchen Sie nie in der Nähe des Akkus und halten Sie Funken und offenes Feuer von des Akkus fern.
Wenn der Akku ganz aufgeladen ist, trennen Sie das Ladegerät von der Steckdose und den Akkupolen ab.
Klemmen Sie das Pluskabel (Rot) am Pluspol (+) des Akkus und das Minuskabel (Schwarz) am Minuspol (-) des Akkus an (Bild 66).
Befestigen Sie die Kabel mit Schrauben und Muttern an den Polen.
Note: Stellen Sie sicher, dass die Plusklemme (+) vollständig auf den Pluspol aufgezogen und das Kabel fest an den Akku angeklemmt ist. Das Kabel darf die Akkuabdeckung nicht berühren.
Überziehen Sie beide Akkupole und Anschlüsse mit Grafo 112X-Fett (Bestellnummer 505-47), mit Vaseline oder leichtem Schmierfett, um einer Korrosion vorzubeugen.
Ziehen Sie den Gummischuh über den Pluspol.
Schließen Sie die Konsolenabdeckung und befestigen Sie den Riegel.
Der Sicherungsblock der Maschine befindet sich im rechten Ablagekasten.

Lösen Sie den Riegel für die Abdeckung des rechten Ablagekastens und heben Sie die Abdeckung (Bild 68) hoch, um an den Sicherungsblock zu gelangen (Bild 69).

Wechseln Sie ggf. die offenen Sicherungen aus (Bild 69).

Schließen Sie die Abdeckung des rechten Ablagekastens und befestigen Sie die Abdeckung mit dem Riegel (Bild 68).

| Wartungsintervall | Wartungsmaßnahmen |
|---|---|
| Alle 400 Betriebsstunden |
|
Die Planetengetriebe bzw. Antriebsräder sollten am Ende kein Spiel haben (d. h. die Räder sollten sich nicht bewegen, wenn sie in eine Richtung parallel zur Achse gezogen oder geschoben werden).
Parken Sie die Maschine auf einer ebenen Fläche, aktivieren Sie die Feststellbremse, senken die Mähwerke ab, stellen den Motor ab und ziehen den Schlüssel ab.
Blockieren Sie die Hinterräder und heben die Front der Maschine an; stützen Sie die Vorderachse bzw. den Rahmen auf Stützböcken ab.
Unter Umständen ist eine aufgebockte Maschine unstabil und fällt vom Wagenheber, wodurch Personen unter der Maschine verletzt würden.
Lassen Sie den Motor nie an, wenn die Maschine aufgebockt ist.
Ziehen Sie immer den Schlüssel aus dem Zündschloss, bevor Sie von der Maschine absteigen.
Blockieren Sie die Räder, wenn Sie die Maschine mit einem Wagenheber aufbocken.
Stützen Sie die Maschine mit Stützböcken ab.
Fassen Sie eines der vorderen Antriebsräder an und drücken es zur Maschine bzw. ziehen es von der Maschine weg; achten Sie auf eine mögliche Bewegung.

Wiederholen Sie Schritt 3 für das andere Antriebsrad.
Wenn sich eines der Räder bewegt, wenden Sie sich an den Toro-Vertragshändler und lassen das Planetengetriebe überholen.
| Wartungsintervall | Wartungsmaßnahmen |
|---|---|
| Alle 400 Betriebsstunden |
|
Technische Angaben für das Öl: SAE 85W-140 Qualitätsgetriebeöl
Parken Sie die Maschine auf einer ebenen Fläche und positionieren Sie das Rad so, dass die Füllschraube auf 12 Uhr, die Prüfschraube auf 3 Uhr und die Ablassschraube auf 6 Uhr steht (Bild 72).

Entfernen Sie die Prüfschraube, die auf 3 Uhr steht (Bild 72).
Der Ölstand sollte am unteren Rand des Prüflochs sein.

Wenn der Ölstand niedrig ist, entfernen Sie die Füllschraube, die auf 12 Uhr steht, und füllen Sie Öl auf, bis es aus dem Loch an der 3-Uhr-Stellung austritt.
Prüfen Sie die O-Ringe für die Schrauben auf Abnutzung oder Beschädigungen.
Note: Wechseln Sie ggf. die O-Ringe aus.
Setzen Sie die Schrauben ein.
Wiederholen Sie die Schritte 1 bis 5 für das Planetengetriebe an der anderen Seite der Maschine.
| Wartungsintervall | Wartungsmaßnahmen |
|---|---|
| Nach 50 Betriebsstunden |
|
| Alle 800 Betriebsstunden |
|
Technische Angaben für das Öl: SAE 85W-140 Qualitätsgetriebeöl
Ölmenge für Planetengetriebe und Bremsgehäuse: 0,65 Liter
Parken Sie die Maschine auf einer ebenen Fläche und positionieren Sie das Rad so, dass die Füllschraube auf 12 Uhr, die Prüfschraube auf 3 Uhr und die Ablassschraube auf 6 Uhr steht, siehe Bild 72 in Prüfen des Ölstands im Planetengetriebe.
Entfernen Sie die Füllschraube, die auf 12 Uhr steht, und die Prüfschraube, die auf 3 Uhr steht (Bild 74).

Stellen Sie eine Auffangwanne unter die Nabe des Planetengetriebes, entfernen Sie die Ablassschraube, die auf 6 Uhr steht, und lassen das Öl vollständig ablaufen (Bild 74).
Prüfen Sie die O-Ringe für die Füll-, Prüf- und Ablassschrauben auf Abnutzung oder Beschädigungen.
Note: Wechseln Sie ggf. die O-Ringe aus.
Setzen Sie die Ablassschraube in das Ablassloch des Planetengetriebegehäuses ein (Bild 74).
Stellen Sie eine Auffangwanne unter das Bremsgehäuse, entfernen Sie die Ablassschraube und lassen das Öl ganz ablaufen (Bild 75).

Prüfen Sie den O-Ring der Schraube auf Abnutzung oder Beschädigungen und setzen Sie die Ablassschraube in das Bremsgehäuse ein.
Note: Wechseln Sie den O-Ring ggf. aus.
Füllen Sie das Planetengetriebe langsam durch das Füllschraubenloch mit 0,65 l SAE 85W-140 Qualitätsgetriebeöl.
Important: Wenn das Planetengetriebe gefüllt ist, bevor Sie 0,65 l Öl eingefüllt haben, warten Sie eine Stunde oder setzen Sie die Schraube ein und bewegen Sie die Maschine ca. 3 m, um das Öl gleichmäßig in der Bremsanlage zu verteilen. Entfernen Sie dann die Schraube und füllen das restliche Öl ein.

Setzen Sie die Füllschraube und die Prüfschraube ein.
Wischen Sie das Gehäuse des Planetengetriebes und der Bremse ab (Bild 77).

Wiederholen Sie die Schritte 1 bis 7 in Ablassen des Planetengetriebes und die Schritte 1 bis 3 für das Planetengetriebe bzw. die Bremse an der anderen Seite der Maschine.
| Wartungsintervall | Wartungsmaßnahmen |
|---|---|
| Bei jeder Verwendung oder täglich |
|
Prüfen Sie auf undichte Stellen an der Hinterachse und am Getriebe der Hinterachse.

| Wartungsintervall | Wartungsmaßnahmen |
|---|---|
| Alle 400 Betriebsstunden |
|
Die Hinterachse ist mit Getriebeöl der Sorte SAE 85W-140 gefüllt. Das Fassungsvermögen beträgt 2,4 l. Prüfen Sie die Dichtheit täglich.
Parken Sie die Maschine auf einer ebenen Fläche, aktivieren Sie die Feststellbremse, senken die Mähwerke ab, stellen den Motor ab und ziehen den Schlüssel ab.
Entfernen Sie eine Prüfschraube aus einem Ende der Achse und stellen sicher, dass das Öl die Unterseite des Lochs erreicht (Bild 79).
Note: Entfernen Sie bei niedrigem Ölstand die Füllschraube und füllen genug Öl ein, um den Stand bis an die Unterseite der Prüfschraubenöffnungen anzuheben.

| Wartungsintervall | Wartungsmaßnahmen |
|---|---|
| Nach 200 Betriebsstunden |
|
| Alle 800 Betriebsstunden |
|
Technische Daten für das Öl: SAE 85W-140 Qualitätsgetriebeöl
Fassungsvermögen der Achse: 2,4 l
Parken Sie die Maschine auf einer ebenen Fläche, aktivieren Sie die Feststellbremse, senken die Mähwerke ab, stellen den Motor ab und ziehen den Schlüssel ab.
Reinigen Sie den Bereich um die drei Ablassschrauben, d. h. jeweils eine an jedem Ende und eine in der Mitte (Bild 80).

Entfernen Sie die Ölstandprüfschrauben und den Entlüftungsdeckel an der Hauptachse, um das Ablassen des Öls zu fördern.
Entfernen Sie die Ablassschrauben und lassen das Öl in die Auffangwannen abfließen.
Setzen Sie die Schrauben ein.
Entfernen Sie eine Prüfschraube und füllen Sie die Achse mit ungefähr 2,4 l 85W-140 Getriebeöl oder bis die Unterseite des Lochs mit Öl bedeckt ist.
Drehen Sie die Prüfschraube wieder auf.
| Wartungsintervall | Wartungsmaßnahmen |
|---|---|
| Alle 400 Betriebsstunden |
|
Das Getriebe ist mit Getriebeöl der Sorte SAE 85W-140 gefüllt. Das Fassungsvermögen beträgt 0,5 l. Prüfen Sie die Dichtheit täglich.
Parken Sie die Maschine auf einer ebenen Fläche, aktivieren Sie die Feststellbremse, senken die Mähwerke ab, stellen den Motor ab und ziehen den Schlüssel ab.
Entfernen Sie die Prüf-/Füllschraube an der linken Getriebeseite und stellen sicher, dass das Öl die Unterseite des Lochs erreicht (Bild 81).
Note: Füllen Sie bei einem niedrigen Stand genug Öl auf, um den Stand bis an die Unterseite des Lochs anzuheben.

| Wartungsintervall | Wartungsmaßnahmen |
|---|---|
| Alle 800 Betriebsstunden |
|
Parken Sie die Maschine auf einer ebenen Fläche, aktivieren Sie die Feststellbremse, senken die Mähwerke ab, stellen den Motor ab und ziehen den Schlüssel ab.
Messen Sie den Abstand vorne und hinten an den Lenkreifen Mitte-zu-Mitte (auf Achshöhe) (Bild 82).
Note: Der Wert für vorne darf höchstens 3 mm kleiner sein als der Wert für hinten.

Entfernen Sie den Splint und die Mutter von einem der Spurstangen-Kugelgelenke (Bild 83). Entfernen Sie das Spurstangen-Kugelgelenk vom Achsständer.

Lockern Sie die Klemmen an beiden Enden der Spurstangen (Bild 83).
Drehen Sie das abgenommene Kugelgelenk um eine komplette Umdrehung nach innen oder außen und ziehen Sie die Klemme am losen Ende der Spurstange an.
Drehen Sie die ganze Spurstange um eine ganze Umdrehung dieselbe Richtung (nach innen oder außen) und ziehen Sie die Klemme am angeschlossenen Ende der Spurstange an.
Montieren Sie das Kugelgelenk in der Achsengehäusestütze, ziehen Sie die Mutter mit der Hand an und messen die Vorspur.
Wiederholen Sie das Verfahren bei Bedarf.
Ziehen Sie die Mutter fest und montieren Sie einen neuen Splint, wenn die Einstellung korrekt ist.
Ein Verschlucken von Motorkühlmittel kann zu Vergiftungen führen; Kinder und Haustiere sollten keinen Zugang zum Kühlmittel haben.
Ablassen von heißem, unter Druck stehendem Kühlmittel bzw. eine Berührung des heißen Kühlers und benachbarter Teile kann zu schweren Verbrennungen führen.
Lassen Sie den Motor immer für mindestens 15 Minuten abkühlen, bevor Sie den Kühlerdeckel abnehmen.
Verwenden Sie beim Öffnen des Kühlerdeckels einen Lappen und öffnen den Kühler langsam, damit Dampf ohne Gefährdung austreten kann.
Setzen Sie die Maschine nie mit abgenommenen Abdeckungen ein.
Halten Sie Finger, Hände und Kleidungsstücke vom sich drehenden Lüfter und dem Treibriemen fern.
Der Kühlmittelbehälter ist werkseitig mit einer 50/50-Lösung aus Wasser und langlebigem Kühlmittel auf Ethylenglykolbasis gefüllt.
Important: Verwenden Sie nur handelsübliche Kühlmittel, die den in der Tabelle Kühlmittelprodukte mit verlängerter Lebensdauer“ aufgeführten Spezifikationen entsprechen.Verwenden Sie kein herkömmliches (grünes) Kühlmittel mit anorganischer Säuretechnologie (IAT) in Ihrer Maschine. Mischen Sie kein herkömmliches Kühlmittel mit Kühlmittel mit verlängerter Lebensdauer.
|
Ethylen-Glykol Kühlmittel |
Korrosionsinhibitor |
|
Frostschutzmittel mit verlängerter Lebensdauer |
Organische-Säure Technologie (OAT) |
|
Important: Verlassen Sie sich nicht auf die Farbe des Kühlmittels, um den Unterschied zwischen herkömmlichen (grün) Kühlmittel mit anorganischer Säuretechnologie (IAT) und Kühlmittel mit verlängerter Lebensdauer zu erkennen.Hersteller können Kühlmittel mit verlängerter Lebensdauer in einer der folgenden Farben einfärben: rot, rosa, orange, gelb, blau, türkis, violett und grün. Verwenden Sie Kühlmittel, die den in der Tabelle Kühlmittelprodukte mit verlängerter Lebensdauer“ Spezifikationen entsprechen. |
|
|
ATSM International |
SAE International |
|
D3306 und D4985 |
J1034, J814 und 1941 |
Important: Die Kühlmittelkonzentration sollte ein 50/50-Gemisch aus Kühlmittel und Wasser sein.
Bevorzugt: Wenn Sie Kühlmittel aus einem Konzentrat mischen, mischen Sie es mit destilliertem Wasser.
Bevorzugte Option: Wenn kein destilliertes Wasser verfügbar ist, verwenden Sie ein vorgemischtes Kühlmittel anstelle eines Konzentrats.
Mindestanforderung: Wenn destilliertes Wasser und vorgemischtes Kühlmittel nicht zur Verfügung stehen, mischen Sie konzentriertes Kühlmittel mit sauberem Trinkwasser.
| Wartungsintervall | Wartungsmaßnahmen |
|---|---|
| Bei jeder Verwendung oder täglich |
|
Fassungsvermögen des Kühlsystems: 8,5 l
Lüfter und Treibriemen, die sich drehen, können zu Verletzungen führen.
Betreiben Sie die Maschine niemals mit abgenommenen Abdeckungen.
Halten Sie Finger, Hände und Kleidungsstücke vom sich drehenden Lüfter und dem Treibriemen fern.
Stellen Sie den Motor ab und ziehen den Schlüssel ab, bevor Sie Wartungsarbeiten durchführen.
Parken Sie die Maschine auf einer ebenen Fläche, aktivieren Sie die Feststellbremse, senken die Mähwerke ab, stellen den Motor ab und ziehen den Schlüssel ab.
Nehmen Sie den Kühlerdeckel ab.

Prüfen Sie den Kühlmittelstand im Kühler. Der Kühler sollte bis zur Oberseite des Füllstutzens und das Ausdehnungsgefäß bis zur VOLL-Markierung gefüllt sein (Bild 84).
Füllen Sie bei niedrigem Füllstand eine 50:50-Mischung aus Wasser und permanentem Ethylenglykol-Frostschutzmittel nach; siehe Empfohlenes Kühlmittel. Verwenden Sie niemals pures Wasser oder Kühlmittel auf Methanolbasis.
Setzen Sie den Kühlerdeckel und den Deckel des Ausdehnungsgefäßes wieder auf.
| Wartungsintervall | Wartungsmaßnahmen |
|---|---|
| Bei jeder Verwendung oder täglich |
|
Diese Maschine ist mit einem hydraulisch angetriebenen Lüfterantriebssystem ausgestattet, das automatisch (oder manuell) rückwärts läuft, um eine Rückstandsablagerung am Kühler bzw. Ölkühler sowie Gitter zu verringern. Dieses Feature verringert den Zeitaufwand für das Reinigen des Ölkühlers bzw. Kühlers, ersetzt jedoch nicht die regelmäßige Reinigung. Sie müssen den Ölkühler bzw. Kühler weiterhin regelmäßig reinigen und prüfen.
Parken Sie die Maschine auf einer ebenen Fläche, aktivieren Sie die Feststellbremse, senken die Mähwerke ab, stellen den Motor ab und ziehen den Schlüssel ab.
Lassen Sie die Maschine abkühlen; siehe Wartungssicherheit und Hinweise zur Sicherheit des Kühlsystems.
Entriegeln und schwenken Sie das hintere Gitter in die geöffnete Stellung (Bild 85).
Note: Wenn Sie das Gitter entfernen möchten, heben Sie es aus den Gelenkstiften heraus.
Entfernen Sie alle Schmutzrückstände aus dem Drehgitter.

Reinigen Sie beide Seiten des Ölkühlers und des Kühlers gründlich mit Druckluft (Bild 86).
Note: Blasen Sie Rückstände von vorne nach hinten heraus. Reinigen Sie dann von hinten und blasen Sie nach vorne. Wiederholen Sie die Schritte mehrmals, bis alle Rückstände entfernt sind.

Important: Das Reinigen des Kühlers bzw. Ölkühlers mit Wasser kann zu frühzeitigem Verrosten, einer Beschädigung der Bauteile und Verdichtung der Ablagerungen führen.
Schließen Sie das hintere Gitter und befestigen es mit dem Riegel.
Stellen Sie die Betriebsbremsen ein, wenn das Bremspedal mehr als 25 mm hat, oder wenn die Bremsen nicht mehr gut genug greifen. Als Spiel gilt die Entfernung, die das Bremspedal zurücklegt, bevor ein Bremswiderstand spürbar ist.
Parken Sie die Maschine auf einer ebenen Fläche, aktivieren Sie die Feststellbremse, senken die Mähwerke ab, stellen den Motor ab und ziehen den Schlüssel ab.
Lösen Sie den Sperrriegel an den Bremspedalen, sodass beide Bremsen unabhängig voneinander funktionieren.
Ziehen Sie die Bremsen wie folgt an, um das Spiel der Bremspedale zu reduzieren:
Lockern Sie die vordere Mutter an der Gewindeseite des Bremszuges (Bild 87).

Ziehen Sie die hintere Mutter an, um den Zug nach hinten zu bewegen, bis die Bremspedale ein Spiel von 13 mm bis 25 mm aufweisen.
Ziehen Sie die vordere Mutter fest, wenn die Bremsen einwandfrei eingestellt sind.
| Wartungsintervall | Wartungsmaßnahmen |
|---|---|
| Alle 100 Betriebsstunden |
|
Bei einer richtigen Riemenspannung lässt sich der Riemen 10 mm durchbiegen, wenn eine Kraft von 4,5 N·m in der Mitte zwischen den Riemenscheiben angesetzt wird.
Lockern Sie bei einer Durchbiegung von mehr oder weniger als 10 mm die Befestigungsschrauben der Lichtmaschine (Bild 78).
Note: Erhöhen oder reduzieren Sie die Spannung des Lichtmaschinen-Treibriemens und ziehen Sie die Schrauben wieder fest. Prüfen Sie die Riemenspannung noch einmal auf korrekte Einstellung.

Suchen Sie beim Einspritzen unter die Haut sofort einen Arzt auf. In die Haut eingedrungene Flüssigkeit muss sie innerhalb weniger Stunden von einem Arzt entfernt werden.
Stellen Sie sicher, dass alle Hydraulikschläuche und -leitungen in gutem Zustand und alle Hydraulikverbindungen und -anschlussstücke fest angezogen sind, bevor Sie die Hydraulikanlage unter Druck setzen.
Halten Sie Ihren Körper und Ihre Hände von Nadellöchern und Düsen fern, aus denen Hydrauliköl unter hohem Druck ausgestoßen wird.
Gehen Sie hydraulischen Undichtheiten nur mit Pappe oder Papier nach.
Lassen Sie den Druck in der Hydraulikanlage auf eine sichere Art und Weise ab, bevor Sie irgendwelche Arbeiten an der Hydraulikanlage durchführen.
Der Behälter wird im Werk mit hochwertigem Hydrauliköl gefüllt. Prüfen Sie den Stand des Hydrauliköls vor dem ersten Anlassen des Motors und dann täglich; siehe Prüfen des Hydraulikölstands.
Empfohlenes Hydrauliköl: Toro PX Extended Life Hydraulic Fluid; erhältlich in 19-l-Eimern oder 208-l-Fässern.
Note: An einer Maschine, die mit dem empfohlenen Ersatzhydrauliköl befüllt wird, muss weniger häufig ein Öl- oder Filterwechsel durchgeführt werden.
Ersatzölsorten: Wenn das Toro PX Extended Life Hydraulic Fluid nicht erhältlich ist, können Sie andere handelsübliche, auf Erdöl basierende, Hydraulikflüssigkeiten verwenden, dessen Spezifikationen für alle folgenden Materialeigenschaften im aufgeführten Bereich liegen und die Industrienormen erfüllen. Kein synthetisches Öl verwenden. Wenden Sie sich an den Ölhändler, um einen entsprechenden Ersatz zu finden.
Note: Toro haftet nicht für Schäden, die aus einer unsachgemäßen Substitution entstehen. Verwenden Sie also nur Erzeugnisse namhafter Hersteller, die für die Qualität ihrer Produkte garantieren.
| Materialeigenschaften: | ||
| Viskosität, ASTM D445 | cSt @ 40 °C, 44 bis 48 | |
| Viskositätsindex ASTM D2270 | 140 oder höher | |
| Stockpunkt, ASTM D97 | -34 °C bis -45 °C | |
| Branchenspezifikationen: | Eaton Vickers 694 (I-286-S, M-2950-S/35VQ25 oder M-2952-S) | |
Note: Viele Hydraulikölsorten sind fast farblos, was das Erkennen von undichten Stellen erschwert. Als Beimischmittel für das Hydrauliköl können Sie ein rotes Färbmittel in 20 ml Flaschen kaufen. Eine Flasche reicht für 15-22 l Hydrauliköl. Sie können es unter der Teilenummer 44-2500 über Ihren Toro-Vertragshändler beziehen.
Important: Das synthetische und biologisch abbaubare Hydrauliköl Toro Premium ist das einzige von Toro zugelassene synthetische biologisch abbaubare Hydrauliköl. Dieses Öl ist mit den Elastomeren kompatibel, die in den Hydraulikanlagen von Toro verwendet werden, und eignet sich für viele Klimata. Dieses Öl ist mit konventionellen Mineralölen kompatibel. Sie sollten die Hydraulikanlage jedoch gründlich spülen, um das konventionelle Öl zu entfernen, um die beste biologische Abbaubarkeit und Leistung zu erhalten. Das Öl ist in Behältern mit 19 L oder Fässern mit 208 L bei Ihrem Toro-Vertragshändler erhältlich.
| Wartungsintervall | Wartungsmaßnahmen |
|---|---|
| Bei jeder Verwendung oder täglich |
|
Parken Sie die Maschine auf einer ebenen Fläche, aktivieren Sie die Feststellbremse, senken die Mähwerke ab, stellen den Motor ab und ziehen den Schlüssel ab.
Prüfen Sie den Stand des Hydrauliköls (Bild 89).


| Wartungsintervall | Wartungsmaßnahmen |
|---|---|
| Alle 800 Betriebsstunden |
|
| Alle 2000 Betriebsstunden |
|
| Alle 2 Jahre |
|
Fassungsvermögen der Hydraulikanlage: 28,4 l
Setzen Sie sich, wenn das Öl verunreinigt wird, mit Ihrem Toro Vertragshändler in Verbindung, um die Anlage spülen zu lassen. Verunreinigtes Öl sieht im Vergleich zu sauberem Öl milchig oder schwarz aus.
Parken Sie die Maschine auf einer ebenen Fläche, aktivieren Sie die Feststellbremse, senken die Mähwerke ab, stellen den Motor ab und ziehen den Schlüssel ab.
Öffnen Sie die Motorhaube.
Schließen Sie den Ablasshahn an der Unterseite des Ölbehälters ab und lassen das Hydrauliköl in eine große Auffangwanne ab.
Schließen Sie den Schlauch an, wenn kein Hydrauliköl mehr ausströmt.
Füllen Sie den Hydraulikbehälter mit Hydrauliköl, siehe Warten des Hydrauliköls.
Important: Verwenden Sie nur die angegebenen Hydraulikölsorten. Andere Ölsorten können die Hydraulikanlage beschädigen.
Schrauben Sie den Behälterdeckel wieder auf.
Drehen Sie den Schlüssel im Zündschloss in die EIN-Stellung, um den Motor anzulassen. Verwenden Sie alle hydraulischen Bedienelemente, um das Hydrauliköl in der ganzen Anlage zu verteilen, prüfen Sie auch auf undichte Stellen.
Drehen Sie den Schlüssel im Zündschloss in die AUS-Stellung.
Prüfen Sie den Ölstand und gießen so viel Öl ein, dass der Ölstand die VOLL-Markierung am Peilstab erreicht. Nicht überfüllen.
| Wartungsintervall | Wartungsmaßnahmen |
|---|---|
| Alle 800 Betriebsstunden |
|
| Alle 1000 Betriebsstunden |
|
Verwenden Sie Toro Ersatzfilter, Bestellnummer 94-2621, für das Heck der Maschine (Mähwerke) und Bestellnummer 75-1310 für das vordere Ende der Maschine (Ladegerät).
Important: Der Einsatz anderer Filter führt u. U. zum Verlust Ihrer Garantieansprüche für einige Bauteile.
Klappen Sie den Bedienersitz hoch, um den Druckfilter des Mähers zugänglich zu machen, siehe Zugreifen auf den Hydraulikhubraum.

Wechseln Sie den Ladehydraulikfilter im Hydraulikhubraum aus, wie in Bild 91 abgebildet.


Klappen Sie den Sitz herunter und sichern ihn.
Tauschen Sie den Rücklauffilter an der rechten Seite der Maschine aus (Bild 91).
Lassen Sie den Motor an und lassen ihn ca. zwei Minuten lang laufen, um die Anlage zu entlüften. Stellen Sie den Motor ab und prüfen die Dichtheit.
| Wartungsintervall | Wartungsmaßnahmen |
|---|---|
| Bei jeder Verwendung oder täglich |
|
| Alle 2 Jahre |
|
Prüfen Sie die Hydraulikleitungen und Schläuche täglich auf Dichtheit, Knicke, lockere Stützteile, Abnutzung, lockere Anschlussstücke, witterungsbedingte Minderung und chemischen Angriff. Führen Sie vor Verwendung der Maschine alle erforderlichen Reparaturen durch.
Unter Druck austretendes Hydrauliköl kann unter die Haut dringen und Verletzungen verursachen.
Konsultieren Sie beim Einspritzen unter die Haut sofort einen Arzt.
Stellen Sie sicher, dass alle Hydraulikschläuche und -leitungen in gutem Zustand sind, und dass alle Hydraulikverbindungen und -anschlussstücke fest angezogen sind, bevor Sie die Hydraulikanlage unter Druck setzen.
Halten Sie Ihren Körper und Ihre Hände von Nadellöchern und Düsen fern, aus denen Hydrauliköl unter hohem Druck ausgestoßen wird.
Gehen Sie hydraulischen Undichtheiten nur mit Pappe oder Papier nach.
Lassen Sie den Druck in der Hydraulikanlage auf eine sichere Art und Weise ab, bevor Sie irgendwelche Arbeiten an der Hydraulikanlage durchführen.
Parken Sie die Maschine auf einer ebenen Fläche, aktivieren Sie die Feststellbremse, senken die Mähwerke ab, stellen den Motor ab und ziehen den Schlüssel ab.
Schließen Sie den Hydraulikmotor vom Mähwerk ab und nehmen ihn ab (Bild 92). Decken Sie die Spindeloberseite ab, um einer Verunreinigung vorzubeugen.

Entfernen Sie den Klappstecker (für Groundsmaster 4500-Maschinen) oder die Befestigungsmutter (für Groundsmaster 4700-Maschinen), mit dem bzw. der der Mähwerkträgerrahmen am Lagerbolzen des Hubarms befestigt ist (Bild 93).

Rollen Sie das Mähwerk von der Maschine weg.
Stellen Sie das Mähwerk vor die Maschine.
Schieben Sie den Trägerrahmen des Mähwerks auf den Lagerbolzen des Hubarms (Bild 93). Befestigen Sie das Mähwerk mit dem Klappstecker (für Groundsmaster 4500-Maschinen) oder der Befestigungsmutter (für Groundsmaster 4700-Maschinen) am Lagerbolzen.
Montieren Sie den Hydraulikmotor am Mähwerk (Bild 92). Stellen Sie sicher, dass sich der O-Ring unbeschädigt in seiner Position befindet.
Fetten Sie die Spindel ein.
Prüfen Sie die Frontrolle auf Abnutzung, starkes Flattern oder Kleben. Warten oder ersetzen Sie die Rolle oder die Komponenten, wenn Sie eines dieser Symptome feststellen.
Entfernen Sie die Rollenbefestigungsschraube (Bild 94).
Führen Sie einen Dorn durch das Ende des Rollengehäuses ein und treiben das gegenüberliegende Lager durch abwechselndes Klopfen auf die gegenüberliegende Seite des inneren Lagerrings. Es sollten ungefähr 1,5 mm des inneren Rings sichtbar sein.

Drücken Sie das zweite Lager mit einer Presse aus.
Prüfen Sie das Rollengehäuse, die Lager und das Distanzstück auf Beschädigungen (Bild 94). Tauschen Sie alle beschädigten Teile aus und bauen Sie alles wieder zusammen.
Drücken Sie das erste Lager in das Rollengehäuse (Bild 94). Drücken Sie dabei nur auf den äußeren Ring oder gleichmäßig auf die inneren und äußeren Ringe.
Setzen Sie ein Distanzstück ein (Bild 94).
Drücken Sie das zweite Lager in das Rollengehäuse (Bild 94). Drücken Sie gleichmäßig auf den inneren und äußeren Ring, bis der innere Ring das Distanzstück berührt.
Montieren Sie die Rolle am Mähwerkrahmen.
Stellen Sie sicher, dass der Abstand zwischen der Rolle und den Befestigungshalterungen der Rolle am Mähwerkrahmen höchstens 1,5 mm ist. Setzen Sie ausreichend Scheiben (⅝") ein, wenn der Abstand größer als 1,5 mm ist, um dieses Spiel zu beseitigen.
Important: Das Befestigen der Rolle mit einem Abstand größer als 1,5 mm erzeugt eine seitliche Belastung des Lagers, die zu einem frühzeitigem Ausfall führen kann.
Ziehen Sie die Befestigungsschraube mit 108 N∙m an.
Prüfen Sie das Messer regelmäßig auf Abnutzung und Defekte.
Kontrollieren Sie die Messer vorsichtig. Wickeln Sie die Messer in einen Lappen ein oder tragen Handschuhe; gehen Sie bei der Wartung der Messer mit besonderer Vorsicht vor. Wechseln oder schärfen Sie die Messer, sie dürfen keinesfalls geglättet oder geschweißt werden.
Denken Sie bei Maschinen mit mehreren Schnittmessern daran, dass ein rotierendes Schnittmesser das Mitdrehen anderer Schnittmesser verursachen kann.
Das Mähwerk wird im Werk auf eine Schnitthöhe von 5 cm und eine Messerneigung von 7,9 mm eingestellt. Die linke und rechte Höheneinstellung ist ebenfalls mit einem maximalen Unterschied von ±0,7 mm eingestellt.
Das Mähwerk ist so konstruiert, dass es einem Aufprall der Messer ohne Verformen der Kammer standhält. Prüfen Sie nach einem Aufprallen auf einen festen Gegenstand das Messer auf eventuelle Schäden und das Messerniveau auf korrekten Stand.
Entfernen Sie den Hydraulikmotor vom Mähwerk und entfernen das Mähwerk von der Maschine.
Stellen Sie das Mähwerk mit einer Hebevorrichtung (oder mit mindestens zwei Personen) auf eine flache Werkbank.
Markieren Sie ein Ende des Messers mit einem Farbstift oder Markierapparat. Benutzen Sie diese Seite des Messers zum Prüfen aller Höheneinstellungen.
Positionieren Sie die Schnittkante der markierten Messerseite in die 12-Uhr-Stellung (geradeaus in Mährichtung) (Bild 95) und messen die Höhe vom Tisch bis zur Schnittkante.

Drehen Sie die markierte Seite des Messers auf die 3- und die 9-Uhr-Stellung (Bild 95) und messen die Höhe.
Vergleichen Sie die in der 12-Uhr-Stellung gemessene Höhe mit der Schnitthöheneinstellung. Beide Werte müssen innerhalb von 0,7 mm liegen. Die Höhen in der 3-Uhr- und der 9-Uhr-Stellung sollten 1,6 mm ±6,0 mm höher als der 12-Uhr-Wert sein und sich nicht mehr als 2,2 mm unterscheiden.
Wenn einer dieser Werte außerhalb der angegebenen Toleranz liegt, verfahren Sie wie folgt Einstellen des Messerniveaus.
Beginnen Sie mit der vorderen Einstellung (stellen Sie jeweils eine Halterung ein).
Entfernen Sie die Schnitthöhenhalterung (vorne, links oder rechts) vom Mähwerkrahmen (Bild 96).
Führen Sie 1,5-mm- und/oder 0,7-mm-Beilagscheiben zwischen dem Mähwerkrahmen und der Halterung ein, um die gewünschte Schnitthöhe zu erhalten (Bild 96).

Befestigen Sie die Schnitthöhenhalterung mit den restlichen Beilagscheiben unter der Schnitthöhenhalterung am Mähwerkrahmen.
Ziehen Sie die Sechskantschraube bzw. das Distanzstück und die Bundmutter an.
Note: Die Sechskantschraube und das Distanzstück werden mit Gewindesperrmittel verbunden, damit das Distanzstück nicht in den Mähwerkrahmen fallen kann.
Prüfen Sie die Höhe auf der 12-Uhr-Einstellung und führen bei Bedarf eine weitere Einstellung durch.
Bestimmen Sie, ob nur ein oder beide Schnitthöheneinstellhalterungen (rechts und links) eingestellt werden muss bzw. müssen.
Note: Wenn die 3-Uhr- oder 9-Uhr-Seite 1,6 mm bis 6,0 mm höher als die neue vordere Höhe ist, erübrigt sich die Einstellung an dieser Seite. Stellen Sie die andere Seite so ein, dass der Wert sich nicht mehr als ±2,2 mm von der richtigen Seite unterscheidet.
Stellen Sie die rechten und/oder linken Schnitthöheneinstellhalterungen durch Wiederholen der Schritte 1 bis 4 ein.
Ziehen Sie die Schlossschrauben und Bundmuttern fest.
Prüfen Sie dann die 12-Uhr-, 3-Uhr- und 9-Uhr-Stellungen nach.
Wechseln Sie das Messer aus, wenn es einen festen Gegenstand berührt, nicht ausgewuchtet oder verbogen ist. Benutzen Sie immer nur Originalersatzmesser von Toro, um die sichere und optimale Leistung der Maschine sicherzustellen.
Parken Sie die Maschine auf einer ebenen Fläche, heben Sie das Mähwerk in die Transportstellung an, aktivieren Sie die Feststellbremse, stellen Sie den Motor ab und ziehen Sie den Schlüssel ab.
Note: Blockieren Sie oder sperren Sie das Mähwerk so, dass sie nicht herunterfallen kann.
Halten Sie das Ende des Messers mit einem stark wattierten Handschuh oder wickeln Sie einen Lappen um es herum.
Entfernen Sie die Messerschraube, die Antiskalpierkuppe und das Messer von der Spindelwelle (Bild 97).

Bringen Sie das Messer, die Antiskalpierkuppe und die Messerschraube an und ziehen Sie die Messerschraube mit 115-149 N∙m an.
Important: Der gebogene Teil des Schnittmessers muss zur Innenseite des Mähwerks zeigen, um einen guten Schnitt sicherzustellen.
Note: Wenn Sie auf einen Fremdkörper aufgeprallt sind, ziehen Sie alle Riemenscheibenmuttern der Spindeln bis auf 115-149 N∙m an.
Beim Prüfen und Warten des Schnittmessers erfordern zwei Bereiche besondere Aufmerksamkeit – der Windflügel und die Schnittkante. Beide Schnittkanten und der Windflügel, d. h. der gegenüber der Schnittkante nach oben gebogene Teil, tragen zur guten Schnittqualität bei. Der Windflügel ist wichtig, weil er die Grashalme aufrecht stellt, was zum gleichmäßigen Schnitt beiträgt. Der Windflügel verschleißt jedoch langsam während ihres Einsatzes. Während die Windflügel langsam abgenutzt werden, wird sich die Schnittqualität etwas reduzieren, auch wenn die Schnittkanten weiterhin scharf sind. Die Schnittkante des Messers muss scharf bleiben, um sicherzustellen, dass die Grashalme geschnitten und nicht zerfetzt werden. Sie erkennen eine stumpfe Schnittkante daran, dass die Grasspitzen bräunlich und zerfetzt aussehen. Beheben Sie diesen Zustand durch das Schärfen der Schnittkanten.
Parken Sie die Maschine auf einer ebenen Fläche, heben Sie das Mähwerk an, aktivieren die Feststellbremse, stellen das Fahrpedal in die NEUTRAL-Stellung, stellen den Zapfwellenhebel in die AUS-Stellung, stellen den Motor ab und ziehen den Schlüssel aus dem Zündschloss.
Prüfen Sie die Schnittkanten des Messers sorgfältig, insbesondere dort, wo die geraden Flächen die gebogenen berühren (Bild 98).
Note: Da Sand und anderes reibendes Material das Metall abschleifen kann, das die flachen mit den gebogenen Teilen verbindet, müssen Sie das Messer vor jedem Einsatz des Rasenmähers prüfen. Wenn Sie Abnutzungen (Bild 98) feststellen, sollten Sie das Messer auswechseln.

Prüfen Sie die Schnittkanten aller Messer und schärfen die Kanten, wenn sie stumpf sind oder Kerben haben (Bild 99).
Note: Schärfen Sie nur die Oberseite der Schnittkante und behalten Sie den ursprünglichen Schnittwinkel bei, um die Schärfe des Messers zu gewährleisten (Bild 99). Das Messer bleibt ausgewuchtet, wenn Sie die gleiche Menge Metall von beiden Schnittkanten entfernen.

Note: Entfernen Sie die Messer und schärfen sie mit Hilfe eines Schleifsteins. Bringen Sie nach dem Schärfen der Schnittkanten das Messer mit der Antiskalpierkuppe und der Messerschraube an, siehe Entfernen und Einbauen der Mähwerkmesser.
Stellen Sie vor dem Verlassen des Fahrersitzes den Motor ab, ziehen Sie den Schlüssel ab und warten Sie, bis alle beweglichen Teile zum Stillstand gekommen sind. Lassen die Maschine abkühlen, bevor Sie sie einstellen, warten, reinigen, oder einlagern.
Lagern Sie die Maschine oder den Benzinkanister nie an Orten mit offener Flamme, Funken oder Zündflamme, z. B. Warmwasserbereiter, oder anderen Geräten.
Important: Verwenden Sie zur Reinigung der Maschine kein Brack- oder wiederaufbereitetes Wasser.
Reinigen Sie die Zugmaschine, Mähwerke und den Motor gründlich.
Prüfen des Reifendrucks. Pumpen Sie alle Reifen der Zugmaschine auf 83-103 kPa auf (12-15 psi).
Prüfen Sie auf lockere Befestigungsteile und ziehen diese bei Bedarf fest.
Fetten Sie alle Schmiernippel und Drehpunkte ein. Wischen Sie überflüssigen Schmierstoff ab.
Schmirgeln Sie alle Lackschäden leicht und bessern Bereiche aus, die angekratzt, abgesprungen oder verrostet sind. Reparieren Sie alle Blechschäden.
Warten Sie den Akku und die Akkukabel wie folgt:
Entfernen Sie die Akkuklemmen von den -polen.
Note: Klemmen Sie immer zuerst die Minusklemme und dann die Plusklemme ab. Schließen Sie immer zuerst den Pluspol und dann den Minuspol an.
Reinigen Sie Akku, -klemmen und -pole mit einer Drahtbürste und Natronlauge.
Überziehen Sie die Kabelanschlussklemmen und Akkupole mit Grafo 112X-Fett (Bestellnummer 505-47) oder mit Vaseline, um einer Korrosion vorzubeugen.
Laden Sie die Batterie alle 60 Tage 24 Stunden lang langsam auf, um einer Bleisulfation des Akkus vorzubeugen.
Lassen Sie das Motoröl in eine Auffangwanne ablaufen und schrauben die Ablassschraube wieder ein.
Entfernen und entsorgen Sie den Ölfilter. Montieren Sie einen neuen Ölfilter.
Füllen Sie die Ölwanne mit der entsprechenden Menge Motoröl.
Stellen Sie den Schlüssel im Schalter in die EIN-Stellung, lassen Sie den Motor an und lassen ihn für ca. zwei Minuten im Leerlauf laufen.
Drehen Sie den Schlüssel im Schalter in die AUS-Stellung.
Entleeren Sie den Kraftstofftank, die -leitungen, den -filter und den Wasserabscheider gründlich.
Spülen Sie den Kraftstofftank mit frischem, sauberem Diesel.
Befestigen Sie alle Teile der Kraftstoffanlage.
Reinigen und warten Sie den Luftfilter gründlich.
Dichten Sie die Ansaugseite des Luftfilters und das Auspuffrohr mit witterungsbeständigem Klebeband ab.
Prüfen Sie den Frostschutz und füllen Sie bei Bedarf Frostschutzmittel entsprechend den in Ihrem Gebiet zu erwartenden Mindesttemperaturen nach.
Setzen Sie, wenn die Mähwerke längere Zeit von der Zugmaschine getrennt sind, einen Spindelstöpsel in die Oberseite der Spindeln ein, um diese gegen Staub und Wasser zu schützen.
