Inleiding

De verticuteereenheid wordt op een tractie-eenheid gemonteerd en is bedoeld voor gebruik door professionele bestuurders en voor commerciële toepassingen. De machine is voornamelijk ontworpen voor het verticuteren van gras van goed onderhouden gazons in parken, golfbanen en sportvelden. Dit product gebruiken voor andere doeleinden dan het bedoelde gebruik kan gevaarlijk zijn voor u of voor omstanders.

Lees deze informatie zorgvuldig door, zodat u weet hoe u de machine op de juiste wijze moet gebruiken en onderhouden en om schade aan de machine en letsel te voorkomen. U bent verantwoordelijk voor het juiste en veilige gebruik van de machine.

Ga naar www.Toro.com voor documentatie over productveiligheid en bedieningsinstructies, informatie over accessoires, hulp bij het vinden van een dealer of om uw product te registreren.

Als u service, originele Toro onderdelen of aanvullende informatie nodig hebt, kunt u contact opnemen met een erkende servicedealer of met de klantenservice van Toro. U dient hierbij altijd het modelnummer en het serienummer van het product te vermelden. De locatie van het plaatje met het modelnummer en het serienummer van het product is aangegeven op Figuur 1. U kunt de nummers noteren in de ruimte hieronder.

g272197

Deze handleiding wijst u op mogelijke gevaren en bevat veiligheidswaarschuwingen die u kunt herkennen aan het waarschuwingspictogram (Figuur 2), dat wijst op een gevaar dat ernstig letsel of de dood kan veroorzaken indien u nalaat de voorgeschreven maatregelen te treffen.

g000502

Er worden in deze handleiding twee woorden gebruikt om uw aandacht op bijzondere informatie te vestigen. Belangrijk attendeert u op bijzondere technische informatie en Opmerking duidt algemene informatie aan die bijzondere aandacht verdient.

Dit product voldoet aan alle relevante Europese richtlijnen. Raadpleeg de inbouwverklaring achterin deze uitgave voor meer informatie.

Veiligheid

  • Zorg ervoor dat u alle instructies in de Gebruikershandleiding van de tractie-eenheid en de verticuteereenheid hebt gelezen en begrijpt voordat u de apparatuur gebruikt, en volg deze instructies op.

  • Laat nooit kinderen de tractie-eenheden of verticuteereenheden gebruiken. Laat volwassenen nooit de tractie-eenheid of verticuteereenheden bedienen zonder dat ze een grondige instructie hebben gekregen. De tractie-eenheid of de verticuteereenheden mogen uitsluitend worden gebruikt door getrainde personen die deze handleiding hebben gelezen.

  • Gebruik de verticuteereenheden nooit als u ziek, moe of onder de invloed van drugs of alcohol bent.

  • Zorg ervoor dat alle veiligheidsschermen en veiligheidsvoorzieningen op hun plaats zitten. Als veiligheidsschermen, veiligheidsvoorzieningen of stickers onleesbaar of beschadigd zijn, moet u deze herstellen of vervangen, voordat u het voertuig gaat gebruiken. Draai ook losse moeren, bouten of schroeven vast zodat veilig met de verticuteereenheid kan worden gewerkt.

  • Draag altijd stevige schoenen met een gripvaste zool. Draag lang haar niet los. Draag geen los zittende kleding of juwelen. Het verdient aanbeveling een veiligheidsbril en veiligheidsschoenen te dragen. Dit is verplicht op grond van diverse plaatselijke veiligheidsvoorschriften en verzekeringsbepalingen.

  • Haal alle rommel of andere voorwerpen weg die opgeraapt kunnen worden en door de verticuteereenheid kunnen worden weggeslingerd. Houd omstanders uit het werkgebied.

  • Als een verticuteereenheid een vast object raakt of abnormaal begint te trillen, moet u de motor uitzetten. Controleer of de verticuteereenheid beschadigd is. Herstel eventuele schade vóór u de verticuteereenheid weer start en gaat gebruiken.

  • Laat de verticuteereenheden neer op de grond en haal het sleuteltje uit het contact als u de machine onbeheerd achterlaat.

  • Zorg ervoor dat al het bevestigingsmateriaal goed is vastgedraaid zodat u veilig met de verticuteereenheden kunt werken.

  • Haal de sleutel uit het contactslot om te voorkomen dat de motor per ongeluk gestart wordt tijdens service, afstellen of stalling.

  • Verricht onderhoudswerkzaamheden uitsluitend volgens de instructies in deze handleiding. Indien belangrijke reparaties nodig zijn of hulp vereist is, moet u contact opnemen met een erkende Toro- dealer.

  • Om de beste prestaties te verkrijgen en er zeker van te zijn dat de machine altijd veilig kan worden gebruikt, moet u ter vervanging uitsluitend originele Toro onderdelen en accessoires gebruiken. Gebruik ter vervanging nooit onderdelen en accessoires van andere fabrikanten, omdat dit gevaarlijk kan zijn. Dit kan ertoe leiden dat de garantie op het product komt te vervallen.

Algemene veiligheid

Dit product kan handen of voeten afsnijden. Volg altijd alle veiligheidsinstructies op om ernstig letsel te voorkomen.

  • Lees deze Gebruikershandleiding en zorg ervoor dat u deze begrijpt voordat u de machine start.

  • Geef uw volledige aandacht als u de machine gebruikt. Zorg ervoor dat u met niets anders bezig bent waardoor u kunt worden afgeleid, anders kunt u verwondingen oplopen of kan eigendom worden beschadigd.

  • Houd handen en voeten uit de buurt van de bewegende onderdelen van de machine.

  • Gebruik de machine niet als er schermen of andere beveiligingsmiddelen ontbreken of als deze niet naar behoren werken.

  • Blijf uit de buurt van afvoeropeningen.

  • Houd omstanders en kinderen uit de buurt van het werkgebied. Hou omstanders en kinderen uit de buurt van het werkgebied. Laat kinderen nooit de machine bedienen.

  • Doe het volgende voordat u de bestuurdersstoel verlaat:

    • Parkeer de machine op een horizontaal oppervlak.

    • Maai-eenheid/maai-eenheden neerlaten.

    • Schakel de aandrijvingen uit.

    • Stel de parkeerrem in werking (indien aanwezig).

    • Zet de motor uit en verwijder het sleuteltje (indien aanwezig).

    • Wacht totdat alle bewegende onderdelen tot stilstand zijn gekomen.

Onjuist gebruik of onderhoud van deze machine kan letsel tot gevolg hebben. Om het risico op letsel te verkleinen, dient u zich aan de volgende veiligheidsinstructies te houden en altijd op het veiligheidssymbool Graphic te letten, dat betekent Voorzichtig, Waarschuwing of Gevaar – instructie voor persoonlijke veiligheid. Niet-naleving van deze instructies kan leiden tot lichamelijk of dodelijk letsel.

Veiligheid van de maai-eenheid

  • De maai-eenheid is slechts een volledige machine wanneer deze gemonteerd is op een tractie-eenheid. Lees de Gebruikershandleiding van de tractie-eenheid zorgvuldig voor de volledige instructies over het veilig gebruik van de machine.

  • Stop de machine, verwijder het sleuteltje (indien aanwezig) en wacht totdat alle bewegende onderdelen tot stilstand zijn gekomen voordat u het werktuig controleert nadat u een voorwerp heeft geraakt of de machine abnormaal begint te trillen. Voer alle noodzakelijke reparaties uit voordat u de machine weer in gebruik neemt.

  • Zorg ervoor dat alle onderdelen in goede staat verkeren en alle bevestigingselementen stevig vastzitten. Vervang versleten of beschadigde stickers.

  • Gebruik uitsluitend door Toro goedgekeurde accessoires, werktuigen en onderdelen.

Veiligheid van de messen

Een versleten of beschadigd mes kan breken en een stuk van het mes kan worden uitgeworpen in de richting van de bestuurder of omstanders en ernstig lichamelijk of dodelijk letsel toebrengen.

  • Controleer op gezette tijden het maaimes op slijtage of beschadigingen.

  • Wees voorzichtig als u de messen controleert. Omwikkel de maaimessen of draag handschoenen en wees voorzichtig als u onderhoudswerkzaamheden aan de maaimessen verricht. De maaimessen mogen alleen worden vervangen of geslepen, probeer ze nooit recht te maken of er aan te lassen.

  • Let op dat bij machines met meerdere maaimessen andere messen kunnen gaan draaien doordat u 1 mes draait.

Veiligheids- en instructiestickers

Graphic

Veiligheidsstickers en veiligheidsinstructies zijn gemakkelijk zichtbaar voor de bestuurder en bevinden zich bij plaatsen waar gevaar kan ontstaan. Vervang alle beschadigde of verdwenen stickers.

decal137-9706

Montage

De voorrol monteren

De verticuteereenheid wordt geleverd zonder voorrol. Bevestig de rol met behulp van de losse onderdelen die meegeleverd zijn met de verticuteereenheid en volg de Montage-instructies die met de rol zijn meegeleverd.

De contragewichten verplaatsen

De verticuteereenheden worden geleverd met het contragewicht gemonteerd aan de rechterkant en de motorophangplaat aan de linkerkant. Doe het volgende om het contragewicht naar de andere kant van de verticuteereenheid te verplaatsen:

  1. Verwijder de 2 inbusbouten waarmee het contragewicht aan het rechteruiteinde van de verticuteereenheid is gemonteerd.

  2. Verwijder het contragewicht (Figuur 3).

    g575278
  3. Verwijder de 2 inbusschroeven waarmee de motorophangplaat aan het linkeruiteinde van de verticuteereenheid is bevestigd.

  4. Verwijder de motorophangplaat (Figuur 4).

  5. Breng smeer aan op de binnendiameter van de aandrijfspie (Figuur 4).

    g575279
  6. Breng op het rechteruiteinde van de verticuteereenheid een laagje olie aan op de O-ring en bevestig de motorophangplaat met de 2 inbusschroeven die u eerder hebt verwijderd.

    Note: Draai de schroeven vast met een torsie van 16 tot 20 N·m.

  7. Breng op het linkeruiteinde van de verticuteereenheid een laagje olie aan op de O-ring en bevestig het contragewicht met de schroeven die u eerder hebt verwijderd.

    Note: Draai de schroeven vast met een torsie van 16 tot 20 N·m.

De ringverbinding, schuine verbinding of kettingverbinding monteren

Voor verticuteereenheden die gebruikt worden met een tractie-eenheid met een serienummer dat voorafgaat aan 240000001 dient u de geschikte verbinding aan te schaffen en te monteren.

De 2 inbusbouten om de ringverbinding, schuine verbinding of kettingverbinding te bevestigen zijn op de verticuteereenheid gemonteerd. Verwijder deze bouten en gebruik ze om uw vereiste verbinding te bevestigen.

  • U hebt een ringverbinding (onderdeelnr. 105-5740), afgebeeld in Figuur 5, nodig voor de Greensmaster 3000, 3000-D, 3050, 3100, 3150 en 3150-Q tractie-eenheden (deze wordt bij de hier vermelde Greensmaster tractie-eenheden geleverd).

    1. Monteer de ringverbinding boven op de verticuteereenheid met 2 inbusbouten.

    2. Haal de inbusbouten aan met 34 tot 40 N·m.

    g011931
  • Voor de Greensmaster 3250-D tractie-eenheden moet de schuine verbinding (onderdeelnummer 110-2397) worden gemonteerd (wordt meegeleverd met de Greensmaster 3250-D tractie-eenheid).

    1. Plaats de schuine hefverbinding in de richting van de voorkant van de verticuteereenheid.

    2. Monteer de schuine verbinding (Figuur 6) boven op de verticuteereenheid met 2 inbusbouten.

    3. Haal de inbusbouten aan met 34 tot 40 N·m.

    g575204
  • Op de Greensmaster 3250-D tractie-eenheid is het ook mogelijk om een kettingschakel (onderdeelnummer 106-2601) en een montagebeugel (onderdeelnummer 105-5738) te gebruiken.

    1. Monteer de kettingschakel aan de bovenzijde van de verticuteereenheid met behulp van de montagebeugel en 2 inbusbouten.

    2. Haal de inbusbouten aan met 34 tot 40 N·m (Figuur 7).

    Note: Haak bij het monteren van de verticuteereenheid aan de tractie-eenheid het brede uiteinde van de kettingschakel aan de hefarm.

    g011932

Positieve afstelling van verticuteermessen (bovengronds)

  1. Plaats de verticuteereenheid op een horizontaal oppervlak.

  2. Plaats een hoogtelat die de dikte heeft van de gewenste bovengrondse meshoogte onder beide uiteinden van de verticuteereenheid (Figuur 8).

    g575291
  3. Zorg ervoor dat de rollen contact maken met het horizontale oppervlak en draai de beide flensmoeren los (Figuur 8).

  4. Draai de stelbouten voor de maaihoogte tot beide uiteinden van de verticuteerder zich vlak bij het horizontale oppervlak bevinden (Figuur 8).

  5. Controleer de hoogte door met een stuk papier elk uiteinde van de messen te controleren.

  6. Draai beide flensborgmoeren vast.

Negatieve afstelling van verticuteermessen (ondergronds)

Note: De maximale aanbevolen negatieve instelling voor de mesdiepte bedraagt 5 mm.

  1. Plaats de verticuteereenheid op een horizontaal oppervlak.

  2. Plaats 2 hoogtelatten, elk de dikte van de gewenste ondergrondse werkdiepte onder de voorrol en de achterrol van de verticuteereenheid.

    Note: Zorg ervoor dat de verticuteermessen de hoogtelatten niet raken.

    g379284
  3. Maak de flensmoeren op de rol los.

  4. Draai de stelbout voor de maaihoogte op elke maaihoogtebeugel zo, dat de verticuteermessen aan beide zijden contact maken met de horizontale ondergrond.

    Note: Zodra de verticuteermessen slijten, neemt de diameter van de eenheid af en verandert de diepte-instelling. Controleer regelmatig de diepte-instelling om er zeker van te zijn dat de gewenste diepte wordt bereikt.

  5. Draai de flensborgmoeren voor de maaihoogte vast.

Verticuteereenheid monteren

Raadpleeg de Gebruikershandleiding van de tractie-eenheid voor instructies over de montage van de verticuteereenheid op de machine.

Important: Als u de verticuteermessen negatief afstelt, moet u erop letten dat u de messen niet beschadigt door contact met betonnen of verharde oppervlakken.

Note: De verticuteereenheid wordt standaard geleverd voor een bestuurder die links zit. Mogelijk moet de machine worden ingesteld voor een bestuurder die rechts zit. Zie De contragewichten verplaatsen.

Algemeen overzicht van de machine

Compatibiliteit met tractie-eenhedenDe verticuteereenheid kan op de volgende tractie-eenheden worden gemonteerd: Greensmaster 3000, 3000-D, 3050, 3100, 3150, 3250-D en 3150-Q.
Maaihoogte De verticuteerdiepte wordt ingesteld op de voorrol met behulp van 2 verticale schroeven en geborgd met 2 flensmoeren.
MaaihoogtebereikHet maaihoogtebereik is tussen 4,78 mm onder de grond en 6,35 mm boven de grond.
Lagers van messenkooiTwee afgedichte diepgroefkogellagers uit roestvrij staal met een binnendiameter van 30 mm schuiven vast op de as van de messenkooi tegengehouden door een inzetstuk met schroefdraad en interne spieën. Bijkomende afgedichte smeerring aan de binnenkant en afgedichte externe lagerbehuizing voor extra beveiliging. De stand van de messenkooi wordt behouden door een golfring zonder stelmoer.
RollenDe achterrol is een volledige stalen rol met een diameter van 5,1 cm.
GrasschermNiet-verstelbaar scherm met instelbare stopbalk om het gras in vochtige omstandigheden beter af te voeren uit de messenkooi
ContragewichtEen gietijzeren gewicht dat is geplaatst tegenover de aandrijfmotor houdt de verticuteereenheid in evenwicht.
Nettogewicht31 kg

Werktuigen/accessoires

Een selectie van door Toro goedgekeurde werktuigen en accessoires is verkrijgbaar voor gebruik met de machine om de mogelijkheden daarvan te verbeteren en uit te breiden. Neem contact op met een erkende servicedealer of een erkende Toro distributeur, of bezoek www.Toro.com voor een lijst van alle goedgekeurde werktuigen en accessoires.

Om de beste prestaties te verkrijgen en er zeker van te zijn dat de machine altijd veilig kan worden gebruikt, moet u ter vervanging uitsluitend originele Toro onderdelen en accessoires gebruiken. Gebruik ter vervanging nooit onderdelen en accessoires van andere fabrikanten, omdat dit gevaarlijk kan zijn. Dit kan ertoe leiden dat de garantie op het product komt te vervallen.

Gebruiksaanwijzing

Oefenperiode

Voordat u de verticuteereenheid op een green gaat gebruiken, moet u de prestaties van de verticuteereenheid bij de gewenste afstelling beoordelen. Verticuteer een vrij terrein dat niet wordt gebruikt, om vast te stellen of de gewenste resultaten worden bereikt. Stel de verticuteereenheid af als u de instellingen naar wens hebt gewijzigd.

Note: Als de verticuteereenheden worden gemonteerd op een Greensmaster 3200, 3200-D of 3250-D tractie-eenheid en onder zware belasting worden gebruikt, moeten soms het draagframe en de ontlastklep van het circuit van de eenheid worden afgesteld.

Tips voor bediening en gebruik

  • Gebruik de tractie-eenheid met de motor op vol gas en verschillende rijsnelheden, afhankelijk van de belasting bij het verticuteren.

  • De maximale aanbevolen negatieve afstelling van de verticuteermessen is een werkdiepte van 5 mm.

  • Het benodigde vermogen voor de verticuteereenheid is afhankelijk van de green- en bodemomstandigheden.

  • De rijsnelheid moet in bepaalde omstandigheden worden verminderd.

Onderhoud

Note: Bepaal vanuit de normale bedieningspositie de linker– en rechterzijde van de machine.

De verticuteermeseenheid demonteren

Hardmetalen messen gemonteerd

Demonteer de verticuteermeseenheid wanneer u een mes moet vervangen of de lagers moet vervangen.

  1. Zet de contramoer aan het uiteinde met het spie-as inzetstuk met rechtse schroefdraad van de eenheid, dat de ring bevat, vast in een bankschroef.

    Important: Verwijder de ring of moer aan deze kant van de eenheid niet.

  2. Verwijder het spie-as inzetstuk met schroefdraad, het lager en de randdichting.

  3. Verwijder het spie-as inzetstuk met linkse schroefdraad aan het andere uiteinde van de as.

    Voorzichtig

    De messen zijn extreem scherp en hebben mogelijk bramen waaraan u uw handen kunt snijden.

    Draag handschoenen en wees voorzichtig bij het verwijderen van de messen van de as.

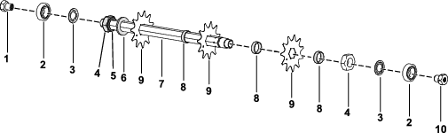
  4. Verwijder het lager, de randdichting, de messen en de afstandsstukken. Reinig en smeer de as met een dunne laag smeervet om de montage te vergemakkelijken.

    g381387
  5. Breng middelmatig sterk schroefdraadborgmiddel (zoals Blue Loctite 243) aan op de schroefdraad van het spie-as inzetstukken wanneer u de verticuteermeseenheid monteert.

    Important: De volgorde waarin de messen worden verwijderd is zeer belangrijk. Keer de messen niet om tijdens het verwijderen en verander ook de volgorde van de messen niet tijdens het monteren. Let op de indexopening in elk mes. De indexopening is bedoeld voor de montage om de juiste schroefgang te verkrijgen. Uitgaand van de indexopening draait u elk van de volgende messen precies 1 schroefgang linksom. Zo verkrijgt de verticuteermachine bij de montage de juiste schroefgang.

    g379283
  6. Draai het spie-as inzetstuk met schroefdraad, de zeskantbout en de contramoer vast met een torsie van 108 tot 135 N·m.

De verticuteermeseenheid demonteren

Veerstalen messen gemonteerd

Demonteer de verticuteermeseenheid wanneer u een mes moet vervangen of de lagers moet vervangen.

  1. Zet de contramoer aan het uiteinde met het spie-as inzetstuk met rechtse schroefdraad van de eenheid, dat de ring bevat, vast in een bankschroef.

    Important: Verwijder de ring of moer aan deze kant van de eenheid niet.

  2. Verwijder het spie-as inzetstuk met schroefdraad, het lager en de randdichting.

  3. Verwijder het spie-as inzetstuk met linkse schroefdraad aan het andere uiteinde van de as.

    Voorzichtig

    De messen zijn extreem scherp en hebben mogelijk bramen waaraan u uw handen kunt snijden.

    Draag handschoenen en wees voorzichtig bij het verwijderen van de messen van de as.

  4. Verwijder het lager, de randdichting, de messen en de afstandsstukken. Reinig en smeer de as met een dunne laag smeervet om de montage te vergemakkelijken.

    Note: De veerstalen messenset is voorzien van een grote ring en een extra mes dat gemonteerd is vóór het eerste afstandsstuk, zoals hieronder wordt getoond.

    g423563
  5. Breng middelmatig sterk schroefdraadborgmiddel (zoals Blue Loctite 243) aan op de schroefdraad van het spie-as inzetstukken wanneer u de verticuteermeseenheid monteert.

  6. Draai het spie-as inzetstuk met schroefdraad, de zeskantbout en de contramoer vast met een torsie van 108 tot 135 N·m.

Onderhoud van de rol

Er zijn een revisieset voor de greensrol (onderdeelnr. 140-5552) en een gereedschapsset voor revisie van de greensrol (onderdeelnr. 140-5553) (Figuur 13) verkrijgbaar om de rol een onderhoudsbeurt te geven. De revisieset omvat alle lagers, lagermoeren en pakkingen die nodig zijn om een rol te reviseren.

De gereedschapsset omvat alle werktuigen en montage-instructies die nodig zijn om een rol aan te reviseren met de revisieset. Zie de onderdelencatalogus of neem contact op met uw erkende Toro distributeur als u hulp nodig heeft.

g346125