| Périodicité d'entretien | Procédure d'entretien |
|---|---|
| À chaque utilisation ou une fois par jour |
|
Cette tondeuse autoportée à lames rotatives est destinée aux professionnels et aux utilisateurs temporaires. Elle est principalement conçue pour tondre les pelouses entretenues régulièrement des terrains privés et commerciaux. L'utilisation de ce produit à d'autres fins que celle prévue peut être dangereuse pour vous-même et toute personne à proximité.
Lisez attentivement cette notice pour apprendre comment utiliser et entretenir correctement votre produit, et éviter ainsi de l'endommager ou de vous blesser. Vous êtes responsable de l'utilisation sûre et correcte du produit.
Rendez-vous sur www.Toro.com pour tout document de formation à la sécurité et à l'utilisation des produits, pour tout renseignement concernant un produit ou un accessoire, pour obtenir l'adresse des dépositaires ou pour enregistrer votre produit.
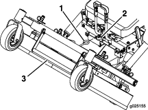
Pour obtenir des prestations de service, des pièces Toro d'origine ou des renseignements complémentaires, munissez-vous des numéros de modèle et de série du produit et contactez un dépositaire-réparateur ou le service client Toro agréé. La Figure 1 indique l'emplacement des numéros de modèle et de série du produit. Inscrivez les numéros dans l'espace réservé à cet effet.

Ce manuel utilise deux termes pour faire passer des renseignements essentiels. Important pour attirer l'attention sur une information d'ordre mécanique spécifique, et Remarque pour souligner une information d'ordre général méritant une attention particulière.
Vous commettez une infraction à la section 4442 ou 4443 du Code des ressources publiques de Californie si vous utilisez cette machine dans une zone boisée, broussailleuse ou recouverte d'herbe, à moins d'équiper le moteur d'un pare-étincelles en bon état, tel que défini dans la section 4442, ou à moins que le moteur soit construit, équipé et entretenu correctement pour prévenir les incendies.
Le manuel du propriétaire du moteur ci-joint est fourni à titre informatif concernant la réglementation de l'Agence américaine pour la protection de l'environnement (EPA) et la réglementation antipollution de l'état de Californie relative aux systèmes antipollution, à leur entretien et à leur garantie. Vous pouvez vous en procurer un nouvel exemplaire en vous adressant au constructeur du moteur.
Couple brut ou net : le couple brut ou net de ce moteur a été calculé en laboratoire par le constructeur du moteur selon la norme SAE J1940 ou J2723 de la Society of Automotive Engineers (SAE). Étant configuré pour satisfaire aux normes de sécurité, antipollution et d'exploitation, le moteur monté sur cette classe de tondeuse aura un couple effectif nettement inférieur. Reportez-vous au manuel du constructeur du moteur fourni avec la machine.
CALIFORNIE
Proposition 65 - Avertissement
Les gaz d'échappement de ce produit contiennent des substances chimiques considérées par l'état de Californie comme susceptibles de provoquer des cancers, des malformations congénitales et autres troubles de la reproduction.
Les bornes de la batterie et accessoires connexes contiennent du plomb et des composés de plomb. L'état de Californie considère ces substances chimiques comme susceptibles de provoquer des cancers et des troubles de la reproduction. Lavez-vous les mains après avoir manipulé la batterie.
L'utilisation de ce produit peut entraîner une exposition à des substances chimiques considérées pas l'état de Californie comme capables de provoquer des cancers, des anomalies congénitales ou d'autres troubles de la reproduction.
Ce symbole de sécurité (Figure 2) est utilisé dans ce manuel et sur la machine pour identifier d'importants messages de sécurité qu'il est nécessaire de suivre pour éviter les accidents.

Le symbole de sécurité apparaît au-dessus de toute information signalant des actions ou des situations dangereuses. Il est suivi de la mention DANGER, ATTENTION ou PRUDENCE.
DANGER : Signale un danger immédiat qui, s'il n'est pas évité, entraînera obligatoirement des blessures graves ou mortelles.
ATTENTION : Signale un danger potentiel qui, s'il n'est pas évité, risque d'entraîner des blessures graves ou mortelles.
PRUDENCE : Signale un danger potentiel qui, s'il n'est pas évité, peut éventuellement entraîner des blessures légères ou modérées.
Ce manuel utilise également deux autres termes pour faire passer des renseignements essentiels. Important pour attirer l'attention sur une information d'ordre mécanique spécifique, et Remarque pour souligner une information d'ordre général méritant une attention particulière.
Cette machine peut sectionner les mains ou les pieds et projeter des objets. Toro a conçu et testé cette tondeuse pour garantir un fonctionnement raisonnablement sûr; cependant le non respect des consignes de sécurité peut entraîner des accidents parfois mortels.
Vous devez lire, comprendre et respecter les instructions et les avertissements qui figurent dans le manuel de l'utilisateur et tout autre document de formation, ainsi que sur la machine, le moteur et les accessoires. Les utilisateurs et mécaniciens doivent tous posséder les compétences nécessaires. Il appartient au propriétaire de la machine d'expliquer le contenu de ce manuel aux personnes (utilisateurs, mécaniciens, etc.) qui ne maîtrisent pas suffisamment la langue dans laquelle il est rédigé; d'autres langues sont proposées sur notre site.
Ne confiez l'utilisation de la machine qu'à des personnes formées à son utilisation, responsables et physiquement aptes, qui connaissent parfaitement les procédures d'utilisation sécuritaire, les commandes et la signification des panneaux et instructions de sécurité. Ne confiez jamais l'utilisation ou l'entretien de la machine à des enfants ou à des personnes non qualifiées. La réglementation locale peut imposer un âge minimum pour les utilisateurs.
N'utilisez pas la machine près de fortes dénivellations, fossés, berges, étendues d'eau ou tout autre danger, ni sur des pentes de plus de 15 degrés.
N'approchez pas les mains ou les pieds des composants mobiles de la machine.
N'utilisez jamais la machine si les protections, carters ou capots sont endommagés. Les capots, protections, contacteurs et autres dispositifs de sécurité doivent être en place et en état de fonctionnement.
Arrêtez la machine, coupez le moteur et enlevez la clé avant d'effectuer un entretien, de faire le plein de carburant ou d'éliminer une obstruction sur la machine.

![]() |
Des autocollants de sécurité et des instructions bien visibles par l'opérateur sont placés près de tous les endroits potentiellement dangereux. Remplacez tout autocollant endommagé ou manquant. |





















Tondeuses sans EFI seulement

Tondeuses EFI seulement





Familiarisez-vous avec toutes les commandes avant de mettre le moteur en marche et d'utiliser la machine.

Le commutateur d'allumage sert à démarrer et arrêter le moteur, et comprend 3 positions : ARRêT, CONTACT et DéMARRAGE. Voir Démarrage du moteur.
L'accélérateur commande le régime moteur et peut se régler à l'infini entre les positions BAS RéGIME et HAUT RéGIME (Figure 5).
Utilisez le starter pour démarrer quand le moteur est froid.
Utilisez le levier d'engagement de PDF pour engager les lames et le ventilateur.
Le levier de commande de vitesse règle la vitesse de la machine en marche avant (Figure 4). Déplacez le levier de commande de vitesse en arrière, à la position de POINT MORT, pour bloquer la transmission au point mort.
Le levier permet de serrer un frein de stationnement sur les roues motrices (Figure 4).
Le compteur horaire totalise les heures de fonctionnement du moteur. Le compteur horaire enregistre quand le point décimal clignote dans l'affichage heures/tension. Programmez les entretiens réguliers en fonction du nombre d'heures indiqué (Figure 6).

Si vous tournez le commutateur d'allumage en position CONTACT pendant quelques secondes, la tension de batterie s'affiche dans la zone normalement réservée aux heures de fonctionnement.
Le témoin de la batterie s'allume lorsque le contact est établi et que la charge est inférieure au niveau de fonctionnement correct (Figure 6).
Ces symboles sur le compteur horaire indiquent par un triangle noir que le verrou de sécurité est à la position correcte (Figure 6).
Le témoin de température d'huile moteur surveille la température de l'huile moteur. Il s'allume et une alarme sonore intermittente retentit en cas de surchauffe du moteur.
Le module de commande électronique (ECU) surveille continuellement le fonctionnement du système EFI.
Le témoin d'anomalie (MIL) s'allume en cas de détection d'un problème ou d'une anomalie du système.
Le témoin d'anomalie est le témoin rouge situé dans la console droite.
Lorsque le témoin d'anomalie s'allume, effectuez les premiers contrôles de diagnostic; voir la section sur le témoin d'anomalie sous .
Si ces contrôles ne corrigent pas le problème, un autre diagnostic et un entretien par un dépositaire-réparateur agréé sont nécessaires.
Utilisez les leviers de commande de déplacement pour conduire la machine en marche avant, en marche arrière, pour tourner à droite et à gauche (Figure 4).
Chaque fois que vous arrêtez le moteur, serrez le frein de stationnement pour éviter tout déplacement accidentel de la machine.
Fermez le robinet d'arrivée de carburant avant de transporter ou de remiser la machine.
Note: Les spécifications et la conception peuvent faire l'objet de modifications sans préavis.
| Tablier de coupe de 107 cm (42 po) | Tablier de coupe de 107 cm (48 po) | |
|---|---|---|
| Sans tablier de coupe | 108,2 cm (42,6 po) | 108,2 cm (42,6 po) |
| Avec tablier de coupe | 109,7 cm (43,2 po) | 125 cm (49,2 po) |
| Tablier de coupe de 107 cm (42 po) | Tablier de coupe de 107 cm (48 po) | |
|---|---|---|
| Sans tablier de coupe | 170,9 cm (67,3 po) | 170,9 cm (67,3 po) |
| Tablier de coupe levé | 209,3 cm (82,4 po) | 207,8 cm (81,8 po) |
| Tablier de coupe abaissé | 233,2 cm (91,8 po) | 240 cm (94,5 po) |
| Tablier de coupe de 107 cm (42 po) | Tablier de coupe de 107 cm (48 po) |
|---|---|
| 130 cm (51,2 po) | 130 cm (51,2 po) |
| Tablier de coupe de 107 cm (42 po) | Tablier de coupe de 107 cm (48 po) |
|---|---|
| 517 kg (1,140 lb) | 531 kg (1,170 lb) |
Une sélection d'outils et accessoires agréés par Toro est disponible pour augmenter et améliorer les capacités de la machine. Pour obtenir la liste de tous les accessoires et outils agréés, contactez votre dépositaire-réparateur ou votre distributeur Toro agréé, ou rendez-vous sur www.Toro.com.
Pour garantir un rendement optimal et conserver la certification de sécurité de la machine, utilisez uniquement des pièces de rechange et accessoires Toro d'origine. Les pièces de rechange et accessoires d'autres constructeurs peuvent être dangereux et leur utilisation risque d'annuler la garantie de la machine.
Note: Les côtés gauche et droit de la machine sont déterminés d'après la position d'utilisation normale.
Examinez la zone de travail pour déterminer quels accessoires et outils vous permettront d'exécuter votre tâche correctement et sans risque. Utilisez uniquement des accessoires et équipements agréés par Toro.
Inspectez la zone de travail et enlevez tout objet susceptible d'être projeté par la machine (pierres, jouets, branches, ossements, etc.). Ces objets peuvent être éjectés ou gêner le fonctionnement de la machine, et vous blesser ou blesser d'autres personnes.
Portez un équipement de protection individuelle adapté, comme des lunettes de sécurité, des chaussures solides à semelle antidérapante et des protecteurs d'oreilles. Si vos cheveux sont longs, attachez-les et ne portez pas de vêtements amples ni de bijoux pendants qui pourraient se prendre dans les pièces mobiles.
Cette machine produit au niveau de l'oreille de l'utilisateur un niveau sonore de plus de 85 dBA qui peut entraîner des déficiences auditives en cas d'exposition prolongée.
Portez des protecteurs d'oreilles quand vous utilisez la machine.
Vérifiez toujours que les commandes de présence de l'utilisateur, les contacteurs de sécurité et les capots de protection sont en place et en bon état. N'utilisez pas la machine en cas de mauvais fonctionnement.
N'utilisez pas la tondeuse lorsque des personnes, en particulier des enfants, ou des animaux se trouvent à proximité. Arrêtez la machine et le(s) accessoire(s) si quelqu'un entre dans la zone de travail.
N'utilisez pas la machine sans que le système de ramassage au complet, le déflecteur d'éjection ou d'autres dispositifs de sécurité soient en place et en bon état de marche. Les composants du bac à herbe s'usent, se détériorent et sont endommagés avec le temps, ce qui risque d'exposer des pièces mobiles ou de projeter des objets. Contrôlez fréquemment l'usure ou la détérioration des composants et remplacez-les au besoin par des pièces recommandées par le fabricant.
Faites preuve de la plus grande prudence quand vous manipulez du carburant.
Dans certaines circonstances, l'essence est extrêmement inflammable et dégage des vapeurs explosives.
Un incendie ou une explosion causé(e) par de l'essence peut vous brûler, ainsi que d'autres personnes, et causer des dommages matériels.
Faites le plein du réservoir à l'extérieur sur un sol plat et horizontal, dans un endroit bien dégagé et lorsque le moteur est froid. Essuyez toute essence répandue.
Ne remplissez et ne vidangez jamais le réservoir de carburant à l'intérieur d'un local ou d'une remorque fermée.
Ne remplissez pas complètement le réservoir de carburant. Remplissez le réservoir de carburant jusqu'au bas du goulot de remplissage. L'espace au-dessus doit rester vide pour permettre à l'essence de se dilater. Ne remplissez pas excessivement au risque de causer des fuites de carburant ou encore d'endommager le moteur ou le système antipollution.
Ne fumez jamais en manipulant de l'essence et tenez-vous à l'écart des flammes nues ou des sources d'étincelles qui pourraient enflammer les vapeurs d'essence.
Conservez l'essence dans un récipient homologué et hors de la portée des enfants.
Faites le plein de carburant avant de mettre le moteur en marche. N'enlevez jamais le bouchon du réservoir de carburant et n'ajoutez jamais de carburant lorsque le moteur tourne ou qu'il est chaud.
Si vous renversez du carburant, ne démarrez pas le moteur à cet endroit. Éloignez la machine du carburant renversé et évitez de créer des sources d'inflammation jusqu'à dissipation complète des vapeurs de carburant.
N'utilisez pas la machine si elle n'est pas équipée du système d'échappement complet et en bon état de marche.
Dans certaines circonstances, de l'électricité statique peut se former lors du remplissage, produire une étincelle et enflammer les vapeurs d'essence. Un incendie ou une explosion causé(e) par de l'essence peut vous brûler, ainsi que d'autres personnes, et causer des dommages matériels.
Posez toujours les bidons d'essence sur le sol, à l'écart du véhicule, avant de les remplir.
Ne remplissez pas les bidons d'essence à l'intérieur d'un véhicule ou dans la caisse d'un véhicule utilitaire, car la moquette intérieure ou le revêtement en matière plastique de la caisse risque d'isoler le bidon et de freiner l'élimination de l'électricité statique éventuellement produite.
Dans la mesure du possible, descendez la machine du véhicule ou de la remorque et posez-la à terre avant de remplir le réservoir de carburant.
Si ce n'est pas possible, laissez la machine dans le véhicule ou sur la remorque, mais remplissez le réservoir à l'aide d'un bidon, et non directement à la pompe.
En cas de remplissage à la pompe, maintenez le pistolet en contact avec le bord du réservoir ou du bidon jusqu'à la fin du remplissage. N'utilisez pas de dispositif de verrouillage du pistolet en position ouverte.
L'essence est toxique voire mortelle en cas d'ingestion. Des cancers ont été constatés chez les animaux de laboratoire exposés de manière prolongée à la vapeur de carburant. L'absence de précaution peut provoquer des blessures ou des maladies graves.
Évitez de respirer les vapeurs de carburant de façon prolongée.
N'approchez pas le visage du pistolet ni de l'ouverture du réservoir/bidon de carburant.
Tenez le carburant éloigné des yeux et de la peau.
N'amorcez jamais la vidange du réservoir avec la bouche.
Pour éviter les incendies :
Ne laissez pas l'herbe, les feuilles, la graisse ou l'huile, et autres débris s'accumuler sur et autour du moteur.
Nettoyez les coulées éventuelles d'huile ou de carburant et éliminez les débris imbibés de carburant.
Laissez refroidir la machine avant de la remiser dans un local fermé. Ne la remisez pas près d'une flamme ou dans un local fermé dans lequel se trouve une veilleuse ou un appareil de chauffage.
Pour assurer le fonctionnement optimal de la machine, utilisez uniquement de l'essence sans plomb propre et fraîche (stockée depuis moins d'un mois) ayant un indice d'octane de 87 ou plus (méthode de calcul [R+M]/2).
Éthanol : de l'essence contenant jusqu'à 10 % d'éthanol (essence-alcool) ou 15 % de MTBE (éther méthyltertiobutylique) par volume peut être utilisée à la rigueur. L'éthanol et le MTBE sont deux produits différents. L'utilisation d'essence contenant 15 % d'éthanol (E15) par volume n'est pas agréée. N'utilisez jamais d'essence contenant plus de 10 % d'éthanol par volume, par exemple E15 (qui contient 15 % d'éthanol), E20 (qui contient 20 % d'éthanol) ou E85 (qui contient jusqu'à 85 % d'éthanol). L'utilisation d'essence non agréée peut entraîner des problèmes de performances et/ou des dommages au moteur qui peuvent ne pas être couverts par la garantie.
N'utilisez pas d'essence contenant du méthanol.
Ne stockez pas le carburant dans le réservoir ou dans des bidons de carburant pendant l'hiver, à moins d'utiliser un stabilisateur de carburant.
N'ajoutez pas d'huile à l'essence.
Utilisez un additif stabilisateur/conditionneur dans la machine pour :
Que le carburant reste frais plus longtemps quand il est utilisé conformément aux indications du fabricant du stabilisateur.
Nettoyer le moteur lorsqu'il tourne.
Éviter la formation d'un dépôt gommeux dans le circuit d'alimentation qui pourrait entraîner des problèmes de démarrage.
Important: N'utilisez pas d'additifs contenant du méthanol ou de l'éthanol.
Ajoutez au carburant la quantité correcte de stabilisateur/conditionneur.
Note: L'efficacité des stabilisateurs/conditionneurs est optimale lorsqu'ils sont mélangés à du carburant neuf. Pour réduire les risques de formation de dépôts visqueux dans le circuit d'alimentation, ajoutez toujours un stabilisateur au carburant.
Garez la machine sur une surface plane et horizontale.
Serrez le frein de stationnement.
Coupez le moteur et enlevez la clé.
Nettoyez la surface autour du bouchon du réservoir de carburant.
Remplissez le réservoir de carburant jusqu'au bas du goulot de remplissage (Figure 7).
Note: Ne remplissez pas complètement le réservoir de carburant. L'espace vide dans le réservoir permet au carburant de se dilater.

Avant de démarrer la machine chaque jour, effectuez les procédures décrites à la section .
Les moteurs neufs demandent un certain temps pour développer toute leur puissance. Les tabliers de coupe et les systèmes d'entraînement neufs présentent plus de friction, ce qui augmente la charge sur le moteur. Prévoyez 40 à 50 heures de rodage pour les machines neuves pour leur permettre de développer toute leur puissance et procurer des performances optimales.
Garez la machine sur une surface plane et horizontale, désengagez la PDF et serrez le frein de stationnement.
Avant de quitter la position d'utilisation, coupez le moteur, enlevez la clé et attendez l'arrêt complet de toutes les pièces mobiles.
Dégagez les goupilles de verrouillage de chaque côté du tablier de coupe (Figure 8).

À l'aide de la poignée de levage du tablier, levez le tablier et verrouillez-le dans cette position (le verrou est situé à l'avant au centre du siège), comme montré à la Figure 9.

L'engagement de la PDF lorsque le tablier est levé peut causer de graves dommages corporels ou matériels.
Abaissez toujours le tablier de coupe en position d'utilisation avant d'engager la PDF.
Tenez fermement la poignée de levage du tablier de coupe, décrochez le verrou de la machine et abaissez lentement le tablier au sol (Figure 9).
Poussez les goupilles de verrouillage vers l'intérieur et tournez-les vers l'avant pour verrouiller solidement le tablier en position abaissée (Figure 9).
Le tablier de coupe peut se replier soudainement en cours d'utilisation et causer de graves blessures si les goupilles de verrouillage ne sont pas fermement enclenchées.
Enclenchez toujours les goupilles de verrouillage solidement avant d'utiliser la machine.
Le système de réduction de remplissage est conçu pour vous aider à réduire plus ou moins le volume des déchets d'herbe ramassés. Les avantages comprennent le vidage moins fréquent du bac de ramassage et la restitution des éléments nutritifs dans le sol.
Les configurations suivantes sont possibles :
Déflecteurs ouverts, lames standard – Ramassage maximal
Déflecteurs fermés, lames standard – Déchiquetage partiel
Déflecteurs fermés, lames déchiqueteuses – Déchiquetage intermédiaire
Obturateur de déchiquetage installé, lames déchiqueteuses – Déchiquetage complet (kit de déchiquetage requis)
Réglez les déflecteurs FRS comme suit :
Garez la machine sur une surface plane et horizontale, désengagez la PDF et serrez le frein de stationnement.
Avant de quitter la position d'utilisation, coupez le moteur, enlevez la clé et attendez l'arrêt complet de toutes les pièces mobiles.
Retirez les goupilles fendues et les axes de chape des deux côtés de la protection de PDF (Figure 10).
Pliez la protection en avant.

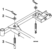
Desserrez les contre-écrous sur les goujons arrière des déflecteurs FRS.

Élevez le tablier de coupe; voir Levage du tablier de coupe en position d'entretien.
Retirez le boulon et la rondelle à l'avant de chacun des déflecteur FRS (Figure 12).
Pivotez les déflecteurs à la position voulue puis reposez le boulon et la rondelle.

Abaissez le tablier de coupe; voir Abaissement du tablier de coupe en position d'utilisation.
Desserrez légèrement les contre-écrous sur les goujons arrière des déflecteurs FRS.
Note: Les contre-écrous sur les goujons arrière peuvent rester légèrement desserrés si un réglage fréquent des déflecteurs est anticipé.
Reposez la protection de PDF avec les axes de chape et les goupilles fendues retirés à l'opération 3.
Si les contacteurs de sécurité sont déconnectés ou endommagés, la machine peut se mettre en marche inopinément et causer des blessures.
Ne modifiez pas abusivement les contacteurs de sécurité.
Vérifiez chaque jour le fonctionnement des contacteurs de sécurité et remplacez ceux qui sont endommagés avant d'utiliser la machine.
Le système de sécurité est conçu pour empêcher le démarrage du moteur, sauf si :
Le frein de stationnement est serré.
Le levier d'engagement de PDF est désengagé.
Le levier de commande de vitesse est à la position POINT MORT.
Le système de sécurité est conçu pour couper le moteur quand vous vous soulevez du siège alors que la PDF est engagée.
Le compteur horaire comporte des indicateurs qui signalent à l'utilisateur quand le composant de verrouillage de sécurité est à la position correcte. Lorsque le composant est à la position correcte, un indicateur s'affiche à l’écran.

| Périodicité d'entretien | Procédure d'entretien |
|---|---|
| À chaque utilisation ou une fois par jour |
|
Contrôlez le système de sécurité avant chaque utilisation de la machine. Si le système de sécurité ne fonctionne pas comme spécifié ci-dessous, faites-le immédiatement réviser par un dépositaire-réparateur agréé.
Asseyez-vous sur le siège, serrez le frein de stationnement, placez le levier d'engagement de PDF en position ENGAGéE et amenez le levier de commande de vitesse à la position de POINT MORT. Essayez de démarrer le moteur; le moteur ne doit pas démarrer.
Asseyez-vous sur le siège, serrez le frein de stationnement et amenez le levier d'engagement de PDF en position DéSENGAGéE. Sortez le levier de commande de vitesse de la position de POINT MORT. Essayez de démarrer le moteur; le moteur ne doit pas démarrer.
Asseyez-vous sur le siège, desserrez le frein de stationnement, placez le levier d'engagement de PDF en position DéSENGAGéE et amenez le levier de commande de vitesse à la position de POINT MORT. Essayez de démarrer le moteur; le moteur ne doit pas démarrer.
Asseyez-vous sur le siège, serrez le frein de stationnement, placez le levier d'engagement de PDF en position DéSENGAGéE et amenez le levier de commande de vitesse à la position de POINT MORT. Mettez alors le moteur en marche. Lorsque le moteur tourne, desserrez le frein de stationnement, serrez le levier d'engagement de PDF et soulevez-vous légèrement du siège; le moteur doit s'arrêter.
Asseyez-vous sur le siège, serrez le frein de stationnement, placez le levier d'engagement de PDF en position DéSENGAGéE et amenez le levier de commande de vitesse à la position de POINT MORT. Mettez alors le moteur en marche. Avancez le levier de commande de vitesse; le moteur doit s'arrêter.
Pour déverrouiller le siège, retirez le boulon et la goupille sur le côté gauche (Figure 14).

L'opérateur doit consacrer toute son attention à l'utilisation de la machine. Ne vous livrez à aucune activité risquant de vous distraire, au risque de causer des dommages corporels ou matériels.
Les pièces du moteur, en particulier le silencieux, deviennent extrêmement chaudes pendant le fonctionnement. Leur contact peut causer de graves brûlures et enflammer les débris (feuilles, herbe, broussailles, etc.).
Laissez refroidir les pièces du moteur, en particulier le silencieux, avant de les toucher.
Éliminez les débris accumulés sur le silencieux et autour du moteur.
Les gaz d'échappement contiennent du monoxyde de carbone, un gaz inodore mortel.
Ne faites pas tourner le moteur à l'intérieur ou dans un petit espace confiné où le monoxyde de carbone dangereux dégagé par l'échappement peut s'accumuler.
Le propriétaire/l'utilisateur est responsable des dommages matériels ou corporels et peut les prévenir.
Cette tondeuse n'est conçue que pour un seul utilisateur. Ne transportez pas de passagers et n'autorisez personne à s'approcher de la machine en marche.
N'utilisez pas la machine sous l'emprise de l'alcool, de drogues ou de médicaments.
Travaillez uniquement à la lumière du jour ou avec un bon éclairage artificiel.
La foudre peut causer des blessures graves ou mortelles. Si vous voyez des éclairs ou que vous entendez le tonnerre à proximité, n'utilisez pas la machine et mettez-vous à l'abri.
Redoublez de prudence lorsque vous utilisez la machine équipée d'outils ou d'accessoires, tels des systèmes de ramassage. Ceux-ci peuvent modifier la stabilité et entraîner la perte de contrôle de la machine. Suivez les instructions d'utilisation des contrepoids si nécessaire.
Ne vous approchez pas des trous, ornières, bosses, rochers et autres dangers cachés. Faites preuve de prudence à l'approche de tournants sans visibilité, de buissons, d'arbres, d'herbe haute ou autres obstacles susceptibles de gêner la vue. Les irrégularités du terrain peuvent provoquer le retournement de la machine ou vous faire déraper et vous faire perdre l'équilibre.
Vérifiez que tous les embrayages sont au point mort et que le frein de stationnement est serré avant de mettre le moteur en marche. Utilisez les ceintures de sécurité avec l'arceau de sécurité relevé et verrouillé dans cette position.
Démarrez le moteur prudemment en vous conformant aux instructions et en évitant d'approcher les pieds des lames.
N'utilisez jamais la machine si les protections, carters ou capots sont endommagés. Les capots, protections, contacteurs et autres dispositifs de sécurité doivent être en place et en état de fonctionnement.
Ne vous tenez jamais devant l'ouverture d'éjection. Ne tondez jamais avec le volet d'éjection relevé, déposé ou modifié à moins qu'un système de ramassage ou de déchiquetage soit en place et fonctionne correctement.
N'approchez jamais les mains ou les pieds des pièces mobiles. Dans la mesure du possible, évitez d'effectuer des réglages sur la machine quand le moteur est en marche.
Les pièces rotatives peuvent happer et coincer les mains, les pieds, les cheveux, les vêtements ou les accessoires. Le contact avec des pièces rotatives peut causer une amputation traumatisante ou de graves lacérations.
N'utilisez pas la machine si les protections, les capots et les dispositifs de sécurité ne sont pas place et en bon état de fonctionnement.
Gardez les mains, les pieds, les cheveux, les bijoux et les vêtements éloignés des pièces rotatives.
Ne levez jamais le tablier de coupe pendant que les lames tournent.
Sachez dans quel sens s'effectue l'éjection et ne la dirigez jamais vers qui que ce soit. Ne dirigez pas l'éjection contre un mur ou un obstacle, car le matériau éjecté pourrait ricocher dans votre direction. Arrêtez les lames, ralentissez et faites preuve de prudence lorsque vous traversez des surfaces autres qu'une pelouse et quand vous déplacez la tondeuse entre les surfaces de travail.
Restez sur vos gardes, ralentissez et changez de direction avec prudence. Regardez derrière vous et de chaque côté avant de changer de direction. Ne tondez jamais en marche arrière, sauf en cas d'absolue nécessité.
Ne modifiez pas le réglage du régulateur et ne faites pas tourner le moteur à un régime excessif.
Garez la machine sur une surface plane et horizontale. Coupez le moteur, attendez l'arrêt complet de toutes les pièces mobiles et débranchez le fil de la ou des bougies.
Avant d'inspecter, de nettoyer ou d'effectuer toute opération sur la tondeuse.
Après avoir heurté un obstacle ou en cas de vibrations anormales (vérifiez l'état de la tondeuse et effectuez les réparations éventuellement nécessaires avant de la remettre en marche et de l'utiliser à nouveau).
Avant de dégager des obstructions.
Avant de quitter la tondeuse. Ne laissez pas la machine en marche sans surveillance.
Coupez le moteur et attendez l'arrêt complet de toutes les pièces mobiles :
Avant de faire le plein de carburant.
Avant de vider le bac à herbe.
Avant de modifier la hauteur de coupe.
Des accidents tragiques peuvent survenir si l'utilisateur ne sait pas que des enfants sont présents. Les enfants sont souvent attirés par la machine et l'activité de tonte. Ne partez jamais du principe que les enfants se trouvent encore à l'endroit où vous les avez vus pour la dernière fois.
Veillez à ce que les enfants restent hors de la zone de tonte, sous la garde d'un adulte responsable autre que l'utilisateur.
Restez sur vos gardes et coupez le moteur de la machine si des enfants pénètrent dans la zone de travail.
Avant et pendant une marche arrière ou un changement de direction, assurez-vous toujours qu'aucun enfant ne se tient juste derrière les roues de la machine, sur sa trajectoire ou sur les côtés.
N'autorisez jamais un enfant à utiliser la machine.
Ne transportez pas d'enfants, même si les lames sont arrêtées. Les enfants pourraient tomber et se blesser gravement ou compromettre le fonctionnement sûr de la machine. Les enfants qui ont été autorisés à monter sur la machine en marche par le passé peuvent apparaître subitement dans la zone de travail parce qu'ils veulent recommencer. Ils risquent alors d'être renversés ou écrasés par la machine.
Les pentes augmentent significativement les risques de perte de contrôle et de retournement de la machine pouvant entraîner des accidents graves, voire mortels. L'utilisateur est responsable de la sécurité d'utilisation de la machine sur les pentes. L'utilisation de la machine sur une pente, quelle qu'elle soit, demande une attention particulière. Avant d’utiliser la machine sur une pente, l'utilisateur doit :
Lire et comprendre les instructions relatives à l'utilisation sur les pentes qui figurent dans le manuel et sur la machine.
Utiliser l'indicateur d'angle pour déterminer l'angle approximatif de la pente sur laquelle vous devez travailler.
Ne travaillez jamais sur des pentes de plus de 15 degrés.
Évaluer chaque jour l'état du terrain pour déterminer si la pente permet d'utiliser la machine sans risque. Faites preuve de bon sens et de discernement lors de cette évaluation. Les conditions changeantes du terrain, telle l'humidité, peuvent rapidement modifier le fonctionnement de la machine sur les pentes.
Repérez les dangers potentiels depuis le bas de la pente. N'utilisez pas la machine près de fortes dénivellations, fossés, berges, étendues d'eau ou autres dangers. La machine pourrait se retourner brusquement si une roue passe par-dessus une dénivellation quelconque et se retrouve dans le vide, ou si un bord s'effondre. Maintenez une distance de sécurité (deux fois la largeur de la machine) entre la machine et tout danger potentiel. Utilisez une tondeuse autotractée ou une débroussailleuse manuelle pour tondre sur ce type de terrain.

Évitez de démarrer, de vous arrêter ou de tourner sur les pentes. Ne changez pas soudainement de vitesse ou de direction; tournez lentement et graduellement.
N'utilisez pas la machine si l'adhérence, la direction ou la stabilité peuvent être compromises. Tenez compte du fait qu'une perte de l'adhérence peut se produire sur l'herbe humide, en travers des pentes ou dans les descentes. La perte d'adhérence des roues motrices peut faire patiner la machine et entraîner la perte du freinage et de la direction. La machine peut déraper même si les roues motrices ne tournent plus.
Enlevez ou balisez les obstacles tels que fossés, trous, ornières, bosses, rochers ou autres dangers cachés. L'herbe haute peut masquer les accidents du terrain. Les irrégularités du terrain peuvent provoquer le retournement de la machine.
Redoublez de prudence lorsque vous utilisez la machine équipée d'outils ou d'accessoires, tels des systèmes de ramassage. Ceux-ci peuvent modifier la stabilité et entraîner la perte de contrôle de la machine. Suivez les instructions d'utilisation des contrepoids.
Dans la mesure du possible, gardez le tablier de coupe abaissé au sol quand vous utilisez la machine sur des pentes. La machine peut devenir instable si vous levez le tablier de coupe pendant l'utilisation sur une pente.
Serrez toujours le frein de stationnement lorsque vous arrêtez la machine ou que vous la laissez sans surveillance.
Garez la machine sur une surface plane et horizontale.


Le levier d'engagement de PDF permet de démarrer et d'arrêter les lames du tablier de coupe et le ventilateur.


Vous pouvez déplacer la commande d'accélérateur entre les positions HAUT RéGIME et BAS RéGIME (Figure 20).
Sélectionnez toujours la position HAUT RéGIME quand vous engagez la PDF.

Amenez le levier de commande de vitesse au POINT MORT.
Serrez le frein de stationnement; voir Serrage du frein de stationnement.
Placez le levier d'engagement de PDF en position ARRêT (Figure 21).
Réglez la commande d'accélérateur à mi-course entre les positions BAS RéGIME et HAUT RéGIME.
Tondeuses EFI : placez la commande de starter en position FERMéE/EN SERVICE. Si le moteur est chaud, laissez le starter en position ouverte/hors service.

Tournez la clé à la position DéMARRAGE (Figure 21). Relâchez la clé quand le moteur démarre.
Important: N'actionnez pas le démarreur plus de 5 secondes de suite. Si le moteur ne démarre pas, attendez 15 secondes avant de faire une nouvelle tentative. Le démarreur risque de griller si vous ne respectez pas ces consignes.
Note: Plusieurs tentatives peuvent être nécessaires pour démarrer le moteur pour la première fois après le remplissage du système d'alimentation si ce dernier était complètement vide.
Si le starter est en position FERMéE/EN SERVICE, ramenez-le graduellement en position OUVERTE/HORS SERVICE à mesure que le moteur se réchauffe.
Les enfants ou les personnes à proximité peuvent se blesser s'ils déplacent la machine ou essayent de l'utiliser lorsqu'elle est laissée sans surveillance.
Retirez toujours la clé et serrez le frein de stationnement si vous laissez la machine sans surveillance.
Désengagez la PDF.
Amenez le levier de commande de vitesse au point mort.
Serrez le frein de stationnement.
Placez la commande d'accélérateur à mi-course.
Laissez tourner le moteur au ralenti pendant 15 secondes, puis coupez le contact et enlevez la clé.

La commande d'accélérateur agit sur le régime moteur qui se mesure en tours/minute (tr/min). Placez la commande d'accélérateur en position HAUT RéGIME pour obtenir des performances optimales. Pour travailler, placez toujours la commande d'accélérateur en position Haut régime (plein gaz).
La machine peut tourner très rapidement. Vous risquez de perdre le contrôle de la machine et de vous blesser gravement ou d'endommager la machine.
Faites preuve d'une extrême prudence dans les virages.
Ralentissez avant de prendre des virages serrés.
Note: Pour que la machine commence à se déplacer (en marche avant ou arrière), asseyez-vous sur le siège et desserrez le frein de stationnement avant de déplacer le levier de commande de vitesse en avant, sinon le moteur s'arrêtera.
Pour arrêter la machine, ramenez le levier de commande de déplacement à la position POINT MORT.
Démarrez le moteur.
Desserrez le frein de stationnement; voir Desserrage du frein de stationnement.
Pour avancer en ligne droite, déplacez le levier de commande de vitesse vers l'avant.
Note: Plus le levier de commande de vitesse est éloigné de la position POINT MORT, plus la machine se déplace rapidement.
Pour tourner à gauche ou à droite, tirez l'un des leviers direction en arrière vers la position point mort, dans la direction voulue.
Pour arrêter la machine, ramenez le levier de commande de vitesse à la position POINT MORT.
Pour faire marche arrière en ligne droite, tirez les deux leviers de direction en arrière de manière égale.
Pour tourner à gauche ou à droite, relâchez le levier de direction du côté voulu.
Pour arrêter la machine, relâchez les leviers de direction pour les ramener à la position point mort.
Vous pouvez régler la hauteur de coupe du tablier entre 2,5 et 10,2 cm (1 et 4 po) par paliers de 6,4 mm (1/4 po).
Garez la machine sur une surface plane et horizontale, amenez le levier de commande de vitesse en position POINT MORT, désengagez la PDF et serrez le frein de stationnement.
Avant de quitter la position d'utilisation, coupez le moteur, enlevez la clé et attendez l'arrêt complet de toutes les pièces mobiles.
Tout en maintenant le cadre avant baissé, soulevez le tablier d'un côté pour que le verrou de support vienne s'engager sur la goupille fixe du cadre avant (Figure 23)

Placez les goupilles fendues des goupilles de support du tablier dans le trou correct pour la hauteur de coupe voulue.
Levez le tablier suffisamment pour pouvoir élever et libérer le verrou du support et abaisser le tablier.
Répétez cette procédure de l'autre côté du tablier de coupe.
Une alarme sonore située dans la trémie, derrière le siège, signale quand la trémie est pleine. Videz la trémie quand l'alarme retentit pour éviter de boucher le ventilateur ou le tablier de coupe.
Garez la machine sur une surface plane et horizontale, amenez le levier de commande de vitesse en position POINT MORT, désengagez la PDF et serrez le frein de stationnement.
Avant de quitter la position d'utilisation, coupez le moteur, enlevez la clé et attendez l'arrêt complet de toutes les pièces mobiles.
Soulevez le couvercle arrière et appuyez-le sur le haut de la trémie.
À l'aide des poignées situées sur le côté inférieur avant de la trémie, levez la trémie pour la vider.
Abaissez la trémie et refermez le couvercle.
Pour obtenir une circulation d'air maximale et des résultats optimaux, faites tourner le moteur à HAUT RéGIME. L'air doit pouvoir circuler pour bien couper l'herbe. Pour cette raison, ne sélectionnez pas une hauteur de coupe trop basse car le tablier de coupe serait alors complètement entouré d'herbe haute. Placez-vous toujours de sorte qu'un côté du tablier de coupe se trouve à l'extérieur de la zone non coupée. L'air pourra ainsi circuler librement dans le tablier de coupe.
Tondez l'herbe légèrement plus haut que d'habitude pour éviter de scalper les inégalités du terrain. La hauteur de coupe habituelle est cependant celle qui convient le mieux en général. Si la hauteur de l'herbe dépasse 15 cm (6 po), vous devrez peut-être vous y reprendre à deux fois pour obtenir un résultat acceptable.
L'idéal est de ne raccourcir l'herbe que du tiers de sa hauteur. Une coupe plus courte est déconseillée, à moins que l'herbe ne soit clairsemée, ou en automne lorsque la pousse commence à ralentir.
Alternez le sens des passages pour ne pas coucher l'herbe. L'alternance permet aussi de mieux disperser l'herbe coupée, ce qui améliore la décomposition et la fertilisation.
L'herbe pousse plus ou moins vite selon la saison. Pour conserver une hauteur de coupe régulière, tondez plus souvent au début du printemps. Réduisez la fréquence de tonte au milieu de l'été, lorsque l'herbe pousse moins vite. Si le gazon n'a pas été tondu depuis un certain temps, tondez une première fois assez haut, puis un peu plus bas 2 jours plus tard.
Ralentissez pour améliorer la qualité de la coupe dans certaines conditions.
Si le gazon est irrégulier, augmentez la hauteur de coupe pour éviter de le scalper en tondant.
Si vous immobilisez la machine en cours de tonte, un paquet d'herbe coupée peut tomber sur la pelouse. Pour éviter cela, rendez-vous dans une zone déjà tondue en laissant les lames engagées ou désengagez le tablier de coupe pendant la marche avant de la machine.
Nettoyez le dessous du tablier de coupe après chaque utilisation. Ne laissez pas l'herbe et la terre s'accumuler à l'intérieur, car la qualité de la tonte finira par en souffrir.
Utilisez une lame bien aiguisée durant toute la saison de tonte, pour obtenir une coupe nette sans arracher ni déchiqueter les brins d'herbe. L'herbe arrachée ou déchiquetée brunit sur les bords, sa croissance ralentit et elle devient plus sensible aux maladies. Après chaque utilisation, vérifiez l'état, l'usure et l'affûtage des lames. Limez les entailles éventuelles et aiguisez les lames au besoin. Remplacez immédiatement les lames endommagées ou usées par des lames Toro d'origine.
Garez la machine sur une surface plane et horizontale, débrayez toutes les commandes, serrez le frein de stationnement, coupez le moteur et enlevez la clé ou débranchez le fil de la bougie. Attendez l'arrêt complet de tout mouvement et laissez refroidir la machine avant de la régler, la nettoyer, la réparer ou la remiser. Ne confiez jamais l'entretien de la machine à des personnes non qualifiées.
Nettoyez la machine comme expliqué à la section Entretien. Ne laissez pas l'herbe, les feuilles, la graisse ou l'huile, et autres débris s'accumuler sur et autour du moteur. Ces matériaux peuvent s'enflammer et causer un incendie.
Vérifiez fréquemment que la machine ne comporte aucun composant usé ou détérioré qui pourrait présenter un danger. Resserrez les fixations desserrées.
Déposez le filtre en le soulevant fermement par les poignées (Figure 24).
Tirez le filtre vers l'arrière pour le déposer. Au besoin, tapotez le filtre pour faire tomber les débris.
Note: Une accumulation excessive de débris sur le filtre peut boucher le ventilateur.
Note: Si le filtre se colmate rapidement, vous pouvez retourner le panneau filtrant amovible avant et le reposer sous le préfiltre pour permettre à l'air de sortir librement de la trémie.

Vous pouvez vous coincer les mains dans les composants d'entraînement en rotation situés sous le plancher moteur, et subir des blessures graves.
Coupez le moteur, enlevez la clé et attendez l'arrêt complet de toutes les pièces mobiles avant d'accéder aux valves de déblocage des roues motrices.
Le moteur et les unités motrices hydrauliques peuvent devenir très chauds. Vous pouvez vous brûler gravement au contact du moteur ou des unités motrices hydrauliques chauds.
Laissez complètement refroidir le moteur et les unités motrices hydrauliques avant d'accéder aux valves de déblocage des roues motrices.
Les valves de déblocage des roues motrices sont situées dans l'angle supérieur avant gauche des pompes hydrostatiques.
Amenez le levier de commande de vitesse en position POINT MORT pour arrêter la machine.
Désengagez le levier de PDF, serrez le frein de stationnement, coupez le moteur et attendez l'arrêt de toutes les pièces mobiles.
Soulevez le siège pour accéder aux pompes.
Tournez les deux valves de déblocage d'un tour dans le sens antihoraire pour débloquer la transmission.
Note: Cela permet au liquide hydraulique de contourner la pompe et aux roues de tourner.
Desserrez le frein de stationnement avant de pousser la machine.
Note: Ne remorquez pas la machine.
Tournez les valves dans le sens horaire pour faire fonctionner la machine.
Note: Ne serrez pas les valves excessivement.
Transportez la machine sur une remorque de poids-lourd ou un camion. Utilisez une rampe d'une seule pièce. Le camion ou la remorque doit être équipé(e) des freins, des éclairages et de la signalisation exigés par la loi. Lisez attentivement toutes les consignes de sécurité. Tenez-en compte pour éviter de vous blesser ou de blesser des personnes à proximité. Reportez-vous aux ordonnances locales concernant les exigences d'arrimage et de remorquage.
Il est dangereux de conduire sur la voie publique sans clignotants, éclairages, réflecteurs ou panneau « véhicule lent »; vous risquez de provoquer un accident et de vous blesser.
Ne conduisez pas la machine sur la voie publique.
Le chargement de la machine sur une remorque ou un camion augmente le risque de basculement, et donc de blessures graves ou mortelles (Figure 25).
Utilisez uniquement une rampe pleine largeur; n'utilisez pas de rampes séparées de chaque côté de la machine.
L'angle entre la rampe et le sol, ou entre la rampe et la remorque ou le camion, ne doit pas dépasser 15 degrés.
La rampe doit être au moins quatre fois plus longue que la hauteur de la remorque ou du plateau de chargement par rapport au sol. De la sorte, l'angle de la rampe ne dépassera pas 15 degrés sur un sol plat.

Le chargement de la machine sur une remorque ou un camion augmente le risque de basculement et donc de blessures graves ou mortelles.
Procédez avec la plus grande prudence lorsque vous manÅ“uvrez la machine sur une rampe.
Montez la rampe en marche arrière et descendez-la en marche avant.
Évitez d'accélérer ou de décélérer brutalement lorsque vous conduisez la machine sur une rampe car vous pourriez en perdre le contrôle ou la faire basculer.
Si vous utilisez une remorque, attelez-la au véhicule tracteur et attachez les chaînes de sécurité.
Le cas échéant, raccordez les freins et connectez l'éclairage de la remorque.
Abaissez la rampe pour que l'angle avec le sol ne dépasse pas 15 degrés (Figure 25).
Montez la rampe en marche arrière (Figure 26).

Coupez le moteur, enlevez la clé et serrez le frein de stationnement.
Arrimez solidement la machine sur la remorque ou le camion à l'aide de sangles, chaînes, câbles ou cordes tendu(e)s vers le bas et à l'extérieur de la machine. Reportez-vous à la réglementation locale concernant les exigences d'arrimage.
Pendant les opérations d'entretien ou de réglage, quelqu'un pourrait mettre le moteur en marche. Le démarrage accidentel du moteur peut vous blesser gravement ou blesser des personnes à proximité.
Avant de procéder à un quelconque entretien, enlevez la clé de contact, serrez le frein de stationnement et débranchez le fil de la ou des bougies. Écartez le ou les fils pour éviter tout contact accidentel avec la ou les bougies.
Le moteur peut devenir très chaud. Vous pouvez vous brûler gravement à son contact.
Attendez que le moteur soit complètement froid avant d'effectuer des entretiens ou des réparations à proximité.
Garez la machine sur une surface plane et horizontale, débrayez toutes les commandes, serrez le frein de stationnement, coupez le moteur et enlevez la clé ou débranchez le fil de la bougie. Attendez l'arrêt complet de tout mouvement et laissez refroidir la machine avant de la régler, la nettoyer ou la réparer. Ne confiez jamais l'entretien de la machine à des personnes non qualifiées.
Débranchez la batterie ou le fil de la bougie avant d'entreprendre des réparations. Débranchez la borne négative de la batterie avant la borne positive. Rebranchez toujours la borne positive avant la borne négative.
Maintenez la machine, les protections, les capots et tous les dispositifs de sécurité en place et en bon état. Contrôlez fréquemment l'usure ou la détérioration des composants et remplacez-les au besoin par des pièces recommandées par le fabricant.
Le retrait de pièces et/ou d'accessoires d'origine peut modifier la garantie, la maniabilité et la sécurité de la machine. Les modifications non autorisées du matériel d'origine ou l'utilisation de pièces autres que des pièces Toro d'origine peuvent entraîner des blessures graves ou mortelles. Toute modification non autorisée de la machine, du moteur, du système d'alimentation ou de dégazage peut contrevenir aux normes de sécurité telles que ANSI, OSHA et NFPA et/ou à la réglementation gouvernementale telle EPA et CARB.
Les fuites de liquide hydraulique sous pression peuvent transpercer la peau et causer des blessures graves. L'injection de liquide sous la peau nécessite une intervention chirurgicale dans les heures qui suivent l'accident, réalisée par un médecin connaissant ce genre de blessure, pour éviter le risque de gangrène.
Le cas échéant, vérifiez l'état de tous les flexibles et conduites hydrauliques, ainsi que le serrage de tous les raccords et branchements, avant de mettre le système hydraulique sous pression.
N'approchez pas les mains ni aucune autre partie du corps des fuites en trou d'épingle ou des gicleurs d'où sort du liquide hydraulique sous haute pression.
Utilisez un morceau de carton ou de papier pour détecter les fuites, jamais les mains.
Évacuez soigneusement toute la pression du système hydraulique en plaçant les leviers de commande de déplacement au point mort et en coupant le moteur avant toute intervention sur le système hydraulique.
Modèles Kohler EFI (injection électronique) :
Les composants du système d'alimentation sont soumis à une pression élevée. L'utilisation de composants non conformes peut causer une panne du système d'alimentation, une fuite de carburant et même une explosion.
Utilisez uniquement des conduites et des filtres à carburant homologués pour les systèmes à haute pression.
Examinez les lames avec précaution. Manipulez toujours les lames avec des gants ou en les enveloppant dans un chiffon, et toujours avec prudence. Remplacez toujours les lames endommagées. N'essayez jamais de les redresser ou de les souder.
Utilisez des chandelles pour soutenir la machine et/ou les composants au besoin.
Ne vous fiez pas uniquement à des crics mécaniques ou hydrauliques pour soulever la machine aux fins d'entretien ou de révision; cela pourrait être dangereux. Ils peuvent ne pas offrir un soutien suffisant ou peuvent lâcher et laisser retomber la machine, et causer ainsi des blessures.
Ne vous fiez pas uniquement à des crics mécaniques ou hydrauliques comme soutien. Utilisez des chandelles adéquates ou un support équivalent.
Libérez la pression emmagasinée dans les composants avec précaution.
N'approchez jamais les mains ou les pieds des pièces mobiles. Dans la mesure du possible, évitez d'effectuer des réglages sur la machine quand le moteur est en marche. Si la procédure d'entretien ou de réglage exige que le moteur tourne et que des composants se déplacent, faites preuve d'une extrême prudence.
Les pièces mobiles et les surfaces brûlantes peuvent causer des blessures.
N'approchez pas les doigts, les mains ou les vêtements des pièces rotatives et des surfaces chaudes.
Vérifiez fréquemment le couple de serrage de tous les boulons.
| Périodicité d'entretien | Procédure d'entretien |
|---|---|
| Après les 50 premières heures de fonctionnement |
|
| Après les 100 premières heures de fonctionnement |
|
| À chaque utilisation ou une fois par jour |
|
| Toutes les 40 heures |
|
| Toutes les 50 heures |
|
| Toutes les 100 heures |
|
| Toutes les 160 heures |
|
| Toutes les 200 heures |
|
| Toutes les 250 heures |
|
| Toutes les 400 heures |
|
| Toutes les 500 heures |
|
| Toutes les 2000 heures |
|
| Chaque mois |
|
| Une fois par an |
|
| Une fois par an ou avant le remisage |
|
Important: Reportez-vous au manuel du propriétaire du moteur pour toutes procédures d'entretien supplémentaires.
Si vous laissez la clé dans le commutateur d'allumage, quelqu'un pourrait mettre le moteur en marche accidentellement et vous blesser gravement, ainsi que toute personne à proximité.
Coupez le moteur et enlevez la clé du commutateur d'allumage avant d'effectuer un entretien.
| Périodicité d'entretien | Procédure d'entretien |
|---|---|
| Toutes les 40 heures |
|
| Toutes les 100 heures |
|
| Une fois par an |
|
Graissez la machine plus fréquemment si vous travaillez dans une atmosphère sale ou poussiéreuse.
Type de graisse : graisse nº 2 au lithium ou au molybdène.
Garez la machine sur une surface plane et horizontale, désengagez la PDF et serrez le frein de stationnement.
Avant de quitter la position d'utilisation, coupez le moteur, enlevez la clé et attendez l'arrêt complet de toutes les pièces mobiles.
Nettoyez les graisseurs avec un chiffon.
Note: Grattez la peinture qui pourrait se trouver sur l'avant des graisseurs.
Raccordez un pistolet de graissage au graisseur.
Injectez de la graisse dans les graisseurs jusqu'à ce qu'elle commence à sortir des roulements.
Essuyez tout excès de graisse.

| Périodicité d'entretien | Procédure d'entretien |
|---|---|
| Une fois par an |
|
Garez la machine sur une surface plane et horizontale, désengagez la PDF et serrez le frein de stationnement.
Levez la trémie (Figure 28).

Avant de quitter la position d'utilisation, coupez le moteur, enlevez la clé et attendez l'arrêt complet de toutes les pièces mobiles.
Desserrez le boulon de fixation du filtre à air (Figure 29).
Desserrez le collier de maintien du flexible et déposez le filtre à air (Figure 29).

Retirez les boulons et la plaque situés sous le filtre à air.

Graissez le bras de la poulie de tension de la courroie de pompe (Figure 30).
Reposez la plaque et le filtre à air.
| Périodicité d'entretien | Procédure d'entretien |
|---|---|
| Toutes les 160 heures |
|
Garez la machine sur une surface plane et horizontale, désengagez la PDF et serrez le frein de stationnement.
Avant de quitter la position d'utilisation, coupez le moteur, enlevez la clé et attendez l'arrêt complet de toutes les pièces mobiles.
Graissez les bagues en bronze du pivot du levier de frein avec un lubrifiant à pulvériser ou une huile légère (Figure 31).

| Périodicité d'entretien | Procédure d'entretien |
|---|---|
| Toutes les 160 heures |
|
Garez la machine sur une surface plane et horizontale, désengagez la PDF et serrez le frein de stationnement.
Avant de quitter la position d'utilisation, coupez le moteur, enlevez la clé et attendez l'arrêt complet de toutes les pièces mobiles.
Débloquez le verrou du siège et soulevez le siège.
Graissez les bagues en bronze à chaque extrémité de la tige de frein avec un lubrifiant à pulvériser ou une huile légère.
Note: Les bagues sont situées à l'intérieur des butées à bride.
Graissez chaque extrémité des tiges de la tringlerie de direction avec un lubrifiant à pulvériser ou une huile légère.
| Périodicité d'entretien | Procédure d'entretien |
|---|---|
| Après les 50 premières heures de fonctionnement |
|
| Toutes les 100 heures |
|
| Toutes les 2000 heures |
|
Garez la machine sur une surface plane et horizontale, désengagez la PDF et serrez le frein de stationnement.
Avant de quitter la position d'utilisation, coupez le moteur, enlevez la clé et attendez l'arrêt complet de toutes les pièces mobiles.
Déposez les lames qui sont fixées au boîtier d'engrenages; voir Dépose des lames.
Déposez l'ensemble boîtier d'engrenages et arbre d'entraînement du tablier de coupe. Conservez les fixations pour utilisation ultérieure.
Enlevez le grand bouchon de vidange d'huile à l'avant de chacune des trois éléments du boîtier d'engrenages, et vidangez l'huile (Figure 32).

Enlevez les petits bouchons magnétiques et essuyez les petits déchets accumulés sur les bouchons.
Appliquez du composé de scellement au Téflon® pour tuyaux sur tous les petits bouchons magnétiques et reposez-les dans le boîtier d'engrenages.
Reposez l'ensemble boîtier d'engrenages et arbre d'entraînement sur le tablier de coupe.
Versez de l'huile synthétique pour engrenages « Mobil® SHC (synthetic) 75W-90 » dans le boîtier d'engrenages jusqu'à ce que le niveau atteigne le bouchon de vidange/remplissage.
Note: Chaque élément du boîtier d'engrenages doit être rempli séparément.
Note: Le tablier de coupe doit rester au niveau du sol pendant le remplissage du boîtier d'engrenages. Ne remplissez pas le boîtier d'engrenages en laissant le tablier levé en position d'entretien.
Appliquez du composé de scellement au Téflon pour tuyaux sur les 3 grands bouchons et reposez-les dans le boîtier d'engrenages.
| Périodicité d'entretien | Procédure d'entretien |
|---|---|
| Toutes les 400 heures |
|
| Une fois par an |
|
Garez la machine sur une surface plane et horizontale, désengagez la commande des lames et serrez le frein de stationnement.
Avant de quitter la position d'utilisation, coupez le moteur, enlevez la clé et attendez l'arrêt complet de toutes les pièces mobiles.
Déposez le couvre-moyeu et réglez les pivots des roues pivotantes. Ne reposez pas le couvre-moyeu avant d'avoir terminé le graissage; voir Graissage de la machine.
Retirez le bouchon hexagonal.
Vissez un graisseur dans l'orifice.
Injectez de la graisse dans le graisseur jusqu'à ce qu'elle ressorte autour du roulement supérieur.
Sortez le graisseur de l'orifice. Remettez le bouchon hexagonal et le couvre-moyeu en place.
| Périodicité d'entretien | Procédure d'entretien |
|---|---|
| À chaque utilisation ou une fois par jour |
|
| Une fois par an |
|
Garez la machine sur une surface plane et horizontale, désengagez la commande des lames et serrez le frein de stationnement.
Avant de quitter la position d'utilisation, coupez le moteur, enlevez la clé et attendez l'arrêt complet de toutes les pièces mobiles.
Levez le tablier de coupe pour permettre l'accès.
Déposez la roue pivotante de la fourche.
Déposez les protège-joints du moyeu de roue.

Déposez un des écrous d'écartement de l'arbre de la roue pivotante.
Note: Du frein-filet a été appliqué pour bloquer les écrous d'écartement sur l'arbre de roue.
Déposez l'arbre de la roue (en laissant l'autre écrou d'écartement en place).
Faites levier pour déposer les joints, et vérifiez l'état et l'usure des roulements; remplacez-les au besoin.
Garnissez les roulements de graisse universelle.
Insérez 1 roulement, assorti d'un joint neuf, dans la roue.
Si les deux écrous d'écartement sont absents de l'arbre de roue, appliquez du frein-filet sur l'un d'entre eux et vissez-le sur l'arbre de roue, méplats tournés vers l'extérieur.
Note: Ne vissez pas complètement l'écrou d'écartement au bout de l'arbre de roue. Laissez environ 3 mm (â…› po) entre la surface extérieure de l'écrou d'écartement et l'extrémité de l'arbre de roue dans l'écrou.
Insérez l'ensemble écrou et arbre de roue dans la roue, du côté roulement et joint neuf.
L'extrémité ouverte de la roue étant tournée vers le haut, garnissez de graisse universelle la zone à l'intérieur de la roue autour de l'arbre.
Insérez le second roulement, assorti d'un joint neuf, dans la roue.
Appliquez du frein-filet sur le filetage du second écrou d'écartement et vissez-le sur l'arbre de roue, les méplats tournés vers l'extérieur.
Serrez l'écrou à un couple de 8 à 9 N·m (75 à 80 po-lb), desserrez-le puis resserrez-le à un couple de 2 à 3 N·m (20 à 25 po-lb).
Note: Attention à ne pas faire dépasser l'arbre de roue de l'écrou.
Posez les protège-joints sur le moyeu, puis insérez la roue dans la fourche pivotante.
Montez le boulon et serrez l'écrou à fond.
Important: Pour éviter les dommages au joint et au roulement, vérifiez souvent le réglage du roulement. Faites tourner la roue pivotante. Elle ne doit pas tourner librement (plus de 1 ou 2 tours) ni présenter de jeu latéral. Si la roue tourne librement, ajustez l'écrou d'écartement jusqu'à ce que vous sentiez une légère résistance. Appliquez une autre couche de frein-filet.
Gardez les mains, les pieds, le visage et toute autre partie du corps ainsi que les vêtements à l'écart du silencieux et autres surfaces brûlantes. Laissez refroidir les composants du moteur avant d'effectuer tout entretien.
Ne modifiez pas le réglage du régulateur et ne faites pas tourner le moteur à un régime excessif.
| Périodicité d'entretien | Procédure d'entretien |
|---|---|
| Toutes les 250 heures |
|
| Toutes les 500 heures |
|
Note: Nettoyez le filtre à air plus fréquemment si vous travaillez dans des conditions très poussiéreuses ou sableuses.
Garez la machine sur une surface plane et horizontale, placez la commande des lames (PDF) en position désengagée et serrez le frein de stationnement.
Avant de quitter la position d'utilisation, coupez le moteur, enlevez la clé et attendez l'arrêt complet de toutes les pièces mobiles.
Ouvrez les dispositifs de verrouillage du filtre à air et détachez le couvercle du boîtier du filtre (Figure 34).

Nettoyez l'intérieur du couvercle du filtre à l'air comprimé.
Sortez le préfiltre du boîtier du filtre avec précaution (Figure 34).
Note: Évitez de cogner l'élément à l'intérieur du boîtier.
Ne déposez l'élément de sécurité que si vous devez le remplacer.
Examinez l'élément de sécurité. S'il est encrassé, remplacez à la fois l'élément de sécurité et le préfiltre.
Important: N'essayez pas de nettoyer l'élément de sécurité. Si l'élément de sécurité est encrassé, cela signifie que le préfiltre est endommagé.
Vérifiez l'état du préfiltre en le plaçant devant une lumière forte. Remplacez le préfiltre s'il est encrassé, plié ou endommagé.
Note: Les trous éventuels apparaîtront sous forme de points brillants. Ne nettoyez pas le préfiltre.
Important: Pour ne pas endommager le moteur, ne le faites jamais tourner sans que les deux éléments et le couvercle du filtre à air soient en place.
Si vous montez des éléments filtrants neufs, vérifiez qu'ils n'ont pas souffert pendant le transport.
Note: N'utilisez pas les éléments s'ils sont endommagés.
Si vous remplacez l'élément intérieur, insérez-le avec précaution dans le boîtier du filtre (Figure 34).
Placez ensuite le préfiltre sur l'élément de sécurité avec le même soin (Figure 34).
Note: Vérifiez que le préfiltre est bien engagé en position en appuyant sur son bord extérieur lors de la pose.
Important: N'appuyez pas sur la partie intérieure souple du filtre.
Remettez en place et verrouillez le couvercle du filtre à air (Figure 34).
| Périodicité d'entretien | Procédure d'entretien |
|---|---|
| À chaque utilisation ou une fois par jour |
|
| Toutes les 100 heures |
|
| Toutes les 200 heures |
|
Type d'huile : huile détergente (classe de service API SJ ou supérieure)
Capacité du carter (moteurs non EFI) : 1,8 L (61 oz liq.) avec filtre neuf; 1,6 L (54 oz liq.) avec filtre existant
Capacité du carter (moteurs EFI) : 1,9 L (64 oz liq.) avec filtre neuf; 1,6 L (54 oz liq.) avec filtre existant
Viscosité : Voir le tableau ci-dessous.

Note: Contrôlez le niveau d'huile quand le moteur est froid.
Important: Ne remplissez pas excessivement le carter sous peine d'endommager le moteur. Ne faites pas tourner le moteur si le niveau d'huile est en dessous du repère minimum au risque d'endommager le moteur.
Garez la machine sur une surface plane et horizontale, amenez le levier de commande de vitesse en position POINT MORT, désengagez la PDF et serrez le frein de stationnement.
Avant de quitter la position d'utilisation, coupez le moteur, enlevez la clé et attendez l'arrêt complet de toutes les pièces mobiles.
Note: Laissez refroidir le moteur pour donner le temps à l'huile de s'écouler dans le carter.
Levage de la trémie
Pour éviter de faire tomber de l'herbe, de la poussière, etc., dans le moteur, nettoyez la surface autour du bouchon de remplissage-jauge d'huile, avant de l'enlever (Figure 36).
Sortez la jauge et essuyez-la sur un chiffon propre.
Insérez la jauge tout au fond du tube.
Sortez de nouveau la jauge et vérifiez le niveau d'huile.
Si le niveau d'huile est trop bas, essuyez la surface autour du bouchon de remplissage, retirez le bouchon et faites l'appoint d'huile jusqu'à ce que le niveau atteigne le repère maximum sur la jauge (Figure 36).
Important: Ne faites pas tourner le moteur quand le niveau d'huile est en dessous du repère minimum sur la jauge, ou au-dessus du repère maximum.

Note: Débarrassez-vous de l'huile usagée dans un centre de recyclage.
Garez la machine en plaçant l'arrière légèrement plus bas que l'avant pour pouvoir évacuer toute l'huile.
Amenez le levier de commande de vitesse en position POINT MORT pour arrêter la machine.
Amenez le levier de commande de vitesse en position POINT MORT, désengagez la PDF et serrez le frein de stationnement.
Avant de quitter la position d'utilisation, coupez le moteur, enlevez la clé et attendez l'arrêt complet de toutes les pièces mobiles.

Versez lentement environ 80 % de l'huile spécifiée dans le tube de remplissage, puis faites l'appoint lentement jusqu'à ce que le niveau atteigne le repère maximum (Full) sur la jauge (Figure 36).
Démarrez le moteur et conduisez la machine jusqu'à une surface plane et horizontale. Vérifiez à nouveau le niveau d'huile (Figure 36).
Au besoin, faites l'appoint d'huile jusqu'au repère maximum sur la jauge.
Vidangez l'huile moteur; voir Vidange de l'huile moteur.
Remplacez le filtre à huile moteur (Figure 38).

Note: Assurez-vous que le joint du filtre à huile touche le moteur puis vissez-le encore de trois quarts de tour.
Remplissez le carter moteur d'une huile neuve du type voulu; voir Spécifications de l’huile moteur.
| Périodicité d'entretien | Procédure d'entretien |
|---|---|
| Toutes les 200 heures |
|
| Toutes les 500 heures |
|
Type pour moteurs EFI : Champion® XC12YC ou type équivalent
Type pour moteurs sans EFI : Champion® RC12YC ou type équivalent
Écartement des électrodes : 0,76 mm (0,03 po)
Avant de quitter la position d'utilisation, coupez le moteur, enlevez la clé et attendez l'arrêt complet de toutes les pièces mobiles.
Désengagez la PDF, amenez les leviers de commande de déplacement en position de VERROUILLAGE AU POINT MORT et serrez le frein de stationnement.
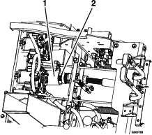
Déposez la protection de l'unité hydraulique gauche dans l'ordre indiqué à la Figure 39. Vous pourrez ensuite accéder à la bougie avant.


Déposez la bougie.


Important: Ne nettoyez pas la ou les bougies. Remplacez toujours les bougies si elles sont recouvertes d'un dépôt noir ou d'une couche grasse, si elles sont fissurées ou si les électrodes sont usées.
Si l'isolateur est recouvert d'un léger dépôt gris ou brun, le moteur fonctionne correctement. S'il est recouvert d'un dépôt noir, cela signifie généralement que le filtre à air est encrassé.
Réglez l'écartement des électrodes à 0,76 mm (0,03 po).

| Périodicité d'entretien | Procédure d'entretien |
|---|---|
| Toutes les 50 heures |
|
Les composants chauds du système d'échappement peuvent enflammer les vapeurs de carburant, même après l'arrêt du moteur. Les particules chaudes rejetées quand le moteur est en marche peuvent enflammer les matières inflammables, et causer des dommages corporels ou matériels.
Ne faites pas le plein de carburant et ne faites pas tourner le moteur si le pare-étincelles n'est pas en place.
Garez la machine sur une surface plane et horizontale, désengagez la PDF et serrez le frein de stationnement.
Avant de quitter la position d'utilisation, coupez le moteur, enlevez la clé et attendez l'arrêt complet de toutes les pièces mobiles.
Attendez que le silencieux soit froid.
Si vous constatez des fissures de la grille ou des soudures, remplacez le pare-étincelles.
Si la grille est colmatée, déposez le pare-étincelles et agitez-le pour détacher les particules, puis nettoyez la grille avec une brosse métallique (faites tremper la grille dans du solvant au besoin).
Reposez le pare-étincelles sur la sortie d'échappement.
Dans certaines circonstances, le carburant est extrêmement inflammable et hautement explosif. Un incendie ou une explosion causé(e) par du carburant peut vous brûler, ainsi que toute personne à proximité, et causer des dommages matériels.
Vous trouverez une liste complète des consignes de sécurité liées au carburant sous Consignes de sécurité pour le carburant.
Les composants du système d'alimentation sont soumis à une pression élevée. L'utilisation de composants non conformes peut causer une panne du système d'alimentation, une fuite de carburant et même une explosion.
Utilisez uniquement des conduites de carburant et des filtres à carburant agréés.
Cette machine est équipée d'un système d'injection électronique qui gère le débit de carburant en fonction des conditions d'utilisation.
Le module de commande électronique (ECU) surveille continuellement le fonctionnement du système EFI.
Le témoin d'anomalie (MIL) s'allume en cas de détection d'un problème ou d'une anomalie du système. Le témoin d'anomalie est le témoin rouge situé dans la console droite.
Lorsque le témoin d'anomalie s'allume, effectuez les premiers contrôles de diagnostic; voir la section sur le témoin d'anomalie sous .
Si ces contrôles ne corrigent pas le problème, un autre diagnostic et un entretien par un dépositaire-réparateur agréé sont nécessaires.
| Périodicité d'entretien | Procédure d'entretien |
|---|---|
| Toutes les 200 heures |
|
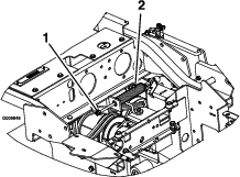
Le filtre à carburant est situé près du moteur, devant ou derrière.
Garez la machine sur une surface plane et horizontale, amenez le levier de commande de vitesse en position POINT MORT, désengagez la PDF et serrez le frein de stationnement.
Avant de quitter la position d'utilisation, coupez le moteur, enlevez la clé et attendez l'arrêt complet de toutes les pièces mobiles.
Laissez refroidir la machine.
Fixez le flexible sur le côté réservoir de carburant du filtre à carburant.
Remplacez le filtre à carburant (Figure 43).
Note: Vérifiez que les repères qui figurent sur le filtre suivent le sens d'écoulement du carburant.

Note: Rebranchez les flexibles de carburant et fixez-les aux emplacements d'origine avec des attaches en plastique pour les maintenir à l'écart des composants susceptibles de les endommager.
N'essayez pas de vidanger le réservoir de carburant. Demandez à un dépositaire-réparateur agréé de vidanger le réservoir de carburant et d'effectuer l'entretien de tous les composants associés au circuit d'alimentation.
Débranchez la batterie avant de réparer la machine. Débranchez la borne négative de la batterie avant la borne positive. Rebranchez la borne positive avant la borne négative.
Chargez la batterie dans un endroit dégagé et bien aéré, à l'écart des flammes ou sources d'étincelles. Débranchez le chargeur avant de brancher ou de débrancher la batterie. Portez des vêtements de protection et utilisez des outils isolés.
| Périodicité d'entretien | Procédure d'entretien |
|---|---|
| Chaque mois |
|
L'électrolyte contient de l'acide sulfurique, dont l'ingestion est mortelle et qui cause de graves brûlures.
Ne buvez jamais l'électrolyte et évitez tout contact avec les yeux, la peau ou les vêtements. Portez des lunettes de protection et des gants en caoutchouc.
Si les câbles de la batterie ne sont pas débranchés correctement, la machine et les câbles peuvent être endommagés et produire des étincelles. Les étincelles peuvent provoquer l'explosion des gaz de la batterie et vous blesser.
Débranchez toujours le câble négatif (noir) de la batterie avant le câble positif (rouge).
Connectez toujours le câble positif (rouge) de la batterie avant le câble négatif (noir).
Garez la machine sur une surface plane et horizontale, amenez le levier de commande de vitesse en position POINT MORT, désengagez la PDF et serrez le frein de stationnement.
Avant de quitter la position d'utilisation, coupez le moteur, enlevez la clé et attendez l'arrêt complet de toutes les pièces mobiles.
Débranchez le câble négatif (noir) de la batterie de la borne négative (-) de la batterie (Figure 44).
Enlevez le capuchon rouge de la borne positive (rouge) de la batterie et débranchez le câble positif (+) (Figure 44).
Retirez les écrous à oreilles qui fixent les crochets en J (Figure 44).
Déposez le dispositif de maintien (Figure 44).
Retirez la batterie.

La batterie en charge produit des gaz susceptibles d'exploser.
Ne fumez jamais et gardez la batterie éloignée des flammes et sources d'étincelles.
Important: Gardez toujours la batterie chargée au maximum (densité 1,265). Cela est particulièrement important pour prévenir la dégradation de la batterie si la température tombe en dessous de 0 °C (32 °F).
Déposez la batterie du châssis; voir Retrait de la batterie.
Chargez la batterie pendant 10 à 15 minutes entre 25 et 30 A, ou pendant 30 minutes à 10 A.
Note: Ne chargez pas la batterie excessivement.
Quand la batterie est chargée au maximum, débranchez le chargeur de la prise, puis débranchez les fils du chargeur des bornes de la batterie (Figure 45).
Placez la batterie dans la machine et raccordez les câbles de la batterie; voir Mise en place de la batterie.
Note: N'utilisez pas la machine si la batterie est débranchée, au risque d'endommager le système électrique.

Placez la batterie dans son support en tournant les bornes à l'opposé du réservoir hydraulique (Figure 44).
Branchez le câble positif (rouge) de la batterie à la borne positive (+).
Branchez le câble négatif (noir) et le câble de masse à la borne négative (-) de la batterie.
Fixez les câbles avec 2 boulons, 2 rondelles et 2 contre-écrous (Figure 44).
Placez le capuchon rouge sur la borne positive (rouge) de la batterie.
Reposez le dispositif de maintien et fixez-le avec les écrous à oreilles et les crochets en J (Figure 44).
Le système électrique est protégé par des fusibles. Il ne nécessite donc aucun entretien. Toutefois, si un fusible grille, vérifiez l'état de la pièce ou du circuit et assurez-vous qu'il n'y a pas de court-circuit.
Les fusibles sont situés sur le côté droit, derrière le siège.
Pour remplacer un fusible, tirez dessus pour l'enlever.
Remplacez le fusible.
Réglez tous les contacteurs de sécurité de façon que le plongeur dépasse de 4,8 à 6,4 mm (3/16 à 1/4 po) du corps du contacteur quand il est comprimé (Figure 46).

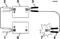
Contrôlez et nettoyez la corrosion sur les bornes de la batterie avant de démarrer la machine avec une batterie de secours. Vérifiez que les connexions sont bien serrées.
La corrosion ou des connexions desserrées peuvent causer des pointes de tension indésirables à tout moment pendant la procédure de démarrage avec une batterie de secours.
N'essayez pas de démarrer la machine avec une batterie de secours si les bornes de la batterie à plat sont desserrées ou corrodées, car vous pourriez endommager le moteur ou le système d'injection électronique (EFI).
L'utilisation d'une batterie de secours alors que la batterie à plat est fissurée, gelée, ne contient pas assez d'électrolyte ou présente un élément ouvert ou en court-circuit peut provoquer une explosion et de graves blessures.
N'utilisez pas de batterie de secours si ces conditions existent.
Vérifiez que la batterie de secours est une batterie au plomb en bon état chargée au maximum à 12,6 V ou plus.
Note: Utilisez des câbles de démarrage du bon calibre et assez courts pour réduire la chute de tension entre les systèmes. Assurez-vous que la couleur et l'étiquetage des câbles correspondent à la polarité.
Si les câbles de démarrage sont mal connectés (erreur de polarité) le système EFI peut être immédiatement endommagé.
Respectez la polarité des bornes de la batterie et des câbles de démarrage lorsque vous branchez les batteries.
Les batteries contiennent de l'acide et produisent des gaz explosifs.
Protégez-vous toujours les yeux et le visage lorsque vous vous trouvez près des batteries.
Ne vous penchez pas au-dessus des batteries.
Note: Vérifiez que les bouchons d'aération sont bien serrés et de niveau. Placez un chiffon humide, si vous en avez un, sur l'un des bouchons d'aération sur les deux batteries. Les deux machines ne doivent pas se toucher et les deux systèmes électriques doivent être hors tension et avoir la même tension nominale. Ces instructions ne concernent que les systèmes à masse négative.
Connectez le câble positif (+) à la borne positive (+) de la batterie à plat qui est reliée au démarreur ou au solénoïde, comme montré à la Figure 47.

Connectez l'autre extrémité du câble positif à la borne positive de la batterie de secours.
Connectez le câble négatif (–) noir à l'autre borne (négative) de la batterie de secours.
Faites la dernière connexion sur le bloc moteur de la machine en panne (pas à la borne négative de la batterie) loin de la batterie et reculez-vous (Figure 48).


Mettez le moteur en marche et débranchez les câbles dans l'ordre inverse de leur branchement (commencez par le câble négatif du bloc moteur).
Note: Le bouton de réglage de la dérive se trouve sous le siège.
Note: Tournez ce bouton pour effectuer des réglages extrêmement précis et permettre à la machine d'avancer en ligne droite lorsque les leviers de commande sont en position de marche avant maximale.
Conduisez la machine aux 3/4 de sa vitesse pendant au moins 5 minutes pour amener le liquide hydraulique à la température de service.
Garez la machine sur une surface plane et horizontale, amenez le levier de commande de vitesse en position POINT MORT, désengagez la PDF et serrez le frein de stationnement.
Avant de quitter la position d'utilisation, coupez le moteur, enlevez la clé et attendez l'arrêt complet de toutes les pièces mobiles.
Basculez le siège en avant pour accéder au bouton de réglage de la dérive.
Tournez le bouton vers la droite pour virer à droite et vers la gauche pour virer à gauche.
Ajustez de 1/8 de tour à la fois jusqu'à ce que la machine se déplace en ligne droite.
Vérifiez que la machine ne se déplace pas au point mort quand le frein de stationnement est desserré (Figure 49).

| Périodicité d'entretien | Procédure d'entretien |
|---|---|
| Toutes les 40 heures |
|
Les pneus arrière doivent être gonflés à 1,03 bar (15 psi). Les pneus mal gonflés peuvent compromettre la qualité et l'uniformité de la coupe. Contrôlez la pression lorsque les pneus sont froids pour obtenir un résultat plus précis.
Note: Les pneus avant sont du type semi-pneumatique et ne nécessitent pas de contrôle de la pression.

Note: N'ajoutez aux pneus aucun type de revêtement ou mousse de remplissage.
| Périodicité d'entretien | Procédure d'entretien |
|---|---|
| Après les 100 premières heures de fonctionnement |
|
| Toutes les 500 heures |
|
Contrôlez et serrez les écrous de roue à un couple de 122 à 129 N·m (90 à 95 pi-lb).
| Périodicité d'entretien | Procédure d'entretien |
|---|---|
| Après les 100 premières heures de fonctionnement |
|
| Toutes les 500 heures |
|
Vérifiez et assurez-vous que l'écrou crénelé est serré à un couple de 373 à 475 N⋅m (275 à 350 pi-lb).
| Périodicité d'entretien | Procédure d'entretien |
|---|---|
| Toutes les 500 heures |
|
Garez la machine sur une surface plane et horizontale, amenez le levier de commande de vitesse en position POINT MORT, désengagez la PDF et serrez le frein de stationnement.
Avant de quitter la position d'utilisation, coupez le moteur, enlevez la clé et attendez l'arrêt complet de toutes les pièces mobiles.
Déposez le couvre-moyeu de la roue pivotante et serrez le contre-écrou jusqu'à ce que les rondelles élastiques soient aplaties, puis desserrez-le de 1/4 de tour pour obtenir la précharge correcte des roulements (Figure 51 et Figure 52).
Important: Veillez à placer les rondelles élastiques comme montré à la Figure 51 et la Figure 52.
Reposez le couvre-moyeu.


L'ingestion de liquide de refroidissement moteur peut être toxique; rangez-le hors de la portée des enfants et des animaux.
Les projections de liquide de refroidissement brûlant sous pression ou le contact avec le radiateur brûlant et les pièces qui l'entourent peuvent causer des brûlures graves.
Laissez toujours refroidir le moteur pendant au moins 15 minutes avant de retirer le bouchon de radiateur.
Servez-vous d'un chiffon pour ouvrir le bouchon du radiateur et desserrez-le lentement pour permettre à la vapeur de s'échapper.
| Périodicité d'entretien | Procédure d'entretien |
|---|---|
| À chaque utilisation ou une fois par jour |
|
Enlevez l'herbe, les saletés et autres débris éventuellement accumulés sur le refroidisseur d'huile et la grille du moteur. Cela permet d'assurer un refroidissement et un régime moteur corrects, et réduit les risques de surchauffe et de dommages mécaniques au moteur.
| Périodicité d'entretien | Procédure d'entretien |
|---|---|
| Toutes les 100 heures |
|
Garez la machine sur une surface plane et horizontale, amenez le levier de commande de vitesse en position POINT MORT, désengagez la PDF et serrez le frein de stationnement.
Avant de quitter la position d'utilisation, coupez le moteur, enlevez la clé et attendez l'arrêt complet de toutes les pièces mobiles.
Déposez les écrous de fixation du réservoir de carburant et écartez le réservoir de carburant.
Nettoyez les ailettes du refroidisseur d'huile à la brosse pour le maintenir propre.
Rabattez le réservoir de carburant en place et fixez-le avec les écrous.
Desserrez les écrous de fixation de 1/2 tour pour permettre au réservoir de se dilater.
| Périodicité d'entretien | Procédure d'entretien |
|---|---|
| Toutes les 100 heures |
|
Garez la machine sur une surface plane et horizontale, amenez le levier de commande de vitesse en position POINT MORT, désengagez la PDF et serrez le frein de stationnement.
Avant de quitter la position d'utilisation, coupez le moteur, enlevez la clé et attendez l'arrêt complet de toutes les pièces mobiles.
Enlevez la grille d'entrée d'air et le carter du ventilateur.
Débarrassez les pièces du moteur de l'herbe et des débris accumulés.
Reposez la grille d'entrée d'air et le carter du ventilateur.
| Périodicité d'entretien | Procédure d'entretien |
|---|---|
| À chaque utilisation ou une fois par jour |
|
Garez la machine sur une surface plane et horizontale, amenez le levier de commande de vitesse en position POINT MORT, désengagez la PDF et serrez le frein de stationnement.
Avant de quitter la position d'utilisation, coupez le moteur, enlevez la clé et attendez l'arrêt complet de toutes les pièces mobiles.
Soulevez le siège.
Débarrassez les pompes hydrauliques de l'herbe et des débris accumulés.
Abaissez le siège.
| Périodicité d'entretien | Procédure d'entretien |
|---|---|
| Après les 100 premières heures de fonctionnement |
|
| Toutes les 500 heures |
|
Vérifiez que le frein est réglé correctement. Suivez cette procédure après avoir déposé ou remplacé un composant du frein.
Garez la machine sur une surface plane et horizontale, amenez le levier de commande de vitesse en position POINT MORT, désengagez la PDF et serrez le frein de stationnement.
Avant de quitter la position d'utilisation, coupez le moteur, enlevez la clé et attendez l'arrêt complet de toutes les pièces mobiles.
Desserrez le frein de stationnement.
Basculez le siège en avant.
Contrôlez et vérifiez qu'il n'y a pas de jeu entre le levier du frein de stationnement et la tringlerie.
Si un réglage est nécessaire, enlevez l'axe de chape et tournez la tringlerie dans le sens antihoraire pour l'allonger ou la raccourcir.

Mesurez la longueur du ressort comprimé sur les deux ensembles ressorts verticaux.
Note: Le ressort doit mesurer entre 6 et 7 cm (2,35 et 2,85 po). Au besoin, ajustez l'écrou en haut du ressort vertical pour obtenir la distance voulue.

Réglez la longueur de la tringlerie à l'aide des 2 écrous situés au bas de l'ensemble ressort vertical (Figure 55).
Note: La tringlerie doit mesurer entre 22,7 et 23,3 cm (8,92 à 9,16 po).

Serrez et desserrez les freins pour vérifier qu'ils fonctionnent correctement. Corrigez-la si nécessaire.
Note: Lorsque les freins sont desserrés, le jeu doit être minimal ou inexistant dans la tringlerie de frein, et les freins ne doivent pas frotter.
| Périodicité d'entretien | Procédure d'entretien |
|---|---|
| Toutes les 40 heures |
|
Remplacez la courroie si elle est usée. La courroie peut montrer les signes d'usure suivants : grincement pendant la rotation, glissement des lames pendant la coupe, bords effilochés, traces de brûlures et fissures.
Garez la machine sur une surface plane et horizontale, amenez le levier de commande de vitesse en position POINT MORT, désengagez la PDF et serrez le frein de stationnement.
Avant de quitter la position d'utilisation, coupez le moteur, enlevez la clé et attendez l'arrêt complet de toutes les pièces mobiles.
Basculez la trémie vers le haut et vérifiez que les courroies d'entraînement de la pompe et la PDF ne sont pas usées, fissurées ou sales.
Note: Les courroies sont tendues par ressort et aucun réglage n'est nécessaire sauf si les courroies sont remplacées.
Garez la machine sur une surface plane et horizontale, amenez le levier de commande de vitesse en position POINT MORT, désengagez la PDF et serrez le frein de stationnement.
Avant de quitter la position d'utilisation, coupez le moteur, enlevez la clé et attendez l'arrêt complet de toutes les pièces mobiles.
Moteur coupé, engagez le levier de PDF puis retirez la goupille fendue et l'axe de chape au bas du ruban de frein de PDF.
Tournez le ruban de frein vers le haut pour l'éloigner des courroies et de l'entraînement des courroies.
Désengagez le levier de PDF.
Desserrez les guides de courroie A et B (Figure 56).
Déposez les courroies.
Installez les courroies neuves sur les poulies, comme montré à la Figure 56.

Engagez le levier de PDF.
Tournez le ruban de frein vers le bas pour le ramener à sa position d'origine.
Reposez l'axe de chape et la goupille fendue pour fixer le ruban de frein.
Desserrez les écrous de blocage et réglez la tringlerie jusqu'à ce que le haut du bras de la poulie de tension soit aligné sur le bas du cran du bras de tension, comme montré à la Figure 57.

Serrez les écrous de blocage et désengagez le levier de PDF.
Engagez le levier de PDF et vérifiez l'alignement.
Contrôlez et réglez les guides de courroie, comme expliqué à la rubrique Réglage des guides de courroie.
Garez la machine sur une surface plane et horizontale, amenez le levier de commande de vitesse en position POINT MORT, désengagez la PDF et serrez le frein de stationnement.
Avant de quitter la position d'utilisation, coupez le moteur, enlevez la clé et attendez l'arrêt complet de toutes les pièces mobiles.
Déposez les courroies de PDF; voir Remplacement des courroies de PDF.
Tirez la poulie de tension à ressort ou déposez le ressort pour détendre la courroie d'entraînement de la pompe.
Enlevez la courroie usagée.
Acheminez la courroie neuve sur les poulies comme montré sur l'autocollant situé au dos de la protection d'entraînement gauche (Figure 58).

Installez les courroies de PDF; voir Remplacement des courroies de PDF.
Garez la machine sur une surface plane et horizontale, amenez le levier de commande de vitesse en position POINT MORT, désengagez la PDF et serrez le frein de stationnement.
Avant de quitter la position d'utilisation, coupez le moteur, enlevez la clé et attendez l'arrêt complet de toutes les pièces mobiles.
Coupez le moteur et engagez le levier de PDF.
Réglez les guides de courroie comme montré à la Figure 59.

Alignez la poulie d'entraînement de PDF dans les cas suivants :
Après la dépose ou le replacement du ventilateur.
Si les boulons de montage du moteur ont été desserrés ou si le moteur a été déplacé ou remplacé.
Si les boulons de montage de l'arbre intermédiaire ont été desserrés ou si l'arbre intermédiaire a été déplacé ou remplacé.
Garez la machine sur une surface plane et horizontale, amenez le levier de commande de vitesse en position POINT MORT, désengagez la PDF et serrez le frein de stationnement.
Avant de quitter la position d'utilisation, coupez le moteur, enlevez la clé et attendez l'arrêt complet de toutes les pièces mobiles.
Déposez les écrous de fixation du réservoir de carburant et écartez le réservoir de carburant.
Vérifiez que le ventilateur est en place et solidement fixé.
Desserrez les quatre boulons de montage du moteur.
Décrochez le ressort de tension de la courroie de pompe.
Desserrez les quatre boulons de montage de l'arbre intermédiaire.
En vous servant de la poulie de ventilateur comme base de mesure, déplacez le moteur et l'arbre intermédiaire jusqu'à ce que la surface arrière des 3 poulies soit alignée à 0,8 à 1,6 mm (1/32 à 1/16 po) près (Figure 60).
Note: Utilisez une règle pour aligner les trois surfaces.

Resserrez les quatre boulons de fixation du moteur et les quatre boulons de fixation de l'arbre intermédiaire. Vérifiez l'alignement après le serrage.
Raccrochez le ressort de tension de la courroie de pompe.
Ramenez le réservoir de carburant en position et reposez ses écrous de fixation.
Alignez la poulie d'entraînement de pompe; voir Alignement de la poulie d'entraînement de PDF.
La poulie d'entraînement de pompe doit être alignée dans les cas suivants :
Si les boulons de montage du moteur ont été desserrés ou si le moteur a été déplacé ou remplacé.
Les poulies de pompe doivent être desserrées, déplacées ou remplacées.
Après l'alignement de la poulie de PDF; voir Alignement de la poulie d'entraînement de PDF.
Garez la machine sur une surface plane et horizontale, amenez le levier de commande de vitesse en position POINT MORT, désengagez la PDF et serrez le frein de stationnement.
Avant de quitter la position d'utilisation, coupez le moteur, enlevez la clé et attendez l'arrêt complet de toutes les pièces mobiles.
Desserrez les vis sur les deux poulies de pompe.
Utilisez une règle pour aligner chaque poulie de pompe sur la poulie du moteur, en la faisant glisser sur l'arbre d'entraînement de la pompe (Figure 60).
Serrez les vis de la poulie et contrôlez l'alignement.
Ne réglez le ressort du frein de PDF que si le ventilateur a été déposé ou remplacé, ou si le bras de la poulie de tension de l'entraînement de PDF a été démonté.
Garez la machine sur une surface plane et horizontale, amenez le levier de commande de vitesse en position POINT MORT, désengagez la PDF et serrez le frein de stationnement.
Avant de quitter la position d'utilisation, coupez le moteur, enlevez la clé et attendez l'arrêt complet de toutes les pièces mobiles.
Localisez le ressort de frein et vissez les deux écrous de blocage au bout de la tige du ressort (Figure 61).
Serrez les écrous de blocage ensemble au bout de la tige de ressort de frein.

Garez la machine sur une surface plane et horizontale, amenez le levier de commande de vitesse en position POINT MORT, désengagez la PDF et serrez le frein de stationnement.
Avant de quitter la position d'utilisation, coupez le moteur, enlevez la clé et attendez l'arrêt complet de toutes les pièces mobiles.
Desserrez les 6 écrous des charnières du couvercle (Figure 62).
Ouvrez le couvercle et placez une bande de caoutchouc de 9,5 mm (3/8 po) ou un flexible de 9,5 mm (3/8 po) de diamètre entre la trémie et le couvercle (Figure 62).
Fermez le couvercle et poussez-le bien contre la trémie.
Resserrez les fixations des charnières.
Ouvrez le couvercle de la trémie et retirez la bande de caoutchouc.

Consultez immédiatement un médecin si du liquide est injecté sous la peau. Toute injection de liquide hydraulique sous la peau doit être éliminée dans les quelques heures qui suivent par une intervention chirurgicale réalisée par un médecin.
Vérifiez l'état de tous les flexibles et conduits hydrauliques, ainsi que le serrage de tous les raccords et branchements avant de mettre le système hydraulique sous pression.
N'approchez pas les mains ni aucune autre partie du corps des fuites en trou d'épingle ou des gicleurs d'où sort du liquide hydraulique sous haute pression.
Utilisez un morceau de papier ou de carton pour détecter les fuites.
Dépressurisez avec précaution le système hydraulique avant toute intervention sur le système.
Type de liquide hydraulique : Toro® HYPR-OIL™ 500 ou Mobil® 1 15W-50.
Important: Utilisez le liquide spécifié. Tout autre liquide risque d'endommager le système.
| Périodicité d'entretien | Procédure d'entretien |
|---|---|
| Toutes les 40 heures |
|
Garez la machine sur une surface plane et horizontale, amenez le levier de commande de vitesse en position POINT MORT, désengagez la PDF et serrez le frein de stationnement.
Avant de quitter la position d'utilisation, coupez le moteur, enlevez la clé et attendez l'arrêt complet de toutes les pièces mobiles.
Laissez refroidir le moteur et le système hydraulique pendant 10 minutes.
Note: Pour obtenir le niveau correct de liquide hydraulique, laissez refroidir la machine avant de le contrôler.
Soulevez le siège.
Nettoyez la surface autour de la jauge du réservoir du système hydraulique (Figure 63).
Sortez la jauge du réservoir hydraulique (Figure 63).
Essuyez la jauge sur un chiffon puis revissez-la dans le réservoir.
Ressortez la jauge et examinez l'extrémité (Figure 63). Si le niveau de liquide est au repère minimum, versez lentement la quantité de liquide qui convient dans le réservoir hydraulique pour faire monter le niveau jusqu'au repère maximum.
Important: Ne remplissez pas excessivement les unités hydrauliques pour éviter de causer des dommages. N'utilisez pas la machine si le niveau de liquide est en dessous du repère minimum.
Remettez la jauge en place.

| Périodicité d'entretien | Procédure d'entretien |
|---|---|
| Après les 100 premières heures de fonctionnement |
|
| Toutes les 250 heures |
|
| Toutes les 500 heures |
|
Note: Utilisez un filtre spécial été à partir de 0 ºC (32 ºF). Utilisez un filtre spécial hiver en dessous de 0 ºC (32 ºF).
Garez la machine sur une surface plane et horizontale, amenez le levier de commande de vitesse en position POINT MORT, désengagez la PDF et serrez le frein de stationnement.
Avant de quitter la position d'utilisation, coupez le moteur, enlevez la clé et attendez l'arrêt complet de toutes les pièces mobiles.
Nettoyez soigneusement la surface autour du filtre.
Important: Veillez à ne pas contaminer le système hydraulique.
Dévissez le filtre pour le déposer et vidangez le liquide du réservoir.
Important: Ne vidangez pas le système hydraulique (à part ce qui peut être vidangé lors du remplacement du filtre), sauf si le liquide est contaminé ou a surchauffé. Toute vidange inutile du liquide hydraulique risque d'endommager le système hydraulique en introduisant des contaminants dans le système.
Avant de poser le filtre neuf, remplissez-le d'huile hydraulique Toro® HYPR-OIL™ 500 et appliquez une fine couche d'huile sur la surface du joint en caoutchouc.
Vissez le filtre dans le sens horaire jusqu'à ce que le joint en caoutchouc rejoigne l'adaptateur, puis vissez-le encore de 2/3 à 3/4 de tour.
Remplissez le réservoir comme expliqué sous Contrôle du niveau de liquide hydraulique.
Soulevez l'arrière de la machine juste assez pour permettre aux roues motrices de tourner librement et placez des chandelles (ou des supports équivalents) sous la machine.
Mettez le moteur en marche et placez la commande d'accélérateur en position HAUT RéGIME.
Amenez les leviers de commande de vitesse à la position de vitesse maximale et laissez tourner le moteur pendant plusieurs minutes.
Coupez le moteur et contrôlez le niveau d'huile.
Vérifiez l'état et l'usure des lames périodiquement.
Examinez les lames avec prudence. Manipulez toujours les lames avec des gants ou en les enveloppant dans un chiffon, et toujours avec prudence. Limitez-vous à remplacer ou aiguiser les lames; n'essayez jamais de les redresser ou de les souder.
Attention, sur les machines à plusieurs lames, la rotation d'une lame peut entraîner le déplacement des autres lames.
Remplacez les boulons et les lames usés ou endommagés par paires pour ne pas modifier l'équilibre.
Pour un bon résultat, les lames doivent toujours être bien aiguisées. Il est utile de prévoir une ou plusieurs lames de réserve pour le remplacement et l'aiguisage.
Garez la machine sur une surface plane et horizontale, placez la commande des lames (PDF) en position désengagée et serrez le frein de stationnement.
Coupez le moteur, enlevez la clé et débranchez le fil de chaque bougie.
| Périodicité d'entretien | Procédure d'entretien |
|---|---|
| À chaque utilisation ou une fois par jour |
|
Examinez le tranchant des lames (Figure 64).
Si les lames sont émoussées ou présentent des indentations, déposez-les et aiguisez-les; voir Aiguisage des lames.
Inspectez les lames, et plus particulièrement l'ailette.
Remplacez immédiatement toute lame fendue, usée ou qui présente une entaille sur cette partie (Figure 64).

Tournez les lames dans le sens longitudinal.
Mesurez la distance entre la surface plane et le tranchant (position A) des lames (Figure 65).

Tournez les lames à 180°.
Mesurez la distance entre la surface plane et le tranchant des lames, au même endroit qu'à l'opération 2 ci-dessus.
Note: Les mesures obtenues aux opérations 2 et 4 ne doivent pas différer de plus de 3 mm (1/8 po).
Note: Si la différence est supérieure à 3 mm (1/8 po), la lame est faussée et doit être remplacée.
Remplacez les lames si elles heurtent un obstacle, ou si elles sont déséquilibrées ou faussées.
Note: Notez la position de la lame en rouge. Depuis la position normale d'utilisation, elle est située sur le côté droit.
Élevez le tablier de coupe et bloquez-le en position levée. Voir Levage du tablier de coupe en position d'entretien.
Tenez la lame par son extrémité avec un chiffon ou un gant épais.
Déposez la lame, la rondelle et le boulon de lame qui fixe la lame et son dispositif d'entraînement (Figure 66).

Déposez le dispositif d'entraînement de la lame existante (Figure 66).
Au moyen d'une lime, aiguisez les tranchants aux deux extrémités de la lame (Figure 67).
Note: Veillez à conserver l'angle de coupe d'origine.
Note: Limez la même quantité de métal sur chacun des deux tranchants pour ne pas déséquilibrer la lame.

Vérifiez l'équilibre de la lame en la plaçant sur un équilibreur (Figure 68).
Note: Si la lame reste horizontale, elle est équilibrée et peut être utilisée.
Note: Si la lame est déséquilibrée, limez un peu l'extrémité de l'ailette seulement (Figure 67).

Répétez cette procédure jusqu'à ce que la lame soit équilibrée.
Note: Veillez à monter la lame rouge sur le côté droit.
Posez le dispositif d'entraînement sur les lames neuves avec les boulons de cisaillement et les contre-écrous (Figure 66).
Serrez les boulons de cisaillement à un couple de 922 à 1130 N·m (80 à 100 po-lb).
Note: Alignez les méplats du dispositif d'entraînement et ceux de l'arbre lors de la pose de la lame sur le tablier de coupe.
Posez la lame, la rondelle et le boulon de lame sur l'axe (Figure 66).
Serrez le boulon de la lame à un couple de 115 à 149 N·m (85 à 110 pi-lb).
Abaissez le tablier de coupe en position de fonctionnement. Voir Abaissement du tablier de coupe en position d'utilisation.
L'utilisation du tablier de coupe quand les boulons de lame sont desserrés ou affaiblis peut être dangereuse. Si les boulons sont desserrés ou affaiblis, une lame peut être éjectée de sous le tablier de coupe lorsqu'elle tourne à grande vitesse et causer des blessures ou des dommages matériels graves.
Remplacez le boulon de la lame si elle heurte un obstacle.
Utilisez exclusivement des pièces de rechange Toro d'origine.
Ne graissez pas le filetage du boulon ou de l'axe avant le montage.
Garez la machine sur une surface plane et horizontale, amenez le levier de commande de vitesse en position POINT MORT, désengagez la PDF et serrez le frein de stationnement.
Avant de quitter la position d'utilisation, coupez le moteur, enlevez la clé et attendez l'arrêt complet de toutes les pièces mobiles.
Contrôlez la pression des pneus des roues motrices; voir Contrôle de la pression des pneus.
Vérifiez que toutes les goupilles fendues sont insérées dans les trous de hauteur de coupe de 7,62 cm (3 po) et que des entretoises sont placées dessous (Figure 69).

Raccourcissez/allongez chaque goupille de support de tablier pour obtenir une hauteur à la pointe de la lame de 7,62 cm (3 po) à l'avant du tablier et de 8,26 cm (3,25 po) à l'arrière du tablier (Figure 69).
Note: Les goupilles avant sont vissées dans le tablier de coupe et sont dotées d'un écrou de blocage. Une extrémité de tige est vissée dans les goupilles arrière et est munie d'un écrou de blocage.
L'utilisation de cette machine sans un accessoire frontal Toro agréé augmente le risque de happement de l'utilisateur par les roues motrices ou de renversement en avant de la machine. Ce type d'accident peut causer des blessures graves et même mortelles.
En cas d'utilisation de cette machine sans accessoire frontal Toro agréé, observez les précautions suivantes :
N'approchez pas les pieds ou les vêtements des roues.
Limitez le fonctionnement au minimum requis pour monter un accessoire avant différent.
Minimisez la vitesse et faites preuve d'un extrême prudence.
N'utilisez la machine que sur une surface plane et horizontale.
Ne montez pas et ne descendez pas la rampe d'une remorque avec la machine en marche.
Évitez les accélérations ou décélérations brutales.
Important: Ne transportez pas cette machine sans un accessoire frontal Toro agréé.
Garez la machine sur une surface plane et horizontale, amenez le levier de commande de vitesse en position POINT MORT, désengagez la PDF et serrez le frein de stationnement.
Avant de quitter la position d'utilisation, coupez le moteur, enlevez la clé et attendez l'arrêt complet de toutes les pièces mobiles.
Levez le tablier et verrouillez-le en position avec les goupilles de verrouillage. Voir Levage du tablier de coupe en position d'entretien.
Retirez les goupilles fendues et les rondelles sur le haut du ressort d'aide au levage du tablier de coupe de chaque côté de la machine (Figure 70).

Retirez le ressort de son point d'ancrage. Répétez la procédure de l'autre côté de la machine.
Déverrouillez le tablier de coupe levé et abaissez-le lentement au sol; voir Abaissement du tablier de coupe en position d'utilisation.
Note: Le tablier de coupe devient plus lourd lorsque vous retirez les ressorts de leurs points d'ancrage. Abaissez le tablier de coupe avec précaution.
Retirez les goupilles à anneau à l'avant des bras de poussée, de chaque côté de la machine (Figure 71).

Desserrez les boulons fixés à la protection en caoutchouc (Figure 72).

Déverrouillez le siège et séparez l'arbre d'entraînement de l'arbre intermédiaire avec l'accouplement rapide (Figure 73). Voir Déverrouillage du siège.

Tirez le tablier de coupe en avant pour le déposer de la machine.
Important: Ne transportez pas la machine sans l'équiper d'un accessoire frontal Toro agréé.
Garez la machine sur une surface plane et horizontale, amenez le levier de commande de vitesse en position POINT MORT, désengagez la PDF et serrez le frein de stationnement.
Avant de quitter la position d'utilisation, coupez le moteur, enlevez la clé et attendez l'arrêt complet de toutes les pièces mobiles.
Faites rouler le tablier de coupe jusqu'à la machine, tube d'éjection abaissé, en prenant soin de placer les ressorts du tablier au-dessus de la roue motrice et sous la console de chaque côté.
Déverrouillez le siège et basculez-le en avant.
Posez l'arbre d'entraînement sur l'arbre intermédiaire (Figure 73).
Alignez les tubes des bras de poussée du tablier de coupe et les bras de poussée de la machine, et poussez le tablier vers l'arrière.
Fixez les bras de poussée sur les côtés gauche et droit de la machine avec des goupilles à anneau (Figure 71).
Alignez la partie supérieure de la protection en caoutchouc et fixez-la en place avec les boulons fixés (Figure 72).
Dégagez les goupilles de verrouillage de chaque côté du tablier de coupe, levez le tablier de coupe à la position d'entretien et fixez le verrou du tablier sur le crochet. Voir Levage du tablier de coupe en position d'entretien.
Placez les ressorts sur les goupilles d'ancrage sous les consoles gauche et droite, et fixez-les avec une rondelle et une goupille fendue (Figure 70).
Déverrouillez le tablier de coupe levé et abaissez-le lentement au sol, puis engagez les goupilles de verrouillage de chaque côté. Voir Abaissement du tablier de coupe en position d'utilisation.
Insérez les goupilles de verrouillage de chaque côté du tablier de coupe et tournez-les pour verrouiller le tablier en position d'utilisation.
Desserrez l'écrou de blocage et tournez la vis de butée dans le sens horaire jusqu'à ce que la goupille de verrouillage soit serrée et ne puisse pas être tournée à la main (Figure 74).

Desserrez la vis de butée dans le sens antihoraire de 1/2 tour et serrez l'écrou de blocage.
Vérifiez si la goupille de verrouillage coulisse librement. Corrigez si nécessaire.
| Périodicité d'entretien | Procédure d'entretien |
|---|---|
| À chaque utilisation ou une fois par jour |
|
Garez la machine sur une surface plane et horizontale, amenez le levier de commande de vitesse en position POINT MORT, désengagez la PDF et serrez le frein de stationnement.
Avant de quitter la position d'utilisation, coupez le moteur, enlevez la clé et attendez l'arrêt complet de toutes les pièces mobiles.
Élevez le tablier de coupe et bloquez-le en position levée. Voir Levage du tablier de coupe en position d'entretien.
Nettoyez l'herbe accumulée sous le tablier de coupe.
Abaissez le tablier de coupe en position de fonctionnement. Voir Abaissement du tablier de coupe en position d'utilisation.
| Périodicité d'entretien | Procédure d'entretien |
|---|---|
| À chaque utilisation ou une fois par jour |
|
Garez la machine sur une surface plane et horizontale, amenez le levier de commande de vitesse en position POINT MORT, désengagez la PDF et serrez le frein de stationnement.
Avant de quitter la position d'utilisation, coupez le moteur, enlevez la clé et attendez l'arrêt complet de toutes les pièces mobiles.
Nettoyez l'huile, les débris ou l'herbe accumulés sur la machine, en particulier autour du réservoir de carburant, du moteur et du système d'échappement.
L'huile moteur, les batteries, le liquide hydraulique et le liquide de refroidissement sont polluants pour l'environnement. Débarrassez-vous en conformément à la réglementation nationale et locale en matière d'environnement.
Avant de quitter la position d'utilisation, coupez le moteur, enlevez la clé et attendez l'arrêt complet de toutes les pièces mobiles. Laissez refroidir la machine avant de la régler, la nettoyer, la remiser ou la réparer.
Ne remisez pas la machine ou le carburant près d'une flamme et ne vidangez pas le carburant à l'intérieur d'un local ou d'une remorque fermée.
Ne remisez pas la machine ni les bidons de carburant à proximité d'une flamme nue, d'une source d'étincelles ou d'une veilleuse, telle celle d'un chauffe-eau ou d'autres appareils.
Désengagez la commande des lames (PDF) et serrez le frein de stationnement.
Avant de quitter la position d'utilisation, coupez le moteur, enlevez la clé et attendez l'arrêt complet de toutes les pièces mobiles.
Débarrassez l'extérieur de toute la machine, en particulier le moteur et le système hydraulique, des déchets d'herbe coupée, des saletés et de la crasse. Éliminez les saletés et les débris d'herbe sèche pouvant se trouver sur les ailettes de la culasse et le carter du ventilateur.
Important: Vous pouvez laver la machine avec de l'eau et un détergent doux. N'utilisez pas de nettoyeur haute pression. N'utilisez pas une trop grande quantité d'eau, surtout près du panneau de commande, du moteur, des pompes hydrauliques et des moteurs électriques.
Vérifiez le fonctionnement du frein de stationnement; voir Utilisation du frein de stationnement.
Faites l'entretien du filtre à air; voir Entretien du filtre à air.
Graissez la machine; voir Lubrification.
Vidangez l'huile moteur; voir Contrôle du niveau, vidange de l'huile moteur et remplacement du filtre à huile.
Contrôlez la pression des pneus; voir Contrôle de la pression des pneus.
Remplacez les filtres hydrauliques; voir Vidange du liquide hydraulique et remplacement du filtre.
Chargez la batterie; voir Charge de la batterie.
Grattez l'herbe et les saletés éventuellement accumulées sur le dessous de la tondeuse, puis lavez cette dernière au tuyau d'arrosage.
Note: Conduisez la machine, en engageant la commande des lames (PDF), moteur au ralenti accéléré, pendant 2 à 5 minutes après l'avoir lavée.
Vérifiez l'état des lames; voir Entretien des lames.
Si vous ne comptez pas utiliser la machine avant plus d'un mois, préparez-la comme suit :
Ajoutez un additif stabilisateur/conditionneur à base de pétrole dans le réservoir de carburant. Respectez les proportions spécifiées par le fabricant du stabilisateur. N'utilisez pas de stabilisateur à base d'alcool (éthanol ou méthanol).
Note: L'efficacité des stabilisateurs/conditionneurs est optimale lorsqu'ils sont mélangés à du carburant frais et sont utilisés de manière systématique.
Faites tourner le moteur pendant 5 minutes pour faire circuler le carburant traité dans tout le circuit d'alimentation.
Coupez le moteur, laissez-le refroidir et vidangez le réservoir de carburant.
Redémarrez le moteur et laissez-le tourner jusqu'à ce qu'il s'arrête.
Débarrassez-vous du carburant correctement. Recyclez le carburant conformément à la réglementation locale en matière d'environnement.
Important: Ne conservez pas le carburant additionné de stabilisateur/conditionneur plus longtemps que recommandé par le fabricant du stabilisateur de carburant.
Déposez la ou les bougies et vérifiez leur état; voir Entretien des bougies. Versez 30 ml (2 cuillerées à soupe) d'huile moteur dans l'ouverture laissée par la bougie. Actionnez le démarreur pour faire tourner le moteur et bien répartir l'huile dans le cylindre. Reposez la ou les bougies. Ne rebranchez pas le fil de la ou des bougies.
Contrôlez et resserrez tous les boulons, écrous et vis. Réparez ou remplacez toute pièce endommagée.
Peignez toutes les surfaces métalliques éraflées ou mises à nu. Une peinture pour retouches est disponible chez les dépositaires-réparateurs agréés.
Rangez la machine dans un endroit propre et sec, comme un garage ou une remise. Retirez la clé du commutateur d'allumage et rangez-la hors de la portée des enfants ou des personnes non autorisées. Couvrez la machine pour la protéger et la garder propre.
| Problem | Possible Cause | Corrective Action |
|---|---|---|
| Le témoin d'anomalie s'allume. |
|
|
| Le démarreur ne fonctionne pas. |
|
|
| Le moteur ne démarre pas, démarre difficilement ou cale. |
|
|
| Le moteur perd de la puissance. |
|
|
| Le moteur surchauffe. |
|
|
| La machine tire à gauche ou à droite (quand les leviers de commande de déplacement sont complètement en avant). |
|
|
| La machine ne se déplace pas. |
|
|
| La machine vibre de manière anormale. |
|
|
| La hauteur de coupe est inégale. |
|
|
| Les lames ne tournent pas. |
|
|


