| Intervalo de mantenimiento y servicio | Procedimiento de mantenimiento |
|---|---|
| Cada vez que se utilice o diariamente |
|
Esta máquina es una minicargadora compacta indicada para utilizarse en diversas actividades de movimientos de tierras y otros materiales en trabajos de jardinería y construcción. Se ha diseñado para funcionar con una gran variedad de implementos, cada uno de los cuales realiza una función específica. El uso de este producto para otros propósitos que los previstos podría ser peligroso para usted y para otras personas. No modifique la máquina ni los implementos.
Esta máquina debe ser utilizada, mantenida y reparada únicamente por profesionales que estén familiarizados con sus características y con los procedimientos de seguridad pertinentes.
Utilice esta máquina en temperaturas ambiente de -18 °C a 38 °C. Póngase en contacto con su Servicio Técnico Autorizado si necesita adquirir los materiales necesarios para trabajar en temperaturas extremas.
Lea este manual detenidamente para aprender a utilizar y mantener correctamente su producto, y para evitar lesiones y daños al producto. Usted es responsable de utilizar el producto de forma correcta y segura.
Visite www.Toro.com para buscar materiales de formación y seguridad o información sobre accesorios, para localizar un distribuidor o para registrar su producto.
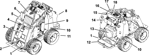
Cuando necesite asistencia técnica, piezas genuinas Toro o información adicional, póngase en contacto con un Servicio Técnico Autorizado o con Asistencia al Cliente Toro, y tenga a mano los números de modelo y serie de su producto. Figura 1 identifica la ubicación de los números de modelo y serie en el producto. Escriba los números en el espacio provisto.
Important: Con su dispositivo móvil, puede escanear el código QR de la calcomanía del número de serie (si se incluye) para acceder a información sobre la garantía, las piezas y otros datos sobre el producto.

Este manual identifica peligros potenciales y contiene mensajes de seguridad identificados por el símbolo de alerta de seguridad (Figura 2), que señala un peligro que puede causar lesiones graves o la muerte si usted no sigue las precauciones recomendadas.

Este manual utiliza 2 palabras para resaltar información. Importante llama la atención sobre información mecánica especial, y Nota resalta información general que merece una atención especial.
Este producto cumple todas las directivas europeas aplicables cuando se ha instalado el kit 22366 para la UE; si desea más detalles, consulte la Declaración de conformidad (DOC) específica de cada producto.
El uso o la operación del motor en cualquier terreno forestal, de monte o cubierto de hierba a menos que el motor esté equipado con parachispas (conforme a la definición de la sección 4442) correctamente mantenido en buenas condiciones de funcionamiento, o que el motor haya sido fabricado, equipado y mantenido para la prevención de incendios, constituye una infracción de la legislación de California (California Public Resource Code Section 4442 o 4443).
El manual del propietario del motor (adjunto) ofrece información sobre las normas de la US Environmental Protection Agency (EPA) y de la California Emission Control Regulation sobre sistemas de emisiones, mantenimiento y garantía. Puede solicitarse un manual nuevo al fabricante del motor.
CALIFORNIA
Advertencia de la Propuesta 65
Los gases de escape de este producto contienen productos químicos que el Estado de California sabe que causan cáncer, defectos congénitos u otros peligros para la reproducción.
Los bornes, terminales y otros accesorios de la batería contienen plomo y compuestos de plomo, productos químicos reconocidos por el Estado de California como causantes de cáncer y daños reproductivos. Lávese las manos después de manejar el material.
El uso de este producto puede provocar la exposición a sustancias químicas que el Estado de California considera causantes de cáncer, defectos congénitos u otros trastornos del sistema reproductor.
Puede haber conducciones de servicios enterradas en la zona de trabajo. Si se perforan, pueden causar descargas eléctricas o explosiones.
Marque las áreas de la zona de trabajo que contienen tendidos enterrados, y no excave en las zonas marcadas. Póngase en contacto con su servicio de marcado local o con su compañía de electricidad/agua, etc., para que marquen la finca (por ejemplo, en Estados Unidos, llame al 811, o en Australia, llame al 1100 para contactar con el servicio de marcado nacional).
Siga siempre todas las instrucciones de seguridad con el fin de evitar lesiones corporales graves e incluso la muerte.
No supere la capacidad nominal de trabajo, puesto que la máquina puede desestabilizarse y causar una pérdida de control.
No lleve cargas con los brazos elevados; lleve las cargas siempre cerca del suelo.
Las pendientes son una de las principales causas de accidentes por pérdida de control y vuelcos, que pueden causar lesiones graves o la muerte. La conducción de la máquina en cualquier pendiente o terreno irregular requiere extremar la precaución.
Al subir y bajar pendientes, hágalo con el extremo más pesado de la máquina cuesta arriba y la carga cerca del suelo. La distribución del peso varía dependiendo del implemento. Si el cazo está vacío, el extremo más pesado de la máquina será la parte de atrás y, si el cazo está lleno, el extremo más pesado de la máquina será la parte delantera. Con la mayoría de los demás implementos, la parte delantera de la máquina será el extremo más pesado.
Marque las áreas de la zona de trabajo que contienen tendidos enterrados y otros objetos, y no excave en las zonas marcadas.
Lea y comprenda el contenido de este Manual del operador antes de arrancar el motor.
Preste toda su atención al manejo de la máquina. No realice ninguna actividad que pudiera distraerle; de lo contrario, podrían producirse lesiones o daños materiales.
No deje nunca que la máquina sea utilizada por niños o por personas que no hayan recibido la formación adecuada.
Mantenga las manos y los pies alejados de componentes e implementos en movimiento.
No haga funcionar la máquina si no están colocados y funcionando los protectores y dispositivos de seguridad.
Mantenga a otras personas, especialmente a los niños, alejadas de la zona de trabajo.
Pare la máquina, apague el motor y retire la llave antes de realizar tareas de mantenimiento o repostaje y antes de eliminar obstrucciones en la máquina.
El uso o mantenimiento incorrecto de esta máquina puede
causar lesiones. Para reducir el peligro de lesiones, cumpla estas
instrucciones de seguridad y preste atención siempre al símbolo
de alerta de seguridad
, que significa: Cuidado, Advertencia o Peligro
– instrucción relativa a la seguridad personal. El incumplimiento
de estas instrucciones puede dar lugar a lesiones personales o la
muerte.
![]() |
Las calcomanías de seguridad e instrucciones están a la vista del operador y están ubicadas cerca de cualquier zona de peligro potencial. Sustituya cualquier calcomanía que esté dañada o que falte. |

















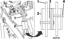
Piezas necesarias en este paso:
| Palanca selectora de velocidad | 1 |
Retire y deseche la tuerca que sujeta el perno y la arandela de freno a la palanca selectora de velocidad.
Sujete la palanca a la válvula selectora de velocidad usando el perno, la arandela de freno y la tuerca, según se muestra en la Figura 4.

Antes de arrancar el motor por primera vez, compruebe el nivel del aceite del motor, el nivel del fluido hidráulico y la presión de los neumáticos. Consulte las siguientes secciones para obtener más información:
Cargue e instale la batería; consulte Carga de la batería.


La llave de contacto, que se utiliza para arrancar y apagar el motor, tiene tres posiciones: PARADA, MARCHA y ARRANQUE.
Mueva el control hacia adelante para aumentar la velocidad del motor, y hacia atrás para reducir la velocidad.
Si el motor está frío, mueva la palanca hacia adelante antes de arrancar. Después de que el motor arranque, regule el estárter para que el motor siga funcionando suavemente. Tan pronto como sea posible, mueva la palanca del estárter hacia atrás hasta que haga tope.
Note: Si el motor está caliente, no será necesario usar el estárter, o sólo muy poco.
Para conducir hacia adelante, mueva las palancas de control de tracción hacia adelante.
Para conducir hacia atrás, mueva las palancas de control de tracción hacia atrás.
Para girar, mueva la palanca del lado hacia el cual desea girar a la posición de PUNTO MUERTO, manteniendo engranada la otra.
Note: Cuanto más mueva las palancas de control de tracción en cualquier sentido, más rápido se moverá la máquina en esa dirección.
Para ir más lento o detenerse, mueva las palancas de control de tracción a PUNTO MUERTO.
Para inclinar el accesorio hacia adelante, empuje lentamente la palanca de inclinación de accesorios hacia adelante.
Para inclinar el accesorio hacia atrás, tire lentamente de la palanca de inclinación de accesorios hacia atrás.
Para bajar los brazos de carga, empuje lentamente la palanca de los brazos de carga hacia adelante.
Para subir los brazos de carga, tire lentamente de la palanca de los brazos de carga hacia atrás.
El bloqueo de la válvula de carga fija las palancas de inclinación de los brazos de carga/el accesorio de manera que no se puedan mover hacia adelante. Esto ayuda a asegurar que nadie pueda bajar accidentalmente los brazos de carga durante las operaciones de mantenimiento. Asegure los brazos de carga con el bloqueo, además de usar los bloqueos de los cilindros, si llega a ser necesario apagar la máquina con los brazos de carga elevados.
Para activar el bloqueo, tire del mismo hacia atrás y hacia abajo, contra las palancas.
Note: Es necesario mover las palancas hacia atrás para activar o desactivar el bloqueo de la válvula de carga.

Para accionar un apero hidráulico en dirección hacia adelante, tire lentamente de la palanca del sistema hidráulico auxiliar hacia fuera y luego hacia abajo.
Para accionar un apero hidráulico en dirección hacia atrás, tire lentamente de la palanca del sistema hidráulico auxiliar hacia fuera y luego empújela hacia arriba. Esta posición se llama también posición de RETENCIóN porque no requiere la presencia del operador.
Para seleccionar velocidad alta para la transmisión de tracción, los brazos de carga y la inclinación del accesorio, y velocidad baja para el sistema hidráulico auxiliar, mueva la palanca selectora de velocidad en la posición hacia DELANTE.
Para seleccionar velocidad alta para el sistema hidráulico auxiliar y velocidad baja para la transmisión de tracción, los brazos de carga y la inclinación del accesorio, mueva la palanca selectora de velocidad en la posición hacia ATRáS.
Si usted mueve la palanca selectora de velocidad con la máquina en movimiento, la máquina se detendrá repentinamente o acelerará rápidamente. Si usted opera la máquina con la palanca selectora de velocidad en una posición intermedia, la máquina funcionará de forma errática y puede dañarse. Usted podría perder el control de la máquina y herir a otras personas o a usted mismo.
No mueva la palanca selectora de velocidad con la máquina en movimiento.
No haga funcionar la máquina con el selector de velocidad en cualquier posición intermedia (es decir, en cualquier posición que no sea totalmente hacia adelante o totalmente hacia atrás).
Cuando el motor está apagado, el horímetro/taquímetro muestra el número de horas de operación registradas en la máquina. Cuando el motor está en marcha, muestra la velocidad del motor en revoluciones por minuto (rpm).
Después de 50 horas y luego cada 100 horas (es decir, a las 150, 250, 350, etc. horas), la pantalla muestra "CHG OIL" (Cambiar aceite) para recordarle que debe cambiar el aceite del motor.
Después de cada 100 horas, la pantalla muestra SVC para recordarle que debe realizar los otros procedimientos de mantenimiento programados para cada 100, 200 o 400 horas.
Note: Estos recordatorios aparecen 3 horas antes del intervalo de mantenimiento y parpadean a intervalos regulares durante 6 horas.
Para accionar el freno de estacionamiento, gire la palanca hacia abajo.
Para quitar el freno de estacionamiento, gire la palanca hacia arriba.

Note: Las especificaciones y el diseño están sujetos a modificación sin previo aviso.
| Anchura | 103 cm |
| Longitud | 152 cm |
| Altura | 125 cm |
| Peso (sin accesorios) | 876 kg |
| Peso del contrapeso trasero | 75 kg |
| Peso de los contrapesos delanteros | 56 kg |
| Capacidad operativa – con operador de 74,8 kg, cucharón estándar y contrapesos | 220 kg |
| Capacidad de volcado – con operador de 74,8 kg, cucharón estándar y contrapesos | 440 kg |
| Distancia entre ejes | 71 cm |
| Altura de volcado (con cucharón estándar) | 120 cm |
| Alcance – elevación máxima (con cucharón estándar) | 66 cm |
| Altura hasta el pasador de la bisagra (cucharón estrecho en posición estándar) | 168 cm |
Está disponible una selección de implementos y accesorios homologados por Toro que pueden utilizarse con la máquina a fin de potenciar y aumentar sus prestaciones. Póngase en contacto con su Servicio Técnico Autorizado o con su distribuidor Toro autorizado, o bien visite www.Toro.com para obtener una lista de todos los implementos y accesorios homologados.
Para asegurar un rendimiento óptimo y la continuada certificación de seguridad de la máquina, utilice únicamente piezas y accesorios genuinos Toro. Las piezas de repuesto y accesorios de otros fabricantes podrían ser peligrosos, y su uso podría invalidar la garantía del producto.
Note: Los lados derecho e izquierdo de la máquina se determinan desde la posición normal del operador.
No deje nunca que la máquina la utilicen o mantengan niños o personas que no hayan recibido la formación adecuada. La normativa local puede imponer límites sobre la edad del operador o requerir que éste haya recibido una formación homologada. El propietario es responsable de proporcionar formación a todos los operarios y mecánicos.
Familiarícese con la operación segura del equipo, los controles del operador y las calcomanías de seguridad.
Accione siempre el freno de estacionamiento (si está equipado), apague el motor, retire la llave, espere a que se detengan todas las piezas en movimiento y deje que la máquina se enfríe antes de ajustarla, revisarla, limpiarla o guardarla.
Sepa cómo parar rápidamente la máquina y apagar el motor.
Compruebe que los controles de presencia del operador, los interruptores de seguridad y los protectores de seguridad están instalados y que funcionan correctamente. No utilice la máquina si no funcionan correctamente.
Localice las zonas de aprisionamiento señaladas en la máquina y en los implementos, y mantenga los pies y las manos alejados de estas zonas.
Antes de utilizar la máquina con un implemento, asegúrese de que el implemento ha sido instalado correctamente y que es un implemento Toro genuino. Lea los manuales de todos los implementos.
Evalúe el terreno para determinar los implementos y accesorios necesarios para realizar el trabajo de manera correcta y segura.
Haga que se marquen las áreas de la zona de trabajo que contienen tendidos enterrados y otros objetos, y no excave en las zonas marcadas; anote la posición de obstáculos y estructuras sin señalizar, como pueden ser tanques de almacenamiento subterráneo, pozos o fosas sépticas.
Inspeccione la zona en la que va a utilizar el equipo en busca de superficies irregulares o peligros ocultos.
Asegúrese de que no haya nadie en la zona antes de poner en marcha la máquina. Pare la máquina si alguien entra en la zona.
Extreme las precauciones al manejar el combustible. Es inflamable y sus vapores son explosivos.
Apague cualquier cigarrillo, cigarro, pipa u otra fuente de ignición.
Utilice solamente un recipiente de combustible homologado.
No retire el tapón de combustible ni rellene de combustible el depósito mientras el motor está en marcha o está caliente.
No añada ni drene combustible en un lugar cerrado.
No guarde la máquina o un recipiente de combustible en un lugar donde pudiera haber una llama desnuda, chispas o una llama piloto, por ejemplo en un calentador de agua u otro electrodoméstico.
Si se derrama combustible, no intente arrancar el motor; evite crear fuentes de ignición hasta que los vapores del combustible se hayan disipado.
Para evitar que una carga estática incendie el combustible, retire la máquina del camión o del remolque y repóstela en el suelo, alejada de todos los vehículos. Si no es posible, coloque un recipiente portátil de combustible en el suelo, alejado de todos los vehículos y llénelo; a continuación, reposte la máquina con el recipiente en lugar de un surtidor de combustible.
Mantenga la boquilla en contacto con el borde del depósito de combustible o el orificio del recipiente en todo momento hasta que termine de repostar. No utilice dispositivos que mantengan abierta la boquilla.
Para obtener los mejores resultados, utilice solamente gasolina fresca (comprada hace menos de 30 días), sin plomo, de 87 o más octanos (método de cálculo (R+M)/2).
Etanol: Es aceptable el uso de gasolina con hasta el 10 % de etanol (gasohol) o el 15 % de MTBE (éter metil tert-butílico) por volumen. El etanol y el MTBE no son lo mismo. No está autorizado el uso de gasolina con el 15 % de etanol (E15) por volumen. No utilice nunca gasolina que contenga más del 10 % de etanol por volumen, como por ejemplo la E15 (contiene el 15 % de etanol), la E20 (contiene el 20 % de etanol) o la E85 (contiene hasta el 85 % de etanol). El uso de gasolina no autorizada puede causar problemas de rendimiento o daños en el motor que pueden no estar cubiertos por la garantía.
No utilice gasolina que contenga metanol.
No guarde combustible en el depósito de combustible o en recipientes de combustible durante el invierno, a menos que utilice un estabilizador de combustible.
No añada aceite a la gasolina.
Utilice estabilizador/acondicionador en la máquina para mantener el combustible fresco durante más tiempo, siguiendo las indicaciones del fabricante del estabilizador de combustible.
Important: No utilice aditivos de combustible que contengan metanol o etanol.
Agregue la cantidad apropiada de estabilizador/acondicionador a combustible fresco, siguiendo las indicaciones del fabricante del estabilizador de combustible.
Capacidad del depósito de combustible:42,4 litros
Aparque la máquina en una superficie nivelada, ponga el freno de estacionamiento y baje los brazos de carga.
Apague el motor, retire la llave y deje que el motor se enfríe.
Limpie la zona alrededor del tapón del depósito de combustible y retire el tapón.

Añada combustible al depósito hasta que el nivel alcance de 6 a 13 mm por debajo de la parte inferior del cuello de llenado.
Important: Este espacio vacío en el depósito permite la dilatación del combustible. No llene completamente el depósito de combustible.
Instale el tapón del depósito de combustible firmemente, girándolo hasta que encaje con un clic.
Limpie cualquier combustible derramado.
Cada día, antes de arrancar la máquina, siga los procedimientos marcados como “Cada uso/A diario” en la sección .
Para ajustar el apoyacaderas, afloje los pomos y eleve o baje la almohadilla de apoyo a la altura deseada. Si necesita desplazarlo más, afloje la tuerca que fija la almohadilla a la pletina de ajuste, y suba o baje la pletina, según sea necesario. Cuando termine, apriete firmemente todos los herrajes.

No supere la capacidad nominal de trabajo, puesto que la máquina puede desestabilizarse y causar una pérdida de control.
No lleve cargas con los brazos de carga elevados. Siempre lleve las cargas cerca del suelo.
Utilice solamente implementos y accesorios autorizados por Toro. Los implementos pueden cambiar la estabilidad y las características operativas de la máquina.
Máquinas con plataforma:
Baje los brazos de carga antes de bajarse de la plataforma.
No intente estabilizar la máquina poniendo el pie en el suelo. Si usted pierde el control de la máquina, bájese de la plataforma y aléjese de la máquina.
No coloque los pies debajo de la plataforma.
No mueva la máquina a menos que esté de pie con ambos pies en la plataforma, sujetando las barras de referencia con las manos.
Preste toda su atención al manejo de la máquina. No realice ninguna actividad que pudiera distraerle; de lo contrario, podrían producirse lesiones o daños materiales.
Mire hacia atrás y hacia abajo antes de conducir hacia atrás, para asegurarse de que el camino está despejado.
Nunca mueva bruscamente los controles; utilice movimientos suaves y continuos.
El propietario/usuario puede prevenir, y es responsable de, cualquier accidente que pueda causar lesiones personales o daños materiales.
Lleve ropa adecuada, incluyendo guantes, protección ocular, pantalón largo, calzado resistente y antideslizante y protección auditiva. Si tiene el pelo largo, recójaselo, y no lleve joyas o prendas sueltas.
No utilice la máquina si está cansado, enfermo o bajo la influencia de alcohol o drogas.
No lleve nunca pasajeros, y no deje que se acerquen a la máquina animales domésticos u otras personas.
Utilice la máquina únicamente con buena luz, alejándose de agujeros y peligros ocultos.
Asegúrese de que todas las transmisiones están en punto muerto y ponga el freno de estacionamiento (si está instalado) antes de arrancar el motor. Arranque el motor únicamente desde el puesto del operador.
Tenga cuidado al acercarse a esquinas ciegas, arbustos, árboles u otros objetos que puedan dificultar la visión.
Vaya más despacio y tenga cuidado al girar y al cruzar calles y aceras. Esté atento al tráfico.
Pare el apero si usted no está trabajando.
Pare la máquina, apague el motor, retire la llave e inspeccione la máquina después de golpear un objeto. Haga las reparaciones necesarias antes de volver a utilizar la máquina.
No haga funcionar nunca el motor en un lugar cerrado.
No deje nunca desatendida la máquina si está en marcha.
Antes de abandonar el puesto del operador, haga lo siguiente:
Aparque la máquina en una superficie nivelada.
Baje los brazos de carga y desengrane el sistema hidráulico auxiliar.
Ponga el freno de estacionamiento (si está instalado).
Apague el motor y retire la llave.
No utilice la máquina cuando exista riesgo de caída de rayos.
Utilice la máquina únicamente en zonas en las que tenga suficiente espacio para maniobrarla con seguridad. Esté atento a obstáculos situados muy cerca de usted. Si no se mantiene a una distancia apropiada de árboles, paredes, muros y otras barreras puede dar lugar a lesiones durante la operación de la máquina en marcha atrás, si usted no está atento a lo que le rodea.
Compruebe que hay espacio suficiente antes de conducir por debajo de cualquier objeto (por ejemplo, cables eléctricos, ramas o portales), y no entre en contacto con ellos.
No sobrecargue el apero y mantenga siempre la carga nivelada mientras eleva los brazos de carga. Los objetos transportados en el implemento podrían caerse, causando lesiones.
Al subir y bajar pendientes, hágalo con el extremo más pesado de la máquina cuesta arriba. La distribución del peso varía dependiendo del implemento. Si el cazo está vacío, el extremo más pesado de la máquina será la parte de atrás y, si el cazo está lleno, el extremo más pesado de la máquina será la parte delantera. Con la mayoría de los demás implementos, la parte delantera de la máquina será el extremo más pesado.
La elevación de los brazos de carga en una pendiente afecta a la estabilidad de la máquina. Mantenga los brazos de carga en posición bajada mientras está en una pendiente.
Las pendientes son un factor de primera importancia relacionado con los accidentes por pérdida de control y vuelcos, que pueden causar lesiones graves o la muerte. La conducción de la máquina en cualquier pendiente o terreno irregular requiere extremar la precaución.
Establezca sus propios procedimientos y reglas para trabajar en pendientes. Estos procedimientos deben incluir un estudio del lugar de trabajo para determinar en qué cuestas o pendientes es seguro trabajar con la máquina. Utilice siempre el sentido común y el buen juicio al realizar este estudio.
Vaya más despacio y extreme la precaución en las pendientes. Las condiciones del suelo pueden afectar a la estabilidad de la máquina.
Evite arrancar o parar en una cuesta o pendiente. Si la máquina pierde tracción, vaya lentamente, cuesta abajo, en línea recta.
Evite girar en pendientes y cuestas. Si es imprescindible girar, hágalo lentamente y mantenga el extremo más pesado de la máquina cuesta arriba.
Haga todos los movimientos en cuestas y pendientes de forma lenta y gradual. No haga cambios bruscos de velocidad o de dirección.
Si no se siente cómodo usando la máquina en una pendiente, no lo haga.
Esté atento a baches, surcos o montículos, puesto que un terreno desigual puede hacer que la máquina vuelque. La hierba alta puede ocultar obstáculos.
Extreme las precauciones al utilizar la máquina sobre superficies mojadas. Una reducción en la tracción podría causar derrapes.
Evalúe el área para garantizar que el terreno es lo suficientemente estable para sostener la máquina.
Tenga cuidado al utilizar la máquina cerca de las siguientes áreas:
Terraplenes
Fosas
Taludes
Masas de agua
La máquina podría volcar repentinamente si una oruga pasa por un borde o si se desploma el borde. Mantenga una distancia segura entre la máquina y cualquier peligro.
No desmonte ni monte implementos en una pendiente.
No aparque la máquina en una cuesta o pendiente.
Si golpea una conducción de servicios públicos, realice lo siguiente:
Apague la máquina y retire la llave.
Aleje a todas las personas del área de trabajo.
Avise inmediatamente a los servicios de emergencia y a las compañías de servicios.
Si daña un cable de fibra óptica, no mire a la luz expuesta.
No abandone la plataforma del operador si la máquina está cargada con electricidad. Estará seguro mientras permanezca en la plataforma.
El contacto con cualquier parte de la máquina puede cerrar el circuito a tierra.
No deje que otras personas toquen o se acerquen a la máquina si está cargada.
Dé por sentado siempre que la máquina está cargada si golpea una conducción eléctrica o de comunicación. No intente abandonar la máquina.
Las fugas de gas son inflamables y explosivas y pueden causar lesiones graves o la muerte. No fume mientras trabaja con la máquina.
Asegúrese de que la palanca del sistema hidráulico auxiliar está en la posición de PUNTO MUERTO.
Mueva la palanca del estárter totalmente hacia adelante si el motor está frío.
Note: Si el motor está caliente, puede no ser necesario usar el estárter.
Mueva la palanca del acelerador a un punto intermedio entre las posiciones de LENTO y RáPIDO.
Introduzca la llave en el interruptor de encendido y gírela a la posición de ARRANQUE. Cuando el motor arranque, suelte la llave.
Important: No active el motor de arranque durante más de 10 segundos cada vez. Si el motor no arranca, espere 30 segundos entre intentos para que el motor de arranque se enfríe. Si no se siguen estas instrucciones, puede quemarse el motor de arranque.
Cuando el motor arranque, mueva la palanca del estárter poco a poco a la posición de DESACTIVADO. Si el motor se cala o funciona de forma irregular, mueva la palanca hacia delante de nuevo hasta que el motor se caliente.
Mueva la palanca del acelerador a la posición deseada.
Important: Si se hace funcionar el motor a alta velocidad cuando el sistema hidráulico está frío (por ejemplo, cuando la temperatura del aire ambiente es de 0 °C o menos), pueden producirse daños en el sistema hidráulico. Al arrancar el motor en condiciones de mucho frío, déjelo en marcha con el acelerador en una posición intermedia durante 2 a 5 minutos antes de mover el acelerador a la posición de RáPIDO.
Note: Si la temperatura exterior está por debajo de 0 °C, almacene la máquina en un garaje para mantenerla caliente y facilitar el arranque.
Utilice los controles de tracción para desplazar la máquina. Cuanto más mueva los controles de tracción en cualquier sentido, más rápido se moverá la máquina en dicha dirección. Suelte los controles de tracción para detener la máquina.
El control del acelerador regula la velocidad del motor en rpm (revoluciones por minuto). Ponga el acelerador en la posición de RáPIDO para conseguir el mejor rendimiento. No obstante, también puede cambiar la posición del acelerador para operar a una velocidad más baja.
Aparque la máquina en una superficie nivelada, ponga el freno de estacionamiento y baje los brazos de carga.
Asegúrese de que la palanca del sistema hidráulico auxiliar está en la posición de PUNTO MUERTO.
Mueva la palanca del acelerador a la posición de ¾ de RáPIDO.
Note: Si pone el acelerador a menos de la mitad de la posición RáPIDO, el motor sigue funcionando durante 1 segundo después de girar la llave a la posición de DESCONECTADO, lo que evita el petardeo.
Si el motor ha estado trabajando duro o si está muy caliente, déjelo funcionar en ralentí durante un minuto antes de girar el interruptor de encendido a DESCONECTADO.
Note: Esto ayuda a enfriar el motor antes de apagarlo. En una situación de emergencia, puede apagar el motor inmediatamente.
Gire la llave de contacto a la posición de DESCONECTADO y retire la llave.
Los niños u otras personas podrían resultar lesionados si mueven o intentan operar la máquina mientras está desatendida.
Retire siempre la llave y ponga el freno de estacionamiento cuando deje la máquina sin supervisión.
Important: Utilice solamente implementos homologados por Toro. Los implementos pueden cambiar la estabilidad y las características operativas de la máquina. La garantía de la máquina puede quedar anulada si se utiliza la máquina con implementos no homologados.
Important: Antes de instalar el implemento, asegúrese de que las placas de montaje están libres de suciedad o residuos y de que los pasadores se mueven libremente. Si los pasadores no se mueven libremente, engráselos.
Coloque el implemento en una superficie nivelada con suficiente espacio detrás para colocar la máquina.
Arranque el motor.
Incline hacia adelante la placa de montaje del implemento.
Coloque la placa de montaje debajo del reborde superior de la placa receptora del implemento.

Eleve los brazos de carga, inclinando hacia atrás la placa de montaje al mismo tiempo.
Important: El apero debe elevarse lo suficiente para que no toque el suelo, y la placa de montaje debe inclinarse hacia atrás hasta hacer tope.
Apague el motor y retire la llave.
Acople los pasadores de enganche rápido, asegurándose de que están correctamente introducidos hasta el fondo en la placa de montaje.
Important: Si los pasadores no giran a la posición de engranado, la placa de montaje no está correctamente alineada con los taladros de la placa receptora del implemento. Compruebe la placa receptora y límpiela si es necesario.
Si los pasadores de enganche rápido no pasan completamente a través de la placa de montaje del implemento, el implemento podría caerse de la máquina, aplastándole a usted o a otra persona.
Asegúrese de que los pasadores de enganche rápido están correctamente introducidos en la placa de montaje del implemento.

Las fugas de fluido hidráulico bajo presión pueden penetrar en la piel y causar lesiones. Cualquier fluido inyectado bajo la piel debe ser eliminado quirúrgicamente en unas horas por un médico familiarizado con este tipo de lesión, de lo contrario podría producirse gangrena.
Asegúrese de que todas las mangueras y líneas de fluido hidráulico están en buenas condiciones de uso, y que todos los acoplamientos y conexiones hidráulicos están apretados, antes de aplicar presión al sistema hidráulico.
Mantenga el cuerpo y las manos alejados de fugas pequeñas o de boquillas que liberan fluido hidráulico a alta presión.
Utilice un cartón o un papel para buscar fugas hidráulicas; no utilice nunca las manos.
Los acoplamientos hidráulicos, las mangueras/válvulas hidráulicos y el fluido hidráulico pueden estar calientes. Si usted toca un componente caliente, puede quemarse.
Lleve guantes al manejar los acoplamientos hidráulicos.
Deje que la máquina se enfríe antes de tocar los componentes hidráulicos.
No toque los derrames de fluido hidráulico.
Si el accesorio requiere el sistema hidráulico para su operación, conecte las mangueras hidráulicas de la manera siguiente:
Apague el motor y retire la llave.
Mueva la palanca del sistema hidráulico auxiliar hacia adelante, hacia atrás y otra vez a la posición de PUNTO MUERTO para aliviar la presión en los acoplamientos hidráulicos.
Retire los protectores de los conectores hidráulicos de la máquina.
Asegúrese de limpiar cualquier materia extraña de los conectores hidráulicos.
Enchufe el conector macho del implemento en el conector hembra de la máquina.
Note: Al conectar primero el conector macho del implemento, se alivia cualquier presión residual en el implemento.
Enchufe el conector hembra del implemento en el conector macho de la máquina.
Confirme que la conexión es segura tirando de las mangueras.
Aparque la máquina en una superficie nivelada.
Baje el apero al suelo.
Apague el motor y retire la llave.
Desacople los pasadores de enganche rápido girándolos hacia fuera.
Si el accesorio utiliza el sistema hidráulico, mueva la palanca del sistema hidráulico auxiliar hacia adelante, hacia atrás y otra vez a la posición de PUNTO MUERTO para aliviar la presión en los acoplamientos hidráulicos.
Si el accesorio utiliza el sistema hidráulico, deslice hacia atrás los collares de los acoplamientos hidráulicos y desconéctelos.
Important: Conecte entre sí las mangueras del implemento para evitar la contaminación del sistema hidráulico durante el almacenamiento.
Instale los tapones de protección en los acoplamientos hidráulicos de la máquina.
Arranque el motor, incline hacia adelante la placa de montaje, y aleje la máquina del apero en marcha atrás.
Accione el freno de estacionamiento (si está equipado), baje los brazos de carga, apague el motor, retire la llave, espere a que se detengan todas las piezas en movimiento y deje que la máquina se enfríe antes de realizar trabajos de ajuste, limpieza, almacenamiento o mantenimiento.
Limpie cualquier residuo de los aperos, las transmisiones, los silenciadores y el motor para ayudar a prevenir incendios. Limpie cualquier aceite o combustible derramado.
Mantenga todas las piezas en buenas condiciones de funcionamiento, y todos los herrajes bien apretados.
No toque piezas que pueden estar calientes después de estar en funcionamiento. Deje que se enfríen antes de intentar mantener, ajustar o revisar la máquina.
Tenga cuidado al cargar o descargar la máquina en/desde un remolque o un camión.
Si la máquina se queda atascada (por ejemplo, en un lugar con barro), tire de la máquina hasta dejarla en una posición estable usando simultáneamente los puntos de elevación/amarre superiores, delanteros o traseros.

Important: No remolque ni tire de la máquina sin antes abrir las válvulas de remolcado, o se dañará el sistema hidráulico.
Apague el motor y retire la llave.
Retire el tapón que cubre cada válvula de remolcado.

Afloje la contratuerca de cada válvula de remolcado.
Gire cada válvula una vuelta en sentido horario con una llave hexagonal para abrirlas.
Remolque la máquina según sea necesario.
Important: No supere las 4,8 km/h durante el remolcado.
Cuando haya reparado la máquina, cierre las válvulas de remolcado y apriete las contratuercas.
Important: No apriete demasiado las válvulas de remolcado.
Vuelva a colocar los tapones.
Utilice un remolque para cargas pesadas o un camión para transportar la máquina. Utilice una rampa de ancho completo. Asegúrese de que el remolque o el camión está equipado con todos los frenos, luces y señalizaciones que requiera la ley. Por favor, lea cuidadosamente todas las instrucciones de seguridad. El conocer esta información puede ayudar a evitarle lesiones a usted o a otras personas. Consulte en la normativa local los requisitos aplicables al remolque y al sistema de amarre.
Conducir en una calle o carretera sin señales de giro, luces, marcas reflectantes o un indicador de vehículo lento es peligroso y puede ser causa de accidentes que pueden provocar lesiones personales.
No conduzca la máquina en una calle o carretera pública.
Cargar o descargar la máquina en/de un remolque o un camión aumenta la posibilidad de vuelco y podría causar lesiones graves o la muerte (Figura 15).
Utilice únicamente rampas de ancho completo.
Asegúrese de que la rampa tiene una longitud de al menos cuatro veces la altura de la plataforma del remolque o del camión sobre el suelo. De esta forma se asegura que el ángulo de la rampa no supere los 15 grados en terreno llano.

Cargar o descargar la máquina en/de un remolque o un camión aumenta la posibilidad de vuelco y podría causar lesiones graves o la muerte.
Extreme las precauciones al manejar la máquina en una rampa.
Suba y baje la máquina por la rampa con el extremo más pesado hacia arriba.
Evite acelerar o desacelerar bruscamente al conducir la máquina en una rampa, porque esto podría provocar un vuelco o una pérdida de control.
Si utiliza un remolque, conéctelo al vehículo de remolque y conecte las cadenas de seguridad.
En su caso, conecte los frenos del remolque.
Baje la(s) rampa(s).
Baje los brazos de carga.
Cargue la máquina en el remolque por la rampa con el extremo más pesado hacia arriba y la carga en la posición más baja posible, tal y como se muestra.
Si la máquina tiene un implemento de carga lleno (por ejemplo, un cazo) o un implemento que no sea de carga (por ejemplo, una zanjadora), suba la máquina por la rampa conduciendo hacia adelante.
Si la máquina tiene un implemento de carga vacío o si no tiene implemento acoplado, suba la máquina por la rampa en marcha atrás.

Baje del todo los brazos de carga.
Ponga el freno de estacionamiento, apague el motor y retire la llave.
Utilice los puntos de amarre metálicos de la máquina para sujetar la máquina con firmeza al remolque o al camión con correas, cadenas, cables o cuerdas. Consulte la normativa local respecto a los requisitos de amarre.

Baje la(s) rampa(s).
Descargue la máquina del remolque por la rampa con el extremo más pesado hacia arriba y la carga en la posición más baja posible.
Si la máquina tiene un implemento de carga lleno (por ejemplo, un cazo) o un implemento que no sea de carga (por ejemplo, una zanjadora), baje la máquina por la rampa en marcha atrás.
Si la máquina tiene un implemento de carga vacío, o si no tiene implemento acoplado, baje la máquina por la rampa conduciendo hacia adelante.

| Intervalo de mantenimiento y servicio | Procedimiento de mantenimiento |
|---|---|
| Cada vez que se utilice o diariamente |
|
Retire los accesorios y eleve la máquina con los puntos de amarre/elevación.

Note: Los lados derecho e izquierdo de la máquina se determinan desde la posición normal del operador.
Si deja la llave en el interruptor de encendido, alguien podría arrancar el motor accidentalmente y causar lesiones graves a usted o a otras personas.
Retire la llave del interruptor antes de realizar cualquier operación de mantenimiento.
Aparque la máquina en una superficie nivelada, desengrane el sistema hidráulico auxiliar, baje el apero, ponga el freno de estacionamiento (si está instalado), apague el motor y retire la llave. Espere a que se detengan todas las piezas en movimiento y deje que se enfríe la máquina antes de hacer trabajos de ajuste, limpieza, almacenamiento o reparación.
Limpie cualquier aceite o combustible derramado.
No permita que personas que no hayan recibido formación realicen mantenimiento en la máquina.
Utilice caballetes para apoyar los componentes cuando sea necesario.
Alivie con cuidado la tensión de aquellos componentes que tengan energía almacenada; consulte Alivio de presión hidráulica.
Desconecte la batería antes de efectuar cualquier reparación; consulte Mantenimiento de la batería.
Mantenga las manos y los pies alejados de las piezas en movimiento. Si es posible, no haga ajustes mientras el motor está funcionando.
Mantenga todas las piezas en buenas condiciones de funcionamiento, y todos los herrajes bien apretados. Sustituya cualquier calcomanía desgastada o deteriorada.
No manipule los dispositivos de seguridad.
Utilice solamente implementos homologados por Toro. Los implementos pueden cambiar la estabilidad y las características operativas de la máquina. La garantía puede quedar anulada si se utiliza la máquina con implementos no autorizados.
Utilice solamente piezas de repuesto genuinas de Toro.
Si alguna operación de mantenimiento o reparación requiere que los brazos de carga estén en posición elevada, bloquee los brazos en la posición elevada usando el/los bloqueo(s) del/de los cilindro(s) hidráulico(s).
| Intervalo de mantenimiento y servicio | Procedimiento de mantenimiento |
|---|---|
| Después de las primeras 8 horas |
|
| Después de las primeras 50 horas |
|
| Cada vez que se utilice o diariamente |
|
| Cada 25 horas |
|
| Cada 100 horas |
|
| Cada 200 horas |
|
| Cada 400 horas |
|
| Cada 500 horas |
|
| Cada 1500 horas o cada 2 años, lo que ocurra primero |
|
| Cada año |
|
| Cada año o antes del almacenamiento |
|
Important: El manual del propietario del motor puede contener procedimientos de mantenimiento adicionales.
Important: Si tiene que inclinar la máquina más de 25 grados, bloquee la manguera de ventilación con una pinza en la parte superior del depósito de combustible para evitar que el combustible manche el cartucho de carbón.
Los brazos de carga pueden bajarse accidentalmente cuando están en posición elevada, aplastando a cualquier persona que se encuentre debajo de ellos.
Instale los bloqueos de los cilindros antes de realizar cualquier operación de mantenimiento que requiera que los brazos de carga estén elevados.
Retire el implemento.
Lleve los brazos de carga a su posición de elevación máxima.
Apague el motor y retire la llave.
Coloque un bloqueo de cilindro sobre la varilla de cada cilindro de elevación.

Fije cada bloqueo de cilindro con un pasador y una chaveta.
Baje lentamente los brazos de carga hasta que los bloqueos de los cilindros toquen los cuerpos de los cilindros y los extremos de las varillas.
Fije el bloqueo de la válvula de carga; consulte Bloqueo de la válvula de carga.
Important: Retire los bloqueos de los cilindros de las varillas y sujételos en la posición de almacenamiento antes de operar la máquina.
Arranque el motor.
Lleve los brazos de carga a su posición de elevación máxima.
Apague el motor y retire la llave.
Retire el pasador y la chaveta que fija cada bloqueo de cilindro.
Retire los bloqueos de cilindro.
Baje los brazos de carga.
Instale los bloqueos de cilindro sobre las mangueras hidráulicas y fíjelos con los pasadores y chavetas (Figura 21).

Si abre o retira una cubierta, un capó, o una rejilla con el motor en marcha, podría tocar alguna pieza en movimiento y sufrir graves lesiones.
Antes de abrir una cubierta, un capó o una rejilla, apague el motor, retire la llave del interruptor y deje que el motor se enfríe.
Retire todos los aperos.
Aparque la máquina en una superficie nivelada y ponga el freno de estacionamiento.
Eleve los brazos de carga e instale los bloqueos de los cilindros.
Note: Si debe retirar el capó sin elevar los brazos de carga, tenga mucho cuidado de no dañar el capó o las mangueras hidráulicas al manipular el capó para extraerlo por debajo de los brazos.
Apague el motor y retire la llave.
Abra las 4 pestañas de cierre.

Tire del capó para retirarlo de la máquina.
Coloque el capó sobre el bastidor de la máquina, encajando los soportes del capó en los orificios del chasis.
Fije el capó presionando las pestañas de cierre hacia delante y hacia abajo.
| Intervalo de mantenimiento y servicio | Procedimiento de mantenimiento |
|---|---|
| Cada vez que se utilice o diariamente |
|
Tipo de grasa: Grasa de propósito general.
Aparque la máquina en una superficie nivelada, ponga el freno de estacionamiento y baje los brazos de carga.
Apague el motor y retire la llave.
Limpie con un trapo los puntos de engrase.

Conecte una pistola de engrasar a cada punto de engrase.
Bombee grasa hasta que empiece a rezumar grasa de los cojinetes (3 aplicaciones aproximadamente)
Limpie cualquier exceso de grasa.
Apague el motor antes de comprobar el aceite o añadir aceite al cárter.
No cambie los ajustes del regulador del motor ni haga funcionar el motor a una velocidad excesiva.
Mantenga las manos, los pies, la cara, otras partes del cuerpo y la ropa alejados del silenciador y de otras superficies calientes.
| Intervalo de mantenimiento y servicio | Procedimiento de mantenimiento |
|---|---|
| Cada 200 horas |
|
Important: Para evitar dañar el motor, no haga funcionar nunca el motor sin que estén instalados el filtro de aire y la tapa.
Aparque la máquina en una superficie nivelada, ponga el freno de estacionamiento y baje los brazos de carga.
Apague el motor y retire la llave.
Abra los cierres del limpiador de aire y tire de la tapa de la entrada de aire para separarla del cuerpo del filtro de aire.

Apriete los lados del tapón antipolvo para abrirlo, y golpéelo para vaciarlo de polvo.
Limpie el interior de la cubierta con aire comprimido a menos de 2,05 bar.
Important: No utilice aire comprimido en el cuerpo del limpiador de aire.
Extraiga con cuidado el filtro del cuerpo del limpiador de aire.
Note: Evite golpear el filtro contra el lado de la carcasa.
Important: No intente limpiar el filtro.
Inspeccione el filtro nuevo por si estuviera roto, tuviera una película aceitosa o la junta de goma estuviera dañada. Mire dentro del filtro mientras dirige una luz potente sobre el exterior del filtro; los agujeros del filtro aparecerán en forma de puntos luminosos.
Si el filtro está dañado, no lo use.
Instale el filtro con cuidado.
Note: Asegúrese de que cada filtro esté bien asentado empujando sobre el borde exterior del filtro mientras lo instala.
Important: No empuje sobre la zona blanda interior del filtro.
Instale la cubierta del limpiador de aire con el tapón antipolvo orientado hacia abajo y cierre los enganches.
| Intervalo de mantenimiento y servicio | Procedimiento de mantenimiento |
|---|---|
| Cada 200 horas |
|
Aparque la máquina en una superficie nivelada, ponga el freno de estacionamiento y baje los brazos de carga.
Apague el motor y retire la llave.
Afloje la abrazadera por encima del filtro de aire del cartucho de carbón.

Retire y deseche el filtro de aire.
Important: Si una sección pequeña del tubo se sale de la manguera grande en la espiga del filtro, retírela del filtro y vuelva a insertarla en la manguera.
Instale un nuevo filtro en la manguera y fíjelo con la abrazadera.
| Intervalo de mantenimiento y servicio | Procedimiento de mantenimiento |
|---|---|
| Cada 200 horas |
|
Note: Inspeccione el filtro del tubo de purga periódicamente en busca de suciedad. Si el filtro parece estar sucio, cámbielo.
Aparque la máquina en una superficie nivelada, ponga el freno de estacionamiento y baje los brazos de carga.
Apague el motor y retire la llave.
Cambie el filtro del tubo de purga del cartucho de carbón tal y como se muestra.
Important: Asegúrese de que las marcas en el filtro apuntan hacia la válvula de retención.


| Intervalo de mantenimiento y servicio | Procedimiento de mantenimiento |
|---|---|
| Después de las primeras 50 horas |
|
| Cada vez que se utilice o diariamente |
|
| Cada 100 horas |
|
| Cada 200 horas |
|
Tipo de aceite: Aceite detergente (Servicio API SJ o superior)
Capacidad del cárter: si se cambia el filtro, 1,8 litros; si no se cambia el filtro, 1,6 litros
Viscosidad: Consulte la tabla siguiente

Aparque la máquina en una superficie nivelada, ponga el freno de estacionamiento y baje los brazos de carga.
Apague el motor, retire la llave y deje que el motor se enfríe.
Limpie la zona alrededor de la varilla de aceite y el tapón de llenado de aceite.

Compruebe el nivel de aceite y añada más si es necesario.
Important: No llene excesivamente el cárter de aceite; si el nivel de aceite del cárter es demasiado alto y usted arranca el motor, puede dañar el motor.

Arranque el motor y déjelo funcionar durante 5 minutos.
Note: De esta forma, el aceite se calentará y será más fácil drenarlo.
Aparque la máquina de manera que el lado de drenaje esté ligeramente más bajo que el lado opuesto para asegurar que el aceite se drene completamente.
Baje los brazos de carga, accione el freno de estacionamiento, apague el motor y retire la llave.
Coloque un extremo de una manguera en la válvula de vaciado y el otro extremo en un recipiente.

Abra la válvula de drenaje girándola en sentido antihorario y tirando de ella hacia fuera mientras la gira.
Cuando el aceite se haya drenado completamente, cierre la válvula de drenaje y retire la manguera.
Note: Elimine el aceite usado en un centro de reciclaje homologado.
Coloque un recipiente poco hondo o un paño debajo del filtro para recoger el aceite.
Cambie el filtro de aceite.

Retire el tapón de llenado de aceite y vierta lentamente alrededor del 80 % de la cantidad especificada de aceite a través de la cubierta de la válvula.
Compruebe el nivel de aceite.
Añada lentamente más aceite hasta que el nivel llegue al nivel superior de la varilla.
Vuelva a colocar el tapón de llenado.
| Intervalo de mantenimiento y servicio | Procedimiento de mantenimiento |
|---|---|
| Cada 200 horas |
|
| Cada 500 horas |
|
Asegúrese de que la distancia entre los electrodos central y lateral es correcta antes de instalar cada bujía. Utilice una llave para bujías para retirar e instalar cada bujía y una galga de espesores/herramienta de separación de electrodos para comprobar y ajustar la distancia entre los mismos. Instale bujías nuevas si es necesario.
Tipo: Champion XC12YC o equivalente.
Hueco entre electrodos: 0,75 mm
Aparque la máquina en una superficie nivelada, ponga el freno de estacionamiento y baje los brazos de carga.
Apague el motor, retire la llave y deje que el motor se enfríe.
Limpie la zona alrededor de la base de la(s) bujía(s) para que no caiga suciedad en el motor.
Retire la(s) bujía(s), tal y como se muestra.

Important: No limpie la(s) bujía(s). Cambie siempre la(s) bujía(s) si tiene(n) un revestimiento negro, los electrodos desgastados, una película aceitosa o grietas.
Si se observa un color gris o marrón claro en el aislante, el motor está funcionando correctamente. Si el aislante es de color negro, significa que el limpiador de aire está sucio.
Ajuste la distancia a 0,75 mm.


En ciertas condiciones, el combustible es extremadamente inflamable y altamente explosivo. Un incendio o una explosión provocados por el combustible puede causarle quemaduras a usted y a otras personas así como daños materiales.
No drene el combustible de los depósitos de combustible si el motor está frío. Realice esta operación en un área abierta. Limpie cualquier combustible derramado.
No fume nunca mientras drena el combustible y manténgase alejado de llamas desnudas o de lugares donde una chispa pudiera inflamar los vapores.
Consulte Seguridad del combustible para obtener una lista completa de precauciones relacionadas con el sistema de combustible.
| Intervalo de mantenimiento y servicio | Procedimiento de mantenimiento |
|---|---|
| Cada año |
|
Aparque la máquina en una superficie nivelada, ponga el freno de estacionamiento y baje los brazos de carga.
Apague el motor y retire la llave.
Cierre la válvula de combustible, situada en el fondo de cada depósito de combustible.

Bloquee con una pinza el tubo de combustible entre los depósitos de combustible y el filtro de combustible para bloquear el flujo de combustible.
Sustituya el filtro de combustible tal y como se muestra.
Note: Asegúrese de que las marcas en el filtro siguen la dirección del flujo de combustible.

Retire la abrazadera que bloquea el flujo de combustible y abra la válvula de combustible.
Aparque la máquina en una superficie nivelada, ponga el freno de estacionamiento y baje los brazos de carga.
Apague el motor y retire la llave.
Cierre la válvula de combustible, situada en la manguera cerca del fondo del/de los depósito(s) de combustible.

Afloje la abrazadera que está cerca del filtro de combustible y deslícela por el tubo, alejándola del filtro.
Retire el tubo de combustible del filtro, abra la válvula de combustible, afloje el tapón del depósito de combustible y deje que el combustible se drene en un recipiente apropiado.
Instale el tubo de combustible en el filtro de combustible.
Acerque la abrazadera al filtro de combustible para fijar el tubo de combustible.
Abra la(s) válvula(s) de combustible, situada(s) en la(s) manguera(s), cerca de la parte inferior del/de lo(s) depósito(s) de combustible.
Note: Este es el momento más adecuado para instalar un nuevo filtro de combustible, porque el depósito o los depósitos de combustible están vacíos.
Desconecte el cable del terminal negativo de la batería antes de reparar la máquina.
Cargue la batería en una zona abierta y bien ventilada, lejos de chispas y llamas. Desenchufe el cargador antes de conectar o desconectar la batería. Lleve ropa protectora y utilice herramientas aisladas.
El ácido de la batería es venenoso y puede causar quemaduras. Evite el contacto con la piel, los ojos y la ropa. Protéjase la cara, los ojos y la ropa cuando trabaje con una batería.
Los gases de la batería pueden explotar. Mantenga alejados de la batería los cigarrillos, las chispas y las llamas.
| Intervalo de mantenimiento y servicio | Procedimiento de mantenimiento |
|---|---|
| Cada 100 horas |
|
Especificaciones: 12 v, 340 amperios (arranque en frío)
Los bornes de la batería o una herramienta metálica podrían hacer cortocircuito si entran en contacto con los componentes metálicos de la máquina, causando chispas. Las chispas podrían hacer explotar los gases de la batería, causando lesiones personales.
Al retirar o colocar la batería, no deje que los bornes toquen ninguna parte metálica de la máquina.
No deje que las herramientas metálicas hagan cortocircuito entre los bornes de la batería y las partes metálicas de la máquina.
Un enrutado incorrecto de los cables de la batería podría dañar la máquina y los cables, causando chispas. Las chispas podrían hacer explotar los gases de la batería, causando lesiones personales.
Desconecte siempre el cable negativo (negro) de la batería antes de desconectar el cable positivo (rojo).
Aparque la máquina en una superficie nivelada, ponga el freno de estacionamiento y baje los brazos de carga.
Apague el motor y retire la llave.
Retire el capó.
Retire las tuercas de orejeta y la barra que sujetan la batería.

Desconecte el cable negativo de tierra (negro) del borne de la batería. Guarde las fijaciones.
Levante la cubierta de goma del cable positivo (rojo).
Desconecte el cable positivo (rojo) del borne de la batería. Guarde las fijaciones.
Aparte las mangueras hidráulicas y levante la batería para retirarla del chasis.
La carga de la batería genera gases que pueden explotar, lo que podría producir lesiones graves o la muerte.
No fume cerca de la batería, y mantenga alejada de la batería cualquier chispa o llama.
Important: Mantenga siempre la batería completamente cargada (densidad de 1.265). Esto es especialmente importante para evitar daños a la batería cuando la temperatura está por debajo de los 0 °C.
Retire la batería de la máquina; consulte Retirada de la batería.
Cargue la batería durante 10 a 15 minutos a 25–30 amperios, o durante 30 minutos a 4–6 amperios. No sobrecargue la batería.

Cuando la batería esté completamente cargada, desconecte el cargador de la toma de electricidad, luego desconecte los cables del cargador de los bornes de la batería.
Note: Mantenga limpios los terminales y toda la carcasa de la batería para alargar la vida de la batería.
Aparque la máquina en una superficie nivelada, ponga el freno de estacionamiento (si hay) y baje los brazos de carga.
Apague el motor y retire la llave.
Retire la batería de la máquina; Retirada de la batería.
Lave toda la caja con una solución de bicarbonato y agua.
Enjuague la batería con agua clara.
Aplique una capa de grasa Grafo 112X o de vaselina a los conectores de los cables y a los bornes de la batería para evitar la corrosión.
Instale la batería; consulte Instalación de la batería.
Un enrutado incorrecto de los cables de la batería podría dañar la máquina y los cables, causando chispas. Las chispas podrían hacer explotar los gases de la batería, causando lesiones personales.
Conecte siempre el cable positivo (rojo) de la batería antes de conectar el cable negativo (negro).
Con las fijaciones que retiró antes, conecte el cable positivo (rojo) de la batería en el borne positivo (+) de la batería.

Deslice el protector de borne rojo sobre el borne positivo de la batería.
Con las fijaciones que retiró antes, conecte el cable negativo (negro) en el borne negativo (-) de la batería.
Fije la batería con la brida y las fijaciones que se retiraron anteriormente.
Important: Asegúrese de que los cables de la batería no entren en contacto con bordes cortantes, y que no se toquen entre sí.
La batería original no requiere mantenimiento. Consulte las instrucciones del fabricante de la batería respecto al mantenimiento de una batería de recambio.
| Intervalo de mantenimiento y servicio | Procedimiento de mantenimiento |
|---|---|
| Cada vez que se utilice o diariamente |
|
Mantenga la presión especificada de los neumáticos. Compruebe los neumáticos cuando están fríos para obtener la lectura más precisa.
Presión: 1,03–1,38 bar
Note: Utilice una presión más baja (1,03 bar) cuando trabaje en suelos arenosos con el fin de mejorar la tracción en el suelo suelto.

| Intervalo de mantenimiento y servicio | Procedimiento de mantenimiento |
|---|---|
| Después de las primeras 8 horas |
|
| Cada 100 horas |
|
Compruebe la torsión de las tuercas de las ruedas y apriételas a 68 N·m.
| Intervalo de mantenimiento y servicio | Procedimiento de mantenimiento |
|---|---|
| Cada vez que se utilice o diariamente |
|
Ponga el freno de estacionamiento; consulte Palanca del freno de estacionamiento.
Arranque el motor.
Intente conducir la máquina lentamente hacia adelante o hacia atrás.
Si la máquina se mueve, póngase en contacto con un Servicio Técnico Autorizado para que la revise.
Busque atención médica inmediatamente si el fluido penetra en la piel. Un médico deberá eliminar quirúrgicamente el fluido inyectado en pocas horas.
Asegúrese de que todas las mangueras y líneas de fluido hidráulico están en buenas condiciones de uso, y que todos los acoplamientos y conexiones hidráulicos están apretados, antes de aplicar presión al sistema hidráulico.
Mantenga el cuerpo y las manos alejados de fugas pequeñas o de boquillas que liberan fluido hidráulico a alta presión.
Utilice un cartón o un papel para buscar fugas hidráulicas.
Alivie de manera segura toda la presión del sistema hidráulico antes de realizar trabajo alguno en el sistema hidráulico.
Para aliviar la presión hidráulica mientras el motor está en marcha, desengrane el sistema hidráulico auxiliar y baje totalmente los brazos de carga.
Para aliviar la presión mientras el motor está apagado, mueva la palanca del sistema hidráulico auxiliar entre las posiciones de flujo hacia delante y hacia atrás para aliviar la presión del sistema hidráulico auxiliar, mueva la palanca de inclinación de accesorios hacia delante y hacia atrás y mueva la palanca del brazo de carga para bajar los brazos de carga.

| Intervalo de mantenimiento y servicio | Procedimiento de mantenimiento |
|---|---|
| Cada 25 horas |
|
Capacidad del depósito hidráulico: 62 litros
Utilice solamente uno de los fluidos siguientes en el sistema hidráulico:
Fluido hidráulico/de transmisión Toro Premium Tractor (consulte a su servicio técnico autorizado si desea más información)
Fluido hidráulico Toro PX Extended Life (consulte a su servicio técnico autorizado si desea más información)
Si ninguno de los fluidos Toro anteriores no está disponible, puede utilizar otro fluido hidráulico universal para tractores (UTHF ), pero en este caso utilice únicamente productos convencionales a base de petróleo. Las especificaciones de todas las propiedades materiales deben estar dentro de los intervalos citados a continuación, y el fluido debe cumplir las normas industriales citadas. Consulte a su proveedor de fluido hidráulico para determinar si el fluido cumple estas especificaciones.
Note: Toro no asume responsabilidad alguna por daños causados por sustitutos no adecuados, así que usted debe utilizar solamente productos de fabricantes responsables que respaldan sus recomendaciones.
| Propiedades de materiales | |
| Viscosidad, ASTM D445 | cSt a 40 °C: 55 a 62 |
| cSt a 100 °C: 9,1 a 9,8 | |
| Índice de viscosidad ASTM D2270: | 140 a 152 |
| Punto de descongelación, ASTMD97 | De -43 a -37 °C |
| Normas industriales | |
| API GL-4, AGCO Powerfluid 821 XL, Ford New Holland FNHA-2-C-201.00, Kubota UDT, John Deere J20C, Vickers 35VQ25 y Volvo WB-101/BM | |
Note: Muchos fluidos hidráulicos son casi incoloros, por lo que es difícil detectar fugas. Está disponible un aditivo de tinte rojo para el fluido del sistema hidráulico, en botellas de 20 ml. Una botella es suficiente para 15 a 22 litros de fluido hidráulico. Solicite la pieza N.º 44-2500 a su servicio técnico autorizado.
| Intervalo de mantenimiento y servicio | Procedimiento de mantenimiento |
|---|---|
| Cada 25 horas |
|
Compruebe el nivel del fluido hidráulico antes de arrancar el motor por primera vez y después cada 25 horas de operación.
Important: Utilice siempre el tipo correcto de fluido hidráulico. Los fluidos que no cumplan las especificaciones dañarán el sistema hidráulico. Consulte Especificación del fluido hidráulico.
Retire todos los aperos.
Aparque la máquina en una superficie nivelada, ponga el freno de estacionamiento, eleve los brazos de carga e instale los bloqueos de los cilindros.
Apague el motor, retire la llave y deje que el motor se enfríe.
Retire el capó.
Limpie la zona alrededor del cuello de llenado del depósito de fluido hidráulico.

Retire el tapón del cuello de llenado y compruebe el nivel de fluido en la varilla.
Note: El nivel del fluido debe estar entre las marcas de la varilla.

Si el nivel es bajo, añada fluido suficiente para que llegue al nivel correcto.
Instale el tapón del cuello de llenado.
Instale el capó.
Retire y guarde los bloqueos de los cilindros y baje los brazos de carga.
| Intervalo de mantenimiento y servicio | Procedimiento de mantenimiento |
|---|---|
| Después de las primeras 8 horas |
|
| Cada 400 horas |
|
Important: No utilice un filtro de aceite para automóviles, de lo contrario se pueden producir graves daños en el sistema hidráulico.
Retire todos los accesorios.
Aparque la máquina en una superficie nivelada, ponga el freno de estacionamiento, eleve los brazos de carga e instale los bloqueos de los cilindros.
Apague el motor y retire la llave.
Retire el capó.
Coloque un recipiente debajo del filtro y cambie el filtro.

Limpie cualquier fluido derramado.
Arranque el motor y déjelo funcionar durante unos dos minutos para purgar el aire del sistema.
Apague el motor y compruebe que no hay fugas.
Compruebe el nivel de fluido del depósito hidráulico y añada fluido para que el nivel llegue a la marca de la varilla; consulte Comprobación del nivel de fluido hidráulico.
Instale el capó.
Important: No llene demasiado el depósito.
Retire y guarde los bloqueos de los cilindros y baje los brazos de carga.
| Intervalo de mantenimiento y servicio | Procedimiento de mantenimiento |
|---|---|
| Cada año |
|
Retire todos los accesorios.
Aparque la máquina en una superficie nivelada, ponga el freno de estacionamiento, eleve los brazos de carga e instale los bloqueos de los cilindros.
Apague el motor y retire la llave.
Retire el capó.
Coloque debajo de la máquina un recipiente de vaciado grande con capacidad igual o superior a la del depósito de fluido hidráulico.
Retire el tapón de vaciado del depósito hidráulico y deje que se drene el fluido.

Instale el tapón de vaciado.
Llene el depósito hidráulico con fluido hidráulico; consulte Especificación del fluido hidráulico.
Note: Elimine el fluido usado en un centro de reciclaje homologado.
Instale el capó.
Retire y guarde los bloqueos de los cilindros y baje los brazos de carga.
| Intervalo de mantenimiento y servicio | Procedimiento de mantenimiento |
|---|---|
| Cada vez que se utilice o diariamente |
|
Important: La operación del motor con la rejilla de hierba bloqueada, las aletas de refrigeración sucias u obstruidas y/o sin las tapas de ventilación dañará el motor debido al sobrecalentamiento.
Retire todos los accesorios.
Aparque la máquina en una superficie nivelada, ponga el freno de estacionamiento, eleve los brazos de carga e instale los bloqueos de los cilindros.
Apague el motor y retire la llave.
Limpie la rejilla de residuos.
Retire cualquier residuo del limpiador de aire.
Limpie cualquier residuo que se haya acumulado en el motor con un cepillo o un soplador.
Important: Es preferible eliminar la suciedad con un soplador, en lugar de lavar con agua. Si se utiliza agua, manténgala lejos de los componentes eléctricos y de las válvulas hidráulicas. No utilice un sistema de lavado a alta presión. El lavado a alta presión puede dañar el sistema eléctrico y las válvulas hidráulicas, o eliminar grasa.
Retire y guarde los bloqueos de los cilindros y baje los brazos de carga.
Cuando lave la máquina a presión, haga lo siguiente:
Lleve equipos de protección personal apropiados para la lavadora a presión.
Mantenga colocados todos los protectores en la máquina.
Evite dirigir el agua hacia los componentes electrónicos.
Evite dirigir el agua hacia los bordes de las calcomanías.
Pulverice el exterior de la máquina solamente. No pulverice directamente en los orificios de la máquina.
Pulverice únicamente las partes sucias de la máquina.
Utilice una boquilla de 40 grados o más. Las boquillas de 40 grados suelen ser blancas.
Mantenga la punta de la lavadora a presión a una distancia mínima de 60 cm de la superficie a lavar.
Utilice únicamente lavadoras con una presión inferior a 137,9 bar y un caudal inferior a 7,6 litros por minuto.
Cambie cualquier calcomanía que esté dañada o que se esté despegando.
Engrase todos los puntos de engrase después del lavado; consulte Engrasado de la máquina.
Apague el motor, retire la llave, espere a que se detengan todas las piezas en movimiento y deje que el motor se enfríe antes de guardar la máquina.
No almacene la máquina o el combustible cerca de una llama.
Aparque la máquina en una superficie nivelada, ponga el freno de estacionamiento y baje los brazos de carga.
Apague el motor y retire la llave.
Retire la suciedad de las piezas externas de toda la máquina, especialmente del motor. Limpie la suciedad y la broza de la parte exterior de las aletas de la culata y del alojamiento del soplador del motor.
Important: La máquina puede lavarse con un detergente suave y agua. No lave la máquina a presión. Evite el uso excesivo de agua, especialmente cerca del panel de control, el motor, las bombas hidráulicas y los motores eléctricos.
Revise el limpiador de aire; consulte Mantenimiento del limpiador de aire.
Engrase la máquina; consulte Engrasado de la máquina.
Cambie el aceite del motor; consulte Mantenimiento del aceite de motor.
Retire las bujías y compruebe la condición de cada una de ellas; consulte Mantenimiento de la(s) bujía(s).
Con las bujías retiradas del motor, vierta 30 ml (2 cucharadas soperas) de aceite de motor en cada orificio de bujía.
Coloque unos trapos sobre los agujeros de las bujías para que no salga aceite y utilice el motor de arranque para hacer girar el motor y distribuir el aceite dentro del cilindro.
Instale las bujías pero no conecte los cables a las bujías.
Compruebe la presión de los neumáticos; consulte Comprobación de la presión de los neumáticos.
Cargue la batería; consulte Carga de la batería.
Si va a guardar la máquina durante más de 30 días, prepare la máquina de la forma siguiente:
Agregue un estabilizador/acondicionador a base de petróleo al combustible del depósito. Siga las instrucciones de mezcla del fabricante del estabilizador. No use un estabilizador a base de alcohol (etanol o metanol).
Note: Un estabilizador/acondicionador de combustible es más eficaz cuando se mezcla con combustible fresco y se utiliza en todo momento.
Haga funcionar el motor para distribuir el combustible con acondicionador por todo el sistema de combustible durante 5 minutos.
Apague el motor, deje que se enfríe y drene los depósitos de combustible; consulte Drenaje del depósito o de los depósitos de combustible.
Arranque el motor y hágalo funcionar hasta que se apague.
Active el estárter.
Arranque el motor y déjelo en marcha hasta que no vuelva a arrancar.
Elimine correctamente el combustible; recíclelo observando la normativa local.
Important: No almacene combustible que contenga estabilizador/acondicionador durante más tiempo del recomendado por el fabricante del estabilizador de combustible.
Revise y apriete todas las fijaciones. Repare o sustituya cualquier pieza desgastada, dañada o que falte.
Pinte las superficies que estén arañadas o donde esté visible el metal. Puede adquirir la pintura en su Servicio Técnico Autorizado.
Guarde la máquina en un garaje o almacén seco y limpio. Retire la llave de contacto y guárdela en un lugar seguro que le sea fácil de recordar.
Cubra la máquina para protegerla y para conservarla limpia.
Important: Cuando vaya a utilizar la máquina después de haber estado almacenada, cargue la batería; consulte Carga de la batería.
| Problem | Possible Cause | Corrective Action |
|---|---|---|
| El motor de arranque no se engrana. |
|
|
| El motor no arranca, arranca con dificultad, o no sigue funcionando. |
|
|
| El motor pierde potencia. |
|
|
| El motor se sobrecalienta. |
|
|
| Hay una vibración anormal. |
|
|
| No es posible conducir la máquina. |
|
|
| En reposo, los brazos de carga bajan más de 7,6 cm por hora (menos de 7,6 cm por hora es normal para la máquina). |
|
|
| En reposo, los brazos de carga bajan 5 cm rápidamente y luego se detienen. |
|
|