| Maintenance Service Interval | Maintenance Procedure |
|---|---|
| Before each use or daily |
|
This machine is a compact tool carrier intended for use in various earth and materials moving activities for landscaping and construction work. It is designed to operate a wide variety of attachments, each of which perform a specialized function. Using this product for purposes other than its intended use could prove dangerous to you and bystanders. Do not modify the machine or attachments.
This machine should be operated, serviced, and repaired only by professionals familiar with its characteristics and acquainted with the relevant safety procedures.
Operate this machine in ambient temperatures from -18 to 38°C (0 to 100 °F). Contact your Authorized Service Dealer for provisions required for operating in extreme temperatures.
Read this information carefully to learn how to operate and maintain your product properly and to avoid injury and product damage. You are responsible for operating the product properly and safely.
Visit www.Toro.com for product safety and operation training materials, accessory information, help finding a dealer, or to register your product.
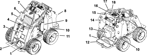
Whenever you need service, genuine Toro parts, or additional information, contact an Authorized Service Dealer or Toro Customer Service and have the model and serial numbers of your product ready. Figure 1 identifies the location of the model and serial numbers on the product. Write the numbers in the space provided.
Important: With your mobile device, you can scan the QR code on the serial number decal (if equipped) to access warranty, parts, and other product information.

This manual identifies potential hazards and has safety messages identified by the safety-alert symbol (Figure 2), which signals a hazard that may cause serious injury or death if you do not follow the recommended precautions.

This manual uses 2 words to highlight information. Important calls attention to special mechanical information and Note emphasizes general information worthy of special attention.
This product complies with all relevant European directives when CE Kit 22366 has been installed; for details, please see the separate product specific Declaration of Conformity (DOC) sheet.
It is a violation of California Public Resource Code Section 4442 or 4443 to use or operate the engine on any forest-covered, brush-covered, or grass-covered land unless the engine is equipped with a spark arrester, as defined in Section 4442, maintained in effective working order or the engine is constructed, equipped, and maintained for the prevention of fire.
The enclosed engine owner's manual is supplied for information regarding the US Environmental Protection Agency (EPA) and the California Emission Control Regulation of emission systems, maintenance, and warranty. Replacements may be ordered through the engine manufacturer.
CALIFORNIA
Proposition 65 Warning
The engine exhaust from this product contains chemicals known to the State of California to cause cancer, birth defects, or other reproductive harm.
Battery posts, terminals, and related accessories contain lead and lead compounds, chemicals known to the State of California to cause cancer and reproductive harm. Wash hands after handling.
Use of this product may cause exposure to chemicals known to the State of California to cause cancer, birth defects, or other reproductive harm.
There may be buried utility lines in the work area. Digging into them may cause a shock or an explosion.
Have the property or work area marked for buried lines and do not dig in marked areas. Contact your local marking service or utility company to have the property marked (for example, in the US, call 811 or in Australia, call 1100 for the nationwide marking service).
Always follow all safety instructions to avoid serious injury or death.
Do not exceed the rated operating capacity, as the machine may become unstable, which may result in loss of control.
Do not carry a load with the arms raised; always carry loads close to the ground.
Slopes are a major factor related to loss-of-control and tip-over accidents, which can result in severe injury or death. Operating the machine on any slope or uneven terrain requires extra caution.
Operate the machine up and down slopes with the heavy end of the machine uphill and the load close to the ground. Weight distribution changes with attachments. An empty bucket makes the rear of the machine the heavy end, and a full bucket makes the front of the machine the heavy end. Most other attachments make the front of the machine the heavy end.
Have the property or work area marked for buried lines and other objects, and do not dig in marked areas.
Read and understand the content of this Operator’s Manual before starting the engine.
Use your full attention while operating the machine. Do not engage in any activity that causes distractions; otherwise, injury or property damage may occur.
Never allow children or untrained people to operate the machine.
Keep your hands and feet away from the moving components and attachments.
Do not operate the machine without the guards and other safety protective devices in place and working on the machine.
Keep bystanders and children out of the operating area.
Stop the machine, shut off the engine, and remove the key before servicing, fueling, or unclogging the machine.
Improperly using or maintaining this machine can result in injury.
To reduce the potential for injury, comply with these safety instructions
and always pay attention to the safety-alert symbol
, which means Caution, Warning,
or Danger—personal safety instruction. Failure to comply with
these instructions may result in personal injury or death.
![]() |
Safety decals and instructions are easily visible to the operator and are located near any area of potential danger. Replace any decal that is damaged or missing. |

















Parts needed for this procedure:
| Speed-selector lever | 1 |
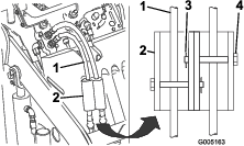
Remove and discard the nut securing the bolt and lock washer to the speed-selector lever.
Secure the lever to the speed-selector valve using the bolt, lock washer, and nut as illustrated in Figure 4.

Before starting the engine for the first time, check the engine-oil level, hydraulic-fluid level, and the tire pressure. Refer to the following sections for more information:
Charge and install the battery; refer to Charging the Battery.


The key switch, used to start and shut off the engine, has 3 positions: OFF, RUN, and START.
Move the control forward to increase the engine speed and rearward to decrease speed.
Before starting a cold engine, move the choke lever forward. After the engine starts, regulate the choke to keep the engine running smoothly. As soon as possible, move the choke lever all the way rearward.
Note: A warm engine requires little or no choking.
To move forward, move the traction-control levers forward.
To move rearward, move the traction-control levers rearward.
To turn, move the lever located on the side you want to turn back toward the NEUTRAL position while keeping the other lever engaged.
Note: The farther you move the traction-control levers in either direction, the faster the machine moves in that direction.
To slow or stop, move the traction-control levers to the NEUTRAL position.
To tilt the attachment forward, slowly push the attachment-tilt lever forward.
To tilt the attachment rearward, slowly pull the attachment-tilt lever rearward.
To lower the loader arms, slowly push the loader-arm lever forward.
To raise the loader arms, slowly pull the loader-arm lever rearward.
The loader-valve lock secures the loader-arm and attachment-tilt levers so that you cannot push them forward. This helps to ensure that no one accidentally lowers the loader arms during maintenance. Secure the loader arms with the lock, in addition to the cylinder locks, any time you need to shut off the machine with the loader arms raised.
To set the lock, pull it back and all the way down against the levers.
Note: You must move the levers rearward to engage or disengage the loader-valve lock.

To operate a hydraulic attachment in the forward direction, slowly pull the auxiliary-hydraulics lever out and then pull down.
To operate a hydraulic attachment in the reverse direction, slowly pull the auxiliary-hydraulics lever out and then push it upward. This is also called the DETENT position because it does not require operator presence.
To set the traction drive, loader arms, and attachment tilt to high speed and the auxiliary hydraulics to low speed, move the speed-selector lever to the FORWARD position.
To set the auxiliary hydraulics to high speed and the traction drive, loader arms, and attachment tilt to low speed, move the speed-selector lever to the REARWARD position.
If you move the speed-selector lever while the machine is in motion, the machine will either stop suddenly or accelerate quickly. If you operate the machine with the speed-selector lever in an intermediate position, the machine will operate erratically and may be damaged. You could lose control of the machine and injure bystanders or yourself.
Do not move the speed-selector lever when the machine is in motion.
Do not operate the machine when the speed selector is in any intermediate position (i.e., any position other than fully forward or fully rearward).
When the engine is off, the hour meter/tachometer displays the number of hours of operation logged on the machine. When the engine is running, it displays the speed of the engine in revolutions per minute (rpm).
After 50 hours and then every 100 hours thereafter (i.e., 150, 250, 350, etc.) the screen displays CHG OIL to remind you to change the engine oil.
After every 100 hours, the screen displays SVC to remind you to perform the other maintenance procedures based on a 100-, 200-, or 400-hour schedule.
Note: These reminders appear 3 hours prior to the service interval time and flash at regular intervals for 6 hours.
To engage the parking brake, rotate the lever down.
To release the parking brake, rotate the lever up.

Note: Specifications and design are subject to change without notice.
| Width | 103 cm (40.5 inches) |
| Length | 152 cm (60 inches) |
| Height | 125 cm (49 inches) |
| Weight (without attachments) | 876 kg (1,931 lb) |
| Weight of the rear counterweight | 75 kg (165 lb) |
| Weight of the front counterweights | 56 kg (124 lb) |
| Operating capacity—with 74.8 kg (165 lb) operator, standard bucket, and counterweights | 220 kg (450 lb) |
| Tipping capacity—with 74.8 kg (165 lb) operator, standard bucket, and counterweights | 440 kg (970 lb) |
| Wheelbase | 71 cm (28 inches) |
| Dump height (with standard bucket) | 120 cm (47 inches) |
| Reach—fully raised (with standard bucket) | 66 cm (26 inches) |
| Height to hinge pin (narrow bucket in standard position) | 168 cm (66 inches) |
A selection of Toro approved attachments and accessories is available for use with the machine to enhance and expand its capabilities. Contact your Authorized Service Dealer or authorized Toro distributor or go to www.Toro.com for a list of all approved attachments and accessories.
To ensure optimum performance and continued safety certification of the machine, use only genuine Toro replacement parts and accessories. Replacement parts and accessories made by other manufacturers could be dangerous, and such use could void the product warranty.
Note: Determine the left and right sides of the machine from the normal operating position.
Never allow children or untrained people to operate or service the machine. Local regulations may restrict the age or require certified training of the operator. The owner is responsible for training all operators and mechanics.
Become familiar with the safe operation of the equipment, operator controls, and safety decals.
Always engage the parking brake (if equipped), shut off the engine, remove the key, wait for all moving parts to stop, and allow the machine to cool before adjusting, servicing, cleaning, or storing the machine.
Know how to stop the machine and shut off the engine quickly.
Check that the operator's presence controls, safety switches, and shields are attached and functioning properly. Do not operate the machine unless they are functioning properly.
Locate the pinch-point areas marked on the machine and attachments; keep your hands and feet away from these areas.
Before operating the machine with an attachment, ensure that the attachment is properly installed and that it is a genuine Toro attachment. Read all the attachment manuals.
Evaluate the terrain to determine what accessories and attachments you need to properly and safely perform the job.
Have the property or work area marked for buried lines and other objects, and do not dig in marked areas; note the location of unmarked objects and structures, such as underground storage tanks, wells, and septic systems.
Inspect the area where you will use the equipment for uneven surfaces or hidden hazards.
Ensure that the area is clear of bystanders before operating the machine. Stop the machine if anyone enters the area.
Use extreme care when handling fuel. It is flammable and its vapors are explosive.
Extinguish all cigarettes, cigars, pipes, and other sources of ignition.
Use only an approved fuel container.
Do not remove the fuel cap or fill the fuel tank while the engine is running or hot.
Do not add or drain fuel in an enclosed space.
Do not store the machine or fuel container where there is an open flame, spark, or pilot light, such as on a water heater or other appliance.
If you spill fuel, do not attempt to start the engine; avoid creating any source of ignition until the fuel vapors have dissipated.
To prevent a static charge from igniting the fuel, remove the machine from the truck or trailer and refuel it on the ground, away from all vehicles. If this is not possible, place a portable fuel container on the ground, away from all vehicles, and fill it; then refuel the machine from the fuel container rather than from a fuel-dispenser nozzle.
Keep the fuel-dispenser nozzle in contact with the rim of the fuel tank or container opening at all times until fueling is complete. Do not use a nozzle lock-open device.
For best results, use only clean, fresh (less than 30 days old), unleaded gasoline with an octane rating of 87 or higher ((R+M)/2 rating method).
Ethanol: Gasoline with up to 10% ethanol (gasohol) or 15% MTBE (methyl tertiary butyl ether) by volume is acceptable. Ethanol and MTBE are not the same. Gasoline with 15% ethanol (E15) by volume is not approved for use. Never use gasoline that contains more than 10% ethanol by volume, such as E15 (contains 15% ethanol), E20 (contains 20% ethanol), or E85 (contains up to 85% ethanol). Using unapproved gasoline may cause performance problems and/or engine damage which may not be covered under warranty.
Do not use gasoline containing methanol.
Do not store fuel either in the fuel tank or fuel containers over the winter unless you use a fuel stabilizer.
Do not add oil to gasoline.
Use fuel stabilizer/conditioner in the machine to keep the fuel fresh longer when used as directed by the fuel-stabilizer manufacturer.
Important: Do not use fuel additives containing methanol or ethanol.
Add the amount of fuel stabilizer/conditioner to fresh fuel as directed by the fuel-stabilizer manufacturer.
Fuel tank capacity: 42.4 L (11.2 US gallons)
Park the machine on a level surface, engage the parking brake, and lower the loader arms.
Shut off the engine, remove the key, and allow the engine to cool.
Clean around the fuel-tank cap and remove it.

Add fuel to the tank until the level is 6 to 13 mm (1/4 to 1/2 inch) below the bottom of the filler neck.
Important: This space in the tank allows fuel to expand. Do not fill the fuel tank completely full.
Install the fuel-tank cap securely, turning it until it clicks.
Wipe up any spilled fuel.
Before starting the machine each day, perform the Each Use/Daily procedures listed in .
To adjust the thigh support, loosen the knobs and raise or lower the support pad to the desired height. You can also obtain additional adjustment by loosening the nut securing the pad to the adjustment plate and moving the plate up or down as needed. Tighten all fasteners securely when finished.

Do not exceed the rated operating capacity, as the machine may become unstable, which may result in loss of control.
Do not carry a load with the arms raised. Always carry loads close to the ground.
Use only Toro-approved attachments and accessories. Attachments can change the stability and the operating characteristics of the machine.
For machines with a platform:
Lower the loader arms before stepping off the platform.
Do not try to stabilize the machine by putting your foot on the ground. If you lose control of the machine, step off the platform and away from the machine.
Do not place your feet under the platform.
Do not move the machine unless you are standing with both feet on the platform and your hands are holding onto the reference bars.
Use your full attention while operating the machine. Do not engage in any activity that causes distractions; otherwise, injury or property damage may occur.
Look behind and down before backing up to ensure that the path is clear.
Never jerk the controls; use a steady motion.
The owner/user can prevent and is responsible for accidents that may cause personal injury or property damage.
Wear appropriate clothing including gloves, eye protection, long pants, substantial slip-resistant footwear, and hearing protection. Tie back long hair and do not wear loose clothing or loose jewelry.
Do not operate the machine when you are tired, ill, or under the influence of alcohol or drugs.
Never carry passengers and keep pets and bystanders away from the machine.
Operate the machine only in good light, keeping away from holes and hidden hazards.
Ensure that all the drives are in neutral and engage the parking brake (if equipped) before starting the engine. Start the engine only from the operator's position.
Use care when approaching blind corners, shrubs, trees, or other objects that may obscure vision.
Slow down and use caution when making turns and crossing roads and sidewalks. Watch for traffic.
Stop the attachment when you are not working.
Stop the machine, shut off the engine, remove the key, and inspect the machine if you strike an object. Make any necessary repairs before resuming operation.
Never run an engine in an enclosed area.
Never leave a running machine unattended.
Before leaving the operating position, do the following:
Park the machine on a level surface.
Lower the loader arms and disengage the auxiliary hydraulics.
Engage the parking brake (if equipped).
Shut off the engine and remove the key.
Do not operate the machine when there is the risk of lightning.
Operate the machine only in areas where there is sufficient clearance for you to safely maneuver. Be aware of obstacles in close proximity to you. Failure to maintain adequate distance from trees, walls, and other barriers may result in injury as the machine backs up during operation if you are not attentive to the surroundings.
Check for overhead clearance (i.e., electrical wires, branches, and doorways) before driving under any objects and do not contact them.
Do not overfill the attachment and always keep the load level when raising the loader arms. Items in the attachment could fall and cause injury.
Operate the machine up and down slopes with the heavy end of the machine uphill. Weight distribution changes with attachments. An empty bucket makes the rear of the machine the heavy end, and a full bucket makes the front of the machine the heavy end. Most other attachments make the front of machine the heavy end.
Raising the loader arms on a slope affects the stability of the machine. Keep the loader arms in the lowered position when on slopes.
Slopes are a major factor related to loss of control and tip-over accidents, which can result in severe injury or death. Operating the machine on any slope or uneven terrain requires extra caution.
Establish your own procedures and rules for operating on slopes. These procedures must include surveying the site to determine which slopes are safe for machine operation. Always use common sense and good judgment when performing this survey.
Slow down and use extra care on hillsides. Ground conditions can affect the stability of the machine.
Avoid starting or stopping on a slope. If the machine loses traction, proceed slowly, straight down the slope.
Avoid turning on slopes. If you must turn, turn slowly and keep the heavy end of the machine uphill.
Keep all movements on slopes slow and gradual. Do not make sudden changes in speed or direction.
If you feel uneasy operating the machine on a slope, do not do it.
Watch for holes, ruts, or bumps, as uneven terrain could overturn the machine. Tall grass can hide obstacles.
Use caution when operating on wet surfaces. Reduced traction could cause sliding.
Evaluate the area to ensure that the ground is stable enough to support the machine.
Use caution when operating the machine near the following:
Drop-offs
Ditches
Embankments
Bodies of water
The machine could suddenly roll over if a track goes over the edge or the edge caves in. Maintain a safe distance between the machine and any hazard.
Do not remove or add attachments on a slope.
Do not park the machine on a hillside or slope.
If you strike a utility line, do the following:
Shut off the machine and remove the key.
Remove all individuals from the work area.
Immediately contact the proper emergency and utility authorities to secure the area.
If you damage a fiber-optic cable, do not look into the exposed light.
Do not leave the operator’s platform if the machine is charged with electricity. You will be safe as long as you do not leave the platform.
Touching any part of the machine may ground you.
Do not allow another individual to touch or approach the machine when charged.
Always assume the machine is charged if you strike an electrical or communication line. Do not attempt to leave the machine.
Leaking gas is both flammable and explosive and may cause serious injury or death. Do not smoke while operating the machine.
Ensure that the auxiliary hydraulics lever is in the NEUTRAL position.
Move the choke lever fully forward if you are starting a cold engine.
Note: A warm or hot engine may not require choking.
Move the throttle lever midway between the SLOW and FAST positions.
Insert the key into the key switch and turn it to the START position. When the engines starts, release the key.
Important: Do not engage the starter for more than 10 seconds at a time. If the engine fails to start, wait 30 seconds for the starter to cool down between attempts. Failure to follow these instructions could burn out the starter motor.
After the engine starts, gradually move the choke lever back to the OFF position. If the engine stalls or hesitates, move the choke forward again until the engine warms up.
Move the throttle lever to the desired setting.
Important: Running the engine at high speeds when the hydraulic system is cold (i.e., when the air temperature is at or below freezing) could damage the hydraulic system. When starting the engine in cold conditions, allow it to run in the middle throttle position for 2 to 5 minutes before moving the throttle to the FAST position.
Note: If the outdoor temperature is below freezing, store the machine in a garage to keep it warmer and to aid in starting.
Use the traction controls to move the machine. The farther you move the traction controls in any direction, the faster the machine moves in that direction. Release the traction controls to stop the machine.
The throttle control regulates the engine speed as measured in rpm (revolutions per minute). Place the throttle lever in the FAST position for best performance. You can, however, use the throttle position to operate at slower speeds.
Park the machine on a level surface, engage the parking brake, and lower the loader arms.
Ensure that the auxiliary hydraulics lever is in the NEUTRAL position.
Move the throttle lever 3/4 of the way to the FAST position.
Note: If you set the throttle lower than halfway to the FAST position, the engine may continue to run for 1 second after turning the key to the OFF position, preventing a loud after-fire bang.
If the engine has been working hard or is hot, let it idle for a minute before turning the key switch to the OFF position.
Note: This helps to cool the engine before you shut it off. In an emergency, you can shut off the engine immediately.
Turn the key switch to the OFF position and remove the key.
Children or bystanders may be injured if they move or attempt to operate the machine while it is unattended.
Always remove the key and engage the parking brake when leaving the machine unattended.
Important: Use only Toro-approved attachments. Attachments can change the stability and the operating characteristics of the machine. The warranty of the machine may be voided if you use the machine with unapproved attachments.
Important: Before installing the attachment, ensure that the mount plates are free of any dirt or debris and that the pins move freely. If the pins do not move freely, grease them.
Position the attachment on a level surface with enough space behind it to accommodate the machine.
Start the engine.
Tilt the attachment mount plate forward.
Position the mount plate into the upper lip of the attachment receiver plate.

Raise the loader arms while tilting back the mount plate at the same time.
Important: Raise the attachment enough to clear the ground and tilt the mount plate all the way back.
Shut off the engine and remove the key.
Engage the quick-attach pins, ensuring that they are fully seated in the mount plate.
Important: If the pins do not rotate to the engaged position, the mount plate is not fully aligned with the holes in the attachment receiver plate. Check the receiver plate and clean it if necessary.
If you do not fully seat the quick-attach pins through the attachment mount plate, the attachment could fall off the machine, crushing you or bystanders.
Ensure that the quick-attach pins are fully seated in the attachment mount plate.

Hydraulic fluid escaping under pressure can penetrate skin and cause injury. Fluid injected into the skin must be surgically removed within a few hours by a doctor familiar with this form of injury; otherwise, gangrene may result.
Ensure that all hydraulic-fluid hoses and lines are in good condition and all hydraulic connections and fittings are tight before applying pressure to the hydraulic system.
Keep your body and hands away from pinhole leaks or nozzles that eject high-pressure hydraulic fluid.
Use cardboard or paper to find hydraulic leaks; never use your hands.
Hydraulic couplers, hydraulic lines/valves, and hydraulic fluid may be hot. If you contact hot components, you may be burned.
Wear gloves when operating the hydraulic couplers.
Allow the machine to cool before touching hydraulic components.
Do not touch hydraulic fluid spills.
If the attachment requires hydraulics for operation, connect the hydraulic hoses as follows:
Shut off the engine and remove the key.
Move the auxiliary-hydraulics lever forward, backward, and back to the NEUTRAL position to relieve pressure at the hydraulic couplers.
Remove the protective covers from the hydraulic connectors on the machine.
Ensure that all foreign matter is cleaned from the hydraulic connectors.
Push the attachment male connector into the female connector on the machine.
Note: When you connect the attachment male connector first, you relieve any pressure built up in the attachment.
Push the attachment female connector onto the male connector on the machine.
Confirm that the connection is secure by pulling on the hoses.
Park the machine on a level surface.
Lower the attachment to the ground.
Shut off the engine and remove the key.
Disengage the quick-attach pins by turning them to the outside.
If the attachment uses hydraulics, move the auxiliary-hydraulics lever forward, backward, and back to the NEUTRAL position to relieve pressure at the hydraulic couplers.
If the attachment uses hydraulics, slide the collars back on the hydraulic couplers and disconnect them.
Important: Connect the attachment hoses together to prevent hydraulic system contamination during storage.
Install the protective covers onto the hydraulic couplers on the machine.
Start the engine, tilt the mount plate forward, and back the machine away from the attachment.
Engage the parking brake (if equipped), lower the loader arms, shut off the engine, remove the key, wait for all movement to stop, and allow the machine to cool before adjusting, cleaning, storing, or servicing it.
Clean debris from the attachments, drives, mufflers, and engine to help prevent fires. Clean up oil or fuel spills.
Keep all parts in good working condition and all hardware tightened.
Do not touch parts that may be hot from operation. Allow them to cool before attempting to maintain, adjust, or service the machine.
Use care when loading or unloading the machine into a trailer or truck.
If the machine becomes stuck (e.g., in muddy conditions), pull the machine back into a stable position using either both front, top, or rear tie-down/lift points simultaneously.

Important: Do not tow or pull the machine without first opening the tow valves, or you will damage the hydraulic system.
Shut off the engine and remove the key.
Remove the plug covering each tow valve.

Loosen the jam nut on each tow valve.
Turn each valve counterclockwise 1 turn with a hex wrench to open them.
Tow the machine as required.
Important: Do not exceed 4.8 km/h (3 mph) when towing.
After repairing the machine, close the tow valves and tighten the jam nuts.
Important: Do not overtighten the tow valves.
Replace the plugs.
Use a heavy-duty trailer or truck to haul the machine. Use a full-width ramp. Ensure that the trailer or truck has all the necessary brakes, lighting, and marking as required by law. Please carefully read all the safety instructions. Knowing this information could help you or bystanders avoid injury. Refer to your local ordinances for trailer and tie-down requirements.
Driving on the street or roadway without turn signals, lights, reflective markings, or a slow-moving-vehicle emblem is dangerous and can lead to accidents causing personal injury.
Do not drive the machine on a public street or roadway.
Loading or unloading a machine onto a trailer or truck increases the possibility of tip-over and could cause serious injury or death (Figure 15).
Use only full-width ramps.
Ensure that the length of ramp is at least 4 times as long as the height of the trailer or truck bed to the ground. This ensures that ramp angle does not exceed 15 degrees on flat ground.

Loading or unloading a machine onto a trailer or truck increases the possibility of tip-over and could cause serious injury or death.
Use extreme caution when operating a machine on a ramp.
Load and unload the machine with the heavy end up the ramp.
Avoid sudden acceleration or deceleration while driving the machine on a ramp as this could cause a loss of control or a tip-over situation.
If using a trailer, connect it to the towing vehicle and connect the safety chains.
If applicable, connect the trailer brakes.
Lower the ramp(s).
Lower the loader arms.
Load the machine onto the trailer with the heavy end up the ramp, carrying loads low, as shown.
If the machine has a full load-bearing attachment (e.g., bucket) or a non-load-bearing attachment (e.g., trencher), drive the machine forward up the ramp.
If the machine has an empty load-bearing attachment or no attachment, back the machine up the ramp.

Lower the loader arms all the way down.
Engage the parking brake, shut off the engine, and remove the key.
Use the metal tie-down loops on the machine to securely fasten the machine to the trailer or truck with straps, chains, cable, or ropes. Refer to local regulations for tie-down requirements.

Lower the ramp(s).
Unload the machine from the trailer with the heavy end up the ramp, carrying loads low.
If the machine has a full load-bearing attachment (e.g., bucket) or a non-load-bearing attachment (e.g., trencher), back it down the ramp.
If the machine has an empty load-bearing attachment or no attachment, drive it forward down the ramp.

| Maintenance Service Interval | Maintenance Procedure |
|---|---|
| Before each use or daily |
|
Remove any attachments and lift the machine using the tie-down/lift points.

Note: Determine the left and right sides of the machine from the normal operating position.
If you leave the key in the switch, someone could accidently start the engine and seriously injure you or other bystanders.
Remove the key from the switch before you perform any maintenance.
Park the machine on a level surface, disengage the auxiliary hydraulics, lower the attachment, engage the parking brake (if equipped), shut off the engine, and remove the key. Wait for all movement to stop and allow the machine to cool before adjusting, cleaning, storing, or repairing it.
Clean up oil or fuel spills.
Do not allow untrained personnel to service the machine.
Use jack stands to support the components when required.
Carefully release pressure from components with stored energy; refer to Relieving Hydraulic Pressure.
Disconnect the battery before making any repairs; refer to Servicing the Battery.
Keep your hands and feet away from the moving parts. If possible, do not make adjustments with the engine running.
Keep all parts in good working condition and all hardware tightened. Replace all worn or damaged decals.
Do not tamper with the safety devices.
Use only Toro-approved attachments. Attachments can change the stability and the operating characteristics of the machine. You may void the warranty if you use the machine with unapproved attachments.
Use only genuine Toro replacement parts.
If any maintenance or repair requires the loader arms to be in the raised position, secure the arms in the raised position with the hydraulic-cylinder lock(s).
| Maintenance Service Interval | Maintenance Procedure |
|---|---|
| After the first 8 hours |
|
| After the first 50 hours |
|
| Before each use or daily |
|
| Every 25 hours |
|
| Every 100 hours |
|
| Every 200 hours |
|
| Every 400 hours |
|
| Every 500 hours |
|
| Every 1,500 hours or 2 years, whichever comes first |
|
| Yearly |
|
| Yearly or before storage |
|
Important: Refer to your engine owner's manual for additional maintenance procedures.
Important: If you must tilt the machine more than 25 degrees, clamp off the vent hose on the top of the fuel tank to prevent fuel from fouling the carbon canister.
The loader arms may lower when in the raised position, crushing anyone under them.
Install the cylinder lock(s) before performing maintenance that requires raised loader arms.
Remove the attachment.
Raise the loader arms to the fully raised position.
Shut off the engine and remove the key.
Position a cylinder lock over each lift-cylinder rod.

Secure each cylinder lock with a clevis pin and cotter pin.
Slowly lower the loader arms until the cylinder locks contact the cylinder bodies and rod ends.
Secure the loader-valve lock; refer to Loader-Valve Lock.
Important: Remove the cylinder locks from the rods and fully secure them in the storage position before operating the machine.
Start the engine.
Raise the loader arms to the fully raised position.
Shut off the engine and remove the key.
Remove the clevis pin and cotter pin securing each cylinder lock.
Remove the cylinder locks.
Lower the loader arms.
Install the cylinder locks over the hydraulic hoses and secure them with the clevis pins and cotter pins (Figure 21).

Opening or removing covers, hoods, and screens while the engine is running could allow you to contact moving parts, seriously injuring you.
Before opening any of the covers, hoods, and screens, shut off the engine, remove the key from the key switch, and allow the engine to cool.
Remove any attachments.
Park the machine on a level surface and engage the parking brake.
Raise the loader arms and install the cylinder locks.
Note: If you must remove the hood without raising the loader arms, be very careful not to damage the hood or hydraulic hoses as you maneuver the hood out from under the arms.
Shut off the engine and remove the key.
Release the 4 locking tabs.

Pull the hood off the machine.
Position the hood over the machine frame with the posts on the hood fitting into the holes in the frame.
Secure the hood by pushing the locking tabs forward and down.
| Maintenance Service Interval | Maintenance Procedure |
|---|---|
| Before each use or daily |
|
Grease Type: General-purpose grease.
Park the machine on a level surface, engage the parking brake, and lower the loader arms.
Shut off the engine and remove the key.
Clean the grease fittings with a rag.

Connect a grease gun to each fitting.
Pump grease into the fittings until grease begins to ooze out of the bearings (approximately 3 pumps).
Wipe up any excess grease.
Shut off the engine before checking the oil or adding oil to the crankcase.
Do not change the engine governor setting or overspeed the engine.
Keep your hands, feet, face, other body parts, and clothing away from the muffler and other hot surfaces.
| Maintenance Service Interval | Maintenance Procedure |
|---|---|
| Every 200 hours |
|
Important: To prevent engine damage, always operate the engine with the air filter and cover installed.
Park the machine on a level surface, engage the parking brake, and lower the loader arms.
Shut off the engine and remove the key.
Release the latches on the air cleaner and pull the air-cleaner cover off the air-filter body.

Squeeze the dust cap sides to open it and knock the dust out.
Clean the inside of the cover with compressed air that is under 205 kPa (30 psi).
Important: Do not use compressed air on the air-cleaner body.
Gently slide the filter out of the air-cleaner body.
Note: Avoid knocking the filter into the side of the body.
Important: Do not attempt to clean the filter.
Inspect the new filter for tears, an oily film, or damage to the rubber seal. Look into the filter while shining a bright light on the outside of the filter; holes in the filter appear as bright spots.
If the filter is damaged, do not use it.
Carefully install the filter.
Note: Ensure that each filter is fully seated by pushing on the outer rim of the filter while installing it.
Important: Do not press on the soft inside area of the filter.
Install the air-cleaner cover with the dust cap oriented downward and secure the latches.
| Maintenance Service Interval | Maintenance Procedure |
|---|---|
| Every 200 hours |
|
Park the machine on a level surface, engage the parking brake, and lower the loader arms.
Shut off the engine and remove the key.
Loosen the hose clamp above the carbon-canister air filter.

Remove and discard the air filter.
Important: If a small tube section comes out of the larger hose on the barb of the filter, remove it from the filter and insert it back into the hose.
Install a new filter into the hose and secure it with the hose clamp.
| Maintenance Service Interval | Maintenance Procedure |
|---|---|
| Every 200 hours |
|
Note: Check the purge-line filter occasionally for dirt. If the filter appears to be dirty, replace it.
Park the machine on a level surface, engage the parking brake, and lower the loader arms.
Shut off the engine and remove the key.
Replace the carbon-canister purge-line filter as shown.
Important: Ensure that the markings on the filter point toward the check valve.


| Maintenance Service Interval | Maintenance Procedure |
|---|---|
| After the first 50 hours |
|
| Before each use or daily |
|
| Every 100 hours |
|
| Every 200 hours |
|
Oil Type: Detergent oil (API service SJ or higher)
Crankcase Capacity: with a filter change, 1.8 L (61 fl oz); with no filter change, 1.6 L (54 fl oz)
Viscosity: See table below

Park the machine on a level surface, engage the parking brake, and lower the loader arms.
Shut off the engine, remove the key, and allow the engine to cool.
Clean the area around the oil dipstick and oil-fill cap.

Check the oil and add additional oil as needed.
Important: Do not overfill the crankcase with oil; if the oil in the crankcase is too high and you run the engine, you may damage the engine.

Start the engine and let it run for 5 minutes.
Note: This warms the oil so that it drains better.
Park the machine so that the drain side is slightly lower than the opposite side to ensure that the oil drains completely.
Lower the loader arms, engage the parking brake, shut off the engine, and remove the key.
Place one end of a hose on the drain valve and the other end in a pan.

Open the drain valve by turning it counterclockwise, pulling out as you turn it.
When the oil has drained completely, close the drain valve and remove the hose.
Note: Dispose of the used oil at a certified recycling center.
Place a shallow pan or rag under the filter to catch oil.
Change the oil filter.

Remove the fill cap and slowly pour approximately 80% of the specified amount of oil in through the valve cover.
Check the oil level.
Slowly add additional oil to bring the level to the upper level on the dipstick.
Replace the fill cap.
| Maintenance Service Interval | Maintenance Procedure |
|---|---|
| Every 200 hours |
|
| Every 500 hours |
|
Ensure that the air gap between the center and side electrodes is correct before installing each spark plug. Use a spark-plug wrench for removing and installing each spark plug and a gapping tool/feeler gauge to check and adjust the air gap. Install new spark plugs if necessary.
Type: Champion XC12YC or equivalent.
Air Gap: 0.75 mm (0.03 inch)
Park the machine on a level surface, engage the parking brake, and lower the loader arms.
Shut off the engine, remove the key, and allow the engine to cool.
Clean the area around the base of the plug(s) to keep dirt and debris out of the engine.
Remove the spark plug(s) as shown.

Important: Do not clean the spark plug(s). Always replace the spark plug(s) when it has a black coating, worn electrodes, an oily film, or cracks.
If you see light brown or gray on the insulator, the engine is operating properly. A black coating on the insulator usually means the air cleaner is dirty.
Set the gap to 0.75 mm (0.03 inch).


In certain conditions, fuel is extremely flammable and highly explosive. A fire or explosion from fuel can burn you and others and can damage property.
Drain fuel from the fuel tanks when the engine is cold. Do this outdoors in an open area. Wipe up any fuel that spills.
Never smoke when draining fuel, and stay away from an open flame or where a spark may ignite the fumes.
Refer to Fuel Safety for a complete list of fuel related precautions.
| Maintenance Service Interval | Maintenance Procedure |
|---|---|
| Yearly |
|
Park the machine on a level surface, engage the parking brake, and lower the loader arms.
Shut off the engine and remove the key.
Shut off the fuel valve on the bottom of each fuel tank.

Clamp the fuel line between the fuel tanks and the fuel filter to block the fuel flow.
Replace the filter as shown.
Note: Ensure that the markings on the filter follow the fuel flow direction.

Remove the clamp blocking fuel flow and open the fuel valve.
Park the machine on a level surface, engage the parking brake, and lower the loader arms.
Shut off the engine and remove the key.
Shut off the fuel valve in the hose near the bottom of the fuel tank(s).

Loosen the hose clamp at the fuel filter and slide it up the fuel line away from the filter.
Pull the fuel line off the fuel filter, open the fuel valve, loosen the fuel tank cap, and allow the fuel to drain into a fuel container or drain pan.
Install the fuel line onto the fuel filter.
Slide the hose clamp close to the fuel filter to secure the fuel line.
Open the fuel valve(s) in the hose(s) near the bottom of the fuel tank(s).
Note: Now is the best time to install a new fuel filter because the fuel tank(s) is empty.
Disconnect the cable from the negative terminal of the battery before repairing the machine.
Charge the battery in an open, well-ventilated area, away from sparks and flames. Unplug the charger before connecting or disconnecting the battery. Wear protective clothing and use insulated tools.
Battery acid is poisonous and can cause burns. Avoid contact with skin, eyes, and clothing. Protect your face, eyes, and clothing when working with a battery.
Battery gases can explode. Keep cigarettes, sparks, and flames away from the battery.
| Maintenance Service Interval | Maintenance Procedure |
|---|---|
| Every 100 hours |
|
Specifications: 12 V, 340 A (cold cranking)
Battery terminals or metal tools could short against metal machine components, causing sparks. Sparks can cause the battery gasses to explode, resulting in personal injury.
When removing or installing the battery, do not allow the battery terminals to touch any metal parts of the machine.
Do not allow metal tools to short between the battery terminals and metal parts of the machine.
Incorrect battery cable routing could damage the machine and cables, causing sparks. Sparks can cause the battery gasses to explode, resulting in personal injury.
Always disconnect the negative (black) battery cable before disconnecting the positive (red) cable.
Park the machine on a level surface, engage the parking brake, and lower the loader arms.
Shut off the engine and remove the key.
Remove the hood.
Remove the wing nuts and bar securing the battery.

Disconnect the negative (black) ground cable from the battery post. Retain the fasteners.
Slide the rubber cover off the positive (red) cable.
Disconnect the positive (red) cable from the battery post. Retain the fasteners.
Gently push the hydraulic hoses aside and lift the battery out of the chassis.
Charging the battery produces gasses that could explode, resulting in death or serious injury.
Never smoke near the battery and keep sparks and flames away from battery.
Important: Always keep the battery fully charged (1.265 specific gravity). This is especially important to prevent battery damage when the temperature is below 0°C (32°F).
Remove the battery from the machine; refer to Removing the Battery.
Charge the battery for 10 to 15 minutes at 25 to 30 A or 30 minutes at 4 to 6 A. Do not overcharge the battery.

When the battery is fully charged, unplug the charger from the electrical outlet, then disconnect the charger leads from the battery posts.
Note: Keep the terminals and the entire battery case clean to help extend battery life.
Park the machine on a level surface, engage the parking brake (if equipped), and lower the loader arms.
Shut off the engine and remove the key.
Remove the battery from the machine; Removing the Battery.
Wash the entire case with a solution of baking soda and water.
Rinse the battery with clear water.
Coat the battery posts and cable connectors with Grafo 112X (skin-over) grease or petroleum jelly to prevent corrosion.
Install the battery; refer to Installing the Battery.
Incorrect battery cable routing could damage the machine and cables, causing sparks. Sparks can cause the battery gasses to explode, resulting in personal injury.
Always connect the positive (red) battery cable before connecting the negative (black) cable.
Using the fasteners previously removed, install the positive (red) battery cable to the positive (+) battery terminal.

Slide the red terminal boot onto the positive battery post.
Using the fasteners previously removed, install the negative (black) battery cable to the negative (-) battery terminal.
Secure the battery using the battery clamp and fasteners removed previously.
Important: Ensure that the battery cables do not contact any sharp edges or each other.
The original battery is maintenance-free and does not require service. For servicing a replacement battery, refer to the battery manufacturer’s instructions.
| Maintenance Service Interval | Maintenance Procedure |
|---|---|
| Before each use or daily |
|
Maintain the air pressure in the tires as specified. Check the tires when they are cold to get the most accurate reading.
Pressure: 103 to 138 kPa (15 to 20 psi)
Note: Use a lower tire pressure, 103 kPa (15 psi), when operating in sandy soil conditions to provide better traction in the loose soil.

| Maintenance Service Interval | Maintenance Procedure |
|---|---|
| After the first 8 hours |
|
| Every 100 hours |
|
Check and torque the wheel lug nuts to 68 N∙m (50 ft-lb).
| Maintenance Service Interval | Maintenance Procedure |
|---|---|
| Before each use or daily |
|
Engage the parking-brake; refer to Parking-Brake Lever.
Start the engine.
Slowly attempt to drive the machine forward or rearward.
If the machine moves, contact your Authorized Service Dealer for service.
Seek immediate medical attention if fluid is injected into skin. Injected fluid must be surgically removed within a few hours by a doctor.
Ensure that all hydraulic-fluid hoses and lines are in good condition and all hydraulic connections and fittings are tight before applying pressure to the hydraulic system.
Keep your body and hands away from pinhole leaks or nozzles that eject high-pressure hydraulic fluid.
Use cardboard or paper to find hydraulic leaks.
Safely relieve all pressure in the hydraulic system before performing any work on the hydraulic system.
To relieve hydraulic pressure while the engine is on, disengage the auxiliary hydraulics and fully lower the loader arms.
To relieve the pressure while the engine is off, move the auxiliary-hydraulics lever between the forward and reverse flow positions to relieve auxiliary hydraulic pressure, move the attachment-tilt lever forward and rearward, and move the loader-arm lever forward to lower the loader arms.

| Maintenance Service Interval | Maintenance Procedure |
|---|---|
| Every 25 hours |
|
Hydraulic Tank Capacity: 62 L (16.3 US gallons)
Use only 1 of the following fluids in the hydraulic system:
Toro Premium Transmission/Hydraulic Tractor Fluid (refer to your Authorized Service Dealer for more information)
Toro PX Extended Life Hydraulic Fluid (refer to your Authorized Service Dealer for more information)
If either of the above Toro fluids are not available, you may use another Universal Tractor Hydraulic Fluid (UTHF), but they must be only conventional, petroleum-based products. The specifications must fall within the listed range for all the following material properties and the fluid should meet the listed industry standards. Check with your hydraulic fluid supplier to determine if the fluid meets these specifications.
Note: Toro will not assume responsibility for damage caused by improper substitutions, so use only products from reputable manufacturers who will stand behind their recommendations.
| Material Properties | |
| Viscosity, ASTM D445 | cSt at 40°C: 55 to 62 |
| cSt at 100°C: 9.1 to 9.8 | |
| Viscosity index, ASTM D2270 | 140 to 152 |
| Pour Point, ASTM D97 | -43 to -37°C (-35 to -35 °F) |
| Industry Standards | |
| API GL-4, AGCO Powerfluid 821 XL, Ford New Holland FNHA-2-C-201.00, Kubota UDT, John Deere J20C, Vickers 35VQ25 and Volvo WB-101/BM | |
Note: Many hydraulic fluids are almost colorless, making it difficult to spot leaks. A red dye additive for the hydraulic system fluid is available in 20 ml (0.67 fl oz) bottles. One bottle is sufficient for 15 to 22 L (4 to 6 US gallons) of hydraulic fluid. Order Part No. 44-2500 from your Authorized Service Dealer.
| Maintenance Service Interval | Maintenance Procedure |
|---|---|
| Every 25 hours |
|
Check the hydraulic-fluid level before the engine is first started and after every 25 operating hours.
Important: Always use the correct hydraulic fluid. Unspecified fluids will damage the hydraulic system. Refer to Hydraulic Fluid Specifications.
Remove any attachments.
Park the machine on a level surface, engage the parking brake, raise the loader arms, and install the cylinder locks.
Shut off the engine, remove the key, and allow the engine to cool.
Remove the hood.
Clean the area around the filler neck of the hydraulic tank.

Remove the filler-neck cap and check the fluid level on the dipstick.
Note: The fluid level should be between the marks on the dipstick.

If the level is low, add enough fluid to raise it to the proper level.
Install the filler-neck cap.
Install the hood.
Remove and store the cylinder locks and lower the loader arms.
| Maintenance Service Interval | Maintenance Procedure |
|---|---|
| After the first 8 hours |
|
| Every 400 hours |
|
Important: Do not substitute an automotive oil filter; otherwise, severe hydraulic system damage may result.
Remove any attachments.
Park the machine on a level surface, engage the parking brake, raise the loader arms, and install the cylinder locks.
Shut off the engine and remove the key.
Remove the hood.
Place a drain pan under the filter and replace the filter.

Clean up any spilled fluid.
Start the engine and let it run for about 2 minutes to purge air from the system.
Shut off the engine and check for leaks.
Check the fluid level in the hydraulic tank and add fluid to raise the level to the mark on the dipstick; refer to Checking the Hydraulic-Fluid Level.
Install the hood.
Important: Do not overfill the tank.
Remove and store the cylinder locks and lower the loader arms.
| Maintenance Service Interval | Maintenance Procedure |
|---|---|
| Yearly |
|
Remove any attachments.
Park the machine on a level surface, engage the parking brake, raise the loader arms, and install the cylinder locks.
Shut off the engine and remove the key.
Remove the hood.
Place a large drain pan under the machine that can hold at least the hydraulic-tank capacity.
Remove the drain plug from the bottom of the hydraulic tank and allow the fluid to completely drain out.

Install the drain plug.
Fill the hydraulic tank with hydraulic fluid; refer to Hydraulic Fluid Specifications.
Note: Dispose of used fluid at a certified recycling center.
Install the hood.
Remove and store the cylinder locks and lower the loader arms.
| Maintenance Service Interval | Maintenance Procedure |
|---|---|
| Before each use or daily |
|
Important: Operating the engine with a blocked grass screen, dirty or plugged cooling fins, and/or cooling shrouds removed will result in engine damage from overheating.
Remove any attachments.
Park the machine on a level surface, engage the parking brake, raise the loader arms, and install the cylinder locks.
Shut off the engine and remove the key.
Clean any debris from the grill.
Wipe away debris from the air cleaner.
Clean any debris buildup on the engine with a brush or blower.
Important: Blow the dirt out rather than wash it out. If you use water, keep it away from electrical items and hydraulic valves. Do not use a high-pressure washer. High-pressure washing can damage the electrical system and hydraulic valves or deplete grease.
Remove and store the cylinder locks and lower the loader arms.
When pressure washing the machine, do the following:
Wear appropriate personal protective equipment for the pressure washer.
Keep all guards in place on the machine.
Avoid spraying at electronic components.
Avoid spraying at edges of decals.
Spray the exterior of the machine only. Do not spray directly into openings in the machine.
Spray only the dirty parts of the machine.
Use a 40-degree or larger spray nozzle. 40-degree nozzles are usually white.
Keep the tip of the pressure washer at least 61 cm (2 ft) away from the surface being washed.
Use only pressure washers with pressure below 13790 kpa (2000 psi) and flow below 7.6 L (2 US gallons) per minute.
Replace damaged or peeling decals.
Grease all grease points after washing; refer to Greasing the Machine.
Shut off the engine, remove the key, wait for all moving parts to stop, and allow the machine to cool before storing it.
Do not store the machine or fuel near flames.
Park the machine on a level surface, engage the parking brake, and lower the loader arms.
Shut off the engine and remove the key.
Remove dirt and grime from the external parts of the entire machine, especially the engine. Clean dirt and chaff from the outside of both the cylinder head fins and blower housing of the engine.
Important: You can wash the machine with mild detergent and water. Do not pressure-wash the machine. Avoid excessive use of water, especially near the control panel, engine, hydraulic pumps, and motors.
Service the air cleaner; refer to Servicing the Air Cleaner.
Grease the machine; refer to Greasing the Machine.
Change the engine oil; refer to Servicing the Engine Oil.
Remove the spark plugs and check the condition of each; refer to Servicing the Spark Plug(s).
With the spark plugs removed from the engine, pour 30 ml (2 tablespoons) of engine oil into each spark-plug hole.
Place rags over the spark-plug holes to catch any oil spray, then use the starter to crank the engine and distribute the oil inside the cylinder.
Install the spark plugs, but do not install the wires on the spark plugs.
Check the tire pressure; refer to Checking the Tire Pressure.
Charge the battery; refer to Charging the Battery.
For storage over 30 days, prepare the machine as follows:
Add a petroleum-based stabilizer/conditioner to fuel in the tank. Follow mixing instructions from the stabilizer manufacturer. Do not use an alcohol-based stabilizer (ethanol or methanol).
Note: A fuel stabilizer/conditioner is most effective when it is mixed with fresh fuel and is used at all times.
Run the engine to distribute conditioned fuel through the fuel system for 5 minutes.
Shut off the engine, allow it to cool, and drain the fuel tanks; refer to Draining the Fuel Tank(s).
Start the engine and run it until it shuts off.
Engage the choke.
Start and run the engine until it does not start again.
Dispose of fuel properly; recycle it according to local codes.
Important: Do not store fuel containing stabilizer/conditioner longer than the duration recommended by the fuel-stabilizer manufacturer.
Check and tighten all fasteners. Repair or replace any part that is worn, damaged, or missing.
Paint all scratched or bare metal surfaces. Paint is available from your Authorized Service Dealer.
Store the machine in a clean, dry garage or storage area. Remove the key from the ignition switch and keep it in a memorable place.
Cover the machine to protect it and keep it clean.
Important: When removing the machine from storage, charge the battery; refer to Charging the Battery.
| Problem | Possible Cause | Corrective Action |
|---|---|---|
| The starter does not crank. |
|
|
| The engine does not start, starts hard, or fails to keep running. |
|
|
| The engine loses power. |
|
|
| The engine overheats. |
|
|
| There is abnormal vibration. |
|
|
| The machine does not drive. |
|
|
| When at rest, the loader arms lower more than 7.6 cm (3 inches) per hour (less than 7.6 cm or 3 inches an hour is normal for the machine). |
|
|
| When at rest, the loader arms lower 5 cm (2 inches) quickly and then stop. |
|
|