| Intervalo de mantenimiento y servicio | Procedimiento de mantenimiento |
|---|---|
| Cada vez que se utilice o diariamente |
|
Esta máquina es una máquina multiuso, diseñada para que la utilicen operadores profesionales contratados en aplicaciones comerciales. Se ha diseñado principalmente para segar césped bien mantenido en parques, campos de golf, campos deportivos y zonas verdes comerciales. El uso de este producto para otros propósitos que los previstos podría ser peligroso para usted y para otras personas.
Lea este manual detenidamente para aprender a utilizar y mantener correctamente su producto, y para evitar lesiones y daños al producto. Usted es responsable de utilizar el producto de forma correcta y segura.
Visite www.Toro.com para buscar materiales de formación y seguridad o información sobre accesorios, para localizar un distribuidor o para registrar su producto.
Cuando necesite asistencia técnica, piezas genuinas Toro o información adicional, póngase en contacto con un Servicio Técnico Autorizado o con Asistencia al Cliente de Toro, y tenga a mano los números de modelo y serie de su producto. Figura 1 identifica la ubicación de los números de modelo y serie en el producto. Escriba los números en el espacio provisto.
Important: Con su dispositivo móvil, puede escanear el código QR de la calcomanía del número de serie (en su caso) para acceder a información sobre la garantía, las piezas, y otra información sobre el producto.

El símbolo de alerta de seguridad (Figura 2) que aparece en este manual y en la máquina identifica mensajes de seguridad importantes que usted debe observar para evitar accidentes.

El símbolo de alerta de seguridad aparece encima de información que le alerta ante acciones o situaciones inseguras, y va seguido de la palabra PELIGRO, ADVERTENCIA, o CUIDADO.
PELIGRO: Indica una situación peligrosa inminente, que si no se evita, causará la muerte o lesiones graves.
ADVERTENCIA indica una situación potencialmente peligrosa que si no se evita, podría causar la muerte o lesiones graves.
CUIDADO: Indica una situación potencialmente peligrosa que si no se evita, podría causar lesiones menores o moderadas.
Este manual utiliza dos palabras más para resaltar información. Importante llama la atención sobre información mecánica especial, y Nota resalta información general que merece una atención especial.
Este producto cumple todas las directivas europeas aplicables; si desea más detalles, consulte la Declaración de Conformidad (Declaration of Conformity - DOC) de cada producto.
El uso o la operación del motor en cualquier terreno forestal, de monte o cubierto de hierba a menos que el motor esté equipado con parachispas (conforme a la definición de la sección 4442) mantenido en buenas condiciones de funcionamiento, o que el motor haya sido fabricado, equipado y mantenido para la prevención de incendios, constituye una infracción de la legislación de California (Sección 4442 o 4443 del California Public Resource Code).
El Manual del propietario del motor adjunto ofrece información sobre las normas de la U.S. Environmental Protection Agency (EPA) y de la California Emission Control Regulation sobre sistemas de emisiones, mantenimiento y garantía. Puede solicitarse un manual nuevo al fabricante del motor.
Si la máquina está equipada con un dispositivo telemático, consulte a su distribuidor autorizado Toro para obtener instrucciones para activar el dispositivo.
CALIFORNIA
Advertencia de la Propuesta 65
Es sabido por el Estado de California que los gases de escape de los motores diesel y algunos de sus componentes causan cáncer, defectos congénitos y otros peligros para la reproducción.
Los bornes, terminales y otros accesorios de la batería contienen plomo y compuestos de plomo, productos químicos reconocidos por el Estado de California como causantes de cáncer y daños reproductivos. Lávese las manos después de manejar el material.
El uso de este producto puede provocar la exposición a sustancias químicas que el Estado de California considera causantes de cáncer, defectos congénitos u otros trastornos del sistema reproductor.
Este producto es capaz de amputar manos y pies y de lanzar objetos al aire. Siga siempre todas las instrucciones de seguridad con el fin de evitar lesiones personales graves.
Lea y comprenda el contenido de este manual del operador antes de arrancar el motor.
Preste toda su atención al utilizar la máquina. No realice ninguna actividad que genere distracciones, de lo contrario pueden producirse lesiones o daños en la propiedad.
No utilice la máquina a menos que tenga instalados y estén en funcionamiento todos los protectores y otros dispositivos de seguridad.
Mantenga las manos y los pies alejados de las piezas en movimiento. Manténgase alejado de la apertura de descarga.
Mantenga a otras personas, especialmente a los niños, alejadas del área de operación. Nunca permita a los niños utilizar la máquina.
Apague el motor, retire la llave y espere a que se detenga todo movimiento antes de dejar el puesto del operador. Deje que la máquina se enfríe antes de realizar ajustes, tareas de mantenimiento y de limpieza o de guardarla.
El uso o mantenimiento incorrecto de esta máquina puede
causar lesiones. Para reducir el peligro de lesiones, cumpla estas
instrucciones de seguridad y preste atención siempre al símbolo
de alerta de seguridad
, que significa: Cuidado, Advertencia o Peligro
– instrucción relativa a la seguridad personal. El incumplimiento
de estas instrucciones puede dar lugar a lesiones personales o la
muerte.
![]() |
Las calcomanías e instrucciones de seguridad están a la vista del operador y están ubicadas cerca de cualquier zona de peligro potencial. Sustituya cualquier pegatina que esté dañada o que falte. |




































Note: Los lados derecho e izquierdo de la máquina se determinan desde la posición normal del operador.
Engrase la máquina antes del uso; consulte Lubricación.
Important: Si la máquina no es engrasada correctamente habrá fallos prematuros de piezas críticas.
Compruebe la presión de los neumáticos; consulte Comprobación de la presión de los neumáticos.
Important: Mantenga la presión correcta en todos los neumáticos para asegurar una buena calidad de corte y un rendimiento correcto de la máquina. No use los neumáticos con presiones menores que las recomendadas.
Compruebe el nivel de aceite del motor; consulte Comprobación del nivel de aceite del motor.
Compruebe el nivel de fluido hidráulico; consulte Comprobación del fluido hidráulico.
Compruebe el sistema de refrigeración; consulte Comprobación del sistema de refrigeración.
Compruebe el aceite del engranaje planetario; consulte Comprobación del aceite de la transmisión planetaria.
Compruebe el lubricante del eje trasero; consulte Comprobación del lubricante del eje trasero.
Compruebe el lubricante de la caja de engranajes del eje trasero; consulte Comprobación del lubricante de la caja de engranajes del eje trasero.
Piezas necesarias en este paso:
| Pegatina con el año de producción | 1 |
En máquinas que requieran cumplimiento CE, instale la pegatina del año de fabricación incluida en las piezas sueltas y el kit CE, que se vende por separado (Figura 3).

Note: Los lados derecho e izquierdo de la máquina se determinan desde la posición normal del operador.
Familiarícese con todos los controles antes de poner en marcha el motor y trabajar con la máquina.

Para detener la máquina, reduzca la presión sobre el pedal de tracción y deje que vuelva a la posición de PUNTO MUERTO (Figura 4).
Hay 2 pedales de freno que accionan frenos de rueda individuales para ayudar en los giros y en el aparcamiento, y para mejorar la tracción en pendientes de través. Un enganche conecta los pedales para el transporte y para su uso como freno de estacionamiento (Figura 4).
El enganche de bloqueo de los pedales conecta los dos pedales para poner el freno de estacionamiento (Figura 4).
Empuje la palanca de inclinación del volante hacia abajo para mover el volante a la posición deseada, luego suelte la palanca para bloquear el ajuste (Figura 4).
Para poner el freno de estacionamiento, conecte entre sí los dos pedales con el enganche de bloqueo situado detrás de los pedales, y presione hacia abajo sobre el seguro del freno de estacionamiento mientras pisa los pedales de freno (Figura 4). Para quitar el freno de estacionamiento, pise los pedales de freno y el seguro se liberará, dejando que los pedales vuelvan a la posición de "quitado". Asegúrese de que los pedales se han retraído del todo después de quitar el freno de estacionamiento.
El interruptor de encendido (Figura 5) tiene tres posiciones: DESCONECTADO, CONECTADO/PRECALENTAMIENTO y ARRANQUE.

El interruptor de velocidad del motor (Figura 5) permite cambiar la velocidad del motor de 2 maneras. Toque momentáneamente el interruptor para aumentar o reducir la velocidad del motor en incrementos de 100 rpm. Mantenga pulsado el interruptor para cambiar automáticamente a ralentí alto o bajo, dependiendo del extremo del interruptor que pulse.
El interruptor de la TDF tiene dos posiciones: HACIA FUERA (ARRANQUE) y HACIA DENTRO (PARADA). Tire hacia fuera del mando de la TDF para engranar las cuchillas de la carcasa de corte. Empuje el mando hacia dentro para desengranar las cuchillas de la carcasa de corte (Figura 5).
El interruptor del control de velocidad Alta-Baja permite aumentar el intervalo de velocidad para transportar de la máquina (Figura 5).
Las carcasas del cortacésped no funcionan en el intervalo alto. Para cambiar entre los intervalos ALTO y BAJO, eleve las carcasas, desengrane la TDF, desactive el control de crucero, mueva el pedal de tracción a la posición de PUNTO MUERTO, y conduzca la máquina a velocidad lenta.
Los interruptores de elevación elevan y bajan las unidades de corte (Figura 5). Presione los interruptores hacia adelante para bajar las unidades de corte y hacia atrás para elevar las unidades de corte. Al arrancar la máquina, con las unidades de corte bajadas, presione hacia abajo el interruptor de elevación para dejar que las unidades de corte floten y sieguen.
Note: Las unidades de corte no pueden bajarse en el intervalo de velocidades alto, y no pueden elevarse o bajarse a menos que el operador esté en el asiento con el motor en marcha. Las unidades de corte también pueden bajarse con la llave en la posición de CONECTADO y el operador en el asiento.
El interruptor del control de crucero bloquea la posición del pedal para mantener la velocidad de avance deseada (Figura 6). Presione la parte trasera del mando para desactivar el control de crucero, la parte intermedia para activar el control de crucero y la parte delantera para establecer la velocidad de avance deseada.
Note: Otras maneras de liberar el pedal son pisar cualquiera de los pedales de freno o poner el pedal de tracción en la posición de MARCHA ATRáS durante un segundo.

El enchufe eléctrico se utiliza para alimentar accesorios eléctricos opcionales (Figura 6).
Mueva la palanca de ajuste del asiento en el lado del asiento hacia fuera, deslice el asiento hasta la posición deseada y suelte la palanca para fijar el asiento en esa posición (Figura 7).

Gire el pomo para ajustar el ángulo del reposabrazos (Figura 7).
Mueva la palanca para ajustar el ángulo del respaldo (Figura 7).
El indicador de peso indica si el asiento está ajustado para el peso del operador (Figura 7). Ajuste la altura situando la suspensión dentro de la zona verde.
Utilice esta palanca para ajustar el asiento según el peso del operador (Figura 7). Tire de la palanca hacia arriba para aumentar la presión del aire, o empújela hacia abajo para reducir la presión del aire. EL ajuste correcto se obtiene estando el indicador de peso en la zona verde.

Cambia entre la recirculación del aire dentro de la cabina o la aspiración de aire a la cabina desde el exterior (Figura 8).
Ajústelo para que el aire recircule cuando tenga puesto el aire acondicionado.
Aspire el aire cuando utilice el calentador o el ventilador.
Gire el mando de control del ventilador para regular la velocidad del ventilador (Figura 8).
Gire el mando de control de la temperatura para regular la temperatura de aire de la cabina (Figura 8).
Utilice este interruptor para activar o desactivar el limpiaparabrisas (Figura 8).
Utilice este interruptor para encender y apagar el aire acondicionado (Figura 8).
Utilice esta toma de corriente de 15 A y 12 V CC para la alimentación de dispositivos compatibles (Figura 8).
Utilice este interruptor para encender y apagar los faros y las luces traseras (Figura 8).
Utilice este interruptor para encender y apagar las luces de emergencia (Figura 8).
Levante los cierres para abrir el parabrisas (Figura 9). Presione el cierre para bloquear el parabrisas en la posición de ABIERTO. Tire hacia fuera y hacia abajo del cierre para cerrar y bloquear el parabrisas.

Levante los cierres para abrir la ventanilla trasera. Presione hacia dentro el cierre para bloquear la ventanilla en la posición de ABIERTO. Tire hacia abajo y hacia fuera del cierre para cerrar y bloquear la ventanilla (Figura 9).
Important: Cierre la ventanilla trasera antes de abrir el capó para evitar dañar el capó o la ventanilla trasera.
La pantalla LCD del InfoCenter (Figura 5) muestra información sobre la máquina, como por ejemplo el estado operativo, diferentes diagnósticos y otra información sobre la máquina.
Las pantallas mostradas dependen de los botones seleccionados. El propósito de cada botón puede variar dependiendo de lo que se necesite en cada momento.

| Descripción | Figura 10 referencia | Dimensión o peso | |
| Altura con cabina | A | 237 cm | |
| Altura con la barra antivuelco elevada | I | 217 cm | |
| Altura con la barra antivuelco bajada | K | 173 cm | |
| Longitud total | H | 186 cm | |
| Longitud para el almacenamiento | G | 184 cm | |
| Anchura de corte | |||
| total | D | 315 cm | |
| unidad de corte delantera | 137 cm | ||
| unidad de corte lateral | 94 cm | ||
| unidad de corte delantera y una unidad de corte lateral | 226 cm | ||
| Anchura total | |||
| unidades de corte bajadas | E | 323 cm | |
| unidades de corte elevadas (posición de transporte) | C | 180 cm | |
| Distancia entre ejes | F | 141 cm | |
| Distancia de rodadura (centro del neumático a centro) | |||
| delante | B | 114 cm | |
| detrás | J | 107 cm | |
| Separación del suelo | 15 cm | ||
| Peso neto con cabina | 2165 kg | ||
| Peso neto con la barra antivuelco | 1922 kg | ||
Note: Las especificaciones y diseños están sujetos a modificación sin previo aviso.
Está disponible una selección de aperos y accesorios homologados por Toro que se pueden utilizar con la máquina a fin de potenciar y aumentar sus prestaciones. Póngase en contacto con su servicio técnico autorizado o con su distribuidor Toro autorizado, o bien visite www.Toro.com para obtener una lista de todos los aperos y accesorios homologados.
Utilice solamente piezas y accesorios genuinos Toro. Las piezas de repuesto y accesorios de otros fabricantes podrían ser peligrosos, y su uso podría invalidar la garantía del producto.
Note: Los lados derecho e izquierdo de la máquina se determinan desde la posición normal del operador.
No deje nunca que la máquina sea utilizada o mantenida por niños o por personas que no hayan recibido la formación adecuada al respecto. La normativa local puede imponer límites sobre la edad del operador. El propietario es responsable de proporcionar formación a todos los operadores y mecánicos.
Familiarícese con la operación segura del equipo, los controles del operador y las señales de seguridad.
Apague el motor, retire la llave y espere a que se detenga todo movimiento antes de dejar el puesto del operador. Deje que la máquina se enfríe antes de realizar ajustes, tareas de mantenimiento y de limpieza o de guardarla.
Sepa cómo parar la máquina y apagar el motor rápidamente.
Compruebe que los controles de presencia del operador, los interruptores de seguridad y los protectores están colocados y que funcionan correctamente. No utilice la máquina si no funcionan correctamente.
Antes de segar, inspeccione siempre la máquina para asegurarse de que las cuchillas, los pernos de las cuchillas y los conjuntos de corte están en buenas condiciones de funcionamiento. Sustituya las cuchillas o los pernos gastados o dañados en conjuntos completos para no desequilibrar la máquina.
Inspeccione la zona en la que va a utilizar la máquina y retire cualquier objeto que pudiera ser arrojado por la máquina.
Este producto genera un campo electromagnético. Si usted lleva un dispositivo médico electrónico implantable, consulte a su profesional sanitario antes de utilizar este producto.
Extreme las precauciones al manejar el combustible. Es inflamable y sus vapores son explosivos.
Apague cualquier cigarrillo, cigarro, pipa u otra fuente de ignición.
Utilice solamente un recipiente de combustible homologado.
No retire la tapa de combustible ni llene el depósito de combustible si el motor está en marcha o está caliente.
No añada ni drene combustible en un lugar cerrado.
No guarde la máquina o un recipiente de combustible en un lugar donde pudiera haber una llama desnuda, chispas o una llama piloto, por ejemplo en un calentador de agua u otro electrodoméstico.
Si se derrama combustible, no intente arrancar el motor; evite crear fuentes de ignición hasta que los vapores del combustible se hayan disipado.
Antes de arrancar el motor y utilizar la máquina, compruebe el nivel de aceite de motor en el cárter; consulte Comprobación del nivel de aceite del motor.
Antes de arrancar el motor y utilizar la máquina, compruebe el sistema de refrigeración; consulte Comprobación del sistema de refrigeración.
Antes de arrancar el motor y utilizar la máquina, compruebe el sistema hidráulico; consulte Comprobación del fluido hidráulico.
Drene el agua u otros contaminantes del separador de agua; consulte Mantenimiento del separador de agua.
Capacidad del depósito de combustible: 79 litros
Important: Utilice solamente combustible diésel con contenido ultrabajo en azufre. El combustible con porcentajes más altos de azufre degrada el catalizador de oxidación de diésel (DOC), lo que provoca problemas de funcionamiento y acorta la vida útil de los componentes del motor.El incumplimiento de las siguientes precauciones puede dañar el motor.
No utilice nunca queroseno o gasolina en lugar de combustible diésel.
No mezcle nunca queroseno o aceite de motor usado con el combustible diésel.
No mantenga nunca el combustible en envases chapados con zinc en el interior.
No utilice aditivos para el combustible.
Número de octanos: 45 o más
Contenido de azufre: Azufre ultrabajo (<15 ppm)
| Especificaciones de combustibles diésel | Ubicación |
| ASTM D975 | EE. UU. |
| N.º 1-D S15 | |
| N.º 2-D S15 | |
| EN 590 | Unión Europea |
| ISO 8217 DMX | Internacional |
| JIS K2204 N.º de grado 2 | Japón |
| KSM-2610 | Corea |
Utilice únicamente combustible diésel o biodiésel limpio y nuevo.
Compre el combustible en cantidades que puedan ser consumidas en 180 días para asegurarse de que el combustible es nuevo.
Utilice combustible diésel tipo verano (N.º 2-D) a temperaturas superiores a -7 °C y combustible tipo invierno (N.º 1-D o mezcla de N.º 1-D/2-D) a temperaturas inferiores a -7 °C.
Note: El uso de combustible tipo invierno a bajas temperaturas proporciona un punto de inflamación menor y características de flujo en frío que facilitan el arranque y reducen la obturación del filtro del combustible.El uso de combustible tipo verano con temperaturas por encima de los -7 °C contribuirá a alargar la vida útil de la bomba de combustible y a incrementar la potencia en comparación con el combustible tipo invierno.
Esta máquina también puede utilizar una mezcla de combustible biodiésel de hasta B20 (20 % biodiésel, 80<% petrodiésel).
Contenido de azufre: Azufre ultrabajo (<15 ppm)
Especificación de combustible biodiésel: ASTM D6751 o EN 14214
Especificación de combustible mezclado: ASTM D975, EN 590 o JIS K2204
Important: La parte de diésel de petróleo deberá tener un contenido ultrabajo en azufre.
Observe las siguientes precauciones:
Las mezclas de biodiésel pueden dañar las superficies pintadas.
Utilice B5 (contenido de biodiésel del 5 %) o mezclas menores cuando hace frío.
Vigile los retenes, las mangueras y las juntas que estén en contacto con el combustible porque pueden degradarse con el tiempo.
El filtro de combustible puede atascarse durante cierto tiempo después de la conversión a mezclas de biodiésel.
Para obtener más información sobre el biodiésel, póngase en contacto con su distribuidor Toro autorizado.

Llene el depósito hasta una distancia de 6 – 13 mm por debajo del borde superior del depósito, no del cuello de llenado, con combustible diésel nº 2-D.
Note: Si es posible, llene el depósito de combustible después de cada uso; de esta manera se minimiza la acumulación de condensación dentro del depósito de combustible.
| Intervalo de mantenimiento y servicio | Procedimiento de mantenimiento |
|---|---|
| Cada vez que se utilice o diariamente |
|
Si la presión de los neumáticos es baja, se reduce la estabilidad en pendientes laterales. Esto podría causar un vuelco, que podría dar lugar a lesiones personales o la muerte.
No use los neumáticos con presiones menores que las recomendadas.
La presión correcta de los neumáticos es de 1,72–2,07 bar.
Important: Mantenga la presión recomendada de todos los neumáticos para asegurar una buena calidad de corte y un rendimiento correcto de la máquina. No use los neumáticos con presiones menores que las recomendadas.Compruebe la presión de todos los neumáticos antes de utilizar la máquina.

| Intervalo de mantenimiento y servicio | Procedimiento de mantenimiento |
|---|---|
| Después de la primera hora |
|
| Después de las primeras 10 horas |
|
| Cada 200 horas |
|
Si no se mantienen correctamente apretadas las tuercas de las ruedas, podrían producirse lesiones personales.
Apriete las tuercas de las ruedas con el valor de par de apriete adecuado.
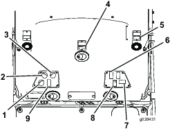
Apriete las tuercas de las ruedas a 115–136 N·m en el orden indicado en Figura 13 y Figura 14.


Siéntese en el asiento y ajuste el retrovisor para obtener la mejor visibilidad de la ventanilla trasera (Figura 15). Tire de la palanca hacia atrás para inclinar el espejo para reducir los reflejos deslumbrantes.
Siéntese en el asiento y pida a alguien que le ayude a ajustar los retrovisores laterales para obtener la mejor visibilidad por el costado de la máquina (Figura 15).

Afloje las tuercas de montaje y posicione cada faro de manera que apunte directamente hacia adelante.
Note: Apriete la tuerca de montaje justo lo suficiente para sujetar el faro.
Coloque una chapa metálica plana sobre la cara del faro.
Coloque un transportador de ángulos magnético sobre la chapa.
Sujetando el conjunto, incline el faro cuidadosamente hacia abajo 3 grados y, a continuación, apriete la tuerca.
Repita el procedimiento con el otro faro.
Para evitar lesiones o la muerte en caso de un vuelco: mantenga la barra antivuelco en posición elevada y bloqueada y utilice el cinturón de seguridad.
Asegúrese de que el asiento está sujeto con el cierre del asiento.
No hay protección contra vuelcos cuando la barra antivuelco está bajada.
No utilice la máquina en terrenos desiguales o en pendientes con la barra antivuelco bajada.
Baje la barra antivuelco únicamente cuando sea imprescindible.
No use el cinturón de seguridad si la barra antivuelco está bajada.
Conduzca lentamente y con cuidado.
Eleve la barra antivuelco tan pronto como haya espacio suficiente.
Compruebe cuidadosamente que hay espacio suficiente antes de conducir por debajo de cualquier objeto en alto (por ejemplo, ramas, portales, cables eléctricos) y no entre en contacto con ellos.


La altura de corte puede ajustarse de 25 a 127 mm en incrementos de 13 mm. Para ajustar la altura de corte en la unidad de corte central, coloque los ejes de las ruedas giratorias en los taladros superiores o inferiores de las horquillas, añada o retire el mismo número de espaciadores de las horquillas y fije la cadena trasera en el taladro deseado.
Aparque la máquina en una superficie nivelada.
Arranque el motor y eleve las unidades de corte para modificar la altura de corte.
Apague el motor, ponga el freno de estacionamiento y retire la llave del interruptor de encendido después de elevar la unidad de corte.
Coloque los ejes de las ruedas giratorias en el mismo taladro en todas las horquillas ().

Note: Cuando se utiliza el ajuste de altura de corte de 64 mm o más, instale el perno del eje en el taladro inferior de la horquilla de la rueda giratoria para evitar una acumulación de hierba entre la rueda y la horquilla. Cuando se utiliza la máquina con alturas de corte de menos de 64 mm y se detecta una acumulación de hierba, cambie el sentido de avance de la máquina para eliminar los recortes de la zona de la rueda/horquilla.
Retire el casquillo tensor del eje y deslice el eje fuera del brazo de la rueda giratoria (Figura 18).
Coloque los 2 suplementos en el eje de la cuchilla de la misma forma que en la instalación original.
Note: Estos suplementos son necesarios para obtener el mismo nivel en toda la anchura de las unidades de corte. Coloque la número adecuado de espaciadores de 13 mm (consulte la tabla siguiente) en el eje para conseguir la altura de corte deseada, luego coloque la arandela en el eje.
Consulte la tabla siguiente para determinar la combinación de espaciadores necesaria para cada altura (Figura 19):

Inserte el eje por el brazo de la rueda giratoria delantera.
Coloque los suplementos (igual que en la instalación original) y los demás espaciadores en el eje.
Coloque el casquillo tensor para fijar el conjunto.
Retire la chaveta y el pasador que fijan las cadenas de ajuste de la altura de corte a la parte trasera de la unidad de corte (Figura 20).

Monte las cadenas de altura de corte en el taladro de altura de corte deseado con el pasador y el pasador de horquilla (Figura 21).

Note: Cuando se usen alturas de corte de 25 mm, 38 mm, u ocasionalmente de 51 mm, mueva los patines y las ruedas niveladoras a la posición más alta.
Para ajustar la altura de corte de las unidades de corte laterales, añada o retire el mismo número de espaciadores de las horquillas de las ruedas giratorias, coloque los ejes de las ruedas giratorias en los taladros de altura de corte alta o baja en las horquillas y fije los brazos de pivote en los taladros del soporte de altura de corte seleccionados.
Coloque los ejes de las ruedas giratorias en el mismo taladro en todas las horquillas (Figura 22 y Figura 24).
Retire el casquillo tensor del eje y deslice el eje fuera del brazo de la rueda giratoria (Figura 22).

Coloque los 2 suplementos en el eje de la cuchilla de la misma forma que en la instalación original.
Note: Estos suplementos son necesarios para obtener el mismo nivel en toda la anchura de las unidades de corte. Coloque el número adecuado de espaciadores de 13 mm (consulte la tabla siguiente) en el eje para conseguir la altura de corte deseada y, a continuación, coloque la arandela en el eje.
Consulte la tabla siguiente para determinar la combinación de espaciadores necesaria para cada altura (Figura 23).

Inserte el eje por el brazo de la rueda giratoria delantera.
Coloque los suplementos (igual que en la instalación original) y los demás espaciadores en el eje.
Retire la chaveta y los pasadores de los brazos de pivote de las ruedas giratorias (Figura 24).
Gire la varilla tensora para elevar o bajar el brazo de pivote hasta que los taladros estén alineados con los taladros seleccionados del soporte de ajuste de la altura de corte en el bastidor de la carcasa de corte (Figura 24 y Figura 25).


Introduzca los pasadores de horquilla e instale las chavetas.
Gire la varilla tensora en sentido antihorario (con los dedos solamente) para tensar el ajuste.
Monte los patines en la posición inferior cuando se utilizan alturas de corte de más de 64 mm, y en la posición superior cuando se utilizan alturas de corte de menos de 64 mm.

Monte los rodillos de la carcasa del cortacésped en la posición inferior cuando se utilizan alturas de corte de más de 64 mm y en la posición superior con alturas de corte de menos de 64 mm.

Important: En máquinas con múltiples cuchillas, tenga cuidado puesto que girar una cuchilla puede hacer que giren otras cuchillas.
Para asegurar la operación correcta de la unidad de corte, debe haber una separación de entre 10 y 16 mm entre los extremos de las cuchillas de las carcasas de corte laterales y central (Figura 28).
Eleve la unidad de corte hasta que las cuchillas estén visibles y soporte la sección central de la carcasa para que no pueda caer accidentalmente.
Note: Las carcasas laterales deben estar en posición horizontal con respecto a la unidad de corte central.
Gire una cuchilla central y una cuchilla lateral de manera que las puntas estén alineadas. Mida la distancia entre los extremos de las cuchillas (Figura 28).
Note: La distancia debe ser de 10–16 mm aproximadamente..

Para ajustar la distancia, localice el perno de ajuste del acoplamiento basculante trasero de la unidad de corte (Figura 29).
Afloje la contratuerca del perno de ajuste.
Afloje o apriete los pernos de ajuste hasta obtener una holgura de 10-16 mm, luego apriete la contratuerca.
Repita el procedimiento en el otro lado de la unidad de corte.

Debido a diferencias en la condición del césped y en los ajustes de contrapeso de la unidad de tracción, conviene segar una zona de césped de prueba y comprobar el aspecto de la hierba antes de empezar la siega formal.
Ajuste todas las unidades de corte a la altura de corte deseada, consulte Ajuste de la altura de corte.
Compruebe la presión de los neumáticos delanteros y traseros y ajústela a 1,72–2,07 bar.
Compruebe la presión de aire de los neumáticos de todas las ruedas giratorias de la unidad de corte y ajústela a 3,45 bar.
Compruebe las presiones de carga y contrapeso con el motor a velocidad de RALENTí ALTO, usando los puntos de prueba hidráulicos.
Note: Ajuste el contrapeso a 22,41 bar.
Compruebe que las cuchillas no están dobladas; consulte Verificación de la rectilinealidad de las cuchillas.
Corte la hierba en una zona de prueba para determinar si todas las unidades de corte están a la misma altura.
Si es necesario ajustar aún más las carcasas de corte, busque una superficie plana usando una regla de 2 m o más.
Para facilitar la medición del plano de las cuchillas, eleve la altura de corte a 7,6–10,1 cm; consulte Ajuste de la altura de corte.
Baje las unidades de corte sobre la superficie plana y retire las cubiertas de la parte superior de las unidades de corte.
Afloje la tuerca que sujeta la polea tensora, para aliviar la tensión en la correa de cada unidad de corte.
Note: Conviene utilizar la herramienta Toro (Pieza Nº 121-3874) para apretar el tapón tensor.
Gire la cuchilla de cada eje hasta que los extremos estén orientados hacia adelante y hacia atrás.
Mida desde el suelo hasta la punta delantera del filo de corte.
Ajuste los suplementos de 3 mm de las horquillas de las ruedas giratorias delanteras hasta que la altura de corte se corresponda con la marca de la pegatina (Figura 30); consulte Ajuste de la altura de corte.

Gire la cuchilla de cada eje hasta que los extremos estén orientados hacia adelante y hacia atrás.
Mida desde el suelo hasta la punta delantera del filo de corte.
Ajuste los suplementos de 3 mm de las horquillas de las ruedas giratorias delanteras hasta que la altura de corte se corresponda con la marca de la pegatina (Figura 31).
Note: Para el eje de la cuchilla exterior solamente, consulte Ajuste de la altura de corte.

Alinee de lado a lado la cuchilla del eje exterior de cada unidad de corte lateral.
Note: Mida desde el suelo hasta la parte delantera del filo de corte de ambas unidades, y compare las dimensiones. La diferencia entre las medidas debe ser de 3 mm o menos. No haga ningún ajuste ahora mismo.
Alinee de lado a lado la cuchilla del eje interior de la unidad de corte lateral y del eje exterior correspondiente de la unidad de corte delantera.
Note: Mida desde el suelo hasta la punta del filo de corte en el borde interior de la unidad de corte lateral hasta el borde exterior de la unidad de corte delantera, y compare. La medida en la carcasa de corte lateral no debe variar en más de 3 mm de la unidad de corte delantera.
Note: Las ruedas giratorias de las tres unidades de corte deben permanecer en el suelo con el contrapeso aplicado.
Note: Si es necesario efectuar algún ajuste para que coincida el corte entre las unidades de corte delantera y laterales, realice los ajustes en las unidades de corte laterales solamente.
Si el borde interior de la unidad de corte lateral está demasiado alto respecto al borde exterior de la unidad de corte delantera, retire un suplemento de la parte inferior del brazo interior delantero de la rueda giratoria en la unidad de corte lateral (Figura 31).
Note: Vuelva a comprobar la medida entre los bordes exteriores de ambas unidades de corte laterales y desde el borde interior de la unidad de corte lateral hasta el borde exterior de la unidad de corte delantera.
Si el borde interior sigue estando demasiado alto, retire otro suplemento de la parte inferior del brazo interior delantero de la rueda giratoria de la unidad de corte lateral y un suplemento del brazo exterior delantero de la rueda giratoria de la unidad de corte lateral.
Si el borde interior de la unidad de corte lateral está demasiado bajo respecto al borde exterior de la unidad de corte delantera, añada un suplemento a la parte inferior del brazo interior delantero de la rueda giratoria en la unidad de corte lateral.
Note: Vuelva a comprobar la medida entre los bordes exteriores de ambas unidades de corte laterales y desde el borde interior de la unidad de corte lateral hasta el borde exterior de la unidad de corte delantera.
Si el borde interior sigue estando demasiado bajo, añada otro suplemento a la parte inferior del brazo interior delantero de la rueda giratoria de la unidad de corte lateral y añada un suplemento al brazo exterior delantero de la rueda giratoria de la unidad de corte lateral.
Una vez que la altura de corte coincida en los bordes de las unidades de corte delantera y laterales, compruebe que la inclinación de la carcasa de corte lateral sigue siendo de 8 a 11 mm.
Note: Ajuste según sea necesario.
| Intervalo de mantenimiento y servicio | Procedimiento de mantenimiento |
|---|---|
| Cada vez que se utilice o diariamente |
|
La máquina tiene interruptores de seguridad en el sistema eléctrico. Estos interruptores deshabilitan la unidad de tracción o la TDF al levantarse del asiento. Si desengrana la TDF y acciona el freno de estacionamiento antes de levantarse del asiento, el motor sigue funcionando.
Conduzca la máquina lentamente a una zona amplia y despejada. Baje la carcasa de corte, apague el motor y ponga el freno de estacionamiento.
Siéntese en el asiento y pise el pedal de tracción. Intente arrancar el motor. El motor no debe arrancar. Si el motor se arranca, hay un problema con los interruptores de seguridad que debe corregirse antes de empezar la operación.
Siéntese en el asiento, arranque el motor y accione la TDF. Mientras se sienta en el asiento con la TDF engranda, levántese del asiento. La TDF debe desengranarse después de una breve demora. Si la toma de fuerza se engrana, hay un problema con los interruptores de seguridad que debe ser corregido antes de empezar la operación.
Siéntese en el asiento, ponga el freno de estacionamiento y arranque el motor. Mueva el pedal de tracción a una posición que no sea PUNTO MUERTO. El InfoCenter debe mostrar "tracción no permitida", y la máquina no debe moverse. Si la máquina se mueve, hay un problema con los interruptores de seguridad que debe corregirse antes de empezar a usar la máquina.
| Cuchilla atómica | Cuchilla de vela plana | Cuchilla de vela estándar | Cuchilla de vela media | |
| Condiciones del césped | Húmedo, pegajoso y crecimiento de primavera | Césped ligero o escaso | Corte normal | Todas las condiciones hasta crecimiento denso |
| Mulching (picado) de hojas | Funciona bien | No usar | Funciona bien | Funciona bien |
| A favor | Menos elevación, disgrega las acumulaciones de recortes | No crea mucho flujo de aire en césped polvoriento, arenoso y escaso | Buen rendimiento en general | Más elevación y menos turbulencias que la cuchilla estándar, en general bien |
| En contra | Menos elevación y menos dispersión en condiciones pesadas | No se recomienda en condiciones de normales a pesadas |
La pantalla muestra información sobre la máquina como, por ejemplo, el estado operativo, diferentes diagnósticos y otra información sobre la máquina. Hay varias pantallas diferentes. Puede cambiar entre las pantallas en cualquier momento pulsando cualquiera de los botones de la pantalla y luego seleccionando la tecla de flecha correspondiente.

Note: El propósito de cada botón puede variar dependiendo de lo que se necesite en cada momento. El icono de cada botón indicará su función en cada momento.
![]() | Horímetro |
![]() | Cambio de página |
![]() | Ajustes de tope virtual del pedal |
![]() | Las bujías están encendidas. |
![]() | El operador debe sentarse en el asiento. |
![]() | El freno de estacionamiento está accionado. |
![]() | Temperatura del refrigerante del motor (°C o °F) |
![]() | Tracción o Pedal de tracción |
![]() | El control de crucero está activado. |
![]() | Solicitud de regeneración en espera o de restablecimiento |
| Solicitud de regeneración de recuperación o con la máquina aparcada | |
![]() | Se está procesando una regeneración de recuperación o con la máquina aparcada. |
![]() | Alta temperatura de los gases de escape |
![]() | Funcionamiento deficiente del diagnóstico de control de NOx; lleve la máquina al taller y póngase en contacto con su distribuidor Toro autorizado (versión de software U y posteriores). |
![]() | La toma de fuerza está desactivada. |
![]() | La TDF está engranada. |
![]() | Batería |
![]() | Nivel de combustible |
![]() | Advertencia |
![]() | Activar |
![]() | Inactivo |
![]() | Anterior |
![]() | Siguiente |
![]() | Las unidades de corte se están elevando. |
![]() | Las unidades de corte se están bajando. |
![]() | Pantalla anterior |
![]() | Rápido |
![]() | Lento |
![]() | Aumentar el valor |
![]() | Reducir el valor |
![]() | Menú |
![]() | Desplazamiento hacia arriba/hacia abajo |
![]() | Desplazamiento hacia la izquierda/hacia la derecha |
![]() | Bloqueado |
![]() | Contraseña PIN |
Para entrar en el sistema de menús del InfoCenter, pulse el botón de acceso a los menús en la pantalla principal. Aparecerá el Menú principal. Las tablas siguientes contienen un resumen de las opciones disponibles en cada menú.
| Menú principal – Elemento de menú | Descripción |
| Faults | El menú Faults (Fallos) contiene una lista de los fallos recientes de la máquina. Consulte el Manual de mantenimiento o póngase en contacto con su Distribuidor Autorizado Toro si desea más información sobre el menú Fallos y la información que contiene. |
| Service (Mantenimiento) | El menú Service (Mantenimiento) contiene información sobre la máquina, como por ejemplo horímetros de uso y otros datos similares. |
| Diagnostics (Diagnósticos) | El menú Diagnostics (Diagnósticos) muestra el estado del sensor de cada interruptor de la máquina y de la salida de cada control. Puede utilizar esta información para identificar y resolver algunos problemas, puesto que indica rápidamente qué controles de la máquina están ACTIVADOS/ENCENDIDOS, y cuáles están DESACTIVADOS/APAGADOS. |
| Settings (Ajustes) | El menú Settings (Ajustes) permite personalizar y modificar las variables de configuración de la pantalla. |
Ajustes de la máquina![]() | El menú Ajustes de la máquina permite ajustar el ralentí automático, la velocidad, el sistema Smart Power, la alarma de marcha atrás y los umbrales del sensor de pendientes. |
| About (Acerca de) | El menú About (Acerca de) muestra el número de modelo, el número de serie y la versión del software de su máquina. |
| Service (Servicio) – Elemento de menú | Descripción |
| Hours (Horas) | Muestra el número total de horas de operación de la máquina, el motor y la TDF, así como el número de horas de transporte y el mantenimiento previsto. |
| Counts | Muestra los diferentes contadores de la máquina. |
| DPF Regeneration (Regeneración del DPF) | La opción de la regeneración del filtro de partículas diésel (DPF) y los submenús |
| Inversión del ventilador | Permite iniciar un ciclo de inversión del sentido de giro del ventilador. |
Régimen de combustible![]() | Indica el consumo medio de combustible. |
Pedal de tracción![]() | Indica los valores de calibración del pedal de tracción y permite calibrar el pedal de tracción. |
| Diagnostics (Diagnóstico) – Elemento de menú | Descripción |
| Carcasa izquierda | Indica las entradas y salidas de estos componentes. |
| Carcasa central | |
| Carcasa derecha | |
| Pedal de tracción | |
| Tracción | |
| Intervalo alto/bajo | |
| PTO | |
| Engine | |
| Control de crucero | |
| Kit de luces |
| Settings (Ajuste) – Elemento de menú | Descripción |
| Enter PIN (Introducir PIN) | Permite que una persona (superintendente o mecánico) autorizada por la empresa con código PIN acceda a los menús protegidos. |
Ajustes protegidos![]() | Permite que una persona autorizada por la empresa con el código PIN pueda acceder a los ajustes protegidos. |
Restaurar valores predeterminados![]() | Reinicia los ajustes con los valores predeterminados. |
| Backlight (Retroiluminación) | Controla el brillo de la pantalla LCD. |
| Language (Idioma) | Controla el idioma utilizado en el InfoCenter*. |
| Font Size (Tamaño de fuente) | Controla el tamaño de la fuente en la pantalla. |
| Units (Unidades) | Controla las unidades utilizadas en el InfoCenter (inglés o métrico). |
Note: El menú Ajustes de la máquina sólo aparece cuando se introduce el PIN.
Ajustes de la máquina - Elemento del menú![]() | Descripción |
Auto Idle (Ralentí automático) ![]() | Controla la cantidad de tiempo permitido antes de poner el motor en ralentí cuando la máquina no se está usando |
Velocidad de siega ![]() | Controla la velocidad máxima en modo de siega (intervalo bajo). |
Velocidad de transporte ![]() | Controla la velocidad máxima de transporte (intervalo alto). |
Smart Power ![]() | Activa y desactiva Smart Power. |
Alarma de marcha atrás![]() | Indica que hay una alarma de marcha atrás instalada. |
Sensor de pendientes instalado![]() | Indica que hay un sensor de pendientes instalado. |
| About (Acerca de) – Elemento de menú | Descripción |
| Model | Muestra el número de modelo de la máquina. |
| SN | Muestra el número de serie de la máquina. |
| S/W Rev (Revisión de software) | Indica la revisión de software del controlador principal. |
| Fase V | Muestra Yes o No (sí/no), dependiendo del motor. |
XDM-2700![]() | Indica la versión de software del InfoCenter |
CAN![]() | Indica el estado del bus de comunicaciones de la máquina |
S/W Rev-S![]() | Indica la versión de software del controlador secundario. |
Protegido
en Protected Menus (Menús protegidos) – accesible solo
mediante la introducción del PIN
Algunas opciones de configuración operativa pueden modificarse en el menú AJUSTES del InfoCenter. Para bloquear estos ajustes, utilice el MENú PROTEGIDO.
Note: Su distribuidor programa la contraseña inicial en el momento de la entrega de la máquina.
Note: El PIN predeterminado de fábrica de la máquina es 0000 o bien 1234.Si ha cambiado el código PIN y lo ha olvidado, póngase en contacto con su Distribuidor Autorizado Toro para obtener ayuda.
En el menú PRINCIPAL, vaya al menú AJUSTES y pulse el botón Seleccionar (Figura 33).

En el menú AJUSTES, vaya a INTRODUCIR PIN y pulse el botón Seleccionar (Figura 34A).

Para introducir el código PIN, presione los botones de navegación Arriba/Abajo hasta que aparezca el primer dígito correcto y, a continuación, pulse el botón de navegación Derecha para desplazarse al dígito siguiente (Figura 34B y Figura 34C). Repita este paso hasta que haya introducido el último dígito.
Pulse el botón Seleccionar.
Note: Si la pantalla acepta el código PIN y el menú protegido se desbloquea, aparece la palabra “PIN” en la esquina superior derecha de la pantalla.
Para bloquear el menú Protegido, gire el interruptor de encendido a la posición DESCONECTADO y luego a la posición CONECTADO.
En SETTINGS (Ajustes), vaya a PROTECT SETTINGS (Proteger ajustes).
Para ver y modificar los ajustes sin introducir un
código PIN, utilice el botón de selección para
cambiar PROTECT SETTINGS (Proteger ajustes)
a
(Desactivado).
Para ver y modificar los ajustes con un código
PIN, utilice el botón Seleccionar para cambiar PROTEGER CONFIGURACIóN a
(Activado), introduzca
el código PIN y gire la llave del interruptor de encendido
a la posición de DESCONECTADO y
luego a la posición de CONECTADO.
El temporizador de mantenimiento programado reinicia a cero las horas restantes para el siguiente mantenimiento después de realizar un procedimiento de mantenimiento programado.
En AJUSTES, vaya a INTRODUCIR PIN y pulse el botón Seleccionar.
Introduzca el PIN; consulte Acceso a los Menús protegidos.
En SERVICE (Mantenimiento), vaya a HOURS (Horas) y pulse el botón Seleccionar.
Desplácese hacia abajo a SERVICE DUE (Mantenimiento pendiente).
Note: Si hay mantenimiento pendiente, aparece NOW (Ahora) junto a SERVICE DUE (Mantenimiento pendiente).
Resalte el símbolo de mantenimiento y pulse el botón Seleccionar.
Note: El intervalo de mantenimiento (250 horas, 500 horas, etc.) está situado junto al SERVICE DUE (Mantenimiento pendiente). Service interval (intervalo de mantenimiento) es un elemento de menú protegido.
Cuando aparezca la pantalla RESET SERVICE TIMER? (¿Resetear temporizador de mantenimiento?, pulse el botón Seleccionar para contestar SÍ o el botón Atrás para contestar NO.
Después de seleccionar YES (Sí), la pantalla de intervalos se borra, y vuelve luego a las selecciones Service Hours (Horas de mantenimiento).
En el menú Settings (Configuración), vaya a Auto Idle (Ralentí automático).
Pulse el botón interior derecho o izquierdo para cambiar el tiempo de ralentí automático, entre DESACTIVADO, 8 s, 10 s, 15 s, 20 s y 30 s.
En el menú Ajustes, vaya a Velocidad de siega y pulse el botón derecho.
Utilice el botón interior derecho para aumentar la velocidad máxima de siega (50 %, 75 % o 100 %).
Utilice el botón interior izquierdo para reducir la velocidad máxima de siega (50 %, 75 %, o 100 %).
Pulse el botón izquierdo para salir.
En el menú Settings (Ajustes), vaya a Transport Speed (Velocidad de transporte) y pulse el botón derecho.
Utilice el botón interior derecho para aumentar la velocidad máxima de transporte (50 %, 75 % o 100 %).
Utilice el botón interior izquierdo para reducir la velocidad máxima de transporte (50 %, 75 %, o 100 %).
Pulse el botón izquierdo para salir.
Cuando termine con el Menú protegido, pulse el botón izquierdo para salir al Menú principal, luego pulse el botón izquierdo para salir al menú Marcha.
En AJUSTES, vaya a SMART POWER.
Pulse el botón de navegación Derecha para cambiar entre ON (Activado) y OFF (Desactivado).

Rojo intermitente — fallo activo
Rojo fijo — aviso activo
Verde fijo — operación normal
Verde intermitente—actualizando código
El propietario/operador puede prevenir y es responsable de cualquier accidente que pudiera provocar lesiones personales o daños materiales.
Lleve ropa adecuada, incluida protección ocular, pantalones largos, calzado resistente y antideslizante y protección auricular. Si tiene el pelo largo, recójaselo, y no lleve prendas o joyas sueltas. Lleve una mascarilla en condiciones de mucho polvo.
No utilice la máquina si está enfermo, cansado o bajo la influencia de alcohol o drogas.
Preste toda su atención al utilizar la máquina. No realice ninguna actividad que genere distracciones, de lo contrario pueden producirse lesiones o daños en la propiedad.
Antes de arrancar el motor, asegúrese de que todas las transmisiones están en punto muerto, de que el freno estacionamiento está accionado y de que usted se encuentra en la posición del operador.
No lleve pasajeros en la máquina y mantenga a otras personas alejadas de la zona de trabajo.
Utilice la máquina únicamente con buena visibilidad para evitar agujeros y peligros ocultos.
Evite segar la hierba mojada. La reducción de la tracción podría hacer que la máquina se resbalara.
Mantenga las manos y los pies alejados de las piezas en movimiento. Manténgase alejado de la apertura de descarga.
Mire hacia atrás y hacia abajo antes de poner marcha atrás para asegurarse de que el camino está despejado.
Tenga cuidado al acercarse a esquinas ciegas, arbustos, árboles u otros objetos que puedan dificultar la visión.
Pare las cuchillas si no está segando.
Detenga la máquina, retire la llave y espere a que todas las piezas en movimiento se detengan antes de inspeccionar el accesorio después de golpear un objeto o si se produce una vibración anormal en la máquina. Realice todas las reparaciones necesarias antes de volver a utilizar la máquina.
Vaya más despacio y tenga cuidado al girar y al cruzar calles y aceras con la máquina. Ceda el paso siempre.
Desengrane la transmisión de la unidad de corte, apague el motor, retire la llave y espere a que se detenga todo movimiento antes de ajustar la altura de corte (a menos que pueda ajustarse desde la posición del operador).
Accione el motor únicamente en áreas bien ventiladas. Los gases de escape contienen monóxido de carbono, que resulta letal si se inhala.
No deje nunca desatendida la máquina si está funcionando.
Antes de dejar el puesto del operador, realice lo siguiente:
Aparque la máquina en una superficie nivelada.
Desengrane la toma de fuerza y baje los accesorios.
Accione el freno de estacionamiento.
Apague el motor y retire la llave.
Espere a que se detenga todo movimiento.
Utilice la máquina únicamente con buena visibilidad. No utilice la máquina cuando exista riesgo de caída de rayos.
No utilice la máquina como un vehículo de remolcado.
Utilice solamente los accesorios, los aperos y las piezas de repuesto aprobados por Toro.
Utilice el control de crucero (si está instalado) únicamente cuando pueda utilizar la máquina en una zona abierta, llana y libre de obstáculos, y donde la máquina pueda desplazarse a una velocidad constante sin interrupción.
El ROPS es un dispositivo de seguridad integrado y eficaz.
No retire ninguno de los componentes del ROPS de la máquina.
Asegúrese de que el cinturón de seguridad está sujeto a la máquina.
Tire del cinturón sobre el regazo y conéctelo a la hebilla en el otro lado del asiento.
Para desabrochar el cinturón de seguridad, sujete el cinturón, pulse el botón de la hebilla para soltar el cinturón y guié el cinturón hasta el orificio de recogida automática. Asegúrese de que puede desabrochar rápidamente el cinturón de seguridad en caso de emergencia.
Compruebe detenidamente si hay obstrucciones sobre la máquina y no entre en contacto con ellas.
Mantenga el ROPS en condiciones seguras de funcionamiento, inspeccionándolo periódicamente en busca de daños y manteniendo bien apretados todas las fijaciones de montaje.
Sustituya los componentes del ROPS dañados. No los repare ni los modifique.
Una cabina instalada por Toro es una barra antivuelco.
Lleve puesto siempre el cinturón de seguridad.
Si la barra antivuelco es plegable, manténgala en la posición elevada y bloqueada y lleve puesto el cinturón de seguridad mientras utilice la máquina con la barra antivuelco elevada.
Una barra antivuelco plegable puede bajarse temporalmente, pero sólo cuando sea necesario. No lleve el cinturón de seguridad cuando la barra antivuelco está bajada.
Sepa que no hay protección contra vuelcos cuando la barra antivuelco está plegada.
Inspeccione la zona de siega, y no baje nunca una barra antivuelco plegable en zonas donde existan pendientes, taludes o agua.
Las pendientes son una de las principales causas de accidentes por pérdida de control y vuelcos, que pueden causar lesiones graves o la muerte. Usted es responsable de la seguridad cuando trabaja en pendientes. La conducción de la máquina en pendientes requiere extremar la precaución.
Evalúe las condiciones del lugar de trabajo para determinar si es seguro trabajar en la pendiente con la máquina; puede ser necesario realizar un estudio detallado de la zona. Aplique siempre el sentido común y un buen criterio a la hora de realizar esta valoración.
Consulte las instrucciones sobre el uso de la máquina en pendientes indicadas a continuación para determinar si puede utilizar la máquina con las condiciones del día y del lugar concretos. Los cambios en el terreno pueden producir un cambio en el funcionamiento de la máquina en pendientes.
Evite arrancar, parar o girar la máquina en cuestas o pendientes. Evite realizar cambios bruscos de velocidad o de dirección. Realice giros de forma lenta y gradual.
No utilice la máquina en condiciones que puedan comprometer la tracción, la dirección o la estabilidad de la máquina.
Retire o señale obstrucciones como terraplenes, baches, surcos, montículos, rocas u otros peligros ocultos. La hierba alta puede ocultar obstrucciones. Un terreno irregular podría hacer volcar la máquina.
Tenga en cuenta que conducir en hierba mojada, atravesar pendientes empinadas, o bajar cuestas puede hacer que la máquina pierda tracción. La pérdida de tracción de las ruedas motrices puede hacer que la máquina patine, así como sufrir pérdida de frenado o de dirección.
Extreme las precauciones cuando utilice la máquina cerca de terraplenes, fosas, taludes, obstáculos de agua u otros obstáculos. La máquina podría volcar repentinamente si una rueda pasa por el borde de un terraplén o fosa, o si se socava un talud. Establezca un área de seguridad entre la máquina y cualquier peligro.
Identifique peligros situados en la base de la pendiente. Si hay algún peligro, siegue la pendiente con una máquina controlada por un peatón.
Si es posible, mantenga la(s) unidad(es) de corte bajada(s) hasta el suelo al utilizar la máquina en pendientes. Si la(s) unidad(es) de corte se eleva(n) en pendientes, la máquina puede desestabilizarse.
Extreme las precauciones cuando utilice sistemas de recogida de hierba u otros accesorios. Estos pueden cambiar la estabilidad de la máquina y causar pérdidas de control.
Practique la conducción de la máquina, ya que tiene una transmisión hidrostática y sus características pueden ser distintas a otras máquinas de mantenimiento de césped. Algunos puntos a tener en cuenta durante la operación de la unidad de tracción, la unidad de corte u otros accesorios son que la transmisión, la velocidad del motor y la carga sobre las cuchillas o sobre otros accesorios afectan al rendimiento de la máquina.
Con Smart Power™ de Toro, no tiene que estar pendiente de la velocidad del motor en condiciones de carga pesada. El sistema Smart Power evita que el motor se ahogue en condiciones de siega difíciles, al controlar automáticamente la velocidad de la máquina y optimizar el rendimiento de corte.
Puede utilizar los frenos para ayudar a girar la máquina. No obstante, utilícelos con cuidado, sobre todo en hierba blanda o húmeda, porque se puede desgarrar el césped accidentalmente. Otra ventaja de los frenos es la de mantener la tracción. Por ejemplo, en ciertas condiciones de pendiente, la rueda que está 'cuesta arriba' resbala y pierde la tracción. Si esto ocurre, pise el pedal de freno de esa rueda de forma gradual e intermitente hasta que la rueda que está ‘cuesta arriba’ deje de resbalar; esta acción aumenta la tracción en la otra rueda.
La tracción asistida es automática y no requiere la intervención del operador. Si una rueda empieza a patinar, el caudal se divide automáticamente entre las ruedas delanteras y traseras para minimizar el patinaje y la pérdida de tracción.
Antes de parar el motor, desengrane todos los controles y cambie el acelerador a la posición de LENTO. Al mover el acelerador a LENTO se reducen las altas revoluciones del motor, el ruido y las vibraciones. Gire la llave a la posición DESCONECTADO para parar el motor. Retire la llave si va a abandonar la posición del operador.
Antes de transportar la máquina, eleve las unidades de corte y fije los cierres de transporte (Figura 36).

Arranque el motor y déjelo funcionar en la posición de RALENTí MEDIO hasta que se caliente. Mueva el interruptor de velocidad del motor a RALENTí ALTO, eleve las unidades de corte, quite el freno de estacionamiento, pise el pedal de tracción hacia adelante y conduzca con cuidado a un espacio abierto.
Practique la conducción hacia adelante y hacia atrás, y el arranque y la parada de la máquina. Para parar, levante el pie del pedal de tracción y déjelo volver a PUNTO MUERTO, o pise el pedal de marcha atrás para parar.
Note: Al bajar una pendiente en la máquina, posiblemente tenga que pisar el pedal de marcha atrás para parar.
Practique la conducción alrededor de obstáculos con las unidades de corte elevadas y bajadas. Tenga cuidado al conducir entre objetos para no dañar la máquina ni las unidades de corte.
Siempre conduzca lentamente en terrenos irregulares.
Si hay un obstáculo en su camino, eleve las unidades de corte para segar alrededor del mismo.
Cuando transporte la máquina de una zona de trabajo a otra, eleve totalmente las unidades de corte, desengrane la TDF, pulse el interruptor de segar/transportar a la posición de TRANSPORTE y ponga el acelerador en posición de RáPIDO.
El sistema de contrapeso mantiene una contrapresión hidráulica en los cilindros de elevación de la carcasa. Esta presión mejora la tracción al transferir el peso de la carcasa de corte a las ruedas de tracción de la segadora. La presión de contrapeso se ajusta en fábrica para proporcionar un equilibrio óptimo entre aspecto después del corte y tracción en la mayoría de las condiciones de césped.
Una reducción del ajuste de contrapeso puede producir una mayor estabilidad en la unidad de corte, pero puede reducir la tracción. Un aumento del ajuste de contrapeso puede aumentar la tracción, pero puede dar lugar a problemas con el aspecto después del corte. Consulte las instrucciones del Manual de mantenimiento de la unidad de tracción si desea ajustar la presión de contrapeso.
Important: En situaciones de frenado de emergencia, levante el pie del pedal de tracción y pise los pedales de freno.
En la gama de velocidad baja solamente, puede usar los frenos de forma individual para girar o para mejorar la tracción. Realice lo siguiente al usar los frenos de forma individual:
Desconecte el enganche del bloqueo de los pedales (Figura 4).
Para hacer un giro asistido, pise el pedal de freno correspondiente al lado hacia el cual desea girar. Esto permite realizar giros más cerrados.
Note: Utilice los frenos individuales con cuidado, sobre todo en hierba blanda o húmeda, porque el césped se puede desgarrar de forma accidental.
Para la asistencia en la tracción, pise ligeramente el pedal del freno correspondiente al neumático delantero que esté patinando. Por ejemplo, en ciertas condiciones de pendiente, la rueda que está 'cuesta arriba' resbala y pierde la tracción. Si esto ocurre, pise el pedal de freno de esa rueda de forma gradual e intermitente hasta que la rueda que está ‘cuesta arriba’ deje de resbalar; esta acción aumenta la tracción en la otra rueda.
Con Smart Power, el operador no tiene que escuchar la velocidad del motor en condiciones de mucha carga. El sistema Smart Power evita que el motor se ahogue en condiciones de siega difíciles, al controlar automáticamente la velocidad de la máquina y optimizar el rendimiento de corte.
Note: De forma predeterminada, la función Smart Power está ACTIVADA.
La velocidad del ventilador de la máquina se controla por la temperatura del fluido hidráulico y la temperatura del refrigerante del motor. Cuando el fluido hidráulico o el refrigerante alcanza una temperatura concreta, se inicia automáticamente un ciclo de inversión del ventilador. Este ciclo hace que vuelen los residuos para eliminarlos de la rejilla trasera y baja la temperatura del refrigerante del motor y del fluido hidráulico.
Puede completar un ciclo de inversión manual en el menú de mantenimiento, o pulsando simultáneamente los botones interior derecho e izquierdo desde una PANTALLA DE MARCHA cuando se muestran los iconos de ventilador en el menú contextual. Se recomienda invertir manualmente el ventilador antes de abandonar la zona de trabajo o de entrar en el área de mantenimiento o de almacenamiento.
Note: Cuando su solicitud es reconocida, hay una pantalla temporal (3-4 segundos) que muestra un ventilador dentro de un rectángulo. Esto significa que su solicitud se ha enviado, pero hay ciertas condiciones que impiden que el ventilador se invierta.
La máquina está dotada de ralentí automático que pone el motor automáticamente en ralentí si no se utiliza ninguna de las funciones siguientes durante un periodo de tiempo predeterminado, tal y como se ha establecido antes en el InfoCenter.
El pedal de tracción está en la posición de PUNTO MUERTO.
La TDF está desengranada.
Ninguno de los interruptores de elevación de los brazos está activado.
Si se activa cualquiera de estas funciones, la máquina recupera automáticamente a la posición anterior del acelerador.
El interruptor del control de crucero bloquea la posición del pedal para mantener la velocidad de avance deseada. Presione la parte trasera del mando para desactivar el control de crucero, la parte intermedia para activar el control de crucero y la parte delantera para establecer la velocidad de avance deseada.
Note: Al pisar el pedal de freno o mover el pedal de tracción en la posición de marcha atrás durante un segundo se desactiva el control de crucero.
Important: El sistema de combustible se purga automáticamente si se produce alguna de las situaciones siguientes:
Arranque inicial de una máquina nueva.
El motor se ha parado debido a falta de combustible.
Después de que se haya realizado cualquier operación de mantenimiento en los componentes del sistema de combustible.
Retire el pie del pedal de tracción y asegúrese de que el pedal esté en posición de punto muerto. Asegúrese de que el freno de estacionamiento está puesto.
Ponga el interruptor de velocidad del motor en la posición de RALENTí BAJO.
Gire la llave de contacto a MARCHA.
Note: El indicador de la bujía se enciende.
Cuando se atenúe el indicador de la bujía, gire la llave a ARRANQUE. Suelte la llave inmediatamente cuando el motor arranque y deje que vuelva a MARCHA.
Important: No haga funcionar el motor de arranque durante más de 30 segundos a la vez, o puede producirse un fallo prematuro en el motor de arranque. Si el motor no arranca en 30 segundos, ponga la llave en la posición de DESCONECTADO, compruebe los controles y los procedimientos, espere 30 segundos más y repita el procedimiento de arranque.
Deje que el motor se caliente a velocidad media (sin carga), luego mueva el control del acelerador a la posición deseada.
Important: Deje que el motor funcione en ralentí durante 5 minutos antes de pararlo después de funcionar a carga máxima. El no hacer esto puede causar problemas con el turbo.
Important: Deje que el motor funcione en ralentí durante 5 minutos antes de pararlo después de funcionar a carga máxima. Esto permite que se enfríe el turbo antes de que se apague el motor. El no hacer esto puede causar problemas con el turbo.
Note: Siempre baje las unidades de corte al suelo después de aparcar la máquina. Esto alivia la carga hidráulica del sistema, evita desgastar las piezas del sistema y también impide que se bajen accidentalmente las unidades de corte.
Mueva el control del acelerador hacia atrás a la posición de LENTO.
Mueva el interruptor de la toma de fuerza a la posición de DESENGRANADO.
Accione el freno de estacionamiento.
Gire la llave de contacto a la posición de DESCONECTADO.
Retire la llave de contacto para evitar un arranque accidental.
El interruptor de velocidad del motor permite cambiar la velocidad del motor de dos maneras. Mediante golpecitos rápidos en el interruptor, la velocidad del motor puede ser aumentada o reducida en incrementos de 100 rpm. Si se mantiene presionado el interruptor, el motor pasa automáticamente a ralentí ALTO o BAJO, dependiendo del lado del interruptor que se presione.
Supervisor (menú Protegido)
Esta función permite que el supervisor establezca la velocidad máxima de siega (intervalo bajo), en incrementos de 5% entre el 30% y el 100%.
Operador
Esta función permite al operador ajustar la velocidad
máxima de siega (intervalo bajo), dentro de los límites
establecidos por el supervisor. Pulse el botón central (icono
) de la pantalla principal
o de inicio del InfoCenter para ajustar la velocidad.
Note: Al cambiar entre los intervalos alto y bajo, los ajustes se transfieren basados en el ajuste anterior. Los ajustes se reinician cuando se apaga la máquina.
Note: También puede utilizar esta función con el control de crucero.
Supervisor (menú Protegido)
Esta función permite que el supervisor establezca la velocidad máxima de transporte (intervalo alto), en incrementos de 5% entre el 30% y el 100%.
Consulte en Ajuste de la velocidad máxima de transporte permitida el procedimiento de ajuste de la velocidad de transporte.
Operador
Esta función permite al operador ajustar la velocidad
máxima de transporte (intervalo alto), dentro de los límites
establecidos por el supervisor. Pulse el botón central (icono
) de la pantalla principal
o de inicio del InfoCenter para ajustar la velocidad.
Note: Al cambiar entre los intervalos alto y bajo, los ajustes se transfieren basados en el ajuste anterior. Los ajustes se reinician cuando se apaga la máquina.
Note: Esta función también pueden utilizarse conjuntamente con el control de crucero.
El filtro de partículas diésel (DPF) elimina el hollín del sistema de escape del motor.
El proceso de regeneración del DPF utiliza el calor de los gases de escape del motor, incrementado por el catalizador, para reducir a cenizas el hollín acumulado.
Para mantener limpio el DPF, recuerde lo siguiente:
Haga funcionar el motor a la velocidad máxima del motor cuando sea posible para potenciar la limpieza automática del DPF.
Utilice el aceite de motor correcto.
Minimice el tiempo durante el cual el motor está en ralentí.
Utilice únicamente combustible diésel ultra bajo en azufre.
Utilice y mantenga la máquina teniendo en cuenta la función del DPF. El motor bajo carga produce normalmente una temperatura suficiente en los gases de escape para la regeneración del DPF.
Important: Minimice el tiempo durante el cual el motor está en ralentí o a baja velocidad, para ayudar a reducir la acumulación de hollín en el DPF.
La temperatura de los gases de escape es alta (alrededor de 600 °C durante la regeneración del DPF. El gas de escape caliente puede dañarle a usted o a otras personas.
No ponga en marcha el motor en un lugar cerrado.
Asegúrese de que no haya materiales inflamables alrededor del sistema de escape.
Asegúrese de que los gases de escape calientes no entren en contacto con superficies que podrían ser dañadas por el calor.
No toque ningún componente caliente del sistema de escape.
No se sitúe cerca del tubo de escape de la máquina.
| Icono | Definición del icono |
![]() | • Icono de regeneración estacionaria o de recuperación – regeneración solicitada. |
| • Realice la regeneración inmediatamente. | |
![]() | • Regeneración aceptada; la solicitud se está procesando. |
![]() | • Regeneración en progreso; la temperatura del escape es elevada. |
![]() | • Funcionamiento defectuoso del sistema de control de NOx; la máquina necesita mantenimiento. |
| Tipo de regeneración | Condiciones que producen la regeneración del DPF | Descripción del funcionamiento del DPF |
|---|---|---|
| Regeneración pasiva | Se produce durante el funcionamiento normal de la máquina con velocidad alta o carga alta del motor | • El InfoCenter no muestra ningún icono que indique la regeneración pasiva. |
| • Durante la regeneración pasiva, el DPF procesa los gases de escape a alta temperatura, oxidando las emisiones dañinas y quemando el hollín hasta convertirlo en ceniza. | ||
| Regeneración de asistencia | Se produce por la baja velocidad del motor, la baja carga del motor o después de que el ordenador detecte que el DPF se ha obstruido con hollín | • El InfoCenter no muestra ningún icono que indique la regeneración de asistencia. |
| • Durante la regeneración de asistencia, el ordenador del motor ajusta la configuración del motor para aumentar la temperatura de los gases de escape. | ||
| Regeneración de restablecimiento | Se produce cada 100 horas | • Cuando aparece el icono de alta temperatura
de los gases de escape en el InfoCenter, se encuentra en curso una regeneración. |
| Se produce también si en el uso normal del motor se sobrepasa la acumulación permitida de hollín dentro del filtro. | ||
| • Durante la regeneración de reinicio, la computadora del motor mantiene una velocidad elevada del motor para asegurar la regeneración del filtro. |
| Tipo de regeneración | Condiciones que producen la regeneración del DPF | Descripción del funcionamiento del DPF |
|---|---|---|
| Con la máquina aparcada | Se produce porque la computadora determina que la limpieza automático del DPF no ha sido suficiente. | • Cuando se muestra el icono de
regeneración de reinicio-standby/estacionaria o de recuperación o se solicita una regeneración. |
| También se produce si se inicia una regeneración estacionaria | ||
| Puede ocurrir porque se ha iniciado la inhibición de la regeneración, lo que ha deshabilitado la limpieza automática del DPF | • Realice una regeneración con la máquina aparcada lo antes posible para evitar que sea necesaria una regeneración de recuperación. | |
| Puede producirse por utilizar el combustible o el aceite del motor incorrecto | • Una regeneración con la máquina aparcada tarda en realizarse entre 30 y 60 minutos. | |
| • El depósito debe disponer al menos de ¼ de combustible. | ||
| • Debe aparcar la máquina para realizar una regeneración con la máquina aparcada. | ||
| Regeneración de recuperación | Se produce porque la solicitud de recuperación estacionaria ha sido ignorada, lo que ha permitido una obstrucción crítica del DPF | • Cuando se muestra el icono de regeneración
de reinicio-standby/estacionaria o de recuperación se solicita una regeneración. |
| • Una regeneración de recuperación tarda en realizarse hasta 3 horas. | ||
| • El depósito debe disponer como mínimo de la mitad de capacidad de combustible. | ||
| • Debe aparcar la máquina para realizar la regeneración de recuperación. |
En MAIN MENU (menú principal), vaya a SETTINGS (Ajustes) y pulse el botón Seleccionar.
En SERVICE (Mantenimiento), vaya a DPF REGENERATION (Regeneración del DPF) y pulse el botón Seleccionar.
Seleccione la función de regeneración que necesita.

Vaya al menú DPF REGENERATION (Regeneración del DPF) y desplácese a LAST REGEN (Última regeneración).
Seleccione la opción LAST REGEN (Última regeneración).
Utilice el campo LAST REGEN (Última regeneración) para determinar cuántas horas se ha utilizado la máquina desde la última regeneración de restablecimiento, con la máquina aparcada o de recuperación.
Seleccione el botón Atrás para volver a la pantalla DPF REGENERATION (Regeneración del DPF).

La regeneración de restablecimiento produce una gran cantidad de gases de escape del motor. Si va a utilizar la máquina alrededor de árboles, maleza, hierba alta u otros materiales o plantas sensibles a la temperatura, puede utilizar el ajuste INHIBIT REGEN (Inhibir regeneración) para impedir que la computadora del motor realice una regeneración de reinicio.
Note: La opción INHIBIT REGEN (Inhibir regeneración) se utiliza siempre cuando se realizan operaciones de mantenimiento en la máquina en un lugar cerrado.
Note: Si usted configura el InfoCenter para que inhiba la regeneración, el InfoCenter muestra un aviso cada 15 minutos mientras el motor solicita una regeneración de reinicio.
Important: Al apagar el motor y volver a encenderlo, el ajuste de Inhibit Regen (Inhibir regeneración) se encuentra de forma predeterminada en OFF (Desconectado).
Vaya al menú DPF REGENERATION (Regeneración del DPF), y desplácese hacia abajo a INHIBIT REGEN (Inhibir regeneración).
Seleccione la opción INHIBIT REGEN (Inhibir regeneración).
Cambie Inhibir regeneración de DESACTIVADO a ACTIVADO.
Asegúrese de que la máquina tiene combustible en el depósito para el tipo de regeneración que vaya a realizar:
Regeneración estacionaria: Asegúrese de tener ¼ de depósito de combustible antes de realizar la regeneración estacionaria.
Regeneración de recuperación: Asegúrese de que el depósito dispone de al menos la mitad de combustible.
Lleve la máquina al exterior, a una zona alejada de materiales combustibles o objetos que podrían resultar dañados por el calor.
Aparque la máquina en una superficie nivelada, mueva todos los controles a PUNTO MUERTO, desengrane la TDF y baje las unidades de corte.
Ponga el freno de estacionamiento y deje que el motor alcance la velocidad de ralentí bajo.
Cuando la computadora del motor solicita una regeneración estacionaria, siga los mensajes del InfoCenter.
Important: El ordenador de la máquina cancela la regeneración del DPF si aumenta la velocidad del motor desde el ralentí bajo o se quita el freno de estacionamiento.
Vaya al menú DPF REGENERATION (Regeneración del DPF), desplácese hacia abajo a PARKED REGEN (Regeneración estacionaria) o RECOVERY REGEN (Regeneración de recuperación).
Seleccione PARKED REGEN (Regeneración estacionaria) o RECOVERY REGEN (Regeneración de recuperación).
Note: Para iniciar una regeneración de recuperación tendrá que introducir el código PIN correcto.
En la pantalla REGEN PARAMETERS (parámetros de regeneración), compruebe que tiene ¼ depósito de combustible si va a realizar la regeneración estacionaria, o ½ depósito de combustible si va a realizar la regeneración de recuperación. Compruebe que el freno de estacionamiento está puesto y que la velocidad del motor está en ralentí bajo. Pulse el botón Seleccionar para continuar.
En la pantalla INITIATE DPF REGEN (Iniciar regeneración de DPF), pulse el botón Siguiente para continuar.
El InfoCenter muestra el mensaje INITIATE DPF REGEN (Iniciar regeneración del DPF).
Note: Si es necesario, pulse el icono Cancelar para cancelar el proceso de regeneración.
El InfoCenter muestra el mensaje con el tiempo necesario para completar la regeneración.
El InfoCenter muestra la pantalla de inicio y aparece
el icono de Regeneración aceptada
.
Note: Mientras se ejecuta la regeneración del DPF, el InfoCenter
muestra el icono de temperatura alta de los gases de escape
.
Cuando la computadora del motor finaliza una regeneración estacionaria o de recuperación, el InfoCenter muestra un aviso. Pulse cualquier botón para salir de la pantalla de inicio.
Note: Si la regeneración no se completa, siga el aviso, y pulse cualquier tecla para salir a la pantalla de Inicio.
Utilice PARKED REGEN CANCEL (Cancelar regeneración estacionaria) o RECOVERY REGEN CANCEL (Cancelar regeneración de recuperación) para cancelar un proceso activo de regeneración estacionaria o de recuperación.
Vaya al menú DPF REGENERATION (Regeneración del DPF), y vaya a PARKED REGEN (Regeneración estacionaria) o RECOVERY REGEN (Regeneración de recuperación).
Pulse el botón Seleccionar para cancelar una Regeneración estacionaria o una Regeneración de recuperación.

Cambie los patrones de siega a menudo para minimizar los problemas de acabado por segar repetidamente en un solo sentido.
Consulte la Guía de solución de problemas con el aspecto después del corte disponible en www.Toro.com.
Para empezar a cortar, engrane las unidades de corte, y acérquese lentamente a la zona de siega.
Para lograr un corte en línea recta y un rayado profesional, deseable para algunas aplicaciones, busque un árbol u otro objeto distante y conduzca directamente hacia él.
En cuanto las unidades de corte delanteras lleguen al borde de la zona de siega, gire en forma de lágrima para alinearse rápidamente para la siguiente pasada.
Se encuentran disponibles deflectores de mulching instalados con pernos para las unidades de corte. Los deflectores funcionan bien cuando el césped se siega regularmente, evitando cortar más de 25 mm de hierba en cada sesión de corte. Cuando se corta una cantidad excesiva de hierba con los deflectores de mulching instalados, el aspecto después del corte puede deteriorarse y se necesita más potencia para cortar la hierba. Los deflectores de mulching también funcionan bien cuando se trata de picar hojas en el otoño.
Corte no más de aproximadamente 25 mm, o no más de un tercio, de la hoja de hierba. Si la hierba es excepcionalmente densa y frondosa, es posible que tenga que elevar la altura de corte.
Una cuchilla afilada corta limpiamente sin desgarrar o picar las hojas de hierba, que es lo que haría una cuchilla sin filo. Si se rasgan o se deshilachan, los bordes de las hojas se secarán, se retardará su crecimiento y se favorecerá la aparición de enfermedades. Asegúrese de que la cuchilla está en buen estado y de que la vela está completa.
Asegúrese de que las cámaras de corte se encuentran en buen estado. Enderece cualquier componente de la cámara que esté doblado para asegurar un espacio correcto entre las puntas de la cuchilla y la cámara.
Después de segar, lave a fondo la máquina con una manguera de jardín sin boquilla para evitar la contaminación y los daños en las juntas y los cojinetes por la presión excesiva del agua. Asegúrese de que el radiador y el enfriador de aceite se mantengan libres de suciedad y recortes de hierba. Después de limpiar la máquina, compruebe que no hay fugas de fluido hidráulico, o daños o desgaste en los componentes mecánicos e hidráulicos y compruebe que las cuchillas de las unidades de corte están afiladas.
Apague el motor, retire la llave y espere a que se detenga todo movimiento antes de dejar el puesto del operador. Deje que la máquina se enfríe antes de realizar ajustes, tareas de mantenimiento y de limpieza o de guardarla.
Para ayudar a prevenir incendios, asegúrese de que las unidades de corte, las transmisiones, los silenciadores, las rejillas de refrigeración y el compartimento del motor están libres de acumulaciones de hierba y residuos. Limpie cualquier aceite o combustible derramado.
Si las unidades de corte están en la posición de transporte, utilice el bloqueo mecánico positivo (si está disponible) antes de dejar la máquina desatendida.
Espere a que se enfríe el motor antes de guardar la máquina en un recinto cerrado.
Retire la llave y cierre el combustible (si está equipado) antes de guardar o transportar la máquina.
No guarde nunca la máquina o un recipiente de combustible cerca de una llama desnuda, chispa o llama piloto, por ejemplo en un calentador de agua u otro electrodoméstico.
Realice el mantenimiento de los cinturones y límpielos cuando sea necesario
En caso de emergencia, la máquina puede desplazarse hacia delante accionando la válvula de desvío de la bomba hidráulica de desplazamiento variable y empujando o remolcando la máquina.
Important: No empuje ni remolque la máquina a más de 3 a 4,8 km/h. Si empuja o remolca a una velocidad superior, pueden producirse daños en el sistema de transmisión interno.Las válvulas de alivio debe estar abiertas antes de empujar o remolcar la máquina.
Levante el asiento y localice las válvulas de desvío, que están situadas debajo de la parte delantera del depósito de combustible (Figura 40).

Gire cada válvula 3 vueltas en sentido antihorario para abrirla y dejar pasar el fluido internamente.
Note: No las abra más de 3 vueltas. Puesto que el fluido se desvía, la máquina se puede mover lentamente sin dañar la transmisión.
Empuje o remolque la máquina.
Termine de empujar o remolcar la máquina y cierre las válvulas de desvío. Apriete la válvula a 70 N·m.
Important: Asegúrese de que la válvula de desvío está cerrada antes de arrancar el motor. Si se hace funcionar el motor con una válvula de desvío abierta, se sobrecalentará la transmisión.
Important: Si es necesario empujar o remolcar la máquina en marcha atrás, desactive la válvula auxiliar del colector de transmisión a cuatro ruedas.Para desactivar la válvula auxiliar, conecte un conjunto de manguera al punto de prueba de presión de tracción en marcha atrás (situado en el hidrostato) y al punto situado entre los puntos M8 y P2 del colector de tracción trasera (situado detrás del neumático delantero). El conjunto de manguera incluye 1 manguera (Pieza Nº 95-8843), 2 acoplamientos (Pieza Nº 95-0985) y 2 acoplamientos hidráulicos (Pieza Nº 340-77).
Los gatos mecánicos o hidráulicos pueden no aguantar el peso de la máquina y dar lugar a lesiones graves.
Utilice soportes fijos para apoyar la máquina.
No utilice gatos hidráulicos.
Existen puntos de apoyo para gatos en la parte delantera y en la parte trasera de la máquina.
En el bastidor, en el interior de cada rueda motriz delantera.
En el centro del eje trasero
Retire la llave y cierre el combustible (si está equipado) antes de guardar o transportar la máquina.
Tenga cuidado al cargar o descargar la máquina en/desde un remolque o un camión.
Utilice rampas de ancho completo para cargar la máquina en un remolque o un camión.
Amarre la máquina firmemente.
Existen puntos de amarre en las partes delantera y trasera de la máquina (Figura 41).
Note: Utilice correas con homologación DOT de las características apropiadas en las cuatro esquinas para amarrar la máquina.
2 en la parte delantera de la plataforma del operador
Parachoques trasero

Note: Los lados derecho e izquierdo de la máquina se determinan desde la posición normal del operador.
Important: Consulte los procedimientos adicionales de mantenimiento del manual del propietario del motor.
Note: Para descargar una copia gratuita del esquema eléctrico o hidráulico, visite www.toro.com y busque su máquina en el enlace Manuales de la página de inicio.
Important: Si está realizando tareas de mantenimiento en la máquina y hace funcionar el motor con un conducto de extracción de los gases de escape, establezca el ajuste de inhibición de la regeneración en ON (Activado); consulte Ajuste de la inhibición de la regeneración.
Antes de dejar el puesto del operador, realice lo siguiente:
Aparque la máquina en una superficie nivelada.
Desengrane la toma de fuerza y baje los accesorios.
Accione el freno de estacionamiento.
Apague el motor y retire la llave.
Espere a que se detenga todo movimiento.
Lleve ropa adecuada, incluyendo protección ocular, pantalón largo y calzado resistente y antideslizante. Mantenga las manos, los pies, las joyas y el pelo largo alejados de las piezas en movimiento.
Si deja la llave en el interruptor, alguien podría arrancar el motor accidentalmente y causar lesiones graves a usted o a otras personas. Retire la llave del interruptor antes de realizar cualquier operación de mantenimiento.
Deje que los componentes de la máquina se enfríen antes de realizar el mantenimiento.
Si las unidades de corte están en la posición de transporte, utilice el bloqueo mecánico positivo (si está disponible) antes de dejar la máquina desatendida.
Si es posible, no realice tareas de mantenimiento con el motor en marcha. Manténgase alejado de las piezas en movimiento.
Accione el motor únicamente en áreas bien ventiladas. Los gases de escape contienen monóxido de carbono, que resulta letal si se inhala.
Apoye la máquina con caballetes siempre que trabaje debajo de la máquina.
Alivie con cuidado la tensión de aquellos componentes que tengan energía almacenada.
Mantenga todas las piezas en buen estado de funcionamiento y todos los herrajes bien apretados, sobre todo los accesorios de las cuchillas.
Sustituya cualquier calcomanía desgastada o deteriorada.
Para garantizar un rendimiento seguro y óptimo de la máquina, utilice únicamente piezas de repuesto genuinas Toro. Las piezas de repuesto de otros fabricantes podrían ser peligrosas y su uso podría invalidar la garantía del producto.
| Intervalo de mantenimiento y servicio | Procedimiento de mantenimiento |
|---|---|
| Después de la primera hora |
|
| Después de las primeras 10 horas |
|
| Después de las primeras 50 horas |
|
| Después de las primeras 200 horas |
|
| Cada vez que se utilice o diariamente |
|
| Cada 25 horas |
|
| Cada 50 horas |
|
| Cada 100 horas |
|
| Cada 200 horas |
|
| Cada 250 horas |
|
| Cada 400 horas |
|
| Cada 500 horas |
|
| Cada 800 horas |
|
| Cada 1000 horas |
|
| Cada 2000 horas |
|
| Cada 3000 horas |
|
| Antes del almacenamiento |
|
| Cada 2 años |
|
Si deja la llave en el interruptor de encendido, alguien podría arrancar el motor accidentalmente y causar lesiones graves a usted o a otras personas.
Retire la llave de contacto antes de realizar cualquier operación de mantenimiento.
Duplique esta página para su uso rutinario.
| Elemento a comprobar | Para la semana de: | ||||||
|---|---|---|---|---|---|---|---|
| Lunes | Martes | Miércoles | Jueves | Viernes | Sábado | Domingo | |
| Compruebe el funcionamiento de los interruptores de seguridad. | |||||||
| Compruebe el funcionamiento de los frenos. | |||||||
| Compruebe el nivel de aceite del motor. | |||||||
| Compruebe el nivel de fluido del sistema de refrigeración. | |||||||
| Drene el separador de agua/combustible. | |||||||
| Compruebe el filtro de aire, la tapa del filtro y la válvula de alivio | |||||||
| Compruebe que no hay ruidos extraños en el motor.1 | |||||||
| Compruebe que el radiador y la rejilla están libres de residuos | |||||||
| Compruebe que no hay ruidos extraños de operación. | |||||||
| Compruebe el nivel de fluido hidráulico. | |||||||
| Compruebe que las mangueras hidráulicas no están dañadas. | |||||||
| Compruebe que no hay fugas de fluidos. | |||||||
| Compruebe el nivel de combustible. | |||||||
| Compruebe la presión de los neumáticos. | |||||||
| Compruebe la operación de los instrumentos. | |||||||
| Compruebe el ajuste de altura de corte. | |||||||
| Lubrique todos los engrasadores.2 | |||||||
| Limpie la máquina. | |||||||
| Retoque la pintura dañada. | |||||||
|
1Compruebe la bujía y las boquillas de los inyectores en caso de dificultad para arrancar, exceso de humo o funcionamiento irregular. 2Inmediatamente después de cada lavado, aunque no corresponda a los intervalos citados. |
|||||||
Important: Consulte en el Manual del operador del motor procedimientos adicionales de mantenimiento.
| Inspección realizada por: | ||
| Elemento | Fecha | Información |
Cierre la ventanilla trasera de la cabina (Figura 42).

Abra los 2 cierres situados en las esquinas inferiores delanteras del capó (Figura 43).


Usando los tiradores situados junto a los cierres, levante el capó y muévalo hacia atrás hasta que las 2 varillas queden enganchadas en los soportes (Figura 43).
Desenganche y levante el capó.
Retire el pasador que fija el pivote del capó a los soportes (Figura 44).

Deslice el capó hacia la derecha, levante el otro lado y tire para liberarlo de los soportes.
Note: Para volver a colocar el capó, siga este procedimiento en orden inverso.
| Intervalo de mantenimiento y servicio | Procedimiento de mantenimiento |
|---|---|
| Cada 50 horas |
|
La máquina tiene engrasadores que deben ser lubricados regularmente con grasa de litio Nº 2. Además, engrase la máquina inmediatamente después de cada lavado.
Los puntos de engrase y las cantidades necesarias son:
Cojinetes del eje de pivote del pedal de freno (2) (Figura 45)
Casquillos de los pivotes de los ejes delantero y trasero (2) (Figura 46).
Rótulas de los cilindros de dirección (2) (Figura 47)
Rótulas de las barras de acoplamiento (2) (Figura 47)
2 casquillos de los pivotes de dirección (Figura 47).
Note: Lubrique únicamente el engrasador superior del pivote de dirección una vez al año (2 aplicaciones).



Note: Puede ser necesario elevar la unidad de corte para exponer los puntos de engrase del pivote del enganche y del acoplamiento inferior.
Pivotes de enganche (2) (Figura 49)
Note: Puede ser necesario abrir manualmente los cierres para tener acceso a los engrasadores (Figura 48). Utilice una palanca para cerrar y abrir el enganche.
2 casquillos del eje de la horquilla de la rueda giratoria (Figura 50)
Cojinetes de eje (3) (situados debajo de la polea) (Figura 51).
Casquillos del pivote del brazo tensor (2) (Figura 51)




El cilindro de elevación de las carcasas de 4 aletas (Figura 54)

Casquillo del eje de la horquilla de la rueda giratoria (1) (Figura 55)
Cojinetes del eje de la cuchilla – situados debajo de la polea (2 en cada lado)
Casquillo del pivote del brazo tensor – situado en el brazo tensor (1)

Apague el motor y retire la llave antes de comprobar el aceite o añadir aceite al cárter.
No cambie la velocidad del regulador ni haga funcionar el motor a una velocidad excesiva.
Utilice aceite de motor de alta calidad y bajo contenido en ceniza que cumpla o supere las especificaciones siguientes:
Categoría de servicio API CJ-4 o superior
Categoría de servicio ACEA E6
Categoría de servicio JASO DH-2
Important: El uso de un aceite del motor que no sea API CJ-4 o superior, ACEA E6 o JASO DH-2 puede hacer que el filtro de partículas diésel se obstruya o que se produzcan daños en el motor.
Utilice el siguiente grado de viscosidad de aceite del motor:
Aceite preferido: SAE 15W-40 (por encima de los -18 °C) °C)
Aceite alternativo: SAE 10W-30 o 5W-30 (todas las temperaturas)
Su distribuidor autorizado Toro dispone de aceite para motores Toro Premium, de viscosidad 15W-40 o 10W-30. Consulte los números de pieza en el Catálogo de piezas.
| Intervalo de mantenimiento y servicio | Procedimiento de mantenimiento |
|---|---|
| Cada vez que se utilice o diariamente |
|
El motor se suministra con aceite en el cárter; no obstante, debe comprobarse el nivel de aceite antes y después de arrancar el motor por primera vez.
Important: Compruebe el aceite del motor cada día. Si el nivel del aceite está en o por debajo de la marca Lleno de la varilla, el aceite del motor puede diluirse con combustible;Si el nivel del aceite está por encima de la marca Lleno de la varilla, cambie el aceite del motor.
El mejor momento para comprobar el aceite del motor es cuando el motor está frío, antes de arrancarlo al principio de la jornada. Si ya se ha arrancado, deje que el aceite se drene al cárter durante al menos 10 minutos antes de comprobar el nivel. Si el nivel del aceite está en o por debajo de la marca “Add” (Añadir) de la varilla, añada aceite hasta que el nivel llegue a la marca “Full” (Lleno).No llene el motor con demasiado aceite.
Important: Mantenga el nivel del aceite del motor entre los límites superior e inferior en el indicador de la varilla; el motor puede fallar si se acciona con aceite insuficiente o en exceso.
Compruebe el nivel de aceite del motor; consulte Figura 56.

Note: Cuando cambie a un aceite diferente, drene todo el aceite antiguo del cárter antes de añadir aceite nuevo.
Aproximadamente 5,7 litros con el filtro.
| Intervalo de mantenimiento y servicio | Procedimiento de mantenimiento |
|---|---|
| Cada 500 horas |
|
Arranque el motor y déjelo funcionar durante unos cinco minutos para que el aceite se caliente.
Con la máquina aparcada sobre una superficie nivelada, apague el motor, retire la llave y espere a que se detengan todas las piezas en movimiento antes de abandonar el puesto del operador.
Cambie el aceite del motor y el filtro (Figura 57).

Añada aceite al cárter.
Ajuste el temporizador de mantenimiento previsto en el InfoCenter; consulte Ajuste del temporizador de mantenimiento programado.
| Intervalo de mantenimiento y servicio | Procedimiento de mantenimiento |
|---|---|
| Cada vez que se utilice o diariamente |
|
| Cada 50 horas |
|
| Cada 400 horas |
|
Inspeccione la carcasa del limpiador de aire en busca de daños que pudieran causar una fuga de aire. Cámbielo si está dañado. Compruebe todo el sistema de admisión en busca de fugas, daños o abrazaderas sueltas.
Revise el filtro del limpiador de aire únicamente cuando el indicador de mantenimiento lo requiera (Figura 58). El cambiar el filtro antes de que sea necesario sólo aumenta la posibilidad de que entre suciedad en el motor al retirar el filtro.

Important: Asegúrese de que la tapa está bien asentada y que hace un buen sello con la carcasa del limpiador de aire.
Cambie el limpiador de aire (Figura 59).

Note: No limpie el elemento usado porque podría dañar el medio filtrante.
Important: No intente nunca limpiar el filtro de seguridad (Figura 60). Sustituya el filtro de seguridad después de cada tres revisiones del filtro primario.

Reinicie el indicador (Figura 58) si se ve rojo.
| Intervalo de mantenimiento y servicio | Procedimiento de mantenimiento |
|---|---|
| Cada 3000 horas |
|
Si se muestran los fallos (comprobar motor spn 3251 fmi 0), (comprobar motor spn 3720 fmi 0) o (comprobar motor spn 3720 fmi 16) en el InfoCenter (Figura 61), limpie el filtro de hollín siguiendo los pasos indicados a continuación:



Consulte la sección sobre Motor en el Manual de mantenimiento para obtener información sobre el montaje y el desmontaje del catalizador de oxidación diésel y el filtro de hollín del DPF.
Consulte a su distribuidor autorizado Toro si desea más información sobre el mantenimiento o las piezas de sustitución del catalizador de oxidación diésel o el filtro de hollín.
Póngase en contacto con su distribuidor autorizado Toro para que restablezcan la UCE del motor después de instalar un DPF limpio.
| Intervalo de mantenimiento y servicio | Procedimiento de mantenimiento |
|---|---|
| Cada 1000 horas |
|
| Antes del almacenamiento |
|
Además del intervalo de mantenimiento indicado, drene y limpie el depósito si se contamina el sistema de combustible o si va a almacenar la máquina durante un periodo de tiempo prolongado. Utilice combustible limpio para enjuagar el depósito.
| Intervalo de mantenimiento y servicio | Procedimiento de mantenimiento |
|---|---|
| Cada 400 horas |
|
Compruebe que los tubos de combustible no están deteriorados o dañados, y que las conexiones no están sueltas.
| Intervalo de mantenimiento y servicio | Procedimiento de mantenimiento |
|---|---|
| Cada vez que se utilice o diariamente |
|
| Cada 400 horas |
|
Realice el mantenimiento del separador de agua, según se muestra en Figura 62.
Después de cambiar el separador de agua, gire la llave a CONECTADO durante 10 segundos, pero no arranque el motor. Gire la llave a desconectado y repita esto 2 veces más.

| Intervalo de mantenimiento y servicio | Procedimiento de mantenimiento |
|---|---|
| Cada 400 horas |
|
Limpie la zona alrededor de la cabeza del filtro de combustible (Figura 63).

Retire el filtro y limpie la superficie de montaje de la cabeza del filtro (Figura 63).
Lubrique la junta del filtro con aceite de motor limpio; consulte el manual del usuario del motor si necesita más información.
Instale el cartucho filtrante seco a mano hasta que la junta entre en contacto con el cabezal del filtro, luego gírelo media vuelta más.
Cebe el sistema de combustible para purgar el aire; consulte Cebado del sistema de combustible.
Cebe el sistema de combustible antes de arrancar el motor por primera vez, después de haberse quedado sin combustible o tras realizar tareas de mantenimiento en el sistema de combustible (por ejemplo, drenaje del filtro/separador de agua, sustitución de una manguera de combustible).
Para cebar el sistema de combustible, realice los siguientes procedimientos:
Asegúrese de que hay combustible en el depósito.
Siga estos pasos para cebar el filtro y las líneas hasta la bomba de alta presión para evitar desgate o daños en la bomba:
Gire la llave de contacto a la posición de CONECTADO entre 15 y 20 segundos.
Gire la llave de contacto a la posición de DESCONECTADO entre 30 y 40 segundos.
Note: De este modo, la ECU puede apagarse.
Gire la llave de contacto a la posición de CONECTADO entre 15 y 20 segundos.
Compruebe que no hay fugas alrededor del filtro y las mangueras.
Important: No utilice el sistema de arranque del motor para hacer girar el motor con el fin de cebar el sistema de combustible.
Desconecte la batería antes de reparar la máquina. Desconecte primero el terminal negativo y luego el positivo. Conecte primero el terminal positivo y luego el negativo.
Cargue la batería en una zona abierta y bien ventilada, lejos de chispas y llamas. Desenchufe el cargador antes de conectar o desconectar la batería. Lleve ropa protectora y utilice herramientas aisladas.
| Intervalo de mantenimiento y servicio | Procedimiento de mantenimiento |
|---|---|
| Cada 25 horas |
|
| Cada 50 horas |
|
Important: Antes de efectuar soldaduras en la máquina, desconecte el cable negativo de la batería para evitar daños al sistema eléctrico.
Note: Mantenga limpios los bornes y toda la carcasa de la batería, porque una batería sucia se descargará lentamente. Para limpiar la batería, lave toda la carcasa con una solución de bicarbonato y agua. Enjuague con agua clara. Aplique una capa de grasa Grafo 112X (Nº de Pieza Toro 505-47) o de vaselina a los conectores de los cables y a los bornes de la batería para evitar la corrosión.
Abra la tapa de la batería, situada en el lado de la cubierta (Figura 64).
Note: Presione hacia abajo sobre la superficie plana situada encima de la tapa de la batería para facilitar la apertura de la tapa (Figura 64).


Retire la cubierta de goma del borne positivo e inspeccione la batería.
Los bornes de la batería o una herramienta metálica podrían hacer cortocircuito si entran en contacto con los componentes metálicos, causando chispas. Las chispas podrían hacer explotar los gases de la batería, causando lesiones personales.
Al retirar o colocar la batería, no deje que los bornes toquen ninguna parte metálica de la máquina.
No deje que las herramientas metálicas hagan cortocircuito entre los bornes de la batería y las partes metálicas de la máquina.
Un enrutado incorrecto de los cables de la batería podría dañar la máquina y los cables, causando chispas. Las chispas podrían hacer explotar los gases de la batería, causando lesiones personales.
Desconecte siempre el cable negativo (negro) de la batería antes de desconectar el cable positivo (rojo).
Conecte siempre el cable positivo (rojo) de la batería antes de conectar el cable negativo (negro).
Aplique una capa de grasa Grafo 112X (Pieza Toro N.º 505-47), de vaselina o de grasa ligera a ambas conexiones de la batería para evitar la corrosión.
Deslice la cubierta de goma sobre el borne positivo.
Cierre la tapa de la batería.
Los fusibles de la unidad de tracción están situados debajo de la tapa del panel eléctrico (Figura 66, Figura 67 y Figura 68).
Retire los 2 tornillos que sujetan la tapa del panel eléctrico al bastidor, y retire la tapa (Figura 66).



Los fusibles de la cabina están situados en la caja de fusibles del techo de la cabina (Figura 69 y Figura 70).
Note: Modelo con cabina solamente


| Intervalo de mantenimiento y servicio | Procedimiento de mantenimiento |
|---|---|
| Cada 400 horas |
|
Utilice lubricante para engranajes SAE 85W-140 de alta calidad.
Con la máquina en una superficie nivelada, coloque la rueda con un tapón de verificación en la posición de las 12 y el otro en la posición de las 3 (Figura 72).

Retire el tapón de la posición de las 3 (Figura 72).
Note: El aceite debe llegar a la parte inferior del orificio del tapón de verificación.
Si el nivel de aceite es bajo, retire el tapón de la posición de las 12 y añada aceite hasta que empiece a salir del orificio en la posición de las 3.
Coloque ambos tapones.
| Intervalo de mantenimiento y servicio | Procedimiento de mantenimiento |
|---|---|
| Después de las primeras 50 horas |
|
| Cada 800 horas |
|
Utilice un lubricante para engranajes SAE 85W-140 de alta calidad.
Con la máquina en una superficie nivelada, coloque una rueda de manera que uno de los tapones de verificación esté en la posición más baja (posición de las 6) (Figura 73).

Coloque un recipiente debajo del cubo planetario, retire el tapón y deje que se drene el aceite.
Coloque un recipiente debajo del alojamiento del freno, retire el tapón y deje que se drene el aceite (Figura 74).

Cuando el aceite se haya drenado completamente de ambos lugares, instale el tapón en el alojamiento del freno.
Gire la rueda hasta que el orificio abierto del planetario esté en la posición de las doce.
Por el orificio abierto, llene lentamente la transmisión planetaria con 0,65 litros de lubricante para engranajes SAE 85W-140 de alta calidad.
Important: Si se llena la transmisión planetaria antes de haber agregado 0,65 litros de aceite, espere una hora o instale el tapón y desplace la máquina unos 3 metros para distribuir el aceite por la sistema de frenado. Luego, retire el tapón y añada el aceite restante.
Vuelva a colocar el tapón.
Repita este procedimiento en el otro conjunto de engranaje planetario/freno.
| Intervalo de mantenimiento y servicio | Procedimiento de mantenimiento |
|---|---|
| Cada 400 horas |
|
El eje trasero está lleno de lubricante para engranajes SAE 85W-140. Compruebe el nivel de lubricante antes de arrancar el motor por primera vez y cuando se recomiende. La capacidad es de 2,4 litros. Compruebe diariamente que no existen fugas.
Coloque la máquina en una superficie nivelada.
Retire un tapón de verificación del extremo del eje y asegúrese de que el lubricante llega al borde inferior del orificio (Figura 75).
Note: Si el nivel es bajo, retire el tapón de llenado y añada suficiente lubricante para que el nivel llegue al borde inferior de los orificios de los tapones de verificación.

| Intervalo de mantenimiento y servicio | Procedimiento de mantenimiento |
|---|---|
| Cada 400 horas |
|
La caja de engranajes está llena de lubricante para engranajes SAE 85W-140. La capacidad es de 0,5 litros. Compruebe diariamente que no existen fugas.
Coloque la máquina en una superficie nivelada.
Retire el tapón de verificación/llenado del lado izquierdo de la caja de engranajes y asegúrese de que el lubricante llega al borde inferior del orificio (Figura 76).
Note: Si el nivel es bajo, añada suficiente lubricante para que el nivel llegue al borde inferior del orificio.

| Intervalo de mantenimiento y servicio | Procedimiento de mantenimiento |
|---|---|
| Después de las primeras 200 horas |
|
| Cada 800 horas |
|
Coloque la máquina en una superficie nivelada.
Limpie la zona alrededor de los tres tapones de vaciado, uno en cada extremo y uno en el centro (Figura 77).
Retire los tapones de verificación para facilitar el vaciado del aceite.
Retire el tapón de vaciado y deje fluir el aceite a los recipientes.

Limpie la zona alrededor del tapón de vaciado en la parte inferior de la caja de engranajes (Figura 78).
Retire el tapón de vaciado de la caja de engranajes y deje fluir el aceite en un recipiente.
Note: Retire el tapón de llenado para facilitar el vaciado del aceite.

Añada suficiente aceite para que el nivel llegue al borde inferior de los orificios del tapón de verificación; consulte Cambio del lubricante del eje trasero y Comprobación del lubricante de la caja de engranajes del eje trasero.
Coloque los tapones.
| Intervalo de mantenimiento y servicio | Procedimiento de mantenimiento |
|---|---|
| Cada 800 horas |
|
Mida la distancia entre centros (a la altura del eje) en la parte delantera y trasera de los neumáticos de dirección.
Note: La distancia delantera debe ser de 6 mm menos que la trasera.
Para ajustar, afloje las abrazaderas en ambos extremos de las bielas.
Gire el extremo de la barra de acoplamiento para mover la parte delantera del neumático hacia dentro o hacia fuera.
Apriete las abrazaderas de las barras de acoplamiento cuando el ajuste sea correcto.
Baje las unidades de corte laterales al suelo.
Eleve la parte delantera de la máquina varios centímetros del suelo y apóyela sobre soportes fijos.
Consulte Giro (inclinación) de la unidad de corte central en posición vertical.
Gire la carcasa de corte hacia adelante para poder retirar el neumático.
La ingestión del refrigerante del motor puede causar envenenamiento; manténgalo fuera del alcance de niños y animales domésticos.
Una descarga de refrigerante caliente bajo presión, o cualquier contacto con el radiador caliente y los componentes que lo rodean, puede causar quemaduras graves.
Siempre deje que el motor se enfríe durante al menos 15 minutos antes de retirar el tapón del radiador.
Utilice un trapo al abrir el tapón del radiador y ábralo lentamente para permitir la salida del vapor.
No haga funcionar la máquina sin que las cubiertas estén colocadas.
Mantenga los dedos, las manos y las prendas de vestir alejados del ventilador y de la correa de transmisión en movimiento.
El depósito de refrigerante se llena en fábrica con una solución al 50 % de agua y refrigerante de etilenglicol de larga duración.
Important: Utilice solamente refrigerantes comerciales que cumplan las especificaciones relacionadas en la Tabla de estándares de refrigerantes de larga vida.No utilice refrigerante IAT (tecnología de ácido inorgánico) convencional (verde) en su máquina. No mezcle refrigerante convencional con refrigerante de larga vida.
|
Tipo de refrigerante de etilenglicol |
Tipo de inhibidor de corrosión |
|
Anticongelante de larga duración |
Tecnología de ácido orgánico (OAT) |
|
Important: No confíe en el color del refrigerante para identificar la diferencia entre refrigerante IAT (tecnología de ácido inorgánico) convencional (verde) y refrigerante de larga vida.Los fabricantes de refrigerante pueden teñir los refrigerantes de larga duración con uno de los siguientes colores: rojo, rosa, naranja, amarillo, azul, verde azulado, violeta o verde. Utilice refrigerante que cumpla las especificaciones de la Tabla de estándares de refrigerantes de larga vida. |
|
|
ATSM International |
SAE International |
|
D3306 y D4985 |
J1034, J814, y 1941 |
Important: La concentración del refrigerante debe ser una mezcla al 50% de refrigerante y agua.
Preferencia: Al hacer la mezcla a partir de un refrigerante concentrado, mézclelo con agua destilada.
Alternativa a la preferencia: Si no se dispone de agua destilada, utilice un refrigerante premezclado en lugar de un concentrado.
Requisito mínimo: Si no dispone de agua destilada ni tampoco de refrigerante premezclado, mezcle refrigerante concentrado con agua potable limpia.
| Intervalo de mantenimiento y servicio | Procedimiento de mantenimiento |
|---|---|
| Cada vez que se utilice o diariamente |
|
Compruebe el nivel de refrigerante al principio de cada jornada de trabajo. La capacidad del sistema es de 8,5 litros.
Los ventiladores y las correas de transmisión, al girar, pueden causar lesiones personales.
No utilice la máquina sin los protectores instalados.
Mantenga los dedos, las manos y las prendas de vestir alejados del ventilador y de la correa de transmisión en movimiento.
Pare el motor y retire la llave antes de realizar cualquier tarea de mantenimiento.
Retire cuidadosamente el tapón del radiador y el tapón del depósito de expansión (Figura 79).
Compruebe el nivel de refrigerante del radiador.
Note: El radiador debe llenarse hasta la parte superior del cuello de llenado, y el depósito de expansión debe llenarse hasta la marca Lleno.

Si el nivel de refrigerante es bajo, añada una solución al 50% de agua y anticongelante de etilenglicol.
Important: No use agua sola o refrigerantes a base de alcohol/metanol, porque pueden causar daños.
Instale el tapón del radiador y el tapón del depósito de expansión.
| Intervalo de mantenimiento y servicio | Procedimiento de mantenimiento |
|---|---|
| Cada 100 horas |
|
| Cada 2 años |
|
Limpie cualquier suciedad del radiador/enfriador de aceite cada día. Limpie con más frecuencia en condiciones de mucho polvo o suciedad.
La máquina está equipada con un sistema de ventilador hidráulico que invierte su dirección automática o manualmente para reducir la acumulación de residuos en el radiador/enfriador de aceite y la rejilla. Aunque este sistema puede reducir el tiempo necesario para limpiar el radiador/enfriador de aceite, no elimina la necesidad de limpieza rutinaria. Todavía es necesario limpiar e inspeccionar periódicamente el radiador y el enfriador de aceite.
Apague el motor, retire la llave y levante el capó.
Limpie a fondo la zona del motor, retirando todos los residuos.
Limpie a fondo ambos lados de la zona del radiador/enfriador de aceite con aire comprimido (Figura 80).
Note: Empezando en la parte del ventilador, sople los residuos hacia la parte trasera. Luego, limpie desde atrás, soplando los residuos hacia adelante. Repita este procedimiento varias veces hasta eliminar todos los residuos.
Important: Si se limpia el radiador/enfriador de aceite con agua, pueden producirse una corrosión prematura y daños en los componentes.

Cierre el capó.
Ajuste los frenos de servicio si el pedal de freno tiene más de 25 mm de holgura, o si los frenos no funcionan eficazmente. La holgura es la distancia que recorre el pedal de freno antes de notarse una resistencia de frenado.
Desenganche el bloqueo de los pedales de freno para que ambos pedales funcionen de forma independiente.
Para reducir la holgura de los pedales de freno, apriete los frenos como se indica a continuación:
Afloje la tuerca delantera del extremo roscado del cable de freno (Figura 81).

Apriete la tuerca trasera para mover el cable hacia atrás hasta que los pedales de freno tengan una holgura de 13 mm a 25 mm.
Apriete las tuercas delanteras una vez que los frenos estén ajustados correctamente.
| Intervalo de mantenimiento y servicio | Procedimiento de mantenimiento |
|---|---|
| Después de las primeras 10 horas |
|
| Cada 100 horas |
|
Una tensión correcta de la correa permite una desviación de 10 mm al aplicar una fuerza de 44 N a la correa en el punto intermedio entre las poleas.
Si la desviación no es de 10 mm, afloje los pernos de montaje del alternador (Figura 82).
Note: Aumente o reduzca la tensión de la correa del alternador y apriete los pernos. Verifique de nuevo la desviación de la correa para asegurarse de que la tensión es la correcta.

| Intervalo de mantenimiento y servicio | Procedimiento de mantenimiento |
|---|---|
| Después de las primeras 10 horas |
|
| Cada 100 horas |
|
Modelo con cabina solamente
Compruebe la condición y la tensión de la correa (Figura 82) cada 100 horas de operación.
Una tensión correcta permite una desviación de 10 mm al aplicar una fuerza de 44 N a la correa, en el punto intermedio entre las poleas.
Si la desviación no es de 10 mm, afloje el perno de montaje de la polea tensora (Figura 82). Aumente o reduzca la tensión de la correa del compresor y apriete el perno. Verifique de nuevo la desviación de la correa para asegurarse de que la tensión es la correcta.
| Intervalo de mantenimiento y servicio | Procedimiento de mantenimiento |
|---|---|
| Después de las primeras 10 horas |
|
| Cada 50 horas |
|
Cuando está correctamente tensado, la longitud en el interior del muelle de extensión (entre ganchos) debe ser de 8,3 cm a 9,5 cm aproximadamente. Una vez que haya obtenido la tensión correcta del muelle, ajuste el perno de tope (perno de cuello cuadrado) hasta que quede aproximadamente 2–5 mm de holgura entre la cabeza del perno y el brazo tensor (Figura 83).
Note: Asegúrese de que la correa está colocada en el lado del muelle de la guía de la correa (Figura 83).

| Intervalo de mantenimiento y servicio | Procedimiento de mantenimiento |
|---|---|
| Cada 800 horas |
|
La correa de transmisión de las cuchillas, tensada por la polea tensora a resorte, es muy resistente. No obstante, después de muchas horas de uso la correa mostrará señales de desgaste. Estas señales de desgaste incluyen chirridos cuando la correa está en movimiento, que las cuchillas resbalan durante la siega, los bordes deshilachados, quemaduras y grietas. Cambie la correa si existe cualquiera de estas condiciones.
Baje la carcasa de corte al suelo del taller, retire las cubiertas de las correas de la parte superior de la carcasa de corte y aparte las cubiertas.
Afloje el perno de ojal (Figura 83).
Afloje la tuerca con arandela prensada que fija el perno de tope a la pestaña de montaje, y aparte la polea tensora de la correa (Figura 83).
Note: Desenrosque la tuerca lo suficiente para permitir que el brazo tensor pase por el perno de tope.
Note: Si es necesario desmontar el perno de tope de la pestaña de montaje, instálelo en un taladro que permita que la cabeza del perno de tope quede alineada con el brazo tensor.
Retire los pernos que sujetan el motor hidráulico a la carcasa de corte (Figura 84).

Retire el motor de la carcasa de corte y póngalo encima de la carcasa.
Retire la correa gastada de las poleas de los ejes de las cuchillas y de la polea tensora.
Pase la correa nueva alrededor de las poleas de los ejes y del conjunto de la polea tensora.
Vuelva a colocar el motor hidráulico en la carcasa de corte después de colocar la correa en las poleas. Monte el motor en la carcasa de corte con los pernos que retiró anteriormente.
Note: Asegúrese de que la correa está colocada en el lado del muelle de la guía de la correa (Figura 83).
Conecte el muelle de extensión (Figura 83) al perno de ojal y tense la correa de la siguiente manera:
Cuando está correctamente tensado, la longitud en el interior del muelle de extensión (entre ganchos) debe ser de 8,3 cm a 9,5 cm aproximadamente.
Una vez que haya obtenido la tensión correcta del muelle, ajuste el perno de tope (perno de cuello cuadrado) hasta que quede aproximadamente 2–5 mm de holgura entre la cabeza del perno y el brazo tensor.
Busque atención médica inmediatamente si el fluido penetra en la piel. Un médico deberá eliminar quirúrgicamente el fluido inyectado en pocas horas.
Asegúrese de que todas las mangueras y líneas de fluido hidráulicos están en buenas condiciones de uso, y que todos los acoplamientos y conexiones hidráulicos están apretados, antes de aplicar presión al sistema hidráulico.
Mantenga el cuerpo y las manos alejados de fugas pequeñas o boquillas que liberan fluido hidráulico a alta presión.
Utilice un cartón o un papel para buscar fugas hidráulicas.
Alivie de manera segura toda presión en el sistema hidráulico antes de realizar trabajo alguno en el sistema hidráulico.
El depósito se llena en la fábrica con fluido hidráulico de alta calidad. Compruebe el nivel del fluido hidráulico antes de arrancar el motor por primera vez y luego a diario; consulte Cómo cambiar el fluido hidráulico.
Fluido hidráulico recomendado: fluido hidráulico Toro PX Extended Life, disponible en recipientes de 19 litros o en bidones de 208 litros.
Note: Una máquina que utilice el fluido de recambio recomendado necesita menos cambios de filtro y de fluido.
Fluidos hidráulicos alternativos: si no se encuentra disponible el fluido hidráulico Toro PX Extended Life, puede utilizar otro fluido hidráulico convencional basado en petróleo cuyas especificaciones referentes a todas las propiedades materiales estén dentro de los intervalos relacionados a continuación y que cumpla las normas industriales. No utilice fluidos sintéticos. Consulte a su distribuidor de lubricantes para identificar un producto satisfactorio.
Note: Toro no asume responsabilidad alguna por daños causados por sustituciones no adecuadas, por lo que debe utilizar solamente productos de fabricantes reputados que respalden sus recomendaciones.
| Propiedades de materiales: | ||
| Viscosidad, ASTM D445 | cSt a 40 °C 44 a 48 | |
| Índice de viscosidad ASTM D2270 | 140 o más | |
| Punto de descongelación, ASTM D97 | -37 °C a -45 °C | |
| Especificaciones industriales: | Eaton Vickers 694 (I-286-S, M-2950-S/35VQ25 o M-2952-S) | |
Note: La mayoría de los fluidos hidráulicos son casi incoloros, por lo que es difícil detectar fugas. Está disponible un aditivo de tinte rojo para el fluido hidráulico, en botellas de 20 ml. Una botella es suficiente para 15 a 22 litros de fluido hidráulico. Solicite el N.º de pieza 44-2500 a su distribuidor autorizado Toro.
Important: El fluido hidráulico biodegradable Toro Premium Synthetic es el único fluido sintético biodegradable homologado por Toro. Este fluido es compatible con los elastómeros usados en los sistemas hidráulicos Toro, y es apropiado para un amplio intervalo de temperaturas. Este fluido es compatible con aceites minerales convencionales, pero para obtener la máxima biodegradabilidad y rendimiento es necesario purgar el sistema hidráulico completamente de fluido convencional. Su distribuidor Toro autorizado dispone de este aceite en recipientes de 19 litros o en bidones de 208 litros.
| Intervalo de mantenimiento y servicio | Procedimiento de mantenimiento |
|---|---|
| Cada vez que se utilice o diariamente |
|
Coloque la máquina en una superficie nivelada, baje las unidades de corte, apague el motor y retire la llave del interruptor de encendido.
Compruebe el nivel de fluido hidráulico (Figura 85).

| Intervalo de mantenimiento y servicio | Procedimiento de mantenimiento |
|---|---|
| Cada 800 horas |
|
| Cada 2000 horas |
|
| Cada 2 años |
|
Si el fluido hidráulico se contamina, debe purgarse el sistema hidráulico. El fluido contaminado tiene un aspecto lechoso o negro en comparación con el fluido limpio. Póngase en contacto con su distribuidor autorizado Toro para obtener asistencia.
Aparque la máquina en una superficie nivelada, baje las unidades de corte, apague el motor y retire la llave.
Retire el tapón de vaciado de la parte inferior delantera del depósito y deje fluir el fluido hidráulico en un recipiente grande.
Instale y apriete el tapón cuando el fluido hidráulico se haya drenado.
Llene el depósito (Figura 86) con fluido hidráulico; consulte Mantenimiento del sistema hidráulico.
Important: Utilice solamente los fluidos hidráulicos especificados. Otros fluidos causan daños en el sistema.

Instale el tapón del depósito, arranque el motor y utilice todos los controles hidráulicos para distribuir el fluido hidráulico por todo el sistema.
Note: Compruebe que no hay fugas; luego apague el motor.
Verifique el nivel de fluido y añada suficiente para que el nivel llegue a la marca LLENO de la varilla.
Note: No llene demasiado.
| Intervalo de mantenimiento y servicio | Procedimiento de mantenimiento |
|---|---|
| Cada 800 horas |
|
| Cada 1000 horas |
|
Utilice los siguientes filtros de recambio Toro:
Pieza Nº 94-2621 para la parte trasera (unidad de corte) de la máquina
Pieza N.º 75-1310 para la parte delantera (carga) de la máquina
Important: El uso de cualquier otro filtro puede anular la garantía de algunos componentes.
Coloque la máquina en una superficie nivelada, baje las unidades de corte, ponga los frenos de estacionamiento, apague el motor y retire la llave del interruptor.
Cambie los filtros hidráulicos (Figura 87).

Arranque el motor y déjelo funcionar durante unos 2 minutos para purgar el aire del sistema; luego apague el motor y compruebe que no hay fugas.
| Intervalo de mantenimiento y servicio | Procedimiento de mantenimiento |
|---|---|
| Cada 2 años |
|
Las fugas de fluido hidráulico bajo presión pueden penetrar en la piel y causar lesiones.
Busque ayuda médica inmediatamente si el fluido penetra en la piel.
Asegúrese de que todas las mangueras y líneas de fluido hidráulico están en buenas condiciones de uso, y que todos los acoplamientos y conexiones hidráulicos están apretados, antes de aplicar presión al sistema hidráulico.
Mantenga el cuerpo y las manos alejados de fugas pequeñas o boquillas que liberan fluido hidráulico a alta presión.
Utilice un cartón o un papel para buscar fugas hidráulicas.
Alivie de manera segura toda presión en el sistema hidráulico antes de realizar trabajo alguno en el sistema hidráulico.
Inspeccione a diario las líneas y mangueras hidráulicas para comprobar que no tienen fugas, que no están dobladas, que los soportes no están sueltos, y que no hay desgaste, elementos sueltos, o deterioro causado por agentes ambientales o químicos. Haga todas las reparaciones necesarias antes de utilizar la máquina.
El punto de prueba de contrapeso se utiliza para probar la presión del circuito de contrapeso (Figura 88). La presión de contrapeso recomendada es de 22,41 bar. Para ajustar la presión de contrapeso, afloje la contratuerca, gire el tornillo de fijación (Figura 88) en sentido horario para aumentar la presión, o en sentido antihorario para reducir la presión, y apriete la contratuerca. Para comprobar la presión, el motor debe estar en marcha y la carcasa bajada y en la posición de flotación.
Note: Las ruedas giratorias de las tres unidades de corte deben permanecer en el suelo mientras se ajusta el contrapeso y con el contrapeso aplicado.

Note: Aunque no es necesario, puede girar (inclinar) la unidad de corte central.
Eleve la unidad de corte central un poco del suelo, accione el freno de estacionamiento, apague el motor y retire la llave.
Retire el pasador de horquilla que fija los amortiguadores a los brazos de elevación (Figura 89).

Gire el amortiguador hacia la carcasa.
Retire el pasador de horquilla y la chaveta que fijan las cadenas de ajuste de la altura de corte a la parte trasera de la unidad de corte (Figura 90).

Arranque el motor y eleve lentamente la unidad de corte central.
Eleve lentamente cada unidad de corte lateral hasta que el centro de gravedad cambie y la carcasa empiece a girar a la posición vertical.
Apague el motor y retire la llave de contacto.
Baje lentamente las unidades de corte laterales hasta que el centro de gravedad cambie y la unidad de corte central gire hacia abajo.
Siéntese en el asiento, arranque el motor y baje lentamente la unidad de corte central hasta que casi toque el suelo.
Pare el motor, espere a que se detengan todas las piezas en movimiento y retire la llave.
Fije las cadenas de altura de corte a la parte trasera de la unidad de corte.
Gire los amortiguadores hacia arriba a su posición y fíjelos con pasador y chaveta.
La inclinación longitudinal de la carcasa de corte es la diferencia de altura de corte entre el borde delantero del plano de la cuchilla y el borde trasero del plano de la cuchilla. Utilice una inclinación de las cuchillas de 8–11 mm. Es decir, la parte trasera del plano de la cuchilla está entre 8 y 11 mm más alta que la parte delantera.
Coloque la máquina en una superficie nivelada en el suelo del taller.
Ajuste la unidad de corte a la altura de corte deseada.
Gire una cuchilla hasta que apunte hacia adelante.
Usando una regla corta, mida desde el suelo hasta la punta delantera de la cuchilla.
Gire el extremo de la cuchilla hacia atrás, y mida desde el suelo hasta el extremo de la cuchilla.
Reste la dimensión delantera a la dimensión trasera para calcular la inclinación de la cuchilla.
Afloje las contratuercas de la parte superior o inferior del perno en U de la cadena de altura de corte (Figura 91).
Ajuste el otro juego de tuercas para elevar o bajar la parte trasera de la carcasa de corte y obtener la inclinación correcta de la misma.
Apriete las contratuercas.

Retire los tornillos de caperuza y las tuercas que fijan el brazo de las ruedas giratorias a la horquilla de la rueda (Figura 92).
Coloque los suplementos, según sea necesario, para elevar o bajar la rueda giratoria y obtener la inclinación correcta de la unidad de corte.
Instale los tornillos de caperuza y las tuercas.

Los brazos de las ruedas giratorias tienen casquillos colocados a presión en las partes superior e inferior del tubo, que se desgastarán después de muchas horas de uso. Para comprobar los casquillos, mueva la horquilla hacia adelante y hacia atrás, y de un lado a otro. Si el eje tiene holgura dentro de los casquillos, cambie los casquillos.
Eleve la unidad de corte hasta las ruedas queden levantadas del suelo y apóyela sobre bloques para que no pueda caerse.
Retire el casquillo tensor, el/los suplemento(s) y la arandela de empuje de la parte superior del husillo de la rueda giratoria.
Retire el husillo del tubo de montaje.
Note: Deje la arandela de empuje y el/los suplemento(s) en la parte inferior del husillo.
Inserte un botador fino en la parte superior o inferior del tubo de montaje y dé golpes hasta que salga el casquillo del tubo (Figura 93).

Extraiga el otro casquillo del tubo.
Limpie el interior de los tubos para eliminar toda suciedad.
Aplique grasa al interior y al exterior de los casquillos nuevos.
Usando un martillo y una chapa plana, coloque los casquillos nuevos en el tubo de montaje.
Inspeccione el husillo para ver si está desgastado, y cámbielo si está dañado.
Inserte el husillo de la rueda giratoria por los casquillos y el tubo de montaje.
Coloque la arandela de empuje y el/los espaciador(es) en el eje e instale el casquillo tensor en el eje para retener todas las piezas.
| Intervalo de mantenimiento y servicio | Procedimiento de mantenimiento |
|---|---|
| Cada 800 horas |
|
Retire la contratuerca del perno que sujeta el conjunto de la rueda giratoria entre la horquilla (Figura 94) o al brazo de pivote (Figura 95).
Note: Sujete la rueda giratoria y retire el perno de la horquilla o del brazo de pivote.


Retire el cojinete de la rueda y deje que se caiga el suplemento del cojinete (Figura 94 y Figura 95).
Retire el cojinete del otro lado de la rueda.
Compruebe el desgaste de los cojinetes, el espaciador y el interior de la rueda y cambie cualquier pieza que estuviera dañada.
Para ensamblar la rueda giratoria, coloque el cojinete en el cubo de la rueda.
Note: Al instalar los cojinetes, presione sobre la cara exterior del cojinete.
Coloque el otro suplemento del cojinete en el cubo de la rueda y coloque el otro cojinete en la parte abierta del cubo de la rueda para fijar el suplemento dentro del cubo.
Instale el conjunto de la rueda giratoria entre la horquilla y fíjelo con el perno y la contratuerca.
La cubierta de la bisagra impide que se escapen residuos entre las unidades de corte en la ubicación de las bisagras. Si alguna cubierta llega a dañarse o desgastarse, es necesario cambiarla.

Inspeccione periódicamente las cuchillas, para asegurarse de que no están desgastadas ni dañadas.
Tenga cuidado al comprobar las cuchillas. Envuelva las cuchillas o lleve guantes, y extreme las precauciones al manejar las cuchillas. Las cuchillas únicamente pueden ser cambiadas o afiladas; no las enderece ni las suelde nunca.
En máquinas con múltiples cuchillas, tenga cuidado puesto que girar una cuchilla puede hacer que giren otras cuchillas.
Después de golpear un objeto extraño, inspeccione la máquina y repare cualquier daño antes de arrancar y utilizar el equipo. Apriete las tuercas de las poleas de los ejes a entre 176 y 203 N·m.
Coloque la máquina en una superficie nivelada, eleve la unidad de corte, accione el freno de estacionamiento, ponga el pedal de tracción en PUNTO MUERTO, asegúrese de que el mando de la TDF está en la posición de DESENGRANADO, pare el motor y retire la llave de contacto.
Note: Bloquee la unidad de corte para evitar que se caiga accidentalmente.
Gire la cuchilla hasta que los extremos estén orientados hacia adelante y hacia atrás, y mida desde el interior de la unidad de corte al filo de corte en la parte delantera de la cuchilla (Figura 97).
Note: Anote esta dimensión.

Gire el otro extremo de la cuchilla hacia adelante, y mida entre la unidad de corte y el filo de corte de la cuchilla, en la misma posición que en el paso 2.
Note: La diferencia entre las dimensiones obtenidas en los pasos 2 y 3 no debe superar los 3 mm. Si esta dimensión es superior a 3 mm, la cuchilla está doblada y debe ser cambiada; consulte Retirada e instalación de las cuchillas de la unidad de corte.
Cambie la cuchilla si ha golpeado un objeto sólido, si está desequilibrada o si está doblada. Utilice siempre piezas de repuesto genuinas de Toro para garantizar la seguridad y un rendimiento óptimo.
Aparque la máquina en una superficie nivelada, eleve la unidad de corte a la posición de transporte, accione el freno de estacionamiento, apague el motor y retire la llave.
Note: Bloquee la unidad de corte para evitar que se caiga accidentalmente.
Sujete el extremo de la cuchilla usando un paño o un guante grueso.
Retire del eje de la cuchilla el perno de la cuchilla, el protector de césped y la cuchilla (Figura 98).

Instale la cuchilla, el protector de césped y el perno de la cuchilla, y apriete el perno a 115–149 N·m.
Important: La parte curva de la cuchilla debe apuntar hacia el interior de la unidad de corte para asegurar un corte correcto.
Note: Después de golpear un objeto extraño, apriete todas las tuercas de las poleas de los ejes de las cuchillas a entre 115 y 149 N·m.
Tanto el filo de corte como la vela, la parte inclinada hacia arriba frente al filo de corte, contribuyen a una buena calidad de corte.
Mantenga las cuchillas afiladas durante la estación de corte. Con unas cuchillas afiladas se obtiene un corte limpio de la hierba sin rasgar o deshilachar las hojas.
Inspeccione las cuchillas en busca de desgaste o daños. La vela levanta y endereza la hoja de hierba para producir un corte uniforme, y con el uso se va desgastando.
Aparque la máquina en una superficie nivelada, eleve la unidad de corte, accione el freno de estacionamiento, ponga el pedal de tracción en PUNTO MUERTO, ponga el mando de la TDF en la posición de DESENGRANADO, apague el motor y retire la llave del interruptor de encendido.
Examine cuidadosamente los extremos de corte de la cuchilla, sobre todo en el punto de reunión entre la parte plana y la parte curva de la cuchilla (Figura 99).
Note: Puesto que la arena y cualquier material abrasivo pueden desgastar el metal que conecta las partes curva y plana de la cuchilla, compruebe la cuchilla antes de utilizar la segadora. Si se aprecia desgaste (Figura 99), cambie la cuchilla.

Inspeccione los filos de corte de todas las cuchillas, y afílelos si están romos o tienen mellas (Figura 100).
Note: Afile únicamente la parte superior del filo y mantenga el ángulo de corte original para asegurar un filo correcto (Figura 100). La cuchilla permanece equilibrada si se retira la misma cantidad de material de ambos filos de corte.

Note: Retire las cuchillas y afílelas con una muela. Después de afilar los filos de corte, instale la cuchilla con el protector de césped y el perno de la cuchilla; consulte Retirada e instalación de las cuchillas de la unidad de corte.
Si hay desajustes entre las cuchillas de una sola unidad de corte, la hierba tendrá un aspecto rayado después de la siega. Este problema se puede corregir asegurándose de que las cuchillas están rectas.
Aparque la máquina en una superficie nivelada.
Eleve la altura de corte a la posición más alta; consulte Ajuste de la altura de corte.
Baje la unidad de corte sobre la superficie plana y retire las cubiertas de la parte superior de la unidad de corte.
Afloje la tuerca con arandela prensada que sujeta la polea tensora, para aliviar la tensión de la correa.
Gire las cuchillas hasta que los extremos estén orientados hacia adelante y hacia atrás, y mida desde el suelo hasta el extremo delantero del filo de corte. Anote esta dimensión.
Gire la misma cuchilla de manera que el otro extremo apunte hacia adelante, y mida de nuevo. La diferencia entre las dimensiones no debe superar los 3 mm. Si la dimensión supera los 3 mm, cambie la cuchilla, porque está doblada. Mida todas las cuchillas.
Compare las medidas de las cuchillas exteriores con las de la cuchilla central.
Note: La cuchilla central no debe estar más de 10 mm más baja que las cuchillas exteriores. Si la cuchilla central está más de 10 mm más baja que las cuchillas exteriores, vaya al paso 8 y añada suplementos entre el alojamiento del eje y la parte inferior de la unidad de corte.
Retire los pernos, las arandelas planas, las arandelas de freno y las tuercas del eje exterior en la zona donde debe añadir los suplementos.
Note: Para elevar o bajar la cuchilla, añada un suplemento (Pieza Nº 3256-24) entre el alojamiento del eje y la parte inferior de la unidad de corte. Siga comprobando la alineación de las cuchillas y añada suplementos hasta que los extremos de las cuchillas den las dimensiones requeridas.
Important: No utilice más de tres suplementos en un solo taladro. Utilice un número decreciente de suplementos en taladros adyacentes si se añade más de un suplemento a un taladro determinado.
Ajuste la polea tensora e instale las cubiertas de las correas.
Important: Tenga cuidado alrededor de las juntas y las luces de la cabina (Figura 101). Si está utilizando un lavador a presión, mantenga la vara al menos a 0,6 m de distancia de la máquina. No utilice un lavador a presión directamente sobre las juntas y las luces de la cabina o bajo el voladizo trasero.

| Intervalo de mantenimiento y servicio | Procedimiento de mantenimiento |
|---|---|
| Cada 250 horas |
|
Retire los tornillos y las rejillas que cubren el filtro interior y el trasero de la cabina (Figura 102 y Figura 103).


Limpie los filtros con aire comprimido limpio y libre de aceite.
Important: Si cualquiera de los dos filtros está agujereado, desgarrado o tiene otros desperfectos, cámbielo.
Instale los filtros y la rejilla con los tornillos.
El propósito del prefiltro de la cabina es evitar que entren residuos grandes como hierba y hojas en los filtros de la cabina.
Baje la tapa de la rejilla.
Limpie el filtro con agua.
Note: No utilice un sistema de lavado a presión.
Important: Si el filtro está agujereado, desgarrado o tiene otros desperfectos, cámbielo.
Deje que el prefiltro se seque antes de instalarlo en la máquina.
Gire la rejilla del filtro sobre las pestañas hasta que el resbalón se bloquee en el cerradero (Figura 104).

| Intervalo de mantenimiento y servicio | Procedimiento de mantenimiento |
|---|---|
| Cada 250 horas |
|
Apague el motor y retire la llave.
Retire las 6 tuercas y arandelas de la parte inferior de la parte trasera de la cabina (Figura 105).

Retire el techo de la cabina tras quitar los 22 pernos que lo sujetan (Figura 106).

Retire los filtros de aire (Figura 106).
Retire y limpie los serpentines del aire acondicionado (Figura 106).
Vuelva a colocar los serpentines del aire acondicionado, los filtros de aire y el techo de la cabina.
Apague el motor, retire la llave y espere a que se detenga todo movimiento antes de dejar el puesto del operador. Deje que la máquina se enfríe antes de realizar ajustes, tareas de mantenimiento y de limpieza o de guardarla.
No guarde la máquina o un recipiente de combustible en un lugar donde pudiera haber una llama desnuda, chispas o una llama piloto, por ejemplo en un calentador de agua u otro electrodoméstico.
Important: No utilice agua reciclada o salada para limpiar la máquina.
Limpie a fondo la unidad de tracción, las unidades de corte y el motor.
Compruebe la presión de los neumáticos. Infle todos los neumáticos de la unidad de tracción a 0,83–1,03 bar.
Compruebe que todos los herrajes están bien apretados; apriételos si es necesario.
Engrase todos los engrasadores y de pivote. Limpie cualquier exceso de lubricante.
Lije suavemente y aplique pintura de retoque a cualquier zona pintada que esté rayada, desconchada u oxidada. Repare cualquier desperfecto de la carrocería.
Preparación de la batería y los cables:
Retire los terminales de los bornes de la batería.
Note: Desconecte primero el terminal negativo y luego el positivo. Conecte primero el terminal positivo y luego el negativo.
Limpie la batería, los terminales y los bornes con un cepillo de alambre y una solución de bicarbonato.
Aplique una capa de grasa Grafo 112X (Pieza Nº 505-47) o de vaselina a los terminales de los cables y a los bornes de la batería para evitar la corrosión.
Recargue la batería lentamente durante 24 horas cada 60 días para evitar el sulfatado de plomo de la batería.
Vacíe el aceite de motor del cárter y vuelva a colocar el tapón de vaciado.
Retire y deseche el filtro de aceite. Instale un filtro de aceite nuevo.
Vuelva a llenar el cárter con la cantidad estipulada de aceite de motor.
Gire la llave en el interruptor hasta la posición de CONECTADO, arranque el motor y déjelo funcionar a velocidad de ralentí durante aproximadamente 2 minutos.
Gire la llave en el interruptor hasta la posición de DESCONECTADO.
Vacíe completamente todo el combustible del depósito, de los tubos y del filtro de combustible/separador de agua.
Enjuague el depósito de combustible con combustible diésel limpio y nuevo.
Apriete todos los elementos del sistema de combustible.
Realice una limpieza y un mantenimiento completos del conjunto del limpiador de aire.
Selle la entrada del limpiador de aire y la salida del tubo de escape con cinta impermeabilizante.
Compruebe la protección anticongelante y rellene en caso de necesidad según la temperatura mínima prevista en su región.