| Périodicité d'entretien | Procédure d'entretien |
|---|---|
| À chaque utilisation ou une fois par jour |
|
Cette machine est une tondeuse multi-usage prévue pour les utilisateurs professionnels employés à des applications professionnelles. Elle est principalement conçue pour tondre les pelouses régulièrement entretenues dans les parcs, les terrains de golf, les terrains de sports et les espaces verts commerciaux. L'utilisation de ce produit à d'autres fins que celle prévue peut être dangereuse pour vous-même et toute personne à proximité.
Lisez attentivement cette notice pour apprendre comment utiliser et entretenir correctement votre produit, et éviter ainsi de l'endommager ou de vous blesser. Vous êtes responsable de l'utilisation sûre et correcte du produit.
Rendez-vous sur www.Toro.com pour tout document de formation à la sécurité et à l'utilisation des produits, pour tout renseignement concernant un produit ou un accessoire, pour obtenir l'adresse des concessionnaires ou pour enregistrer votre produit.
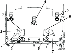
Pour obtenir des prestations de service, des pièces d'origine Toro ou des renseignements complémentaires, munissez-vous des numéros de modèle et de série du produit et contactez un concessionnaire-réparateur agréé ou le service client Toro. La Figure 1 indique l'emplacement des numéros de modèle et de série sur le produit. Inscrivez les numéros dans l'espace réservé à cet effet.
Important: Avec votre appareil mobile, vous pouvez scanner le QR code sur l'autocollant du numéro de série (le cas échéant) pour accéder aux informations sur la garantie, les pièces détachées et autres renseignements concernant le produit.

Le symbole de sécurité (Figure 2) utilisé dans ce manuel et sur la machine identifie d'importants messages de sécurité dont vous devez tenir compte pour éviter des accidents.

Le symbole de sécurité apparaît au-dessus de toute information signalant des actions ou des situations dangereuses. Il est suivi de la mention DANGER, ATTENTION ou PRUDENCE.
DANGER signale un danger immédiat qui, s'il n'est pas évité, entraînera obligatoirement des blessures graves ou mortelles.
ATTENTION signale un danger potentiel qui, s'il n'est pas évité, risque d'entraîner des blessures graves ou mortelles.
PRUDENCE signale un danger potentiel qui, s'il n'est pas évité, peut éventuellement entraîner des blessures légères ou modérées.
Ce manuel utilise également deux autres termes pour faire passer des informations essentielles : Important pour attirer l'attention sur des informations d'ordre mécanique spécifiques et Remarque pour souligner des informations d'ordre général méritant une attention particulière.
Ce produit est conforme à toutes les directives européennes pertinentes. Pour plus de renseignements, reportez-vous à la Déclaration de conformité spécifique du produit fournie séparément.
Vous commettez une infraction à la section 4442 ou 4443 du Code des ressources publiques de Californie si vous utilisez cette machine dans une zone boisée, broussailleuse ou recouverte d'herbe à moins d'équiper le moteur d'un pare-étincelles, tel que défini à la section 4442, maintenu en bon état de marche, ou à moins de construire, équiper et entretenir le moteur de manière à prévenir les incendies.
Le manuel du propriétaire du moteur ci-joint est fourni à titre informatif concernant la réglementation de l'Agence américaine pour la protection de l'environnement (EPA) et la réglementation antipollution de l'état de Californie relative aux systèmes antipollution, à leur entretien et à leur garantie. Vous pouvez vous en procurer un nouvel exemplaire en vous adressant au constructeur du moteur.
Si cette machine est équipée d'un système télématique, demandez conseil à votre distributeur Toro agréé pour savoir comment l'activer.
CALIFORNIE
Proposition 65 - Avertissement
L'état de Californie considère les gaz d'échappement des moteurs diesel et certains de leurs composants comme susceptibles de provoquer des cancers, des malformations congénitales et autres troubles de la reproduction.
Les bornes de la batterie et accessoires connexes contiennent du plomb et des composés de plomb. L'état de Californie considère ces substances chimiques comme susceptibles de provoquer des cancers et des troubles de la reproduction. Lavez-vous les mains après avoir manipulé la batterie.
L'utilisation de ce produit peut entraîner une exposition à des substances chimiques considérées pas l'état de Californie comme capables de provoquer des cancers, des anomalies congénitales ou d'autres troubles de la reproduction.
Ce produit peut sectionner les mains ou les pieds et projeter des objets. Respectez toujours toutes les consignes de sécurité pour éviter des blessures graves.
Vous devez lire et comprendre le contenu de ce Manuel de l'utilisateur avant de démarrer le moteur.
Accordez toute votre attention à l'utilisation de la machine. Ne faites rien d’autre qui puisse vous distraire, au risque de causer des dommages corporels ou matériels.
N'utilisez pas la machine s'il manque des capots ou d'autres dispositifs de protection, ou s'ils sont défectueux.
N'approchez jamais les mains ou les pieds des pièces rotatives. Ne vous tenez pas devant l'ouverture d'éjection.
N'admettez personne, notamment les enfants, dans le périmètre de travail. N'autorisez jamais les enfants à utiliser la machine.
Avant de quitter la position d'utilisation, coupez le moteur, enlevez la clé et attendez l'arrêt complet de tout mouvement. Laissez refroidir la machine avant de la régler, d'en faire l'entretien, de la nettoyer ou de la remiser.
L'usage ou l'entretien incorrect de cette machine
peut occasionner des accidents. Pour réduire les risques d'accidents
et de blessures, respectez les consignes de sécurité
qui suivent. Tenez toujours compte des mises en garde signalées
par le symbole de sécurité (
) et la mention Prudence,
Attention ou Danger. Le non respect de ces instructions peut entraîner
des blessures graves ou mortelles.
![]() |
Des autocollants de sécurité et des instructions bien visibles par l'utilisateur sont placés près de tous les endroits potentiellement dangereux. Remplacez tout autocollant endommagé ou manquant. |




































Note: Les côtés gauche et droit de la machine sont déterminés d'après la position d'utilisation normale.
Graissez la machine avant de l'utiliser ; voir Lubrification.
Important: Si vous ne graissez pas la machine correctement, des pannes prématurées de pièces importantes se produiront.
Contrôlez la pression des pneus ; voir Contrôle de la pression des pneus.
Important: Tous les pneus doivent être gonflés à la pression correcte pour garantir de bons résultats et de bonnes performances. Veillez à toujours utiliser une pression de gonflage suffisante.
Contrôlez le niveau d'huile moteur ; voir Contrôle du niveau d'huile moteur.
Contrôlez le niveau de liquide hydraulique ; voir Contrôle du niveau de liquide hydraulique.
Contrôlez le circuit de refroidissement ; voir Contrôle du circuit de refroidissement.
Contrôlez le niveau d'huile du train planétaire ; Contrôle du niveau d'huile du train planétaire.
Contrôlez le niveau de lubrifiant du pont arrière ; Contrôle du niveau de lubrifiant du pont arrière.
Contrôlez le niveau de lubrifiant du boîtier d'engrenages du pont arrière ; Contrôle du niveau de lubrifiant du boîtier d'engrenages du pont arrière.
Pièces nécessaires pour cette opération:
| Autocollant de l'année de production | 1 |
Sur les machines devant satisfaire à la norme CE, apposez l'autocollant de l'année de production inclus dans les pièces détachées et le kit CE, vendu séparément (Figure 3).

Note: Les côtés gauche et droit de la machine sont déterminés d'après la position d'utilisation normale.
Avant de mettre le moteur en marche et d'utiliser la machine, familiarisez-vous avec toutes les commandes.

Pour immobiliser la machine, relâchez la pédale de déplacement jusqu'à ce qu'elle revienne à la position NEUTRE (Figure 4).
Deux pédales au pied commandent les freins de roues individuels pour faciliter le braquage, le stationnement et l'adhérence sur les flancs des pentes. Un système de verrouillage relie les pédales entre elles pour serrer le frein de stationnement et pour le transport (Figure 4).
Le verrou de blocage relie les pédales entre elles pour serrer le frein de stationnement (Figure 4).
Abaissez le levier de réglage d'inclinaison pour régler le volant à la position voulue ; relâchez ensuite le levier pour bloquer le réglage (Figure 4).
Pour serrer le frein de stationnement, reliez les 2 pédales de frein ensemble à l'aide du verrou de blocage situé derrière les patins des pédales, puis poussez le verrou du frein de stationnement vers le bas tout en appuyant sur les pédales de frein (Figure 4). Pour desserrer le frein de stationnement, appuyez sur les pédales de frein ; le verrou va alors se débloquer ce qui permettra aux pédales de se désengager. Vérifiez que les pédales sont complètement rétractées après avoir desserré le frein de stationnement.
Le commutateur d'allumage (Figure 5) a 3 positions : ARRêT, CONTACT/PRéCHAUFFAGE et DéMARRAGE.

La commande de régime moteur (Figure 5) a 2 positions permettant de modifier le régime moteur. Appuyez brièvement sur la commande pour augmenter ou réduire le régime moteur de 100 tr/min à la fois. Maintenez la commande enfoncée pour sélectionner automatiquement le haut régime ou le bas régime, selon le côté sur lequel vous appuyez.
La commande de PDF a 2 positions : SORTIE (DéMARRAGE) et RENTRéE (ARRêT). Tirez sur le bouton de PDF pour engager les lames des plateaux de coupe. Appuyez sur le bouton pour désengager les lames des plateaux de coupe (Figure 5).
Ce sélecteur permet d'augmenter la gamme de vitesse pour le transport de la machine (Figure 5).
Les plateaux de coupe ne fonctionnent pas en gamme haute. Pour alterner entre les gammes HAUTE et BASSE, levez les plateaux de coupe, désengagez la PDF et le régulateur de vitesse, relâchez la pédale de déplacement en position NEUTRE et conduisez la machine à vitesse réduite.
Ces commandes permettent de lever et d'abaisser les unités de coupe (Figure 5). Appuyez sur le haut des commandes pour baisser les unités de coupe et sur le bas pour les lever. Quand vous démarrez la machine, avec les unités de coupe abaissées, appuyez sur la commande de levage pour permettre aux unités de coupe de flotter et de tondre.
Note: Les unités de coupe ne s'abaissent pas quand la gamme haute est sélectionnée, et elles ne se s'élèvent ou ne s'abaissent pas si vous quittez le siège alors que le moteur est en marche. D'autre part, les unités de coupe s'abaissent lorsque la clé est en position CONTACT et que vous êtes assis sur le siège.
La commande du régulateur de vitesse bloque la position de la pédale pour maintenir la vitesse de déplacement voulue (Figure 6). Appuyez sur l'arrière de la commande pour désactiver le régulateur de vitesse. Placez la commande à la position centrale pour activer le régulateur de vitesse et appuyez sur l'avant pour régler la vitesse de déplacement voulue.
Note: Vous pouvez aussi débloquer la pédale en enfonçant une des pédales de frein ou en plaçant la pédale de déplacement en position MARCHE ARRIèRE pendant 1 seconde.

Utilisez la prise de courant pour alimenter les accessoires électriques en option (Figure 6).
Déplacez le levier de réglage situé sur le côté du siège vers l'extérieur, faites coulisser le siège à la position voulue, puis relâchez le levier pour bloquer le siège en position (Figure 7).

Tournez le bouton pour régler l'angle de l'accoudoir (Figure 7).
Déplacez le levier pour ajuster l'angle du dossier (Figure 7).
La jauge de poids indique quand le siège est réglé pour le poids de l'utilisateur (Figure 7). Réglez la hauteur en plaçant la suspension dans la zone verte sur la jauge.
Ce levier permet d'effectuer le réglage correct pour le poids de l'utilisateur (Figure 7). Tirez sur le levier pour augmenter la pression d'air et abaissez-le pour réduire la pression d'air. Le réglage est correct lorsque la jauge de poids se trouve dans la zone verte.

Permet de recycler l'air dans la cabine ou d'aspirer l'air extérieur dans la cabine (Figure 8).
Sélectionnez le recyclage de l'air quand vous utilisez la climatisation.
Sélectionnez l'apport d'air extérieur quand vous utilisez le chauffage ou le ventilateur.
Tournez la commande rotative pour réguler la vitesse du ventilateur (Figure 8).
Tournez la commande de température pour réguler la température dans la cabine (Figure 8).
Utilisez cette commande pour actionner ou arrêter les essuie-glaces (Figure 8).
Cet interrupteur permet d'activer et de désactiver la climatisation (Figure 8).
Utilisez cette prise de 15 A, 12 V CC pour alimenter les dispositifs compatibles (Figure 8).
Utilisez ce commutateur pour allumer et éteindre les phares et les feux arrière (Figure 8).
Utilisez cet interrupteur pour allumer et éteindre les feux de détresse (Figure 8).
Soulevez les loquets pour ouvrir le pare-brise (Figure 9). Appuyez dessus pour bloquer le pare-brise en position OUVERTE. Tirez puis abaissez la fermeture pour fermer et verrouiller le pare-brise.

Soulevez la fermeture pour ouvrir la vitre arrière. Appuyez dessus pour bloquer la vitre en position OUVERTE. Tirez puis abaissez la fermeture pour fermer et verrouiller la vitre (Figure 9).
Important: Fermez la vitre arrière avant d'ouvrir le capot, sinon vous risquez d'endommager la vitre ou le capot.
L'écran LCD de l'InfoCenter (Figure 5) affiche des informations sur votre machine, comme l'état de fonctionnement, ainsi que divers diagnostics et autres renseignements la concernant.
L'écran qui s'affiche dépend des boutons que vous sélectionnez. Chaque bouton peut changer de fonction selon les besoins du moment.

| Description | Référence de la Figure 10 | Dimensions ou poids | |
| Hauteur avec cabine | A | 237 cm | |
| Hauteur avec arceau de sécurité relevé | I | 217 cm | |
| Hauteur avec arceau de sécurité abaissé | K | 173 cm | |
| Longueur hors tout | H | 186 cm | |
| Longueur au remisage | G | 184 cm | |
| Largeur de coupe | |||
| hors-tout | D | 315 cm | |
| unité de coupe avant | 137 cm | ||
| unité de coupe latérale | 94 cm | ||
| unité de coupe avant et une unité latérale | 226 cm | ||
| Largeur hors tout | |||
| unités de coupe abaissées | E | 323 cm | |
| unités de coupe levées (position de transport) | C | 180 cm | |
| Empattement | F | 141 cm | |
| Voie (entraxe) | |||
| avant | B | 114 cm | |
| arrière | J | 107 cm | |
| Garde au sol | 15 cm | ||
| Poids net avec la cabine | 2165 kg | ||
| Poids net avec l'arceau de sécurité | 1922 kg | ||
Note: Les spécifications et la conception peuvent faire l'objet de modifications sans préavis.
Une sélection d'outils et d'accessoires agréés par Toro est disponible pour augmenter et améliorer les capacités de la machine. Pour obtenir la liste de tous les outils et accessoires agréés, contactez votre concessionnaire-réparateur ou votre distributeur Toro agréé, ou rendez-vous sur www.Toro.com.
Utilisez exclusivement des pièces de rechange et des accessoires d'origine Toro. Les pièces de rechange et accessoires provenant d'autres constructeurs peuvent être dangereux, et leur utilisation risque d'annuler la garantie de la machine.
Note: Les côtés gauche et droit de la machine sont déterminés d'après la position d'utilisation normale.
Ne confiez jamais l'utilisation ou l'entretien de la machine à des enfants ou à des personnes non qualifiées. La réglementation locale peut imposer un âge minimum pour les utilisateurs. Le propriétaire de la machine doit assurer la formation de tous les utilisateurs et mécaniciens.
Familiarisez-vous avec le maniement correct du matériel, les commandes et les symboles de sécurité.
Avant de quitter la position d'utilisation, coupez le moteur, enlevez la clé et attendez l'arrêt complet de tout mouvement. Laissez refroidir la machine avant de la régler, d'en faire l'entretien, de la nettoyer ou de la remiser.
Apprenez à arrêter la machine et le moteur rapidement.
Vérifiez toujours que les commandes de présence de l'utilisateur, les contacteurs de sécurité et les capots de protection sont en place et fonctionnent correctement. N'utilisez pas la machine s'ils ne fonctionnent pas correctement.
Avant de tondre, vérifiez toujours que les lames, les boulons de lame et les ensembles de coupe sont en bon état de marche. Remplacez les boulons et les lames usés ou endommagés par paires pour ne pas modifier l'équilibre.
Inspectez la zone de travail et débarrassez-la de tout objet pouvant être projeté par la machine.
Ce produit génère un champ électromagnétique. Si vous portez un dispositif médical électronique implantable, consultez votre professionnel de santé avant d'utiliser ce produit.
Faites preuve de la plus grande prudence quand vous manipulez du carburant, en raison de son inflammabilité et du risque d'explosion des vapeurs qu'il dégage.
Éteignez cigarettes, cigares, pipes et autres sources d'étincelles.
Utilisez exclusivement un bidon à carburant homologué.
N'enlevez pas le bouchon du réservoir de carburant et n'ajoutez pas de carburant pendant que le moteur tourne ou est encore chaud.
N'ajoutez pas de carburant et ne vidangez pas le réservoir dans un local fermé.
Ne rangez pas la machine ni les bidons de carburant à proximité d'une flamme nue, d'une source d'étincelles ou d'une veilleuse, telle celle d'un chauffe-eau ou autre appareil.
Si vous renversez du carburant, ne mettez pas le moteur en marche. Évitez toute source possible d'inflammation jusqu'à dissipation complète des vapeurs de carburant.
Avant de mettre le moteur en marche et d'utiliser la machine, vérifiez le niveau d'huile dans le carter moteur ; voir Contrôle du niveau d'huile moteur.
Avant de mettre le moteur en marche et d'utiliser la machine, vérifiez le système de refroidissement ; voir Contrôle du circuit de refroidissement.
Avant de mettre le moteur en marche et d'utiliser la machine, vérifiez le système hydraulique ; voir Contrôle du niveau de liquide hydraulique.
Vidangez chaque jour l'eau ou autres impuretés qui se trouvent dans le séparateur d'eau ; voir Entretien du séparateur d'eau.
Capacité du réservoir de carburant : 79 litres
Important: Utilisez uniquement du gazole à ultra-faible teneur en soufre. Le carburant à teneur en soufre plus élevée dégrade le catalyseur d'oxydation diesel (DOC), ce qui engendre des problèmes de fonctionnement et raccourcit la vie utile des composants du moteur.Le moteur peut être endommagé si vous ne respectez pas les consignes qui suivent.
N'utilisez jamais de kérosène ou d'essence à la place du gazole,
Ne mélangez jamais de kérosène ou d'huile moteur usagée au gazole.
Ne conservez jamais le carburant dans des récipients dont l'intérieur est galvanisé.
N'utilisez pas d'additifs pour carburant.
Indice de cétane : 45 ou plus
Teneur en soufre : ultra-faible (<15 ppm)
| Spécifications du gazole | Lieu d'utilisation |
| ASTM D975 | États-Unis |
| Nº 1-D S15 | |
| Nº 2-D S15 | |
| EN 590 | Union européenne |
| ISO 8217 DMX | International |
| JIS K2204 Grade nº 2 | Japon |
| KSM-2610 | Corée |
Utilisez uniquement du gazole propre et frais ou des carburants au biodiesel.
Pour garantir la fraîcheur du carburant, n'achetez pas plus que la quantité normalement consommée en 6 mois.
Utilisez du gazole de qualité été (nº 2-D) si la température ambiante est supérieure à -7 °C et du gazole de qualité hiver (nº 1-D ou mélange nº 1-D/2-D) si la température ambiante est inférieure à -7 °C.
Note: L'usage de carburant de qualité hiver à basses températures réduit le point d'éclair et les caractéristiques d'écoulement à froid, ce qui facilite le démarrage et réduit le colmatage du filtre à carburant.L'usage de carburant de qualité été au-dessus de -7 °C contribue à prolonger la vie de la pompe à carburant et augmente la puissance comparé au carburant de qualité hiver.
Cette machine peut aussi utiliser un mélange carburant et biodiesel jusqu'à B20 (20 % biodiesel, 80 % pétrodiesel).
Teneur en soufre : ultra-faible (<15 ppm)
Spécifications du carburant au biodiesel : ASTM D6751 ou EN 14214
Spécifications du carburant mélangé : ASTM D975, EN 590 ou JIS K2204
Important: La partie pétrodiesel doit être à ultra-faible teneur en soufre.
Prenez les précautions suivantes :
Les mélanges au biodiesel peuvent endommager les surfaces peintes.
Utilisez du B5 (teneur en biodiesel de 5 %) ou un mélange de plus faible teneur par temps froid.
Examinez régulièrement les joints et flexibles en contact avec le carburant, car ils peuvent se détériorer avec le temps.
Le filtre à carburant peut se colmater pendant quelque temps après l'adoption de mélanges au biodiesel.
Pour plus de renseignements sur le biodiesel, contactez votre concessionnaire Toro agréé.

Remplissez le réservoir de gazole nº 2-D jusqu'à environ 6 à 13 mm en dessous du haut du réservoir, pas du goulot de remplissage.
Note: Dans la mesure du possible, faites le plein de carburant après chaque utilisation ; cela minimisera la formation éventuelle de condensation à l'intérieur du réservoir.
| Périodicité d'entretien | Procédure d'entretien |
|---|---|
| À chaque utilisation ou une fois par jour |
|
La stabilité de la machine sur les pentes est réduite si les pneus ne sont pas suffisamment gonflés. Celle-ci risque alors de se retourner et de vous blesser, parfois mortellement.
Veillez à toujours utiliser une pression de gonflage suffisante.
Les pneus doivent être gonflés à une pression de 1,72 à 2,07 bar.
Important: Les pneus doivent être uniformément gonflés à la pression préconisée pour garantir de bons résultats et de bonnes performances. Veillez à toujours utiliser une pression de gonflage suffisante.Contrôlez la pression de tous les pneus avant d'utiliser la machine.

| Périodicité d'entretien | Procédure d'entretien |
|---|---|
| Après la 1ère heure de fonctionnement |
|
| Après les 10 premières heures de fonctionnement |
|
| Toutes les 200 heures |
|
Un mauvais couple de serrage des écrous de roue peut occasionner des blessures.
Serrez les écrous de roue au couple correct.
Serrez les écrous de roue à un couple de 115 à 136 N·m dans l'ordre indiqué à la Figure 13 et la Figure 14.


Asseyez-vous sur le siège et réglez le rétroviseur afin d'obtenir une vue optimale par la vitre arrière (Figure 15). Tirez le levier en arrière pour incliner le rétroviseur et ne plus être ébloui par les phares d'autres véhicules.
Asseyez-vous sur le siège et demandez à une autre personne de régler les rétroviseurs extérieurs afin d'obtenir une vue optimale sur les côtés de la machine (Figure 15).

Desserrez les écrous de fixation et positionnez chaque phare de sorte à diriger le faisceau droit devant.
Note: Serrez l'écrou de fixation juste suffisamment pour maintenir le phare dans cette position.
Placez un morceau de tôle sur la face du phare.
Montez un rapporteur magnétique sur la tôle.
Tout en maintenant l'ensemble en place, inclinez délicatement le phare de 3 degrés vers le bas, puis serrez l'écrou.
Procédez de même pour l'autre phare.
Pour éviter de vous blesser, parfois mortellement, en vous retournant, gardez l'arceau de sécurité relevé et bloqué en position, et attachez votre ceinture de sécurité.
Vérifiez que le siège est bien fixé avec le verrou de siège.
La protection antiretournement est inexistante lorsque l'arceau de sécurité est abaissé.
N'utilisez pas la machine sur un terrain irrégulier ou sur une pente quand l'arceau de sécurité est abaissé.
N'abaissez l'arceau de sécurité qu'en cas d'absolue nécessité.
N'attachez pas la ceinture de sécurité lorsque l'arceau de sécurité est abaissé.
Conduisez lentement et prudemment.
Déployez l'arceau de sécurité dès que possible.
Vérifiez précisément la hauteur libre avant de passer sous un obstacle (par ex. branches, portes, câbles électriques, etc.) et évitez de le toucher.


La hauteur de coupe est réglable de 25 à 127 mm par paliers de 13 mm. Pour régler la hauteur de coupe de l'unité de coupe centrale, placez les essieux des roues pivotantes dans les trous supérieur ou inférieur des fourches. Ajoutez ou enlevez ensuite un nombre égal d'entretoises sur les fourches et fixez la chaîne arrière dans le trou requis.
Garez la machine sur une surface plane et horizontale.
Démarrez le moteur et levez les unités de coupe pour changer la hauteur de coupe.
Coupez le moteur, serrez le frein de stationnement et enlevez la clé de contact après avoir levé l'unité de coupe.
Placez les essieux des roues pivotantes dans les mêmes trous sur toutes les fourches.

Note: Lorsque la hauteur de coupe est égale ou supérieure à 64 mm, le boulon d'essieu doit se trouver dans le trou inférieur de la fourche pour prévenir l'accumulation d'herbe entre la roue pivotante et la fourche. Avec des hauteurs de coupe inférieure à 64 mm, si vous détectez des dépôts d'herbe, inversez le sens de marche de la machine pour décoller les déchets d'herbe de la roue et de la fourche.
Enlevez le chapeau de tension de l'axe de pivot et sortez l'axe du bras de la roue pivotante (Figure 18).
Placez 2 cales sur l'axe de pivot aux positions d'origine.
Note: Ces cales sont nécessaires pour que les unités de coupe soient parfaitement de niveau sur toute la largeur. Placez le nombre requis d'entretoises de 13 mm (voir le tableau ci-dessous) sur l'axe de pivot pour obtenir la hauteur de coupe voulue, puis ajoutez la rondelle.
Pour déterminer les combinaisons d'entretoises requises pour les différentes hauteurs de coupe, reportez-vous au tableau suivant (Figure 19) :

Poussez l'axe de pivot dans le bras pivotant avant.
Installez les cales (comme à l'origine) et les entretoises restantes sur l'axe de pivot.
Fixez l'ensemble avec le chapeau de tension.
Enlevez la goupille fendue et l'axe de chape qui fixent les chaînes de hauteur de coupe à l'arrière de l'unité de coupe (Figure 20).

Montez les chaînes de hauteur de coupe dans le trou correspondant à la hauteur de coupe voulue à l'aide de l'axe de chape et de la goupille fendue 'Figure 21).

Note: Lorsque vous utilisez les hauteurs de coupe 25 mm, 38 mm ou parfois 51 mm, montez les patins et les roues de jauge à la position la plus élevée.
Pour régler la hauteur de coupe des unités latérales, ajoutez ou enlevez un nombre égal d'entretoises sur les fourches des roues pivotantes, placez les essieux des roues pivotantes dans les trous de hauteur de coupe supérieurs ou inférieurs des fourches et fixez les bras de pivot dans les trous du support de la hauteur de coupe sélectionnée.
Placez les essieux des roues pivotantes dans les mêmes trous sur toutes les fourches (Figure 22 et Figure 24).
Enlevez le chapeau de tension de l'axe de pivot et sortez l'axe du bras de la roue pivotante (Figure 22).

Placez 2 cales sur l'axe de pivot aux positions d'origine.
Note: Ces cales sont nécessaires pour que les unités de coupe soient parfaitement de niveau sur toute la largeur. Placez le nombre requis d'entretoises de 13 mm (voir le tableau ci-dessous) sur l'axe de pivot pour obtenir la hauteur de coupe voulue, puis ajoutez la rondelle.
Reportez-vous au tableau ci-après pour déterminer les combinaisons d'entretoises requises pour les différentes hauteurs de coupe (Figure 23).

Poussez l'axe de pivot dans le bras pivotant avant.
Installez les cales (comme à l'origine) et les entretoises restantes sur l'axe de pivot.
Enlevez la goupille fendue et les axes de chape des bras pivotants (Figure 24).
Tournez la tige de tension pour élever ou abaisser le bras de pivot jusqu'à ce que les trous soient en face de ceux du support de hauteur de coupe sélectionnés dans le cadre du plateau de coupe (Figure 24 et Figure 25).


Insérez les axes de chape et posez les goupilles fendues.
Tournez la tige de tension dans le sens antihoraire (à la main) pour tendre le réglage.
Montez les patins à la position la plus basse pour les hauteurs de coupe supérieures à 64 mm et à la position la plus haute pour les hauteurs de coupe inférieures à 64 mm.

Montez les galets à la position la plus basse pour les hauteurs de coupe supérieures à 64 mm, et à la position la plus haute pour les hauteurs de coupe inférieures à 64 mm.

Important: Sur les machines à plusieurs lames, la rotation d'une lame peut entraîner celle des autres.
Pour que l'unité de coupe fonctionne correctement, les pointes des lames des unités latérales et de l'unité centrale doivent être espacées de 10 à 16 mm (Figure 28).
Levez l'unité de coupe de manière que les lames soient visibles et bloquez la section centrale du plateau pour l'empêcher de retomber accidentellement.
Note: Les plateaux latéraux doivent être horizontaux par rapport à l'unité centrale.
Tournez une lame centrale et une lame latérale adjacente de manière à aligner les pointes des lames. Mesurez la distance entre la pointe des lames (Figure 28).
Note: La distance obtenue doit être d'environ 10 à 16 mm.

Pour ajuster la distance, trouvez le boulon sur la biellette de pivot arrière de l'unité de coupe (Figure 29).
Desserrez l'écrou de blocage sur le boulon de réglage.
Desserrez ou resserrez les boulons de réglage jusqu'à obtention d'un écartement de 10 à 16 mm, puis resserrez l'écrou de blocage.
Répétez la procédure de l'autre côté de l'unité de coupe.

Pour tenir compte des variations de la surface de travail et du réglage de compensation du groupe de déplacement, faites un essai de tonte et vérifiez les résultats obtenus avant de commencer la tonte proprement dite.
Réglez toutes les unités de coupe à la hauteur voulue ; voir Réglage de la hauteur de coupe.
Contrôlez la pression de gonflage des pneus avant et arrière de la machine, et corrigez-la au besoin entre 1,72 et 2,07 bar.
Contrôlez la pression de gonflage des pneus des roues pivotantes de l'unité de coupe, et corrigez-la au besoin à 3,45 bar.
Contrôlez les pressions de charge et de compensation lorsque le moteur tourne au RALENTI ACCéLéRé en vous servant des prises d'essai.
Note: Réglez la pression de compensation à 22,41 bar.
Recherchez les lames faussées ; voir Détection des lames faussées.
Faites un essai pour vérifier que toutes les unités coupent à la même hauteur.
Si la hauteur de coupe des plateaux a besoin d'être modifiée, trouvez une surface plane et horizontale en vous aidant d'une règle de 2 m ou plus.
Pour mesurer le plan des lames plus facilement, sélectionnez une hauteur de coupe entre 7,5 et 10 cm ; voir Réglage de la hauteur de coupe.
Abaissez les unités de coupe sur une surface plane et retirez les couvercles au sommet des unités.
Desserrez l'écrou à embase de fixation de la poulie de tension pour détendre la courroie sur chaque unité de coupe.
Note: Il est préférable d'utiliser l'outil Toro réf. 121-3874 pour serrer le chapeau de tension.
Tournez la lame sur chaque axe pour la diriger dans le sens longitudinal.
Mesurez et notez la distance entre le sol et la pointe avant du tranchant.
Ajoutez ou retirez des cales de 3 mm sur la fourche d'une ou de plusieurs roues pivotantes pour que la hauteur de coupe corresponde à celle indiquée sur l'autocollant (Figure 30) ; voir Réglage de la hauteur de coupe.

Tournez la lame sur chaque axe pour la diriger dans le sens longitudinal.
Mesurez et notez la distance entre le sol et la pointe avant du tranchant.
Ajoutez ou retirez des cales de 3 mm sur le(s) bras pivotant(s) avant pour que la hauteur de coupe corresponde à celle indiquée sur l'autocollant (Figure 31).
Note: Pour l'axe de la lame extérieure seulement, voir Réglage de la hauteur de coupe.

Tournez la lame transversalement sur l'axe extérieur des deux unités de coupe latérales.
Note: Mesurez la distance entre le plancher et la pointe du tranchant sur les deux unités et comparez les résultats. Ces valeurs ne doivent pas différer de plus de 3 mm. Ne procédez à aucun réglage à ce stade.
Tournez la lame transversalement sur l'axe intérieur de l'unité de coupe latérale et l'axe extérieur correspondant de l'unité de coupe avant.
Note: Mesurez et comparez la distance entre le sol et la pointe du tranchant sur le bord intérieur de l'unité de coupe latérale, et la distance entre le sol et la pointe du tranchant sur le bord extérieur correspondant de l'unité de coupe avant. Les mesures sur l'unité de coupe latérale et l'unité de coupe avant ne devraient pas différer de plus de 3 mm.
Note: Les roues pivotantes des trois unités de coupe ne doivent pas quitter le sol lorsque la compensation est appliquée.
Note: S'il s'avère nécessaire d'uniformiser la hauteur de coupe des unités de coupe, modifiez uniquement le réglage des unités de coupe latérales.
Si le bord intérieur de l'unité de coupe latérale est trop élevé par rapport au bord extérieur de l'unité de coupe avant, retirez une cale de 3 mm au bas du bras de la roue pivotante intérieure avant de l'unité latérale (Figure 31).
Note: Vérifiez la distance entre les bords extérieurs des deux unités de coupe latérales et la distance entre le bord intérieur de l'unité de coupe latérale et le bord extérieur de l'unité de coupe avant.
Si le bord intérieur est encore trop élevé, retirez une cale supplémentaire au bas du bras de la roue pivotante intérieure avant et une cale du bras de la roue pivotante extérieure avant de l'unité de coupe latérale.
Si le bord intérieur de l'unité de coupe latérale est trop bas par rapport au bord extérieur de l'unité de coupe avant, ajoutez une cale au bas du bras de la roue pivotante intérieure avant de l'unité latérale.
Note: Vérifiez la distance entre les bords extérieurs des deux unités de coupe latérales et la distance entre le bord intérieur de l'unité de coupe latérale et le bord extérieur de l'unité de coupe avant.
Si le bord intérieur est encore trop bas, ajoutez encore une cale au bas du bras de la roue pivotante intérieure avant et une cale sur le bras de la roue pivotante extérieure avant de l'unité de coupe latérale.
Lorsque les hauteurs de coupe sont égales aux bords des unités de coupe latérales et avant, vérifiez que les unités de coupe latérales présentent toujours une inclinaison de 8 à 11 mm.
Note: Réglez si nécessaire.
| Périodicité d'entretien | Procédure d'entretien |
|---|---|
| À chaque utilisation ou une fois par jour |
|
Le circuit électrique de la machine comprend des contacteurs de sécurité. Ces contacteurs désengagent la commande de déplacement ou la PDF lorsque vous quittez le siège. Le moteur continue de tourner si vous désengagez la PDF et serrez le frein de stationnement avant de quitter le siège.
Conduisez la machine lentement jusqu'à une grande surface dégagée. Abaissez l'unité de coupe au sol, coupez le moteur et serrez le frein de stationnement.
Asseyez-vous sur le siège et enfoncez la pédale de déplacement. Essayez de mettre le moteur en marche. Le moteur ne doit pas démarrer. S'il démarre cela signifie que le système de sécurité est défectueux ; vous devez le réparer avant d'utiliser la machine.
Asseyez-vous sur le siège, démarrez le moteur et engagez la PDF. La PDF étant engagée, soulevez-vous du siège. La PDF doit se désengager après quelques secondes. Si elle s'engage, cela signifie que le système de sécurité est défaillant ; vous devez alors le réparer avant d'utiliser la machine.
Asseyez-vous sur le siège, serrez le frein de stationnement et mettez le moteur en marche. Sortez la pédale de déplacement de la position NEUTRE. L'InfoCenter devrait afficher « traction not allowed » (déplacement non autorisé) et la machine ne devrait pas se déplacer. Si la machine se déplace, cela signifie que le système de sécurité est défaillant ; vous devez le réparer avant d'utiliser la machine.
| Lame Atomic | Lame plate | Lame standard | Lame à ailette moyenne | |
| État de l'herbe | Humide, collante, pousse de printemps | Herbe fine ou clairsemée | Coupe normale | Tous les états jusqu'à forte pousse |
| Mulching des feuilles | Efficace | Ne pas utiliser | Efficace | Efficace |
| Avantages | Moins bon redressement de l'herbe, brise les paquets d'herbe agglomérée | Ne crée pas un flux d'air suffisant dans les pelouses poussiéreuses, sableuses et clairsemées | Bonne performance générale | Meilleur redressement de l'herbe et moins de turbulence qu'une lame standard, bonne performance générale |
| Inconvénients | Moins bon redressement de l'herbe et moins bonne dispersion lorsque l'herbe est lourde | N'est pas recommandé lorsque l'herbe est normale à lourde |
L'écran affiche des informations relatives à la machine, comme l'état de fonctionnement, ainsi que divers diagnostics et autres renseignements la concernant. Plusieurs écrans s'affichent sur l'InfoCenter. Vous pouvez passer d'un écran à l'autre à tout moment en appuyant sur l'un des boutons de l'affichage et en sélectionnant la flèche de direction appropriée.

Note: Chaque bouton peut changer de fonction selon les besoins du moment. Chaque bouton est repéré par une icône illustrant sa fonction actuelle.
![]() | Compteur horaire |
![]() | Changement de page |
![]() | Réglages de la butée de pédale virtuelle |
![]() | Les bougies de préchauffage sont actives. |
![]() | L'utilisateur doit s'asseoir sur le siège. |
![]() | Le frein de stationnement est serré. |
![]() | Température du liquide de refroidissement moteur (°C) |
![]() | Déplacement ou pédale de déplacement |
![]() | Le régulateur de vitesse est engagé. |
![]() | Demande de régénération commandée-de secours |
| Demande de régénération en stationnement ou d'urgence | |
![]() | Une régénération en stationnement ou d'urgence est en cours. |
![]() | Haute température de l'échappement |
![]() | Défaillance du diagnostic de détection de NOx ; ramenez la machine à l'atelier et contactez votre distributeur Toro agréé (logiciel version U et suivantes). |
![]() | La prise de force est désactivée. |
![]() | PDF engagée. |
![]() | Batterie |
![]() | Niveau de carburant |
![]() | Attention |
![]() | Actif |
![]() | Inactif |
![]() | Précédent |
![]() | Suivant |
![]() | Les unités de coupe s'élèvent. |
![]() | Les unités de coupe s'abaissent. |
![]() | Écran précédent |
![]() | Haute vitesse |
![]() | Basse vitesse |
![]() | Augmenter la valeur |
![]() | Réduire la valeur |
![]() | Menu |
![]() | Défilement vers le haut/bas |
![]() | Défilement vers la gauche/droite |
![]() | Verrouillé |
![]() | Code PIN |
Pour accéder au système de menus InfoCenter, appuyez sur le bouton d'accès au menu depuis l'écran principal. Cela vous amène au menu principal. Reportez-vous aux tableaux ci-après pour le synopsis des options disponibles dans les différents menus :
| Menu principal – Option de menu | Description |
| Anomalies | Le menu Anomalies contient la liste des anomalies récentes de la machine. Reportez-vous au Manuel d'entretien ou adressez-vous à votre distributeur Toro agréé pour plus de renseignements sur le menu Anomalies et sur les données qu'il contient. |
| Entretien | Le menu Entretien contient des données relatives à la machine telles que les heures de fonctionnement, les compteurs et d'autres données de ce type. |
| Diagnostics | Le menu Diagnostics indique l'état de chaque contacteur, capteur et sortie de commande de la machine. Il peut servir à détecter certains problèmes, car il indique rapidement quelles commandes de la machine sont ACTIVéES ou DéSACTIVéES. |
| Réglages | Le menu Réglages vous permet de personnaliser et modifier les variables de configuration sur l'écran. |
Réglages machine![]() | Le menu Réglages machine permet de régler les seuils de ralenti automatique, vitesse, fonction Smart Power, alarme de recul et capteur d’inclinaison. |
| À propos | Le menu À propos indique le numéro de modèle, le numéro de série et la version logicielle de votre machine. |
| Entretien – Option de menu | Description |
| Hours | Indique le nombre d'heures de fonctionnement de la machine, du moteur et de la PDF, ainsi que le nombre d'heures de transport et restant avant le prochain entretien. |
| Counts | Indique les différents décomptes de la machine. |
| DPF Regeneration | Options de régénération du filtre à particules diesel et sous-menus DPF (FAP) |
| Fan Reverse | Permet de lancer un cycle de rotation en sens inverse du ventilateur. |
Fuel Rate![]() | Indique le taux moyen de carburant. |
Traction Pedal![]() | Indique les valeurs d'étalonnage de la pédale de déplacement et permet son étalonnage. |
| Diagnostics – Option de menu | Description |
| Left Deck (plateau gauche) | Indique l'entrée et la sortie de ces composants. |
| Center Deck (plateau central) | |
| Right Deck (plateau droit) | |
| Pédale de déplacement | |
| Traction (déplacement) | |
| Range Hi/Low (gamme haute/basse) | |
| PTO (PDF) | |
| Engine (moteur) | |
| Cruise Control (régulateur de vitesse) | |
| Light Kit (kit d'éclairage) |
| Réglages – Option de menu | Description |
| Saisie du code PIN | Permet à une personne (surintendant/mécanicien) autorisée par votre entreprise et détenant le code PIN d'accéder aux menus protégés. |
Protection des réglages![]() | Permet à une personne autorisée par votre entreprise et détenant le code PIN d'accéder aux réglages protégés. |
Retour réglages d'usine![]() | Permet de réinitialiser les réglages par défaut. |
| Rétroéclairage | Permet de régler la luminosité de l'affichage LCD. |
| Langue | Permet de choisir la langue utilisée sur l'InfoCenter*. |
| Taille de police | Commande la taille de la police sur l'affichage. |
| Unités | Permet de choisir les unités utilisées sur l'InfoCenter (métriques ou impériales). |
Note: Le menu Réglages machine ne s'affiche qu'après la saisie du code PIN.
Réglages machine – Option de menu![]() | Description |
Ralenti automatique ![]() | Cette option permet de régler le délai avant que le moteur ne passe au ralenti quand la machine n'est pas utilisée |
Vitesse de tonte ![]() | Permet de régler la vitesse maximale pendant la tonte (gamme basse). |
Vitesse de transp.![]() | Permet de régler la vitesse maximale pendant le transport (gamme haute). |
Smart Power ![]() | Permet d'activer et de désactiver la fonction Smart Power. |
Alarme de recul![]() | Indique qu'une alarme de recul est installée. |
Capteur d'inclinaison installé ![]() | Indique qu'un capteur d'inclinaison est installé. |
| À propos – Option de menu | Description |
| Modèle | Indique le numéro de modèle de la machine. |
| Nº de série | Indique le numéro de série de la machine. |
| Rév logiciel | Indique la version du logiciel du contrôleur principal. |
| Phase V | Indique oui ou non selon le moteur. |
XDM-2700![]() | Indique la version du logiciel de l'InfoCenter |
CAN![]() | Indique l'état du bus de communication de la machine |
Rév logiciel-S![]() | Indique la version du logiciel du contrôleur secondaire. |
Protégés
sous Menus protégés – accessibles uniquement en
saisissant un code PIN
Plusieurs paramètres de configuration du fonctionnement peuvent être sélectionnés dans le menu RéGLAGES de l'InfoCenter. Bloquez ces paramètres à partir du MENU PROTéGé.
Note: À la livraison de la machine, le code d'accès initial est programmé par votre distributeur.
Note: Le code PIN par défaut de la machine est 0000 ou 1234.Si vous changez de code PIN et que vous l'oubliez, adressez-vous à votre distributeur Toro agréé.
Depuis le MENU PRINCIPAL, naviguez jusqu'au menu RéGLAGES et appuyez sur le bouton de sélection (Figure 33).

Dans le menu RéGLAGES, naviguez jusqu'à SAISIR PIN et appuyez sur le bouton (Figure 34A).

Pour saisir le code PIN, appuyez sur les boutons de navigation vers le haut/bas jusqu'à ce que le premier chiffre correct s'affiche, puis appuyez sur le bouton de navigation droit pour passer au chiffre suivant (Figure 34B et Figure 34C). Répétez cette procédure jusqu'à ce que le dernier chiffre soit saisi.
Appuyez sur le bouton de sélection.
Note: Si l'affichage accepte le code PIN et que le menu protégé est déverrouillé, « PIN » s'affiche dans le coin supérieur droit de l'écran.
Pour verrouiller le menu protégé, tournez le commutateur d'allumage à la position ARRêT puis à la position CONTACT.
Sous RéGLAGES, naviguez jusqu'à l'option PROTECTION DES RéGLAGES.
Pour afficher et modifier les réglages sans
saisir de code PIN, utilisez le bouton de sélection pour changer
l'option PROTECTION DES RéGLAGES à
(désactivée).
Pour afficher et modifier les réglages en saisissant
un code PIN, utilisez le bouton de sélection pour changer l'option PROTECTION DES RéGLAGES à
(activée), saisissez
le code PIN et tournez le commutateur d'allumage à la
position ARRêT, puis ramenez-la à
la position CONTACT.
L'indicateur d'entretien réinitialise le nombre d'heures restant jusqu'au prochain entretien après avoir effectué un entretien programmé.
Sous RéGLAGES, naviguez jusqu'à SAISIR PIN et appuyez sur le bouton de sélection.
Saisissez le code PIN ; voir Accès aux menus protégés.
Sous ENTRETIEN, naviguez jusqu'à HOURS et appuyez sur le bouton de sélection.
Naviguez jusqu'à l'option ENTRETIEN REQUIS.
Note: Si un entretien est actuellement nécessaire, NOW (maintenant) apparaît près de ENTRETIEN REQUIS.
Mettez l'intervalle d'entretien en surbrillance et appuyez sur le bouton de sélection.
Note: L'intervalle d'entretien (250 h, 500 h, etc.) est situé à côté de l'option ENTRETIEN REQUIS. L'intervalle d'entretien est une option des Menus protégés.
Lorsque l'écran RESET SERVICE TIMER? (réinitialiser indicateur d'entretien ?) s'affiche, appuyez sur le bouton de sélection pour oui (YESi) ou sur le bouton de retour en arrière pour non (NO).
Lorsque vous sélectionnez YES, l'écran d'intervalle est effacé et revient aux sélections Service Hours (heures d'entretien).
Dans le menu Réglages, naviguez jusqu'à Auto Idle (ralenti automatique).
Appuyez sur le bouton intérieur droit ou gauche pour modifier le délai de ralenti automatique et le régler à OFF (désactivé), 8S, 10S, 15S, 20S ou 30S.
Dans le menu Réglages, naviguez jusqu'à Vitesse de tonte et appuyez sur le bouton droit.
Utilisez le bouton intérieur droit pour augmenter la vitesse de tonte maximale (50 %, 75 % ou 100 %).
Utilisez le bouton intérieur central pour diminuer la vitesse de tonte maximale (50 %, 75 % ou 100 %).
Appuyez sur le bouton gauche pour quitter.
Dans le menu Réglages, naviguez jusqu'à Vitesse de transp. et appuyez sur le bouton droit.
Utilisez le bouton intérieur droit pour augmenter la vitesse de transport maximale (50 %, 75 % ou 100 %).
Utilisez le bouton intérieur central pour réduire la vitesse de transport (50 %, 75 % ou 100 %).
Appuyez sur le bouton gauche pour quitter.
Lorsque vous avez terminé dans le menu protégé, appuyez sur le bouton gauche pour revenir au menu principal, puis appuyez sur le bouton gauche pour quitter le menu Run (fonctionnement).
Sous RéGLAGES, naviguez jusqu'à l'option SMART POWER.
Appuyez sur le bouton de navigation droit pour alterner entre ACTIVé et DéSACTIVé.

Clignotement rouge – anomalie active
Rouge continu – avis actif
Vert continu – fonctionnement normal
Clignotement vert – mise à jour du code
Le propriétaire/l'utilisateur est responsable des accidents pouvant entraîner des dommages corporels ou matériels et peut les prévenir.
Portez une tenue adaptée, y compris une protection oculaire, un pantalon, des chaussures solides à semelle antidérapante et des protecteurs d'oreilles. Si vos cheveux sont longs, attachez-les et ne portez pas de vêtements amples ni de bijoux pendants. Portez un masque antipoussière si l'atmosphère est poussiéreuse.
N'utilisez pas la machine si vous êtes fatigué(e), malade ou sous l'emprise de l'alcool, de médicaments ou de drogues.
Accordez toute votre attention à l'utilisation de la machine. Ne faites rien d’autre qui puisse vous distraire, au risque de causer des dommages corporels ou matériels.
Avant de mettre le moteur en marche, assurez-vous que tous les embrayages sont au point mort, que le frein de stationnement est serré et que vous êtes au poste d'utilisation.
Ne transportez pas de passagers sur la machine et tenez tout le monde, y compris les enfants, à l'écart de la zone de travail.
N'utilisez la machine que si la visibilité est bonne pour éviter les trous ou autres dangers cachés.
Ne tondez pas l'herbe humide. La perte de motricité peut faire déraper la machine.
N'approchez jamais les mains ou les pieds des pièces rotatives. Ne vous tenez pas devant l'ouverture d'éjection.
Avant de faire marche arrière, vérifiez que la voie est libre juste derrière la machine et sur sa trajectoire.
Soyez prudent à l'approche de tournants sans visibilité, de buissons, d'arbres ou d'autres objets susceptibles de vous masquer la vue.
Arrêtez les lames quand vous ne tondez pas.
Arrêtez la machine, enlevez la clé et attendez l'arrêt complet de toutes les pièces mobiles avant d'examiner l'outil si vous heurtez un obstacle ou si la machine vibre de manière inhabituelle. Effectuez toutes les réparations nécessaires avant de réutiliser la machine.
Ralentissez et faites preuve de prudence quand vous changez de direction, ainsi que pour traverser des routes et des trottoirs avec la machine. Cédez toujours le passage.
Débrayez l'unité de coupe, coupez le moteur, enlevez la clé et attendez l'arrêt complet de tout mouvement avant de régler la hauteur de coupe (à moins de pouvoir le faire depuis le poste de conduite).
Ne faites tourner le moteur que dans des lieux bien aérés. Les gaz d'échappement contiennent du monoxyde de carbone, qui est mortel en cas d'inhalation.
Ne laissez jamais la machine en marche sans surveillance.
Avant de quitter la position d'utilisation, effectuez la procédure suivante :
Garez la machine sur une surface plane et horizontale.
Désengagez la prise de force et abaissez les outils.
Serrez le frein de stationnement.
Coupez le moteur et retirez la clé.
Attendez l'arrêt complet de tout mouvement.
Utilisez la machine uniquement quand la visibilité est bonne. N'utilisez pas la machine s'il y a risque d'orage.
N'utilisez pas la machine comme véhicule de remorquage.
Utilisez uniquement les accessoires, outils et pièces de rechange agréés par Toro.
Utilisez le régulateur de vitesse (selon l'équipement) uniquement sur les surfaces dégagées, planes et sans obstacles où la machine peut rouler à vitesse constante sans interruption.
La structure ROPS est un dispositif de sécurité intégré et efficace.
Ne retirez aucun des composants de la structure ROPS de la machine.
Vérifiez que la ceinture de sécurité est bien fixée sur la machine.
Tirez la sangle de la ceinture en travers de votre bassin et accrochez la boucle de l'autre côté du siège.
Pour détacher la ceinture de sécurité, tenez la sangle, appuyez sur le bouton de la boucle et guidez la ceinture dans l'ouverture de l'enrouleur automatique. Apprenez à détacher rapidement la ceinture de sécurité en cas d'urgence.
Vérifiez soigneusement où se trouvent les obstacles en hauteur et ne les touchez pas.
Maintenez la structure ROPS en bon état en vérifiant minutieusement et régulièrement s'il est endommagé et en maintenant toutes les fixations bien serrées.
Remplacez les composants endommagés du système ROPS. Ne les réparez pas et ne les modifiez pas.
Une cabine montée par Toro constitue un arceau de sécurité.
Attachez toujours la ceinture de sécurité.
Maintenez l'arceau de sécurité relevé et bloqué dans cette position, et attachez la ceinture de sécurité quand vous conduisez la machine avec l'arceau de sécurité relevé.
N'abaissez l'arceau de sécurité que momentanément et seulement en cas d'absolue nécessité. N'attachez pas la ceinture de sécurité lorsque l'arceau de sécurité est abaissé.
N'oubliez pas que la protection antiretournement est inexistante lorsque l'arceau de sécurité est abaissé.
Examinez la zone de travail à l'avance et n'abaissez jamais l'arceau de sécurité repliable lorsque vous vous trouvez sur une pente, près de fortes dénivellations ou d'étendues d'eau.
Les pentes augmentent significativement les risques de perte de contrôle et de retournement de la machine pouvant entraîner des accidents graves, voire mortels. Vous êtes responsable de la sécurité d'utilisation de la machine sur les pentes. L'utilisation de la machine sur une pente, quelle qu'elle soit, demande une attention particulière.
Vous devez évaluer l'état du terrain, l'étudier et le baliser pour déterminer si la pente permet d'utiliser la machine sans risque. Faites toujours preuve de bon sens et de discernement quand vous réalisez cette étude.
Lisez les instructions ci-dessous relatives à l'utilisation de la machine sur les pentes et examinez votre environnement afin de déterminer si les conditions d'utilisation existantes et le site se prêtent à l'utilisation de la machine. Les variations de terrain peuvent modifier le fonctionnement de la machine sur les pentes.
Évitez de démarrer, de vous arrêter ou de tourner sur les pentes. Évitez de changer soudainement de vitesse ou de direction. Tournez lentement et graduellement.
N'utilisez pas la machine si l'adhérence, la direction ou la stabilité peuvent être compromises.
Enlevez ou balisez les obstacles tels que fossés, trous, ornières, bosses, rochers ou autres dangers cachés. L'herbe haute peut masquer les accidents du terrain. Les irrégularités du terrain peuvent provoquer le retournement de la machine.
Tenez compte du fait qu'une perte de l'adhérence peut se produire sur l'herbe humide, en travers des pentes ou dans les descentes. La perte d'adhérence des roues motrices peut faire patiner la machine et entraîner la perte du freinage et de la direction.
Faites preuve de la plus grande prudence lorsque vous utilisez la machine près de fortes dénivellations, de fossés, de berges, d'étendues d'eau ou autres dangers. La machine pourrait se retourner brusquement si une roue passe par-dessus une dénivellation quelconque et se retrouve dans le vide, ou si un bord s'effondre. Établissez une zone de sécurité entre la machine et tout danger potentiel.
Identifiez les dangers potentiels depuis le bas de la pente. Si vous constatez la présence de dangers, tondez la pente avec une machine à conducteur marchant.
Dans la mesure du possible, gardez la ou les unités de coupe abaissées au sol quand vous utilisez la machine sur des pentes. La machine peut devenir instable si vous levez la ou les unités de coupe pendant son déplacement sur une pente.
Redoublez de prudence quand la machine est équipée de systèmes de ramassage ou d'autres outils. Ils peuvent modifier la stabilité et entraîner la perte du contrôle de la machine.
Entraînez-vous à conduire la machine, car elle est équipée d'une transmission hydrostatique et possède des caractéristiques qui peuvent différer de celles de nombreuses machines d'entretien des pelouses. Lors de l'utilisation du groupe de déplacement, des unités de coupe ou autres accessoires, tenez compte de la transmission, du régime moteur, de la charge sur les lames ou autres accessoires, car ils peuvent affecter les performances de la machine.
Avec la fonction Smart Power™ de Toro, vous n'avez pas besoin d'écouter le régime du moteur lorsque les conditions sont difficiles. L'option Smart Power empêche la machine de s'enliser quand les conditions de coupe sont difficiles en régulant automatiquement la vitesse de la machine et en optimisant les performances de coupe.
Les freins peuvent faciliter le braquage de la machine. Vous devez cependant les utiliser avec prudence, particulièrement si l'herbe est tendre ou humide, car elle risque d'être arrachée accidentellement. Un autre avantage des freins est qu'ils maintiennent la motricité. Par exemple, il peut arriver que la roue en amont patine et perde de son pouvoir de traction. Dans ce cas, appuyez progressivement et par intermittence sur la pédale de frein d'amont, jusqu'à ce que la roue correspondante arrête de patiner, ce qui a pour effet d'augmenter la traction sur la roue en aval.
L'antipatinage assisté est automatique et ne nécessite aucune intervention de la part de l'utilisateur. Quand une roue commence à patiner, la puissance est automatiquement répartie entre les roues avant et arrière pour minimiser le patinage et la perte de traction.
Avant de couper le moteur, débrayez toutes les commandes et placez la commande d'accélérateur en position BAS RéGIME. La sélection de la position BAS RéGIME réduit le régime moteur, le bruit et les vibrations de la machine. Tournez la clé de contact en position ARRêT pour couper le moteur. Enlevez la clé si vous quittez le poste de conduite.
Avant de transporter la machine, levez les unités de coupe et verrouillez les verrous de transport (Figure 36).

Démarrez le moteur et laissez-le tourner à la MOITIé DU RéGIME DE RALENTI jusqu'à ce qu'il soit réchauffé. Placez la commande d'accélérateur en position RALENTI ACCéLéRé, levez les unités de coupe, desserrez le frein de stationnement, appuyez sur la pédale de déplacement en marche avant et rendez-vous avec prudence jusqu'à un endroit dégagé.
Entraînez-vous à conduire en marche avant et en marche arrière, ainsi qu'à démarrer et à arrêter la machine. Pour arrêter la machine, relâchez la pédale de déplacement et laissez-la revenir en position NEUTRE ou appuyez sur la pédale de marche arrière.
Note: Dans les descentes, vous aurez peut-être besoin de vous servir de la pédale de marche arrière pour arrêter la machine.
Entraînez-vous à contourner des obstacles avec les unités de coupe levées et abaissées. Lorsque vous devez passer entre des obstacles rapprochés, prenez garde de ne pas endommager la machine ou les unités de coupe.
Conduisez toujours à vitesse réduite sur les terrains accidentés.
Si vous rencontrez un obstacle, déportez des unités de coupe pour tondre autour.
Lorsque vous vous rendez d'une zone de travail à l'autre, levez complètement les unités de coupe, coupez la PDF, appuyez le sélecteur de tonte/transport à la position de TRANSPORT, et placez la commande d'accélérateur en position HAUT RéGIME.
Le système de compensation maintient la contrepression hydraulique sur les vérins de levage des plateaux. Cette pression améliore la traction en transférant le poids du plateau de coupe aux roues motrices. La pression de compensation est réglée en usine pour assurer un équilibre optimal entre la finition et la motricité dans la plupart des cas.
La réduction du réglage de la compensation peut augmenter la stabilité de l'unité de coupe mais réduire la motricité. L'augmentation du réglage de la compensation peut accroître la motricité mais compromettre la qualité de la finition. Reportez-vous au manuel d'entretien de votre groupe de déplacement pour savoir comment régler la pression de compensation.
Important: Pour un freinage d'urgence, ôtez le pied de la pédale de déplacement et enfoncez les pédales de frein.
En mode gamme basse seulement, vous pouvez utiliser les freins individuellement pour tourner ou améliorer la motricité. Procédez comme suit quand vous utilisez les freins individuellement :
Déconnectez le verrou de blocage des pédales (Figure 4).
Pour l'assistance en virage, appuyez sur la pédale de frein correspondant au côté où vous allez tourner. Cela raccourcit le rayon de braquage.
Note: Utilisez les freins individuels avec prudence, particulièrement si l'herbe est tendre ou humide, car elle pourrait être arrachée accidentellement.
Pour l'assistance en déplacement, enfoncez légèrement la pédale de frein correspondant à la roue avant qui patine. Par exemple, il peut arriver que la roue en amont patine et perde de son pouvoir de traction. Dans ce cas, appuyez progressivement et par intermittence sur la pédale de frein d'amont, jusqu'à ce que la roue correspondante arrête de patiner, ce qui a pour effet d'augmenter la traction sur la roue en aval.
Grâce à la fonction Smart Power, vous n'avez plus besoin d'écouter le régime moteur lorsque les conditions sont difficiles. L'option Smart Power empêche la machine de s'enliser quand les conditions de coupe sont difficiles en régulant automatiquement la vitesse de la machine et en optimisant les performances de coupe.
Note: La fonction Smart Power est ACTIVéE par défaut.
La vitesse du ventilateur de la machine est régulée par la température du liquide hydraulique et du liquide de refroidissement moteur. Quand le liquide hydraulique ou le liquide de refroidissement atteint une certaine température, un cycle de rotation en sens inverse du ventilateur est déclenché. Ce cycle permet de souffler les débris présents sur la grille arrière et de diminuer les températures du liquide de refroidissement moteur et du liquide hydraulique.
Vous pouvez lancer manuellement un cycle de rotation en sens inverse à partir du menu Entretien ou en appuyant simultanément sur les boutons intérieurs gauche et droit dans un éCRAN D'EXéCUTION, lorsque les icônes du ventilateur sont affichés dans le menu contextuel. Il est recommandé d'inverser manuellement le sens de rotation du ventilateur avant de quitter la zone de travail ou d'entrer dans l'atelier ou le lieu de remisage.
Note: Lorsque votre demande est acquittée, un écran temporaire (3-4 secondes) s'affiche montrant un ventilateur à l'intérieur d'un rectangle. Cela signifie que votre demande a été envoyée, mais que certaines conditions empêchent l'inversion de la rotation du ventilateur.
La machine est équipée d'une fonction de ralenti automatique qui fait automatiquement tourner le moteur au ralenti quand aucune des fonctions suivantes n'est utilisée pendant une durée prédéfinie, précédemment programmée dans l'InfoCenter.
La pédale de déplacement revient en position NEUTRE.
La PDF est désengagée.
Aucune des commandes de levage n'est actionnée.
Si vous activez l'une des fonctions ci-dessus, le régime moteur revient automatiquement au réglage précédent.
La commande du régulateur de vitesse bloque la position de la pédale pour maintenir la vitesse de déplacement voulue. Appuyez sur l'arrière de la commande pour désactiver le régulateur de vitesse. Placez la commande à la position centrale pour activer le régulateur de vitesse et appuyez sur l'avant pour régler la vitesse de déplacement voulue.
Note: Vous pouvez aussi désactiver le régulateur de vitesse en enfonçant une des pédales de frein ou en plaçant la pédale de déplacement en position marche arrière pendant une seconde.
Important: Le système d'alimentation est purgé automatiquement dans les cas suivants :
Lors du tout premier démarrage d'une machine neuve.
Après un arrêt du moteur dû à une panne de carburant.
Après l'entretien des composants du circuit d'alimentation.
Enlevez le pied de la pédale de déplacement et vérifiez qu'elle revient à la position neutre. Vérifiez que le frein de stationnement est serré.
Placez la commande de régime moteur en position de RALENTI.
Tournez la clé en position CONTACT.
Note: Le témoin de préchauffage s'allume.
Quand le témoin s'éteint, tournez la clé en position DéMARRAGE. Relâchez la clé dès que le moteur démarre et laissez-la revenir en position CONTACT.
Important: Pour éviter de provoquer une défaillance prématurée du démarreur, ne l'actionnez pas plus de 30 secondes de suite. Si le moteur refuse de démarrer après 30 secondes, tournez la clé en position ARRêT, vérifiez les commandes et les procédures, attendez encore 30 secondes et répétez la procédure de démarrage.
Laissez chauffer le moteur à mi-régime (sans charge) puis placez la commande d'accélérateur à la position voulue.
Important: Laissez le moteur tourner au ralenti pendant 5 minutes avant de l'arrêter s'il vient de fonctionner à pleine charge. Vous éviterez ainsi d'endommager le turbocompresseur.
Important: Laissez tourner le moteur au ralenti pendant 5 minutes avant de l'arrêter s'il vient de fonctionner à pleine charge. Cela permet au turbocompresseur de refroidir avant l'arrêt du moteur. Vous éviterez ainsi d'endommager le turbocompresseur.
Note: Abaissez les unités de coupe au sol chaque fois que la machine est en stationnement. Cela soulage le système de la charge hydraulique, prévient l'usure des pièces du système et évite l'abaissement accidentel des unités de coupe.
Ramenez la commande d'accélérateur en position BAS RéGIME.
Placez la commande de PDF en position DéSENGAGéE.
Serrez le frein de stationnement.
Tournez la clé de contact à la position ARRêT.
Enlevez la clé du commutateur pour éviter tout démarrage accidentel.
La commande de régime moteur a 2 positions permettant de modifier le régime moteur. Appuyez brièvement sur la commande pour augmenter ou réduire le régime moteur de 100 tr/min à la fois. Maintenez la commande enfoncée pour sélectionner automatiquement le HAUT RéGIME ou le BAS RéGIME, selon le côté enfoncé.
Responsable (menu protégé)
Cette fonction permet au responsable de programmer entre 30 et 100 %, par paliers de 5 %, la vitesse de tonte maximale pouvant être utilisée (gamme basse).
Utilisateur
Cette fonction permet à l'utilisateur de régler
la vitesse de tonte maximale (gamme basse), dans les limites des paramètres
prédéfinis par le responsable. Sur l'écran
de démarrage ou principal de l'InfoCenter, appuyez sur
le bouton central (icône
) pour régler la vitesse.
Note: Lorsque vous alternez entre les gammes basse et haute, les réglages sont transférés en fonction du réglage précédent. Les réglages sont réinitialisés quand la machine est arrêtée.
Note: Vous pouvez aussi utiliser cette fonction avec le régulateur de vitesse.
Responsable (menu protégé)
Cette fonction permet au responsable de programmer entre 30 et 100 %, par paliers de 5 %, la vitesse de transport maximale pouvant être utilisée (gamme haute).
Voir Réglage de la vitesse de transport maximale autorisée pour la procédure de réglage de la vitesse de transport.
Utilisateur
Cette fonction permet à l'utilisateur de régler
la vitesse de transport maximale (gamme basse), dans les limites des
paramètres prédéfinis par le responsable. Sur
l'écran de démarrage ou principal de l'InfoCenter,
appuyez sur le bouton central (icône
) pour régler la
vitesse.
Note: Lorsque vous alternez entre les gammes basse et haute, les réglages sont transférés en fonction du réglage précédent. Les réglages sont réinitialisés quand la machine est arrêtée.
Note: Vous pouvez aussi utiliser cette fonction conjointement avec le régulateur de vitesse.
Le filtre à particules diesel (FAP) élimine la suie dans les gaz d'échappement
Le processus de régénération du FAP utilise la chaleur des gaz d'échappement du moteur qui est accrue par le catalyseur pour réduire la quantité de suie produite en cendre.
Pour maintenir le FAP propre, vous devez :
Faire tourner le moteur à plein régime lorsque cela est possible afin de favoriser le nettoyage automatique du FAP.
Utiliser l'huile moteur correcte.
Minimiser la durée de fonctionnement du moteur au ralenti.
Utilisez du gazole à très faible teneur en soufre.
Utilisez et faites l'entretien de votre machine en gardant à l'esprit le rôle du FAP. Le moteur soumis à une charge produit généralement une température des gaz d'échappement adéquate pour la régénération du FAP.
Important: Minimisez la durée de fonctionnement du moteur au ralenti pour aider à réduire l'accumulation de suie dans le FAP.
La température des gaz d'échappement est élevée (approximativement 600 °C pendant la régénération du FAP. Les gaz d'échappement chauds peuvent vous brûler ou brûler d'autres personnes.
Ne faites pas tourner le moteur dans un local fermé.
Assurez-vous qu'aucun matériau inflammable ne se trouve à proximité du système d'échappement.
Assurez-vous que les gaz d'échappement chauds ne sont pas en contact avec des surfaces qui pourraient être endommagées par la chaleur.
Ne touchez pas les composants du système d'échappement quand il est chaud.
Ne vous tenez pas tout près du tuyau d'échappement de la machine.
| Icône | Définition |
![]() | • Icône de régénération en stationnement ou d'urgence – régénération nécessaire. |
| • Effectuer immédiatement la régénération. | |
![]() | • Une régénération est confirmée et la demande est en cours de traitement. |
![]() | • Une régénération est en cours et la température des gaz d'échappement est élevée. |
![]() | • Défaillance du système de détection de NOx ; un entretien de la machine est nécessaire. |
| Type de régénération | Conditions de régénération du FAP | Description du fonctionnement du FAP |
|---|---|---|
| Passive | Se produit pendant le fonctionnement normal de la machine à haut régime moteur ou haute charge du moteur. | • L'InfoCenter n'affiche pas d'icône pour indiquer la régénération passive. |
| • Durant la régénération passive, le FAP traite les gaz d'échappement à haute température, en oxydant les émissions nocives et en brûlant la suie en cendre. | ||
| Assistée | Se produit car le régime moteur est bas, la charge du moteur est basse ou parce que le calculateur a détecté que le FAP est colmaté par de la suie. | • L'InfoCenter n'affiche pas d'icône pour indiquer la régénération assistée. |
| • Durant la régénération assistée, le calculateur moteur ajuste les réglages du moteur pour augmenter la température d'échappement. | ||
| Commandée | Se produit toutes les 100 heures | • Quand l'icône de haute température
des gaz d'échappement est affiché dans l'InfoCenter, une
régénération est en cours. |
| Se produit également si le fonctionnement normal du moteur excède l'accumulation de suie autorisée dans le filtre. | ||
| • Pendant la régénération commandée, le calculateur moteur maintient un régime moteur élevé pour assurer la régénération du filtre. |
| Type de régénération | Conditions de régénération du FAP | Description du fonctionnement du FAP |
|---|---|---|
| En stationnement | Se produit parce que le calculateur détermine que le nettoyage automatique du FAP a été insuffisant. | • Quand l'icône de
régénération commandée-de secours/en stationnement
ou d'urgence s'affiche, une régénération
est demandée. |
| Se produit également quand vous lancez une une régénération en stationnement. | ||
| Peut se produire lorsque l'interdiction de régénération a été déclenchée et a désactivé le nettoyage automatique du FAP. | • Effectuez une régénération en stationnement aussitôt que possible pour ne pas avoir à effectuer une régénération d'urgence. | |
| Peut se produire si vous avez utilisé le mauvais type de carburant ou d'huile moteur. | • L'exécution d'une régénération en stationnement demande 30 à 60 minutes. | |
| • Le réservoir de carburant doit être au moins au quart plein. | ||
| • Vous devez garer la machine pour effectuer une régénération en stationnement. | ||
| D'urgence | Se produit lorsque vous avez ignoré une demande de régénération en stationnement, ce qui a entraîné un grave colmatage du FAP. | • Quand l'icône de régénération
commandée-de secours/en stationnement ou d'urgence s'affiche, une régénération
d'urgence est demandée. |
| • L'exécution d'une régénération d'urgence peut demander jusqu'à 3 heures. | ||
| • Le réservoir de carburant doit être au moins à moitié plein. | ||
| • Vous devez garer la machine pour effectuer la régénération d'urgence. |
Dans le MENU PRINCIPAL, naviguez jusqu'à l'option ENTRETIEN et appuyez sur le bouton de sélection.
Dans le menu ENTRETIEN, naviguez jusqu'à l'option DPF REGENERATION et appuyez sur le bouton de sélection.
Sélectionnez la fonction de régénération qui vous intéresse.

Ouvrez le menu DPF REGENERATION (régénération du FAP) et naviguez jusqu'à l'option LAST REGEN (dernière régénération).
Sélectionnez le champ LAST REGEN (dernière régénération).
Dans le champ LAST REGEN, entrez le nombre d'heures de fonctionnement du moteur depuis la dernière régénération commandée, en stationnement ou d'urgence.
Sélectionnez le bouton de retour en arrière pour revenir à l'écran DPF REGENERATION.

Une régénération commandée augmente la température des gaz d'échappement. Si vous travaillez près d'arbres, de broussailles, d'herbe haute ou autres plantes ou matériaux sensibles aux changements de température, vous pouvez utiliser l'option INHIBIT REGEN (interdiction de régénération) pour empêcher le calculateur moteur d'exécuter une régénération commandée.
Note: L'option INHIBIT REGEN est toujours utilisée si vous effectuez l'entretien de la machine dans un local fermé.
Note: Si vous programmez l'InfoCenter pour interdire la régénération, il affiche un avis toutes les 15 minutes tandis que le moteur demande une régénération commandée.
Important: Quand vous coupez puis redémarrez le moteur, l'option Inhibit Regen passe par défaut à OFF (désactivée).
Ouvrez le menu DPF REGENERATION (régénération du FAP) et naviguez jusqu'à l'option INHIBIT REGEN (interdiction de régénération).
Sélectionnez le champ INHIBIT REGEN (interdiction de régénération).
Changez le champ Inhibit Regen de OFF (désactivé) à ON (activé).
Assurez-que le réservoir de carburant de la machine contient suffisamment de carburant pour le type de régénération que vous allez effectuer :
Régénération en stationnement : vérifiez que le réservoir de carburant est au quart plein avant de procéder à la régénération en stationnement.
Régénération d'urgence : vérifiez que le réservoir de carburant est à moitié plein avant de procéder à la régénération d'urgence.
Conduisez la machine à l'extérieur à bonne distance des matériaux ou objets combustibles qui pourraient être endommagés par la chaleur.
Garez la machine sur une surface plane et horizontale, placez toutes les commandes en position POINT MORT, désengagez la PDF et abaissez les unités de coupe.
Serrez le frein de stationnement et attendez que le moteur atteigne le régime de ralenti.
Quand le calculateur moteur demande une régénération en stationnement, les indications des messages affichés sur l'InfoCenter.
Important: L'ordinateur de la machine annule la régénération du FAP si vous augmentez le régime moteur à partir du ralenti ou si vous desserrez le frein de stationnement.
Ouvrez le menu DPF REGENERATION et naviguez jusqu'à l'option PARKED REGEN (régénération en stationnement) ou RECOVERY REGEN (régénération d'urgence).
Sélectionnez l'option PARKED REGEN ou RECOVERY REGEN.
Note: Pour pouvoir lancer une régénération d'urgence, vous devez saisir le code PIN correct.
Sur l'écran REGEN PARAMETERS (paramètres de régén.), assurez-vous que le réservoir est au quart plein pour une régénération en stationnement ou à moitié plein pour une régénération d'urgence. Vérifiez que le frein de stationnement est serré et que le moteur tourne au ralenti. Appuyez sur le bouton de sélection pour continuer.
Sur l'écran INITIATE DPF REGEN (lancer régén. du FAP), sélectionnez le bouton Suivant pour continuer.
L'InfoCenter affiche le message INITIATE DPF REGEN (lancer régén. du FAP).
Note: Si nécessaire, appuyez sur l'icône d'annulation pour annuler le processus de régénération.
L'InfoCenter affiche un message indiquant la durée de la régénération.
L'InfoCenter affiche l'écran d'accueil
et l'icône de confirmation de régénération
s'affiche
.
Note: Pendant l'exécution de la régénération
du FAP, l'InfoCenter affiche l'icône de haute température
des gaz d'échappement
.
Quand le calculateur moteur achève une régénération en stationnement ou d'urgence, un avis s'affiche sur l'InfoCenter. Appuyez sur un bouton pour retourner à l'écran d'accueil.
Note: Si la régénération échoue, suivez l'avis affiché et appuyez sur n'importe quel bouton pour retourner à l'écran d'accueil.
Utilisez l'option PARKED REGEN CANCEL (annulation de régén. en stationnement) ou RECOVERY REGEN CANCEL (annulation de régén. d'urgence) pour annuler une régénération en stationnement ou d'urgence en cours d'exécution.
Ouvrez le menu DPF REGENERATION et naviguez jusqu'à l'option PARKED REGEN (régénération en stationnement) ou RECOVERY REGEN (régénération d'urgence).
Appuyez sur le bouton de sélection pour annuler une régénération en stationnement ou d'urgence.

Changez la direction de tonte pour minimiser les problèmes de finition causés en tondant toujours dans la même direction.
Reportez-vous au Guide de dépannage des problèmes de finition disponible sur www.Toro.com.
Pour commencer à travailler, engagez les unités de coupe, puis approchez-vous lentement de la zone de travail.
Pour obtenir la coupe professionnelle avec des bandes droites apparentes recherchées pour certaines applications, choisissez un arbre ou autre objet éloigné et dirigez-vous droit dessus.
Dès que les unités avant arrivent au bout de la zone de travail, exécutez un demi-tour en « goutte d'eau » pour aligner rapidement la machine pour la passe suivante.
Des déflecteurs à boulonner en place sont disponibles pour les unités de coupe : Les déflecteurs de mulching sont utiles quand vous tondez le gazon régulièrement afin de n'avoir pas à couper plus de 25 mm d'herbe à chaque fois. Si vous tondez lorsque l'herbe est trop haute et que les déflecteurs de mulching sont en place, l'aspect du gazon une fois coupé peut se détériorer et la puissance nécessaire la tonte augmente. Les déflecteurs sont aussi utiles pour déchiqueter les feuilles à l'automne.
Ne coupez pas plus de 25 mm environ ou un tiers de la hauteur de l'herbe. Si l'herbe est extrêmement drue et fournie, il peut être préférable d'augmenter la hauteur de coupe.
Au contraire d'une lame émoussée, une lame bien aiguisée assure une coupe nette, sans arracher l'herbe ni la déchiqueter. L'herbe arrachée ou déchiquetée brunit sur les bords, sa croissance ralentit et elle devient plus sensible aux maladies. Vérifiez que la lame est en bon état et que l'ailette est intacte.
Vérifiez que les chambres de coupe sont en bon état. Redressez les pièces faussées des chambres pour obtenir le jeu correct entre la pointe de la lame et la chambre.
Après la tonte, lavez soigneusement la machine au jet d'eau sans buse pour éviter qu'une pression d'eau excessive ne contamine et n'endommage les joints et les roulements. Enlevez soigneusement la terre et les débris d'herbe accumulés sur le radiateur et le refroidisseur d'huile. Après le nettoyage, vérifiez que la machine ne présente pas de fuites d'huile hydraulique, de dommages ou d'usure des composants hydrauliques et mécaniques, et vérifiez également l'affûtage des lames des unités de coupe.
Avant de quitter la position d'utilisation, coupez le moteur, enlevez la clé et attendez l'arrêt complet de tout mouvement. Laissez refroidir la machine avant de la régler, d'en faire l'entretien, de la nettoyer ou de la remiser.
Pour éviter les risques d'incendie, enlevez les débris d'herbe coupée et autres agglomérés sur les unités de coupe, les dispositifs d'entraînement, les silencieux, les grilles de refroidissement et le compartiment moteur. Nettoyez les coulées éventuelles d'huile ou de carburant.
Si les unités de coupe sont en position de transport, utilisez le système de blocage mécanique positif (le cas échéant) avant de laisser la machine sans surveillance.
Laissez refroidir le moteur avant de ranger la machine dans un local fermé.
Enlevez la clé et fermez l'arrivée de carburant (selon l'équipement) avant de remiser ou de transporter la machine.
Ne remisez jamais la machine ou les bidons de carburant à proximité d'une flamme nue, d'une source d'étincelles ou d'une veilleuse, telle celle d'un chauffe-eau ou d'autres appareils.
Révisez et nettoyez la ou les ceintures de sécurité au besoin.
En cas d'urgence, vous pouvez pousser ou remorquer la machine en actionnant la vanne de dérivation de la pompe hydraulique à cylindrée variable.
Important: Ne poussez pas et ne remorquez pas la machine à plus de 3 à 4,8 km/h, au risque d'endommager les organes internes de la transmission.Les vannes de dérivation doivent être ouvertes chaque fois que vous poussez ou remorquez la machine.
Soulevez le siège et localisez les vannes de dérivation qui sont situées sous l'avant du réservoir de carburant (Figure 40).

Tournez chaque vanne de 3 tours dans le sens antihoraire pour l'ouvrir et dériver l'huile à l'intérieur de la transmission.
Note: Ne les ouvrez pas de plus de 3 tours. Il sera alors possible de déplacer la machine lentement sans endommager la transmission.
Poussez ou remorquez la machine
Après avoir poussé ou remorqué la machine, refermez les vannes de dérivation. Serrez la vanne à 70 N·m.
Important: Assurez-vous que la vanne de dérivation est fermée avant de démarrer le moteur. La transmission surchauffera si le moteur tourne alors que la vanne de dérivation est ouverte.
Important: S'il est nécessaire de pousser ou de remorquer la machine en marche arrière, mettez en dérivation le clapet antiretour du collecteur de la transmission à 4 roues motrices.Pour ce faire, raccordez un ensemble flexible à la prise d'essai de pression de transmission aux roues en marche arrière, située sur l'hydrostat, et à la prise située entre les prises M8 et P2 sur le collecteur de la transmission arrière, qui se trouve derrière la roue avant. L'ensemble flexible comprend un flexible (réf. 95-8843), 2 coupleurs (réf. 95-0985), et 2 raccords hydrauliques (réf. 340-77).
Les crics mécaniques ou hydrauliques peuvent céder sous le poids de la machine et causer des blessures graves.
Utilisez des chandelles pour soutenir la machine.
N'utilisez pas de crics hydrauliques.
Des points de levage sont situés à l'avant et l'arrière de la machine.
Sur le cadre à l'intérieur de chacune des roues motrices avant
Au centre de l'essieu arrière
Enlevez la clé et fermez l'arrivée de carburant (selon l'équipement) avant de remiser ou de transporter la machine.
Procédez avec prudence pour charger la machine sur une remorque ou un camion, ainsi que pour la décharger.
Utilisez des rampes d'une seule pièce pour charger la machine sur une remorque ou un camion.
Arrimez solidement la machine.
Des points d'attache sont situés à l'avant et à l'arrière de la machine (Figure 41).
Note: Utilisez uniquement des sangles homologuées DOT aux quatre coins pour arrimer la machine.
2 à l'avant de la plateforme d'utilisation
Pare-chocs arrière

Note: Les côtés gauche et droit de la machine sont déterminés d'après la position d'utilisation normale.
Important: Reportez-vous au manuel du propriétaire du moteur pour toutes procédures d'entretien supplémentaires.
Note: Vous pouvez télécharger un exemplaire gratuit du schéma hydraulique ou électrique en vous rendant sur www.Toro.com et en recherchant votre machine sous le lien Manuels sur la page d'accueil.
Important: Si vous effectuez l'entretien de la machine et que le moteur tourne avec un conduit d'extraction d'échappement, réglez l'interdiction de régénération à ON (activée) ; voir Réglage de l'interdiction de régénération.
Avant de quitter la position d'utilisation, effectuez la procédure suivante :
Garez la machine sur une surface plane et horizontale.
Désengagez la prise de force et abaissez les outils.
Serrez le frein de stationnement.
Coupez le moteur et retirez la clé.
Attendez l'arrêt complet de tout mouvement.
Portez une tenue adaptée, notamment une protection oculaire, un pantalon et des chaussures solides à semelle antidérapante. Gardez mains, pieds, vêtements, bijoux et cheveux longs à l'écart des pièces mobiles.
Si vous laissez la clé dans le commutateur d'allumage, quelqu'un pourrait mettre le moteur en marche accidentellement et vous blesser gravement, ainsi que toute personne à proximité. Retirez la clé du commutateur d'allumage avant tout entretien.
Laissez refroidir les composants de la machine avant d'effectuer toute opération d'entretien.
Si les unités de coupe sont en position de transport, utilisez le système de blocage mécanique positif (selon l'équipement) avant de laisser la machine sans surveillance.
Si possible, n'effectuez aucun entretien quand le moteur est en marche. Ne vous approchez pas des pièces mobiles.
Ne faites tourner le moteur que dans des lieux bien aérés. Les gaz d'échappement contiennent du monoxyde de carbone, qui est mortel en cas d'inhalation.
Soutenez la machine avec des chandelles chaque fois que vous devez travailler dessous.
Libérez la pression emmagasinée dans les composants avec précaution.
Maintenez toutes les pièces de la machine en bon état de marche et toutes les fixations bien serrées, surtout celles des lames.
Remplacez tous les autocollants usés ou endommagés.
Pour garantir le fonctionnement sûr et optimal de la machine, utilisez exclusivement des pièces de rechange d'origine Toro. Les pièces de rechange provenant d'autres constructeurs peuvent être dangereuses, et leur utilisation risque d'annuler la garantie de la machine.
| Périodicité d'entretien | Procédure d'entretien |
|---|---|
| Après la 1ère heure de fonctionnement |
|
| Après les 10 premières heures de fonctionnement |
|
| Après les 50 premières heures de fonctionnement |
|
| Après les 200 premières heures de fonctionnement |
|
| À chaque utilisation ou une fois par jour |
|
| Toutes les 25 heures |
|
| Toutes les 50 heures |
|
| Toutes les 100 heures |
|
| Toutes les 200 heures |
|
| Toutes les 250 heures |
|
| Toutes les 400 heures |
|
| Toutes les 500 heures |
|
| Toutes les 800 heures |
|
| Toutes les 1000 heures |
|
| Toutes les 2000 heures |
|
| Toutes les 3000 heures |
|
| Avant le remisage |
|
| Tous les 2 ans |
|
Si vous laissez la clé dans le commutateur d'allumage, quelqu'un pourrait mettre le moteur en marche accidentellement et vous blesser gravement, ainsi que toute personne à proximité.
Avant tout entretien, retirez la clé de contact.
Copiez cette page pour pouvoir vous en servir régulièrement.
| Entretiens à effectuer | Pour la semaine du : | ||||||
|---|---|---|---|---|---|---|---|
| Lundi | Mardi | Mercredi | Jeudi | Vendredi | Samedi | Dimanche | |
| Vérifiez le fonctionnement du système de sécurité. | |||||||
| Vérifiez le fonctionnement des freins. | |||||||
| Contrôlez le niveau d'huile moteur. | |||||||
| Contrôlez le niveau du liquide de refroidissement. | |||||||
| Vidangez le séparateur d'eau/de carburant. | |||||||
| Contrôlez le filtre à air, la cuvette à poussière et la valve de purge. | |||||||
| Vérifiez les bruits anormaux en provenance du moteur.1 | |||||||
| Vérifiez la propreté du radiateur et de l'écran. | |||||||
| Vérifiez les bruits de fonctionnement anormaux. | |||||||
| Contrôlez le niveau de liquide hydraulique. | |||||||
| Vérifiez l'état des flexibles hydrauliques. | |||||||
| Recherchez des fuites éventuelles. | |||||||
| Contrôlez le niveau de carburant. | |||||||
| Contrôlez la pression des pneus. | |||||||
| Vérifiez le fonctionnement des instruments. | |||||||
| Vérifiez le réglage de la hauteur de coupe. | |||||||
| Lubrifiez tous les graisseurs.2 | |||||||
| Nettoyez la machine. | |||||||
| Retouchez les peintures endommagées. | |||||||
|
1Contrôlez la bougie de préchauffage et les injecteurs en cas de démarrage difficile, de fumée excessive ou de fonctionnement irrégulier du moteur. 2Immédiatement après chaque lavage, quelle que soit la fréquence d'entretien indiquée. |
|||||||
Important: Reportez-vous au manuel du propriétaire du moteur pour toutes procédures d'entretien supplémentaires.
| Contrôle effectué par : | ||
| Point contrôlé | Date | Information |
Déverrouillez et soulevez le capot.
Retirez la goupille fendue qui fixe le pivot de capot aux supports (Figure 44).

Faites glisser le capot du côté droit, soulevez l'autre côté et sortez-le des supports.
Note: Inversez la procédure pour reposer le capot.
| Périodicité d'entretien | Procédure d'entretien |
|---|---|
| Toutes les 50 heures |
|
Les graisseurs de la machine doivent être lubrifiés régulièrement avec de la graisse au lithium nº 2. En outre, graissez immédiatement la machine après chaque lavage.
Emplacements et nombre de graisseurs :
2 roulements d'axe de pivot de la pédale de frein (Figure 45)
2 bagues de pivot d'essieux avant et arrière (Figure 46)
2 rotules de vérin de direction (Figure 47)
2 rotules de biellettes (Figure 47)
2 bagues de pivots de fusées (Figure 47).
Note: Graissez seulement le graisseur supérieur du pivot de fusée une fois par an (2 injections de graisse).



Note: Vous devrez peut-être lever l'unité de coupe pour exposer les graisseurs de la biellette inférieure et du pivot de verrou.
2 pivots de verrouillage (Figure 49)
Note: Vous devrez peut-être ouvrir les verrous manuellement pour accéder aux graisseurs (Figure 48). Utilisez un levier pour fermer et ouvrir le verrou.
2 bagues d'axe de chape de roue pivotante (Figure 50)
3 paliers d'axes de pivot (sous la poulie) (Figure 51)
2 bagues de pivot de bras de tension (Figure 51)




Les 4 vérins de levage de plateau latéral (Figure 54)

1 bague d'axe de chape de roue pivotante (Figure 55)
2 (de chaque côté) paliers d'axes de pivot (sous la poulie)
1 bague de pivot de bras de tension (sur l'arbre de tension)

Coupez le moteur et enlevez la clé avant de contrôler le niveau d'huile ou d'ajouter de l'huile dans le carter.
Ne modifiez pas le réglage du régulateur et ne faites pas tourner le moteur à un régime excessif.
Utilisez une huile moteur de qualité à basse teneur en cendre conforme ou supérieure aux spécifications suivantes :
Catégorie de service API CJ-4 ou mieux
Catégorie de service ACEA E6
Catégorie de service JASO DH-2
Important: L'utilisation d'une huile moteur d'une catégorie autre que la catégorie API CJ-4 ou mieux, ACEA E6 ou JASO DH-2, peut causer le colmatage du filtre à particules diesel ou endommager le moteur.
Utilisez une huile moteur ayant l'indice de viscosité suivant :
Huile préférée : SAE 15W-40 (au-dessus de -18 °C)
Autre huile possible : SAE 10W-30 ou 5W-30 (toutes températures)
L'huile moteur Toro Premium est en vente chez votre distributeur Toro agréé avec l'indice de viscosité 15W-40 ou 10W-30. Consultez le Catalogue de pièces pour les numéros de référence.
| Périodicité d'entretien | Procédure d'entretien |
|---|---|
| À chaque utilisation ou une fois par jour |
|
Le moteur est expédié avec de l'huile dans le carter. Vérifiez toutefois le niveau d'huile avant et après le premier démarrage du moteur.
Important: Contrôlez l'huile moteur chaque jour. Si le niveau d'huile moteur dépasse le repère maximum sur la jauge, il se peut que l'huile soit diluée avec du carburant.Si le niveau d'huile moteur est au-dessus du repère maximum, vidangez l'huile.
Le meilleur moment pour vérifier le niveau d'huile moteur est en début de journée, quand le moteur est froid avant sa mise en marche. Si le moteur a déjà tourné, attendez au moins 10 minutes que l'huile retourne dans le carter avant de contrôler le niveau. Si le niveau d'huile est à la même hauteur ou en dessous du repère minimum sur la jauge, faites l'appoint pour l'amener au repère maximum. Ne remplissez pas excessivement le carter moteur.
Important: Maintenez le niveau d'huile moteur entre les repères maximum et minimum sur la jauge ; une panne de moteur peut se produire si le carter contient trop ou pas assez d'huile.
Contrôlez le niveau d'huile moteur ; voir Figure 56.

Note: Si vous utilisez une huile différente, vidangez complètement le carter moteur avant de refaire le plein.
5,7 litres approximativement avec le filtre.
| Périodicité d'entretien | Procédure d'entretien |
|---|---|
| Toutes les 500 heures |
|
Démarrez le moteur et laissez-le tourner pendant 5 minutes pour réchauffer l’huile.
Avant de quitter le poste d'utilisation, garez la machine sur une surface plane et horizontale, coupez le moteur, enlevez la clé et attendez l'arrêt complet de toutes les pièces mobiles.
Vidangez l'huile moteur et remplacez le filtre à huile (Figure 57).

Faites l'appoint d'huile moteur.
Réinitialisez l'indicateur d'entretien dans l'Infocenter ; voir Réglage de l'indicateur d'entretien.
| Périodicité d'entretien | Procédure d'entretien |
|---|---|
| À chaque utilisation ou une fois par jour |
|
| Toutes les 50 heures |
|
| Toutes les 400 heures |
|
Vérifiez si le boîtier du filtre à air présente des dommages susceptibles d'occasionner des fuites d'air. Remplacez-le s'il est endommagé. Vérifiez que le système d'admission ne présente pas de fuites, de dommages ou de colliers de flexible desserrés.
Faites l'entretien du filtre à air uniquement quand l'indicateur de colmatage indique que cela est nécessaire (Figure 58). Ne remplacez pas le filtre à air plus fréquemment que nécessaire ; cela ne fait qu'accroître le risque de contamination du moteur par des impuretés quand le filtre est déposé.

Important: Le couvercle doit être parfaitement ajusté sur le boîtier du filtre à air.
Remplacez le filtre à air (Figure 59).

Note: Ne nettoyez pas l'élément usagé afin de ne pas endommager le matériau du filtre.
Important: N'essayez jamais de nettoyer l'élément de sécurité (Figure 60). Remplacez l'élément filtrant de sécurité une fois sur trois, quand vous effectuez l'entretien du préfiltre.

Réarmez l'indicateur de colmatage (Figure 58) s'il est rouge.
| Périodicité d'entretien | Procédure d'entretien |
|---|---|
| Toutes les 3000 heures |
|
Si le code d', ou s'affiche dans l'InfoCenter (Figure 61), nettoyez le filtre à suie en procédant comme suit :



Consultez la section Moteur du Manuel d'entretien pour savoir comment démonter et remonter le catalyseur d'oxydation diesel et le filtre à suie du FAP.
Consultez votre concessionnaire Toro agréé pour vous procurer des pièces de rechange ou faire l'entretien du catalyseur d'oxydation diesel et du filtre à suie.
Demandez à votre concessionnaire Toro agréé de réinitialiser l'ECU du moteur après la pose d'un FAP propre.
| Périodicité d'entretien | Procédure d'entretien |
|---|---|
| Toutes les 1000 heures |
|
| Avant le remisage |
|
En complément des entretiens périodiques énoncés, vidangez et nettoyez le réservoir de carburant si le système d'alimentation est contaminé ou si vous prévoyez de remiser la machine pendant une période prolongée. Rincez le réservoir avec du carburant neuf.
| Périodicité d'entretien | Procédure d'entretien |
|---|---|
| Toutes les 400 heures |
|
Vérifiez que les conduites et les raccords ne sont pas détériorés, endommagés ou desserrés.
| Périodicité d'entretien | Procédure d'entretien |
|---|---|
| À chaque utilisation ou une fois par jour |
|
| Toutes les 400 heures |
|
Faites l'entretien du séparateur d'eau comme montré à la Figure 62.
Après avoir remplacé le séparateur d'eau, tournez la clé en position CONTACT pendant 10 secondes, mais ne démarrez pas le moteur. Tournez ensuite la clé en position Arrêt, et répétez cette procédure 2 fois de plus.

| Périodicité d'entretien | Procédure d'entretien |
|---|---|
| Toutes les 400 heures |
|
Nettoyez la surface autour de la tête du filtre à carburant (Figure 63).

Déposez le filtre et nettoyez la surface de montage de la tête du filtre (Figure 63).
Lubrifiez le joint du filtre avec de l'huile moteur propre ; voir le manuel du propriétaire du moteur pour plus de précisions.
Montez la cartouche sèche à la main jusqu'à ce que le joint rejoigne la tête du filtre, puis serrez la cartouche d'un demi tour supplémentaire.
Amorcez le circuit d'alimentation pour purger l'air éventuellement présent ; voir Amorçage du circuit d'alimentation.
Amorcez le circuit d'alimentation avant le premier démarrage du moteur, après une panne d'essence ou après l'entretien du circuit d'alimentation (par ex. purge du filtre/séparateur d'eau, remplacement du flexible de carburant).
Pour amorcer le circuit d'alimentation, procédez comme suit :
Vérifiez que le réservoir de carburant n'est pas vide.
Effectuez la procédure suivante pour amorcer le filtre et les conduites reliées à la pompe haute pression afin d'éviter d'user ou d'endommager la pompe :
Tournez la clé à la position CONTACT pendant 15 à 20 secondes.
Tournez la clé à la position CONTACT pendant 30 à 40 secondes.
Note: Cela permet la mise hors tension de l'ECU.
Tournez la clé à la position CONTACT pendant 15 à 20 secondes.
Vérifiez l'absence de fuites autour du filtre et des flexibles.
Important: N'utilisez pas le démarreur pour lancer le moteur afin d'amorcer le circuit d'alimentation.
Débranchez la batterie avant de réparer la machine. Débranchez toujours la borne négative avant la borne positive. Rebranchez la borne positive avant la borne négative.
Chargez la batterie dans un endroit dégagé et bien aéré, à l'écart des flammes ou sources d'étincelles. Débranchez le chargeur du secteur avant de brancher ou de débrancher la batterie. Portez des vêtements de protection et utilisez des outils isolés.
| Périodicité d'entretien | Procédure d'entretien |
|---|---|
| Toutes les 25 heures |
|
| Toutes les 50 heures |
|
Important: Avant d'effectuer des soudures sur la machine, débranchez le câble négatif de la batterie pour éviter d'endommager le système électrique.
Note: Les bornes et le bac doivent être propres, car une batterie encrassée se décharge lentement. Pour nettoyer la batterie, lavez le bac avec un mélange d'eau et de bicarbonate de soude. Rincez ensuite à l'eau claire. Pour prévenir la corrosion, enduisez les bornes de la batterie et les cosses des câbles de graisse Grafo 112X (Skin-Over) (réf. Toro 505-47) ou de vaseline.
Ouvrez le couvercle de la batterie sur le côté du carénage (Figure 64).
Note: Appuyez sur la surface plate au-dessus du couvercle de batterie pour faciliter la dépose du couvercle (Figure 64).


Retirez le capuchon en caoutchouc de la borne positive et examinez la batterie.
Les bornes de la batterie ou les outils en métal peuvent causer des courts-circuits au contact des pièces métalliques et produire des étincelles. Les étincelles peuvent provoquer l'explosion des gaz de la batterie et vous blesser.
Lors du retrait ou de la mise en place de la batterie, les bornes ne doivent toucher aucune partie métallique de la machine.
Évitez de créer des courts-circuits entre les bornes de la batterie et les parties métalliques de la machine avec des outils en métal.
S'ils sont mal acheminés, les câbles de la batterie peuvent subir des dommages ou endommager la machine et produire des étincelles. Les étincelles peuvent provoquer l'explosion des gaz de la batterie et vous blesser.
Débranchez toujours le câble négatif (noir) de la batterie avant le câble positif (rouge).
Connectez toujours le câble positif (rouge) de la batterie avant le câble négatif (noir).
Pour prévenir la corrosion, enduisez les bornes de la batterie de graisse Grafo 112X (Skin-Over) (réf. Toro 505-47), de vaseline ou de graisse légère.
Placez ensuite le capuchon de caoutchouc sur la borne positive.
Fermez le couvercle de la batterie.
Les fusibles du groupe de déplacement se trouvent sous le couvercle du centre d'alimentation (Figure 66, Figure 67 et Figure 68).
Retirez les 2 vis qui fixent le couvercle du centre d'alimentation au cadre et déposez le couvercle (Figure 66).



Les fusibles de la cabine sont situés dans le porte-fusibles sur la garniture de pavillon (Figure 69 et Figure 70).
Note: Modèle à cabine uniquement


| Périodicité d'entretien | Procédure d'entretien |
|---|---|
| Toutes les 400 heures |
|
Faites l'appoint avec une huile pour engrenages de haute qualité SAE 85W-140.
Amenez la machine sur une surface plane et horizontale, tournez la roue de sorte à placer un bouchon de contrôle à la position 12 heures et l'autre à la position 3 heures (Figure 72).

Retirez le bouchon qui est à la position 3 heures (Figure 72).
Note: Le niveau d'huile doit atteindre le bas de l'orifice de contrôle.
Si le niveau d'huile est trop bas, retirez le bouchon situé à la position 12 heures et faites l'appoint d'huile jusqu'à ce qu'elle s'écoule par l'orifice à la position 3 heures.
Remettez les deux bouchons en place.
| Périodicité d'entretien | Procédure d'entretien |
|---|---|
| Après les 50 premières heures de fonctionnement |
|
| Toutes les 800 heures |
|
Utilisez une huile pour engrenages de haute qualité SAE 85W-140.
Placez la machine sur une surface plane et horizontale et tournez une roue de sorte que l'un des bouchons de contrôle se trouve à la position la plus basse (6 heures) (Figure 73).

Placez un bac de vidange sous le moyeu du train planétaire et enlevez le bouchon pour permettre à l'huile de s'écouler.
Placez un bac de vidange sous le carter de frein et enlevez le bouchon pour permettre à l'huile de s'écouler (Figure 74).

Lorsque toute l'huile s'est écoulée par les deux orifices, remettez le bouchon en place sur le carter de frein.
Tournez la roue jusqu'à ce que l'orifice débouché du train planétaire soit à la position 12 heures.
Versez lentement dans l'orifice ouvert du train planétaire 0,65 l d'huile pour engrenages de haute qualité SAE 85W-140.
Important: Si le train planétaire se remplit avant que 0,65 litre d'huile soit ajouté, attendez une heure ou remettez le bouchon en place, et déplacez la machine d'environ 3 mètres pour bien répartir l'huile dans le système de freinage. Retirez ensuite le bouchon et ajoutez le restant d'huile.
Mettez le bouchon en place.
Répétez ces opérations pour l'ensemble train planétaire/frein opposé.
| Périodicité d'entretien | Procédure d'entretien |
|---|---|
| Toutes les 400 heures |
|
Le pont arrière est rempli d'huile pour engrenages SAE 85W-140. Contrôlez le niveau de lubrifiant avant le premier démarrage du moteur, puis aux intervalles recommandés. La capacité est de 2,4 litres. Recherchez les fuites éventuelles chaque jour.
Placez la machine sur une surface plane et horizontale.
Enlevez un bouchon de contrôle à l'extrémité du pont et vérifiez que le lubrifiant atteint la base de l'orifice (Figure 75).
Note: Si le niveau est trop bas, enlevez le bouchon de remplissage et ajoutez suffisamment de lubrifiant pour rectifier le niveau.

| Périodicité d'entretien | Procédure d'entretien |
|---|---|
| Toutes les 400 heures |
|
Le boîtier d'engrenages est rempli d'huile pour engrenages SAE 85W-140. La capacité est de 0,5 litre. Recherchez les fuites éventuelles chaque jour.
Placez la machine sur une surface plane et horizontale.
Enlevez le bouchon de contrôle/remplissage du côté gauche du boîtier d'engrenages et vérifiez que le lubrifiant atteint la base de l'orifice (Figure 76).
Note: Si le niveau est bas, ajoutez suffisamment de lubrifiant pour rectifier le niveau.

| Périodicité d'entretien | Procédure d'entretien |
|---|---|
| Après les 200 premières heures de fonctionnement |
|
| Toutes les 800 heures |
|
Placez la machine sur une surface plane et horizontale.
Nettoyez la surface autour des 3 bouchons de vidange, 1 à chaque extrémité et 1 au centre (Figure 77).
Enlevez les bouchons de contrôle pour faciliter la vidange de l'huile.
Retirez les bouchons de vidange pour permettre à l'huile de s'écouler dans les bacs de vidange.

Nettoyez la surface autour du bouchon de vidange au fond du boîtier d'engrenages (Figure 78).
Enlevez le bouchon de vidange du boîtier pour permettre à l'huile de s'écouler dans le bac.
Note: Enlevez le bouchon de remplissage pour faciliter la vidange de l'huile.

Ajoutez suffisamment d'huile pour que le niveau atteigne la base des trous des bouchons de contrôle ; voir Vidange du lubrifiant du pont arrière et Contrôle du niveau de lubrifiant du boîtier d'engrenages du pont arrière.
Remettez les bouchons en place.
| Périodicité d'entretien | Procédure d'entretien |
|---|---|
| Toutes les 800 heures |
|
Mesurez l'entraxe (à hauteur d'essieu) à l'avant et à l'arrière des roues directrices.
Note: Le pincement à l'avant doit être inférieur de 6 mm au pincement à l'arrière.
Pour régler le pincement, desserrez les fixations aux deux extrémités des biellettes.
Tournez la biellette de façon à déplacer l'avant de la roue vers l'intérieur ou l'extérieur.
Resserrez les fixations des biellettes quand le réglage correct est obtenu.
Abaissez les unités de coupe latérales au sol.
Soulevez l'avant de la machine de plusieurs centimètres et placez des chandelles dessous pour la soutenir.
Voir Pivotement (basculement) de l'unité de coupe centrale à la verticale.
Faites pivoter le plateau de coupe vers l'avant pour pouvoir déposer la roue.
L'ingestion de liquide de refroidissement peut être toxique ; rangez-le hors de la portée des enfants et des animaux domestiques.
Les projections de liquide de refroidissement brûlant sous pression ou le contact avec le radiateur brûlant et les pièces qui l'entourent peuvent causer des brûlures graves.
Laissez toujours refroidir le moteur pendant au moins 15 minutes avant d'enlever le bouchon du radiateur.
Servez-vous d'un chiffon pour ouvrir le bouchon du radiateur et desserrez-le lentement pour laisser la vapeur s'échapper.
N'utilisez jamais la machine sans les capots de protection.
N'approchez pas les doigts, les mains ou les vêtements du ventilateur et de la courroie d'entraînement en rotation.
Le réservoir de liquide de refroidissement est rempli à l'usine d'un mélange 50/50 d'eau et de liquide de refroidissement longue durée à base d'éthylène glycol.
Important: Utilisez uniquement des liquides de refroidissement en vente dans le commerce et répondant aux spécifications énoncées dans le Tableau des normes des liquides de refroidissement longue durée.N'utilisez pas de liquide de refroidissement ordinaire (vert) issu de la technologie des acides inorganiques (IAT) dans la machine. Ne mélangez pas les liquides de refroidissement ordinaires et longue durée.
|
Type à l'éthylène-glycol |
Type avec inhibiteur de corrosion |
|
Antigel longue durée |
Technologie des acides organiques (OAT) |
|
Important: Ne vous fiez pas à la couleur du liquide de refroidissement pour différencier les types de liquides de refroidissement ordinaire (IAT) et longue durée.Les fabricants de liquides de refroidissement peuvent teinter les liquides de refroidissement longue durée dans les couleurs suivantes : rouge, rose, orange, jaune, bleu, vert-bleu, violet et vert. Utilisez un liquide de refroidissement répondant aux spécifications énoncées dans le Tableau des normes des liquides de refroidissement longue durée. |
|
|
ATSM International |
SAE International |
|
D3306 et D4985 |
J1034, J814 et 1941 |
Important: Le mélange concentré doit être constitué à part égale de liquide de refroidissement et d'eau.
De préférence : si le liquide de refroidissement est mélangé à partir de concentré, le mélanger avec de l'eau distillée.
Option privilégiée : en l'absence d'eau distillée, utiliser un liquide de refroidissement prémélangé au lieu de concentré.
Minimum requis : en l'absence d'eau distillée et de liquide de refroidissement prémélangé, mélanger du liquide concentré avec de l'eau potable propre.
| Périodicité d'entretien | Procédure d'entretien |
|---|---|
| À chaque utilisation ou une fois par jour |
|
Vérifiez le niveau de liquide de refroidissement au début de chaque journée de travail. Le circuit de refroidissement a une capacité de 8,5 litres.
Les ventilateurs et les courroies d'entraînement en rotation peuvent causer des blessures.
N'utilisez jamais la machine sans les capots de protection.
N'approchez pas les doigts, les mains ou les vêtements du ventilateur et de la courroie d'entraînement en rotation.
Coupez le moteur et enlevez la clé avant d'effectuer des entretiens.
Retirez le bouchon du radiateur et le bouchon du vase d'expansion avec précaution (Figure 79).
Vérifiez le niveau du liquide de refroidissement dans le radiateur.
Note: Le radiateur doit être rempli jusqu'en haut du goulot de remplissage et le vase d'expansion jusqu'au repère maximum.

Si le niveau du liquide de refroidissement est trop bas, ajoutez un mélange 50/50 d'eau et d'antigel à l'éthylène glycol.
Important: N'utilisez pas seulement de l'eau pure ou des liquides de refroidissement à base d'alcool ou de méthanol au risque de causer des dommages.
Remettez en place les bouchons du radiateur et du vase d'expansion.
| Périodicité d'entretien | Procédure d'entretien |
|---|---|
| Toutes les 100 heures |
|
| Tous les 2 ans |
|
Enlevez chaque jour les débris présents sur le radiateur/refroidisseur d'huile. Nettoyez-les plus fréquemment en cas de saleté abondante.
Cette machine est équipée d'un système d'entraînement de ventilateur hydraulique qui s'inverse automatiquement (ou manuellement) pour réduire l'accumulation de débris sur le radiateur/refroidisseur d'huile et la grille. Cette fonction permet de réduire le temps nécessaire au nettoyage du radiateur/refroidisseur d'huile, mais n'élimine pas la nécessité d'un nettoyage de routine. Le nettoyage et l'examen périodiques du radiateur/refroidisseur d'huile restent nécessaires.
Coupez le moteur, enlevez la clé et soulevez le capot.
Nettoyez soigneusement la surface du moteur.
Nettoyez soigneusement les deux côtés du radiateur/refroidisseur à l'air comprimé (Figure 80).
Note: Commencez par le côté ventilateur et soufflez les débris vers l'arrière. Continuez ensuite en soufflant de l'arrière vers l'avant. Répétez cette procédure plusieurs fois jusqu'à ce tous les débris soient éliminés.
Important: Ne nettoyez pas le radiateur/refroidisseur d'huile avec de l'eau, car cela risque d'encourager la corrosion et la détérioration des composants.

Fermez le capot.
Réglez les freins de service si la garde aux pédales de frein est supérieure à 25 mm ou si les freins ne fonctionnent pas bien. La garde est la distance parcourue par la pédale de frein avant que le freinage soit ressenti.
Débloquez le verrou des pédales de frein pour les rendre indépendantes l'une de l'autre.
Pour réduire la garde aux pédales de frein, serrez les freins comme suit :
Desserrez l'écrou avant sur l'extrémité filetée du câble de frein (Figure 81).

Serrez l'écrou arrière pour déplacer le câble en arrière jusqu'à obtention d'une garde de 13 à 25 mm.
Resserrez les écrous avant une fois que les freins sont réglés correctement.
| Périodicité d'entretien | Procédure d'entretien |
|---|---|
| Après les 10 premières heures de fonctionnement |
|
| Toutes les 100 heures |
|
Lorsque la tension est correcte, la courroie présente une flèche de 10 mm quand une force de 44 N·m est exercée à mi-chemin entre les poulies.
Si vous n'obtenez pas une flèche de 10 mm, desserrez les boulons de fixation de l'alternateur (Figure 82).
Note: Augmentez ou diminuez la tension de la courroie et resserrez les boulons. Contrôlez de nouveau la flèche de la courroie pour vérifier si la tension est correcte.

| Périodicité d'entretien | Procédure d'entretien |
|---|---|
| Après les 10 premières heures de fonctionnement |
|
| Toutes les 100 heures |
|
Modèle à cabine uniquement
Vérifiez l'état et la tension de la courroie (Figure 82) toutes les 100 heures de fonctionnement.
Lorsque la tension est correcte, la courroie présente une flèche de 10 mm quand une force de 44 N est exercée à mi-chemin entre les poulies.
Si vous n'obtenez pas une flèche de 10 mm, desserrez le boulon de fixation de la poulie de tension (Figure 82). Augmentez ou diminuez la tension de la courroie du compresseur et resserrer le boulon. Contrôlez de nouveau la flèche de la courroie pour vérifier si la tension est correcte.
| Périodicité d'entretien | Procédure d'entretien |
|---|---|
| Après les 10 premières heures de fonctionnement |
|
| Toutes les 50 heures |
|
Lorsque le ressort d’extension est correctement tendu, l’intérieur doit mesurer (d'un crochet à l'autre) entre 8,3 et 9,5 cm. Lorsque le ressort est correctement tendu, ajustez le boulon d'arrêt (boulon de carrosserie) jusqu'à obtention d'un jeu d'environ 2 à 5 mm entre la tête du boulon et le bras de tension (Figure 83).
Note: La courroie doit être placée du côté ressort du guide (Figure 83).

| Périodicité d'entretien | Procédure d'entretien |
|---|---|
| Toutes les 800 heures |
|
La courroie d'entraînement des lames, qui est tendue par la poulie de tension à ressort, est très durable. Elle commence toutefois à s'user après de longues heures d'utilisation. La courroie peut montrer les signes d'usure suivants : grincement pendant la rotation, glissement des lames pendant la coupe, bords effilochés, traces de brûlures et fissures. Remplacez la courroie quand elle présente ce genre de problèmes.
Abaissez le plateau de coupe au sol, déposez les couvercles de courroie au sommet du plateau de coupe et mettez-les de côté.
Desserrez le boulon à œil (Figure 83).
Desserrez l'écrou à embase qui fixe le boulon d'arrêt à la patte de montage, et écartez la poulie de tension de la courroie (Figure 83).
Note: Desserrez l'écrou suffisamment pour que le bras de tension passe le boulon d'arrêt.
Note: S'il s'avère nécessaire de retirer le boulon d'arrêt de la patte de montage, remettez-le toujours dans le trou qui aligne la tête du boulon sur le bras de tension.
Enlevez les boulons qui fixent le moteur hydraulique au plateau de coupe (Figure 84).

Soulevez le moteur hors du plateau et posez-le au sommet du plateau.
Enlevez la courroie usagée des poulies d'axe et de la poulie de tension.
Acheminez la courroie neuve autour des poulies d'axe et de la poulie de tension.
Placez le moteur hydraulique sur le plateau de coupe après avoir installé la courroie autour des poulies. Fixez le moteur sur le plateau de coupe à l'aide les boulons retirés précédemment.
Note: La courroie doit être placée du côté ressort du guide (Figure 83).
Raccrochez le ressort d'extension (Figure 83) au boulon à œil et tendez la courroie comme suit :
Lorsque le ressort d’extension est correctement tendu, l’intérieur doit mesurer (d'un crochet à l'autre) entre 8,3 et 9,5 cm.
Lorsque le ressort est correctement tendu, ajustez le boulon d'arrêt (boulon de carrosserie) jusqu'à obtention d'un jeu d'environ 2 à 5 mm entre la tête du boulon et le bras de tension.
Consultez immédiatement un médecin si du liquide est injecté sous la peau. Toute injection de liquide hydraulique sous la peau doit être éliminée dans les quelques heures qui suivent par une intervention chirurgicale réalisée par un médecin.
Vérifiez l'état de tous les flexibles et conduits de liquide hydraulique, ainsi que le serrage de tous les branchements et raccords avant de mettre le système hydraulique sous pression.
N'approchez pas les mains ni aucune autre partie du corps des fuites en trou d'épingle ou des gicleurs d'où sort du liquide hydraulique sous haute pression.
Utilisez un morceau de papier ou de carton pour détecter les fuites.
Évacuez avec précaution toute la pression du système hydraulique avant toute intervention sur le système.
Le réservoir est rempli en usine de liquide hydraulique de haute qualité. Contrôlez néanmoins le niveau du liquide hydraulique avant le tout premier démarrage du moteur, puis tous les jours ; voir Vidange du liquide hydraulique.
Liquide hydraulique recommandé : liquide hydraulique longue durée « Toro PX Extended Life » ; disponible en bidons de 19 litres ou barils de 208 litres.
Note: Si vous utilisez le liquide de remplacement recommandé dans la machine vous n'aurez pas besoin de vidanger le liquide et de remplacer le filtre aussi souvent.
Autres liquides hydrauliques possibles : si vous ne disposez pas de liquide hydraulique longue durée Toro PX, vous pouvez utiliser d'autres liquides hydrauliques classiques à base de pétrole à condition qu'ils soient conformes aux caractéristiques physiques et aux spécifications de l'industrie suivantes. N'utilisez pas de liquide synthétique. Consultez votre distributeur de lubrifiants pour identifier un produit qui convient.
Note: Toro décline toute responsabilité en cas de dommage causé par l'utilisation d'huiles de remplacement inadéquates. Utilisez uniquement des produits provenant de fabricants réputés qui répondent de leur recommandation.
| Propriétés physiques : | ||
| Viscosité, ASTM D445 | 44 à 48 cSt à 40 °C | |
| Indice de viscosité, ASTM D2270 | 140 ou plus | |
| Point d'écoulement, ASTM D97 | -37 à -45 °C | |
| Spécifications de l'industrie : | Eaton Vickers 694 (I-286-S, M-2950-S/35VQ25 ou M-2952-S) | |
Note: De nombreuses huiles hydrauliques sont presque incolores, ce qui rend difficile la détection des fuites. Un additif colorant rouge pour liquide hydraulique est disponible en bouteilles de 20 ml. Une bouteille suffit pour 15 à 22 litres de liquide hydraulique. Vous pouvez commander ces bouteilles chez les concessionnaires Toro agréés (réf. 44-2500).
Important: Le liquide hydraulique biodégradable synthétique « Toro Premium Synthetic Bio Hyd Fluid » est le seul liquide biodégradable synthétique agréé par Toro. Il est compatible avec les élastomères utilisés dans les systèmes hydrauliques Toro et convient pour de larges plages de températures. Ce liquide est compatible avec les huiles minérales traditionnelles ; toutefois vous devez rincer soigneusement le système hydraulique pour le débarrasser de l'ancien liquide afin d'optimiser la biodégradabilité et les performances. Cette huile est disponible en bidons de 19 litres ou en barils de 208 litres chez votre distributeur Toro agréé.
| Périodicité d'entretien | Procédure d'entretien |
|---|---|
| À chaque utilisation ou une fois par jour |
|
Placez la machine sur une surface plane et horizontale, abaissez les unités de coupe, coupez le moteur et enlevez la clé de contact.
Contrôlez le niveau du liquide hydraulique (Figure 85).

| Périodicité d'entretien | Procédure d'entretien |
|---|---|
| Toutes les 800 heures |
|
| Toutes les 2000 heures |
|
| Tous les 2 ans |
|
Si le liquide hydraulique est contaminé, il faut rincer le système hydraulique. Le liquide contaminé a un aspect laiteux ou noir comparé à du liquide propre. Pour tout renseignement complémentaire, adressez-vous à votre concessionnaire Toro agréé.
Garez la machine sur une surface plane et horizontale, abaissez les unités de coupe, coupez le moteur et retirez la clé de contact.
Retirez le bouchon de vidange au en bas et à l'avant du réservoir hydraulique et vidangez l'huile dans un grand bac de vidange.
Revissez le bouchon en place lorsque la vidange d'huile hydraulique est terminée.
Remplissez le réservoir (Figure 86) de liquide hydraulique ; voir Entretien du système hydraulique.
Important: Utilisez uniquement les liquides hydrauliques spécifiés. Tout autre liquide endommagera le système.

Remettez le bouchon du réservoir en place, démarrez le moteur et actionnez toutes les commandes hydrauliques pour faire circuler le liquide dans tout le circuit.
Note: Recherchez aussi des fuites éventuelles, puis coupez le moteur.
Vérifiez le niveau d'huile et faites l'appoint pour amener le niveau au repère maximum sur la jauge.
Note: Ne remplissez pas excessivement.
| Périodicité d'entretien | Procédure d'entretien |
|---|---|
| Toutes les 800 heures |
|
| Toutes les 1000 heures |
|
Utilisez les filtres de rechange Toro suivants :
Réf. 94-2621 à l'arrière (unité de coupe) de la machine
Réf. 75-1310 à l'avant (charge) de la machine
Important: L'utilisation de tout autre filtre peut annuler la garantie de certaines pièces.
Garez la machine sur une surface plane et horizontale, abaissez les unités de coupe, serrez le frein de stationnement, coupez le moteur et enlevez la clé de contact.
Remplacez les filtres hydrauliques (Figure 87).

Démarrez le moteur, laissez-le tourner environ 2 minutes pour purger l'air du circuit, puis coupez-le et recherchez d'éventuelles fuites.
| Périodicité d'entretien | Procédure d'entretien |
|---|---|
| Tous les 2 ans |
|
Les fuites de liquide hydraulique sous pression peuvent transpercer la peau et causer des blessures graves.
Consultez immédiatement un médecin en cas d'injection de liquide sous la peau.
Vérifiez l'état des flexibles et conduites hydrauliques, ainsi que le serrage de tous les raccords et branchements avant de mettre le système hydraulique sous pression.
N'approchez pas les mains ni aucune autre partie du corps des fuites en trou d'épingle ou des gicleurs d'où sort du liquide hydraulique sous haute pression.
Utilisez un morceau de papier ou de carton pour détecter les fuites.
Évacuez avec précaution toute la pression du système hydraulique avant toute intervention sur le système.
Vérifiez chaque jour que les conduites et flexibles hydrauliques ne présentent pas de fuites, ne sont pas pliés, usés, détériorés par les conditions atmosphériques ou les produits chimiques, et que les supports de montage et les raccords ne sont pas desserrés. Effectuez les réparations nécessaires avant d'utiliser la machine.
La prise d'essai de compensation sert à tester la pression dans le circuit de compensation (Figure 88). La pression de compensation préconisée est de 22,41 bar. Pour régler la pression de compensation, desserrez le contre-écrou, tournez la vis de réglage (Figure 88) dans le sens horaire pour augmenter la pression ou dans le sens antihoraire pour la réduire, puis resserrez le contre-écrou. Pour contrôler la pression, le moteur doit tourner et le plateau doit être abaissé en position de flottement.
Note: Les roues pivotantes des trois unités de coupe doivent rester au sol lors du réglage de la pression de compensation et quand la pression de compensation est appliquée.

Note: Bien que cela ne soit pas nécessaire, vous pouvez faire pivoter (incliner) l'unité de coupe centrale.
Soulevez légèrement l'unité de coupe centrale au-dessus du sol, serrez le frein de stationnement, coupez le moteur et enlevez la clé.
Retirez la goupille fendue qui fixe les amortisseurs aux bras de levage (Figure 89).

Faites pivoter l'amortisseur vers le carter du plateau de coupe.
Enlevez la goupille fendue et l'axe de chape qui fixent les chaînes de hauteur de coupe à l'arrière de l'unité de coupe (Figure 90).

Mettez le moteur en marche et levez lentement l'unité de coupe centrale.
Levez lentement chaque unité de coupe latérale jusqu'à ce que le centre de gravité se déplace et que l'unité commence à pivoter en position redressée.
Coupez le moteur et enlevez la clé de contact.
Abaissez lentement les unités de coupe latérales jusqu'à ce que le centre de gravité se déplace et que l'unité de coupe centrale pivote vers le bas.
Asseyez-vous sur le siège, mettez le moteur en marche et abaissez l'unité de coupe centrale jusqu'à ce qu'elle soit juste au-dessus du sol.
Coupez le moteur, attendez l'arrêt complet de toutes les pièces et enlevez la clé de contact.
Fixez les chaînes de hauteur de coupe à l'arrière de l'unité de coupe.
Faites pivoter les amortisseurs vers le haut pour les remettre en place et fixez-les avec un axe de chape et une goupille fendue.
L'inclinaison du plateau de coupe est représentée par la différence qui existe entre la hauteur de coupe à l'avant et à l'arrière du plan de lame. Utilisez une inclinaison des lames de 8 à 11 mm. Cela signifie que l'arrière de la lame est plus élevé que l'avant de 8 à 11 mm.
Placez la machine sur une surface plane et horizontale.
Sélectionnez la hauteur de coupe voulue.
Tournez une lame pour la faire pointer droit devant.
A l'aide d'une règle courte, mesurez l'écartement entre le sol et la pointe à l'avant de la lame.
Tournez ensuite la lame à 180° pour que la pointe se trouve à l'arrière et mesurez l'écartement entre le sol et la pointe de la lame.
L'inclinaison est égale à la différence entre les valeurs mesurées à l'avant et à l'arrière.
Desserrez les écrous de blocage en haut ou en bas de l'étrier fileté de la chaîne de hauteur de coupe (Figure 91).
Modifiez le réglage de l'autre groupe d'écrous pour élever ou abaisser l'arrière du plateau et obtenir l'inclinaison voulue.
Resserrez les écrous de blocage.

Enlevez les vis et écrous de fixation du bras de la roue pivotante à la fourche (Figure 92).
Positionnez les cales pour élever ou abaisser la roue pivotante, selon les besoins, et obtenir la bonne inclinaison.
Remettez les vis et les écrous.

Les bras des roues pivotantes sont munis de bagues enfoncées à la presse en haut et en bas du tube. Ces bagues s'usent après de nombreuses heures d'utilisation. Pour vérifier l'état des bagues, bougez la chape de la roue pivotante longitudinalement et latéralement. Si l'axe de pivot bouge à l'intérieur des bagues, remplacez les bagues.
Levez l'unité de coupe pour décoller les roues du sol et calez-la pour l'empêcher de retomber accidentellement.
Retirez le chapeau de tension, la ou les entretoise(s) et la rondelle de butée situés en haut de l'axe de pivot.
Sortez l'axe de pivot du tube de montage.
Note: Laissez la rondelle de butée et la ou les entretoise(s) au bas de l'axe.
Insérez un chasse-goupille dans le haut ou le bas du tube de montage et chassez la bague hors du tube (Figure 93).

Chassez ensuite l'autre bague hors du tube.
Nettoyez l'intérieur des tubes de montage.
Graissez l'intérieur et l'extérieur des nouvelles bagues.
À l'aide d'un marteau et d'une plaque plate, enfoncez les bagues dans le tube de montage.
Examinez l'état de l'axe de pivot et remplacez-le s'il est endommagé.
Insérez l'axe de pivot dans les bagues et le tube de montage.
Glissez la rondelle de butée et la ou les entretoises sur l'axe, puis reposez le chapeau de tension sur l'axe de pivot pour maintenir les pièces en position.
| Périodicité d'entretien | Procédure d'entretien |
|---|---|
| Toutes les 800 heures |
|
Retirez le contre-écrou du boulon qui fixe la roue pivotante entre la fourche (Figure 94) ou le bras de la roue pivotante (Figure 95).
Note: Maintenez la roue pivotante et sortez le boulon de la fourche ou du bras de pivot.


Enlevez le roulement du moyeu de la roue et laissez tomber la douille d'écartement à l'extérieur (Figure 94 et Figure 95).
Enlevez le roulement de l'autre côté du moyeu.
Vérifiez l'usure des roulements, de l'entretoise et de l'intérieur du moyeu de roue, et remplacez les pièces endommagées.
Pour assembler la roue pivotante, enfoncez le roulement dans le moyeu.
Note: Lors de la pose des roulements, appuyez sur la face extérieure des roulements.
Insérez la douille d'écartement de roulement dans le moyeu de roue et poussez l'autre roulement dans le côté ouvert du moyeu pour bloquer la douille d'écartement à l'intérieur.
Montez la roue pivotante entre la fourche et fixez-la en place à l'aide du boulon et du contre-écrou.
Les protections des charnières empêchent les débris de s'échapper aux points d'articulation entre les unités de coupe. Remplacez les protections si elles sont endommagées ou usées.

Contrôlez l'état et l'usure des lames périodiquement.
Examinez toujours les lames avec prudence. Manipulez les lames avec des gants ou en les enveloppant dans un chiffon, et toujours avec prudence. Limitez-vous à remplacer ou aiguiser les lames ; n'essayez jamais de les redresser ou de les souder.
Attention, sur les machines à plusieurs lames, la rotation d'une lame peut entraîner celle des autres.
Après avoir heurté un obstacle, vérifiez si la tondeuse n'est pas endommagée et effectuez les réparations éventuellement nécessaires avant de démarrer et de poursuivre l'utilisation. Serrez tous les écrous des poulies d'axe à un couple de 176 à 203 N·m.
Amenez la machine sur une surface plane et horizontale, levez l'unité de coupe, serrez le frein de stationnement, mettez la pédale de déplacement en position NEUTRE, placez la commande de PDF en position DéSENGAGéE, coupez le moteur et enlevez la clé de contact.
Note: Calez l'unité de coupe pour l'empêcher de retomber accidentellement.
Tournez la lame dans le sens longitudinal et mesurez la distance entre l'intérieur de l'unité de coupe et le tranchant à l'avant de la lame (Figure 97).
Note: Notez cette valeur.

Tournez la lame pour faire passer la pointe qui est à l'arrière à l'avant et mesurez l'écart entre l'unité de coupe et le tranchant de la lame au même endroit qu'à l'opération 2.
Note: Les mesures obtenues aux opérations 2 et 3 ne doivent pas différer de plus de 3 mm. Si la différence est supérieure à 3 mm, la lame est faussée et doit être remplacée ; voir Retrait et montage des lames des unités de coupe.
Remplacez toute lame si elle heurte un obstacle, si elle est déséquilibrée ou faussée. Pour garantir le meilleur rendement et le maximum de sécurité, utilisez toujours des lames d'origine Toro.
Garez la machine sur une surface plane et horizontale, levez l'unité de coupe à la position de transport, serrez le frein de stationnement, coupez le moteur et enlevez la clé.
Note: Calez ou bloquez l'unité de coupe pour l'empêcher de retomber accidentellement.
Saisissez la lame par son extrémité avec un chiffon ou un gant épais.
Enlevez le boulon, la coupelle de protection et la lame de l'axe de pivot (Figure 98).

Montez la lame, la coupelle de protection et le boulon de la lame, puis serrez le boulon à un couple de 115 à 149 N·m.
Important: Pour obtenir une coupe correcte, l'ailette de la lame doit être dirigée vers l'intérieur de l'unité de coupe.
Note: Après avoir heurté un obstacle, serrez tous les écrous des poulies d'axe à un couple de 115 à 149 N·m.
Le tranchant comme l'ailette (à savoir la partie relevée à l'opposé du tranchant) contribuent tous deux à assurer la qualité de la coupe.
Maintenez les lames bien affûtées tout au long de la saison de tonte. Les lames bien affûtées assurent une coupe nette, sans arracher l'herbe ou la déchiqueter.
Vérifiez l'état et l'usure des lames. L'ailette redresse l'herbe, ce qui produit une coupe nette, et s'use progressivement au cours de l'utilisation.
Garez la machine sur une surface plane et horizontale, levez l'unité de coupe, serrez le frein de stationnement, mettez la pédale de déplacement en position NEUTRE, placez la commande de PDF en position DéSENGAGéE, coupez le moteur et enlevez la clé de contact.
Examinez attentivement les tranchants de la lame, particulièrement au point de rencontre de la partie plane et de l'ailette (Figure 99).
Note: Le sable et les matières abrasives peuvent éroder le métal à cet endroit, c'est pourquoi il est important de contrôler l'état de la lame avant d'utiliser la tondeuse. Remplacez la lame si elle semble usée (Figure 99).

Examinez les tranchants de toutes les lames et aiguisez-les s'ils sont émoussés ou ébréchés (Figure 100).
Note: N'aiguisez que le haut du tranchant et conservez l'angle de coupe d'origine pour obtenir une coupe nette (Figure 100). Limez la même quantité de métal sur chacun des deux tranchants pour ne pas déséquilibrer la lame.

Note: Déposez les lames et affûtez-les avec une meule. Une fois affûtée, remontez la lame ainsi que la coupelle de protection et le boulon de fixation ; voir Retrait et montage des lames des unités de coupe.
Si les lames d'une unité de coupe sont déséquilibrées, des traînées seront visibles sur l'herbe après le passage de la machine. Pour corriger ce problème, assurez-vous que les lames sont toutes parfaitement droites.
Garez la machine sur une surface plane et horizontale.
Sélectionnez la hauteur de coupe maximale ; voir Réglage de la hauteur de coupe.
Abaissez l'unité de coupe sur une surface plane et retirez les couvercles au sommet de l'unité.
Desserrez l'écrou à embase de fixation de la poulie de tension pour détendre la courroie.
Tournez les lames dans le sens longitudinal et mesurez la distance entre le sol et la pointe avant du tranchant. Notez cette valeur.
Tournez ensuite la même lame à 180° et mesurez de nouveau. Les deux mesures ne doivent pas différer de plus de 3 mm. Si la différence est supérieure à 3 mm, remplacez la lame car elle est faussée. Mesurez toutes les lames de cette façon.
Comparez les mesures obtenues pour les lames extérieures et la lame centrale.
Note: La lame centrale ne doit pas être plus de 10 mm plus basse que les lames extérieures. Si elle l'est, passez à l'opération 8 et ajoutez des cales entre le logement de pivot et le bas de l'unité de coupe.
Enlevez les boulons, les rondelles plates, les rondelles-freins et les écrous de l'axe extérieur, à l'endroit où les cales doivent être ajoutées.
Note: Pour élever ou abaisser la lame, ajoutez une cale (réf. 3256-24) entre le logement du pivot et le bas de l'unité de coupe. Continuez de vérifier l'alignement des lames et à ajouter des cales jusqu'à ce que les pointes des lames soient bien équilibrées.
Important: N'utilisez pas plus de 3 cales à la fois dans un même trou. Utilisez un nombre décroissant de cales dans les trous adjacents si plusieurs cales sont ajoutées dans un même trou.
Réglez de nouveau la poulie de tension, puis reposez les protège-courroies.
Important: Faites attention près des joints de la cabine et des éclairages (Figure 101). Si vous utilisez un nettoyeur haute pression, n'approchez pas le jet à moins de 60 cm de la machine. N'utilisez pas le jet haute pression directement sur les joints et les éclairages de la cabine ni sur l'avancée arrière.

| Périodicité d'entretien | Procédure d'entretien |
|---|---|
| Toutes les 250 heures |
|
Retirez les vis et les grilles des filtres à air intérieur et arrière de la cabine (Figure 102 et Figure 103).


Nettoyez les filtres en soufflant à travers de l'air comprimé propre et exempt d'huile.
Important: Remplacez les filtres s'ils sont percés, déchirés ou autrement endommagés.
Montez les filtres et les grilles, et fixez-les en place avec les vis à oreilles.
Le rôle du préfiltre de la cabine et d'empêcher les gros débris, tels l'herbe et les feuilles, de pénétrer dans les filtres de la cabine.
Faites pivoter le couvercle de protection vers le bas.
Nettoyez le filtre avec de l'eau.
Note: N'utilisez pas de jet haute pression.
Important: Remplacez le filtre s'il est percé, déchiré ou autrement endommagé.
Faites sécher le préfiltre avant de le monter dans la machine.
Faites pivoter le filtre sur les languettes jusqu'à ce que le pêne s'enclenche dans la gâche (Figure 104).

| Périodicité d'entretien | Procédure d'entretien |
|---|---|
| Toutes les 250 heures |
|
Coupez le moteur et enlevez la clé.
Retirez les 6 écrous et rondelles au bas de l'arrière de la cabine (Figure 105).

Déposez le toit de la cabine en retirant les 22 boulons de fixation du toit (Figure 106).

Déposez les filtres à air (Figure 106).
Déposez et nettoyez les serpentins de climatisation (Figure 106).
Reposez les serpentins de climatisation, les filtres à air et le toit de la cabine.
Avant de quitter la position d'utilisation, coupez le moteur, enlevez la clé et attendez l'arrêt complet de tout mouvement. Laissez refroidir la machine avant de la régler, d'en faire l'entretien, de la nettoyer ou de la remiser.
Ne rangez pas la machine ni les bidons de carburant à proximité d'une flamme nue, d'une source d'étincelles ou d'une veilleuse, telle celle d'un chauffe-eau ou autre appareil.
Important: Ne nettoyez pas la machine avec de l'eau saumâtre ou recyclée.
Nettoyez soigneusement le groupe de déplacement, les unités de coupe et le moteur.
Contrôlez la pression des pneus. Gonflez tous les pneus du groupe de déplacement à une pression de 0,83 à 1,03 bar.
Vérifiez le serrage de toutes les fixations et resserrez-les au besoin.
Graissez tous les graisseurs et points de pivot. Essuyez tout excès de lubrifiant.
Poncez légèrement et retouchez la peinture rayée, écaillée ou rouillée. Réparez les déformations de la carrosserie.
Procédez à l'entretien de la batterie et des câbles, comme suit :
Débranchez les câbles des bornes de la batterie.
Note: Débranchez toujours la borne négative de la batterie avant la borne positive. Branchez la borne positive avant la borne négative.
Nettoyez la batterie, les cosses des câbles et les bornes de la batterie avec une brosse métallique et un mélange de bicarbonate de soude.
Pour prévenir la corrosion, enduisez les bornes de la batterie et les cosses des câbles de graisse Grafo 112X (Skin-Over) (réf. 505-47) ou de vaseline.
Rechargez lentement la batterie tous les deux mois pendant 24 heures pour prévenir la sulfatation.
Vidangez le carter moteur et remettez en place le bouchon de vidange.
Déposez le filtre à huile et mettez-le au rebut. Posez un filtre neuf.
Versez la quantité correcte d'huile moteur dans le carter d'huile.
Tournez la clé de contact à la position CONTACT, démarrez le moteur et faites-le tourner au ralenti pendant environ 2 minutes.
Tournez la clé de contact à la position ARRêT.
Vidangez complètement le réservoir de carburant, les conduites d'alimentation et l'ensemble filtre à carburant/séparateur d'eau.
Rincez le réservoir de carburant avec du gazole propre et frais.
Branchez tous les raccords du circuit d'alimentation.
Effectuez un nettoyage et un entretien minutieux du filtre à air.
Bouchez l'entrée et l'orifice de sortie du filtre à air avec du ruban imperméable.
Vérifiez la protection antigel et faites l’appoint au besoin, selon la température minimale anticipée dans votre région.