| Tíðni viðhaldsþjónustu | Viðhaldsferli |
|---|---|
| Fyrir hverja notkun eða daglega |
|
Þessi sláttuvél, með keflisblaði, stýri og sæti fyrir ökumann, er ætluð fyrir fagfólk og verktaka til atvinnunota. Hún er aðallega hönnuð til að slá gras af grassverði sem er vel viðhaldið. Notkun þessarar vöru við annað en tilætlaða notkun getur skapað hættu fyrir stjórnanda og nærstadda.
Lesið þessar upplýsingar vandlega til að læra að stjórna og sinna réttu viðhaldi á vörunni og til að koma í veg fyrir meiðsl og skemmdir á vörunni. Eigandi ber ábyrgð á réttri og öruggri notkun vörunnar.
Á www.Toro.com er að finna frekari upplýsingar, þar á meðal öryggisupplýsingar, kennsluefni, upplýsingar um aukabúnað, upplýsingar um söluaðila og vöruskráningu.
Þegar þörf er á þjónustu, varahlutum frá Toro eða frekari upplýsingum skal hafa samband við viðurkenndan dreifingaraðila Toro og hafa tegundar- og raðnúmer vörunnar við höndina. Mynd 1 sýnir hvar tegundar- og raðnúmerin eru á vörunni. Skrifið númerin í kassann hér á síðunni.
Important: Hægt er nálgast upplýsingar um ábyrgð, varahluti og aðrar vöruupplýsingar með því að skanna QR-kóðann á raðnúmersmerkingunni (ef hann er til staðar) með fartæki.

Þessi vara uppfyllir allar viðeigandi evrópskar reglugerðir; frekari upplýsingar er að finna á aðskildu samræmisyfirlýsingarskjali vörunnar.
Ef þessi vél er búin fjarvirknibúnaði, skal hafa samband við viðurkenndan Toro dreifingaraðila til að fá leiðbeiningar um hvernig á að virkja tækið.
KALIFORNÍA
Viðvörun, tillaga 65
Rafmagnssnúran fyrir þessa vöru inniheldur blý, sem er efni sem Kaliforníuríki er kunnugt um að geti valdið fæðingargöllum eða öðrum æxlunarskaða. Þvoið hendur eftir meðhöndlun.
Rafgeymaskaut og tengihlutir innihalda blý og blýsambönd, efni sem Kaliforníuríki er kunnugt um að geti valdið krabbameini og æxlunarskaða. Þvoið hendur eftir meðhöndlun.
Notkun á þessari vöru getur valdið snertingu við efni sem Kaliforníuríki er kunnugt um að geti valdið krabbameini og fæðingargöllum eða öðrum æxlunarskaða.
VIÐVÖRUN – Lesið allar öryggisviðvaranir,
leiðbeiningar, skýringarmyndir og tæknilýsingar
sem fylgja þessari sláttuvél.
Ef viðvörunum og leiðbeiningum er ekki fylgt getur það valdið raflosti, eldsvoða og/eða alvarlegum slysum.
Í þeim viðvörunum sem skráðar eru hér að neðan gildir hugtakið sláttuvél“ bæði um snúrutengda rafmagnssláttuvél og sláttuvél sem knúin er með rafhlöðu.
Öryggi á vinnusvæði
Haldið vinnusvæðinu hreinu og vel lýstu.Óreiða og slæm lýsing á vinnusvæði eykur hættu á slysum.
Ekki nota sláttuvélina í sprengifimu andrúmslofti, svo sem þar sem eldfimir vökvar, lofttegundir eða ryk er til staðar.Vinnuvélin myndar neista, sem geta kveikt í rykinu eða gufunum.
Haldið börnum og óviðkomandi fólki í öruggri fjarlægð á meðan sláttuvélin er notuð.Truflun getur leitt til þess að notandi missi stjórnina á sláttuvélinni.
Rafmagnsöryggi
Klær sláttuvélarinnar verða að passa í innstunguna. Aldrei má gera neinar breytingar á kló. Ekki nota millistykki með jarðtengdri sláttuvél.Hægt er að draga úr hættu á raflosti með því að nota óbreytt tengi og tengla sem samsvara tengjunum.
Forðist líkamlega snertingu við jarðtengda fleti, svo sem lagnir, ofna, eldavélar og ísskápa.Ef líkami notanda er með tengingu við jörð myndast aukin hætta á raflosti.
Látið sláttuvélina ekki standa úti í regni eða annarri bleytu.Komist vatn inn í sláttuvélina eykur það hættuna á raflosti.
Farið vel með rafmagnssnúruna. Notið hana aldrei til að bera sláttuvélina, draga hana eða taka úr sambandi. Haldið snúrunni fjarri hita, olíu, hvössum brúnum eða hreyfanlegum hlutum.Skemmdar eða flæktar snúrur auka hættuna á raflosti.
Þegar sláttuvélin er notuð utandyra skal nota framlengingarsnúru sem hentar til notkunar utandyra.Notkun snúru sem hentar til notkunar utandyra dregur úr hættu á raflosti.
Ef ekki er hægt að komast hjá því að nota sláttuvélina við aðstæður þar sem raki er til staðar skal nota lekaliða.Notkun lekaliða dregur úr hættu á raflosti.
Öryggi fólks
Sýnið aðgát, vinnið af vandvirkni og notið heilbrigða skynsemi við alla notkun sláttuvélarinnar. Notið ekki sláttuvélina ef þið finnið fyrir lasleika eða eruð undir áhrifum áfengis eða lyfja.Andartaks vangá við notkun sláttuvélarinnar getur leitt til alvarlegra slysa á fólki.
Notið persónuhlífar. Notið alltaf hlífðargleraugu.Persónuhlífar á borð við rykgrímu, öryggisskó með stömum sóla eða heyrnarhlífar sem notaðar eru við viðeigandi aðstæður draga úr líkamstjóni.
Komið í veg fyrir að kveikt sé á sláttuvélinni af misgáningi. Gangið úr skugga um að rofinn sé í slökktri stöðu áður en hann er tengdur við rafmagn og/eða rafhlöðupakka.Þegar rafmagni er hleypt á sláttuvél með rofa í kveiktri stöðu er hætta á slysum.
Fjarlægið stillilykla eða skiptilykla áður en kveikt er á sláttuvélinni.Lykill eða skiptilykill sem skilinn er eftir á hluta sláttuvélarinnar sem snýst getur valdið meiðslum á fólki.
Teygið hendur eða líkama ekki of langt fram. Haldið góðri fótfestu og jafnvægi allan tímann sem unnið er.Þannig næst betri stjórn á sláttuvélinni við óvæntar aðstæður.
Klæðist viðeigandi klæðnaði. Gangið ekki í víðum fatnaði eða með skartgripi. Haldið hári og klæðnaði frá hlutum sem hreyfast.Víður fatnaður, skartgripir eða sítt hár geta flækst í hreyfanlegum hlutum.
Ef nota á ryk- og grassöfnunarbúnað skal tryggja að hann sé tengdur og notaður á réttan hátt.Notkun ryksöfnunarbúnaðar getur dregið úr hættu sem tengist ryki.
Ekki láta kunnáttu sem fæst með tíðri notkun sláttuvélarinnar leiða til kæruleysis og lélegrar eftirfylgni við öryggisráðstafanir í tengslum við sláttuvélina.Kæruleysi við notkun getur valdið alvarlegum meiðslum á örskotsstundu.
Notkun og umhirða sláttuvélarinnar
Ekki þvinga sláttuvélina. Notið rétta sláttuvél fyrir viðkomandi verk.Rétt val á sláttuvél auðveldar verkið og eykur öryggi við notkun með hliðsjón af þeirri spennu sem sláttuvélin var hönnuð fyrir.
Ekki nota sláttuvélina ef rofinn til að kveikja og slökkva virkar ekki.Sláttuvél með bilaðan rofa er hættuleg og gera þarf við hana.
Takið sláttuvélina úr sambandi við rafmagn og/eða takið rafhlöðupakkann úr henni, ef hægt er að taka hana úr, áður en stillingar eru framkvæmdar, skipt um aukabúnað eða sláttuvélin sett í geymslu.Slíkar öryggisráðstafanir draga úr hættu á því að sláttuvélin fari óvart í gang.
Geymið sláttuvél sem ekki er í notkun þar sem börn ná ekki til og leyfið engum sem ekki kann á sláttuvélina og hefur ekki lesið þessar leiðbeiningar að nota sláttuvélina.Sláttuvélar eru hættulegar í höndum óþjálfaðra notenda.
Sinnið viðhaldi á sláttuvélinni og aukabúnaði. Leitið eftir vanstillingu eða hindrunum fyrir hreyfanlega hluta, bilunum í hlutum eða öðru ástandi sem getur haft áhrif á virkni sláttuvélarinnar. Ef skemmdir eru til staðar skal láta gera við sláttuvélina fyrir notkun.Mörg slys orsakast af lélegu viðhaldi sláttuvéla.
Haldið hnífum beittum og hreinum.Rétt viðhald beittra hnífa minnkar líkur á að þeir festist og stuðlar að betri stjórn.
Notið sláttuvélina, aukabúnað, verkfæri o.s.frv. í samræmi við þessar leiðbeiningar og horfið til vinnuskilyrða og þess verks sem vinna þarf hverju sinni.Notkun sláttuvélarinnar í öðrum tilgangi en tilætluðum gæti leitt til hættulegra aðstæðna.
Haldið handföngum og gripum þurrum, hreinum og lausum við olíu og feiti.Sleip handföng og grip bjóða ekki upp á örugga meðhöndlun og stjórn sláttuvélarinnar við óvæntar aðstæður.
Notkun og umhirða rafhlöðunnar
Hlaðið aðeins með hleðslutæki sem framleiðandi tilgreinir.Hleðslutæki sem hentar einni gerð rafhlöðupakka kann að valda hættu á eldsvoða ef það er notað fyrir aðra gerð rafhlöðupakka.
Notið sláttuvélina aðeins með sérstaklega tilgreindum rafhlöðum.Notkun annarra rafhlaða getur valdið hættu á meiðslum og eldi.
Þegar rafhlöðupakkinn er ekki í notkun skal halda honum fjarri öðrum málmhlutum, svo sem pappírsklemmum, smámynt, lyklum, nöglum, skrúfum eða öðrum smáhlutum úr málmi, sem hugsanlega gætu myndað tengingu frá einu rafskauti til annars.Skammhlaup í rafhlöðuskautum getur orsakað bruna eða eldsvoða.
Við ranga notkun kann vökvi að sprautast úr rafhlöðunni; forðist snertingu við slíkan vökva. Komi til snertingar af slysni skal skola tafarlaust undir rennandi vatni. Ef vökvi kemst í snertingu við augu skal einnig leita læknis.Vökvi úr rafhlöðunni getur valdið ertingu eða brunasárum.
Ekki nota rafhlöðupakka eða sláttuvél sem hefur skemmst eða sem hefur verið breytt.Virkni skemmdra eða breyttra rafhlaða kann að vera óútreiknanleg og getur valdið hættu á eldi, sprengingu eða meiðslum.
Haldið rafhlöðupakka og sláttuvél fjarri eldi eða háu hitastigi.Ef hiti frá eldi fer yfir 130°C er hætta á sprengingu.
Fylgið öllum leiðbeiningum um hleðslu og ekki hlaða rafhlöðupakkann eða sláttuvélina utan þeirra hitamarka sem tilgreind eru í leiðbeiningunum.Röng skipti eða skipti utan tilgreindra hitamarka geta skemmt rafhlöðuna og aukið eldhættu.
Service (þjónusta)
Látið sinna viðhaldi við sláttuvélina hjá hæfum viðgerðaraðila sem notar aðeins varahluti frá framleiðanda.Þannig er öryggi sláttuvélarinnar tryggt.
Aldrei sinna viðhaldi við skemmda rafhlöðupakka.Einungis framleiðandi eða viðurkenndir þjónustuaðilar skulu sjá um viðhald á rafhlöðupakka.
Ekki nota sláttuvélina í slæmu veðri, sérstaklega þegar hætta er á eldingum.Þannig er dregið úr hættu á að verða fyrir eldingu.
Kannið vandlega dýralíf á því svæði sem sláttuvélin verður notuð.Sláttuvélin getur valdið skaða á dýralífi við notkun.
Farið vandlega yfir svæðið sem sláttuvélin verður notuð á og fjarlægið steina, prik, víra, bein og aðra aðskotahluti.Hlutir sem skjótast út geta valdið meiðslum á fólki.
Áður en sláttuvélin er notuð skal alltaf skoða hana til að leita eftir sliti eða skemmdum á hnífnum og hnífasamstæðunni.Slitnir eða skemmdir hlutir auka hættu á meiðslum.
Tryggið að allar hlífar séu á sínum stað. Hlífar verða að vera í lagi og vera rétt festar.Laus, skemmd eða biluð hlíf getur valdið meiðslum á fólki.
Hreinsið alltaf óhreinindi frá loftinntökum.Stífluð loftinntök og óhreinindi geta valdið ofhitnun eða eldhættu.
Klæðist alltaf öryggisskóm með stömum sóla við notkun sláttuvélarinnar. Ekki nota sláttuvélina berfætt(ur) eða í opnum sandölum.Þannig er dregið úr líkum á meiðslum á fótum við snertingu við hníf á hreyfingu.
Klæðist alltaf buxum með síðum skálmum við notkun sláttuvélarinnar.Óvarin húð eykur líkurnar á meiðslum vegna hluta sem skjótast út.
Notið sláttuvélina ekki í miklum halla.Þannig er dregið úr hættu á stjórnmissi, skriki og falli sem valdið getur meiðslum á fólki.
Þegar unnið er í halla skal alltaf tryggja fasta fótfestu, vinna alltaf þvert á hallann, aldrei upp eða niður, og gæta fyllstu varúðar þegar breytt er um stefnu.Þannig er dregið úr hættu á stjórnmissi, skriki og falli sem valdið getur meiðslum á fólki.
Gætið fyllstu varúðar þegar bakkað er með sláttuvélina eða hún er dregin í átt að stjórnanda.Verið ávallt vakandi fyrir umhverfinu. Verið ávallt vakandi fyrir umhverfinu.
Snertið ekki hnífa og aðra hættulega hreyfanlega hluta á meðan þeir eru enn á hreyfingu.Þannig er dregið úr hættu á meiðslum af völdum hluta á hreyfingu.
Þegar verið er að hreinsa burt fast efni af eða þrífa sláttuvélina skal ganga úr skugga um að allir rofar séu í slökktri stöðu og fjarlægja (eða virkja) búnað til að gera óvirkt.Óvænt gangsetning sláttuvélarinnar getur valdið alvarlegum meiðslum á fólki.
Geymið allar viðvaranir og leiðbeiningar til síðari nota.
Öryggistáknið (Mynd 2) sem sýnt er í handbókinni og á snjóblásaranum auðkennir mikilvæg öryggistilmæli sem nauðsynlegt er að fylgja til að koma í veg fyrir slys.

Öryggistáknið er haft fyrir ofan upplýsingar sem vara við hættulegum aðgerðum eða aðstæðum og er fylgt eftir með orðinu HÆTTA, VIÐVÖRUN eða VARÚÐ.
HÆTTA gefur til kynna yfirvofandi hættulegar aðstæður sem valda dauða eða alvarlegum meiðslum ef ekki er komið í veg fyrir þær.
VIÐVÖRUN gefur til kynna hugsanlega hættu sem gæti valdið dauða eða alvarlegum meiðslum ef ekki er komið í veg fyrir hana.
VARÚÐ gefur til kynna hugsanlega hættu sem getur valdið minniháttar eða óverulegum meiðslum ef ekki er komið í veg fyrir hana.
Þessi handbók notar tvö önnur orð til að auðkenna upplýsingar. Mikilvægt“ vekur athygli á sérstökum vélrænum upplýsingum og Athugið“ táknar mikilvægar, almennar upplýsingar sem vert er að lesa vandlega.
Þessi vara getur valdið hættu á aflimun og skotið hlutum frá sér. Fylgið alltaf öryggisleiðbeiningum til að koma í veg fyrir meiðsl á fólki eða dauða.
Lesið vandlega efni þessarar notendahandbókar áður en vélin er gangsett.
Heimilið aðeins ábyrgu og líkamlega hæfu fólki að stjórna sláttuvélinni.
Sýnið árvekni á meðan unnið er á vinnuvélinni. Ekki gera neitt sem veldur truflun; slíkt kann að leiða til meiðsla eða eignatjóns.
Ekki setja hendur eða fætur nærri íhlutum á hreyfingu.
Ekki nota sláttuvélina án hlífa og annars öryggisbúnaðar á sínum stað á sláttuvélinni og í nothæfu ástandi.
Haldið nærstöddum og börnum utan vinnusvæðisins.
Drepið á vélinni, takið lykilinn úr og bíðið þar til allir hlutar hafa stöðvast áður en farið er úr ökumannssætinu. Leyfið sláttuvélinni að kólna áður en hún er stillt, þjónustuð, þrifin eða sett í geymslu.
![]() |
Öryggismerkingar og leiðbeiningar sjást greinilega og eru hjá öllum svæðum þar sem möguleg hætta er til staðar. Skiptið um skemmdar eða týndar merkingar. |

















Hlutar sem þarf fyrir þetta verk:
| Veltigrindarsamstæða | 1 |
| Sexkantsbolti (⅜ x 1½ tommur) | 8 |
| Ró (⅜ tommur) | 8 |
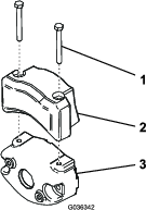
Fjarlægið stoðina úr efsta hluta kassans.
Takið veltigrindina úr kassanum.
Notið 8 sexkantsbolta (⅜ x 1½ tommur) og 8 rær (⅜ tommur) til að festa veltigrindina við tilheyrandi festingar á báðum hliðum sláttuvélarinnar (Mynd 3).
Note: Fáið aðstoð við að staðsetja og festa veltigrindina við sáttuvélina.

Herðið festingarnar í 51 til 65 N∙m.
Hlutar sem þarf fyrir þetta verk:
| Sætissett (sérpöntun; hafið samband við viðurkenndan dreifingaraðila Toro) | 1 |
Pantið sætissett (hafið samband við viðurkenndan dreifingaraðila Toro) og skoðið meðfylgjandi uppsetningarleiðbeiningar til að setja sætið í.
Hlutar sem þarf fyrir þetta verk:
| Krókur fyrir graskörfu | 6 |
| Flansboltar | 12 |
Notið 12 flansbolta til að setja upp 6 króka fyrir graskörfu á stangarendum fjaðraarmanna (Mynd 7).

Hlutar sem þarf fyrir þetta verk:
| Sláttubúnaður (sérpöntun; hafið samband við viðurkenndan dreifingaraðila Toro) | 3 |
| Graskarfa | 3 |
| Rafmagnsmótvægi | 3 |
| Skrúfur | 6 |
| O-hringur | 3 |
Undirbúið sláttubúnaðinn fyrir uppsetningu; sjá frekari upplýsingar í notendahandbók sláttubúnaðarins.
Berið feiti inn í ríla driftengisins.
Setjið O-hring á hvorn keflamótor, eins og sýnt er á Mynd 8.

Festið rafmagnsmótvægið við fyrirliggjandi mótvægi með tveimur skrúfum eins og sýnt er á Mynd 9.

Setjið upp sláttubúnaðinn; sjá Uppsetning sláttubúnaðar.
Setjið báðar graskörfurnar upp á krókunum.
Hlutar sem þarf fyrir þetta verk:
| Fjarvirknibúnaður | 1 |
| Festing tækis | 1 |
| Fjarvirknirafknippi | 1 |
| Sexkantsbolti (#10 x 1 tommu) | 4 |
| Lásró (#10) | 4 |
| U-bolti | 1 |
| Sjálflæsandi ró (⅜ tommur) | 2 |
| Plastband | 4 |
Notið 4 sexkantsbolta (#10 x 1 tommu) og 4 lásrær (#10) til að festa fjarvirknibúnaðinn við festingu tækisins (Mynd 10).

Notið U-bolta og 2 sjálflæsandi rær (⅜ tommur) til að festa festingu tækisins við svæðið fyrir ofan handvirka rörið á veltigrindinni (Mynd 11).

Setjið tengil sem merktur er P02 á fjarvirknirafknippinu við fjarvirknibúnaðinn (Mynd 12).

Leiðið rafknippipð niður veltigrindina og tengið tengil rafknippis sem merktur er P01 við tengil á vélarrafknippinu sem merktur er P71 (Mynd 13).

Festið þessa tengingu við aðalknippið með plastböndum.
Festið knippið við veltigrindina með plastböndum eins og sýnt er.

Lyftið tengilshlífinni og stingið aðalafltenglunum neðarlega á veltigrindinni vinstra megin á sláttuvélinni í samband (Mynd 15).

Notið upplýsingaskjáinn til að breyta stillingum sláttuvélarinnar; sjáStillingum sláttuvélar breytt á upplýsingaskjá.
Hlutar sem þarf fyrir þetta verk:
| Mótvægissett að aftan (sérpöntun; hafið samband við viðurkenndan dreifingaraðila Toro) | 1 |
Þessi sláttuvél uppfyllir viðeigandi staðla með mótvægi uppsett að aftan. Frekari upplýsingar um mótvægissett að aftan er að fá hjá viðurkenndum dreifingaraðila Toro.
Ef sláttuvélin er með þríhjóladrifsbúnaði þarf ekki að setja upp mótvægi að aftan.
Hlutar sem þarf fyrir þetta verk:
| Merking með framleiðsluári | 1 |
| CE-viðvörunarmerking (hlutarnr. 139-8321) | 1 |
| CE/UKCA-merking (hlutarnúmer 138-9470) | 1 |
Setja skal upp eftirfarandi merkingar og lás á vélarhlífina ef sláttuvélin er notuð í landi sem gerir kröfur um samhæfi við CE/UKCA-staðla:
Merking með framleiðsluári og CE/UKCA-merking: Setjið merkingarnar á rör grindarinnar fyrir neðan sætið og á raðnúmeraplötuna; sjá Mynd 16.

CE-viðvörunarmerking: Setjið CE-viðvörunarmerkinguna (hlutarnr. 139-8321) yfir viðvörunarmerkinguna sem þegar er til staðar (hlutarnr. 139-8320) á loki stýrisins; sjá Mynd 17.

Hjólbarðarnir eru yfirfylltir í verksmiðjunni fyrir flutning. Minnkið þrýstinginn niður að réttum gildum áður en kveikt er á sláttuvélinni; sjá Þrýstingur hjólbarða kannaður.
Hægt er að festa hleðslutækið á vegg með því að nota festigötin aftan á hleðslueiningunni. Notið skrúfur með 6 mm þvermáli skrúfgangs og 11 mm höfuðþvermáli.
Important: Skoðið vinnusvæðið til að ákvarða bestu staðsetninguna fyrir örugga og skilvirka notkun hleðslutækisins.
Hlaðið rafhlöðurnar; sjá Li-ion rafhlöður settar í hleðslu.


Svissinn er með tvær stöður: KVEIKTA og SLöKKTA (Mynd 20).
Notið svissinn til að gangsetja og drepa á sláttuvélinni; sjá Sláttuvélin gangsett og Drepið á sláttuvélinni.

Með stjórnrofanum (Mynd 19) er hægt að velja milli tveggja akstursvalkosta og HLUTLAUSA stöðu.
NEUTRAL (Hlutlaus staða) – hlutlaus gír og bakslípun
MOW (Sláttustaða) – notuð við slátt
TRANSPORT (Flutningsstaða) – notuð við akstur
Hægt er að skipta úr SLáTTUSTöðU í FLUTNINGSSTöðU eða úr FLUTNINGSSTöðU í SLáTTUSTöðU (en ekki í HLUTLAUSA STöðU) á meðan sláttuvélin er á hreyfingu; engar skemmdir hljótast af því
Hægt er að færa rofann úr FLUTNINGSSTöðU eða SLáTTUSTöðU í HLUTLAUSA STöðU og þá stöðvast sláttuvélin. Ef reynt er að skipta úr HLUTLAUSRI STöðU í SLáTTUSTöðU eða FLUTNINGSSTöðU þegar fótstigið er ekki í HLUTLAUSRI STöðU birtist áminning.
Stýripinninn til að hækka/lækka (Mynd 19) er notaður til að hækka og lækka sláttubúnaðinn. Með stýripinnanum eru kefli sláttubúnaðarins tengd eða aftengd, eftir því í hvaða stöðu stjórnrofinn er í:
Stjórnrofi í HLUTLAUSRI stöðu: Sláttubúnaðurinn er hækkaður eða lækkaður þegar stýripinninn er færður fram eða aftur, en keflin tengjast ekki fyrr en sláttuvélin er sett í bakslípunarstillingu.
Stjórnrofi í SLáTTUSTöðU: Stýripinninn er færður fram við sláttuvinnu til að lækka sláttubúnaðinn og setja keflin í gang. Togið stýripinnann aftur til að stöðva keflin og hækka sláttubúnaðinn.
Togið stýripinnann stuttlega aftur og sleppið honum svo til að stöðva keflin án þess að hækka sláttubúnaðinn. Þegar stýripinninn er færður aftur fram fara keflin í gang og með því að toga hann aftur til baka hækkar sláttubúnaðurinn. Þennan eiginleika verður að tengja á upplýsingaskjánum; sjá Léttstöðvunarseinkun breytt.
Stjórnrofi í FLUTNINGSSTöðU: Hægt er að hækka sláttubúnaðinn en keflin tengjast ekki. Áminning birtist á upplýsingaskjánum ef reynt er að lækka sláttubúnaðinn.
Inngjafarfótstigið (Mynd 21) er með þrjá eiginleika: einn til að aka sláttuvélinni áfram, einn til að aka aftur á bak og einn til að stöðva sláttuvélina. Stígið á efri hluta fótstigsins til að aka áfram; stígið á neðri hlutann til að aka aftur á bak eða til að draga úr hraða við akstur áfram.
Sláttuvélin er stöðvuð með því að setja fótstigið í HLUTLAUSA stöðu. Ekki láta hælinn hvíla á inngjafarfótstiginu í BAKKSTöðU þegar sláttuvélin ekur áfram (Mynd 22).


Hægt er að stilla hámarksaksturshraða með eftirfarandi hætti:
3,2 til 8 km/klst. sláttuhraði áfram
8 til 16 km/klst. aksturshraði
3,2 til 4,8 km/klst. hraði aftur á bak
Stígið á fótstigið (Mynd 21) og hækkið eða lækkið stýrisarminn eins og hentar stjórnanda, sleppið síðan fótstiginu til að læsa arminum.
Stígið á hemlafótstigið (Mynd 23) til að stöðva sláttuvélina.

Notið stöðuhemilinn (Mynd 23) til að koma í veg fyrir að sláttuvélin hreyfist. Stígið á hemlafótstigið og ýtið efri hlutanum fram til að setja stöðuhemilinn á og festa hann. Stígið á hemlafótstigið þar til festingin losnar til að losa stöðuhemilinn.
Upplýsingaskjárinn (Mynd 24) birtir upplýsingar um sláttuvélina, á borð við vinnslustöðu, ýmsar bilanagreiningar og aðrar upplýsingar um sláttuvélina.

Note: Virkni hnappanna getur breyst eftir því hvað þarf að gera hverju sinni. Hnapparnir eru merktir með tákni sem sýnir núverandi virkni.
Notið flettihnappana til að fletta á milli skjámynda og valmyndaratriða:
Upphafsskjámynd: sýnir núverandi upplýsingar sláttuvélarinnar í nokkrar sekúndur eftir að lykillinn hefur verið færður í stöðuna KVEIKT.
Aðalupplýsingaskjámynd (Mynd 25): sýnir núverandi upplýsingar sláttuvélarinnar á meðan svissað er á.

eReel-mótorskjámyndin (Mynd 26): sýnir hraða og straum hvers sláttubúnaðarmótors.

Akstursmótorsskjámynd (Mynd 27): sýnir núverandi stýrishorn og straumstyrk í hvern akstursmótor.

Aðalvalmynd: sjá Valmyndaratriði upplýsingaskjás.
![]() | Vinnustundamælir |
![]() | Stjórnrofi er í HLUTLAUSRI stöðu. |
![]() | Stjórnrofi er í FLUTNINGSSTöðU. |
![]() | Stjórnrofi er í SLáTTUSTöðU. |
![]() | Stjórnandinn verður að sitja í sætinu. |
![]() | Stöðuhemillinn er á. |
![]() | Rafræni stöðuhemillinn er á. |
![]() | Kveikt er á aflúttakinu. |
![]() | Aflúttakið er aftengt. |
![]() | Rafhlaða |
![]() | Gefur til kynna hvenær sláttubúnaði er lyft. |
![]() | Gefur til kynna hvenær sláttubúnaður er látinn síga. |
![]() | Virkt |
![]() | Óvirkt |
![]() | Til baka |
![]() | Áfram |
![]() | Auka |
![]() | Minnka |
![]() | Fyrri skjámynd |
![]() | Næsta skjámynd |
![]() | Hækka gildi |
![]() | Lækka gildi |
![]() | Valmynd |
![]() | Fletta upp / niður |
![]() | Fletta til vinstri / hægri |
Til að opna aðalvalmyndina skal ýta á hnappinn til að fara til baka / loka á opinni upplýsingaskjámynd.
Í eftirfarandi töflum eru lýsingar á þeim valkostum sem eru í boði á valmyndunum:
| Valmyndaratriði | Lýsing |
| FAULTS (bilanir) | Valmyndin FAULTS inniheldur lista yfir nýlegar bilanir. Frekari upplýsingar um valmyndina FAULTS er að finna í þjónustuhandbókinni eða hjá næsta viðurkennda dreifingaraðila Toro. |
| SERVICE (þjónusta) | Valmyndin SERVICE inniheldur upplýsingar um sláttuvélina, svo sem vinnustundir, tölulegar upplýsingar og kvörðun. Einnig er hægt að virkja bakslípunaraðgerð sláttubúnaðarins. Sjá nánar í töflunni Service (þjónusta). |
| DIAGNOSTICS (bilanagreining) | Valmyndin DIAGNOSTICS inniheldur yfirlit yfir núverandi ástand og gögn sláttuvélarinnar. Þessar upplýsingar er hægt að nota til að greina ákveðnar bilanir og fá skjótar upplýsingar um á hvaða stjórnbúnaði er kveikt eða slökkt, ásamt yfirliti yfir gildi stjórntækja (t.d. gildi frá skynjara). |
| SETTINGS (stillingar) | Valmyndin SETTINGS (stillingar) býður upp á að breyta stillingum upplýsingaskjásins. Sjá nánar í töflunni Stillingar. |
| MACHINE SETTINGS (stillingar sláttuvélar) | Valmyndin MACHINE SETTINGS (stillingar sláttuvélar) býður upp á að breyta stillingum sláttuvélarinnar, svo sem keflishraða, hámarki sláttuhraða og hámarkshraða aksturs. Sjá nánar í töflunni Machine Settings (stillingar sláttuvélar). |
| ABOUT (um) | Valmyndin ABOUT sýnir tegundarnúmer, raðnúmer og hugbúnaðarútgáfu sláttuvélarinnar. Sjá nánar í töflunni Um. |
| Valmyndaratriði | Lýsing |
| HOURS | Sýnir heildarfjölda vinnustunda sem svissað hefur verið á og vél, kefli og bakslípun hafa verið í gangi, sem og hvenær næsta viðhald skal fara fram. |
| COUNTS (teljari) | Sýnir fjölda gangsetninga, sláttulota, léttstöðvana, bakslípana og fjölda skipta sem vélin hefur verið gangsett lengur en 30 sekúndur. |
| BACKLAP | Tengir/aftengir bakslípunaraðgerð sláttubúnaðarins (þegar aðgerðin er tengd er hægt að nota þessa stillingu til að aftengja hana eða með því að setja lykilinn í SLöKKTA stöðu). |
CALIBRATION ![]() | Gerir notanda kleift að kvarða stýrisbúnaðinn, aksturskerfið og lyftudrif. Frekari upplýsingar um kvörðun eru í þjónustuhandbókinni. |
| Valmyndaratriði | Lýsing |
| ENTER PIN (slá inn PIN-númer) | Veitir einstaklingi (umsjónarmanni svæðis / tæknimanni) með heimild fyrirtækis aðgang að vörðum valmyndum með PIN-númeri. |
| BACKLIGHT (baklýsing) | Stjórnar birtustigi LCD-skjásins. |
| LANGUAGE (tungumál) | Stjórnar því hvaða tungumál er notað á upplýsingaskjánum. |
| FONT SIZE (leturstærð) | Stjórnar stærð letursins á upplýsingaskjánum. |
| UNITS (einingar) | Stjórnar einingunum sem eru notaðar á upplýsingaskjánum. Hægt er að velja á milli breskra eininga eða metrakerfiseininga. |
PROTECT SETTINGS (varnarstillingar) | Stjórnar vörðum valmyndum. |
RESET DEFAULTS (endurstilla á sjálfgefið) | Endurstillir upplýsingaskjáinn á sjálfgefnar stillingar. |
| Valmyndaratriði | Lýsing |
TAPOFF TIME (tími léttstöðvunar) | Stjórnar léttstöðvunarseinkun. |
REEL SPEED (keflahraði) | Stjórnar hraða hnífs á sláttubúnaði. |
LOWER SPEED![]() | Stillir lækkunarhraða sláttubúnaðar að jörðu fyrir slátt. |
BACKLAP SPEED (bakslípunarhraði) | Stjórnar bakslípunarhraða. |
CLIP CONTROL (skurðarstjórnun) | Kveikir eða slekkur á sjálfvirkri skurðarstjórnun. |
BLADE COUNT (hnífafjöldi) | Stillir fjölda hnífa á hverju kefli. Þessi stilling er aðeins nauðsynleg ef SKURðARSTJóRNUN er stillt á KVEIKT. |
HEIGHT OF CUT (sláttuhæð) | Stillir sláttuhæðina sem óskað er eftir. Þessi stilling er aðeins nauðsynleg ef SKURðARSTJóRNUN er stillt á KVEIKT. |
MAX MOW (hámarkssláttuhraði) | Stillir hámarkshraða sláttuvélarinnar við slátt. |
MAX TRANSPORT (hámarksflutningshraði) | Stillir hámarkshraða sláttuvélarinnar við akstur. |
MAX REVERSE (hámarkshraði
í bakkgír) | Stillir hámarkshraða sláttuvélarinnar þegar henni er bakkað. |
SLOW & TURN (hægja og beygja) | Kveikir eða slekkur á hraðaminnkun í beygju. |
3WD KIT (þríhjóladrifssett) | Tengir eða aftengir þríhjóladrifssettið. |
BATT. RESERVE (lág staða rafhlöðu) | Stillir fjarlægðina sem þarf til að flytja sláttuvélina á verkstæði þegar rafhlaðan er að tæmast. |
| Valmyndaratriði | Lýsing |
| MODEL | Sýnir tegundarnúmer sláttuvélarinnar. |
| SN | Sýnir raðnúmer sláttuvélarinnar. |
| S/W REV (hugbúnaðarendurskoðun) | Sýnir endurskoðun hugbúnaðar aðalstjórnbúnaðarins. |
XDM-2700 ![]() | Sýnir endurskoðun hugbúnaðar upplýsingaskjásins. |
CUTTING UNIT 1 (sláttubúnaður
1) | Sýnir endurskoðun hugbúnaðar sláttubúnaðarmótorsins í miðjunni. |
CUTTING UNIT 2 (sláttubúnaður
2) | Sýnir endurskoðun hugbúnaðar vinstri sláttubúnaðarmótorsins að framan. |
CUTTING UNIT 3 (sláttubúnaður
3) | Sýnir endurskoðun hugbúnaðar hægri sláttubúnaðarmótorsins að framan. |
PRECHARGE (forhleðsla) | Sýnir raðnúmer rafalsins. |
LIFT LOWER 1![]() | Sýnir hugbúnaðarhlutarnúmer og endurskoðunarútgáfu stjórnbúnaðar forhleðslu |
LIFT LOWER 2![]() | Sýnir hlutarnúmer hugbúnaðar og endurskoðunarútgáfu vinstri sláttubúnaðarins að framan. |
LIFT LOWER 3![]() | Sýnir hlutarnúmer hugbúnaðar og endurskoðunarútgáfu hægri sláttubúnaðarins að framan. |
TRACTION1![]() | Sýnir hlutarnúmer hugbúnaðar og endurskoðunarútgáfu hægri akstursmótors að framan. |
TRACTION2![]() | Sýnir hlutarnúmer hugbúnaðar og endurskoðunarútgáfu vinstri akstursmótors að framan. |
TRACTION3![]() | Sýnir hlutarnúmer hugbúnaðar og endurskoðunarútgáfu þríhjóladrifssettsins (ef það er til staðar). |
STEERING![]() | Sýnir hlutarnúmer hugbúnaðar og endurskoðunarútgáfu akstursmótors að aftan. |
BATTERY TB![]() | Sýnir hugbúnaðarhlutarnúmer og endurskoðunarútgáfu fyrir hverja rafhlöðu sláttuvélarinnar. |
Note:
Varið
undir Protected Menus“ – eingöngu aðgengilegt
með því að slá in PIN-númer; sjá Varðar valmyndir opnaðar.
Note: Sjálfgefið PIN-númer sláttuvélarinnar er annaðhvort 0000 eða 1234.Ef skipt er um PIN-númer og það gleymist þarf að leita aðstoðar hjá viðurkenndum dreifingaraðila Toro.
Á AðALVALMYNDINNI er flett niður á valmyndina SETTINGS (stillingar) og ýtt á valhnappinn (Mynd 28).

Á valmyndinni SETTINGS (stillingar) er flett á ENTER PIN (slá inn PIN-númer) og ýtt á valhnappinn (Mynd 29A).

PIN-númerið er slegið inn með því að ýta á upp-/niðurhnappana þar til rétti fremsti tölustafurinn birtist og síðan er ýtt á hægri-hnappinn til að fara á næsta tölustaf (Mynd 29B og Mynd 29C). Endurtakið þetta skref þar til búið er að færa inn alla tölustafina.
Ýtið á valhnappinn (Mynd 29D).
Note: Ef PIN-númerið er rétt og varða valmyndin
opnast sést
efst til hægri á skjámyndinni.
Svissið AF og svo á aftur til að læsa vörðu valmyndinni.
Í SETTINGS (stillingar) er flett niður á PROTECT SETTINGS (varnarstillingar).
Til að skoða og breyta stillingum án
þess að slá inn PIN-númer skal nota valhnappinn
til að stilla PROTECT SETTINGS á
(slökkt).
Til að skoða og breyta stillingum með
PIN-númeri skal nota valhnappinn til að stilla PROTECT SETTINGS (varnarstillingar) á
(kveikt), velja PIN-númerið
og svissa AF og síðan í á.

Blikkandi rautt – virk bilun
Logandi rautt – ráðlegging virk
Logandi blátt – kvörðun/svargluggaskilaboð
Logandi grænt – hefðbundin virkni
Takið vinnuvélina ávallt úr sambandi við aflgjafa áður en hún er hlaðin eða viðhaldsvinnu sinnt og fyrir uppsetningu, fjarlægingu eða viðhaldsvinnu á sláttubúnaðinum. Þetta er gert með því að lyfta tengilshlífinni og aftengja aðalafltenglana (Mynd 31) neðarlega á veltigrindinni, vinstra megin á vinnuvélinni. Tengið tenglana aftur saman áður en unnið er á sláttuvélinni.

Ef rafmagnið er ekki tekið af vinnuvélinni er hætta á að einhver setji vinnuvélina óvart í gang og það getur leitt til alvarlegra meiðsla.
Aftengið tenglana alltaf áður en unnið er við sláttuvélina.
Upplýsingar um stærð og þyngd sláttuvélarinnar eru í Mynd 32 og Tæknilýsingartafla sláttuvélar.
Note: Tæknilýsingar og hönnun geta breyst án fyrirvara.

| Breidd sláttar | 151 cm |
| Sporvídd hjóla | 126 cm |
| Hjólhaf | 127 cm |
| Heildarlengd (með körfum) | 249 cm |
| Heildarbreidd | 180 cm |
| Heildarhæð | 205 cm |
| Þyngd* | 705 kg |
| *Sláttuvél með sláttubúnaði með 11 hnífum, mjóum hjólum, engum stjórnanda og venjulegu sæti. | |
| Fjöldi rafhlaðna | 5 |
| Málspenna | Hámark 60 VDC og málnotkun 55,2 VDC |
| Amperstundir | 199,85 |
Úrval tengitækja og aukabúnaðar sem Toro samþykkir er í boði fyrir vinnuvélina til að auka við afkastagetu hennar. Hafið samband við viðurkenndan þjónustu- og söluaðila eða dreifingaraðila Toro eða farið á www.Toro.com þar sem finna má lista yfir öll samþykkt tengitæki og aukabúnað.
Notið eingöngu varahluti og aukabúnað frá Toro til að tryggja hámarksafköst og áframhaldandi öryggisvottun vinnuvélarinnar. Varahlutir og aukabúnaður frá öðrum framleiðendum geta reynst hættulegir og notkun þeirra kann að fella ábyrgðina úr gildi.
Leyfið aldrei börnum eða óþjálfuðum einstaklingum að vinna á eða við sláttuvélina. Gildandi reglur á hverjum stað kunna að setja takmörk við aldur stjórnanda. Eigandinn ber ábyrgð á að þjálfa stjórnendur og vélvirkja.
Lærið örugga notkun búnaðarins, stjórntækjanna og öryggismerkinganna.
Setjið stöðuhemilinn á, drepið á vélinni, takið lykilinn úr og bíðið þar til allir hlutar hafa stöðvast áður en farið er úr ökumannssætinu. Leyfið sláttuvélinni að kólna áður en hún er stillt, þjónustuð, þrifin eða sett í geymslu.
Lærið að stöðva sláttuvélina og drepa á henni á skjótan máta.
Gangið úr skugga um að kerfi fyrir nærveru stjórnanda, öryggisrofar og öryggisbúnaður séu á sínum stað og virki rétt. Ekki nota sláttuvélina ef þessir hlutir virka ekki rétt.
Skoðið ávallt sláttuvélina fyrir slátt til að tryggja að sláttubúnaðurinn sé í góðu ásigkomulagi.
Skoðið svæðið þar sem nota á sláttuvélina og fjarlægið hluti sem hún getur skotið frá sér.
Hægt er að nota upplýsingaskjáinn til að breyta eftirfarandi stillingum sláttuvélarinnar:
Tap-off delay (léttstöðvunarseinkun); sjá Léttstöðvunarseinkun breytt.
Reel speed while mowing (keflahraði við slátt); sjá Keflahraða við slátt breytt.
Cutting-unit lower speed (lækkunarhraði sláttubúnaðar); sjá Lækkunarhraði sláttubúnaðar stilltur.
Reel speed while backlapping the cutting units (keflahraði við bakslípun); sjá Keflahraða við bakslípun breytt.
Clip control (skurðarstjórnun); sjá Skurðarstjórnunareiginleiki stilltur.
Height of cut (HOC) (sláttuhæð); sjá Stilling sláttuhæðar.
Number of cutting-unit blades (hnífafjöldi sláttubúnaðar); sjá Fjölda hnífa sláttubúnaðar breytt.
Maximum mowing speed (hámarkssláttuhraði); sjá Stilling hámarkssláttuhraða.
Maximum transport speed (hámarksflutningshraði); sjá Stilling hámarksflutningshraða.
Maximum reverse speed (hámarkshraði í bakkgír); sjá Stilling hámarkshraða í bakkgír.
Slow and turn (hægja og beygja); sjá Stilling eiginleika til að hægja og beygja.
Disabling an equipped 3-Wheel-Drive Kit (aftenging þríhjóladrifssetts); sjá Aftenging þríhjóladrifssetts.
Battery-reserve capacity (varabirgðir rafhlöðu); sjá Stilling varabirgða rafhlöðu.
Note: Sérhver stilling er varin með aðgangsorði. Færa þarf inn aðgangsorð til að breyta stillingunum.
Farið í valkostinn TAPOFF TIME (tími léttstöðvunar) til að breyta seinkun léttstöðvunar. Eiginleikinn fyrir léttstöðvunarseinkun gerir stjórnanda kleift að slökkva á sláttubúnaðinum án þess að lyfta honum. Seinkunarstillingin segir til um hámarkstímann sem stýripinninn til að hækka/lækka má vera í afturstöðunni til að virkja þennan eiginleika.
Í eftirfarandi töflu má sjá valkosti fyrir tímaseinkun og samsvarandi stighækkandi tölur:
| Stighækkandi tala | Seinkunartími (sekúndur) |
| 1 | Slökkt |
| 2 | 0,050 |
| 3 | 0,100 |
| 4 | 0,150 |
| 5 | 0,200 |
| 6 | 0,250 |
| 7 | 0,300 |
| 8 | 0,350 |
| 9 | 0,400 |
| 10 | 0,450 |
Note: Verksmiðjustillingin er 1, en sú tala slekkur á eiginleikanum.
Farið í valkostinn REEL SPEED (keflahraði) til að breyta keflahraðanum meðan slegið er. Hægt er að breyta þessari stillingu þegar SLöKKT er á skurðarstjórnun; sjá Skurðarstjórnunareiginleiki stilltur.
Í eftirfarandi töflu má sjá valkosti fyrir keflahraða og samsvarandi stighækkandi tölur:
| Stighækkandi tala | Keflahraði (sn./mín.) |
| 1 | 800 |
| 2 | 950 |
| 3 | 1100 |
| 4 | 1250 |
| 5 | 1400 |
| 6 | 1550 |
| 7 | 1700 |
| 8 | 1850 |
| 9 | 2000 |
Note: Verksmiðjustillingin er 2000 sn./mín. (stighækkandi tala 9).
Flettið á LOWER SPEED (lækkunarhraði) og stillið lækkunarhraða sláttubúnaðar að jörðu fyrir slátt. Hægt er að stilla á 1 (hægast) til 9 (hraðast).
Prófið lækkunarhraðann áður en sláttur hefst. Stillið hraðann eftir þörfum.
Note: Verksmiðjustillingin er 5.
Farið í valkostinn BACKLAP RPM (snúningshraði bakslípunar) til að breyta keflahraða meðan bakslípun er í gangi.
Í eftirfarandi töflu má sjá valkosti fyrir keflahraða og samsvarandi stighækkandi tölur:
| Stighækkandi tala | Keflahraði (sn./mín.) |
| 1 | 200 |
| 2 | 240 |
| 3 | 280 |
| 4 | 320 |
| 5 | 360 |
| 6 | 400 |
| 7 | 440 |
| 8 | 480 |
| 9 | 520 |
Note: Verksmiðjustillingin er 200 sn./mín. (stighækkandi tala 1).
Til að ná fram samfelldum fyrsta flokks slætti og jöfnum grassverði eftir slátt er sláttuvélin búin Radius Dependent Speed™-kerfi (RDS) sem bíður einkaleyfisvottunar. RDS-kerfið er skurðarstjórnuneiginleiki og óháður aksturshraðaeiginleiki sem breytir hraða hvers keflamótors og akstursmótors fyrir sig þannig að hægt er að halda stöðugum slætti og draga úr því að sláttubúnaðurinn skrapi grassvörðinn í beygjum við slátt.
Þegar sláttuvélin tekur beygjur við slátt (t.d. í hreinsunarumferð) snýst keflið sem vísar inn í beygjuna hægar en keflið sem vísar utan í beygjuna. Miðkeflið vegur upp á móti hraða keflanna að innan- og utanverðu þannig að allir þrír hlutar sláttubúnaðarins ná sama slætti. Því skarpari sem beygjan er, þeim mun meiri munur er á hraða keflanna. Auk þess sér RDS-kerfið um að stilla keflahraðann til samræmis ef hraði sláttuvélarinnar breytist við slátt svo hægt sé að viðhalda stöðugum slætti. Eiginleikinn dregur úr þynningu grassvarðarins með innanverðu kefli (samanborið við aðrar sláttuvélar með sæti), en það getur einnig minnkað myndun þrefaldra hringja.
RDS-kerfið stillir einnig hraða hvers hjólamótors fyrir sig í beygjum, svipað og gerist þegar hraða keflamótors er breytt í beygju. Keflamótorinn að innanverðu minnkar snúningshraðann og snýst hægar en keflamótorinn að utanverðu í beygju. Þetta dregur úr því að hjólin skrapi svörðinn í beygjunni og getur einnig minnkað myndun þrefaldra hringja.
Farið í valkostinn CLIP CONTROL (skurðarstjórnun) til að stilla RDS-kerfið.
Skurðarstjórnun stillt á ON (kveikt): Sláttuvélin notar stillingarnar úr valkostunum HEIGHT OF CUT (HOC) (sláttuhæð) og BLADE COUNT (hnífafjöldi) ásamt vinstri og hægri hjólahraða til að ákvarða hraða hvors keflis.
Skurðarstjórnun stillt á OFF (slökkt): Sláttuvélin notar stillingarnar úr valkostinum REEL SPEED (keflahraði). Keflin snúast á stöðugum hraða.
Note: Verksmiðjustillingin er ON (kveikt).
Farið í valkostinn HEIGHT OF CUT (HOC) (sláttuhæð) til að stilla sláttuhæðina. Skurðarstjórnunareiginleikinn verður að vera stilltur á ON (kveikt) til að nota þennan eiginleika; sjá Skurðarstjórnunareiginleiki stilltur.
Note: Verksmiðjustillingin er 3,2 mm.
Farið í valkostinn BLADE COUNT (hnífafjöldi) til að breyta fjölda hnífa í sláttubúnaðinum. Ákvarðið fjölda hnífa sláttubúnaðarins og veljið viðeigandi gildi (5, 8, 11 eða 14).
Note: Verksmiðjustillingin er 11.
Farið í valkostinn MAX MOW (hámarkssláttuhraði) til að stilla hámarkssláttuhraðann. Hægt er að stilla hraðann á bilinu 4,8 km/klst. til 8 km/klst. í 0,3 km/klst. skrefum.
Note: Verksmiðjustillingin er 6,1 km/klst..
Farið í valkostinn MAX TRANSPORT (hámarksflutningshraði) til að stilla hámarksflutningshraðann. Hægt er að stilla hraðann á bilinu 8 km/klst. til 16 km/klst. í 0,8 km/klst. skrefum.
Note: Verksmiðjustillingin er 16 km/klst.
Farið í valkostinn MAX REVERSE (hámarkshraði í bakkgír) til að stilla hámarkshraðann þegar sláttuvélinni er bakkað. Hægt er að stilla hraðann á 3,2 km/klst. til 8 km/klst. í 0,8 km/klst. skrefum.
Note: Verksmiðjustillingin er 4 km/klst.
Note: Hámarkshraðinn er 4,8 km/klst. fyrir A- til D-útgáfu sláttuvélahugbúnaðar. Uppfærið sláttuvélahugbúnaðinn til að hægt sé að nýta 8 m/klst. hámarkshraða.
Farið í valkostinn SLOW & TURN (hægja og beygja) til að stilla eiginleikann til að hægja á sláttuvélinni og beygja. Þessi eiginleika hægir á hraða sláttuvélarinnar þegar hún tekur beygjur á milli umferða á grasflöt.
Note: Verksmiðjustillingin er OFF (slökkt).
Farið í valkostinn 3WD KIT (þríhjóladrifssett) til að aftengja þríhjóladrifssett, ef það er til staðar.
Ef slökkt er á þessum eiginleika tengist settið aftur þegar svissað er af og svo aftur á til að ræsa (aðeins á sláttuvélum með þríhjóladrifssett).
Note: Þegar þríhjóladrifssett er fyrst sett upp tengist það sjálfkrafa.
Farið í valkostinn BATT. RESERVE (varabirgðir rafhlöðu) til að stilla fjarlægðina sem þarf til að flytja sláttuvélina á verkstæði. Þessi eiginleiki gerir stjórnanda kleift að tryggja næga rafhleðslu (þegar rafhlaðan er að tæmast) til að flytja sláttuvélina á verkstæði þar sem hægt er að hlaða hana; sjá Eftirlit með hleðslustöðu rafhlöðukerfis.
Note: Hægt er að stilla fjarlægðina á bilinu 0,8 km til 8 km í 0,8 km skrefum.
Við kvörðun sláttuvélarinnar birtast skilaboð á upplýsingaskjánum. Þessum skilaboðum er ætlað að leiðbeina notandanum í gegnum kvörðunarferlið.
Í eftirfarandi töflu má sjá lista yfir öll skilaboð sem birtast:
| Númer skilaboða | Skilaboðatexti á upplýsingaskjá |
| 1 | Return pedal to neutral“ (setja fótstig í hlutlausa stöðu) |
| 4 | Move pedal to max forward and hold“ (færa fótstig í hámarksstöðu áfram og halda) |
| 5 | Max forward calibration passed“ (kvörðun hámarksstöðu áfram tókst) |
| 9 | Max forward calibration failed“ (kvörðun hámarksstöðu áfram mistókst). Voltage out of spec“ (spenna utan marka) |
| 13 | Move pedal to max reverse and hold“ (færa fótstig í hámarksstöðu aftur á bak og halda) |
| 14 | Max reverse calibration passed“ (kvörðun hámarksstöðu aftur á bak tókst) |
| 16 | Max reverse calibration failed“ (kvörðun hámarksstöðu aftur á bak mistókst). Voltage out of spec“ (spenna utan marka) |
| 17 | Calibration failed“ (kvörðun mistókst). Pedal position unknown“ (óþekkt staða fótstigs) |
| 18 | Return pedal to neutral“ (setja fótstig í hlutlausa stöðu). Continue?“ (halda áfram?) |
| 100 | Calibration is engaged“ (kvörðun í gangi) |
| 101 | Calibration is complete“ (kvörðun lokið) |
| 102 | Cycle the key switch“ (svissa af og á) |
| 110 | Inhibit calibration“ (kvörðun hindruð). Component not responding“ (íhlutur svarar ekki) |
| 111 | Inhibit calibration“ (kvörðun hindruð). Component not ready“ (íhlutur ekki tilbúinn) |
| 112 | Inhibit calibration“ (kvörðun hindruð). Fault active“ (virk bilun) |
| 113 | Inhibit calibration“ (kvörðun hindruð). Not in seat“ (ekki í sæti) |
| 114 | Inhibit calibration“ (kvörðun hindruð). Not in neutral“ (ekki í hlutlausum gír) |
| 115 | Inhibit calibration“ (kvörðun hindruð). In neutral“ (í hlutlausum gír) |
| 116 | Inhibit calibration“ (kvörðun hindruð). Parking brake is engaged“ (stöðuhemill er á) |
| 300 | Return pedal to neutral“ (setja fótstig í hlutlausa stöðu) |
| 301 | Center steering wheel“ (miðja stýri). Continue?“ (halda áfram?) |
| 302 | Manually center rear wheel“ (miðja afturhjól handvirkt). Continue?“ (halda áfram?) |
| 303 | Steer rear wheel max left“ (stýra afturhjóli alveg til vinstri). Continue?“ (halda áfram?) |
| 304 | Steer rear wheel max right“ (stýra afturhjóli alveg til hægri). Continue?“ (halda áfram?) |
| 305 | Rear wheel center out of range“ (miðja afturhjóls utan marka) |
| 306 | Rear wheel angle out of range“ (horn afturhjóls utan marka) |
| 400 | Caution: Machine must be on jack stands“ (varúð: sláttuvél verður að vera á búkka). Continue?“ (halda áfram?) |
| 401 | Inhibit calibration“ (kvörðun hindruð). Contactor open“ (snerta opin) |
| 402 | Inhibit calibration“ (kvörðun hindruð). Pedal in Neutral“ (fótstig í hlutlausri stöðu) |
| 403 | Return pedal to neutral“ (setja fótstig í hlutlausa stöðu) |
| 404 | Wait for wheels to stop“ (bíða þar til hjól stöðvast) |
| 405 | Move pedal to max forward and hold“ (færa fótstig í hámarksstöðu áfram og halda) |
| 406 | Calibration active“ (kvörðun virk). Hold pedal“ (halda fótstigi) |
| 500 | Lift/Lower extend active“ (hækkun/lækkun við útdrátt virk) |
| 501 | Lift/Lower retract active“ (hækkun/lækkun við inndrátt virk) |
| 502 | Move joystick to lower position“ (færa stýripinna í lækkunarstöðu) |
| 503 | Move joystick to raise position“ (færa stýripinna í hækkunarstöðu) |
| 504 | Is the cutting unit installed?“ (er sláttubúnaðurinn uppsettur?) Continue?“ (halda áfram?) |
| 1100 | Traction diagnostic messages enabled“ (kveikt á bilanagreiningarskilaboðum fyrir akstur) |
| 1101 | Steering diagnostic messages enabled“ (kveikt á bilanagreiningarskilaboðum fyrir stýri) |
| Tíðni viðhaldsþjónustu | Viðhaldsferli |
|---|---|
| Fyrir hverja notkun eða daglega |
|
Framkvæmið eftirfarandi aðgerðir daglega áður en sláttuvélin er ræst:
Athugið bilið á milli keflis og botnblaðs; sjá Athugun á bili milli keflis og botnblaðs.
Kannið þrýsting í hjólbörðum; sjá Þrýstingur hjólbarða kannaður.
Athugið öryggissamlæsingarkerfið; sjá Öryggissamlæsingarkerfið skoðað.
Athugið virkni stöðuhemilsins með því að setja hann á og ganga úr skugga um að hann sé virkur; sjá Stöðuhemill.
Eigandinn/stjórnandinn getur komið í veg fyrir og ber ábyrgð á slysum sem geta valdið meiðslum á fólki eða eignatjóni.
Klæðist viðeigandi klæðnaði, þar á meðal hlífðargleraugum, síðbuxum, sterkum skófatnaði með skrikvörn og heyrnarhlífum. Takið sítt hár í tagl og ekki klæðast víðum fatnaði eða hangandi skartgripum.
Notkun vinnuvélarinnar er bönnuð ef stjórnandi er þreyttur, veikur eða undir áhrifum áfengis eða annarra vímuefna.
Sýnið árvekni á meðan unnið er á vinnuvélinni. Ekki gera neitt sem veldur truflun; slíkt kann að leiða til meiðsla eða eignatjóns.
Áður en vélin er gangsett þarf að tryggja að öll drif séu í hlutlausri stöðu, stöðuhemillinn sé á og að stjórnandinn sitji í sætinu.
Flytjið ekki farþega á sláttuvélinni.
Haldið nærstöddum og börnum utan vinnusvæðisins. Ef samstarfsfólk þarf að vera á svæðinu skal gæta varúðar og tryggja að graskörfurnar séu settar upp á sláttuvélinni.
Vinnið eingöngu á sláttuvélinni með góða yfirsýn til að forðast holur og duldar hættur.
Forðist slátt í blautu grasi. Skert grip getur valdið því að sláttuvélin renni til.
Haldið höndum og fótum fjarri sláttubúnaðinum.
Lítið aftur fyrir og niður áður en bakkað er til að tryggja að leiðin sé greið.
Sýnið aðgát þegar komið er að blindhornum, trjástubbum, trjám eða öðrum hlutum sem kunna að takmarka útsýnið.
Stöðvið sláttubúnaðinn þegar ekki er verið að slá.
Hægið á og sýnið aðgát í beygjum og þegar vinnuvélinni er ekið yfir vegi eða gangstíga. Umferð frá hægri á alltaf réttinn.
Skiljið ekki sláttuvél eftir í gangi án eftirlits.
Áður en svæði stjórnanda er yfirgefið skal gera eftirfarandi:
Leggið sláttuvélinni á jafnsléttu.
Látið sláttubúnaðinn síga niður að jörðu og tryggið að hann sé aftengdur.
Setjið stöðuhemilinn á.
Drepið á sláttuvélinni og takið lykilinn úr.
Bíðið þar til hlutir á hreyfingu hafa stöðvast.
Vinnið eingöngu á sláttuvélinni með góða yfirsýn og við viðeigandi veðurskilyrði. Ekki nota sláttuvélina þegar hætta er á eldingum.
Ekki má fjarlægja neina íhluti veltigrindarinnar.
Gangið úr skugga um að sætisbeltið sé fest og hægt sé að losa það hratt í neyðartilvikum.
Notið sætisbeltið undantekningalaust.
Fylgist vandlega með fyrirstöðum fyrir ofan sláttuvélina og komið í veg fyrir að sláttuvélin komist í snertingu við þær.
Tryggið að veltigrindin sé góðu ásigkomulagi með því að skoða hana reglulega og leita eftir skemmdum og herða allar festingar tryggilega.
Skiptið um alla skemmda íhluti veltigrindarinnar. Ekki gera við þá eða breyta þeim.
Brekkur valda mikilli hættu á stjórnmissi eða veltu sem leitt getur til alvarlegra meiðsla eða dauða. Stjórnandinn er ábyrgur fyrir öruggri notkun í halla. Sýna þarf sérstaka aðgát þegar sláttuvélinni er ekið í halla.
Metið og kannið aðstæður á vinnusvæðinu til að ákvarða hvort hallinn er öruggur til vinnu. Beitið almennu hyggjuviti og sýnið góða dómgreind við þessa skoðun.
Farið yfir hallaupplýsingarnar sem taldar eru upp hér að neðan fyrir notkun sláttuvélarinnar í halla. Farið yfir vinnusvæðið, áður en sláttuvélin er notuð, til að ákveða hvort hægt sé að nota hana með hliðsjón af skilyrðum á svæðinu á viðkomandi degi. Breytingar á undirlagi geta leitt til breytinga á notkun sláttuvélarinnar í halla.
Forðist að taka af stað, stoppa eða beygja sláttuvélinni í halla. Forðist skyndilegar hraðabreytingar eða stefnubreytingar. Beygið hægt og rólega.
Vinnið ekki á sláttuvélinni við neinar aðstæður þar sem grip, stjórn eða stöðugleiki eru skert.
Fjarlægið eða merkið hindranir á borð við skurði, holur, hjólför, ójöfnur, grjót eða aðrar duldar hættur. Hátt gras getur hulið hindranir. Óslétt undirlag getur valdið því að sláttuvélin velti.
Hafið í huga að sláttuvélin getur misst grip þegar unnið er í blautu grasi, þvert á halla eða niður brekku. Ef dekkin missa grip er hætta á að sláttuvélin renni til, missi hemlagetu og verði stjórnlaus.
Gætið fyllstu varúðar þegar unnið er á sláttuvélinni nálægt háum bökkum, skurðum, bökkum, vatni eða annarri hættu. Sláttuvélin getur oltið mjög skyndilega ef hjól fer út fyrir brún eða brún gefur sig. Haldið öruggri fjarlægð á milli sláttuvélarinnar og hvers kyns hættu.
Auðkennið hættur neðst í hallanum. Ef hættur eru til staðar skal slá hallann með vél sem stjórnað er af fótgangandi stjórnanda.
Lækkið sláttubúnaðinn niður að jörðu á meðan unnið er í halla, ef því verður við komið. Sláttuvélin getur orðið óstöðug þegar sláttubúnaðurinn er uppi á meðan unnið er í halla.
Gætið fyllstu varúðar þegar unnið er með grassafnkerfi eða önnur tengitæki. Slíkur búnaður getur breytt stöðugleika sláttuvélarinnar og valdið því að hún verði stjórnlaus.
Tilkeyrsla sláttuvélarinnar verður að fara fram á 8 klukkustundum.
Þar sem fyrstu vinnustundirnar skipta miklu máli fyrir áreiðanleika sláttuvélarinnar síðar meir skal fylgjast vel með aðgerðum og afköstum til að greina og leiðrétta öll smávægileg vandamál, sem gætu leitt til meiriháttar bilana þegar fram í sækir. Skoðið sláttuvélina oft meðan á tilkeyrslu stendur til að greina lausar festingar eða aðrar bilanir.
Note: Skoðið svæðin undir sláttubúnaðinum til að tryggja að engin óhreinindi séu til staðar.
Setjist í sæti stjórnanda og festið sætisbeltið.
Setjið lykilinn í svissinn og svissið á.
Færið stjórnrofann í stöðuna MOW (sláttur).
Takið stöðuhemilinn af.
Færið stýripinnann til að hækka/lækka stuttlega fram.
Sláttubúnaðurinn ætti að síga og öll keflin eiga að snúast.
Færið stýripinnann til að hækka/lækka aftur.
Sláttukeflin ættu að hætta að snúast og sláttubúnaðurinn að hækka í hæstu flutningsstöðu.
| Tíðni viðhaldsþjónustu | Viðhaldsferli |
|---|---|
| Fyrir hverja notkun eða daglega |
|
Ef rofar öryggissamlæsingarinnar eru aftengdir eða skemmdir kann sláttuvélin að fara óvænt af stað og það veldur hættu á alvarlegum meiðslum eða dauða.
Ekki fikta í samlæsingarrofunum.
Kannið virkni samlæsingarrofanna daglega og skiptið um skemmda rofa áður en unnið er á vinnuvélinni.
Tilgangur öryggissamlæsingarkerfisins er að koma í veg fyrir að sláttuvélin sé notuð þegar hætta er á meiðslum eða skemmdum.
Öryggissamlæsingarkerfið kemur í veg fyrir að sláttuvélin hreyfist nema þegar:
Stöðuhemillinn er ekki á.
Setið er í sæti stjórnanda.
Stjórnrofi er í stöðunni MOW (sláttur) eða stöðunni TRANSPORT (flutningur).
Öryggissamlæsingarkerfið kemur einnig í veg fyrir að keflin snúist nema þegar stjórnrofinn er í stöðunni MOW (sláttur) (nema þegar sláttuvélin er í bakslípunarstillingu).
Framkvæmið eftirfarandi skref til að skoða samlæsingarkerfið:
Standið upp úr sætinu, gangsetjið sláttuvélina, takið stöðuhemilinn af, færið stjórnrofann í stöðuna MOW (sláttur) eða TRANSPORT (flutningur) og stígið á inngjafarfótstigið.
Sláttuvélin ætti ekki að hreyfast úr stað þar sem stjórnandinn er ekki í sætinu. Það staðfestir að samlæsingarkerfið virki eins og það á að gera. Ef svo er ekki skal leiðrétta vandamálið.
Sitjið í sætinu, gangsetjið sláttuvélina, setjið stöðuhemilinn á, færið stjórnrofann í stöðuna MOW (sláttur) eða TRANSPORT (flutningur) og stígið á inngjafarfótstigið.
Sláttuvélin ætti ekki að hreyfast úr stað þar sem stöðuhemillinn er á. Það staðfestir að samlæsingarkerfið virki eins og það á að gera. Ef svo er ekki skal leiðrétta vandamálið.
Sitjið í sætinu, gangsetjið sláttuvélina, takið stöðuhemilinn af, færið stjórnrofann í stöðuna NEUTRAL (hlutlaus staða) og stígið á inngjafarfótstigið.
Sláttuvélin ætti ekki að hreyfast úr stað þar sem stjórnrofinn er í HLUTLAUSRI stöðu. Það staðfestir að samlæsingarkerfið virki eins og það á að gera. Ef svo er ekki skal leiðrétta vandamálið.
Sitjið í sætinu, færið inngjafarfótstig í HLUTLAUSA stöðu, færið stjórnrofann í HLUTLAUSA stöðu, setjið stöðuhemilinn á, gangsetjið sláttuvélina og færið stýripinnann til að hækka/lækka fram til að lækka sláttubúnaðinn.
Sláttubúnaðurinn ætti að síga en ekki byrja að snúast. Ef keflin byrja að snúast virkar samlæsingarkerfið ekki eins og það á að gera; leiðréttið vandamálið áður en sláttuvélin er notuð.
Gangið úr skugga um að sláttubúnaðurinn sé í hæstu stöðu.
Sitjið í sætinu, festið sætisbeltið, takið stöðuhemilinn af og færið stjórnrofann í stöðuna TRANSPORT (flutningur) til að aka sláttuvélinni án þess að slá.
Gætið þess að hægja alltaf á sláttuvélinni þegar komið er að ósléttum grassvæðum og akið gætilega yfir miklar ójöfnur.
Kynnið ykkur breidd sláttuvélarinnar. Ekki reyna að komast á milli hluta sem liggja nálægt hvor öðrum, það gæti leitt til kostnaðarsamra viðgerða og vinnustöðvana.
Áður en lagt er af stað út á flöt til að slá ætti stjórnandinn að finna opið svæði til að æfa sig í notkun grundvallareiginleika sláttuvélarinnar (t.d. að gangsetja og stöðva vélina, hækka og lækka sláttubúnaðinn og taka beygjur).
Skoðið flötina og fjarlægið öll óhreinindi og aðskotahluti sem gætu skemmt sláttubúnaðinn á meðan slegið er. Fjarlægið fána úr holum og finnið bestu stefnuna fyrir sláttinn. Miðið við fyrri sláttustefnu þegar stefna sláttuvélarinnar er ákveðin. Sláið alltaf með öðru mynstri en við fyrri slátt til að grasblöðin geti síður lagst niður og meiri líkur eru á að ná að slá grasið.
Byrjið á fyrsta jaðri flatarinnar til að hægt sé að nota borðasláttuaðferð.
Note: Þannig er hægt að halda þjöppun í lágmarki og ná fram áferðarfallegu mynstri í flötina.
Færið stjórnrofann í stöðuna SLáTTUR.
Ýtið stýripinnanum til að hækka/lækka fram þegar framhluti graskarfanna fer yfir ytri jaðar flatarinnar.
Note: Við það lækkar sláttubúnaðurinn að grassverðinum og keflin fara í gang.
Important: Sláttubúnaðurinn fyrir miðju hækkar eða lækkar aðeins á eftir sláttubúnaðinum að framan. Því ætti stjórnandinn að æfa sig í að finna út rétta tímasetningu fyrir þessa aðgerð til að lágmarka hreinsunarumferðir og koma í veg fyrir fláningu á jaðrinum.Hækkun og lækkun sláttubúnaðarins fyrir miðju miðast við aksturshraða. Hægari aksturshraði leiðir til meiri hækkunar eða minni seinkunar en aukinn aksturshraði leiðir til minni hækkunar eða minni seinkunar. Sláttuvélin mælir aksturshraðann og uppfærir seinkunina þannig að allir þrír hlutar sláttubúnaðarins síga í röð.
Reynið að láta sláttinn skarast sem minnst við fyrri umferð þegar snúið er til baka.
Note: Hægt er að ímynda sér sjónlínu, sem nær u.þ.b. 1,8 til 3 m beint fyrir framan sláttuvélina og að jaðri þess hluta flatarinnar sem er ósleginn, til að auðvelda sér að halda beinni línu yfir flötina og til að halda jafnri fjarlægð frá brún fyrri umferðar (Mynd 36). Nýtið brún stýrisins sem hluta af sjónlínunni; þ.e. miðið stýrisbrúnina við punkt sem er alltaf hafður í sömu fjarlægð frá framhluta sláttuvélarinnar.
Þegar framhluti graskarfanna fer yfir jaðar flatarinnar skal toga stýripinnann til að hækka/lækka aftur og halda honum þar til allir hlutar sláttubúnaðarins hafa hækkað. Við það stöðvast keflin og sláttubúnaðurinn lyftist.
Important: Tímasetjið þetta skref rétt til að forðast að klippa af jaðarsvæðinu, en klippið samt sem áður eins mikið af flötinni og hægt er til að minnka gras sem þarf að slá eftir á í kringum ytri jaðarinn.
Snúið sláttuvélinni stuttlega í öfuga átt og síðan í áttina að óslegna hlutanum. Þetta hjálpar til við að fækka vinnustundum og auðveldar undirbúning fyrir næstu umferð. Þessi hreyfing er eins og tár í laginu (Mynd 35) og undirbýr sláttuvélina fljótt fyrir næstu umferð.
Note: Ef kveikt er á eiginleikanum Slow and Turn“ (hægja og beygja) hægir sláttuvélin á sér í beygjunni án þess að stjórnandinn þurfi að draga úr þrýstingi á inngjafarfótstigið.

Note: Reynið að taka eins stutta beygju og hægt er, nema þegar heitt er í veðri, en þá getur breiðari bogi dregið úr skemmdum á grassverði.

Important: Stöðvið aldrei sláttuvélina á flöt, sérstaklega þegar sláttubúnaðurinn er í gangi, slíkt getur valdið skemmdum á grassverðinum. Ef sláttuvélin er stöðvuð á flöt geta hjólin skilið eftir sig för eða dældir.
Ljúkið við að slá flötina með því að slá ytri jaðarinn. Skiptið um sláttustefnu frá fyrri slætti.
Sjá leiðbeiningar um hvernig á að bæta útlit eftir slátt og draga úr myndun þrefaldra hringja í Virkni RDS-kerfis (hraðakerfi sem fylgir radíus).
Note: Hafið ávallt veðurskilyrði og ástand grassvarðarins í huga og gætið þess að skipta um sláttustefnu frá fyrri slætti.
Þegar lokið er við að slá ytri jaðarinn skal ýta stýripinnanum til að hækka/lækka létt aftur til að stöðva keflin (ef kveikt er á léttstöðvunarseinkun) og aka svo út af flötinni. Þegar allir hlutar sláttubúnaðarins eru komnir út fyrir flötina skal færa stýripinnann aftur til að lyfta sláttubúnaðinum.
Note: Með þessu móti er hægt að fækka graskögglum sem verða eftir á flötinni.
Setjið fánann aftur í.
Tæmið allt gras úr graskörfunum áður en sláttuvélin er færð á næstu flöt.
Note: Blautt og þungt gras veldur álagi á körfunum, fjöðrunarkerfi og hreyfiliðum. Það bætir óþarfa þyngd við sláttuvélina og dregur úr skilvirkni orkunýtingar.
Skoðið aðalupplýsingaskjáinn til að fylgjast með hleðslustöðu rafhlöðukerfisins; sjá Notkun upplýsingaskjásins.
Þegar prósentustaða rafhleðslunnar lækkar birtist áminning um lága hleðslustöðu á upplýsingaskjánum. Ef sláttur stendur yfir þegar áminningin birtist skal ljúka við slátt á viðkomandi flöt og færa svo sláttuvélina á hleðslusvæði til að hlaða rafhlöðurnar; sjá Li-ion rafhlöður settar í hleðslu.
Ef hleðslustaðan verður of lág (þ.e. undir 10%) meðan sláttuvélin er í notkun birtist áminning á upplýsingaskjánum. Aðeins er hægt að færa sláttuvélina á hægum hraða þegar unnið er með þessa hleðslustöðu og ekki er hægt að virkja sláttubúnaðinn. Færið sláttuvélina á hleðslusvæði og hlaðið rafhlöðurnar; sjá Li-ion rafhlöður settar í hleðslu.
Færið sláttuvélina á jafnsléttu.
Færið stjórnrofann í stöðuna NEUTRAL (hlutlaus staða).
Setjið stöðuhemilinn á.
Svissið AF til að drepa á sláttuvélinni.
Takið lykilinn úr.
Setjið stöðuhemilinn á, drepið á vélinni, takið lykilinn úr og bíðið þar til allir hlutar hafa stöðvast áður en farið er úr ökumannssætinu. Leyfið sláttuvélinni að kólna áður en hún er stillt, þjónustuð, þrifin eða sett í geymslu.
Hreinsið gras og óhreinindi af sláttuvélinni, sérstaklega af sláttubúnaðinum og drifum, til að koma í veg fyrir íkviknun.
Aftengið aðalafltenglana þegar sláttuvélin er sett í geymslu eða dregin.
Aftengið drif tengitækis þegar verið er að draga sláttuvélina eða hún er ekki í notkun.
Leyfið sláttuvélinni að kólna áður en hún er sett í geymslu innandyra.
Haldið sætisbeltum við og þrífið eftir þörfum.
Geymið ekki sláttuvélina nærri óvörðum loga, neistaflugi eða kveikiloga, á borð við vatnshitara eða önnur heimilistæki.
VIÐVÖRUN: Hætta á eldsvoða og raflosti – Rafhlöðurnar innihalda enga hluti sem notandi getur þjónustað.
Gangið úr skugga um að spennan sem notuð er í viðkomandi landi henti hleðslutækinu.
Ekki hlaða sláttuvélina í blautu umhverfi; verjið hana gegn regni og snjó.
Hætta er á eldsvoða, raflosti eða meiðslum þegar notaður er aukabúnaður sem Toro mælir ekki með eða selur.
Fylgið þessum leiðbeiningum og leiðbeiningum hvers þess búnaðar sem á að nota nærri hleðslutækinu til að draga úr hættu á sprengingu í rafhlöðu. Fylgið þessum leiðbeiningum og leiðbeiningum hvers þess búnaðar sem á að nota nærri hleðslutækinu til að draga úr hættu á sprengingu í rafhlöðu.
Rafhlöðurnar geta losað sprengifimar lofttegundir ef þær eru hlaðnar of mikið.
Leitið til viðurkennds dreifingaraðila til að þjónusta eða skipta um rafhlöðu.
Aldrei leyfa börnum eða óþjálfuðum einstaklingum að vinna með eða við hleðslutækið. Gildandi reglur á hverjum stað kunna að setja takmörk við aldur stjórnanda. Eigandinn ber ábyrgð á að þjálfa stjórnendur og vélvirkja.
Lesið vandlega og fylgið öllum leiðbeiningum á hleðslutækinu og í handbókinni áður en hleðslutækið er notað. Þekkið rétta notkun hleðslutækisins.
Haldið nærstöddum og börnum í öruggri fjarlægð á meðan hleðsla stendur yfir.
Drepið á sláttuvélinni og bíðið þar til sláttuvélin hefur drepið á sér að fullu áður en hleðsla er hafin. Ef þetta er ekki gert er hætta á neistahlaupi.
Tryggið að hleðsla fari fram á vel loftræstu svæði.
Notið hleðslutækið einungis innan þess spennusviðs sem er tilgreint í þessari notendahandbók og notið einungis rafmagnssnúru sem er samþykkt af Toro.
Hafið samband við viðurkenndan dreifingaraðila Toro til að fá rétt hleðslutæki og rétta rafmagnssnúru.
Ekki hlaða frosna rafhlöðu.
Farið vel með rafmagnssnúruna. Ekki taka hleðslutækið upp á rafmagnssnúrunni eða kippa í hana til að taka hleðslutækið úr sambandi. Haldið snúrunni frá hita, olíu og hvössum brúnum.
Tengið hleðslutækið beint við innstungu með jarðtengingu. Ekki nota hleðslutækið með ójarðtengdri innstungu, ekki einu sinni með millistykki með jarðtengingu.
Ekki breyta meðfylgjandi rafmagnssnúru eða kló.
Fjarlægið málmhluti á borð við hringa, armbönd, hálsmen og úr þegar unnið er við Li-ion rafhlöðu. Li-ion rafhlaða getur myndað nægan straum til að valda alvarlegu brunasári.
Notið framlengingarsnúru sem ræður við straumstyrk hleðslunnar sem tilgreindur er í þessari notendahandbók. Ef verið er að hlaða utandyra skal nota framlengingarsnúru sem er ætluð til notkunar utandyra.
Ef rafmagnssnúran skemmist á meðan hún er í sambandi skal taka hana úr sambandi við innstunguna og fá nýja rafmagnssnúru hjá viðurkenndum dreifingaraðila Toro.
Takið hleðslutækið úr sambandi við rafmagnsinnstungu þegar það er ekki í notkun, áður en það er flutt til eða áður en það er þjónustað.
Geymið hleðslutækið á þurrum og öruggum stað innandyra, sem óviðkomandi hafa ekki aðgang að.
Ekki taka hleðslutækið í sundur.
Farið með hleðslutækið til viðurkennds dreifingaraðila þegar þörf er á þjónustu eða viðgerð.
Takið rafmagnssnúruna úr sambandi við innstunguna áður en viðhald eða þrif fara fram til að draga úr hættu á raflosti.
Haldið við eða skiptið um öryggis- og leiðbeiningarmerkingar, eftir þörfum.
Ekki nota hleðslutækið með skemmdri snúru eða kló. Hafið samband við viðurkenndan dreifingaraðila Toro til að fá nýja snúru.
Ekki nota hleðslutækið ef það skemmist; farið þess í stað með það til viðurkennds dreifingaraðila Toro.
Notið eingöngu sláttuvélar með sérstökum tengibúnaði til að draga tengitæki/eftirvagna. Tengið tengitæki/eftirvagna eingöngu við tengibúnaðinn.
Fylgið ráðleggingum framleiðanda varðandi þyngdartakmarkanir fyrir búnaðinn sem er dreginn og hvernig á að draga í brekkum. Í brekkum getur þyngd dregna búnaðarins valdið því að sláttuvélin missi grip og verði stjórnlaus.
Aldrei skal leyfa börnum eða öðrum að sitja í eða á búnaði sem er dreginn.
Akið hægt og gerið ráð fyrir meiri stöðvunarvegalengd við drátt.
| Tíðni viðhaldsþjónustu | Viðhaldsferli |
|---|---|
| Fyrir hverja notkun eða daglega |
|
Skolið vel af sláttuvélinni eftir slátt með garðslöngu án stúts til að koma í veg fyrir að of mikill vatnsþrýstingur valdi mengun og skemmdum á þéttum, legum og rafbúnaði. Ekki skola raftengin með vatni.
Important: Ekki nota ísalt vatn eða hreinsað vatn til að þrífa sláttuvélina.
Important: Ekki nota háþrýstibúnað til að skola sláttuvélina. Þvottur með háþrýstibúnaði getur skemmt rafkerfið, losað um mikilvægar merkingar eða skolað í burtu mikilvægri smurfeiti af núningsstöðum. Það gæti einnig þvingað vatn undir þéttingar og mengað hlífðarhús sem innihalda olíu eða feiti. Forðist mikla notkun vatns nálægt stjórnborðinu og rafhlöðum.
Skoðið bit sláttubúnaðarins eftir að sláttuvélin hefur verið þrifin.
Sýnið aðgát þegar sláttuvélin er sett á eða tekin af eftirvagni eða palli.
Notið skábraut í fullri breidd við að aka sláttuvélinni á eftirvagn eða pall.
Bindið sláttuvélina tryggilega niður með stroffum, keðjum eða reipum. Stroffur að framan og aftan verða að liggja niður og út frá sláttuvélinni (Mynd 37).

Note: Frekari upplýsingar um þessa aðferð eru í Mynd 38.

Framkvæma þarf eftirfarandi aðgerð til að losa hreyfiliða hemils svo hægt sé að draga sláttuvélina:
Setjið stöðuhemilinn á.
Takið lykilinn úr og aftengið aðalafltenglana.
Important: Ef aðalafltenglarnir eru tengdir meðan sláttuvélin er dregin getur rafbúnaður hennar skemmst.
Aftengið rafknippatengi þríhjóladrifssettsins, ef það er uppsett, frá aðalrafknippinu.
Important: Ef settið og rafknippi sláttuvélarinnar eru tengd við drátt getur rafbúnaður hennar skemmst.
Skorðið hjólbarða að framan á báðum hliðum.
Léttið á strekkingu gormsins með því að losa róna sem festir augaboltann við gormfestinguna (Mynd 38).
Fjarlægið gorminn.
Setjið skrall (⅜ tommu) í gegnum gatið á armfestingunni og ýtið hreyfiliðaöxlinum inn.
Þegar hreyfiliðinn losnar frá hemlinum getur sláttuvélin ekið í hlutlausum gír. Sláttuvél í hlutlausum gír getur valdið alvarlegum meiðslum hjá nærstöddum.
Ef ekki er verið að draga sláttuvélina skal nota stöðuhemilinn.
Látið aðstoðarmann sitja í sætinu, festið sætisbeltið og notið hemilinn þegar sláttuvélin er dregin.
Note: Þannig má hafa stjórn á sláttuvélinni meðan hún er dregin.
Fjarlægið skorðurnar frá hjólbörðunum.
Takið stöðuhemilinn af þegar sláttuvélin er tilbúin fyrir drátt.
Notið hjólafestinguna að aftan til að draga sláttuvélina (Mynd 39).
Important: Ekki aka hraðar en 5 km/klst. þegar sláttuvélin er dregin. Annars geta rafmagnsíhlutir skemmst.

Þegar sláttuvélin hefur verið dregin á áfangastað skal framkvæma eftirfarandi skref:
Rafhlöðurnar eru háspennurafhlöður sem geta valdið brunasárum eða raflosti.
Ekki reyna að opna rafhlöðurnar.
Gætið fyllstu varúðar við meðhöndlun rafhlöðu með rofið ytra byrði.
Notið eingöngu hleðslutæki sem hannað er fyrir rafhlöðurnar.
Li-ion rafhlöðurnar geta haldið nægri hleðslu til að sinna tilætluðu hlutverki út endingartíma sinn. Fyrstu fjögur árin í notkun er heildarsvæðið sem hægt er að slá með hverri fullri hleðslulotu samtals 13.006 m2. Þessi afköst miðast við eftirfarandi skilyrði:
Keflis- og botnblöð eru beitt.
Snerting milli botnblaðs og keflis er stillt samkvæmt notendahandbókinni.
Hreinsarinn er stilltur á helming sláttuhæðar eða hærra.
Burstar fyrir rúllur að aftan eru stilltir á minnstu snertingu.
Fjarlægð fyrir flutning þarf að vera 13 kílómetrar.
Golfvöllurinn sem unnið er á er með litlum ójöfnum.
Með tímanum styttist sá tími sem hægt er að vinna á einni hleðslu rafhlaðanna.
Note: Afköstin ráðast af hversu langt þarf að aka sláttuvélinni, ójöfnum í undirlaginu, snertistillingu, biti botnblaðs og keflis, sem og öðrum þáttum sem fjallað er um í þessum hluta.
Fylgið eftirfarandi leiðbeiningum til að ná hámarksendingu og -notkun úr rafhlöðunum:
Ekki opna rafhlöðuna.
Geymið/leggið sláttuvélinni í hreinni, þurri vélageymslu eða geymslusvæði í vari fyrir sólarljósi, hitagjöfum, rigningu og bleytu. Frekari upplýsingar um kröfur um hitastig eru í Kröfur fyrir geymslu rafhlöðu.
Þegar sláttuvélin er notuð í miklum hita eða sólarljósi kann rafhlaðan að ofhitna. Ef það gerist birtist hitaviðvörun á upplýsingaskjánum. Við þessi skilyrði aftengist sláttubúnaðurinn og sláttuvélin hægir á sér.
Akið sláttuvélinni beint á svalan og skuggsælan stað, drepið á henni og leyfið rafhlöðunum að kólna að fullu áður en vinna er hafin á ný.
Stillið snertingu milli keflis og botnblaðs þannig að hún sé í lágmarki. Þetta minnkar aflið sem þarf til að keyra sláttubúnaðinn og fjölgar vinnustundum sem sláttuvélin getur unnið á einni hleðslu. Frekari upplýsingar eru í Athugun á bili milli keflis og botnblaðs.
Tryggið að biti botnblaða og kefla sé vel viðhaldið. Bitlaust blað eykur orkunotkun og fækkar vinnustundunum sem sláttuvélin getur unnið á einni hleðslu.
Ef hreinsari er notaður má hæð hans ekki vera meiri en helmingur sláttuhæðarinnar. Ef sláttuhæðin er yfir ½ tommu má hæð hreinsara ekki vera meiri en ¼ tommu.
Stillið snertingu milli rúllu og bursta að aftan þannig að hún sé í lágmarki. Þetta minnkar aflið sem þarf til að keyra sláttubúnaðinn og fjölgar vinnustundum sem sláttuvélin getur unnið á einni hleðslu.
Notið lýsingu (ef sláttuvélin er með ljósasetti) aðeins þegar þörf krefur.
Samgönguráðuneyti Bandaríkjanna og alþjóðleg flutningsyfirvöld krefjast þess að Li-ion rafhlöður séu fluttar í sérstökum pakkningum og eingöngu með flutningatækjum sem eru vottuð fyrir slíkan flutning. Í Bandaríkjunum má flytja rafhlöðu uppsetta í sláttuvélinni sem rafknúinn búnað, í samræmi við reglugerðir. Samgönguráðuneyti Bandaríkjanna eða önnur viðeigandi opinber stofnun annarra landa veitir nákvæmar upplýsingar um reglugerðir varðandi flutning rafhlaðanna eða sláttuvélarinnar með rafhlöðunum í.
Hægt er að fá frekari upplýsingar um flutning á rafhlöðum hjá viðurkenndum dreifingaraðila Toro.
Á Mynd 40 er hægt að sjá yfirlit yfir skjái og snúrur hleðslutækisins.

Hleðslutækið er með þriggja pinna kló með jarðtengingu (gerð B) til að draga úr hættu á raflosti. Ef klóin passar ekki í vegginnstunguna eru aðrar jarðtengdar klær í boði; hafið samband við viðurkenndan dreifingaraðila Toro.
Ekki breyta hleðslutækinu eða kló rafmagnssnúrunnar á nokkurn hátt.
Snerting við vatn meðan á hleðslu stendur getur valdið raflosti og meiðslum eða dauða.
Ekki meðhöndla klóna eða hleðslutækið með blautum höndum eða standandi í vatni.
Ekki má hlaða rafhlöðurnar í rigningu eða bleytu.
Important: Leitið reglulega eftir götum eða sprungum í einangrun rafmagnssnúrunnar. Ekki nota skemmda snúru. Ekki láta snúruna liggja í vatni eða blautu grasi.
Stingið hleðslukló rafmagnssnúrunnar í samsvarandi innstungu á hleðslutækinu.
Skemmd hleðslusnúra getur valdið raflosti eða eldhættu.
Skoðið rafmagnssnúruna vandlega áður en hleðslutækið er notað. Ef snúran er skemmd skal ekki nota hleðslutækið fyrr en búið er að útvega nýja snúru.
Stingið vegginnstungukló rafmagnssnúrunnar í jarðtengda rafmagnsinnstungu.
Ef reynt er að hlaða rafhlöðurnar með hleðslutæki sem ekki er frá Toro getur það leitt til ofhitnunar og annarrar bilunar, sem getur svo valdið skemmdum og/eða meiðslum.
Notið hleðslutækið sem fylgir með frá Toro til að hlaða rafhlöðurnar.
Ráðlagt hitasvið fyrir hleðslu: 0 ° til 45 °C (32 ° til 113 °F)
Important: Hlaðið rafhlöðurnar eingöngu innan ráðlagðs hitasviðs.
Note: Hleðslutækið virkar ekki við hitastig sem er yfir lágmarks- eða hámarkshita.
Leggið sláttuvélinni á svæði sem hugsað er til hleðslu.
Setjið stöðuhemilinn á og færið stjórnrofann í stöðuna NEUTRAL (hlutlaus staða).
Tryggið að sláttubúnaðurinn hafi verið aftengdur og látið hann síga að jörðu.
Drepið á sláttuvélinni og takið lykilinn úr.
Takið rafmagn af sláttuvélinni með því að aftengja aðalafltenglana; sjá Aðalafltenglar.
Tryggið að tenglarnir séu ekki rykugir eða skítugir.
Lyftið tengilshlífinni og rennið úttakstengli hleðslutækisins í tengil hleðslutækisins á sláttuvélinni (Mynd 41).
Note: Tengillinn er fyrir neðan aðalafltengilinn sem er fastur við sláttuvélina.

Tengið rafmagnssnúru hleðslutækisins við rafmagn; sjá Tengst við rafmagn.
Fylgist með hleðslutækinu til að tryggja að rafhlöðurnar séu hlaðnar.
Note: Hægt er að tengja rafmagnstenglana til að sjá núverandi hleðslustöðu og straumstyrk hleðslu rafhlöðunnar á upplýsingaskjánum; frekari upplýsingar eru í Eftirlit með hleðslu og bilanagreining.Einnig kviknar grænt ljós á hleðslutækinu á meðan sláttuvélin er í hleðslu.
Aftengið hleðslutækið þegar sláttuvélin nær viðeigandi hleðslustigi; sjá Hleðslu lokið.
Upplýsingaskjárinn sýnir hleðslustöðu og straumstyrk hleðslutækisins.
Rafhlöður með lægri spennu eru hlaðnar fyrst; þegar þær ná sömu spennu og hinar rafhlöðurnar eru allar rafhlöður hlaðnar samtímis.
Þegar hleðslu er lokið sýnir upplýsingaskjárinn 10 heil strik.

Ef bilun kemur upp birtast villuboð á upplýsingaskjánum.
Frekari upplýsingar um hvernig á að leiðrétta villuna er að finna í þjónustuhandbók sláttuvélarinnar. Ef lausn á vandamálinu er ekki að finna þar skal leita til viðurkennds dreifingaraðila Toro.
Þegar hleðslu er lokið logar grænt hleðsluljós rafgeymisins og gaumljós hleðslufrálags slokknar.
Takið tengil hleðslutækisins úr sambandi við tengil sláttuvélarinnar.
Setjið tengil hleðslutækisins og snúruna í geymslustöðu til að forðast skemmdir.
Gangið úr skugga um að aðalafltenglarnir séu hreinir.
Tengið aðalafltenglana; sjá Aðalafltenglar.
Gangsetjið sláttuvélina; sjá Sláttuvélin gangsett.
Athugið hleðslustöðuna; sjá Notkun upplýsingaskjásins.
Breytingar á upprunalegri sláttuvél, varahlutum og/eða fylgihlutum getur haft áhrif á ábyrgð, ökuhæfni og öryggi sláttuvélarinnar. Óheimilar breytingar á upprunalegri sláttuvél og/eða notkun varahluta frá öðrum framleiðendum en Toro getur leitt til alvarlegra meiðsla eða dauða.
Ekki gera óheimilar breytingar á sláttuvélinni, varahlutum og/eða fylgihlutum.
Notið eingöngu varahluti frá Toro.
Áður en stjórnandinn fer úr sæti sínu skal gera eftirfarandi:
Leggið vinnuvélinni á jafnsléttu.
Færið stjórnrofann í stöðuna NEUTRAL (hlutlaus staða).
Tryggið að sláttubúnaðurinn hafi verið aftengdur og látið hann síga að jörðu.
Setjið stöðuhemilinn á.
Drepið á sláttuvélinni og takið lykilinn úr.
Bíðið þar til hlutir á hreyfingu hafa stöðvast.
Látið íhluti vélarinnar kólna áður en viðhaldi er sinnt.
Eingöngu viðurkenndur viðgerðarmaður má sinna viðhaldi á sláttuvélinni.
Aftengið aðalafltenglana áður en viðhaldsvinna fer fram.
Ekki sinna viðhaldi með sláttuvélina gangi, ef því verður við komið. Haldið öruggri fjarlægð frá hlutum á hreyfingu.
Setjið alltaf búkka undir sláttuvélina þegar unnið er undir henni.
Losið þrýsting varlega úr íhlutum með uppsafnaða orku.
Haldið öllum hlutum sláttuvélarinnar í góðu ásigkomulagi og tryggið að vélbúnaður sé vel hertur.
Skiptið um slitnar eða skemmdar merkingar.
Notið eingöngu upprunalega varahluti frá Toro til að tryggja örugga notkun og bestu afköst sláttuvélarinnar. Varahlutir frá öðrum framleiðendum geta reynst hættulegir og notkun þeirra kann að fella ábyrgðina úr gildi.
| Tíðni viðhaldsþjónustu | Viðhaldsferli |
|---|---|
| Eftir fyrstu 8 klukkustundirnar |
|
| Fyrir hverja notkun eða daglega |
|
| Á 50 klukkustunda fresti |
|
| Á 200 klukkustunda fresti |
|
| Á 800 klukkustunda fresti |
|
Afritið þessa blaðsíðu til að skrá reglubundið viðhald.
| Viðhaldsatriði | Vika: | ||||||
|---|---|---|---|---|---|---|---|
| Mán. | Þri. | Mið. | Fim. | Fös. | Lau. | Sun. | |
| Athugið virkni öryggissamlæsingarkerfisins. | |||||||
| Athugið virkni verkfæris. | |||||||
| Athugið virkni hemils. | |||||||
| Athugið þrýsting í hjólbörðum. | |||||||
| Athugið bilið á milli keflis og botnblaðs. | |||||||
| Athugið stillingu sláttuhæðar. | |||||||
| Lagið lakkskemmdir. | |||||||
| Þrífið sláttuvélina. | |||||||
| Athugasemdir um atriði/svæði sem þarf að athuga betur | ||
| Skoðun framkvæmd af: | ||
| Atriði | Dagsetning | Upplýsingar |
Vélrænir tjakkar eða vökvatjakkar geta fallið/gefið sig undan þyngd sláttuvélarinnar og valdið alvarlegum meiðslum.
Notið búkka til að styðja við sláttuvél sem er lyft.
Notið eingöngu vélræna tjakka eða vökvatjakka til að lyfta sláttuvélinni.
Komið tjakki fyrir á einhverjum af eftirfarandi lyftipunktum fyrir tjakk (Mynd 43):
Þrep vinstra megin á sláttuvélinni
Festing fyrir tjakk hægra megin á sláttuvélinni
Hjólafesting aftan á sláttuvélinni

Þegar sláttuvélinni hefur verið lyft skal setja viðeigandi búkka undir eftirfarandi staði til að styðja sláttuvélina (Mynd 44):
Tjakkfesting aftan á sláttuvélinni
Pinnafestingar sláttubúnaðar á framhlið sláttuvélar

Aftengið aðalafltenglana áður en gert er við vinnuvélina.
Hlaðið rafhlöðuna á opnu og vel loftræstu svæði, fjarri neistum og opnum eldi. Takið hleðslutækið úr sambandi áður en rafhlaðan er tengd eða aftengd. Klæðist hlífðarfatnaði og notið einangruð verkfæri.
Aðalafltenglarnir leiða rafmagn frá rafhlöðunum til vinnuvélarinnar. Takið rafmagnið af með því að aftengja tenglana; setjið rafmagnið á með því að tengja tenglana saman. Frekari upplýsingar eru í Aðalafltenglar.
Öryggin í 60V rafkerfinu eru undir sætinu (Mynd 46).

Öryggið sem ver stjórnbúnað forhleðslu er í þar til gerðri festingu á rafknippi sláttuvélarinnar vinstra megin við rafhlöðuna fyrir miðju (að aftan) (Mynd 51).

Note: Sláttuvélin er búin 5 Li-ion rafhlöðum.
Fargið eða endurvinnið Li-ion rafhlöður í samræmi við staðbundnar reglur og landslög. Ef rafhlaða krefst þjónustu skal leita aðstoðar viðurkennds dreifingaraðila Toro.
Eini hluti rafhlöðunnar sem notandi getur sinnt viðhaldi á eru merkingarnar. Ábyrgðin fellur úr gildi ef reynt er að opna rafhlöðu. Ef vandamál kemur upp með rafhlöðu skal leita aðstoðar hjá viðurkenndum dreifingaraðila Toro.
Important: Rafmagnsviðgerðir skulu eingöngu framkvæmdar hjá viðurkenndum söluaðila Toro.
Hleðslutækið krefst lítils viðhalds annars en að verja það gegn skemmdum og veðri.
Hreinsið snúrur hleðslutækisins með rökum klút eftir hverja notkun.
Note: Hreinsið ekki einangrunarfeitina af skautunum.
Vindið snúrurnar upp þegar þær eru ekki í notkun.
Leitið reglulega eftir skemmdum á snúrunum og skiptið um þær þegar með þarf með varahlutum sem samþykktir eru af Toro.
| Tíðni viðhaldsþjónustu | Viðhaldsferli |
|---|---|
| Fyrir hverja notkun eða daglega |
|
Haldið þrýstingi á öllum þremur hjólbörðunum breytilegum með hliðsjón af ástandi grassvarðarins, á bilinu 0,83 (lágm.) til 1,10 abr (hám.).
Important: Gætið þess að þrýstingurinn sé eins á öllum hjólbörðum. Ef þrýstingurinn er ekki eins á öllum hjólbörðum getur það haft áhrif afköst sláttuvélarinnar.
| Tíðni viðhaldsþjónustu | Viðhaldsferli |
|---|---|
| Eftir fyrstu 8 klukkustundirnar |
|
| Á 200 klukkustunda fresti |
|
Ef felgurærnar eru ekki rétt hertar gæti það leitt til meiðsla á fólki.
Herðið felgurærnar að tilteknu hersluátaki með tilgreindu millibili.
Hersluátak fyrir felguró: 108 til 122 N∙m
Til að tryggja jafna álagsdreifingu skal herða felgurærnar með mynstrinu sem sýnt er á Mynd 55.

| Tíðni viðhaldsþjónustu | Viðhaldsferli |
|---|---|
| Eftir fyrstu 8 klukkustundirnar |
|
| Á 800 klukkustunda fresti |
|
Forskrift fyrir olíu: SAE 80W90
Rúmtak gírolíu: um það bil 384 ml
Lyftið sláttuvélinni; sjá Sláttuvélinni lyft.
Important: Sláttuvélin verður að vera lárétt til að hægt sé að bæta við réttu olíumagni á gírkassann.Tryggið að sláttuvélin sitji lárétt á búkkunum.
Framkvæmið eftirfarandi skref til að fjarlægja hjólbarðana hægra og vinstra megin:
Losið og fjarlægið felgurærnar (Mynd 56).

Takið vinstri og hægri hjólbarðana af.
Setjið afrennslispönnu undir samstæðu hjólamótorsins (Mynd 57).

Takið tappann úr botnopinu (Mynd 57).
Note: Botnopið er neðst á gírkassanum.
Note: Látið alla olíu renna úr gírkassanum.
Þrífið tappann.
Setjið botntappann aftur í botnopið (Mynd 57).
Fjarlægið loftunarslönguna og tengið ofan af gírkassanum (Mynd 58).

Fyllið á gírkassann með 384 ml af tilgreindri olíu í gegnum áfyllingaropið.
Setjið loftunarslönguna og tengið í áfyllingaropið (Mynd 58).
Framkvæmið eftirfarandi skref til að setja upp hjólbarðana:
Rennið hægri og vinstri hjólbörðunum upp á hjólnafirnar.
Setjið felgurærnar á (Mynd 56).
Herðið felgurærnar að tilgreindu hersluátaki sem gefið er upp í Hersluátak á felguróm athugað.
Ef hemlarnir ná ekki að halda sláttuvélinni kyrri þegar henni lagt er hægt að stilla hemlana. Hafið samband við viðurkenndan dreifingaraðila Toro eða skoðið þjónustuhandbókina til að fá frekari upplýsingar.
Slitinn eða skemmdur hnífur eða botnblað getur brotnað og brotið getur skotist í stjórnandann eða nærstadda og valdið alvarlegum meiðslum eða dauða.
Leitið reglulega eftir sliti eða skemmdum á hnífum og botnblöðum.
Sýnið aðgát við skoðun hnífanna. Notið hlífðarhanska og gætið varúðar við viðhald þeirra. Skiptið eingöngu um hnífa og botnblöð eða bakslípið þau; reynið aldrei að rétta þessa hluti eða sjóða í þá.
Gætið varúðar þegar sláttubúnaði er snúið á sláttuvélum með mörgum sláttubúnaðarhlutum, það getur valdið því að kefli á öðrum sláttubúnaði fari að snúast.
Note: Þegar sláttubúnaður er ekki tengdur við sláttuvélina skal geyma keflamótora sláttubúnaðarins á geymslustaðnum framan á fjaðraörmunum til að forðast skemmdir á þeim.
Important: Hækkið ekki fjaðraarminn í flutningsstöðu á meðan keflamótorarnir eru í festingunum á grind sláttuvélarinnar. Það gæti leitt til skemmda á mótorunum eða slöngum.
Important: Þegar velta þarf sláttubúnaðinum við skal setja stuðning við afturhluta sláttubúnaðarins til að tryggja að hægt sé að komast að róm stillibolta botnstangarinnar (Mynd 59).

Lækka verður fjaðraarmana til að setja upp sláttubúnaðinn. Framkvæmið eftirfarandi skref til að lækka fjaðraarmana:
Leggið sláttuvélinni á hreinu og sléttu undirlagi.
Stillið stjórnrofann á stöðuna NEUTRAL (hlutlaus staða).
Setjið lykilinn í svissinn og snúið honum á KVEIKTA stöðu.
Lækkið fjaðraarmana með stýripinnanum til að hækka/lækka.
Setjið stöðuhemilinn á, drepið á sláttuvélinni og takið lykilinn úr.
Framkvæmið eftirfarandi skref til að setja upp sláttubúnaðinn:
Aftengið aðalafltenglana; sjá Aðalafltenglar.
Ef rafmagnið er ekki tekið af sláttuvélinni gæti einhver sett sláttubúnaðinn í gang fyrir slysni og orðið fyrir alvarlegum meiðslum á höndum og fótum.
Aftengið alltaf aðalafltenglana áður en unnið er við sláttubúnaðinn.
Lyftið fóthvílunni upp og opnið hana til að komast að sláttubúnaðinum fyrir miðju (Mynd 60).
Gætið þess að klemma ekki fingur ef fóthvílan skyldi lokast.
Haldið fingrunum frá svæði fóthvílunnar á meðan hún er opin.

Komið sláttubúnaðinum fyrir undir fjaðraarminum fyrir miðju.
Opnið klinkurnar á stöng fjaðraarmsins (Mynd 61) og ýtið fjaðraarminum niður þannig að stöngin nái yfir báðar hallastangir sláttubúnaðarins og tryggið að klinkurnar fari undir þverslá sláttubúnaðarins (Mynd 62).


Lokið klinkunum með því að ýta þeim niður og utan um stöng sláttubúnaðarins og læsa þeim á sínum stað (Mynd 61).
Note: Smellur heyrist þegar klinkurnar læsast á sinn stað.
Þekið ríludrifskaftið á mótor sláttubúnaðarins með hreinni feiti (Mynd 63).
Setjið mótorinn inn vinstra megin í sláttubúnaðinn (séð frá sæti stjórnanda) og togið festistöng mótorsins á sláttubúnaðinum í átt að mótornum þar til smellur heyrist beggja megin við mótorinn (Mynd 63).

Setjið graskörfu upp á körfukrókunum á fjaðraarminum.
Endurtakið þetta fyrir hina hluta sláttubúnaðarins.
Tengið aðalafltenglana; sjá Aðalafltenglar.
Leggið sláttuvélinni á hreinu og sléttu undirlagi, stillið stjórnrofann á NEUTRAL (hlutlaus staða) og notið stýripinnann til að hækka/lækka til að lækka sláttubúnaðinn.
Setjið stöðuhemilinn á, drepið á sláttuvélinni og takið lykilinn úr.
Aftengið aðalafltenglana; sjá Aðalafltenglar.
Ef rafmagnið er ekki tekið af sláttuvélinni gæti einhver sett sláttubúnaðinn í gang fyrir slysni og orðið fyrir alvarlegum meiðslum á höndum og fótum.
Aftengið alltaf aðalafltenglana áður en unnið er við sláttubúnaðinn.
Ýtið festistöng mótorsins úr raufunum á mótornum í átt að sláttubúnaðinum og takið mótorinn af sláttubúnaðinum.

Flytjið mótorinn í geymsluna framan á fjaðraarminum (Mynd 65).

Note: Geymið keflamótora sláttubúnaðarins alltaf á geymslustaðnum framan á fjaðraörmunum við brýningu, stillingu sláttuhæðar og þegar önnur viðhaldsvinna fer fram á sláttubúnaðinum. Þetta er til að koma í veg fyrir skemmdir á þeim.
Important: Hækkið ekki fjaðraarminn í flutningsstöðu á meðan keflamótorarnir eru í festingunum á grind sláttuvélarinnar. Það gæti leitt til skemmda á mótorunum eða slöngum. Ef nauðsynlegt er að færa aksturseininguna án þess að vera með uppsettan sláttubúnað skal festa sláttubúnaðinn við fjaðraarmana með plastböndum.
Opnið klinkurnar á stöng fjaðraarmsins fyrir sláttubúnaðinn sem verið er að fjarlægja (Mynd 61).
Losið klinkurnar af stöng sláttubúnaðarins.
Rúllið sláttubúnaðinum út undan fjaðraarminum.
Endurtakið skref 4 til 8 fyrir hina hluta sláttubúnaðarins, eftir þörfum.
Tengið aðalafltenglana; sjá Aðalafltenglar.
| Tíðni viðhaldsþjónustu | Viðhaldsferli |
|---|---|
| Fyrir hverja notkun eða daglega |
|
Athugið bilið á milli keflis og botnblaðs daglega áður en sláttuvélin er notuð, jafnvel þótt gæði fyrri sláttar hafi verið ásættanleg. Lítilsháttar snerting verður að vera til staðar út alla lengdina milli keflis og botnblaðs; sjá notendahandbók sláttubúnaðarins.
Aftengið aðalafltenglana áður en keflin eru skoðuð; sjá Aðalafltenglar. Tengið þá aftur að skoðun lokinni.
Snerting við botnblöð, keflisblöð eða aðra hluta á hreyfingu getur valdið meiðslum.
Haldið fingrum, höndum og fatnaði fjarri botnblöðum, keflisblöðum og hreyfanlegum hlutum.
Reynið aldrei að snúa keflunum með höndum eða fótum á meðan sláttuvélin er í gangi.
Leggið sláttuvélinni á sléttu undirlagi, látið sláttubúnaðinn síga, færið stjórnrofann á NEUTRAL (hlutlaus staða), setjið stöðuhemilinn á, drepið á sláttuvélinni og takið lykilinn úr.
Grunnstillið bilið á milli keflis og botnblaðs þannig að það henti fyrir bakslípun á öllum sláttubúnaði sem á að bakslípa; sjá notendahandbók sláttubúnaðarins.
Setjið lykilinn í svissinn og gangsetjið sláttuvélina.
Farið í upplýsingaskjáinn, valmyndina SERVICE (þjónusta) og veljið BACKLAP (bakslípun).
Stillið BAKSLíPUN á ON (kveikt).
Opnið aðalvalmyndina og flettið niður að Settings (stillingar).
Í STILLINGAVALMYNDINNI skal fletta á BACKLAP RPM (snúningshraði bakslípunar) og nota hnappinn ± til að velja æskilegan hraða fyrir bakslípun.
Hafið stjórnrofann á NEUTRAL (hlutlaus staða) og færið stýripinnann til að hækka/lækka fram til að hefja bakslípun á tilgreindum keflum.
Berið bakslípunarlöginn á með bursta með löngu skafti. Notið aldrei bursta með stuttu skafti.
Ef keflin stöðvast eða hreyfast óreglulega við bakslípun skal velja hærri hraðastillingu fyrir keflin þar til hraðinn verður stöðugur.
Ef breyta á stillingum sláttubúnaðar meðan á bakslípun stendur skal slökkva á keflunum með því að færa stýripinnann til að hækka/lækka aftur og drepa svo á sláttuvélinni. Þegar stillingum hefur verið breytt skal endurtaka skref 3 til 9.
Endurtakið ferlið fyrir alla hluta sláttubúnaðar sem á að bakslípa.
Þegar því er lokið er farið aftur í upplýsingaskjáinn og stillingin BACKLAP (bakslípun) stillt aftur á OFF (slökkt) eða lyklinum snúið á SLöKKTA stöðu til að setja sláttuvélina aftur í akstursstöðu áfram.
Skolið allan bakslípunarvökva af sláttubúnaðinum. Stillið bilið á milli keflis og botnblaðs eftir þörfum. Færið stýringu keflahraða sláttubúnaðarins í æskilega stöðu fyrir slátt.
Important: Notið ekki háþrýstivatn til að þrífa sláttubúnaðinn. Legur og þétti geta skemmst.
Ef geyma á sláttuvélina í lengri tíma skal fylgja skrefunum sem lýst er í Undirbúningur sláttuvélar fyrir geymslu.
Látið sláttubúnaðinn síga, setjið stöðuhemilinn á, drepið á vélinni, takið lykilinn úr og bíðið þar til allir hlutar hafa stöðvast áður en farið er úr ökumannssætinu. Leyfið sláttuvélinni að kólna áður en hún er stillt, þjónustuð, þrifin eða sett í geymslu.
Ekki geyma sláttuvélina nærri eldi, neistaflugi eða kveikiloga, eins og á vatnshitara eða öðrum heimilistækjum.
Geymið sláttuvélina innandyra á þurrum stað, þar sem börn ná ekki til og þar sem sól skín ekki á hana.
Drepið ávallt á sláttuvélinni, takið lykilinn úr, bíðið eftir að allir hreyfanlegir hlutar hafi stöðvast og leyfið sláttuvélinni að kólna áður en hún er stillt, þrifin, gert er við hana eða hún sett í geymslu.
Fjarlægið uppsöfnuð óhreinindi og gras. Brýnið kefli og botnblöð, ef með þarf; frekari upplýsingar er að finna í notendahandbók sláttubúnaðarins. Berið ryðvörn á botnblöð og keflisblöð.
Lyftið sláttuvélinni og setjið búkka undir hana til að taka þyngdina af hjólbörðunum.
Fyrir geymslu í lengri tíma skal fylgja kröfum fyrir geymslu rafhlöðu; sjá Kröfur fyrir geymslu rafhlöðu.
Note: Ekki þarf að fjarlægja rafhlöðurnar úr sláttuvélinni fyrir geymslu.
Frekari upplýsingar um hitastigsmörk við geymslu er að finna í eftirfarandi töflu:
| Geymsluhitastig | Viðeigandi geymslutími |
| 45 ° til 55 °C (113 ° til 131 °F) | 1 vika |
| 25 ° til 45 °C (77 ° til 113 °F) | 3 vikur |
| -20 ° til 25 °C (-4 ° til 77 °F) | 52 vikur |
Important: Hiti utan þessara marka skemmir rafhlöðurnar.Hitastigið sem rafhlöðurnar eru geymdar við hefur áhrif á endingartíma þeirra. Geymsla í langan tíma við mjög háan hita styttir endingartíma rafhlöðunnar. Ef hitastigið er hærra en 25 °C (77 °F) skal aðeins geyma sláttuvélina í viðeigandi tíma samkvæmt töflunni.
Áður en sláttuvélin er sett í geymslu skal hlaða eða afhlaða rafhlöðurnar í 40 % til 60 % hleðslu (54,3 til 57,3 volt).
Note: 50% hleðsla er best til að tryggja hámarksendingu rafhlaða. Endingartími rafhlaðanna styttist ef þær eru hlaðnar í 100% hleðslu.Ef gert er ráð fyrir að sláttuvélin verði geymd í lengri tíma skal hlaða rafhlöðurnar í um 60% hleðslu.
Á sex mánaða fresti skal kanna hleðslustöðu rafhlaðanna og tryggja að hún sé á milli 40% og 60%. Ef hleðslan er undir 40% þarf að hlaða rafhlöðurnar í 40% til 60% hleðslu.
Hægt er að nota fjölmæli til að kanna hleðslustöðuna þegar dautt er á sláttuvélinni. Eftirfarandi tafla sýnir hvaða spenna samsvarar hvaða hleðslustöðu:
| Spenna | Hleðslustaða |
| 57,3V | 60% |
| 55,4V | 50% |
| 54,3V | 40% |
Takið hleðslutækið úr sambandi við rafmagn þegar hleðslu er lokið. Aftengið rafmagnstengilinn meðan á geymslu stendur til að lágmarka afhleðslu rafhlaðanna.
Ef hleðslutækið er haft á sláttuvélinni slekkur það á sér þegar rafhlöðurnar eru fullhlaðnar og ekki kviknar aftur á því fyrr en búið er að taka það úr sambandi og setja aftur í samband.
Takið rafmagnið af sláttuvélinni; sjá Afl tekið af og sett á vinnuvélina.
Takið rafmagnssnúru hleðslutækisins úr sambandi og gerið hana upp.
Leitið vandlega eftir sliti eða skemmdum á rafmagnssnúrunni. Skiptið um slitna eða skemmda snúru.
Leitið vandlega eftir slitnum, lausum eða skemmdum íhlutum á hleðslutækinu. Leitið til viðurkennds dreifingaraðila Toro vegna viðgerða eða skiptum á íhlutum.
Geymið hleðslutækið með rafmagnssnúrunni á hreinum, þurrum stað þar sem engin hætta er á að það fái högg eða skemmist eða liggi í ætandi gufum.