| Tíðni viðhaldsþjónustu | Viðhaldsferli |
|---|---|
| Fyrir hverja notkun eða daglega |
|
Þessi vinnubíll er aðallega ætlaður til notkunar utan vega við flutning fólks og efnis. Notkun þessarar vöru við annað en tilætlaða notkun getur skapað hættu fyrir stjórnanda og nærstadda.
Lesið þessar upplýsingar vandlega til að læra að stjórna og sinna réttu viðhaldi á vörunni og til að koma í veg fyrir meiðsl og skemmdir á vörunni. Eigandi ber ábyrgð á réttri og öruggri notkun vörunnar.
Á www.Toro.com er að finna kennsluefni tengt öryggi og notkun vörunnar, upplýsingar um aukabúnað, upplýsingar um söluaðila og vöruskráningu.
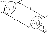
Þegar þörf er á þjónustu, varahlutum frá Toro eða frekari upplýsingum skal hafa samband við viðurkenndan þjónustu- og dreifingaraðila eða þjónustuver Toro og hafa tegundar- og raðnúmer vörunnar við höndina. Mynd 1 sýnir hvar tegundar- og raðnúmerin eru á vörunni. Skrifið númerin í kassann hér á síðunni.
Important: Hægt er nálgast upplýsingar um ábyrgð, varahluti og aðrar vöruupplýsingar með því að skanna QR-kóðann á raðnúmersmerkingunni (ef hann er til staðar) með fartæki.

Þessi handbók notar 2 orð til að auðkenna upplýsingar. Mikilvægt“ vekur athygli á sérstökum vélrænum upplýsingum og Athugið“ undirstrikar almennar upplýsingar sem vert er að lesa vandlega.
Öryggistáknið (Mynd 2) kemur bæði fyrir í þessari handbók og á vinnubílnum og er ætlað að auðkenna mikilvægar öryggisupplýsingar sem taka þarf mið af til að forðast slys. Þetta tákn birtist ásamt orðinu Hætta, Viðvörun eða Varúð.
Hætta gefur til kynna yfirvofandi hættulegar aðstæður sem valda dauða eða alvarlegum meiðslum ef ekki er komið í veg fyrir þær.
Viðvörun gefur til kynna hugsanlega hættu sem gæti valdið dauða eða alvarlegum meiðslum ef ekki er komið í veg fyrir hana.
Varúð gefur til kynna hugsanlega hættu sem getur valdið minni háttar eða alvarlegri meiðslum ef ekki er komið í veg fyrir hana.

Þessi vara uppfyllir allar viðeigandi evrópskar reglugerðir; frekari upplýsingar er að finna á aðskildu samræmisyfirlýsingarskjali vörunnar.
Notkun vélarinnar á skógivaxið, runnavaxið eða grasivaxið landsvæði telst brjóta í bága við almenningsauðlindalöggjöf Kaliforníu, hluta 4442 eða 4443, nema vélin sé búin neistavara, samkvæmt skilgreiningu í hluta 4442, henni sé haldið í góðu vinnuástandi eða hún hefur verið byggð, útbúin og viðhaldið þannig að komið sé í veg fyrir eldsvoða.
Meðfylgjandi notendahandbók vélarinnar inniheldur upplýsingar um Umhverfisverndarstofnun Bandaríkjanna (EPA) og útblástursreglugerð Kaliforníu fyrir útblásturskerfi, viðhald þeirra og ábyrgð. Hægt er að panta varahluti hjá framleiðanda vélarinnar.
KALIFORNÍA
Viðvörun, tillaga 65
Kaliforníufylki er kunnugt um að útblástur frá dísilvélum og sumir hlutar þeirra geta valdið krabbameini, fæðingargöllum og öðrum æxlunarskaða.
Rafgeymaskaut og tengihlutir innihalda blý og blýsambönd, efni sem Kaliforníuríki er kunnugt um að geti valdið krabbameini og æxlunarskaða. Þvoið hendur eftir meðhöndlun.
Þessi vinnubíll er hannaður í samræmi við kröfur SAE J2258 (nóv. 2016).
Þessi vara getur valdið meiðslum á fólki. Fylgið alltaf öryggisleiðbeiningum til að koma í veg fyrir meiðsl á fólki.
Lesið til hlítar efni þessarar notendahandbókar áður en vinnubíllinn er tekinn í notkun. Gangið úr skugga um að allir sem nota vinnubílinn kunni að nota hann og skilji viðvaranirnar.
Sýnið árvekni á meðan unnið er á vinnubílnum. Ekki gera neitt sem veldur truflun; slíkt kann að leiða meiðsla eða eignatjóns.
Ekki setja hendur eða fætur nærri íhlutum á hreyfingu.
Ekki nota vinnubílinn án hlífa og annars öryggisbúnaðar á sínum stað á vinnubílnum og í nothæfu ástandi.
Haldið nærstöddum og börnum utan vinnusvæðisins. Aldrei skal leyfa börnum að vinna á vinnubílnum.
Stöðvið vinnubílinn, drepið á honum og fjarlægið lykilinn áður en viðhaldi er sinnt eða fyllt er á eldsneyti.
Röng notkun eða viðhald þessarar vinnuvélar
getur leitt til meiðsla. Til að draga úr slysahættu
skal fara eftir þessum öryggisleiðbeiningum og vera
ávallt vakandi fyrir öryggistákninu
, sem merkir Aðgát“, Viðvörun“
eða Hætta“ – öryggisleiðbeiningar.
Ef ekki er farið eftir þessum leiðbeiningum er hætta
á meiðslum á fólki eða dauða.
![]() |
Öryggismerkingar og leiðbeiningar sjást greinilega og eru hjá öllum svæðum þar sem möguleg hætta er til staðar. Skiptið um skemmdar eða týndar merkingar. |










Note: Miðið vinstri og hægri hlið vinnubílsins út frá hefðbundinni vinnustöðu.
Hlutar sem þarf fyrir þetta verk:
| Stýri | 1 |
| Lok | 1 |
| Skinna (½ to.) | 1 |
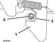
Ef hlíf hefur verið sett upp skal fjarlægja hana af nöf stýrisins (Mynd 3).
Fjarlægið lásróna (½ to.) af stýrisskaftinu (Mynd 3).
Rennið stýrinu og skinnunni (½ to.) upp á stýrisskaftið (Mynd 3).
Festið stýrið á skaftið með lásrónni (1/2 to.) og herðið hana í 27 til 34 N·m.
Setjið hlífina á stýrið (Mynd 3).

Rangt lagðir rafgeymiskaplar geta valdið skemmdum á vinnuvélinni og köplunum sem leitt geta til neistaflugs. Neistar geta kveikt í gasi frá rafgeyminum og valdið sprengingu og meiðslum á fólki.
Aftengið ávallt (svarta) mínuskapal rafgeymisins áður en (rauði) plúskapallinn er aftengdur.
Tengið ávallt (rauða) plúskapal rafgeymisins fyrst.
Kreistið rafgeymishlífina saman til að losa um flipana á undirstöðu rafgeymisins (Mynd 4).

Fjarlægið hlíf rafgeymisins af undirstöðu hans (Mynd 4).
Tengið (rauða) plúskapalinn við plússkaut (+) rafgeymisins og festið kapalinn með boltum og róm (Mynd 5).

Setjið einangrunarhettuna yfir plússkautið.
Note: Einangrunarhettan kemur í veg fyrir mögulegt jarðhlaup.
Tengið (svarta) mínuskapal rafgeymisins við mínusskaut (–) rafgeymisins og festið kapalinn með boltum og róm.
Komið rafgeymishlífinni á undirstöðu rafgeymisins (Mynd 4).
Kreistið rafgeymishlífina, komið flipunum fyrir á undirstöðu rafgeymisins og sleppið rafgeymishlífinni (Mynd 4).
Kannið stöðu smurolíu áður en og eftir að vélin er gangsett í fyrsta skipti, sjá Smurolíuhæð könnuð.
Kannið stöðu hemlavökva áður en vélin er gangsett í fyrsta skipti; sjá Athugun á hæð hemlavökvans.
Kannið vökvastöðu sambyggðs gírkassa og drifs-áður en vélin er gangsett í fyrsta skipti; sjá Athugun á hæð vökva í sambyggðum gírkassa og drifi.
Kannið loftþrýsting í hjólbörðum; sjá Þrýstingur hjólbarða kannaður.
Slípið (keyrið til) hemlana fyrir notkun til að tryggja hámarksvirkni hemlakerfisins.
Akið vinnubílnum eins hratt og hægt er og hemlið svo hratt án þess að læsa hemlunum.
Endurtakið þetta tíu sinnum, með einnar mínútu hléum, til að koma í veg fyrir að hemlarnir ofhitni.
Important: Þetta ferli skilar bestum árangri ef vinnubíllinn ber 227 kg farm.
Hlutar sem þarf fyrir þetta verk:
| Notendahandbók | 1 |
| Notendahandbók vélar | 1 |
| Skráningarskírteini | 1 |
| Fylgiskjal vegna skoðunar fyrir afhendingu | 1 |
| Gæðavottorð | 1 |
| Hnappur | 2 |
Lesið notendahandbókina og eigendahandbók vélarinnar.
Fyllið út skráningarskírteinið.
Ljúkið við fylgiskjal vegna skoðunar fyrir afhendingu.
Farið yfir gæðavottorðið.

Lærið á stjórntækin áður en vélin er gangsett og unnið er á vinnubílnum.

Notið inngjafarfótstigið (Mynd 7) til að stjórna aksturshraða vinnubílsins. Vélin er ræst með því að ýta inngjafarfótstiginu niður. Aksturshraði er aukinn með því að ýta fótstiginu lengra niður. Hægt er á vinnubílnum og því næst drepið á honum með því að sleppa fótstiginu.
Note: Hámarkshraði áfram er 26 km/klst.
Notið hemlafótstigið til að stöðva eða hægja á vinnubílnum (Mynd 7).
Hætta er á að meiðslum á fólki ef unnið er á vinnubílnum með slitna eða rangt stillta hemla.
Ef hægt er að stíga hemlafótstigið neðar en 25 mm frá gólfi vinnubílsins þarf að stilla eða gera við hemlana.
Stöðuhemilsstöngin er á milli sætanna (Mynd 6 og Mynd 7). Setjið alltaf stöðuhemilinn á þegar drepið er á vélinni til að koma í veg fyrir að vinnubíllinn hreyfist úr stað fyrir slysni. Togið stöðuhemilsstöngina aftur til að setja stöðuhemilinn á. Ýtið stöðuhemilsstönginni niður til að taka stöðuhemilinn af.
Gírstöngin er á milli sætanna og fyrir neðan stöðuhemilsstöngina. Gírstöngin hefur þrjár stöður: FRAMGíR, BAKKGíR og HLUTLAUSAN GíR (Mynd 6).
Note: Hægt er að ræsa vélina og láta hana í hvaða stöðu sem er af þessum þremur.
Important: Ævinlega skal láta vinnubílinn nema staðar áður en skipt er um gír.
Flautuhnappurinn er neðst í vinstra horni mælaborðsins (Mynd 8). Ýtið á flautuhnappinn til að flauta.

Notið ljósarofann (Mynd 8) til að kveikja á aðalljósunum. Ýtið ljósarofanum upp til að kveikja á aðalljósunum. Ýtið ljósarofanum niður til að slökkva á aðalljósunum.
Vinnustundamælirinn sýnir heildarfjölda vinnustunda. Vinnustundamælirinn (Mynd 8) byrjar að telja í hvert sinn sem svissinum er snúið á GANGSTöðU eða þegar vélin er í gangi.
Rafgeymisljósið (Mynd 8) kviknar í nokkrar sekúndur þegar vélin er ræst og slokknar þegar vélin er í gangi. Ef ljósið logar áfram á meðan vélin er í gangi er rafgeymirinn, rafallinn eða rafkerfið skemmt.
Smurolíuþrýstingsljósið (Mynd 8) lætur vita ef smurolíuþrýstingurinn fer undir örugg mörk fyrir notkun vélarinnar. Ef það kviknar á ljósinu og það logar stöðugt skal drepa á vélinni og athuga smurolíuhæðina. Setjið olíu á vélina ef þörf krefur; sjá Smurolíuvinna.
Note: Olíuljósið kann að flökta; þetta er eðlilegt og ekki er þörf á neinum aðgerðum.
Viðvörunarljós fyrir hitastig kælivökva vélarinnar (Mynd 8) varar við því að kælivökvi vélarinnar sé orðinn of heitur til að halda áfram notkun hennar (vélin er að ofhitna). Drepið á vélinni og bíðið þar til vélin hefur kólnað. Athugið stöðu kælivökva og reimarnar fyrir viftu og vatnsdælu. Fyllið á kælivökvageyminn eftir þörfum og skiptið um slitnar, skemmdar eða lausar reimar.
Important: Ef vélin heldur áfram að ofhitna skaltu hafa samband við viðurkenndan þjónustuaðila til að fá bilanagreiningu og viðgerð.
Kertaljósið (Mynd 8) lýsir rautt þegar kertin eru virk.
Important: Kertaljósið kviknar í 15 sekúndur í viðbót þegar svissinum er snúið aftur á GANGSETNINGARSTöðU.
Notið svissinn (Mynd 8) til að gangsetja og drepa á vélinni.
Svissinn býður upp á þrjár stöður: DREPA á, GANGUR og GANGSETJA. Til að virkja glóðarkertin skal snúa lyklinum réttsælis í stöðuna ON. Þegar gaumljós glóðarkertanna slokknar skal snúa lyklinum réttsælis í stöðuna START. Þegar vélin fer í gang skal snúa lyklinum rangsælis í stöðuna RUN.
Drepið er á vélinni með því að snúa lyklinum rangsælis á stöðu til að STöðVA.
Notið innstunguna (Mynd 8) fyrir 12 volta rafmagnsaukabúnað.
Eldsneytismælirinn (Mynd 9) er á eldsneytisgeyminum næst áfyllingarlokinu á vinstri hlið vinnubílsins. Mælirinn sýnir magn eldsneytis í geyminum.

Handföng fyrir farþega eru hægra megin við mælaborðið og utan á báðum sætunum (Mynd 10).

Note: Tæknilýsingar og hönnun geta breyst án fyrirvara.
| Grunnþyngd | Þurrþyngd 590 kg (1.300 lb) |
| Uppgefin afkastageta (á sléttu undirlagi) | Samtals 749 kg, þ. á .m. 90,7 kg stjórnandi, hleðsla, þyngd eftirvagns á krók, brúttóþyngd eftirvagns, aukabúnaður og tengitæki |
| Hámarksheildarþyngd ökutækisins (GVW) – á sléttu undirlagi | Samtals 1341 kg (2.950 lb) þar á meðal allar þyngdir sem taldar eru upp hér að ofan |
| Hámarks burðargeta fyrir farm (á sléttu undirlagi) | Samtals 567 kg, þar á meðal þyngd eftirvagns á krók og brúttóþyngd eftirvagns |
| Dráttargeta: | |
| Staðlaður tengibúnaður | Þyngd á krók: 45 kg |
| Brúttóþyngd eftirvagns (GTW): 363 kg | |
| Álagsþolinn tengibúnaður | Þyngd á krók: 45 kg |
| Brúttóþyngd eftirvagns (GTW): 544 kg | |
| Heildarbreidd | 150 cm |
| Heildarlengd | 299 cm (117-¾ tommur) |
| Fríbil frá jörðu | 25 cm að framan án hleðslu eða stjórnanda, 18 cm að aftan án hleðslu eða stjórnanda |
| Hjólhaf | 206 cm |
| Sporvídd (miðlína að miðlínu) | 125 cm að framan, 120 cm að aftan |
| Lengd palls | 117 cm innan, 133 cm utan |
| Breidd palls | 125 cm að innanverðu, 150 cm á formmótuðu stuðurunum að utanverðu |
| Hæð palls | 25 cm að innan |
| Hámarkshraði | 26 km/klst. (16 mph) |
| Snúningshraði vélar (ekki stillanlegur) | Hægur lausagangur: 1.200 til 1.300 sn./mín. |
| Hraður lausagangur: 3.420 til 3.520 sn./mín. |
Úrval tengitækja og aukabúnaðar sem Toro samþykkir er í boði fyrir vinnubílinn til að auka við afkastagetu hennar. Hafið samband við viðurkenndan þjónustu- og söluaðila eða dreifingaraðila Toro eða farið á www.Toro.com þar sem finna má lista yfir öll samþykkt tengitæki og aukabúnað.
Notið eingöngu varahluti og aukabúnað frá Toro til að tryggja hámarksafköst og áframhaldandi öryggisvottun vinnubílsins. Varahlutir og aukabúnaður frá öðrum framleiðendum geta reynst hættulegir og notkun þeirra kann að fella ábyrgðina úr gildi.
Note: Miðið vinstri og hægri hlið vinnubílsins út frá hefðbundinni vinnustöðu.
Aldrei leyfa börnum eða fólki, sem ekki hefur til þess þjálfun eða líkamlega getu, að vinna á eða við vinnubílinn. Gildandi reglur á hverjum stað kunna að setja takmörk við aldur stjórnanda. Eigandinn ber ábyrgð á að þjálfa stjórnendur og vélvirkja.
Kynnið ykkur örugga notkun búnaðarins, stjórntækjanna og öryggismerkinganna.
Drepið á vinnubílnum, takið lykilinn úr og bíðið þar til allir hlutar hafa stöðvast áður en farið er úr ökumannssætinu. Leyfið vinnubílnum að kólna áður en hann er stilltur, þjónustaður, þrifinn eða settur í geymslu.
Lærið að stöðva vinnubílinn og drepa á honum á skjótan máta.
Tryggið að farþegar (stjórnandi og farþegi) séu ekki fleiri en handföngin á vinnubílnum.
Gangið úr skugga um að allur öryggisbúnaður og merkingar séu á sínum stað. Gerið við eða skiptið um öryggisbúnað og setjið nýjar merkingar í stað þeirra sem eru ólæsilegar eða vantar. Ekki nota vinnubílinn ef þessir hlutir eru ekki til staðar eða virka ekki rétt.
Gætið ýtrustu varúðar við meðhöndlun eldsneytis. Það er mjög eldfimt og eldsneytisgufur eru sprengifimar.
Drepið í sígarettum, vindlum, pípum og öðrum kveikjuvöldum.
Notið eingöngu samþykkt eldsneytisílát.
Ekki fjarlægja eldsneytislokið eða fylla á eldsneytisgeyminn með vélina í gangi eða á meðan hún er heit.
Fyllið hvorki á né tappið af eldsneyti í lokuðu rými.
Geymið ekki vinnubílinn eða eldsneytisílát nærri óvörðum loga, neistaflugi eða kveikiloga, á borð við vatnshitara eða önnur heimilistæki.
Ef eldsneyti hellist niður skal ekki reyna að gangsetja vélina og forðast að kveikja minnsta neista þar til eldsneytisgufurnar hafa dreifst.
| Tíðni viðhaldsþjónustu | Viðhaldsferli |
|---|---|
| Fyrir hverja notkun eða daglega |
|
Fara skal í gegnum ferli fyrir hverja notkun/daglegt ferli sem lýst er í áður en unnið er á vinnubílnum í upphafi hvers dags.
| Tíðni viðhaldsþjónustu | Viðhaldsferli |
|---|---|
| Fyrir hverja notkun eða daglega |
|
Tilgreindur loftþrýstingur í hjólbörðum: 55 til 103 kPa
Important: Farið ekki yfir hámarksþrýstinginn sem tilgreindur er á annarri hlið hjólbarðans.
Note: Áskilinn loftþrýstingur í hjólbörðum ræðst af farmþunganum sem bílnum er ætlað að bera.
Kannið loftþrýsting í hjólbörðum.
Note: Loftþrýstingur í fram- og afturhjólbörðum á að vera 55 til 103 kPa.
Notið lægri loftþrýsting í hjólbörðum þegar farmþungi er minni, til að minka þjöppun jarðvegar, gera aksturinn jafnari og lágmarka hjólfaramyndun.
Notið hærri loftþrýsting í hjólbörðum þegar ekið er með meiri farmþunga á meiri hraða.
Stillið loftþrýsting í hjólbörðunum, ef þörf krefur, með því að bæta við eða tappa af lofti í hjólbörðunum.

Vélin gengur fyrir hreinu og fersku dísileldsneyti með að minnsta kosti 40 setantölu. Kaupið aðeins það magn af eldsneyti sem þið notið innan 30 daga til að tryggja ferskleika þess.
Notið dísileldsneyti til sumarnotkunar (nr. 2-D) við hærra hitastig en -7°C (20°F) og eldsneyti til vetrarnotkunar (nr. 1-D eða nr. 1-D/2-D blöndu) við lægra hitastig en -7°C (20°F). Notkun á vetrardísilolíu við lægra hitastig tryggir lægra blossamark og storknunarmark, sem auðveldar ræsingu og dregur úr líkum á efnaskilnaði eldsneytisins vegna lægri hita.
Notkun á dísileldsneyti til sumarnotkunar við hærra hitastig en -7°C (20°F) stuðlar að lengri endingu íhluta eldsneytisdælunnar.
Important: Notið aldrei steinolíu eða bensín í stað dísileldsneytis. Hætta er á að vélin skemmist ef þessum tilmælum er ekki fylgt.
Rúmtak eldsneytistanks: 26,5 l (7 bandarísk gallon)
Hreinsið svæðið í kringum eldsneytislokið.
Skrúfið eldsneytislokið af (Mynd 12).

Fyllið tankinn þannig að um 25 mm (1 tomma) séu eftir upp að botni áfyllingarstútsins og setjið lokið á.
Note: Ekki yfirfylla eldsneytistankinn.
Festið eldsneytislokið tryggilega á.
Þurrkið upp eldsneyti sem hellist niður.
| Tíðni viðhaldsþjónustu | Viðhaldsferli |
|---|---|
| Eftir fyrstu 100 klukkustundirnar |
|
Framkvæmið eftirfarandi til að tryggja rétt afköst vinnubílsins.
Tryggið að hemlarnir séu slípaðir; sjá Hemlar slípaðir.
Kannið glussa- og smurolíuhæð með reglulegu millibili. Verið vakandi fyrir merkjum um að vinnubíllinn eða íhlutir hans séu að ofhitna.
Eftir að köld vél er gangsett skal gefa henni um 15 sekúndur til að hitna áður en byrjað er að vinna á vinnubílnum.
Note: Gefið vélinni lengri tíma til að hitna þegar kalt er í veðri.
Akið vinnubílnum á breytilegum hraða við notkun. Forðist að taka hratt af stað og stöðva snögglega.
Ekki þarf að nota tilkeyrsluolíu á vinnubílinn. Upprunaleg smurolía er sömu gerðar og tilgreind er fyrir regluleg olíuskipti.
Upplýsingar um sérstakar, tíðar skoðanir eru í .
Kannið staðsetningu fjöðruna að framan og leiðréttið hana ef þörf krefur. Sjá nánar í Stilling framhjóla.
Eigandinn/stjórnandinn getur komið í veg fyrir og ber ábyrgð á slysum sem geta valdið meiðslum á fólki eða eignatjóni.
Farþegar mega eingöngu sitja í þar til ætluðu sæti. Flytjið ekki farþega á pallinum. Haldið nærstöddum og börnum utan vinnusvæðisins.
Klæðist viðeigandi klæðnaði, þar á meðal hlífðargleraugum, síðbuxum, sterkum skófatnaði með skrikvörn og heyrnarhlífum. Takið sítt hár í tagl og ekki klæðast víðum fatnaði eða hangandi skartgripum.
Sýnið árvekni á meðan unnið er á vinnubílnum. Ekki gera neitt sem veldur truflun; slíkt kann að leiða meiðsla eða eignatjóns.
Notið ekki vinnubílinn veik, þreytt eða undir áhrifum áfengis eða annarra vímuefna.
Notið vinnubílinn eingöngu utandyra eða á vel loftræstu svæði.
Ekki fara yfir hámarksheildarþyngd (GVW) vinnubílsins.
Sýnið sérstaka aðgát við að hemla eða beygja með þungan farm á pallinum.
Mjög fyrirferðarmikill farmur á pallinum dregur úr stöðugleika vinnubílsins. Ekki fara umfram burðargetu pallsins.
Akstur með efni sem ekki er hægt binda niður hefur neikvæð áhrif á stýringu, hemla og stöðugleika vinnubílsins. Sýnið aðgát við stýringu og hemlun þegar ekið er með efni sem ekki er hægt að binda niður.
Akið með léttari farm og á minni hraða þegar ekið er yfir gróft og ójafnt undirlag og nærri köntum, holum og öðrum miklum breytingum á undirlagi. Farmur getur hreyfst til og valdið því að vinnubíllinn verður óstöðugur.
Áður en vinnubíllinn er gangsettur þarf að tryggja að gírskiptingin sé í hlutlausum gír, stöðuhemillinn sé á og að stjórnandinn sitji í sætinu.
Stjórnandi og farþegar skulu sitja í sæti sínu þegar vinnubíllinn er á ferð. Haldið höndum á stýri; farþegar skulu nota þar til gerð handföng. Haldið handleggjum og fótleggjum öllum stundum innan bíls.
Vinnið eingöngu á vinnubílnum með góða yfirsýn. Verið vakandi fyrir holum, skorningum, ójöfnum, grjóti eða öðrum huldum hlutum. Óslétt undirlag getur valdið því að vinnubíllinn velti. Hátt gras getur hulið hindranir. Sýnið aðgát þegar komið er að blindhornum, runnum, trjám eða öðrum hlutum sem kunna að takmarka útsýnið.
Ekki aka vinnubílnum nálægt háum bökkum, skurðum og vegköntum. Vinnubíllinn getur oltið mjög skyndilega ef hjól fer fram af brúninni eða bakkinn gefur eftir.
Verið alltaf vakandi fyrir og forðist hindranir fyrir ofan bílinn, svo sem trjágreinar, dyrastafi, göngubrýr o.s.frv.
Lítið aftur fyrir og niður áður en bakkað er til að tryggja að leiðin sé greið.
Þegar vinnubílnum er ekið á vegum skal fylgja umferðarreglum og nota allan viðbótarbúnað sem lög kunna að krefjast, svo sem ljós, stefnuljós, merki um hægfara ökutæki (SMV) og annað sem krafist ef.
Ef vinnubíllinn titrar óeðlilega mikið skal stöðva vinnubílinn og drepa á honum tafarlaust. Bíðið þar til hlutir á hreyfingu hafa stöðvast og leitið eftir skemmdum. Gerið við skemmdir áður en vinna hefst.
Stöðvunartími vinnubílsins kann að vera lengri á blautu undirlagi en á þurru undirlagi. Hægt er að þurrka blauta hemla með því að aka hægt á jafnsléttu um leið og stigið er létt á hemlafótstigið.
Við nauðhemlun á miklum hraða er hætta á að afturdekkin læsist. Slíkt skerðir stjórn á vinnubílnum.
Ekki snerta vélina, gírskiptinguna, hljóðkútinn eða útblástursgreinina á meðan vélin er í gangi eða stuttu eftir að drepið er á vélinni þar sem hitastig þessara svæða getur valdið brunasárum.
Ekki skilja vinnubílinn eftir í gangi.
Áður en svæði stjórnanda er yfirgefið skal gera eftirfarandi:
Leggið vinnubílnum á jafnsléttu.
Setjið gírskiptinguna í HLUTLAUSAN GíR.
Setjið stöðuhemilinn á.
Drepið á vinnubílnum og takið lykilinn úr.
Bíðið þar til hlutir á hreyfingu hafa stöðvast.
Ekki nota vinnuvélina þegar hætta er á eldingum.
Notið eingöngu aukabúnað og tengitæki sem samþykktur er af Toro® Company.
Note: Veltigrind með tveimur stoðum er í boði sem aukabúnaður fyrir þennan vinnubíl. Notið veltigrind ef vinna á nærri þverhnípi, vatni, á ósléttri jörð eða í brekku, þar sem hætta er á veltu. Hafið samband við viðurkenndan dreifingaraðila Toro til að fá frekari upplýsingar.
Brekkur valda mikilli hættu á stjórnmissi eða veltu sem leitt getur til alvarlegra meiðsla eða dauða.
Skoðið vinnusvæðið til að ákvarða í hvaða brekkum er hægt að vinna á vinnubílnum og skipuleggið verklag og reglur fyrir vinnu í þeim brekkum. Beitið almennu hyggjuviti og sýnið góða dómgreind við þessa skoðun.
Ef stjórnanda finnst óþægilegt að vinna á vinnubílnum í halla skal viðkomandi sleppa því.
Tryggið að allar hreyfingar í halla séu hægar og jafnar. Breytið hvorki hraða né stefnu vinnubílsins skyndilega.
Forðist að aka vinnubílnum á blautu undirlagi. Hjólbarðar kunna að missa grip. Velta getur átt sér stað áður en hjólbarðar missa grip.
Akið beint upp og niður halla.
Ef vinnubíllinn byrjar að missa hraða á leið upp halla skal stíga hægt á hemlana og bakka svo rólega beint niður hallann.
Hættulegt getur verið að beygja þegar ekið er upp eða niður halla. Ef nauðsynlegt reynist að beygja í halla þarf að gera það rólega og sýna mikla aðgát.
Þungur farmur getur haft áhrif á stöðugleika í halla. Akið með léttari farm og hægar þegar ekið er í halla eða þegar þungamiðja farmsins er há. Festið farminn á pallinn til að koma í veg fyrir að hann hreyfist til. Sýnið sérstaka aðgát við flutning farms sem hreyfist auðveldlega til (t.d. vökva, grjót, sand o.s.frv).
Forðist að taka af stað, stöðva eða beygja í halla, sérstaklega með farm. Lengri tíma tekur að stöðva vinnubílinn þegar ekið er niður halla en þegar stöðvað er á jafnsléttu. Ef stöðva þarf vinnubílinn skal forðast skyndilegar hraðabreytingar. Þær geta valdið hættu á veltu. Ekki hemla skyndilega þegar vinnubíllinn rennur aftur á bak þar sem það veldur hættu á að hann velti aftur fyrir sig.
Ekki skal fara yfir hámarksheildarþyngd (GVW) vinnubílsins þegar farmur er á pallinum og/eða verið er að draga eftirvagn; sjá Tæknilýsing.
Dreifið farmi jafnt um pallinn til að auka stöðugleika og stjórn vinnubílsins.
Áður en losað er skal ganga úr skugga um að enginn sé fyrir aftan vinnubílinn.
Ekki losa farm af palli á meðan vinnubíllinn stendur þversum í halla. Breytingar á þyngdardreifingu geta skapað hættu á veltu.
Pallur í hæstu stöðu getur dottið niður og valdið meiðslum á fólki sem vinnur undir honum.
Notið ávallt stífu til að halda pallinum uppi þegar unnið er undir honum.
Fjarlægið allt efni af pallinum áður en honum er lyft.
Hætta er á veltu ef ekið er með pallinn uppi. Hætta er á að pallurinn skemmist ef ekið er með hann uppi.
Akið vinnubílnum með pallinn niðri.
Látið pallinn síga eftir að hann hefur verið tæmdur.
Ef farmur er aftarlega á pallinum þegar klinkurnar eru losaðar er hætta á að pallurinn sturti óvænt og valdi meiðslum á nærstöddum.
Reynið að hafa farm á miðjum pallinum, ef því er við komið.
Haldið pallinum niðri og tryggið að enginn halli sér yfir pallinn eða standi fyrir aftan hann þegar klinkurnar eru losaðar.
Fjarlægið allan farm af pallinum áður en honum er lyft vegna viðhaldsvinnu.
Pallurinn getur verið þungur. Hendur og aðrir líkamshlutar geta kramist.
Haldið höndum og öðrum líkamshlutum í öruggri fjarlægð þegar pallurinn er látinn síga niður.
Ef verið var að afferma laust efni, svo sem sand, hleðslusteina eða viðarkurl, af palli vinnubílsins er hugsanlegt að eitthvað af því efni hafi safnast fyrir á svæðinu í kringum lamir afturhlerans. Áður en afturhleranum er lokað skal gera eftirfarandi.
Notið hendurnar til að fjarlægja sem allra mest af lausu efni af svæðinu í kringum lamirnar.
Snúið afturhleranum í um það bil 45° horn (Mynd 16).

Snúið afturhleranum fram og til baka nokkrum sinnum með stuttum hristihreyfingum (Mynd 16).
Note: Við það losnar efnið sem kann að hafa safnast fyrir á svæðinu í kringum lamirnar.
Látið afturhlerann síga og kannið hvort eitthvað laust efni er enn á svæðinu í kringum lamirnar.
Endurtakið skref 1 til og með 4 þar til allt efni hefur verið fjarlægt af svæðinu í kringum lamirnar.
Snúið afturhleranum upp og fram á við þar til láskragar afturhlerans flútta við vasa afturhlerans á pallinum (Mynd 15).
Note: Lyftið eða látið afturhlerann síga til að láskragarnir passi í lóðréttar raufarnar á milli kraga afturhlerans og pallsins.
Látið afturhlerann síga þar til hann fellur við afturhluta pallsins (Mynd 15).
Note: Láskragar afturhlerans eru kyrfilega festir við kraga afturhlerans á pallinum.
Important: Ekki reyna að ýta eða draga vélina í gang.
Setjist í ökumannssætið, stingið lyklinum í svissinn, stígið á bremsuna og snúið lyklinum réttsælis í ON-stöðu.
Note: Ef bakkgírsviðvörunin er uppsett og gírstöngin er í BAKKGíR heyrist hljóðmerki til að vara stjórnandann við.
Þegar gaumljós glóðarkertanna slokknar skal snúa lyklinum réttsælis í stöðuna START.
Þegar vélin fer í gang skal snúa lyklinum rangsælis í stöðuna RUN.
Takið stöðuhemilinn af.
Important: Þegar vinnubíllinn er stöðvaður í halla skal nota aksturshemlana til að stöðva vinnubílinn og setja svo stöðuhemilinn á til að halda vinnubílnum kyrrum. Ef inngjöfin er notuð til að stöðva vinnubílinn í brekku getur það skemmt bílinn.
Takið fótinn af inngjafarfótstiginu.
Stígið hemlafótstigið hægt niður til að setja aksturshemilinn á þar til vinnubíllinn hefur stöðvast alveg.
Note: Hemlunarfjarlægðin getur verið mislöng, allt eftir farmþunga og hraða.
Leggið vinnubílnum á jafnsléttu.
Setjið stöðuhemilinn á.
Snúið svisslyklinum í SLöKKTA stöðu og takið lykilinn úr.
Fylgið eftirfarandi leiðbeiningum við fermingu palls og notkun vinnubílsins:
Takið mið af burðargetu vinnubílsins og takmarkið þyngd farms á pallinum í samræmi við það sem tilgreint er á Tæknilýsing og á merkimiða fyrir heildarþyngd vinnubílsins.
Note: Tilgreind hámarksþyngd farms á aðeins við fyrir notkun á sléttu yfirborði.
Þegar vinnubíllinn er notaður á hæðóttu og ósléttu yfirborði þarf að minnka farmþyngdina á pallinum.
Þegar vinnubíllinn er notaður til að ferja háreist efni (með hárri þyngdarmiðju), svo sem múrsteinsstafla, palla- og girðingaefni eða áburðarpoka, þarf að minnka farmþyngdina á pallinum. Dreifið úr farminum til að lækka hann sem mest og gætið þess að farmurinn skerði ekki útsýnið aftur fyrir vinnubílinn við notkun.
Miðjustillið farminn á pallinum sem hér segir:
Dreifið þyngd farmsins jafnt á pallinum, frá einni hlið til annarar.
Important: Ef þyngd farms á pallinum er öll öðrum megin er aukin hætta á að vinnubílnum hvolfi.
Dreifið farminum á pallinum jafnt frá framhlið af afturhlið.
Important: Ef þyngd farms er mest fyrir aftan afturöxulinn er aukin hætta á að stjórnandi missi stjórn á vinnubílnum eða bílnum hvolfi, auk þess sem grip á framhjólbörðum verður minna.
Sýnið sérstaka aðgát þegar farmur sem inniheldur mjög stóra hluti er fluttur á pallinum, sérstaklega.
Þegar þess er kostur skal alltaf festa farminn tryggilega með ólum við pallinn, til að forðast að hann færist til.
Við flutninga á vökva skal sýna aðgát þegar vinnubílnum er ekið upp eða niður brekku, við skyndilegar hraðabreytingar eða við stöðvun, eða þegar ekið er yfir ójafnt yfirborð.
Afkastageta pallsins er 0,37 m3. Magn (rúmtak) efnis sem setja má á pallinn án þess að fara yfir uppgefna burðargetu vinnubílsins getur verið mjög mismunandi, allt eftir eðlismassa efnisins.
Upplýsingar um hámark mismunandi efna er að finna á eftirfarandi töflu:
| Efni | Eðlismassi | Hámarksburðargeta palls(á sléttu undirlagi) |
| Möl, þurr | 1522 kg/m3 | Fullur |
| Möl, blaut | 1922 kg/m3 | Fyllt að 3/4 |
| Sandur, þurr | 1442 kg/m3 | Fullur |
| Sandur, blautur | 1922 kg/m3 | Fyllt að 3/4 |
| Timbur | 721 kg/m3 | Fullur |
| Börkur | <721 kg/m3 | Fullur |
| Mold, þjöppuð | 1602 kg/m3 | Fyllt að 3/4 (um það bil) |
Áður en svæði stjórnanda er yfirgefið skal gera eftirfarandi:
Leggið vinnubílnum á jafnsléttu.
Setjið gírskiptinguna í HLUTLAUSAN GíR.
Setjið stöðuhemilinn á.
Drepið á vinnubílnum og takið lykilinn úr.
Bíðið þar til hlutir á hreyfingu hafa stöðvast.
Leyfið vinnubílnum að kólna áður en hann er stilltur, þjónustaður, þrifinn eða settur í geymslu.
Geymið ekki vinnubílinn nærri óvörðum loga, neistaflugi eða kveikiloga, á borð við vatnshitara eða önnur heimilistæki.
Haldið öllum hlutum vinnubílsins í góðu ásigkomulagi og tryggið að vélbúnaður sé vel hertur.
Haldið sætisbeltum við og þrífið eftir þörfum.
Skiptið um slitnar eða skemmdar merkingar og setjið nýjar í stað merkinga sem vantar.
Sýnið aðgát þegar vinnubíllinn er settur á eða tekinn af eftirvagni eða palli.
Notið skábrautir í fullri breidd við að aka honum á eftirvagn eða palla.
Festið vinnubílinn tryggilega.
Frekari upplýsingar um festingarstaði á vinnubílnum er að finna á Mynd 17 og Mynd 18.
Note: Akið vinnubílnum á eftirvagn þannig að framhluti hans snúi fram. Ef það er ekki hægt skal binda vélarhlífina fasta við grindina með stroffu eða taka hana af og flytja og festa aðskilið. Að öðrum kosti er hætta á að vélarhlífin fjúki af við flutninga.


Í neyðartilvikum er hægt að draga vinnubílinn stuttar vegalengdir; þetta er hins vegar ekki hefðbundin notkun.
Hætta er á stjórnmissi þegar dregið er á of miklum hraða. Slíkt getur leitt til meiðsla á fólki.
Aldrei draga vinnubíl hraðar en 8 km/klst.
Dráttur vinnubílsins krefst aðkomu tveggja einstaklinga. Ef flytja þarf vinnubílinn um langan veg skal nota vörubíl eða eftirvagn. Sjá nánur í Dráttur eftirvagns
Fjarlægið drifreimina úr vinnubílnum. Frekari upplýsingar eru í Skipt um reim.
Festið dráttartaug í beislið framan á grind vinnubílsins (Mynd 17).
Setjið gírskiptinguna í HLUTLAUSAN GíR og takið stöðuhemilinn af.
Þessi vinnubíll getur dregið eftirvagna. Dráttarkrókur er í boði fyrir vinnubílinn. Frekari upplýsingar fást hjá viðurkenndum þjónustu- og söluaðila.
Ekki ofhlaða vinnubílinn eða eftirvagninn þegar ekið er með farm eða eftirvagn (tengitæki) í eftirdragi. Ef vinnubíllinn eða eftirvagninn er ofhlaðinn getur það leitt til skertra afkasta eða skemmda á hemlum, öxli, vél, sambyggðum gírkassa og drifi, stýri, fjöðrun, undirvagni eða hjólbörðum.
Hlaðið eftirvagn alltaf þannig að 60% farmsins liggi á framhluta eftirvagnsins. Þetta veltir um 10% af heildarþyngd eftirvagnsins (GTW) yfir á dráttarkrók vinnubílsins.
Til að tryggja viðunandi hemlun og grip skal alltaf ferma pallinn þegar eftirvagn er í notkun. Ekki skal fara yfir heildarþyngdarmörk fyrir pall og eftirvagn.
Forðist að leggja vinnubíl með eftirvagni í brekku. Ef ekki verður hjá því komist að leggja í brekku skal setja stöðuhemilinn á og skorða hjólbarða eftirvagnsins.
Ekki leyfa óþjálfuðu starfsfólki að þjónusta vinnubílinn.
Áður en svæði stjórnanda er yfirgefið skal gera eftirfarandi:
Leggið vinnubílnum á jafnsléttu.
Setjið gírskiptinguna í HLUTLAUSAN GíR.
Setjið stöðuhemilinn á.
Drepið á vinnubílnum og takið lykilinn úr.
Bíðið þar til hlutir á hreyfingu hafa stöðvast.
Leyfið vinnubílnum að kólna áður en hann er stilltur, þjónustaður, þrifinn eða settur í geymslu.
Setjið alltaf búkka undir vinnubílinn þegar unnið er undir honum.
Ekki vinna undir palli sem hefur verið lyft án þess að nota viðeigandi öryggisstífu.
Ekki hlaða rafgeyminn á meðan unnið er við vinnubílinn.
Tryggið að allur vélbúnaður sé vel hertur til að viðhalda góðu ástandi vinnubílsins.
Til að draga úr eldhættu skal hreinsa smurfeiti, gras, lauf og óhreinindi af vinnubílnum.
Ekki sinna viðhaldi með vélina gangi, ef því verður við komið. Haldið öruggri fjarlægð frá hlutum á hreyfingu.
Ef vinnubíllinn þarf að vera í gangi við stillingu skal halda höndum, fótum, fatnaði og öðrum líkamshlutum fjarri hlutum á hreyfingu. Haldið nærstöddum í öruggri fjarlægð frá vinnubílnum.
Hreinsið upp olíu og eldsneyti sem lekur niður.
Kannið virkni stöðuhemilsins, eins og sagt er til um í viðhaldsáætluninni og stillið hann og þjónustið eftir þörfum.
Haldið öllum hlutum vinnubílsins í góðu ásigkomulagi og tryggið að vélbúnaður sé rétt hertur. Skiptið um slitnar eða skemmdar merkingar.
Aldrei breyta ætlaðri virkni öryggisbúnaðar eða skerða þá vörn sem öryggisbúnaður veitir.
Ekki setja vélina í yfirsnúning með því að breyta stillingum gangráðsins. Látið kanna hámarkssnúningshraða vélar með snúningshraðamæli hjá viðurkenndum sölu- og þjónustuaðila Toro til að tryggja öryggi og nákvæmni.
Ef þörf er á meiriháttar viðgerðum eða aðstoð skal hafa samband við viðurkenndan þjónustu- og söluaðila.
Hvers kyns breytingar á vinnubílnum kunna að hafa áhrif á virkni hans, afköst eða endingu, auk þess sem hætta skapast á meiðslum á fólki eða dauða. Slík notkun getur fellt úr gildi vöruábyrgð Toro® Company.
| Tíðni viðhaldsþjónustu | Viðhaldsferli |
|---|---|
| Eftir fyrstu 8 klukkustundirnar |
|
| Eftir fyrstu 50 klukkustundirnar |
|
| Eftir fyrstu 100 klukkustundirnar |
|
| Fyrir hverja notkun eða daglega |
|
| Á 100 klukkustunda fresti |
|
| Á 150 klukkustunda fresti |
|
| Á 200 klukkustunda fresti |
|
| Á 300 klukkustunda fresti |
|
| Á 400 klukkustunda fresti |
|
| Á 600 klukkustunda fresti |
|
| Á 800 klukkustunda fresti |
|
| Á 1.000 klukkustunda fresti |
|
Note: Farið á www.Toro.com og leitið að viðkomandi vinnubíl í gegnum handbókartengilinn á heimasíðunni til að sækja eintak af teikningum rafkerfisins.
Important: Frekari upplýsingar um viðhaldsferli eru í notendahandbók vélarinnar.
Ef viðeigandi viðhaldi er ekki sinnt á vinnubílnum er hætta á ótímabærri bilun í kerfum bílsins, sem sett getur stjórnanda eða nærstadda í hættu.
Sinnið reglulegu viðhaldi á vinnubílnum og haldið honum í góðu ásigkomulagi, eins sagt er til um í þessum leiðbeiningum.
Viðhald, viðgerðir, stillingar eða skoðanir á vinnubílnum skulu eingöngu vera í höndum hæfs og vottaðs starfsfólks.
Forðist eldhættu og hafið slökkvibúnað ávallt til reiðu á vinnusvæðinu. Ekki nota loga til að kanna vökvastöðu eða eldsneytis-, rafvökva- eða kælivökvaleka.
Ekki nota opin ílát fyrir eldsneyti eða eldfim hreinsiefni við þrif íhluta.
Ef lykillinn er skilinn eftir í svissinum getur hver sem er óvart gangsett vélina og valdið alvarlegum meiðslum á stjórnanda eða öðrum nærstöddum.
Drepið á vélinni og takið lykilinn úr svissinum áður en viðhaldi er sinnt.
Afritið þessa blaðsíðu til að skrá reglubundið viðhald.
| Viðhaldsatriði | Vika: | ||||||
|---|---|---|---|---|---|---|---|
| Mánudagur | Þriðjudagur | Miðvikudagur | Fimmtudagur | Föstudagur | Laugardagur | Sunnudagur | |
| Athugið virkni aksturshemils og stöðuhemils. | |||||||
| Athugið virkni gírskiptingar/hlutlauss gírs. | |||||||
| Athugið eldsneytisstöðu. | |||||||
| Kannið stöðu smurolíu. | |||||||
| Athugið hæð hemlavökvans. | |||||||
| Athugið hæð vökva í sambyggðum gírkassa og drifi. | |||||||
| Skoðið loftsíuna. | |||||||
| Skoðið kælifanir vélar. | |||||||
| Hlustið eftir óvenjulegum vélarhljóðum. | |||||||
| Hlustið eftir óvenjulegum vinnsluhljóðum. | |||||||
| Kannið þrýsting í hjólbörðum. | |||||||
| Leitið eftir leka. | |||||||
| Athugið virkni verkfæris. | |||||||
| Athugið virkni inngjafarinnar. | |||||||
| Þrífið vinnubílinn. | |||||||
| Lagfærið lakk sem hefur flagnað eða skemmst. | |||||||
Important: Ef vinnubíllinn er notaður við einhverjar af þeim aðstæðum sem taldar eru upp hér að neðan skal sinna viðhaldi helmingi oftar:
Vinna í eyðimörk
Vinna við köld skilyrði – undir 10 °C
Dráttur eftirvagns
Mikil notkun við rykugar aðstæður
Byggingarvinna
Eftir langa notkun í aur, sandi, vatni eða öðrum álíka óhreinindum skal gera eftirfarandi:
Láta skoða og hreinsa hemlana svo fljótt sem auðið er. Þetta kemur í veg fyrir að sverfandi efni valdi óeðlilegu sliti.
Þrífið vinnubílinn með vatni eingöngu eða með mildu hreinsiefni.
Important: Ekki nota ísalt vatn eða hreinsað vatn til að þrífa vinnubílinn.
Mörg þeirra atriða sem fjallað er um í þessari handbók krefjast þess að pallinum sé lyft og hann látinn síga. Farið eftir eftirfarandi varúðarráðstöfunum til að koma í veg fyrir alvarleg meiðsli eða dauða.
Leggið vinnubílnum á jafnsléttu.
Setjið gírskiptinguna í HLUTLAUSAN GíR.
Setjið stöðuhemilinn á.
Drepið á vélinni og takið lykilinn úr.
Lyftið pallinum og látið hann síga.
Þegar tjakkur er í notkun getur vinnubíllinn verið óstöðugur. Vinnubíllinn gæti runnið af tjakknum og valdið slysum á fólki sem er undir bílnum.
Aldrei má gangsetja vinnubílinn á meðan hann er á tjakki.
Takið lykilinn alltaf úr svissinum áður en vinnubíllinn er yfirgefinn.
Skorðið hjólbarðana þegar stutt er við vinnubílinn með lyftibúnað.
Notið tjakkstanda til að styðja við vinnubílinn þegar honum hefur verið lyft.
Important: Í hvert sinn sem vinnubíllinn er gangsettur vegna reglubundins viðhalds og/eða bilanagreininga skal gæta þess að afturhjól vinnubílsins séu í 25 mm fjarlægð frá jörðu og að afturöxull sé studdur með tjakkstöndum.
Lyftipunktarnir framan á vinnubílnum eru staðsettir framan á grindinni, á bak við dráttarbeislið (Mynd 19).

Lyftipunktarnir aftan á vinnubílnum eru staðsettir undir öxlinum (Mynd 20).

| Tíðni viðhaldsþjónustu | Viðhaldsferli |
|---|---|
| Á 100 klukkustunda fresti |
|
Smurfeiti: Litíumfeiti nr. 2
Þurrkið af smurkoppnum með tusku til að aðskotaefni komist ekki inn í leguna eða fóðringuna.
Notið smursprautu til að sprauta einum eða tveimur dæluskömmtum af smurfeiti í smurkoppa vinnubílsins.
Þurrkið umframmagn af smurfeiti af vinnubílnum.
Smurkopparnir eru staðsettir við innri enda stjórnarmanna, kúlulið festistangarinnar og ytri enda stjórnarmanna (Mynd 22 og Mynd 23).


| Tíðni viðhaldsþjónustu | Viðhaldsferli |
|---|---|
| Á 300 klukkustunda fresti |
|
Tilgreind smurfeiti: Mobilgrease XHP™-222
Lyftið vinnubílnum að framan og setjið tjakkstanda undir framhliðina.
Fjarlægið felgurærnar fjórar sem festa hjólið við hjólnöfina (Mynd 24).

Fjarlægið kragaboltana (3/8 x 3/4 to.) sem halda festingunni fyrir hemlasamstæðuna fastri við drifið og skiljið hemilinn frá drifinu (Mynd 25).
Note: Setjið stoðir undir hemlasamstæðuna áður en lengra er haldið.

Fjarlægið rykhlífina af hjólnöfinni (Mynd 26).

Fjarlægið klofsplittið og festiróna af drifinu og drifrónni (Mynd 26).
Fjarlægið drifróna úr drifinu og skiljið hjólnöf og snúðsamstæðu frá drifinu (Mynd 26 og Mynd 27).

Þurrkið vel af drifinu með klúti.
Endurtakið skref 1 til og með 7 fyrir hjólnöfina og snúðinn á hinni hlið vinnubílsins.
Fjarlægið utanáliggjandi legu og legugróp af hjólnöfinni (Mynd 28).

Fjarlægið þéttið úr legu að innanverðu úr hjólnöfinni (Mynd 28).
Þurrkið vel af þéttinu og leitið eftir sliti eða skemmdum á því.
Note: Notið ekki leysiefni til að hreinsa þéttið. Ef þéttið er slitið eða skemmt skal skipta um það.
Hreinsið legurnar og legugrópirnar og skoðið íhlutina til að leita eftir sliti eða skemmdum.
Note: Skiptið um slitna eða skemmda íhluti. Gangið úr skugga um að legurnar og grópirnar séu hreinar og þurrar.
Hreinsið alla feiti, óhreinindi og laust efni úr holrýminu í hjólnöfinni (Mynd 28).
Setjið tilgreinda smurfeiti í legurnar.
Fyllið holrýmið í hjólnöfinni sem nemur um 50 til 80% af tilgreindu magni smurfeiti (Mynd 28).
Setjið leguna að innanverðu í grópina í hjólnöfinni innanverðri og setjið þéttið á (Mynd 28).
Endurtakið skref 1 til og með 8 fyrir legurnar í hinni hjólnöfinni.
Berið þunnt lag af tilgreindri smurfeiti á drifið (Mynd 29).

Setjið hjólnöf og snúð upp á drifið, með snúðinn að innanverðu (Mynd 29).
Setjið legu að utanverðu upp á drifið og komið legunni fyrir í grópinni að utanverðu (Mynd 29).
Setjið flipaskinnuna upp á drifið (Mynd 29).
Skrúfið drifróna á drifið og herðið hana í 15 N∙m, en snúið um leið hjólnöfinni til að legan fari á réttan stað (Mynd 29).
Losið drifróna svolítið, eða þar til hjólnöfin snýst hindrunarlaust.
Herðið drifróna í 170 til 225 N·m.
Setjið festiróna yfir róna og athugið hvort raufin í festirónni og gatið fyrir klofsplittið í drifinu flútta (Mynd 30).
Note: Ef raufin í festirónni flúttar ekki við gatið á drifinu skal herða drifróna þar til raufin og gatið flútta, að hámarki að 226 N·m á rónni.

Setjið klofsplittið í og sveigið hvorn legg utan um festiróna (Mynd 30).
Setjið rykhlífina á hjólnöfina (Mynd 30).
Endurtakið skref 1 til og með 10 fyrir hjólnöfina og snúðinn á hinni hlið vinnubílsins.
Hreinsið kragaboltana tvo (⅜ x ¾ to.) og berið lag af miðlungssterku gengjulími á skrúfganga boltanna.
Gangið úr skugga um að hemlaklossarnir sitt hvorum megin við snúðinn (Mynd 25) og götin í festingu fyrir klafann flútti við göt hemlafestingarinnar í drifgrindinni (Mynd 29).
Festið festinguna fyrir klafann við drifgrindina (Mynd 25) með tveimur kragaboltum (⅜ x ¾ to.).
Herðið kragaboltana tvo í 47 til 54 N∙m.
Gangið úr skugga um að götin á felgunni flútti við pinnana á hjólnöfinni og setjið felguna á hjólnöfina, þannig að ventilleggurinn vísi út á við (Mynd 24).
Note: Gangið úr skugga um að uppsetningarflötur hjólsins flútti við hjólnöfina.
Festið hjólið við hjólnöfina með felgurónum (Mynd 24).
Herðið felgurærnar í 108 til 122 N m (80 til 90 ft-lb).
Endurtakið skref 1 til og með 5 fyrir hemlana og hjólið á hinni hlið vinnubílsins.
Drepið á vélinni, takið lykilinn úr og bíðið eftir að allir hlutar á hreyfingu hafi stöðvast áður en olíuhæðin er skoðuð og olía er fyllt á sveifarhúsið.
Haldið höndum, fótum, andliti, fatnaði og öðrum líkamshlutum í öruggri fjarlægð frá hljóðkútnum og öðrum heitum flötum.
| Tíðni viðhaldsþjónustu | Viðhaldsferli |
|---|---|
| Á 100 klukkustunda fresti |
|
Note: Ef mikið ryk eða sandur þyrlast upp þegar unnið er þarf að sinna viðhaldi loftsíu oftar.
Lyftið pallinum og festið hann með stífunni.
Leitið eftir skemmdum á húsi loftsíunnar sem kunna að valda loftleka (Mynd 31).
Note: Gangið úr skugga um að lok loftsíunnar þétti vel við hús loftsíunnar.
Note: Skiptið um skemmda loftsíuhlíf eða loftsíuhús.

Togið lásinn út á við og snúið loftsíulokinu rangsælis (Mynd 31).
Fjarlægið lokið af loftsíuhúsinu.
Rennið loftsíueiningunni varlega út úr loftsíuhúsinu (Mynd 31) til að minnka líkur á að ryk losni.
Note: Gætið þess að reka síuna ekki utan í loftsíuhúsið.
Skoðið loftsíueininguna.
Ef loftsíueiningin er hrein skal setja síueininguna í.
Ef loftsíueiningin er skemmd skal skipta um síueiningu; sjá Skipt um loftsíu.
Fjarlægið loftsíueininguna.
Kannið hvort nýja sían hafi skemmst í flutningum.
Note: Skoðið þéttienda síunnar.
Important: Ekki setja skemmda síu í.
Setjið nýju loftsíuna í; sjá Uppsetning loftsíu.
Important: Til að koma í veg fyrir skemmdir á vélinni skal ávallt gangsetja hana með allri loftsíusamstæðunni uppsettri.
Note: Ekki nota skemmda síu.
Note: Ekki er mælt með að hreinsa notaða loftsíu þar sem hætta er á að síuefnið skemmist.
Hreinsið opið fyrir óhreinindi á loftsíulokinu (Mynd 31).
Fjarlægið úttakslokann úr gúmmíi af lokinu, hreinsið opið og skiptið um úttakslokann (Mynd 31).
Setjið loftsíuelementið í loftsíuhúsið og þrýstið á ytri brún þess svo það sitji rétt í húsi loftsíunnar (Mynd 31).
Note: Þegar sían er sett í skal þrýsta á ytri brún hennar til að tryggja rétta þéttingu. Ekki ýta á sveigjanlegan miðhluta síunnar.
Stillið loftsíulokið við loftsíuhúsið þannig að gúmmíúttakslokinn vísi niður (u.þ.b. á milli kl. 5 og 7 séð frá endanum), eins og sýnt er áMynd 31
Festið hlífina við húsið með klinkunum (Mynd 31).
Látið pallinn síga.
Note: Skiptið oftar um olíu þegar unnið er í miklu ryki eða sandi.
Note: Fargið notaðri smurolíu og olíusíunni á vottaðri endurvinnslustöð.
Olíutegund Hreinsiolía (API-þjónustuflokkur CH-4, CI-4, CJ-4 eða hærra)
Rúmtak sveifarhúss: 1,4 l þegar skipt er um síu
Seigja: Sjá töfluna hér á eftir.

| Tíðni viðhaldsþjónustu | Viðhaldsferli |
|---|---|
| Fyrir hverja notkun eða daglega |
|
Leggið vinnubílnum á jafnsléttu.
Setjið stöðuhemilinn á.
Drepið á vélinni og takið lykilinn úr.
Lyftið pallinum.
Notaðu tusku til að þrífa í kringum olíukvarðann (Mynd 33) svo að óhreinindi falli ekki ofan í rör olíukvarðans eða áfyllingarstútinn og skemmi vélina.

Takið olíukvarðann úr og strjúkið af honum.
Stingið olíukvarðanum í olíukvarðarörið og gangið úr skugga um að hann sitji vel (Mynd 33).
Dragið olíukvarðann út og skoðið endann.
Note: Fyllið hægt á og athugið olíuhæðina jafnóðum meðan á áfyllingu stendur. Ekki yfirfylla vélina af olíu.
Stingið olíukvarðanum í og komið honum kyrfilega fyrir (Mynd 33).
Látið pallinn síga.
| Tíðni viðhaldsþjónustu | Viðhaldsferli |
|---|---|
| Eftir fyrstu 50 klukkustundirnar |
|
| Á 150 klukkustunda fresti |
|
Leggið vinnubílnum á jafnsléttu.
Setjið stöðuhemilinn á.
Gangsetjið vinnubílinn og látið vélina ganga í nokkrar mínútur.
Drepið á vélinni og takið lykilinn úr.
Lyftið pallinum og festið hann með stífunni.
Aftengið mínuskapalinn; frekari upplýsingar eru í Rafgeymirinn aftengdur.
Setjið afrennslispönnu undir botntappann (Mynd 34).

Fjarlægið botntappann (Mynd 34).
Note: Leyfið olíunni að renna alveg af vélinni.
Setjið frárennslistappann og þéttinguna í (Mynd 34) og herðið tappann í 45 til 53 N·m (33 til 39 ft-lb).
Hellið olíu í áfyllingaropið þar til olíuhæðin nær upp að hámarkinu á olíukvarðanum.
Bætið olíu rólega á og athugið stöðuna oft meðan á þessu stendur.
Note: Ekki yfirfylla vélina af olíu.
Festið áfyllingarlokið og olíukvarðann tryggilega.
Tengið rafgeyminn og látið pallinn síga.
| Tíðni viðhaldsþjónustu | Viðhaldsferli |
|---|---|
| Eftir fyrstu 50 klukkustundirnar |
|
| Á 150 klukkustunda fresti |
|
Tappið olíunni af vélinni.
Fjarlægið olíusíuna (Mynd 34).
Smyrjið þunnu lagi af hreinni olíu á pakkningu nýju síunnar.
Skrúfið nýju síuna á síutengið þar til pakkningin snertir festiplötuna og herðið svo í höndunum um 1/2 til 3/4 úr hring í viðbót (Mynd 34).
Important: Ekki ofherða olíusíuna.
Fyllið á sveifarhúsið með tilgreindri olíu (Mynd 32).
Gangsetjið vélina og látið hana ganga til að athuga olíuleka.
Drepið á vélinni og athugið olíuhæðina.
Note: Ef nauðsyn krefur skal bæta tilgreindri olíu á vélina þar til olíuhæðin nær að hámarki olíukvarðans.
| Tíðni viðhaldsþjónustu | Viðhaldsferli |
|---|---|
| Á 400 klukkustunda fresti |
|
Skoðið eldsneytisleiðslurnar, tengin og klemmurnar með tilliti til leka, niðurbrots, skemmda eða lausra leiðslna.
Note: Gerið við alla íhluti eldsneytiskerfisins sem eru skemmdir eða leka áður en vinnubíllinn er notaður að nýju.
| Tíðni viðhaldsþjónustu | Viðhaldsferli |
|---|---|
| Á 800 klukkustunda fresti |
|
Lyftið pallinum og festið hann með stífunni.
Snúið svisslyklinum í SLöKKTA stöðu og takið lykilinn úr.
Setjið afrennslispönnu undir eldsneytissíuna.
Skrúfið eldsneytissíuna af festingunni (Mynd 35).

Settu nýju síuna í með því að snúa henni þar til hún snertir efri hluta festingarinnar og hertu hana svo um 3/4 úr snúningi til viðbótar.
Aftengið rafgeyminn áður en gert er við vinnuvélina. Aftengið mínusskautið fyrst og plússkautið síðast. Tengið plússkautið fyrst og mínusskautið síðast.
Hlaðið rafgeyminn á opnu og vel loftræstu svæði, fjarri neistum og opnum eldi. Takið hleðslutækið úr sambandi áður en rafhlaðan er tengd eða aftengd. Klæðist hlífðarfatnaði og notið einangruð verkfæri.
Rafgeymisspenna: 12 V með 300 A (köld gangsetning) við -18 °C.
Tryggið að rafgeymirinn sé ávallt hreinn og fullhlaðinn.
Þegar tæring er til staðar á rafgeymisskautunum verður að þrífa þau með lausn sem inniheldur fjóra hluta vatns og einn hluta matarsóda.
Smyrjið þunnt lag af feiti á rafgeymisskautin til að koma í veg fyrir tæringu.
Rangt lagðir rafgeymiskaplar geta valdið skemmdum á vinnubílnum og köplunum sem leitt geta til neistaflugs. Neistar geta kveikt í gasi frá rafgeyminum og valdið sprengingu og meiðslum á fólki.
Aftengið alltaf mínusrafgeymiskapalinn (svartur) áður en plúskapallinn (rauður) er aftengdur.
Tengið alltaf plúsrafgeymiskapalinn (rauður) áður en mínuskapallinn (svartur) er tengdur.
Haldið rafgeymisólinni ævinlega á réttum stað til að vernda rafgeyminn og halda honum tryggilega föstum.
Rafgeymaskaut eða verkfæri úr málmi geta valdið skammhlaupi í málmhluta vinnubílsins með meðfylgjandi neistaflugi. Neistar geta kveikt í gasi frá rafgeyminum og valdið sprengingu og meiðslum á fólki.
Þegar rafgeymirinn er tekinn úr eða settur í þarf að koma í veg fyrir að rafgeymaskautin snerti málmhluta vinnuvélarinnar.
Komið í veg fyrir að verkfæri úr málmi valdi skammhlaupi á milli rafgeymaskautanna og málmhluta vinnuvélarinnar.
Aftengið rafgeymiskaplana. Frekari upplýsingar eru í Rafgeymirinn aftengdur.
Fjarlægið lásróna, burðarboltann og rafgeymisklemmuna sem festir rafgeyminn við rafgeymishólfið (Mynd 36).
Fjarlægið rafgeyminn úr rafgeymishólfinu (Mynd 36).
Komið rafgeyminum fyrir í rafgeymishólfi vinnubílsins (Mynd 36).
Note: Gangið úr skugga um að jákvæð og neikvæð skaut rafgeymisins séu stillt upp eins og sýnt er á Mynd 36.
Festið rafgeyminn við rafgeymishólfið með rafgeymisklemmu, burðarbolta og lásró (Mynd 36).
Tengið rafgeymiskaplana. Frekari upplýsingar eru í Rafgeymirinn tengdur.
Hleðsla rafgeymisins myndar sprengifimar lofttegundir.
Aldrei reykja nærri rafgeymi og verjið hann gegn neistaflugi og opnum eldi.
Important: Tryggið að rafgeymirinn sé ávallt fullhlaðinn. Þetta er sérstaklega mikilvægt til að koma í veg fyrir skemmdir á rafgeyminum við hitastig undir 0 °C.
Fjarlægið rafgeyminn úr vinnubílnum. Frekari upplýsingar eru í Rafgeymirinn aftengdur.
Tengið 3 til 4 A hleðslutæki fyrir rafgeymi við rafgeymaskautin. Hlaðið rafgeyminn við 3 til 4 A í fjórar til átta klukkustundir (12 V).
Note: Gætið þess að yfirhlaða ekki rafgeyminn.
Komið rafgeyminum fyrir á sínum stað; sjá Rafgeymir settur upp.
Ef setja á vinnubílinn í geymslu lengur en 30 daga skal taka rafgeyminn úr og fullhlaða hann. Geymið hann annaðhvort á hillu eða á vinnubílnum. Ef rafgeymirinn er geymdur á vinnubílnum skal hafa kaplana áfram ótengda. Geymið rafgeyminn í svölu umhverfi til að koma í veg fyrir að hann afhlaðist of hratt. Gangið úr skugga um að rafgeymirinn sé fullhlaðinn til að koma í veg fyrir að það frjósi á honum.
Í rafkerfinu eru 7 öryggi. Þau eru undir hlífinni (Mynd 37).
| Viðvörun/innstunga | 10 A |
| Vél | 10 A |
| Aðalljós | 10 A |
| Öryggi vinnuvélar | 15 A |
| Lyfta | 15 A |
| Lyfta að aftan | 15 A |
| Flauta | 30 A |

Ef þú setur í peru með hærra rafafli en kerfið er hannað fyrir gætirðu skemmt 12 V aflgjafann eða í það minnsta sprengt öryggið.
Notið alltaf tilgreinda Toro LED-peru til að koma í veg fyrir þetta vandamál.
Perurnar verða mjög heitar þegar þær eru í notkun. Meðhöndlun á heitri ljósaperu getur valdið alvarlegum bruna og líkamstjóni.
Gefið perunum alltaf nægan tíma til að kólna áður en skipt er um þær. Farið varlega þegar perurnar eru handleiknar.
Tæknilýsing: Frekari upplýsingar eru í varahlutaskrá.
Aftengið rafgeyminn. Frekari upplýsingar eru í Rafgeymirinn aftengdur.
Opnið vélarhlífina.
Aftengið rafmagnstengið á rafleiðsluknippinu frá tengi ljósasamstæðunnar aftan á (Mynd 38).

Snúið ljósasamstæðunni 1/4 úr hring rangsælis og dragið hana aftur úr framljósahúsinu (Mynd 38).
Setjið nýju ljósasamstæðuna í framljósahúsið og stillið flipana á ljósasamstæðunni við raufarnar í framljósahúsinu (Mynd 38).
Festið ljósasamstæðuna með því að snúa henni 1/4 úr hring réttsælis (Mynd 38).
Tengið rafmagnstengið á rafleiðsluknippinu við tengið á nýju ljósasamstæðunni (Mynd 38).
Tengið rafgeyminn og lokið vélarhlífinni. Frekari upplýsingar eru í Rafgeymirinn tengdur.
Aftengið rafgeyminn. Frekari upplýsingar eru í Rafgeymirinn aftengdur.
Opnið vélarhlífina; sjá Vélarhlíf lyft.
Aftengið raftengi leiðsluknippis frá tengi ljósasamstæðunnar (Mynd 39).

Fjarlægið smellurnar sem festa aðalljósið við festingu fyrir aðalljós (Mynd 39).
Note: Geymið alla íhluti fyrir uppsetningu á nýju aðalljósi.
Fjarlægið aðalljósasamstæðuna með því að færa hana fram á við, gegnum opið á framstuðaranum (Mynd 39).
Setjið nýja aðalljósið upp gegnum opið á stuðaranum (Mynd 39).
Note: Gangið úr skugga um að stillistoðirnar flútti við götin í festingunni á bak við stuðarann.
Festið aðalljósasamstæðuna með smellunum sem voru fjarlægðar í skrefi 4.
Tengið rafmagnstengi leiðsluknippis við tengið á ljósasamstæðunni (Mynd 39).
Stillið aðalljósin þannig að ljóskeilan beinist á æskilegan stað. Frekari upplýsingar eru í Stilling aðalljósa.
Notið eftirfarandi aðferð til að stilla stöðu aðalljósanna í hvert sinn sem skipt er um aðalljósasamstæðuna eða hún er fjarlægð.
Snúið svissinum í KVEIKTA stöðu og kveikið á aðalljósunum.
Snúið stilliskrúfunum (Mynd 39) aftan á aðalljósasamstæðunni til að snúa samstæðunni og stilla stöðu kastljósgeislans.
| Tíðni viðhaldsþjónustu | Viðhaldsferli |
|---|---|
| Á 100 klukkustunda fresti |
|
Athugið hvort slit eða skemmdir sjást á hjólbörðum og felgum.
Note: Árekstrar sem kunna að verða við notkun vinnubílsins, líkt og þegar ekið er á gangstéttarbrúnir, geta valdið skemmdum á hjólbörðum eða felgum og raskað hjólastillingum. Skoðið því ástand hjólbarða eftir slíka árekstra.
Herðið felgurærnar í 108 til 122 N∙m.
| Tíðni viðhaldsþjónustu | Viðhaldsferli |
|---|---|
| Á 100 klukkustunda fresti |
|
Hafið stýrið í miðlægri stöðu (Mynd 40) og snúið því til vinstri eða hægri. Ef stýrinu er snúið meira en 13 mm til vinstri eða hægri og hjólbarðar snúast ekki skal skoða eftirfarandi íhluti stýris og fjöðrunar til að ganga úr skugga um að þeir séu ekki slitnir eða skemmdir:
Stýrisskaft í samskeytalið stýrisstangar
Important: Athugið ástand og öryggi þéttis í pinnastönginni (Mynd 41).
Millistangir í stýrisstangarsamstæðu


| Tíðni viðhaldsþjónustu | Viðhaldsferli |
|---|---|
| Á 100 klukkustunda fresti |
|
Kannið þrýsting í hjólbörðum til að ganga úr skugga um að framhjól séu fyllt að 82 kPa.
Stjórnandi vinnubílsins skal sitja í sætinu, að öðrum kosti skal setja þyngd í sætið sem nemur þyngd þess sem á að aka bílnum. Stjórnandi vinnubílsins, eða jafngild þyngd, verður að vera í sætinu á meðan þessi stilling er framkvæmd.
Látið vinnubílinn renna beint aftur á bak á jafnsléttu um 2 til 3 metra og síðan beint áfram að upphafsstaðsetningu. Þannig nær fjöðrunin að komast í notkunarstöðu.
Verkfæri sem eigandi útvegar: skrúflykill, Toro-íhlutur nr. 132-5069. Frekari upplýsingar fást hjá viðurkenndum dreifingaraðila Toro.
Important: Stillið hjólhallann aðeins ef það á að nota tengitæki að framan eða ef hjólbarðarnir eru mismikið slitnir.
Skoðið hjólhallastillingu á hverju hjóli. Stillingin ætti að vera eins nærri hlutlausu (núllstillingu) og unnt er.
Note: Hjólbarðana skal stilla þannig að þeir nái jafnri snertingu við jörð, til að minnka ójafnt slit.
Ef hjólhalli er ekki réttur skal nota skrúflykil til að snúa kraganum á höggdeyfinum og stilla hjólið rétt (Mynd 42).

Important: Áður en innskeifni er stillt skal ganga úr skugga um að stilling hjólhalla sé eins hlutlaus og unnt er. Frekari upplýsingar eru í Stilling hjólhalla.
Gangið úr skugga um að hjólbarðarnir að framan snúi beint áfram.
Mælið fjarlægðina á milli framhjólanna við öxulhæð, bæði framan og aftan á framhjólunum (Mynd 43).

Ef mæligildin eru ekki á milli 0 og 6 mm skal losa festirærnar yst á millistöngunum (Mynd 44).

Snúið báðum millistöngunum til að færa framhlið hjólbarðans inn eða út á við.
Herðið festiró tengistangarinnar þegar stillingin er rétt.
Gangið úr skugga um að stýrið hreyfist alla leið í báðar áttir.
| Tíðni viðhaldsþjónustu | Viðhaldsferli |
|---|---|
| Á 100 klukkustunda fresti |
|
Gerð vökva: SAE 10W30 (API þjónustuflokkur SJ eða hærri)
Leggið vinnuvélinni á jafnsléttu, setjið gír í HLUTLAUSA stöðu, setjið stöðuhemilinn á, drepið á vélinni og takið lykilinn úr.
Fjarlægið boltann úr opi stöðumerkis (Mynd 45).
Note: Vökvahæð á sambyggðum gírkassa og drifi á að vera við neðri brún á opi stöðumerkis.

Ef vökvinn á sambyggðum gírkassa og drifi nær ekki upp að neðri brún stöðumerkisopsins skal fylla á geyminn með tilgreindum vökva; sjá Skipt um vökva í sambyggðum gírkassa og drifi.
| Tíðni viðhaldsþjónustu | Viðhaldsferli |
|---|---|
| Á 800 klukkustunda fresti |
|
Gerð vökva: SAE 10W30 (API þjónustuflokkur SJ eða hærri)
Rúmtak vökva: 1,4 l
Leggið vinnuvélinni á jafnsléttu, setjið gír í HLUTLAUSA stöðu, setjið stöðuhemilinn á, drepið á vélinni og takið lykilinn úr.
Þrífið svæðið í kringum áfyllingartappa og botntappa með hreinni tusku (Mynd 46).

Komið a.m.k. tveggja lítra afrennslispönnu fyrir undir botntappanum.
Fjarlægið áfyllingartappann með því að snúa honum rangsælis (Mynd 46).
Note: Geymið áfyllingartappann og pakkninguna til að setja aftur upp í skrefi 8.
Fjarlægið botntappann með því að snúa honum rangsælis (Mynd 46).
Note: Geymið botntappann og pakkninguna til að setja aftur upp í skrefi 6.
Note: Leyfið öllum vökvanum að renna af sambyggðum gírkassa og drifi.
Setjið upp og herðið botntappann og pakkninguna í afrennslisopi gírkassans (Mynd 46).
Note: Fargið notuðum vökva á viðurkenndri endurvinnslustöð.
Fyllið á geyminn (Mynd 47) í gegnum áfyllingaropið með u.þ.b. 1,4 l af tilgreindum vökva eða þar til vökvahæðin í gírkassanum hefur náð upp að neðri brún gengjanna. (Mynd 46).

Setjið upp og herðið áfyllingartappann og pakkninguna í áfyllingaropi gírkassans (Mynd 46).
Gangsetjið vélina og notið vinnubílinn.
Athugið vökvahæðina og bætið við meiri vökva ef hæðin nær ekki upp að gengjum áfyllingaropsins (Mynd 46).
| Tíðni viðhaldsþjónustu | Viðhaldsferli |
|---|---|
| Fyrir hverja notkun eða daglega |
|
| Á 100 klukkustunda fresti |
|
Þegar verið er að sinna reglubundnu viðhaldi og/eða bilanagreiningu á vél þarf að setja sambyggðan gírkassa og drif í HLUTLAUSAN gír (Mynd 48). Vélin er með HLUTLAUSAN gír á gírstönginni, sem er hlutlaus staða í sambyggðum gírkassa og drifi. Framkvæmið eftirfarandi skref til að ganga úr skugga um að hlutlausa gírstöngin stjórni hlutlausa gír sambyggða gírkassans og drifsins á réttan hátt:
Setjið gírskiptinguna í HLUTLAUSAN GíR
Gangið úr skugga um að hlutlausa festingin sé í HLUTLAUSUM gír (samhliða vírfestingunni undir gírfestingunni) með því að snúa kúplingunni (Mynd 48).
Note: Vinnubílinn á ekki að renna fram og til baka. Ef það gerist skal færa hlutlausu festinguna handvirkt í HLUTLAUSA stöðu.

Snúið annarri lásrónni (Mynd 48) þar til 0,762 til 1,524 mm bil myndast milli neðsta hluta róar/skinnu og hlutlausrar festingar.
Note: Halda verður snittaða skaftinu fyrir neðan festinguna þegar lásrónni er komið fyrir að ofan.
Snúið hinni lásrónni þar til 0,76 til 1,52 mm bil myndast milli neðsta hluta róar/skinnu og hlutlausrar festingar.
Togið upp báða gírskiptingarkaplana og gangið úr skugga um að það sé 0,76 til 1,52 mm bil á milli róar/skinnu og hlutlausrar festingar (Mynd 49).
Note: Ef bil er ekki til staðar skal stilla rærnar til að ná tilgreindu bili.

Gangsetjið vélina og skiptið í FRAMGíR, BAKKGíR og HLUTLAUSAN GíR nokkrum sinnum til að ganga úr skugga um að hlutlausa festingin virki rétt.
| Tíðni viðhaldsþjónustu | Viðhaldsferli |
|---|---|
| Fyrir hverja notkun eða daglega |
|
Fylgjast skal daglega með virkni kúplingarinnar til að tryggja rétta skiptingu. Ef gírskiptingin er treg eða stirð, eða kúplingin fer ekki alveg í hlutlausan í lausagangi, þarf að hreinsa kúplinguna.
Note: Hreinsið óhreinindi sérstaklega í og við hreyfanlega hluta.
Leggið vinnuvélinni á jafnsléttu, setjið stöðuhemilinn á, drepið á vélinni og takið lykilinn úr.
Lyftið pallinum og festið hann tryggilega.
Fjarlægið óhreinindi og leðju sem hafa safnast upp á kúplingunni með vatni og þurrkið kúplinguna strax með þrýstilofti til að fjarlægja umframvatn og óhreinindi.
Note: Óhreinindi sem eftir verða má fjarlægja með hraðþornandi hreinsi fyrir rafsnertur.
| Tíðni viðhaldsþjónustu | Viðhaldsferli |
|---|---|
| Á 200 klukkustunda fresti |
|
Note: Ef vélin er notuð með óhreinni kúplingu getur það aukið slit á innri íhlutum.
Leggið vinnuvélinni á jafnsléttu, setjið stöðuhemilinn á, drepið á vélinni og takið lykilinn úr.
Lyftið pallinum og festið hann tryggilega.
Fjarlægið kragaboltana sex sem festa kúplingshlífina.
Leggið lokið, stöðuhólkinn og gorminn til hliðar (Mynd 50).

Fjarlægið óhreinindi og leðju með vatni og þurrkið strax með þrýstilofti til að fjarlægja umframvatn og óhreinindi.
Fjarlægið öll óhreinindi sem eftir kunna að sitja með hraðþornandi hreinsi fyrir rafsnertur eða bremsuhreinsi.
Note: Fjarlægið óhreinindi í og í kringum hreyfanlega hluta.
Ef rusl eða óhreinindi hafa safnast upp í kringum reimina eða meðfram kúplingsöxlinum skaltu nota fínan slípikubb eða sambærilegt efni til að fjarlægja það.
Setjið gorminn, kúplingshlífina og flanshausbolti á.
Herðið boltana í 12 til 13,5 N (105 til 120 in-lb).
Inntaka kælivökva vélar getur valdið eitrun; geymið þar sem börn og gæludýr ná ekki til.
Heitur kælivökvi sem sprautast út eða snerting við heitan vatnskassa og nærliggjandi hluti getur valdið alvarlegum brunasárum.
Bíðið alltaf með að fjarlægja vatnskassalokið í minnst 15 mínútur á meðan vélin kólnar.
Notið tusku þegar vatnskassalokið er skrúfað laust og opnið lokið rólega til að hleypa gufu út.
Ekki vinna á vinnubílnum án hlífa á viðeigandi stöðum.
Haldið fingrum, höndum og klæðnaði í öruggri fjarlægð frá viftu og drifreim á hreyfingu.
Drepið á vélinni og takið lykilinn úr áður en viðhaldi er sinnt.
| Tíðni viðhaldsþjónustu | Viðhaldsferli |
|---|---|
| Á 100 klukkustunda fresti |
|
Important: Notkun vélarinnar með stíflaðri snúningshlíf, óhreinum eða stífluðum kælifönum eða án kælihlífa á sínum stað veldur ofhitnun og skemmdum á vélinni.
Important: Aldrei skal hreinsa vélina með háþrýstidælu vegna þess að vatnið gæti komist í eldsneytiskerfið.
Hreinsið snúningshlíf, kælifanir og ytra byrði vélarinnar.
Note: Hreinsið íhluti kælingar oftar þegar unnið er við mjög rykugar og óhreinar aðstæður.
| Tíðni viðhaldsþjónustu | Viðhaldsferli |
|---|---|
| Fyrir hverja notkun eða daglega |
|
Note: Notið 50/50 blöndu af frostlög og vatni sem kælivökva.
Leggið vinnuvélinni á jafnsléttu, slökkvið á vélinni, setjið stöðuhemilinn á, drepið á vélinni og takið lykilinn úr.
Fjarlægið lokið af yfirfallstanki vatnskassans (Mynd 51).
Ef kælivökvinn er undir lágmarki skal fylla á tankinn að neðri brún áfyllingarstútsins.
Note: Ekki yfirfylla.
Setjið lokið aftur á yfirfallstank vatnskassans og þurrkið upp ef eitthvað hefur lekið niður.
| Tíðni viðhaldsþjónustu | Viðhaldsferli |
|---|---|
| Á 1.000 klukkustunda fresti |
|
Þegar vélin hefur verið í gangi er hætta á að heitur kælivökvi undir þrýstingi leki úr og valdi brunasárum.
Ekki opna vatnskassalokið þegar vélin er í gangi.
Leyfið vélinni að kólna í a.m.k. 15 mínútur eða þar til vatnskassalokið hefur kólnað nægilega til að hægt sé að snerta það án þess að brenna sig.
Notið tusku þegar vatnskassalokið er skrúfað laust og opnið lokið rólega til að hleypa gufu út.
Note: Notið 50/50 blöndu af frostlög og vatni sem kælivökva.
Leggið vinnuvélinni á jafnsléttu, slökkvið á vélinni, setjið stöðuhemilinn á, drepið á vélinni og takið lykilinn úr.
Takið áfyllingarlokið (Mynd 51) af og fyllið á kælivökva.

Setjið áfyllingarlokið aftur á og fjarlægið lokið af yfirfallstanki vatnskassans (Mynd 51).
Note: Takið aldrei bæði lokin af í einu, þar sem það getur haft neikvæð áhrif á áfyllingu tanksins.
Bætið kælivökva á þar til hann nær upp að neðri brún áfyllingarstútsins.
Setjið lokið aftur á yfirfallstank vatnskassans og þurrkið upp ef eitthvað hefur lekið niður.
| Tíðni viðhaldsþjónustu | Viðhaldsferli |
|---|---|
| Á 100 klukkustunda fresti |
|
Important: Hemlar eru mikilvægir öryggisíhlutir vinnubílsins. Skoðið hemlana gaumgæfilega samkvæmt áætluðu viðhaldsbili til að tryggja hámarksafköst og öryggi.
Skoðið hemlaborðana m.t.t. slits eða skemmda. Ef þykkt borða (hemlaklossi) er undir 1,6 mm skal skipta um hemlaborða.
Skoðið bakplötuna og aðra íhluti m.t.t. óeðlilegs slits eða aflögunar. Skiptið um alla íhluti sem hafa aflagast.
Athugið hæð hemlavökvans; sjá Athugun á hæð hemlavökvans.
| Tíðni viðhaldsþjónustu | Viðhaldsferli |
|---|---|
| Á 200 klukkustunda fresti |
|
Fjarlægið gripið af stöðuhemilsstönginni (Mynd 52).

Losið um stilliskrúfuna sem festir stillihnúða hemils við stöðuhemilsstöngina (Mynd 52).
Snúið stillihnúða hemils þar til 133 til 156 N krafti er náð til að tengja stöðuhemilsstöngina (Mynd 52).
Note: Ef stillihnúða hemils hefur verið snúið alla leið og ekki næst 133 til 156 N kraftur sem þarf til að tengja stöðuhemilsstöngina skal stilla hemlavírana; sjá Stilling hemlavíra.
Herðið stilliskrúfuna og setjið gripið á (Mynd 52).
Fjarlægið gripið af stöðuhemilsstönginni (Mynd 52).
Losið um stilliskrúfuna (Mynd 52) sem festir stillihnúða hemils við stöðuhemilsstöngina, aftengið stöðuhemilinn og losið um stillihnúða hemilsins.
Neðst á vinnuvélinni skal losa um aftari lásróna fyrir snittaðan stilli stöðuhemilsvírsins um 4 snúninga (Mynd 53).

Herðið fremri lásróna (Mynd 53).
Snúið hnúðnum (Mynd 52) þar til 133 til 156 N af afli er krafist til að hreyfa stöngina.
Ef ekki er hægt að stilla stillihnúða hemilsins með því að losa um hann og tengja stöðuhemilsstöngina með 133 til 156 N krafti skal gera eftirfarandi:
Losið um fremri lásróna (Mynd 53) fyrir snittaðan stilli stöðuhemilsvírsins um 1 snúning.
Herðið aftari lásróna (Mynd 53).
Snúið hnúðnum (Mynd 52) þar til 133 til 156 N af afli er krafist til að hreyfa stöngina.
Endurtakið skref 1 til 3 allt að tvisvar sinnum til að ná stöðuhemilskrafti á bilinu 133 til 156 N.
Ef ekki er hægt að stilla stillihnúða hemilsins með því að herða hann og tengja stöðuhemilsstöngina með 133 til 156 N krafti skal gera eftirfarandi:
Losið um aftari lásróna (Mynd 53) fyrir snittaðan stilli stöðuhemilsvírsins um 1 snúning.
Herðið fremri lásróna (Mynd 53).
Snúið hnúðnum (Mynd 52) þar til 133 til 156 N af afli er krafist til að hreyfa stöngina.
Endurtakið skref 1 til 3 allt að þrisvar sinnum til að ná stöðuhemilskrafti á bilinu 133 til 156 N.
Note: Ef ekki er hægt að stilla stöðuhemilsvírinn nógu mikið til að ná stillihnúða hemilsins inn fyrir stillisviðið skal athuga hvort óeðlilegt slit sé á bremsuklossunum.
Herðið stilliskrúfuna og setjið gripið á (Mynd 52).
| Tíðni viðhaldsþjónustu | Viðhaldsferli |
|---|---|
| Fyrir hverja notkun eða daglega |
|
Gerð hemlavökva: DOT 3
Leggið vinnubílnum á jafnsléttu.
Setjið stöðuhemilinn á.
Drepið á vélinni og takið lykilinn úr.
Opnið vélarhlífina til að fá aðgang að höfuðhemladælunni og geyminum (Mynd 54).

Lítið eftir vökvastöðu á hlið geymisins (Mynd 55).
Note: Hæðin ætti að vera yfir lágmarkslínunni.

Ef vökvastaða er lág skal gera eftirfarandi:
Lokið hlífinni.
| Tíðni viðhaldsþjónustu | Viðhaldsferli |
|---|---|
| Á 1.000 klukkustunda fresti |
|
Hafið samband við viðurkenndan dreifingaraðila Toro.
| Tíðni viðhaldsþjónustu | Viðhaldsferli |
|---|---|
| Eftir fyrstu 8 klukkustundirnar |
|
| Á 200 klukkustunda fresti |
|
Leggið vinnubílnum á jafnsléttu, setjið stöðuhemilinn á, drepið á vélinni og takið lykilinn úr.
Lyftið pallinum og festið hann með stífunni.
Setjið gírskiptinguna í HLUTLAUSAN GíR.
Snúið og skoðið reimina (Mynd 56) m.t.t. óeðlilegs slits eða skemmda.
Note: Skiptið um reimina ef hún er mjög slitin eða skemmd; sjá Skipt um reim.

Látið pallinn síga.
Lyftið pallinum.
Setjið gírkassann í HLUTLAUSA stöðu, setjið stöðuhemillinn á, svissið AF og takið lykilinn úr.
Snúið og þræðið reiminni yfir aukakúplinguna (Mynd 56).
Fjarlægið reimina af aðalkúplingunni (Mynd 56).
Note: Fargið gömlu reiminni.
Komið nýju reiminni í stöðu yfir aðalkúplingunni (Mynd 56).
Snúið og þræðið reimina yfir aukakúplinguna (Mynd 56).
Látið pallinn síga.
Note: Athugið aðeins stuðpúðann fyrir beltisspennu ef verið er að bilanagreina titring, gera upp vélina eða ef vélarfesting hefur bilað.
Bilið við stuðpúða beltsins (Mynd 57) á að vera 2,2 mm (0,09 tommur).
Ef stuðarinn er of nálægt vélarfestingunni veldur reimin of miklum titringi, ef stuðarinn er of langt frá vélarfestingunni veldur reimin skaðlegu álagi á vélina.
Til að stilla bilið skal losa kragaboltana þrjá sem halda festingunni við grindina og færa festinguna eins og þörf krefur.
Þegar bilið er rétt skal herða kragaboltana þrjá.

Ef klinkan á pallinum er vanstillt hristist pallurinn upp og niður þegar vinnubílnum er ekið. Hægt er að stilla klinkustoðirnar til að klinkurnar haldi pallinum þétt að undirvagninum.
| Tíðni viðhaldsþjónustu | Viðhaldsferli |
|---|---|
| Fyrir hverja notkun eða daglega |
|
Notið eingöngu vatn eða mild hreinsiefni til að þrífa vinnubílinn eftir þörfum. Nota má tusku til að þrífa vinnubílinn.
Important: Ekki nota ísalt vatn eða hreinsað vatn til að þrífa vinnubílinn.
Important: Ekki nota háþrýstibúnað til að þrífa vinnubílinn. Þvottur með háþrýstibúnaði getur skemmt rafkerfið, losað um mikilvægar merkingar eða skolað í burtu mikilvægri smurfeiti af núningsstöðum. Forðist mikla notkun vatns, sérstaklega nærri stjórnborðinu, vélinni og rafgeyminum.
Important: Þrífið ekki vinnubílinn með vélina í gangi. Þrif á vinnubílnum þegar vélin er í gangi getur valdið skemmdum á innri vélaríhlutum.
Drepið á vélinni, takið lykilinn úr og bíðið þar til allir hlutar hafa stöðvast áður en farið er úr ökumannssætinu. Leyfið vinnubílnum að kólna áður en hann er stilltur, þjónustaður, þrifinn eða settur í geymslu.
Geymið ekki vinnuvélina eða eldsneytisílát nærri óvörðum loga, neistaflugi eða kveikiloga, á borð við vatnshitara eða önnur heimilistæki.
| Tíðni viðhaldsþjónustu | Viðhaldsferli |
|---|---|
| Eftir fyrstu 50 klukkustundirnar |
|
| Á 200 klukkustunda fresti |
|
| Á 400 klukkustunda fresti |
|
| Á 600 klukkustunda fresti |
|
Leggið vinnubílnum á jafnsléttu, setjið stöðuhemilinn á, drepið á vélinni og takið lykilinn úr.
Hreinsið óhreinindi og gróm af vinnubílnum, þ.m.t. af ytra byrði vélar.
Skoðið hemlana; sjá Hemlaskoðun.
Skiptið um loftsíuna; frekari upplýsingar eru í Unnið við loftsíuna.
Þéttið inntak loftsíu og útblástursúttak með veðurþolnu límbandi.
Skiptið um smurolíu; sjá Smurolíuvinna.
Skolið eldsneytisgeyminn með nýju og hreinu eldsneyti.
Herðið öll tengi eldsneytiskerfisins.
Kannið þrýsting í hjólbörðum; sjá Þrýstingur hjólbarða kannaður.
Athugið frostlöginn og fyllið á með 50/50 lausn af vatni og frostlegi eftir þörfum miðað við áætlað lágmarkshitastig á vinnusvæðinu.
Fjarlægið rafgeyminn úr vinnubílnum og hlaðið hann að fullu; sjá Hleðsla rafgeymis.
Note: Ekki tengja rafgeymiskaplana við rafgeymaskautin við geymslu.
Important: Hlaða verður rafgeyminn að fullu til að koma í veg fyrir að hann frjósi og skemmist við lægra hitastig en 0°C. Fullhlaðin rafgeymir heldur hleðslu sinni í um það bil 50 daga við lægra hitastig en 4°C. Ef hitastigið mun fara undir 4°C skal hlaða hann á 30 daga fresti.
Skoðið og herðið alla bolta, rær og skrúfur. Gerið við eða skiptið um skemmda hluta.
Lakkið yfir rispaða eða óvarða málmfleti.
Note: Lakk fæst hjá næsta viðurkennda þjónustu- og söluaðila.
Geymið vinnuvélina í hreinni, þurri vélageymslu eða geymslusvæði.
Breiðið yfir vinnuvélina til að verja hana og halda hreinni.