Entretien
Note: Les côtés gauche et droit de la machine sont déterminés d'après la position d'utilisation normale.
Consignes de sécurité pendant l'entretien
-
Garez la machine sur une surface plane et horizontale, débrayez les commandes, serrez le frein de stationnement, coupez le moteur, retirez la clé et débranchez le fil de la bougie. Attendez l'arrêt de toutes les pièces mobiles avant de quitter la position d'utilisation. Laissez refroidir la machine avant de la régler, d’en faire l’entretien, de la nettoyer, de la remiser ou de faire le plein de carburant.
-
Si vous laissez la clé dans le commutateur d'allumage, quelqu'un pourrait mettre le moteur en marche accidentellement et vous blesser gravement, ainsi que toute personne à proximité. Retirez la clé du commutateur avant tout entretien.
-
Ne confiez jamais l'entretien de la machine à des personnes non qualifiées.
-
Tournez le coupe-batterie en position HORS TENSION et débranchez le fil de la bougie avant d'entreprendre des réparations. Débranchez la borne négative de la batterie avant la borne positive. Rebranchez la borne positive avant la borne négative.
-
Maintenez toujours les protections, les capots, les contacteurs et tous les dispositifs de sécurité en place et en bon état de marche. Contrôlez fréquemment l'usure ou la détérioration des composants et remplacez-les par des pièces Toro d'origine si nécessaire.
Attention
Le retrait d’équipements, de pièces et/ou d'accessoires d'origine peut modifier la garantie, la maniabilité et la sécurité de la machine. Les modifications non autorisées de l’équipement d'origine ou l'utilisation de pièces autres que des pièces Toro d'origine peuvent entraîner des blessures graves ou mortelles. Toute modification non autorisée de la machine, du moteur, du système d'alimentation ou de dégazage peut contrevenir aux normes de sécurité applicables, telles que ANSI, OSHA et NFPA et/ou à la réglementation gouvernementale, telle que EPA et CARB.
-
Examinez les lames avec précaution. Manipulez toujours les lames avec des gants ou en les enveloppant dans un chiffon, et toujours avec prudence. Remplacez toujours les lames défectueuses. N'essayez jamais de les redresser ou de les souder.
-
Ne vous fiez pas uniquement aux crics mécaniques ou hydrauliques comme soutien. Utilisez des chandelles adéquates.
-
Libérez la pression emmagasinée dans les composants avec précaution.
-
N'approchez jamais les mains ou les pieds des pièces mobiles ou des surfaces chaudes. Dans la mesure du possible, évitez d'effectuer des réglages sur la machine quand le moteur tourne.
-
Maintenez toutes les pièces en bon état de marche et toutes les fixations bien serrées, en particulier les fixations des lames.
Programme d'entretien recommandé
| Périodicité d'entretien | Procédure d'entretien |
|---|---|
| Après les 5 premières heures de fonctionnement |
|
| Après les 50 premières heures de fonctionnement |
|
| Après les 100 premières heures de fonctionnement |
|
| À chaque utilisation ou une fois par jour |
|
| Toutes les 40 heures |
|
| Toutes les 50 heures |
|
| Toutes les 100 heures |
|
| Toutes les 160 heures |
|
| Toutes les 250 heures |
|
| Toutes les 500 heures |
|
| Une fois par an |
|
Important: Reportez-vous au manuel du propriétaire du moteur pour toutes procédures d'entretien supplémentaires.
Prudence
Si vous laissez la clé dans le commutateur d'allumage, quelqu'un pourrait mettre le moteur en marche accidentellement et vous blesser gravement, ainsi que toute personne à proximité.
Coupez le moteur et enlevez la clé du commutateur d'allumage avant d'effectuer un entretien.
Procédures avant l'entretien
Utilisation du coupe-batterie
Situé sous le panneau d’accès du capot, sur le côté droit de la machine.

-
Garez la machine sur une surface plane et horizontale, désengagez la PDF et écartez les leviers de commande de déplacement vers l'extérieur en position de STATIONNEMENT.
-
Avant de quitter la position d'utilisation, coupez le moteur, retirez la clé et attendez l'arrêt complet de toutes les pièces mobiles.
-
Tournez le coupe-batterie en position SOUS TENSION ou HORS TENSION.
Contrôle du serrage des fixations
| Périodicité d'entretien | Procédure d'entretien |
|---|---|
| À chaque utilisation ou une fois par jour |
|
-
Garez la machine sur une surface plane et horizontale, désengagez la PDF et écartez les leviers de commande de déplacement vers l'extérieur en position de STATIONNEMENT.
-
Avant de quitter la position d'utilisation, coupez le moteur, retirez la clé et attendez l'arrêt complet de toutes les pièces mobiles.
-
Vérifiez visuellement si la machine présente des fixations desserrées ou tout autre problème éventuel. Serrez les fixations ou remédiez le problème avant d'utiliser la machine.
Lubrification
Graissage des pivots des roues pivotantes avant
| Périodicité d'entretien | Procédure d'entretien |
|---|---|
| Une fois par an |
|
Type de graisse : graisse au lithium ou au molybdène
-
Retirez les capuchons protecteurs et réglez les pivots des roues pivotantes; voir Réglage des roulements de pivot des roues pivotantes.
Note: Terminez de graisser les pivots des roues pivotantes avant de reposer le couvre-moyeu.
-
Retirez le bouchon hexagonal.
-
Vissez un graisseur dans l'orifice.
-
Injectez de la graisse dans le graisseur jusqu'à ce qu'elle ressorte autour du roulement supérieur.
-
Retirez le graisseur de l'orifice.
-
Remettez le bouchon hexagonal et le couvre-moyeu en place.
Graissage de la machine
| Périodicité d'entretien | Procédure d'entretien |
|---|---|
| Une fois par an |
|
Note: Voir la fréquence d'entretien dans le tableau.
-
Garez la machine sur une surface plane et horizontale, désengagez la PDF et écartez les leviers de commande de déplacement vers l'extérieur en position de STATIONNEMENT.
-
Avant de quitter la position d'utilisation, coupez le moteur, retirez la clé et attendez l'arrêt complet de toutes les pièces mobiles.
-
Lubrifiez les graisseurs en injectant un à deux jets de graisse universelle NLGI n° 2 avec une pompe à graisse.
Reportez-vous au tableau suivant pour l'emplacement des graisseurs et le programme de graissage.
Tableau de graissage Emplacement des graisseurs Injections initiales Nombre d'emplacements Fréquence d'entretien 1. Moyeux des roues pivotantes avant *0 2 *Tous les ans 2. Pivots des roues pivotantes avant *0 2 *Tous les ans 3. Pivots de poulie de tension (tablier de coupe) et alternateur 1 1 Annuel 4. Moyeu de roue du sulky 0 1 Annuel * Voir l’opération 4 pour des instructions de graissage spécifiques des pivots des roues pivotantes avant, et à la section Graissage des moyeux des roues pivotantes pour des instructions de graissage spécifiques des moyeux de roues pivotantes avant.

-
Lubrifiez les pivots des roues pivotantes avant une fois par an. Retirez le bouchon hexagonal et le couvre-moyeu. Vissez le graisseur Zerk dans le trou et injectez de la graisse jusqu’à ce qu'elle ressorte par le haut du roulement. Retirez le graisseur Zerk et revissez le bouchon en place. Reposez le couvre-moyeu.
Graissage des moyeux des roues pivotantes
| Périodicité d'entretien | Procédure d'entretien |
|---|---|
| Une fois par an |
|
-
Garez la machine sur une surface plane et horizontale, désengagez la PDF et écartez les leviers de commande de déplacement vers l'extérieur en position de STATIONNEMENT.
-
Avant de quitter la position d'utilisation, coupez le moteur, retirez la clé et attendez l'arrêt complet de toutes les pièces mobiles.

-
Déposez la roue pivotante de la fourche.
-
Déposez les protège-joints du moyeu de roue.
-
Retirez les écrous d'écartement de l'arbre de la roue pivotante. Notez que du frein-filet a été appliqué pour bloquer les écrous d'écartement sur l'arbre de roue. Déposez l'arbre de la roue (en laissant l'autre écrou d'écartement en place).
-
Déposez les joints en faisant levier; vérifiez l'état et l'usure des roulements et remplacez-les au besoin.
-
Garnissez les roulements de graisse universelle NLGI n° 1.
-
Insérez 1 roulement, assorti de 1 joint neuf, dans la roue.
Note: Les joints (réf. Toro 103-0063) doivent être remplacés.
-
Si les deux écrous d'écartement ont été retirés (ou se sont détachés) de l'arbre de roue, appliquez du frein-filet sur l'un d'entre eux et vissez-le sur l'arbre de roue, méplats tournés vers l'extérieur. Ne vissez pas complètement l'écrou d'écartement au bout de l'arbre de roue. Laissez environ 3 mm (⅛ po) entre la surface extérieure de l'écrou d'écartement et l'extrémité de l'arbre de roue dans l'écrou.
-
Insérez l’écrou et l’arbre de roue assemblés dans la roue, du côté où se trouvent le roulement et le joint neuf.
-
L'extrémité ouverte de la roue étant dirigée vers le haut, garnissez la zone à l'intérieur de la roue, autour de l'arbre, de graisse universelle NLGI n° 1.
-
Insérez le second roulement, assorti d'un joint neuf, dans la roue.
-
Appliquez du frein-filet sur le filetage du second écrou d'écartement et vissez-le sur l'arbre de roue, les méplats tournés vers l'extérieur.
-
Serrez l'écrou à un couple de 8 à 9 N·m (75 à 80 po-lb), desserrez-le puis resserrez-le à un couple de 2 à 3 N·m (20 à 25 po-lb). Attention à ne pas faire dépasser l'arbre de roue de l'écrou.
-
Posez les protège-joints sur le moyeu, puis insérez la roue dans la fourche pivotante. Montez le boulon de la roue pivotante et serrez l'écrou à fond.
Important: Pour éviter les dommages au joint et au roulement, vérifiez souvent le réglage du roulement. Faites tourner la roue pivotante. Elle ne doit pas tourner librement (plus de 1 ou 2 tours) ni présenter de jeu latéral. Si la roue tourne librement, ajustez le serrage de l'écrou d'écartement jusqu'à ce que vous sentiez une légère résistance. Réappliquez du frein-filet.
Entretien du moteur
Important: Reportez-vous au manuel du propriétaire du moteur pour toutes procédures d'entretien supplémentaires.
Consignes de sécurité pour le moteur
Attention
Le moteur peut devenir très chaud, en particulier les composants du silencieux et de l'échappement. Vous pouvez vous brûler gravement au contact du moteur chaud.
Attendez que le moteur soit complètement froid avant d'effectuer des entretiens ou des réparations à proximité.
Ne modifiez pas le réglage du régulateur et ne faites pas tourner le moteur à un régime excessif.
Entretien du filtre à air
| Périodicité d'entretien | Procédure d'entretien |
|---|---|
| Toutes les 250 heures |
|
| Toutes les 500 heures |
|
-
Garez la machine sur une surface plane et horizontale, désengagez la PDF et écartez les leviers de commande de déplacement vers l'extérieur en position de STATIONNEMENT.
-
Avant de quitter la position d'utilisation, coupez le moteur, retirez la clé et attendez l'arrêt complet de toutes les pièces mobiles.
-
Voir les instructions d'entretien dans le manuel du propriétaire du moteur.
Contrôle du niveau d'huile moteur
| Périodicité d'entretien | Procédure d'entretien |
|---|---|
| À chaque utilisation ou une fois par jour |
|
-
Garez la machine sur une surface plane et horizontale, coupez le moteur de la machine et attendez l'arrêt complet de toutes les pièces mobiles.
-
Effectuez le contrôle quand le moteur est froid.
-
Nettoyez la surface autour de la jauge d'huile. Sortez la jauge et essuyez-la sur un chiffon propre. Réinsérez la jauge conformément aux recommandations du constructeur du moteur. Ressortez la jauge et contrôlez le niveau d'huile.
-
Si le niveau d'huile est trop bas, essuyez la surface autour du bouchon de remplissage, retirez le bouchon et faites l'appoint d'huile jusqu'à ce que le niveau atteigne le repère MAXIMUM sur la jauge. L'usage d'huile moteur Toro « 4-Cycle » (pour moteurs 4 temps) est recommandé; voir le Manuel du propriétaire du moteur pour connaître la classe API et la viscosité appropriées. Ne remplissez pas excessivement.
Important: Ne faites pas tourner le moteur quand le niveau d'huile est en dessous du repère MINIMUM ou au-dessus du repère MAXIMUM sur la jauge.
Vidange de l'huile moteur
| Périodicité d'entretien | Procédure d'entretien |
|---|---|
| Après les 5 premières heures de fonctionnement |
|
| Toutes les 100 heures |
|
-
Garez la machine sur une surface plane et horizontale, désengagez la PDF et écartez les leviers de commande de déplacement vers l'extérieur en position de STATIONNEMENT.
-
Avant de quitter la position d'utilisation, coupez le moteur, retirez la clé et attendez l'arrêt complet de toutes les pièces mobiles.
-
Vidangez l'huile quand le moteur vient de tourner et est encore chaud.
-
Le flexible de vidange d’huile est situé sur le côté gauche du moteur. Placez un bac de vidange sous la machine pour récupérer l'huile. Retirez le bouchon au bout du flexible de vidange. Attendez que toute l'huile soit vidangée, puis remettez le bouchon de vidange en place. Serrez la bougie à un couple de 27 à 32 N·m (20 à 24 pi-lb).
-
Remplacez le filtre à huile toutes les deux vidanges d'huile. Nettoyez la surface autour du filtre à huile et dévissez le filtre pour le déposer. Avant de poser le nouveau filtre, enduisez le joint en caoutchouc d'une fine couche d'huile moteur Toro « 4–Cycle » (pour moteur 4 temps). Vissez le filtre dans le sens horaire jusqu'à ce que le joint en caoutchouc rejoigne l'adaptateur, puis vissez-le encore d’un-demi à trois-quarts de tour.
-
Nettoyez la surface autour du bouchon de remplissage d'huile et retirez le bouchon. Versez la quantité d'huile spécifiée et remettez le bouchon en place.
-
Utilisez l’huile recommandée à la section Contrôle du niveau d'huile moteur. Ne remplissez pas excessivement. Mettez le moteur en marche et recherchez des fuites éventuelles. Coupez le moteur et vérifiez de nouveau le niveau d'huile.
Contrôle des bougies
| Périodicité d'entretien | Procédure d'entretien |
|---|---|
| Toutes les 160 heures |
|
Déposez les bougies, vérifiez leur état et corrigez l'écartement des électrodes ou remplacez-les par des neuves. Voir le manuel du propriétaire du moteur.
Contrôle du pare-étincelles
| Périodicité d'entretien | Procédure d'entretien |
|---|---|
| Toutes les 50 heures |
|
Attention
Les composants chauds du système d'échappement peuvent enflammer les vapeurs de carburant, même après l'arrêt du moteur. Les particules chaudes rejetées quand le moteur tourne peuvent enflammer les matières inflammables, et causer des dommages corporels ou matériels.
Ne faites pas le plein de carburant et ne faites pas tourner le moteur si le pare-étincelles n'est pas en place.
-
Garez la machine sur une surface plane et horizontale, désengagez la PDF et écartez les leviers de commande de déplacement vers l'extérieur en position de STATIONNEMENT.
-
Avant de quitter la position d'utilisation, coupez le moteur, retirez la clé et attendez l'arrêt complet de toutes les pièces mobiles.
-
Attendez que le silencieux soit froid.
-
Si vous constatez des fissures de la grille ou des soudures, remplacez le pare-étincelles.
-
Si la grille est colmatée, déposez le pare-étincelles et agitez-le pour détacher les particules, puis nettoyez la grille avec une brosse métallique (faites tremper la grille dans du solvant au besoin).
-
Reposez le pare-étincelles sur la sortie d'échappement.
Entretien du système d'alimentation
Danger
Dans certaines circonstances, le carburant est extrêmement inflammable et hautement explosif. Un incendie ou une explosion causé(e) par du carburant peut vous brûler, ainsi que toute personne à proximité, et causer des dommages matériels.
Vous trouverez une liste complète des consignes de sécurité liées au carburant sous Consignes de sécurité pour le carburant.
Remplacement du filtre à carburant
Fréquence d'entretien : selon les besoins
Un filtre à carburant est monté entre le réservoir de carburant et le moteur. Remplacez-le au besoin.
Note: Remontez les canalisations d'alimentation et fixez-les en place avec des attaches en plastique, en les acheminant comme à l’origine pour les maintenir à l’écart des composants qui pourraient les endommager.
Entretien du système électrique
Contrôle de la charge de la batterie –
Fréquence d'entretien : selon les besoins
Les performances et la vie des batteries seront diminuées si elles restent inutilisées pendant une période prolongée sans être rechargées. Pour préserver les performances et la durée de vie des batteries remisées, chargez-les lorsque la tension en circuit ouvert descend à 12,1 V.
Note: Pour éviter les dommages causés par le gel, chargez les batteries au maximum avant de les ranger pour l'hiver.
Chargez les batteries dans un lieu dégagé et bien aéré, à l'écart des flammes ou sources d'étincelles. Débranchez le chargeur du secteur avant de le brancher à la batterie ou de l'en débrancher. Portez des vêtements de protection et utilisez des outils isolés.
Danger
La charge de la batterie ou l'utilisation d'une batterie de secours peut produire des gaz explosifs. Les gaz dégagés par la batterie peuvent exploser et causer de graves blessures.
-
Gardez la batterie éloignée des étincelles, flammes ou cigarettes.
-
Aérez lorsque vous chargez ou utilisez la batterie dans un espace clos.
-
Le conduit de mise à l'air libre de la batterie doit toujours rester ouvert lorsque la batterie est remplie d'acide.
-
Protégez toujours le visage et les yeux de la batterie.
Danger
L'électrolyte contient de l'acide sulfurique, qui est un toxique et peut causer de graves brûlures. L'électrolyte peut causer de graves blessures au contact de la peau ou être fatale en cas d'ingestion.
-
Portez des lunettes de sécurité pour vous protéger les yeux et des gants pour vous protéger la peau et les vêtements quand vous manipulez de l'électrolyte.
-
N’avalez pas d'électrolyte.
-
En cas d'accident, rincez abondamment à l'eau et appelez immédiatement un médecin.
Prudence
Si la clé de contact est en position CONTACT, des étincelles peuvent se produire et causer l'engagement de composants. Les étincelles peuvent provoquer une explosion, ou les pièces mobiles peuvent se déplacer accidentellement et causer des blessures.
Tournez toujours le commutateur d'allumage en position ARRêT avant de charger la batterie.

-
Système de 12 V
La tension batterie est indiquée sur l’afficheur de messages si la clé de contact est tournée en position CONTACT pendant quelques secondes. Vous pouvez aussi utiliser un voltmètre numérique avec la clé en position CONTACT et le moteur coupé. Chargez la batterie jusqu’à ce que la charge atteigne 12,1 V ou plus.
-
Système de 48 V
Moteur coupé et clé en position CONTACT, contrôlez chaque batterie l’une après l’autre avec un voltmètre numérique. Chargez chaque batterie successivement jusqu’à ce que la charge atteigne 12,1 V ou plus. Les quatre batteries doivent être chargées à au moins 12,1 V, et leur tension ne doit pas varier de plus de 0,3 V l’une par rapport à l’autre. Si l’une des batteries du bloc ne répond pas à ces exigences, les quatre batteries doivent être remplacées en même temps.
Important: Lorsque vous remplacez le bloc de batteries de 48 V, utilisez 4 batteries Toro identiques (réf. 142-7345). Chargez chaque batterie successivement à un minimum de 12,1 V et assurez-vous que leur tension ne varie pas de plus de 0,3 V l’une par rapport à l’autre avant l’installation. La durée de vie des batteries sera réduite si vous ne respectez pas cette consigne.
Important: Pour éviter d'endommager la batterie, utilisez un chargeur intelligent de 12 V automatique homologué pour les batteries de type AGM, ayant une puissance de 3,5 A ou moins. Veillez à débrancher le câble négatif de la batterie avant de charger la batterie et à régler le chargeur au mode correct pour les batteries AGM 12 V.
Important: Modèles EFI : débranchez le faisceau du module ECU avant d'effectuer des travaux de soudage sur la machine.
Procédure recommandée de démarrage avec une batterie de secours –
Prudence
La corrosion ou des connexions desserrées peuvent provoquer des pointes de tension indésirables à tout moment pendant la procédure de démarrage avec la batterie de secours.
N'essayez pas de démarrer la machine avec une batterie de secours si les bornes de la batterie à plat sont desserrées ou corrodées, car vous pourriez endommager le moteur ou le système d'injection électronique (EFI).
Danger
L'utilisation d'une batterie de secours alors que la batterie à plat est fissurée, gelée, ne contient pas assez d'électrolyte ou présente un élément ouvert ou en court-circuit peut provoquer une explosion et de graves blessures.
N'utilisez pas de batterie de secours si ces conditions existent.
Prudence
Si les câbles de démarrage sont mal connectés (erreur de polarité) le système électrique et/ou EFI peut être immédiatement endommagé.
Respectez la polarité des bornes de la batterie et des câbles de démarrage lorsque vous branchez les batteries.
Attention
Les batteries contiennent de l'acide et produisent des gaz explosifs.
-
Protégez-vous toujours les yeux et le visage des batteries.
-
Ne vous penchez pas au-dessus des batteries.
-
Vérifiez si les bornes de la batterie déchargée sont corrodées (dépôt blanc, vert ou bleu) et nettoyez-les au besoin avant d'utiliser une batterie de secours pour démarrer. Nettoyez et resserrez les connexions au besoin.
-
Vérifiez que la batterie de secours est une batterie au plomb en bon état, chargée à 12,6 V ou plus. Utilisez des câbles de démarrage du bon calibre (4 à 6 AWG) suffisamment courts pour réduire la baisse de tension entre les systèmes. Assurez-vous que la couleur et l'étiquetage des câbles correspondent à la polarité.
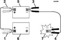
Note: Les instructions suivantes sont adaptées de la norme SAE J1494 Rév. Déc. 2001 – Battery Booster Cables – Surface Vehicle Recommended Practice (Câbles de démarrage – Pratique recommandée pour les véhicules de surface) (SAE – Society of Automotive Engineers).
Note: Vérifiez que les bouchons d'aération sont bien serrés et de niveau. Placez un chiffon humide, si vous en avez un, sur l'un des bouchons d'aération sur les deux batteries. Les deux véhicules ne doivent pas se toucher et les deux systèmes électriques doivent être hors tension et avoir la même tension nominale. Ces instructions ne concernent que les systèmes à masse négative.
-
Connectez le câble positif (+) à la borne positive (+) de la batterie à plat qui est reliée au démarreur ou au solénoïde, comme montré à la Figure 29.

-
Connectez l'autre extrémité du câble positif à la borne positive de la batterie de secours.
-
Connectez le câble négatif (–) noir à l'autre borne (négative) de la batterie de secours.
-
Faites la dernière connexion sur le bloc moteur du véhicule en panne (pas sur la borne négative de la batterie) loin de la batterie. Reculez-vous.
-
Démarrez le véhicule et débranchez les câbles dans l'ordre inverse de leur connexion (débranchez d'abord la connexion [noire] au bloc moteur).
Note: Une batterie défectueuse peut entraîner un dépassement de la tension de charge de 18,5 V. Le moteur s’arrête si la tension de charge est supérieure à 18,5 V. Coupez puis rétablissez le contact pour réinitialiser le moteur avant de redémarrer la machine.
Entretien du système d'entraînement
Contrôle de la pression des pneus
| Périodicité d'entretien | Procédure d'entretien |
|---|---|
| Toutes les 40 heures |
|

Contrôle des écrous de roues
| Périodicité d'entretien | Procédure d'entretien |
|---|---|
| Après les 100 premières heures de fonctionnement |
|
Contrôlez et serrez les écrous de roues à un couple de 108 à 122 N·m (80 à 90 pi-lb).
Vidange du liquide de transmission
| Périodicité d'entretien | Procédure d'entretien |
|---|---|
| Après les 50 premières heures de fonctionnement |
|
| Toutes les 500 heures |
|
Type de liquide : Huile synthétique HV pour moteur électrique Toro
Capacité : 150 ml (5 oz liq.)
-
Garez la machine sur une surface plane et horizontale, désengagez la PDF et écartez les leviers de commande de déplacement vers l'extérieur en position de STATIONNEMENT.
-
Avant de quitter la position d'utilisation, coupez le moteur, retirez la clé et attendez l'arrêt complet de toutes les pièces mobiles.
-
Déposez la roue.

-
Placez un bac de vidange sous la transmission.
-
Retirez les bouchons supérieur et inférieur. Laissez le liquide s'écouler.

-
Remettez en place le bouchon inférieur et serrez-le à un couple de 7 à 8 N·m (62 à 70 po-lb).
-
Retirez un bouchon latéral.
-
Versez du liquide, comme spécifié au début de cette procédure, par l'orifice supérieur jusqu'à ce que le niveau atteigne l'ouverture du bouchon latéral.

-
Remettez en place le bouchon supérieur et le bouchon latéral. Serrez-les à un couple de 7 à 8 N∙m (62 à 70 po-lb).
-
Reposez la roue et serrez les écrous de roue à un couple de 108 à 122 N·m (80 à 90 pi-lb).
-
Répétez cette procédure pour l'autre transmission.
Entretien des roues pivotantes et des roulements
Les roues pivotantes tournent sur un roulement à rouleaux supporté par une douille pour clé. L'usure sera minimale si le graisseur est toujours bien lubrifié. Par contre, l'usure sera accélérée si le roulement n'est pas suffisamment lubrifié. L'oscillation d'une roue pivotante est généralement provoquée par l'usure d'un roulement.
-
Enlevez le contre-écrou et le boulon de fixation de la roue pivotante à la fourche (Figure 34).

-
Enlevez une bague, puis sortez la douille pour clé et le roulement à rouleaux du moyeu de roue (Figure 34).
-
Enlevez l'autre bague du moyeu, puis nettoyez la graisse et les saletés éventuellement présentes dans le moyeu (Figure 34).
-
Examinez l'usure du roulement à rouleaux, des bagues, de la douille pour clé et de l'intérieur du moyeu.
Note: Remplacez les pièces endommagées ou usées (Figure 34).
-
Insérez une bague dans le moyeu (Figure 34).
-
Graissez le roulement à rouleaux et la douille pour clé, et insérez-les dans le moyeu (Figure 34).
-
Mettez la deuxième bague dans le moyeu (Figure 34).
-
Montez la roue pivotante dans la fourche à l'aide du boulon et du contre-écrou (Figure 34).
-
Serrez le contre-écrou jusqu'à ce que la base de la douille pour clé soit en appui contre l'intérieur de la fourche (Figure 34).
-
Lubrifiez le graisseur de la roue pivotante.
Entretien des courroies
Contrôle des courroies
| Périodicité d'entretien | Procédure d'entretien |
|---|---|
| Toutes les 40 heures |
|
-
Garez la machine sur une surface plane et horizontale, désengagez la PDF et écartez les leviers de commande de déplacement vers l'extérieur en position de STATIONNEMENT.
-
Avant de quitter la position d'utilisation, coupez le moteur, retirez la clé et attendez l'arrêt complet de toutes les pièces mobiles.
-
Déposez les 2 protège-courroies du tablier de coupe pour contrôler l'état des courroies principale et secondaire.
-
Vérifiez l'état de la courroie d'entrainement de l’alternateur sous le plancher moteur.
-
Vérifiez que tous les bras de poulie de tension pivotent librement.
Remplacez les courroies si elles sont usées. La courroie peut montrer les signes d'usure suivants : grincement pendant la rotation, glissement des lames pendant la coupe, bords effilochés, traces de brûlures et fissures.
Entretien des commandes
Réglage des leviers de commande de déplacement
Réglez les leviers de commande de déplacement s'ils ne sont pas alignés.
-
Garez la machine sur une surface plane et horizontale, désengagez la PDF et écartez les leviers de commande de déplacement vers l'extérieur en position de STATIONNEMENT.
-
Avant de quitter la position d'utilisation, coupez le moteur, retirez la clé et attendez l'arrêt complet de toutes les pièces mobiles.
-
Tournez le coupe-batterie en position HORS TENSION.
-
Poussez les leviers de commande de déplacement vers le bas hors de la position STATIONNEMENT.
-
Tournez la CAME jusqu’au point qui maintient la commande à sa position la plus élevée tout en permettant de la déplacer complètement vers l’avant.
-
Vérifiez que le levier ne frotte pas contre le bord du boîtier en T car il pourrait se bloquer.
-
Serrez la CAME de réglage.
-
Lorsqu’il est relâché de la position avant maximale, le levier doit retourner librement à la position point mort.
Entretien du tablier de coupe
Consignes de sécurité pour les lames
Une lame usée ou endommagée peut se briser et projeter le morceau cassé dans votre direction ou celle d'autres personnes, et infliger des blessures graves ou mortelles.
-
Vérifiez périodiquement que les lames ne sont pas excessivement usées ou endommagées.
-
Examinez les lames avec prudence. Portez des gants et procédez toujours avec précaution pendant leur entretien. Remplacez toujours les lames endommagées. N'essayez jamais de les redresser ou de les souder.
-
Sur les machines à plusieurs lames, n'oubliez pas que la rotation d'une lame peut entraîner celle des autres.
Entretien des lames
Avant le contrôle ou l'entretien des lames
-
Garez la machine sur une surface plane et horizontale, désengagez la PDF et écartez les leviers de commande de déplacement vers l'extérieur en position de STATIONNEMENT.
-
Coupez le moteur de la machine, retirez la clé, attendez l'arrêt complet de toutes les pièces mobiles avant de quitter la position d'utilisation, et débranchez le fil de chaque bougie.
Contrôle des lames
| Périodicité d'entretien | Procédure d'entretien |
|---|---|
| À chaque utilisation ou une fois par jour |
|
-
Examinez le tranchant des lames (Figure 35).
-
Si les lames sont émoussées ou présentent des indentations, déposez-les et aiguisez-les; voir Aiguisage des lames.
-
Inspectez les lames, et plus particulièrement l'ailette.
-
Remplacez immédiatement toute lame fendue, usée ou qui présente une entaille sur cette partie (Figure 35).

Détection des lames faussées
-
Tournez les lames dans le sens longitudinal.
-
Mesurez la distance entre la surface plane et le tranchant (position A) des lames (Figure 36).

-
Tournez les lames de 180°.
-
Mesurez la distance entre la surface plane et le tranchant des lames, au même endroit qu'à l'opération 2 ci-dessus.
Note: Les mesures obtenues aux opérations 2 et 3 ne doivent pas différer de plus de 3 mm (⅛ po).
Note: Si la différence est supérieure à 3 mm (⅛ po), remplacez la lame.
Attention
Une lame faussée ou endommagée peut se briser et projeter le morceau cassé dans votre direction ou celle de personnes à proximité, et causer des blessures extrêmement graves.
-
Remplacez toujours une lame faussée ou endommagée par une neuve.
-
Ne créez pas d'indentations dans les bords ou à la surface des lames, par exemple en les limant.
-
Dépose et repose des lames
| Périodicité d'entretien | Procédure d'entretien |
|---|---|
| Une fois par an |
|
-
Garez la machine sur une surface plane et horizontale, désengagez la PDF et écartez les leviers de commande de déplacement vers l'extérieur en position de STATIONNEMENT.
-
Avant de quitter la position d'utilisation, coupez le moteur, retirez la clé et attendez l'arrêt complet de toutes les pièces mobiles.
-
Levez le tablier de coupe et bloquez-le en position levée; voir Réglage de la hauteur de coupe.
-
Examinez les lames et affûtez-les ou remplacez-les au besoin.
-
Reposez les lames (si elles étaient déposées) dans l’ordre suivant :
-
Insérez la douille dans la lame en plaçant l'embase sur la face inférieure (côté herbe) de la lame.

-
Posez l'ensemble douille/lame dans l'axe.

-
Appliquez du lubrifiant sur le filetage du boulon de lame pour prévenir le grippage au besoin. Utiliser un produit antigrippant à base de cuivre de préférence. La graisse est un produit de substitution acceptable. Posez le boulon de lame et serrez-le à la main. Placez une clé sur l'écrou d'axe supérieur, puis serrez les boulons de lame à un couple de 75 à 81 N·m (55 à 60 pi-lb).
Attention
La mauvaise installation de la lame ou des composants qui la retiennent peut être dangereuse. Si toutes les pièces d'origine ne sont pas utilisées et assemblées comme indiqué, la lame ou un de ses composants peut être éjecté(e) de sous le tablier et causer des blessures graves ou mortelles.
Montez toujours les lames, les douilles et les boulons de lame Toro d'origine, comme indiqué.
-
Aiguisage des lames
-
Au moyen d'une lime, aiguisez les tranchants aux deux extrémités de la lame (Figure 39).
Note: Veillez à conserver l'angle de coupe d'origine.
Note: Limez la même quantité de métal sur chacun des deux tranchants pour ne pas déséquilibrer la lame.

-
Vérifiez l'équilibre de la lame en la plaçant sur un équilibreur (Figure 40).
Note: Si la lame reste horizontale, elle est équilibrée et peut être utilisée.
Note: Si la lame est déséquilibrée, limez un peu l'extrémité de l'ailette seulement (Figure 39).

-
Répétez cette procédure jusqu'à ce que la lame soit équilibrée.
Entretien du sulky
Inspection du sulky
| Périodicité d'entretien | Procédure d'entretien |
|---|---|
| À chaque utilisation ou une fois par jour |
|
-
Garez la machine sur une surface plane et horizontale, désengagez la PDF et écartez les leviers de commande de déplacement vers l'extérieur en position de STATIONNEMENT.
-
Avant de quitter la position d'utilisation, coupez le moteur, retirez la clé et attendez l'arrêt complet de toutes les pièces mobiles.
-
Contrôlez le serrage des fixations. Resserrez les fixations desserrées.
-
Vérifiez chaque jour l'état et l'usure. Remplacez ou réparez les pièces usées au besoin avant l'utilisation.
Contrôle de la propreté du sulky
| Périodicité d'entretien | Procédure d'entretien |
|---|---|
| À chaque utilisation ou une fois par jour |
|
Vérifiez si de la boue/des saletés se sont accumulées entre le pneu et l’aile. Éliminez les dépôts avant l'utilisation.
Note: Vous pouvez laver le sulky avec de l'eau et un détergent doux. N'utilisez pas de nettoyeur haute pression.
Réglage de la roue
Pour augmenter la garde au sol, la position de la roue de la plate-forme peut être modifiée (voir Figure 41).

Note: Pour augmenter la garde au sol afin d’obtenir des hauteurs de coupe plus élevées, élevez la plate-forme en utilisant le trou de réglage inférieur.
Réglages
Important: Garez la machine sur une surface plane et horizontale, désengagez la PDF, écartez les leviers de commande de déplacement vers l'extérieur en position STATIONNEMENT, coupez le moteur de la machine, retirez la clé et attendez l'arrêt complet de toutes les pièces mobiles avant toute opération d'entretien, de nettoyage ou de réglage de la machine.
Tension de la courroie d'entraînement de l’alternateur
La courroie d'entraînement de l’alternateur est à tension automatique, et ne nécessite donc pas de réglage.
Tension de la courroie du tablier de coupe
La courroie d'entraînement est à tension automatique et ne nécessite donc pas de réglage.
Réglage de l'embrayage électrique
L’embrayage électrique ne nécessite aucun réglage.
Réglage des roulements de pivot des roues pivotantes
| Périodicité d'entretien | Procédure d'entretien |
|---|---|
| Toutes les 500 heures |
|
-
Garez la machine sur une surface plane et horizontale, désengagez la PDF et écartez les leviers de commande de déplacement vers l'extérieur en position de STATIONNEMENT.
-
Avant de quitter la position d'utilisation, coupez le moteur, retirez la clé et attendez l'arrêt complet de toutes les pièces mobiles.
-
Déposez le couvre-moyeu de la roue pivotante et serrez le contre-écrou (Figure 42).
-
Continuez de serrer le contre-écrou jusqu'à ce que les rondelles élastiques soient aplaties, puis desserrez-le d'un quart de tour pour obtenir la précharge correcte des roulements (Figure 42).
Important: Veillez à placer les rondelles élastiques correctement, comme montré à la Figure 42.
-
Reposez le couvre-moyeu (Figure 42).

Nettoyage
Consignes de sécurité pour le nettoyage et le remisage
-
Garez la machine sur une surface plane et horizontale, débrayez les commandes, serrez le frein de stationnement, coupez le moteur, retirez la clé et débranchez le fil de la bougie. Attendez l'arrêt de toutes les pièces mobiles avant de quitter la position d'utilisation. Laissez refroidir la machine avant de la régler, d’en faire l’entretien, de la nettoyer, de la remiser ou de faire le plein de carburant.
-
Pour éviter les risques d'incendie, enlevez les brins d'herbe et autres agglomérés sur l’unité de coupe, le silencieux, les dispositifs d'entraînement, le bac à herbe et le compartiment moteur.
-
Laissez refroidir la machine avant de la ranger dans un local fermé. Ne remisez pas la machine ni les bidons de carburant, ou ne faites pas le plein, à proximité d'une flamme nue, d'une source d'étincelles ou d'une veilleuse, telle celle d'un chauffe-eau ou autre appareil.
Nettoyage des débris sur la machine
| Périodicité d'entretien | Procédure d'entretien |
|---|---|
| À chaque utilisation ou une fois par jour |
|
-
Garez la machine sur une surface plane et horizontale, désengagez la PDF et écartez les leviers de commande de déplacement vers l'extérieur en position de STATIONNEMENT.
-
Avant de quitter la position d'utilisation, coupez le moteur, retirez la clé et attendez l'arrêt complet de toutes les pièces mobiles.
-
Nettoyez les dépôts d'huile, de débris ou d'herbe sur la machine et le tablier de coupe, en particulier sous les protège-courroies du tablier de coupe, autour du réservoir de carburant, et autour du moteur et du système d'échappement.
Important: Vous pouvez laver la machine avec de l'eau et un détergent doux. N'utilisez pas de nettoyeur haute pression. N'utilisez pas trop d'eau, surtout près du panneau de commande, du moteur, de l’alternateur, de la tour ACS et des moteurs électriques.
Nettoyage de la zone autour du moteur et du système d'échappement
| Périodicité d'entretien | Procédure d'entretien |
|---|---|
| À chaque utilisation ou une fois par jour |
|
Prudence
L'accumulation de débris autour de l'entrée d'air de refroidissement du moteur et du système d'échappement peut entraîner la surchauffe du moteur, du système d'échappement et du système hydraulique, ce qui peut créer un risque d'incendie.
Éliminez tous les débris déposés sur le moteur et la zone d'échappement.
-
Garez la machine sur une surface plane et horizontale, désengagez la PDF et écartez les leviers de commande de déplacement vers l'extérieur en position de STATIONNEMENT.
-
Avant de quitter la position d'utilisation, coupez le moteur, retirez la clé et attendez l'arrêt complet de toutes les pièces mobiles.
-
Nettoyez tous les débris sur la crépine d'admission d'air du moteur, autour du carénage du moteur et du système d'échappement.
-
Essuyez les dépôts excessifs de graisse ou d'huile sur le moteur et le système d'échappement.
Nettoyage de l'herbe accumulée sous le tablier de coupe
| Périodicité d'entretien | Procédure d'entretien |
|---|---|
| À chaque utilisation ou une fois par jour |
|
-
Garez la machine sur une surface plane et horizontale, désengagez la PDF et écartez les leviers de commande de déplacement vers l'extérieur en position de STATIONNEMENT.
-
Avant de quitter la position d'utilisation, coupez le moteur, retirez la clé et attendez l'arrêt complet de toutes les pièces mobiles.
-
Levez le tablier en position de transport (hauteur de coupe maximale). Soulevez l'avant de la machine et soutenez-le avec des chandelles ou un support équivalent.
-
Nettoyez l'herbe accumulée sous le tablier de coupe et dans le déflecteur d'éjection.
Élimination des déchets
Mise au rebut de l’huile et du liquide
L'huile moteur et le liquide hydraulique sont des produits polluants. Débarrassez-vous de ces produits dans un centre de recyclage certifié, conformément à la réglementation locale et de votre état.
Mise au rebut des batteries
Danger
L'électrolyte contient de l'acide sulfurique, qui est un toxique et peut causer de graves brûlures. L'électrolyte peut causer de graves blessures au contact de la peau ou être fatale en cas d'ingestion.
-
Portez des lunettes de sécurité pour vous protéger les yeux et des gants pour vous protéger la peau et les vêtements quand vous manipulez de l'électrolyte.
-
N’avalez pas d'électrolyte.
-
En cas d'accident, rincez abondamment à l'eau et appelez immédiatement un médecin.
La loi fédérale stipule que les batteries ne doivent pas être placées avec les ordures ménagères. Les pratiques de traitement et d'élimination doivent être conformes aux stipulations de la réglementation fédérale, locale ou nationale pertinente.
Si vous remplacez la batterie ou si la machine contenant la batterie n'est plus en état de marche et doit donc être envoyée à la ferraille, retirez la batterie et portez-la dans un centre de recyclage certifié. Si aucun centre de recyclage n'est disponible localement, renvoyez la batterie à un revendeur de batterie certifié.


AVERTISSEMENT































































en bas à droite
de l’écran.


