Mantenimiento
Note: Los lados derecho e izquierdo de la máquina se determinan desde la posición normal del operador.
Seguridad en el mantenimiento
-
Aparque la máquina en una superficie nivelada, desengrane las transmisiones, ponga el freno de estacionamiento, apague el motor, retire la llave y desconecte el cable de bujía. Espere a que se detengan todas las piezas en movimiento antes de abandonar el puesto del operador. Deje que se enfríe la máquina antes de hacer trabajos de ajuste, mantenimiento, repostaje, limpieza o almacenamiento.
-
Si deja la llave en el interruptor, alguien podría arrancar el motor accidentalmente y causar lesiones graves a usted o a otras personas. Retire la llave del interruptor antes de realizar cualquier tarea de mantenimiento.
-
No permita jamás que la máquina sea revisada o reparada por personal que no esté debidamente capacitado.
-
Gire la llave de desconexión de la batería a la posición de APAGADO y desconecte el cable de bujía antes de realizar cualquier reparación. Desconecte primero el terminal negativo y luego el positivo. Vuelva a conectar primero el terminal positivo y luego, el negativo.
-
Mantenga colocados y en buenas condiciones de funcionamiento todos los protectores, defensas e interruptores y todos los dispositivos de seguridad. Compruebe frecuentemente si los componentes se han desgastado o deteriorado y sustitúyalos con piezas Toro originales cuando sea necesario.
Advertencia
La remoción o modificación de piezas y/o accesorios originales del equipo puede afectar a la garantía, la capacidad de control y la seguridad de la máquina. La modificación sin autorización del equipo original o el uso de piezas que no sean piezas originales de Toro puede causar lesiones graves o la muerte. Los cambios no autorizados en la máquina, el motor, el sistema de combustible o el sistema de ventilación pueden infringir las normas de seguridad aplicables, tales como: ANSI, OSHA y NFPA, y/o normas gubernamentales como las de EPA y CARB.
-
Tenga cuidado al revisar las cuchillas. Envuelva la(s) cuchilla(s) o lleve guantes, y extreme las precauciones al realizarles tareas de mantenimiento. Solo remplace las cuchillas dañadas. No las enderece ni las suelde nunca.
-
No use únicamente gatos mecánicos o hidráulicos para apoyar la máquina. Utilice caballetes apropiados.
-
Alivie con cuidado la tensión de aquellos componentes que tengan energía almacenada.
-
Mantenga las manos y los pies alejados de las piezas en movimiento o las superficies calientes. Si es posible, no haga ajustes mientras el motor está funcionando.
-
Mantenga todas las piezas en buenas condiciones de uso y todas las fijaciones bien apretadas, especialmente las fijaciones de las cuchillas.
Calendario recomendado de mantenimiento
| Intervalo de mantenimiento y servicio | Procedimiento de mantenimiento |
|---|---|
| Después de las primeras 5 horas |
|
| Después de las primeras 50 horas |
|
| Después de las primeras 100 horas |
|
| Cada vez que se utilice o diariamente |
|
| Cada 40 horas |
|
| Cada 50 horas |
|
| Cada 100 horas |
|
| Cada 160 horas |
|
| Cada 250 horas |
|
| Cada 500 horas |
|
| Cada año |
|
Important: Consulte en el manual del propietario del motor los procedimientos adicionales de mantenimiento.
Cuidado
Si deja la llave en el interruptor, alguien podría arrancar el motor accidentalmente y causar lesiones graves a usted o a otras personas.
Apague el motor y retire la llave del interruptor antes de realizar cualquier operación de mantenimiento.
Procedimientos previos al mantenimiento
Uso del interruptor de desconexión de la batería
Se encuentra del lado derecho de la máquina debajo del panel de acceso al capó.

-
Aparque la máquina en una superficie nivelada, desengrane la TDF y mueva las palancas de control de movimiento hacia afuera a la posición de APARCAR.
-
Apague la máquina, retire la llave y espere a que se detengan todas las piezas en movimiento antes de abandonar el puesto del operador.
-
Gire la llave de desconexión de la batería a la posición de ENCENDIDO o de APAGADO.
Compruebe que no haya fijaciones sueltas
| Intervalo de mantenimiento y servicio | Procedimiento de mantenimiento |
|---|---|
| Cada vez que se utilice o diariamente |
|
-
Aparque la máquina en una superficie nivelada, desengrane la TDF y mueva las palancas de control de movimiento hacia afuera a la posición de APARCAR.
-
Apague la máquina, retire la llave y espere a que se detengan todas las piezas en movimiento antes de abandonar el puesto del operador.
-
Realice una inspección visual de la máquina en busca de fijaciones sueltas u otros posibles problemas. Apriete las fijaciones o corrija el problema antes de accionar la máquina.
Lubricación
Lubricación de los pivotes de las ruedas giratorias delanteras
| Intervalo de mantenimiento y servicio | Procedimiento de mantenimiento |
|---|---|
| Cada año |
|
Tipo de grasa: Grasa de litio o grasa de molibdeno
-
Retire el tapón guardapolvo y ajuste los pivotes de las ruedas giratorias; consulte Ajuste de los cojinetes del pivote de las ruedas giratorias.
Note: No coloque el tapón guardapolvo hasta que termine de engrasar.
-
Retire el tapón hexagonal.
-
Enrosque un engrasador en el orificio.
-
Bombee grasa en el engrasador hasta que rezume por el cojinete superior.
-
Retire el engrasador del orificio.
-
Instale el tapón hexagonal y la tapa.
Engrasado de la máquina
| Intervalo de mantenimiento y servicio | Procedimiento de mantenimiento |
|---|---|
| Cada año |
|
Note: Consulte los intervalos de mantenimiento en la tabla.
-
Aparque la máquina en una superficie nivelada, desengrane la TDF y mueva las palancas de control de movimiento hacia afuera a la posición de APARCAR.
-
Apague la máquina, retire la llave y espere a que se detengan todas las piezas en movimiento antes de abandonar el puesto del operador.
-
Lubrique los engrasadores con una o dos aplicaciones de grasa multiuso para pistola NLGI grado 2.
Consulte en la tabla siguiente los lugares y el calendario de lubricación.
Tabla de lubricación Ubicaciones de los engrasadores Aplicaciones iniciales Cantidad de lugares Intervalo de mantenimiento 1. Cubos de ruedas giratorias delanteras *0 2 *Cada año 2. Pivotes de las ruedas giratorias delanteras *0 2 *Cada año 3. Pivotes del tensor (carcasa del cortacésped) y generador 1 1 Cada año 4. Cubo de las ruedas del patín 0 1 Cada año * Consulte el paso 4 para ver instrucciones especiales de lubricación de los pivotes de ruedas giratorias delanteras y la sección Engrase de los cubos de las ruedas giratorias para ver las instrucciones especiales de lubricación de los cubos de ruedas giratorias delanteras.

-
Lubrique los pivotes de las ruedas giratorias una vez al año. Retire el tapón hexagonal y la tapa. Enrosque el pico de lubricación en el orificio y bombee grasa hasta que mane por el cojinete superior. Retire el pico de lubricación y vuelva a enroscar el tapón en su lugar. Coloque nuevamente la tapa.
Engrase de los cubos de las ruedas giratorias
| Intervalo de mantenimiento y servicio | Procedimiento de mantenimiento |
|---|---|
| Cada año |
|
-
Aparque la máquina en una superficie nivelada, desengrane la TDF y mueva las palancas de control de movimiento hacia afuera a la posición de APARCAR.
-
Apague la máquina, retire la llave y espere a que se detengan todas las piezas en movimiento antes de abandonar el puesto del operador.

-
Retire la rueda giratoria de las horquillas de las ruedas giratorias.
-
Retire las protecciones de juntas del cubo de la rueda.
-
Retire una de las tuercas espaciadoras del eje de la rueda giratoria. Observe que las tuercas espaciadoras llevan adhesivo de roscas para pegarlas al eje. Retire el eje (con la otra tuerca espaciadora aún montada) del conjunto de la rueda.
-
Retire las juntas haciendo palanca e inspeccione si los cojinetes están desgastados o dañados; sustitúyalos si es necesario.
-
Llene los cojinetes con grasa multiuso NLGI grado 1.
-
Introduzca un cojinete y una junta nueva en la rueda.
Note: Las juntas (pieza de Toro n.º 103-0063) deben reemplazarse.
-
Si se han retirado (o si se han soltado) ambas tuercas espaciadoras del conjunto del eje, aplique un adhesivo de roscas a una tuerca espaciadora y enrósquela en el eje con los segmentos planos hacia fuera. No enrosque la tuerca espaciadora completamente en el extremo del eje. La tuerca debe sobresalir aproximadamente 3 mm (⅛") entre la superficie exterior de la tuerca espaciadora y el extremo del eje, dentro de la tuerca.
-
Introduzca el eje con la tuerca montada en él en la rueda, en el lado que contiene la junta nueva y el cojinete.
-
Con el extremo abierto de la rueda hacia arriba, llene completamente el área dentro de la rueda alrededor del eje con grasa multiuso NLGI grado 1.
-
Introduzca el segundo cojinete y una junta nueva en la rueda.
-
Aplique adhesivo de roscas a la segunda tuerca espaciadora y enrósquela sobre el eje con los segmentos planos para llave inglesa hacia fuera.
-
Apriete la tuerca a 8 a 9 N∙m (75 a 80 pulgadas-libra), afloje y luego vuelva a apretar a 2 a 3 N∙m (20 a 25 pulgadas-libra). Asegúrese de que el eje no sobresale de ninguna de las tuercas.
-
Instale los protectores de las juntas sobre el cubo de la rueda e introduzca la rueda en la horquilla. Instale el perno de la rueda y apriete la tuerca a fondo.
Important: Para evitar que se dañen el cojinete y la junta, compruebe el ajuste del cojinete a menudo. Gire la rueda. La rueda no debe girar libremente (más de una o dos vueltas), ni tener holgura lateral. Si la rueda gira libremente, ajuste el apriete de la tuerca espaciadora hasta sentir cierta resistencia. Vuelva a aplicar adhesivo para bloqueo de roscas.
Mantenimiento del motor
Important: Consulte los procedimientos adicionales de mantenimiento del manual del propietario del motor.
Seguridad del motor
Advertencia
El motor puede calentarse extremadamente, especialmente los componentes del silenciador y el escape. El contacto con un motor caliente puede causar quemaduras graves.
Deje que el motor se enfríe totalmente antes de realizar mantenimiento o efectuar reparaciones alrededor de la zona del motor.
No cambie los ajustes del regulador del motor ni haga funcionar el motor a una velocidad excesiva.
Mantenimiento del limpiador de aire
| Intervalo de mantenimiento y servicio | Procedimiento de mantenimiento |
|---|---|
| Cada 250 horas |
|
| Cada 500 horas |
|
-
Aparque la máquina en una superficie nivelada, desengrane la TDF y mueva las palancas de control de movimiento hacia afuera a la posición de APARCAR.
-
Apague la máquina, retire la llave y espere a que se detengan todas las piezas en movimiento antes de abandonar el puesto del operador.
-
Consulte las instrucciones de mantenimiento en el manual del propietario del motor.
Comprobación del nivel de aceite del motor
| Intervalo de mantenimiento y servicio | Procedimiento de mantenimiento |
|---|---|
| Cada vez que se utilice o diariamente |
|
-
Aparque la máquina en una superficie nivelada, apáguela y espere a que se detengan todas las piezas en movimiento.
-
Haga la comprobación con el motor en frío.
-
Limpie la zona alrededor de la varilla. Retire la varilla y limpie el aceite. Vuelva a colocar la varilla siguiendo las recomendaciones del fabricante del motor. Retire la varilla y observe el nivel de aceite.
-
Si el nivel de aceite es bajo, limpie la zona alrededor de la tapa de llenado, retire la tapa y llene hasta la marca que dice FULL (Lleno) de la varilla. Se recomienda aceite Toro para motores de cuatro ciclos; consulte el manual del propietario del motor para ver la calificación y viscosidad de API adecuados. No llene demasiado.
Important: No opere el motor si el nivel de aceite está por debajo de la marca LOW (Bajo) (o ADD (Añadir)) de la varilla o por encima de la marca FULL (Lleno).
Cambio del aceite del motor
| Intervalo de mantenimiento y servicio | Procedimiento de mantenimiento |
|---|---|
| Después de las primeras 5 horas |
|
| Cada 100 horas |
|
-
Aparque la máquina en una superficie nivelada, desengrane la TDF y mueva las palancas de control de movimiento hacia afuera a la posición de APARCAR.
-
Apague la máquina, retire la llave y espere a que se detengan todas las piezas en movimiento antes de abandonar el puesto del operador.
-
Drene el aceite mientras el motor aún está caliente después de usarlo.
-
La manguera de vaciado de aceite se encuentra del lado izquierdo del motor. Coloque un recipiente debajo de la máquina para recoger el aceite. Retire el tapón del extremo de la manguera de vaciado. Drene el aceite y vuelva a colocar el tapón de vaciado de aceite. Apriete el tapón a 27–32 N∙m (20–24 pies-libra).
-
Cambie el filtro de aceite cada dos cambios de aceite. Limpie la zona alrededor del filtro de aceite y desatornille el filtro para retirarlo. Antes de reinstalar un filtro nuevo, aplique una capa fina de aceite para motores de 4 ciclos de Toro en la superficie de la junta de goma. Gire el filtro en sentido horario hasta que la junta de goma toque el adaptador del filtro, luego apriete el filtro entre ½ y ¾ de vuelta más.
-
Limpie la zona alrededor de la tapa de llenado de aceite y retire la tapa. Llene hasta la capacidad establecida y vuelva a colocar la tapa.
-
Use el aceite recomendado en Comprobación del nivel de aceite del motor. No llene demasiado. Arranque el motor y compruebe que no haya fugas. Detenga el motor y compruebe el nivel de aceite otra vez.
Comprobación de las bujías del motor
| Intervalo de mantenimiento y servicio | Procedimiento de mantenimiento |
|---|---|
| Cada 160 horas |
|
Retire las bujías, compruebe su condición y ajuste la distancia entre los electrodos o cambie las bujías por otras nuevas. Consulte el manual del propietario del motor.
Inspección del parachispas
| Intervalo de mantenimiento y servicio | Procedimiento de mantenimiento |
|---|---|
| Cada 50 horas |
|
Advertencia
Los componentes calientes del sistema de escape pueden encender los vapores del combustible, incluso después de que se apague el motor. Las partículas calientes expulsadas durante la operación del motor pueden encender materiales inflamables y dar lugar a lesiones personales o daños materiales.
No reposte combustible ni ponga en marcha el motor si el parachispas no está instalado.
-
Aparque la máquina en una superficie nivelada, desengrane la TDF y mueva las palancas de control de movimiento hacia afuera a la posición de APARCAR.
-
Apague la máquina, retire la llave y espere a que se detengan todas las piezas en movimiento antes de abandonar el puesto del operador.
-
Espere a que se enfríe el silenciador.
-
Si observa roturas en la rejilla o en las soldaduras, sustituya el parachispas.
-
Si la rejilla está atascada, retire el parachispas y sacuda la rejilla para eliminar partículas sueltas, luego límpiela con un cepillo de alambre (sumérjala en disolvente si es necesario).
-
Instale el parachispas en la salida del tubo de escape.
Mantenimiento del sistema de combustible
Peligro
En ciertas condiciones, el combustible es extremadamente inflamable y altamente explosivo. Un incendio o una explosión provocados por el combustible puede causarle quemaduras a usted y a otras personas así como daños materiales.
Consulte Seguridad del combustible para obtener una lista completa de precauciones relacionadas con el sistema de combustible.
Cambio del filtro de combustible
Intervalo de mantenimiento: según sea necesario
Hay un filtro de combustible instalado entre el depósito de combustible y el motor. Cámbielo cuando sea necesario.
Note: Vuelva a instalar los tubos de combustible y sujételos con bridas de plástico según su disposición original para mantener los tubos alejados de los componentes que podrían dañarlos.
Mantenimiento del sistema eléctrico
Verificación de carga de la batería–
Intervalo de mantenimiento: según sea necesario
Si se dejan las baterías sin recargar durante un tiempo significativo se reducirá su rendimiento y su vida útil. Para conservar un rendimiento y durabilidad óptimos, recargue las baterías almacenadas cuando el voltaje en circuito abierto caiga hasta los 12.1 voltios.
Note: Para evitar daños por congelamiento, las baterías deben cargarse completamente antes de guardarlas para su almacenamiento en invierno.
Cargue las baterías en una zona abierta y bien ventilada, lejos de chispas y llamas. Desenchufe el cargador antes de conectarlo o desconectarlo de la batería. Lleve ropa protectora y utilice herramientas aisladas.
Peligro
La carga de la batería o el arranque del motor usando una batería externa puede producir gases explosivos. Los gases de la batería pueden explotar y causar lesiones graves.
-
Mantenga alejados de la batería los cigarrillos y todo tipo de chispas y llamas.
-
Ventile al cargar o utilizar la batería en un lugar cerrado.
-
Verifique que la vía de ventilación de la batería esté siempre abierta una vez que la batería se llene de ácido.
-
Proteja los ojos y la cara de la batería en todo momento.
Peligro
El electrolito de la batería contiene ácido sulfúrico, que es tóxico y puede causar quemaduras graves. La ingesta de electrolito puede ser mortal y el contacto con la piel puede provocar quemaduras graves.
-
Cuando tiene que manejar electrolito, lleve lentes de seguridad para proteger sus ojos y guantes de goma para proteger la piel y la ropa.
-
No ingiera el electrolito.
-
En caso de accidente, enjuague la zona afectada con agua y llame de inmediato a un médico.
Cuidado
Si el interruptor de encendido está en la posición de ENCENDIDO, existe la posibilidad de que se produzcan chispas y se accionen los componentes. Las chispas podrían causar una explosión o las piezas en movimiento podrían ponerse en marcha de forma accidental, lo que podría provocar lesiones personales.
Asegúrese de que el interruptor de encendido está en la posición de APAGADO antes de cargar la batería.

-
Sistema de 12 V
La tensión de la batería aparecerá en la pantalla de mensajes si la llave de encendido se coloca en la posición de ENCENDIDO durante unos segundos. También puede usar un voltímetro digital con la llave en la posición de ENCENDIDO y el motor apagado. Cargue la batería hasta que alcance una carga de 12.1 V o más.
-
Sistema de 48 V
Con el motor apagado y la llave en la posición de ENCENDIDO, inspeccione cada batería por separado con un voltímetro digital. Cargue cada batería individualmente hasta que alcance una carga de 12.1 V o más. Las cuatro baterías deben cargarse a un mínimo de 12.1 V y tener una diferencia máxima de 0.3 V una de la otra. Si alguna de las baterías del conjunto no cumple con estos requisitos, es preciso reemplazar las cuatro baterías a la vez.
Important: Al reemplazar las baterías de 48 voltios, use cuatro baterías Toro idénticas (N/P 142-7345). Cargue cada batería individualmente a un mínimo de 12.1 V y compruebe que cada batería tenga una diferencia máxima de 0.3 V una de la otra antes de instalarlas. De lo contrario, se reducirá la vida útil de las baterías.
Important: Para evitar daños a la batería, use un cargador inteligente automático de 12 voltios aprobado para uso con baterías tipo AGM con una salida de 3.5 A o menos. Compruebe que el cable negativo de la batería esté desconectado antes de cargarla y que el cargador esté en el modo correcto para baterías AGM de 12 voltios.
Important: Para máquina con inyección electrónica de combustible (Electronic Fuel Injection, EFI): desenchufe el arnés de la unidad electrónica de control (Electronic Control Unit, ECU) antes de realizar tareas de soldadura en el equipo.
Procedimiento recomendado de arranque con batería externa:
Cuidado
La corrosión o las conexiones sueltas pueden ocasionar picos de tensión eléctrica involuntarios en cualquier momento durante el procedimiento de arranque con batería externa.
No intente arrancar el motor con batería externa si los terminales de la batería están sueltos o corroídos, porque podría dañar el motor o el sistema de inyección de combustible (EFI).
Peligro
El arranque con batería externa de una batería descargada que está agrietada, congelada, tiene bajo nivel de electrolito o una celda de batería abierta/en corto puede producir una explosión que cause lesiones personales graves.
No arranque una batería descargada si existe cualquiera de estas condiciones.
Cuidado
Una mala conexión (polaridad incorrecta) de los cables de arranque puede producir daños inmediatos en el sistema eléctrico y/o EFI.
Confirme la polaridad de los terminales de la batería y de los cables pasacorriente antes de conectar los cables.
Advertencia
Las baterías contienen ácido y producen gases explosivos.
-
Proteja los ojos y la cara de la batería en todo momento.
-
No se incline sobre las baterías.
-
Inspeccione los terminales de la batería descargada en busca de corrosión ('nieve' blanca, verde o azul), que debe ser eliminada antes del arranque con batería externa. Limpie y apriete las conexiones según sea necesario.
-
Asegúrese de que la batería externa es una batería de ácido-plomo de 12.6 voltios o más, y que está en buenas condiciones y completamente cargada. Utilice cables pasacorriente de la sección correcta (4 a 6 AWG), que no sean demasiado largos a fin de reducir la caída de voltaje entre los dos sistemas. Asegúrese de que los cables están codificados por color o etiquetados con la polaridad correcta.
Note: Las instrucciones siguientes son una adaptación de las Recomendaciones sobre Cables de Baterías Externas – Vehículos de superficie – SAE J1494 Rev. Dic. 2001 de la Sociedad de Ingenieros de Automoción (SAE – Society of Automotive Engineers).
Note: Asegúrese de que los tapones de ventilación están apretados y nivelados. Coloque un paño húmedo, si tiene uno, sobre los tapones de ventilación de ambas baterías. Asegúrese de que los vehículos no están en contacto entre sí y que ambos sistemas eléctricos están desconectados y son del mismo voltaje nominal. Estas instrucciones son para sistemas de puesta a tierra negativos únicamente.
-
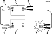
Conecte el cable positivo (+) al borne positivo (+) de la batería descargada que está conectado al motor de arranque o al solenoide, según se indica en Figura 29.

-
Conecte el otro extremo del cable positivo al borne positivo de la batería externa.
-
Conecte el cable negativo (–) negro al otro borne (negativo) de la batería externa.
-
Haga la conexión final en el bloque de motor del vehículo detenido (no al polo negativo) lejos de la batería. Apártese.
-
Arranque el vehículo y retire los cables en el orden inverso al de la conexión (desconecte primero la conexión del cable negro al bloque motor).
Note: Una batería defectuosa puede hacer que la tensión de carga supere los 18.5 V. Si una carga supera los 18.5 V, el motor se apagará. Apague el interruptor de encendido y luego enciéndalo para restablecer el motor antes de reiniciar la máquina.
Mantenimiento del sistema de transmisión
Comprobación de la presión de los neumáticos
| Intervalo de mantenimiento y servicio | Procedimiento de mantenimiento |
|---|---|
| Cada 40 horas |
|

Comprobación de las tuercas de las ruedas
| Intervalo de mantenimiento y servicio | Procedimiento de mantenimiento |
|---|---|
| Después de las primeras 100 horas |
|
Compruebe el par de apriete de las tuercas de las ruedas y apriételas a 108–122 N∙m (80–90 pies-libra).
Cambio del líquido de transmisión
| Intervalo de mantenimiento y servicio | Procedimiento de mantenimiento |
|---|---|
| Después de las primeras 50 horas |
|
| Cada 500 horas |
|
Tipo de líquido: Aceite sintético Toro para motores eléctricos de alto voltaje
Capacidad: 150 ml (5 onzas líquidas)
-
Aparque la máquina en una superficie nivelada, desengrane la TDF y mueva las palancas de control de movimiento hacia afuera a la posición de APARCAR.
-
Apague la máquina, retire la llave y espere a que se detengan todas las piezas en movimiento antes de abandonar el puesto del operador.
-
Retire el neumático.

-
Coloque un recipiente de drenaje debajo de la transmisión.
-
Retire el tapón superior y el inferior. Deje que drene el líquido.

-
Instale el tapón inferior y apriételo a 7–8 N∙m (62–70 pulgadas-libra).
-
Retire un tapón lateral.
-
Añada fluido a través del orificio superior, según lo especificado al principio de este procedimiento, hasta que el nivel llegue al orificio del tapón lateral.

-
Coloque el tapón superior y el lateral. Apriételos a 7–8 N·m (62–70 pulgadas-libra).
-
Coloque el neumático y apriete las tuercas a 108–122 N∙m (80–90 pies-libra).
-
Repita el procedimiento en la otra transmisión.
Mantenimiento de las ruedas giratorias y los cojinetes
Las ruedas giratorias giran sobre un cojinete montado en un casquillo intermedio. Si se mantiene bien lubricado el casquillo, el desgaste será mínimo. Si no se mantiene el casquillo bien lubricado, el desgaste será rápido. Si la rueda giratoria ‘baila’, normalmente es debido a que el casquillo está desgastado.
-
Retire la contratuerca y el perno que sujetan la rueda giratoria a la horquilla (Figura 34).

-
Retire uno de los casquillos, y tire del casquillo intermedio y del cojinete de rodillos para sacarlos del cubo de la rueda (Figura 34).
-
Retire el otro casquillo del cubo de la rueda y limpie la grasa y la suciedad del cubo de la rueda (Figura 34).
-
Inspeccione el cojinete de rodillos, los casquillos, el casquillo intermedio y el interior del cubo de la rueda para comprobar que no están desgastados.
Note: Repare o cambie cualquier pieza dañada o desgastada (Figura 34).
-
Coloque uno de los casquillos en el cubo de la rueda (Figura 34).
-
Engrase el cojinete de rodillos y el casquillo intermedio y deslícelos en el cubo de la rueda (Figura 34).
-
Coloque el segundo casquillo en el cubo de la rueda (Figura 34).
-
Instale la rueda giratoria en la horquilla y fíjela con el perno y la contratuerca (Figura 34).
-
Apriete la contratuerca hasta que el casquillo intermedio se apoye contra el interior de las horquillas de las ruedas giratorias (Figura 34).
-
Lubrique el engrasador de la rueda giratoria.
Mantenimiento de las correas
Inspección de las correas
| Intervalo de mantenimiento y servicio | Procedimiento de mantenimiento |
|---|---|
| Cada 40 horas |
|
-
Aparque la máquina en una superficie nivelada, desengrane la TDF y mueva las palancas de control de movimiento hacia afuera a la posición de APARCAR.
-
Apague la máquina, retire la llave y espere a que se detengan todas las piezas en movimiento antes de abandonar el puesto del operador.
-
Retire las dos protecciones de la correa de la carcasa del cortacésped para inspeccionar el estado de la correa primaria y secundaria.
-
Mire debajo de la carcasa del motor para inspeccionar el estado de la correa de transmisión del generador.
-
Inspeccione todos los brazos auxiliares para comprobar que pivotan libremente.
Cambie las correas si están desgastadas. Las señales de una correa desgastada incluyen chirridos cuando la correa está girando, el patinaje de las cuchillas durante la siega, bordes deshilachados, marcas de quemaduras o grietas en la correa.
Mantenimiento del sistema de control
Ajuste de las palancas de control de movimiento
Si las palancas de control de movimiento no queden alineadas, ajústelas.
-
Aparque la máquina en una superficie nivelada, desengrane la TDF y mueva las palancas de control de movimiento hacia afuera a la posición de APARCAR.
-
Apague la máquina, retire la llave y espere a que se detengan todas las piezas en movimiento antes de abandonar el puesto del operador.
-
Gire la llave de desconexión de la batería a la posición de APAGADO.
-
Empuje las palancas de control de movimiento hacia abajo sacándolas de la posición de APARCAR.
-
Gire la leva al punto en que sujeta la palanca en la ubicación más alta y donde aún se pueda mover a la posición completamente adelante.
-
Verifique que la palanca no roce los bordes de la caja en T ya que esto podría hacer que se agarrote.
-
Apriete la leva de ajuste.
-
Cuando se libera de la posición completamente hacia adelante, la palanca debería regresar libremente a la posición de punto muerto.
Mantenimiento de la carcasa de corte
Seguridad en el manejo de las cuchillas
Una cuchilla desgastada o dañada puede romperse, y un trozo podría ser arrojado hacia usted u otra persona, provocando lesiones personales graves o la muerte.
-
Inspeccione periódicamente las cuchillas para asegurarse de que no presentan un desgaste excesivo ni daños.
-
Tenga cuidado al comprobar las cuchillas. Lleve guantes y extreme las precauciones durante su mantenimiento. Cambie las cuchillas únicamente; no las enderece ni las suelde nunca.
-
En máquinas con múltiples cuchillas, tenga cuidado puesto que el hacer girar una cuchilla puede hacer que giren otras cuchillas.
Mantenimiento de las cuchillas
Antes de inspeccionar o realizar mantenimiento en las cuchillas
-
Aparque la máquina en una superficie nivelada, desengrane la TDF y mueva las palancas de control de movimiento hacia afuera a la posición de APARCAR.
-
Apague la máquina, retire la llave, espere a que se detengan todas las piezas en movimiento antes de abandonar el puesto del operador y desconecte los cables de bujía de las bujías.
Inspección de las cuchillas
| Intervalo de mantenimiento y servicio | Procedimiento de mantenimiento |
|---|---|
| Cada vez que se utilice o diariamente |
|
-
Inspeccione los filos de corte (Figura 35).
-
Si los filos están romos o tienen muescas, retire la cuchilla y afílela; consulte Afilado de las cuchillas.
-
Inspeccione las cuchillas, especialmente en la parte curva.
-
Si observa fisuras, desgaste o la formación de una ranura en esta zona, instale de inmediato una cuchilla nueva (Figura 35).

Verificación de la rectilinealidad de las cuchillas
-
Gire las cuchillas hasta que los extremos estén orientados hacia adelante y hacia atrás.
-
Mida desde una superficie nivelada hasta el filo de corte, posición A, de las cuchillas (Figura 36).

-
Gire hacia adelante los otros extremos de las cuchillas.
-
Mida desde una superficie nivelada hasta el filo de corte de las cuchillas en la misma posición que en el paso 2 arriba.
Note: La diferencia entre las dimensiones obtenidas en los pasos 2 y 3 no debe ser superior a 3 mm (⅛").
Note: Si esta dimensión es de más de 3 mm (⅛"), cambie la cuchilla.
Advertencia
Una cuchilla doblada o dañada podría romperse y podría causar lesiones críticas a usted o a otras personas.
-
Siempre sustituya una cuchilla doblada o dañada por una cuchilla nueva.
-
No lime ni cree muescas afiladas en los bordes o en la superficie de la cuchilla.
-
Cómo retirar e instalar las cuchillas
| Intervalo de mantenimiento y servicio | Procedimiento de mantenimiento |
|---|---|
| Cada año |
|
-
Aparque la máquina en una superficie nivelada, desengrane la TDF y mueva las palancas de control de movimiento hacia afuera a la posición de APARCAR.
-
Apague la máquina, retire la llave y espere a que se detengan todas las piezas en movimiento antes de abandonar el puesto del operador.
-
Levante la carcasa y fíjela en la posición elevada; consulte Ajuste de la altura de corte.
-
Inspeccione las cuchillas y afílelas o cámbielas según corresponda.
-
Vuelva a instalar las cuchillas (si las retiró) en el siguiente orden:
-
Instale el casquillo a través de la cuchilla con la brida del casquillo en la parte de abajo (hierba) de la cuchilla.

-
Instale el conjunto de casquillo/cuchilla dentro del eje.

-
Aplique lubricante a las roscas del perno de la cuchilla según sea necesario para evitar el gripaje. Es preferente utilizar un antigripante con base de cobre. La grasa es un sustituto aceptable. Apriete el perno de la cuchilla con la mano al instalarlo. Coloque la llave en la tuerca superior del eje y apriete los pernos de las cuchillas a 75–81 N∙m (55–60 pies-libra).
Advertencia
Una instalación incorrecta de las cuchillas o de los componentes utilizados para retener las cuchillas puede ser peligrosa. El no utilizar componentes originales y ensamblarlos según se indica podría permitir que una cuchilla o un componente de una cuchilla fuese arrojado desde debajo de la carcasa, causando lesiones personales graves o la muerte.
Instale siempre cuchillas, casquillos de las cuchillas y pernos de las cuchillas Toro originales según se indica.
-
Afilado de las cuchillas
-
Utilice una lima para afilar el filo de corte en ambos extremos de la cuchilla (Figura 39).
Note: Mantenga el ángulo original.
Note: La cuchilla permanece equilibrada si se retira la misma cantidad de material de ambos bordes de corte.

-
Verifique el equilibrio de la cuchilla colocándola sobre un equilibrador de cuchillas (Figura 40).
Note: Si la cuchilla se mantiene horizontal, está equilibrada y puede utilizarse.
Note: Si la cuchilla no está equilibrada, rebaje algo el metal en la parte de la vela solamente (Figura 39).

-
Repita este procedimiento hasta que la cuchilla esté equilibrada.
Mantenimiento del patín
Inspección del patín
| Intervalo de mantenimiento y servicio | Procedimiento de mantenimiento |
|---|---|
| Cada vez que se utilice o diariamente |
|
-
Aparque la máquina en una superficie nivelada, desengrane la TDF y mueva las palancas de control de movimiento hacia afuera a la posición de APARCAR.
-
Apague la máquina, retire la llave y espere a que se detengan todas las piezas en movimiento antes de abandonar el puesto del operador.
-
Verifique que no haya fijaciones sueltas. Apriete las fijaciones sueltas.
-
Inspeccione a diario en busca de desgaste y daños. Cambie o repare las piezas desgastadas según sea necesario antes de trabajar.
Verificación de acumulaciones en el patín
| Intervalo de mantenimiento y servicio | Procedimiento de mantenimiento |
|---|---|
| Cada vez que se utilice o diariamente |
|
Verifique si hay una acumulación de suciedad/barro entre el neumático y el guardafango. Elimine las acumulaciones antes de usar la máquina.
Note: El patín puede lavarse con un detergente suave y agua. No lave la máquina a presión.
Ajuste de neumático
Para lograr más distancia hasta el suelo, la rueda de la plataforma se puede reubicar (consulte Figura 41).

Note: Si precisa lograr más distancia hasta el suelo para alturas de corte más elevadas, suba la plataforma usando el orificio de ajuste de rueda inferior.
Ajustes
Important: Aparque la máquina en una superficie nivelada, desengrane la TDF y mueva las palancas de control de movimiento hacia afuera a la posición de APARCAR, apague la máquina, retire la llave y espere a que se detengan todas las piezas móviles antes de realizar tareas de mantenimiento, limpieza o hacer ajustes a la unidad.
Tensión de la correa de transmisión del generador
La correa de transmisión del generador se tensa automáticamente por lo que no hay necesidad de ajustarla.
Tensión de la correa de la carcasa
La correa de la carcasa se tensa automáticamente por lo que no hay necesidad de ajustarla.
Ajuste del embrague eléctrico
No es necesario realizar ajustes en el embrague eléctrico.
Ajuste de los cojinetes del pivote de las ruedas giratorias
| Intervalo de mantenimiento y servicio | Procedimiento de mantenimiento |
|---|---|
| Cada 500 horas |
|
-
Aparque la máquina en una superficie nivelada, desengrane la TDF y mueva las palancas de control de movimiento hacia afuera a la posición de APARCAR.
-
Apague la máquina, retire la llave y espere a que se detengan todas las piezas en movimiento antes de abandonar el puesto del operador.
-
Retire el tapón guardapolvo de la rueda giratoria y apriete la contratuerca (Figura 42).
-
Apriete la contratuerca hasta que las arandelas de muelle estén planas, luego afloje la contratuerca ¼ de vuelta para establecer la precarga correcta de los cojinetes (Figura 42).
Important: Asegúrese de que las arandelas de muelle están correctamente instaladas, como se muestra en la Figura 42.
-
Coloque el tapón guardapolvo (Figura 42).

Limpieza
Seguridad durante la limpieza y el almacenamiento
-
Aparque la máquina en una superficie nivelada, desengrane las transmisiones, ponga el freno de estacionamiento, apague el motor, retire la llave y desconecte el cable de bujía. Espere a que se detengan todas las piezas en movimiento antes de abandonar el puesto del operador. Deje que se enfríe la máquina antes de hacer trabajos de ajuste, mantenimiento, repostaje, limpieza o almacenamiento.
-
Limpie la hierba y los residuos de la unidad de corte, el silenciador, las transmisiones, el recogedor y el compartimento del motor para prevenir incendios.
-
Espere a que se enfríe la máquina antes de guardarla en un recinto cerrado. No guarde la máquina o un recipiente de combustible, ni reposte, en un lugar donde pudiera haber una llama desnuda, chispas o una llama piloto, por ejemplo en un calentador de agua u otro electrodoméstico.
Limpieza de residuos de la máquina
| Intervalo de mantenimiento y servicio | Procedimiento de mantenimiento |
|---|---|
| Cada vez que se utilice o diariamente |
|
-
Aparque la máquina en una superficie nivelada, desengrane la TDF y mueva las palancas de control de movimiento hacia afuera a la posición de APARCAR.
-
Apague la máquina, retire la llave y espere a que se detengan todas las piezas en movimiento antes de abandonar el puesto del operador.
-
Elimine cualquier acumulación de aceite, residuos o hierba de la máquina y la carcasa de corte, sobre todo debajo de los protectores de las correas de la carcasa, alrededor del depósito de combustible, y alrededor del motor y del sistema de escape.
Important: La máquina puede lavarse con un detergente suave y agua. No lave la máquina a presión. Evite el uso excesivo de agua, especialmente cerca del panel de control, en torno al motor, el generador, la torre de ACS y los motores eléctricos.
Limpieza de la zona del motor y del sistema de escape
| Intervalo de mantenimiento y servicio | Procedimiento de mantenimiento |
|---|---|
| Cada vez que se utilice o diariamente |
|
Cuidado
Una acumulación excesiva de residuos alrededor de la entrada de aire de refrigeración del motor y de la zona del sistema de escape puede hacer que el motor, el sistema de escape y el sistema hidráulico se sobrecalienten, lo que puede crear un peligro de incendio.
Elimine todos los residuos de la zona del motor y del sistema de escape.
-
Aparque la máquina en una superficie nivelada, desengrane la TDF y mueva las palancas de control de movimiento hacia afuera a la posición de APARCAR.
-
Apague la máquina, retire la llave y espere a que se detengan todas las piezas en movimiento antes de abandonar el puesto del operador.
-
Elimine cualquier residuo de la rejilla de la entrada de aire del motor, de alrededor de la cubierta del motor y de la zona del sistema de escape.
-
Limpie cualquier exceso de grasa o aceite de alrededor del motor y la zona del sistema del escape.
Limpieza de acumulación de hierba debajo de la carcasa
| Intervalo de mantenimiento y servicio | Procedimiento de mantenimiento |
|---|---|
| Cada vez que se utilice o diariamente |
|
-
Aparque la máquina en una superficie nivelada, desengrane la TDF y mueva las palancas de control de movimiento hacia afuera a la posición de APARCAR.
-
Apague la máquina, retire la llave y espere a que se detengan todas las piezas en movimiento antes de abandonar el puesto del operador.
-
Eleve la carcasa a la posición de transporte (altura de corte máxima). Levante la parte delantera de la unidad y sostenga la máquina con gatos de soporte u otro soporte equivalente.
-
Elimine cualquier acumulación de hierba de debajo de la carcasa y del deflector de descarga.
Eliminación de residuos
Eliminación de aceite y líquido
El aceite de motor y el líquido hidráulico son contaminantes medioambientales. Elimine el aceite usado en un centro de reciclaje homologado conforme a la normativa estatal y local.
Eliminación de la batería
Peligro
El electrolito de la batería contiene ácido sulfúrico, que es tóxico y puede provocar quemaduras graves. La ingesta de electrolito puede ser mortal y el contacto con la piel puede provocar quemaduras graves.
-
Cuando tiene que manejar electrolito, lleve lentes de seguridad para proteger sus ojos y guantes de goma para proteger la piel y la ropa.
-
No ingiera el electrolito.
-
En caso de accidente, enjuague la zona afectada con agua y llame de inmediato a un médico.
Según las leyes federales, las baterías no deben depositarse con la basura doméstica. Las prácticas de gestión y eliminación deben ser conformes a la legislación local, estatal o federal correspondiente.
Si va a cambiar la batería o si la unidad que contiene la batería ya no funciona y se va a desechar, lleve la batería a un centro de reciclado homologado. Si no hay un centro de reciclado en su localidad, lleve la batería a cualquier punto de venta de baterías homologado.


ADVERTENCIA































































en la esquina inferior derecha de la pantalla.


