| Wartungsintervall | Wartungsmaßnahmen |
|---|---|
| Bei jeder Verwendung oder täglich |
|
Dieses Nutzfahrzeug ist hauptsächlich für den Geländetransport von Personen und Materiallasten gedacht. Der zweckfremde Einsatz dieser Maschine kann für Sie und Unbeteiligte gefährlich sein.
Lesen Sie diese Informationen sorgfältig durch, um sich mit dem ordnungsgemäßen Einsatz und der Wartung des Geräts vertraut zu machen und Verletzungen und eine Beschädigung des Geräts zu vermeiden. Sie tragen die Verantwortung für einen ordnungsgemäßen und sicheren Einsatz des Geräts.
Besuchen Sie Toro.com, hinsichtlich Produktsicherheit und Schulungsunterlagen, Zubehörinformationen, Standort eines Händlers, oder Registrierung des Produkts.
Wenden Sie sich an den Toro Vertragshändler oder Kundendienst, wenn Sie eine Serviceleistung, Toro Originalersatzteile oder weitere Informationen benötigen. Haben Sie dafür die Modell- und Seriennummern des Fahrzeugs griffbereit. In Bild 1 ist angegeben, wo an dem Produkt die Modell- und die Seriennummer angebracht sind. Tragen Sie hier die Modell- und Seriennummern des Geräts ein.
Important: Scannen Sie mit Ihrem Mobilgerät den QR-Code auf dem Seriennummernaufkleber (falls vorhanden), um auf Garantie-, Ersatzteil- oder andere Produktinformationen zuzugreifen.

In dieser Anleitung werden zwei Begriffe zur Hervorhebung von Informationen verwendet. Wichtig weist auf spezielle mechanische Informationen hin, und Hinweis hebt allgemeine Informationen hervor, die Ihre besondere Beachtung verdienen.
Dieses Sicherheitswarnsymbol (Bild 2) wird sowohl in diesem Handbuch als auch am Fahrzeug verwendet, um wichtige Sicherheitshinweise zu kennzeichnen, die zur Vermeidung von Unfällen befolgt werden müssen. Dieses Symbol wird mit dem Signalwort Gefahr, Warnung oder Vorsicht dargestellt.
Gefahr: bezeichnet eine unmittelbar drohende Gefahr. Wenn sie nicht gemieden wird, sind Tod oder schwerste Verletzungen die Folge.
Warnung: bezeichnet eine möglicherweise drohende Gefahr. Wenn sie nicht gemieden wird, können Tod oder schwerste Verletzungen die Folge sein.
Vorsicht: bezeichnet eine möglicherweise drohende Gefahr. Wenn sie nicht gemieden wird, können leichte oder geringfügige Verletzungen die Folge sein.

Dieses Produkt erfüllt alle relevanten europäischen Richtlinien; weitere Details finden Sie in der produktspezifischen Konformitätserklärung (DOC).
Entsprechend dem California Public Resource Code Section 4442 oder 4443 ist der Einsatz des Motors in bewaldeten oder bewachsenen Gebieten ohne richtig gewarteten und funktionsfähigen Funkenfänger, wie in Section 4442 definiert, oder ohne einen Motor verboten, der nicht für die Brandvermeidung konstruiert, ausgerüstet und gewartet ist.
Die beiliegende Motoranleitung enthält Angaben zu den Emissionsbestimmungen der US Environmental Protection Agency (EPA) und den Kontrollvorschriften von Kalifornien zu Emissionsanlagen, der Wartung und Garantie. Sie können einen Ersatz beim Motorhersteller anfordern.
Wenn diese Maschine mit einem Telematikgerät ausgestattet ist, wenden Sie sich an Ihren Toro Vertragshändler, um Anweisungen zur Aktivierung des Geräts zu erhalten.
KALIFORNIEN
Warnung zu Proposition 65
Die Dieselauspuffgase und einige Bestandteile wirken laut den Behörden des Staates Kalifornien krebserregend, verursachen Geburtsschäden oder andere Defekte des Reproduktionssystems
Batteriepole, -klemmen und -zubehör enthalten Blei und Bleibestandteile. Dies sind Chemikalien, die laut den Behörden des Staates Kalifornien krebserregend sind und zu Erbschäden führen können. Waschen Sie sich nach dem Umgang mit diesen Materialien die Hände.
Dieses Produkt kann Verletzungen verursachen. Befolgen Sie zum Vermeiden von schweren Verletzungen immer alle Sicherheitshinweise.
Lesen und verstehen Sie vor dem Anlassen der Maschine den Inhalt dieser Bedienungsanleitung. Stellen Sie sicher, dass jeder, der das Produkt nutzt, weiß, wie er es benutzen muss und die Warnhinweise versteht.
Konzentrieren Sie sich immer bei der Verwendung des Fahrzeugs. Tun Sie nichts, was Sie ablenken könnte, sonst können Verletzungen oder Sachschäden auftreten.
Halten Sie Hände und Füße von beweglichen Teilen fern.
Bedienen Sie die Maschine niemals, wenn nicht alle Schutzvorrichtungen und Abdeckungen angebracht und funktionstüchtig sind.
Halten Sie Unbeteiligte, insbesondere Kinder, aus dem Arbeitsbereich fern. Die Maschine darf niemals von Kindern betrieben werden.
Halten Sie die Maschine an, stellen Sie den Motor ab, und ziehen Sie den Schlüssel ab, bevor Sie Wartungsarbeiten durchführen oder die Maschine auftanken.
Der unsachgemäße Einsatz oder die falsche Wartung
dieser Maschine kann zu Verletzungen führen. Befolgen Sie zur
Verringerung des Verletzungsrisikos diese Sicherheitshinweise und
beachten Sie das Warnsymbol
mit der Bedeutung Achtung, Warnung oder Gefahr
– Sicherheitsrisiko. Wenn diese Hinweise nicht beachtet werden,
kann es zu schweren bis tödlichen Verletzungen kommen.
![]() |
Die Sicherheits- und Bedienungsaufkleber sind für den Bediener gut sichtbar und befinden sich in der Nähe der möglichen Gefahrenbereiche. Tauschen Sie beschädigte oder verloren gegangene Aufkleber aus. |


























Note: Ermitteln Sie die linke und rechte Seite der Maschine anhand der üblichen Fahrerposition.
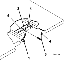
Für diesen Arbeitsschritt erforderliche Teile:
| Lenkrad | 1 |
Lösen Sie die Nasen hinten am Lenkrad, mit denen die mittlere Abdeckung befestigt ist, und nehmen Sie die Abdeckung von der Nabe des Lenkrads ab.
Entfernen Sie die Sicherungsmutter und Scheibe von der Lenkwelle.
Ziehen Sie das Lenkrad und die Scheibe auf die Welle auf.
Note: Fluchten Sie das Lenkrad auf der Welle so aus, dass die Querstrebe horizontal steht, wenn die Reifen geradeaus stehen und die dickere Speiche des Lenkrads senkrecht nach unten weist.
Note: Die Staubabdeckung wird im Werk auf die Lenkwelle gesetzt.
Befestigen Sie das Lenkrad mit der Sicherungsmutter an der Welle und ziehen diese bis auf einen Drehmoment von 24-29 N∙m fest.Bild 3
Fluchten Sie die Nasen der Abdeckung mit den Schlitzen im Lenkrad aus und lassen Sie die Abdeckung an der Lenkradnabe einrasten (Bild 3).

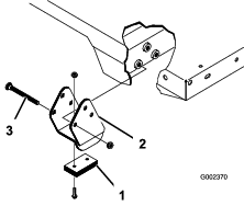
Für diesen Arbeitsschritt erforderliche Teile:
| Überrollbügel | 1 |
| Bundkopfschraube (½" x 1¼") | 6 |
Tragen Sie etwas Gewindesperrmittel auf das Schraubengewinde der sechs Bundkopfschrauben (½" x 1¼") auf.
Fluchten Sie jede Seite des Überrollschutzes mit den Befestigungslöchern an jeder Seite des Maschinenrahmens aus, wie in Bild 4 dargestellt.

Befestigen Sie die Überrollschutz-Befestigungshalterung mit drei Bundkopfschrauben (½" x 1¼") an jeder Seite des Maschinenrahmens (Bild 4).
Ziehen Sie die Bundkopfschrauben (½" x 1¼") mit einem Drehmoment von 115 N∙m an.
Prüfen Sie den Füllstand des Motoröls vor und nach dem Anlassen des Motors; siehe Prüfen des Motorölstands.
Prüfen Sie den Stand des Getriebeöls bzw. Hydrauliköls vor dem Anlassen des Motors; siehe Prüfen des Getriebeöl- bzw. des Hydraulikölstands.
Prüfen Sie den Füllstand der Bremsflüssigkeit vor dem Anlassen des Motors; siehe Prüfen der Bremsflüssigkeit
Prüfen Sie den Reifendruck; siehe Prüfen des Reifendrucks.
Fahren Sie die Bremsen vor dem Verwenden der Maschine ein, um eine optimale Leistung der Bremsanlage zu gewährleisten.
Zum Einfahren der Bremsen fahren Sie mit Höchstgeschwindigkeit, betätigen dann die Bremsen, um das Fahrzeug schnell ohne Blockieren der Reifen anzuhalten.
Wiederholen Sie diesen Vorgang 10 Mal, warten Sie 1 Minute zwischen den Stopps, damit die Bremsen nicht zu heiß werden.
Important: Hierfür sollte die Maschine am besten mit 454 kg beladen sein.
Machen Sie sich mit den Bedienelementen vertraut, bevor Sie den Motor anlassen und die Maschine bedienen.


Mit dem Fahrpedal (Bild 7) stellen Sie die Fahrgeschwindigkeit der Maschine ein, wenn ein Gang eingelegt ist. Wenn Sie auf das Fahrpedal treten, erhöhen Sie die Motordrehzahl und die Fahrgeschwindigkeit. Wenn Sie Ihren Fuß vom Fahrpedal nehmen, reduzieren Sie die Motordrehzahl und die Fahrgeschwindigkeit.

Sie müssen das Kupplungspedal (Bild 7) ganz durchtreten, um die Kupplung beim Anlassen des Motors oder dem Einlegen eines Gangs auszukuppeln. Lassen Sie das Pedal langsam kommen, wenn Sie den Gang eingelegt haben, um das Getriebe und andere Teile nicht übermäßig abzunutzen.
Important: Lassen Sie die Kupplung nicht beim Fahren schleifen. Sie müssen das Kupplungspedal ganz kommen lassen, sonst schleift die Kupplung und erzeugt Hitze und Abnutzung. Halten Sie die Maschine nie an einem Hang mit der Kupplung stationär. Die Kupplung könnte beschädigt werden.
Mit dem Bremspedal verlangsamen oder halten Sie die Maschine an (Bild 7).
Der Einsatz der Maschine mit abgenutzten oder falsch eingestellten Bremsen kann zu Verletzungen führen.
Die Bremsen müssen nachgestellt oder repariert werden, wenn das Bremspedalspiel eine Bewegung bis zu 25 mm vom Maschinenfahrzeugboden zulässt.
Treten Sie die Kupplung ganz durch und legen Sie mit dem Ganghebel (Bild 8) den gewünschten Gang ein. Ein Bild des Schaltschemas finden Sie unten.

Important: Schalten Sie das Getriebe nur in den RüCKWäRTS- oder VORWäRTSgang, wenn die Maschine stillsteht, ansonsten kann das Getriebe beschädigt werden.
Wenn Sie von einer zu hohen Geschwindigkeit nach unten schalten, können die Hinterräder rutschen. Dies bedeutet einen Verlust der Maschinenkontrolle und eine Beschädigung der Kupplung bzw. des Getriebes.
Wenden Sie beim Schalten keine Gewalt an und vermeiden Sie ein Reinwürgen der Gänge.
Die Differenzialsperre (Bild 9) ermöglicht ein Verriegeln der Hinterachse für besseren Antrieb. Sie können die Differenzialsperre aktivieren, wenn sich die Maschine bewegt.
Schieben Sie den Hebel nach vorne und rechts, um die Sperre zu aktivieren.
Note: Eine Maschinenbewegung und eine leichte Wende sind für das Aktivieren oder Deaktivieren der Differentialsperre erforderlich.
Ein Wenden bei aktivierter Differentialsperre kann zum Verlust der Fahrzeugkontrolle führen.
Setzen Sie die Maschine mit aktivierter Differentialsperre ein, wenn Sie eng wenden oder schnell fahren; siehe Einstellen des Differenzialsperrkabels

Wenn Sie den Motor abstellen, aktivieren Sie die Feststellbremse (Bild 9), damit sich die Maschine nicht aus Versehen bewegt.
Ziehen Sie zum Aktivieren der Feststellbremse den Feststellbremshebel zurück.
Drücken Sie den Hebel der Feststellbremse nach vorne, um die Feststellbremse zu lösen.
Note: Lösen Sie die Feststellbremse, bevor Sie die Maschine bewegen.
Wenn Sie die Maschine an einem steilen Gefälle abstellen, aktivieren Sie die Feststellbremse, legen Sie an einem aufsteigenden Gefälle den 1. Gang und an einem abfallenden Gefälle den RüCKWäRTSgang ein und blockieren Sie die Räder an einem abfallenden Gefälle.
Mit dem Hydraulikhub wird die Ladepritsche angehoben und abgesenkt. Schieben Sie ihn nach hinten, um die Ladepritsche anzuheben, und nach vorne, um sie abzusenken (Bild 9).
Important: Halten Sie beim Absenken der Ladepritsche den Hebel für 1 bis 2 Sekunden in der Vorwärtsstellung, wenn die Ladepritsche den Rahmen berührt, um die Ladepritsche in der abgesenkten Stellung zu verankern. Halten Sie den Hydraulikhub nicht für mehr als fünf Sekunden in der angehobenen oder abgelassenen Stellung, wenn die Zylinder das Ende des Anschlags erreicht haben.
Mit der Hydraulikhubsperre wird der Hubhebel arretiert, damit die Hydraulikzylinder nicht aktiviert werden, wenn die Maschine nicht mit einer Ladepritsche ausgestattet ist (Bild 9). Außerdem wird der Hubhebel in der EIN-Stellung arretiert, wenn die Hydraulik für Anbaugeräte verwendet wird.
Der Geschwindigkeitsbereichswählhebel stellt drei zusätzliche Geschwindigkeiten für eine genaue Geschwindigkeitsregelung bereit (Bild 9):
Sie müssen die Maschine komplett anhalten, bevor Sie zwischen dem HOHEN und NIEDRIGEN Bereich umschalten.
Schalten Sie nur auf ebener Fläche.
Treten Sie das Kupplungspedal vollständig durch.
Schieben Sie den Hebel nach vorne für HOCH und ganz nach hinten für NIEDRIG.
HOHER Bereich: Für hohe Geschwindigkeiten auf ebenem, trockenem Gelände mit geringer Nutzlast.
NIEDRIGER Bereich: Für das Fahren mit geringer Geschwindigkeit. Verwenden Sie diesen Bereich, wenn Sie mehr Leistung oder Kontrolle als normal benötigen. Beispiel: Steile Hänge, schwieriges Gelände, schwere Lasten, geringe Geschwindigkeit bei hoher Motordrehzahl (Sprühen).
Important: Es besteht eine Stellung zwischen HOCH und NIEDRIG, in der sich das Getriebe in keinem der Bereiche befindet. Verwenden Sie diese Stellung nicht als NEUTRAL-Stellung, da sich die Maschine unerwartet bewegen könnte, wenn der Geschwindigkeitsbereichswählhebel berührt wird, und der Ganghebel eingelegt ist.
Zum manuellen Aktivieren des Vierradantriebs halten Sie die Vierradantriebstaste (Bild 9) am mittleren Bedienfeld gedrückt, während sich das Fahrzeug bewegt; der Vierradantrieb wird aktiviert.
Mit dem Zündschloss (Bild 5) lassen Sie den Motor an und stellen ihn ab.
Das Zündschloss hat drei Stellungen: AUS, EIN und START. Drehen Sie das Zündschloss nach rechts in die START-Stellung, um den Anlasser zu aktivieren. Lassen Sie das Zündschloss los, wenn der Motor anspringt. Das Zündschloss geht von selbst in die EIN-Stellung.
Drehen Sie zum Abstellen des Motors das Zündschloss nach links in die AUS-Stellung.
Stellen Sie den Supervisorschalter (Bild 5) in die SLOW-Stellung und ziehen den Schlüssel ab. Der Supervisorschalter begrenzt die Motordrehzahl auf 2.200 U/min, wenn sich die Maschine im dritten Gang im Bereich HIGH befindet, wodurch die Höchstgeschwindigkeit auf 21 km/h begrenzt wird.
Der Betriebsstundenzähler (Bild 6) zeigt die Stunden an, die der Motor gelaufen hat.
Der Betriebsstundenzähler beginnt die Zeit zuerfassen, wenn Sie den Schlüsselschalter in die Stellung ON-Stellung drehen und die Motordrehzahl (U/min) in Intervallen von sechs (6) Minuten über 500 U/min liegt.
Stellen Sie den Sperrschalter für den dritten Gang (Bild 5) auf die LANGSAM-Stellung und ziehen Sie den Schlüssel ab, damit der dritte Gang nicht im HOHEN Bereich verwendet werden kann. Der Motor wird abgestellt, wenn der Schalthebel im HOHEN Bereich in den dritten Gang gelegt wird.
Note: Der Schlüssel kann in beiden Stellungen abgezogen werden.
Drücken Sie den Scheinwerferschalter (Bild 5), um die Scheinwerfer ein- oder auszuschalten.
Die Öldruckwarnleuchte (Bild 6) leuchtet auf, wenn der Öldruck bei laufendem Motor unter ein sicheres Niveau abfällt.
Important: Wenn die Leuchte an- und ausgeht oder immer aufleuchtet, halten Sie die Maschine an, stellen den Motor ab und prüfen den Ölstand. Wenn der Ölstand niedrig ist, die Lampe nach dem Auffüllen von Öl jedoch beim Anlassen des Motors nicht ausgeht, stellen Sie den Motor sofort ab und wenden Sie sich an einen autorisierten Service und Vertragshändler.
Prüfen Sie die Funktion der Warnlampen wie folgt:
Aktivieren Sie die Feststellbremse.
Drehen Sie das Zündschloss in die EIN/GLüHKERZEN-Stellung, lassen Sie jedoch nicht den Motor an.
Note: Die Öldrucklampe sollte rot aufleuchten. Wenn die Lampe nicht aufleuchtet, ist entweder die Birne durchgebrannt oder das System ist defekt und muss repariert werden.
Note: Wenn der Motor gerade abgestellt wurde, kann es ein bis zwei Minuten dauern, bis die Lampe aufleuchtet.
Die Glühkerzenlampe (Bild 6) leuchtet rot auf, wenn die Glühkerzen aktiviert sind.
Important: Die Glühkerzenlampe leuchtet für weitere 15 Sekunden auf, wenn der Schalter wieder auf die START-Stellung zurückgeht.
Die Kühlmitteltemperaturanzeige und -lampe erfasst die Temperatur des Kühlmittels im Motor. Die Lampe und Anzeige funktioniert nur, wenn das Zündschloss in der EIN-Stellung ist (Bild 6).
Die fünf Kühlmittelbalken blinken, wenn der Motor überhitzt.
Die Ladeanzeige leuchtet auf, wenn die Batterie entladen wird. Wenn die Leuchte während des Betriebs aufleuchtet, halten Sie die Maschine an und stellen den Motor ab. Prüfen Sie mögliche Ursachen, wie z. B. Lichtmaschinenriemen (Bild 6).
Important: Wenn der Lichtmaschinenriemen lose oder gebrochen ist, setzen Sie die Maschine erst wieder ein, wenn Sie die erforderliche Einstellung oder Reparatur ausgeführt haben. Ansonsten könnte der Motor beschädigt werden.
Prüfen Sie die Funktion der Warnlampen wie folgt:
Aktivieren Sie die Feststellbremse.
Drehen Sie das Zündschloss in die EIN/GLüHKERZEN-Stellung, lassen Sie jedoch nicht den Motor an. Die Leuchten für die Kühlmitteltemperatur, den Ladezustand und den Öldruck sollten aufleuchten. Wenn eine Lampe nicht aufleuchtet, ist eine Lampe durchgebrannt, oder das System weist einen Fehler auf, der repariert werden muss.
Die Benzinuhr zeigt die Kraftstoffmenge im Tank an. Funktioniert nur, wenn das Zündschloss in der EIN-Stellung ist (Bild 6).
Ein einzelner Balken zeigt einen niedrigen Kraftstoffstand an und ein blinkender Balken zeigt an, dass der Kraftstofftank fast leer ist.
Wenn der Vierradantriebschalter (Bild 5) eingeschaltet ist, wird der Vierradantrieb automatisch aktiviert, wenn der Sensor erkennt, dass sich die Hinterräder durchdrehen. Wenn der Vierradantrieb aktiviert ist, leuchtet die Lampe am Vierradantrieb-Schalter auf.
Der Vierradantrieb funktioniert nur in der Vorwärtsrichtung im Modus AUTO. Drücken Sie die Vierradantrieb-Taste, wenn Sie ihn in der RüCKWäRTSRICHTUNG aktivieren möchten.
Schalten Sie den Schalter ein, um die Hochfluss-Hydraulik zu aktivieren (Bild 5).
Der Hupenschalter befindet sich am Armaturenbrett (Bild 5). Drücken Sie auf den Hupenschalter, um einen Hupton auszulösen.
Der Tacho zeigt die Motordrehzahl an (Bild 6).
Note: 3.300 U/min ist die gewünschte Motordrehzahl für den Zapfwellenbetrieb bei 540 U/min.
Der Tachometer zeigt die Fahrgeschwindigkeit der Maschine an (Bild 6).
Halten Sie die Taste (Bild 6) 0 bis 3 Sekunden lang gedrückt und lassen Sie sie wieder los, um die Positionen von Tachometer und Drehzahlmesser zu vertauschen.
Halten Sie die Taste (Bild 6) 3 bis 10 Sekunden lang gedrückt und lassen Sie sie wieder los, um den Tachometer von mph auf km/h umzustellen.
Diese Steckdose (Bild 5) dient zum Anschluss von elektrischem Zubehör (12 Volt).
Der Beifahrerhandgriff befindet sich am Armaturenbrett (Bild 10).

Der Sitz kann je nach Ihren Bedürfnissen nach vorne und hinten verstellt werden (Bild 11).

Note: Technische und konstruktive Änderungen vorbehalten.
| Gesamtbreite | 160 cm |
| Gesamtlänge | Ohne Ladepritsche: 326 cm |
| Mit ganzer Ladepritsche: 331 cm | |
| Mit ⅔ der Ladepritsche in hinterer Befestigungsstellung: 346 cm | |
| Leergewicht (trocken) | Modell 07385: 887 kg |
| Modell 07385TC: 924 kg | |
| Modell 07387: 914 kg | |
| Modell 07387TC: 951 kg | |
| Zugelassene Kapazität (einschließlich Bedienergewicht von 91 kg, Beifahrer von 91 kg und beladenes Anbaugerät) | Modell 07385: 1.471 kg |
| Modell 07385TC: 1.435 kg | |
| Modell 07387: 1.445 kg | |
| Modell 07387TC: 1.408 kg | |
| Max. Bruttofahrzeuggewicht (zul. Gesamtgewicht) | 2.359 kg |
| Schleppkapazität | Anhängerkupplungsgewicht: 272 kg |
| Anhängerhöchstgewicht 1.587 kg | |
| Bodenfreiheit | 18 cm ohne Last |
| Radstand | 118 cm |
| Radspur (Mittellinie zu Mittellinie) | Vorne: 117 cm |
| Hinten: 121 cm | |
| Höhe | 191 cm zur Oberkante des Überrollbügels |
Ein Sortiment an Originalanbaugeräten und -zubehör von Toro wird für diese Maschine angeboten, um den Funktionsumfang des Geräts zu erhöhen und zu erweitern. Wenden Sie sich an einen offiziellen Vertragshändler oder navigieren Sie zu www.Toro.com für eine Liste der zugelassenen Anbaugeräte und des Zubehörs.
Verwenden Sie, um die optimale Leistung und Sicherheit zu gewährleisten, nur Originalersatzteile und -zubehörteile von Toro. Ersatzteile und Zubehör anderer Hersteller können gefährlich sein und eine Verwendung könnte die Garantie ungültig machen.
Lassen Sie niemals Kinder oder Personen, die nicht ausgebildet oder körperlich nicht in der Lage sind, die Maschine bedienen oder warten. Örtliche Vorschriften bestimmen u. U. das Mindestalter von Benutzern. Der Besitzer ist für die Schulung aller Bediener und Mechaniker verantwortlich.
Machen Sie sich mit dem sicheren Betrieb der Maschine sowie den Bedienelementen und Sicherheitssymbolen vertraut.
Stellen Sie vor dem Verlassen des Fahrersitzes die Maschine ab, ziehen den Schlüssel ab und warten, bis alle beweglichen Teile zum Stillstand gekommen sind. Lassen das Fahrzeug abkühlen, bevor Sie es einstellen, warten, reinigen, oder einlagern.
Sie müssen wissen, wie Sie das Fahrzeug schnell anhalten und den Motor abstellen können.
Stellen Sie sicher, dass nicht mehr Insassen (Sie und Ihr(e) Beifahrer) mitnehmen, als die Anzahl der an der Maschine angebrachten Haltegriffe.
Prüfen Sie, ob alle Sicherheitsvorrichtungen und Aufkleber angebracht sind. Reparieren oder ersetzen Sie alle Sicherheitsvorrichtungen und tauschen Sie alle unlesbaren oder fehlenden Aufkleber aus. Verwenden Sie die Maschine nur, wenn sie vorhanden und funktionsfähig sind.
Seien Sie besonders vorsichtig beim Umgang mit Kraftstoff. Kraftstoff ist brennbar und die Dämpfe sind explosiv.
Machen Sie alle Zigaretten, Zigarren, Pfeifen und andere Zündquellen aus.
Verwenden Sie nur einen vorschriftsmäßigen Benzinkanister.
Entfernen Sie nie den Tankdeckel oder füllen den Kraftstofftank, wenn der Motor läuft oder heiß ist.
Füllen Sie Kraftstoff nicht in einem geschlossenen Raum auf oder lassen ihn ab.
Lagern Sie die Maschine oder den Benzinkanister nie an Orten mit offener Flamme, Funken oder Zündflamme, z. B. Warmwasserbereiter, oder anderen Geräten.
Versuchen Sie niemals, bei Kraftstoffverschüttungen den Motor anzulassen. Vermeiden Sie Zündquellen, bis die Verschüttung verdunstet ist.
| Wartungsintervall | Wartungsmaßnahmen |
|---|---|
| Bei jeder Verwendung oder täglich |
|
Führen Sie vor dem täglichen Anlassen der Maschine die Schritte aus, die vor jeder Verwendung bzw. täglich fällig sind, die in aufgeführt sind.
| Wartungsintervall | Wartungsmaßnahmen |
|---|---|
| Bei jeder Verwendung oder täglich |
|
Vorderreifendruck: 2,20 bar
Hinterreifendruck: 1,24 bar
Important: Prüfen Sie den Reifendruck häufig, damit die Reifen immer den richtigen Druck haben. Wenn die Reifen nicht den richtigen Druck haben, werden sie frühzeitig abgenutzt, was bei Modellen mit Vierradantrieb zu Problemen führen kann.
Bild 12 zeigt ein Beispiel für eine Reifenabnutzung, die durch einen zu niedrigen Reifendruck verursacht wurde.

Bild 13 zeigt ein Beispiel für eine Reifenabnutzung, die durch einen zu hohen Reifendruck verursacht wurde.

Verwenden Sie nur sauberen, frischen Dieselkraftstoff oder Biodieselkraftstoffe mit einem niedrigen (<500 ppm) oder extrem niedrigen (<15 ppm) Schwefelgehalt. Der Cetanwert sollte mindestens 40 sein. Besorgen Sie, um immer frischen Kraftstoff sicherzustellen, nur so viel Kraftstoff, wie sie innerhalb von 180 Tagen verbrauchen können.
Verwenden Sie bei Temperaturen über -7 °C Sommerdiesel (Nr. 2-D) und bei niedrigeren Temperaturen Winterdiesel (Nr. 1-D oder Nr. 1-D/2-D-Mischung).
Bei Verwendung von Winterkraftstoff bei niedrigeren Temperaturen besteht ein niedrigerer Flammpunkt und Kaltflussmerkmale, die das Anlassen vereinfachen und ein Verstopfen des Kraftstofffilters vermeiden.
Note: Die Verwendung von Sommerdiesel über -7 °C erhöht die Lebensdauer der Pumpenteile und steigert im Vergleich zum Winterdiesel die Kraft.
Important: Verwenden Sie nie Kerosin oder Benzin anstelle von Dieselkraftstoff. Das Nichtbefolgen dieser Vorschrift führt zu Motorschäden.
Diese Maschine kann auch mit einem Kraftstoff eingesetzt werden, der bis zu B20 mit Biodiesel vermischt ist (20 % Biodiesel, 80 % Benzindiesel). Der Benzindieselkraftstoff sollte einen niedrigen oder extrem niedrigen Schwefelgehalt aufweisen. Befolgen Sie die nachstehenden Sicherheitsvorkehrungen:
Der Biodieselanteil des Kraftstoffs muss die Spezifikationen ASTM D6751 oder EN 14214 erfüllen.
Die Zusammensetzung des gemischten Kraftstoffes sollte ASTM D975 oder EN 590 erfüllen.
Biodieselmischungen können lackierte Oberflächen beschädigen.
Verwenden Sie B5 (Biodieselgehalt von 5 %) oder geringere Mischungen bei kaltem Wetter.
Prüfen Sie Dichtungen und Schläuche, die mit Kraftstoff in Kontakt kommen, da sie sich nach längerer Zeit abnutzen können.
Nach der Umstellung auf Biodieselmischungen könnte der Kraftstofffilter für einige Zeit verstopfen.
Weitere Informationen zu Biodieselmischungen erhalten Sie vom Vertragshändler.
Kraftstofftank-Fassungsvermögen: 22 Liter.
Reinigen Sie den Bereich um den Tankdeckel.
Entfernen Sie den Tankdeckel (Bild 14).

Füllen Sie den Tank fast bis zur Tankoberseite (Unterseite des Füllstutzens), setzen Sie dann den Deckel auf.
Note: Befüllen Sie den Kraftstofftank nicht zu voll.
Wischen Sie verschütteten Kraftstoff auf, um einer Brandgefahr vorzubeugen.
| Wartungsintervall | Wartungsmaßnahmen |
|---|---|
| Nach 100 Betriebsstunden |
|
Führen Sie Folgendes aus, um die richtige Leistung der Maschine zu erhalten:
Stellen Sie sicher, dass die Bremsen ordnungsgemäß eingefahren sind; siehe Einfahren der Bremsen.
Prüfen Sie den Flüssigkeits- und Motorölstand regelmäßig. Achten Sie auf Zeichen, dass die Maschine oder die Komponenten überhitzen.
Lassen Sie einen kalten Motor ca. 15 Sekunden lang nach dem Starten warm laufen.
Note: Lassen Sie den Motor bei kalten Temperaturen länger warmlaufen.
Variieren Sie die Fahrgeschwindigkeit während des Einsatzes. Vermeiden Sie schnelles Starten und Anhalten.
Ein Einfahröl für den Motor erübrigt sich. Das zuerst eingefüllte Motoröl ist das für den regelmäßigen Ölwechsel empfohlene.
Lesen Sie für mögliche Sonderanweisungen für die ersten Betriebsstunden.
| Wartungsintervall | Wartungsmaßnahmen |
|---|---|
| Bei jeder Verwendung oder täglich |
|
Die Sicherheitsschalter verhindern, dass der Motor ohne gedrücktes Kupplungspedal anspringt oder startet.
Wenn die Sicherheitsschalter abgeklemmt oder beschädigt werden, kann die Maschine auf eine unerwartete Weise funktionieren, was Verletzungen verursachen kann.
An den Sicherheitsschaltern dürfen keine Veränderungen vorgenommen werden.
Prüfen Sie die Funktion der Sicherheitsschalter täglich und tauschen Sie alle defekten Schalter vor dem Verwenden der Maschine aus.
Note: Weitere Anweisungen zum Prüfen der Sicherheitsschalters für das Anbaugerät finden Sie in der Bedienungsanleitung.
Setzen Sie sich auf den Bedienersitz und stellen Sie die Feststellbremse fest.
Schieben Sie den Schalthebel in die NEUTRAL-Stellung.
Note: Der Motor startet nicht, wenn der Hebel für den Hydraulikhub in der Vorwärtsstellung arretiert ist.
Drehen Sie ohne Durchtreten des Kupplungspedals das Zündschloss nach rechts in die START-Stellung.
Note: Wenn der Motor anspringt oder startet, ist der Sicherheitsschalter defekt und Sie müssen ihn vor dem Einsatz der Maschine reparieren.
Setzen Sie sich auf den Bedienersitz und stellen Sie die Feststellbremse fest.
Bewegen Sie den Ganghebel in die NEUTRAL-Stellung und stellen Sie sicher, dass der Hebel für den Hydraulikhub in der mittleren Stellung ist.
Treten Sie auf das Kupplungspedal.
Schieben Sie den Hydraulikhubhebel nach vorne und drehen das Zündschloss in die START-Stellung.
Note: Wenn der Motor anspringt oder startet, ist der Sicherheitsschalter defekt und Sie müssen ihn vor dem Einsatz der Maschine reparieren.
Der Besitzer bzw. Bediener ist für Unfälle oder Verletzungen von Dritten sowie Sachschäden verantwortlich und kann diese verhindern.
Passagiere sollten nur in den angegebenen Sitzpositionen sitzen. Nehmen Sie nie Passagiere in der Ladepritsche mit. Halten Sie Unbeteiligte, insbesondere Kinder, aus dem Arbeitsbereich fern.
Tragen Sie geeignete Kleidung, u. a. eine Schutzbrille, lange Hosen, rutschfeste Arbeitsschuhe und einen Gehörschutz. Binden Sie lange Haare hinten zusammen und tragen Sie keinen Schmuck oder weite Kleidung.
Konzentrieren Sie sich immer bei der Verwendung der Maschine. Tun Sie nichts, was Sie ablenken könnte, sonst können Verletzungen oder Sachschäden auftreten.
Setzen Sie das Fahrzeug nicht ein, wenn Sie müde oder krank sind oder unter Alkohol- oder Drogeneinfluss stehen.
Setzen Sie die Maschine nur Draußen oder in einem gut belüfteten Bereich ein.
Überschreiten Sie nicht das maximale Bruttogewicht des Fahrzeugs.
Passen Sie besonders auf, wenn Sie das Fahrzeug mit einer schweren Last auf der Ladepritsche abbremsen oder wenden.
Beim Befördern von überdimensionierten Ladungen in der Ladepritsche ist die Stabilität des Fahrzeugs verringert. Die Tragfähigkeit der Ladefläche darf nicht überschritten werden.
Das Befördern von Material, das nicht an der Maschine befestigt werden kann, kann das Lenkverhalten, die Bremsen und die Stabilität der Maschine beeinträchtigen. Wenn Sie Material transportieren, das nicht auf der Maschine befestigt werden kann, müssen Sie beim Steuern oder Bremsen besonders vorsichtig vorgehen.
Verringern Sie die Fahrgeschwindigkeit der Maschine und die beförderte Last beim Einsatz in unebenem Gelände, bei unebenem Boden und in der Nähe von Bordsteinen, Löchern und plötzlichen Veränderungen im Gelände. Ladungen können sich verlagern. Dies kann die Maschine instabil machen.
Stellen Sie vor dem Anlassen der Maschine sicher, dass das Getriebe in der Neutral-Stellung ist, dass die Feststellbremse aktiviert ist, und Sie in die Bedienerposition sind.
Wenn sich die Maschine bewegt, müssen Sie und Ihr Passagier sitzen bleiben. Halten Sie das Lenkrad mit beiden Händen fest. Die Passagiere sollten die Handgriffe verwenden. Halten Sie die Arme und Beine immer im Innern der Maschine.
Setzen Sie die Maschine nur bei guten Sichtverhältnissen ein. Achten Sie auf Löcher, Rillen, Bodenwellen, Steine oder andere verborgene Objekte. Die Maschine könnte sich in unebenem Terrain überschlagen. Hohes Gras kann Hindernisse verdecken. Seien Sie vorsichtig, wenn Sie sich unübersichtlichen Kurven, Sträuchern, Bäumen und anderen Objekten nähern, die Ihre Sicht behindern können.
Setzen Sie das Fahrzeug nicht in der Nähe von steilen Gefällen, Gräben oder Böschungen ein. Das Fahrzeug könnte plötzlich umkippen, wenn ein Rad über den Rand fährt oder die Böschung nachgibt.
Achten Sie auf und vermeiden niedrige Überhänge, wie z. B. Äste, Türbalken und Gehbühnen usw.
Schauen Sie hinter sich und nach unten, um vor dem Rückwärtsfahren sicherzustellen, dass der Weg frei ist.
Bei der Verwendung der Maschine im öffentlichen Straßenverkehr müssen Sie alle Verkehrsvorschriften einhalten; die Maschine muss auch mit dem gesetzlich vorgeschriebenen Zubehör ausgestattet sein, u. a. Scheinwerfer, Blinker, Schilder für ein langsam fahrendes Fahrzeug usw.
Stellen Sie die Maschine sofort ab, wenn die Maschine ungewöhnlich stark vibriert, warten Sie bis alle Teile zum kompletten Stillstand gekommen sind, und prüfen Sie die Maschine dann auf eventuelle Schäden. Reparieren Sie alle Schäden, bevor Sie die Maschine erneut einsetzen.
Der Bremsweg kann bei Nässe im Vergleich zu trockenen Oberflächen länger sein. Fahren Sie zum Austrocknen nasser Bremsen langsam auf einer ebenen Fläche und treten Sie gleichzeitig etwas auf das Bremspedal.
Wenn Sie mit der Maschine schnell fahren und dann plötzlich anhalten, können die Hinterräder blockieren; dies verringert Ihre Kontrolle über die Maschine.
Berühren Sie weder den Motor, das Getriebe, den Auspuff noch das Auspuffrohr, während der Motor läuft bzw. kurz nachdem Sie den Motor abgestellt haben, da diese Bereiche so heiß sein können, dass sie zu Verbrennungen führen würden.
Lassen Sie niemals eine laufende Maschine unbeaufsichtigt zurück.
Vor dem Verlassen der Bedienposition:
Stellen Sie die Maschine auf einer ebenen Fläche ab.
Schalten Sie das Getriebe in die NEUTRAL-Stellung.
Aktivieren Sie die Feststellbremse.
Senken Sie die Ladepritsche ab.
Stellen Sie den Motor ab und ziehen den Zündschlüssel ab.
Warten Sie, bis alle beweglichen Teile zum Stillstand gekommen sind.
Verwenden Sie die Maschine nie bei möglichen Gewittern.
Verwenden Sie nur von The Toro® Company zugelassenes Zubehör und Anbaugeräte.
Der Überrollschutz ist eine integrierte Sicherheitseinrichtung.
Entfernen Sie den Überrollschutz nicht von der Maschine.
Schnallen Sie sich an: Stellen Sie sicher, dass Sie Ihren Sicherheitsgurt angelegt haben und ihn in einem Notfall schnell lösen können.
Achten Sie immer auf hängende Objekte und berühren Sie sie nicht.
Halten Sie den Überrollschutz in einem sicheren Betriebszustand, überprüfen Sie ihn regelmäßig auf Beschädigungen und halten Sie alle Befestigungen angezogen.
Tauschen Sie beschädigte Teile des Überrollschutzes aus. Führen Sie keine Reparaturen oder Modifikationen daran aus.
Hanglagen sind eine wesentliche Ursache für den Verlust der Kontrolle und Umkippunfälle, die zu schweren oder tödlichen Verletzungen führen können.
Begutachten Sie den Arbeitsbereich und ermitteln Sie, an welchen Hanglagen das Fahrzeug sicher eingesetzt werden kann; legen Sie Ihre eigenen Schritte und Regeln für das Arbeiten an diesen Hanglagen fest. Setzen Sie immer gesunden Menschenverstand ein, wenn Sie diese Ortsbegehung durchführen.
Wenn Sie sich auf einer Hanglage unsicher fühlen, arbeiten Sie dort nicht.
Führen Sie alle Bewegungen an Hängen langsam und schrittweise durch. Ändern Sie nicht plötzlich die Geschwindigkeit oder Richtung des Fahrzeugs.
Vermeiden Sie einen Einsatz des Fahrzeugs auf nassem Terrain. Reifen können Haftung verlieren. Ein Überschlagen kann auftreten, bevor die Reifen die Bodenhaftung verlieren.
Fahren Sie Hanglagen gerade hoch und hinunter.
Wenn Sie beim Befahren einer Hanglage den Antrieb verlieren, bremsen Sie vorsichtig und fahren Sie dann langsam in einer geraden Linie rückwärts den Hang hinunter.
Das Wenden beim Auf- oder Abwärtsfahren an Hanglagen kann gefährlich sein. Wenn Sie an einer Hanglage wenden müssen, tun Sie dies langsam und vorsichtig.
Schwere Lasten wirken sich auf die Stabilität an Hanglagen aus. Befördern Sie eine geringere Last und reduzieren Sie die Fahrgeschwindigkeit, wenn Sie an einer Hanglage arbeiten oder die Last einen hohen Schwerpunkt hat. Befestigen Sie die Ladung auf der Ladepritsche des Fahrzeugs, damit sie sich nicht verlagert. Passen Sie besonders beim Befördern von Lasten auf, die leicht verrutschen (z. B. Flüssigkeiten, Steine, Sand usw.).
Vermeiden Sie das Starten, Anhalten oder Wenden an Hanglagen, besonders mit einer Last. Der Bremsweg ist beim Herunterfahren einer Hanglage länger als auf ebenen Flächen. Wenn Sie die Maschine anhalten müssen, vermeiden Sie plötzliche Geschwindigkeitsänderungen, die zum Umkippen oder Überschlagen der Maschine führen können. Bremsen Sie nicht plötzlich, wenn Sie rückwärts rollen, da dies zum Umkippen der Maschine führen kann.
Überschreiten Sie nicht das Bruttofahrzeuggewicht der Maschine, wenn Sie sie mit einer Last in der Ladepritsche einsetzen und/oder einen Anhänger schleppen; siehe Technische Daten.
Verteilen Sie die Last in der Ladepritsche gleichmäßig, um die Stabilität und die Kontrolle über die Maschine zu verbessern.
Stellen Sie vor dem Entladen sicher, dass genug Platz hinter der Maschine vorhanden ist.
Entleeren Sie eine beladene Ladepritsche nicht, wenn die Maschine seitlich zum Hang steht. Die Veränderung der Gewichtsverteilung kann zum Umkippen der Maschine führen.
Eine angehobene Ladefläche kann herunterfallen und darunter befindliche Personen verletzen.
Stützen Sie die Ladefläche immer mit der Stützstange ab, wenn Sie unter der angehobenen Ladefläche arbeiten.
Entfernen Sie jede Ladung aus der Ladepritsche, bevor Sie sie anheben.
Wenn Sie mit der Maschine mit angehobener Ladepritsche fahren, kann die Maschine leichter umkippen oder sich überschlagen. Sie können die Stauboxstruktur beschädigen, wenn Sie die Maschine mit angehobener Ladepritsche verwenden.
Setzen Sie die Maschine bei abgesenkter Ladepritsche ein.
Senken Sie die Ladepritsche nach dem Entleeren ab.
Wenn eine Last hauptsächlich hinten an der Ladepritsche aufliegt und Sie die Riegel lösen, kann die Ladepritsche plötzlich kippen und sich öffnen und Sie oder Unbeteiligte verletzen.
Zentrieren Sie Lasten (falls möglich) in der Ladepritsche.
Halten Sie die Ladepritsche fest und stellen Sie sicher, dass sich keine Person über die Ladepritsche lehnt oder hinter ihr steht, wenn Sie die Riegel lösen.
Entfernen Sie die ganze Last aus der Ladepritsche, bevor Sie die Ladepritsche abheben, um die Maschine zu warten.
Schieben Sie den Hebel zurück, um die Ladepritsche anzuheben (Bild 15).

Die Ladepritsche ist u. U. schwer. Hände und andere Körperteile können zerquetscht werden.
Halten Sie Ihre Hände und andere Körperteile fern, wenn Sie die Ladefläche absenken.
Schieben Sie den Hebel nach vorne, um die Ladepritsche abzusenken (Bild 15).
Stellen Sie sicher, dass die Ladepritsche abgesenkt und verriegelt ist.
Öffnen Sie die Riegel an der rechten und linken Seite der Ladepritsche und senken Sie die Heckklappe ab (Bild 16).

Setzen Sie sich auf den Bedienersitz und stellen Sie die Feststellbremse fest.
Kuppeln Sie die Zapfwelle und die Hochflusshydraulik aus (falls vorhanden) und stellen Sie den Fahrantriebshebel in die AUS-Stellung (falls vorhanden).
Schieben Sie den Schalthebel in die NEUTRAL-Stellung und treten das Kupplungspedal durch.
Stellen Sie sicher, dass der Hydraulikhubhebel in der mittleren Stellung ist.
Treten Sie nicht auf das Fahrpedal.
Drehen Sie den Zündschlüssel in die EIN-Stellung.
Note: Wenn die Glühkerzenlampe aufleuchtet, können Sie den Motor anlassen.
Drehen Sie das Zündschloss in die START-Stellung.
Note: Lassen Sie den Zündschlüssel sofort los und in die LAUF-Stellung zurückgehen, sobald der Motor anspringt.
Note: Die Glühkerzenlampe leuchtet für weitere 15 Sekunden auf, wenn der Schalter wieder auf die LAUF-Stellung zurückgeht.
Note: Lassen Sie den Anlasser nie länger als 10 Sekunden am Stück laufen, sonst kann dieser vorzeitig ausfallen. Wenn der Motor nicht nach 10 Sekunden anspringt, drehen Sie den Zündschlüssel in DIE Aus-Stellung. Prüfen Sie die Bedienelemente und den Startvorgang; warten Sie für 10 Sekunden und wiederholen Sie den Start.
Drücken Sie zum Aktivieren des automatischen Vierradantriebs die Oberseite des Kippschalters in die 4X4 AUTO-Stellung (Bild 17).

Wenn der Vierradantrieb-Schalter eingeschaltet ist, wird der Vierradantrieb automatisch aktiviert, wenn der Sensor erkennt, dass sich die Hinterräder durchdrehen. Wenn der Vierradantrieb aktiviert ist, leuchtet die Lampe am Vierradantrieb-Schalter auf.
Important: Im Rückwärtsgang wird der Vierradantrieb nicht automatisch aktiviert. Im Rückwärtsgang müssen Sie den Vierradantrieb manuell mit der Vierradantrieb-Taste aktivieren.
Zum manuellen Aktivieren des Vierradantriebs halten Sie die Vierradantrieb-Taste am mittleren Bedienfeld gedrückt, während sich das Fahrzeug bewegt; der Vierradantrieb wird aktiviert.
Note: Der Vierradantrieb bleibt aktiviert, solange Sie die Taste drücken. Der Vierradantrieb-Schalter muss nicht in der AUTO-Stellung sein, um den Vierradantrieb manuell einzukuppeln.
Lösen Sie die Feststellbremse.
Drücken Sie das Kupplungspedal vollständig durch.
Legen Sie den ersten Gang ein.
Lassen Sie das Kupplungspedal langsam kommen und geben Sie gleichzeitig etwas Gas.
Wenn die Maschinengeschwindigkeit ausreichend ist, nehmen Sie den Fuß vom Fahrpedal, drücken Sie das Kupplungspedal ganz durch, schieben Sie den Schalthebel in den nächsten Gang und lassen Sie die Kupplung kommen. Geben Sie gleichzeitig Gas.
Wiederholen Sie diese Vorgänge, bis Sie die gewünschte Geschwindigkeit erreicht haben.
Important: Halten Sie die Maschine immer an, bevor Sie von einem Vorwärtsgang in den Rückwärtsgang oder umgekehrt wechseln.
Note: Lassen Sie den Motor nicht für längere Zeit im Leerlauf laufen.
Lesen Sie in der nachfolgenden Tabelle die Fahrgeschwindigkeit der Maschine bei 3.600 U/min ab.
| Zahnrad | Bereich | Umsetzung | Geschwindigkeit (km/h) | Geschwindigkeit (m/h) |
|---|---|---|---|---|
| 1 | L (niedrig) | 82,83 : 1 | 4,7 | 2,9 |
| 2 | L (niedrig) | 54,52 : 1 | 7,2 | 4,5 |
| 3 | L (niedrig) | 31,56 : 1 | 12,5 | 7,7 |
| 1 | H (hoch) | 32,31 : 1 | 12,2 | 7,6 |
| 2 | H (hoch) | 21.27 : 1 | 18,5 | 11,5 |
| 3 | H (hoch) | 12,31 : 1 | 31,9 | 19,8 |
| R | L (niedrig) | 86,94 : 1 | 4,5 | 2,8 |
| R | H (hoch) | 33.91 : 1 | 11,6 | 7,1 |
Important: Versuchen Sie nie, die Maschine zum Starten zu schieben oder zu schleppen. Ansonsten kann die Antriebskette beschädigt werden.
Nehmen Sie zum Anhalten der Maschine den Fuß vom Fahrpedal und treten auf das Bremspedal.
Stellen Sie die Maschine auf einer ebenen Fläche ab.
Aktivieren Sie die Feststellbremse.
Stellen Sie das Zündschloss in die AUS-Stellung und ziehen Sie den Schlüssel ab.
Ein Umkippen oder Rollen der Maschine an einem Hang führt zu schweren Verletzungen.
Die zusätzliche Haftung, die Sie durch die Differentialsperre erhalten, reicht aus, um Sie in gefährliche Situationen zu bringen, z. B. Hinauffahren von Hanglagen, die zum Wenden zu steil sind. Passen Sie auf, wenn Sie mit zugeschalteter Differentialsperre fahren, besonders auf sehr steilen Hanglagen.
Wenn Sie bei zugeschalteter Differentialsperre schnell fahren und scharf wenden und das innere Hinterrad die Bodenhaftung verliert, können Sie die Kontrolle über die Maschine verlieren und die Maschine kann schleudern. Verwenden Sie die Differentialsperre nur bei langsamen Geschwindigkeiten.
Ein Wenden bei aktivierter Differentialsperre kann zum Verlust der Fahrzeugkontrolle führen. Schalten Sie die Differentialsperre nicht zu, wenn Sie scharf wenden oder schnell fahren.
Die Differenzialsperre erhöht die Fahrzeughaftung, da die Hinterräder blockiert werden, damit ein Rad nicht durchdreht. Dies kann beim Schleppen großer Lasten auf nasser Grünfläche oder rutschigem Gelände, am Hang oder in sandigem Gelände nützlich sein. Vergessen Sie jedoch nicht, dass diese zusätzliche Haftung nur zeitlich begrenzt benutzt werden sollte. Die Verwendung ist kein Ersatz für die sichere Verwendung.
Mit der Differentialsperre drehen sich beide Hinterräder mit derselben Geschwindigkeit. Wenn Sie die Differentialsperre verwenden, können Sie nur beschränkt scharf wenden und Sie könnten die Grünfläche abschürfen. Aktivieren Sie die Differentialsperre nur bei Bedarf, bei niedrigen Geschwindigkeiten und nur im ersten oder zweiten Gang.
Die Hydrauliksteuerung stellt hydraulische Leistung von der Maschinenpumpe bereit, wenn der Motor läuft. Die Leistung kann über die Schnellkupplungen an der Rückseite der Maschine genutzt werden.
Unter Druck austretendes Hydrauliköl kann unter die Haut dringen und schwere Verletzungen verursachen.
Passen Sie beim An- oder Abschließen der hydraulischen Schnellkupplungen besonders auf. Stellen Sie den Motor ab, aktivieren die Feststellbremse, senken das Anbaugerät ab und stellen das Remotehydraulikventil in die Stellung Float Detent“, um den Hydraulikdruck abzulassen, bevor Sie die Schnellkupplungen an- oder abschließen.
Important: Wenn mehrere Maschinen dasselbe Anbaugerät verwenden, kann eine Kreuzkontamination des Getriebeöls auftreten. Wechseln Sie das Getriebeöl häufiger.
AUS-Stellung
Die normale Stellung des Regelventils, wenn es nicht verwendet wird. In dieser Stellung sind die Arbeitsanschlüsse des Regelventils blockiert, und eine Last wird von den Rückschlagventilen in beiden Richtungen gehalten.
ANHEBEN (Schnelltrennkupplung A) Stellung
In dieser Stellung werden die Ladepritsche und die hintere Anbauvorrichtung angehoben oder Druck auf die Schnellkupplung A ausgeübt. In dieser Stellung kann Hydrauliköl von der Schnellkupplung B zurück in das Ventil und dann zum Behälter fließen. Diese Stellung ist nur vorübergehend. Wenn Sie den Hebel loslassen, springt der Hebel wieder in die mittlere AUS-Stellung.

ABSENKEN (Schnelltrennkupplung B) Stellung
In dieser Stellung werden die Ladepritsche und die hintere Anbauvorrichtung abgesenkt oder Druck auf die Schnellkupplung B ausgeübt. In dieser Stellung kann Hydrauliköl von der Schnellkupplung A zurück in das Ventil und dann zum Behälter fließen. Diese Stellung ist nur vorübergehend. Wenn Sie den Hebel loslassen, springt der Hebel wieder in die mittlere AUS-Stellung. Wenn Sie den Hebel kurz in dieser Stellung halten und dann los lassen, entsteht ein Hydraulikölfluss zur Schnellkupplung B, die Abwärtsdruck auf die hintere Anbauvorrichtung ausübt. Wenn Sie den Hebel loslassen, bleibt der Abwärtsdruck auf die Anbauvorrichtung erhalten.
Important: Wenn Sie den Hebel mit einem hydraulischen Zylinder in der unteren Stellung halten, läuft das Hydrauliköl über ein Entlastungsventil. Dies kann die Hydraulikanlage beschädigen.
EIN-Stellung
Diese Stellung ähnelt der Stellung ABSENKEN (SCHNELLKUPPLUNGSSTELLUNG B). In dieser Stellung wird auch Hydrauliköl zur Schnellkupplung B geführt. Der Hebel wird jedoch von einem Arretierhebel im Bedienfeld in dieser Stellung gehalten. Hydrauliköl fließt dann laufend zu Geräten, die einen Hydraulikmotor verwenden.
Verwenden Sie diese Stellung nur kurzfristig oder mit einem angehängten Hydraulikmotor.
Important: Wenn die EIN-Stellung mit einem Hydraulikzylinder oder keinem Anbaugerät verwendet wird, läuft das Hydrauliköl über ein Entlastungsventil. Dies kann die Hydraulikanlage beschädigen. Verwenden Sie diese Stellungen nur kurzfristig oder mit einem angehängten Motor.
Important: Prüfen Sie den Hydraulikölstand nach der Montage eines Anbaugeräts. Prüfen Sie die Funktion des Anbaugeräts. Betätigen Sie das Anbaugerät mehrmals, um die Luft aus dem System zu entfernen, prüfen Sie dann den Stand des Hydrauliköls erneut. Der Anbaugerätzylinder hat eine geringe Auswirkung auf den Getriebeölstand. Wenn Sie die Maschine mit einem niedrigen Hydraulikölstand einsetzen, können die Pumpe, die Remotehydraulik, die Servolenkung und das Maschinengetriebe beschädigt werden.
Important: Wischen Sie die Schnellkupplungen vor dem Anschließen ab, um Schmutzrückstände zu entfernen. Verschmutzte Kupplungen können die Hydraulikanlage verunreinigen.
Ziehen Sie den Arretierring an der Kupplung zurück.
Schieben Sie den Schlauchstutzen in die Kupplung, bis er einrastet.
Note: Wenn Sie Geräte an die Schnellkupplung anschließen, ermitteln Sie, welche Seite Druck haben muss. Schließen Sie dann den Schlauch an die Schnellkupplung B an, die unter Druck stehen wird, wenn der Schaltbügel nach vorne gedrückt oder in der EIN-Stellung arretiert wird.
Note: Stellen Sie die Maschine und das Anbaugerät ab. Schieben Sie den Hubhebel nach hinten und vorne, um den Systemdruck abzulassen und das Abtrennen der Schnellkupplungen zu vereinfachen.
Ziehen Sie den Arretierring an der Kupplung zurück.
Ziehen Sie den Schlauch kräftig von der Kupplung.
Important: Reinigen und setzen Sie den Staubdeckel und die Staubabdeckungen auf die Enden der Schnellkupplung auf, wenn Sie die Kupplung nicht verwenden.
Probleme beim Anschließen oder Abschließen von den Schnellkupplungen.
Der Druck ist nicht abgelassen (die Schnellkupplung steht unter Druck)
Die Servolenkung kann nur schwer oder gar nicht gedreht werden.
Der Hydraulikölstand ist zu niedrig.
Die Temperatur des Hydrauliköls ist zu hoch.
Die Pumpe funktioniert nicht.
Es gibt Hydrauliklecks.
Die Anschlussstücke sind lose.
Der O-Ring fehlt am Anschlussstück.
Ein Anbaugerät funktioniert nicht.
Die Schnellkupplungen sind nicht vollständig aktiviert.
Die Schnellkupplungen sind vertauscht.
Ein Quietschen ist hörbar.
Wenn die EIN-Stellung verwendet wird, läuft das Hydrauliköl über ein Entlastungsventil.
Der Riemen ist lose.
Der Motor startet nicht.
Der Hydraulikhebel ist in der EIN-Stellung arretiert.
Vor dem Verlassen der Bedienposition:
Stellen Sie die Maschine auf einer ebenen Fläche ab.
Schalten Sie das Getriebe in die NEUTRAL-Stellung.
Aktivieren Sie die Feststellbremse.
Senken Sie die Ladepritsche ab.
Stellen Sie den Motor ab und ziehen den Zündschlüssel ab.
Warten Sie, bis alle beweglichen Teile zum Stillstand gekommen sind
Lassen die Maschine abkühlen, bevor Sie sie einstellen, warten, reinigen, oder einlagern.
Lagern Sie die Maschine nicht an Orten mit offener Flamme, Funken oder Zündflamme, z. B. Warmwasserbereiter oder anderen Geräten.
Halten Sie alle Teile der Maschine in gutem Betriebszustand und alle Befestigungen angezogen.
Pflegen und reinigen Sie die Sicherheitsgurte bei Bedarf.
Ersetzen Sie alle abgenutzten oder fehlenden Aufkleber.
Gehen Sie beim Verladen und Abladen der Maschine auf einen/von einem Anhänger oder Pritschenwagen vorsichtig vor.
Verwenden Sie durchgehende Rampen für das Verladen der Maschine auf einen Anhänger oder Pritschenwagen.
Vergurten Sie die Maschine.
In Bild 19 und Bild 20 finden Sie die Vergurtungsstellen der Maschine.
Note: Laden Sie die Maschine so auf den Anhänger, dass die Front der Maschine nach vorne zeigt. Falls dies nicht möglich ist, befestigen Sie die Motorhaube mit einem Riemen am Rahmen, oder entfernen Sie die Motorhaube und transportieren und befestigen Sie diese getrennt, sonst kann die Motorhaube beim Transport wegfliegen.


Im Notfall können Sie die Maschine über kürzere Strecken abschleppen, dies sollte jedoch nicht als normale Transportmethode angesehen werden.
Das Abschleppen mit zu hohen Geschwindigkeiten kann zum Verlust der Lenkkontrolle und so zu Verletzungen führen.
Schleppen Sie das Fahrzeug höchstens mit 8 km/h ab.
Note: Die Servolenkung funktioniert nicht und das Lenken ist erschwert.
Zum Abschleppen des Fahrzeugs werden zwei Personen benötigt. Verwenden Sie einen Pritschenwagen oder Anhänger, wenn Sie die Maschine über eine größere Strecke transportieren möchten.
Befestigen Sie ein Abschleppseil an der Anhängerkupplung vorne am Maschinenrahmen (Bild 19).
Schieben Sie das Getriebe in die NEUTRAL-Stellung und lösen Sie die Feststellbremse.
Die Maschine kann Anhänger und Anbaugeräte schleppen, die schwerer als die Maschine sind. Mehrere Typen der Anbauvorrichtungen werden für unterschiedliche Anwendungen für die Maschine angeboten. Wenden Sie sich an den offiziellen Vertragshändler.
Wenn die Maschine mit einer am Hinterachsrohr angeschraubten Anbauvorrichtung ausgestattet ist, können Sie mit der Maschine Anhänger oder Anbaugeräte mit einem Anhängerbruttogewicht von 1.587 kg schleppen.
Beladen Sie Anhänger immer so, dass 60 % der Nutzlast vorne auf dem Anhänger liegen. Dadurch verlagern sich ungefähr 10 % (272 kg) des Bruttogewichts auf die Anbauvorrichtung der Maschine.
Überbelasten Sie weder die Maschine noch den Anhänger, wenn Sie eine Ladung befördern oder einen Anhänger (ein Anbaugerät) schleppen. Ein Überlasten kann zu schlechter Leistung und zur Beschädigung der Bremsen, Achse, des Motors, der Antriebsachse, Lenkung, Aufhängung, Rahmenstruktur und der Reifen führen.
Important: Verwenden Sie einen niedrigen Gang, um eine mögliche Beschädigung der Fahrspur zu vermeiden.
Wenn Sie Anbaugeräte mit einem fünften Rad schleppen, z. B. einen Fairway-Aerifizierer, montieren Sie immer die Radstange (die dem 5. Rad beiliegt), damit sich die Vorderräder nicht vom Boden abheben, wenn die Bewegung des geschleppten Anbaugeräts plötzlich behindert ist.
Die Maschine sollte nie von ungeschulten Personen gewartet werden.
Vor dem Verlassen der Bedienposition:
Stellen Sie die Maschine auf einer ebenen Fläche ab.
Schalten Sie das Getriebe in die NEUTRAL-Stellung.
Aktivieren Sie die Feststellbremse.
Senken Sie die Ladepritsche ab.
Stellen Sie den Motor ab und ziehen den Zündschlüssel ab.
Warten Sie, bis alle beweglichen Teile zum Stillstand gekommen sind.
Lassen das Fahrzeug abkühlen, bevor Sie es einstellen, warten, reinigen, oder einlagern.
Stützen Sie die Maschine mit Achsständern ab, wenn Sie Arbeiten unter der Maschine ausführen.
Arbeiten Sie nicht unter einer angehobenen Ladepritsche, wenn die richtige Sicherheitsstütze für die Ladepritsche nicht angebracht ist.
Stellen Sie sicher, dass alle Anschlüsse der Hydraulikleitungen fest angezogen sind, und dass sich alle Hydraulikschläuche und -leitungen in einwandfreiem Zustand befinden, bevor Sie die Anlage unter Druck stellen.
Bevor Sie die Hydraulikanlage abschließen oder Arbeiten an ihr vornehmen, muss der gesamte Druck aus der Anlage entfernt werden. Stellen Sie den Motor ab, schieben Sie das Ablassventil von Anheben auf Ablassen und/oder senken die Ladepritsche und Anbaugeräte ab. Schieben Sie den Remotehydraulikhebel in die Schwebestellung. Wenn die Pritsche angehoben sein muss, stützen Sie sie mit der Sicherheitsstütze ab.
Lassen Sie den Druck aus Maschinenteilen mit gespeicherter Energie vorsichtig ab.
Laden Sie die Akkus nicht auf, wenn Sie die Maschine warten.
Halten Sie alle Befestigungsmittel ordnungsgemäß angezogen, um den einwandfreien Betriebszustand der Maschine zu gewährleisten.
Halten Sie den Motorraum frei von überflüssigem Schmierfett, Gras, Blättern, und Schmutzablagerungen, um die Brandgefahr zu reduzieren.
Führen Sie Wartungsarbeiten möglichst nicht bei laufendem Motor durch. Fassen Sie keine beweglichen Teile an.
Wenn die Maschine zum Durchführen von Wartungseinstellungen laufen muss, berühren Sie bewegliche Teile nicht mit den Händen, Füßen, Kleidungsstücken, oder anderen Körperteilen. Halten Sie Personen vom Fahrzeug fern.
Wischen Sie Öl- und Kraftstoffverschüttungen auf.
Überprüfen Sie die Funktion der Feststellbremse, gemäß der Empfehlung im Wartungsplan, und stellen Sie diese nach Bedarf ein und warten Sie diese.
Halten Sie alle Teile der Maschine in gutem Betriebszustand und alle Befestigungsmittel ordnungsgemäß angezogen. Ersetzen Sie abgenutzte und beschädigte Aufkleber.
Beeinträchtigen Sie niemals die beabsichtigte Funktion einer Sicherheitsvorkehrung oder den von einer Sicherheitsvorkehrung vorgesehenen Schutz.
Verändern Sie die Einstellungen des Drehzahlreglers nicht, weil der Motor dadurch überdrehen kann. Lassen Sie, um die Sicherheit und Genauigkeit zu gewährleisten, die maximale Motordrehzahl mit einem Drehzahlmesser von Ihrem offiziellen Service-Vertragshändler prüfen.
Wenden Sie sich an den Toro-Vertragshändler, falls größere Reparaturen erforderlich sind oder Sie praktische Unterstützung benötigen.
Wenn Sie diese Maschine auf irgendeine Weise verändern, kann sich dies auf das Fahrverhalten, die Leistung, Haltbarkeit und Nützlichkeit auswirken, was Verletzungen ggf. tödliche Verletzungen zur Folge haben kann. Dies kann ggf. die Produktgarantie von The Toro® Company ungültig machen.
| Wartungsintervall | Wartungsmaßnahmen |
|---|---|
| Nach zwei Betriebsstunden |
|
| Nach 10 Betriebsstunden |
|
| Nach 50 Betriebsstunden |
|
| Nach 100 Betriebsstunden |
|
| Bei jeder Verwendung oder täglich |
|
| Alle 25 Betriebsstunden |
|
| Alle 50 Betriebsstunden |
|
| Alle 100 Betriebsstunden |
|
| Alle 200 Betriebsstunden |
|
| Alle 400 Betriebsstunden |
|
| Alle 600 Betriebsstunden |
|
| Alle 800 Betriebsstunden |
|
| Alle 1000 Betriebsstunden |
|
| Alle 2000 Betriebsstunden |
|
Note: Laden Sie ein Exemplar des elektrischen Schaltbilds von www.Toro.com herunter und suchen Sie Ihre Maschine vom Link für die Bedienungsanleitungen auf der Homepage.
Important: Weitere Informationen zu Wartungsarbeiten finden Sie in der Motorbedienungsanleitung.
Lassen Sie das Fahrzeug nur von geschulten und autorisierten Personen warten, reparieren, einstellen oder prüfen.
Vermeiden Sie Brandgefahr, und haben Sie im Arbeitsbereich Brandschutzgeräte griffbereit. Prüfen Sie Flüssigkeitsstände oder das Auslaufen von Kraftstoff, Batteriesäure oder Kühlmittel nicht mit einer offenen Flamme.
Verwenden Sie zum Reinigen von Bauteilen keine offenen Gefäße mit Kraftstoff oder brennbaren Reinigungsmitteln.
Wenn Sie das Fahrzeug nicht richtig warten, können Fahrzeugsysteme frühzeitig ausfallen und ggf. Sie oder Unbeteiligte verletzen.
Warten Sie das Fahrzeug und halten es in gutem Betriebszustand, wie in diesen Anweisungen angegeben.
Wenn Sie den Zündschlüssel im Zündschloss stecken lassen, könnte eine andere Person den Motor versehentlich anlassen und Sie und Unbeteiligte schwer verletzen.
Stellen Sie den Motor ab und ziehen Sie den Schlüssel vom Schalter ab, bevor Sie Wartungsarbeiten durchführen.
Important: Führen Sie alle Wartungsarbeiten doppelt so häufig wie angegeben durch, wenn die Maschine in den nachstehend aufgeführten Bedingungen eingesetzt wird:
Einsatz in Wüstengebieten
Einsatz bei niedrigen Temperaturen unter 10 °C
Schleppen eines Anhängers
Häufiger Einsatz in staubigen Konditionen
Bauarbeiten
Nach längerem Betrieb in Schlamm, Sand, Wasser oder ähnlichen verschmutzten Umgebungen ist wie folgt vorzugehen:
Lassen Sie die Bremsen so schnell wie möglich überprüfen und reinigen. So wird verhindert, dass reibendes Material eine überdurchschnittliche Abnutzung verursacht.
Waschen Sie die Maschine nur mit Wasser oder mit einem milden Reinigungsmittel.
Important: Verwenden Sie zur Reinigung der Maschine kein Brack- oder wiederaufbereitetes Wasser.
Bei vielen in diesem Wartungsabschnitt angesprochenen Themen müssen Sie die Ladepritsche anheben oder ablassen. Treffen Sie folgende Sicherheitsmaßnahmen, um schwere oder tödliche Verletzungen zu vermeiden.
Stellen Sie das Fahrzeug auf einer ebenen Fläche ab.
Aktivieren Sie die Feststellbremse.
Leeren und heben Sie die Ladepritsche an; siehe Anheben der Ladepritsche.
Stellen Sie den Motor ab und ziehen Sie den Zündschlüssel ab.
Lassen Sie die Maschine vor der Ausführung von Wartungsarbeiten abkühlen.
Important: Stellen Sie sich für das Einsetzen oder Abnehmen der Ladepritschenstütze immer außerhalb der Ladepritsche.
Heben Sie die Ladepritsche an, bis die Hubzylinder ganz ausgefahren sind.
Nehmen Sie die Ladepritschenstütze aus den Lagerhalterungen hinten an der Überrollschutzplatte (Bild 21).

Schieben Sie die Ladepritschenstütze auf die Zylinderstange. Achten Sie darauf, dass die Endnasen der Stütze auf dem Ende der Zylindertrommel und auf dem Ende der Zylinderstange aufliegen (Bild 22).

Nehmen Sie die Ladepritschenstütze vom Zylinder ab und setzen Sie sie in die Halterungen hinten an der Überrollschutzplatte ein.
Important: Versuchen Sie nicht, die Ladepritsche abzusenken, wenn die Sicherheitsstütze der Ladepritsche am Zylinder aufgesetzt ist.
Lassen Sie den Motor an, aktivieren Sie den Hydraulikhubhebel und senken Sie die Ladepritsche ab, bis die Zylinder in den Schlitzen lose sind.
Lösen Sie den Hubhebel und stellen den Motor ab.
Nehmen Sie die Klappstecker von den äußeren Enden der Lastösenbolzen der Zylinderstange (Bild 23) ab.

Nehmen Sie die Lastösenbolzen ab, mit denen die Enden der Zylinderstange an den Befestigungsplatten der Ladepritsche befestigt sind. Drücken Sie die Bolzen hierfür nach innen (Bild 23).
Nehmen Sie die Klappstecker und die Lastösenbolzen ab, mit denen die Schwenkhalterungen an den Rahmenkanälen befestigt sind (Bild 23).
Heben Sie die Ladepritsche von der Maschine ab.
Die große Ladepritsche wiegt ungefähr 148 kg. Versuchen Sie aus diesem Grund nie, die Pritsche allein zu montieren oder abzunehmen.
Verwenden Sie einen Flaschenzug oder bitten Sie zwei oder drei Personen um Hilfe.
Lagern Sie die Zylinder in den Lagerclips.
Kuppeln Sie den Hebel der Hydraulikhubsperre an der Maschine ein, damit die Hubzylinder nicht versehentlich ausgefahren werden können.
Note: Wenn Sie die Seitenwände der Flachpritsche montieren, sollten Sie die Seitenwände an der Ladepritsche anbringen, bevor Sie die Ladepritsche an der Maschine anbauen.
Achten Sie darauf, dass die Schwenkplatten am Ladepritschenrahmen bzw. -kanal so festgeschraubt sind, dass das untere Ende nach hinten abgewinkelt ist (Bild 24).

Die große Ladepritsche wiegt ungefähr 148 kg. Versuchen Sie aus diesem Grund nie, die Pritsche allein zu montieren oder abzunehmen.
Verwenden Sie einen Flaschenzug oder bitten Sie zwei oder drei Personen um Hilfe.
Stellen Sie sicher, dass die Distanzstücke und die Verschleißblöcke (Bild 25) so eingesetzt sind, dass die Köpfe der Schlossschrauben an der Innenseite der Maschine sind.

Stellen Sie sicher, dass die Hubzylinder ganz eingefahren sind.
Setzen Sie die Ladepritsche vorsichtig auf den Maschinenrahmen. Fluchten Sie die hinteren Schwenkplattenlöcher der Pritsche mit den Löchern im hinteren Rahmenkanal aus und setzen Sie die zwei Lastösenbolzen und Klappstecker ein (Bild 25).
Befestigen Sie bei abgesenkter Ladepritsche jedes Ende der Zylinderstange mit einem Lastösenbolzen und einem Klappstecker an den entsprechenden Einschüben in den Befestigungsplatten der Ladepritsche.
Setzen Sie den Lastösenbolzen von der Außenseite der Ladepritsche ein. Der Klappstecker sollte nach außen zeigen (Bild 25).
Note: Die hinteren Einschübe sind für die Montage der großen Ladepritsche und die vorderen Einschübe sind für die Montage der ⅔ Ladepritsche gedacht.
Note: Sie müssen ggf. den Motor anlassen, um die Zylinder für das Ausfluchten mit den Löchern aus- oder einzufahren.
Note: Sie können einen nicht verwendeten Einschub mit einer Schraube und Mutter abdecken, um Montagefehler zu vermeiden.
Lassen Sie den Motor an und kuppeln Sie den Hydraulikhubhebel ein, um die Ladepritsche anzuheben.
Lösen Sie den Hubhebel und stellen den Motor ab.
Installieren Sie die Sicherheitsstütze der Ladepritsche, um ein versehentliches Absenken der Ladepritsche zu vermeiden; siehe Verwenden der Ladepritschenstütze.
Setzen Sie die Klappstecker an den Innenseiten der Lastösenbolzen ein.
Note: Wenn die Ladepritsche mit der automatischen Heckklappenentriegelung ausgerüstet ist, stellen Sie sicher, dass die vordere Kipplenkerstange innen links am Lastösenbolzen eingesetzt ist, bevor Sie den Klappstecker montieren.
Unter Umständen ist eine aufgebockte Maschine instabil und fällt vom Wagenheber, wodurch Personen unter der Maschine verletzt würden.
Lassen Sie den Motor nicht an, wenn die Maschine aufgebockt ist, da die Maschine aufgrund der Motorvibration oder Radbewegung vom Wagenheber abrutschen kann.
Ziehen Sie immer den Schlüssel aus dem Zündschloss, bevor Sie von der Maschine absteigen.
Blockieren Sie die Räder, wenn die Maschine aufgebockt ist.
Wenn Sie die Maschine vorne aufbocken, legen Sie immer einen Holzblock (oder Ähnliches) zwischen den Wagenheber und den Maschinenrahmen.
Die Hebestelle vorne an der Maschine befindet sich unter der mittleren Rahmenstütze vorne (Bild 26).

Die hintere Hebestelle der Maschine befindet sich unter der Achse (Bild 27).

Fassen Sie die Motorhaube in den Scheinwerferöffnungen an und heben sie an, um die unteren Befestigungsnasen aus den Rahmenschlitzen zu heben (Bild 28).

Drehen Sie die Unterseite der Motorhaube nach oben, bis Sie die oberen Befestigungsnasen aus den Rahmenschlitzen ziehen können (Bild 28).
Drehen Sie die Oberseite der Motorhaube nach vorne und ziehen Sie die Kabelanschlüsse von den Scheinwerfern ab (Bild 28).
Entfernen Sie die Motorhaube.
| Wartungsintervall | Wartungsmaßnahmen |
|---|---|
| Alle 100 Betriebsstunden |
|
Schmierfettsorte: Nr. 2 Allzweckschmierfett auf Lithiumbasis
Wischen Sie die Schmiernippel mit einem Lappen ab, damit Fremdkörper nicht in das Lager oder die Büchse gelangen.
Pumpen Sie Fett mit einer Fettpresse in die Schmiernippel der Maschine.
Wischen Sie überschüssiges Fett von der Maschine ab.
Important: Pumpen Sie beim Einfetten der Lagerkreuze der universellen Zapfwelle an der Antriebswelle so lange Fett ein, bis es aus allen vier Schalen an jedem Kreuz austritt.
Die Schmiernippel und deren Anzahl sind:
Kugelgelenke(4); siehe Bild 29
Spurstangen (2); siehe Bild 29
Schwenkhalterungen (2); siehe Bild 29
Lenkzylinder (2); siehe Bild 29

Federstangen (2); siehe Bild 30

Kupplung (1); siehe Bild 31
Gaspedal (1); siehe Bild 31
Bremse (1); siehe Bild 31

U-Gelenk (18); siehe Bild 32
Vierradantriebswelle (3); siehe Bild 32

Stellen Sie den Motor ab, ziehen Sie den Schlüssel ab und warten Sie, bis alle beweglichen Teile zum Stillstand gekommen sind, bevor Sie den Ölstand prüfen oder Öl in das Kurbelgehäuse einfüllen.
Berühren Sie den Auspuff und andere heiße Oberflächen nicht dem den Händen, Füßen, dem Gesicht und andere Körperteile sowie mit Kleidungsstücken.
| Wartungsintervall | Wartungsmaßnahmen |
|---|---|
| Alle 25 Betriebsstunden |
|
| Alle 100 Betriebsstunden |
|
Prüfen Sie den Luftfilter und die Schläuche regelmäßig, um einen maximalen Schutz des Motors und längste Nutzungsdauer zu gewährleisten. Prüfen Sie das Luftfiltergehäuse auf Schäden, die eventuell zu einem Luftleck führen könnten. Ersetzen Sie ein beschädigtes Luftfiltergehäuse.
Lösen Sie die Riegel am Luftfilter und ziehen Sie die Abdeckung vom Luftfiltergehäuse ab (Bild 33).

Drücken Sie die Seiten des Staubdeckels, um ihn zu öffnen. Klopfen Sie den Staub ab.
Schieben Sie den Filter vorsichtig aus dem Luftfiltergehäuse heraus (Bild 33).
Note: Vermeiden Sie ein Anstoßen des Filters an der Seite des Gehäuses.
Note: Versuchen Sie nicht, den Filter zu reinigen.
Prüfen Sie den neuen Filter auf Beschädigungen, indem Sie in den Filter schauen, während Sie eine helle Lampe auf die Außenseite des Filters richten.
Note: Löcher im Filter erscheinen als helle Punkte. Untersuchen Sie den Einsatz auf Risse, einen öligen Film und Schäden an der Gummidichtung. Verwenden Sie einen beschädigten Filter nicht.
Note: Lassen Sie den Motor immer mit dem Luftfilter und angebrachter Abdeckung laufen, um Motorschäden zu vermeiden.
Schieben Sie den Filter vorsichtig auf das Gehäuserohr (Bild 33).
Note: Stellen Sie sicher, dass dieser einwandfrei einliegt, indem Sie beim Einbauen auf den äußeren Rand des Filters drücken.
Bringen Sie die Luftfilterabdeckung mit der Seite nach oben an und rasten Sie die Riegel ein (Bild 33).
Note: Wechseln Sie das Öl bei extrem staubigen oder sandigen Bedingungen häufiger.
Note: Entsorgen Sie das Altöl und den Ölfilter bei einem zugelassenen Recyclingcenter.
Ölsorte: Waschaktives Motoröl (API SJ oder höher)
Kurbelgehäuse-Fassungsvermögen: 3,2 l mit Filterwechsel
Viskosität: Siehe die Tabelle unten.

| Wartungsintervall | Wartungsmaßnahmen |
|---|---|
| Bei jeder Verwendung oder täglich |
|
Note: Der Stand des Motoröls sollte am besten bei kaltem Motor vor dem täglichen Anlassen geprüft werden. Wenn der Motor gelaufen ist, lassen Sie das Öl für 10 Minuten in die Wanne zurücklaufen, bevor Sie den Ölstand prüfen. Wenn der Ölstand an oder unter der Nachfüllen-Markierung am Peilstab liegt, gießen Sie Öl nach, bis der Ölstand die VOLL-Markierung erreicht. Füllen Sie nicht zu viel Motoröl ein.Wenn der Ölstand zwischen der Voll- und Nachfüllen-Markierung liegt, muss kein Öl nachgefüllt werden.
Stellen Sie die Maschine auf einer ebenen Fläche ab.
Aktivieren Sie die Feststellbremse.
Stellen Sie den Motor ab und ziehen Sie den Zündschlüssel ab.
Nehmen Sie den Peilstab heraus und wischen Sie ihn mit einem sauberen Lappen ab (Bild 35).

Stecken Sie den Peilstab in das Rohr und stellen Sie sicher, dass er vollständig eingeführt ist (Bild 35).
Nehmen Sie den Peilstab heraus und prüfen Sie den Ölstand (Bild 35).
Nehmen Sie bei einem niedrigen Ölstand den Fülldeckel (Bild 35) ab und gießen Sie genug Öl ein, bis der Ölstand die Voll-Markierung am Peilstab erreicht.
Note: Entfernen Sie den Peilstab, wenn Sie Öl auffüllen, um eine richtige Belüftung zu gewährleisten. Gießen Sie Öl langsam ein und prüfen Sie den Ölstand häufig während des Füllens. Füllen Sie nicht zu viel Motoröl ein.
Important: Beim Auffüllen von Motoröl oder Einfüllen von Öl muss ein Abstand zwischen dem Öleinfüllgerät und dem Öleinfüllstutzen in der Ventilöffnung bestehen; siehe Bild 36. Dieser Abstand ist für die Belüftung beim Einfüllen erforderlich und verhindert, dass Öl in den Entlüfter überläuft.

Stecken Sie den Peilstab wieder fest ein (Bild 35).
| Wartungsintervall | Wartungsmaßnahmen |
|---|---|
| Nach 50 Betriebsstunden |
|
| Alle 200 Betriebsstunden |
|
Heben Sie die Ladepritsche an und bringen Sie die Sicherheitsstütze am ausgefahrenen Hubzylinder an, um die Ladepritsche abzustützen.
Entfernen Sie die Ablassschraube und lassen Sie das Öl in die Auffangwanne ab (Bild 37).

Schrauben Sie die Ablassschraube wieder ein, nachdem das Öl abgelaufen ist.
Entfernen Sie den Ölfilter (Bild 37).
Ölen Sie die neue Dichtung am Ölfilter leicht mit frischem Öl ein, bevor Sie den Filter eindrehen.
Schrauben Sie den Filter auf, bis die Dichtung die Befestigungsplatte berührt. Ziehen Sie ihn dann um eine halbe bis Dreivierteldrehung an.
Note: Ziehen Sie nicht zu fest.
Füllen Sie Öl der angegebenen Sorte in das Kurbelgehäuse.
Note: Auf die Informationen zu einem Motorfehlercode können nur Kundendienstmitarbeiter von Toro für gewerbliche Produkte zugreifen.
Stellen Sie die Maschine auf einer ebenen Fläche ab.
Aktivieren Sie die Feststellbremse.
Stellen Sie den Motor ab und ziehen Sie den Zündschlüssel ab.
Wenden Sie sich an den offiziellen Vertragshändler.
| Wartungsintervall | Wartungsmaßnahmen |
|---|---|
| Bei jeder Verwendung oder täglich |
|
Stellen Sie einen sauberen Behälter unter den Kraftstofffilter (Bild 38).
Lösen Sie die Ablassschraube an der Unterseite der Filterglocke.

Ziehen Sie die Ablassschraube an der Unterseite der Filterglocke.
| Wartungsintervall | Wartungsmaßnahmen |
|---|---|
| Alle 400 Betriebsstunden |
|
Lassen Sie das Wasser vom Wasserabscheider ab; siehe Entleeren des Kraftstofffilters, Wasserabscheiders.
Reinigen Sie den Anbaubereich der Filterbefestigungen (Bild 38).
Entfernen Sie den Filter und reinigen die Kontaktfläche.
Ölen Sie die Dichtung am Filter mit frischem Öl ein.
Setzen Sie den Filter mit der Hand ein, bis die Dichtung die Kontaktfläche berührt. Ziehen Sie sie dann um eine weitere halbe Umdrehung fester.
Ziehen Sie die Ablassschraube an der Unterseite der Filterglocke.
| Wartungsintervall | Wartungsmaßnahmen |
|---|---|
| Alle 400 Betriebsstunden |
|
Prüfen Sie die Kraftstoffleitungen, Verbindungen und Klemmen auf Zeichen von undichten Stellen, Verschleiß, Defekte oder lockere Anschlüsse.
Note: Reparieren Sie beschädigte oder undichte Komponenten der Kraftstoffanlage, bevor Sie die Maschine verwenden.
Klemmen Sie vor dem Durchführen von Reparaturen an der Maschine die Batterie ab. Klemmen Sie immer zuerst die Minusklemme und dann die Plusklemme ab. Schließen Sie immer zuerst den Pluspol und dann den Minuspol an.
Laden Sie die Batterie in offenen, gut gelüfteten Bereichen und nicht in der Nähe von Funken und offenem Feuer. Stecken Sie das Ladegerät aus, ehe Sie die Batterie anschließen oder abklemmen. Tragen Sie Schutzkleidung und verwenden Sie isoliertes Werkzeug.
Die Starthilfe kann gefährlich sein. Halten Sie sich an die folgenden Warnungen, um Verletzungen oder eine Beschädigung der elektrischen Komponenten in der Maschine zu vermeiden:
Führen Sie die Starthilfe nie mit einer Spannungsquelle aus, die mehr als 15 Volt Gleichstrom hat. Dies beschädigt die Elektroanlage.
Versuchen Sie nie eine entladene Batterie, die gefroren ist, mit der Starthilfe zu starten. Die Batterie könnte bei der Starthilfe reißen oder explodieren.
Halten Sie alle Batteriewarnungen bei der Starthilfe ein.
Achten Sie darauf, dass Ihre Maschine nicht die Maschine berührt, die Starthilfe gibt.
Der Anschluss der Kabel an den falschen Polen kann zu Verletzungen und/oder Sachschäden an der elektrischen Anlage führen.
Drücken Sie die Batterieabdeckung zusammen, um die Nasen aus dem Batterieunterteil zu lösen, und nehmen Sie die Batterieabdeckung vom Batterieunterteil ab (Bild 41).

Schließen Sie ein Starthilfekabel an die Pluspole der zwei Batterien an (Bild 42).
Note: Der Pluspol kann durch ein +-Zeichen oben auf der Batterieabdeckung gekennzeichnet sein.
Schließen Sie ein Ende des anderen Starthilfekabels an den Minuspol der Batterie an der anderen Maschine an.
Note: Der negative Pol wird durch NEG“ auf der Batterieabdeckung gekennzeichnet.
Note: Schließen Sie das andere Ende des Starthilfekabels nicht an den negativen Pol der entladenen Batterie an. Schließen Sie das Überbrückungskabel am Motor oder Rahmen an. Schließen Sie das Starthilfekabel nicht an die Kraftstoffanlage an.

Lassen Sie den Motor der Maschine mit der Starthilfe an.
Note: Lassen Sie es einige Minuten laufen, starten Sie dann Ihren Motor.
Nehmen Sie zuerst das negative Starthilfekabel von Ihrem Motor und dann von der Batterie an der anderen Maschine ab.
Setzen Sie die Batterieabdeckung auf das Unterteil.
| Wartungsintervall | Wartungsmaßnahmen |
|---|---|
| Alle 50 Betriebsstunden |
|
Die Batterieflüssigkeit enthält Schwefelsäure, die ein tödliches Gift ist und starke chemische Verbrennungen verursacht.
Trinken Sie keine Batterieflüssigkeit. Vermeiden Sie einen Haut- und Augenkontakt und lassen Sie die Flüssigkeit auf die Kleidung kommen. Tragen Sie eine Schutzbrille, um Ihre Augen zu schützen sowie Gummihandschuhe, um Ihre Hände zu schützen.
Befüllen Sie die Batterie an einem Ort, an dem immer reines Wasser zum Spülen der Haut verfügbar ist.
Halten Sie die Batterie immer sauber und voll aufgeladen.
Reinigen Sie korrodierte Batteriepole mit einer Lösung aus vier Teilen Wasser und einem Teil Natron.
Tragen Sie eine dünne Fettschicht auf die Batterieklemmen/-pole auf, um Korrosion zu verhindern.
Halten Sie den Batteriefüllstand aufrecht.
Halten Sie die Oberseite der Batterie durch regelmäßiges Waschen mit einer in Ammoniak oder Natronlauge getauchten Bürste sauber. Spülen Sie die Oberseite der Batterie nach der Reinigung mit Wasser. Entfernen Sie während der Reinigung nicht den Verschlussdeckel.
Um einen guten elektrischen Kontakt sicherzustellen, müssen die Batteriekabel fest mit den -polen verbunden sein.
Halten Sie die Batteriezellen mit destilliertem oder demineralisiertem Wasser gefüllt. Füllen Sie die Zellen nicht höher als bis zur Unterseite des Spaltrings in jeder Zelle.
Wenn Sie die Maschine an einem extrem heißen Ort lagern, entlädt die Batterie schneller als an kühleren Orten.
| Wartungsintervall | Wartungsmaßnahmen |
|---|---|
| Alle 100 Betriebsstunden |
|
Stellen Sie die Maschine auf einer ebenen Fläche ab.
Aktivieren Sie die Feststellbremse.
Stellen Sie den Motor ab und ziehen Sie den Zündschlüssel ab.
Reinigen Sie den Bereich um die Füll-/Prüfschraube seitlich am Differenzial (Bild 43).

Nehmen Sie die Füll-/Prüfschraube ab und prüfen Sie den Ölstand.
Note: Das Öl sollte bis zum Loch reichen.
Wenn der Ölstand niedrig ist, füllen Sie Öl der entsprechende Sorte auf.
Drehen Sie die Prüf-/Füllschraube wieder auf.
| Wartungsintervall | Wartungsmaßnahmen |
|---|---|
| Alle 800 Betriebsstunden |
|
Differenzialölsorte: Hydrauliköl Mobil 424
Stellen Sie die Maschine auf einer ebenen Fläche ab.
Aktivieren Sie die Feststellbremse.
Stellen Sie den Motor ab und ziehen Sie den Zündschlüssel ab.
Reinigen Sie den Bereich um die Ablassschraube an der Seite des Differenzials (Bild 43).
Stellen Sie eine Auffangwanne unter die Ablassschraube.
Entfernen Sie die Ablassschraube und lassen Sie das Öl in die Auffangwanne ab.
Schrauben Sie die Ablassschraube wieder fest ein, wenn keine Flüssigkeit mehr ausströmt.
Reinigen Sie den Bereich um die Füll-/Prüfschraube unten am Differenzial.
Nehmen Sie die Füll-/Prüfschraube ab und füllen Sie Öl der angegebenen Sorte ein, bis der Ölstand am Loch liegt.
Drehen Sie die Prüf-/Füllschraube wieder auf.
| Wartungsintervall | Wartungsmaßnahmen |
|---|---|
| Alle 200 Betriebsstunden |
|
Prüfen Sie die Gleichlaufmuffe auf Risse, Löcher oder eine lose Klemme. Lassen Sie festgestellte Schäden vom offiziellen Vertragshändler reparieren.
| Wartungsintervall | Wartungsmaßnahmen |
|---|---|
| Nach 10 Betriebsstunden |
|
| Alle 200 Betriebsstunden |
|
Schieben Sie den Schalthebel in die NEUTRAL-Stellung.
Nehmen Sie die Lastösenbolzen ab, mit denen die Schaltzüge an den Getriebeschalthebeln befestigt sind (Bild 44).

Lockern Sie die Klemmmuttern der Lastösenbolzen und stellen Sie jeden Bolzen so ein, dass das Kabel im Verhältnis zum Loch im Getriebeschalthebel ein gleiches Spiel nach vorne und nach hinten aufweist (wobei das Spiel des Getriebehebels in derselben Richtung erfolgt).
Setzen Sie dann die Lastösenbolzen ein und ziehen die Klemmmuttern fest.
| Wartungsintervall | Wartungsmaßnahmen |
|---|---|
| Alle 200 Betriebsstunden |
|
Nehmen Sie den Lastösenbolzen ab, mit dem der Zug (schneller/langsamer Gang) am Getriebe befestigt ist (Bild 44).
Lösen Sie die Klemmmutter am Lastösenbolzen und stellen Sie den Lastösenbolzen so ein, dass das Loch des Lastösenbolzens mit dem Loch in der Getriebehalterung ausgefluchtet ist.
Setzen Sie dann den Lastösenbolzen ein und ziehen die Klemmmutter fest.
| Wartungsintervall | Wartungsmaßnahmen |
|---|---|
| Alle 200 Betriebsstunden |
|
Stellen Sie den Differenzialsperrhebel in die AUS-Stellung.
Lösen Sie die Klemmmuttern, mit denen das Differenzialsperrkabel am Getriebe befestigt ist (Bild 45).

Stellen Sie die Klemmmuttern so ein, dass Sie einen Abstand von 0,25 mm bis 1,5 mm zwischen dem Federhaken und der Oberseite des Lochs im Getriebehebel erhalten.
Ziehen Sie dann die Klemmmuttern fest.
| Wartungsintervall | Wartungsmaßnahmen |
|---|---|
| Alle 100 Betriebsstunden |
|
Vorderreifendruck: 2,20 bar
Hinterreifendruck: 1,24 bar
Betriebsunfälle, wie z. B. das Aufprallen auf Bordsteine, kann einen Reifen oder eine Felge beschädigen sowie das Rad unwuchtig machen. Prüfen Sie den Zustand deshalb nach Unfällen.
Important: Prüfen Sie den Reifendruck häufig, damit die Reifen immer den richtigen Druck haben. Wenn die Reifen nicht den richtigen Druck haben, werden sie frühzeitig abgenutzt, was bei Modellen mit Vierradantrieb zu Problemen führen kann.
Bild 46 ist ein Beispiel für eine Reifenabnutzung, die durch einen zu niedrigen Druck verursacht wurde.

Bild 47 ist ein Beispiel für eine Reifenabnutzung, die durch einen zu hohen Druck verursacht wurde.

| Wartungsintervall | Wartungsmaßnahmen |
|---|---|
| Alle 400 Betriebsstunden |
|
Stellen Sie sicher, dass der Reifendruck korrekt ist, bevor Sie die Ausrichtung der Vorderräder überprüfen; siehe Prüfen des Reifendrucks.
Entweder muss ein Bediener auf dem Fahrersitz sitzen, oder der Fahrersitz muss mit einem Gewicht belastet werden, das dem Körpergewicht des durchschnittlichen Bedieners des Fahrzeugs entspricht.
Der Bediener oder das Gewicht muss für die Dauer der Ausrichtung der Vorderräder auf dem Sitz bleiben.
Rollen Sie die Maschine auf einer ebenen Oberfläche 2-3 m geradlinig zurück und dann geradlinig vorwärts zur Ausgangsposition.
Dadurch kann sich die Maschinenaufhängung in die normale Betriebsposition einpendeln.
Stellen Sie sicher, dass alle Räder gerade stehen.
Messen Sie den Abstand zwischen den Vorderreifen auf Achshöhe sowohl an der Vorder- als auch an der Rückseite der Reifen (Bild 48).
Die Vorspur des Vorderrads sollte 0 mm± 6 mm betragen.
Important: Prüfen Sie die Abstände immer an denselben Stellen am Reifen. Die Maschine sollte auf einer ebenen Fläche sein und die Reifen sollten gerade stehen.

Wenn die Vorspur des Vorderrads nicht korrekt ist, stellen Sie diese wie folgt ein:
Lösen Sie die Klemmmutter in der Mitte der Spurstange (Bild 49).

Drehen Sie beide Spurstangen gleichmäßig, um die Vorderseite der Reifen nach innen oder nach außen zu bewegen.
Ziehen Sie bei korrekt eingestellter Vorspur die Klemmmuttern der Spurstange fest.
Ziehen Sie die Klemmmuttern der Spurstange auf ein Drehmoment von 62 bis 74 N∙m an.
Stellen Sie nach Abschluss der Vorspureinstellung sicher, dass der volle Lenkweg in beide Richtungen gewährleistet ist.
Es darf kein Kontakt zwischen den Maschinenkomponenten bestehen, wenn Sie die Räder von Lenkanschlag zu Lenkanschlag bewegen. Stellen Sie dies bei Bedarf ein.
| Wartungsintervall | Wartungsmaßnahmen |
|---|---|
| Nach zwei Betriebsstunden |
|
| Nach 10 Betriebsstunden |
|
| Alle 200 Betriebsstunden |
|
Drehmoment der Radmuttern: 109-122 N·m.
Ziehen Sie die Radmuttern an den Vorder- und Hinterrädern in einem kreuzförmigen Muster, wie in Bild 50 gezeigt, auf das angegebene Drehmoment an.

Ein Verschlucken von Motorkühlmittel kann zu Vergiftungen führen; Kinder und Haustiere sollten keinen Zugang zum Kühlmittel haben.
Ablassen von heißem, unter Druck stehendem Kühlmittel bzw. eine Berührung des heißen Kühlers und benachbarter Teile kann zu schweren Verbrennungen führen.
Lassen Sie den Motor immer für mindestens 15 Minuten abkühlen, bevor Sie den Kühlerdeckel abnehmen.
Verwenden Sie beim Öffnen des Kühlerdeckels einen Lappen und öffnen den Kühler langsam, damit Dampf ohne Gefährdung austreten kann.
Setzen Sie die Maschine nie mit abgenommenen Abdeckungen ein.
Berühren Sie den sich drehenden Lüfter und den Treibriemen nicht mit den Fingern, Händen und Kleidungsstücken.
Stellen Sie den Motor ab und ziehen den Schlüssel ab, bevor Sie Wartungsarbeiten durchführen.
| Wartungsintervall | Wartungsmaßnahmen |
|---|---|
| Bei jeder Verwendung oder täglich |
|
Fassungsvermögen des Kühlsystems: 3,7 l
Kühlmittelsorte: Eine 50:50-Mischung aus Wasser und permanentem Ethylenglykol-Frostschutzmittel
Wenn der Motor gelaufen ist, ist das Kühlmittel heiß und steht unter Druck, d. h., es kann ausströmen und Verbrennungen verursachen.
Öffnen Sie niemals den Kühler oder füllen Sie Kühlmittel direkt in den Kühler. Dadurch gelangt Luft in das Kühlsystem, was zur Beschädigung des Motors führen kann. Füllen Sie Kühlmittel immer im Behälter nach.
Entfernen Sie niemals den Kühlerdeckel, wenn der Motor noch läuft.
Verwenden Sie beim Öffnen des Kühlerdeckels einen Lappen und öffnen den Kühler langsam, damit Dampf ohne Gefährdung austreten kann.
Stellen Sie die Maschine auf einer ebenen Fläche ab.
Stellen Sie den Ganghebel auf die P-Stellung (Parken).
Stellen Sie den Motor ab und ziehen Sie den Zündschlüssel ab.
Prüfen Sie den Kühlmittelstand im Reservebehälter.

Note: Der Kühlmittelstand sollte bei kaltem Motor bis zur Unterkante des Füllstutzens reichen.
Entfernen Sie bei niedrigem Kühlmittelstand den Deckel des Kühlmittelbehälters und füllen Sie Kühlmittel bestehende aus 50 % Ethylenglykol mit organischer Additivtechnologie (OAT) und 50 % destilliertem Wasser als Frostschutzmittel hinzu.
Füllen Sie nicht zu viel ein.
Schrauben Sie den Deckel des Überlaufgefäßes handfest auf.
| Wartungsintervall | Wartungsmaßnahmen |
|---|---|
| Bei jeder Verwendung oder täglich |
|
Stellen Sie die Maschine auf einer ebenen Fläche ab.
Aktivieren Sie die Feststellbremse.
Stellen Sie den Motor ab und ziehen Sie den Zündschlüssel ab.
Entfernen Sie alle Schmutzrückstände aus dem Motorraum.
Lösen und entfernen Sie das Kühlergitter vorne am Kühler (Bild 52).

Drehen Sie die Riegel und den Ölkühler (falls vorhanden) vom Kühler weg (Bild 53).

Reinigen Sie den Kühler, Ölkühler und das Gitter mit Druckluft.
Note: Blasen Sie Fremdkörper aus dem Kühler heraus.
Befestigen Sie den Kühler und das Gitter am Kühler.
| Wartungsintervall | Wartungsmaßnahmen |
|---|---|
| Alle 1000 Betriebsstunden |
|
Fassungsvermögen des Kühlsystems: 3,7 l
Kühlmittelsorte: Eine 50:50-Mischung aus Wasser und permanentem Ethylenglykol-Frostschutzmittel
Wenden Sie sich an den offiziellen Toro-Vertragshändler.
| Wartungsintervall | Wartungsmaßnahmen |
|---|---|
| Bei jeder Verwendung oder täglich |
|
| Alle 1000 Betriebsstunden |
|
Bremsflüssigkeitssorte: DOT 3
Stellen Sie die Maschine auf einer ebenen Fläche ab.
Aktivieren Sie die Feststellbremse.
Stellen Sie den Motor ab und ziehen Sie den Zündschlüssel ab.
Öffnen Sie die Motorhaube, um an den Hauptbremszylinder und den Behälter zu gelangen (Bild 54).

Der Flüssigkeitsstand sollte bis zur Voll-Markierung am Behälter reichen (Bild 55).

Wenn der Flüssigkeitsstand niedrig ist, reinigen Sie den Bereich um den Deckel, nehmen Sie den Behälterdeckel ab und füllen Sie den Behälter mit der angegebenen Bremsflüssigkeit auf den richtigen Stand auf (Bild 55).
Note: Füllen Sie nicht zu viel Bremsflüssigkeit in den Behälter.
| Wartungsintervall | Wartungsmaßnahmen |
|---|---|
| Nach 10 Betriebsstunden |
|
| Alle 200 Betriebsstunden |
|
Nehmen Sie den Gummigriff vom Feststellbremshebel ab (Bild 56).

Lösen Sie die Stellschraube, mit der das Handrad am Feststellbremshebel befestigt ist (Bild 57).

Drehen Sie das Handrad (Bild 57), bis eine Kraft von 20 kg bis 22 kg erforderlich ist, um den Hebel zu betätigen.
Ziehen Sie die Stellschraube fest (Bild 57).
Note: Wenn Sie die Feststellbremse nicht mehr mit dem Feststellbremshebel einstellen können, lösen Sie den Hebel bis zur mittleren Einstellung und stellen dann den Zug hinten ein; wiederholen Sie dann Schritt 3.
Befestigen Sie den Gummigriff am Feststellbremshebel (Bild 56).
| Wartungsintervall | Wartungsmaßnahmen |
|---|---|
| Alle 200 Betriebsstunden |
|
Note: Nehmen Sie die vordere Haube ab, um das Einstellen zu vereinfachen.
Nehmen Sie den Splint und Lastösenbolzen ab, mit denen das Hauptzylinderjoch am Bremspedalgelenk befestigt ist (Bild 58).

Heben Sie das Bremspedal an (Bild 59), bis es den Rahmen berührt.
Lösen Sie die Klemmmuttern, mit denen das Joch an der Hauptzylinderwelle befestigt ist (Bild 59).
Stellen Sie das Joch ein, bis die Löcher mit den Loch im Bremspedalgelenk ausgerichtet sind.
Befestigen Sie das Joch mit dem Lastösenbolzen und Splint am Bremsgelenk.
Ziehen Sie die Klemmmuttern an, mit denen das Joch an der Hauptzylinderwelle befestigt ist.
Note: Der Bremshauptzylinder muss Druck ablassen, wenn er korrekt eingestellt ist.

| Wartungsintervall | Wartungsmaßnahmen |
|---|---|
| Nach 10 Betriebsstunden |
|
| Alle 200 Betriebsstunden |
|
Heben Sie die Ladepritsche an und setzen Sie die Sicherheitsstütze der Ladepritsche auf den ausgefahrenen Hubzylinder, um die Ladepritsche abzustützen.
Prüfen Sie die Spannung, indem Sie eine Kraft von 10 kg in der Mitte zwischen der Lichtmaschine und den Kurbelwellenscheiben ansetzen (Bild 60).
Note: Ein neuer Riemen sollte sich 8 mm bis 12 mm durchbiegen.
Note: Ein gebrauchter Riemen sollte sich 10 mm bis 14 mm durchbiegen. Machen Sie bei einem falschen Durchbiegungswert mit dem nächsten Schritt weiter. Setzen Sie die Maschine ein, wenn der Wert stimmt.
Stellen Sie die Riemenspannung wie folgt ein:
| Wartungsintervall | Wartungsmaßnahmen |
|---|---|
| Alle 200 Betriebsstunden |
|
Note: Sie können das Kupplungspedalkabel am Glockengehäuse oder am Kupplungspedalgelenk einstellen. Sie können die vordere Haube abnehmen, um den Zugang zum Pedalgelenk zu vereinfachen.
Lösen Sie die Klemmmuttern, mit denen das Kupplungskabel an der Halterung am Glockengehäuse befestigt ist (Bild 61).
Note: Das Kugelgelenk kann entfernt und gedreht werden, wenn eine weitere Einstellung erforderlich ist.

Nehmen Sie die Rücklauffeder vom Kupplungshebel ab.
Stellen Sie die Klemmmuttern oder das Kugelgelenk ein, bis sich die hintere Kante des Kupplungspedals 9,2 cm bis 9,8 cm von der Oberseite des Bodenplattensternmusters befindet, wenn Sie eine Kraft von 1,8 kg auf das Pedal aufbringen (Bild 62).

Note: Kraft wird angewendet, sodass das Auslöselager der Kupplung die Finger der Druckplatte leicht berührt.
Ziehen Sie die Klemmmuttern an, wenn Sie die richtige Einstellung erzielt haben.
Prüfen Sie den eingestellten Wert von 9,2 cm bis 9,8 cm nach dem Anziehen der Klemmmuttern, um eine richtige Einstellung zu gewährleisten.
Note: Stellen Sie ggf. erneut ein.
Setzen Sie die Rücklauffeder wieder auf den Kupplungshebel.
Important: Stellen Sie sicher, dass das Stangenende richtig auf der Kugel (nicht gedreht) positioniert ist, und parallel zum Kupplungspedal bleibt, nach dem die Klemmmutter angezogen ist (Bild 63).
Note: Die Kupplung sollte mindestens ein Spiel von 19 mm haben.

Parken Sie die Maschine auf einer ebenen Fläche, aktivieren Sie die Feststellbremse, stellen den Motor ab und ziehen den Schlüssel ab
Stellen Sie das Kugelgelenk am Bowdenzug (Bild 64) so ein, dass Sie einen Abstand von 2,54 mm bis 6,35 mm zwischen dem Fahrpedalarm und der Oberseite des Bodenplattensternmusters (Bild 65) erhalten, wenn Sie eine Kraft von 11,3 kg auf die Pedalmitte aufbringen.
Note: Der Motor darf nicht laufen, und die Rückholfeder muss befestigt sein.
Ziehen Sie die Sicherungsmutter an (Bild 64).


Important: Die maximale Leerlaufgeschwindigkeit beträgt 3.650 Umdrehungen pro Minute. Stellen Sie den Leerlaufgeschwindigkeitsstopp nicht selbst ein.
Suchen Sie beim Einspritzen unter die Haut sofort einen Arzt auf. In die Haut eingedrungene Flüssigkeit muss sie innerhalb weniger Stunden von einem Arzt entfernt werden.
Bevor Sie die Hydraulikanlage abtrennen oder Arbeiten an ihr vornehmen, muss der gesamte Druck aus der Anlage entfernt werden. Stellen Sie den Motor ab, schieben Sie das Ablassventil von Anheben auf Ablassen und/oder senken die Ladepritsche und Anbaugeräte ab. Schieben Sie den Remotehydraulikhebel in die Schwebestellung. Arbeiten Sie nicht unter einer angehobenen Ladepritsche, wenn die richtige Sicherheitsstütze für die Ladepritsche nicht angebracht ist.
Stellen Sie sicher, dass alle Hydraulikschläuche und Leitungen in einwandfreiem Zustand sind, und dass alle Hydraulikanschlüsse fest angezogen sind, bevor Sie die Hydraulikanlage unter Druck stellen.
Halten Sie Ihren Körper und Ihre Hände von Nadellöchern und Düsen fern, aus denen Hydrauliköl unter hohem Druck ausgestoßen wird.
Gehen Sie hydraulischen Undichtheiten nur mit Pappe oder Papier nach.
Getriebeölsorte: Dexron II ATF
| Wartungsintervall | Wartungsmaßnahmen |
|---|---|
| Bei jeder Verwendung oder täglich |
|
Stellen Sie die Maschine auf einer ebenen Fläche ab.
Aktivieren Sie die Feststellbremse.
Stellen Sie den Motor ab und ziehen Sie den Zündschlüssel ab.
Reinigen Sie den Bereich um den Peilstab (Bild 66).

Schrauben Sie den Peilstab oben aus dem Getriebe und wischen ihn mit einem sauberen Lappen ab.
Stecken Sie den Peilstab in das Getriebe und stellen Sie sicher, dass er vollständig eingeführt ist.
Schrauben Sie den Peilstab heraus und prüfen Sie den Ölstand.
Note: Die Flüssigkeit sollte bis zum oberen Ende des flachen Teils am Peilstab reichen.
Gießen Sie so viel Öl ein, bis der richtige Stand erreicht ist, wenn der Ölstand zu niedrig ist; siehe Getriebe/Hydrauliköl – technische Angaben.
| Wartungsintervall | Wartungsmaßnahmen |
|---|---|
| Alle 800 Betriebsstunden |
|
Hydraulikölmenge: 7 l
Stellen Sie die Maschine auf einer ebenen Fläche ab.
Aktivieren Sie die Feststellbremse.
Stellen Sie den Motor ab und ziehen Sie den Zündschlüssel ab.
Nehmen Sie die Ablassschraube an der Seite des Behälters ab und lassen Sie das Hydrauliköl in die Auffangwanne ablaufen (Bild 67).

Achten Sie auf die Ausrichtung des Hydraulikschlauches und des 90°-Anschlussstückes, das an der Seite des Behälters befestigt ist (Bild 68).
Nehmen Sie den Hydraulikschlauch und das 90°-Anschlussstück ab.
Nehmen Sie das Sieb ab und spülen es mit einem sauberen Entfettungsmittel.
Note: Lassen Sie es an der Luft trocknen, bevor Sie es einsetzen.

Setzen Sie das Sieb ein.
Befestigen Sie den Hydraulikschlauch und das 90°-Anschlussstück in derselben Ausrichtung am Sieb.
Setzen Sie die Ablassschraube ein und ziehen Sie sie fest.
Füllen Sie den Behälter mit ca. 7 Liter der angegebenen Hydraulikölsorte; siehe Prüfen des Getriebeöl- bzw. des Hydraulikölstands.
Lassen Sie den Motor an und fahren Sie mit der Maschine, um die Hydraulikanlage mit Öl zu füllen.
Prüfen Sie den Stand des Hydrauliköls und füllen bei Bedarf nach.
Important: Verwenden Sie nur die angegebenen Hydraulikölsorten. Andere Ölsorten können die Hydraulikanlage beschädigen.
| Wartungsintervall | Wartungsmaßnahmen |
|---|---|
| Nach 10 Betriebsstunden |
|
| Alle 800 Betriebsstunden |
|
Important: Der Einsatz anderer Filter führt u. U. zum Verlust Ihrer Garantieansprüche für einige Bauteile.
Stellen Sie die Maschine auf einer ebenen Fläche ab.
Aktivieren Sie die Feststellbremse.
Stellen Sie den Motor ab und ziehen Sie den Zündschlüssel ab.
Reinigen Sie den Anbaubereich des Filters.
Stellen Sie eine Auffangwanne unter den Filter und entfernen den Filter (Bild 69).

Fetten Sie die Dichtung am neuen Filter ein.
Stellen Sie sicher, dass der Anbaubereich des Filters sauber ist.
Drehen Sie den Filter ein, bis die Dichtung die Befestigungsplatte berührt; ziehen Sie ihn dann um eine weitere ½ Umdrehung an.
Starten Sie den Motor und lassen ihn ca. zwei Minuten lang laufen, um die Anlage zu entlüften.
Stellen Sie den Motor ab und prüfen Sie den Stand des Hydrauliköls. Achten Sie auch auf Lecks.
Der Behälter wird im Werk mit hochwertigem Hydrauliköl gefüllt. Prüfen Sie den Stand des Hydrauliköls vor dem ersten Anlassen des Motors und dann täglich; siehe Prüfen des Ölstands der Hochflusshydraulik.
Empfohlenes Ersatzhydrauliköl: Toro PX Extended Life Hydraulic Fluid; erhältlich in 19-l-Eimern oder 208-l-Fässern.
Note: An einer Maschine, die mit dem empfohlenen Ersatzhydrauliköl befüllt wird, muss weniger häufig ein Öl- oder Filterwechsel durchgeführt werden.
Ersatzölsorten: Wenn das Toro PX Extended Life Hydraulic Fluid nicht erhältlich ist, können Sie andere handelsübliche, auf Erdöl basierende, Hydraulikflüssigkeiten verwenden, dessen Spezifikationen für alle folgenden Materialeigenschaften im aufgeführten Bereich liegen und die Industrienormen erfüllen. Kein synthetisches Öl verwenden. Wenden Sie sich an den Ölhändler, um einen entsprechenden Ersatz zu finden.
Note: Toro haftet nicht für Schäden, die aus einer unsachgemäßen Substitution entstehen. Verwenden Sie also nur Erzeugnisse namhafter Hersteller, die für die Qualität ihrer Produkte garantieren.
| Materialeigenschaften: | ||
| Viskosität, ASTM D445 | cSt @ 40 °C, 44 bis 48 | |
| Viskositätsindex ASTM D2270 | 140 oder höher | |
| Stockpunkt, ASTM D97 | -34 °C bis -45 °C | |
| Branchenspezifikationen: | Eaton Vickers 694 (I-286-S, M-2950-S/35VQ25 oder M-2952-S) | |
Note: Viele Hydraulikölsorten sind fast farblos, was das Erkennen von undichten Stellen erschwert. Als Beimischmittel für das Hydrauliköl können Sie ein rotes Färbmittel in 20-ml-Flaschen kaufen. Eine Flasche reicht für 15-22 l Hydrauliköl. Sie können es unter der Teilenummer 44-2500 über Ihren Toro-Vertragshändler beziehen.
| Wartungsintervall | Wartungsmaßnahmen |
|---|---|
| Bei jeder Verwendung oder täglich |
|
Stellen Sie die Maschine auf einer ebenen Fläche ab.
Aktivieren Sie die Feststellbremse.
Stellen Sie den Motor ab und ziehen Sie den Zündschlüssel ab.
Reinigen Sie den Bereich um den Füllstutzen und den Deckel des Hydraulikbehälters (Bild 70).
Drehen Sie den Deckel vom Füllstutzen ab.

Entfernen Sie den Peilstab (Bild 70) aus dem Füllstutzen und wischen ihn mit einem sauberen Lappen ab.
Stecken Sie den Peilstab in den Füllstutzen und ziehen ihn dann heraus, um den Ölstand zu prüfen.
Note: Der Ölstand sollte sich zwischen den beiden Markierungen am Peilstab befinden.
Gießen Sie bei niedrigem Ölstand Öl der richtigen ein, bis der Ölstand an der oberen Markierung liegt; siehe Wechseln des Hochfluss-Hydrauliköls und des -filters.
Führen Sie den Peilstab in den Füllstutzen ein.
Lassen Sie den Motor an und schalten Sie das Anbaugerät ein.
Note: Lassen Sie sie ca. zwei Minuten laufen, um die Anlage zu entlüften.
Important: Der Motor muss laufen, bevor Sie die Hochflusshydraulik zuschalten.
Stellen Sie den Motor und das Anbaugerät ab und prüfen die Dichtheit.
| Wartungsintervall | Wartungsmaßnahmen |
|---|---|
| Alle 800 Betriebsstunden |
|
| Alle 1000 Betriebsstunden |
|
| Alle 2000 Betriebsstunden |
|
Hydraulikölmenge: ca. 15 l
Stellen Sie die Maschine auf einer ebenen Fläche ab.
Aktivieren Sie die Feststellbremse.
Stellen Sie den Motor ab und ziehen Sie den Zündschlüssel ab.
Reinigen Sie den Anbaubereich des Hochflussfilters (Bild 69).
Stellen Sie eine Auffangwanne unter den Filter und entfernen den Filter.
Note: Wenn Sie das Öl nicht ablassen, schließen Sie die zum Filter führende Hydraulikleitung ab und setzen Sie einen Stöpsel auf.
Schmieren Sie die neue Filterdichtung ein und drehen Sie den Filter mit der Hand auf den Filterkopf, bis die Dichtung den Filterkopf berührt. Ziehen Sie ihn dann um ¾ Umdrehung weiter fest. Jetzt müsste der Filter dicht sein.
Füllen Sie den Hydraulikbehälter mit ca. 15 l Hydrauliköl.
Starten Sie die Maschine und lassen Sie den Motor für ca. zwei Minuten im Leerlauf laufen, um das Öl zu verteilen und eingeschlossene Luft aus der Anlage zu entfernen.
Stellen Sie die Motor ab und überprüfen den Ölstand.
Prüfen Sie den Ölstand.
Entsorgen Sie Öl vorschriftsmäßig.
Sie können die Ladepritsche in einem Notfall ohne Anlassen des Motors durch Betätigen des Anlassers und Starten der Hydraulikanlage anheben.
Betätigen Sie den Anlasser und halten Sie den Hubhebel in der angehobenen Stellung. Lassen Sie den Anlasser für 10 Sekunden laufen, warten Sie dann 60 Sekunden, bevor Sie den Anlasser erneut betätigen. Wenn der Motor nicht anspringt, müssen Sie die Last und die Ladepritsche (das Anbaugerät) entfernen, um den Motor oder das Getriebe zu warten.
Eine angehobene volle Ladepritsche ohne richtig angebrachte Sicherheitsstützstange kann sich unerwartet absenken. Das Arbeiten unter einer nicht abgestützten Ladepritsche kann Sie und andere Personen verletzen.
Parken Sie die Maschine auf einer ebenen Fläche, bevor Sie die Maschine warten oder einstellen, aktivieren Sie die Feststellbremse, stellen Sie den Motor ab und ziehen Sie den Schlüssel ab.
Entfernen Sie die gesamte Ladung aus der Ladepritsche oder andere Anbaugeräte, und setzen Sie die Sicherheitsstütze bei komplett ausgefahrener Zylinderstange ein, ehe Sie unter der angehobenen Ladepritsche arbeiten.
Hierfür benötigen Sie zwei Hydraulikschläuche. Jeder Schlauch muss eine Schnellkupplung mit Innen- und Außengewinde haben, die auf die Fahrzeugkupplungen passen.
Fahren Sie eine andere Maschine hinten an die kaputte Maschine ran.
Important: Die Hydraulikanlage der Maschine verwendet Dexron III ATF. Um eine Verschmutzung der Anlage zu vermeiden, sollten Sie sicherstellen, dass die Maschine, mit der Sie die Hydraulikanlage starten möchten, eine gleichwertige Hydraulikflüssigkeit verwendet.
Schließen Sie an beiden Maschinen die zwei Schnellkupplungsschläuche von den Schläuchen ab, die an der Schnellkupplungshalterung befestigt sind (Bild 71).

Schließen Sie an der defekten Maschine die beiden Überbrückungsschläuche an die Schläuche an, die abgeschlossen wurden (Bild 72).
Verschließen Sie nicht verwendete Anschlüsse.

Schließen Sie an der anderen Maschine die zwei Schläuche an der Kupplung an, die sich noch in der Kupplungshalterung befindet (schließen Sie den oberen Schlauch an die obere Kupplung und den unteren Schlauch an der unteren Kupplung an) (Bild 73).
Verschließen Sie nicht verwendete Anschlüsse.

Halten Sie alle Unbeteiligten von den Maschinen fern.
Lassen Sie die zweite Maschine an und schieben Sie den Hubhebel in die angehobene Stellung. Die defekte Ladepritsche wird jetzt angehoben.
Schieben Sie den Hydraulikhubhebel in die NEUTRAL-Stellung und aktivieren Sie die Hubhebelsperre.
Setzen Sie die Ladepritschenstütze auf den ausgefahrenen Hubzylinder; siehe Verwenden der Ladepritschenstütze.
Note: Stellen Sie den Motor beider Maschinen ab. Schieben Sie den Hubhebel nach hinten und vorne, um den Systemdruck abzulassen und das Abschließen der Schnellkupplungen zu vereinfachen.
Nehmen Sie nach dem Abschluss der Schritte die Überbrückungsschläuche ab und schließen Sie die Hydraulikschläuche an beiden Maschinen an.
Important: Prüfen Sie den Stand des Hydrauliköls an beiden Maschinen, bevor Sie weiterarbeiten.
Waschen Sie die Maschine nach Bedarf nur mit Wasser oder mit einem milden Reinigungsmittel. Zum Reinigen des Fahrzeugs kann ein Putztuch/-lappen verwendet werden.
Important: Verwenden Sie zur Reinigung der Maschine kein Brack- oder wiederaufbereitetes Wasser.
Important: Reinigen Sie die Maschine nicht mit einem Hochdruckreiniger. Hochdruckreiniger können die Elektroanlage beschädigen, wichtige Aufkleber lösen und das an den Reibungsstellen benötigte Fett wegspülen. Vermeiden Sie den Einsatz von zu viel Wasser, insbesondere in der Nähe des Armaturenbretts, des Motors und der Batterie.
Important: Reinigen Sie die Maschine bei laufendem Motor nicht mit Wasser. Das Reinigen der Maschine mit Wasser bei laufendem Motor kann zu einer internen Motorbeschädigung führen.
Stellen Sie vor dem Verlassen des Fahrersitzes die Maschine ab, ziehen Sie den Schlüssel ab und warten Sie, bis alle beweglichen Teile zum Stillstand gekommen sind. Lassen die Maschine abkühlen, bevor Sie sie einstellen, warten, reinigen, oder einlagern.
Lagern Sie die Maschine oder den Benzinkanister nie an Orten mit offener Flamme, Funken oder Zündflamme, z. B. Warmwasserbereiter, oder anderen Geräten.
| Wartungsintervall | Wartungsmaßnahmen |
|---|---|
| Nach 50 Betriebsstunden |
|
| Alle 200 Betriebsstunden |
|
| Alle 400 Betriebsstunden |
|
| Alle 600 Betriebsstunden |
|
Parken Sie die Maschine auf einer ebenen Fläche, aktivieren Sie die Feststellbremse, stellen den Motor ab und ziehen den Schlüssel ab.
Entfernen Sie Schmutz und Rückstände von der ganzen Maschine, einschließlich von der Außenseite der Zylinderkopfrippen des Motors und des Gebläsegehäuses.
Prüfen Sie die Bremsen; siehe Prüfen der Bremsflüssigkeit.
Warten Sie den Luftfilter; siehe Warten des Luftfilters.
Dichten Sie die Ansaugseite des Luftfilters und das Auspuffrohr mit witterungsbeständigem Klebeband ab.
Schmieren Sie die Maschine ein; siehe Einfetten der Lager und Büchsen.
Wechseln Sie das Öl und den Filter im Motor; siehe Wechseln des Motoröls und -filters.
Spülen Sie den Kraftstofftank mit frischem, sauberem Diesel.
Bringen Sie alle Teile der Kraftstoffanlage wieder sicher an.
Prüfen Sie den Reifendruck; siehe Prüfen des Reifendrucks.
Prüfen Sie den Frostschutz und füllen eine 50:50-Mischung aus Wasser und Frostschutzmittel nach, wie sie für die zu erwartenden Mindesttemperaturen in Ihrer Region erforderlich ist.
Nehmen Sie die Batterie aus dem Chassis heraus, prüfen den Säurestand und laden die Batterie vollständig auf; siehe Warten der Batterie.
Note: Schließen Sie die Batteriekabel während der Einlagerung nicht an den Batteriepolen an.
Important: Die Batterie muss ganz aufgeladen sein, um ein Einfrieren und eine Beschädigung bei Temperaturen unter 0℃ zu vermeiden. Eine ganz aufgeladene Batterie hält die Ladung für ungefähr 50 Tage bei Temperaturen unter 4 °C. Wenn die Temperaturen über 4 °C liegen, prüfen Sie den Füllstand der Batterie und laden Sie die Batterie alle 30 Tage auf.
Prüfen Sie alle Muttern und Schrauben und ziehen diese bei Bedarf an. Reparieren oder wechseln Sie alle beschädigten und defekten Teile aus.
Bessern Sie alle zerkratzten oder abgeblätterten Metallflächen aus.
Die passende Farbe erhalten Sie bei Ihrem Vertragshändler.
Lagern Sie die Maschine in einer sauberen, trockenen Garage oder an einem anderen geeigneten Ort ein.
Decken Sie die Maschine ab, damit sie geschützt ist und nicht verstaubt.
| Problem | Possible Cause | Corrective Action |
|---|---|---|
| Die Schnellkupplungen sind schwer an- und abzuschließen. |
|
|
| Die Servolenkung ist schwer zu bewegen. |
|
|
| Das Hydraulikanschlussstück ist nicht dicht. |
|
|
| Ein Anbaugerät funktioniert nicht. |
|
|
| Der Motor startet nicht. |
|
|