| Onderhoudsinterval | Onderhoudsprocedure |
|---|---|
| Bij elk gebruik of dagelijks |
|
Dit multifunctionele werkvoertuig is voornamelijk bedoeld om mensen en ladingen materiaal te transporteren op kleine wegen en terrein. Het gebruik van dit product voor andere doeleinden dan het bedoelde gebruik kan gevaarlijk zijn voor u en voor omstanders.
Lees deze informatie zorgvuldig door, zodat u weet hoe u dit product op de juiste wijze moet gebruiken en onderhouden en om letsel en schade aan de machine te voorkomen. U bent verantwoordelijk voor het juiste en veilige gebruik van de machine.
Ga naar www.Toro.com voor documentatie over productveiligheid en bedieningsinstructies, informatie over accessoires, hulp bij het vinden van een dealer of om uw product te registreren.
Als u service, originele Toro-onderdelen of aanvullende informatie nodig hebt, kunt u contact opnemen met een erkende servicedealer of met de klantenservice van Toro. U dient hierbij altijd het modelnummer en het serienummer van het product te vermelden. De locatie van het plaatje met het modelnummer en het serienummer van het product is aangegeven op Figuur 1. U kunt de nummers noteren in de ruimte hieronder.
Important: U kunt met uw mobiel apparaat de QR-code op het plaatje met het serienummer (indien aanwezig) scannen om toegang te verkrijgen tot de garantie, onderdelen en andere productinformatie.

Er worden in deze handleiding twee woorden gebruikt om uw aandacht op bijzondere informatie te vestigen. Belangrijk attendeert u op bijzondere technische informatie en Opmerking duidt op algemene informatie die bijzondere aandacht verdient.
Het veiligheidssymbool (Figuur 2) verschijnt zowel in deze handleiding als op de machine; het wijst op belangrijke boodschappen aangaande de veiligheid die u in acht dient te nemen om ongevallen te voorkomen. Het symbool zal verschijnen met het woord Gevaar, Waarschuwing of Voorzichtig.
Gevaar: een direct gevaarlijke situatie die, als deze niet wordt voorkomen, altijd zal leiden tot de dood of ernstig letsel.
Waarschuwing: een mogelijk gevaarlijke situatie die, als deze niet wordt voorkomen, kan leiden tot de dood of ernstig letsel.
Voorzichtig: een mogelijk gevaarlijke situatie die, als deze niet wordt voorkomen, kan leiden tot licht of middelmatig letsel.

Dit product voldoet aan alle relevante Europese richtlijnen; zie voor details de aparte productspecifieke conformiteitsverklaring.
Als de machine zonder een goed werkende vonkenvanger, zoals omschreven in sectie 4442, of een goed onderhouden, brandveilige motor wordt gebruikt in een bosgebied of op een met dicht struikgewas of gras begroeid terrein, handelt de bestuurder in strijd met de bepalingen van sectie 4442 of 4443 van de Wet op de Openbare Hulpbronnen (Public Resources Code) van de Staat Californië.
De bij deze motor geleverde Gebruikershandleiding bevat informatie over het Environmental Protection Agency (EPA) in de Verenigde Staten en de California Emission Control Regulation voor emissiesystemen, onderhoud en garantie. Bestel vervangingsonderdelen bij de fabrikant van de motor.
Als deze machine is uitgerust met een telematica-apparaat, neem dan contact op met uw erkende Toro distributeur voor instructies over hoe u het apparaat moet activeren.
CALIFORNIË
Proposition 65 Waarschuwing
De uitlaatgassen van de dieselmotor van dit product bevatten bestanddelen waarvan bekend is dat ze kanker, geboorteafwijkingen of andere schade aan de voortplantingsorganen kunnen veroorzaken.
Accuklemmen, accupolen en dergelijke onderdelen bevatten lood en loodverbindingen. Van deze stoffen is bekend dat ze kanker en schade aan de voortplantingsorganen veroorzaken. Was altijd uw handen nadat u met deze onderdelen in aanraking bent geweest.
Dit product kan lichamelijk letsel veroorzaken. Volg altijd alle veiligheidsinstructies op om ernstig letsel te voorkomen.
Lees de Gebruikershandleiding en verzeker dat u deze begrijpt voordat u de machine start. Zorg dat alle gebruikers van dit product weten hoe ze het dienen te gebruiken en dat ze de waarschuwingen begrijpen.
Geef uw volledige aandacht als u de machine gebruikt. Zorg ervoor dat u met niets anders bezig bent waardoor u kunt worden afgeleid, anders kan er letsel ontstaan of kan eigendom worden beschadigd.
Houd handen en voeten uit de buurt van de bewegende onderdelen van de machine.
Gebruik de machine enkel als de nodige schermen en andere beveiligingsmiddelen aanwezig zijn en naar behoren werken.
Laat geen omstanders of kinderen het werkgebied betreden. Laat kinderen nooit de machine bedienen.
Stop en schakel de machine uit en verwijder het contactsleuteltje voordat u onderhoud uitvoert of brandstof bijvult.
Onjuist gebruik of onderhoud van deze machine kan letsel tot
gevolg hebben. Om het risico op letsel te verkleinen, dient u zich
aan de volgende veiligheidsinstructies te houden en altijd op het
veiligheidssymbool
te letten, dat betekent Voorzichtig, Waarschuwing
of Gevaar – instructie voor persoonlijke veiligheid. Niet-naleving
van deze instructies kan leiden tot lichamelijk of dodelijk letsel.
![]() |
Veiligheidsstickers en veiligheidsinstructies zijn gemakkelijk zichtbaar voor de bestuurder en bevinden zich bij plaatsen waar gevaar kan ontstaan. Vervang alle beschadigde of ontbrekende stickers. |


























Note: Bepaal vanuit de normale bedieningspositie de linker- en rechterzijde van het voertuig.
Benodigde onderdelen voor deze stap:
| Stuurwiel | 1 |
Maak de lipjes op de achterzijde van het stuurwiel los waarmee het middenkapje vastzit, en verwijder het kapje van de naaf van het stuurwiel.
Verwijder de borgmoer en de ring van de stuuras.
Schuif het stuurwiel en de ring op de as.
Note: Plaats het stuurwiel zo op de as dat de dwarsbalk horizontaal staat als de wielen recht naar voren wijzen en de dikke spaak van het stuurwiel beneden is.
Note: Het stofkapje wordt in de fabriek op de stuuras geplaatst.
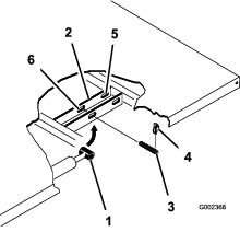
Bevestig het stuurwiel aan de as met behulp van de borgmoer en draai deze vast met een torsie van 24-29 N·m, zoals getoond in Figuur 3.
Lijn de lipjes in het kapje uit met de gleuven in het stuurwiel, en klik het kapje op de naaf van het stuurwiel (Figuur 3).

Benodigde onderdelen voor deze stap:
| Rolbeugel | 1 |
| Flenskopbout (½" x 1¼") | 6 |
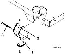
Breng normaal (verwijderbaar) schroefdraadborgmiddel aan op de schroefdraad van de 6 flenskopbouten (½" x 1¼").
Lijn de zijden van de rolbeugel uit met de montageopeningen aan weerszijde van het frame van de machine (Figuur 4).

Bevestig de montagebeugel van de rolbeugel op het frame van de machine; gebruik 3 flenskopbouten (½" x 1¼") aan beide kanten (Figuur 4).
Draai de flenskopbouten (½" x 1¼") vast met 115 N·m.
Controleer het peil van de motorolie voor- en nadat u de motor de eerste keer hebt gestart; zie Het motoroliepeil controleren.
Controleer het peil van de transaxlevloeistof/hydraulische vloeistof voordat u de motor voor de eerste keer start; zie Het peil van de transaxlevloeistof/hydraulische vloeistof controleren.
Controleer het peil van de remvloeistof voordat u de motor voor de eerste keer start; zie Remvloeistofpeil controleren.
Controleer de bandenspanning; zie Bandenspanning controleren.
Om ervoor te zorgen dat het remsysteem optimaal functioneert, moet u de remmen gebruiksklaar maken voordat u het voertuig gaat gebruiken.
Laat het voertuig op volle snelheid rijden en rem dan om de machine snel te laten stoppen zonder de wielen te blokkeren.
Herhaal deze procedure 10 keer en wacht steeds 1 minuut voordat u opnieuw remt om te voorkomen dat de remmen oververhit raken.
Important: Deze procedure is het meest effectief als de machine is beladen met 454 kg.
Zorg dat u vertrouwd bent met alle bedieningsorganen voordat u de motor start en de machine gebruikt.


Gebruik het gaspedaal (Figuur 7) om de rijsnelheid van de machine te veranderen terwijl de transmissie in versnelling staat. Als u het gaspedaal intrapt, verhoogt u het motortoerental en de rijsnelheid. Als u het pedaal laat opkomen, vermindert u het motortoerental en de rijsnelheid.

Druk het koppelingspedaal volledig in (Figuur 7) om te ontkoppelen als u de motor start of naar een andere versnelling schakelt. Laat het pedaal soepel opkomen als u hebt geschakeld om onnodige slijtage van de versnelling en andere bijbehorende onderdelen te voorkomen.
Important: Houd uw voet van het koppelingspedaal tijdens het gebruik. U moet het koppelingspedaal volledig laten opkomen omdat anders de koppeling zal slippen, hetgeen verhitting en slijtage veroorzaakt. Gebruik nooit het koppelingspedaal wanneer u de machine op een helling laat stoppen. Hierdoor kan schade aan de koppeling ontstaan.
Met het rempedaal kunt u de machine tot stilstand brengen of de snelheid verminderen (Figuur 7).
Gebruik van een machine met versleten of onjuist afgestelde remmen kan tot persoonlijk letsel leiden.
Als de vrije slag van het rempedaal tot de vloer van de machine minder dan 25 mm bedraagt, moeten de remmen worden afgesteld of gerepareerd.
Trap het koppelingspedaal volledig in en zet de schakelhendel (Figuur 8) in de gewenste stand. U ziet hieronder een schematische weergave van het schakelpatroon.

Important: Schakel de transaxle uitsluitend in ACHTERUIT of VOORUIT als de machine stilstaat; anders kunt u schade toebrengen aan de transaxle.
Terugschakelen bij te hoge snelheid kan ertoe leiden dat de achterwielen slippen waardoor de kans bestaat dat u de controle over de machine verliest, en de koppeling en/of transmissie schade oploopt.
Schakel soepel om te voorkomen dat de versnellingen slijten.
Met de differentieelvergrendeling (Figuur 9) kan de achteras worden vergrendeld om de tractie te verbeteren. U kunt de differentieelvergrendeling inschakelen als de machine in beweging is.
Beweeg de hendel naar voren en naar rechts om de grendel in te schakelen.
Note: Om de differentieelvergrendeling in of uit te schakelen, moet de machine in beweging zijn en een flauwe bocht maken.
Als u een bocht maakt met ingeschakelde differentieelvergrendeling, kunt u de controle over de machine verliezen.
Schakel de differentieelvergrendeling uit als u scherpe bochten maakt of bij hoge snelheid werkt; zie Kabel van de differentieelvergrendeling afstellen.

Als u de motor afzet, moet u de parkeerrem (Figuur 9) in werking stellen om te voorkomen dat de machine per ongeluk in beweging komt.
Om de parkeerrem in werking te stellen, moet u de hendel naar achteren trekken.
Duw de parkeerremhendel naar voren om de parkeerrem vrij te zetten.
Note: Zet de parkeerrem vrij voordat u de machine verplaatst.
Als u de machine op een steile helling parkeert, stel dan de parkeerrem in werking, kies de EERSTE versnelling (als het voertuig met de voorkant naar boven wijst) of ACHTERUIT (als het met de voorkant naar beneden wijst), en plaats keggen onder de wielen.
Met de hydraulische hefinrichting kan de laadbak omhoog en omlaag worden bewogen. Beweeg de hendel naar achteren om de laadbak omhoog te bewegen en naar voren om de laadbak naar beneden te bewegen (Figuur 9).
Important: Wanneer u de bak laat zakken, hou dan de hendel nog 1 à 2 seconden in de vooruitstand nadat de bak contact heeft gemaakt met het frame om de bak vast te zetten in de neergelaten stand. Houd de hydraulische hefinrichting niet langer dan 5 seconden in de stand voor omhoogbrengen of neerlaten nadat de cilinders hun uiterste stand hebben bereikt.
Met de vergrendeling kan de hefhandgreep worden vergrendeld zodat de hydraulische cilinders niet werken als de machine niet is uitgerust met een laadbak (Figuur 9). Vergrendelt ook de hefhendel in de stand AAN als er werktuigen hydraulisch worden bediend.
De schakelhendel voor hoog-laag bereik biedt 3 extra snelheden voor nauwkeurige snelheidsregeling (Figuur 9):
U moet de machine volledig tot stilstand brengen voordat u kunt schakelen tussen het HOGE en het LAGE bereik.
Schakel enkel op vlak terrein.
Trap het koppelingspedaal volledig in.
Zet de hendel volledig naar voren voor HOOG en volledig naar achteren voor LAAG.
HOOG bereik – voor een hogere snelheid wanneer u rijdt op vlak, droog terrein met een lichte lading.
LAAG bereik – voor rijden met lage snelheid. Gebruik deze stand wanneer meer vermogen of controle nodig is dan gebruikelijk. Bijvoorbeeld bij steile hellingen, slecht berijdbaar terrein, zware ladingen en lage snelheden in combinatie met hoge toerentallen (spuiten).
Important: Er is een positie tussen HOOG en LAAG waarin de transaxle in geen van beide standen staat. Deze positie mag niet worden gebruikt als NEUTRAALSTAND omdat de machine onverwacht kan gaan rijden wanneer de hendel voor Hoog-Laag per ongeluk in een van de versnellingen wordt geduwd.
Om de vierwielaandrijving met de hand in te schakelen houdt u de knop van de vierwielaandrijving (Figuur 9) op het bedieningspaneel ingedrukt terwijl het voertuig in beweging is; de vierwielaandrijving wordt dan actief.
Gebruik de contactschakelaar (Figuur 5) om de motor te starten en uit te zetten.
De contactschakelaar heeft 3 standen: UIT, AAN en START. Draai het sleuteltje naar rechts op START om het voertuig te starten. Laat het sleuteltje los zodra de motor start. Het sleuteltje gaat automatisch naar de stand AAN.
Om de motor af te zetten, draait u het sleuteltje linksom naar de stand UIT.
Zet de regelschakelaar (Figuur 5) op LANGZAAM en verwijder het sleuteltje. De regelschakelaar begrenst de motor tot 2200 tpm als de machine in derde versnelling op HOOG bereik staat. Hierbij is de topsnelheid 21 km/u.
De urenteller (Figuur 6) toont het aantal uren dat de machine in bedrijf is geweest.
De urenteller begint te werken wanneer u het contactsleuteltje naar AAN draait en het motortoerental (tpm) elke 6 minuten meer dan 500 tpm bedraagt.
Zet de derde-hoog vergrendelingsschakelaar (Figuur 5) in de stand LANGZAAM en verwijder de sleutel om gebruik van de derde versnelling in het HOGE bereik te voorkomen. Als de schakelhendel in de derde versnelling wordt gezet in de HOOG-stand dan slaat de motor af.
Note: Het sleuteltje kan in beide standen worden verwijderd.
Druk de lichtschakelaar (Figuur 5) in om de koplampen in of uit te schakelen.
Het waarschuwingslampje voor de oliedruk (Figuur 6) gaat branden als de druk van de motorolie onder een veilig peil komt terwijl de motor loopt.
Important: Wanneer het lampje knippert of aan blijft, stop dan de machine, zet de motor af en controleer het oliepeil. Als het oliepeil te laag is, maar het waarschuwingslampje niet dooft nadat u olie heeft bijgevuld en de motor weer heeft gestart, schakel dan onmiddellijk de motor uit en neem contact op met een erkende servicedealer voor hulp.
Controleer de werking van de waarschuwingslampjes als volgt:
Stel de parkeerrem in werking.
Draai het contactsleuteltje op AAN/VOORGLOEIEN, maar start de motor niet.
Note: Het oliedruklampje moet rood oplichten. Als het lampje niet oplicht, is het doorgebrand of heeft het systeem een defect dat u moet repareren.
Note: Als de motor pas is afgezet, kan het 1 tot 2 minuten duren voordat het lampje gaat branden.
Het indicatielampje van de gloeibougies (Figuur 6) gaat rood branden als de gloeibougies zijn ingeschakeld.
Important: Het indicatielampje van de gloeibougies zal 15 seconden blijven branden wanneer de schakelaar wordt teruggedraaid naar de stand START.
De meter en het lampje voor de koelvloeistoftemperatuur geven de temperatuur van de koelvloeistof in de motor aan en werken alleen wanneer het contactsleuteltje in de stand AAN staat (Figuur 6).
De 5 koelvloeistofstaven knipperen als de motor oververhit raakt.
De laadindicator licht op wanneer de accu aan het ontladen is. Als het lichtje gaat branden tijdens gebruik, stop dan de machine, zet de motor af en zoek naar een mogelijke oorzaak, bijvoorbeeld de riem van de wisselstroomdynamo (Figuur 6).
Important: Als de riem van de wisselstroomdynamo los zit of gebroken is, mag u de machine pas weer gebruiken als de afstelling of reparatie voltooid is. Als u deze voorzorgsmaatregel niet in acht neemt, kan de motor worden beschadigd.
Controleer de werking van de waarschuwingslampjes als volgt:
Stel de parkeerrem in werking.
Draai het contactsleuteltje op AAN/VOORGLOEIEN, maar start de motor niet. Het indicatielampje voor de temperatuur van de koelvloeistof, de laadindicator en het oliedruklampje moeten branden. Als een van de lichtjes niet brandt, is het lampje doorgebrand of heeft het systeem een defect dat u moet repareren.
De brandstofmeter geeft aan hoeveel brandstof er in de tank zit. De meter werkt alleen wanneer het contactsleuteltje in de stand AAN staat (Figuur 6).
Een enkele staaf geeft een laag brandstofpeil aan en 1 knipperende staaf geeft aan dat de brandstoftank bijna leeg is.
Als de schakelaar van de vierwielaandrijving (Figuur 5) aan staat, zal de machine de vierwielaandrijving automatisch inschakelen als de sensor waarneemt dat de achterwielen vrij ronddraaien. Als de vierwielaandrijving ingeschakeld is licht de indicator in de 4WD schakelaar op.
Vierwielaandrijving werkt enkel wanneer u vooruitrijdt in de modus AUTO. Als u over vierwielaandrijving wenst te beschikken in ACHTERUIT, moet u de knop van de vierwielaandrijving indrukken.
Zet de schakelaar aan om het hydraulische systeem met hoge stroming in te schakelen (Figuur 5).
De claxonschakelaar bevindt zich op het bedieningspaneel (Figuur 5). Druk op de claxonschakelaar om te claxonneren.
De toerenteller geeft het toerental van de motor weer (Figuur 6).
Note: 3330 tpm is het gewenste motortoerental voor het gebruik van de aftakas bij 540 tpm.
De snelheidsmeter registreert de rijsnelheid van de machine (Figuur 6).
Gebruik het aansluitpunt Figuur 5 om optionele elektrische accessoires van 12 V van stroom te voorzien.
De handgreep voor de passagier bevindt zich op het dashboard (Figuur 10).

U kunt de stoel naar wens naar voren en naar achteren verstellen (Figuur 11).

Note: Specificaties en ontwerp kunnen zonder voorafgaande kennisgeving worden gewijzigd.
| Totale breedte | 160 cm |
| Totale lengte | Zonder laadbak: 326 cm |
| Met volledige laadbak: 331 cm | |
| Met ⅔ laadbak op achterste montageplaats: 346 cm | |
| Basisgewicht (droog) | Model 07385: 887 kg |
| Model 07385TC: 924 kg | |
| Model 07387: 914 kg | |
| Model 07387TC: 951 kg | |
| Nominale capaciteit (inclusief bestuurder (91 kg), passagier (91 kg) en ingeladen werktuig) | Model 07385: 1471 kg |
| Model 07385TC: 1435 kg | |
| Model 07387: 1445 kg | |
| Model 07387TC: 1408 kg | |
| Maximaal Toelaatbaar Totaalgewicht van Voertuig | 2359 kg |
| Trekvermogen | Koppelgewicht: 272 kg |
| Maximaal gewicht aanhangwagen: 1587 kg | |
| Afstand tot de grond | 18 cm zonder lading |
| Wielbasis | 118 cm |
| Wielloopvlak (middellijn tot middellijn) | Voor: 117 cm |
| Achter: 121 cm | |
| Hoogte | 191 cm tot de bovenkant van de rolbeugel |
Een selectie van door Toro goedgekeurde werktuigen en accessoires is verkrijgbaar voor gebruik met de machine om de mogelijkheden daarvan te verbeteren en uit te breiden. Neem contact op met een erkende servicedealer of verdeler of ga naar www.Toro.com voor een lijst van alle goedgekeurde werktuigen en accessoires.
Om de beste prestaties te verkrijgen en ervoor te zorgen dat de veiligheidscertificaten van de machine blijven gelden, moet u ter vervanging altijd originele onderdelen en accessoires van Toro aanschaffen. Gebruik ter vervanging nooit onderdelen en accessoires van andere fabrikanten, omdat dit gevaarlijk kan zijn en de productgarantie kan tenietdoen.
Voorkom dat de machine wordt gebruikt of onderhouden door kinderen of mensen die daarvoor niet opgeleid zijn of daartoe niet lichamelijk in staat zijn. Plaatselijke voorschriften kunnen nadere eisen stellen aan de leeftijd van degene die met de machine werkt. De eigenaar is verantwoordelijk voor de instructie van alle bestuurders en technici.
Zorg ervoor dat u vertrouwd raakt met de bedieningsorganen en de veiligheidssymbolen, en weet hoe u de machine veilig kunt gebruiken.
Zet de machine af, verwijder het contactsleuteltje en wacht totdat alle bewegende onderdelen tot stilstand zijn gekomen voordat u de bestuurderspositie verlaat. Laat de machine afkoelen voordat u er instellingen of onderhoud aan verricht, of de machine schoonmaakt of stalt.
Zorg dat u weet hoe u de machine en de motor snel kunt stoppen.
Verzeker dat er niet meer mensen (u en passagiers) op de machine zitten dan er handgrepen zijn.
Controleer of alle veiligheidsvoorzieningen en stickers op hun plaats zitten. Repareer of vervang veiligheidsvoorzieningen en vervang onleesbare of ontbrekende stickers. Gebruik de machine uitsluitend als deze aanwezig zijn en naar behoren werken.
Wees uiterst voorzichtig bij het omgaan met brandstof. Brandstof is ontvlambaar en de dampen kunnen tot ontploffing komen.
Doof alle sigaretten, sigaren, pijpen en andere ontstekingsbronnen.
Gebruik uitsluitend een goedgekeurd vat of blik voor de brandstof.
Wanneer de motor loopt of heet is, mag u de brandstofdop niet verwijderen of brandstof toevoegen.
Geen brandstof bijvullen of aftappen in een afgesloten ruimte.
Bewaar de machine en het brandstofvat niet op plaatsen waar open vlammen, vonken of waakvlammen (bv. van een boiler of een ander toestel) aanwezig kunnen zijn.
Probeer de motor niet te starten als u brandstof hebt gemorst; voorkom elke vorm van open vuur of vonken totdat de brandstofdampen volledig zijn verdwenen.
| Onderhoudsinterval | Onderhoudsprocedure |
|---|---|
| Bij elk gebruik of dagelijks |
|
Voer elke dag voordat u de machine start de procedures uit in het onderdeel Telkens voor gebruik/Dagelijks in .
| Onderhoudsinterval | Onderhoudsprocedure |
|---|---|
| Bij elk gebruik of dagelijks |
|
Aanbevolen bandenspanning vooraan: 2,20 bar
Aanbevolen bandenspanning achteraan: 1,24 bar
Important: Controleer de bandenspanning regelmatig. Als de banden niet op de juiste spanning zijn, zullen ze vroegtijdig slijten en kan de vierwielaandrijving vastlopen.
Figuur 12 toont een voorbeeld van slijtage aan een band veroorzaakt door een te lage bandenspanning.

Figuur 13 toont een voorbeeld van slijtage aan een band veroorzaakt door een te hoge bandenspanning.

Gebruik uitsluitend schone, verse diesel of biodiesel met een laag (<500 ppm) of ultralaag (<15 ppm) zwavelgehalte. Het cetaangetal moet minimaal 40 zijn. Koop brandstof in hoeveelheden die binnen 180 dagen kunnen worden gebruikt zodat u verzekerd bent van verse brandstof.
Gebruik zomerdieselbrandstof (nr. 2-D) bij temperaturen boven -7 °C en winterdieselbrandstof (nr. 1-D of nr. 1-D/2-D-mengsel) bij temperaturen beneden -7 °C.
Gebruik van winterdieselbrandstof bij lage temperaturen biedt een lager vlampunt en een lager stolpunt. Dit vergemakkelijkt het starten en vermindert de kans dat het brandstoffilter verstopt raakt.
Note: Gebruik van zomerdieselbrandstof bij temperaturen boven -7 °C draagt bij aan een langere levensduur van de pomp en een hoger vermogen dan bij gebruik van winterdieselbrandstof.
Important: Gebruik geen kerosine of benzine in plaats van dieselbrandstof. Als u deze waarschuwing niet in acht neemt, kan dit leiden tot beschadiging van de motor.
Deze machine kan ook gebruik maken van een dieselmengsel tot maximaal B20 (20% biodiesel, 80% petrodiesel). Het deel petrodiesel moet een laag of ultralaag zwavelgehalte hebben. Neem de volgende voorzorgsmaatregelen in acht:
Her deel biodiesel van de brandstof moet voldoen aan de specificatie ASTM D6751 of EN 14214.
Het dieselmengsel moet voldoen aan de vereisten van ASTM D975 of EN 590.
Gelakte oppervlakken kunnen worden beschadigd door biodiesel.
Gebruik bij koud weer B5 (biodieselinhoud 5%) of mengsels met een lager percentage.
Controleer afdichtingen, slangen en pakkingen, die in contact met brandstof komen, omdat zij in de loop der tijd hierdoor kunnen worden aangetast.
De kans bestaat dat een brandstoffilter na verloop van tijd verstopt raakt, nadat u bent overgestapt op een biodieselmengsel.
Neem contact op met uw leverancier als u informatie over biodiesel wenst.
Inhoud brandstoftank: 22 liter.
Maak de omgeving van de dop van de brandstoftank schoon.
Verwijder de dop van de brandstoftank (Figuur 14).

Vul de tank tot iets onder de bovenkant van de tank (de onderkant van de vulbuis) en plaats vervolgens de dop.
Note: De tank niet te vol vullen.
Om brandgevaar te voorkomen, moet u gemorste brandstof opnemen.
| Onderhoudsinterval | Onderhoudsprocedure |
|---|---|
| Na de eerste 100 bedrijfsuren |
|
Doe het volgende om ervoor te zorgen dat de machine goede prestaties levert:
Controleer of de remmen gebruiksklaar zijn gemaakt; zie De remmen gebruiksklaar maken.
Controleer regelmatig het peil van de vloeistoffen en de motorolie. Let op signalen van oververhitting van de machine of onderdelen ervan.
Na een koude start moet u de motor ongeveer 15 seconden laten warmlopen voordat u de machine gebruikt.
Note: Laat de motor langer warmdraaien als u gaat werken bij een lage omgevingstemperatuur.
Varieer de snelheid van de machine tijdens het gebruik. Vermijd snel starten en stoppen.
De motor heeft geen inrij-olie nodig. De originele motorolie is hetzelfde type olie dat is voorgeschreven voor regelmatige olieverversingen.
Zie het hoofdstuk voor bijzondere controles op rustige momenten.
| Onderhoudsinterval | Onderhoudsprocedure |
|---|---|
| Bij elk gebruik of dagelijks |
|
Het veiligheidssysteem zorgt ervoor dat de motor alleen aanslaat of start wanneer u het koppelingspedaal intrapt.
Niet-aangesloten of beschadigde interlockschakelaars kunnen een onverwacht effect hebben op de werking van de machine. Dit kan lichamelijk letsel veroorzaken.
Laat de interlockschakelaars ongemoeid.
Controleer elke dag de werking van de interlockschakelaars en vervang beschadigde schakelaars voordat u de machine in gebruik neemt.
Note: Zie de Gebruikershandleiding van het werktuig voor de controleprocedures van het veiligheidssysteem van het werktuig.
Neem plaats op de bestuurdersstoel en stel de parkeerrem in werking.
Zet de schakelhendel in de NEUTRAALSTAND.
Note: De motor zal niet aanslaan als de hydraulische hefhendel is vergrendeld in de vooruitstand.
Draai het contactsleuteltje rechtsom naar de stand START zonder het koppelingspedaal in te trappen.
Note: Als de motor draait of start, is er een defect in het veiligheidssysteem dat moet worden hersteld voordat u de machine gebruikt.
Neem plaats op de bestuurdersstoel en stel de parkeerrem in werking.
Zet de schakelhendel in de NEUTRAALSTAND en controleer of de hydraulische hefhendel zich in de middelste stand bevindt.
Trap het koppelingspedaal in.
Zet de hydraulische hefhendel naar voren en draai het sleuteltje naar de stand START.
Note: Als de motor draait of start, is er een defect in het veiligheidssysteem dat moet worden hersteld voordat u de machine gebruikt.
De eigenaar/bestuurder is verantwoordelijk voor ongevallen die kunnen leiden tot lichamelijk letsel en materiële schade, en hij kan zulke ongevallen voorkomen.
Passagiers mogen alleen op de daarvoor bedoelde stoelen zitten. Vervoer geen passagiers in de laadbak. Laat geen omstanders of kinderen het werkgebied betreden.
Draag geschikte kleding en uitrusting, zoals oogbescherming, een lange broek, stevige schoenen met een gripvaste zool en gehoorbescherming. Draag lang haar niet los en draag geen losse kleding of juwelen.
Geef uw volledige aandacht als u de machine gebruikt. Zorg ervoor dat u met niets anders bezig bent waardoor u kunt worden afgeleid, anders kan er letsel ontstaan of kan eigendom worden beschadigd.
Gebruik de machine niet als u ziek, moe of onder de invloed van alcohol, medicijnen of drugs bent.
Bedien de machine uitsluitend buitenshuis of in een goed geventileerde ruimte.
U mag het maximaal toelaatbare totaalgewicht van de machine niet overschrijden.
Wees extra voorzichtig bij het remmen, door een bocht gaan of gebruiken van de machine als er een zware last in de laadbak zit.
Te grote ladingen transporteren in de laadbak vermindert de stabiliteit van de machine. Overschrijd de draagcapaciteit van de laadbak niet.
Materiaal transporteren dat niet kan worden vastgemaakt aan de machine heeft een nadelig effect op de stabiliteit en het stuur- en remgedrag van de machine. Wanneer u materiaal transporteert dat niet kan worden vastgemaakt aan de machine, moet u voorzichtig sturen en remmen.
Kies een lichtere lading en verminder uw snelheid als u moet rijden op ruw of oneffen terrein en vlak langs wegranden, kuilen en andere abrupte veranderingen in het terrein. De lading kan gaan schuiven waardoor de machine haar stabiliteit verliest.
Voordat u de machine start: verzeker dat de transmissie in de neutraalstand staat, de parkeerrem ingeschakeld is, en u op de bestuurdersstoel zit.
U en uw passagiers moeten blijven zitten wanneer de machine rijdt. Houd uw handen aan het stuurwiel; uw passagiers moeten de daartoe voorziene handgrepen gebruiken. Houd uw armen en benen te allen tijde binnen de machine.
Bedien de machine uitsluitend wanneer de zichtbaarheid goed is. Kijk uit voor gaten, geulen, hobbels, stenen of andere verborgen objecten. De machine kan omslaan op oneffenheden in het terrein. In hoog gras zijn obstakels niet altijd zichtbaar. Wees voorzichtig bij het naderen van blinde hoeken, struiken, bomen, en andere objecten die uw zicht kunnen belemmeren.
Rij de machine niet in de buurt van steile hellingen, greppels of dijken. De machine kan plotseling omslaan als een wiel over de rand komt, of als de rand afbrokkelt.
Kijk altijd goed uit en vermijd laag overhangende objecten, zoals boomtakken, deurposten, loopbruggen, enz.
Kijk achterom en omlaag voordat u de machine achteruitrijdt om er zeker van te zijn dat de weg vrij is.
Als u zich met de machine op de openbare weg begeeft, neem dan de verkeersregels in acht en gebruik bijkomende accessoires die wettelijk verplicht kunnen zijn, zoals verlichting, richtingaanwijzers, tekens 'langzaam rijdend voertuig', etc.
Als de machine abnormaal trilt moet u onmiddellijk stoppen, de motor uitschakelen, wachten tot alle bewegende delen tot stilstand zijn gekomen en het voertuig op beschadigingen controleren. Repareer alle schade aan de machine alvorens door te gaan met het werk.
De stoptijd van de machine op een nat oppervlak kan langer zijn dan op een droog oppervlak. Om natte remmen uit te drogen, moet u langzaam rijden op een vlak oppervlak, terwijl u lichte druk uitoefent op het rempedaal.
Als de machine snel rijdt en abrupt stopt, kunnen de achterwielen worden geblokkeerd, waardoor de machine moeilijk bestuurbaar wordt.
Raak de motor, de transmissie, de geluiddemper of het verdeelstuk van de geluiddemper niet aan als de motor loopt of direct nadat u de motor hebt afgezet. Deze onderdelen kunnen heet zijn en brandwonden veroorzaken.
U mag een machine met draaiende motor niet onbeheerd achterlaten.
Doe het volgende voordat u de bestuurdersstoel verlaat:
Parkeer de machine op een horizontaal oppervlak.
Zet de transmissie op NEUTRAAL.
Stel de parkeerrem in werking.
Laat de laadbak neer.
Zet de machine uit en verwijder het sleuteltje.
Wacht totdat alle bewegende onderdelen tot stilstand zijn gekomen.
Gebruik de machine niet als het kan bliksemen.
Gebruik alleen door The Toro® Company goedgekeurde accessoires en werktuigen.
De rolbeugel is een integrale veiligheidsvoorziening.
De rolbeugel niet van de machine verwijderen.
Doe altijd de veiligheidsgordel om; zorg ervoor dat deze bevestigd is en dat u hem snel kunt losmaken in een noodgeval.
Controleer grondig of er boven de machine obstakels zijn en zorg ervoor dat u deze niet raakt.
Houd de rolbeugel in goede staat door deze regelmatig grondig te controleren op beschadiging, en zorg dat alle bevestigingsmateriaal stevig is vastgedraaid.
Vervang beschadigde onderdelen van de rolbeugel. Herstel of wijzig deze niet.
Hellingen zijn de belangrijkste oorzaak dat de bestuurder de macht over de machine verliest en deze omkantelt. Dit kan leiden tot ernstig of dodelijke letsel.
Inspecteer het terrein en ga na op welke hellingen u de machine veilig kunt gebruiken; stel een procedure en regels op voor het werken op deze hellingen. Gebruik altijd uw gezond verstand en uw beoordelingsvermogen wanneer u dit onderzoek uitvoert.
Als u zich ongemakkelijk voelt wanneer u de machine op een helling gebruikt, maai die helling dan niet.
Voer alle bewegingen op hellingen langzaam en geleidelijk uit. Verander niet plots de snelheid of rijrichting van de machine.
Gebruik de machine niet op een nat terrein. Wielen kunnen grip verliezen. De machine kan omrollen voordat de wielen grip verliezen.
Rij hellingen in een rechte lijn op en af.
Als u vaart begint te verliezen terwijl u een helling oprijdt, moet u voorzichtig het rempedaal indrukken en de helling langzaam achterwaarts in een rechte lijn afrijden.
Draaien als u een helling op- of afrijdt, kan gevaarlijk zijn. Als u absoluut moet draaien op een helling, dient u dit langzaam en voorzichtig te doen.
Een zware lading heeft invloed op de stabiliteit van het voertuig op een helling. Verklein de lading en neem gas terug als u op een helling rijdt of als de lading een hoog zwaartepunt heeft. Maak de lading vast aan de laadbak van de machine om te voorkomen dat de lading gaat schuiven. Wees extra voorzichtig als u ladingen transporteert die gemakkelijk schuiven (vloeistoffen, stenen, zand, enz.).
Zorg dat u de machine niet moet starten, stoppen of keren op een helling, vooral als u een lading vervoert. Stoppen tijdens de afdaling van een helling kost meer tijd dan op vlak terrein. Als u de machine tot stilstand moet brengen, mag u de snelheid niet te abrupt verminderen; anders kan de machine omslaan of gaan rollen. Trap niet te abrupt op het rempedaal als u achterwaarts rolt, omdat de machine dan kan omslaan.
Overschrijd het maximale toelaatbare gewicht van de machine niet als u een lading transporteert in de laadbak en/of als u een aanhangwagen sleept; zie Specificaties.
Verdeel de lading gelijkmatig in de laadbak om de stabiliteit en uw controle over de machine te verbeteren.
Let erop dat er niemand achter de machine staat voordat u de lading stort.
Stort de lading niet uit de bak als de machine zijwaarts op een helling staat. Als gevolg van de verandering in de gewichtsverdeling kan de machine omslaan.
Een opgehaalde laadbak kan vallen en letsel toebrengen aan personen die eronder aan het werk zijn.
Gebruik altijd de steun om de bak omhoog te houden voordat u onder een opgehaalde laadbak gaat werken.
Verwijder de lading uit de laadbak voordat u deze omhoogbrengt.
Als de laadbak tijdens het rijden omhoogstaat, kan de machine gemakkelijker omslaan of gaan rollen. U kunt de laadbak beschadigen als deze tijdens het gebruik van de machine omhoog staat.
Gebruik de machine met de laadbak neergelaten.
Laat de laadbak neer als u hem geleegd hebt.
Als de achterkant van de laadbak belast is wanneer u de sluitingen losmaakt, kan de laadbak onverwacht openklappen en u of andere omstanders verwonden.
Belast indien mogelijk het midden van de laadbak.
Houd de laadbak naar beneden en controleer of niemand over de laadbak leunt of erachter staat als u de sluitingen losmaakt.
Verwijder de lading uit de laadbak voordat u deze omhoogbrengt voor onderhoud aan de machine.
Zet de hendel naar achteren om de laadbak omhoog te zetten (Figuur 15).

De laadbak kan zwaar zijn. Handen of andere lichaamsdelen kunnen bekneld raken.
Houd uw handen en andere lichaamsdelen uit de buurt van de bak als u deze neerlaat.
Zet de hendel naar voren om de laadbak te laten zakken (Figuur 15).
Zorg dat de laadbak omlaag en vergrendeld is.
Zet de sluitingen aan de linker- en rechterzijde van de laadbak los en laat de achterlaadklep zakken (Figuur 16).

Neem plaats op de bestuurdersstoel en stel de parkeerrem in werking.
Schakel de aftakas en het hydraulische systeem met hoge stroming (indien aanwezig) uit en zet de gashendel (indien aanwezig) in de stand UIT.
Zet de schakelhendel in de NEUTRAALSTAND en trap het koppelingspedaal in.
Controleer of de hydraulische hefhendel in de middelste stand staat.
Raak met uw voet het gaspedaal niet aan.
Draai het contactsleuteltje naar de stand AAN.
Note: Als het indicatielampje van de gloeibougies gaat branden is de motor klaar om te starten.
Draai het contactsleuteltje naar de stand START.
Note: Laat het sleuteltje direct los als de motor start en laat dit weer terugkeren naar de stand LOPEN.
Note: Het indicatielampje van de gloeibougies zal 15 seconden blijven branden wanneer de schakelaar wordt teruggedraaid naar de stand LOPEN.
Note: Laat de startmotor per startpoging niet langer dan 10 seconden draaien omdat de startmotor hierdoor vroegtijdig defect kan raken. Als de motor na 10 seconden niet wil starten, moet u het sleuteltje naar de stand UIT draaien. Controleer de bedieningsorganen en de startprocedure, wacht nog eens 10 seconden en probeer daarna opnieuw te starten.
Om automatische inschakeling van de vierwielaandrijving mogelijk te maken drukt u de bovenkant van de tuimelschakelaar in voor de 4X4 AUTO stand (Figuur 17).

Als de 4WD schakelaar op Aan staat zal de machine de vierwielaandrijving automatisch inschakelen als de sensor waarneemt dat de achterwielen vrij ronddraaien. Als de vierwielaandrijving ingeschakeld is licht de indicator in de 4WD schakelaar op.
Important: De machine schakelt de vierwielaandrijving niet automatisch in tijdens achteruitrijden. Bij het achteruitrijden moet u de vierwielaandrijving met de hand inschakelen met de 4WD knop.
Om de vierwielaandrijving met de hand in te schakelen drukt u de 4WD knop op het bedieningspaneel in, en houdt u deze ingedrukt, terwijl het voertuig in beweging is, de vierwielaandrijving wordt dan actief.
Note: De vierwielaandrijving blijft ingeschakeld zolang u de knop ingedrukt houdt. Om de vierwielaandrijving met de hand in te schakelen, hoeft de 4WD schakelaar niet op AUTO te staan.
Zet de parkeerrem vrij.
Druk het koppelingspedaal volledig in.
Zet de schakelhendel in de eerste versnelling.
Laat het koppelingspedaal langzaam opkomen, terwijl u het gaspedaal intrapt.
Wanneer de machine voldoende snelheid heeft, haalt u uw voet van het gaspedaal, trapt u het koppelingspedaal volledig in, zet u de schakelhendel in de volgende versnelling en laat u het koppelingspedaal omhoogkomen, terwijl u het gaspedaal intrapt.
Herhaal deze stappen tot u de juiste snelheid heeft bereikt.
Important: Stop de machine altijd voordat u van een versnelling achteruit naar een versnelling vooruit schakelt, of andersom.
Note: Laat de motor niet lange tijd stationair draaien.
Gebruik de onderstaande tabel om de rijsnelheid van het voertuig te bepalen bij een motortoerental van 3600 tpm.
| Overbrenging | Bereik | Verhouding | Snelheid (km/u) | Snelheid (mijl/u) |
|---|---|---|---|---|
| 1 | L (laag) | 82,83 : 1 | 4,7 | 2,9 |
| 2 | L (laag) | 54,52 : 1 | 7,2 | 4,5 |
| 3 | L (laag) | 31,56 : 1 | 12,5 | 7,7 |
| 1 | H (hoog) | 32,31 : 1 | 12,2 | 7,6 |
| 2 | H (hoog) | 21,27 : 1 | 18,5 | 11,5 |
| 3 | H (hoog) | 12,31 : 1 | 31,9 | 19,8 |
| R | L (laag) | 86,94 : 1 | 4,5 | 2,8 |
| R | H (hoog) | 33,91 : 1 | 11,6 | 7,1 |
Important: Probeer de motor niet te starten door de machine aan te duwen of te slepen. De aandrijflijn kan hierdoor schade oplopen.
Om het voertuig tot stilstand te brengen, haalt u uw voet van het gaspedaal en drukt u het rempedaal in.
Parkeer de machine op een horizontaal oppervlak.
Haal de parkeerrem aan.
Draai het sleuteltje naar UIT en verwijder het.
Als de machine op een helling omslaat of gaat rollen, kan dit ernstig letsel veroorzaken.
De extra tractie die de differentieelvergrendeling biedt, kan genoeg zijn om u in gevaarlijke situaties te brengen, zoals oprijden van hellingen die te steil zijn om te draaien. Wees voorzichtig als u werkt met ingeschakelde differentieelvergrendeling, speciaal op steile hellingen.
Als de differentieelvergrendeling is ingeschakeld terwijl u met een hoge snelheid een scherpe bocht maakt, en het binnenste achterwiel van de grond komt, kunt u de controle over het voertuig verliezen, waarbij de kans bestaat dat het voertuig gaat slippen. Gebruik de differentieelvergrendeling uitsluitend bij lage snelheden.
Als u een bocht maakt met ingeschakelde differentieelvergrendeling, kunt u de controle over de machine verliezen. Schakel de differentieelgrendel uit als u scherpe bochten maakt of bij hoge snelheid werkt.
De differentieelvergrendeling vergroot de tractie van de machine door de achterwielen te vergrendelen, zodat wielen niet afzonderlijk gaan slippen. Dit kan goed van pas komen wanneer u zware ladingen moet vervoeren op nat gras, gladde oppervlakken, hellingen of zanderig terrein. U dient echter in gedachten te houden dat deze extra tractie slechts bedoeld is voor tijdelijk gebruik. Het is geen vervanging voor de veiligheidsmaatregelen.
De differentieelvergrendeling zorgt ervoor dat de achterwielen met dezelfde snelheid draaien. Wanneer u de differentieelvergrendeling gebruikt, wordt het vermogen om scherpe bochten te maken iets beperkt en kan het gazon worden beschadigd. Gebruik de differentieelvergrendeling alleen wanneer het nodig is, bij lage snelheden en alleen in de eerste of tweede versnelling.
De hydraulische bediening levert hydraulisch vermogen vanuit de machinepomp als de motor loopt. U kunt deze kracht benutten via de snelkoppelingen aan de achterkant van de machine.
Hydraulische vloeistof die onder druk ontsnapt, kan voldoende kracht hebben om door de huid heen te dringen en ernstig letsel veroorzaken.
Wees voorzichtig bij het aansluiten en losmaken van de hydraulische snelkoppelingen. Zet de motor uit, stel de parkeerrem in werking, laat het werktuig neer en zet de hydraulische klep in de vergrendelde zweefstand om de druk in het hydraulische systeem op te heffen, voordat u de snelkoppelingen aansluit of losmaakt.
Important: Als meerdere machines hetzelfde werktuig gebruiken, kan er kruisbesmetting van de transmissievloeistof plaatsvinden. Ververs daarom de transmissievloeistof vaker.
UIT-stand
Dit is de normale stand van de bedieningsklep wanneer deze niet in gebruik is. In deze stand zijn de doorlaatopeningen van de bedieningsklep geblokkeerd en een eventuele lading wordt in beide richtingen tegengehouden door de afsluitkleppen.
OMHOOGSTAND (snelkoppeling A)
Deze stand brengt de laadbak en het werktuig aan de trekhaak omhoog, of zorgt voor druk op snelkoppeling A. Deze stand laat tevens toe dat hydraulische vloeistof uit snelkoppeling B terugvloeit naar de klep en van daaruit naar het reservoir. Dit is een tijdelijke stand en zodra u de hendel loslaat, springt deze automatisch terug naar de middelste stand (UIT).

OMLAAGSTAND (snelkoppeling B)
Deze stand laat de laadbak of het werktuig aan de trekhaak neer, of zorgt voor druk op snelkoppeling B. Zo kan ook hydraulische vloeistof uit snelkoppeling A terugvloeien naar de klep en van daaruit naar het reservoir. Dit is een tijdelijke stand en zodra u de hendel loslaat, springt deze automatisch terug naar de middelste stand (Uit). WANNEER U DE SCHAKELHENDEL KORT IN DEZE STAND HOUDT EN VERVOLGENS WEER LOSLAAT, KAN ER HYDRAULISCHE VLOEISTOF STROMEN NAAR SNELKOPPELING B, WAARDOOR KRACHT WORDT OVERGEBRACHT OP DE ACHTERSTE TREKHAAK. ALS U DE HENDEL LOSLAAT, HOUDT DEZE DE TEGENDRUK OP DE TREKHAAK.
Important: Als u de schakelhendel in de omlaag-stand houdt bij het gebruik van een hydraulische cilinder, zal de hydraulische vloeistof langs de ontlastklep stromen, waardoor schade kan ontstaan aan het hydraulische systeem.
AAN-stand
DEZE STAND IS VERGELIJKBAAR MET DE OMLAAGSTAND (SNELKOPPELING B). Bovendien kan bij deze stand hydraulische vloeistof naar snelkoppeling B stromen, met het verschil dat de hendel in deze stand wordt vastgezet in een uitsparing in het bedieningspaneel. Op deze manier kan er voortdurend hydraulische vloeistof stromen naar werktuigen die gebruikmaken van een hydraulische motor.
Gebruik deze stand alleen bij werktuigen met een hydraulische motor.
Important: Als u de AAN-stand gebruikt met een hydraulische cilinder of zonder werktuig, zal de hydraulische vloeistof langs de ontlastklep stromen, hetgeen schade kan veroorzaken aan het hydraulische systeem. Gebruik deze stand alleen kortstondig of wanneer er een motor is gemonteerd.
Important: Controleer het peil van de hydraulische vloeistof nadat u een werktuig hebt gemonteerd. Controleer de werking van het werktuig door alle standen meerdere keren te doorlopen en de lucht uit het systeem te verwijderen. Controleer vervolgens het peil van de hydraulische vloeistof opnieuw. De cilinder van het werktuig beïnvloedt het vloeistofpeil van de transaxle enigszins. Als u de machine gebruikt bij een te laag peil van de hydraulische vloeistof, kan dat schade veroorzaken aan de pomp, de hydraulische afstandsbediening, de stuurbekrachtiging en de transaxle van de machine.
Important: Maak de snelkoppelingen schoon voordat u ze aansluit. Vuile snelkoppelingen kunnen het hydraulische systeem verontreinigen.
Trek de borgring op de koppeling naar achteren.
Steek de nippel van de slang in de snelkoppeling totdat deze vastklikt.
Note: Als u de op afstand bedienbare hydraulische werktuigen aansluit op de snelkoppelingen, bepaal dan welke kant onder druk moet komen te staan, en sluit die slang dan aan op snelkoppeling B. Hierop komt druk te staan als u de schakelhendel naar voren duwt of vergrendelt in de stand AAN.
Note: Zet de motoren van zowel de machine als het werktuig uit en beweeg de hefhendel naar voren en naar achteren om de druk in het systeem op te heffen en de snelkoppelingen gemakkelijker los te maken.
Trek de borgring op de koppeling naar achteren.
Trek de slang krachtig uit de snelkoppeling.
Important: Reinig de stofplug en de stofkap en plaats deze op de openingen van de snelkoppelingen wanneer deze niet in gebruik zijn.
Problemen bij het aansluiten of losmaken van de snelkoppelingen.
De druk is niet weggenomen (de snelkoppeling is belast).
De stuurbekrachtiging werkt niet of nauwelijks.
Het peil van de hydraulische vloeistof is te laag.
De temperatuur van de hydraulische vloeistof is te hoog.
De pomp is niet ingeschakeld.
Er zijn hydraulische lekken.
De fittings zijn los.
De O-ring van de fitting ontbreekt.
Een werktuig functioneert niet.
De snelkoppelingen zitten niet volledig vast.
De snelkoppelingen zijn omgewisseld.
Er is een piepend geluid.
Verwijder de klep die nog vergrendeld is in de stand AAN, waardoor er hydraulische vloeistof over de ontlastklep stroomt.
De riem is los.
De motor start niet.
De hydraulische hendel is vergrendeld in de VOORUITSTAND.
Doe het volgende voordat u de bestuurdersstoel verlaat:
Parkeer de machine op een horizontaal oppervlak.
Zet de transmissie op NEUTRAAL.
Stel de parkeerrem in werking.
Laat de laadbak neer.
Zet de machine uit en verwijder het sleuteltje.
Wacht totdat alle bewegende onderdelen tot stilstand zijn gekomen.
Laat de machine afkoelen voordat u er instellingen of onderhoud aan verricht, of de machine schoonmaakt of stalt.
Sla de machine niet op op plaatsen waar open vlammen, vonken of waakvlammen (bv. van een boiler of andere toestellen) aanwezig kunnen zijn.
Zorg ervoor dat alle onderdelen van de machine in goede staat verkeren en alle bevestigingselementen stevig vastzitten.
Onderhoud en reinig de veiligheidsgordel(s) indien nodig.
Vervang versleten, beschadigde en ontbrekende stickers.
Wees voorzichtig als u de machine inlaadt op een aanhanger of een vrachtwagen of uitlaadt.
Gebruik een oprijplaat van volledige breedte bij het laden van de machine op een aanhanger of vrachtwagen.
Maak de machine stevig vast.
Zie Figuur 19 en Figuur 20 voor de plaats van de bevestigingspunten van de machine.
Note: Laad de machine op de aanhangwagen met de voorzijde van de machine naar voren gericht. Als dat niet mogelijk is, bevestig dan de motorkap met een riem aan het frame of verwijder de motorkap en bevestig deze afzonderlijk zodat ze er niet af kan waaien tijden het transport.


In noodgevallen kunt u de machine over een korte afstand slepen; maak hier evenwel geen gewoonte van.
Als u de machine bij een te hoge snelheid sleept, kunt u de controle over het stuur verliezen. Dit kan letsel veroorzaken.
Sleep de machine nooit sneller dan 8 km per uur.
Note: De stuurbekrachtiging functioneert niet, waardoor de besturing wordt bemoeilijkt.
De machine moet worden gesleept door 2 personen. Als u de machine over een grote afstand moet verplaatsen, moet u deze vervoeren op een vrachtwagen of een aanhanger.
Bevestig een sleepkabel aan de lip op de voorzijde van het machineframe (Figuur 19).
Zet de transmissie in de NEUTRAALSTAND en zet de parkeerrem vrij.
De machine kan aanhangwagens en werktuigen trekken die zwaarder zijn dan de machine zelf. Er zijn diverse types trekhaken verkrijgbaar voor de machine, afhankelijk van de werkzaamheden waarvoor u de machine gebruikt. Vraag uw erkende servicedealer om meer informatie.
Als uw machine is uitgerust met een trekhaak die is gemonteerd op de buis van de achteras, kan deze aanhangwagens of werktuigen trekken met een totaalgewicht van maximaal 1587 kg.
Zorg er altijd voor dat 60% van het gewicht van de lading zich in het voorste deel van de aanhangwagen bevindt. Hierdoor komt ongeveer 10% van het totale gewicht van de aanhangwagen op de trekhaak van de machine.
Als u een lading vervoert of een aanhangwagen (werktuig) trekt, mag u uw machine of aanhangwagen niet te zwaar beladen. Een te zware lading kan leiden tot slechte prestaties of beschadiging van de remmen, as, motor, transaxle, stuurinrichting, ophanging, carrosserie of banden.
Important: Om de kans op schade aan de aandrijflijn te beperken, verdient het aanbeveling het Laag-bereik te gebruiken.
Als u werktuigen met een opleggerkoppeling trekt, zoals een fairwayverluchter, dient u altijd de 'wheelie bar' (standaard onderdeel van de opleggerkoppeling) te monteren om te voorkomen dat de voorwielen van de grond loskomen als de beweging van het werktuig plotseling wordt belemmerd.
Laat personeel dat niet bekend is met de instructies nooit onderhoudswerkzaamheden aan de machine uitvoeren.
Doe het volgende voordat u de bestuurdersstoel verlaat:
Parkeer de machine op een horizontaal oppervlak.
Zet de transmissie op NEUTRAAL.
Stel de parkeerrem in werking.
Laat de laadbak neer.
Zet de machine uit en verwijder het sleuteltje.
Wacht totdat alle bewegende onderdelen tot stilstand zijn gekomen.
Laat de machine afkoelen voordat u er instellingen of onderhoud aan verricht, of de machine schoonmaakt of stalt.
Ondersteun de machine met assteunen als u onder de machine werkt.
Werk nooit onder een opgetilde laadbak zonder dat de juiste laadbakbeveiliging is geplaatst.
Zorg ervoor dat alle aansluitstukken van de hydraulische leidingen vastzitten en alle hydraulische slangen en leidingen in goede staat verkeren voordat u druk zet op het hydraulische systeem.
Voer alle druk in het systeem af voordat u het hydraulische systeem loskoppelt of er werkzaamheden aan verricht. Dit doet u door de motor uit te zetten, de stortklep van ophalen naar neerlaten te draaien en/of de laadbak en werktuigen neer te laten. Zet de hendel voor de hydraulische afstandsbediening in de zweefstand. Als de bak in de opgehaalde stand moet blijven, dient u deze vast te zetten met de laadbakbeveiliging.
Haal voorzichtig de druk van onderdelen met opgeslagen energie.
Laad de accu's niet op terwijl u onderhoud uitvoert aan de machine.
Om de machine in goede staat te houden moet u verzekeren dat alle bevestigingsmiddelen goed zijn aangetrokken.
Om het risico op brand te verminderen moet u de omgeving van de machine vrij houden van overtollig vet, gras, bladeren en vuil.
Indien mogelijk moet u geen onderhoud uitvoeren bij ingeschakelde machine. Blijf uit de buurt van bewegende onderdelen.
Als de machine ingeschakeld moet zijn om een instelling te maken moet u uw handen en voeten, kleding en alle lichaamsdelen uit de buurt van bewegende delen houden. Hou omstanders uit de buurt van de machine.
Veeg gemorste olie en brandstof op.
Controleer de werking van de parkeerrem volgens het onderhoudsschema en stel deze in en voer onderhoud uit naar behoefte.
Zorg dat alle onderdelen van de machine in goede staat verkeren en alle bevestigingsmiddelen goed zijn aangetrokken. Vervang versleten of beschadigde stickers.
Voer geen handelingen uit die van invloed zijn op de bedoelde werking van een veiligheidsvoorziening of die de bescherming waarin de veiligheidsvoorziening voorziet verminderen.
Voorkom dat de motor het maximaal toelaatbare toerental overschrijdt, doordat de instellingen van de motor zijn veranderd. De servicedealer kan het maximale toerental controleren met een toerenteller om de veiligheid en nauwkeurigheid te verzekeren.
Indien grote reparaties nodig zijn of hulp is vereist, moet u contact opnemen met een erkende Toro distributeur.
Elke verandering aan deze machine kan gevolgen hebben voor de werking, prestaties of levensduur van de machine, en kan letsel of de dood veroorzaken. Dergelijke veranderingen kunnen ertoe leiden dat de garantie op het product van The Toro® Company komt te vervallen.
| Onderhoudsinterval | Onderhoudsprocedure |
|---|---|
| Na de eerste 2 bedrijfsuren |
|
| Na de eerste 10 bedrijfsuren |
|
| Na de eerste 50 bedrijfsuren |
|
| Na de eerste 100 bedrijfsuren |
|
| Bij elk gebruik of dagelijks |
|
| Om de 25 bedrijfsuren |
|
| Om de 50 bedrijfsuren |
|
| Om de 100 bedrijfsuren |
|
| Om de 200 bedrijfsuren |
|
| Om de 400 bedrijfsuren |
|
| Om de 600 bedrijfsuren |
|
| Om de 800 bedrijfsuren |
|
| Om de 1000 bedrijfsuren |
|
| Om de 2000 bedrijfsuren |
|
Note: Download het elektrische schema op www.Toro.com; u kunt uw machine zoeken via de link Handleidingen op de hoofdpagina.
Important: Raadpleeg de gebruikershandleiding van de motor voor verdere onderhoudsprocedures.
De machine mag uitsluitend worden onderhouden, gerepareerd, afgesteld of geïnspecteerd door vakbekwame en erkende technici.
Voorkom brandgevaar en zorg ervoor dat er brandbestrijdingsapparatuur in het werkgebied aanwezig is. Controleer nooit met een open vuur het peil van vloeistoffen, het accuzuur of de koelvloeistof, of een lekkage.
Gebruik geen open bakken met brandstof of ontvlambare reinigingsvloeistoffen om onderdelen schoon te maken.
Als u de machine niet goed onderhoudt, kunnen systemen van de machine voortijdig defect raken en u of omstanders mogelijk letsel toebrengen.
U moet de machine goed onderhouden en in goede staat houden volgens deze instructies.
Als u het sleuteltje in het contact laat, bestaat de kans dat iemand de motor per ongeluk start waardoor u en andere omstanders ernstig letsel kunnen oplopen.
Zet de motor af en verwijder het sleuteltje uit het contact voordat u onderhoudswerkzaamheden uitvoert.
Important: Als de machine wordt gebruikt in de hieronder genoemde omstandigheden, moet u de onderhoudswerkzaamheden twee keer zo vaak uitvoeren:
Gebruik in woestijngebied
Gebruik bij lage temperaturen: beneden 0 °C
Trekken van een aanhangwagen
Veelvuldig gebruik in stoffige omstandigheden
Bouwwerkzaamheden
Doe het volgende na langdurig gebruik in modder, zand, water of soortgelijke vuile omstandigheden:
Laat de remmen zo snel mogelijk controleren en reinigen. Dit voorkomt dat schurend materiaal overmatige slijtage veroorzaakt.
Reinig de machine met alleen water of een mild reinigingsmiddel.
Important: Gebruik geen brak of teruggewonnen water om de machine schoon te maken.
Bij een groot aantal van de onderhoudswerkzaamheden die in dit hoofdstuk worden besproken, dient de laadbak opgeheven of neergelaten te worden. Neem de volgende voorzorgsmaatregelen om ernstig of dodelijk letsel te voorkomen.
Parkeer de machine op een horizontaal oppervlak.
Haal de parkeerrem aan.
Leeg de laadbak en breng hem omhoog; zie De laadbak omhoog laten komen.
Zet de motor af en haal het sleuteltje uit het contact.
Laat de machine afkoelen voordat u onderhoudswerkzaamheden uitvoert.
Important: Monteer of verwijder de laadbakbeveiliging altijd terwijl u zich buiten de laadbak bevindt.
Breng de laadbak omhoog totdat de hefcilinders helemaal uitgerekt zijn.
Verwijder de laadbakbeveiliging van de opberghaken op de achterkant van het paneel van de rolbeugel (Figuur 21).

Druk de laadbakbeveiliging op de cilinderstang en zorg ervoor dat de beide uiteinden van de laadbakbeveiliging rusten op het uiteinde van de cilinderbus en het uiteinde van de cilinderstang (Figuur 22).

Verwijder de laadbakbeveiliging van de cilinder en plaats de beveiliging in de opberghaken in de achterzijde van het paneel van de rolbeugel.
Important: Probeer de hopper niet neer te laten met de hopperbeveiliging op de cilinder.
Start de motor, schakel de hydraulische hefhendel in en laat de laadbak zakken totdat de cilinders los in de sleuven zitten.
Laat de hefhendel los en zet de motor af.
Verwijder de lynchpennen van de uiteinden van de gaffelpennen van de cilinderstang (Figuur 23).

Verwijder de gaffelpennen waarmee de uiteinden van de cilinderstang vastzitten aan de bevestigingsplaten van de laadbak, door de pennen naar binnen te drukken (Figuur 23).
Verwijder de lynchpennen en de gaffelpennen waarmee de draaibeugels zijn bevestigd aan de framebalken (Figuur 23).
Til de laadbak van de machine.
Een complete laadbak weegt ongeveer 148 kg: probeer de laadbak dus niet in uw eentje te monteren of te verwijderen.
Gebruik een takel of doe dit met 2 of 3 andere personen.
Bewaar de cilinders in de opslagklemmen.
Zet de hydraulische hefinrichting vast met de vergrendelingshendel op de machine om te voorkomen dat de hefcilinders per ongeluk naar buiten schuiven.
Note: Als u de zijkanten van de laadbak monteert op de dieplader, verdient het aanbeveling deze te monteren voordat de laadbak op de machine wordt geplaatst.
Zorg ervoor dat de achterste draaiplaten zijn bevestigd aan het frame van de laadbak/balk zodat het achterste uiteinde naar achteren draait (Figuur 24).

Een complete laadbak weegt ongeveer 148 kg: probeer de laadbak dus niet in uw eentje te monteren of te verwijderen.
Gebruik een takel of doe dit met 2 of 3 andere personen.
Zorg ervoor dat de afstandsbeugels en de stootblokken (Figuur 25) zijn gemonteerd met de koppen van de slotbouten aan de binnenzijde van de machine.

Controleer of de hefcilinders volledig zijn teruggetrokken.
Plaats de laadbak voorzichtig op het frame van de machine en lijn daarbij de openingen van de achterste draaiplaat van de laadbak uit met de openingen in de achterste framebalk en monteer de 2 gaffelpennen en lynchpennen (Figuur 25).
Laat de laadbak zakken en zet beide uiteinden van de cilinderstang vast in de juiste sleuven in de bevestigingsplaten van de laadbak; gebruik hierbij een gaffelpen en een lynchpen.
Monteer de gaffelpen vanaf de buitenkant van de laadbak met de lynchpen naar buiten gericht (Figuur 25).
Note: De achterste sleuven zijn bestemd voor de montage van de volledige laadbak; de voorste sleuven voor de montage van een ⅔ laadbak.
Note: U moet mogelijk de motor starten om de cilinders naar buiten te schuiven of in te trekken zodat ze uitgelijnd zijn met de openingen.
Note: U kunt de ongebruikte opening afdichten met een bout en een moer om montagefouten te voorkomen.
Start de motor en haal de laadbak op met behulp van de hydraulische hefhendel.
Laat de hefhendel los en zet de motor af.
Monteer de laadbakbeveiliging om te voorkomen dat de laadbak per ongeluk wordt neergelaten; zie De laadbakbeveiliging gebruiken.
Monteer de lynchpennen aan de binnenste uiteinden van de gaffelpennen.
Note: Als de automatische achterklepontgrendeling is gemonteerd op de laadbak, moet u controleren of de voorste storthendel aan de binnenkant van de linker gaffelpen geplaatst is voordat u de lynchpen plaatst.
Een opgekrikte machine kan wankel staan en van de krik glijden waardoor iemand die zich onder de machine bevindt letsel kan oplopen.
U mag de machine nooit starten als deze is opgekrikt, want door de trilling van de motor of de beweging van de wielen kan de machine van de krik afglijden.
Haal altijd het sleuteltje uit het contact voordat u van de machine stapt.
Blokkeer de wielen als de machine is opgekrikt.
Als u de voorkant van de machine omhoog krikt, moet u altijd een blok hout (of iets vergelijkbaars) tussen de krik en het frame van de machine plaatsen.
Het krikpunt aan de voorkant van de machine bevindt zich onder het middelste steunpunt van het voorframe (Figuur 26).

Het krikpunt aan de achterzijde van de machine bevindt zich onder de as (Figuur 27).

Pak de motorkap beet via de openingen van de koplampen en til de motorkap op om de montagelipjes uit de sleuven in het frame te laten klikken (Figuur 28).

Draai de onderkant van de motorkap omhoog tot u de bovenste montagelipjes uit de sleuven in het frame kunt trekken (Figuur 28).
Draai de bovenzijde van de motorkap naar voren en koppel de kabelstekkers van de koplampen los (Figuur 28).
Verwijder de motorkap.
| Onderhoudsinterval | Onderhoudsprocedure |
|---|---|
| Om de 100 bedrijfsuren |
|
Type vet: Nr. 2 vet op lithiumbasis
Veeg de smeernippel schoon met een doek zodat er geen vuil kan binnendringen in het lager of de lagerbus.
Pomp met een smeerpistool smeervet in de smeernippels van de machine.
Veeg overtollig smeervet van de machine.
Important: Als u de universele kruislagers van de aandrijfas smeert, moet u blijven pompen totdat er vet bij elk kruis uit alle 4 lagercups komt.
De smeerpunten en de hoeveelheden zijn als volgt:
Kogelverbindingen (4); zie Figuur 29
Trekstangen (2); zie Figuur 29
Draaibeugels (2); zie Figuur 29
Stuurcilinder (2); zie Figuur 29

Veer (2); zie Figuur 30

Rem(1); zie Figuur 31
Gaspedaal (1); zie Figuur 31
Rem(1); zie Figuur 31

Kogelverbinding (18); zie Figuur 32
As van vierwielaandrijving (3); zie Figuur 32

Zet de motor af, verwijder het sleuteltje en wacht totdat alle bewegende onderdelen tot stilstand zijn gekomen voordat u de olie controleert of olie bijvult in het carter.
Houd uw handen, voeten, gezicht, kleding en andere lichaamsdelen uit de buurt van de geluiddemper en andere hete oppervlakken.
| Onderhoudsinterval | Onderhoudsprocedure |
|---|---|
| Om de 25 bedrijfsuren |
|
| Om de 100 bedrijfsuren |
|
Controleer periodiek het luchtfilter en de slangen voor een optimale bescherming van de motor en een maximale levensduur. Controleer de luchtfilterbehuizing op beschadigingen die een luchtlek zouden kunnen veroorzaken. Vervang een beschadigde luchtfilterbehuizing.
Maak de sluitingen op het luchtfilter los en trek het luchtfilterdeksel van de luchtfilterbehuizing (Figuur 33).

Knijp in de zijkanten van de stofkap om deze te openen en sla het stof eruit.
Schuif het filter voorzichtig uit de luchtfilterbehuizing (Figuur 33).
Note: Zorg ervoor dat u niet met het filter tegen de zijkant van de luchtfilterbehuizing stoot.
Note: Probeer het filter niet te reinigen.
Inspecteer het nieuwe filter op beschadiging door een felle lichtbron op de buitenkant van het filter te richten en er doorheen te kijken.
Note: Gaten in het filter zien eruit als lichte vlekken. Controleer het filter op scheuren, een vettig oppervlak of beschadiging van de rubberen afdichting. Als het filter beschadigd is, mag u het niet gebruiken.
Note: U mag de motor nooit laten lopen zonder dat het luchtfilter en het luchtfilterdeksel zijn gemonteerd, omdat anders de motor schade kan oplopen.
Schuif het filter voorzichtig over de buis van de behuizing (Figuur 33).
Note: Zorg ervoor dat het filter volledig vastzit door de buitenring van het filter tijdens de montage aan te drukken.
Monteer het luchtfilterdeksel met de kant naar boven gericht en maak de sluitingen vast (Figuur 33).
Note: Ververs de olie vaker als het voertuig in zeer stoffige of zanderige omstandigheden wordt gebruikt.
Note: Geef de oude motorolie en het gebruikte oliefilter af bij een erkende inzamelplaats.
Type olie: Reinigingsolie voor motoren (API-klasse SJ of hoger)
Carterinhoud: 3,2 liter met vervanging van het filter
Viscositeit: Zie onderstaande tabel.

| Onderhoudsinterval | Onderhoudsprocedure |
|---|---|
| Bij elk gebruik of dagelijks |
|
Note: De beste tijd om de motorolie te controleren is wanneer de motor koud is voordat deze is gestart voor de dag. Als de motor al heeft gedraaid, moet u de olie eerst terug laten lopen gedurende tenminste 10 minuten voordat u controleert. Als het olieniveau op of onder de bijvulmarkering op de peilstok staat, vul dan olie bij om het olieniveau bij de volmarkering te brengen. Voeg niet te veel olie toe. Als het olieniveau tussen de beide markeringen ligt, hoeft geen olie te worden bijgevuld.
Parkeer de machine op een horizontaal oppervlak.
Haal de parkeerrem aan.
Zet de motor af en haal het sleuteltje uit het contact.
Verwijder de peilstok en veeg deze af met een schone doek (Figuur 35).

Steek de peilstok in de buis. Let erop dat de peilstok er volledig in schuift (Figuur 35).
Haal de peilstok eruit en controleer het oliepeil (Figuur 35).
Als het oliepeil te laag is, moet u de vuldop (Figuur 35) losdraaien en voldoende olie bijvullen totdat het peil de Vol-markering op de peilstok bereikt.
Note: Verwijder de peilstok tijdens het bijvullen om een goede ventilatie toe te laten. Vul de olie langzaam bij en controleer daarbij veelvuldig het peil. Voeg niet te veel olie toe.
Important: Als u motorolie bijvult, moet u ervoor zorgen dat er enige afstand is tussen de vulinrichting en de vulopening in het klepdeksel, zoals is aangegeven in Figuur 36. Hierdoor kan er tijdens het vullen lucht ontsnappen, zodat de olie niet overloopt en in de ontluchtingsinrichting terechtkomt.

Plaats de peilstok weer stevig op zijn plaats (Figuur 35).
| Onderhoudsinterval | Onderhoudsprocedure |
|---|---|
| Na de eerste 50 bedrijfsuren |
|
| Om de 200 bedrijfsuren |
|
Haal de laadbak op en plaats de laadbakbeveiliging op de uitgetrokken hefcilinder om de laadbak omhoog te houden.
Verwijder de aftapplug en laat de olie in een opvangbak lopen (Figuur 37).

Als er geen olie meer naar buiten stroomt, plaatst u de aftapplug terug.
Verwijder het oliefilter (Figuur 37).
Breng een dun laagje schone olie aan op de pakking van het filter voordat u het erop schroeft.
Schroef het filter erop totdat de pakking contact maakt met de bevestigingsplaat. Draai het filter vervolgens nog eens ½ tot ⅔ slag vaster.
Note: Niet te vast draaien.
Vul het carter met de voorgeschreven olie.
Note: Informatie over foutcodes van motoren is alleen toegankelijk voor Toro onderhoudstechnici.
Parkeer de machine op een horizontaal oppervlak.
Haal de parkeerrem aan.
Zet de motor af en haal het sleuteltje uit het contact.
Neem contact op met een erkende servicedealer.
| Onderhoudsinterval | Onderhoudsprocedure |
|---|---|
| Bij elk gebruik of dagelijks |
|
Plaats een schone opvangbak onder het brandstoffilter (Figuur 38).
Draai de aftapplug onder de filterbus los.

Draai de aftapplug onder de filterbus vast.
| Onderhoudsinterval | Onderhoudsprocedure |
|---|---|
| Om de 400 bedrijfsuren |
|
Laat het water uit de waterafscheider lopen; raadpleeg Water aftappen uit brandstoffilter/waterafscheider.
Reinig de omgeving van de plaats waar de filterbus wordt gemonteerd (Figuur 38).
Verwijder de filterbus en reinig de plaats waar deze wordt gemonteerd.
Smeer schone olie op de pakking van de filterbus.
Monteer de filterbus met de hand totdat de pakking contact maakt en draai deze vervolgens nog een halve slag verder.
Draai de aftapplug onder de filterbus vast.
| Onderhoudsinterval | Onderhoudsprocedure |
|---|---|
| Om de 400 bedrijfsuren |
|
Inspecteer de brandstofleidingen, aansluitingen en klemmen op tekenen van lekkage, slijtage, beschadiging of losse connecties.
Note: Repareer beschadigde of lekkende onderdelen van het brandstofsysteem voordat u de machine gebruikt.
Koppel de accu af voordat u reparaties aan de machine verricht. Maak eerst de minpool van de accu los en daarna de pluspool. Bevestig eerst de pluspool van de accu en daarna de minpool.
Laad de accu op in een open, goed geventileerde ruimte, uit de buurt van vonken en open vuur. Haal de oplader uit het stopcontact voordat u de accu aan- of loskoppelt. Draag beschermende kleding en gebruik geïsoleerd gereedschap.
Starten met de startkabel kan gevaarlijk zijn. Neem de volgende waarschuwingen in acht om lichamelijk letsel en schade aan elektronische onderdelen van de machine te voorkomen:
Start nooit met een startkabel die aangesloten is op een spanningsbron van meer dan 15 V gelijkstroom; dat leidt tot schade aan het elektrische systeem.
Voer een dergelijke start nooit uit op een lege accu die bevroren is. Tijdens starten met een startkabel kan een dergelijke accu barsten of exploderen.
Neem alle waarschuwingen op de accu in acht bij het starten van uw machine met een startkabel.
Zorg ervoor dat uw voertuig niet in aanraking is met het voertuig dat wordt gebruikt voor het starten (hulpmachine).
Als de kabels aan de verkeerde pool worden bevestigd, kan dit lichamelijk letsel en/of schade aan het elektrische systeem tot gevolg hebben.
Knijp het accudeksel samen om de lipjes uit de accubasis te nemen en verwijder het accudeksel van de accubasis (Figuur 41).

Sluit een startkabel aan tussen de positieve polen van de 2 accu's (Figuur 42).
Note: De positieve pool is te herkennen aan het symbool '+' bovenop het accudeksel.
Sluit het ene uiteinde van de andere startkabel aan op de minpool van de accu van de andere machine.
Note: De minpool is aangegeven met “NEG” op het accudeksel.
Note: Sluit het andere uiteinde van de startkabel aan op de minpool van de lege accu. Sluit de startkabel aan op de motor of het frame. Sluit de startkabel niet aan op het brandstofsysteem.

Start de motor van de hulpmachine.
Note: Laat deze een aantal minuten draaien en start vervolgens de uw motor.
Verwijder de startkabel eerst van de minpool van uw motor en vervolgens van de accu van de hulpmachine.
Plaats het accudeksel op de accubasis.
| Onderhoudsinterval | Onderhoudsprocedure |
|---|---|
| Om de 50 bedrijfsuren |
|
Accuzuur bevat zwavelzuur; deze stof is dodelijk bij inname en veroorzaakt ernstige brandwonden.
Voorkom dat u accuzuur inslikt, en vermijd elk contact met huid, ogen of kleding. Draag een veiligheidsbril en rubberhandschoenen om uw ogen en handen te beschermen.
Vul de accu alleen bij op plaatsen waar schoon water aanwezig is om indien nodig uw huid af te spoelen.
Houd de accu altijd schoon en volledig geladen.
Als de accupolen zijn geoxideerd, moet u deze schoonmaken met een oplossing van vier delen water en één deel zuiveringszout.
Breng een laagje vet op de accupolen aan om corrosie te voorkomen.
Houd het accuzuur op peil.
Houd de bovenkant van de accu schoon door deze af en toe te reinigen met een borstel die in een oplossing van ammoniak of natriumbicarbonaat is gedompeld. Spoel de bovenkant na het reinigen af met water. Verwijder nooit de vuldop bij het reinigen.
Controleer of de accukabels stevig op de accupolen zitten, zodat ze goed contact maken.
U kunt het accuzuurpeil in de cellen bijhouden met gedestilleerd of gedemineraliseerd water. Vul de cellen niet verder bij dan tot de onderzijde van de vulring in de cel.
Indien de machine wordt opgeslagen in een zeer hete omgeving, ontlaadt de accu sneller dan wanneer de machine in een koele omgeving wordt opgeslagen.
| Onderhoudsinterval | Onderhoudsprocedure |
|---|---|
| Om de 100 bedrijfsuren |
|
Parkeer de machine op een horizontaal oppervlak.
Haal de parkeerrem aan.
Zet de motor af en haal het sleuteltje uit het contact.
Reinig de omgeving van de vul-/controleplug op de zijkant van het differentieel (Figuur 43).

Verwijder de vul-/controleplug en controleer het oliepeil.
Note: Het oliepeil moet tot aan de opening staan.
Als het vloeistofpeil te laag is, moet u bijvullen met de voorgeschreven olie.
Monteer de vul-/controleplug.
| Onderhoudsinterval | Onderhoudsprocedure |
|---|---|
| Om de 800 bedrijfsuren |
|
Olietype differentieel: Mobil 424 hydraulische vloeistof
Parkeer de machine op een horizontaal oppervlak.
Haal de parkeerrem aan.
Zet de motor af en haal het sleuteltje uit het contact.
Reinig de omgeving van de aftapplug op de zijkant van het differentieel (Figuur 43).
Plaats een opvangbak onder de aftapplug.
Verwijder de aftapplug en laat de olie in de opvangbak lopen.
Plaats de aftapplug terug wanneer er geen vloeistof meer naar buiten stroomt, en zet deze goed vast.
Reinig de omgeving van de vul-/controleplug aan de onderzijde van het differentieel.
Verwijder de vul-/controleplug en voeg de voorgeschreven hydraulische olie toe tot de olie net onder de opening staat.
Monteer de vul-/controleplug.
| Onderhoudsinterval | Onderhoudsprocedure |
|---|---|
| Om de 200 bedrijfsuren |
|
Inspecteer de cruisecontrol op scheuren, openingen of losse klemmen. Als u beschadigingen aantreft, neem dan voor reparatie contact op met uw erkende servicedealer.
| Onderhoudsinterval | Onderhoudsprocedure |
|---|---|
| Na de eerste 10 bedrijfsuren |
|
| Om de 200 bedrijfsuren |
|
Zet de schakelhendel in de NEUTRAALSTAND.
Verwijder de gaffelpennen waarmee de kabels van het schakelmechanisme zijn bevestigd aan de schakelarmen van de transaxle (Figuur 44).

Draai de contramoeren van de gaffelpennen los en stel iedere gaffelpen zo af dat de speling van de kabel ten opzichte van de opening in de schakelarm van de transaxle naar voren en naar achteren even groot is (met de speling van de schakelarm van de transaxle in dezelfde richting).
Bevestig de gaffelpennen en draai de contramoeren aan als u klaar bent.
| Onderhoudsinterval | Onderhoudsprocedure |
|---|---|
| Om de 200 bedrijfsuren |
|
Verwijder de gaffelpen waarmee de kabel voor Hoog-Laag is bevestigd aan de transaxle (Figuur 44).
Draai de contramoer van de gaffel los en pas de gaffel zo aan, dat de gaffelopening is uitgelijnd met de opening in de beugel van de transaxle.
Bevestig de gaffelpennen en draai de contramoer aan als u klaar bent.
| Onderhoudsinterval | Onderhoudsprocedure |
|---|---|
| Om de 200 bedrijfsuren |
|
Zet de hendel van de differentieelvergrendeling op UIT.
Draai de contramoeren los waarmee de kabel van de differentieelvergrendeling vastzit aan de beugel op de transaxle (Figuur 45).

Stel de contramoeren zo af dat er een opening van 0,25 tot 1,5 mm ontstaat tussen de veerhaak en de buitendiameter van de opening in de transaxlehendel.
Draai de contramoeren vast als u klaar bent.
| Onderhoudsinterval | Onderhoudsprocedure |
|---|---|
| Om de 100 bedrijfsuren |
|
Aanbevolen bandenspanning vooraan: 2,20 bar
Aanbevolen bandenspanning achteraan: 1,24 bar
Ongelukken tijdens werkzaamheden, zoals een botsing tegen een trottoirrand, kunnen een band of een velg beschadigen en tevens de wieluitlijning verstoren. Daarom moet u na een ongeluk de toestand van de banden controleren.
Important: Controleer de bandenspanning regelmatig. Als de banden niet op de juiste spanning zijn, zullen deze vroegtijdig slijten en kan de vierwielaandrijving vastlopen.
Figuur 46 toont een voorbeeld van slijtage aan een band veroorzaakt door een te lage bandenspanning.

Figuur 47 toont een voorbeeld van slijtage aan een band veroorzaakt door een te hoge bandenspanning.

| Onderhoudsinterval | Onderhoudsprocedure |
|---|---|
| Om de 400 bedrijfsuren |
|
Controleer of de bandenspanning correct is voordat u de uitlijning van de voorwielen controleert; zie Bandenspanning controleren.
Zorg ervoor dat er een bestuurder in de bestuurdersstoel zit of plaats een gewicht op de bestuurdersstoel dat gelijk is aan het gemiddelde gewicht van een bestuurder van het voertuig.
Het gewicht of de bestuurder dienen gedurende de hele uitlijningsprocedure van de voorwielen op de stoel te blijven.
Rol op een vlakke ondergrond de machine 2 tot 3 meter recht achteruit en vervolgens recht vooruit naar de plaats waar u vertrok.
Hierdoor kan de ophanging van de machine de normale bedrijfsstand aannemen.
Zorg ervoor dat de banden recht naar voren wijzen.
Meet ter hoogte van de as de afstand tussen de voorwielen aan de voorkant en de achterkant van de wielen (Figuur 48).
Het toespoor van de voorwielen moet 0 tot 6 mm zijn.
Important: Controleer de afstand op consistente locaties op het wiel. De machine moet zich op een horizontale ondergrond bevinden en de wielen moeten recht naar voren wijzen.

Als het toespoor van de voorwielen niet correct is, moet u dit als volgt afstellen:
Draai de contramoer in het midden van de trekstang los (Figuur 49).

Draai gelijkmatig aan beide trekstangen om de voorzijde van het wiel naar binnen of naar buiten te draaien.
Draai de contramoeren van de trekstang weer vast als de afstelling van het toespoor correct is.
Draai de contramoeren van de trekstang vast met een torsie van 62 tot 74 N·m.
Controleer nadat u het toespoor hebt afgesteld of het stuur in beide richtingen volledig kan uitslaan.
De machineonderdelen mogen elkaar niet raken wanneer u de wielen beweegt door het hele bereik heen. Stel af indien nodig.
| Onderhoudsinterval | Onderhoudsprocedure |
|---|---|
| Na de eerste 2 bedrijfsuren |
|
| Na de eerste 10 bedrijfsuren |
|
| Om de 200 bedrijfsuren |
|
Aantrekkoppel van de wielmoeren: 109 - 122 N·m
Trek de wielmoeren van de voor- en achterwielen kruislings aan tot het aanbevolen koppel; zie Figuur 50.

Motorkoelvloeistof inslikken kan vergiftiging veroorzaken; buiten bereik van kinderen en huisdieren houden.
Als u hete, onder druk staande koelvloeistof over u heen krijgt of in aanraking komt met een hete radiateur of omliggende delen, kunt u ernstige brandwonden oplopen.
Laat de motor minstens 15 minuten afkoelen voordat u de radiateurdop verwijdert.
Gebruik een doek als u de radiateurdop verwijdert en draai de dop langzaam open om de stoom te laten ontsnappen.
Gebruik de machine nooit zonder dat de kappen zijn geplaatst.
Houd uw vingers, handen en kleding uit de buurt van draaiende ventilatoren en drijfriemen.
Zet de motor af en verwijder het sleuteltje voordat u onderhoudswerkzaamheden uitvoert.
| Onderhoudsinterval | Onderhoudsprocedure |
|---|---|
| Bij elk gebruik of dagelijks |
|
Inhoud van koelsysteem: 3,7 liter
Type koelvloeistof: een 50/50 verhouding van water en permanente ethyleenglycol-antivries
Als de motor heeft gelopen, kan de hete koelvloeistof, die onder druk staat, ontsnappen indien de radiateurdop wordt verwijderd. Dit kan brandwonden veroorzaken.
Voeg geen koelvloeistof toe aan de radiateur; daardoor zou er lucht in het systeem komen en leiden tot schade aan de motor. Voeg koelvloeistof alleen toe aan het reservoir.
Verwijder de radiateurdop nooit als de motor loopt.
Gebruik een doek als u de radiateurdop verwijdert en draai de dop langzaam open om de stoom te laten ontsnappen.
Parkeer de machine op een horizontaal oppervlak.
Zet de transmissiehendel in de stand P (PARKEREN).
Zet de motor af en haal het sleuteltje uit het contact.
Controleer het koelvloeistofpeil in de reservetank.

Note: De koelvloeistof dient tot de onderkant van de vulbuis te reiken als de motor koud is.
Als de koelvloeistof bijna op is, verwijdert u de dop van de koeltank en voegt u een antivriesmengsel toe dat voor 50% bestaat uit ethyleen-glycol met organische additieventechnologie (OAT, organic additive technology ) en voor 50% uit antivries-destilleerwater.
Niet te vol vullen.
Draai de dop van de reservetank met de hand vast.
| Onderhoudsinterval | Onderhoudsprocedure |
|---|---|
| Bij elk gebruik of dagelijks |
|
Parkeer de machine op een horizontaal oppervlak.
Haal de parkeerrem aan.
Zet de motor af en haal het sleuteltje uit het contact.
Verwijder grondig al het vuil dat zich rond het motorgedeelte bevindt.
Koppel het radiateurscherm aan de voorzijde van de radiateur los en verwijder het scherm (Figuur 52).

Als uw machine met sluitingen is uitgerust, draai deze dan en draai de oliekoeler weg van de radiateur (Figuur 53).

Reinig de radiateur, de oliekoeler en het scherm met perslucht.
Note: Blaas vuil weg uit de radiateur.
Plaats de koeler en het scherm op de radiateur.
| Onderhoudsinterval | Onderhoudsprocedure |
|---|---|
| Om de 1000 bedrijfsuren |
|
Inhoud van koelsysteem: 3,7 liter
Type koelvloeistof: een 50/50 verhouding van water en permanente ethyleenglycol-antivries
Neem contact op met uw erkende Toro-distributeur.
| Onderhoudsinterval | Onderhoudsprocedure |
|---|---|
| Bij elk gebruik of dagelijks |
|
| Om de 1000 bedrijfsuren |
|
Remvloeistoftype: DOT 3
Parkeer de machine op een horizontaal oppervlak.
Haal de parkeerrem aan.
Zet de motor af en haal het sleuteltje uit het contact.
Open de motorkap om toegang te krijgen tot de hoofdremcilinder en het reservoir (Figuur 54).

Controleer of het vloeistofpeil tot aan de Vol-markering op het reservoir reikt (Figuur 55).

Als het vloeistofpeil te laag is, moet u de omgeving van de dop reinigen, de dop verwijderen en het reservoir vullen met de voorgeschreven remvloeistof tot het correcte niveau bereikt is (Figuur 55).
Note: Giet niet te veel remvloeistof in het reservoir.
| Onderhoudsinterval | Onderhoudsprocedure |
|---|---|
| Na de eerste 10 bedrijfsuren |
|
| Om de 200 bedrijfsuren |
|
Verwijder de rubberen handgreep van de parkeerremhendel (Figuur 56).

Draai de stelschroef los waarmee de knop is bevestigd aan de parkeerremhendel (Figuur 57).

Draai aan de knop (Figuur 57) totdat een kracht van 20 tot 22 kg nodig is om de hendel te bedienen.
Draai de stelschroef vast als u klaar bent (Figuur 57).
Note: Als u de parkeerrem niet meer kunt afstellen door het afstellen van de parkeerremhendel, maak de hendel dan los tot het midden van de afstelling en stel de kabel aan de achterkant af. Herhaal vervolgens stap 3.
Monteer de rubberen handgreep op de parkeerremhendel (Figuur 56).
| Onderhoudsinterval | Onderhoudsprocedure |
|---|---|
| Om de 200 bedrijfsuren |
|
Note: Verwijder de kap op de voorkant om eenvoudiger te kunnen afstellen.
Verwijder de R-pen en de gaffelpen waarmee de gaffel van de hoofdremcilinder is bevestigd aan het draaipunt van het rempedaal (Figuur 58).

Til het rempedaal omhoog (Figuur 59) totdat dit contact maakt met het frame.
Draai de contramoeren los waarmee de gaffel is bevestigd aan de as van de hoofdremcilinder (Figuur 59).
Verstel de gaffel totdat de openingen daarin op één lijn staan met de openingen in het draaipunt van het rempedaal.
Bevestig de gaffel aan het draaipunt van het rempedaal met de gaffelpen en de R-pen.
Draai de contramoeren vast waarmee de gaffel is bevestigd aan de as van de hoofdremcilinder.
Note: De hoofdremcilinder moet de druk verminderen als deze goed is afgesteld.

| Onderhoudsinterval | Onderhoudsprocedure |
|---|---|
| Na de eerste 10 bedrijfsuren |
|
| Om de 200 bedrijfsuren |
|
Breng de laadbak omhoog en plaats de laadbakbeveiliging op de uitgetrokken hefcilinder om de bak te bevestigen.
Controleer de spanning door de riem midden tussen poelies van de krukas en de wisselstroomdynamo in te drukken met een kracht van 10 kg (Figuur 60).
Note: De nieuwe riem moet een speling van 8 tot 12 mm hebben.
Note: De gebruikte riem moet een speling van 10 tot 14 mm hebben. Als de speling niet correct is, gaat u verder met de volgende stap. Als de speling correct is, gaat u verder met uw werkzaamheden.
Doe het volgende om de riemspanning af te stellen:
| Onderhoudsinterval | Onderhoudsprocedure |
|---|---|
| Om de 200 bedrijfsuren |
|
Note: U kunt de koppelingskabel afstellen bij de koppelingsbehuizing of bij het draaipunt van het koppelingspedaal. U kunt de kap op de voorkant verwijderen om gemakkelijk bij het draaipunt van het koppelingspedaal te komen.
Draai de contramoeren los waarmee de koppelingskabel vastzit aan de beugel op de koppelingsbehuizing (Figuur 61).
Note: U kunt de kogelverbinding verwijderen en draaien als extra afstelling wenselijk is.

Maak de contraveer los van de versnellingspook.
Stel de contramoeren of kogelverbinding zo af dat het achterste deel van het koppelingspedaal 9,2 tot 9,8 cm is verwijderd van de bovenkant van het ruitprofiel van de antislipvloerplaat, wanneer u een kracht van 1,8 kg uitoefent op het pedaal (Figuur 62).

Note: Er wordt kracht uitgeoefend zodat het druklager van de koppeling de vingers van de koppelingsdrukplaat licht aanraakt.
Draai de contramoeren vast als u de juiste afstelling hebt verkregen.
Controleer ten behoeve van een goede afstelling of de afstand 9,2 tot 9,8 cm is nadat de contramoeren zijn vastgedraaid.
Note: Stel opnieuw af indien nodig.
Maak de contraveer vast aan de versnellingspook.
Important: Zorg ervoor dat het stanguiteinde rechtop en niet scheef op de kogel is geplaatst en parallel met het koppelingspedaal loopt nadat de contramoer is vastgedraaid (Figuur 63).
Note: De speling van het koppelingspedaal mag nooit minder dan 19 mm bedragen.

Parkeer de machine op een horizontaal oppervlak, stel de parkeerrem in werking, schakel de motor uit en verwijder het sleuteltje.
Stel de kogelverbinding op de gaskabel (Figuur 64) zo af dat er 2,54 tot 6,35 mm ruimte is tussen de arm van het gaspedaal en de bovenkant van het ruitprofiel op de vloerplaat (Figuur 65) wanneer u een druk van 11,3 kg uitoefent op het midden van het pedaal.
Note: De motor mag niet lopen en de contraveer moet bevestigd zijn.
Draai de borgmoer aan (Figuur 64).


Important: Het maximale motortoerental (stationair – hoog) is 3650 tpm. Verander de instelling van de stationair – hoog aanslag niet.
Waarschuw onmiddellijk een arts als er hydraulische vloeistof is geïnjecteerd in de huid. Geïnjecteerde vloeistof moet binnen enkele uren operatief worden verwijderd door een arts.
Voer alle druk in het systeem af voordat u het hydraulische systeem loskoppelt of er werkzaamheden aan verricht. Dit doet u door de motor uit te zetten, de stortklep te draaien van ophalen naar neerlaten en/of de laadbak en werktuigen neer te laten. Zet de hendel voor de hydraulische afstandsbediening in de zweefstand. Werk nooit onder een opgetilde laadbak zonder dat de juiste laadbakbeveiliging is geplaatst.
Controleer of alle hydraulische slangen en leidingen in goede staat verkeren en alle hydraulische aansluitingen en verbindingsstukken stevig vastzitten voordat u druk zet op het hydraulische systeem.
Houd uw handen en lichaam uit de buurt van kleine lekgaten of spuitmonden waaruit onder hoge druk hydraulische vloeistof ontsnapt.
U kunt lekken in het hydraulische systeem opsporen met behulp van karton of papier.
Vloeistoftype transaxle: Dexron III ATF
| Onderhoudsinterval | Onderhoudsprocedure |
|---|---|
| Bij elk gebruik of dagelijks |
|
Parkeer de machine op een horizontaal oppervlak.
Haal de parkeerrem aan.
Zet de motor af en haal het sleuteltje uit het contact.
Reinig het gebied rond de peilstok (Figuur 66).

Schroef de peilstok uit de bovenkant van de transaxle en veeg deze af met een schone doek.
Schroef de peilstok in de transaxle. Let erop dat de peilstok er volledig in schuift.
Haal de peilstok uit de transaxle en controleer het vloeistofpeil.
Note: Het vloeistofpeil moet tot aan de bovenzijde van het platte deel van de peilstok staan.
Als het peil te laag is, vult u voldoende van de voorgeschreven vloeistof bij om het vereiste peil te bereiken; zie Specificaties transaxlevloeistof/hydraulische vloeistof.
| Onderhoudsinterval | Onderhoudsprocedure |
|---|---|
| Om de 800 bedrijfsuren |
|
Inhoud van hydraulisch systeem: 7 liter
Parkeer de machine op een horizontaal oppervlak.
Haal de parkeerrem aan.
Zet de motor af en haal het sleuteltje uit het contact.
Verwijder de aftapplug uit de zijkant van het reservoir en laat de hydraulische vloeistof in een opvangbak lopen (Figuur 67).

Onthoud de positie van de hydraulische slang en de 90°-fitting voor de zeef aan de zijkant van het reservoir (Figuur 68).
Verwijder de hydraulische slang en de 90°-fitting.
Verwijder de zeef en reinig deze door ze van achteren door te spoelen met een schoon ontvettingsmiddel.
Note: Laat het filter aan de lucht drogen voordat u het plaatst.

Plaats de zeef.
Monteer de hydraulische slang en de 90°-fitting op de juiste wijze op de zeef.
Monteer de aftapplug en draai deze vast.
Vul het reservoir met ongeveer 7 liter van de voorgeschreven hydraulische vloeistof; zie Het peil van de transaxlevloeistof/hydraulische vloeistof controleren.
Start de motor en laat de machine rijden zodat de vloeistof zich verspreidt door het hydraulische systeem.
Controleer het peil van de hydraulische vloeistof en vul indien nodig bij.
Important: Gebruik uitsluitend de gespecificeerde hydraulische vloeistof. Andere vloeistoffen kunnen het systeem beschadigen.
| Onderhoudsinterval | Onderhoudsprocedure |
|---|---|
| Na de eerste 10 bedrijfsuren |
|
| Om de 800 bedrijfsuren |
|
Important: Als een ander filter wordt gebruikt, kan de garantie van bepaalde onderdelen komen te vervallen.
Parkeer de machine op een horizontaal oppervlak.
Haal de parkeerrem aan.
Zet de motor af en haal het sleuteltje uit het contact.
Reinig de omgeving van de plaats waar het filter wordt gemonteerd.
Plaats een opvangbak onder het filter en verwijder het filter (Figuur 69).

Smeer de pakking van het nieuwe filter.
Zorg ervoor dat de plaats waar het filter wordt bevestigd, schoon is.
Schroef het filter erop totdat de pakking contact maakt met de bevestigingsplaat; draai het filter vervolgens nog eens een ½ slag.
Start de motor en laat deze ongeveer 2 minuten lopen om lucht uit het systeem te verwijderen.
Zet de motor af en controleer of het peil van de hydraulische vloeistof correct is en of het systeem lekt.
Het reservoir is in de fabriek gevuld met hoogwaardige hydraulische vloeistof. Controleer het peil van de hydraulische vloeistof voordat u de motor voor het eerst start, en vervolgens dagelijks, zie Het peil van de hydraulische vloeistof in het hydraulische systeem met hoge stroming controleren.
Aanbevolen vloeistof voor het bijvullen: Toro PX Extended Life hydraulische vloeistof; verkrijgbaar in emmers van 19 liter of vaten van 208 liter.
Note: Een machine die de aanbevolen vloeistof om bij te vullen gebruikt moet minder vaak bijgevuld worden en de filter moet minder vaak worden vervangen.
Andere vloeistoffen: Als de Toro PX Extended Life hydraulische vloeistof niet verkrijgbaar is, kunt u een andere conventionele, petroleumgebaseerde hydraulische vloeistof gebruiken die aan de volgende materiaaleigenschappen en de industrienormen voldoet. Gebruik geen synthetische vloeistof. Vraag uw smeermiddelenleverancier naar een geschikt product.
Note: Toro aanvaardt geen enkele aansprakelijkheid voor schade die wordt veroorzaakt door gebruik van verkeerde vervangende vloeistoffen. Gebruik daarom uitsluitend producten van gerenommeerde fabrikanten die garant staan voor de door hen aanbevolen vloeistoffen.
| Materiaaleigenschappen: | ||
| Viscositeit, ASTM D445 | cSt bij 40 °C 44 tot 48 | |
| Viscositeitsindex ASTM D2270 | 140 of hoger | |
| Stolpunt, ASTM D97 | -37 °C tot -45 °C | |
| Industriespecificaties: | Eaton Vickers 694 (I-286-S, M-2950-S/35VQ25 of M-2952-S) | |
Note: Veel hydraulische vloeistoffen zijn bijna kleurloos, zodat het moeilijk is lekkages op te sporen. Er is een rode kleurstof voor de hydraulische vloeistof verkrijgbaar in flesjes van 20 ml. Eén flesje is voldoende voor 15 tot 22 l hydraulische vloeistof. U kunt deze kleurstof bestellen bij een erkende Toro dealer (onderdeelnr. 44-2500).
| Onderhoudsinterval | Onderhoudsprocedure |
|---|---|
| Bij elk gebruik of dagelijks |
|
Parkeer de machine op een horizontaal oppervlak.
Haal de parkeerrem aan.
Zet de motor af en haal het sleuteltje uit het contact.
Reinig het gebied rond de vulbuis en de dop van de hydraulische tank (Figuur 70).
Verwijder de dop van de vulbuis.

Verwijder de peilstok (Figuur 70) uit de vulbuis en veeg deze af met een schone doek.
Steek de peilstok in de vulbuis. Verwijder deze daarna en controleer het vloeistofpeil.
Note: Het vloeistofpeil moet tussen de 2 markeringen op de peilstok staan.
Als het peil te laag is, vult u bij tot het vloeistofpeil bij de bovenste markering staat; zie Vloeistof en filter van het hydraulische systeem met hoge stroming vervangen.
Plaats de peilstok terug in de vulbuis en plaats de dop terug.
Start de motor en schakel het werktuig in.
Note: Laat ze ongeveer 2 minuten lopen om lucht uit het systeem te verwijderen.
Important: De machine moet zijn gestart voordat u het hydraulische systeem met hoge stroming inschakelt.
Zet de motor af en schakel het werktuig uit en controleer op lekkage.
| Onderhoudsinterval | Onderhoudsprocedure |
|---|---|
| Om de 800 bedrijfsuren |
|
| Om de 1000 bedrijfsuren |
|
| Om de 2000 bedrijfsuren |
|
Inhoud hydraulisch vloeistof: ongeveer 15 liter
Parkeer de machine op een horizontaal oppervlak.
Haal de parkeerrem aan.
Zet de motor af en haal het sleuteltje uit het contact.
Reinig de omgeving van de plaats waar het filter met hoge stroming wordt gemonteerd (Figuur 69).
Plaats een opvangbak onder het filter en verwijder het filter.
Note: Als de vloeistof niet moet worden afgetapt, kunt u de hydraulische lijn die naar het filter loopt loskoppelen en voorzien van een plug.
Smeer de nieuwe pakkingafdichting van het filter en draai het filter met de hand op de filterkop totdat de pakking contact maakt met de filterkop. Draai het filter vervolgens nog eens ¾ slag. Het filter moet nu afgedicht zijn.
Vul de hydraulische tank met ongeveer 15 liter hydraulische vloeistof.
Start de motor en laat deze ongeveer 2 minuten stationair lopen om de vloeistof te laten circuleren en het systeem te ontluchten.
Stop de machine en controleer het vloeistofniveau.
Controleer het vloeistofpeil.
U moet de vloeistof op de juiste wijze afvoeren.
U kunt de laadbak in een noodgeval omhoogbrengen zonder de motor te starten. Dit is mogelijk door de startmotor te laten aanslaan of het hydraulische systeem inschakelen met opstartkabels.
Stel de startmotor in werking met de hefhendel in de stand Omhoog. Laat de startmotor 10 seconden draaien en wacht vervolgens 60 seconden voordat u de startmotor opnieuw in werking stelt. Als de startmotor niet aanslaat, moet u de lading en de laadbak (werktuig) verwijderen, zodat de motor of transaxle kunnen worden nagekeken.
Als u een volle laadbak omhoog brengt en niet ondersteunt met de geschikte steunstang, kan de laadbak onverwacht zakken. Werken onder een opgetilde laadbak die niet ondersteund is, kan u of anderen letsel toebrengen.
Voordat u onderhoudswerkzaamheden aan de machine verricht of deze afstelt, moet u de machine op een horizontaal oppervlak parkeren, de parkeerrem in werking stellen, de motor afzetten en het sleuteltje verwijderen.
Verwijder eventueel geladen materiaal uit de laadbak of andere werktuigen en breng de laadbakbeveiliging aan bij een volledig uitgetrokken cilinderstang voordat u gaat werken onder een opgeheven laadbak.
Hiervoor hebt u 2 hydraulische slangen nodig, elk met een mannelijke en een vrouwelijke koppeling, die passen op de koppelingen van het voertuig.
Rij een andere machine achterwaarts naar de achterkant van de defecte machine.
Important: Het hydraulische systeem van de machine is gevuld met Dexron III ATF. Om verontreiniging van het systeem te voorkomen, moet u controleren of de machine waarmee u het hydraulische systeem wilt inschakelen dezelfde of een gelijksoortige vloeistof gebruikt.
Maak de 2 slangen met snelkoppelingen op beide machines los van de slangen die zijn bevestigd aan de beugel van de koppeling (Figuur 71).

Sluit de 2 opstartslangen op de defecte machine aan op de slangen die zijn losgemaakt (Figuur 72).
Sluit de niet-gebruikte aansluitingen af.

Sluit de twee slangen op de andere machine aan op de koppeling die nog in de beugel van de koppeling zit (sluit de bovenste slang aan op de bovenste koppeling en de onderste slang op de onderste koppeling) (Figuur 73).
Sluit de niet-gebruikte aansluitingen af.

Hou alle omstanders uit de buurt van de machines.
Start de tweede machine en zet de hefhendel in de stand omhoog; de defecte laadbak wordt nu geheven.
Zet de hydraulische hefhendel in de NEUTRAALSTAND en zet deze vast met de vergrendeling.
Monteer de laadbakbeveiliging op de uitgetrokken hefcilinder; zie De laadbakbeveiliging gebruiken.
Note: Zet de motoren van beide machines uit en beweeg de hefhendel naar voren en naar achteren om de druk in het systeem op te heffen en de snelkoppelingen gemakkelijker los te maken.
Als u klaar bent, maakt u de opstartslangen los en sluit u de hydraulische slangen aan op beide machines.
Important: Controleer het peil van de hydraulische vloeistof in beide machines voordat u uw werkzaamheden hervat.
Reinig de machine indien nodig met alleen water of een mild reinigingsmiddel. Bij het schoonmaken van de machine kunt u een doek gebruiken.
Important: Gebruik geen brak of teruggewonnen water om de machine schoon te maken.
Important: Gebruik nooit een hogedrukreiniger om de machine schoon te maken. Hogedrukreinigers kunnen het elektrische systeem beschadigen, belangrijke stickers losweken en noodzakelijk vet op wrijvingspunten wegspoelen. Gebruik niet te veel water in de buurt van het bedieningspaneel, de motor en de accu.
Important: Reinig de machine niet terwijl de motor loopt. De machine reinigen terwijl de motor loopt kan interne motorschade veroorzaken.
Zet de machine af, verwijder het contactsleuteltje en wacht totdat alle bewegende onderdelen tot stilstand zijn gekomen voordat u de bestuurderspositie verlaat. Laat de machine afkoelen voordat u er instellingen of onderhoud aan verricht, of de machine schoonmaakt of stalt.
Bewaar de machine en het brandstofvat niet op plaatsen waar open vlammen, vonken of waakvlammen (bv. van een boiler of een ander toestel) aanwezig kunnen zijn.
| Onderhoudsinterval | Onderhoudsprocedure |
|---|---|
| Na de eerste 50 bedrijfsuren |
|
| Om de 200 bedrijfsuren |
|
| Om de 400 bedrijfsuren |
|
| Om de 600 bedrijfsuren |
|
Parkeer de machine op een horizontaal oppervlak, stel de parkeerrem in werking, schakel de motor uit en verwijder het sleuteltje.
Verwijder vuil en vet van de gehele machine, inclusief de buitenkant van de cilinder, de koelribben van de cilinderkop en de ventilatorbehuizing.
Controleer de remmen; zie Remvloeistofpeil controleren.
Geef het luchtfilter een onderhoudsbeurt; zie Onderhoud van het luchtfilter.
Plak de luchtfilterinlaat en de uitlaat af. Gebruik hiervoor weerbestendige afplakband.
Smeer het voertuig; zie Lagers en lagerbussen smeren.
Ververs de motorolie en vervang het filter; zie Motorolie verversen en filter vervangen.
Spoel de brandstoftank om met verse, schone dieselbrandstof.
Zet alle onderdelen van het brandstofsysteem goed vast.
Controleer de bandenspanning; zie Bandenspanning controleren.
Controleer de antivriesbescherming en vul het systeem bij met een oplossing die half uit water, half uit antivries bestaat. Vul zoveel bij als nodig is met het oog op de plaatselijk te verwachten minimumtemperatuur.
Verwijder de accu uit het chassis, controleer het zuurpeil en laad de accu volledig op; zie Onderhoud van de accu.
Note: U mag de accukabels niet aansluiten op de accupolen tijdens stalling.
Important: De accu moet volledig opgeladen zijn om te voorkomen dat deze bevriest en beschadigd raakt bij temperaturen beneden 0 °C. Een volledig opgeladen accu kan ongeveer 50 dagen worden gestald bij temperaturen beneden 4 °C zonder tussentijds te worden opgeladen. Bij temperaturen boven 4 °C moet u om de 30 dagen het waterpeil in de accu controleren en de accu opladen.
Controleer alle bouten, schroeven en moeren en draai deze vast. Repareer of vervang beschadigde delen.
Werk alle krassen en beschadigingen van de lak bij.
Bijwerklak is verkrijgbaar bij een erkende servicedealer.
Stal de machine in een schone, droge garage of opslagruimte.
Dek de machine af om deze te beschermen en schoon te houden.
| Problem | Possible Cause | Corrective Action |
|---|---|---|
| De snelkoppelingen zijn moeilijk aan te sluiten of los te koppelen. |
|
|
| De stuurbekrachtiging gaat stroef. |
|
|
| De hydraulische fitting lekt. |
|
|
| Een werktuig functioneert niet. |
|
|
| De motor start niet. |
|
|