| Intervalo de mantenimiento y servicio | Procedimiento de mantenimiento |
|---|---|
| Cada vez que se utilice o diariamente |
|
Este vehículo utilitario está indicado para utilizarse principalmente como todoterreno para transportar a personas y cargas de material. El uso de este producto para otros propósitos que los previstos podría ser peligroso para usted y para otras personas.
Lea este manual detenidamente para aprender a utilizar y mantener correctamente su producto, y para evitar lesiones y daños al producto. Usted es responsable de utilizar el producto de forma correcta y segura.
Visite www.Toro.com para buscar materiales de formación y seguridad o información sobre accesorios, para localizar un distribuidor o para registrar su producto.
Cuando necesite asistencia técnica, piezas originales Toro o información adicional, póngase en contacto con un Servicio Técnico Autorizado o con Asistencia al Cliente de Toro, y tenga a mano los números de modelo y serie de su producto. Figura 1 identifica la ubicación de los números de modelo y serie en el producto. Escriba los números en el espacio provisto.
Important: Con su dispositivo móvil, puede escanear el código QR de la calcomanía del número de serie (si se incluye) para acceder a información sobre la garantía, las piezas y otros datos sobre el producto.

Este manual utiliza 2 palabras para resaltar información. Importante llama la atención sobre información mecánica especial, y Nota resalta información general que merece una atención especial.
El símbolo de advertencia de seguridad (Figura 2) aparece tanto en este manual como en la máquina para identificar mensajes de seguridad importantes que debe seguir con el fin de evitar accidentes. Este símbolo aparecerá con la palabra Peligro, Advertencia o Precaución.
Peligro indica una situación peligrosa inminente que, si no se evita, provocará la muerte o lesiones graves.
Advertencia indica una situación potencialmente peligrosa que, si no se evita, podría producir la muerte o lesiones graves.
Precaución indica una situación potencialmente peligrosa que, si no se evita, puede producir lesiones menores o moderadas.

Este producto cumple todas las directivas europeas aplicables; si desea más detalles, consulte la Declaración de Conformidad (Declaration of Conformity – DOC) de cada producto.
El uso o la operación del motor en cualquier terreno forestal, de monte o cubierto de hierba a menos que el motor esté equipado con parachispas (conforme a la definición de la sección 4442) correctamente mantenido en buenas condiciones de funcionamiento, o que el motor haya sido fabricado, equipado y mantenido para la prevención de incendios, constituye una infracción de la legislación de California (California Public Resource Code Section 4442 o 4443).
El manual del propietario del motor (adjunto) ofrece información sobre las normas de la US Environmental Protection Agency (EPA) y de la California Emission Control Regulation sobre sistemas de emisiones, mantenimiento y garantía. Puede solicitarse un manual nuevo al fabricante del motor.
Si esta máquina está equipada con un dispositivo telemático, consulte a su distribuidor Toro autorizado para obtener instrucciones sobre cómo activar el dispositivo.
CALIFORNIA
Advertencia de la Propuesta 65
Es sabido por el Estado de California que los gases de escape de los motores diesel y algunos de sus componentes causan cáncer, defectos congénitos y otros peligros para la reproducción.
Los bornes, terminales y otros accesorios de la batería contienen plomo y compuestos de plomo, productos químicos reconocidos por el Estado de California como causantes de cáncer y daños reproductivos. Lávese las manos después de manejar el material.
Este producto puede producir lesiones personales. Siga siempre todas las instrucciones de seguridad con el fin de evitar lesiones personales graves.
Lea y comprenda el contenido de este Manual del operador antes de arrancar la máquina. Asegúrese de que todas las personas que utilicen este producto sepan cómo utilizarlo y comprendan las advertencias.
Preste toda su atención al manejo de la máquina. No realice ninguna actividad que pudiera distraerle; de lo contrario, podrían producirse lesiones o daños materiales.
No ponga las manos o los pies cerca de los componentes móviles de la máquina.
No haga funcionar la máquina si no están colocados y funcionando todos los protectores y dispositivos de seguridad.
Mantenga a otras personas, especialmente a los niños, alejadas de la zona de trabajo. Nunca permita que la máquina sea utilizada por niños.
Detenga y apague la máquina y retire la llave antes de realizar tareas de mantenimiento o de repostar.
El uso o mantenimiento incorrecto de esta máquina puede
causar lesiones. Para reducir el peligro de lesiones, cumpla estas
instrucciones de seguridad y preste atención siempre al símbolo
de alerta de seguridad
, que significa: Cuidado, Advertencia o Peligro
– instrucción relativa a la seguridad personal. El incumplimiento
de estas instrucciones puede dar lugar a lesiones personales o la
muerte.
![]() |
Las calcomanías de seguridad e instrucciones están a la vista del operador y están ubicadas cerca de cualquier zona de peligro potencial. Sustituya cualquier calcomanía que esté dañada o que falte. |


























Note: Los lados derecho e izquierdo de la máquina se determinan desde la posición normal del operador.
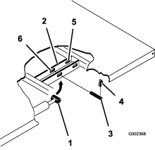
Piezas necesarias en este paso:
| Volante | 1 |
Suelte las pestañas de la parte trasera del volante que sujetan el embellecedor, y retire el embellecedor del centro del volante.
Retire la contratuerca y la arandela de la columna de dirección.
Deslice el volante y la arandela sobre la columna.
Note: Alinee el volante sobre la columna de manera que la barra quede en posición horizontal cuando los neumáticos están orientados hacia adelante, con el radio grueso del volante hacia abajo.
Note: La tapa guardapolvo se coloca en la columna de dirección en la fábrica.
Sujete el volante a la columna con la contratuerca y apriete la contratuerca a 24–29 N·m, según se muestra en Figura 3.
Alinee las pestañas de la tapa las ranuras del volante y coloque la tapa a presión en el centro del volante (Figura 3).

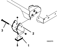
Piezas necesarias en este paso:
| Barra antivuelco | 1 |
| Perno con arandela prensada (½" x 1¼") | 6 |
Aplique un fijador de rosca de resistencia media (que se pueda eliminar durante el mantenimiento) a las roscas de los 6 pernos con arandela prensada (½" x 1¼").
Alinee cada lado de la barra antivuelco con los taladros de montaje de cada lado del bastidor de la máquina (Figura 4).

Sujete el soporte de montaje de la barra antivuelco al bastidor de la máquina usando 3 pernos con arandela prensada (½" x 1¼") en cada lado (Figura 4).
Apriete los pernos con arandela prensada (½" x 1¼") a 115 N∙m.
Compruebe el nivel de aceite del motor antes y después de arrancar el motor por primera vez; consulte Comprobación del nivel de aceite del motor.
Compruebe el nivel del fluido hidráulico/del transeje antes de arrancar el motor por primera vez; consulte Comprobación del nivel de fluido hidráulico/del transeje.
Compruebe el nivel del líquido de frenos antes de arrancar el motor por primera vez; consulte Comprobación del nivel del líquido de frenos.
Compruebe la presión de los neumáticos; consulte Comprobación de la presión de los neumáticos.
Para asegurar el rendimiento óptimo del sistema de frenos, debe bruñir los frenos antes de utilizar la máquina.
Conduzca la máquina a velocidad máxima, aplique los frenos para detener el vehículo rápidamente sin bloquear las ruedas.
Repita este procedimiento 10 veces, esperando 1 minuto entre cada parada para evitar sobrecalentar los frenos.
Important: Este procedimiento es más eficaz si la máquina lleva una carga de 454 kg.
Familiarícese con todos los controles antes de poner en marcha el motor y trabajar con la máquina.


El pedal del acelerador (Figura 7) le permite variar la velocidad de avance de la máquina cuando la transmisión está engranada. Al pisar el pedal del acelerador, aumentan la velocidad del motor y la velocidad de avance. Al soltar el pedal, disminuyen la velocidad del motor y la velocidad de avance.

Debe pisar a fondo el pedal del embrague (Figura 7) para desengranar el embrague al arrancar el motor o cambiar de marcha. Suelte el pedal suavemente cuando haya engranado la transmisión para evitar desgastes innecesarios de la transmisión y otras piezas relacionadas.
Important: No deje el pie sobre el pedal del embrague durante el uso. El pedal del embrague debe estar totalmente hacia fuera, de lo contrario el embrague patina y produce calor y desgaste. Nunca mantenga la máquina parada en una cuesta usando el pedal del embrague. Puede dañarse el embrague.
Utilice el pedal de freno para reducir la velocidad o para detener la máquina (Figura 7).
El uso de la máquina con los frenos desgastados o mal ajustados puede causar lesiones personales.
Si el recorrido del pedal de freno llega a menos de 25 mm del suelo de la máquina, ajuste o repare los frenos.
Pise a fondo el pedal del embrague y mueva la palanca de cambios (Figura 8) a la marcha deseada. A continuación se muestra un diagrama de las marchas.

Important: No cambie el transeje a las posiciones de MARCHA ATRáS o MARCHA a menos que la máquina esté inmóvil; de lo contrario, podría dañar el transeje.
Si se cambia a una marcha más baja a alta velocidad, las ruedas traseras pueden patinar, lo que puede provocar una pérdida de control de la máquina y daños en el embrague y/o la transmisión.
Cambie de marchas suavemente para evitar desgastar los engranajes.
El bloqueo del diferencial (Figura 9) permite bloquear el eje trasero para aumentar la tracción. Puede activarse el bloqueo del diferencial con la máquina en movimiento.
Mueva la palanca hacia adelante y a la derecha para activar el bloqueo.
Note: Es necesario que la máquina esté en movimiento y que se haga un ligero cambio de dirección para activar o desactivar el bloqueo del diferencial.
Si usted hace un giro con el bloqueo del diferencial puesto, puede perder el control de la máquina.
No conduzca la máquina con el bloqueo del diferencial puesto, al hacer giros cerrados o a altas velocidades; consulte Ajuste del cable del bloqueo del diferencial.

Cada vez que apague el motor, accione el freno de estacionamiento (Figura 9) para evitar que la máquina se desplace accidentalmente.
Para poner el freno de estacionamiento, tire hacia atrás de la palanca del freno de estacionamiento.
Para quitar el freno de estacionamiento, empuje la palanca del freno de estacionamiento hacia adelante.
Note: Quite el freno de estacionamiento antes de mover la máquina.
Si aparca la máquina en una cuesta pronunciada, accione el freno de estacionamiento, ponga la transmisión en la PRIMERA velocidad si aparca cuesta arriba, o MARCHA ATRáS si aparca cuesta abajo, y coloque calzos en el lado "cuesta abajo" de las ruedas.
La elevación hidráulica eleva y baja la plataforma. Muévala hacia atrás para elevar la plataforma, y hacia adelante para bajarla (Figura 9).
Important: Al bajar la plataforma, mantenga la palanca en posición hacia adelante durante 1 o 2 segundos después de que la plataforma entre en contacto con el bastidor para fijarla en posición bajada. No mantenga la elevación hidráulica en la posición Elevar o Bajar durante más de 5 segundos una vez que los cilindros hayan llegado al final de su recorrido.
El bloqueo de elevación hidráulica bloquea la palanca de elevación, de manera que los cilindros hidráulicos no son operativos si la máquina no está equipada con una plataforma (Figura 9). También bloquea la palanca de elevación en la posición ACTIVADO cuando se utiliza el sistema hidráulico para accionar accesorios.
La palanca de cambio de intervalo añade 3 marchas adicionales para un control preciso de la velocidad (Figura 9):
Debe detener la máquina completamente detenida antes de cambiar entre el intervalo ALTO y BAJO.
Cambie solo en terreno llano.
Pise a fondo el pedal del embrague.
Mueva la palanca hacia adelante del todo para engranar el intervalo ALTO, y hacia atrás del todo para engranar el intervalo BAJO.
INTERVALO Alto – para conducir a mayor velocidad en superficies llanas y secas con carga ligera.
Intervalo BAJO – para conducir a baja velocidad. Utilice este intervalo cuando se requiere mayor potencia o un control mayor de lo normal. Por ejemplo, en cuestas empinadas, terrenos difíciles, con cargas pesadas, a velocidad baja pero con altas revoluciones del motor (pulverización).
Important: Existe un punto entre ALTO y BAJO en el que el transeje no está engranado en ninguno de los dos intervalos. No utilice esta posición como PUNTO MUERTO, porque la máquina podría desplazarse inesperadamente si se tocara la palanca de cambio de intervalo con una marcha puesta.
Para accionar la tracción a las 4 ruedas manualmente, mantenga pulsado el botón de de la tracción a 4 ruedas (Figura 9) en la consola central mientras el vehículo está en movimiento.
Utilice el interruptor de encendido (Figura 5) para arrancar y detener el motor.
El interruptor de encendido tiene tres posiciones: DESCONECTADO, CONECTADO y ARRANQUE. Gire el interruptor de encendido en sentido horario a la posición de ARRANQUE para accionar el motor de arranque. Suelte el interruptor de encendido cuando el motor arranque. El interruptor de encendido se desplaza automáticamente a la posición de CONECTADO.
Para apagar el motor, gire el interruptor de encendido en sentido antihorario a la posición de DESCONECTADO.
Mueva el interruptor del supervisor (Figura 5) a la posición de LENTO y retire la llave. El interruptor del supervisor limita la velocidad del motor a 2200 rpm cuando la máquina está en tercera marcha en el intervalo ALTO, lo que limita la velocidad máxima a 21 km/h.
El horímetro (Figura 6) muestra el número total de horas de operación de la máquina.
El horímetro empieza a funcionar cuando gira el interruptor de encendido a la posición de CONECTADO y la velocidad del motor (rpm) supera las 500 rpm cada 6 minutos.
Mueva el interruptor de bloqueo de tercera marcha de intervalo alto (Figura 5) a la posición de LENTO y retire la llave para impedir el uso de la tercera marcha cuando esté en el intervalo ALTO. El motor se para si se cambia la palanca de marchas a tercera velocidad en el intervalo ALTO.
Note: La llave puede retirarse en cualquiera de las dos posiciones.
Presione este interruptor (Figura 5) para encender o apagar los faros.
El indicador de advertencia de la presión del aceite (Figura 6) se enciende si la presión de aceite del motor cae por debajo de un nivel seguro mientras el motor está en marcha.
Important: Si el indicador parpadea o permanece encendido, detenga la máquina, pare el motor y compruebe el nivel de aceite. Si el nivel de aceite es bajo, pero al añadir aceite no se apaga el indicador cuando se arranca el motor, apague el motor y solicite ayuda a su Servicio Técnico Autorizado de
Compruebe el funcionamiento de los indicadores de advertencia del siguiente modo:
Accione el freno de estacionamiento.
Gire el interruptor de encendido a la posición de CONECTADO/PRECALENTAMIENTO, pero no arranque el motor.
Note: El indicador de presión del aceite debe encenderse (color rojo). Si el indicador no funciona, es que hay un piloto quemado o una avería del sistema que debe repararse.
Note: Si el motor acaba de apagarse, el piloto puede tardar 1 – 2 minutos en encenderse.
El indicador de las bujías (Figura 6) se enciende en rojo cuando las bujías están activadas.
Important: El indicador de las bujías se enciende durante 15 segundos más cuando el interruptor vuelve a la posición de ARRANQUE.
El indicador de temperatura del refrigerante y el piloto registran la temperatura del refrigerante en el motor y solo funcionan solo cuando el interruptor de encendido está en la posición de CONECTADO (Figura 6).
Las 5 barras del refrigerante parpadean si el motor se sobrecalienta.
El indicador de carga se enciende cuando la batería se descarga. Si el indicador se enciende durante el uso, detenga la máquina, apague el motor y busque las posibles causas, por ejemplo la correa del alternador (Figura 6).
Important: Si la correa del alternador está suelta o rota, no utilice la máquina hasta haber completado el ajuste o la reparación. El incumplimiento de esta precaución puede dañar el motor.
Compruebe el funcionamiento de los indicadores de advertencia del siguiente modo:
Accione el freno de estacionamiento.
Gire el interruptor de encendido a la posición de CONECTADO/PRECALENTAMIENTO, pero no arranque el motor. Deben encenderse los indicadores de temperatura del refrigerante, la carga y la presión del aceite. Si algún indicador no funciona, es que hay un piloto quemado o una avería del sistema que debe ser reparada.
El indicador de combustible muestra la cantidad de combustible que hay en el depósito. Se muestra únicamente cuando el interruptor de encendido está en la posición de CONECTADO (Figura 6).
Una sola barra indica un bajo nivel de combustible y 1 barra parpadeando indica que el depósito de combustible está casi vacío.
Cuando el interruptor de tracción a 4 ruedas (Figura 5) está activado, la máquina acciona automáticamente la tracción a las 4 ruedas si el sensor detecta que las ruedas traseras están girando libremente. Cuando la tracción a las 4 ruedas está accionada, se enciende la luz del interruptor 4WD.
La tracción a las 4 ruedas solo funciona en la dirección hacia delante en el modo AUTOMáTICO. Si quiere que funcione en MARCHA ATRáS, pulse el botón 4WD.
Utilice este interruptor para activar la hidráulica de alto caudal (Figura 5).
El interruptor del claxon está situado en el panel de control (Figura 5). Pulse el interruptor del claxon para hacer sonar el claxon.
El taquímetro registra la velocidad del motor (Figura 6).
Note: 3300 rpm es la velocidad deseada del motor a 540 rpm en la toma de fuerza.
El velocímetro registra la velocidad de avance de la máquina (Figura 6).
El enchufe eléctrico (Figura 5) se utiliza para alimentar dispositivos eléctricos opcionales de 12 V.
El agarradero del pasajero está situado en el salpicadero (Figura 10).

Puede ajustar el asiento hacia adelante y hacia atrás para que le resulte más cómodo (Figura 11).

Note: Especificaciones y diseño están sujetos a modificación sin previo aviso.
| Anchura total | 160 cm |
| Longitud total | Sin plataforma: 326 cm |
| Con plataforma completa: 331 cm | |
| Con plataforma de 2/3 en emplazamiento trasero: 346 cm | |
| Peso base (en seco) | Modelo 07385: 887 kg |
| Modelo 07385TC: 924 kg | |
| Modelo 07387: 914 kg | |
| Modelo 07387TC: 951 kg | |
| Capacidad nominal (incluye operador de 91 kg, pasajero de 91 kg y accesorio cargado). | Modelo 07385: 1471 kg |
| Modelo 07385TC: 1435 kg | |
| Modelo 07387: 1445 kg | |
| Modelo 07387TC – 1408 kg | |
| Peso bruto máximo del vehículo (PBV) | 2.359 kg |
| Capacidad de remolque | Peso sobre el enganche: 272 kg |
| Peso máximo del remolque: 1587 kg | |
| Distancia al suelo | 18 cm sin carga |
| Distancia entre ejes | 118 cm |
| Banda de rodadura (línea central a línea central) | Delante: 117 cm |
| Detrás: 121 cm | |
| Altura | 191 cm hasta la parte superior de la barra antivuelco |
Está disponible una selección de implementos y accesorios homologados por Toro que se pueden utilizar con la máquina a fin de potenciar y aumentar sus prestaciones. Póngase en contacto con su Servicio Técnico Autorizado o visite www.Toro.com para obtener una lista de todos los implementos y accesorios homologados.
Para asegurar un rendimiento óptimo y la continuada certificación de seguridad de la máquina, utilice únicamente piezas y accesorios genuinos Toro. Las piezas de repuesto y accesorios de otros fabricantes podrían ser peligrosos, y su uso podría invalidar la garantía del producto.
No deje que la máquina sea utilizada o mantenida por niños o por personas que no hayan recibido una formación adecuada o que no sean físicamente capaces de hacerlo con seguridad. La normativa local puede imponer límites sobre la edad del operador. El propietario es responsable de proporcionar formación a todos los operarios y mecánicos.
Familiarícese con la operación segura del equipo, los controles del operador y las señales de seguridad.
Apague la máquina, retire la llave y espere a que se detenga todo movimiento antes de dejar el puesto del operador. Deje que se enfríe la máquina antes de hacer trabajos de ajuste, mantenimiento, limpieza o almacenamiento.
Sepa cómo parar y apagar la máquina rápidamente.
Asegúrese de que el número de ocupantes (usted y sus pasajeros) no supera el número de agarraderos provistos en la máquina.
Compruebe que están colocados todos dispositivos de seguridad y todas las calcomanías. Repare o sustituya todos los dispositivos de seguridad y sustituya todas las calcomanías ilegibles o que falten. No utilice la máquina a menos que estén presentes y funcionen correctamente.
Extreme las precauciones al manejar combustible. Es inflamable y sus vapores son explosivos.
Apague cualquier cigarrillo, cigarro, pipa u otra fuente de ignición.
Utilice solamente un recipiente de combustible homologado.
No retire el tapón de combustible ni rellene de combustible el depósito mientras el motor está en marcha o está caliente.
No añada ni drene combustible en un lugar cerrado.
No guarde la máquina o un recipiente de combustible en un lugar donde pudiera haber una llama desnuda, chispas o una llama piloto, por ejemplo en un calentador de agua u otro electrodoméstico.
Si se derrama combustible, no intente arrancar el motor; evite crear fuentes de ignición hasta que los vapores del combustible se hayan disipado.
| Intervalo de mantenimiento y servicio | Procedimiento de mantenimiento |
|---|---|
| Cada vez que se utilice o diariamente |
|
Cada día, antes de arrancar la máquina, siga los procedimientos marcados como “Cada uso/A diario” en la sección .
| Intervalo de mantenimiento y servicio | Procedimiento de mantenimiento |
|---|---|
| Cada vez que se utilice o diariamente |
|
Especificación de presión de aire de los neumáticos delanteros: 2,20 bar.
Especificación de presión de aire de los neumáticos traseros: 1,24 bar.
Important: Compruebe la presión de los neumáticos frecuentemente para asegurar un inflado correcto. Si no están inflados a la presión correcta, los neumáticos se desgastarán de manera prematura y pueden hacer que se agarrote la tracción a 4 ruedas.
La Figura 12 muestra un ejemplo del desgaste de un neumático debido a la falta de presión.

La Figura 13 muestra un ejemplo del desgaste de un neumático debido a una presión excesiva.

Utilice únicamente combustible diésel o combustible biodiésel limpio y nuevo con contenido sulfúrico bajo (<500 ppm) o muy bajo (<15 ppm). El número mínimo de cetanos debe ser de 40. Compre el combustible en cantidades que puedan ser consumidas en 180 días para asegurarse de que el combustible está fresco.
Utilice combustible diésel tipo verano (N.º2-D) a temperaturas superiores a -7 °C y combustible diésel tipo invierno (N.º1-D o mezcla de N.º1-D/2-D) a temperaturas inferiores.
El uso de combustible tipo invierno a bajas temperaturas proporciona un punto de inflamación menor y características de flujo en frío que facilitan el arranque y reducen la obturación del filtro del combustible.
Note: El uso de combustible tipo verano con temperaturas por encima de los -7 °C contribuirá a alargar la vida útil de la bomba de combustible y a incrementar la potencia en comparación con el combustible tipo invierno.
Important: No utilice queroseno o gasolina en lugar de combustible diésel. El incumplimiento de esta precaución dañará el motor.
Esta máquina también puede utilizar una mezcla de combustible biodiésel de hasta B20 (20% biodiésel, 80% petrodiésel). La porción de petrodiésel debe ser bajo o ultrabajo en azufre. Tome las siguientes precauciones:
La parte de biodiésel del combustible deberá cumplir con la especificación ASTM D6751 o EN 14214.
La composición de la mezcla de combustible debe cumplir la norma ASTM D975 o EN 590.
Las superficies pintadas pueden ser dañadas por mezclas de combustible biodiésel.
Utilice B5 (contenido de biodiésel del 5%) o mezclas menores cuando hace frío.
Vigile los retenes, las mangueras y las juntas que estén en contacto con el combustible porque pueden degradarse con el tiempo.
Es previsible la obturación del filtro del combustible durante un tiempo tras pasarse a las mezclas de biodiésel.
Póngase en contacto con su distribuidor si desea más información acerca del biodiésel.
Capacidad del depósito de combustible: 22 litros.
Limpie la zona alrededor del tapón del depósito de combustible.
Retire el tapón del depósito de combustible (Figura 14).

Llene el depósito hasta justo por debajo de la parte superior del depósito (la parte inferior del cuello de llenado), luego coloque el tapón.
Note: No llene el depósito de combustible en exceso.
Para evitar el riesgo de incendio, limpie cualquier combustible que se haya derramado.
| Intervalo de mantenimiento y servicio | Procedimiento de mantenimiento |
|---|---|
| Después de las primeras 100 horas |
|
Realice lo siguiente para asegurar un adecuado funcionamiento de la máquina:
Asegúrese de que los frenos están bruñidos; consulte Bruñido de los frenos.
Compruebe regularmente los niveles de fluidos y del aceite del motor. Esté atento a señales de sobrecalentamiento de la máquina o de sus componentes.
Después de arrancar un motor frío, deje que se caliente durante unos 15 segundos antes de usar la máquina.
Note: Deje más tiempo para que se caliente el motor al utilizar la máquina a bajas temperaturas.
Varíe la velocidad de la máquina durante el uso. Evite arrancar o detener la máquina de forma súbita.
No es necesario usar aceite de motor especial durante el rodaje. El aceite original del motor es del mismo tipo que el especificado para los cambios de aceite normales.
Consulte respecto a verificaciones especiales en las primeras horas de uso.
| Intervalo de mantenimiento y servicio | Procedimiento de mantenimiento |
|---|---|
| Cada vez que se utilice o diariamente |
|
El propósito del sistema de interruptores de seguridad es impedir que el motor gire o arranque, a menos que pise el pedal de embrague.
Si los interruptores de seguridad están desconectados o están dañados, la máquina podría ponerse en marcha inesperadamente y causar lesiones personales.
No manipule los interruptores de seguridad.
Compruebe el funcionamiento de los interruptores de seguridad cada día y sustituya cualquier interruptor dañado antes de utilizar la máquina.
Note: Consulte en el Manual del operador del accesorio el procedimiento para comprobar el sistema de interruptores de seguridad del accesorio.
Siéntese en el asiento del operador y accione el freno de estacionamiento.
Mueva la palanca de cambios a la posición de PUNTO MUERTO.
Note: El motor no arrancará si la palanca de elevación hidráulica está bloqueada en la posición delantera.
Sin pisar el pedal de embrague, gire el interruptor de encendido a la posición de ARRANQUE.
Note: Si el motor gira o arranca, hay un problema con el sistema de los interruptores de seguridad que debe repararse antes de utilizar la máquina.
Siéntese en el asiento del operador y accione el freno de estacionamiento.
Mueva la palanca de cambios a la posición de PUNTO MUERTO y compruebe que la palanca de elevación hidráulica está en la posición central.
Pise el pedal del embrague.
Mueva la palanca de elevación hidráulica hacia delante y gire el interruptor de encendido a la posición de ARRANQUE.
Note: Si el motor gira o arranca, hay un problema con el sistema de los interruptores de seguridad que debe repararse antes de utilizar la máquina.
El propietario/operador puede prevenir, y es responsable de, cualquier accidente que pueda causar lesiones personales o daños materiales.
Los pasajeros solo deben sentarse en las posiciones designadas de los asientos. No lleve pasajeros en la plataforma de carga. Mantenga a otras personas, especialmente a los niños, alejadas de la zona de trabajo.
Lleve ropa adecuada, incluida protección ocular, pantalón largo, calzado resistente y antideslizante y protección auditiva. Si tiene el pelo largo, recójaselo, y no lleve joyas o prendas sueltas.
Preste toda su atención al manejo de la máquina. No realice ninguna actividad que pudiera distraerle; de lo contrario, podrían producirse lesiones o daños materiales.
No utilice la máquina si está enfermo, cansado o bajo la influencia de alcohol o drogas.
Utilice la máquina únicamente en el exterior o en una zona bien ventilada.
No supere el peso bruto máximo del vehículo (PBV) de la máquina.
Extreme las precauciones al conducir, frenar o girar la máquina con una carga pesada en la plataforma de carga.
Las cargas sobredimensionadas en la plataforma de carga reducen la estabilidad de la máquina. No supere la capacidad de carga de la plataforma.
El transporte de material que no pueda amarrarse a la máquina afecta de manera negativa a la dirección, al frenado y a la estabilidad de la máquina. Cuando transporte material que no pueda amarrarse a la máquina, extreme las precauciones al cambiar de dirección o frenar.
Reduzca la carga y la velocidad de avance de la máquina si va a conducir en terrenos accidentados o abruptos y cerca de bordillos, baches y otros cambios bruscos del terreno. La carga puede desplazarse, haciendo que la máquina pierda estabilidad.
Antes de arrancar la máquina, asegúrese de que las transmisiones están en punto muerto, de que el freno de estacionamiento está accionado y de que se encuentra en la posición del operador.
Tanto usted como los pasajeros deben permanecer sentados siempre que la máquina esté en movimiento. Mantenga las manos en el volante; los pasajeros deben utilizar los agarraderos suministrados. Mantenga los brazos y las piernas dentro de la máquina en todo momento.
Utilice la máquina solamente en condiciones óptimas de visibilidad. Esté alerta a agujeros, surcos, montículos, rocas u otros objetos ocultos. Un terreno irregular puede hacer que la máquina vuelque. La hierba alta puede ocultar obstáculos. Tenga cuidado al acercarse a esquinas ciegas, arbustos, árboles u otros objetos que puedan dificultar la visión.
No conduzca la máquina cerca de terraplenes, fosas o taludes. La máquina podría volcar repentinamente si una rueda pasa por un borde o si el borde se desploma.
Siempre esté atento y procure evitar obstáculos de baja altura, como ramas de árboles, jambas de puertas, pasarelas elevadas, etc.
Mire hacia atrás y hacia abajo antes de dar marcha atrás con la máquina, para asegurarse de que el camino está despejado.
Si utiliza la máquina en la vía pública, observe todas las normas de tráfico y utilice los accesorios adicionales exigidos por la ley, como por ejemplo luces, intermitentes, señales de vehículo lento (SMV) y cualquier otro que sea necesario.
Si la máquina vibra anormalmente, detenga y apague la máquina inmediatamente, espere hasta que se detenga todo movimiento e inspeccione la máquina por si hubiera daños. Repare cualquier daño en la máquina antes de reanudar su uso.
El tiempo de parada en superficies mojadas puede ser mayor que en superficies secas. Para secar los frenos húmedos, conduzca lentamente sobre una superficie llana, presionando ligeramente el pedal de freno.
Si se utiliza la máquina a gran velocidad y se detiene rápidamente puede hacer que se bloqueen las ruedas traseras, lo que afecta al control de la máquina.
No toque el motor, la transmisión, el silenciador o el colector del silenciador mientras el motor esté funcionando o poco después de detener la máquina, porque estas zonas podrían estar lo suficientemente calientes para causar quemaduras.
No deje la máquina desatendida mientras esté funcionando.
Antes de abandonar el puesto del operador, haga lo siguiente:
Aparque la máquina en una superficie nivelada.
Mueva la transmisión a la posición de PUNTO MUERTO.
Accione el freno de estacionamiento.
Baje la plataforma de carga.
Apague la máquina y retire la llave.
Espere a que se detenga todo movimiento.
No utilice la máquina cuando exista riesgo de caída de rayos.
Utilice solamente los accesorios y aperos aprobados por The Toro® Company.
El ROPS es un dispositivo de seguridad integrado.
No retire el ROPS de la máquina.
Lleve puesto siempre el cinturón de seguridad, asegúrese de que está abrochado y de que puede desabrocharlo rápidamente en caso de emergencia.
Compruebe cuidadosamente que no haya obstrucciones en altura, y si las hay, no entre en contacto con ellos.
Mantenga el ROPS en condiciones seguras de funcionamiento, inspeccionándolo periódicamente en busca de daños y manteniendo bien apretadas todas las fijaciones de montaje.
Sustituya los componentes del ROPS que estén dañados. No los repare ni los modifique.
Las pendientes son una de las principales causas de accidentes por pérdida de control y vuelcos, que pueden causar lesiones graves o la muerte.
Valore el lugar para determinar en qué pendientes es seguro utilizar la máquina y para establecer sus propios procedimientos y normas de uso en esas pendientes. Utilice siempre el sentido común y el buen juicio al realizar este estudio.
Si no se siente cómodo usando la máquina en una pendiente, no lo haga.
Haga todos los movimientos en cuestas y pendientes de forma lenta y gradual. No cambie repentinamente la velocidad o la dirección de la máquina.
Evite utilizar la máquina sobre terreno mojado. Los neumáticos pueden perder tracción. Puede producirse un vuelco antes de que los neumáticos pierdan tracción.
Suba y baje las cuestas en línea recta.
Si la máquina no puede avanzar al subir una cuesta, aplique paulatinamente los frenos y baje la cuesta en línea recta, a baja velocidad, en marcha atrás.
Girar al subir o bajar una pendiente puede ser peligroso. Si es imprescindible girar en una pendiente, hágalo lentamente y con cuidado.
Las cargas pesadas afectan a la estabilidad en una pendiente. Reduzca el peso de la carga y la velocidad de avance al conducir por una pendiente o si la carga tiene un centro de gravedad alto. Sujete la carga a la plataforma de carga de la máquina para evitar que la carga se desplace. Extreme las precauciones al transportar cargas que se desplacen con facilidad (líquidos, piedras, arena, etc.).
Evite arrancar, parar o girar la máquina en una pendiente, sobre todo con carga. El vehículo tarda más en pararse cuando baja una pendiente que en un terreno llano. Si es imprescindible parar la máquina, evite cambios repentinos de velocidad, que pueden hacer que la máquina vuelque o ruede. No accione los frenos bruscamente al desplazarse en marcha atrás, puesto que la máquina podría volcar.
No supere el peso bruto máximo de la máquina al utilizarla con una carga en la plataforma de carga, o para tirar de un remolque; consulte Especificaciones.
Distribuya la carga de forma uniforme en la plataforma de carga para mejorar la estabilidad y el control de la máquina.
Antes del volcado, asegúrese de que no haya ninguna persona detrás de la máquina.
No vuelque la plataforma cargada cuando la máquina está atravesada en una pendiente. El cambio en la distribución del peso puede hacer que la máquina vuelque.
La plataforma elevada puede caerse y herir a cualquier persona que esté trabajando debajo de la misma.
Utilice siempre la varilla de sujeción para mantener la plataforma en posición elevada antes de realizar trabajos debajo de ella.
Retire cualquier material de carga de la plataforma antes de elevarla.
Si se conduce la máquina con la plataforma de carga elevada, la máquina puede volcar o rodar más fácilmente. La estructura de la plataforma puede dañarse si conduce la máquina con la plataforma elevada.
Utilice la máquina únicamente con la plataforma de carga bajada.
Después de vaciar la plataforma de carga, bájela.
Si la carga está concentrada cerca de la parte trasera de la plataforma de carga y abre los enganches, la plataforma puede inclinarse inesperadamente y abrirse, causando lesiones a usted o a otras personas.
Centre las cargas en la plataforma, si es posible.
Sujete la plataforma de carga en la posición bajada y asegúrese de que no hay nadie apoyado en la plataforma o detrás de la misma antes de abrir los enganches.
Retire toda la carga de la plataforma antes de elevarla para realizar tareas de mantenimiento en la máquina.
Mueva la palanca hacia atrás para elevar la plataforma de carga (Figura 15).

El peso de la plataforma puede ser muy elevado. Puede aplastar las manos u otras partes del cuerpo.
Mantenga alejadas las manos y otras partes del cuerpo mientras baja la plataforma.
Mueva la palanca hacia adelante para bajar la plataforma de carga (Figura 15).
Asegúrese de que la plataforma de carga está bajada y enganchada.
Abra los enganches de los lados izquierdo y derecho de la plataforma de carga y baje el portón trasero (Figura 16).

Siéntese en el asiento del operador y accione el freno de estacionamiento.
Desengrane la toma de fuerza y la hidráulica de alto caudal (si está instalada) y mueva la palanca del acelerador manual (si está instalada) a la posición de DESCONECTADO.
Ponga la palanca de cambios en PUNTO MUERTO y pise el pedal del embrague.
Compruebe que la palanca de elevación hidráulica está en la posición central.
No pise el pedal del acelerador.
Gire el interruptor de encendido a la posición de CONECTADO.
Note: Cuando el indicador de la bujía se enciende, el motor está preparado para el arranque.
Gire la llave de encendido a la posición de ARRANQUE.
Note: Suelte la llave inmediatamente cuando el motor arranque y deje que vuelva a MARCHA.
Note: El indicador de la bujía se enciende durante 15 segundos más cuando el interruptor vuelve a la posición de MARCHA.
Note: No haga funcionar el motor de arranque durante más de 10 segundos seguidos, o puede producirse un fallo prematuro en el motor de arranque. Si el motor no arranca después de 10 segundos, gire la llave a la posición de DESCONECTADO. Compruebe los controles y los procedimientos de arranque, espere 10 segundos más y repita la operación de arranque.
Para activar la tracción a 4 ruedas automática, pulse la parte superior del interruptor basculante en la posición 4X4 AUTO (Figura 17).

Cuando el interruptor de 4WD está activado, la máquina acciona automáticamente la tracción a las 4 ruedas si el sensor detecta que las ruedas traseras están girando libremente. Cuando la tracción a las 4 ruedas está accionada, se enciende la luz del interruptor 4WD.
Important: En marcha atrás, la máquina no acciona automáticamente la tracción a las 4 ruedas. En marcha atrás, es necesario accionar manualmente la tracción a las 4 ruedas con el botón de 4WD.
Para accionar la tracción a las 4 ruedas manualmente, mantenga pulsado el botón de 4WD en la consola central mientras el vehículo está en movimiento.
Note: La tracción a las 4 ruedas se mantiene accionada solo mientras mantenga pulsado el botón; el interruptor de 4WD no tiene que estar en la posición de AUTOMáTICO para accionar manualmente la tracción a las 4 ruedas.
Quite el freno de estacionamiento.
Pise a fondo el pedal del embrague.
Mueva la palanca de cambio a la primera velocidad.
Suelte el embrague suavemente mientras pisa el pedal del acelerador.
Cuando la máquina haya alcanzado la velocidad suficiente, retire el pie del pedal del acelerador, pise a fondo el pedal del embrague, mueva la palanca de cambios a la velocidad siguiente y suelte el pedal del embrague mientras pisa el pedal del acelerador.
Repita este procedimiento hasta alcanzar la velocidad deseada.
Important: Pare siempre la máquina antes de cambiar de una marcha hacia adelante a marcha atrás, o de marcha atrás a una marcha hacia adelante.
Note: Evite tener el motor funcionando a ralentí durante mucho tiempo.
Utilice la tabla siguiente para determinar la velocidad de avance de la máquina a 3.600 rpm.
| Marcha | Intervalo | Relación | Velocidad (km/h) | Velocidad (mph) |
|---|---|---|---|---|
| 1 | L (bajo) | 82,83 : 1 | 4,7 | 2,9 |
| 2 | L (bajo) | 54,52 : 1 | 7,2 | 4,5 |
| 3 | L (bajo) | 31,56 : 1 | 12,5 | 7,7 |
| 1 | H (alto) | 32,31 : 1 | 12,2 | 7,6 |
| 2 | H (alto) | 21,27 : 1 | 18,5 | 11,5 |
| 3 | H (alto) | 12,31 : 1 | 31,9 | 19,8 |
| R | L (bajo) | 86,94 : 1 | 4,5 | 2,8 |
| R | H (alto) | 33,91 : 1 | 11,6 | 7,1 |
Important: No intente empujar o remolcar la máquina para arrancarla. Podría dañarse el tren de transmisión.
Para detener la máquina, quite el pie del pedal del acelerador y pise el pedal de freno.
Aparque la máquina en una superficie nivelada.
Accione el freno de estacionamiento.
Gire el interruptor a la posición de DESCONECTADO y retire la llave.
Un vuelco de la máquina sobre una cuesta o pendiente causará lesiones graves.
La tracción adicional que está disponible con el bloqueo del diferencial puede ser suficiente para provocar situaciones comprometidas, por ejemplo, subir una cuesta demasiado empinada para poder girar. Extreme las precauciones al conducir con el bloqueo del diferencial activado, sobre todo en las pendientes más pronunciadas.
Si el bloqueo del diferencial está activado mientras se hace un giro cerrado a alta velocidad, y una de las ruedas interiores se levanta del suelo, puede producirse una pérdida de control que podría hacer que la máquina patinara. Utilice el bloqueo del diferencial únicamente a baja velocidad.
Si usted hace un giro con el bloqueo del diferencial puesto, puede perder el control de la máquina. No conduzca con el bloqueo del diferencial puesto al hacer giros cerrados o a altas velocidades.
El bloqueo del diferencial aumenta la tracción de la máquina bloqueando las ruedas traseras, evitando que patine una de las ruedas. Esto puede ser de ayuda cuando tiene que llevar cargas pesadas en zonas mojadas o resbaladizas, al subir cuestas y en superficies de arena. No obstante, es importante recordar que esta tracción adicional debe usarse de forma limitada durante periodos cortos. Su uso no sustituye a un funcionamiento seguro.
El bloqueo del diferencial hace que las ruedas traseras giren a la misma velocidad. Cuando se utiliza el bloqueo del diferencial, no es posible hacer giros tan cerrados y se puede dañar el césped. Utilice el bloqueo del diferencial únicamente en caso de necesidad, conduciendo más lentamente y usando solo la primera o la segunda velocidad.
El control hidráulico suministra potencia hidráulica desde la bomba de la máquina siempre que el motor esté en marcha. La potencia puede ser utilizada a través de los acoplamientos rápidos situados en la parte trasera de la máquina.
El fluido hidráulico que escapa bajo presión puede tener la fuerza suficiente para penetrar en la piel y causar graves lesiones.
Deben extremarse las precauciones al conectar o desconectar los acoplamientos rápidos hidráulicos. Apague el motor, accione el freno de estacionamiento, baje el accesorio y coloque la válvula hidráulica remota en posición de flotación (muesca) para aliviar la presión hidráulica antes de conectar o desconectar los acoplamientos rápidos.
Important: Si se utiliza el mismo accesorio en diferentes máquinas, puede producirse una contaminación cruzada del fluido de la transmisión. Cambie el fluido de la transmisión con mayor frecuencia.
Posición de DESACTIVADO
Ésta es la posición normal de la válvula de control cuando no se está usando. En esta posición, los orificios de accionamiento de la válvula de control están bloqueados y cualquier carga es retenida por las válvulas de retención en ambos sentidos.
Posición ELEVAR (Acoplamiento rápido A)
En esta posición se eleva la plataforma o el accesorio de enganche trasero, o se aplica presión al acoplamiento rápido A. También permite que el fluido hidráulico de retorno del acoplamiento rápido B fluya de nuevo a la válvula y luego al depósito. Es una posición momentánea y cuando se suelta la palanca, esta vuelve presionada por un muelle a la posición de DESACTIVADO.

Posición BAJAR (Acoplamiento rápido B)
En esta posición se baja la plataforma o el accesorio de enganche trasero, o se aplica presión al acoplamiento rápido B. También permite que el fluido hidráulico de retorno del acoplamiento rápido A fluya de nuevo a la válvula y luego al depósito. Es una posición momentánea y cuando se suelta la palanca, esta vuelve presionada por un muelle a la posición de DESACTIVADO. Si se mantiene momentáneamente y luego se suelta la palanca de control en esta posición, el flujo del fluido hidráulico llegará al acoplamiento rápido B, que baja el enganche trasero. Al soltar la palanca, se mantiene la presión hacia abajo en el enganche.
Important: Si se utiliza con un cilindro hidráulico, al sostener la palanca de control en la posición Bajar hace que el flujo de fluido hidráulico fluya sobre una válvula de alivio, lo que puede dañar el sistema hidráulico.
Posición de ACTIVADO
Esta posición es similar a BAJAR (POSICIóN B DEL ACOPLAMIENTO RáPIDO). También dirige el fluido hidráulico hacia el acoplamiento rápido B, salvo que la palanca se retenga en esta posición mediante una palanca de retención en el panel de control. Esto permite que el fluido hidráulico fluya de forma continua a los equipos que tengan un motor hidráulico.
Utilice esta posición sólo con accesorios que tengan acoplado un motor hidráulico.
Important: Si se utiliza con un cilindro hidráulico, o sin accesorio, la posición de ACTIVADO hace que el flujo de fluido hidráulico fluya sobre una válvula de alivio, lo que puede dañar el sistema hidráulico. Utilice esta posición sólo momentáneamente o con un motor acoplado.
Important: Compruebe el nivel de fluido hidráulico después de instalar un apero. Compruebe la operación del accesorio haciéndolo funcionar varias veces para purgar el aire del sistema, luego vuelva a comprobar el nivel de fluido hidráulico. El cilindro del accesorio afecta ligeramente al nivel de fluido en el transeje. El uso de la máquina con un nivel bajo de fluido hidráulico puede dañar la bomba, la hidráulica remota, la dirección asistida y el transeje de la máquina.
Important: Limpie cualquier suciedad de los acoplamientos rápidos antes de conectarlos. Si los acoplamientos están sucios pueden introducir contaminación en el sistema hidráulico.
Tire hacia atrás del anillo de bloqueo del acoplamiento.
Inserte el conector de la manguera en el acoplamiento hasta que quede conectado a presión.
Note: Al acoplar equipos remotos a los acoplamientos rápidos, determine qué lado requiere presión, luego conecte ese manguito al acoplamiento rápido B, que tendrá presión cuando la palanca de control esté hacia adelante o bloqueada en la posición de CONECTADO.
Note: Con los motores de la máquina y del accesorio apagados, mueva la palanca de elevación hacia adelante y hacia atrás para eliminar la presión del sistema y facilitar la desconexión de los acoplamientos rápidos.
Tire hacia atrás del anillo de bloqueo del acoplamiento.
Tire con firmeza de la manguera para separarla del acoplamiento.
Important: Limpie e instale el tapón antipolvo y las tapas antipolvo en los acoplamientos cuando no estén en uso.
Dificultad para conectar o desconectar los acoplamientos rápidos.
No se ha aliviado la presión (el acoplamiento rápido está bajo presión).
La dirección asistida se maneja con dificultad o no gira en absoluto.
El nivel de aceite hidráulico es bajo.
El fluido hidráulico está demasiado caliente.
La bomba no funciona.
Hay fugas de aceite hidráulico.
Los acoplamientos están sueltos.
Falta la junta tórica del acoplamiento.
Algún accesorio no funciona.
Los acoplamientos rápidos no están bien conectados.
Los acoplamientos rápidos están intercambiados.
Hay un chirrido.
Cierre la válvula que se ha dejado en la posición de ABIERTA (muesca), lo que hace que el fluido hidráulico fluya sobre la válvula de alivio.
La correa está suelta.
El motor no arranca.
La palanca hidráulica está bloqueada en la posición DELANTERA.
Antes de abandonar el puesto del operador, haga lo siguiente:
Aparque la máquina en una superficie nivelada.
Mueva la transmisión a la posición de PUNTO MUERTO.
Accione el freno de estacionamiento.
Baje la plataforma de carga.
Desconecte el motor y retire la llave.
Espere a que se detenga todo movimiento.
Deje que se enfríe la máquina antes de hacer trabajos de ajuste, mantenimiento, limpieza o almacenamiento.
No guarde la máquina en un lugar donde pudiera haber una llama desnuda, chispas o una llama piloto, por ejemplo en un calentador de agua u otro electrodoméstico.
Mantenga todas las piezas de la máquina en buenas condiciones de funcionamiento y todas las fijaciones bien apretadas.
Realice el mantenimiento de los cinturones y límpielos cuando sea necesario.
Substituya todas las pegatinas desgastadas, deterioradas o que falten.
Tenga cuidado al cargar o descargar la máquina en/desde un remolque o un camión.
Utilice rampas de ancho completo para cargar la máquina en un remolque o un camión.
Amarre la máquina firmemente.
Consulte en Figura 19 y Figura 20 la ubicación de los puntos de amarre de la máquina.
Note: Cargue la máquina en el remolque con la parte delantera de la máquina hacia adelante. Si esto no es posible, sujete el capó de la máquina al bastidor con una correa, o retire el capó y transpórtelo por separado, correctamente amarrado; de lo contrario, el capó puede salir despedido durante el transporte.


En caso de emergencia, se puede remolcar la máquina una corta distancia, pero no debe ser un procedimiento estándar.
Remolcar a velocidades excesivas podría provocar una pérdida de control de la dirección, dando lugar a lesiones personales.
No remolque la máquina nunca a más de 8 km/h.
Note: La dirección asistida no funciona, por lo que cuesta más trabajo dirigir la máquina.
EL remolcado de la máquina es un trabajo para dos personas. Si es necesario trasladar la máquina una distancia considerable, transpórtela sobre un camión o un remolque.
Conecte un cable de remolque al punto de remolque, en la parte delantera del bastidor de la máquina (Figura 19).
Mueva la transmisión a la posición de PUNTO MUERTO y quite el freno de estacionamiento.
La máquina es capaz de tirar de remolques y accesorios de mayor peso que la máquina misma. Hay varios tipos de enganche disponibles para la máquina, dependiendo del trabajo a hacer. Póngase en contacto con su Servicio Técnico Autorizado para obtener más detalles.
Cuando está equipado con un acoplamiento de remolque atornillado al tubo del eje trasero, la máquina puede tirar de remolques o accesorios con un peso bruto de remolque (PBR) máximo de 1587 kg.
Cargue siempre el remolque con el 60 % del peso de la carga en la parte delantera del remolque. Esto coloca el 10 % aproximadamente (272 kg máximo) del peso bruto de remolque (PBR) sobre el enganche de remolque de la máquina.
Al transportar cargas o tirar de un remolque (accesorio), no sobrecargue la máquina o el remolque. La sobrecarga puede causar un bajo rendimiento o dañar los frenos, el eje, el motor, el transeje, la dirección, la suspensión, el chasis o los neumáticos.
Important: Para reducir los posibles daños al tren de transmisión, utilice el intervalo bajo.
Cuando se tira de accesorios tipo quinta rueda, como por ejemplo un aireador de calle, instale siempre la barra de estabilidad (incluida con el kit de quinta rueda) para evitar que las ruedas delanteras se levanten del suelo si el movimiento del accesorio remolcado es interrumpido repentinamente.
No permita que personas que no hayan recibido formación realicen mantenimiento en la máquina.
Antes de abandonar el puesto del operador, haga lo siguiente:
Aparque la máquina en una superficie nivelada.
Mueva la transmisión a la posición de PUNTO MUERTO.
Accione el freno de estacionamiento.
Baje la plataforma de carga.
Apague la máquina y retire la llave.
Espere a que se detenga todo movimiento.
Deje que se enfríe la máquina antes de hacer trabajos de ajuste, mantenimiento, limpieza o almacenamiento.
Apoye la máquina con caballetes siempre que trabaje debajo de la máquina.
Nunca trabaje bajo una plataforma elevada sin tener colocado el soporte de seguridad correcto de la plataforma.
Asegúrese de que todos los conectores de tubos hidráulicos están apretados y de que todas las mangueras y los tubos hidráulicos están en buen estado antes de aplicar presión al sistema.
Antes de desconectar el sistema hidráulico o de realizar cualquier trabajo en el mismo, alivie toda la presión del sistema parando el motor, cambiando la válvula de volcado de elevar a bajar y/o bajando la plataforma de carga y los accesorios. Coloque la palanca de control remoto del sistema hidráulico en posición Flotación. Si es necesario que la plataforma esté en posición elevada, afiáncela con el soporte de seguridad.
Alivie con cuidado la tensión de aquellos componentes que tengan energía almacenada.
No cargue las baterías mientras se realizan tareas de mantenimiento en la máquina.
Para asegurarse de que la máquina esté en buenas condiciones, mantenga correctamente apretadas todas las fijaciones.
Para reducir el peligro de incendio, mantenga la máquina libre de acumulaciones excesivas de grasa, hojas, hierba y suciedad.
Si es posible, no realice tareas de mantenimiento con la máquina en marcha. Manténgase alejado de las piezas en movimiento.
Si la máquina debe estar en marcha para realizar un ajuste, mantenga las manos, los pies, el resto del cuerpo y la ropa alejados de cualquier pieza en movimiento. Mantenga alejadas de la máquina a otras personas.
Limpie cualquier aceite o combustible derramado.
Compruebe el funcionamiento del freno de estacionamiento según lo recomendado en el calendario de mantenimiento, y realice los ajustes y el mantenimiento necesarios.
Mantenga todas las piezas de la máquina en buenas condiciones de funcionamiento y todos los herrajes correctamente apretados. Sustituya cualquier pegatina desgastada o deteriorada.
No interfiera nunca con la función prevista de un dispositivo de seguridad ni reduzca la protección que proporcione un dispositivo seguridad.
No aumente excesivamente el régimen del motor cambiando los ajustes del regulador. Para garantizar la seguridad y la precisión, haga que un Servicio Técnico Autorizado compruebe la velocidad máxima del motor con un taquímetro.
Si alguna vez es necesario efectuar reparaciones importantes, o si necesita ayuda, póngase en contacto con un Servicio Técnico Autorizado.
La modificación de esta máquina de cualquier manera que pudiera afectar a la operación de la máquina, su rendimiento, durabilidad o uso, podría dar lugar a lesiones o a la muerte. Dicho uso podría invalidar la garantía de The Toro® Company.
| Intervalo de mantenimiento y servicio | Procedimiento de mantenimiento |
|---|---|
| Después de las primeras 2 horas |
|
| Después de las primeras 10 horas |
|
| Después de las primeras 50 horas |
|
| Después de las primeras 100 horas |
|
| Cada vez que se utilice o diariamente |
|
| Cada 25 horas |
|
| Cada 50 horas |
|
| Cada 100 horas |
|
| Cada 200 horas |
|
| Cada 400 horas |
|
| Cada 600 horas |
|
| Cada 800 horas |
|
| Cada 1000 horas |
|
| Cada 2000 horas |
|
Note: Para descargar una copia del esquema eléctrico, visite www.Toro.com y busque su máquina en el enlace Manuales de la página de inicio.
Important: Consulte los procedimientos adicionales de mantenimiento del manual del propietario del motor.
Las tareas de mantenimiento, reparaciones, ajustes o inspecciones del fumigador solo deben ser realizados por personal debidamente cualificado y autorizado.
Evite riesgos de incendio y tenga equipos de prevención de incendios a mano en la zona de trabajo. No utilice una llama desnuda para comprobar niveles de fluidos o para buscar fugas de combustible, electrolito de la batería o refrigerante.
No utilice recipientes abiertos de combustible o de líquidos de limpieza inflamables para limpiar piezas.
Si no se mantiene la máquina correctamente, podrían producirse fallos prematuros en los sistemas de la máquina, causando posibles lesiones a usted o a otras personas.
Mantenga la máquina correctamente y en buenas condiciones de funcionamiento, según lo indicado en estas instrucciones.
Si deja la llave en el interruptor de encendido, alguien podría arrancar el motor accidentalmente y causar lesiones graves a usted o a otras personas.
Apague el motor y retire la llave del interruptor antes de realizar cualquier tarea de mantenimiento.
Important: Si la máquina está sujeta a alguna de las condiciones relacionadas a continuación, el intervalo de mantenimiento debe ser la mitad de lo indicado:
Operación en el desierto
Operación en climas fríos (por debajo de 10 °C)
Uso de remolques
Operación frecuente en condiciones de mucho polvo
Trabajos de construcción
Después de usar el vehículo de forma prolongada en barro, arena, agua o en condiciones similares de suciedad, realice lo siguiente:
Haga inspeccionar y limpiar los frenos lo antes posible. Esto evita que el material abrasivo cause un desgaste excesivo.
Lave la máquina solo con agua o con un detergente suave.
Important: No utilice agua reciclada o salada para limpiar la máquina.
Muchos de los procedimientos cubiertos en esta sección de mantenimiento requieren que se eleve y se baje la plataforma. Para evitar lesiones graves o incluso la muerte, tenga en cuenta las siguientes precauciones.
Aparque la máquina en una superficie nivelada.
Accione el freno de estacionamiento.
Vacíe y eleve la plataforma de carga; consulte Elevación de la plataforma de carga
Apague el motor y retire la llave.
Deje que se enfríe la máquina antes de realizar cualquier tarea de mantenimiento.
Important: Siempre instale o retire el soporte de la plataforma desde fuera de la plataforma.
Levante la plataforma hasta que los cilindros estén completamente extendidos.
Retire el soporte de la plataforma de los soportes de almacenamiento situados en la parte trasera del panel del ROPS (Figura 21).

Empuje el soporte de la plataforma sobre la varilla del cilindro y asegúrese de que los extremos del soporte descansan sobre el extremo del cuerpo del cilindro y el extremo de la varilla del cilindro (Figura 22).

Retire el soporte de la plataforma del cilindro e insértelo en los soportes situados en la parte trasera del panel del ROPS.
Important: No intente bajar la plataforma con el soporte de seguridad de la plataforma colocado sobre el cilindro.
Arranque el motor, engrane la palanca de elevación hidráulica y baje la plataforma hasta que los cilindros queden sueltos en las ranuras.
Suelte la palanca de elevación y pare el motor.
Retire las chavetas de los extremos exteriores de los pasadores de horquilla de las varillas de los cilindros (Figura 23).

Retire los pasadores que fijan las rótulas de las varillas de los cilindros a las chapas de montaje de la plataforma empujando los pasadores hacia dentro (Figura 23).
Retire los pasadores de seguridad y los pasadores que fijan las placas de giro al bastidor (Figura 23).
Levante la plataforma de la máquina.
La plataforma completa pesa aproximadamente 148 kg, así que no intente instalarla o retirarla usted solo.
Utilice una grúa u obtenga la ayuda de dos o tres personas más.
Guarde los cilindros en los clips de almacenamiento.
Engrane la palanca de bloqueo de elevación hidráulica de la máquina para evitar que se extiendan accidentalmente los cilindros de elevación.
Note: Si va a instalar los laterales en la plataforma plana, es más sencillo instalarlos antes de instalar la plataforma en la máquina.
Asegúrese de que las placas de giro traseras están atornilladas al perfil del bastidor de la plataforma con el extremo inferior inclinado hacia atrás (Figura 24).

La plataforma completa pesa aproximadamente 148 kg, así que no intente instalarla o retirarla usted solo.
Utilice una grúa u obtenga la ayuda de dos o tres personas más.
Asegúrese de instalar los espaciadores y las pletinas de desgaste (Figura 25) con las cabezas de los pernos de cuello cuadrado dentro de la máquina.

Asegúrese de que los cilindros de elevación están totalmente retraídos.
Coloque la plataforma con cuidado sobre el bastidor de la máquina, alineando los taladros de las placas de giro traseras con los taladros del perfil trasero del bastidor, e instale 2 pasadores con chavetas (Figura 25).
Con la plataforma bajada, fije la rótula de cada varilla de cilindro a la ranura correspondiente de las chapas de montaje de la plataforma con un pasador y una chaveta.
Inserte el pasador desde la parte exterior de la plataforma, con la chaveta orientada hacia fuera (Figura 25).
Note: Las ranuras traseras son para la instalación de la plataforma completa y las delanteras son para la instalación de la plataforma completa de 2/3.
Note: Puede ser necesario arrancar el motor para extender o retraer los cilindros y alinearlos con los taladros.
Note: Puede tapar una ranura no utilizada con un perno y una tuerca para evitar errores durante el montaje.
Arranque el motor y engrane la palanca de elevación hidráulica para elevar la plataforma.
Suelte la palanca de elevación y pare el motor.
Instale el soporte de seguridad de la plataforma para evitar que la plataforma baje accidentalmente; consulte Uso del soporte de la plataforma.
Instale las chavetas en los extremos interiores de los pasadores.
Note: Si el sistema de apertura automática del portón trasero está instalado en la plataforma, asegúrese de que la varilla de acoplamiento de volcado delantero está colocada en el pasador izquierdo antes de instalar la chaveta.
Una máquina sobre un gato puede ser inestable y resbalarse del mismo, con lo que puede producir lesiones a cualquier persona que se encuentre debajo de la máquina.
No arranque la máquina si está sobre un gato, porque la vibración del motor o cualquier movimiento de las ruedas podría hacer que la máquina se cayera del gato.
Retire siempre la llave del interruptor de encendido antes de bajarse de la máquina.
Bloquee las ruedas mientras la máquina esté sobre un gato.
Al elevar la parte delantera de la máquina con un gato, coloque siempre un bloque de madera (u otro material similar) entre el gato y el bastidor de la máquina.
El punto de apoyo del gato en la parte delantera de la máquina se encuentra debajo del travesaño central delantero del bastidor (Figura 26).

El punto de elevación de la parte trasera de la máquina está debajo del eje (Figura 27).

Sujete el capó por los orificios de los faros y levántelo para poder liberar las pestañas de montaje inferiores de las ranuras del bastidor (Figura 28).

Gire hacia arriba la parte inferior del capó hasta que pueda retirar las pestañas de montaje superiores de las ranuras del chasis(Figura 28).
Gire hacia adelante la parte superior del capó y desenchufe los conectores de cables de los faros (Figura 28).
Retire el capó.
| Intervalo de mantenimiento y servicio | Procedimiento de mantenimiento |
|---|---|
| Cada 100 horas |
|
Tipo de grasa: Grasa de litio N.º 2
Limpie el engrasador con un trapo para evitar que penetre materia extraña en el cojinete o el casquillo.
Usando una pistola de engrasar, aplique grasa en los engrasadores de la máquina.
Limpie el exceso de grasa de la máquina.
Important: Al engrasar las crucetas del cojinete del eje universal del eje de transmisión, bombee grasa hasta que rezume de las cuatro copas de cada cruceta.
La ubicación de los puntos de engrase y las cantidades requeridas son:
Articulaciones esféricas (4); consulte la Figura 29
Tirantes (2); consulte la Figura 29
Soportes de giro (2); consulte la Figura 29
Cilindro de dirección (2); consulte la Figura 29

Armazón de muelle (2); consulte la Figura 30

Embrague (1); consulte la Figura 31
Acelerador (1); consulte la Figura 31
Freno (1); consulte la Figura 31

Articulación en U (18); consulte la Figura 32
Eje de la tracción a 4 ruedas (3); consulte la Figura 32

Apague el motor, retire la llave y espere a que se detengan todas las piezas en movimiento antes de comprobar el aceite o añadir aceite al cárter.
Mantenga las manos, los pies, la cara, la ropa y otras partes del cuerpo alejados del silenciador y de otras superficies calientes.
| Intervalo de mantenimiento y servicio | Procedimiento de mantenimiento |
|---|---|
| Cada 25 horas |
|
| Cada 100 horas |
|
Inspeccione el limpiador de aire y las mangueras periódicamente para mantener una protección máxima del motor y asegurar una vida máxima. Inspeccione la carcasa del limpiador de aire en busca de daños que pudieran causar una fuga de aire. Cambie la carcasa del limpiador de aire si está dañada.
Abra los cierres del limpiador de aire y tire de la tapa de la entrada de aire para separarla del cuerpo del limpiador de aire (Figura 33).

Apriete los lados del tapón antipolvo para abrirlo, y golpéelo para vaciarlo de polvo.
Extraiga con cuidado el filtro del cuerpo del limpiador de aire (Figura 33).
Note: Evite golpear el filtro contra el lado de la carcasa.
Note: No intente limpiar el filtro.
Inspeccione los filtros nuevos mirando dentro de los mismos mientras dirige una luz potente al exterior del filtro.
Note: Cualquier agujero del filtro se verá como un punto luminoso. Inspeccione el filtro por si estuviera roto, tuviera una película aceitosa o la junta de goma estuviera dañada. Si el filtro está dañado, no lo use.
Note: Para evitar dañar el motor, no haga funcionar nunca el motor sin que estén instalados el filtro de aire y la tapa.
Introduzca el filtro con cuidado sobre el tubo de la carcasa (Figura 33).
Note: Asegúrese de que está bien asentado empujando sobre el borde exterior del filtro mientras lo instala.
Instale la tapa del limpiador de aire con el lado hacia arriba, y fije los cierres (Figura 33).
Note: Cambie el aceite con más frecuencia en condiciones de trabajo de mucho polvo o arena.
Note: Elimine el aceite de motor y los filtros usados en un centro de reciclaje homologado.
Tipo de aceite: Aceite de motor detergente (API SJ o superior)
Capacidad del cárter: 3,2 litros si se cambia el filtro
Viscosidad: Consulte la tabla siguiente.

| Intervalo de mantenimiento y servicio | Procedimiento de mantenimiento |
|---|---|
| Cada vez que se utilice o diariamente |
|
Note: El mejor momento para comprobar el aceite del motor es cuando el motor está frío, antes de arrancarlo al principio de la jornada. Si ya estuvo en funcionamiento, deje fluir el aceite en el cárter durante 10 minutos, como mínimo, antes de realizar la verificación. Si el nivel del aceite está en o por debajo de la marca "añadir" de la varilla, añada aceite hasta que el nivel llegue a la marca "lleno". No llene el motor demasiado de aceite. Si el nivel de aceite está entre las marcas "lleno" y "añadir", no es necesario añadir aceite.
Aparque la máquina en una superficie nivelada.
Accione el freno de estacionamiento.
Apague el motor y retire la llave.
Retire la varilla y límpiela con un paño limpio (Figura 35).

Inserte la varilla en el tubo y asegúrese de que entre a fondo (Figura 35).
Retire la varilla y compruebe el nivel de aceite (Figura 35).
Si el nivel de aceite es bajo, retire el tapón de llenado (Figura 35) y añada suficiente aceite para elevar el nivel a la marca Lleno de la varilla.
Note: Al añadir aceite, retire la varilla para permitir una ventilación correcta. Vierta el aceite lentamente y compruebe el nivel a menudo durante este proceso. No llene el motor demasiado de aceite.
Important: Al añadir aceite de motor, debe haber holgura entre el dispositivo de llenado de aceite y el orificio de llenado (en la tapa de las válvulas) como se muestra en la Figura 36. Esta holgura es necesaria para permitir la ventilación durante el llenado, lo cual evita que el aceite se derrame sobre el respiradero.

Coloque la varilla firmemente (Figura 35).
| Intervalo de mantenimiento y servicio | Procedimiento de mantenimiento |
|---|---|
| Después de las primeras 50 horas |
|
| Cada 200 horas |
|
Levante la plataforma y coloque el soporte de seguridad sobre el cilindro de elevación extendido para sujetar la plataforma en posición elevada.
Retire el tapón de vaciado y deje fluir el aceite a un recipiente apropiado (Figura 37).

Cuando el aceite deje de fluir, coloque el tapón de vaciado.
Retire el filtro de aceite (Figura 37).
Aplique una capa ligera de aceite limpio al filtro nuevo antes de enroscarlo.
Enrosque el filtro hasta que la junta toque la placa de montaje, luego apriete el filtro de 1/2 a 2/3 de vuelta más.
Note: No apriete demasiado.
Añada el aceite del tipo especificado al cárter.
Note: Solo el personal técnico de Productos Comerciales Toro tiene acceso a la información sobre los códigos de error del motor.
Aparque la máquina en una superficie nivelada.
Accione el freno de estacionamiento.
Apague el motor y retire la llave.
Póngase en contacto con su Servicio Técnico Autorizado.
| Intervalo de mantenimiento y servicio | Procedimiento de mantenimiento |
|---|---|
| Cada vez que se utilice o diariamente |
|
Coloque un recipiente limpio debajo del filtro de combustible (Figura 38).
Afloje el tapón de vaciado en la parte inferior del cartucho del filtro.

Apriete el tapón de vaciado en la parte inferior del cartucho del filtro.
| Intervalo de mantenimiento y servicio | Procedimiento de mantenimiento |
|---|---|
| Cada 400 horas |
|
Drene el agua del separador de agua; consulte Drenaje del filtro de combustible/separador de agua.
Limpie la zona de montaje del filtro (Figura 38).
Retire el filtro y limpie la superficie de montaje.
Lubrique la junta del filtro con aceite limpio.
Instale el filtro a mano hasta que la junta entre en contacto con la superficie de montaje y luego gírelo media vuelta más.
Apriete el tapón de vaciado en la parte inferior del cartucho del filtro.
| Intervalo de mantenimiento y servicio | Procedimiento de mantenimiento |
|---|---|
| Cada 400 horas |
|
Inspeccione los tubos de combustible, las fijaciones y las abrazaderas en busca de señales de fugas o deterioro, daño y conexiones mal apretadas.
Note: Repare cualquier componente del sistema de combustible que esté dañado o que tenga fugas antes de usar la máquina.
Desconecte la batería antes de realizar reparaciones en la máquina. Desconecte primero el terminal negativo y luego el positivo. Conecte primero el terminal positivo y luego el negativo.
Cargue la batería en una zona abierta y bien ventilada, lejos de chispas y llamas. Desenchufe el cargador antes de conectar o desconectar la batería. Lleve ropa protectora y utilice herramientas aisladas.
Puede ser peligroso arrancar el vehículo desde una batería externa. Para evitar daños personales o daños a los componentes eléctricos de la máquina, observe las siguientes precauciones:
No arranque nunca desde una fuente de alimentación de más de 15 VCC, ya que se dañaría el sistema eléctrico.
No intente nunca arrancar desde una fuente de alimentación si la batería está congelada. Podría romperse o explotar durante el arranque.
Observe todas las advertencias respecto a baterías al arrancar su máquina con una batería externa.
Asegúrese de que su máquina no toca la otra máquina.
La conexión de los cables a los bornes equivocados puede causar lesiones personales y/o daños al sistema eléctrico.
Apriete la tapa de la batería para liberar las pestañas de la base de la batería y retire la tapa de la base de la batería (Figura 41).

Conecte un cable de batería entre los bornes positivos de las dos baterías (Figura 42).
Note: El borne positivo está identificado con un signo + en la tapa de la batería.
Conecte un extremo del otro cable al borne negativo de la batería de la otra máquina.
Note: El borne negativo está marcado con la palabra “NEG” en la tapa de la batería.
Note: No conecte el otro extremo del cable al borne negativo de la batería descargada. Conecte el cable puente al motor o al bastidor. No conecte el cable al sistema de combustible.

Arranque el motor de la máquina que tenga la batería cargada.
Note: Déjelo funcionar durante unos minutos, luego arranque su motor.
Desconecte el cable en primer lugar del borne negativo de su motor, luego de la batería de la otra máquina.
Coloque la tapa de la batería en la base de la batería.
| Intervalo de mantenimiento y servicio | Procedimiento de mantenimiento |
|---|---|
| Cada 50 horas |
|
El electrolito de la batería contiene ácido sulfúrico, que es un veneno mortal si se ingiere y causa quemaduras graves.
No beba electrolito y evite el contacto con la piel, los ojos y la ropa. Lleve gafas de seguridad para proteger sus ojos, y guantes de goma para proteger sus manos.
Llene la batería en un lugar que tenga disponible agua limpia para enjuagar la piel.
Mantenga siempre la batería limpia y completamente cargada.
Si los bornes de la batería están corroídos, límpielos con una disolución de 4 partes de agua y 1 parte de bicarbonato sódico.
Aplique una ligera capa de grasa en los terminales de la batería para evitar la corrosión.
Mantenga el nivel de electrolito de la batería.
Mantenga limpia la superficie superior de la batería lavándola periódicamente con una brocha mojada en una solución de amoniaco o bicarbonato. Enjuague la superficie con agua después de limpiarla. No retire el tapón durante la limpieza.
Asegúrese de que los cables de la batería están bien apretados en los bornes para que hagan un buen contacto eléctrico.
Mantenga el nivel de electrolito en las celdas con agua destilada o desmineralizada. No llene las celdas por encima de la anilla que hay dentro de cada celda.
Si la máquina se guarda en un sitio con temperaturas extremadamente altas, la batería se descarga más rápidamente que si se guarda en un sitio con temperaturas más bajas.
| Intervalo de mantenimiento y servicio | Procedimiento de mantenimiento |
|---|---|
| Cada 100 horas |
|
Aparque la máquina en una superficie nivelada.
Accione el freno de estacionamiento.
Apague el motor y retire la llave.
Limpie la zona alrededor del tapón de llenado/verificación en el lado del diferencial (Figura 43).

Retire el tapón de verificación/llenado y compruebe el nivel del aceite.
Note: El aceite debe llegar al orificio.
Si el nivel de aceite es bajo, añada el aceite especificado.
Instale el tapón de llenado/verificación.
| Intervalo de mantenimiento y servicio | Procedimiento de mantenimiento |
|---|---|
| Cada 800 horas |
|
Especificación del aceite del diferencial: Fluido hidráulico Mobil 424
Aparque la máquina en una superficie nivelada.
Accione el freno de estacionamiento.
Apague el motor y retire la llave.
Limpie la zona alrededor del tapón de vaciado en el lateral del diferencial (Figura 43).
Coloque un recipiente debajo del tapón de vaciado.
Retire el tapón de vaciado y deje fluir el aceite a un recipiente apropiado.
Coloque y apriete el tapón cuando el aceite se haya drenado.
Limpie la zona alrededor del tapón de llenado/verificación en la parte inferior del diferencial.
Retire el tapón de verificación/llenado y añada aceite del tipo especificado hasta que el nivel de aceite llegue al orificio.
Instale el tapón de llenado/verificación.
| Intervalo de mantenimiento y servicio | Procedimiento de mantenimiento |
|---|---|
| Cada 200 horas |
|
Inspeccione la junta homocinética para asegurarse de que no tiene grietas o agujeros y que la abrazadera no está suelta. Si encuentra daños, póngase en contacto con su Servicio Técnico Autorizado para que haga las reparaciones pertinentes.
| Intervalo de mantenimiento y servicio | Procedimiento de mantenimiento |
|---|---|
| Después de las primeras 10 horas |
|
| Cada 200 horas |
|
Mueva la palanca de cambios a la posición de PUNTO MUERTO.
Retire los pasadores de horquilla que fijan los cables del cambio de marchas a los brazos de cambio del transeje (Figura 44).

Afloje las contratuercas de las horquillas y ajuste cada horquilla de modo que la holgura sea igual en ambos sentidos relativo al taladro del brazo de cambio del transeje (anulando la holgura del brazo del transeje siempre en el mismo sentido).
Instale los pasadores de horquilla y apriete las contratuercas cuando termine.
| Intervalo de mantenimiento y servicio | Procedimiento de mantenimiento |
|---|---|
| Cada 200 horas |
|
Retire el pasador de horquilla que sujeta el cable de alto-bajo al transeje (Figura 44).
Afloje la contratuerca de la horquilla y ajuste la horquilla de modo que el taladro de la horquilla se alinee con el taladro del brazo del transeje.
Instale el pasador y apriete la contratuerca cuando termine.
| Intervalo de mantenimiento y servicio | Procedimiento de mantenimiento |
|---|---|
| Cada 200 horas |
|
Mueva la palanca de bloqueo del diferencial a la posición de DESCONECTADO.
Afloje las contratuercas que sujetan el cable de bloqueo del diferencial al soporte del transeje (Figura 45).

Ajuste las contratuercas para obtener una distancia de 0,25 a 1,5 mm entre el gancho del muelle y el diámetro exterior del taladro de la palanca del transeje.
Apriete las contratuercas cuando termine.
| Intervalo de mantenimiento y servicio | Procedimiento de mantenimiento |
|---|---|
| Cada 100 horas |
|
Especificación de presión de aire de los neumáticos delanteros: 2,20 bar.
Especificación de presión de aire de los neumáticos traseros: 1,24 bar.
Los incidentes producidos durante el uso, tales como un choque contra un bordillo, pueden dañar un neumático o una llanta y afectar a la alineación de las ruedas, así que después de un incidente usted debe inspeccionar los neumáticos.
Important: Compruebe la presión de los neumáticos frecuentemente para asegurar un inflado correcto. Si no están inflados a la presión correcta, los neumáticos se desgastarán de manera prematura y pueden hacer que se agarrote la tracción a 4 ruedas.
La Figura 46 es un ejemplo del desgaste de un neumático debido a la falta de presión.

La Figura 47 es un ejemplo del desgaste de un neumático debido al exceso de presión.

| Intervalo de mantenimiento y servicio | Procedimiento de mantenimiento |
|---|---|
| Cada 400 horas |
|
Asegúrese de que la presión de los neumáticos es correcta antes de comprobar la alineación de las ruedas delanteras; consulte Comprobación de la presión de los neumáticos.
Haga que un operador se siente en el asiento del operador, o agregue peso en el asiento del conductor equivalente al peso medio de los operadores del vehículo.
El operador o el peso deben permanecer en el asiento durante todo el procedimiento de alineación de las ruedas delanteras.
En una superficie nivelada, haga rodar la máquina hacia atrás unos 2–3 m, y luego hacia adelante en línea recta a la posición de arranque original.
Este permite que la suspensión se asiente en su posición de funcionamiento normal.
Asegúrese de que los neumáticos están orientados hacia adelante en línea recta.
Mida la distancia entre los neumáticos delanteros a la altura del eje, en la parte delantera y trasera de los neumáticos (Figura 48).
La convergencia debe ser de 0 ± 6 mm.
Important: Compruebe las mediciones en el mismo lugar de cada neumático. La máquina debe estar en una superficie llana con los neumáticos orientados hacia adelante en línea recta.

Si la convergencia de las ruedas delanteras no es correcta, ajústela de la siguiente manera:
Afloje la contratuerca del centro del tirante (Figura 49).

Gire ambas bielas uniformemente para mover la parte delantera de los neumáticos hacia dentro o hacia fuera.
Apriete las contratuercas de las bielas cuando la convergencia sea correcta.
Apriete las contratuercas de las bielas a 62-74 N·m.
Después de completar el ajuste de convergencia, compruebe que el volante hace su recorrido completo en ambas direcciones.
No debe haber contacto alguno entre los componentes de la máquina al mover el volante en todo su recorrido. Haga los ajustes necesarios.
| Intervalo de mantenimiento y servicio | Procedimiento de mantenimiento |
|---|---|
| Después de las primeras 2 horas |
|
| Después de las primeras 10 horas |
|
| Cada 200 horas |
|
Especificación del torque de las tuercas de orejeta de las ruedas:de 109 a 122 N·m.
Apriete las tuercas de orejeta de las ruedas delanteras y traseras siguiendo un patrón cruzado, tal y como se muestra en la Figura 50 con el torque especificado.

La ingestión del refrigerante del motor puede causar envenenamiento; manténgalo fuera del alcance de niños y animales domésticos.
Una descarga de refrigerante caliente bajo presión, o cualquier contacto con el radiador caliente y los componentes que lo rodean, puede causar quemaduras graves.
Siempre deje que el motor se enfríe durante al menos 15 minutos antes de retirar el tapón del radiador.
Utilice un trapo al abrir el tapón del radiador, y ábralo lentamente para permitir la salida del vapor.
No haga funcionar la máquina sin que las cubiertas estén colocadas.
Mantenga los dedos, las manos y la ropa alejados del ventilador y de la correa de transmisión en movimiento.
Apague el motor y retire la llave antes de realizar cualquier tarea de mantenimiento.
| Intervalo de mantenimiento y servicio | Procedimiento de mantenimiento |
|---|---|
| Cada vez que se utilice o diariamente |
|
Capacidad del sistema de refrigeración: 3,7 litros
Tipo de refrigerante: una solución al 50% de agua y anticongelante permanente de etilenglicol
Si el motor ha estado en marcha, pueden producirse fugas de refrigerante presurizado y caliente, que puede causar quemaduras.
No abra ni añada refrigerante al radiador; esto introduce aire en el sistema y causa daños en el motor. Añada refrigerante del motor únicamente en el depósito.
No retire el tapón del radiador cuando el motor está en marcha.
Utilice un trapo al abrir el tapón del radiador, y ábralo lentamente para permitir la salida del vapor.
Aparque la máquina en una superficie nivelada.
Cambie la palanca de la transmisión a la posición P (APARCAR).
Apague el motor y retire la llave.
Compruebe el nivel de refrigerante del depósito auxiliar.

Note: El refrigerante debe llegar a la parte inferior del cuello de llenado con el motor frío.
Si el nivel de refrigerante es bajo, retire el tapón del depósito de refrigerante y añada anticongelante con una composición de 50 % etilenglicol con tecnología de aditivo orgánico (OAT) y 50 % agua destilada.
No llene demasiado.
Apriete a mano el tapón del depósito auxiliar.
| Intervalo de mantenimiento y servicio | Procedimiento de mantenimiento |
|---|---|
| Cada vez que se utilice o diariamente |
|
Aparque la máquina en una superficie nivelada.
Accione el freno de estacionamiento.
Apague el motor y retire la llave.
Limpie a fondo la zona del motor, retirando todos los residuos.
Abra los enganches y retire la rejilla del radiador de la parte delantera del radiador (Figura 52).

Si está instalado, abra los cierres y gire el enfriador de aceite, separándolo del radiador (Figura 53).

Limpie el radiador, el enfriador de aceite y la rejilla con aire comprimido.
Note: Dirija los residuos lejos del radiador.
Instale el enfriador y la rejilla en el radiador.
| Intervalo de mantenimiento y servicio | Procedimiento de mantenimiento |
|---|---|
| Cada 1000 horas |
|
Capacidad del sistema de refrigeración: 3,7 litros
Tipo de refrigerante: una solución al 50% de agua y anticongelante permanente de etilenglicol
Póngase en contacto con su distribuidor Toro autorizado.
| Intervalo de mantenimiento y servicio | Procedimiento de mantenimiento |
|---|---|
| Cada vez que se utilice o diariamente |
|
| Cada 1000 horas |
|
Tipo de líquido de frenos: DOT 3
Aparque la máquina en una superficie nivelada.
Accione el freno de estacionamiento.
Apague el motor y retire la llave.
Eleve el capó para acceder al cilindro del freno principal y al depósito (Figura 54).

Asegúrese de que el nivel de fluido llegue a la línea Lleno del depósito (Figura 55).

Si el nivel de líquido es bajo, limpie la zona alrededor del tapón, retire el tapón y llene el depósito hasta el nivel correcto con el líquido de frenos especificado (Figura 55).
Note: No llene demasiado el depósito del líquido de frenos.
| Intervalo de mantenimiento y servicio | Procedimiento de mantenimiento |
|---|---|
| Después de las primeras 10 horas |
|
| Cada 200 horas |
|
Retire la empuñadura de goma de la palanca del freno de estacionamiento (Figura 56).

Afloje el tornillo de fijación que sujeta el pomo a la palanca del freno de estacionamiento (Figura 57).

Gire el pomo (Figura 57) hasta que se requiera una fuerza de 20–22 kg para accionar la palanca.
Apriete el tornillo de fijación cuando termine (Figura 57).
Note: Si no es posible ajustar más el freno de estacionamiento ajustando la palanca del freno, afloje la palanca hasta el punto intermedio de su recorrido y ajuste el cable en la parte trasera; luego repita el paso 3.
Instale la empuñadura de goma en la palanca del freno de estacionamiento (Figura 56).
| Intervalo de mantenimiento y servicio | Procedimiento de mantenimiento |
|---|---|
| Cada 200 horas |
|
Note: Retire el capó delantero para facilitar el procedimiento de ajuste.
Retire el pasador de horquilla y la chaveta que fijan la horquilla del cilindro maestro al pivote del pedal de freno (Figura 58).

Tire hacia arriba del pedal de freno (Figura 59) hasta que entre en contacto con el bastidor.
Afloje las contratuercas que fijan la horquilla al eje del cilindro maestro (Figura 59).
Ajuste la horquilla hasta que sus taladros estén alineados con el taladro del pivote del pedal de freno.
Fije la horquilla al pivote del pedal con el pasador y la chaveta.
Apriete las contratuercas que fijan la horquilla al eje del cilindro maestro.
Note: Cuando está correctamente ajustado, el cilindro maestro del freno debe aliviar la presión.

| Intervalo de mantenimiento y servicio | Procedimiento de mantenimiento |
|---|---|
| Después de las primeras 10 horas |
|
| Cada 200 horas |
|
Levante la plataforma e instale el soporte de seguridad sobre el cilindro de elevación extendido para sujetar la plataforma.
Compruebe la tensión presionando la correa en el punto intermedio entre las poleas del cigüeñal y del alternador con una fuerza de 10 kg (Figura 60).
Note: Una correa nueva debe desviarse de 8 a 12 mm.
Note: Una correa usada debe desviarse de 10 a 14 mm. Si la desviación no es la correcta, continúe con el paso siguiente. Si es correcta, siga con la operación.
Para ajustar la tensión de la correa, realice lo siguiente:
| Intervalo de mantenimiento y servicio | Procedimiento de mantenimiento |
|---|---|
| Cada 200 horas |
|
Note: El pedal del embrague puede ser ajustado en la carcasa del embrague o en el pivote del pedal del embrague. Puede retirar el capó delantero para acceder fácilmente al pivote del pedal.
Afloje las contratuercas que fijan el cable del embrague al soporte de la carcasa (Figura 61).
Note: La articulación esférica puede ser retirada y girada si se requiere un ajuste mayor.

Desconecte el muelle de retorno de la palanca del embrague.
Ajuste las contratuercas o la articulación esférica hasta que el borde trasero del pedal del embrague esté a 9,2–9,8 cm del borde superior del dibujo a rombos de la chapa de suelo al aplicar una fuerza de 1,8 kg al pedal (Figura 62).

Note: Se aplica la fuerza suficiente para que el cojinete de desembrague entre en contacto ligeramente con los dedos del plato de presión.
Apriete las contratuercas después de obtener el ajuste adecuado.
Compruebe la dimensión de 9,2–9,8 cm después de ajustar las contratuercas para asegurar un ajuste correcto.
Note: Vuelva a ajustar si es necesario.
Vuelva a conectar el muelle de retorno a la palanca del embrague.
Important: Asegúrese de que la rótula de la varilla está situada correctamente en la bola, sin estar torcida, y que permanece paralela al pedal del embrague después de apretar la contratuerca (Figura 63).
Note: La holgura del embrague nunca debe ser inferior a 19 mm.

Aparque la máquina en una superficie nivelada, accione el freno de estacionamiento, apague el motor y retire la llave.
Ajuste la articulación esférica del cable del acelerador (Figura 64) hasta que haya de 2,54 a 6,35 mm de holgura entre el brazo del pedal del acelerador y el borde superior del dibujo a rombos de la chapa de suelo (Figura 65) al aplicar una fuerza de 11,3 kg al centro del pedal.
Note: El motor no debe estar en marcha y el muelle de retorno debe estar conectado.
Apriete la contratuerca (Figura 64).


Important: La velocidad máxima de ralentí alto es de 3.650 rpm. No ajuste el tope del ralentí alto.
Busque atención médica inmediatamente si el fluido penetra en la piel. Un médico deberá eliminar quirúrgicamente el fluido inyectado en pocas horas.
Antes de desconectar el sistema hidráulico o de realizar cualquier trabajo en el mismo, alivie toda la presión del sistema parando el motor, cambiando la válvula de volcado de elevar a bajar y/o bajando la plataforma de carga y los accesorios. Coloque la palanca de control remoto del sistema hidráulico en posición Flotación. Nunca trabaje bajo una plataforma elevada sin tener colocado el soporte de seguridad correcto de la plataforma.
Asegúrese de que todas las mangueras y líneas de fluido hidráulico están en buenas condiciones de uso y de que todos los acoplamientos y conexiones hidráulicos están apretados, antes de aplicar presión al sistema hidráulico.
Mantenga el cuerpo y las manos alejados de fugas pequeñas o de boquillas que liberan fluido hidráulico a alta presión.
Utilice un cartón o un papel para buscar fugas hidráulicas.
Tipo de aceite del transeje: Dexron III ATF
| Intervalo de mantenimiento y servicio | Procedimiento de mantenimiento |
|---|---|
| Cada vez que se utilice o diariamente |
|
Aparque la máquina en una superficie nivelada.
Accione el freno de estacionamiento.
Apague el motor y retire la llave.
Limpie la zona alrededor de la varilla (Figura 66).

Desenrosque la varilla de la parte superior del transeje y límpiela con un paño limpio.
Enrosque la varilla en el transeje asegurándose de que quede correctamente asentada.
Desenrosque la varilla y compruebe el nivel de aceite.
Note: El aceite debe llegar a la parte superior de la sección plana de la varilla.
Si el nivel es bajo, añada suficiente fluido del tipo especificado hasta que llegue al nivel correcto; consulte Especificaciones de transeje/fluido hidráulico.
| Intervalo de mantenimiento y servicio | Procedimiento de mantenimiento |
|---|---|
| Cada 800 horas |
|
Capacidad de fluido hidráulico: 7 litros aproximadamente
Aparque la máquina en una superficie nivelada.
Accione el freno de estacionamiento.
Apague el motor y retire la llave.
Retire el tapón de vaciado del lado del depósito y deje que se drene el fluido hidráulico en el recipiente (Figura 67).

Observe la orientación del tubo hidráulico y del codo de 90° conectado al filtro en el lateral del depósito (Figura 68).
Retire el tubo hidráulico y el codo de 90º.
Retire el filtro de malla y límpielo con un desengrasador limpio.
Note: Deje que se seque al aire antes de instalarlo.

Instale el filtro de malla.
Instale el tubo hidráulico y el codo de 90° en el filtro de malla, manteniendo la misma orientación.
Instale el tapón de vaciado y apriételo.
Llene el depósito con aproximadamente 7 l del fluido hidráulico especificado; consulte Comprobación del nivel de fluido hidráulico/del transeje.
Arranque el motor y conduzca la máquina para llenar el sistema hidráulico.
Compruebe el nivel de fluido hidráulico y rellene si es necesario.
Important: Utilice solamente el fluido hidráulico especificado. Otros aceites podrían causar daños en el sistema.
| Intervalo de mantenimiento y servicio | Procedimiento de mantenimiento |
|---|---|
| Después de las primeras 10 horas |
|
| Cada 800 horas |
|
Important: El uso de cualquier otro filtro puede anular la garantía de algunos componentes.
Aparque la máquina en una superficie nivelada.
Accione el freno de estacionamiento.
Apague el motor y retire la llave.
Limpie la zona de montaje del filtro.
Coloque un recipiente debajo del filtro y retire el filtro (Figura 69).

Lubrique la junta del filtro nuevo.
Asegúrese de que la zona de montaje del filtro está limpia.
Enrosque el filtro nuevo hasta que la junta toque la placa de montaje, luego apriete el filtro ½ vuelta más.
Arranque el motor y déjelo funcionar durante unos dos minutos para purgar el aire del sistema.
Pare el motor, compruebe el nivel de fluido hidráulico y compruebe que no hay fugas.
El depósito se llena en la fábrica con fluido hidráulico de alta calidad. Compruebe el nivel del fluido hidráulico antes de arrancar el motor por primera vez y luego a diario; consulte Comprobación del nivel de fluido hidráulico/del transeje.
Fluido de recambio recomendado: Fluido hidráulico Toro PX Extended Life, disponible en recipientes de 19 litros o en bidones de 208 litros.
Note: Una máquina que utilice el fluido de recambio recomendado necesita menos cambios de filtro y de fluido.
Fluidos alternativos: si no se encuentra disponible el fluido hidráulico Toro PX Extended Life, puede utilizar otro fluido hidráulico convencional basado en petróleo cuyas especificaciones referentes a todas las propiedades materiales estén dentro de los intervalos relacionados a continuación y que cumpla las normas industriales. No utilice fluido sintético. Consulte a su distribuidor de lubricantes para identificar un producto satisfactorio.
Note: Toro no asume responsabilidad alguna por daños causados por sustituciones no adecuadas, por lo que debe utilizar solamente productos de fabricantes reputados que respalden sus recomendaciones.
| Propiedades de materiales: | ||
| Viscosidad, ASTM D445 | cSt a 40 °C 44 a 48 | |
| Índice de viscosidad ASTMD2270 | 140 o más | |
| Punto de descongelación, ASTMD97 | -37 °C a -45 °C | |
| Especificaciones industriales: | Eaton Vickers 694 (I-286-S, M-2950-S/35VQ25 o M-2952-S) | |
Note: Muchos fluidos hidráulicos son casi incoloros, por lo que es difícil detectar fugas. Está disponible un aditivo de tinte rojo para el fluido hidráulico, en botellas de 20 ml. Una botella es suficiente para 15-22 litros de fluido hidráulico. Solicite la Pieza 44-2500 a su Distribuidor Autorizado Toro.
| Intervalo de mantenimiento y servicio | Procedimiento de mantenimiento |
|---|---|
| Cada vez que se utilice o diariamente |
|
Aparque la máquina en una superficie nivelada.
Accione el freno de estacionamiento.
Apague el motor y retire la llave.
Limpie la zona alrededor del cuello de llenado y el tapón del depósito hidráulico (Figura 70).
Retire el tapón del cuello de llenado.

Retire la varilla (Figura 70) del cuello de llenado y límpiela con un paño limpio.
Inserte la varilla en el cuello de llenado; luego retírela y compruebe el nivel de aceite.
Note: El nivel de aceite debe estar entre las 2 marcas de la varilla.
Si el nivel es bajo, añada aceite del tipo correcto hasta que el nivel llegue a la marca superior; consulte Cambio del fluido hidráulico de alto caudal y el filtro.
Coloque la varilla y el tapón en el cuello de llenado.
Arranque el motor y active el accesorio.
Note: Déjelos en marcha durante unos 2 minutos para purgar el aire del sistema.
Important: La máquina debe estar en marcha antes de arrancar la hidráulica de alto caudal.
Apague el motor y el accesorio, y compruebe que no hay fugas.
| Intervalo de mantenimiento y servicio | Procedimiento de mantenimiento |
|---|---|
| Cada 800 horas |
|
| Cada 1000 horas |
|
| Cada 2000 horas |
|
Capacidad de fluido hidráulico: aproximadamente 15 litros
Aparque la máquina en una superficie nivelada.
Accione el freno de estacionamiento.
Apague el motor y retire la llave.
Limpie la zona de montaje del filtro hidráulico de alto caudal (Figura 69).
Coloque un recipiente debajo del filtro y retire el filtro.
Note: Si no se va a drenar el aceite, desconecte y tapone el tubo hidráulico que va al filtro.
Lubrique la junta nueva del filtro y enrosque el filtro a mano en la cabeza del filtro hasta que la junta entre en contacto con la cabeza del filtro. Luego apriételo ¾ de vuelta más. El filtro debe estar sellado ahora.
Llene el depósito hidráulico con aproximadamente 15 litros de fluido hidráulico.
Arranque la máquina y déjela funcionar al ralentí durante unos dos minutos para hacer circular el aceite y eliminar el aire que esté atrapado en el sistema.
Pare la máquina y compruebe el nivel de aceite.
Compruebe el nivel de aceite.
Elimine el aceite correctamente.
La plataforma de carga se puede elevar en una emergencia sin arrancar el motor, usando el motor de arranque o el sistema hidráulico de otro vehículo.
Accione el motor de arranque sujetando la palanca de elevación en la posición de Elevar. Haga funcionar el motor de arranque durante 10 segundos, luego espere 60 segundos antes de volver a accionar el motor de arranque. Si el motor no gira, será necesario retirar la carga y la plataforma (accesorio) para trabajar en el motor o en el transeje.
Una plataforma elevada llena de material sin la varilla de soporte de seguridad adecuada podría bajarse de forma inesperada. Trabajar bajo una plataforma elevada sin soporte podría causarle lesiones a usted o a otras personas.
Antes de realizar cualquier tarea de mantenimiento o ajuste en la máquina, apárquela en una superficie nivelada, accione el freno de estacionamiento, apague el motor y retire la llave.
Retire cualquier material de carga de la plataforma o de cualquier otro accesorio e inserte el soporte de seguridad en la varilla del cilindro totalmente extendida antes de trabajar debajo de la plataforma elevada.
Para realizar este procedimiento necesitará dos mangueras hidráulicas, cada una provista de un acoplamiento rápido macho y uno hembra que encajen en los acoplamientos de las máquinas.
Acerque otra máquina en marcha atrás a la parte trasera de la máquina inmovilizada.
Important: El sistema hidráulico de la máquina utiliza aceite Dexron III ATF. Para evitar la contaminación del sistema, asegúrese de que la máquina de apoyo utiliza un aceite equivalente.
En ambas máquinas, desconecte las dos mangueras de acoplamiento rápido de las mangueras que están conectadas al soporte de acoplamiento (Figura 71).

En la máquina inmovilizada, conecte las dos mangueras de interconexión a las mangueras que fueron desconectadas (Figura 72).
Tapone los acoplamientos no utilizados.

En la otra máquina, conecte las dos mangueras al acoplamiento que permanece todavía en el soporte de acoplamiento (conecte la manguera superior al acoplamiento superior y la manguera inferior al acoplamiento inferior) (Figura 73).
Tapone los acoplamientos no utilizados.

Mantenga a otras personas alejadas de las máquinas.
Arranque la segunda máquina y mueva la palanca de elevación a la posición que eleva la plataforma de carga inmovilizada.
Mueva la palanca de elevación hidráulica a la posición de PUNTO MUERTO y engrane el bloqueo de la palanca de elevación.
Instale el soporte de la plataforma en el cilindro de elevación extendido; consulte Uso del soporte de la plataforma.
Note: Con ambas máquinas apagadas, mueva la palanca de elevación hacia adelante y hacia atrás para eliminar la presión del sistema y facilitar la desconexión de los acoplamientos rápidos.
Al completar la operación, retire las mangueras de interconexión y conecte las mangueras hidráulicas a ambas máquinas.
Important: Compruebe los niveles de fluido hidráulico de ambos vehículos antes de reanudar la operación.
Lave la máquina cuanto sea necesario solo con agua o con un detergente suave. Puede utilizar un trapo para lavar la máquina.
Important: No utilice agua reciclada o salada para limpiar la máquina.
Important: No utilice equipos de lavado a presión para lavar la máquina. Estos equipos pueden dañar el sistema eléctrico, hacer que se desprendan calcomanías importantes, o eliminar grasa necesaria en los puntos de fricción. Evite el uso excesivo de agua cerca del panel de control, el motor y la batería.
Important: No lave la máquina con el motor en marcha. Si se lave la máquina con el motor en marcha, pueden producirse daños internos en el motor.
Apague la máquina, retire la llave y espere a que se detenga todo movimiento antes de dejar el puesto del operador. Deje que se enfríe la máquina antes de hacer trabajos de ajuste, mantenimiento, limpieza o almacenamiento.
No guarde la máquina o un recipiente de combustible en un lugar donde pudiera haber una llama desnuda, chispas o una llama piloto, por ejemplo en un calentador de agua u otro electrodoméstico.
| Intervalo de mantenimiento y servicio | Procedimiento de mantenimiento |
|---|---|
| Después de las primeras 50 horas |
|
| Cada 200 horas |
|
| Cada 400 horas |
|
| Cada 600 horas |
|
Aparque la máquina en una superficie nivelada, accione el freno de estacionamiento, apague el motor y retire la llave.
Limpie la máquina entera, incluyendo el exterior de las aletas de la culata del motor y del alojamiento del soplador.
Inspeccione los frenos; consulte Comprobación del nivel del líquido de frenos.
Revise el limpiador de aire; consulte Mantenimiento del limpiador de aire.
Selle la entrada del limpiador de aire y la salida del tubo de escape con cinta impermeabilizante.
Engrase la máquina; consulte Engrasado de cojinetes y casquillos.
Cambie el aceite del motor y el filtro; consulte Cómo cambiar el aceite de motor y el filtro.
Enjuague el depósito de combustible con combustible diésel limpio y nuevo.
Vuelva a fijar todos los elementos del sistema de combustible.
Compruebe la presión de los neumáticos; consulte Comprobación de la presión de los neumáticos.
Compruebe el anticongelante y añada una solución al 50 % de agua y anticongelante según sea necesario dependiendo de la temperatura mínima prevista para su zona.
Retire la batería del chasis; verifique el nivel de electrolito, y cárguela completamente; consulte Mantenimiento de la batería.
Note: No conecte los cables de la batería a los bornes de la batería durante el almacenamiento.
Important: La batería debe estar completamente cargada para evitar que se congele y sufra daños a temperaturas inferiores a los 0 °C. Una batería completamente cargada mantiene su carga durante aproximadamente 50 días a temperaturas inferiores a los 4 °C. Si la temperatura va a estar por encima de los 4 °C, compruebe el nivel de agua en la batería y cárguela cada 30 días.
Revise y apriete todos los pernos, tuercas y tornillos. Repare o sustituya cualquier pieza dañada.
Pinte las superficies que estén arañadas o donde esté visible el metal.
Puede adquirir la pintura en su Servicio Técnico Autorizado.
Guarde la máquina en un garaje o almacén seco y limpio.
Cubra la máquina para protegerla y para conservarla limpia.
| Problem | Possible Cause | Corrective Action |
|---|---|---|
| Los acoplamientos rápidos son difíciles de conectar o desconectar. |
|
|
| La dirección asistida se mueve con dificultad. |
|
|
| El acoplamiento hidráulico tiene fugas. |
|
|
| Algún accesorio no funciona. |
|
|
| El motor no arranca. |
|
|