| Périodicité d'entretien | Procédure d'entretien |
|---|---|
| À chaque utilisation ou une fois par jour |
|
Ce véhicule utilitaire est destiné principalement à un usage non routier, pour le transport de personnes et de matériel. L'utilisation de ce produit à d'autres fins que celle prévue peut être dangereuse pour vous-même et toute personne à proximité.
Lisez attentivement cette notice pour apprendre comment utiliser et entretenir correctement votre produit, et éviter ainsi de l'endommager ou de vous blesser. Vous êtes responsable de l'utilisation sûre et correcte du produit.
Rendez-vous sur www.Toro.com pour tout document de formation à la sécurité et à l'utilisation des produits, pour tout renseignement concernant un produit ou un outil, pour obtenir l'adresse des concessionnaires ou pour enregistrer votre produit.
Pour obtenir des prestations de service, des pièces d'origine Toro ou des renseignements complémentaires, munissez-vous des numéros de modèle et de série de votre produit et contactez un concessionnaire-réparateur agréé ou le service client Toro. La Figure 1 indique l'emplacement des numéros de modèle et de série sur le produit. Inscrivez les numéros dans l'espace réservé à cet effet.
Important: Avec votre appareil mobile, vous pouvez scanner le QR code sur l'autocollant du numéro de série (le cas échéant) pour accéder aux informations sur la garantie, les pièces détachées et autres renseignements concernant le produit.

Ce manuel utilise deux termes pour faire passer des renseignements essentiels. Important pour attirer l'attention sur des informations d'ordre mécanique spécifiques et Remarque pour souligner des informations d'ordre général méritant une attention particulière.
Le symbole de sécurité (Figure 2) qui figure à la fois dans ce manuel et sur la machine sert à identifier d'importantes consignes de sécurité que vous devez respecter pour éviter les accidents. Ce symbole s'accompagne des mentions Danger, Attention, ou Prudence.
Danger signale un danger immédiat qui, s'il n'est pas évité, entraînera obligatoirement des blessures graves ou mortelles.
Attention signale un danger potentiel qui, s'il n'est pas évité, risque d'entraîner des blessures graves ou mortelles.
Prudence signale un danger potentiel qui, s'il n'est pas évité, peut éventuellement entraîner des blessures légères ou modérées.

Ce produit est conforme à toutes les directives européennes pertinentes. Pour plus de renseignements, reportez-vous à la Déclaration de conformité spécifique du produit fournie séparément.
Vous commettez une infraction à la section 4442 ou 4443 du Code des ressources publiques de Californie si vous utilisez cette machine dans une zone boisée, broussailleuse ou recouverte d'herbe à moins d'équiper le moteur d'un pare-étincelles, tel que défini à la section 4442, maintenu en bon état de marche, ou à moins de construire, équiper et entretenir le moteur de manière à prévenir les incendies.
Le manuel du propriétaire du moteur ci-joint est fourni à titre informatif concernant la réglementation de l'Agence américaine pour la protection de l'environnement (EPA) et la réglementation antipollution de l'état de Californie relative aux systèmes antipollution, à leur entretien et à leur garantie. Vous pouvez vous en procurer un nouvel exemplaire en vous adressant au constructeur du moteur.
Si cette machine est équipée d'un système télématique, demandez conseil à votre distributeur Toro agréé pour savoir comment l'activer.
CALIFORNIE
Proposition 65 - Avertissement
L'état de Californie considère les gaz d'échappement des moteurs diesel et certains de leurs composants comme susceptibles de provoquer des cancers, des malformations congénitales et autres troubles de la reproduction.
Les bornes de la batterie et accessoires connexes contiennent du plomb et des composés de plomb. L'état de Californie considère ces substances chimiques comme susceptibles de provoquer des cancers et des troubles de la reproduction. Lavez-vous les mains après avoir manipulé la batterie.
Ce produit peut causer des blessures. Respectez toujours toutes les consignes de sécurité pour éviter des blessures graves.
Vous devez lire et comprendre le contenu de ce Manuel de l'utilisateur avant de démarrer la machine. Assurez-vous que tous les utilisateurs de ce produit en connaissent parfaitement le fonctionnement et ont bien compris les consignes de sécurité.
Accordez toute votre attention à l'utilisation de la machine. Ne faites rien d'autre qui puisse vous distraire, au risque de causer des dommages corporels ou matériels.
N'approchez pas les mains ou les pieds des composants mobiles de la machine.
N'utilisez pas la machine s'il manque des capots ou d'autres dispositifs de protection, ou s'ils sont endommagés.
N'admettez personne, notamment les enfants, dans le périmètre de travail. N'autorisez jamais les enfants à utiliser la machine.
Arrêtez la machine, coupez le moteur et enlevez la clé avant d’effectuer l’entretien ou de faire le plein de carburant.
L'usage ou l'entretien incorrect de cette machine
peut occasionner des accidents. Pour réduire les risques d'accidents
et de blessures, respectez les consignes de sécurité
qui suivent. Tenez toujours compte des mises en garde signalées
par le symbole de sécurité (
) et la mention Prudence,
Attention ou Danger. Le non respect de ces instructions peut entraîner
des blessures graves ou mortelles.
![]() |
Des autocollants de sécurité et des instructions bien visibles par l'utilisateur sont placés près de tous les endroits potentiellement dangereux. Remplacez tout autocollant endommagé ou manquant. |


























Note: Les côtés gauche et droit de la machine sont déterminés d'après la position d'utilisation normale.
Pièces nécessaires pour cette opération:
| Volant | 1 |
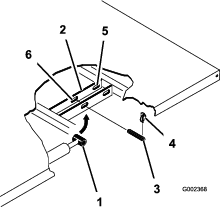
Au dos du volant, débloquez les languettes qui fixent le couvre-moyeu en place, et déposez le couvre-moyeu du moyeu du volant.
Retirez le contre-écrou et la rondelle de l'arbre de direction.
Glissez le volant et la rondelle sur l'arbre.
Note: Orientez le volant sur l'arbre de sorte que la branche transversale soit horizontale lorsque les roues sont en position ligne droite, et que la branche la plus épaisse soit dirigée vers le bas.
Note: Le joint pare-poussière est mis en place sur l'arbre de direction à l'usine.
Fixez le volant sur l'arbre au moyen d'un contre-écrou serré à un couple de 24 à 29 N·m, comme montré à la Figure 3.
Placez les languettes du couvre-moyeu en face des fentes dans le volant et enclenchez le couvre-moyeu sur le moyeu du volant (Figure 3).

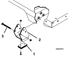
Pièces nécessaires pour cette opération:
| Arceau de sécurité | 1 |
| Boulon à embase (½" x 1¼") | 6 |
Appliquez du frein-filet moyenne résistance (enlevable) sur le filetage des 6 boulons à embase (½" x 1¼").
Placez chaque côté de l'arceau de sécurité en face des trous de montage de chaque côté du cadre de la machine (Figure 4).

Fixez le support de l'arceau de sécurité de chaque côté du cadre de la machine au moyen de 3 boulons à embase (½" x 1¼") (Figure 4).
Serrez les boulons à embase (½" x 1¼") à 115 N·m.
Contrôlez le niveau d'huile moteur avant et après le premier démarrage du moteur ; voir Contrôle du niveau d'huile moteur.
Contrôlez le niveau de liquide hydraulique/de la boîte-pont avant le premier démarrage du moteur ; voir Contrôle du niveau de liquide hydraulique/de la boîte-pont.
Contrôlez le niveau de liquide de frein avant le premier démarrage du moteur ; voir Contrôle du niveau de liquide de frein.
Contrôlez la pression des pneus ; voir Contrôle de la pression des pneus.
Pour assurer l'efficacité optimale du système de freinage, rodez les freins avant d'utiliser la machine.
Amenez la machine à la vitesse maximum, appuyez rapidement sur la pédale de frein sans bloquer les roues.
Répétez 10 fois cette procédure, avec 1 minute d'intervalle entre les arrêts pour ne pas faire surchauffer les freins.
Important: Cette procédure est particulièrement efficace si la machine est chargée avec 454 kg.
Avant de mettre le moteur en marche et d'utiliser la machine, familiarisez-vous avec toutes les commandes.


Utilisez la pédale d'accélérateur (Figure 7) pour varier la vitesse de déplacement de la machine quand un rapport est sélectionné. Appuyez sur la pédale d'accélérateur pour augmenter le régime moteur et la vitesse de déplacement. Relâchez la pédale pour réduire le régime moteur et la vitesse de déplacement.

Vous devez enfoncer complètement la pédale d'embrayage (Figure 7) pour désengager l'embrayage lors du démarrage du moteur ou d'un changement de vitesse. Relâchez la pédale en douceur quand la transmission est en prise pour éviter toute usure inutile de la transmission et des pièces connexes.
Important: Ne laissez pas le pied sur la pédale d'embrayage pendant l'utilisation. La pédale d'embrayage doit être complètement relâchée sinon l'embrayage patine, ce qui l'échauffe et provoque son usure. Ne vous servez jamais de la pédale d'embrayage pour maintenir la machine à l'arrêt sur une pente, au risque d'endommager l'embrayage.
Elle permet d'arrêter la machine ou de réduire la vitesse de déplacement (Figure 7).
Un accident est possible si vous utilisez la machine alors que les freins sont usés ou mal réglés.
Si la pédale en bout de course se trouve à moins de 25 mm du plancher, il faut régler ou réparer les freins.
Enfoncez complètement la pédale d'embrayage et sélectionnez la vitesse voulue au moyen du levier (Figure 8). La grille des vitesses est illustrée ci-dessous.

Important: Ne sélectionnez pas la MARCHE ARRIèRE ou la MARCHE AVANT tant que la machine n'est pas à l'arrêt au risque d'endommager la boîte-pont.
Si vous rétrogradez en roulant à une vitesse excessive, les roues arrière risquent de patiner et d'entraîner la perte du contrôle de la machine, et de causer des dommages à l'embrayage et/ou la transmission.
Changez de vitesse en douceur pour éviter de faire grincer les engrenages.
Le blocage du différentiel (Figure 9) permet de bloquer le pont arrière afin d'améliorer la motricité. Vous pouvez engager le blocage du différentiel pendant que la machine se déplace.
Déplacez le levier en avant et à droite pour engager le blocage du différentiel.
Note: La machine doit se déplacer et un léger braquage est nécessaire pour engager ou désengager le blocage du différentiel.
Si vous braquez alors que le différentiel est bloqué, vous risquez de perdre le contrôle de la machine.
N'utilisez pas la machine avec le différentiel bloqué si vous devez prendre des virages serrés ou à grande vitesse ; voir Réglage du câble de blocage du différentiel.

Chaque fois que vous coupez le moteur, serrez le frein de stationnement (Figure 9) pour éviter tout déplacement accidentel de la machine.
Tirez sur le levier pour serrer le frein de stationnement.
Poussez le levier en avant pour desserrer le frein de stationnement.
Note: Desserrez le frein de stationnement avant de déplacer la machine.
Si vous garez la machine sur une forte pente, serrez le frein de stationnement, sélectionnez la PREMIèRE si la machine est dirigée vers le sommet de la pente ou la MARCHE ARRIèRE si elle est dirigée vers le bas de la pente, puis calez les roues du côté aval.
La commande hydraulique permet d'élever et d'abaisser le plateau. Déplacez la commande en arrière pour élever le plateau et en avant pour l'abaisser (Figure 9).
Important: Quand vous abaissez le plateau, maintenez le levier en avant pendant 1 à 2 secondes après que le plateau a touché le cadre pour le fixer en position abaissée. Ne maintenez pas la commande hydraulique en position de levage ou de descente pendant plus de 5 secondes, lorsque les vérins sont arrivés en bout de course.
Le verrou hydraulique bloque le levier de commande, ce qui empêche le fonctionnement des vérins hydrauliques lorsque la machine n'est pas équipée d'un plateau (Figure 9). Il bloque aussi le levier de commande en position de MARCHE quand le système hydraulique est utilisé pour les accessoires.
Le sélecteur de gamme haute/basse permet d'obtenir 3 vitesses supplémentaires et de réguler la vitesse avec plus de précision (Figure 9) :
Vous devez immobiliser la machine avant d’alterner entre les gammes HAUTE et BASSE.
Changez de gamme sur terrain plat uniquement.
Enfoncez complètement la pédale d'embrayage.
Poussez le sélecteur complètement en avant pour sélectionner la GAMME HAUTE, et en arrière pour sélectionner la GAMME BASSE.
GAMME haute – utilisée pour la conduite à grande vitesse sur des surfaces sèches et planes, avec une faible charge.
GAMME basse – utilisée pour la conduite à basse vitesse. Choisissez cette gamme lorsque vous avez besoin de plus de puissance ou de contrôle qu'à l'ordinaire. Par exemple, sur de fortes pentes, sur des terrains accidentés, avec des charges élevées, à basse vitesse mais avec un régime moteur élevé (pulvérisation).
Important: Il existe un point entre les gammes HAUTE et BASSE auquel la boîte-pont n'est dans aucune gamme. N'utilisez pas cette position comme POINT MORT, car la machine pourrait se déplacer brusquement si quelqu'un heurte le sélecteur de gamme alors que le levier sélecteur de vitesse est en prise.
Pour engager manuellement la transmission aux 4 roues, maintenez le bouton 4RM (Figure 9) de la console centrale enfoncé pendant le déplacement du véhicule.
Le commutateur d'allumage (Figure 5) sert à démarrer et arrêter le moteur.
Le commutateur d'allumage a 3 positions : ARRêT, CONTACT et DéMARRAGE. Tournez la clé dans le sens horaire à la position DéMARRAGE pour engager le démarreur. Relâchez la clé quand le moteur démarre. La clé revient automatiquement à la position CONTACT.
Pour couper le moteur, tournez la clé dans le sens antihoraire à la position ARRêT.
Placez la commande du superviseur (Figure 5) à la position BASSE VITESSE et enlevez la clé. La commande du superviseur limite le régime moteur à 2 200 tr/min quand la 3e vitesse est sélectionnée dans la gamme HAUTE, ce qui limite la vitesse de pointe à 21 km/h.
Le compteur horaire (Figure 6) indique le nombre total d'heures de fonctionnement de la machine.
Le compteur horaire se déclenche chaque fois que vous tournez la clé dans le commutateur à la position CONTACT et que le régime moteur (tr/min) est supérieur à 500 tr/min toutes les 6 minutes.
Placez le commutateur de neutralisation de la 3ème en gamme haute (Figure 5) en position LENTE et enlevez la clé de contact pour interdire l'utilisation de la troisième vitesse dans la gamme HAUTE. Le moteur est coupé si la troisième vitesse est sélectionnée en gamme HAUTE.
Note: Vous pouvez retirer la clé dans n'importe quelle position.
Appuyez sur l'interrupteur d'éclairage (Figure 5) pour allumer ou éteindre les phares.
Le témoin de pression d'huile (Figure 6) s'allume quand la pression de l'huile moteur descend en dessous du niveau admissible pendant que le moteur tourne.
Important: Si le témoin clignote ou reste allumé, arrêtez la machine, coupez le moteur et vérifiez le niveau d'huile. Si, après avoir fait l'appoint, le témoin reste allumé une fois le moteur remis en marche, coupez immédiatement le moteur et demandez conseil à votre concessionnaire-réparateur agréé.
Vérifiez le fonctionnement des témoins comme suit :
Serrez le frein de stationnement.
Tournez la clé de contact en position CONTACT /PRéCHAUFFAGE, mais ne mettez pas le moteur en marche.
Note: Le témoin de pression d'huile doit s'allumer en rouge. Si le témoin ne s'allume pas, soit une ampoule est grillée, soit le système est défectueux et vous devez le réparer.
Note: Si le moteur vient juste d’être coupé, il peut s'écouler 1 à 2 minutes avant que le témoin s'allume.
Le témoin de préchauffage (Figure 6) s'allume en rouge quand les bougies de préchauffage sont activées.
Important: Le témoin de préchauffage s'allume pendant 15 secondes supplémentaires, quand le commutateur revient à la position DéMARRAGE.
Le thermomètre n'indique la température du liquide de refroidissement et le témoin ne s'allume que si le commutateur d'allumage est tourné à la position CONTACT (Figure 6).
Les 5 barres du thermomètre de liquide de refroidissement clignotent si le moteur surchauffe.
Ce témoin s'allume quand la batterie se décharge. Si le témoin s'allume en cours d'utilisation, arrêtez la machine, coupez le moteur et recherchez les causes possibles, par exemple la courroie d'alternateur (Figure 6).
Important: Si la courroie d'alternateur est détendue ou cassée, n'utilisez pas la machine avant de l'avoir réglée ou réparée. Le moteur pourrait être endommagé dans le cas contraire.
Vérifiez le fonctionnement des témoins comme suit :
Serrez le frein de stationnement.
Tournez la clé de contact en position CONTACT /PRéCHAUFFAGE, mais ne mettez pas le moteur en marche. Les témoins de liquide de refroidissement, de charge et de pression d'huile doivent s'allumer. Si un témoin ne s'allume pas, soit une ampoule est grillée, soit le système est défectueux et vous devez le réparer.
La jauge de carburant indique la quantité de carburant dans le réservoir. Elle ne fonctionne que lorsque le commutateur d'allumage est en position CONTACT (Figure 6).
Une seule barre indique que le niveau de carburant est bas, tandis qu'une barre clignotante indique que le réservoir de carburant est presque vide.
Quand l'interrupteur 4RM (Figure 5) est en position activée, la machine engage automatiquement le mode 4 roues motrices si le capteur détecte que les roues arrière patinent. Quand la transmission aux 4 roues est engagée, le témoin lumineux de l'interrupteur 4RM s'allume.
La transmission 4RM est seulement disponible en marche avant en mode AUTO. Pour l'utiliser en MARCHE ARRIèRE, appuyez sur le bouton 4RM.
Actionnez l'interrupteur pour activer le circuit hydraulique grand débit (Figure 5).
L'interrupteur de l'avertisseur sonore est situé sur le panneau de commande (Figure 5). Appuyez sur cet interrupteur pour actionner l'avertisseur sonore.
Le compte-tours indique le régime du moteur (Figure 6).
Note: Le régime souhaité pour le fonctionnement de la PDF à 540 tr/min est 3 300 tr/min.
Il indique la vitesse de déplacement de la machine (Figure 6).
La prise d'alimentation (Figure 5) permet d'alimenter les accessoires électriques de 12 volts disponibles en option.
La poignée de maintien du passager est située sur le tableau de bord (Figure 10).

Vous pouvez avancer ou reculer le siège à votre convenance (Figure 11).

Note: Les spécifications et la conception peuvent faire l'objet de modifications sans préavis.
| Largeur hors tout | 160 cm |
| Longueur hors tout | Sans plateau : 326 cm |
| Avec plateau complet : 331 cm | |
| Avec plateau 2/3 à l'arrière : 346 cm | |
| Poids de base (à vide) | Modèle 07385 : 887 kg |
| Modèle 07385TC : 924 kg | |
| Modèle 07387 : 914 kg | |
| Modèle 07387TC : 951 kg | |
| Capacité nominale (avec conducteur de 91 kg, passager de 91 kg et accessoire chargé) | Modèle 07385 : 1471 kg |
| Modèle 07385TC : 1435 kg | |
| Modèle 07387 : 1445 kg | |
| Modèle 07387TC : 1408 kg | |
| Poids total autorisé en charge (PTAC) maximum | 2 359 kg |
| Capacité de remorquage | Poids à la flèche : 272 kg |
| Poids maximum de la remorque : 1 587 kg | |
| Garde au sol | 18 cm à vide |
| Empattement | 118 cm |
| Voie (entraxe) | Avant : 117 cm |
| Arrière : 121 cm | |
| Hauteur | 191 cm jusqu'au sommet de l'arceau de sécurité |
Une sélection d'outils et d'accessoires agréés par Toro est disponible pour augmenter et améliorer les capacités de la machine. Contactez votre concessionnaire-réparateur ou distributeur agréé ou rendez-vous sur www.Toro.com pour obtenir une liste de tous les accessoires et outils agréés.
Pour garantir un rendement optimal et conserver la certification de sécurité de la machine, utilisez uniquement des pièces de rechange et accessoires d'origine Toro. Les pièces de rechange et outils provenant d'autres constructeurs peuvent être dangereux, et leur utilisation risque d'annuler la garantie de la machine.
Ne confiez jamais l'utilisation ou l'entretien de la machine à des enfants ou des personnes qui n'ont pas les compétences nécessaires ou ne sont physiquement aptes. La réglementation locale peut imposer un âge minimum pour les utilisateurs. Le propriétaire de la machine doit assurer la formation de tous les utilisateurs et mécaniciens.
Familiarisez-vous avec le maniement correct de la machine, les commandes et les symboles de sécurité.
Avant de quitter la position d'utilisation, coupez le moteur, enlevez la clé et attendez l'arrêt complet de tout mouvement. Laissez refroidir la machine avant de la régler, d'en faire l'entretien, de la nettoyer ou de la remiser.
Apprenez à arrêter la machine et à couper le moteur rapidement.
Assurez-vous que le nombre d'occupants (vous et votre ou vos passagers) n'est pas supérieur au nombre de poignées de maintien prévues sur la machine.
Assurez-vous de la présence de tous les dispositifs de protection et tous les autocollants. Réparez ou remplacez tous les dispositifs de sécurité et remplacez tous les autocollants illisibles ou manquants. N'utilisez pas la machine s'ils sont absents et ne fonctionnent pas correctement.
Faites preuve de la plus grande prudence quand vous manipulez du carburant, en raison de son inflammabilité et du risque d'explosion des vapeurs qu'il dégage.
Éteignez cigarettes, cigares, pipes et autres sources d'étincelles.
Utilisez exclusivement un bidon à carburant homologué.
N'enlevez pas le bouchon du réservoir de carburant et n'ajoutez pas de carburant pendant que le moteur tourne ou est encore chaud.
N'ajoutez pas de carburant et ne vidangez pas le réservoir dans un local fermé.
Ne rangez pas la machine ni les bidons de carburant à proximité d'une flamme nue, d'une source d'étincelles ou d'une veilleuse, telle celle d'un chauffe-eau ou autre appareil.
Si vous renversez du carburant, ne mettez pas le moteur en marche. Évitez toute source possible d'inflammation jusqu'à dissipation complète des vapeurs de carburant.
| Périodicité d'entretien | Procédure d'entretien |
|---|---|
| À chaque utilisation ou une fois par jour |
|
Avant de démarrer la machine chaque jour, effectuez les procédures décrites à la section .
| Périodicité d'entretien | Procédure d'entretien |
|---|---|
| À chaque utilisation ou une fois par jour |
|
Spécifications de gonflage des pneus avant : 2,20 bar
Spécifications de gonflage des pneus arrière : 1,24 bar
Important: Vérifiez fréquemment que les pneus sont gonflés à la pression correcte. Si les pneus ne sont pas gonflés à la pression correcte, ils s'useront prématurément et la transmission 4 roues motrices peut alors coincer.
La Figure 12 montre un exemple d'usure du pneu causée par un gonflage insuffisant.

La Figure 13 montre un exemple d'usure du pneu causée par un gonflage excessif.

Utilisez uniquement du gazole propre et frais ou des carburants au biodiesel à faible (<500 ppm) ou ultra faible (<15 ppm) teneur en soufre. L'indice minimum de cétane doit être de 40. Pour garantir la fraîcheur du carburant, n'achetez pas plus que la quantité normalement consommée en 6 mois.
Utilisez du gazole de qualité été (nº 2-D) si la température ambiante est supérieure à -7 °C et du gazole de qualité hiver (nº 1-D ou mélange nº 1-D/2-D) si la température ambiante est inférieure à -7 °C.
L'usage de carburant de qualité hiver à basses températures réduit le point d'éclair et les caractéristiques d'écoulement à froid, ce qui facilite le démarrage et réduit le colmatage du filtre à carburant.
Note: L'usage de carburant de qualité été au-dessus de -7 °C contribue à prolonger la vie de la pompe à carburant et augmente la puissance comparé au carburant de qualité hiver.
Important: N'utilisez pas de kérosène ou d'essence à la place du gazole, sous peine d'endommager le moteur.
Cette machine peut aussi utiliser un mélange carburant et biodiesel jusqu'à B20 (20 % biodiesel, 80 % pétrodiesel). La partie pétrodiesel doit être à faible ou très faible teneur en soufre. Prenez les précautions suivantes :
La partie biodiesel du carburant doit être conforme à la norme ASTM D6751 ou EN 14214.
Le mélange de carburant doit être conforme à la norme ASTM D975 ou EN590.
Les surfaces peintes peuvent être endommagées par les mélanges biodiesel.
Utilisez du B5 (teneur en biodiesel de 5 %) ou un mélange de plus faible teneur par temps froid.
Examinez régulièrement les joints et flexibles en contact avec le carburant, car ils peuvent se détériorer avec le temps.
Le filtre à carburant peut se colmater pendant quelque temps après l'adoption de mélanges au biodiesel.
Contactez votre distributeur pour plus de renseignements sur le biodiesel.
Capacité du réservoir de carburant : 22 litres.
Nettoyez la surface autour du bouchon du réservoir de carburant.
Enlevez le bouchon du réservoir de carburant (Figure 14).

Remplissez le réservoir légèrement en dessous du haut du réservoir (base du goulot de remplissage), puis remettez le bouchon.
Note: Ne remplissez pas excessivement le réservoir de carburant.
Pour éviter les risques d'incendie, essuyez le carburant éventuellement répandu.
| Périodicité d'entretien | Procédure d'entretien |
|---|---|
| Après les 100 premières heures de fonctionnement |
|
Procédez comme suit pour obtenir des performances correctes de la machine :
Assurez-vous de roder les freins ; voir Rodage des freins.
Contrôlez régulièrement les niveaux de liquide et d'huile. Restez attentifs aux signes de surchauffe de la machine ou de ses composants.
Si le moteur est froid, laissez-le tourner pendant environ 15 secondes avant d'utiliser la machine.
Note: Prévoyez un temps de réchauffement du moteur plus long lorsque la température ambiante est basse.
Variez la vitesse de déplacement de la machine en marche. Évitez les démarrages brutaux et les arrêts rapides.
L'utilisation d'une huile spéciale rodage dans le moteur n'est pas nécessaire. L'huile moteur d'origine est du même type que celle qui est spécifiée pour les entretiens courants.
Reportez-vous à pour connaître les contrôles spéciaux à effectuer pendant le rodage.
| Périodicité d'entretien | Procédure d'entretien |
|---|---|
| À chaque utilisation ou une fois par jour |
|
Le rôle du système de sécurité est d'empêcher le lancement ou le démarrage du moteur si la pédale d'embrayage n'est pas enfoncée.
Si les contacteurs de sécurité sont déconnectés ou endommagés, la machine peut se mettre en marche inopinément et causer des blessures.
Ne modifiez pas abusivement les contacteurs de sécurité.
Vérifiez chaque jour le fonctionnement des contacteurs de sécurité et remplacez ceux qui sont endommagés avant d'utiliser la machine.
Note: Consultez le Manuel de l'utilisateur de l'accessoire pour connaître les procédures de contrôle du système de sécurité de l'accessoire.
Asseyez-vous sur le siège de l'utilisateur et serrez le frein de stationnement.
Amenez le levier sélecteur à la position POINT MORT.
Note: Le moteur ne démarre pas si le levier de commande hydraulique est bloqué en position avant.
Sans appuyer sur la pédale d'embrayage, tournez la clé de contact dans le sens horaire à la position DéMARRAGE.
Note: Si le moteur se lance ou démarre, cela signifie que le système de sécurité est défaillant ; réparez-le avant d'utiliser la machine.
Asseyez-vous sur le siège de l'utilisateur et serrez le frein de stationnement.
Sélectionnez le POINT MORT et vérifiez que le levier de commande hydraulique est à la position centrale.
Enfoncez la pédale d'embrayage.
Déplacez le levier de commande hydraulique vers l'avant et tournez la clé jusqu'à la position de DéMARRAGE.
Note: Si le moteur se lance ou démarre, cela signifie que le système de sécurité est défaillant ; réparez-le avant d'utiliser la machine.
Le propriétaire/l'utilisateur est responsable des accidents pouvant entraîner des dommages corporels ou matériels et peut les prévenir.
Les passagers ne doivent s'asseoir qu'aux emplacements spécifiés. Ne transportez jamais personne sur le plateau de chargement. N'admettez personne, notamment les enfants, dans le périmètre de travail.
Portez une tenue adaptée, y compris une protection oculaire, un pantalon, des chaussures solides à semelle antidérapante et des protecteurs d'oreilles. Si vos cheveux sont longs, attachez-les et ne portez pas de vêtements amples ni de bijoux pendants.
Accordez toute votre attention à l'utilisation de la machine. Ne faites rien d’autre qui puisse vous distraire, au risque de causer des dommages corporels ou matériels.
N'utilisez pas la machine si vous êtes fatigué(e), malade ou sous l'emprise de l'alcool, de médicaments ou de drogues.
Utilisez la machine uniquement à l'extérieur ou dans un local bien ventilé.
Ne dépassez pas le poids brut maximum de la machine.
Redoublez de prudence quand vous freinez ou prenez un virage en transportant une lourde charge dans le plateau.
Le transport de charges surdimensionnées dans le plateau modifie la stabilité de la machine. Ne dépassez pas la capacité de transport du plateau.
La direction, le freinage et la stabilité de la machine sont affectés si la charge transportée ne peut pas être arrimée sur le plateau. Quand vous transportez une charge qui ne peut pas être arrimée sur la machine, freinez et changez de direction avec prudence.
Ralentissez votre course et allégez la charge transportée par la machine sur les terrains accidentés, irréguliers et près de bordures, trous et autres accidents de terrain. La charge peut se déplacer et rendre la machine instable.
Avant de mettre la machine en marche, assurez-vous que la transmission est au point mort, que le frein de stationnement est serré et que vous êtes au poste d'utilisation.
Vous et vos passagers devez rester assis pendant le déplacement de la machine. Vous devez garder les mains sur le volant et les passagers doivent se tenir aux poignées de maintien prévues à cet effet. Gardez toujours les bras et les jambes à l'intérieur de la machine.
N'utilisez la machine que si la visibilité est bonne. Méfiez-vous des trous, ornières, bosses, rochers ou autres obstacles cachés. Les irrégularités du terrain risquent de provoquer le retournement de la machine. L'herbe haute peut masquer les accidents du terrain. Soyez prudent à l'approche de tournants sans visibilité, de buissons, d'arbres ou d'autres objets susceptibles de vous masquer la vue.
Ne conduisez pas la machine à proximité de fortes dénivellations, fossés ou berges. La machine pourrait se retourner brusquement si une roue passe par-dessus une dénivellation quelconque et se retrouve dans le vide, ou si un bord s'effondre.
Méfiez-vous des obstacles en surplomb tels que branches d'arbres, jambages de portes, et passerelles, etc.
Avant de faire marche arrière, vérifiez que la voie est libre juste derrière la machine et sur sa trajectoire.
Lorsque vous utilisez la machine sur la voie publique, respectez le code de la route et utilisez les accessoires supplémentaires éventuellement exigés par la loi, tels éclairages, clignotants, panneau « véhicule lent » et autres.
Si la machine vibre de façon anormale, coupez le moteur et arrêtez immédiatement la machine, attendez l'arrêt de toutes les pièces mobiles et recherchez d'éventuels dommages. Réparez tout dommage de la machine avant de recommencer à travailler.
L'arrêt de la machine peut demander plus de temps sur les surfaces mouillées que sur les surfaces sèches. Pour sécher les freins par temps de pluie, conduisez lentement sur une surface plane en appuyant légèrement sur la pédale de frein.
Si vous conduisez la machine à haute vitesse et que vous freinez brusquement, les roues arrière peuvent se bloquer et vous risquez alors de perdre le contrôle de la machine.
Ne touchez pas le moteur, la transmission, le silencieux ou la tubulure du silencieux pendant que le moteur tourne ou juste après son arrêt car vous pourriez vous brûler.
Ne laissez pas la machine en marche sans surveillance.
Avant de quitter le poste de conduite :
Garez la machine sur une surface plane et horizontale.
Sélectionnez le POINT MORT de la transmission.
Serrez le frein de stationnement.
Abaissez le plateau de chargement.
Coupez le moteur et retirez la clé.
Attendez l'arrêt complet de tout mouvement.
N'utilisez pas la machine s'il y a risque d'orage.
Utilisez uniquement les accessoires et équipements agréés par The Toro® Company.
Le système ROPS est un dispositif de sécurité intégré.
Ne retirez pas le système ROPS de la machine.
Attachez toujours votre ceinture de sécurité, vérifiez qu'elle est bouclée correctement et que vous pouvez la détacher rapidement en cas d'urgence.
Vérifiez soigneusement où se trouvent les obstacles en hauteur et ne les touchez pas.
Maintenez la structure ROPS en bon état d'utilisation en vérifiant minutieusement et régulièrement qu'elle n'est pas endommagée et en maintenant toutes les fixations bien serrées.
Remplacez les composants endommagés du système ROPS. Ne les réparez pas et ne les modifiez pas.
Les pentes augmentent significativement les risques de perte de contrôle et de basculement de la machine pouvant entraîner des accidents graves, voire mortels.
Examinez attentivement le site pour identifier les pentes sur lesquelles vous pouvez utiliser la machine sans risque et établissez vos propres procédures et règles de travail à appliquer sur les pentes en question. Faites toujours preuve de bon sens et de discernement quand vous réalisez cette étude.
Ne travaillez pas sur les pentes sur lesquelles vous ne vous sentez pas à l'aise.
Déplacez-vous à vitesse réduite et progressivement sur les pentes. Ne changez pas brusquement de vitesse ou de direction.
Évitez d'utiliser la machine sur un terrain humide. Les pneus risquent de perdre en adhérence. La machine peut se retourner avant que les roues ne perdent leur motricité.
Montez et descendez toujours les pentes en ligne droite.
Si la machine commence à perdre de la puissance pendant la montée d'une pente, freinez progressivement et redescendez lentement la pente en ligne droite et en marche arrière.
Il est dangereux de faire demi-tour alors que vous montez ou descendez une pente. Si vous devez tourner alors que vous vous trouvez sur une pente, procédez lentement et prudemment.
Les lourdes charges compromettent la stabilité de la machine sur les pentes. Allégez la charge et ralentissez sur les pentes ou si le centre de gravité de la charge est très élevé. Arrimez solidement la charge sur le plateau de la machine pour l'empêcher de se déplacer. Redoublez de prudence lorsque vous transportez des charges qui ont tendance à se déplacer facilement (liquide, pierres, sable, etc.).
Évitez de démarrer, de vous arrêter ou de tourner sur une pente, surtout avec un chargement. Il faut plus longtemps à la machine pour s'arrêter sur une pente que sur une surface horizontale. Si vous devez arrêter la machine, évitez les variations de vitesse soudaines qui pourraient la faire se renverser ou se retourner. Ne freinez pas brutalement quand vous faites marche arrière, car la machine pourrait se retourner.
Ne dépassez pas le poids total autorisé en charge de la machine lorsque le plateau est chargé et/ou si vous tractez une remorque ; voir Caractéristiques techniques.
Répartissez la charge uniformément sur le plateau pour améliorer la stabilité et la contrôle de la machine.
Avant de décharger le plateau, vérifiez que la voie est libre derrière la machine.
Ne déchargez pas le plateau si la machine est garée transversalement sur une pente. La modification de la répartition de la charge peut causer le retournement de la machine.
Le plateau levé peut retomber et blesser toute personne qui travaille dessous.
Calez toujours le plateau avec la béquille avant de travailler dessous.
Déchargez le plateau avant de le lever.
Ne conduisez pas la machine en laissant le plateau de chargement levé, car elle pourrait facilement se renverser ou se retourner. La structure du plateau peut être endommagée si vous conduisez la machine avec le plateau levé.
Abaissez toujours le plateau de chargement quand vous conduisez la machine.
Abaissez toujours le plateau de chargement après l'avoir déchargé.
Si une charge est regroupée à l'arrière du plateau, celui-ci peut basculer brusquement lorsque vous ouvrez les verrous et vous blesser ou blesser des personnes à proximité.
Centrez bien les charges sur le plateau si possible.
Maintenez le plateau abaissé et assurez-vous que personne n'est appuyé contre ou ne se tient juste derrière lorsque vous ouvrez les verrous.
Déchargez complètement le plateau avant de l'élever pour faire l'entretien de la machine.
Ramenez le levier en arrière pour élever le plateau (Figure 15).

Le plateau de chargement peut être lourd. Il peut écraser les mains ou d'autres parties du corps.
N'approchez pas les mains ni aucune autre partie du corps du plateau de chargement pendant qu'il s'abaisse.
Poussez le levier en avant pour abaisser le plateau (Figure 15).
Vérifiez que le plateau est abaissé et verrouillé.
Ouvrez les verrous sur les côtés droit et gauche du plateau de chargement et abaissez le hayon (Figure 16).

Asseyez-vous sur le siège de l'utilisateur et serrez le frein de stationnement.
Désengagez la prise de force et le circuit hydraulique grand débit (selon l'équipement) et ramenez la commande d'accélérateur à la position HORS SERVICE (selon l'équipement).
Placez le levier sélecteur au POINT MORT et appuyez sur la pédale d'embrayage.
Le levier de commande hydraulique doit être à la position centrale.
N'appuyez pas sur la pédale d'accélérateur.
Tournez la clé de contact en position CONTACT.
Note: Lorsque le témoin de préchauffage s'allume, le moteur est prêt à démarrer.
Tournez la clé de contact à la position DéMARRAGE.
Note: Relâchez la clé dès que le moteur démarre et laissez-la revenir à la position CONTACT.
Note: Le témoin de préchauffage s'allume pendant 15 secondes supplémentaires, quand la clé revient à la position CONTACT.
Note: Pour éviter de provoquer une défaillance prématurée du démarreur, ne l'actionnez pas plus de 10 secondes de suite. Si le moteur ne démarre pas au bout de 10 secondes, tournez la clé en position ARRêT. Contrôlez les commandes et la procédure de démarrage, patientez encore 10 secondes, et répétez la procédure de démarrage.
Pour activer la transmission 4x4 automatique, appuyez sur le haut de l'interrupteur à bascule pour le mettre en position 4X4 AUTO (Figure 17).

Quand l'interrupteur 4RM est en position activée, la machine engage automatiquement le mode 4 roues motrices si le capteur détecte que les roues arrière patinent. Quand la transmission aux 4 roues est engagée, le témoin lumineux de l'interrupteur 4RM s'allume.
Important: La machine n'engage pas automatiquement la transmission 4x4 en marche arrière. En marche arrière, vous devez engager manuellement la transmission 4x4 à l'aide du bouton 4RM.
Pour engager manuellement la transmission 4x4, maintenez le bouton 4RM de la console centrale enfoncé pendant le déplacement du véhicule.
Note: La transmission 4x4 reste engagée aussi longtemps que vous maintenez le bouton enfoncé ; l'interrupteur 4RM n'a pas besoin d'être en position AUTO pour engager manuellement la transmission 4x4.
Desserrez le frein de stationnement.
Appuyez à fond sur la pédale d'embrayage.
Sélectionnez la première vitesse.
Relâchez la pédale d'embrayage en douceur tout en appuyant sur la pédale d'accélérateur.
Lorsque la machine atteint une vitesse suffisante, relâchez la pédale d'accélérateur, appuyez à fond sur la pédale d'embrayage, sélectionnez le rapport suivant et relâchez la pédale d'embrayage tout en appuyant sur la pédale d'accélérateur.
Répétez la procédure jusqu'à ce que la machine se déplace à la vitesse voulue.
Important: Arrêtez toujours la machine avant de sélectionner la marche arrière à partir d'une vitesse de marche avant, ou pour passer de la marche arrière à la marche avant.
Note: Ne laissez pas le moteur tourner au ralenti pendant des périodes prolongées.
Reportez-vous au tableau ci-dessous pour déterminer la vitesse de déplacement de la machine à 3 600 tr/min.
| Vitesse | Gamme | Rapport | Vitesse de déplacement (km/h) | Vitesse de déplacement (mi/h) |
|---|---|---|---|---|
| 1 | B | 82,83 : 1 | 4,7 | 2,9 |
| 2 | B | 54,52 : 1 | 7,2 | 4,5 |
| 3 | B | 31,56 : 1 | 12,5 | 7,7 |
| 1 | H | 32,31 : 1 | 12,2 | 7,6 |
| 2 | H | 21,27 : 1 | 18,5 | 11,5 |
| 3 | H | 12,31 : 1 | 31,9 | 19,8 |
| Marche AR | B | 86,94 : 1 | 4,5 | 2,8 |
| Marche AR | H | 33,91 : 1 | 11,6 | 7,1 |
Important: Ne poussez pas ou ne remorquez pas la machine pour la faire démarrer. Vous risqueriez d'endommager la transmission.
Pour arrêter la machine, relâchez la pédale d'accélérateur et enfoncez la pédale de frein.
Garez la machine sur une surface plane et horizontale.
Serrez le frein de stationnement.
Tournez la clé à la position ARRêT, puis enlevez-la.
Si la machine se renverse ou se retourne sur une pente, elle risque de causer des blessures graves.
Le supplément de motricité procuré par le blocage du différentiel peut suffire à vous placer dans des situations dangereuses, par exemple en montant des pentes trop raides pour vous permettre de faire demi-tour. Soyez prudent lorsque vous bloquez le différentiel, surtout sur les pentes à fort pourcentage.
Si vous bloquez le différentiel pour prendre un virage à faible rayon ou à grande vitesse et que la roue arrière intérieure se décolle du sol, vous risquez de perdre le contrôle de la machine qui peut alors patiner. Ne bloquez le différentiel qu'à vitesse réduite.
Si vous braquez alors que le différentiel est bloqué, vous risquez de perdre le contrôle de la machine. Ne bloquez pas le différentiel si vous devez prendre des virages à faible rayon ou à grande vitesse.
Le blocage du différentiel augmente le pouvoir de traction de la machine en bloquant les roues arrière pour empêcher une roue de patiner. Cela peut vous faciliter la tâche lorsque vous devez remorquer de lourdes charges sur de l'herbe humide ou des surfaces glissantes, en côte ou sur des surfaces sableuses. N'oubliez pas cependant que ce pouvoir de traction supplémentaire ne peut être utilisé que temporairement. Il ne saurait se substituer au maniement correct et sûr de la machine.
Le blocage du différentiel fait tourner les roues arrière à la même vitesse. Lorsque le blocage du différentiel est utilisé, il devient plus difficile de prendre des virages serrés, et la surface de travail risque d'être endommagée. Utilisez le blocage du différentiel uniquement lorsque cela est nécessaire, à vitesse réduite et seulement en première ou en deuxième.
La commande hydraulique fournit la puissance hydraulique de la pompe de la machine quand le moteur est en marche. La puissance obtenue peut être utilisée par l'intermédiaire des coupleurs rapides situés à l'arrière de la machine.
Les fuites de liquide hydraulique sous pression peuvent transpercer la peau et causer des blessures graves.
Soyez prudent lors du branchement et du débranchement des coupleurs hydrauliques rapides. Coupez le moteur, serrez le frein de stationnement, abaissez l'accessoire et placez le distributeur hydraulique à distance en position de verrouillage du flottement pour libérer la pression hydraulique avant de brancher ou de débrancher les coupleurs rapides.
Important: Si plusieurs machines utilisent le même accessoire, des contaminants peuvent être transférés dans le liquide de transmission. Vidangez le liquide de transmission plus fréquemment.
Position HORS SERVICE
Position normale du distributeur de commande quand il n'est pas utilisé. Dans cette position, les orifices de travail du distributeur de commande sont obturés et toute charge est retenue par les clapets antiretour dans les deux sens.
Position LEVAGE (raccord rapide A)
Cette position permet de lever le plateau ou l'accessoire remorqué, ou d'appliquer la pression au coupleur rapide A. Elle permet aussi au liquide hydraulique du coupleur rapide B de repasser dans le distributeur puis dans le réservoir. Cette position est momentanée ; lorsque vous relâchez le levier, celui-ci est rappelé par ressort à la position centrale (HORS SERVICE).

Position ABAISSEMENT (raccord rapide B)
Cette position permet d'abaisser le plateau ou l'accessoire remorqué, ou d'appliquer la pression au coupleur rapide B. Elle permet aussi au liquide hydraulique du coupleur rapide A de repasser dans le distributeur puis dans le réservoir. Cette position est momentanée ; lorsque vous relâchez le levier, celui-ci est rappelé par ressort à la position centrale (HORS SERVICE). Si vous maintenez momentanément le levier de commande dans cette position, puis que vous le relâchez, le liquide hydraulique est dirigé vers le coupleur rapide B, ce qui fournit la pression nécessaire pour abaisser l'attelage arrière. Lorsque vous le relâchez, il bloque la pression d'abaissement sur l'attelage.
Important: Si vous utilisez un vérin hydraulique, le maintien du levier à la position d'abaissement force le liquide hydraulique à passer par un clapet de décharge, ce qui peut endommager le système hydraulique.
Position EN SERVICE
Cette position est similaire à la position ABAISSEMENT (POSITION DU COUPLEUR RAPIDE B). Elle dirige aussi le liquide hydraulique vers le coupleur rapide B, mais le levier est maintenu dans cette position par un levier de verrouillage au tableau de bord. Le liquide hydraulique peut ainsi continuer de circuler vers les équipements utilisant un moteur hydraulique.
Vous ne devez utiliser cette position que pour les accessoires équipés d'un moteur hydraulique.
Important: Si vous utilisez la position EN SERVICE avec un vérin hydraulique ou sans accessoire, le liquide hydraulique va s'échapper par un clapet de décharge, ce qui peut endommager le système hydraulique. Cette position ne doit être utilisée que temporairement ou lorsqu'un moteur est accouplé.
Important: Contrôlez le niveau de liquide hydraulique une fois l'accessoire accouplé. Vérifiez le fonctionnement de l'accessoire en l'actionnant à plusieurs reprises pour purger l'air du système, puis contrôlez de nouveau le niveau de liquide hydraulique. Le vérin de l'accessoire modifie légèrement le niveau de liquide dans la boîte-pont. Si vous utilisez la machine avec un niveau de liquide hydraulique insuffisant, la pompe, le système hydraulique à distance, la direction assistée et la boîte-pont risquent d'être endommagés.
Important: Nettoyez les coupleurs rapides avant de les raccorder pour éviter de contaminer le système hydraulique.
Tirez sur la bague de verrouillage du coupleur.
Introduisez l'embout du flexible dans le coupleur jusqu'à ce qu'il s'enclenche en position.
Note: Lors du raccordement de matériel à distance aux coupleurs rapides, déterminez de quel côté la pression doit être appliquée et branchez le flexible correspondant au coupleur rapide B qui est sous pression quand vous poussez le levier de commande en avant ou que vous le verrouillez en position EN SERVICE.
Note: Après avoir coupé le moteur de la machine et de l'accessoire, déplacez le levier de commande d'avant en arrière pour dépressuriser le système et faciliter le débranchement des coupleurs rapides.
Tirez sur la bague de verrouillage du coupleur.
Tirez fermement sur le flexible pour le débrancher du coupleur.
Important: Nettoyez et placez les obturateurs de protection et les capuchons de protection aux extrémités des coupleurs rapides lorsqu'ils ne sont pas utilisés.
Branchement ou débranchement difficile des coupleurs rapides
La pression n'est pas évacuée (le coupleur rapide est sous pression).
La direction assistée est dure ou ne fonctionne pas du tout.
Le niveau de liquide hydraulique est trop bas.
Le liquide hydraulique surchauffe.
La pompe ne fonctionne pas.
Il y a des fuites hydrauliques.
Les raccords sont desserrés.
Le raccord n'a pas de joint torique.
Un accessoire ne fonctionne pas.
Les coupleurs rapides ne sont pas complètement engagés.
Les coupleurs rapides sont inversés.
La machine produit un grincement aigu.
Déposez la vanne qui est restée en position EN SERVICE et qui force le liquide hydraulique à s'échapper par le clapet de décharge.
La courroie est détendue.
Le moteur ne démarre pas.
Le levier de commande hydraulique est bloqué en position AVANT.
Avant de quitter le poste de conduite :
Garez la machine sur une surface plane et horizontale.
Sélectionnez le POINT MORT de la transmission.
Serrez le frein de stationnement.
Abaissez le plateau de chargement.
Coupez le moteur et enlevez la clé.
Attendez l'arrêt complet de tout mouvement.
Laissez refroidir la machine avant de la régler, d'en faire l'entretien, de la nettoyer ou de la remiser.
Ne rangez pas la machine à proximité d'une flamme nue, d'une source d'étincelles ou d'une veilleuse, telle celle d'un chauffe-eau ou autre appareil.
Maintenez toutes les pièces de la machine en bon état de marche et toutes les fixations bien serrées.
Faites l'entretien de la ou des ceintures de sécurité, et nettoyez-les au besoin.
Remplacez tous les autocollants usés, endommagés ou manquants.
Procédez avec prudence pour charger la machine sur une remorque ou un camion, ainsi que pour la décharger.
Utilisez des rampes d'une seule pièce pour charger la machine sur une remorque ou un camion.
Arrimez solidement la machine.
L'emplacement des points d'arrimage sur la machine est indiqué à la Figure 19 et la Figure 20.
Note: Chargez la machine sur la remorque en dirigeant l'avant vers l'avant de la remorque. Si cela s'avère impossible, fixez le capot de la machine au cadre avec une sangle ou déposez-le, sinon il pourrait s'envoler pendant le transport. Fixez et transportez le capot séparément.


En cas d'urgence, vous pouvez remorquer la machine sur une courte distance ; toutefois, il ne s’agit pas de la procédure habituelle.
Le remorquage à des vitesses excessives peut entraîner la perte du contrôle de la direction et provoquer des accidents.
Ne remorquez jamais la machine à plus de 8 km/h.
Note: La direction assistée ne fonctionne pas, ce qui rend le braquage difficile.
Le remorquage de la machine nécessite l'intervention de 2 personnes. S'il est nécessaire de déplacer la machine sur une longue distance, faites-la transporter par camion ou chargez-la sur une remorque.
Accrochez un câble de remorquage à la flèche d'attelage à l'avant du cadre de la machine (Figure 19).
Placez la transmission au POINT MORT et desserrez le frein de stationnement.
La machine peut tracter des remorques et des accessoires plus lourds qu'elle. Plusieurs types de flèches d'attelage sont disponibles pour la machine selon l'application. Contactez votre concessionnaire-réparateur agréé pour plus de détails.
Lorsqu'elle est équipée d'un dispositif d'attelage boulonné sur le tube de pont arrière, la machine peut tracter des remorques ou des accessoires dont le poids brut maximum peut atteindre 1 587 kg.
Lorsque vous chargez la remorque, placez toujours 60 % de la charge à l'avant. La flèche d'attelage est ainsi soumise à environ 10 % (272 kg maximum) du poids brut de la remorque.
Quand vous transportez un chargement ou que vous tractez une remorque (ou un accessoire), ne surchargez pas la machine ni la remorque. Cela pourrait diminuer les performances de la machine ou endommager les freins, l'essieu, le moteur, la boîte-pont, la direction, la suspension, la structure de la caisse ou les pneus.
Important: Choisissez la gamme basse pour réduire les risques potentiels de dommage à la transmission.
Pour tracter un accessoire doté d'une cinquième roue, comme un aérateur pour fairway, installez toujours la « barre anticabrage » (fournie avec le kit cinquième roue) pour empêcher les roues avant de quitter le sol si le mouvement de l'accessoire remorqué est subitement gêné.
Ne confiez pas l'entretien de la machine à des personnes non qualifiées.
Avant de quitter le poste de conduite :
Garez la machine sur une surface plane et horizontale.
Sélectionnez le POINT MORT de la transmission.
Serrez le frein de stationnement.
Abaissez le plateau de chargement.
Coupez le moteur et retirez la clé.
Attendez l'arrêt complet de tout mouvement.
Laissez refroidir la machine avant de la régler, d'en faire l'entretien, de la nettoyer ou de la remiser.
Soutenez la machine avec des chandelles chaque fois que vous devez travailler dessous.
Ne travaillez pas sous le plateau levé sans mettre la béquille de sécurité en place.
Vérifiez le serrage de tous les raccords hydrauliques, ainsi que l'état de toutes les conduites et tous les flexibles hydrauliques avant de mettre le système sous pression.
Avant de procéder à des branchements ou des réparations sur le circuit hydraulique, arrêtez le moteur, actionnez la soupape de décharge de levage à descente et/ou abaissez le plateau de chargement et les accessoires pour dépressuriser complètement le circuit. Placez le levier de commande hydraulique à distance en position de flottement. Si le plateau doit rester levé, bloquez-le en position avec la béquille de sécurité.
Libérez la pression emmagasinée dans les composants avec précaution.
Ne chargez pas les batteries pendant l'entretien de la machine
Vérifiez l'état de la machine dans son ensemble et maintenez toutes les fixations serrées au couple prescrit.
Pour réduire les risques d'incendie, débarrassez la machine de tout excès de graisse, débris d'herbe, feuilles et saletés.
Si possible, n'effectuez aucun entretien sur la machine en laissant le moteur en marche. Ne vous approchez pas des pièces mobiles.
Si le moteur doit tourner pour effectuer un réglage de la machine, n'approchez pas les mains, les pieds ou autres parties du corps, ni les vêtements des pièces mobiles. Ne laissez personne s'approcher de la machine.
Nettoyez les coulées éventuelles d'huile et de carburant.
Contrôlez le bon fonctionnement du frein de stationnement selon les recommandations du calendrier d'entretien, et réglez-le au révisez-le selon les besoins.
Maintenez toutes les pièces de la machine en bon état de marche et toutes les fixations serrées au couple correct. Remplacez tous les autocollants usés ou endommagés.
Ne cherchez jamais à modifier la fonction prévue d'un dispositif de sécurité ni à réduire la protection qu'il assure.
Ne faites pas tourner le moteur à vitesse excessive en modifiant le réglage du régulateur. Pour garantir la sécurité et la précision du fonctionnement, demandez à un concessionnaire-réparateur agréé de contrôler le régime moteur maximum avec un compte-tours.
Si la machine nécessite une réparation importante ou si vous avez besoin de renseignements, faites appel à un concessionnaire Toro agréé.
Toute modification de la machine susceptible d'en altérer le fonctionnement, les performances, la durabilité ou l'utilisation peut entraîner des blessures parfois mortelles. Une telle utilisation pourrait aussi annuler la garantie produit de The Toro® Company.
| Périodicité d'entretien | Procédure d'entretien |
|---|---|
| Après les 2 premières heures de fonctionnement |
|
| Après les 10 premières heures de fonctionnement |
|
| Après les 50 premières heures de fonctionnement |
|
| Après les 100 premières heures de fonctionnement |
|
| À chaque utilisation ou une fois par jour |
|
| Toutes les 25 heures |
|
| Toutes les 50 heures |
|
| Toutes les 100 heures |
|
| Toutes les 200 heures |
|
| Toutes les 400 heures |
|
| Toutes les 600 heures |
|
| Toutes les 800 heures |
|
| Toutes les 1000 heures |
|
| Toutes les 2000 heures |
|
Note: Téléchargez une copie du schéma électrique recherché en vous rendant sur www.Toro.com et en cherchant votre machine sous le lien Manuels sur la page d'accueil.
Important: Reportez-vous au manuel du propriétaire du moteur pour toutes procédures d'entretien supplémentaires.
Ne confiez l'entretien, les réparations, les réglages et les contrôles de la machine qu'à du personnel qualifié et autorisé.
Évitez les risques d'incendie et prévoyez du matériel de protection incendie dans la zone de travail. N'utilisez pas de flamme nue pour vérifier le niveau ou les fuites de carburant, d'électrolyte ou de liquide de refroidissement.
N'utilisez pas de récipients ouverts contenant du carburant ou des solvants inflammables pour nettoyer les pièces.
Un mauvais entretien de la machine peut entraîner une défaillance prématurée des divers systèmes et vous blesser ou blesser les personnes à proximité.
Maintenez la machine bien entretenue et en bon état de marche, conformément aux instructions du présent manuel.
Si vous laissez la clé dans le commutateur d'allumage, quelqu'un pourrait mettre le moteur en marche accidentellement et vous blesser gravement, ainsi que toute personne à proximité.
Coupez le moteur et enlevez la clé du commutateur avant d'effectuer des entretiens.
Important: Dans les conditions indiquées ci-dessous, doublez la fréquence des entretiens :
Utilisation dans le désert
Utilisation par temps froid (au-dessous de 10 °C)
Attelage d'une remorque
Utilisation fréquente dans une atmosphère poussiéreuse
Travaux de construction
Après une utilisation prolongée dans la boue, le sable, l'eau ou autres environnements sales, effectuez ce qui suit :
Faites inspecter et nettoyer vos freins dès que possible. Cela permet d'éliminer les particules abrasives susceptibles de causer une usure excessive.
Lavez la machine seulement avec de l'eau ou en y ajoutant un détergent d'eau.
Important: Ne nettoyez pas la machine avec de l'eau saumâtre ou recyclée.
Beaucoup des sujets abordés dans cette section consacrée à l'entretien demandent de lever et d'abaisser le plateau. Pour prévenir les blessures graves ou les accidents mortels, prenez les précautions suivantes.
Garez la machine sur une surface plane et horizontale.
Serrez le frein de stationnement.
Videz et levez le plateau de chargement ; voir Levage du plateau de chargement.
Coupez le moteur et enlevez la clé.
Laissez refroidir la machine avant d'effectuer tout entretien.
Important: Procédez toujours de l'extérieur du plateau pour installer ou retirer la béquille de sécurité.
Levez le plateau jusqu'à ce que les vérins soient complètement déployés.
Sortez la béquille de sécurité des supports de rangement au dos du panneau du système ROPS (Figure 21).

Poussez la béquille de sécurité du plateau sur la tige du vérin et appuyez bien les pattes d'extrémité contre l'extrémité du corps du vérin et l'extrémité de la tige du vérin (Figure 22).

Retirez la béquille de sécurité du vérin et rangez-la dans les supports au dos du panneau du système ROPS.
Important: N'essayez pas d'abaisser la trémie quand le support de sécurité est installé sur le vérin.
Démarrez le moteur, engagez le levier de commande hydraulique et abaissez le plateau jusqu'à ce que les vérins bougent librement dans les fentes.
Relâchez le levier de commande et coupez le moteur.
Retirez les goupilles à anneau aux extrémités extérieures des axes des tiges de vérins (Figure 23).

Retirez les axes de chape qui fixent les côtés tiges des vérins aux plaques de montage du plateau en les poussant vers l'intérieur (Figure 23).
Enlevez les goupilles à anneau et les axes de chape qui fixent les supports de pivot aux profilés du cadre (Figure 23).
Soulevez le plateau et déposez-le de la machine.
Le plateau complet pèse environ 148 kg. N'essayez pas de le mettre en place ou de le retirer sans aide.
Utilisez un palan ou faites-vous aider par 2 ou 3 autres personnes.
Rangez les vérins dans les clips prévus à cet effet.
Engagez le levier de blocage du levage hydraulique sur la machine pour éviter tout déploiement accidentel des vérins.
Note: Si vous installez des ridelles sur le plateau de chargement plat, il est plus facile de le faire avant d'installer le plateau sur la machine.
Vérifiez que les plaques de pivot arrière sont boulonnées au cadre/profilé de la machine de sorte que l'extrémité inférieure soit inclinée vers l'arrière (Figure 24).

Le plateau complet pèse environ 148 kg. N'essayez pas de le mettre en place ou de le retirer sans aide.
Utilisez un palan ou faites-vous aider par 2 ou 3 autres personnes.
Les supports entretoises et les cales d'usure (Figure 25) doivent être montés avec les têtes des boulons à l'intérieur de la machine.

Les vérins de levage doivent être complètement rétractés.
Placez le plateau sur le cadre de la machine avec précaution et en alignant les trous des plaques de pivot arrière sur ceux du profilé arrière du cadre. Installez ensuite 2 axes et goupilles à anneau (Figure 25).
Abaissez le plateau et fixez chaque extrémité de tige de vérin aux fentes appropriées dans les plaques de montage du plateau au moyen d'un axe de chape et d'une goupille à anneau.
Insérez l'axe par l'extérieur du plateau, la goupille à anneau étant dirigée vers l'extérieur (Figure 25).
Note: Les fentes arrière sont réservées à l'installation du plateau complet et les fentes avant à l'installation du plateau 2/3.
Note: Vous devrez éventuellement démarrer le moteur pour déployer ou rétracter les vérins afin de les aligner sur les trous.
Note: Vous pouvez obturer la fente inutilisée avec un boulon et un écrou pour éviter les erreurs de montage.
Démarrez le moteur et engagez le levier de commande hydraulique pour élever le plateau.
Relâchez le levier de commande et coupez le moteur.
Installez la béquille de sécurité du plateau pour empêcher ce dernier de s'abaisser accidentellement ; voir Utilisation de la béquille de sécurité du plateau.
Montez des goupilles à anneau aux extrémités intérieures des axes de fixation.
Note: Si le plateau est équipé d'un mécanisme d'ouverture automatique du hayon, assurez-vous que la biellette de déversement avant est bien placée à l'intérieur de l'axe de chape gauche avant de mettre en place la goupille à anneau.
Une machine en appui sur un cric peut être instable ; elle peut tomber et blesser la personne qui se trouve dessous.
Ne mettez pas le moteur en marche lorsque la machine est soutenue par un cric, car les vibrations du moteur ou la rotation des roues pourraient la faire tomber du cric.
Retirez toujours la clé du commutateur d'allumage avant de descendre de la machine.
Calez les roues quand la machine est soutenue par un cric.
Lorsque vous soulevez l'avant de la machine, placez toujours une cale en bois (ou un objet similaire) entre le cric et le cadre de la machine.
Le point de levage à l'avant de la machine se trouve sous le support de cadre central avant (Figure 26).

Le point de levage à l’arrière de la machine est situé sous l'essieu (Figure 27).

Saisissez le capot par les ouvertures des phares et soulevez-le pour dégager les pattes de fixation inférieures des fentes du châssis (Figure 28).

Faites pivoter le bas du capot vers le haut jusqu'à ce que vous puissiez dégager les pattes de fixation supérieures des fentes du châssis (Figure 28).
Faites pivoter le haut du capot en avant et débranchez les connecteurs des fils des phares (Figure 28).
Déposez le capot.
| Périodicité d'entretien | Procédure d'entretien |
|---|---|
| Toutes les 100 heures |
|
Type de graisse : graisse au lithium nº 2
Essuyez les graisseurs avec un chiffon pour éviter que des impuretés ne pénètrent dans le roulement ou la bague.
Avec une pompe à graisse, injectez de la graisse dans les graisseurs de la machine.
Essuyez tout excès de graisse sur la machine.
Important: Lors du graissage des roulements de croisillons de cardan d'arbre de transmission, injectez de la graisse jusqu'à ce qu'elle ressorte par les 4 cuvettes de chaque croisillon.
Emplacements et nombre de graisseurs :
Rotules (4) ; voir Figure 29
Biellettes de direction (2) ; voir Figure 29
Supports de pivot (2) ; voir Figure 29
Vérin de direction (2) ; voir Figure 29

Tourelle de suspension (2) ; voir Figure 30

Embrayage (1) ; voir Figure 31
Accélérateur (1) ; voir Figure 31
Frein (1) ; voir Figure 31

Joint de cardan (18) ; voir Figure 32
Arbre de transmission aux 4 roues motrices (3) ; voir Figure 32

Avant de vérifier le niveau d’huile ou d'ajouter de l'huile dans le carter, coupez le moteur, enlevez la clé de contact et attendez l'arrêt complet de toutes les pièces mobiles.
Gardez les mains, les pieds, le visage et toute autre partie du corps ainsi que les vêtements à l'écart du silencieux et autres surfaces brûlantes.
| Périodicité d'entretien | Procédure d'entretien |
|---|---|
| Toutes les 25 heures |
|
| Toutes les 100 heures |
|
Vérifiez périodiquement le filtre à air et les flexibles pour assurer une protection maximale du moteur et garantir une durée de vie maximale. Vérifiez si le boîtier du filtre à air présente des dommages susceptibles d'occasionner des fuites d'air. Remplacez le boîtier du filtre s'il est endommagé.
Déverrouillez le filtre à air et détachez le couvercle du boîtier du filtre (Figure 33).

Appuyez de chaque côté du capuchon de protection pour l'ouvrir et vider la poussière.
Sortez l'élément filtrant du boîtier du filtre à air avec précaution (Figure 33).
Note: Évitez de cogner l'élément à l'intérieur du boîtier.
Note: N'essayez pas de nettoyer l'élément filtrant.
Vérifiez l'état de l'élément neuf en le plaçant devant une lumière forte.
Note: Les trous éventuels apparaîtront sous forme de points brillants. Vérifiez que l'élément n'est pas déchiré ni couvert d'une pellicule grasse, et que le joint de caoutchouc n'est pas endommagé. N'utilisez pas le filtre s'il est endommagé.
Note: Pour ne pas endommager le moteur, ne le faites jamais tourner sans le filtre à air et sans le couvercle du filtre à air.
Insérez le filtre sur le tube du boîtier avec précaution (Figure 33).
Note: Assurez-vous qu'il est bien engagé en appuyant sur le rebord extérieur.
Reposez le couvercle du filtre à air, le côté en haut, et verrouillez-le (Figure 33).
Note: Vidangez l'huile plus souvent s'il y a beaucoup de poussière ou de sable.
Note: Débarrassez-vous de l'huile moteur et du filtre à huile usagé dans un centre de recyclage agréé.
Type d'huile moteur : huile moteur détergente (classe de service (API SJ ou mieux)
Capacité du carter : 3,2 l avec filtre neuf
Viscosité : voir le tableau ci-dessous.

| Périodicité d'entretien | Procédure d'entretien |
|---|---|
| À chaque utilisation ou une fois par jour |
|
Note: Le meilleur moment pour vérifier le niveau d'huile moteur est en début de journée, quand le moteur est froid avant sa mise en marche. Si le moteur a déjà tourné, attendez au moins 10 minutes que l'huile retourne dans le carter avant de contrôler le niveau. Si le niveau d'huile est à la même hauteur ou en dessous du repère minimum sur la jauge, faites l'appoint pour l'amener au repère maximum. Ne remplissez pas le carter moteur excessivement. Si le niveau d'huile se situe entre les repères maximum et minimum, il n'est pas nécessaire de faire l'appoint.
Garez la machine sur une surface plane et horizontale.
Serrez le frein de stationnement.
Coupez le moteur et retirez la clé.
Retirez la jauge et essuyez-la sur un chiffon propre (Figure 35).

Insérez la jauge dans le tube en l'enfonçant au maximum (Figure 35).
Ressortez la jauge et vérifiez le niveau d'huile (Figure 35).
Si le niveau est trop bas, enlevez le bouchon de remplissage (Figure 35) et ajoutez la quantité d'huile nécessaire pour amener le niveau au repère maximum sur la jauge.
Note: Lorsque vous faites l'appoint d'huile, retirez la jauge pour que l'aération s'effectue correctement. Versez l'huile lentement et vérifiez le niveau fréquemment durant la procédure. Ne remplissez pas le carter moteur excessivement.
Important: Lorsque vous faites l'appoint ou le plein d'huile moteur, maintenez un espace entre le dispositif de remplissage et l'orifice de remplissage d'huile dans le couvre-culasse, comme montré à la Figure 36. Cet espace est nécessaire pour assurer l'aération pendant le remplissage et empêcher l'huile de déborder dans le reniflard.

Revissez la jauge solidement en place (Figure 35).
| Périodicité d'entretien | Procédure d'entretien |
|---|---|
| Après les 50 premières heures de fonctionnement |
|
| Toutes les 200 heures |
|
Soulevez le plateau et placez le support de sécurité sur le vérin de levage déployé pour soutenir le plateau.
Enlevez le bouchon de vidange et laissez couler l'huile dans un bac de vidange (Figure 37).

Remettez le bouchon quand la vidange est terminée.
Déposez le filtre à huile (Figure 37).
Appliquez une fine couche d'huile propre sur le joint du filtre de rechange avant de le visser en place.
Vissez le filtre jusqu'à ce que le joint touche la plaque de montage. Puis serrez-le encore de 1/2 à 2/3 de tour.
Note: Ne serrez pas excessivement.
Faites l'appoint d'huile spécifiée dans le carter moteur.
Note: Les données liées aux codes d'anomalie du moteur ne sont accessibles que par le personnel technique des produits professionnels Toro.
Garez la machine sur une surface plane et horizontale.
Serrez le frein de stationnement.
Coupez le moteur et retirez la clé.
Contactez un concessionnaire-réparateur agréé.
| Périodicité d'entretien | Procédure d'entretien |
|---|---|
| À chaque utilisation ou une fois par jour |
|
Placez un bac de vidange propre sous le filtre à carburant (Figure 38).
Dévissez le bouchon de vidange en bas de la cartouche du filtre.

Serrez le bouchon de vidange au bas de la cartouche du filtre.
| Périodicité d'entretien | Procédure d'entretien |
|---|---|
| Toutes les 400 heures |
|
Vidangez l'eau du séparateur d'eau ; voir Vidange du filtre à carburant/séparateur d'eau.
Nettoyez la surface de montage du filtre (Figure 38).
Déposez le filtre et nettoyez la surface de montage.
Lubrifiez le joint du filtre avec de l'huile propre.
Installez le filtre à la main jusqu'à ce que le joint rejoigne la surface de montage, puis serrez-le d'un demi tour supplémentaire.
Serrez le bouchon de vidange au bas de la cartouche du filtre.
| Périodicité d'entretien | Procédure d'entretien |
|---|---|
| Toutes les 400 heures |
|
Vérifiez que les canalisations de carburant, les raccords et les colliers ne présentent pas de fuites, ne sont pas détériorés, endommagés ou desserrés.
Note: Réparez les fuites ou dommages des composants du système d'alimentation avant d'utiliser la machine.
Débranchez la batterie avant de réparer la machine. Débranchez toujours la borne négative avant la borne positive. Rebranchez toujours la borne positive avant la borne négative.
Chargez la batterie dans un endroit dégagé et bien aéré, à l'écart des flammes ou sources d'étincelles. Débranchez le chargeur du secteur avant de brancher ou de débrancher la batterie. Portez des vêtements de protection et utilisez des outils isolés.
Le démarrage à l'aide d'une batterie de secours peut être dangereux. Pour éviter de vous blesser ou d'endommager les composants électriques de la machine, respectez les consignes suivantes :
Ne démarrez jamais le moteur avec une batterie de secours de plus de 15 V c.c., au risque d'endommager le système électrique.
N'essayez jamais de démarrer le moteur avec une batterie de secours si la batterie à plat du véhicule est gelée. Elle pourrait se fendre ou exploser durant l'opération.
Observez les témoins de la batterie lorsque vous démarrez le moteur avec une batterie de secours.
Votre machine ne doit pas toucher la machine utilisée pour lancer le moteur.
Le raccordement des câbles à la mauvaise borne peut entraîner des blessures et/ou endommager le système électrique.
Appuyez sur le couvercle de la batterie pour dégager les pattes de la base de la batterie et déposez le couvercle de la base (Figure 41).

Raccordez un câble de démarrage entre les bornes positives des 2 batteries (Figure 42).
Note: La borne positive se reconnaît au signe « + » figurant sur le couvercle de la batterie.
Connectez une extrémité de l'autre câble de démarrage à la borne négative de la batterie de l'autre machine.
Note: La borne négative est identifiée par les lettres « NEG » sur le couvercle de la batterie.
Note: Ne connectez pas l'autre extrémité du câble démarrage à la borne négative de la batterie déchargée. Reliez le câble de démarrage au moteur ou au cadre. Ne connectez pas le câble de démarrage au circuit d'alimentation;

Démarrez le moteur de la machine utilisée pour le dépannage.
Note: Laissez-le tourner quelques minutes, puis démarrez le moteur de votre machine.
Débranchez le câble de démarrage négatif de votre moteur, puis de la batterie de l'autre machine.
Remettez le couvercle sur la base de la batterie.
| Périodicité d'entretien | Procédure d'entretien |
|---|---|
| Toutes les 50 heures |
|
L'électrolyte contient de l'acide sulfurique, dont l'ingestion est mortelle et qui cause de graves brûlures.
Ne buvez jamais d'électrolyte et évitez tout contact avec les yeux, la peau ou les vêtements. Portez des lunettes de protection et des gants en caoutchouc.
Faites le plein d'électrolyte à proximité d'une arrivée d'eau propre, de manière à pouvoir rincer abondamment la peau en cas d'accident.
Maintenez toujours la batterie propre et chargée au maximum.
Si les bornes de la batterie sont corrodées, nettoyez-les avec un mélange constitué de 4 volumes d'eau pour 1 volume de bicarbonate de soude.
Enduisez les bornes de la batterie d'une mince couche de graisse pour éviter la corrosion.
Maintenez l'électrolyte de la batterie au niveau correct.
Nettoyez régulièrement le dessus de la batterie avec une brosse trempée dans une solution d'ammoniac ou de bicarbonate de soude. Rincez la surface avec de l'eau après le nettoyage. Le bouchon de remplissage doit rester en place pendant le nettoyage.
Les câbles de la batterie doivent être bien serrés sur les bornes pour assurer un bon contact électrique.
Faites l'appoint dans les éléments avec de l'eau distillée ou déminéralisée. Le niveau ne doit pas dépasser la base de l'anneau de remplissage dans chaque élément.
La batterie se décharge plus rapidement quand la température ambiante est très élevée.
| Périodicité d'entretien | Procédure d'entretien |
|---|---|
| Toutes les 100 heures |
|
Garez la machine sur une surface plane et horizontale.
Serrez le frein de stationnement.
Coupez le moteur et retirez la clé.
Nettoyez la surface autour du bouchon de remplissage/contrôle sur le côté du différentiel (Figure 43).

Enlevez le bouchon de remplissage/contrôle et vérifiez le niveau d'huile.
Note: L'huile doit atteindre l'orifice.
Si le niveau d'huile est trop bas, faites l'appoint avec l'huile spécifiée.
Remettez le bouchon de remplissage/contrôle en place.
| Périodicité d'entretien | Procédure d'entretien |
|---|---|
| Toutes les 800 heures |
|
Huile de différentiel spécifiée : huile hydraulique Mobil 424
Garez la machine sur une surface plane et horizontale.
Serrez le frein de stationnement.
Coupez le moteur et retirez la clé.
Nettoyez la surface autour du bouchon de vidange sur le côté du différentiel (Figure 43).
Placez un bac de vidange sous le bouchon de vidange.
Enlevez le bouchon de vidange et laissez couler l'huile dans un bac de vidange.
Revissez le bouchon en place lorsque la vidange est terminée.
Nettoyez la surface autour du bouchon de remplissage/contrôle au fond du différentiel.
Retirez le bouchon de remplissage/contrôle et versez de l'huile spécifiée jusqu'à ce que le niveau atteigne l'orifice.
Remettez le bouchon de remplissage/contrôle en place.
| Périodicité d'entretien | Procédure d'entretien |
|---|---|
| Toutes les 200 heures |
|
Vérifiez que le soufflet du joint homocinétique n'est pas fissuré ou percé, et que son collier n'est pas desserré. Faites réparer les dommages éventuels par votre concessionnaire-réparateur Toro agréé.
| Périodicité d'entretien | Procédure d'entretien |
|---|---|
| Après les 10 premières heures de fonctionnement |
|
| Toutes les 200 heures |
|
Amenez le levier sélecteur à la position POINT MORT.
Enlevez les axes de chape qui fixent les câbles aux bras sélecteurs de la boîte-pont (Figure 44).

Desserrez les écrous de blocage des chapes et réglez chaque chape de sorte que le jeu du câble soit identique en avant et en arrière par rapport au trou dans le bras sélecteur de la boîte-pont (le jeu du levier de la boîte-pont étant rattrapé dans la même direction).
Posez les axes de chape et serrez les écrous de blocage pour terminer.
| Périodicité d'entretien | Procédure d'entretien |
|---|---|
| Toutes les 200 heures |
|
Enlevez l'axe de chape qui fixe le câble de gamme haute/basse à la boîte-pont (Figure 44).
Desserrez l'écrou de blocage sur la chape et réglez la chape afin que son trou soit en face de celui du support de la boîte-pont.
Posez l'axe de chape et serrez l'écrou de blocage pour terminer.
| Périodicité d'entretien | Procédure d'entretien |
|---|---|
| Toutes les 200 heures |
|
Placez le levier de blocage du différentiel en position de DéBLOCAGE.
Desserrez les écrous de blocage qui fixent le câble de blocage du différentiel au support de la boîte-pont (Figure 45).

Réglez les écrous de blocage de manière obtenir un espace de 0,25 à 1,5 mm entre le crochet du ressort et le diamètre extérieur du trou dans le levier de la boîte-pont.
Resserrez les écrous de blocage pour terminer.
| Périodicité d'entretien | Procédure d'entretien |
|---|---|
| Toutes les 100 heures |
|
Spécifications de gonflage des pneus avant : 2,20 bar
Spécifications de gonflage des pneus arrière : 1,24 bar
Les accidents en cours d'utilisation, tels une collision avec une bordure, peuvent endommager un pneu ou une jante et aussi dérégler le parallélisme des roues. Pour cette raison, vérifiez l'état des pneus après tout accident.
Important: Vérifiez fréquemment que les pneus sont gonflés à la pression correcte. Si les pneus ne sont pas gonflés à la pression correcte, ils s'useront prématurément et la transmission 4 roues motrices peut alors coincer.
La Figure 46 est un exemple d'usure du pneu causée par un gonflage insuffisant.

La Figure 47 est un exemple d'usure du pneu causée par un gonflage excessif.

| Périodicité d'entretien | Procédure d'entretien |
|---|---|
| Toutes les 400 heures |
|
Vérifiez que les pneus sont gonflés à la pression correcte avant de contrôler la géométrie du train avant ; voir Contrôle de la pression des pneus.
Demandez à une personne de s'asseoir sur le siège du conducteur ou placez-y une masse de poids égal au poids moyen des utilisateurs du véhicule.
L'utilisateur ou la masse doit rester sur le siège pendant toute la procédure de réglage.
Sur une surface plane et horizontale, faites reculer la machine en ligne droite sur 2 à 3 m puis revenez à la position de démarrage d'origine.
Cela permet à la suspension de la machine de se stabiliser à la position d'utilisation.
Placez les roues en position ligne droite.
Mesurez la distance entre les roues avant à hauteur d'essieu, à l'avant et à l'arrière des roues (Figure 48).
Le pincement des roues avant doit être 0 ± 6 mm.
Important: Les mesures doivent être faites aux mêmes emplacements sur le pneu. La machine doit se trouver sur une surface plane avec les roues en position ligne droite.

Si le pincement des roues avant n'est pas correct, réglez-le comme suit :
Desserrez l'écrou de blocage au centre de la biellette (Figure 49)

Tournez chaque biellette également de façon à déplacer l'avant de la roue vers l'intérieur ou l'extérieur.
Resserrez les écrous de blocage des biellettes quand le pincement correct est obtenu.
Serrez les écrous de blocage des biellettes à un couple de 62 à 74 N·m.
Après avoir réglé fois le pincement des roues, vérifiez que la direction est complètement libre dans les deux sens.
Il ne doit y avoir aucun contact entre les composants de la machine lorsque vous déplacez les roues de butée en butée. Réglez au besoin.
| Périodicité d'entretien | Procédure d'entretien |
|---|---|
| Après les 2 premières heures de fonctionnement |
|
| Après les 10 premières heures de fonctionnement |
|
| Toutes les 200 heures |
|
Couple de serrage des écrous de roues : 109 à 122 N·m
Serrez les écrous des roues avant et arrière en étoile, comme montré à la Figure 50, au couple spécifié.

L'ingestion de liquide de refroidissement peut être toxique ; rangez-le hors de la portée des enfants et des animaux domestiques.
Les projections de liquide de refroidissement brûlant sous pression ou le contact avec le radiateur brûlant et les pièces qui l'entourent peuvent causer des brûlures graves.
Laissez toujours refroidir le moteur pendant au moins 15 minutes avant d'enlever le bouchon du radiateur.
Servez-vous d'un chiffon pour ouvrir le bouchon du radiateur et desserrez-le lentement pour laisser la vapeur s'échapper.
N'utilisez jamais la machine sans les capots de protection.
N'approchez pas les doigts, les mains et les vêtements du ventilateur et de la courroie d'entraînement en rotation.
Coupez le moteur et retirez la clé avant d'effectuer des entretiens.
| Périodicité d'entretien | Procédure d'entretien |
|---|---|
| À chaque utilisation ou une fois par jour |
|
Capacité du système de refroidissement : 3,7 litres
Type de liquide de refroidissement : mélange 50/50 d'eau et d'antigel permanent à l'éthylène glycol
Si le moteur vient de tourner, le liquide de refroidissement sous pression peut s'échapper et vous brûler.
N'ouvrez pas le bouchon du radiateur et ne faites pas l'appoint de liquide de refroidissement dans le radiateur. Cela a pour effet d'introduire de l'air dans le système et d'endommager le moteur. Ajoutez le liquide de refroidissement uniquement dans le réservoir.
N'enlevez pas le bouchon du radiateur si le moteur tourne.
Servez-vous d'un chiffon pour ouvrir le bouchon du radiateur et desserrez-le lentement pour laisser la vapeur s'échapper.
Garez la machine sur une surface plane et horizontale.
Placez le levier sélecteur en position P (STATIONNEMENT).
Coupez le moteur et retirez la clé.
Vérifiez le niveau du liquide de refroidissement dans le vase d'expansion.

Note: Le liquide de refroidissement doit atteindre la base du goulot de remplissage quand le moteur est froid.
Si le niveau de liquide de refroidissement est trop bas, retirez le bouchon du réservoir et ajoutez un antigel constitué de 50 % d'éthylène-glycol et 50 % d'eau distillée utilisant la technologie des acides organiques (OAT).
Ne remplissez pas excessivement.
Serrez le bouchon du vase d'expansion à la main.
| Périodicité d'entretien | Procédure d'entretien |
|---|---|
| À chaque utilisation ou une fois par jour |
|
Garez la machine sur une surface plane et horizontale.
Serrez le frein de stationnement.
Coupez le moteur et retirez la clé.
Nettoyez soigneusement la surface du moteur.
Déverrouillez et enlevez l'écran devant le radiateur (Figure 52).

Le cas échéant, tournez les verrous et faites pivoter le refroidisseur d'huile pour l'éloigner du radiateur (Figure 53).

Nettoyez le radiateur, le refroidisseur d'huile et l'écran à l'air comprimé.
Note: Soufflez sur les débris du radiateur pour l'en débarrasser.
Remettez le refroidisseur d'huile et l'écran en place sur le radiateur.
| Périodicité d'entretien | Procédure d'entretien |
|---|---|
| Toutes les 1000 heures |
|
Capacité du système de refroidissement : 3,7 litres
Type de liquide de refroidissement : mélange 50/50 d'eau et d'antigel permanent à l'éthylène glycol
Contactez un distributeur Toro agréé.
| Périodicité d'entretien | Procédure d'entretien |
|---|---|
| À chaque utilisation ou une fois par jour |
|
| Toutes les 1000 heures |
|
Type de liquide de frein : DOT 3
Garez la machine sur une surface plane et horizontale.
Serrez le frein de stationnement.
Coupez le moteur et enlevez la clé.
Soulevez le capot pour accéder au maître-cylindre de frein et au réservoir (Figure 54).

Le niveau de liquide doit atteindre le repère maximum sur le réservoir (Figure 55).

Si le niveau de liquide est trop bas, nettoyez la surface autour du bouchon du réservoir, enlevez le bouchon et versez du liquide de frein spécifié dans le réservoir jusqu'au niveau correct (Figure 55).
Note: Ne remplissez pas excessivement le réservoir de liquide de frein.
| Périodicité d'entretien | Procédure d'entretien |
|---|---|
| Après les 10 premières heures de fonctionnement |
|
| Toutes les 200 heures |
|
Enlevez la poignée en caoutchouc du levier de frein de stationnement (Figure 56).

Desserrez la vis de fixation du pommeau sur le levier du frein de stationnement (Figure 57).

Tournez le bouton (Figure 57) jusqu'à ce qu'une force de 20 à 22 kg soit nécessaire pour actionner le levier.
Resserrez la vis de maintien pour terminer (Figure 57).
Note: Si vous ne pouvez plus régler le frein de stationnement à l'aide du levier, desserrez la poignée à la moitié du réglage et réglez le câble à l'arrière, puis répétez l'opération 3.
Placez la poignée en caoutchouc sur le levier du frein de stationnement (Figure 56).
| Périodicité d'entretien | Procédure d'entretien |
|---|---|
| Toutes les 200 heures |
|
Note: Enlevez le capot avant pour faciliter la procédure de réglage.
Retirez la goupille fendue et l'axe de chape qui fixent la chape du maître-cylindre au pivot de la pédale de frein (Figure 58).

Soulevez la pédale de frein (Figure 59) jusqu'à ce qu'elle touche le cadre.
Desserrez les écrous de blocage qui fixent la chape à l'arbre du maître-cylindre (Figure 59).
Réglez la chape jusqu'à ce que les trous soient alignés sur celui du pivot de la pédale de frein.
Fixez la chape au pivot de la pédale au moyen de l'axe de chape et de la goupille fendue.
Serrez les écrous de blocage qui fixent la chape à l'arbre du maître-cylindre.
Note: Le maître-cylindre doit évacuer la pression quand il est réglé correctement.

| Périodicité d'entretien | Procédure d'entretien |
|---|---|
| Après les 10 premières heures de fonctionnement |
|
| Toutes les 200 heures |
|
Levez le plateau et placez la béquille de sécurité sur le vérin déployé pour maintenir le plateau levé.
Contrôlez la tension de la courroie en exerçant une force de 10 kg sur le brin à mi-chemin entre les poulies d'alternateur et de vilebrequin (Figure 60).
Note: Une courroie neuve doit avoir une flèche de 8 à 12 mm.
Note: Une courroie usagée doit avoir une flèche de 10 à 14 mm. Si ce n'est pas le cas, passez à l'opération suivante. Si la tension est correcte, poursuivez l'opération.
Pour régler la tension de la courroie, procédez comme suit :
| Périodicité d'entretien | Procédure d'entretien |
|---|---|
| Toutes les 200 heures |
|
Note: Vous pouvez ajuster le câble de la pédale d'embrayage au niveau du carter d'embrayage ou du pivot de la pédale d'embrayage. Vous pouvez déposer le capot avant pour faciliter l'accès au pivot de la pédale.
Desserrez les écrous de blocage qui fixent le câble d'embrayage au support sur le carter d'embrayage (Figure 61).
Note: Vous pouvez enlever et tourner la rotule si un réglage supplémentaire est nécessaire.

Décrochez le ressort de rappel du levier d'embrayage.
Ajustez les écrous de blocage ou la rotule jusqu'à ce que le bord arrière de la pédale d'embrayage soit à une distance de 9,2 à 9,8 cm du haut du plancher quadrillé quand vous appliquez une force de 1,8 kg sur la pédale (Figure 62).

Note: La force est appliquée pour que la butée de débrayage touche légèrement les doigts du plateau de pression.
Serrez les écrous de blocage une fois que vous avez obtenu le bon réglage.
Vérifiez l'écartement de 9,2 à 9,8 cm après avoir serré les écrous de blocage pour que le réglage soit correct.
Note: Réglez à nouveau au besoin.
Accrochez le ressort de rappel au levier d'embrayage.
Important: La tige d'embout doit être d'équerre sur la rotule, sans vriller, et rester parallèle à la pédale d'embrayage quand l'écrou de blocage est serré (Figure 63).
Note: La garde à la pédale d'embrayage ne doit pas être inférieure à 19 mm.

Garez la machine sur une surface plane et horizontale, serrez le frein de stationnement, coupez le moteur et enlevez la clé.
Réglez la rotule sur le câble d'accélérateur (Figure 64) pour obtenir une garde de 2,54 à 6,35 mm entre le bras de la pédale d'accélérateur et le haut du plancher quadrillé (Figure 65) lorsque vous appliquez une force de 11,3 kg au centre de la pédale.
Note: Le moteur ne doit pas tourner et le ressort de rappel doit être accroché.
Serrez le contre-écrou (Figure 64).


Important: Le régime maximum de ralenti accéléré est de 3 650 tr/min. Ne réglez pas la butée de ralenti accéléré.
Consultez immédiatement un médecin si du liquide est injecté sous la peau. Toute injection de liquide hydraulique sous la peau doit être éliminée dans les quelques heures qui suivent par une intervention chirurgicale réalisée par un médecin.
Avant de procéder à des branchements ou des réparations sur le circuit hydraulique, arrêtez le moteur et actionnez la soupape de décharge de levage à descente et/ou abaissez le plateau de chargement et les accessoires pour dépressuriser complètement le circuit. Placez le levier de commande hydraulique à distance en position de flottement. Ne travaillez pas sous le plateau levé sans mettre la béquille de sécurité en place.
Vérifiez l'état de tous les flexibles et conduits hydrauliques, ainsi que le serrage de tous les raccords et branchements avant de mettre le système hydraulique sous pression.
N'approchez pas les mains ni aucune autre partie du corps des fuites en trou d'épingle ou des gicleurs d'où sort du liquide hydraulique sous haute pression.
Utilisez un morceau de papier ou de carton pour détecter les fuites.
Type de liquide de boîte-pont : Dexron III ATF
| Périodicité d'entretien | Procédure d'entretien |
|---|---|
| À chaque utilisation ou une fois par jour |
|
Garez la machine sur une surface plane et horizontale.
Serrez le frein de stationnement.
Coupez le moteur et retirez la clé.
Nettoyez la surface autour de la jauge (Figure 66).

Dévissez la jauge sur le haut de la boîte-pont et essuyez-la sur un chiffon propre.
Revissez complètement la jauge dans la boîte-pont.
Dévissez de nouveau la jauge et vérifiez le niveau d'huile.
Note: Il doit atteindre le haut de la partie plate de la jauge.
Si le niveau est trop bas, faites l'appoint de liquide spécifié pour rétablir le niveau correct ; voir Liquide de boîte-pont/hydraulique spécifié.
| Périodicité d'entretien | Procédure d'entretien |
|---|---|
| Toutes les 800 heures |
|
Capacité de liquide hydraulique : 7 litres
Garez la machine sur une surface plane et horizontale.
Serrez le frein de stationnement.
Coupez le moteur et retirez la clé.
Enlevez le bouchon de vidange sur le côté du réservoir et faites couler le liquide hydraulique dans un bac de vidange (Figure 67).

Notez l'orientation du flexible hydraulique et du raccord à 90° raccordé à la crépine sur le côté du réservoir (Figure 68).
Déposez le flexible hydraulique et le raccord à 90°.
Retirez la crépine et nettoyez-la par rinçage à contre-courant avec un produit dégraissant propre.
Note: Laissez sécher à l'air libre avant de remettre en place.

Posez la crépine.
Branchez le flexible hydraulique et le raccord à 90° à la crépine dans le même sens.
Reposez et resserrez le bouchon de vidange.
Versez environ 7 litres du liquide hydraulique spécifié dans le réservoir ; voir Contrôle du niveau de liquide hydraulique/de la boîte-pont.
Mettez le moteur en marche et conduisez la machine pour remplir le système hydraulique.
Contrôlez le niveau de liquide hydraulique et faites l'appoint au besoin.
Important: Utilisez uniquement le liquide hydraulique spécifié. Tout autre liquide pourrait endommager le système.
| Périodicité d'entretien | Procédure d'entretien |
|---|---|
| Après les 10 premières heures de fonctionnement |
|
| Toutes les 800 heures |
|
Important: L'utilisation de tout autre filtre peut annuler la garantie de certaines pièces.
Garez la machine sur une surface plane et horizontale.
Serrez le frein de stationnement.
Coupez le moteur et retirez la clé.
Nettoyez la zone autour de la surface de montage du filtre.
Placez un bac de vidange sous le filtre et enlevez le filtre (Figure 69).

Lubrifiez le joint du nouveau filtre.
Vérifiez la propreté de la surface de montage du filtre.
Vissez le filtre jusqu'à ce que le joint touche la plaque de montage, puis serrez le filtre d'un demi-tour.
Mettez le moteur en marche et laissez-le tourner environ 2 minutes pour purger l'air du circuit.
Coupez le moteur, vérifiez le niveau de liquide hydraulique et recherchez des fuites éventuelles.
Le réservoir est rempli en usine de liquide hydraulique de haute qualité. Contrôlez néanmoins le niveau du liquide hydraulique avant le tout premier démarrage du moteur, puis tous les jours ; voir Contrôle du niveau de liquide hydraulique du circuit grand débit.
Liquide de remplacement recommandé : liquide hydraulique longue durée « Toro PX Extended Life » ; disponible en bidons de 19 l ou barils de 208 l.
Note: Si vous utilisez le liquide de remplacement recommandé dans la machine vous n'aurez pas besoin de vidanger le liquide et de remplacer le filtre aussi souvent.
Autres liquides possibles : si vous ne disposez pas de liquide hydraulique longue durée Toro PX, vous pouvez utiliser d'autres liquides hydrauliques classiques à base de pétrole à condition qu'ils soient conformes aux caractéristiques physiques et aux spécifications de l'industrie suivantes. N'utilisez pas de liquide synthétique. Consultez votre distributeur de lubrifiants pour identifier un produit qui convient.
Note: Toro décline toute responsabilité en cas de dommage causé par l'utilisation d'huiles de remplacement inadéquates. Utilisez uniquement des produits provenant de fabricants réputés qui répondent de leur recommandation.
| Propriétés physiques : | ||
| Viscosité, ASTM D445 | 44 à 48 cSt à 40 °C | |
| Indice de viscosité, ASTM D2270 | 140 ou plus | |
| Point d'écoulement, ASTM D97 | -37 à -45 °C | |
| Spécifications de l'industrie : | Eaton Vickers 694 (I-286-S, M-2950-S/35VQ25 ou M-2952-S) | |
Note: De nombreux liquides hydrauliques sont presque incolores, ce qui rend difficile la détection des fuites. Un additif colorant rouge pour liquide hydraulique est disponible en bouteilles de 20 ml. Une bouteille suffit pour 15 à 22 litres de liquide hydraulique. Vous pouvez commander ces bouteilles chez les concessionnaires Toro agréés (réf. 44-2500).
| Périodicité d'entretien | Procédure d'entretien |
|---|---|
| À chaque utilisation ou une fois par jour |
|
Garez la machine sur une surface plane et horizontale.
Serrez le frein de stationnement.
Coupez le moteur et retirez la clé.
Nettoyez la surface autour du goulot et du bouchon de remplissage du réservoir hydraulique (Figure 70).
Enlevez le bouchon du goulot de remplissage.

Sortez la jauge (Figure 70) du goulot de remplissage et essuyez-la sur un chiffon propre.
Remettez la jauge dans le goulot de remplissage, ressortez-la et contrôlez le niveau de liquide.
Note: Il doit se situer entre les 2 repères sur la jauge.
Si le niveau est trop bas, ajoutez la quantité d'huile correcte pour atteindre le repère supérieur ; voir Vidange du liquide hydraulique et remplacement du filtre.
Remettez la jauge dans le goulot et revissez le bouchon en place.
Démarrez le moteur et mettez l'accessoire en marche.
Note: Faites-les fonctionner environ 2 minutes pour purger l'air du système.
Important: Le moteur doit être en marche avant le démarrage du circuit hydraulique grand débit.
Arrêtez le moteur et l'accessoire puis recherchez des fuites éventuelles.
| Périodicité d'entretien | Procédure d'entretien |
|---|---|
| Toutes les 800 heures |
|
| Toutes les 1000 heures |
|
| Toutes les 2000 heures |
|
Capacité de liquide hydraulique : 15 l approx
Garez la machine sur une surface plane et horizontale.
Serrez le frein de stationnement.
Coupez le moteur et retirez la clé.
Nettoyez la zone autour de la surface de montage du filtre grand débit (Figure 69).
Placez un bac de vidange sous le filtre et enlevez le filtre.
Note: Si vous ne voulez pas vidanger le liquide, débranchez et bouchez la conduite hydraulique reliée au filtre.
Lubrifiez le joint d'étanchéité du nouveau filtre et vissez le filtre à la main sur la tête de filtre jusqu'à ce que le joint touche la tête. Donnez ensuite 3/4 de tour supplémentaire. Le filtre doit maintenant être étanche.
Versez environ 15 litres de liquide dans le réservoir hydraulique.
Mettez le moteur en marche et laissez-le tourner au ralenti pendant 2 minutes environ pour faire circuler le liquide et supprimer l'air encore présent dans le système.
Coupez le moteur et vérifiez de nouveau le niveau de liquide.
Contrôlez le niveau de liquide.
Débarrassez-vous correctement du liquide.
Le plateau peut être levé en cas d'urgence sans mettre le moteur en marche, en actionnant le démarreur ou en reliant le système hydraulique à un système de secours.
Actionnez le démarreur tout en maintenant le levier de commande en position de levage. Actionnez le démarreur pendant 10 secondes, puis attentez 60 secondes avant de l'actionner de nouveau. Si le moteur ne tourne pas au démarreur, vous devez décharger le plateau (accessoire) puis l'enlever pour effectuer l'entretien du moteur ou de la boîte-pont.
Le plateau levé peut s'abaisser brusquement si la béquille de sécurité n'est pas en place alors qu'il est plein. Le travail sous le plateau élevé et non soutenu peut causer des blessures à vous-même ou à d'autres personnes.
Avant de procéder à tout entretien ou réglage de la machine, garez-la sur une surface plane et horizontale, serrez le frein de stationnement, coupez le contact et enlevez la clé du commutateur d'allumage.
Déchargez complètement le plateau ou autre accessoire et insérez la béquille de sécurité sur une tige de vérin entièrement déployé avant de travailler sous le plateau levé.
Cette opération nécessite 2 flexibles hydrauliques, munis chacun d'un coupleur rapide mâle et femelle, qui s'adaptent aux coupleurs de la machine.
Faites reculer une autre machine derrière celle qui est en panne.
Important: Le système hydraulique de la machine utilise du Dexron III ATF. Pour éviter de contaminer le système, la machine utilisée pour dépanner le système hydraulique doit utiliser un liquide équivalent.
Sur les deux machines, débranchez les 2 flexibles à coupleurs rapides des flexibles fixés au support de coupleur (Figure 71).

Sur la machine en panne, branchez les 2 flexibles de dépannage aux flexibles débranchés (Figure 72).
Obturez les deux raccords inutilisés.

Sur l'autre machine, branchez les 2 flexibles au coupleur se trouvant encore dans le support (branchez le flexible supérieur au coupleur supérieur et le flexible inférieur au coupleur inférieur) (Figure 73).
Obturez les deux raccords inutilisés.

Ne laissez personne s'approcher des machines.
Démarrez la seconde machine et placez le levier de commande en position de levage pour soulever le plateau en panne.
Placez le levier de commande hydraulique en position NEUTRE et engagez le verrouillage du levier.
Placez la béquille de sécurité du plateau sur le vérin de levage déployé ; voir Utilisation de la béquille de sécurité du plateau.
Note: Après avoir coupé le moteur des deux machines, déplacez le levier de commande d'avant en arrière pour dépressuriser le système et faciliter le débranchement des coupleurs rapides.
Une fois l'opération terminée, débranchez les flexibles de dépannage et branchez les flexibles hydrauliques aux deux machines.
Important: Vérifiez les niveaux de liquide hydraulique sur les deux machines avant de reprendre le travail.
Au besoin, lavez la machine seulement avec de l'eau ou en y ajoutant un détergent doux. Vous pouvez laver la machine à l'aide d'un chiffon.
Important: Ne nettoyez pas la machine avec de l'eau saumâtre ou recyclée.
Important: N'utilisez pas un jet à haute pression pour laver la machine. Cela pourrait endommager le système électrique, décoller des autocollants importants ou enlever la graisse nécessaire aux points de frottement. N'utilisez pas trop d'eau près du panneau de commande, du moteur et de la batterie.
Important: Ne lavez pas la machine pendant que le moteur tourne. Cela pourrait causer des dommages internes au moteur.
Avant de quitter la position d'utilisation, coupez le moteur, enlevez la clé et attendez l'arrêt complet de tout mouvement. Laissez refroidir la machine avant de la régler, d'en faire l'entretien, de la nettoyer ou de la remiser.
Ne rangez pas la machine ni les bidons de carburant à proximité d'une flamme nue, d'une source d'étincelles ou d'une veilleuse, telle celle d'un chauffe-eau ou autre appareil.
| Périodicité d'entretien | Procédure d'entretien |
|---|---|
| Après les 50 premières heures de fonctionnement |
|
| Toutes les 200 heures |
|
| Toutes les 400 heures |
|
| Toutes les 600 heures |
|
Garez la machine sur une surface plane et horizontale, serrez le frein de stationnement, coupez le moteur et enlevez la clé.
Éliminez toutes les saletés et impuretés se trouvant sur la machine, y compris à l'extérieur des ailettes de la culasse et du boîtier du ventilateur.
Contrôlez les freins ; voir Contrôle du niveau de liquide de frein.
Faites l'entretien du filtre à air ; voir Entretien du filtre à air.
Bouchez l'entrée et l'orifice de sortie du filtre à air avec du ruban imperméable.
Graissez la machine ; voir Graissage des roulements et bagues.
Vidangez l'huile moteur et remplacez le filtre à huile ; voir Vidange de l'huile moteur et remplacement du filtre à huile.
Rincez le réservoir de carburant avec du gazole propre et frais.
Branchez tous les raccords du circuit d'alimentation.
Contrôlez la pression des pneus ; voir Contrôle de la pression des pneus.
Vérifiez la protection antigel et ajoutez un mélange 50/50 d'eau et d'antigel en fonction de la température minimale anticipée dans la région.
Déposez la batterie du châssis, contrôlez le niveau d'électrolyte et chargez la batterie au maximum ; voir Entretien de la batterie.
Note: Ne laissez pas les câbles connectés aux bornes de la batterie durant le remisage.
Important: La batterie doit être chargée au maximum pour éviter de geler et de subir des dommages à des températures inférieures à 0 °C. Une batterie chargée au maximum conserve sa charge durant environ 50 jours à des températures inférieures à 4 °C. Si la température doit dépasser 4 °C, vérifiez le niveau d'eau dans la batterie et chargez-la tous les 30 jours.
Contrôlez et resserrez tous les boulons, écrous et vis. Réparez ou remplacez toute pièce endommagée.
Peignez toutes les surfaces métalliques éraflées ou mises à nu.
Une peinture pour retouches est disponible chez les concessionnaires-réparateurs agréés.
Rangez la machine dans un endroit propre et sec, comme un garage ou une remise.
Couvrez la machine pour la protéger et la garder propre.
| Problem | Possible Cause | Corrective Action |
|---|---|---|
| Les coupleurs rapides sont difficiles à débrancher. |
|
|
| La direction assistée est dure. |
|
|
| Le raccord hydraulique fuit. |
|
|
| Un accessoire ne fonctionne pas. |
|
|
| Le moteur ne démarre pas. |
|
|