Wartung
Note: Bestimmen Sie die linke und rechte Seite der Maschine anhand der üblichen Einsatzposition.
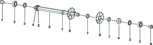
Zerlegen der Vertikutiermesser-Baugruppe
Zerlegen Sie die Vertikutiermesser-Baugruppe, wenn Sie ein Messer auswechseln oder die Lager austauschen müssen.
-
Halten Sie die Klemmmutter am Ende der Baugruppe, das die Unterlegscheibe enthält, in einem Schraubstock.
Note: Entfernen Sie nicht die Unterlegscheibe oder die Mutter auf dieser Seite der Baugruppe.
-
Entfernen Sie die Sechskantschraube, das Lager und die Flockdichtung.
-
Entfernen Sie am anderen Ende der Welle den Keilwelleneinsatz mit dem Linksgewinde.
Achtung
Die Messer sind sehr scharf und haben ggf. Kerben, an denen Sie sich schneiden können.
Tragen Sie Handschuhe und gehen Sie vorsichtig vor, wenn Sie die Messer von der Welle entfernen.
-
Entfernen Sie das Lager, die Flockdichtung, die Messer und die Distanzstücke. Reinigen und schmieren Sie die Welle mit etwas Schmiermittel ein, um die Montage zu vereinfachen.

-
Tragen Sie mittelfestes Gewindesicherungsmittel (z. B. Blue Loctite 243) auf das Gewinde des Keilwelleneinsatzes, der Sechskantschraube und der Klemmmutter auf, wenn Sie die Vertikutiermesser-Baugruppe zusammenbauen.
Important: Die Einbaureihenfolge ist sehr wichtig. Drehen Sie die Messer beim Zerlegen nicht um und kehren Sie die Reihenfolge beim Zusammenbau nicht um. Achten Sie auf das Indexloch an jedem Messer. Das Indexloch wird für den Einbau bereitgestellt, um die richtige Helix zu erhalten. Drehen Sie das Messer mit Hilfe des Indexlochs um eine Helix flach gegen den Uhrzeigersinn für jedes nachfolgende Messer, um die richtige Spiralanordnung der Vertikutiermesser zu erhalten.

-
Ziehen Sie den Keilwelleneinsatz mit dem Gewinde, die Sechskantschraube und die Klemmmutter mit einem Drehmoment von 108 bis 135 N∙m an.
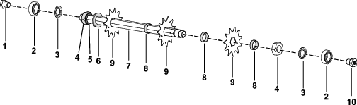
Zerlegen der Vertikutiermesser-Baugruppe
Zerlegen Sie die Vertikutiermesser-Baugruppe, wenn Sie ein Messer auswechseln oder die Lager austauschen müssen.
-
Halten Sie die Klemmmutter am Ende der Baugruppe, das die Unterlegscheibe enthält, in einem Schraubstock.
Note: Entfernen Sie nicht die Unterlegscheibe oder die Mutter auf dieser Seite der Baugruppe.
-
Entfernen Sie die Sechskantschraube, das Lager und die Flockdichtung.
-
Entfernen Sie am anderen Ende der Welle den Keilwelleneinsatz mit dem Linksgewinde.
Achtung
Die Messer sind sehr scharf und haben ggf. Kerben, an denen Sie sich schneiden können.
Tragen Sie Handschuhe und gehen Sie vorsichtig vor, wenn Sie die Messer von der Welle entfernen.
-
Entfernen Sie das Lager, die Flockdichtung, die Messer und die Distanzstücke. Reinigen und schmieren Sie die Welle mit etwas Schmiermittel ein, um die Montage zu vereinfachen.
Note: Das Federstahlmesserkit besitzt eine große Unterlegscheibe und ein zusätzliches Messer, das vor dem ersten Distanzstück angebracht ist, wie unten dargestellt.

-
Tragen Sie mittelfestes Gewindesicherungsmittel (z. B. Blue Loctite 243) auf das Gewinde des Keilwelleneinsatzes, der Sechskantschraube und der Klemmmutter auf, wenn Sie die Vertikutiermesser-Baugruppe zusammenbauen.
-
Ziehen Sie den Keilwelleneinsatz mit dem Gewinde, die Sechskantschraube und die Klemmmutter mit einem Drehmoment von 108 bis 135 N∙m an.
Warten der Rolle
Für das Warten der Grünsrolle ist ein Kit zum Überholen der Grünsrolle (Bestellnummer 140-5552) und ein Werkzeugkit (Bestellnummer 140-5553) (Bild 9) erhältlich. Das Kit zum Überholen der Rolle enthält alle Lager, Lagermuttern und Dichtungen, die für eine Überholung einer Rolle benötigt werden.
Der Werkzeugkasten zum Überholen der Rolle enthält alle Werkzeuge und die Installationsanweisungen, die für eine Überholung der Rollen mit dem Kit zum Überholen der Rollen benötigt werden. Weitere Informationen finden Sie im Ersatzteilkatalog oder wenden Sie sich an den Vertragshändler.



, es bedeutet Vorsicht,
Warnung oder Gefahr – Sicherheitshinweis“. Wenn
diese Hinweise nicht beachtet werden, kann es zu schweren bis tödlichen
Verletzungen kommen.



