Údržba
Note: Z lokality www.Toro.com si prevezmite bezplatnú kópiu schémy zapojenia elektrického alebo hydraulického systému a pomocou prepojenia zameraného na príručky na domácej stránke vyhľadajte svoj stroj.
Dôležité upozornenie
Práca na stroji pred odpojením všetkých zdrojov napájania by mohla zapríčiniť vážne zranenie alebo smrť.
Pred vykonávaním údržby odpojte od stroja všetky zdroje napájania.
Bezpečnosť pri údržbe
-
Pred vykonávaním servisu alebo úprav stroj zastavte, vypnite motor, zatiahnite parkovaciu brzdu, vyberte kľúč a počkajte, kým sa všetky pohyblivé časti neprestanú pohybovať.
-
Vykonávajte len pokyny údržby popísané v tejto príručke. V prípade potreby veľkých opráv alebo pomoci sa obráťte na autorizovaného distribútora spoločnosti Toro.
-
Uistite sa, že je stroj v bezpečnom prevádzkovom stave tým, že budú všetky matice a skrutky neustále utiahnuté.
-
Ak je to možné, nevykonávajte údržbu pri spustenom motore. Nepribližujte sa k pohyblivým častiam.
-
Nekontrolujte ani neupravujte napnutie reťaze, kým motor ťažného vozidla beží.
-
Opatrne uvoľnite tlak z komponentov s uloženou energiou.
-
Keď pracujete pod strojom, podoprite ho blokmi alebo skladovacími stojanmi. Nikdy sa nespoliehajte na hydrauliku ťažného vozidla, že podoprie stroj.
-
Denne kontrolujte koncové montážne skrutky a uistite sa, že sú utiahnuté podľa špecifikácie.
-
Po vykonaní údržby alebo úprav stroja sa uistite, že je kapota zatvorená a zaistená západkou a že sú nasadené všetky kryty.
Mazanie
Mazanie stroja
| Servisný interval | Postup pri údržbe |
|---|---|
| Po prvých 25 hodinách |
|
| Po každých 40 hodinách prevádzky |
|
-
Používajte univerzálne automobilové mazivo.
-
Namažte všetky ložiská, puzdrá a reťaze.
Niekoľko mazacích armatúr sa nachádza na stroji (Obrázok 55 a Obrázok 56).
-
Vyčistite mazacie armatúry.
-
Do ložísk a puzdier napumpujte mazivo.
-
Prebytočné mazivo vyčistite.


Mazanie ťažného podvozka
| Servisný interval | Postup pri údržbe |
|---|---|
| Po prvých 25 hodinách | |
| Každý rok alebo pred uskladnením |
Používajte univerzálne automobilové mazivo.
-
Vyčistite mazacie armatúry (Obrázok 57).
-
Do ložísk a puzdier napumpujte mazivo.
-
Prebytočné mazivo vyčistite.

Mazanie ložísk kolies
| Servisný interval | Postup pri údržbe |
|---|---|
| Po každých 300 hodinách prevádzky |
|
Vyčistite a zbaľte ložiská kolies.
Kontrola pneumatík a kolies
| Servisný interval | Postup pri údržbe |
|---|---|
| Pri každom použití alebo denne |
|
-
Skontrolujte tlak vzduchu v pneumatikách ťažného vozidla. Pozrite si používateľskú príručku k ťažnému vozidlu.
-
Skontrolujte, či je tlak vzduchu v pneumatikách voliteľného ťažného podvozka 69 kPa alebo či spĺňa odporúčania výrobcu pneumatík.
-
Skontrolujte, či nie sú pneumatiky nadmerne poškodené alebo opotrebované.
-
Skontrolujte, či sú utiahnuté skrutky kolies a či žiadna skrutka nechýba.
Bezpečnosť pri práci s hydraulickým systémom
-
Pred natlakovaním hydraulického systému skontrolujte, či sú všetky hadice a vedenia hydraulickej kvapaliny v dobrom stave a či sú všetky hydraulické spojenia a armatúry pevne utiahnuté.
-
V prípade vstreknutia kvapaliny pod pokožku ihneď vyhľadajte lekársku pomoc. Vstreknutú kvapalinu musí lekár chirurgicky odstrániť v priebehu niekoľkých hodín.
-
Nepribližujte sa žiadnou časťou tela ani rukami k otvorom ani dýzam, z ktorých uniká hydraulická kvapalina pod vysokým tlakom.
-
Na zisťovanie únikov hydraulickej kvapaliny používajte kartón alebo papier.
-
Pred vykonaním ľubovoľnej práce na hydraulickom systéme uvoľnite z hydraulického systému všetok tlak.
Špecifikácia hydraulickej kvapaliny
Stroj sa vo výrobe plní vysokokvalitnou hydraulickou kvapalinou. Pred prvým naštartovaním stroja a potom každý deň kontrolujte hladinu hydraulickej kvapaliny. Odporúčaná kvapalina na výmenu:
| Prémiový prevodový olej/hydraulická kvapalina od spoločnosti Toro pre traktory (K dispozícii v 19 l nádobách alebo 208 l bubnoch. Čísla dielov nájdete v katalógu dielov alebo vám ich poskytne distribútor spoločnosti Toro.) |
Alternatívne kvapaliny: ak nie je k dispozícii špecifikovaná kvapalina, môžete použiť iné univerzálne hydraulické kvapaliny pre traktory, musí však ísť len o bežné výrobky na báze ropy, nie syntetické ani biologicky rozložiteľné kvapaliny. Špecifikácie musia zodpovedať rozsahu uvedenému v zozname pre všetky nasledujúce vlastnosti materiálu a kvapalina musí spĺňať uvedené priemyselné normy. Informácie o tom, či kvapalina spĺňa tieto špecifikácie, vám poskytne dodávateľ kvapaliny.
Note: Spoločnosť Toro nenesie žiadnu zodpovednosť za škody spôsobené použitím nevhodných náhradných hydraulických kvapalín. Používajte preto len produkty od renomovaných výrobcov, ktorí ručia za svoje odporúčania.
| Vlastnosti materiálu: | |
| Viskozita, ASTM D445 | cSt pri 40 °C, 55 až 62 |
| Index viskozity, ASTM D2270 | 140 až 152 |
| Bod tuhnutia, ASTM D97 | –37 °C až –43 °C |
| Priemyselné parametre: API GL-4, AGCO Powerfluid 821 XL, Ford New Holland FNHA-2-C-201.00, Kubota UDT, John Deere J20C, Vickers 35VQ25 a Volvo WB-101/BM | |
Note: Mnoho hydraulických kvapalín je takmer bezfarebných, takže je ťažké zistiť netesnosti. K dispozícii je prísada do hydraulického olejového systému s červeným farbivom dodávaná v 20 ml fľašiach. Jedna fľaša postačuje na 15 – 22 l hydraulickej kvapaliny. Objednajte si od autorizovaného distribútora spoločnosti Toro diel č. 44-2500.
Kontrola hydraulického systému
| Servisný interval | Postup pri údržbe |
|---|---|
| Pri každom použití alebo denne |
|
-
Skontrolujte, či z hydraulického systému neuniká kvapalina. Ak nájdete únik, utiahnite armatúru alebo poškodenú časť vymeňte či opravte.
-
Skontrolujte, či nie sú hydraulické hadice opotrebované alebo viditeľne poškodené.
-
V prípade strojov s voliteľným sieťovým zdrojom na hydraulický pohon skontrolujte hladinu hydraulickej kvapaliny v nádrži. V prípade potreby do nádrže dolejte kvapalinu.
-
V prípade strojov využívajúcich hydraulický výkon z ťažného vozidla skontrolujte hladinu hydraulickej kvapaliny v ťažnom vozidle. Pozrite si používateľskú príručku k ťažnému vozidlu.
Údržba plošiny a násypníka
Kontrola zadných dvierok
| Servisný interval | Postup pri údržbe |
|---|---|
| Pri každom použití alebo denne |
|
Skontrolujte, či sa nastaviteľná časť zadných dvierok otvára a zatvára bez zachytávania.
Skladovanie a kontrola stojanov
| Servisný interval | Postup pri údržbe |
|---|---|
| Pri každom použití alebo denne |
|
-
Pred prepravou odložte stojany do vrchnej polohy. Na podvozku priamej prípojky Truckster sa stojany odkladajú v zadnej časti stroja.
-
Skontrolujte, či nie sú poškodené čap závesu a stojan a či je poistný čap na mieste. (Ak poistné čapy chýbajú alebo sú poškodené, vymeňte ich.)
-
Skontrolujte, či sú prípojky závesu pevne utiahnuté.
Kontrola ďalších komponentov
| Servisný interval | Postup pri údržbe |
|---|---|
| Pri každom použití alebo denne |
|
-
Skontrolujte čepele na diskoch dvojitej odstredivky, či nie sú opotrebované. Ak sú zodraté, vymeňte ich.
-
Skontrolujte, či nie je puzdro dvojitej odstredivky prasknuté alebo zhrdzavené. V prípade potreby opotrebované disky vymeňte.
-
Skontrolujte, či nie sú bezpečnostné štítky poškodené alebo nečitateľné. Ak áno, vymeňte ich.
Zdvíhanie a spúšťanie zadných prístupových dverí
Dôležité upozornenie
Stroj je vybavený bezpečnostným vypínačom v pravom hornom rohu zadných prístupových dverí. Ak sú dvere zatvorené, stroj by nemal byť v prevádzke.
-
Nepokúšajte sa prevádzkovať stroj s otvorenými zadnými prístupovými dverami.
-
Ak tento spínač nefunguje správne, stroj neprevádzkujte. Obráťte sa na autorizovaného predajcu spoločnosti Toro.
-
Odpojte dverové západky z hákov a sklopte zadné prístupové dvere.

Important: Pred spustením stroja sa uistite, že sú zadné prístupové dvere úplne otvorené a bezpečne zaistené.
-
Zdvihnite zadné prístupové dvere a zaháknite rukoväte do hákov v hornej časti zadných prístupových dverí.
Údržba systému dopravného pásu
Kontrola tesnenia pásu a tesnenia zadných dvierok
| Servisný interval | Postup pri údržbe |
|---|---|
| Pri každom použití alebo denne |
|
-
Skontrolujte všetky gumené tesnenia, či nie sú opotrebované alebo poškodené. Ak dôjde k úniku, tesnenia vymeňte alebo opravte.
-
Skontrolujte a nastavte čistiaci škrabák dopravného pásu. Skontrolujte, či sa škrabák úplne dotýka pásu po celej dĺžke.
Kontrola dopravného pásu a valcov
-
Skontrolujte, či sa dopravný pás pohybuje priamo na valcoch a či sa nezošmykol – v prípade potreby vykonajte potrebné úpravy. Pozrite si časť Nastavenie zarovnania dopravného pásu.
-
Každé 2 mesiace kontrolujte, či nie sú ložiská predných a zadných valcov opotrebované alebo viditeľne poškodené.
-
Skontrolujte stav a napnutie hnacej reťaze a reťazových kolies.
Important: Skontrolujte rozmetaný materiál uviaznutý medzi plošinou dopravného pásu, pásom a valcami. Pozrite si časť Umývanie stroja.
Nastavenie napnutia dopravného pásu
Pás napínajte len vtedy, keď sa šmýka, ak ste ho vymenili alebo uvoľnili pri výmene iných dielov.
-
Vedenie tvaru V pásu umiestnite do vedení predných a zadných valcov.
-
Rovnomerne uťahujte 2 nastavovacie matice pásu, kým sa pás nenapne.
Note: V prípade potreby zložte kryt predného valca riadenia a znížte zadné prístupové dvere.
-
Stroj úplne naložte najťažším materiálom, aký plánujete používať.
-
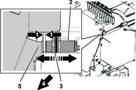
Pomocou 2 kľúčov pridržte na mieste koniec tyče napínača a potom uvoľnite poistnú maticu, ktorá sa nachádza najbližšie ku koncu tyče (Obrázok 59).

-
Zapnite dopravný pás a skontrolujte, či sa pás nešmýka.
-
Ak áno, zastavte pás a utiahnite nastavovacie matice o pol otočenia. Neuťahujte ich nadmerne.
-
Kroky 5 až 6 opakujte dovtedy, kým sa dopravný pás neprestane šmýkať.
-
Utiahnite poistné matice a nasaďte žlté bezpečnostné kryty.
Nastavenie zarovnania dopravného pásu
Systém dopravného pásu sa zarovnáva automaticky. Predné aj zadné valce majú v strede drážku, do ktorej sa umiestňuje Vedenie tvaru V pásu. Niekedy sa pás dostane mimo drážok. Ak chcete pás zarovnať, postupujte takto:
-
Určite, ku ktorej strane sa má pás zarovnať.
-
Z oboch predných rohov zložte bezpečnostné kryty.
-
Na strane, na ktorej sa pás zarovnáva, pridržte na mieste koniec tyče napínača, potom uvoľnite poistnú maticu a utiahnite nastavovaciu maticu o 2 plochy matice (Obrázok 59).
-
Utiahnite obe poistné matice a zapnite dopravný pás.
-
Skontrolujte pohyb pri zarovnaní. Vyššie uvedené kroky opakujte dovtedy, kým sa pás nezarovná do správnej polohy.
Important: Buďte trpezliví! Pás príliš nenapínajte.
-
Nasaďte oba bezpečnostné kryty.
Odstránenie upchatia dopravníkového pásu
Important: Neodstraňujte prekážky z dopravníkového pásu rukami.
-
Otvorte zadné prístupové dvere. Pozrite si Zdvíhanie a spúšťanie zadných prístupových dverí.
-
Pomocou čistiaceho nástroja rozdrvte a odstráňte prekážky z dopravníkového pásu.

-
Zatvorte zadné prístupové dvere. Pozrite si Zdvíhanie a spúšťanie zadných prístupových dverí.
Umývanie stroja
Soli, cestný decht, miazga stromov, hnojivá alebo chemické látky môžu poškodiť náter stroja. Tieto nánosy odstraňujte čo možno najskôr čistiacim prostriedkom a vodou. Vyžadovať sa môžu ďalšie čistiace prostriedky alebo rozpúšťadlá, no uistite sa, či ich možno bezpečne používať na natreté povrchy.
Dôležité upozornenie
Horľavé kvapaliny a čistiace prostriedky s toxickými výparmi sú zdraviu škodlivé.
Nepoužívajte horľavé kvapaliny ani čistiace prostriedky s toxickými výparmi. Dodržiavajte odporúčania výrobcu.
Important: Nepoužívajte vysokotlakové čistiace nástroje. Môžu odstrániť náter, bezpečnostné štítky a mazivo a môžu tiež poškodiť komponenty.
-
Pred čistením demontujte doplnok a umyte ho samostatne.
-
Demontujte ručný ovládač.
-
Teleso stroja umývajte teplou vodou a jemným čistiacim prostriedkom.
-
Skôr než zvyšky čistiaceho prostriedku zaschnú, vypláchnite ich dôsledne čistou vodou.
-
Znížte zadné prístupové dvere. Pozrite si Zdvíhanie a spúšťanie zadných prístupových dverí.
-
Demontujte zostavu čistiaceho škrabáka pásu zo zadnej časti stroja (Obrázok 61).

-
Prednú časť stroja zdvihnite podľa potreby čo najvyššie.
-
Ak máte stroj namontovaný na nákladnom vozidle, použite zdvíhací valec ťažného vozidla. Postupujte podľa návodu na obsluhu ťažného vozidla.
-
Ak máte ťažný podvozok alebo podvozok priamej prípojky Truckster, použite stojan na podvozku.
-
Úplne otvorte zadné dvierka a vodou vystriekajte vnútornú časť zostavy násypníka a zadné dvierka. Skontrolujte bočné tesnenia a v prípade potreby ich vymeňte.
-
V prednej časti stroja vyhľadajte štítok s informáciami o čistení (Obrázok 62) a pomocou záhradnej hadice vystriekajte cez prednú mriežku krytu spodnú nádobu, kým z nej nevymyjete všetok materiál (Obrázok 63).
Note: Po zložení krytov na účely mazania využite príležitosť a vymyte všetok uviaznutý rozmetávaný materiál.


-
Skontrolujte násypník, spodný kryt, dopravný pás, plošinu a valce a uistite sa, že sa odstránil všetok zachytený materiál.
-
Stroj znova spustite do bežnej prevádzkovej polohy.
-
Namontujte zostavu čistiaceho škrabáka pásu. Zatlačte montážnu tyč škrabáka na pás. Uistite sa, že je škrabák v čo najzvislejšej polohe, no stále v kontakte s pásom.
-
Zdvihnite zadné prístupové dvere a bezpečne ich zaistite. Pozrite si Zdvíhanie a spúšťanie zadných prístupových dverí.








, ktorý znamená
Upozornenie, Varovanie alebo Nebezpečenstvo – osobné
bezpečnostné pokyny. Nedodržanie týchto
pokynov môže zapríčiniť zranenie
alebo smrť.















































































