| Servisní interval | Postup při údržbě |
|---|---|
| Při každém použití nebo denně |
|
Tento stroj ovládá obsluha za chůze. Je určen k použití profesionálními pracovníky najímanými pro komerční účely. Stroj je určen zejména k provzdušňování velkých ploch na dobře udržovaných travnatých plochách v parcích, na golfových a sportovních hřištích a na komerčních pozemcích. Používání tohoto výrobku pro jiné účely, než ke kterým je určen, může být nebezpečné uživateli i přihlížejícím osobám.
Přečtěte si pečlivě následující informace. Dozvíte se, jak správně výrobek používat a jak jej udržovat a jak zabránit poškození výrobku a úrazu při práci s ním. Za řádnou a bezpečnou obsluhu výrobku nesete odpovědnost vy.
Na stránkách www.Toro.com najdete informace o bezpečnosti výrobku, podklady pro zaškolení obsluhy a informace o příslušenství. Můžete zde také vyhledat prodejce výrobků Toro nebo zaregistrovat svůj výrobek.
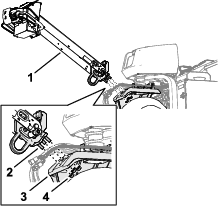
Kdykoli budete potřebovat servis, originální díly Toro nebo doplňující informace, obraťte se na autorizovaného prodejce Toro a uveďte model a výrobní číslo svého výrobku. Obrázek 1 znázorňuje umístění modelového a sériového čísla na výrobku. Tyto údaje zapište do následujícího pole.

Varovný bezpečnostní symbol (Obrázek 2), který je uveden jak v této příručce, tak na stroji, označuje důležité bezpečnostní zprávy, které v zájmu předcházení nehodám musíte dodržovat.

Varovný bezpečnostní symbol se zobrazuje nad informacemi, které vás upozorňují na nebezpečné činnosti nebo situace, za kterým následuje slovo NEBEZPEČÍ, VAROVÁNÍ nebo UPOZORNĚNÍ.
NEBEZPEČÍ označuje bezprostředně nebezpečnou situaci, která povede k nebezpečí vážného zranění nebo smrti, pokud jí nebude zabráněno.
VAROVÁNÍ označuje potenciálně nebezpečnou situaci, která může vést k vážnému zranění nebo smrti, pokud jí není zabráněno.
UPOZORNĚNÍ označuje potenciálně nebezpečnou situaci, která může vést k lehkému nebo mírnému zranění, pokud jí není zabráněno.
V této příručce jsou pro zdůraznění informací používána další dvě slova. Důležité upozorňuje na speciální technické informace a Poznámka zdůrazňuje obecné informace, které zasluhují zvláštní pozornost.
Tento výrobek splňuje všechny příslušné směrnice Evropské unie. Podrobné informace naleznete v Prohlášení o shodě k tomuto výrobku.
Vzhledem k tomu, že v některých oblastech platí místní, státní nebo federální předpisy, jež vyžadují použití lapače jisker na motoru tohoto stroje, na přání je k dispozici lapač jisker. Pokud potřebujete lapač jisker, obraťte se na autorizovaného prodejce Toro. Originální lapače jisker Toro jsou schváleny institucí USDA Forestry Service.
Přiložená uživatelská příručka k motoru obsahuje informace o předpisech pro ochranu životního prostředí vydaných organizacemi EPA (US Environmental Protection Agency) a Řízení kontroly emisí státu Kalifornie (California Emission Control Regulation) a týkajících se emisních systémů, údržby a záruky. Náhradní uživatelskou příručku k motoru je možné objednat u výrobce motoru.
Pokud je tento stroj vybaven systémem telematiky, obraťte se na autorizovaného prodejce Toro, který vám poskytne pokyny k jeho aktivaci.
CALIFORNIA
Důležité upozornění, poučka 65
Výfukové plyny tohoto výrobku obsahují chemikálie, které podle znalostí státu Kalifornie mohou způsobit rakovinu, vrozené vady a jiná poškození spojená s reprodukčním systémem.
Vývody baterie, svorky a související príslušenství obsahují olovo a slouceniny olova, tj. chemikálie, které jsou ve státe Kalifornie známy jako látky škodlivé pro reprodukcní orgány a vyvolávající rakovinu. Po manipulaci s baterií si rádne omyjte ruce.
Používání tohoto výrobku může způsobit vystavení účinkům chemikálií, které jsou státu Kalifornie známy jako karcinogenní, mutagenní nebo reprotoxické.
Tento výrobek může způsobit zranění. Vždy dodržujte všechny bezpečnostní pokyny, abyste zamezili vážnému úrazu.
Před spuštěním motoru se s obsahem provozní příručky důkladně seznamte.
Při práci se strojem buďte maximálně opatrní. Neprovádějte žádné činnosti, jež by odváděly vaši pozornost, neboť byste mohli způsobit zranění nebo poškození majetku.
Mějte ruce a nohy v dostatečné vzdálenosti od pohybujících se částí stroje.
Nikdy neprovozujte stroj, pokud nejsou všechny jeho kryty a jiná bezpečnostní ochranná zařízení funkční a ve správné poloze.
Při práci udržujte stroj v dostatečné vzdálenosti od přihlížejících osob.
Držte se v bezpečné vzdálenosti od zadní části stroje s hroty. Přihlížející osoby a zvířata se musejí zdržovat ve vzdálenosti od stroje.
Do pracovního prostoru nesmí vstupovat děti. Nikdy nedovolte, aby děti se strojem pracovaly.
Před prováděním údržby, doplňováním paliva nebo uvolňováním materiálu, který stroj ucpal, zaparkujte stroj na rovném povrchu, úplným zvednutím a zajištěním ovládací oje zatáhněte parkovací brzdu, vypněte motor, vyjměte klíč a počkejte, dokud se nezastaví všechny pohybující se součásti.
Nesprávné používání
nebo údržba stroje mohou vést ke zranění.
Abyste snížili riziko zranění, dodržujte
tyto bezpečnostní pokyny a vždy věnujte
pozornost výstražnému symbolu
, který označuje
upozornění, výstrahu nebo nebezpečí –
pokyny k zajištění osobní bezpečnosti.
Nedodržení těchto pokynů může
mít za následek zranění osob nebo jejich
usmrcení.
![]() |
Bezpečnostní štítky a pokyny nemůže pracovník obsluhy přehlédnout, neboť jsou viditelně umístěny v blízkosti každého místa představujícího potenciální nebezpečí. Poškozené nebo chybějící štítky nahraďte novými. |
















Note: Přední část stroje se nachází u rukojeti obsluhy; jedná se o normální pozici obsluhy. Levá a pravá strana se určuje ve vztahu ke směru jízdy při chůzi se strojem za vámi.
Note: Chcete-li zvednout jádrovací hlavu po vyjmutí stroje z bedny, uvolněte ovládací tyč provzdušňování a spusťte motor; další informace viz Startování motoru a Zvednutí jádrovací hlavy.
Díly potřebné k provedení tohoto kroku:
| Montážní celek kola | 2 |
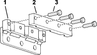
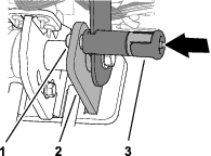
Note: Pokud je to možné, ke zvednutí zadní části stroje použijte zvedák. Jako upevňovací body zvedáku použijte oka v ložiskových pouzdrech jádrovací hlavy (Obrázek 3).

V zadní části stroje demontujte 4 upevňovací matice, které zajišťují zadní část stroje k držákům přepravní palety.
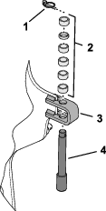
Namontujte montážní celek kola ke každému náboji zadního kola pomocí 4 upevňovacích matic (Obrázek 4).

Utáhněte matice na utahovací moment 61 až 75 Nm (45 až 55 ft-lb).
Kroky 1 až 3 zopakujte na druhé straně stroje.
Upravte tlak ve všech pneumatikách na hodnotu 0,83 bar (83 kPa).
Díly potřebné k provedení tohoto kroku:
| Ovládací oj | 1 |
| Pojistná matice (½ in) | 3 |
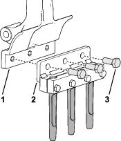
Zasuňte závitové čepy na konci ovládací oje do otvorů v rameni řízení (Obrázek 5).
Note: Požádejte další osobu, aby ovládací oj podržela.

Našroubujte pojistné matice s nákružkem (½ in) na 3 závitové čepy.
Matice utáhněte na utahovací moment 91 až 113 Nm (67 až 83 ft-lb).
Otočte ovládací oj nahoru a zajistěte ji pomocí zajišťovacího kolíku ovládací oje (Obrázek 6).

Přípojnou část brzdového lanka veďte pod spodní částí kanálu ovládací oje (Obrázek 7).

Nasaďte přípojnou část brzdového lanka na vidlicový čep a přípojnou část zajistěte k čepu pomocí podložky a závlačky.
Veďte 6pólový a 12pólový konektor kabelového svazku stroje průchodkou v kanálu ovládací oje (Obrázek 8).

Zapojte 12pólový konektor kabelového svazku stroje do 12zdířkového konektoru kabelového svazku ovládací oje (Obrázek 9).

Zapojte 6pólový konektor kabelového svazku stroje do 6zdířkového konektoru kabelového svazku ovládací oje.
Zasuňte zásuvný úchyt kabelového svazku stroje do otvoru v kanálu ovládací oje (Obrázek 10).

Zasuňte zásuvný úchyt kabelového svazku stroje do otvoru ve vodicí konzole.
Kabelový svazek stroje zajistěte ke kanálu ovládací oje pomocí stahovací pásky, kterou protáhnete otvory v kanálu (Obrázek 11).

Připevněte kabelový svazek stroje k vodicí konzole pomocí stahovací pásky, kterou protáhnete otvory v konzole.
Vyrovnejte malý zářez v krytu ovládací oje se zářezem nahoře (Obrázek 12).

Vyrovnejte otvory v krytu s otvory v kanálu ovládací oje.
Kryt připevněte k ovládací oji pomocí 6 samořezných šroubů (¼ in).
Díly potřebné k provedení tohoto kroku:
| Šroub (¼ x 1 in) | 2 |
| Přírubová matice (5/16 in) | 2 |
Elektrolyt v akumulátoru obsahuje kyselinu sírovou, která je smrtelně jedovatá a může způsobit velmi vážné popáleniny.
Dejte pozor, aby nepřišel do kontaktu s kůží a oděvem a nevnikl do očí. Chraňte si oči brýlemi a ruce gumovými rukavicemi.
Akumulátor vyjímejte, nabíjejte a montujte v místě, kde je za všech okolností k dispozici čistá voda pro opláchnutí pokožky.
Při nabíjení akumulátoru vznikají plyny, které mohou explodovat.
Poblíž akumulátoru nikdy nekuřte a neuchovávejte jej v blízkosti jisker a otevřeného ohně.
Vývody akumulátoru nebo kovové nástroje by mohly způsobit zkrat proti kovovým součástem stroje a způsobit jiskření. Jiskry by mohly zapříčinit explozi plynů z akumulátoru a následné zranění osob.
Při vyjímání nebo montáži akumulátoru dbejte na to, aby se vývody akumulátoru nedotýkaly žádných kovových částí stroje.
Dejte pozor, abyste kovovým nástrojem nezkratovali vývody akumulátoru proti kovovým částem stroje.
Nesprávné vedení kabelů akumulátoru by mohlo poškodit vozidlo a vyvolat jiskření. Jiskry by mohly způsobit explozi plynů z akumulátoru a následné zranění osob.
Vždy odpojujte nejprve kabel ze záporného vývodu akumulátoru (černý) a teprve potom kabel z kladného vývodu akumulátoru (červený).
Vždy připojujte nejdříve kabel z kladného vývodu akumulátoru (červený) a teprve potom kabel ze záporného vývodu (černý).
Uvolněte západku a otevřete dvířka přihrádky akumulátoru (Obrázek 13).

Vyjměte akumulátor z přihrádky.
K nabíjení akumulátoru použijte nabíječku s nabíjecí kapacitou 3 až 4 A.
Jakmile je akumulátor nabitý, odpojte nabíječku z elektrické zásuvky a od pólů akumulátoru.
Umístěte akumulátor do nosiče v přihrádce akumulátoru (Obrázek 14). Uložte jej tak, aby byly vývody zarovnány směrem ven.

Připevněte akumulátor k základně přihrádky pomocí přídržné tyče, 2 J-tyčí, 2 plochých podložek a 2 křídlových matic.
Připojte kladný kabel (červený) ke kladnému (+) vývodu akumulátoru pomocí vratového šroubu a matice.
Na kladný vývod akumulátoru navlékněte pryžovou manžetu.
Připojte záporný kabel akumulátoru (černý) k zápornému (–) vývodu akumulátoru pomocí vratového šroubu a matice.
Zavřete dvířka přihrádky akumulátoru a zajistěte na západku.
Díly potřebné k provedení tohoto kroku:
| Zámek západky | 2 |
| Šroub s celým závitem | 2 |
| Vnitřní ozubená pojistná podložka | 2 |
Pokud tento stroj seřizujete pro použití v Evropské unii (normy CE), namontujte zámek západky kapoty na zadní kapotu následujícím způsobem, abyste vyhověli předpisům CE.
Demontujte zadní kapotu.
Namontujte zámek západky na západku kapoty (Obrázek 15) pomocí šroubu s celým závitem (celkem 2).

Pomocí kleští nebo klíče našroubujte na každý šroub vnitřní pojistnou podložku (1 až 2 závity), čímž připevníte šrouby ke kapotě.
Kroky 2 až 3 zopakujte na druhé straně kapoty.
Namontujte zadní kapotu.
Díly potřebné k provedení tohoto kroku:
| Šňůra | 1 |
| Trhací nýt | 1 |
| Šroub (¼ x 1 in) | 1 |
| Pojistná matice (¼ in) | 1 |
Pokud tento stroj seřizujete tak, aby vyhovoval normám CE, namontujte pojistné táhlo krytu řemenu následujícím způsobem.
Vyhledejte otvor v krytu řemenu vedle otvoru pro pojistnou páku (Obrázek 16 a Obrázek 17).

Připevněte montážní celek šňůry k otvoru v krytu řemenu pomocí nýtu (Obrázek 17).

Zašroubujte šroub do pojistné páky (Obrázek 18).

Pro stroj je k dispozici široký výběr držáků hrotů, ochranných krytů trávníku a hrotů. Viz Montáž ochranných krytů trávníku, držáků hrotů a hrotů.


Pomocí západky ovládací oje (Obrázek 21) zajistěte ovládací oj v horní poloze a zatáhněte parkovací brzdu.
Important: Ovládací oj zajišťujte v horní poloze pokaždé, když opouštíte pozici obsluhy.
Ovládací tyč přítomnosti obsluhy (Obrázek 21) pomáhá zajistit, abyste se při řízení stroje nebo při práci s jádrovací hlavou nacházeli v pozici obsluhy.
Note: Po uvolnění ovládací tyče přítomnosti obsluhy nedojde k vypnutí motoru.
Systém InfoCenter (Obrázek 21) slouží k nastavení ovládacích prvků jádrovací hlavy.
Pokud stisknete kontaktní spínač zastavení (Obrázek 21), stroj provede následující:
Stroj zastaví jízdu vpřed.
Jádrovací hlava se zvedne a přestane pracovat.
Note: Pokud stisknete kontaktní spínač zastavení, nedojde k vypnutí motoru. Se strojem můžete jet ve směru dozadu, ale pro jízdu vpřed musíte kontaktní spínač zastavení resetovat.

Pomocí přepínače přepravy/provzdušňování (Obrázek 22) můžete regulovat maximální rychlost, kterou se stroj při provzdušňování nebo přepravě pohybuje.
Poloha PROVZDUšňOVáNí umožňuje provádět provzdušňování a omezuje pojezdovou rychlost na 4,0 km/h nebo méně.
PřEPRAVNí poloha umožňuje jízdu stroje mezi pracovišti plnou pojezdovou rychlostí nebo pomaleji.
Note: Pokud je přepínač přepravy/provzdušňování v PřEPRAVNí poloze, provzdušňování není možné.
Chcete-li jet se strojem dopředu nebo dozadu, použijte levé nebo pravé ovládání pojezdu (Obrázek 22).
Pomocí spínače zámku pojezdové rychlosti (Obrázek 22) můžete udržovat pojezdovou rychlost stroje, podobně jako u tempomatu v automobilu.
V poloze AKTIVOVAT se trvale nastaví aktuální pojezdová rychlost stroje.
V poloze ZAPNUTO se aktivuje zámek pojezdové rychlosti.
V poloze VYPNUTO se zámek pojezdové rychlosti uvolní.
Spínač zámku pojezdové rychlosti (Obrázek 22) se používá, pokud chcete udržovat pojezdovou rychlost s danou roztečí provzdušňovacích otvorů.
Poloha ZAPNUTO aktivuje a nastaví zámek pojezdové rychlosti, aby byla udržována pojezdová rychlost s danou roztečí provzdušňovacích otvorů v okamžiku, kdy uvolníte ovládací tyč provzdušňování na konci provzdušňovacího přejezdu.
V poloze VYPNUTO se zámek pojezdové rychlosti vypne; po uvolnění ovládací tyče provzdušňování se stroj přestane pohybovat vpřed.

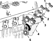
Ovládací tyč provzdušňování (Obrázek 23) se používá ke spouštění nebo zvedání jádrovací hlavy.
Pomocí ovládacího spínače spouštění hlavy (Obrázek 23) se mění způsob, jakým se jádrovací hlava při provzdušňování spouští. Můžete zvolit následující režimy:
Okamžité spuštění
Opožděné spuštění

Páka škrticí klapky (Obrázek 24) ovládá otáčky motoru:
Posunutím páky škrticí klapky dopředu směrem k poloze RYCHLý CHOD se otáčky motoru zvýší.
Posunutím páky škrticí klapky dozadu směrem k poloze POMALý CHOD se otáčky motoru sníží.
Note: Otáčky motoru ovládají rychlost jádrovací hlavy.
Sytič se používá při startování studeného motoru (Obrázek 24).
Spínač zapalování (Obrázek 24) se používá ke spuštění a vypnutí motoru. Spínač má 3 polohy:
STARTOVáNí – otočením klíče ve směru hodinových ručiček do polohy STARTOVáNí zapnete motor startéru.
PROVOZ – po nastartování motoru klíč uvolněte – automaticky se přepne do ZAPNUTé polohy.
VYPNUTO – otočením klíče proti směru hodinových ručiček do polohy VYPNUTO vypnete motor.
Pomocí otáčkoměru zjistíte otáčky motoru (Obrázek 24).
Uzavírací ventil paliva ovládá průtok paliva z palivové nádrže (Obrázek 25).

Na displeji systému InfoCenter se (Obrázek 26) zobrazují informace o stroji, jako jsou provozní stav, různé diagnostické údaje a další informace o stroji.

Note: Funkce jednotlivých tlačítek se může změnit v závislosti na situaci. Každé tlačítko je označeno ikonou zobrazující jeho aktuální funkci.
Pomocí navigačních tlačítek můžete přecházet mezi několika obrazovkami a položkami nabídky:
Úvodní obrazovka: Zobrazuje aktuální informace o stroji po dobu několika sekund poté, co přepnete klíč do ZAPNUTé polohy.
Hlavní nabídka: viz Použití nabídek.
|
SERVICE DUE (Blížící se servis) |
Určuje, kdy by měla být provedena plánovaná služba. |
|
|
Přepravní režim |
|
|
Hloubka otvorů |
|
|
Rozteč otvorů |
|
|
Průměr hrotů |
|
|
Počet hrotů na držák |
|
|
Akumulátor |
|
|
Čítač provozních hodin |
|
|
Aktivní/OK |
|
|
Neaktivní |
|
|
Další |
|
|
Předchozí obrazovka |
|
|
Nabídka |
|
|
Zvýšit/snížit hodnotu |
|
|
Procházet nahoru/dolů |
|
|
Procházet vlevo/vpravo |
|
|
Opustit nabídku |
|
|
|
Chcete-li vstoupit do hlavní nabídky, stiskněte na kterékoli informační obrazovce tlačítko Zpět/konec.
V následujících tabulkách naleznete popis možností, které jsou v nabídkách k dispozici:
|
Položka nabídky |
Popis |
|---|---|
|
FAULT (ZáVADA) |
Obsahuje seznam nedávných závad stroje. Další informace o nabídce Faults (Závady) naleznete v servisní příručce nebo je získáte od autorizovaného prodejce Toro. |
|
SERVICE (SERVIS) |
Obsahuje informace o stroji, například dobu používání, údaje čítačů a další číselné hodnoty. |
|
DIAGNOSTICS (DIAGNOSTIKA) |
Uvádí různé stavy, které se aktuálně týkají stroje. Tuto nabídku můžete použít při řešení některých potíží, jelikož můžete rychle zjistit, které ovládací prvky stroje jsou aktivní a které deaktivované. |
|
SETTINGS (NASTAVENí) |
Umožňuje zadat PIN nebo přizpůsobit displej systému InfoCenter. |
|
MACHINE SETTINGS (NASTAVENí STROJE) |
Umožňuje upravit provozní vlastnosti a konfiguraci stroje. |
|
ABOUT (INFORMACE) |
Uvádí číslo modelu, sériové číslo a verzi softwaru vašeho stroje. |
|
Položka nabídky |
Popis |
|---|---|
|
STATISTICS (STATISTIKA) |
Uvádí údaje čítačů o provozu stroje a provozní informace, jako jsou doba chodu motoru, provzdušněná plocha/objem/čas nebo vzdálenost ujetá při provzdušňování. |
|
HOURS (HODINY) |
Uvádí celkový počet hodin provozu stroje, motoru a vývodového hřídele a také počet hodin, během nichž byl stroj přepravován, a blížící se servis. |
|
COUNTS (POčTY) |
Zobrazuje počty událostí, ke kterým došlo během provozu stroje. |
|
SERVICE LIFT (SERVISNí ZVEDNUTí) |
Povolení nebo zakázání servisního zvednutí. |
|
SERVICE LOWER (SERVISNí SPUšTěNí) |
Povolení nebo zakázání servisního spuštění. |
|
3WD |
Povolení funkce automatického pohonu 3WD nebo vždy zapnutého pohonu 3WD. |
|
GROUND HEIGHT (VýšKA K ZEMI) |
Označuje, že pokud jsou platné kalibrace snímače, spustí proces kalibrace a vypíše elektrickou hodnotu snímače. |
|
TRACTION PUMP (ČERPADLO POHONU) |
Označuje, že pokud jsou platné kalibrace snímače, spustí proces kalibrace a vypíše elektrickou hodnotu snímače. |
|
TRACTION INPUT (TRAKčNí VSTUP) |
Označuje, že pokud jsou platné kalibrace snímače, spustí proces kalibrace a vypíše elektrickou hodnotu snímače. |
|
HEIGHT SENSOR (VýšKOVý
SNíMAč) |
Označuje, že pokud jsou platné kalibrace snímače, spustí proces kalibrace a vypíše elektrickou hodnotu snímače. |
|
|
|
|
Položka nabídky |
Popis |
|---|---|
|
ENTER PIN (ZADAT KóD PIN) |
Umožňuje přístup k chráněným nabídkám oprávněné osobě s kódem PIN. |
|
BACKLIGHT (PODSVíCENí) |
Ovládá jas LCD displeje. |
|
LANGUAGE (JAZYK) |
Slouží k nastavení jazyka používaného v systému InfoCenter. |
|
UNITS (JEDNOTKY) |
Slouží k nastavení jednotek používaných v systému InfoCenter (anglické nebo metrické). |
|
EDIT PIN (UPRAVIT PIN) |
Umožňuje změnu kódu PIN oprávněné osobě s kódem PIN. |
|
PROTECT SETTINGS (CHRáNěNá
NASTAVENí) |
Povoluje nebo zakazuje požadavek na zadání PIN kódu pro přístup k chráněným nastavením. |
|
RESET DEFAULTS (OBNOVIT VýCHOZí
HODNOTY) |
Vrátí všechna nastavení na výchozí hodnoty. |
|
|
|
|
Položka nabídky |
Popis |
|
MAX TRANSPORT (MAXIMáLNí PřEPRAVNí RYCHLOST) |
Umožňuje změnit maximální pojezdovou rychlost vpřed; výchozí nastavení = 6,4 km/h. |
|
MANUAL AERATION (MANUáLNí PROVZDUšňOVáNí) |
Povoluje nebo zakazuje manuální provzdušňování. |
|
|
|
|
Položka nabídky |
Popis |
|---|---|
|
Model |
Uvádí číslo modelu stroje. |
|
SN (Sériové číslo) |
Uvádí sériové číslo stroje. |
|
S/W Revision (Verze softwaru) |
Uvádí verzi softwaru hlavní řídicí jednotky. |
|
CAN Statistics (Statistiky CAN) |
Uvádí stav komunikační sběrnice stroje. |
|
InfoCenter Revision (Verze systému InfoCenter) |
Uvádí verzi softwaru displeje systému |
|
|
|
|
Položka nabídky |
Popis |
|---|---|
|
Traction (Pojezd) |
Další informace o položkách nabídky Diagnostics (Diagnostika) naleznete v servisní příručce nebo je získáte od autorizovaného prodejce Toro. |
|
Aeration (Provzdušňování) |
|
|
Engine (Motor) |
Chráněné nabídky se ve výchozím nastavení nezobrazují. Tato nastavení se odemykají zadáním kódu PIN.
Note: Výchozí kód PIN je 0000 nebo 1234. V době dodání mohl váš prodejce kód PIN změnit.Pokud jste kód PIN změnili a zapomněli jste jej, požádejte o pomoc autorizovaného prodejce Toro.
Z HLAVNí NABíDKY přejděte dolů do nabídky SETTINGS (NASTAVENí) a stiskněte výběrové tlačítko (Obrázek 27).

V nabídce SETTINGS (NASTAVENí) přejděte níže do nabídky ENTER PIN (ZADAT KóD PIN) a stiskněte výběrové tlačítko (Obrázek 28 A).

Chcete-li zadat kód PIN, opakovaně stiskněte navigační tlačítko Nahoru/dolů,, dokud se nezobrazí správná první číslice. Poté stisknutím pravého navigačního tlačítka přejděte na další číslici (Obrázek 28 B a Obrázek 28 C). Tento postup opakujte, dokud nezadáte poslední číslici.
Stiskněte výběrové tlačítko (Obrázek 28 D).
Note: Pokud displej kód PIN přijme a chráněné
nabídky se odemknou, v pravém horním rohu
obrazovky se zobrazí
“.
Chcete-li chráněné nabídky skrýt, otočte klíčovým přepínačem do VYPNUTé polohy a poté do ZAPNUTé polohy.
Po zadání kódu PIN vstupte do nabídky SETTINGS (NASTAVENí) a přejděte dolů na položku PROTECT SETTINGS (CHRáNěNá NASTAVENí).
Chcete-li umožnit zobrazení chráněných
nabídek bez nutnosti zadání PIN kódu,
pomocí výběrového tlačítka
změňte položku PROTECT SETTINGS
(NASTAVENí OCHRANY) na
(Vypnuto).
Chcete-li vyžadovat zadání PIN
kódu pro zobrazení chráněných nabídek,
pomocí výběrového tlačítka
změňte PROTECT SETTINGS (NASTAVENí
OCHRANY) na
(zapnuto), nastavte kód PIN, otočte
spínač zapalování do VYPNUTé polohy a pak do ZAPNUTé polohy.

Bliká červená – aktivní porucha
Trvale svítí červená – aktivní doporučení
Trvale svítí modrá – kalibrační/dialogové zprávy
Trvale svítí zelená – normální provoz
Note: Specifikace a design se mohou bez upozornění změnit.
| Šířka | 127 cm |
| Rozvor kol | 113 cm |
| Rozchod | 97 cm |
| Šířka jádrování | 122 cm |
| Délka | 295 cm |
| Výška hlavy (zvednutá) | 114 cm |
| Výška hlavy (spuštěná) | 93 cm |
| Výška, ovládací oj | 154,2 cm |
| Světlá výška | 12 cm |
| Rychlost vpřed | 0 až 7,2 km/h |
| Rychlost vzad | 0 až 4 km/h |
| Čistá hmotnost | 745 kg |
Pro stroj je k dispozici řada přídavných zařízení a příslušenství schválených společností Toro, která vylepšují a rozšiřují možnosti stroje. Seznam schválených přídavných zařízení a příslušenství můžete získat od svého autorizovaného servisního prodejce nebo distributora Toro nebo na stránkách www.Toro.com.
K zajištění optimální výkonnosti stroje používejte pouze originální náhradní díly a příslušenství společnosti Toro. Náhradní díly a příslušenství jiných výrobců mohou být nebezpečné a jejich použití může mít za následek zneplatnění záruky.
Informace o hrotové hlavě, ochranném krytu trávníku a hrotech naleznete v následující konfigurační tabulce hrotů:
| Popis hrotové hlavy | Rozteč hrotové hlavy | Velikost dříku | Počet hrotů | Typ ochranného krytu trávníku (množství) |
|---|---|---|---|---|
| Hlava 2 x 5 s malými hroty | 41 mm | 9,5 mm | 60 | 5 hrotů – krátký (2) |
| 5 hrotů – dlouhé (1) | ||||
| Hlava 1 x 6 s malými hroty | 32 mm | 9,5 mm | 36 | 6 hrotů – krátký (2) |
| 6 hrotů – dlouhý (1) | ||||
| Hlava se 3 hroty (⅞ in) | 66 mm | 22,2 mm | 18 | 3 hroty – krátký (2) |
| 3 hroty – dlouhý (1) | ||||
| Hlava se 3 hroty (¾ in) | 66 mm | 19,5 mm | 18 | 3 hroty – krátký (2) |
| 3 hroty – dlouhý (1) | ||||
| Hlava se 4 hroty (¾ in) | 51 mm | 19,5 mm | 24 | 4 hroty – krátký (2) |
| 4 hroty – dlouhé (1) | ||||
| Hlava s 5 jehlovými hroty | 41 mm | — | 30 | 5 hrotů – krátký (2) |
| 5 hrotů – dlouhý (1) |
Note: Levá a pravá strana stroje se určuje z pohledu obsluhy v běžné pracovní pozici.
Nikdy nedovolte, aby nezaškolené osoby nebo děti obsluhovaly stroj nebo na něm prováděly servis. Věkovou hranici obsluhy mohou omezovat místní předpisy. Za proškolení všech operátorů a mechaniků je odpovědný majitel.
Důkladně se seznamte s bezpečným použitím zařízení, ovládacími prvky a významem bezpečnostních nápisů.
Naučte se, jak rychle stroj zastavit a vypnout motor.
Před zahájením práce vždy zkontrolujte stroj a přesvědčte se, zda jsou hroty v dobrém provozním stavu. Opotřebené nebo poškozené hroty vyměňte.
Zkontrolujte prostor, kde budete stroj používat, a odstraňte všechny předměty, do kterých může stroj narazit.
Vyhledejte a označte všechna elektrická nebo komunikační vedení, zavlažovací komponenty a další překážky v oblasti, která má být provzdušněna. Pokud je to možné, nebezpečné předměty odstraňte nebo naplánujte, jak se jim vyhnout.
Zaparkujte stroj na rovném povrchu, úplným zvednutím a zajištěním ovládací oje zatáhněte parkovací brzdu, vypněte motor, vyjměte klíč a počkejte, dokud se nezastaví všechny pohybující se součásti.
Přesvědčte se, zda jsou namontovány kontrolní prvky přítomnosti obsluhy, bezpečnostní spínače a ochranné kryty a zda správně fungují. Stroj nepoužívejte, pokud tyto prvky nepracují správně.
Při manipulaci s palivem buďte velmi opatrní. Palivo je vysoce hořlavé a jeho výpary jsou výbušné.
Uhaste cigarety, doutníky, dýmky a ostatní zdroje vznícení.
Používejte jen schválený kanystr.
Neodstraňujte uzávěr palivové nádrže ani nedoplňujte nádrž palivem při spuštěném nebo horkém motoru.
Nedoplňujte ani nevypouštějte palivo v uzavřeném prostoru.
Neskladujte stroj nebo nádobu s palivem v blízkosti otevřeného ohně, zdroje jisker nebo tepla, například u ohřívače vody nebo jiného spotřebiče.
V případě rozlití paliva se nepokoušejte nastartovat motor a vyhýbejte se použití jakéhokoli zdroje vznícení, dokud se palivové výpary nerozptýlí.
| Typ | Bezolovnatý benzín |
| Minimální oktanové číslo | 87 (USA) nebo 91 (výzkumné oktanové číslo; mimo USA) |
| Etanol | Ne více než 10 % objemu |
| Metanol | Žádný |
| MTBE (methylterciální butylether) | Méně než 15 % objemu |
| Olej | Nepřidávejte do benzínu |
Používejte pouze čisté, čerstvé (ne starší než 30 dní) palivo od důvěryhodného dodavatele.
Important: Abyste předešli problémům při startování, do čerstvého paliva přidejte určité množství stabilizačního aditiva paliva podle pokynů výrobce stabilizačního aditiva paliva.
Objem palivové nádrže: 26,5 l
Zaparkujte stroj na rovném povrchu, úplným zvednutím a zajištěním ovládací oje zatáhněte parkovací brzdu, vypněte motor, vyjměte klíč a počkejte, dokud se nezastaví všechny pohybující se součásti.
Očistěte okolí uzávěru palivové nádrže a uzávěr sejměte (Obrázek 30).

Doplňte palivo do palivové nádrže tak, aby jeho hladina sahala 6 až 13 mm pod spodní okraj plnicího hrdla.
Important: Tento prostor v nádrži umožňuje expanzi paliva. Neplňte palivovou nádrž až po horní okraj.
Zašroubujte a bezpečně utáhněte uzávěr palivové nádrže.
Veškeré rozlité palivo utřete.
Každý den před spuštěním stroje proveďte postupy potřebné před každým použitím/každý den, které jsou uvedeny v části .
| Servisní interval | Postup při údržbě |
|---|---|
| Při každém použití nebo denně |
|
Pokud je bezpečnostní blokovací systém odpojen nebo poškozen, stroj se může za provozu chovat neočekávaně a způsobit zranění.
S ochrannými spínači nemanipulujte.
Funkci blokovacího systému denně kontrolujte. Pokud je nějaká součást systému poškozená, před použitím stroje ji vyměňte.
Bezpečnostní blokovací systém má zabránit nastartování motoru, pokud není ovládání pojezdu v NEUTRáLNí poloze.
Bezpečnostní blokovací systém má rovněž zabránit nastartování motoru, pokud není zcela uvolněna ovládací tyč přítomnosti obsluhy.
Bezpečnostní blokovací systém dále zabraňuje nastartování motoru, pokud není zcela uvolněna ovládací tyč jádrovací hlavy.
Bezpečnostní blokovací systém zvedne jádrovací hlavu a vypne ji, pokud při provzdušňování jedete dozadu nebo stisknete kontaktní spínač zastavení.
Important: Pokud bezpečnostní blokovací systém nepracuje v souladu s popisem, nechejte ho neprodleně opravit u autorizovaného prodejce Toro.
Pokud je jádrovací hlava spuštěná dolů, proveďte následující kroky. Pokud je jádrovací hlava zvednutá, přejděte k části Ověření funkce blokování startéru.
Spusťte motor a nastavte otáčky motoru do polohy pro POMALý CHOD, viz Startování motoru.
Sklopte ovládací oj (Obrázek 31).

Stiskněte některé tlačítko systému InfoCenter.
Note: Jádrovací hlava se zvedne.
Vypněte motor, viz Vypnutí motoru.
Pokud je motor spuštěný, vypněte jej.
Podržte jednu z ovládacích tyčí přítomnosti obsluhy u ovládací oje, otočte ovládáním pojezdu (Obrázek 32) dopředu nebo dozadu a nastartujte motor.
Important: Motor se nesmí nastartovat.

Uvolněte ovládací tyč přítomnosti obsluhy, posuňte ovládání pojezdu do NEUTRáLNí polohy a nastartujte motor.
Přidržte některou z ovládacích tyčí přítomnosti obsluhy u ovládací oje a otočte horní část ovládání pojezdu dopředu (Obrázek 33).
Note: Stroj se rozjede vpřed.

Držte ovládání pojezdu a uvolněte ovládací tyč přítomnosti obsluhy (Obrázek 34).
Important: Stroj musí jízdu vpřed zastavit.

Přidržte některou z ovládacích tyčí přítomnosti obsluhy u ovládací oje a otočte horní část ovládání pojezdu dopředu (Obrázek 35).
Note: Stroj se rozjede vpřed.

Držte ovládací tyč přítomnosti obsluhy a ovládání pojezdu a stiskněte kontaktní spínač zastavení Obrázek 36).
Important: Stroj musí jízdu vpřed zastavit.
Note: Motor zůstane spuštěný.

Resetujte kontaktní spínač zastavení, viz Resetování kontaktního spínače zastavení.
Proveďte jeden z následujících úkonů:
Přesuňte stroj na trávník, kde můžete provzdušňovat, aniž byste poškodili hroty nebo plochu.
Demontujte hroty.
Přidržte některou z ovládacích tyčí přítomnosti obsluhy u ovládací oje, otočte horní část ovládání pojezdu dopředu a zavřete ovládací tyč provzdušňování (Obrázek 37).
Note: Stroj se rozjede vpřed, chod jádrovací hlavy se spustí a hlava se sklopí.

Držte ovládací tyč přítomnosti obsluhy a ovládací tyč provzdušňování a otočte horní část ovládání pojezdu dozadu (Obrázek 38).
Important: Jádrovací hlava se musí zvednout a přestat pracovat.
Note: Motor zůstane spuštěný.

Přesuňte ovládání pojezdu do NEUTRáLNí polohy.
Pokud jste demontovali hroty, namontujte je a zkalibrujte jejich výšku nad zemí; viz Montáž hrotů na jádrovací hlavu a Kalibrace výšky hrotů nad zemí.
Important: Při každé změně z delších hrotů na kratší nebo z kratších hrotů na delší je nutné provést kalibraci výšky hrotů nad zemí.
Pro stroj je k dispozici široký výběr držáků hrotů, ochranných krytů trávníku a hrotů. Požadované součásti vyberte podle tabulky příslušenství v části Přídavná zařízení a příslušenství“.
Zvedněte jádrovací hlavu a zajistěte ji servisní západkou, viz Podepření jádrovací hlavy servisní západkou.
Zaparkujte stroj na rovném povrchu, úplným zvednutím a zajištěním ovládací oje zatáhněte parkovací brzdu, vypněte motor, vyjměte klíč a počkejte, dokud se nezastaví všechny pohybující se součásti.
Note: Upínací prvky ochranného krytu trávníku, podložky a pojistné matice s nákružkem se z výroby dodávají připevněné k držákům krytů trávníku (Obrázek 39).
Volně namontujte ochranné kryty trávníku na držáky krytů pomocí 4 upínacích prvků krytu trávníku, 12 pojistných matic s nákružkem (⅜ in) a 12 podložek (7/16 x 13/16 in).
Note: Pojistné matice s nákružkem neutahujte.

Volně namontujte upínací prvek hrotů na držák hrotů (Obrázek 40) pomocí 4 šroubů (⅜ x 1 ½ in). Šrouby neutahujte.
Note: Šrouby jsou součástí sady držáků hrotů.

Namontujte hroty do držáku hrotů a upínacího prvku hrotů (Obrázek 41).

Šrouby (⅜ x 1 ½ palce), které upevňují upínací prvky hrotů a hroty, utáhněte na utahovací moment 40,6 Nm (30 ft-lb).
Kroky 1 až 3 zopakujte i u ostatních upínacích prvků hrotů, držáků hrotů a hrotů.
Volně namontujte držák hrotů a hroty na rameno hrotů č. 2 (Obrázek 42 a Obrázek 43) pomocí 3 šroubů (½ x 1 ¼ in).


Šrouby (½ x 1 ¼ in) utáhněte na utahovací moment 102 Nm (75 ft-lb).
Zopakujte kroky 1 a 2 u ramene hrotů č. 5.
Přesvědčte se, zda jsou drážky ochranného krytu trávníku vyrovnány s hroty (vystředěné) (Obrázek 44).
Note: Podle potřeby polohu ochranných krytů trávníku upravte.

Utáhněte pojistné matice s nákružkem (⅜ in), které upevňují 3 svorky ochranného krytu trávníku a 3 ochranné kryty trávníku ke 3 držákům krytu trávníku.
Namontujte zbývající držák hrotů a hroty na držáky hrotů č. 1, č. 3, č. 4 a č. 6 pomocí 12 šroubů (½ x 1 ¼ in).
Šrouby (½ x 1 ¼ in) utáhněte na utahovací moment 102 Nm (75 ft-lb).
Na stroji proveďte kalibraci výšky hrotu nad zemí; viz Spuštění aplikace Teach Ground Height (Programování výšky nad zemí).
Otočte klíč zapalování do PROVOZNí polohy.
Pokud se nezobrazují šipky na obrazovce PřEPRAVNíHO režimu nebo na obrazovce režimu PROVZDUšňOVáNí, zadejte kód PIN pro přístup do chráněných nabídek; viz Přístup do chráněných nabídek.
Note: Otevře se obrazovka PřEPRAVNíHO režimu nebo obrazovka režimu PROVZDUšňOVáNí (Obrázek 45).

Dvojím stisknutím pravého tlačítka otevřete obrazovku pro kalibraci výšky hrotů nad zemí (Obrázek 46).
Note: Stisknutím levého tlačítka otevřete obrazovku PřEPRAVNíHO režimu nebo režimu PROVZDUšňOVáNí.

Stisknutím pravého tlačítka otevřete obrazovku pro nastavení hloubky otvorů (Obrázek 47).
Note: Stisknutím levého tlačítka otevřete obrazovku pro programování výšky nad zemí.

Stisknutím pravého tlačítka otevřete obrazovku pro nastavení rozteče otvorů (Obrázek 48).
Note: Stisknutím levého tlačítka otevřete obrazovku pro nastavení hloubky otvorů.

Stisknutím pravého tlačítka otevřete obrazovku pro nastavení průměru hrotů (Obrázek 48).
Note: Stisknutím levého tlačítka otevřete obrazovku pro nastavení rozteče otvorů.

Stisknutím pravého tlačítka otevřete obrazovku pro nastavení počtu hrotů (Obrázek 50).
Note: Stisknutím levého tlačítka otevřete obrazovku pro nastavení průměru hrotů.

Note: ProCore 648s je navržen tak, aby při nastavení hloubky 7,6 cm (3 palce) poskytoval optimální výkon provzdušňování v různých travních porostech a půdách, agronomických podmínkách i s různými typy hrotů. Pokud se používá při menších hloubkách, zejména pod 5 cm (2 palce) s menšími hroty, může docházet k výraznějšímu narušení povrchu.
Přesvědčte se, zda je jádrovací hlava zvednutá, viz Zvednutí jádrovací hlavy.
Otočte klíč zapalování do PROVOZNí polohy.

Stiskněte a podržte pravé tlačítko, dokud se neotevře obrazovka nastavení hloubky otvorů (Obrázek 51 a Obrázek 52).
Nastavte hloubku hrotů pomocí tlačítek nahoru a dolů (Obrázek 52) následovně:
Stisknutím tlačítka dolů snížíte hloubku otvorů.
Stisknutím tlačítka nahoru hloubku otvorů zvětšíte.

Stisknutím levého nebo pravého tlačítka nastavení uložíte a opustíte obrazovku nastavení hloubky.
Otočte klíčem zapalování do VYPNUTé polohy.
Note: Pokud při provzdušňování v maximální přípustné hloubce (s libovolně dlouhými hroty) po provedení kalibrace výšky hrotů nad zemí dochází k průniku šroubů ochranných krytů do trávníku nebo se šrouby trávníku dotýkají, snižte hloubku o jeden stupeň (1/4 palce).
Note: Když zvolíte cílovou rozteč otvorů, stroj řídí pojezdovou rychlost tak, aby byla rozteč otvorů dodržována.
Přesvědčte se, zda je jádrovací hlava zvednutá, viz Zvednutí jádrovací hlavy.
Otočte klíč zapalování do PROVOZNí polohy.

Stiskněte a podržte pravé tlačítko, dokud se neotevře obrazovka nastavení rozteče otvorů (Obrázek 53 a Obrázek 54).
Rozteč otvorů (Obrázek 54) nastavte následujícím způsobem:
Stisknutím tlačítka dolů zmenšíte rozteč otvorů.
Stisknutím tlačítka nahoru rozteč otvorů zvětšíte.

Stisknutím levého nebo pravého tlačítka nastavení uložíte a opustíte obrazovku nastavení rozteče.
Otočte klíčem zapalování do VYPNUTé polohy.
Přesvědčte se, zda je jádrovací hlava zvednutá, viz Zvednutí jádrovací hlavy.
Otočte klíč zapalování do PROVOZNí polohy.

Stiskněte a podržte pravé tlačítko, dokud se neotevře obrazovka nastavení průměru hrotů (Obrázek 55 a Obrázek 56).
Nastavte průměr hrotů pomocí tlačítek nahoru a dolů (Obrázek 56) následovně:
Stisknutím tlačítka nahoru zvětšíte průměr hrotů.
Stisknutím tlačítka dolů průměr hrotů zmenšíte.

Stisknutím levého nebo pravého tlačítka nastavení uložíte a opustíte obrazovku nastavení průměru.
Otočte klíčem zapalování do VYPNUTé polohy.
Přesvědčte se, zda je jádrovací hlava zvednutá, viz Zvednutí jádrovací hlavy.
Otočte klíč zapalování do PROVOZNí polohy.

Stiskněte a podržte pravé tlačítko, dokud se neotevře obrazovka nastavení počtu hrotů (Obrázek 58).
Nastavte počet hrotů pomocí tlačítek nahoru a dolů (Obrázek 58) následovně:
Important: Počet hrotů se vztahuje k počtu hrotů v jednom držáku.
Stisknutím tlačítka nahoru počet hrotů zvýšíte.
Stisknutím tlačítka dolů počet hrotů snížíte.

Stisknutím levého nebo pravého tlačítka nastavení uložíte a opustíte obrazovku nastavení počtu hrotů.
Otočte klíčem zapalování do VYPNUTé polohy.
| Servisní interval | Postup při údržbě |
|---|---|
| Při každém použití nebo denně |
|
Important: Provádějte ji také po každé záměně hrotů nebo výměně opotřebovaných hrotů.
Přesvědčte se, zda je jádrovací hlava zvednutá.
Zaparkujte stroj na rovném povrchu, úplným zvednutím a zajištěním ovládací oje zatáhněte parkovací brzdu, vypněte motor, vyjměte klíč a počkejte, dokud se nezastaví všechny pohybující se součásti.
Demontujte kryt jádrovací hlavy, viz Demontáž krytu jádrovací hlavy.
Otáčejte řemenicí jádrovací hlavy (Obrázek 59), dokud nebudou krajní hroty nejblíže k zemi (Obrázek 60).
Important: Držte prsty v bezpečné vzdálenosti od místa, kde dochází ke kontaktu řemenu s řemenicí, abyste si je neskřípli.


Namontujte kryt jádrovací hlavy, viz Montáž krytu jádrovací hlavy.
Otočte klíč zapalování do PROVOZNí polohy.
Note: Otevře se obrazovka PřEPRAVNíHO režimu nebo obrazovka režimu PROVZDUšňOVáNí (Obrázek 61).

Přemístěte ovládací oj tak, abyste viděli krajní hroty, které jste nastavili podle pokynů v části Příprava stroje.
Opakovaně tiskněte pravé tlačítko, dokud se neotevře průvodce aplikací TEACH GROUND HEIGHT (Programování výšky nad zemí).
Na obrazovce Programování výšky nad zemí“ (Obrázek 62) stiskněte prostřední tlačítko.

Na obrazovce PRESS OK TO START TEACH (Stisknutím OK zahajte programování) (Obrázek 63) stiskněte výběrové tlačítko.

Note: Zobrazí se zpráva CALIBRATION ENGAGED (Kalibrace zahájena) a jádrovací hlava se pomalu spustí dolů.
Important: Mějte ruku poblíž systému InfoCenter.
Note: Je-li hydraulická kapalina studená, jádrovací hlava se spouští pomaleji.
Jakmile se některý hrot dotkne země, stiskněte výběrové tlačítko na obrazovce Lowering Head“ (Spouštění hlavy) (Obrázek 64).
Note: Hroty se musí pouze dotýkat země a nesmějí zvedat ani odlehčovat pneumatiky.Pokud jádrovací hlava stroj zvedne, stroj nesprávně zkalibruje výšku nad zemí, což má za následek nepřesnou hloubku otvoru a třepení provzdušňovacího otvoru při nájezdu.

Note: Zobrazí se zpráva CALIBRATION COMPLETE (Kalibrace dokončena) a hlava se zcela zvedne.
Stisknutím tlačítka zpět aplikaci Programování výšky nad zemí“ ukončíte.
Majitel nebo obsluha odpovídá za nehody, jež mohou vést ke zranění osob nebo poškození majetku, a má jim předcházet.
Používejte vhodné oblečení a pomůcky, včetně ochranných brýlí, dlouhých kalhot, pevné protiskluzové obuvi a chráničů sluchu. Svažte si dlouhé vlasy, zabezpečte volný oděv a nenoste volné šperky.
Stroj neobsluhujte, jste-li unaveni, nemocní nebo pod vlivem alkoholu nebo drog.
Přihlížející osoby, děti a zvířata se musí zdržovat mimo pracovní prostor. Nikdy nedovolte dětem se strojem pracovat. Stroj mohou obsluhovat pouze zodpovědné, proškolené osoby obeznámené s pokyny a fyzicky způsobilé.
Nikdy nepřevážejte na stroji žádné osoby.
Se strojem pracujte jen za dobré viditelnosti, abyste se mohli vyhnout výmolům a skrytým nebezpečným místům.
Ruce a nohy mějte v dostatečné vzdálenosti od hrotů.
Před couváním se podívejte dozadu a dolů a ověřte si, že máte volnou cestu.
Pokud narazíte do nějakého předmětu nebo stroj začne abnormálně vibrovat, vypněte motor, vyjměte klíč, počkejte, dokud se nezastaví všechny pohybující se součásti, a zkontrolujte hroty. Před obnovením provozu proveďte všechny nezbytné opravy.
Vždy udržujte správný tlak v pneumatikách.
Na nerovných vozovkách a površích snižte pojezdovou rychlost.
Svahy jsou významným faktorem při nehodách způsobených ztrátou kontroly nebo převrácením. Takové nehody mohou vést k vážnému poranění nebo smrti. Při práci na svahu odpovídáte za bezpečnost vy. Pracujete-li se strojem na jakémkoli svahu, musíte dbát zvýšené pozornosti.
Zkontrolujte podmínky na místě a proveďte jeho průzkum; na základě toho určíte, zda je svah pro provoz stroje bezpečný. Při provádění průzkumu se vždy řiďte zdravým rozumem.
Prostudujte si pokyny pro práci na svahu uvedené níže a vyhodnoťte podmínky, ve kterých bude stroj provozován. Na základě toho stanovíte, zda můžete se strojem v daný den a na daném místě za těchto podmínek pracovat. Změny v terénu mohou vést ke změně provozního sklonu stroje.
Na svahu stroj nerozjíždějte, nezastavujte ani jej neotáčejte. Neměňte náhle rychlost ani směr. Zatáčejte pomalu a postupně.
Nepracujte se strojem v podmínkách, kde je ohrožena tahová síla, schopnost řízení nebo stabilita.
Odstraňte nebo vyznačte překážky, jako jsou příkopy, výmoly, vyjeté koleje, hrboly, kameny nebo jiné skryté předměty. Vysoká tráva může překážky skrýt. Stroj se může na nerovném terénu převrhnout.
Uvědomte si, že při práci se strojem na mokré trávě, napříč svahem nebo po svahu dolů může dojít ke ztrátě jeho tahového výkonu. V případě ztráty tahového výkonu hnacích kol hrozí sklouznutí a ztráta brzdného účinku nebo kontroly nad řízením.
Při práci se strojem v blízkosti svahů, příkopů, náspů, vodních ploch nebo jiných nebezpečných míst si počínejte velmi opatrně. Pokud kolo přejede přes okraj nebo se okraj propadne, stroj se může náhle převrhnout. Mezi strojem a jakýmkoliv nebezpečným místem udržujte bezpečnou vzdálenost.
Parkovací brzdu zatáhnete úplným zvednutím ovládací oje (Obrázek 65).

Ujistěte se, že zajišťovací kolík ovládací oje prochází otvorem v aretační desce (Obrázek 66).
Pokud se parkovací brzda nezatáhne, stroj se může uvést do pohybu a zranit obsluhu nebo přihlížející osoby.
Ujistěte se, že je ovládací oj zcela zvednutá a bezpečně zajištěná na aretační desce.

Úplným zvednutím a zajištěním ovládací oje zatáhněte parkovací brzdu, viz Zatažení parkovací brzdy.
Následujícím způsobem použijte sytič (Obrázek 70):
Pokud chcete nastartovat studený motor, přesuňte ovládací prvek sytiče do ZAPNUTé polohy.
Při startování teplého nebo horkého motoru nemusíte sytič používat.

Před startováním studeného motoru přesuňte páku škrticí klapky do polohy pro RYCHLý CHOD.
Otočte klíčem spínače zapalování do polohy STARTOVáNí. Jakmile se motor spustí, klíč uvolněte.
Important: Nepoužívejte startér v rámci jedné operace déle než 10 sekund. Pokud se motor nespustí, před dalším pokusem počkejte 30 sekund, až zařízení vychladne. Pokud tyto pokyny nebudete dodržovat, můžete spálit elektromotor startéru.
Po nastartování motoru přesuňte sytič do VYPNUTé polohy. Pokud má motor nepravidelný chod nebo se zastavuje, přesuňte sytič na několik sekund zpět do ZAPNUTé polohy. Poté přemístěte páku škrticí klapky do polohy požadovaných otáček motoru.
Note: Tento postup podle potřeby opakujte.
Děti nebo okolostojící osoby se mohou zranit, pokud by se pokoušely stroj ponechaný bez dozoru uvést do pohybu nebo obsluhovat.
Pokud hodláte stroj opustit, byť jen na několik minut, úplným zvednutím a zajištěním ovládací oje vždy zatáhněte parkovací brzdu, vypněte motor a vyjměte klíč ze zapalování.
Úplným zvednutím a zajištěním ovládací oje zatáhněte parkovací brzdu, viz Zatažení parkovací brzdy.
Posuňte páku škrticí klapky (Obrázek 71) do polohy pro POMALý chod.

Nechejte motor pracovat na volnoběh přibližně 60 sekund.
Otočte klíč zapalování do VYPNUTé polohy a vyjměte jej.
Pokud stroj přepravujete nebo hodláte uskladnit, zavřete uzavírací ventil paliva (Obrázek 72).
Important: Před přepravou stroje na přívěsu nebo jeho uskladněním zavřete uzavírací ventil paliva. Před přepravou zatáhněte parkovací brzdu stroje úplným zvednutím a zajištěním ovládací oje. Vyjměte klíč ze spínače zapalování, abyste zabránili spuštění palivového čerpadla a vybití akumulátoru.

Important: Při práci choďte před strojem směrem dopředu. Nechoďte pozadu s pohledem upřeným vzad.

Zámek rychlosti vám umožní řídit stroj, aniž byste museli držet ovládání pojezdu.
Note: Funkci zámku rychlosti nemůžete používat při jízdě se strojem vzad.
Zámek rychlosti při provzdušňování umožňuje na konci provzdušňovacího přejezdu pokračovat v jízdě se strojem rychlostí odpovídající zvolené rozteči otvorů, otočit stroj a zahájit další provzdušňovací přejezd, aniž by bylo třeba měnit polohu ovládání pojezdu.
Note: Funkce zámku rychlosti v režimu provzdušňování je aktivní, když je jádrovací hlava nastavena na režim opožděného spuštění. V režimu okamžitého spuštění je funkce zámku rychlosti zablokována.
Zámek pojezdové rychlosti funguje jako tempomat v automobilech.
Přepněte přepínač přepravy/provzdušňování do PřEPRAVNí polohy (Obrázek 74).

Přepněte spínač zámku pojezdové rychlosti do ZAPNUTé polohy.
Jeďte se strojem požadovanou rychlostí dopředu.
Přepněte spínač zámku pojezdové rychlosti do AKTIVNí polohy.
Note: Zámek pojezdové rychlosti udržuje aktuální pojezdovou rychlost stroje. Ovládání pojezdu můžete uvolnit.
Chcete-li zámek rychlosti vypnout, proveďte jednen z následujících kroků:
Přepněte spínač zámku pojezdové rychlosti do VYPNUTé polohy.
Otočením horní části ovládání pojezdu směrem dozadu se rozjeďte se strojem dozadu.
Uvolněte ovládací tyč přítomnosti obsluhy.
Stiskněte kontaktní spínač zastavení.
Note: Zámek pojezdové rychlosti není k dispozici při provzdušňování v režimu okamžitého spuštění.
Přepněte přepínač přepravy/provzdušňování do polohy PROVZDUšňOVáNí (Obrázek 75).

Přepněte spínač zámku pojezdové rychlosti do ZAPNUTé polohy.
Jeďte se strojem dopředu a zavřete ovládací tyč provzdušňování.
Note: Aktivuje se zámek pojezdové rychlosti a jádrovací hlava se spustí dolů.
Na konci provzdušňovacího přejezdu uvolněte ovládací tyč provzdušňování.
Note: Jádrovací hlava se zvedne, ale stroj zachová rychlost jízdy s danou roztečí provzdušňovacích otvorů.
Chcete-li zámek rychlosti vypnout, proveďte jeden z následujících kroků:
Přepněte spínač zámku pojezdové rychlosti do VYPNUTé polohy.
Otočením horní části ovládání pojezdu směrem dozadu se rozjeďte se strojem dozadu.
Uvolněte ovládací tyč přítomnosti obsluhy.
Stiskněte kontaktní spínač zastavení.
Note: Přepravní režim používejte při přemísťování stroje mezi pracovišti.
Note: Stroj jede sníženou proměnnou rychlostí vždy, když je přepínač přepravy/provzdušňování v poloze PROVZDUšňOVáNí.
Nastartujte motor a přesuňte ovladač škrticí klapky do polohy VYSOKýCH OTáčEK, viz Startování motoru.
Sklopením ovládací oje uvolněte parkovací brzdu, viz Uvolnění parkovací brzdy.
Stiskněte levou stranu přepínače přepravy/provzdušňování do PřEPRAVNí polohy (Obrázek 76).

Note: Na obrazovce systému InfoCenter se zobrazí ikona PřEPRAVY (Obrázek 77).

Podívejte se ve směru plánovaného průchodu, abyste se ujistili, že je cesta volná.
Uchopte levou nebo pravou rukojeť a přitáhněte ovládací tyč přítomnosti obsluhy (Obrázek 76) k rukojeti.
Palcem otáčejte levým nebo pravým ovládáním pojezdu a řiďte stroj následujícím způsobem:
Otočením horní části ovládání pojezdu směrem dopředu pojedete se strojem dopředu.
Otočením horní části ovládání pojezdu směrem dozadu pojedete se strojem dozadu.
Note: Dalším otáčením ovládání pojezdu zvýšíte rychlost stroje.
Important: Chcete-li stroj okamžitě zastavit, stiskněte kontaktní spínač zastavení (Obrázek 78).

Pokud provzdušňujete, uvolněním ovládací tyče provzdušňování (Obrázek 79) zvedněte jádrovací hlavu, viz Zvednutí jádrovací hlavy.

Uvolněte ovládání pojezdu a nechejte je vrátit do NEUTRáLNí polohy.
Uvolněte ovládací tyč přítomnosti obsluhy.
Úplným zvednutím a zajištěním ovládací oje zatáhněte parkovací brzdu, viz Zatažení parkovací brzdy.
Note: Stroj jede sníženou proměnnou rychlostí vždy, když je jádrovací hlava zvednutá.
Nastartujte motor a přesuňte ovladač škrticí klapky do polohy VYSOKýCH OTáčEK, viz Startování motoru.
Sklopením ovládací oje uvolněte parkovací brzdu, viz Uvolnění parkovací brzdy.
Stiskněte pravou stranu přepínače přepravy/provzdušňování do polohy PROVZDUšňOVáNí (Obrázek 80).

Na displeji systému InfoCenter se zobrazí stávající hloubka otvorů a jejich rozteč (Obrázek 81).

Podívejte se ve směru plánovaného průchodu, abyste se ujistili, že je cesta volná.
Uchopte levou nebo pravou rukojeť a přitáhněte ovládací tyč přítomnosti obsluhy (Obrázek 80) k rukojeti.
Palcem otáčejte horní částí levého nebo pravého ovládání pojezdu a jeďte se strojem dopředu.
Note: Během provzdušňování jede stroj takovou rychlostí, která odpovídá zvolené cílové rozteči otvorů.
Pokud při použití zámku pojezdové rychlosti uvolníte ovládací tyč provzdušňování, aniž byste změnili polohu ovládání pojezdu, stroj bude udržovat pojezdovou rychlost podobně jako tempomat u automobilu.
Jízda se strojem ve směru vzad deaktivuje tempomat a způsobí, že se stroj bude pohybovat proměnlivou pojezdovou rychlostí.
Když zvednete jádrovací hlavu, abyste mohli otočit stroj k dalšímu přejezdu, můžete zvýšit pojezdovou rychlost posunutím ovládání pojezdu více dopředu. Když vrátíte ovládání pojezdu do NEUTRáLNí polohy, stroj zpomalí na rychlost požadovanou pro udržování nastavené rozteče provzdušňovacích otvorů.
Při provzdušňování v režimu opožděného spuštění používejte k určení bodu spuštění přední pneumatiku.
Stiskněte horní část ovládacího spínače spouštění hlavy (Obrázek 82) do polohy OPOžDěNé SPUšTěNí.

Jeďte se strojem dopředu, viz Jízda se strojem v režimu provzdušňování.
Jakmile přední pneumatika přejede přes okraj provzdušňované plochy, zavřete buď levou, nebo pravou ovládací tyč provzdušňování (Obrázek 83).
Note: Jádrovací hlava se rozběhne a sklopí, jakmile stroj při jízdě vpřed přejede cílovou oblast provzdušňování.

Při práci v režimu opožděného spuštění používejte k určení bodu spuštění přední pneumatiku (Obrázek 84).

Chcete-li jádrovací hlavu zvednout, proveďte jeden z následujících úkonů:
Jakmile přední pneumatika přejede přes okraj provzdušňované plochy, uvolněte ovládací tyč provzdušňování (Obrázek 85).
Note: Stroj zvedne jádrovací hlavu až v okamžiku, kdy hlava dosáhne cílového místa, které jste určili uvolněním ovládací tyče provzdušňování podle polohy přední pneumatiky.

Jeďte se strojem dozadu, viz Jízda se strojem dozadu.
Stiskněte spodní část ovládacího spínače spouštění hlavy (Obrázek 86) do polohy OKAMžITéHO SPUšTěNí.
Note: Na spínači se rozsvítí kontrolka.

Jeďte se strojem dopředu, viz Jízda se strojem v režimu provzdušňování.
Zavřete levou nebo pravou ovládací tyč provzdušňování (Obrázek 87).
Note: Jádrovací hlava se okamžitě spustí dolů a začne provzdušňovat.

Chcete-li jádrovací hlavu zvednout, proveďte jeden z následujících úkonů:
Uvolněte ovládací tyč provzdušňování (Obrázek 88).
Note: Stroj jádrovací hlavu okamžitě zvedne.

Jeďte se strojem dozadu, viz Jízda se strojem dozadu.
Uvolněte ovládání pojezdu, nechejte je vrátit do NEUTRáLNí polohy a poté uvolněte ovládací tyč přítomnosti obsluhy (Obrázek 91).

Odstupte od kontaktního spínače zastavení (Obrázek 92).
Note: Účinkem pružiny v kontaktním spínači dojde k resetování spínače.

Uchopte levou nebo pravou rukojeť a přitáhněte ovládací tyč přítomnosti obsluhy (Obrázek 93) k rukojeti.

Nyní se můžete se strojem rozjet, viz Jízda se strojem v přepravním režimu nebo Jízda se strojem v režimu provzdušňování.
Značkovač řádků používejte k zarovnání řádků provzdušňování (Obrázek 94).

Stroj používá 2 čítače pro záznam rozsahu provzdušněné plochy a objemu vytlačeného půdního jádra. Informace z čítačů použijte k odhadu množství posypového materiálu, které je třeba aplikovat na provzdušněnou travnatou plochu.
Čítač oblasti 1 není chráněn kódem PIN a může jej vynulovat obsluha stroje.
Note: Pokud obsluha zaznamená hodnoty čítače oblasti 1 pro každé provzdušňované místo, můžete odhadnout množství zeminy a požadavky na dodávku pro každé pracoviště.
Čítač oblasti 2 je chráněn kódem PIN a může jej vynulovat vedoucí pracovník nebo jeho zástupce.
Provzdušněná plocha se zobrazuje v měrných jednotkách m2 (metrické) nebo ft2 (anglické).
Objem vytlačeného půdního jádra se zobrazuje v měrných jednotkách m3 (metrické) nebo yd3 (anglické).
U zobrazení hodnot čítačů objemu vytlačeného půdního jádra stroj vypočítá objem na základě průměru a počtu hrotů, které jste zadali v systému InfoCenter.
Important: Pokud jsou hodnoty průměru a/nebo počtu hrotů před provzdušněním plochy zadány nesprávně, systém InfoCenter vypočítá a zobrazí pro oblast 1 a oblast 2 nesprávné hodnoty objemu jádra. Pokud se hodnoty průměru a/nebo počtu změní po provzdušnění, systém InfoCenter zobrazené hodnoty objemu změní.
Zaparkujte stroj na rovném povrchu.
Ujistěte se, že je spuštěný motor nebo že je klíček zapalování v PROVOZNí poloze.
V systému InfoCenter přejděte do hlavní nabídky MAIN MENU.
Opakovaným tisknutím tlačítka dolů zvolte nabídku SERVICE (Servis) a stiskněte výběrové tlačítko (Obrázek 95).

Na obrazovce SERVICE (Servis) opakovaným stisknutím tlačítka dolů zvolte nabídku STATISTICS (Statistika) a stiskněte výběrové tlačítko (Obrázek 96).

Note: Na obrazovce STATISTICS (Statistika) se zobrazí čítač plochy (AREA).

Na obrazovce STATISTICS (Statistika) opakovaným tisknutím tlačítka dolů zvolte možnost AREA 1 (Oblast 1) (Obrázek 98).

Zaznamenejte provzdušňovanou plochu a objem půdního jádra do pracovního listu, viz následující příklad.
|
Datum |
Hřiště (pokud je jich více) |
Umístění |
Provzdušňovaná plocha |
Objem jádra |
Stisknutím výběrového tlačítka otevřete obrazovku nulování plochy a objemu.
Na obrazovce RESET AREA AND VOLUME (Nulování plochy a objemu) stiskněte výběrové tlačítko.
Note: Systém InfoCenter otevře obrazovku statistik a čítače plochy a objemu se vynulují.
Note: Pokud čítač oblasti 1 nevynulujete, čítače plochy a objemu budou nadále zaznamenávat údaje.

Podle potřeby opakujte kroky 1 až 4.
Stisknutím tlačítka zpět se vrátíte do hlavní nabídky.
Note: Vynulováním čítačů OBLASTI 2 se nevynulují čítače OBLASTI 1.
Pro přístup do chráněných nabídek zadejte kód PIN, viz Přístup do chráněných nabídek.
Na obrazovce STATISTICS (Statistika) opakovaným tisknutím tlačítka dolů zvolte možnost AREA 2 (Oblast 1) (Obrázek 100).

V případě potřeby zaznamenejte údaje o provzdušňované ploše a objemu půdního jádra.
Stisknutím výběrového tlačítka otevřete obrazovku nulování plochy a objemu.
Na obrazovce RESET AREA AND VOLUME (Nulování plochy a objemu) stiskněte výběrové tlačítko (Obrázek 101).
Note: Systém InfoCenter otevře obrazovku statistik a čítače plochy a objemu se vynulují.
Note: Pokud čítač oblasti 2 nevynulujete, čítače plochy a objemu budou nadále zaznamenávat údaje.

Stisknutím tlačítka zpět se vrátíte do hlavní nabídky.
Servisní západku namontujte před prováděním údržby jádrovací hlavy nebo před uskladněním stroje na dobu delší než několik dní.
Pokud je jádrovací hlava zvednutá a není zajištěná, může se nečekaně spustit a zranit vás nebo osoby nacházející se poblíž.
Při každém servisu jádrovací hlavy, včetně výměny hrotů nebo ochranných krytů trávníku, použijte servisní západku k zajištění jádrovací hlavy ve zvednuté poloze.
Zvedněte jádrovací hlavu.
Zaparkujte stroj na rovném povrchu, úplným zvednutím a zajištěním ovládací oje zatáhněte parkovací brzdu, vypněte motor, vyjměte klíč a počkejte, dokud se nezastaví všechny pohybující se součásti.
Demontujte kryt jádrovací hlavy, viz Demontáž krytu jádrovací hlavy.
Vyjměte pojistný kolík, který zajišťuje servisní západku k boční desce (Obrázek 102).

Otočte servisní západku dozadu a zarovnejte ji na opěrném kolíku jádrovací hlavy.
Zajistěte západku na opěrném kolíku pomocí pojistného kolíku.
V případě potřeby namontujte kryt jádrovací hlavy, viz Montáž krytu jádrovací hlavy.
Zaparkujte stroj na rovném povrchu, úplným zvednutím a zajištěním ovládací oje zatáhněte parkovací brzdu, vypněte motor, vyjměte klíč a počkejte, dokud se nezastaví všechny pohybující se součásti.
Pokud je na stroji připevněn kryt jádrovací hlavy, sejměte jej; viz Demontáž krytu jádrovací hlavy.
Vyjměte pojistný kolík, který zajišťuje servisní západku k opěrnému kolíku jádrovací hlavy (Obrázek 103).

Otočte servisní západku dolů a zarovnejte ji na opěrném kolíku boční desky.
Zajistěte západku na opěrném kolíku pomocí pojistného kolíku.
Namontujte kryt jádrovací hlavy, viz Montáž krytu jádrovací hlavy.
Important: Poškozený hrot vyměňte za hrot stejné délky. Různá délka hrotů negativně ovlivňuje vzhled otvorů.
Různá délka hrotů ovlivňuje vzhled otvorů.
Viz ilustrace v části Montáž ochranných krytů trávníku, držáků hrotů a hrotů.
Zvedněte jádrovací hlavu a zajistěte ji servisní západkou.
Zaparkujte stroj na rovném povrchu, úplným zvednutím a zajištěním ovládací oje zatáhněte parkovací brzdu, vypněte motor, vyjměte klíč a počkejte, dokud se nezastaví všechny pohybující se součásti.
Povolte šrouby držáku hrotů a vyjměte staré hroty.
Do držáku hrotů nasaďte nové hroty.
Šrouby držáku hrotů utáhněte na utahovací moment 40,6 Nm (30 ft-lb).
Postup případně opakujte u zbývajících ramen.
Pomocí aplikace Recall Ground Height (Vyvolání výšky nad zemí) můžete rychle zkontrolovat aktuální výšku hrotů nad zemí.
Aplikace posune hlavu dolů do předem kalibrované polohy. Jakmile je hlava v dané poloze, můžete zkontrolovat vzdálenost konců hrotů od země.
Přesvědčte se, zda je jádrovací hlava zvednutá.
Zaparkujte stroj na rovném povrchu, úplným zvednutím a zajištěním ovládací oje zatáhněte parkovací brzdu, vypněte motor, vyjměte klíč a počkejte, dokud se nezastaví všechny pohybující se součásti.
Demontujte kryt jádrovací hlavy, viz Demontáž krytu jádrovací hlavy.
Otáčejte řemenicí jádrovací hlavy (Obrázek 104), dokud nebudou krajní hroty nejblíže k zemi.
Important: Držte prsty v bezpečné vzdálenosti od místa, kde dochází ke kontaktu řemenu s řemenicí, abyste si je neskřípli.


Namontujte kryt jádrovací hlavy, viz Montáž krytu jádrovací hlavy.
Pro přístup do chráněných nabídek zadejte kód PIN, viz Přístup do chráněných nabídek.
V systému InfoCenter přejděte do hlavní nabídky MAIN MENU.
Opakovaným tisknutím tlačítka dolů zvolte nabídku SERVICE (Servis) a stiskněte výběrové tlačítko (Obrázek 105).

Stisknutím tlačítka dolů v systému InfoCenter přejděte do nabídky GROUND HEIGHT (Výška nad zemí) a poté stiskněte výběrové tlačítko.
Stisknutím tlačítka dolů v systému InfoCenter přejděte do nabídky RECALL CALIBRATION (Vyvolání kalibrace) a poté stiskněte výběrové tlačítko.
Na obrazovce Recall Ground Height (Vyvolání výšky nad zemí) (Obrázek 106) stiskněte výběrové tlačítko.

Na obrazovce Head Will Lower (Hlava se spustí dolů) (Obrázek 107) stiskněte výběrové tlačítko.

Note: Zobrazí se zpráva Lowering Head (Spouštění hlavy) a jádrovací hlava se spustí dolů.
Sledujte, zda krajní hroty nejsou mimo kalibraci.
Pokud hroty začnou pronikat do půdy, stiskněte výběrové tlačítko (Obrázek 108) a spusťte aplikaci TEACH GROUND HEIGHT (Programování výšky nad zemí); viz Spuštění aplikace Teach Ground Height (Programování výšky nad zemí).
Pokud jsou hroty jsou nad zemí, stiskněte výběrové tlačítko a spusťte aplikaci TEACH GROUND HEIGHT (Programování výšky nad zemí); viz Spuštění aplikace Teach Ground Height (Programování výšky nad zemí).

Pokud se krajní hroty lehce dotýkají země, stisknutím výběrového tlačítka zvedněte jádrovací hlavu.
Stroj přenáší hmotnost z hnací jednotky na jádrovací hlavu, aby pomohl udržet hloubku děrování v různých strukturách půdy. Pokud je však struktura půdy natolik pevná, že neumožňuje provzdušnění do plné hloubky, může být nutné na jádrovací hlavu přenést dodatečnou hmotnost. Stroj je z výroby nastaven na normální přenos hmotnosti. Chcete-li zvýšit přítlak pružin pro přenos hmotnosti, postupujte takto:
Náhlé uvolnění pružinových desek může způsobit zranění.
Požádejte jinou osobu, aby vám pomohla nastavit pružinu pro přenos hmotnosti.
Zaparkujte stroj na rovném povrchu, úplným zvednutím a zajištěním ovládací oje zatáhněte parkovací brzdu, vypněte motor, vyjměte klíč a počkejte, dokud se nezastaví všechny pohybující se součásti.
Povolte přední pojistnou matici s nákružkem a vratový šroub, které upevňují pružinovou napínací desku k nosné konzole jádrovací hlavy (Obrázek 109).
Note: Pojistnou matici a vratový šroub neodstraňujte.

Demontujte zadní pojistnou matici s nákružkem, která upevňuje držáky pružin k nosné konzole.
Note: Vratový šroub neodstraňujte.
Do čtvercového otvoru v pružinové napínací desce (Obrázek 110) zasuňte ½palcovou ráčnu nebo páčidlo.

Otočením ráčny nebo páčidla uvolněte napětí na zadním vratovém šroubu a šroub vyjměte z horního otvoru.
Note: Horní otvor je normální poloha pro přenos hmotnosti.
Otočte pružinovou napínací desku tak, aby se zarovnala s dolním otvorem v nosné konzole, a vratový šroub zasuňte do otvorů v desce a konzole.
Note: Dolní otvor je pozice pro přenos vyšší hmotnosti. Otáčením pružinových desek směrem nahoru se zvyšuje přenos hmotnosti.
Zajistěte vratový šroub na nosné konzole a pružinové napínací desce pomocí pojistné matice s nákružkem.
Pojistné matice utáhněte na utahovací moment 37 až 45 Nm (27 až 33 ft-lb).
K dosažení optimální kvality otvorů a výkonu stroje používejte automatický systém kopírování povrchu.
Manuální kopírování povrchu použijte pouze v případě, že je poškozený polohový snímač hrotů.
Zaparkujte stroj na rovném povrchu, úplným zvednutím a zajištěním ovládací oje zatáhněte parkovací brzdu, vypněte motor, vyjměte klíč a počkejte, dokud se nezastaví všechny pohybující se součásti.
Demontujte kryt jádrovací hlavy, viz Demontáž krytu jádrovací hlavy.
Vyjměte pojistný kolík, který upevňuje kolík a distanční podložky hloubkového dorazu k dorazovému držáku (Obrázek 111 a Obrázek 112).


Distanční podložky umístěte nad dorazový držák nebo pod něj; tím určíte hloubku jádrování.
Pokud jsou všechny distanční podložky na horní části dorazového držáku, nastavení hloubky odpovídá 10,7 cm.
Silnými distančními podložkami se dosahuje přírůstků po 19 mm.
Tenké distanční podložky zajišťují přírůstky po 9,5 mm.
Note: Nainstalovat musíte všechny distanční podložky bez ohledu na jejich polohu.
Pomocí pojistného kolíku připevněte kolík a distanční podložky hloubkového dorazu k dorazovému držáku.
Uvedený postup 3 až 5 zopakujte na druhé straně stroje.
Important: Ujistěte se, že jsou distanční podložky nad levým a pravým dorazovým držákem a pod nimi umístěny stejně.
Namontujte kryt jádrovací hlavy, viz Montáž krytu jádrovací hlavy.
Note: Pokud provzdušňujete v manuálním režimu, musíte při každém spuštění motoru nastavit systém InfoCenter na manuální režim kopírování povrchu.
Otočte klíč zapalování do PROVOZNí polohy.
Note: Motor však nestartujte.
Pro přístup do chráněných nabídek zadejte kód PIN, viz Přístup do chráněných nabídek.
V systému InfoCenter přejděte do hlavní nabídky MAIN MENU.
Opakovaným stisknutím tlačítka dolů zvolte nabídku MACHINE SETTINGS (Nastavení stroje) a stiskněte výběrové tlačítko.
Opakovaným stisknutím tlačítka dolů zvolte nabídku MANUAL AERATION (Manuální provzdušňování) a stisknutím výběrového tlačítka (Obrázek 113) nastavte manuální provzdušňování na možnost ON (Zapnuto).

Nastartujte motor.
Provzdušňujte pomocí Provzdušňování v režimu opožděného spuštění nebo Provzdušňování v režimu okamžitého spuštění.
Note: Po vypnutí motoru a jeho nastartování se stroj automaticky přepne do režimu automatického kopírování povrchu.
Zaparkujte stroj na rovném povrchu, úplným zvednutím a zajištěním ovládací oje zatáhněte parkovací brzdu, vypněte motor, vyjměte klíč a počkejte, dokud se nezastaví všechny pohybující se součásti.
Demontujte kryt jádrovací hlavy, viz Demontáž krytu jádrovací hlavy.
Vyjměte pojistný kolík, který upevňuje kolík a distanční podložky hloubkového dorazu k dorazovému držáku (Obrázek 114).


Umístěte všechny distanční podložky nad dorazový držák.
Pomocí pojistného kolíku připevněte kolík a distanční podložky hloubkového dorazu k dorazovému držáku.
Note: Je nutné, abyste uložili všechny distanční podložky.
Uvedený postup 3 až 5 zopakujte na druhé straně stroje.
Namontujte kryt jádrovací hlavy, viz Montáž krytu jádrovací hlavy.
Při nastaveném přenosu hmotnosti je možné provzdušňovat půdu trávníku, která je tvrdá natolik, že by mohla zvednout zadní kola stroje nad zem. To může vést k nepravidelnému rozmístění otvorů.
Pokud dochází ke zvedání, můžete na trubku nápravy zadního rámu přidat volitelné desky protizávaží. Každá deska protizávaží zvýší hmotnost stroje o 28,5 kg. Můžete přidat až 2 desky. Objednací čísla protizávaží a upevňovacích prvků naleznete v katalogu náhradních dílů k vašemu stroji.
Potřebné nástroje: 15mm nástrčná hlavice a nástrčný klíč
Important: Motor nenechejte pracovat s otevřeným obtokovým ventilem déle než 10 až 15 sekund.
Stroj parkujte na rovném povrchu, je-li to možné.
Úplným zvednutím a zajištěním ovládací oje zatáhněte parkovací brzdu, vypněte motor, vyjměte klíč a počkejte, dokud se nezastaví všechny pohybující se součásti.
Demontujte 2 šrouby s přírubovou hlavou upevňující úložný koš ke konzole koše (Obrázek 115).

Vyhledejte kryt šroubu obtokového ventilu mezi motorem a hydraulickým čerpadlem (viz Obrázek 116).

Pomocí 15mm nástrčné hlavice a nástrčného klíče otočte obtokový ventil o 1 1/2 otáčky proti směru hodinových ručiček.
Important: Neotáčejte obtokovým ventilem o více než 1 1/2 otáčky.
Pokud chcete stroj táhnout, použijte přední upínací třmeny (Obrázek 117).
Important: Při tlačení/tažení stroje nepřekračujte vzdálenost 30,5 m nebo rychlost 0,6 km/h, neboť hrozí nebezpečí poškození součástí hydraulického systému.

Před tlačením/tažením stroje uvolněte parkovací brzdu sklopením ovládací oje.
Important: Před přemísťováním stroje musíte sklopením ovládací oje uvolnit parkovací brzdu.
Important: Pro jízdu se strojem je nutné obtokový ventil uzavřít. Nepokoušejte se používat systém pohonu s otevřeným obtokovým ventilem.
Vyhledejte šroub obtokového ventilu mezi motorem a hydraulickým čerpadlem.
Note: Umístění krytu šroubu obtokového ventilu zachycuje Obrázek 118.

Pomocí 15mm nástrčné hlavice a nástrčného klíče otočte obtokový ventil o 1 1/2 otáčky ve směru hodinových ručiček.
Note: Obtokový šroub neutahujte nadměrně.
Pomocí 15mm klíče namontujte kryt obtokového šroubu na hydraulické čerpadlo.
Pomocí 2 šroubů s přírubovou hlavou namontujte na konzolu koše úložný koš.
Pokud se při spuštěné jádrovací hlavě a hrotech zasunutých do země zastaví motor a není možné jej znovu nastartovat, postupujte dle pokynů v části Zvednutí jádrovací hlavy pomocí startéru nebo Demontáž držáků hrotů z děrovacích ramen.
Otočte klíč zapalování do PROVOZNí polohy.
V systému InfoCenter přejděte do hlavní nabídky MAIN MENU.
Opakovaným tisknutím tlačítka dolů zvolte nabídku SERVICE (Servis) a stiskněte výběrové tlačítko (Obrázek 119).

Opakovaným stisknutím tlačítka dolů zvolte nabídku SERVICE LIFT (Servisní zvednutí) a stiskněte výběrové tlačítko (Obrázek 120).
Note: Volba Service Lift (Servisní zvednutí) se změní na ON (Zapnuto).

Otočte klíč zapalování do polohy STARTOVáNí a protáčejte startér po dobu 10 sekund.
Important: Nepoužívejte startér v rámci jednoho pokusu déle než 10 sekund. Pokud se hroty nevysunou ze země, před dalším pokusem počkejte 30 sekund, aby systém mohl vychladnout. Pokud tyto pokyny nebudete dodržovat, můžete spálit elektromotor startéru.
Note: Jádrovací hlava vysune hroty ze země.
Important: Před uvedením stroje do pohybu se musí hroty zcela vysunout ze země.
Otevřete obtokový ventil, viz Zajištění obtoku hydraulického čerpadla a přemístění stroje.
Odtáhněte/odtlačte stroj na blízké místo, kde můžete pokračovat v servisu nebo jej naložit na přívěs.
Important: Při tlačení/tažení stroje nepřekračujte vzdálenost 30,5 m a rychlost 1,6 km/h, neboť by se mohl poškodit hydraulický systém.
Demontujte držáky hrotů z děrovacích ramen.
Otevřete obtokový ventil, viz Zajištění obtoku hydraulického čerpadla a přemístění stroje.
Odtáhněte/odtlačte stroj na blízké místo, kde můžete pokračovat v servisu nebo jej naložit na přívěs.
Important: Při tlačení/tažení stroje nepřekračujte vzdálenost 30,5 m a rychlost 1,6 km/h, neboť by se mohl poškodit hydraulický systém.
Při provzdušňování provádějte velmi pozvolné otáčky. Se zapnutou jádrovací hlavou nikdy nezatáčejte ostře. Před spuštěním provzdušňovače naplánujte trasu provzdušňování.
Vždy mějte na paměti, co se nachází před vámi ve směru jízdy vpřed. Vyhněte se provzdušňování v blízkosti budov, plotů a jiných zařízení.
Často se ohlížejte za sebe, abyste se ujistili, že stroj pracuje správně a že udržujete vyrovnaný směr s předchozím průjezdem.
Vždy z prostoru odstraňte případné poškozené části stroje, jako jsou zlomené hroty apod., abyste zabránili jejich zachycení sekačkou nebo jiným zařízením na údržbu trávníku.
Vyměňte zlomené hroty a zkontrolujte a případně opravte ty hroty, které jsou ještě použitelné. Před zahájením provozu opravte případná další poškození stroje.
Při provzdušňování s využitím menší než plné šířky stroje můžete odstranit hroty, ale hlavy hrotů musí zůstat na děrovacích ramenech, aby bylo zajištěno správné vyvážení a provoz stroje.
Tento stroj provzdušňuje hlouběji než většina provzdušňovačů greenů. Na původních nebo upravených vyvýšených greenech a odpalištích může být díky větší hloubce a delším dutým hrotům obtížné vysunout celé jádro. Důvodem je tvrdší původní půda, která ulpívá na konci hrotu. Hroty výrobce na úpravu greenů/odpališť s bočním odhozem půdy zůstávají čistší a zkracují dobu potřebnou k jejich čištění. Tento stav nakonec odstraníte průběžným provzdušňováním a rovnoměrným rozptylováním vhodných materiálů po trávníku (topdressing).
Tento stroj je navržen tak, aby zajišťoval provzdušňování do co největší hloubky. V některých podmínkách trávníku by se však při provzdušňování s nastavením maximální hloubky mohly poškodit ochranné kryty trávníku a/nebo šrouby ochranných krytů trávníku. Pokud při provzdušňování v maximální přípustné hloubce (s libovolně dlouhými hroty) po provedení kalibrace výšky hrotů nad zemí dochází k průniku šroubů ochranných krytů do trávníku nebo se šrouby trávníku dotýkají, snižte hloubku o jeden stupeň (1/4 palce).
Pokud je půda pro dosažení požadované hloubky děrování příliš pevná, může docházet k rytmickému nadzvedávání jádrovací hlavy. Důvodem je tvrdá vrstva, do které se hroty snaží proniknout. Tento stav lze řešit následujícím způsobem:
Pokud je půda příliš tvrdá nebo suchá, neprovzdušňujte ji. Nejlepších výsledků provzdušňování dosáhnete po dešti nebo po zalití trávníku v předchozím dni.
Pokud se pokoušíte používat hlavu se čtyřmi hroty, vyměňte ji za hlavu se třemi hroty nebo snižte počet hrotů na děrovací rameno. Snažte se zachovat symetrické uspořádání hrotů, aby byla děrovací ramena rovnoměrně zatížena.
Pokud je půda tvrdá, snižte průnik provzdušňovače (nastavení hloubky), odstraňte jádra, zavlažte trávník a znovu provzdušněte při hlubším průniku.
Provzdušňování půd na tvrdém podloží (tj. zemina/písek na kamenité půdě) může vést k nežádoucí kvalitě otvorů. K tomu dochází, když je hloubka provzdušnění větší než navrstvená půda a podloží je příliš tvrdé na to, aby do něj bylo možné proniknout. Když přijdou hroty do kontaktu s tvrdším podložím, může se provzdušňovač zvedat a protahovat horní části otvorů. Zmenšete hloubku provzdušňování natolik, aby nedocházelo k pronikání do tvrdého podloží.
Kvalita vstupního otvoru se zhoršuje, když je otvor prodloužený (protažený dopředu).
Pokud se kvalita vstupní části otvoru zhoršuje, zkontrolujte kalibraci výšky hrotů nad zemí, viz Kontrola kalibrace výšky hrotů nad zemí.
Jádrovací hlava s malými hroty vyžaduje kvůli dvouřadé konstrukci nastavení rozteče otvorů na 6,3 cm. Pro zachování rozteče 3,2 cm mezi otvory je rozhodující rychlost jízdy. Pokud rozteč otvorů vyžaduje malou změnu, postupujte podle pokynů v části Nastavení rozteče otvorů.
Při použití malých hrotů nebo větších pevných hrotů je důležitá struktura kořenů trávníku, aby nedošlo k jeho poškození v důsledku protržení kořenové zóny. Jestliže 2 prostřední ramena začnou zvedat trávník nebo dochází k nadměrnému poškození kořenové zóny, postupujte následovně:
Zvětšete rozteč otvorů
Zmenšete velikost hrotů
Snižte hloubku hrotů
Odeberte některé hroty
Zvedání, ke kterému dochází při vysunování pevného hrotu z trávníku, může způsobit poškození trávníku. Nadzvednutí může porušit kořenovou zónu, pokud je příliš velká hustota hrotů nebo průměr hrotů.
Při provzdušňování delšími pevnými hroty (např. ⅜ x 4 in dlouhými) nebo hroty jehlového typu se může stát, že přední část otvoru bude protažená nebo bude mít promáčklé okraje. Chcete-li u této konfigurace obnovit vynikající kvalitu otvoru, zkuste následující:
Proveďte kalibraci výšky hrotů nad zemí, viz Kalibrace výšky hrotů nad zemí.
Snižte vysoké volnoběžné otáčky motoru na 2 800 až 2 900 ot/min.
Note: Vzhledem k tomu, že se rychlost pojezdu a jádrovací hlavy zvyšuje a snižuje spolu s otáčkami motoru, není rozteč otvorů ovlivněna.
Pokud se snížením otáček motoru kvalita otvoru u delších pevných nebo jehlových hrotů zlepší, nastavte mechanismus tlumení Roto-Link.
Note: Za většiny podmínek nejlépe funguje tovární nastavení.
Pokud je přední část otvorů protažená nebo má promáčklé okraje, pomáhá tužší nastavení mechanismu Roto-Link předcházet protahování okraje otvorů a zlepšovat jejich kvalitu.
Pokud je protažená nebo má promáčklé okraje zadní část otvorů, pomáhá zlepšovat kvalitu otvorů měkčí nastavení mechanismu Roto-Link.
Note: Začnete-li znovu používat hroty jádrovacího typu nebo některé z malých hrotů, musíte polohu tlumiče Roto-Link změnit.
Zaparkujte stroj na rovném povrchu, úplným zvednutím a zajištěním ovládací oje zatáhněte parkovací brzdu, vypněte motor, vyjměte klíč a počkejte, dokud se nezastaví všechny pohybující se součásti.
Demontujte kryt jádrovací hlavy, viz Demontáž krytu jádrovací hlavy.
Zabezpečte jádrovací hlavu pomocí servisní západky, viz Podepření jádrovací hlavy servisní západkou.
Note: Z výroby je jedna distanční podložka mechanismu Roto-Link umístěna na hřídeli tlumení mechanismu Roto-Link a jedna distanční podložka v úložné poloze na každém děrovacím rameni.
Note: Nastavení mechanismu tlumení Roto-Link umožňuje provozovat stroj při plných otáčkách motoru (3 400 ot/min), avšak pro zlepšení kvality otvorů může být nutné provzdušňovat při nižších otáčkách.
Demontujte 2 pojistné matice s nákružkem, které upevňují hřídel tlumení mechanismu Roto-Link k zadnímu rámu stroje (Obrázek 121).

Vyjměte distanční podložku (pokud je uložena) a tvrzené oválné podložky.
Otočte tlumicí táhlo a hřídel tlumení dolů (Obrázek 122).

Chcete-li korigovat níže uvedené stavy vznikající při děrování, umístěte distanční podložku mechanismu Roto-Link tak, jak je uvedeno:
Note: Každá distanční podložka odpovídá 12,7 mm. Dolní dorazová distanční podložka musí zůstat nasazená na tlumicím hřídeli.
Pokud je přední část otvorů protažená nebo má promáčklé okraje, umístěte distanční podložky nad zadní rám do úložné polohy.
Pokud je protažená nebo má promáčklé okraje zadní část otvorů, umístěte obě distanční podložky na každé straně hřídele tlumení mechanismu Roto-Link nad zadní rám.
Otočte tlumicí táhlo a hřídel tlumení nahoru a zasuňte čepy do otvorů v zadním rámu stroje.
Zajistěte hřídel tlumení a distanční podložky k zadnímu rámu pomocí tvrzených oválných podložek a pojistných matic (Obrázek 123).

Pojistné matice s nákružkem utáhněte na utahovací moment 47 až 61 Nm (35 až 45 ft-lb).
Zopakujte kroky 1 a 7 u dalších 2 děrovacích ramen.
Uložte servisní západku, viz Uložení servisní západky.
Namontujte kryt jádrovací hlavy, viz Montáž krytu jádrovací hlavy.
Proveďte kalibraci výšky hrotů nad zemí, viz Kalibrace výšky hrotů nad zemí.
Přemístěte stroj do zkušební oblasti, provzdušněte trávník a porovnejte kvalitu otvorů.
Pokud se kvalita zlepšila, zopakujte kroky uvedené v části Příprava stroje, Nastavení mechanismu tlumení Roto-Link a Montáž krytu jádrovací hlavy a nastavte mechanismus tlumení Roto-Link na dalších 3 děrovacích ramenech.
Zaparkujte stroj na rovném povrchu, úplným zvednutím a zajištěním ovládací oje zatáhněte parkovací brzdu, vypněte motor, vyjměte klíč a počkejte, dokud se nezastaví všechny pohybující se součásti.
Pokud stroj nepoužíváte, spusťte jádrovací hlavu dolů nebo ji zajistěte servisní západkou.
Udržujte všechny díly stroje v dobrém provozním stavu a dbejte na to, aby byly utaženy všechny upevňovací prvky.
Veškeré opotřebené, poškozené nebo chybějící štítky nahraďte novými.
| Servisní interval | Postup při údržbě |
|---|---|
| Při každém použití nebo denně |
|
Important: Stroj nikdy nemyjte brakickou nebo recyklovanou vodou.
Important: K mytí stroje nepoužívejte vysokotlaké zařízení.
Zaparkujte stroj na rovném povrchu, úplným zvednutím a zajištěním ovládací oje zatáhněte parkovací brzdu, vypněte motor, vyjměte klíč a počkejte, dokud se nezastaví všechny pohybující se součásti.
Důkladně stroj umyjte.
Použijte zahradní hadici bez trysky, abyste zabránili průniku vody do těsnění a znečištění maziva ložisek.
K odstranění přilnutého materiálu použijte kartáč.
K čištění krytů použijte jemný čisticí prostředek.
Po čištění pravidelně nanášejte vrstvu autovosku, abyste zachovali lesklou povrchovou úpravu kapoty.
Zkontrolujte, zda stroj není poškozený, zda z něj neuniká olej a zda nedošlo k opotřebení součástí a hrotů.
Demontujte hroty, vyčistěte je a naolejujte. Nastříkejte lehkou olejovou mlhu na ložiska jádrovací hlavy (kliková a tlumicí táhla).
Important: Pokud stroj skladujete déle než několik dní, zajistěte jádrovací hlavu servisní západkou.
Upínací třmeny se nacházejí v přední a zadní části stroje (Obrázek 124, Obrázek 125 a Obrázek 126).
Note: K připoutání stroje použijte popruhy s odpovídajícími parametry schválené ministerstvem dopravy; hmotnost stroje viz Technické údaje.



Jízda se strojem po veřejné komunikaci nebo silnici bez směrových světel, osvětlení, označení odrazovými sklíčky a označení symbolem pomalu jedoucího vozidla je nebezpečná a může vést k nehodám s možným zraněním.
Nejezděte se strojem po veřejné komunikaci nebo silnici.
Important: Při nakládání stroje na přívěs nebo nákladní vozidlo používejte nájezdové plošiny stejně široké jako stroj.
Naložte stroj na přívěs nebo nákladní automobil (jádrovací hlava pokud možno vpředu).
Úplným zvednutím a zajištěním ovládací oje zatáhněte parkovací brzdu, vypněte motor, vyjměte klíč a počkejte, dokud se nezastaví všechny pohybující se součásti.
Zabezpečte jádrovací hlavu pomocí servisní západky, viz Podepření jádrovací hlavy servisní západkou.
Zavřete uzavírací ventil paliva, viz Uzavírací ventil paliva.
Na upínacích místech připoutejte stroj k přívěsu nebo nákladnímu vozidlu pomocí lan, řetězů nebo popruhů; viz Upínací body.
| Hmotnost | 745 kg nebo 829 kg se dvěma volitelnými závažími |
| Šířka | Minimálně 130 cm |
| Délka | Minimálně 267 cm |
| Úhel nájezdové plošiny | Maximální rozteč 3,5/12 (16°) |
| Směr zatížení | Jádrovací hlava dopředu (nejvhodnější pozice) |
| Tažná kapacita vozidla | Větší než celková hmotnost přívěsu (GTW) |
Note: Volnou kopii elektrického nebo hydraulického schématu stáhnete na stránkách www.Toro.com, kde vyhledejte svůj stroj v odkazech na návody na domovské stránce.
Note: Další pokyny k postupům údržby naleznete v návodu k obsluze motoru.
Note: Levá a pravá strana stroje se určuje z pohledu obsluhy v běžné pracovní pozici.
Zaparkujte stroj na rovném povrchu, úplným zvednutím a zajištěním ovládací oje zatáhněte parkovací brzdu, vypněte motor, vyjměte klíč a počkejte, dokud se nezastaví všechny pohybující se součásti. Před seřizováním, údržbou, čištěním nebo uskladněním nechejte stroj vychladnout.
Provádějte pouze údržbu uvedenou v této příručce. Pokud musíte provést rozsáhlejší opravu stroje nebo potřebujete pomoc, obraťte se na autorizovaného distributora Toro.
Udržujte stroj v bezpečném provozním stavu řádným dotahováním všech matic, šroubů a vrutů.
Je-li to možné, neprovádějte údržbu se spuštěným motorem. Nepřibližujte se k pohybujícím se částem.
Opatrně uvolněte tlak z dílů s akumulovanou energií.
Denně kontrolujte upevňovací šrouby hrotů a ujišťujte se, zda jsou utaženy podle specifikace.
Po údržbě nebo seřízení stroje bezpečně namontujte všechny kryty a kapotu.
| Servisní interval | Postup při údržbě |
|---|---|
| Po prvních 8 hodinách |
|
| Po prvních 50 hodinách |
|
| Při každém použití nebo denně |
|
| Po každých 25 hodinách provozu |
|
| Po každých 50 hodinách provozu |
|
| Po každých 100 hodinách provozu |
|
| Po každých 200 hodinách provozu |
|
| Po každých 250 hodinách provozu |
|
| Po každých 400 hodinách provozu |
|
| Po každých 500 hodinách provozu |
|
| Před uskladněním |
|
| Každý rok |
|
Important: Další pokyny k postupům údržby naleznete v návodu k obsluze motoru.
Tuto stránku si zkopírujte pro každodenní použití.
| Úkon údržby | Pro týden: | ||||||
|---|---|---|---|---|---|---|---|
| Pondělí | Úterý | Středa | Čtvrtek | Pátek | Sobota | Neděle | |
| Zkontrolujte činnost ochranných spínačů. | |||||||
| Zkontrolujte funkci parkovací brzdy. | |||||||
| Zkontrolujte hladinu motorového oleje. | |||||||
| Zkontrolujte hladinu paliva.. | |||||||
| Prohlédněte vzduchový filtr. | |||||||
| Zkontrolujte znečištění motoru. | |||||||
| Kontrola nezvyklé hlučnosti motoru | |||||||
| Kontrola neobvyklých provozních zvuků | |||||||
| Zkontrolujte hladinu hydraulické kapaliny. | |||||||
| Zkontrolujte, zda nedošlo k poškození hydraulických hadic. | |||||||
| Zkontrolujte, zda nedochází k úniku kapalin. | |||||||
| Kontrola funkce přístrojů | |||||||
| Zkontrolujte stav hrotů. | |||||||
| Oprava poškozeného laku | |||||||
Important: Další pokyny k postupům údržby naleznete v návodu k obsluze motoru.
| Kontrolu provedl(a): | ||
| Položka | Datum | Informace |
| 1 | ||
| 2 | ||
| 3 | ||
| 4 | ||
| 5 | ||
| 6 | ||
| 7 | ||
| 8 | ||
Jestliže ponecháte klíč ve spínači zapalování, může kdokoli spustit motor a způsobit vám nebo přihlížejícím osobám vážné zranění.
Zaparkujte stroj na rovném povrchu, úplným zvednutím a zajištěním ovládací oje zatáhněte parkovací brzdu, vypněte motor, vyjměte klíč a počkejte, dokud se nezastaví všechny pohybující se součásti.
Important: Upevňovací prvky na krytech stroje musí po demontáži zůstat na krytech. Povolte všechny upevňovací prvky na všech krytech o několik otáček, aby kryty byly volné, ale zůstaly na místě. Poté je opět povolte, aby se kryty uvolnily. Tím zabráníte nežádoucímu vyšroubování šroubů z upevňovacích prvků.
Zaparkujte stroj na rovném povrchu.
Úplným zvednutím a zajištěním ovládací oje zatáhněte parkovací brzdu, viz Zatažení parkovací brzdy.
Před opuštěním místa obsluhy vypněte motor, vyjměte klíč a počkejte, dokud se nezastaví všechny pohybující se části, viz Vypnutí motoru.
Nechejte stroj vychladnout.
Pokud stroj není správně zabezpečen bloky nebo montážními stolicemi, může se pohybovat nebo spadnout, což by mohlo vést ke zranění osob.
Při výměně přídavných zařízení a pneumatik nebo provádění jiné údržby používejte vhodné bloky, zvedáky a montážní stolice.
Ujistěte se, že je stroj zaparkován na pevném a rovném povrchu, například na betonové podlaze.
Před zvednutím stroje odstraňte všechna přídavná zařízení, která by mohla bránit bezpečnému a správnému zvednutí stroje.
Vždy zablokujte kola nebo je založte klíny. K podepření zvednutého stroje použijte montážní stolice nebo masivní dřevěné špalky.
Připravte stroj na údržbu, viz Příprava stroje na provedení údržby.
Založte zadní kola klíny, aby se stroj nemohl uvést do pohybu.
Important: Aby nedošlo k poškození motoru kola, nepoužívejte motor předního kola jako zvedací bod.
Umístěte zvedák bezpečně pod nosné rameno předního kola (Obrázek 127).

Zvedněte přední část stroje nad zem.
Podepřete stroj tak, že pod přední část rámu umístíte montážní stolice nebo bloky z tvrdého dřeva.
Připravte stroj na údržbu, viz Příprava stroje na provedení údržby.
Založte přední kola klíny, aby se stroj nemohl uvést do pohybu.
Important: Aby nedošlo k poškození motoru kola, nepoužívejte motor zadního kola jako zvedací bod.
Umístěte zvedák bezpečně pod desku rámu těsně u zadního kola (Obrázek 128).

Note: Pokud je to možné, ke zvednutí zadní části stroje použijte zvedák. Jako upevňovací body zvedáku použijte oka v ložiskových pouzdrech jádrovací hlavy (Obrázek 129).

Zvedněte zadní část stroje nad zem.
Podepřete stroj tak, že pod rám umístíte montážní stolice nebo bloky z tvrdého dřeva.
Vyrovnejte montážní konzolu krytu řemenu s nosnou konzolou krytu rámu stroje (Obrázek 133).

Spusťte kryt řemenu dolů (Obrázek 134).

Úplným sklopením rukojeti západky kryt zajistěte (Obrázek 135).

Pokud je váš stroj vybaven pojistnou šňůrou krytu řemenu odpovídající normám CE, namontujte šroub šňůry do otvoru v západce krytu a šroub utáhněte (Obrázek 136).


Pokud je stroj vybaven zámky západky odpovídajícími normám CE, povolte šroub pojistné desky natolik, aby se pojistná deska uvolnila z drážky na boku krytu jádrovací hlavy (Obrázek 138).

Otočením pojistné desky uvolněte západku (Obrázek 138).
Kroky 1 a 2 zopakujte na druhé straně krytu.
Odjistěte kryt jádrovací hlavy v místě 4 západek (Obrázek 137 a Obrázek 139).

Zvedněte kryt jádrovací hlavy ze stroje (Obrázek 140).

Vyrovnejte kryt jádrovací hlavy na stroji, viz Obrázek 141.

Zajistěte kryt jádrovací hlavy v místě 4 západek (Obrázek 142).
Pokud je stroj vybaven zámky západky odpovídajícími normám CE, otočte pojistnou desku natolik, aby se vyrovnala s drážkou na boku krytu jádrovací hlavy (Obrázek 143).



Utáhněte šroub pojistné desky (Obrázek 143).
Kroky 3 a 4 zopakujte na druhé straně krytu.
| Servisní interval | Postup při údržbě |
|---|---|
| Po každých 500 hodinách provozu |
|
| Každý rok |
|
Stroj nemá žádné maznice, které by bylo nutné promazat.
Important: Ložiska zřídkakdy přestanou fungovat z důvodu vady materiálu nebo zpracování. Nejčastější příčinou poruchy je vlhkost a znečištění, které se dostanou přes ochranné těsnění. Ložiska, která je nutno mazat, vyžadují pravidelnou údržbu k odstranění škodlivých nečistot z oblasti ložisek. Utěsněná ložiska se spoléhají na počáteční náplň speciálního maziva a robustní integrované těsnění, které zabraňuje vniknutí nečistot a vlhkosti do valivých těles.
Utěsněná ložiska nevyžadují mazání ani krátkodobou údržbu. Tím se minimalizuje nutnost běžné údržby a snižuje možnost poškození trávníku v důsledku znečištění mazivem. Utěsněné ložiskové sestavy zajišťují dobrý výkon a životnost při běžném používání, ale v zájmu předcházení prostojům je třeba pravidelně kontrolovat stav ložisek a neporušenost těsnění. Ložiska kontrolujte jednou za sezónu a vyměňte je, jsou-li poškozená nebo opotřebená. Ložiska musí mít hladký chod a nesmějí projevovat známky poškození, jako je vysoká teplota, hluk, vůle nebo prosakování rzi.
Vzhledem k provozním podmínkám, kterým jsou tyto sestavy ložisek/těsnění vystaveny (např. písek, chemikálie na trávník, voda, nárazy atd.), jsou považovány za položky běžného opotřebení. Na ložiska, která selžou z jiných příčin než v důsledku vad materiálu nebo zpracování, se obvykle nevztahuje záruka.
Note: Nevhodným postupem při mytí můžete ložisko poškodit. Nemyjte stroj, pokud je stále horký, a nestříkejte proud vody pod vysokým tlakem nebo nadměrné množství vody přímo na ložiska.
U nových ložisek nového stroje je běžné, že dochází k uvolňování určitého množství maziva z těsnění. Toto uvolněné mazivo zčerná v důsledku usazování nečistot, nikoli v důsledku nadměrného tepla. Po prvních 8 hodinách je vhodné přebytečné mazivo z těsnění otřít. Místo kolem hrany těsnění se vždy může jevit jako vlhké. To nesnižuje životnost ložiska, ale zajišťuje stálé mazání hrany těsnění.
Před kontrolou hladiny oleje a doplňováním oleje do klikové skříně vypněte motor.
Neměňte otáčky regulátoru a nepřekračujte maximální otáčky motoru.
| Servisní interval | Postup při údržbě |
|---|---|
| Po každých 25 hodinách provozu |
|
| Po každých 100 hodinách provozu |
|
Připravte stroj na údržbu, viz Příprava stroje na provedení údržby.
Očistěte okolí vzduchového filtru, abyste zabránili vniknutí nečistot do motoru a jeho možnému poškození.
Odšroubujte knoflík a sejměte kryt vzduchového filtru (Obrázek 144).

Opatrně stáhněte pěnový předřadný filtr z papírové vložky (Obrázek 144).
Demontujte matici krytu a sejměte kryt, rozpěrný kroužek a papírový filtr (Obrázek 144).
Important: Je-li pěnová vložka roztržená nebo opotřebená, vyměňte ji.
Pěnový předřadný filtr umyjte v tekutém mýdlu a teplé vodě. Po vyčištění jej důkladně opláchněte.
Stlačením v čistém hadru předřadný filtr vysušte (neždímat).
Na předřadný filtr nalijte 30 až 60 ml oleje (Obrázek 145).

Stlačením filtru zajistěte, aby se olej rozprostřel.
Zkontrolujte, zda na papíru filtru nejsou trhliny či vrstva oleje a zda není poškozeno pryžové těsnění (Obrázek 146).

Important: Papírovou vložku nikdy nečistěte. Pokud je papírová vložka znečištěná nebo poškozená, vyměňte ji.
Important: Aby nedošlo k poškození motoru, při jeho provozu musí být vždy namontována kompletní sestava pěnového a papírového vzduchového filtru.
Opatrně navlékněte pěnový předřadný filtr na papírový filtr (Obrázek 147).

Nasaďte sestavu vzduchového filtru na základnu vzduchového filtru.
Namontujte kryt, distanční podložku a matici krytu.
Matici utáhněte na utahovací moment 11 Nm (95 in-lb).
Nasaďte kryt vzduchového filtru a upevněte jej knoflíkem.
Typ oleje: Vysoce kvalitní detergentní motorový olej API klasifikace SJ nebo vyšší
Viskozita oleje: Viz níže uvedená tabulka:

| Servisní interval | Postup při údržbě |
|---|---|
| Při každém použití nebo denně |
|
Motor je dodáván s olejovou náplní v klikové skříni, avšak před prvním spuštěním motoru a po něm hladinu oleje zkontrolujte.
Používejte vysoce kvalitní motorový olej podle popisu v části Specifikace motorového oleje.
Important: Klikovou skříň nepřeplňujte olejem.Nespouštějte motor, pokud je hladina motorového oleje pod spodní ryskou.
Note: Pro kontrolu motorového oleje je nejvhodnější doba před zahájením práce na začátku dne, kdy je motor studený. Pokud již motor běžel, před kontrolou nechejte olej alespoň 10 minut stékat zpět do olejové vany.
Připravte stroj na údržbu, viz Příprava stroje na provedení údržby.
Nechejte motor vychladnout.
Vyčistěte prostor kolem uzávěru plnicího hrdla oleje a měrku (Obrázek 149).

Vyjměte měrku, otřete ji dočista a zcela ji zasuňte.
Vyjměte olejovou měrku a zkontrolujte hladinu oleje.
Hladina motorového oleje musí být na měrce mezi horní ryskou F“ a dolní ryskou L“.
Je-li hladina oleje pod dolní ryskou L“, sejměte uzávěr plnicího hrdla oleje a doplňujte specifikovaný motorový olej, dokud jeho hladina na měrce nedosáhne horní rysky F“.
Nasaďte uzávěr plnicího hrdla oleje a měrku.
| Servisní interval | Postup při údržbě |
|---|---|
| Po prvních 50 hodinách |
|
| Po každých 100 hodinách provozu |
|
Objem klikové skříně: Přibližně 1,9 l včetně filtru.
Spusťte motor a nechejte jej 5 minut běžet. Olej se tím zahřeje a bude snadněji vytékat.
Zaparkujte stroj tak, aby vypouštěcí strana byla o něco níže než protilehlá strana, a tím bylo možné vypustit veškerý olej, vypněte motor, úplným zvednutím a zajištěním ovládací oje zatáhněte parkovací brzdu a vyjměte klíč.
Pod vypouštěcí zátku oleje umístěte nádobu a zátku demontujte (Obrázek 150).
Note: Nechejte veškerý obsah oleje vytéct.

Našroubujte vypouštěcí zátku oleje do motoru a utáhněte ji.
Note: Použitý olej odevzdejte do certifikovaného recyklačního střediska.
Pod olejový filtr umístěte mělkou nádobu a filtr demontujte (Obrázek 150).
Note: Použitý olejový filtr odevzdejte do certifikovaného recyklačního střediska.
Povrch adaptéru filtru otřete dočista.
Naplňte nový olejový filtr až po spodní okraj závitu specifikovaným olejem.
Nechejte filtr 2 minuty absorbovat olej a poté přebytečný olej vylijte.
Těsnění filtru potřete tenkou vrstvou nového oleje.
Olejový filtr našroubujte na adaptér filtru tak, aby těsnění dosedlo na adaptér. Potom filtr dotáhněte o další 1/2 otáčky (Obrázek 150).

Vyčistěte prostor kolem uzávěru plnicího hrdla oleje a měrku (Obrázek 152).

Demontujte víčko plnicího hrdla oleje a pomalu nalijte přes kryt ventilu přibližně 80 % určeného množství oleje.
Pomalu doplňte další olej, aby hladina na měrce dosáhla rysky F“ (horní mez hladiny), viz Specifikace motorového oleje a Kontrola hladiny motorového oleje.
Important: Klikovou skříň nepřeplňujte olejem.
Nasaďte uzávěr plnicího hrdla oleje a měrku.
| Servisní interval | Postup při údržbě |
|---|---|
| Po každých 200 hodinách provozu |
|
Připravte stroj na údržbu, viz Příprava stroje na provedení údržby.
Odpojte kabely od zapalovacích svíček (Obrázek 153).

Vyčistěte prostor v okolí zapalovacích svíček.
K demontáži zapalovacích svíček a kovových těsnění použijte nástrčný klíč na zapalovací svíčky.
Typ zapalovací svíčky: Champion RC12YC nebo ekvivalentní
Vzdálenost elektrod: 0,75 mm
Zaměřte se na střed obou zapalovacích svíček (Obrázek 154). Je-li izolátor světle hnědý nebo šedý, motor pracuje správně. Černý povlak na izolátoru obvykle značí znečištění vzduchového filtru.
Important: Zapalovací svíčky nikdy nečistěte. Zapalovací svíčky vyměňte vždy, když mají černý nebo olejový povlak a elektrody jsou popraskané nebo opotřebené.

Zkontrolujte mezeru mezi středovou a boční elektrodou.
Pokud není mezera správná, boční elektrodu přihněte.
Před montáží každé zapalovací svíčky se přesvědčte, zda je mezi středovou a boční elektrodou správná vzduchová mezera. K demontáži a montáži zapalovacích svíček použijte klíč na zapalovací svíčky a k měření a nastavení vzdálenosti elektrod použijte nástroj k nastavení mezery nebo spárovou měrku. V případě potřeby namontujte nové zapalovací svíčky.
Zašroubujte zapalovací svíčky do otvorů pro zapalovací svíčky motoru.
Pomocí nástrčného klíče na zapalovací svíčky a momentového klíče dotáhněte zapalovací svíčky na utahovací moment 27 Nm (20 ft-lb).
K zapalovacím svíčkám připojte kabely zapalovacích svíček (Obrázek 155).

| Servisní interval | Postup při údržbě |
|---|---|
| Při každém použití nebo denně |
|
Mřížku motoru kontrolujte a čistěte před každým použitím. Z mřížky odstraňte případný nános trávy a jiné nečistoty.
Palivo a jeho výpary jsou za určitých podmínek vysoce hořlavé a výbušné. Požár nebo výbuch způsobený palivem může popálit vás i jiné osoby a způsobit škody na majetku.
Palivo doplňujte do nádrže venku na otevřeném prostranství a při vypnutém a studeném motoru. Rozlité palivo utřete.
Neplňte palivovou nádrž až po horní okraj. Doplňujte palivo, dokud jeho hladina nedosahuje 25 mm pod horní okraj nádrže, nikoli plnicího hrdla. Tento prázdný prostor v nádrži umožňuje expanzi paliva.
Při práci s palivem nikdy nekuřte, zůstávejte dále od otevřeného ohně nebo od míst, kde by mohlo jiskřením dojít ke vznícení palivových výparů.
Palivo skladujte v čisté bezpečnostní nádobě a s nasazeným uzávěrem.
| Servisní interval | Postup při údržbě |
|---|---|
| Po každých 100 hodinách provozu |
|
Important: Nikdy nemontujte zpět znečištěný filtr, pokud jste jej vyjmuli z palivového potrubí.
Připravte stroj na údržbu, viz Příprava stroje na provedení údržby.
Zavřete uzavírací ventil paliva (Obrázek 156).


Stlačte konce hadicových spon k sobě a odsuňte je směrem od filtru.
Odpojte filtr od palivových hadic.
Umístěte palivový filtr tak, aby šipka směřovala k motoru, a nasaďte palivovou hadici na spojku filtru.
Umístěte hadicové spony do blízkosti palivového filtru a utáhněte je.
Veškeré rozlité palivo otřete.
Otevřete uzavírací ventil paliva.
Za určitých podmínek je palivo extrémně hořlavé a vysoce výbušné. Požár nebo výbuch způsobený palivem může popálit vás i jiné osoby a způsobit škody na majetku.
Palivo z palivové nádrže vypouštějte, jen když je motor studený. Provádějte to venku na otevřeném prostranství. Rozlité palivo utřete.
Při vypouštění paliva nikdy nekuřte a nepřibližujte se k otevřenému ohni ani k místům, kde by jiskry mohly zapříčinit vznícení palivových výparů.
Připravte stroj na údržbu, viz Příprava stroje na provedení údržby.
Zavřete uzavírací ventil paliva (Obrázek 157).


Uvolněte hadicovou sponu u palivového filtru a vysuňte ji nahoru po palivovém vedení směrem od palivového filtru.
Odpojte palivové vedení od palivového filtru.
Otevřete uzavírací ventil paliva a nechejte palivo vytéct do nádoby na palivo nebo do vypouštěcí nádoby.
Note: Nyní je nejlepší čas pro instalaci nového palivového filtru, protože je palivová nádrž prázdná.
Namontujte palivovou hadici na spojku filtru.
Umístěte hadicové spony do blízkosti palivového filtru a utáhněte je.
Před opravou odpojte akumulátor. Jako první odpojte záporný vývod a pak teprve kladný vývod. Jako první připojte kladný vývod a pak teprve záporný vývod.
Akumulátor dobíjejte v dobře větraném otevřeném prostoru a v dostatečné vzdálenosti od zdroje jiskření nebo ohně. Před připojením nebo odpojením akumulátoru nejprve odpojte nabíječku.
Noste ochranný oděv a používejte izolované nářadí.
| Servisní interval | Postup při údržbě |
|---|---|
| Každý rok |
|
Udržujte horní část akumulátoru v čistotě.
Uvolněte západku a otevřete dvířka přihrádky akumulátoru (Obrázek 158).

Horní část akumulátoru vyčistěte pomocí kartáče namočeného v roztoku amoniaku nebo uhličitanu sodného.
Important: Během čištění nesundávejte z akumulátoru uzávěry plnicích otvorů.
Povrch akumulátoru a přihrádku akumulátoru důkladně vypláchněte čistou vodou.
Zavřete dvířka přihrádky akumulátoru a zajistěte na západku.
| Servisní interval | Postup při údržbě |
|---|---|
| Každý rok |
|
Vývody akumulátoru nebo kovové nářadí se mohou při kontaktu s kovovými součástmi hnací jednotky zkratovat, a tím způsobit jiskření. Jiskry by mohly zapříčinit explozi plynů z akumulátoru a následné zranění osob.
Při vyjímání nebo montáži akumulátoru dbejte na to, aby se vývody akumulátoru nedotýkaly žádných kovových částí stroje.
Dejte pozor, abyste kovovým nástrojem nezkratovali vývody akumulátoru proti kovovým částem stroje.
Nesprávné vedení kabelů akumulátoru by mohlo poškodit stroj a kabely a zapříčinit jiskření. Jiskry by mohly způsobit explozi plynů z baterie a následné zranění osob.
Vždy odpojujte nejprve kabel ze záporného vývodu akumulátoru (černý) a teprve potom kabel z kladného vývodu akumulátoru (červený).
Vždy připojujte nejdříve kabel z kladného vývodu akumulátoru (červený) a teprve potom kabel ze záporného vývodu (černý).
Uvolněte západku a otevřete dvířka přihrádky akumulátoru (Obrázek 159).

Přesvědčte se, zda jsou svorky kabelu akumulátoru bezpečně připojeny.
Uvolněné svorky kabelů akumulátoru utáhněte.
Přesvědčte se, zda nejsou kabelové svorky akumulátoru a vývody akumulátoru zkorodované.
Pokud jsou vývody zkorodované, odpojte záporný kabel akumulátoru.
Odpojte kladný kabel akumulátoru.
Očistěte kabelové svorky a vývody akumulátoru.
Připojte kladný kabel baterie.
Připojte záporný kabel baterie.
Na svorky kabelů a vývody akumulátoru naneste tenkou vrstvu maziva Grafo 112X (č. dílu Toro 505-47).
Zavřete dvířka přihrádky akumulátoru a zajistěte na západku.
Elektrický systém je chráněn pojistkami. Pokud dojde ke spálení pojistky, zkontrolujte součást a kabeláž a přesvědčte se, zda nedošlo ke zkratu s kostrou.
Uvolněte západku a otevřete dvířka přihrádky akumulátoru (Obrázek 160).

Demontujte kryt z pojistkového bloku (Obrázek 161).
Note: Pojistka ventilátoru je vložená za akumulátorem (Obrázek 162).


Vyjměte spálenou pojistku.
Nainstalujte novou pojistku o jmenovitém proudu uvedeném na štítku pojistkového bloku.
Na pojistkový blok (nebo na pojistku ventilátoru) namontujte kryt.
Zavřete dvířka přihrádky akumulátoru a zajistěte na západku.
| Servisní interval | Postup při údržbě |
|---|---|
| Po každých 50 hodinách provozu |
|
Připravte stroj na údržbu, viz Příprava stroje na provedení údržby.
Tlak vzduchu ve všech pneumatikách udržujte na hodnotě 0,83 bar (83 kPa). Nejpřesnější hodnotu tlaku získáte při kontrole studených pneumatik.
Important: Nerovnoměrný tlak v pneumatikách může zapříčinit nerovnoměrnou hloubku jádrování.

Závaží kola je velmi těžké – 33 kg.
Při demontáži ze sestavy pneumatik proto dbejte zvýšené opatrnosti.
| Servisní interval | Postup při údržbě |
|---|---|
| Každý rok |
|
Hnací řemeny stroje jsou odolné. Běžné vystavení UV záření, ozónu nebo náhodnému působení chemikálií však může časem pryž znehodnotit a vést k předčasnému opotřebení nebo ztrátě materiálu (např. oddělené nebo chybějící vrstvy řemenu).
Demontujte kryt řemenu, viz Demontáž krytu řemenu
Zkontrolujte řemeny hydraulického čerpadla, předlohového hřídele a klikového hřídele (Obrázek 164) a přesvědčte se, zda nejsou poškozené, opotřebované, zda nemají na povrchu nadměrné trhliny nebo velké zaryté předměty.
Note: V případě potřeby řemeny vyměňte.

Namontujte kryt řemenu, viz Montáž krytu řemenu.
| Servisní interval | Postup při údržbě |
|---|---|
| Po prvních 8 hodinách |
|
Připravte stroj na údržbu, viz Příprava stroje na provedení údržby.
Demontujte kryt řemenu, viz Demontáž krytu řemenu
Povolujte šroub s přírubovou hlavou a pojistnou matici s nákružkem, které zajišťují napínací řemenici řemenu hydraulického čerpadla, dokud se šroub v drážce držáku napínací řemenice neposune (Obrázek 165).


Poklepejte na horní část napínací řemenice a nechejte napínací pružinu nastavit napnutí řemenu.
Important: Řemen nenapínejte víc, než dovoluje napínací pružina, protože by mohlo dojít k poškození součástí.
Šroub s přírubovou hlavou a pojistnou matici s nákružkem utáhněte na utahovací moment 37 až 45 Nm (27 až 33 ft-lb).
Namontujte kryt řemenu, viz Montáž krytu řemenu.
Pokud kapalina vnikne do kůže, vyhledejte okamžitě lékařskou pomoc. Vstříknutou kapalinu musí lékař chirurgicky odstranit do několika hodin.
Před natlakováním hydraulické soustavy zkontrolujte bezvadný stav všech hydraulických hadic a potrubí a utažení všech hydraulických spojek a přípojek.
Tělo a ruce mějte v dostatečné vzdálenosti od netěsnících míst nebo trysek, ze kterých uniká hydraulická kapalina pod vysokým tlakem.
K nalezení úniků hydraulické kapaliny použijte karton nebo papír.
Před prováděním jakékoli práce na hydraulické soustavě bezpečně uvolněte tlak v této soustavě.
Zabezpečte jádrovací hlavu pomocí servisní západky, viz Podepření jádrovací hlavy servisní západkou.
Vypněte motor.
Přepněte spínač zapalování do PROVOZNí polohy.
V systému InfoCenter přejděte do hlavní nabídky MAIN MENU.
Opakovaným tisknutím tlačítka dolů zvolte nabídku SERVICE (Servis) a stiskněte výběrové tlačítko (Obrázek 166).

Note: Jádrovací hlava se spustí, až bude zcela podepřena servisní západkou.
Opakovaným stisknutím tlačítka dolů zvolte nabídku SERVICE LOWER (Servisní spuštění) a stiskněte výběrové tlačítko (Obrázek 167).

Otočte klíč zapalování do polohy STOP.
Note: Spusťte motor a nechejte jej pracovat, abyste mohli hydraulicky zvednout jádrovací hlavu a uložit servisní západku, viz Uložení servisní západky.
| Servisní interval | Postup při údržbě |
|---|---|
| Při každém použití nebo denně |
|
Před každým použitím zkontrolujte, zda nedochází k úniku kapaliny z hydraulického potrubí a hadic, zda nejsou uvolněny spojky a upevňovací podpěry, zda nejsou zkroucené hadice a zda nedošlo k poškození vlivem opotřebení, počasí nebo chemických látek. Před zahájením práce se strojem vyměňte opotřebované nebo poškozené hydraulické vedení.
Note: Z oblastí kolem hydraulického systému pravidelně odstraňujte nános nečistot.
Nádrž je z výroby naplněna vysoce kvalitní hydraulickou kapalinou. Zkontrolujte hladinu hydraulické kapaliny před prvním nastartováním motoru a poté každý den, viz Kontrola hladiny motorového oleje.
Doporučená hydraulická kapalina: Toro PX Extended Life Hydraulic Fluid, k dispozici v 19litrových kbelících nebo 208litrových sudech.
Note: Pokud ve stroji používáte doporučenou náhradní kapalinu, prodloužíte interval výměny kapaliny a filtru.
Alternativní hydraulické kapaliny: Pokud kapalinu Toro PX Extended Life Hydraulic Fluid nemáte k dispozici, můžete použít jinou běžnou hydraulickou kapalinu na ropné bázi za předpokladu, že její specifikace spadají u všech materiálových vlastností do uvedeného rozsahu a že kapalina odpovídá průmyslovým normám. Nepoužívejte syntetickou kapalinu. Požádejte distributora maziv o doporučení vhodného výrobku.
Note: Společnost Toro nepřebírá odpovědnost za žádné škody způsobené nevhodnými náhražkami, proto používejte jen produkty osvědčených výrobců, kteří si za svými doporučeními stojí.
| Materiálové vlastnosti: | ||
| Viskozita, ASTM D445 | cSt při 40 °C: 44 až 48 | |
| Index viskozity ASTM D2270 | 140 nebo vyšší | |
| Bod tání, ASTM D97 | -37 °C až -45 °C | |
| Oborové specifikace: | Eaton Vickers 694 (I-286-S, M-2950-S/35VQ25 nebo M-2952-S) | |
Note: Mnohé hydraulické kapaliny jsou téměř bezbarvé, takže je obtížné lokalizovat netěsnosti. Pro hydraulickou kapalinu je k dispozici přísada s červeným barvivem v lahvičkách o objemu 20 ml. Lahvička dostačuje pro 15 až 22 l hydraulické kapaliny. Od autorizovaného prodejce Toro si opatřete díl s objednacím číslem 44-2500.
Important: Toro Premium Synthetic Biodegradable Hydraulic Fluid je jediná syntetická biologicky rozložitelná hydraulická kapalina schválená společností Toro. Tato kapalina je kompatibilní s elastomery použitými v hydraulických soustavách společnosti Toro a je vhodná pro široké rozmezí teplot. Kapalina je kompatibilní s běžnými minerálními oleji, avšak z důvodu maximální biologické rozložitelnosti a výkonnosti je nutné z hydraulické soustavy běžnou kapalinu důkladně vypláchnout. Olej je k dispozici od autorizovaného prodejce společnosti Toro v 19litrových kbelících nebo 208litrových sudech.
| Servisní interval | Postup při údržbě |
|---|---|
| Při každém použití nebo denně |
|
Important: Zkontrolujte hladinu hydraulické kapaliny před prvním spuštěním motoru a poté každý den. Kontrolu provádějte se zvednutou jádrovací hlavou.
Nádrž hydraulické kapaliny je z výroby naplněna vysoce kvalitní hydraulickou kapalinou.
Připravte stroj na údržbu, viz Příprava stroje na provedení údržby.
Demontujte kryt řemenu, viz Demontáž krytu řemenu
Očistěte oblast okolo plnicího hrdla a uzávěru hydraulické nádrže (Obrázek 168). Demontujte uzávěr z plnicího hrdla.

Vytáhněte měrku z plnicího hrdla a otřete ji čistým hadrem. Zasuňte měrku do plnicího hrdla; poté ji vytáhněte a zkontrolujte hladinu kapaliny. Hladina kapaliny musí sahat až k rysce na měrce (Obrázek 169).

Pokud je hladina nízká, doplňte specifikovanou hydraulickou kapalinu tak, aby její hladina dosahovala k horní rysce.
Zasuňte měrku a uzávěr osaďte zpět na plnicí hrdlo.
Namontujte kryt řemenu, viz Montáž krytu řemenu.
| Servisní interval | Postup při údržbě |
|---|---|
| Po každých 200 hodinách provozu |
|
| Po každých 400 hodinách provozu |
|
Objem hydraulické nádrže: Přibližně 6,6 l
Important: Nenahrazujte filtry automobilovými olejovými filtry, neboť by se mohl vážně poškodit hydraulický systém.
Note: Demontáží zpětného filtru se vypustí celá nádrž na kapalinu.
Připravte stroj na údržbu, viz Příprava stroje na provedení údržby.
Umístěte vypouštěcí nádobu pod filtry, demontujte staré filtry a otřete těsnicí plochu adaptéru filtru do čista (Obrázek 170).

Potřete těsnění nových filtrů tenkou vrstvou čisté hydraulické kapaliny.
Do adaptérů filtrů vložte hydraulické filtry. Otáčejte každým filtrem ve směru hodinových ručiček, až těsnění dosedne na adaptér. Potom každý filtr dotáhněte o další polovinu otáčky.
Doplňte předepsanou hydraulickou kapalinu, dokud nebude její hladina sahat k horní rysce, viz Specifikace hydraulické kapaliny a Kontrola hladiny hydraulické kapaliny.
Spusťte motor a nechejte jej 2 minuty pracovat, aby se systém odvzdušnil. Vypněte motor, vyjměte klíč a zkontrolujte případný únik hydraulické kapaliny.
Zkontrolujte hladinu hydraulické kapaliny. V případě potřeby doplňte takové množství specifikované kapaliny, aby se její hladina zvedla na úroveň HORNí rysky na měrce.
Note: Nádrž hydraulické kapaliny nepřeplňujte.
Namontujte kryt řemenu, viz Montáž krytu řemenu.
| Servisní interval | Postup při údržbě |
|---|---|
| Po prvních 8 hodinách |
|
| Po každých 250 hodinách provozu |
|
Připravte stroj na údržbu, viz Příprava stroje na provedení údržby.
Demontujte kryt jádrovací hlavy, viz Demontáž krytu jádrovací hlavy.
Zkontrolujte, zda jsou upevňovací prvky jádrovací hlavy, upevňovací prvky ovládací rukojeti a upevňovací matice kol stále utaženy na správný utahovací moment. Požadavky na utahovací moment jsou uvedeny na štítku utahovacího momentu šroubů umístěném na nosném kanálu jádrovací hlavy (Obrázek 171).

Namontujte kryt jádrovací hlavy, viz Montáž krytu jádrovací hlavy.
Připravte stroj na údržbu, viz Příprava stroje na provedení údržby.
Povolte šrouby a pojistné matice s nákružkem, které připevňují boční kryt k rámu jádrovací hlavy (Obrázek 172).

Nastavte kryt nahoru nebo dolů tak, abyste mezi krytem a zemí naměřili vzdálenost 25 až 38 mm.
Šrouby a pojistné matice s nákružkem utáhněte.
Uvedený postup 2 až 4 zopakujte na druhé straně stroje.
Ochranné kryty trávníku je třeba vyměnit, pokud jsou poškozené nebo opotřebované na tloušťku menší než 6 mm. Poškozené ochranné kryty mohou trávník zachycovat a trhat, a tím ohrozit jeho dobrý stav.

Časovací značky jádrovací hlavy lze snadno identifikovat podle značek zalitých do 3 ložiskových pouzder.

Před opuštěním pozice obsluhy proveďte následující:
Zaparkujte stroj na rovném povrchu.
Úplným zvednutím a zajištěním ovládací oje zatáhněte parkovací brzdu.
Vypněte motor a vyjměte klíč (dle výbavy).
Počkejte, dokud se nezastaví veškerý pohyb.
Před seřizováním, údržbou, čištěním nebo uskladněním nechejte stroj vychladnout.
Neskladujte stroj nebo nádobu s palivem v blízkosti otevřeného ohně, zdroje jisker nebo tepla, například u ohřívače vody nebo jiného zařízení.
Při nabíjení akumulátoru vznikají plyny, které mohou explodovat.
Poblíž akumulátoru nikdy nekuřte a neuchovávejte akumulátor v blízkosti jisker a otevřeného ohně.
Připravte stroj na údržbu, viz Příprava stroje na provedení údržby.
Odpojte kabel zapalovací svíčky.
Z vnějších částí celého stroje, zejména z motoru a hydraulického systému, odstraňte trávu a nečistoty. Očistěte žebra hlavy válců motoru a kryt ventilátoru od nečistot a chomáčů posekané trávy.
Proveďte údržbu vzduchového filtru; viz Údržba čističe vzduchu.
Vyměňte motorový olej; viz Výměna motorového oleje a filtru.
Vyměňte filtry hydraulické filtry a kapalinu, viz Výměna hydraulické kapaliny a filtrů.
Zkontrolujte tlak v pneumatikách; viz Kontrola tlaku v pneumatikách.
Zkontrolujte stav hrotů.
Pokud stroj ukládáte na sezónu, proveďte všechny kroky uvedené v části Uskladnění stroje na dobu kratší než 30 dní a v následujících částech:
Zkontrolujte a dotáhněte všechny šrouby, svorníky a matice. Všechny poškozené nebo opotřebené díly opravte nebo vyměňte.
Umyjte celý stroj a osušte jej. Demontujte hroty, vyčistěte je a naolejujte. Nastříkejte lehkou olejovou mlhu na ložiska jádrovací hlavy (kliková a tlumicí táhla).
Important: Vozidlo můžete umýt vodním roztokem neagresivního čisticího prostředku. Stroj nemyjte tlakovou vodou. Nepoužívejte příliš mnoho vody, obzvláště pak blízko řídicího panelu, motoru, hydraulických čerpadel a motorů.
Note: Po umytí nechejte motor stroje pracovat ve vysokých volnoběžných otáčkách po dobu 2 až 5 minut.
Natřete poškrábaná místa a odhalený kovový povrch. Lak lze zakoupit u místního autorizovaného prodejce Toro.
Pokud má být stroj uložen déle než několik dní, zajistěte servisní západku.
Vozidlo odstavte ve skladu nebo garáži v čistém a suchém prostředí. Vyjměte klíč ze spínače zapalování a uschovejte jej mimo dosah dětí nebo jiných neoprávněných uživatelů.
Stroj přikryjte, aby byl chráněn před znečištěním.
Do paliva v nádrži přidejte stabilizační aditivum na bázi ropy. Dodržujte pokyny k míchání vypracované výrobcem stabilizátoru. Nepoužívejte stabilizační aditiva na bázi alkoholu (ethanolu nebo methanolu).
Note: Stabilizační aditivum paliva má nejvyšší účinky, pokud se smíchá s čerstvým palivem a používá se stále.
Important: Neskladujte palivo se stabilizačním aditivem déle, než doporučuje výrobce stabilizátoru paliva.
Nechejte motor 5 minut pracovat, aby se upravené palivo rozptýlilo po celém palivovém systému.
Vypněte motor, nechejte jej vychladnout a vyprázdněte palivovou nádrž, viz Vypouštění palivové nádrže.
Spusťte motor a nechejte jej pracovat, dokud se sám nezastaví.
Přiškrťte motor. Motor nastartujte a nechejte jej pracovat, až jej nebude možné znovu nastartovat.
Vyjměte zapalovací svíčky a zkontrolujte jejich stav; postupujte podle pokynů v části Údržba zapalovacích svíček. Po vyjmutí zapalovacích svíček nalijte do jednotlivých otvorů pro zapalovací svíčky dvě polévkové lžíce motorového oleje. Pomocí startéru nyní motor protočte, aby se olej rovnoměrně rozptýlil v celém vnitřním prostoru válců. Namontujte zapalovací svíčky. K zapalovacím svíčkám nepřipojujte kabely.
Note: Palivo zlikvidujte podle platných předpisů. Recyklujte jej podle místních předpisů.
Odpojte svorky akumulátoru od vývodů akumulátoru a vyjměte akumulátor ze stroje.
Akumulátor, svorky a vývody očistěte ocelovým kartáčem a roztokem jedlé sody.
Na svorky kabelů a vývody akumulátoru naneste tenkou vrstvu maziva Grafo 112X (obj. č. Toro 505-47) nebo vazelínu, abyste zabránili korozi.
Každých 60 dnů akumulátor pomalu nabíjejte po dobu 24 hodin, aby nedošlo k vylučování síranu olovnatého. Aby akumulátor nezamrzl, ujistěte se, že je zcela nabitý. Specifická hustota elektrolytu plně nabitého akumulátoru je 1,265 až 1,299.
Uložte akumulátor na polici nebo na stroj. Ponechte kabely odpojené, pokud je akumulátor uložen na vozidle. Uložte akumulátor v chladném prostředí, aby nedocházelo k jeho rychlému vybití.
| Problem | Possible Cause | Corrective Action |
|---|---|---|
| Startér neprotáčí motorem. |
|
|
| Motor nelze nastartovat, lze jej nastartovat jen s obtížemi nebo se po chvíli vypne. |
|
|
| Motor ztrácí výkon. |
|
|
| Motor se přehřívá. |
|
|
| Stroj abnormálně vibruje. |
|
|
| Stroj se nemůže rozjet. |
|
|
| Jádrovací hlava není poháněna. |
|
|
| Hlava při provzdušňování odskakuje. |
|
|
| Trávník se při vjezdu trhá/třepí. |
|
|
| U hrotů s bočním výhozem se tvoří otvory s roztřepeným okrajem. |
|
|
| Trávník se při provzdušňování zvedá/trhá. |
|
|
| Přední část otvoru má vytlačený nebo protažený okraj. |
|
|