| Servisný interval | Postup pri údržbe |
|---|---|
| Pri každom použití alebo denne |
|
Tento stroj riadi kráčajúci operátor a je určený na používanie profesionálnymi operátormi v komerčných aplikáciách. Stroj je primárne určený na prevzdušňovanie veľkých plôch udržiavaných trávnikov v parkoch, na golfových ihriskách, športových ihriskách a v komerčných priestoroch. Používanie tohto výrobku na iné ako určené použitie môže byť nebezpečné pre vás a okolostojacich.
Pozorne si prečítajte tieto informácie s cieľom oboznámiť sa, ako správne prevádzkovať a udržiavať produkt a tiež ako predchádzať zraneniam a poškodeniu produktu. Nesiete zodpovednosť za správnu a bezpečnú prevádzku produktu.
Navštívte stránku www.Toro.com, kde môžete získať bezpečnostné a prevádzkové školiace materiály, informácie o príslušenstve či pomoc pri hľadaní predajcu, prípadne registrácii svojho produktu.
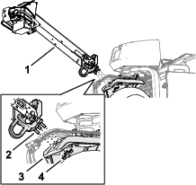
Ak potrebujete servis, originálne diely od spoločnosti Toro alebo doplňujúce informácie, obráťte sa na autorizovaného distribútora spoločnosti Toro a pripravte si číslo modelu a sériové číslo svojho produktu. Obrázok 1 identifikuje umiestnenie čísla modelu a sériového čísla na výrobku. Čísla napíšte do poskytnutého priestoru.

Symbol bezpečnostného upozornenia (Obrázok 2) zobrazený v tejto príručke aj na stroji označuje dôležité bezpečnostné upozornenia, ktoré je nutné dodržiavať, aby ste predišli nehodám.

Symbol bezpečnostného upozornenia sa zobrazí nad informáciami, ktoré vás upozorňujú na nebezpečné činnosti alebo situácie: nasleduje za ním slovo NEBEZPEČENSTVO, VÝSTRAHA alebo UPOZORNENIE.
NEBEZPEČENSTVO označuje bezprostredne hroziacu nebezpečnú situáciu, ktorá, ak sa jej nezabráni, povedie k smrti alebo vážnemu úrazu.
VÝSTRAHA označuje potenciálne nebezpečnú situáciu, ktorá, ak sa jej nezabráni, môže viesť k smrti alebo vážnemu úrazu.
UPOZORNENIE označuje potenciálne nebezpečnú situáciu, ktorá, ak sa jej nezabráni, môže viesť k menšiemu až strednému úrazu.
V tejto príručke sa používajú na zvýraznenie informácií aj dve ďalšie slová. Dôležité upriamuje pozornosť na špeciálne mechanické informácie a Poznámka zdôrazňuje všeobecné informácie, ktorým treba venovať osobitnú pozornosť.
Výrobok vyhovuje všetkým príslušným európskym smerniciam. Podrobnosti nájdete v samostatnom hárku so špecifickým vyhlásením o zhode.
Vzhľadom k tomu, že v niektorých oblastiach miestne, štátne alebo federálne predpisy vyžadujú používanie zachytávača iskier na motore tohto stroja, ako voliteľná možnosť je k dispozícii zachytávač iskier. Ak potrebujete zachytávač iskier, obráťte sa na autorizovaného distribútora spoločnosti Toro. Originálne zachytávače iskier Toro sú schválené lesníckou službou USDA.
Priložená používateľská príručka k motoru obsahuje informácie o Agentúre na ochranu životného prostredia USA (EPA) a kalifornskej smernici týkajúcej sa kontroly emisií – emisné systémy, údržba a záruka. Náhradné diely si môžete objednať od výrobcu motora.
Ak je tento stroj vybavený telematickým zariadením, pozrite si pokyny autorizovaného distribútora spoločnosti Toro na aktiváciu zariadenia.
KALIFORNIE
Dôležité upozornenie, poučka 65
Výfukový plyn z tohto výrobku obsahuje chemikálie, ktoré sú v štáte Kalifornia známe tým, že spôsobujú rakovinu, vrodené poruchy alebo iné reprodukčné poškodenie.
Vývody batérie, zvorky a s nimi súvisiace príslušenstvo obsahujú olovo a jeho zlúčeniny, čiže chemické látky, ktoré sú v štátě Kalifornia známe ako látky vyvolávajúce rakovinu a negatívne ovplyvňujúce reprodukciu. Po manipulácii s batériou si riadne umyte ruky.
Používanie tohto produktu môže spôsobiť vystavenie pôsobeniu chemických látok, o ktorých je v štáte Kalifornia známe, že spôsobujú rakovinu a vrodené chyby alebo poškodzujú reprodukčné orgány.
Tento produkt môže spôsobiť zranenie osôb. Vždy dodržiavajte všetky bezpečnostné pokyny, aby ste predišli vážnemu zraneniu osôb.
Pred naštartovaním motora si prečítajte túto používateľskú príručku a oboznámte sa s jej obsahom.
Práca so strojom si vyžaduje maximálnu pozornosť. Nerozptyľujte sa žiadnym spôsobom, v opačnom prípade môže dôjsť k zraneniu alebo poškodeniu majetku.
Do blízkosti pohyblivých dielov stroja nedávajte ruky ani nohy.
Pri prevádzke stroja musia byť všetky kryty a ostatné bezpečnostné ochranné zariadenia na stroji na mieste a funkčné.
Okolostojaci sa musia nachádzať v bezpečnej vzdialenosti od stroja, keď sa presúva.
Nepribližujte sa k otvoru okolo hrotov. Okolostojaci a domáce zvieratá sa nesmú nachádzať v blízkosti stroja.
Do oblasti prevádzky nepúšťajte deti. Nikdy nedovoľte, aby stroj obsluhovali deti.
Pred servisom, dopĺňaním paliva alebo odstránením upchatia stroj zaparkujte na rovnom povrchu, úplne zdvihnite a západkou zaistite riadidlo, čím sa zatiahne parkovacia brzda, vypnite motor, vyberte kľúč a počkajte, kým sa všetky pohyblivé časti neprestanú pohybovať.
Nesprávne používanie alebo údržba
tohto stroja môže mať za následok zranenie.
S cieľom vyhnúť sa potenciálnemu
zraneniu dodržiavajte tieto bezpečnostné pokyny
a vždy venujte pozornosť bezpečnostnému
výstražnému symbolu
, ktorý znamená
Upozornenie, Varovanie alebo Nebezpečenstvo – osobné
bezpečnostné pokyny. Nedodržanie týchto
pokynov môže zapríčiniť zranenie
alebo smrť.
![]() |
Bezpečnostné štítky a štítky s pokynmi sú pre operátora ľahko viditeľné a nachádzajú sa v blízkosti každej oblasti potenciálneho nebezpečenstva. Akýkoľvek poškodený alebo chýbajúci štítok nahraďte za nový. |
















Note: Predná časť stroja sa nachádza pri rukoväti operátora a je v bežnej polohe operátora. Ľavá a pravá časť sa určujú z pohľadu smeru jazdy, keď kráčate a stroj ťaháte za sebou.
Note: Ak chcete po vybalení stroja zdvihnúť prevzdušňovaciu hlavu, uvoľnite prevzdušňovací záves a naštartujte motor. Ďalšie informácie nájdete v častiach Naštartovanie motora a Zdvihnutie prevzdušňovacej hlavy.
Diely potrebné na prevedenie tohoto kroku:
| Zostava kolies | 2 |
Note: Ak je k dispozícii, na zdvihnutie zadnej časti stroja použite zdvihák. Ako body pripevnenia zdviháka použite očká v puzdrách ložísk prevzdušňovacej hlavy (Obrázok 3).

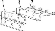
V zadnej časti stroja demontujte 4 svorníky zaisťujúce zadnú časť stroja na konzolách prepravnej palety.
Pomocou 4 svorníkov namontujte na každý náboj zadného kolesa zostavu kolesa (Obrázok 4).

Svorníky utiahnite momentom 61 až 75 N∙m.
Zopakujte kroky 1 až 3 na druhej strane stroja.
Všetky pneumatiky vypustite na 0,83 baru.
Diely potrebné na prevedenie tohoto kroku:
| Držadlo | 1 |
| Poistná matica (½") | 3 |
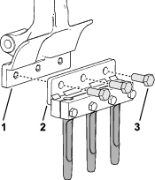
Zasuňte výstupky na konci riadidla do otvorov v ramene riadenia (Obrázok 5).
Note: Požiadajte ďalšiu osobu, aby podržala riadidlo.

Na každý z 3 výstupkov namontujte poistnú maticu s prírubou (½").
Poistné matice s prírubou utiahnite momentom 91 až 113 N∙m.
Riadidlo otočte nahor a zaistite ho pomocou čapu západky riadidla (Obrázok 6).

Príchytku brzdového lanka veďte popod spodnú časť drážky riadidla (Obrázok 7).

Namontujte príchytku brzdového lanka na vidlicový čap a zaistite ju na čape podložkou a sponkou.
Veďte 6-kolíkový a 12-kolíkový konektor káblového zväzku stroja cez priechodku v drážke riadidla (Obrázok 8).

Zapojte 12-kolíkový konektor káblového zväzku stroja do 12-zásuvkového konektora káblového zväzku riadidla (Obrázok 9).

Zapojte 6-kolíkový konektor káblového zväzku stroja do 6-zásuvkového konektora káblového zväzku riadidla.
Zasuňte zásuvnú kotvu káblového zväzku stroja do otvoru v drážke riadidla (Obrázok 10).

Zasuňte zásuvnú kotvu káblového zväzku stroja do otvoru vo vodiacej konzole.
Zaistite káblový zväzok stroja na drážke riadidla pomocou zväzovacieho remienka na káble, ktorý prestrčte cez otvory v drážke (Obrázok 11).

Zaistite káblový zväzok stroja na vodiacej konzole pomocou zväzovacieho remienka na káble, ktorý prestrčte cez otvory v konzole.
Zarovnajte malý zárez v kryte riadidla so zárezom smerujúcim nahor (Obrázok 12).

Zarovnajte otvory v kryte s otvormi v drážke riadidla.
Zaistite kryt na riadidle 6 závitotvornými skrutkami (¼").
Diely potrebné na prevedenie tohoto kroku:
| Skrutka (¼ x 1") | 2 |
| Matica s prírubou (5/16") | 2 |
Elektrolyt batérie obsahuje kyselinu sírovú, ktorá je smrteľne jedovatá a spôsobuje vážne popáleniny.
Vyhnite sa kontaktu s pokožkou, očami alebo odevom. Používajte ochranné okuliare na ochranu vašich očí a gumové rukavice na ochranu rúk.
Batériu vyberajte, nabíjajte a montujte na mieste, na ktorom je neustále k dispozícii čistá voda na vypláchnutie pokožky.
Pri nabíjaní batérie sa vytvárajú plyny, ktoré môžu explodovať.
Nikdy nefajčite v blízkosti batérie a nepribližujte sa k nej s iskrami ani plameňmi.
Svorky batérie alebo kovové nástroje by mohli spôsobiť skrat cez kovové komponenty a iskrenie. Iskry môžu spôsobiť explóziu plynov batérie s následným poranením osôb.
Pri demontáži alebo montáži batérie nedovoľte, aby sa póly batérie dotkli kovových častí stroja.
Nedovoľte, aby kovové nástroje spôsobili skrat medzi svorkami akumulátora a kovovými časťami stroja.
Nesprávne vedenie káblov batérie by mohlo viesť k poškodeniu stroja a káblov a spôsobiť iskrenie. Iskry môžu spôsobiť explóziu plynov batérie s následným poranením osôb.
Pred odpojením kladného (červeného) kábla vždy najskôr odpojte záporný (čierny) kábel batérie.
Pred pripojením záporného (čierneho) kábla vždy najskôr pripojte kladný (červený) kábel batérie.
Odistite a otvorte dvierka priehradky na batériu (Obrázok 13).

Vyberte batériu z priehradky na batériu.
Batériu nabite pomocou nabíjačky s kapacitou 3 až 4 A.
Ak je batéria nabitá, odpojte nabíjačku od elektrickej zásuvky a od kolíkov batérie.
Vložte batériu do držiaka v priehradke na batériu (Obrázok 14). Batériu umiestnite tak, aby svorky smerovali von.

Batériu zaistite v základni priehradky prídržnou tyčou, 2 zahnutými tyčami, 2 rovnými podložkami a 2 krídlovými maticami.
Zaistite kladný kábel (červený) na kladnú (+) svorku batérie pomocou vratovej skrutky a matice.
Nasuňte gumovú manžetu cez kladnú svorku.
Zaistite záporný kábel batérie (čierny) k zápornej (–) svorke batérie pomocou vratovej skrutky a matice.
Zatvorte a zaistite dvierka priehradky na batériu.
Diely potrebné na prevedenie tohoto kroku:
| Zámok západky | 2 |
| Skrutka s hlavou | 2 |
| Vnútorná ozubená poistná podložka | 2 |
Ak tento stroj nastavujete na používanie v Európskej únii (CE), na zadnú kapotu nasledujúcim spôsobom namontujte zámok západky kapoty, aby spĺňala nariadenia CE.
Zložte zadnú kapotu.
Cez západku kapoty pomocou skrutky s hlavou (celkovo 2) namontujte zámok západky (Obrázok 15).

Pomocou klieští alebo kľúča zaskrutkujte vnútornú poistnú podložku na každú skrutku (1 až 2 otočenia) a zaistite tak skrutky na kapote.
Zopakujte kroky 2 až 3 na druhej strane kapoty.
Nasaďte zadnú kapotu.
Diely potrebné na prevedenie tohoto kroku:
| Lanko | 1 |
| Slepý nit | 1 |
| Skrutka (¼ x 1") | 1 |
| Poistná matica (¼") | 1 |
Ak tento stroj nastavujete tak, aby spĺňal požiadavky CE, nasledujúcim spôsobom namontujte západku krytu remeňa.
Vyhľadajte otvor v kryte remeňa vedľa otvoru na páku západky (Obrázok 16 a Obrázok 17).

Zaistite zostavu lanka v otvore v kryte remeňa slepým nitom (Obrázok 17).

Skrutku zaskrutkujte do páky západky (Obrázok 18).

Diely potrebné na prevedenie tohoto kroku:
| Štítok s označením CE | 1 |
| Štítok s rokom výroby | 1 |
Pre tento stroj je k dispozícii široká ponuka držiakov hrotov, krytov trávnika a hrotov. Pozrite si časť Montáž krytov trávnika, držiakov hrotov a hrotov.


Pomocou západky riadidla (Obrázok 21) zaistite riadidlo v zvislej polohe a zatiahnite parkovaciu brzdu.
Important: Zaistite riadidlo vo vrchnej polohe, vždy keď odídete z polohy operátora.
Ovládacia rukoväť operátora (Obrázok 21) pomáha zaručiť, že ste počas jazdy so strojom alebo pri spustenej prevzdušňovacej hlave boli v polohe operátora.
Note: Uvoľnenie ovládacej rukoväti operátora nevypne motor.
Informačné centrum (Obrázok 21) používajte na nastavenie fungovania ovládacích prvkov prevzdušňovacej hlavy.
Ak sa dotknete spínača zastavenia pri náraze (Obrázok 21), stroj urobí toto:
Stroj zastaví jazdu dopredu.
Prevzdušňovacia hlava sa zdvihne a vypne sa.
Note: Dotyk spínača zastavenia pri náraze nevypne motor. So strojom môžete jazdiť dozadu, no ak chcete jazdiť dopredu, musíte resetovať spínač zastavenia pri náraze.

Pomocou spínača prepravy/prevzdušňovania (Obrázok 22) ovládate maximálnu rýchlosť, akou môžete jazdiť so strojom pri prevzdušňovaní alebo preprave stroja.
PREVZDUšňOVACIA poloha umožňuje prevzdušňovanie a obmedzuje pojazdovú rýchlosť na 4,0 km/h alebo nižšiu.
PREPRAVNá poloha umožňuje jazdiť so strojom medzi pracoviskami plnou pojazdovou rýchlosťou alebo nižšou.
Note: Keď je spínač prepravy/prevzdušňovania v PREPRAVNEJ polohe, nemôžete prevzdušňovať.
Stlačením ľavého alebo pravého ovládacieho prvku trakcie (Obrázok 22) môžete so strojom jazdiť dopredu alebo dozadu.
Spínač zámku rýchlosti (Obrázok 22) používajte na udržiavanie pojazdovej rýchlosti stroja, podobne ako pri používaní tempomatu v aute.
Poloha AKTIVOVAť uzamyká aktuálnu pojazdovú rýchlosť, akou stroj jazdí.
Poloha ZAPNUTé aktivuje zámok pojazdovej rýchlosti.
Poloha VYPNUTé vypína zámok pojazdovej rýchlosti.
Spínač zámku rýchlosti (Obrázok 22) používajte na udržiavanie pojazdovej rýchlosti odvzdušňovania podľa nastavenia rozmiestnenia dier.
Poloha ZAPNUTé – aktivuje zámok pojazdovej rýchlosti na udržiavanie pojazdovej rýchlosti odvzdušňovania podľa nastavenia rozmiestnenia dier, keď na konci prechodu prevzdušňovača uvoľníte prevzdušňovací záves.
Poloha VYPNUTé vypína zámok pojazdovej rýchlosti – keď uvoľníte prevzdušňovací záves, stroj sa prestane pohybovať dopredu.

Prevzdušňovací záves (Obrázok 23) používajte na spúšťanie a zdvíhanie prevzdušňovacej hlavy.
Prepínač na ovládanie spustenia (Obrázok 23) používajte na zmenu toho, ako sa prevzdušňovacia hlava spúšťa pri prevzdušňovaní. K dispozícii sú nasledujúce režimy:
Okamžité spustenie
Oneskorené spustenie

Na nastavenie otáčok motora použite páčku škrtiacej klapky (Obrázok 24):
Posunutím páčky škrtiacej klapky dopredu sa otáčky motora zvyšujú – smerom k polohe RýCHLO.
Posunutím páčky škrtiacej klapky dozadu sa otáčky motora znižujú – smerom k polohe POMALY.
Note: Otáčky motora regulujú otáčky prevzdušňovacej hlavy.
Pri štartovaní studeného motora použite sýtič (Obrázok 24).
Pomocou spínača zapaľovania (Obrázok 24) naštartujete a vypnete motor. Spínač má 3 polohy:
START – otočením v smere hodinových ručičiek do polohy START (Štart) aktivujete štartér motora.
RUN – po naštartovaní motora kľúč uvoľnite a automaticky sa prepne do polohy ON (Zap.).
OFF – otočením kľúča proti smeru hodinových ručičiek do polohy OFF (Vyp.) vypnete motor.
Otáčky motora môžete sledovať na otáčkomeri (Obrázok 24).
Pomocou ventilu odpojenia prívodu paliva regulujte prívod paliva z palivovej nádrže (Obrázok 25).

Na displeji informačného centra (Obrázok 26) sa zobrazujú informácie o stroji, napríklad prevádzkový stav, rôzne diagnostické a iné informácie o stroji.

Note: Funkciu jednotlivých tlačidiel možno zmeniť v závislosti od toho, čo v danej chvíli potrebujete. Každé tlačidlo je označené ikonou zodpovedajúcou aktuálnej funkcii.
Pomocou navigačných tlačidiel prechádzajte medzi viacerými obrazovkami a položkami ponúk:
Úvodná obrazovka: po prepnutí kľúča do polohy ZAP. sa na nej na niekoľko sekúnd zobrazia aktuálne informácie o stroji.
Hlavná ponuka: pozrite si časť Používanie ponúk.
|
TERMÍN SERVISU |
Signalizuje, že treba vykonať naplánovaný servis |
|
|
Prepravný režim |
|
|
Hĺbka diery |
|
|
Rozstup dier |
|
|
Priemer hrotov |
|
|
Počet hrotov na držiak |
|
|
Batéria |
|
|
Hodinové počítadlo |
|
|
Aktívne/OK |
|
|
Neaktívne |
|
|
Ďalšie |
|
|
Predošláobrazovka |
|
|
Ponuka |
|
|
Zvýšenie/zníženie hodnoty |
|
|
Posunutie nahor/nadol |
|
|
Posunutie doľava/doprava |
|
|
Zatvorenie ponuky |
|
Symbol |
|
Ak chcete otvoriť hlavnú ponuku, na ľubovoľnej informačnej obrazovke stlačte tlačidlo Späť/ukončiť.
V nasledujúcich tabuľkách nájdete popis možností dostupných v ponukách:
|
Položka ponuky |
Popis |
|---|---|
|
PORUCHA |
Obsahuje zoznam posledných porúch stroja. Ďalšie informácie o ponuke Poruchy nájdete v servisnej príručke alebo vám ich poskytne autorizovaný distribútor spoločnosti Toro. |
|
SERVIS |
Obsahuje informácie o stroji, napríklad hodiny používania, počítadlá a ďalšie podobné čísla. |
|
DIAGNOSTIKA |
Obsahuje zoznam rôznych aktuálnych stavov stroja. Túto ponuku môžete používať na riešenie určitých problémov, pretože v nej rýchlo zistíte, ktoré ovládacie prvky stroja sú aktívne a ktoré vypnuté. |
|
NASTAVENIA |
Umožňuje zadať kód PIN alebo prispôsobiť displej informačného centra. |
|
NASTAVENIA STROJA |
Umožňuje upravovať prevádzkové vlastnosti a konfiguráciu stroja. |
|
INFORMáCIE |
Obsahuje číslo modelu, sériové číslo a verziu softvéru stroja. |
|
Položka ponuky |
Popis |
|---|---|
|
ŠTATISTIKA |
Obsahuje zoznam počítadiel s údajmi o prevádzke a operáciách stroja, napríklad údaje o čase prevádzky motora, rozlohe/objeme/čase prevzdušňovania, prejdenej vzdialenosti pri prevzdušňovaní. |
|
HODINY |
Zobrazuje celkový počet hodín, počas ktorých boli stroj, motor a pomocný hriadeľ zapnuté, ako aj počet hodín prepravy stroja a naplánovaného servisu. |
|
POčET |
Zobrazuje rôzne počty hodnôt zaznamenaných strojom. |
|
ZDVIHNUTIE PRI SERVISE |
Aktivuje alebo deaktivuje zdvihnutie pri servise. |
|
SPUSTENIE PRI SERVISE |
Aktivuje alebo deaktivuje spustenie pri servise. |
|
3WD |
Aktivuje automatické spustenie súpravy 3WD alebo neustále zapnutie súpravy 3WD. |
|
VýšKA OD ZEME |
Signalizuje, či je kalibrácia snímača platná, spúšťa proces kalibrácie a obsahuje zoznam elektrických hodnôt snímača. |
|
ČERPADLO TRAKčNéHO
POHONU |
Signalizuje, či je kalibrácia snímača platná, spúšťa proces kalibrácie a obsahuje zoznam elektrických hodnôt snímača. |
|
VSTUP TRAKCIE |
Signalizuje, či je kalibrácia snímača platná, spúšťa proces kalibrácie a obsahuje zoznam elektrických hodnôt snímača. |
|
SNíMAč VýšKY |
Signalizuje, či je kalibrácia snímača platná, spúšťa proces kalibrácie a obsahuje zoznam elektrických hodnôt snímača. |
|
Symbol |
|
|
Položka ponuky |
Popis |
|---|---|
|
ZADANIE KóDU PIN |
Umožňuje autorizovanej osobe s prideleným kódom PIN prístup k chráneným ponukám. |
|
PODSVIETENIE |
Ovláda jas displeja LCD. |
|
JAZYK |
Ovláda jazyk používaný v informačnom centre. |
|
JEDNOTKY |
Ovláda jednotky používané v informačnom centre (imperiálne alebo metrické). |
|
UPRAVIť KóD PIN |
Umožňuje autorizovanej osobe s prideleným kódom PIN zmeniť kód PIN. |
|
CHRáNIť NASTAVENIA |
Aktivuje alebo deaktivuje požiadavku zadania kódu PIN na prístup k chráneným nastaveniam. |
|
OBNOVIť PREDVOLENé HODNOTY |
Vracia všetky nastavenia na predvolené hodnoty. |
|
Symbol |
|
|
Položka ponuky |
Popis |
|
MAX. RýCHLOSť PREPRAVY |
Umožňuje zmeniť maximálnu pojazdovú rýchlosť pri jazde dopredu, predvolená hodnota = 6,4 km/h |
|
MANUáLNE PREVZDUšňOVANIE |
Aktivuje alebo deaktivuje manuálne prevzdušňovanie. |
|
Symbol |
|
|
Položka ponuky |
Popis |
|---|---|
|
Model (Model) |
Uvádza číslo modelu stroja. |
|
Sériové číslo |
Uvádza sériové číslo stroja. |
|
Revízia softvéru |
Uvádza revíziu softvéru hlavného ovládacieho prvku. |
|
Štatistika CAN |
Uvádza stav komunikačnej zbernice stroja. |
|
Revízia informačného centra |
Uvádza revíziu softvéru displeja informačného centra. |
|
Symbol |
|
|
Položka ponuky |
Popis |
|---|---|
|
Trakcia |
Ďalšie informácie o položkách ponuky Diagnostika nájdete v servisnej príručke alebo vám ich poskytne autorizovaný distribútor spoločnosti Toro. |
|
Prevzdušňovanie |
|
|
Motor |
Chránené ponuky sa predvolene nezobrazujú. Tieto nastavenia sa odomknú po zadaní kódu PIN.
Note: Predvolený kód PIN z výroby pre tento stroj je 0000 alebo 1234. V čase doručenia mohol kód PIN zmeniť distribútor.Ak zmeníte kód PIN a zabudnete ho, so žiadosťou o pomoc sa obráťte na autorizovaného distribútora spoločnosti Toro.
V časti HLAVNá PONUKA prejdite na ponuku NASTAVENIA a stlačte tlačidlo výberu (Obrázok 27).

V ponuke NASTAVENIA prejdite na položku ZADANIE KóDU PIN a stlačte tlačidlo výberu (Obrázok 28A).

Ak chcete zadať kód PIN, stlačte navigačné tlačidlo nahor/nadol a podržte ho, kým sa nezobrazí správna prvá číslica. Potom stlačením pravého navigačného tlačidla prejdite na ďalšiu číslicu (Obrázok 28B a Obrázok 28C). Tento krok opakujte, kým nezadáte poslednú číslicu.
Stlačte tlačidlo výberu (Obrázok 28D).
Note: Ak displej prijme kód PIN a chránené ponuky
sa odomknú, v pravom hornom rohu obrazovky sa zobrazí
skratka
.
Ak chcete skryť chránené ponuky, otočte kľúčový spínač do polohy VYPNUTé a potom do polohy ZAPNUTé.
Po zadaní kódu PIN prejdite do ponuky NASTAVENIA a potom na položku CHRáNIť NASTAVENIA.
Ak chcete povoliť zobrazenie chránených
ponúk bez zadania kódu PIN, pomocou tlačidla
výberu zmeňte nastavenie položky CHRáNIť NASTAVENIA na možnosť
(Vypnuté).
Ak chcete pred zobrazením chránených
ponúk požadovať zadanie kódu PIN, pomocou
tlačidla výberu zmeňte nastavenie položky CHRáNIť NASTAVENIA na možnosť
(Zapnuté), nastavte
kód PIN a kľúč v zapaľovaní
otočte do polohy VYPNUTé a
potom do polohy ZAPNUTé.

Bliká načerveno – aktívna porucha
Svieti načerveno – aktívna rada
Svieti namodro – kalibrácia/dialógové správy
Svieti nazeleno – bežná prevádzka
Note: Parametre a dizajn sa môžu zmeniť bez predchádzajúceho upozornenia.
| Šírka | 127 cm |
| Rázvor | 113 cm |
| Šírka pásu | 97 cm |
| Šírka prevzdušňovania | 122 cm |
| Dĺžka | 295 cm |
| Výška hlavy (zdvihnutej) | 114 cm |
| Výška hlavy (spustenej) | 93 cm |
| Výška, rukoväť | 154,2 cm |
| Svetlá výška | 12 cm |
| Rýchlosť pri jazde dopredu | 0 až 7,2 km/h |
| Rýchlosť pri cúvaní | 0 až 4 km/h |
| Čistá hmotnosť | 745 kg |
K dispozícii je celý rad schválených nadstavcov a príslušenstva značky Toro na použitie so strojom pre posilnenie a rozšírenie jeho možností. Ak chcete získať zoznam všetkých schválených nadstavcov a príslušenstva, obráťte sa na autorizovaného distribútora spoločnosti Toro alebo navštívte lokalitu www.Toro.com.
Ak si chcete zabezpečiť optimálny výkon, používajte len originálne náhradné diely a príslušenstvo značky Toro. Náhradné diely a príslušenstvo od iných výrobcov by mohlo byť nebezpečné a pri jeho použití by mohla skončiť platnosť záruky na produkt.
Informácie o hlave s hrotmi, kryte trávnika a hrotoch nájdete v nižšie uvedenej tabuľke konfigurácie hrotov:
| Popis hlavy s hrotmi | Rozmiestnenie hlavy s hrotmi | Veľkosť drieku | Počet hrotov | Typ krytu trávnika (počet) |
|---|---|---|---|---|
| Hlava s minihrotmi 2 x 5 | 41 mm | 9,5 mm | 60 | 5-hrotový – krátky (2) |
| 5-hrotový – dlhý (1) | ||||
| Hlava s minihrotmi 1 x 6 | 32 mm | 9,5 mm | 36 | 6-hrotový – krátky (2) |
| 6-hrotový – dlhý (1) | ||||
| Hlava s 3 hrotmi (⅞") | 66 mm | 22,2 mm | 18 | 3-hrotový – krátky (2) |
| 3-hrotový – dlhý (1) | ||||
| Hlava s 3 hrotmi (¾") | 66 mm | 19,5 mm | 18 | 3-hrotový – krátky (2) |
| 3-hrotový – dlhý (1) | ||||
| Hlava so 4 hrotmi (¾") | 51 mm | 19,5 mm | 24 | 4-hrotový – krátky (2) |
| 4-hrotový – dlhý (1) | ||||
| Hlava s 5 ihličkovými hrotmi | 41 mm | — | 30 | 5-hrotový – krátky (2) |
| 5-hrotový – dlhý (1) |
Note: Určite ľavú a pravú stranu stroja pri normálnej prevádzkovej polohe.
Nikdy nedovoľte, aby stroj obsluhovali alebo servis vykonávali deti alebo nevyškolené osoby. Miestne predpisy môžu obmedzovať vek obsluhy. Majiteľ zodpovedá za školenie všetkých operátorov a mechanikov.
Oboznámte sa s bezpečnou prevádzkou zariadenia, používateľskými ovládačmi a bezpečnostnými označeniami.
Naučte sa, ako sa stroj rýchlo zastavuje a ako sa rýchlo vypína motor.
Pred prevádzkou vždy skontrolujte stroj a uistite sa, že sú hroty v dobrom prevádzkovom stave. Opotrebované alebo poškodené hroty vymeňte.
Skontrolujte oblasť, v ktorej plánujete používať stroj, a odstráňte všetky predmety, ktoré by mohol stroj zasiahnuť.
V priestore, ktorý sa má prevzdušňovať, vyhľadajte a označte všetky elektrické alebo komunikačné vedenia, súčasti zavlažovacieho systému a iné prekážky. Ak je to možné, odstráňte všetky nebezpečenstvá alebo naplánujte, ako sa im vyhnúť.
Stroj zaparkujte na rovnom povrchu, úplne zdvihnite a západkou zaistite riadidlo, čím sa zatiahne parkovacia brzda, vypnite motor, vyberte kľúč a počkajte, kým sa všetky pohyblivé časti neprestanú pohybovať.
Skontrolujte, či sú pripojené a správne fungujú ovládacie prvky vyžadujúce prítomnosť operátora, bezpečnostné spínače a štíty. Ak nefungujú správne, stroj nepoužívajte.
Pri manipulácii s palivom postupujte extrémne opatrne. Palivo je horľavé a jeho výpary sú výbušné.
Zahaste všetky cigarety, cigary, fajky a ďalšie zdroje vznietenia.
Používajte len schválenú nádobu na palivo.
Neotvárajte uzáver palivovej nádrže ani neplňte palivovú nádrž so spusteným alebo horúcim motorom.
Palivo nedopĺňajte ani nevypúšťajte v uzavretom priestore.
Neskladujte stroj ani nádobu na palivo na miestach, kde sa vyskytuje otvorený oheň, iskry alebo zapaľovací plamienok, napríklad na ohrievači vody alebo inom spotrebiči.
Ak rozlejete palivo, nepokúšajte sa naštartovať motor. Zabráňte vzniku akéhokoľvek zdroja vznietenia, kým sa výpary neodvetrajú.
| Typ | Bezolovnatý benzín |
| Minimálne oktánové číslo | 87 (USA) alebo 91 (mimo USA si vyhľadajte oktánové číslo) |
| Etanol | Nie viac ako 10 % podľa objemu |
| Metanol | Žiadne |
| MTBE (metyltercbutyléter) | Menej ako 15 % podľa objemu |
| Olej | Nepridávajte do paliva |
Používajte len čisté čerstvé (nie staršie ako 30 dní) palivo z renomovaného zdroja.
Important: Na obmedzenie problémov so štartovaním pridajte do čerstvého paliva stabilizátor/kondicionér paliva podľa pokynov výrobcu daného stabilizátora/kondicionéra paliva.
Objem palivovej nádrže: 26,5 l
Stroj zaparkujte na rovnom povrchu, úplne zdvihnite a západkou zaistite riadidlo, čím sa zatiahne parkovacia brzda, vypnite motor, vyberte kľúč a počkajte, kým sa všetky pohyblivé časti neprestanú pohybovať.
Vyčistite priestor okolo uzáveru palivovej nádrže a zložte ho (Obrázok 30).

Palivo dolievajte do palivovej nádrže, kým je hladina 6 mm až 13 mm pod spodnou časťou plniaceho hrdla.
Important: Tento priestor v nádrži umožňuje expanziu paliva. Nenapĺňajte palivovú nádrž úplne doplna.
Bezpečne nasaďte uzáver palivovej nádrže.
Poutierajte všetko rozliate palivo.
Každý deň pred naštartovaním stroja vykonajte postupy pred každým použitím/každodennej údržby uvedené v časti .
| Servisný interval | Postup pri údržbe |
|---|---|
| Pri každom použití alebo denne |
|
Ak je bezpečnostný ochranný systém odpojený alebo poškodený, stroj by sa mohol neočakávane naštartovať a spôsobiť zranenie osôb.
Nemanipulujte s ochrannými spínačmi.
Denne kontrolujte prevádzku ochranného systému a pred prevádzkou stroja vymeňte všetky poškodené časti bezpečnostného ochranného systému.
Bezpečnostný ochranný systém zabraňuje naštartovaniu motora, kým nie je ovládací prvok trakcie v polohe NEUTRáL.
Bezpečnostný ochranný systém zabraňuje naštartovaniu motora, kým nie je ovládacia rukoväť operátora úplne uvoľnená.
Bezpečnostný ochranný systém zabraňuje naštartovaniu motora, kým nie je záves prevzdušňovacej hlavy úplne uvoľnený.
Bezpečnostný ochranný systém zdvíha a vypína prevzdušňovaciu hlavu, ak so strojom počas prevzdušňovania jazdíte dozadu alebo ak sa dotknete spínača zastavenia pri náraze.
Important: Ak bezpečnostný ochranný systém nefunguje tak, ako je opísané vyššie, dajte ho hneď opraviť autorizovanému distribútorovi spoločnosti Toro.
Ak je prevzdušňovacia hlava spustená, vykonajte tieto kroky. Ak je prevzdušňovacia hlava zdvihnutá, prejdite na časť Testovanie ochranného systému štartéra.
Naštartujte motor a otáčky motora nastavte do polohy POMALY. Pozrite si časť Naštartovanie motora.
Spustite riadidlo (Obrázok 31).

Stlačte ľubovoľné tlačidlo v informačnom centre.
Note: Prevzdušňovacia hlava sa zdvihne.
Vypnite motor. Pozrite si časť Vypnutie motora.
Ak je motor spustený, vypnite ho.
Podržte ovládaciu rukoväť operátora pri riadidle a otočte ovládací prvok trakcie (Obrázok 32) dopredu alebo dozadu a naštartujte motor.
Important: Motor sa nesmie naštartovať.

Uvoľnite ovládaciu rukoväť operátora, posuňte ovládací prvok trakcie do polohy NEUTRáL a naštartujte motor.
Podržte ovládaciu rukoväť operátora pri riadidle a otočte vrchnú časť ovládacieho prvku trakcie dopredu (Obrázok 33).
Note: Stroj jazdí dopredu.

Držte ovládací prvok trakcie a súčasne uvoľnite ovládaciu rukoväť operátora (Obrázok 34).
Important: Stroj sa musí prestať pohybovať dopredu.

Podržte ovládaciu rukoväť operátora pri riadidle a otočte vrchnú časť ovládacieho prvku trakcie dopredu (Obrázok 35).
Note: Stroj jazdí dopredu.

Držte ovládací prvok trakcie a ovládaciu rukoväť operátora a dotknite sa spínača zastavenia pri náraze (Obrázok 36).
Important: Stroj sa musí prestať pohybovať dopredu.
Note: Motor stále beží.

Resetujte spínač zastavenia pri náraze. Pozrite si časť Resetovanie spínača zastavenia pri náraze.
Vykonajte jeden z nasledujúcich krokov:
Presuňte stroj na trávnik, kde môžete prevzdušňovať bez poškodenia hrotov či danej oblasti.
Demontujte hroty.
Podržte ovládaciu rukoväť operátora pri riadidle, otočte vrchnú časť ovládacieho prvku trakcie dopredu a zatvorte prevzdušňovací záves (Obrázok 37).
Note: Stroj jazdí dopredu, prevzdušňovacia hlava je spustená a spustí sa.

Podržte súčasne ovládaciu rukoväť operátora a prevzdušňovací záves a otočte vrchnú časť ovládacieho prvku trakcie dozadu (Obrázok 38).
Important: Prevzdušňovacia hlava sa musí zdvihnúť a vypnúť sa.
Note: Motor stále beží.

Presuňte ovládací prvok trakcie do polohy NEUTRáL.
Ak ste demontovali hroty, namontujte ich a kalibrujte výšku hrotov od zeme. Pozrite si časti Montáž hrotov na prevzdušňovaciu hlavu a Kalibrácia výšky hrotov od zeme.
Important: Vždy keď prejdete z dlhších hrotov na kratšie alebo z kratších na dlhšie, musíte kalibrovať výšku hrotov od zeme.
Pre tento stroj je k dispozícii široká ponuka držiakov hrotov, krytov trávnika a hrotov. Podľa tabuľky príslušenstva v časti Nadstavce a príslušenstvo vyberte požadované súčasti.
Zdvihnite prevzdušňovaciu hlavu a pomocou servisnej západky ju zaistite na mieste. Pozrite si časť Podopretie prevzdušňovacej hlavy servisnou západkou.
Stroj zaparkujte na rovnom povrchu, úplne zdvihnite a západkou zaistite riadidlo, čím sa zatiahne parkovacia brzda, vypnite motor, vyberte kľúč a počkajte, kým sa všetky pohyblivé časti neprestanú pohybovať.
Note: Z výroby sa svorky krytov trávnika, podložky a poistné matice s prírubou dodávajú zaistené na konzolách krytov trávnika (Obrázok 39).
Pomocou 4 svoriek krytov trávnika, 12 poistných matíc s prírubou (⅜") a 12 podložiek (7/16 x 13/16") na konzoly krytov trávnika voľne namontujte kryty trávnika.
Note: Poistné matice s prírubou nedoťahujte.

Pomocou 4 skrutiek (⅜ x 1½") na držiak hrotov voľne namontujte svorku hrotov (Obrázok 40). Skrutky nedoťahujte.
Note: Skrutky sú súčasťou súprav držiakov hrotov.

Namontujte hroty na držiak hrotov a svorku hrotov (Obrázok 41).

Skrutky (⅜ x 1½") zaisťujúce svorky hrotov a hroty utiahnite momentom 40,6 N∙m.
Zopakujte kroky 1 až 3 s ďalšími svorkami hrotov, držiakmi hrotov a hrotmi.
Pomocou 3 skrutiek (½ x 1¼") na každé rameno hrotov č. 2 voľne namontujte držiak hrotov a hroty (Obrázok 42 a Obrázok 43).


Skrutky (½ x 1¼") utiahnite momentom 102 N∙m.
Kroky 1 až 2 zopakujte s ramenom hrotov č. 5.
Skontrolujte zarovnanie otvorov v krytoch trávnika s hrotmi a zaistite, že sú vycentrované (Obrázok 44).
Note: Podľa potreby kryty trávnika upravte.

Utiahnite poistné matice s prírubou (⅜") zaisťujúce 3 svorky krytov trávnika a 3 kryty trávnika na 3 konzolách krytov trávnika.
Pomocou 12 skrutiek (½ x 1¼") na držiaky hrotov č. 1, č. 3, č. 4 a č. 6 namontujte zvyšné držiaky hrotov a hroty.
Skrutky (½ x 1¼") utiahnite momentom 102 N∙m.
V stroji kalibrujte výšku hrotov od zeme. Pozrite si časť Spustenie funkcie Učenie výšky od zeme.
Kľúč v zapaľovaní otočte do polohy PREVáDZKA.
Ak sa na obrazovke režimu PREPRAVA alebo PREVZDUšňOVANIE nezobrazujú šípky, zadajte kód PIN a získajte tak prístup k chráneným ponukám. Pozrite si časť Prístup k položke Chránené ponuky.
Note: Zobrazí sa obrazovka režimu PREPRAVA alebo PREVZDUšňOVANIE (Obrázok 45).

Dvakrát stlačte pravé tlačidlo a zobrazte obrazovku Kalibrácia výšky hrotov od zeme (Obrázok 46).
Note: Stlačením ľavého tlačidla zobrazíte obrazovku režimu PREPRAVA alebo PREVZDUšňOVANIE.

Stlačte pravé tlačidlo a zobrazte obrazovku Nastavenie hĺbky dier (Obrázok 47).
Note: Stlačte ľavé tlačidlo a zobrazte obrazovku Učenie výšky od zeme.

Stlačte pravé tlačidlo a zobrazte obrazovku Nastavenie rozstupu dier (Obrázok 48).
Note: Stlačte ľavé tlačidlo a zobrazte obrazovku Nastavenie hĺbky dier.

Stlačte pravé tlačidlo a zobrazte obrazovku Nastavenie priemeru hrotov (Obrázok 48).
Note: Stlačte ľavé tlačidlo a zobrazte obrazovku Nastavenie rozstupu dier.

Stlačte pravé tlačidlo a zobrazte obrazovku Nastavenie počtu hrotov (Obrázok 50).
Note: Stlačte ľavé tlačidlo a zobrazte obrazovku Nastavenie priemeru hrotov.

Note: Stroj ProCore 648s je navrhnutý tak, aby pri nastavení hĺbky 7,6 cm poskytoval optimálny výkon prevzdušňovania na širokej škále druhov trávy a pôdy, v rôznych agronomických podmienkach a pri použití rôznych typov hrotov. Pri použití s menším nastavením hĺbky, najmä pri hĺbke menej ako 5 cm s menšími hrotmi, môže dôjsť k väčšiemu narušeniu povrchu.
Uistite sa, že je prevzdušňovacia hlava zdvihnutá. Pozrite si časť Zdvihnutie prevzdušňovacej hlavy.
Kľúč v zapaľovaní otočte do polohy PREVáDZKA.

Stlačte a podržte pravé tlačidlo, kým sa nezobrazí obrazovka Nastavenie hĺbky dier (Obrázok 51 a Obrázok 52).
Pomocou tlačidla nahor a nadol nastavte hĺbku hrotov (Obrázok 52):
Stlačením tlačidla nadol znížite hĺbku dier.
Stlačením tlačidla nahor zvýšite hĺbku dier.

Stlačením ľavého alebo pravého tlačidla uložíte nastavenia a zatvoríte obrazovku hĺbky.
Kľúč v zapaľovaní otočte do polohy VYPNUTé.
Note: Ak sa pri prevzdušňovaní s nastavením maximálnej hĺbky (s hrotmi ľubovoľnej dĺžky) po spustení kalibrácie výšky od zeme skrutky krytu trávnika ťahajú po trávniku alebo sa ho dotýkajú, znížte hĺbku o jeden stupeň (1/4 palca).
Note: Po výbere cieľového rozmiestnenia dier stroj ovláda pojazdovú rýchlosť, aby zaručil rozstup dier.
Uistite sa, že je prevzdušňovacia hlava zdvihnutá. Pozrite si časť Zdvihnutie prevzdušňovacej hlavy.
Kľúč v zapaľovaní otočte do polohy PREVáDZKA.

Stlačte a podržte pravé tlačidlo, kým sa nezobrazí obrazovka Nastavenie rozstupu dier (Obrázok 53 a Obrázok 54).
Nastavte rozstup dier (Obrázok 54):
Stlačením tlačidla nadol znížite rozstup dier.
Stlačením tlačidla nahor zvýšite rozstup dier.

Stlačením ľavého alebo pravého tlačidla uložíte nastavenia a zatvoríte obrazovku rozstupu.
Kľúč v zapaľovaní otočte do polohy VYPNUTé.
Uistite sa, že je prevzdušňovacia hlava zdvihnutá. Pozrite si časť Zdvihnutie prevzdušňovacej hlavy.
Kľúč v zapaľovaní otočte do polohy PREVáDZKA.

Stlačte a podržte pravé tlačidlo, kým sa nezobrazí obrazovka Nastavenie priemeru hrotov (Obrázok 55 a Obrázok 56).
Pomocou tlačidla nahor a nadol nastavte priemer hrotov (Obrázok 56):
Stlačením tlačidla nahor zvýšite priemer hrotov.
Stlačením tlačidla nadol znížite priemer hrotov.

Stlačením ľavého alebo pravého tlačidla uložíte nastavenia a zatvoríte obrazovku priemeru.
Kľúč v zapaľovaní otočte do polohy VYPNUTé.
Uistite sa, že je prevzdušňovacia hlava zdvihnutá. Pozrite si časť Zdvihnutie prevzdušňovacej hlavy.
Kľúč v zapaľovaní otočte do polohy PREVáDZKA.

Stlačte a podržte pravé tlačidlo, kým sa nezobrazí obrazovka Nastavenie počtu hrotov (Obrázok 58).
Pomocou tlačidla nahor a nadol nastavte počet hrotov (Obrázok 58):
Important: Počet hrotov predstavuje počet hrotov na 1 držiaku.
Stlačením tlačidla nahor zvýšite počet hrotov.
Stlačením tlačidla nadol znížite počet hrotov.

Stlačením ľavého alebo pravého tlačidla uložíte nastavenie a zatvoríte obrazovku počtu hrotov.
Kľúč v zapaľovaní otočte do polohy VYPNUTé.
| Servisný interval | Postup pri údržbe |
|---|---|
| Pri každom použití alebo denne |
|
Important: Výšku hrotov od zeme kalibrujte po každej zmene hrotov alebo výmene opotrebovaných hrotov.
Uistite sa, že je prevzdušňovacia hlava zdvihnutá.
Stroj zaparkujte na rovnom povrchu, úplne zdvihnite a západkou zaistite riadidlo, čím sa zatiahne parkovacia brzda, vypnite motor, vyberte kľúč a počkajte, kým sa všetky pohyblivé časti neprestanú pohybovať.
Zložte kryt prevzdušňovacej hlavy. Pozrite si časť Zloženie krytu prevzdušňovacej hlavy.
Otáčajte remenicou prevzdušňovacej hlavy (Obrázok 59), kým sa najvzdialenejšie hroty nezarovnajú čo najbližšie so zemou (Obrázok 60).
Important: Prstami sa nepribližujte do priestoru, v ktorom sa remeň spája s remenicou a oddeľuje sa od nej, aby ste predišli pricviknutiu prstov.


Nasaďte kryt prevzdušňovacej hlavy. Pozrite si časť Nasadenie krytu prevzdušňovacej hlavy.
Kľúč v zapaľovaní otočte do polohy PREVáDZKA.
Note: Zobrazí sa obrazovka režimu PREPRAVA alebo PREVZDUšňOVANIE (Obrázok 61).

Posuňte riadidlo tak, aby ste videli najvzdialenejšie hroty, ktoré ste umiestnili v časti Príprava stroja.
Stlačte a podržte pravé tlačidlo, kým sa nezobrazí Sprievodca UčENIE VýšKY OD ZEME.
Na obrazovke Učenie výšky od zeme (Obrázok 62) stlačte ľubovoľné stredné tlačidlo.

Na obrazovke STLAčENíM OK SPUSTIť UčENIE (Obrázok 63) stlačte tlačidlo výberu.

Note: Zobrazí sa správa AKTIVOVANá KALIBRáCIA a prevzdušňovacia hlava sa pomaly spúšťa.
Important: Ruku majte blízko informačného centra.
Note: Prevzdušňovacia hlava sa spúšťa pomalšie, ak je hydraulická kvapalina studená.
Keď sa ľubovoľný hrot dotkne zeme, stlačte tlačidlo výberu na obrazovke Spustenie hlavy (Obrázok 64).
Note: Hroty by sa mali len dotýkať zeme a nemali by zdvíhať stroj ani odľahčovať hmotnosť z pneumatík.Ak prevzdušňovacia hlava zdvíha stroj, stroj nesprávne kalibruje výšku od zeme, výsledkom čoho je nesprávna hĺbka dier a do dier pri prevzdušňovaní sa dostávajú trsy.

Note: Zobrazí sa správa DOKONčENá KALIBRáCIA a hlava sa úplne zdvihne.
Stlačte tlačidlo Späť a ukončite aplikáciu Učenie výšky od zeme.
Majiteľ alebo operátor môže predchádzať nehodám, ktoré môžu spôsobiť zranenie alebo poškodenie majetku, a je zodpovedný za takéto nehody.
Noste vhodný odev vrátane ochranných okuliarov, dlhých nohavíc, pevnej protišmykovej obuvi a ochrany sluchu. Dlhé vlasy si zviažte, voľný odev si zakašte a nenoste voľné šperky.
Nepracujte so strojom, ak ste unavení, chorí alebo pod vplyvom alkoholu alebo drog.
Zabráňte okolostojacim, deťom a zvieratám zdržiavať sa v pracovnej oblasti. Nedovoľte, aby stroj obsluhovali deti. Obsluhu stroja smú vykonávať iba ľudia, ktorí sú zodpovední, kvalifikovaní, dôkladne ovládajú pokyny a sú fyzicky zdatní vykonávať tieto činnosti.
Na stroji nikdy nevozte spolujazdcov.
Stroj prevádzkujte len pri dobrej viditeľnosti, aby ste sa vyhli dieram alebo skrytým nebezpečenstvám.
Rukami ani chodidlami sa nepribližujte k hrotom.
Pred cúvaním sa pozrite dozadu a dole, aby ste sa uistili, že máte voľnú cestu.
Ak zasiahnete nejaký predmet alebo ak stroj nadmerne vibruje, zastavte stroj, vypnite motor, vyberte kľúč, počkajte, kým sa nezastavia všetky pohyblivé časti a skontrolujte hroty. Pred pokračovaním v prevádzke vykonajte všetky nevyhnutné opravy.
V pneumatikách vždy udržiavajte správny tlak.
Na nerovných cestách a terénoch znížte rýchlosť trakcie.
Svahy sú hlavným faktorom pri nehodách súvisiacich so stratou ovládania a pri prevrátení, ktoré môžu mať za následok vážne alebo smrteľné zranenie. Nesiete zodpovednosť za bezpečnú prevádzku na svahu. Pri ovládaní stroja na svahu sa musí postupovať mimoriadne opatrne.
Vyhodnoťte stav konkrétnej lokality, určite, či je svah bezpečný na prevádzku stroja, a zároveň lokalitu preskúmajte. Pri vykonávaní prieskumu sa vždy riaďte zdravým rozumom a dobrým úsudkom.
Pozrite si nižšie uvedené pokyny týkajúce sa prevádzky stroja na svahu, vyhodnoťte podmienky a určite, či môžete stroj prevádzkovať v podmienkach, ktoré sú v daný deň a na danej lokalite. Zmeny terénu môžu spôsobiť zmenu prevádzky stroja na svahu.
Vyhýbajte sa štartovaniu, zastavovaniu alebo otáčaniu stroja na svahoch. Nevykonávajte náhle zmeny rýchlosti alebo smeru. Zatáčajte pomaly a postupne.
Stroj neprevádzkujte za podmienok, pri ktorých je ohrozená trakcia, riadenie alebo stabilita.
Odstráňte alebo označte prekážky, napríklad priekopy, diery, vyjazdené koľaje, nerovnosti, skaly alebo iné skryté nebezpečenstvá. Vo vysokej tráve môžu byť skryté prekážky. Stroj sa môže na nerovnom teréne prevrátiť.
Majte na pamäti, že pri prevádzke stroja na mokrej tráve, svahoch alebo dole kopcom môže stroj stratiť trakciu. Strata trakcie pohonu kolies môže spôsobiť pošmyknutie a nemožnosť brzdiť a riadiť stroj.
Pri prevádzke stroja v blízkosti spádov, priekop, násypov, vodných prekážok alebo iných nebezpečenstiev musíte postupovať extrémne opatrne. Stroj sa môže náhle prevrátiť, keď koleso prejde cez okraj alebo sa okraj zosype. Zachovávajte bezpečnú vzdialenosť medzi strojom a každým nebezpečným miestom.
Úplne zdvihnite riadidlo, čím zatiahnete parkovaciu brzdu (Obrázok 65).

Uistite sa, že čap západky riadidla prechádza otvorom v blokovacej doske (Obrázok 66).
Ak sa parkovacia brzda nezatiahne, stroj sa môže pohnúť a zraniť váš alebo okolostojace osoby.
Uistite sa, že je riadidlo úplne zdvihnuté a bezpečne zaistené na blokovacej doske.

Úplne zdvihnite a západkou zaistite riadidlo a zatiahnite tak parkovaciu brzdu. Pozrite si časť Zatiahnutie parkovacej brzdy.
Takto použite sýtič (Obrázok 70):
Pred naštartovaním studeného motora posuňte páku sýtiča do polohy ON (Zap.).
Pri štartovaní teplého alebo horúceho motora nemusí byť potrebné použiť sýtič.

Pred naštartovaním studeného motora posuňte páku škrtiacej klapky do polohy FAST (Rýchlo).
Otočte kľúč zapaľovania do polohy ŠTART. Po naštartovaní motora uvoľnite kľúč.
Important: Nenechajte štartér bežať naraz dlhšie než 10 sekúnd. Ak motor nenaštartuje, pred ďalším pokusom počkajte 30 sekúnd na vychladnutie. V prípade nedodržania pokynov môže dôjsť k spáleniu elektrického štartéra.
Po naštartovaní motora presuňte sýtič do polohy VYPNUTé. Ak motor beží drsne alebo sa zastavuje, posuňte sýtič na pár sekúnd späť do polohy ZAPNUTé. Potom presuňte páčku škrtiacej klapky do požadovanej polohy otáčok motora.
Note: Tento krok opakujte podľa potreby.
Deti alebo okolostojaci sa môžu zraniť, ak posunú alebo sa pokúsia prevádzkovať stroj, ktorý je bez dozoru.
Keď nechávate stroj bez dozoru, a to dokonca aj na pár minút, vždy úplne zdvihnite a západkou zaistite riadidlo, čím zatiahnete parkovaciu brzdu, vypnite motor a vyberte kľúč.
Úplne zdvihnite a západkou zaistite riadidlo a zatiahnite tak parkovaciu brzdu. Pozrite si časť Zatiahnutie parkovacej brzdy.
Posuňte páčku škrtiacej klapky (Obrázok 71) do polohy POMALY.

Nechajte motor 60 sekúnd bežať na voľnobežných otáčkach.
Otočte kľúč zapaľovania do polohy VYPNUTé a vyberte ho.
Ak stroj prevážate alebo skladujete, zatvorte ventil odpojenia prívodu paliva (Obrázok 72).
Important: Pred prepravou stroja na prívese alebo uskladnením stroja zatvorte uzatvárací ventil prívodu paliva. Pred prepravou stroja úplne zdvihnite a západkou zaistite riadidlo a zatiahnite tak parkovaciu brzdu. Vyberte kľúč zo zapaľovania, aby ste predišli spusteniu palivového čerpadla a vybitiu batérie.

Important: Pri používaní stroja kráčajte pred strojom smerom dopredu. Nekráčajte ani sa neotáčajte dozadu.

Zámok rýchlosti umožňuje jazdiť na stroji bez toho, aby ste museli držať ovládací prvok trakcie.
Note: Funkciu zámku rýchlosti nemôžete používať pri jazde so strojom dozadu.
Používanie zámku rýchlosti počas prevzdušňovania umožňuje pokračovať v jazde so strojom pri vybratej rýchlosti podľa nastavenia rozmiestnenia dier na konci prechodu prevzdušňovača, otočiť stroj a začať prevzdušňovať nový pás bez zmeny polohy ovládacieho prvku trakcie.
Note: Funkcia zámku rýchlosti v prevzdušňovacom režime je aktívna, keď je prevzdušňovacia hlava nastavená na režim oneskoreného spustenia. Funkcia zámku rýchlosti je zamknutá v režime okamžitého spustenia.
Zámok pojazdovej rýchlosti slúži ako tempomat v aute.
Stlačte spínač prepravy/prevzdušňovania do polohy PREPRAVA (Obrázok 74).

Stlačte spínač zámku rýchlosti do polohy ZAPNUTé.
Jazdite so strojom dopredu požadovanou pojazdovou rýchlosťou.
Stlačte spínač zámku rýchlosti do polohy AKTIVOVAť.
Note: Zámok pojazdovej rýchlosti udržiava aktuálnu pojazdovú rýchlosť, akou stroj jazdí. Môžete uvoľniť ovládací prvok trakcie.
Ak chcete deaktivovať zámok rýchlosti, vykonajte jeden z týchto krokov:
Stlačte spínač zámku rýchlosti do polohy VYPNUTé.
Otočte vrchnú časť ovládacieho prvku trakcie dozadu a jazdite so strojom dozadu.
Uvoľnite ovládaciu rukoväť operátora.
Stlačte spínač zastavenia pri náraze.
Note: Zámok pojazdovej rýchlosti nie je dostupný, keď je prevzdušňovanie v režime okamžitého spustenia.
Stlačte spínač prepravy/prevzdušňovania do polohy PREVZDUšňOVANIE (Obrázok 75).

Stlačte spínač zámku rýchlosti do polohy ZAPNUTé.
Jazdite so strojom dopredu a zatvorte prevzdušňovací záves.
Note: Zámok pojazdovej rýchlosti sa aktivuje a prevzdušňovacia hlava sa spustí.
Na konci prechodu prevzdušňovača uvoľnite prevzdušňovací záves.
Note: Prevzdušňovacia hlava sa zdvihne, no stroj udržiava pojazdovú rýchlosť podľa nastavenia rozmiestnenia dier.
Ak chcete deaktivovať zámok rýchlosti, vykonajte jeden z týchto krokov:
Stlačte spínač zámku rýchlosti do polohy VYPNUTé.
Otočte vrchnú časť ovládacieho prvku trakcie dozadu a jazdite so strojom dozadu.
Uvoľnite ovládaciu rukoväť operátora.
Stlačte spínač zastavenia pri náraze.
Note: Prepravný režim používajte, keď so strojom prechádzate medzi pracoviskami.
Note: Vždy keď je spínač prepravy/prevzdušňovania v polohe PREVZDUšňOVANIE, stroj jazdí zníženou variabilnou rýchlosťou.
Naštartujte motor a posuňte páčku škrtiacej klapky do polohy RýCHLO. Pozrite si časť Naštartovanie motora.
Spustite riadidlo, čím uvoľníte parkovaciu brzdu. Pozrite si časť Uvoľnenie parkovacej brzdy.
Stlačte ľavú časť spínača prepravy/prevzdušňovania do polohy PREPRAVA (Obrázok 76).

Note: V informačnom centre sa zobrazí ikona PREPRAVY (Obrázok 77).

Pozrite sa v smere plánovanej trasy a uistite sa, že je voľná.
Uchopte ľavé alebo pravé riadidlo a ovládaciu rukoväť operátora (Obrázok 76) a stlačte záves k rukoväti.
Palcom otočte ľavý alebo pravý ovládací prvok trakcie a nasledujúcim spôsobom ovládajte jazdu stroja:
Otočte vrchnú časť ovládacieho prvku trakcie dopredu a jazdite so strojom dopredu.
Otočte vrchnú časť ovládacieho prvku trakcie dozadu a jazdite so strojom dozadu.
Note: Ďalším otočením ovládacieho prvku trakcie zvýšite pojazdovú rýchlosť stroja.
Important: Ak chcete stroj okamžite zastaviť, stlačte spínač zastavenia pri náraze (Obrázok 78).

Ak prevzdušňujete, uvoľnite prevzdušňovací záves (Obrázok 79) a zdvihnite prevzdušňovaciu hlavu. Pozrite si časť Zdvihnutie prevzdušňovacej hlavy.

Uvoľnite ovládací prvok trakcie a nechajte ho vrátiť sa do polohy NEUTRáL.
Uvoľnite ovládaciu rukoväť operátora.
Úplne zdvihnite a západkou zaistite riadidlo a zatiahnite tak parkovaciu brzdu. Pozrite si časť Zatiahnutie parkovacej brzdy.
Note: Vždy keď je prevzdušňovacia hlava zdvihnutá, stroj jazdí zníženou variabilnou rýchlosťou.
Naštartujte motor a posuňte páčku škrtiacej klapky do polohy RýCHLO. Pozrite si časť Naštartovanie motora.
Spustite riadidlo, čím uvoľníte parkovaciu brzdu. Pozrite si časť Uvoľnenie parkovacej brzdy.
Stlačte pravú časť spínača prepravy/prevzdušňovania do polohy PREVZDUšňOVANIE (Obrázok 80).

V informačnom centre sa zobrazia aktuálna hĺbka a rozstup dier (Obrázok 81).

Pozrite sa v smere plánovanej trasy a uistite sa, že je voľná.
Uchopte ľavé alebo pravé riadidlo a ovládaciu rukoväť operátora (Obrázok 80) a stlačte záves k rukoväti.
Palcom otočte vrchnú časť ľavého alebo pravého ovládacieho prvku trakcie a jazdite so strojom dopredu.
Note: Počas prevzdušňovania stroj jazdí rýchlosťou podľa vybratého nastavenia rozmiestnenia dier.
Keď používate zámok pojazdovej rýchlosti, uvoľnenie prevzdušňovacieho závesu bez zmeny polohy ovládacieho prvku trakcie spôsobí, že stroj udržiava pojazdovú rýchlosť, podobne ako tempomat v aute.
Jazda so strojom smerom dozadu deaktivuje funkciu tempomatu a spôsobí, že stroj jazdí variabilnou pojazdovou rýchlosťou.
Po zdvihnutí hlavy pri otáčaní stroja na ďalší prechod môžete zvýšiť pojazdovú rýchlosť posunutím ovládacieho prvku trakcie viac dopredu. Keď vraciate ovládací prvok trakcie späť do polohy NEUTRáL, stroj spomalí na požadovanú pojazdovú rýchlosť podľa nastavenia rozmiestnenia dier.
Keď prevzdušňujete v režime oneskoreného spustenia, bod spustenia odhadnite podľa prednej pneumatiky.
Stlačte vrchnú časť prepínača na ovládanie spustenia (Obrázok 82) do polohy ONESKORENé SPUSTENIE.

So strojom jazdite dopredu. Pozrite si časť Jazda na stroji v prevzdušňovacom režime.
Keď sa predná pneumatika dostane za obvod prevzdušňovaného priestoru, zatvorte ľavý alebo pravý prevzdušňovací záves (Obrázok 83).
Note: Prevzdušňovacia hlava sa otáča a spustí sa, keď sa stroj pohne dopredu cez cieľový prevzdušňovaný priestor.

V režime oneskoreného spustenia odhadnite bod zdvihnutia podľa prednej pneumatiky (Obrázok 84).

Ak chcete zdvihnúť prevzdušňovaciu hlavu, vykonajte jeden z týchto krokov:
Keď sa predná pneumatika dostane za obvod prevzdušňovaného priestoru, uvoľnite prevzdušňovací záves (Obrázok 85).
Note: Stroj oneskorí zdvíhanie prevzdušňovacej hlavy, kým hlava nedosiahne cieľový bod identifikovaný podľa prednej pneumatiky a uvoľneného prevzdušňovacieho závesu.

So strojom jazdite dozadu. Pozrite si časť Jazda dozadu na stroji.
Stlačte spodnú časť prepínača na ovládanie spustenia (Obrázok 86) do polohy OKAMžITé SPUSTENIE.
Note: Rozsvieti sa indikátor prepínača.

So strojom jazdite dopredu. Pozrite si časť Jazda na stroji v prevzdušňovacom režime.
Zatvorte ľavý alebo pravý prevzdušňovací záves (Obrázok 87).
Note: Prevzdušňovacia hlava sa okamžite spustí a začne prevzdušňovať.

Ak chcete zdvihnúť prevzdušňovaciu hlavu, vykonajte jeden z týchto krokov:
Uvoľnite prevzdušňovací záves (Obrázok 88).
Note: Stroj okamžite zdvihne prevzdušňovaciu hlavu.

So strojom jazdite dozadu. Pozrite si časť Jazda dozadu na stroji.
Uvoľnite ovládací prvok trakcie a nechajte ho vrátiť sa do polohy NEUTRáL. Potom uvoľnite ovládaciu rukoväť operátora (Obrázok 91).

Odíďte od spínača zastavenia pri náraze (Obrázok 92).
Note: Pružina v spínači zastavenia pri náraze resetuje spínač.

Uchopte ľavé alebo pravé riadidlo a ovládaciu rukoväť operátora (Obrázok 93) a stlačte záves k rukoväti.

Jazdite so strojom. Pozrite si časť Jazda na stroji v prepravnom režime alebo Jazda na stroji v prevzdušňovacom režime.
Pomocou označovača čiar zarovnajte prevzdušňovacie riadky (Obrázok 94).

Stroj používa 2 počítadlá na zaznamenávanie prevzdušňovaného priestoru a objemu odstránenej zeminy. Na základe informácií z týchto počítadiel môžete odhadnúť množstvo top dressingu, ktoré sa má použiť na prevzdušňovaných trávnikoch.
Počítadlo priestoru 1 nie je chránené kódom PIN a môže ho resetovať operátor stroja.
Note: Ak operátor zaznamená údaje z počítadla priestoru 1 z každej prevzdušňovanej lokality, môžete odhadnúť množstvo vrchnej zeminy a požiadavky na doručenie pre danú lokalitu.
Počítadlo priestoru 2 je chránené kódom PIN a môže ho resetovať nadriadený alebo ním poverená osoba.
Prevzdušňovaný priestor sa zobrazuje v m2 (metrické jednotky) alebo v stopách2 (imperiálne jednotky).
Objem zeminy odstránenej pri prevzdušňovaní sa zobrazuje v m3 (metrické jednotky) alebo v yardoch3 (imperiálne jednotky).
Pri sledovaní počítadiel objemu zeminy odstránenej pri prevzdušňovaní stroj počíta objem na základe údajov o priemere a počte hrotov, ktoré ste zadali v informačnom centre.
Important: Ak pred prevzdušňovaním lokality zadáte nesprávne hodnoty priemeru a počtu hrotov, informačné centrum vypočíta a zobrazí nesprávne hodnoty objemu zeminy pre priestory 1 a 2. Ak hodnoty priemeru a počtu hrotov po prevzdušňovaní zmeníte, informačné centrum zmení zobrazené hodnoty objemu.
Stroj zaparkujte na rovnom povrchu.
Uistite sa, že je motor spustený alebo že je kľúč v zapaľovaní v polohe PREVáDZKA.
V informačnom centre prejdite na položku HLAVNá PONUKA.
Stláčajte tlačidlo nadol, kým sa nevyberie možnosť SERVIS, a potom stlačte tlačidlo výberu (Obrázok 95).

Na obrazovke SERVIS stláčajte tlačidlo nadol, kým sa nevyberie možnosť ŠTATISTIKA, a potom stlačte tlačidlo výberu (Obrázok 96).

Note: Na obrazovke ŠTATISTIKA sa zobrazí počítadlo PRIESTOR.

Na obrazovke ŠTATISTIKA stláčajte tlačidlo nadol, kým sa nevyberie možnosť PRIESTOR 1 (Obrázok 98).

Do hárka si poznačte údaje o prevzdušňovanom priestore a objeme zeminy odstránenej pri prevzdušňovaní. Pozrite si nižšie uvedený príklad.
|
Dátum |
Dráha (ak ich je viac) |
Lokalita |
Prevzdušňovaný priestor |
Objem zeminy |
Stlačením tlačidla výberu zobrazte obrazovku resetovania priestoru a objemu.
Na obrazovke RESET PRIESTORU A OBJEMU stlačte tlačidlo výberu.
Note: V informačnom centre sa zobrazí obrazovka štatistiky a počítadlá priestoru a objemu sa vynulujú.
Note: Ak neresetujete počítadlo priestoru 1, počítadlá priestoru a objemu budú ďalej spočítavať údaje.

Podľa potreby zopakujte kroky 1 až 4.
Stlačením tlačidla Späť sa vrátite do hlavnej ponuky.
Note: Po resetovaní počítadiel PRIESTORU 2 sa neresetujú počítadlá PRIESTORU 1.
Zadaním kódu PIN prejdite do chránených ponúk. Pozrite si časť Prístup k položke Chránené ponuky.
Na obrazovke ŠTATISTIKA stláčajte tlačidlo nadol, kým sa nevyberie možnosť PRIESTOR 2 (Obrázok 100).

V prípade potreby si poznačte údaje o prevzdušňovanom priestore a objeme zeminy odstránenej pri prevzdušňovaní.
Stlačením tlačidla výberu zobrazte obrazovku resetovania priestoru a objemu.
Na obrazovke RESET PRIESTORU A OBJEMU stlačte tlačidlo výberu (Obrázok 101).
Note: V informačnom centre sa zobrazí obrazovka štatistiky a počítadlá priestoru a objemu sa vynulujú.
Note: Ak neresetujete počítadlo priestoru 2, počítadlá priestoru a objemu budú ďalej spočítavať údaje.

Stlačením tlačidla Späť sa vrátite do hlavnej ponuky.
Pred vykonaním servisu prevzdušňovacej hlavy alebo pri skladovaní stroja viacero dní namontujte servisnú západku.
Ak je prevzdušňovacia hlava zdvihnutá, no nezaistená západkou, môže sa nečakane spustiť a zraniť vás alebo okolostojace osoby.
Pri každom vykonávaní servisu prevzdušňovacej hlavy vrátane výmeny hrotov alebo krytov trávnika použite servisnú západku na zaistenie prevzdušňovacej hlavy vo zdvihnutej polohe.
Zdvihnite prevzdušňovaciu hlavu.
Stroj zaparkujte na rovnom povrchu, úplne zdvihnite a západkou zaistite riadidlo, čím sa zatiahne parkovacia brzda, vypnite motor, vyberte kľúč a počkajte, kým sa všetky pohyblivé časti neprestanú pohybovať.
Zložte kryt prevzdušňovacej hlavy. Pozrite si časť Zloženie krytu prevzdušňovacej hlavy.
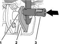
Demontujte svorník zaisťujúci servisnú západku na bočnej doske (Obrázok 102).

Otočte servisnú západku dozadu a zarovnajte ju nad čapom podpery prevzdušňovacej hlavy.
Zaistite západku na čape podpery pomocou svorníka.
V prípade potreby nasaďte kryt prevzdušňovacej hlavy. Pozrite si časť Nasadenie krytu prevzdušňovacej hlavy.
Stroj zaparkujte na rovnom povrchu, úplne zdvihnite a západkou zaistite riadidlo, čím sa zatiahne parkovacia brzda, vypnite motor, vyberte kľúč a počkajte, kým sa všetky pohyblivé časti neprestanú pohybovať.
Ak je na stroji namontovaný kryt prevzdušňovacej hlavy, zložte ho. Pozrite si časť Zloženie krytu prevzdušňovacej hlavy.
Demontujte svorník zaisťujúci servisnú západku na čape podpery prevzdušňovacej hlavy (Obrázok 103).

Otočte servisnú západku nadol a zarovnajte ju nad čapom podpery bočnej dosky.
Zaistite západku na čape podpery pomocou svorníka.
Nasaďte kryt prevzdušňovacej hlavy. Pozrite si časť Nasadenie krytu prevzdušňovacej hlavy.
Important: Poškodený hrot vymeňte za hrot rovnakej dĺžky. Hroty rôznej dĺžky negatívne ovplyvňujú vzhľad dier.
Hroty rôznej dĺžky ovplyvňujú vzhľad dier.
Obrázky nájdete v časti Montáž krytov trávnika, držiakov hrotov a hrotov.
Zdvihnite prevzdušňovaciu hlavu a pomocou servisnej západky ju zaistite na mieste.
Stroj zaparkujte na rovnom povrchu, úplne zdvihnite a západkou zaistite riadidlo, čím sa zatiahne parkovacia brzda, vypnite motor, vyberte kľúč a počkajte, kým sa všetky pohyblivé časti neprestanú pohybovať.
Uvoľnite skrutky držiaka hrotov a demontujte staré hroty.
Zasuňte do držiaka nové hroty.
Skrutky držiaka hrotov utiahnite momentom 40,6 N∙m.
V prípade potreby tento postup zopakujte na zvyšných ramenách.
Pomocou aplikácie vyvolania výšky od zeme rýchlo skontrolujte aktuálnu výšku hrotov od zeme.
Aplikácia posúva hlavu nadol do predtým kalibrovanej polohy. Keď je hlava v danej polohe, môžete skontrolovať vzdialenosť špičky hrotov od zeme.
Uistite sa, že je prevzdušňovacia hlava zdvihnutá.
Stroj zaparkujte na rovnom povrchu, úplne zdvihnite a západkou zaistite riadidlo, čím sa zatiahne parkovacia brzda, vypnite motor, vyberte kľúč a počkajte, kým sa všetky pohyblivé časti neprestanú pohybovať.
Zložte kryt prevzdušňovacej hlavy. Pozrite si časť Zloženie krytu prevzdušňovacej hlavy.
Otáčajte remenicou prevzdušňovacej hlavy (Obrázok 104), kým sa najvzdialenejšie hroty nezarovnajú čo najbližšie so zemou.
Important: Prstami sa nepribližujte do priestoru, v ktorom sa remeň spája s remenicou a oddeľuje sa od nej, aby ste predišli pricviknutiu prstov.


Nasaďte kryt prevzdušňovacej hlavy. Pozrite si časť Nasadenie krytu prevzdušňovacej hlavy.
Zadaním kódu PIN prejdite do chránených ponúk. Pozrite si časť Prístup k položke Chránené ponuky.
V informačnom centre prejdite na položku HLAVNá PONUKA.
Stláčajte tlačidlo nadol, kým sa nevyberie možnosť SERVIS, a potom stlačte tlačidlo výberu (Obrázok 105).

V informačnom centre stlačte tlačidlo nadol, prejdite na možnosť VýšKA OD ZEME a stlačte tlačidlo výberu.
V informačnom centre stlačte tlačidlo nadol, prejdite na možnosť VYVOLAť KALIBRáCIU a stlačte tlačidlo výberu.
Na obrazovke Vyvolanie výšky od zeme (Obrázok 106) stlačte tlačidlo výberu.

Na obrazovke Hlava sa spustí (Obrázok 107) stlačte tlačidlo výberu.

Note: Zobrazí sa správa o spustení hlavy a prevzdušňovacia hlava sa spustí.
Sledujte najvzdialenejšie hroty a tieto podmienky nezodpovedajúce kalibrácii.
Ak hroty začínajú prenikať do zeme – stlačte tlačidlo výberu (Obrázok 108) a spustite aplikáciu UčENIE VýšKY OD ZEME. Pozrite si časť toSpustenie funkcie Učenie výšky od zeme.
Ak sú hroty nad zemou – stlačte tlačidlo výberu a spustite aplikáciu UčENIE VýšKY OD ZEME. Pozrite si časť toSpustenie funkcie Učenie výšky od zeme.

Ak sa najvzdialenejšie hroty zľahka dotýkajú zeme, stlačte tlačidlo výberu a zdvihnite prevzdušňovaciu hlavu.
Stroj prenáša hmotnosť z trakčnej jednotky na prevzdušňovaciu hlavu, čím pomáha zaručovať hĺbku dier v rôznych pôdach. Ak je však pôda príliš pevná na zaručenie úplnej hĺbky prevzdušňovania, prevzdušňovacia hlava môže vyžadovať dodatočný prenos hmotnosti. Stroj je vo výrobe nastavený na bežný prenos hmotnosti. Ak chcete zvýšiť tlak na pružiny prenosu hmotnosti, postupujte takto:
Náhle uvoľnenie dosiek pružín môže spôsobiť zranenie.
Pri nastavovaní pružiny prenosu hmotnosti požiadajte o pomoc ďalšiu osobu.
Stroj zaparkujte na rovnom povrchu, úplne zdvihnite a západkou zaistite riadidlo, čím sa zatiahne parkovacia brzda, vypnite motor, vyberte kľúč a počkajte, kým sa všetky pohyblivé časti neprestanú pohybovať.
Uvoľnite prednú poistnú maticu s prírubou a vratovú skrutku zaisťujúce dosku s pružinou na podpornej konzole prevzdušňovacej hlavy (Obrázok 109).
Note: Nevyberajte poistnú maticu ani vratovú skrutku.

Demontujte zadnú poistnú maticu s prírubou zaisťujúcu konzoly pružín na podpornej konzole.
Note: Nevyberajte vratovú skrutku.
Vložte do hranatého otvoru v doske s pružinou ½" račňový kľúč alebo vratidlo (Obrázok 110).

Otáčaním račňového kľúča alebo vratidla uvoľnite napätie na zadnej vratovej skrutke a vyberte ju z vrchného otvoru.
Note: Vrchný otvor predstavuje polohu bežného prenosu hmotnosti.
Otáčajte dosku s pružinou, kým sa nezarovná so spodným otvorom v podpornej konzole. Do otvorov v doske a konzole zasuňte vratovú skrutku.
Note: Spodný otvor predstavuje polohu vyššieho prenosu hmotnosti. Otáčaním dosiek pružín nahor sa zvyšuje prenos hmotnosti.
Zaistite vratovú skrutku na podpornej konzole a doske s pružinou pomocou poistnej matice s prírubou.
Poistné matice utiahnite momentom 37 až 45 N m.
Na dosiahnutie optimálnej kvality dier a výkonu stroja používajte pri prevzdušňovaní systém automatického kopírovania terénu.
Manuálne kopírovanie terénu používajte len vtedy, ak je poškodený snímač polohy hrotov.
Stroj zaparkujte na rovnom povrchu, úplne zdvihnite a západkou zaistite riadidlo, čím sa zatiahne parkovacia brzda, vypnite motor, vyberte kľúč a počkajte, kým sa všetky pohyblivé časti neprestanú pohybovať.
Zložte kryt prevzdušňovacej hlavy. Pozrite si časť Zloženie krytu prevzdušňovacej hlavy.
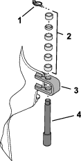
Demontujte svorník zaisťujúci čap zarážky určujúcej hĺbku a rozpery na konzole zarážky (Obrázok 111 a Obrázok 112).


Rozpery umiestnite nad alebo pod konzolu zarážky, čím nastavíte hĺbku prevzdušňovania.
Keď sú všetky rozpery na vrchnej strane konzoly zarážky, nastavenie hĺbky je 10,7 cm.
Hrubé rozpery sa rovnajú 19 mm.
Tenké rozpery sa rovnajú 9,5 mm.
Note: Musíte namontovať všetky rozpery bez ohľadu na ich polohu.
Namontujte čap zarážky určujúcej hĺbku a rozpery na konzolu zarážky so svorníkom.
Zopakujte kroky 3 až 5 na druhej strane stroja.
Important: Uistite sa, že sa rozpery nad a pod ľavou a pravou konzolou zarážky nachádzajú v rovnakej polohe.
Nasaďte kryt prevzdušňovacej hlavy. Pozrite si časť Nasadenie krytu prevzdušňovacej hlavy.
Note: Ak prevzdušňujete v manuálnom režime, informačné centrum musíte nastaviť na manuálne kopírovanie terénu nastaviť po každom naštartovaní motora.
Kľúč v zapaľovaní otočte do polohy PREVáDZKA.
Note: Neštartujte motor.
Zadaním kódu PIN prejdite do chránených ponúk. Pozrite si časť Prístup k položke Chránené ponuky.
V informačnom centre prejdite na položku HLAVNá PONUKA.
Stláčajte tlačidlo nadol, kým sa nevyberie možnosť NASTAVENIA STROJA, a potom stlačte tlačidlo výberu.
Stláčajte tlačidlo nadol, kým sa nevyberie možnosť MANUáLNE PREVZDUšňOVANIE, a potom stlačením tlačidla výberu (Obrázok 113) nastavte manuálne prevzdušňovanie na možnosť ZAPNUTé.

Naštartujte motor.
Prevzdušňujte využitím režimu v časti Prevzdušňovanie v režime oneskoreného spustenia alebo Prevzdušňovanie v režime okamžitého spustenia.
Note: Keď potom vypnete a naštartujete, stroj predvolene aktivuje režim automatického kopírovania terénu.
Stroj zaparkujte na rovnom povrchu, úplne zdvihnite a západkou zaistite riadidlo, čím sa zatiahne parkovacia brzda, vypnite motor, vyberte kľúč a počkajte, kým sa všetky pohyblivé časti neprestanú pohybovať.
Zložte kryt prevzdušňovacej hlavy. Pozrite si časť Zloženie krytu prevzdušňovacej hlavy.
Demontujte svorník zaisťujúci čap zarážky určujúcej hĺbku a rozpery na konzole zarážky (Obrázok 114).


Umiestnite všetky rozpery nad konzolu zarážky.
Namontujte čap zarážky určujúcej hĺbku a rozpery na konzolu zarážky so svorníkom.
Note: Musíte odložiť všetky rozpery.
Zopakujte kroky 3 až 5 na druhej strane stroja.
Nasaďte kryt prevzdušňovacej hlavy. Pozrite si časť Nasadenie krytu prevzdušňovacej hlavy.
Po nastavení prenosu hmotnosti je možné prevzdušňovať trávnik s dostatočne pevnou zemou, no spôsobuje to zdvihnutie zadných pneumatík stroja zo zeme. Môže to spôsobiť nepravidelné rozmiestnenie dier.
V takom prípade môžete na tyč nápravy zadného rámu pridať voliteľné protizávažia. Každé protizávažie pridáva k hmotnosti stroja 28,5 kg. Pridať môžete až 2 dosky. Informácie o číslach dielov protizávažia a hardvéru nájdete v katalógu dielov stroja.
Požadované náradie: 15 mm nadstavec a nástrčný kľúč
Important: Motor nespúšťajte s obtokovým ventilom otvoreným dlhšie ako 10 až 15 sekúnd.
Ak je to možné, stroj zaparkujte na rovnom povrchu.
Úplne zdvihnite a západkou zaistite riadidlo, čím sa zatiahne parkovacia brzda, vypnite motor, vyberte kľúč a počkajte, kým sa všetky pohyblivé časti neprestanú pohybovať.
Demontujte 2 skrutky s hlavou s prírubou zaisťujúce odkladaciu nádobu na konzole nádoby (Obrázok 115).

Vyhľadajte kryt skrutky obtokového ventilu medzi motorom a hydraulickým čerpadlom, ako je znázornené na Obrázok 116).

Pomocou 15 mm nadstavca a nástrčného kľúča otočte obtokový ventil o jeden a pol otáčky proti smeru hodinových ručičiek.
Important: Obtokový ventil neotáčajte viac ako o jeden a pol otáčky.
Ak stroj ťaháte, používajte obruč predného bodu viazania (Obrázok 117).
Important: Stroj netlačte/neťahajte na dlhšiu vzdialenosť ako 30,5 m ani vyššou rýchlosťou ako 0,6 km/h, inak môže dôjsť k poškodeniu súčasti hydrauliky.

Pred tlačením/ťahaním stroja spustite riadidlo a uvoľnite parkovaciu brzdu.
Important: Pred presúvaním stroja musíte spustiť riadidlo a uvoľniť parkovaciu brzdu.
Important: Ak chcete jazdiť so strojom, obtokový ventil musíte zatvoriť. Nepokúšajte sa používať trakčný systém s otvoreným obtokovým ventilom.
Vyhľadajte skrutku obtokového ventilu medzi motorom a hydraulickým čerpadlom.
Note: Umiestnenie krytu skrutky obtokového ventilu je znázornené na Obrázok 118.

Pomocou 15 mm nadstavca a nástrčného kľúča otočte obtokový ventil o jeden a pol otáčky v smere hodinových ručičiek.
Note: Skrutku obtokového ventilu neuťahujte nadmerne.
Pomocou 15 mm kľúča namontujte kryt skrutky obtokového ventilu na hydraulické čerpadlo.
Pomocou 2 skrutiek s hlavou s prírubou namontujte odkladaciu nádobu na konzolu nádoby.
Ak sa motor zastaví, kým sa prevzdušňovacia hlava spustila a hroty sa zabodli do zeme a nemôžete naštartovať motor, vykonajte krok v časti Zdvihnutie prevzdušňovacej hlavy pomocou štartéra alebo Demontáž držiakov hrotov z ramien udupávača.
Kľúč otočte do polohy PREVáDZKA.
V informačnom centre prejdite na položku HLAVNá PONUKA.
Stláčajte tlačidlo nadol, kým sa nevyberie možnosť SERVIS, a potom stlačte tlačidlo výberu (Obrázok 119).

Stláčajte tlačidlo nadol, kým sa nevyberie možnosť ZDVIHNUTIE PRI SERVISE, a potom stlačte tlačidlo výberu (Obrázok 120).
Note: Položka zdvihnutia pri servise sa zmení na možnosť ZAPNUTé.

Otočte kľúč do polohy ŠTART a na 10 sekúnd pretáčajte štartér.
Important: Nenechajte štartér bežať naraz dlhšie než 10 sekúnd. Ak sa hroty nezdvihli zo zeme, pred ďalším pokusom počkajte 30 sekúnd na vychladnutie. V prípade nedodržania pokynov môže dôjsť k spáleniu elektrického štartéra.
Note: Prevzdušňovacia hlava zdvihne hroty zo zeme.
Important: Pred presúvaním stroja sa hroty úplne zdvihnú zo zeme.
Otvorte obtokový ventil. Pozrite si časť Obídenie hydraulického čerpadla a presúvanie stroja.
Ťahajte/tlačte stroj na blízke miesto, kde budete pokračovať v servise alebo ho naložíte na príves.
Important: Stroj neťahajte/netlačte na dlhšiu vzdialenosť ako 30,5 m ani vyššou rýchlosťou ako 1,6 km/h, inak môže dôjsť k poškodeniu hydrauliky.
Demontujte z ramien udupávača držiaky hrotov.
Otvorte obtokový ventil. Pozrite si časť Obídenie hydraulického čerpadla a presúvanie stroja.
Ťahajte/tlačte stroj na blízke miesto, kde budete pokračovať v servise alebo ho naložíte na príves.
Important: Stroj neťahajte/netlačte na dlhšiu vzdialenosť ako 30,5 m ani vyššou rýchlosťou ako 1,6 km/h, inak môže dôjsť k poškodeniu hydrauliky.
Pri prevzdušňovaní zatáčajte veľmi plynule. Keď je prevzdušňovacia hlava v zemi, nikdy nerobte ostré zákruty. Pred spustením prevzdušňovača si vždy naplánujte trasu.
Vždy pamätajte na to, čo máte pred sebou v smere jazdy. Vyhnite sa prevzdušňovaniu blízko budov, plotov a iného vybavenia.
Pravidelne sa obzerajte za seba, aby ste zaručili, že stroj funguje správne a že idete rovnomerne popri predchádzajúcej stope.
Vždy z priestoru odstráňte všetky poškodené diely stroja, napríklad zlomené hroty a pod., aby ich nezachytili kosačky alebo iné vybavenie na starostlivosť o trávnik.
Zlomené hroty vymeňte a skontrolujte a opravte poškodené hroty, ktoré sú ešte použiteľné. Pred prevádzkou opravte akékoľvek iné poruchy stroja.
Pri prevzdušňovaní na menej ako celú šírku stroja môžete hroty demontovať, no hlavy hrotov musia zostať namontované na ramenách udupávača na zaručenie správneho vyváženia a prevádzky stroja.
Tento stroj prevzdušňuje hlbšie ako väčšina prevzdušňovačov greenov. Na pôvodných alebo upravených vyvýšených greenoch a odpaliskách môžu väčšia hĺbka a dlhšie duté hroty spôsobovať problémy s vytiahnutím celého valca zeminy. Spôsobuje to tvrdšia pôvodná zemina, ktorá sa lepí na konce hrotov. Hroty na greeny/odpaliská s bočným vysúvaním valcov zeminy od výrobcu sú čistejšie a skracujú čas potrebný na čistenie hrotov. Tento stav sa postupne eliminuje pravidelným prevzdušňovaním a aplikovaním programov top dressingu.
Tento stroj je určený na poskytovanie čo najväčšej hĺbky. Na niektorých trávnikoch by však pri používaní nastavenia maximálnej hĺbky mohli kryty trávnika alebo skrutky krytov trávnika spôsobiť škody. Ak sa pri prevzdušňovaní s nastavením maximálnej hĺbky (s hrotmi ľubovoľnej dĺžky) po spustení kalibrácie výšky od zeme skrutky krytu trávnika ťahajú po trávniku alebo sa ho dotýkajú, znížte hĺbku o jeden stupeň (1/4 palca).
Ak je zemina príliš tvrdá na dosiahnutie požadovanej hĺbky prevzdušňovania, prevzdušňovacia hlava môže nadskakovať. Dochádza k tomu pre tvrdý povrch, do ktorého sa hroty snažia preniknúť. Tento stav môžete zlepšiť nasledujúcim spôsobom:
Neprevzdušňujte zem, ktorá je príliš tvrdá alebo suchá. Najlepšie výsledky pri prevzdušňovaní dosiahnete po daždi, alebo ak trávnik deň vopred polejete.
Ak skúšate používať 4-hrotovú hlavu, prejdite na 3-hrotovú verziu alebo znížte počet hrotov na jednotlivých ramenách udupávača. Skúste dosiahnuť symetrické usporiadanie hrotov, aby sa ramená udupávača zaťažovali rovnomerne.
Ak je zemina udupaná, znížte mieru prieniku hrotov prevzdušňovača (nastavenie hĺbky), odstráňte valce zeminy, zalejte trávnik a prevzdušnite ho znova s nastavením väčšej hĺbky.
Pri prevzdušňovaní typov pôdy na tvrdých podkladoch (t. j. pôda/piesok na skalnatej pôde) môže byť kvalita dier nežiaduca. Dochádza k tomu vtedy, keď je hĺbka prevzdušňovania väčšia ako vrchná vrstva pôdy a podklad je príliš tvrdý na preniknutie hrotov. Keď sa hroty dostanú do kontaktu s tvrdším podkladom, prevzdušňovač sa môže zdvihnúť a vrchná časť dier môže byť predĺžená. Dostatočne znížte hĺbku prevzdušňovania, aby ste predišli prenikaniu hrotov do tvrdého podkladu.
Kvalita diery na vstupe je horšia, keď je diera oválna (potiahnutá dopredu).
Ak sa kvalita diery na vstupe zhoršuje, skontrolujte kalibráciu výšky hrotov od zeme. Pozrite si časť Kontrola kalibrácie výšky hrotov od zeme.
Z dôvodu dvojradového dizajnu vyžaduje prevzdušňovacia hlava s minihrotmi nastavenie rozmiestnenia dier na 6,3 cm. Pojazdová rýchlosť je kľúčová na zaručenie vzhľadu rozmiestnenia dier na 3,2 cm. Ak rozmiestnenie dier vyžaduje malú zmenu, pozrite si časť Nastavenie rozstupu dier.
Pri používaní hlavy s minihrotmi alebo väčšími pevnými hrotmi je dôležitá koreňová štruktúra trávnika, aby sa predišlo poškodeniu trávnika z dôvodu narušenia koreňovej časti. Ak začnú 2 stredové ramená zdvíhať trávnik alebo nadmerne poškodzovať koreňovú časť, postupujte takto:
Zvýšte nastavenie rozmiestnenia dier
Použite menšie hroty
Použite menšiu hĺbku hrotov
Demontujte niektoré hroty
Zdvíhanie spôsobované pevnými hrotmi pri vyťahovaní z trávnika môže trávnik poškodiť. Môže narušiť koreňovú časť, ak je hustota alebo priemer hrotov príliš veľký.
Pri prevzdušňovaní s dlhšími pevnými hrotmi (t. j. s dĺžkou ⅜ x 4") alebo ihličkovými hrotmi môže byť predná časť dier oválna alebo sa môžu vytvárať trsy. Ak chcete s touto konfiguráciou znova dosiahnuť vynikajúcu kvalitu dier, vyskúšajte nasledujúci postup:
Kalibrujte výšku hrotov od zeme. Pozrite si časť Kalibrácia výšky hrotov od zeme.
Znížte voľnobežné otáčky motora na 2800 až 2900 ot./min.
Note: Keďže rýchlosť trakcie a prevzdušňovacej hlavy sa zvyšuje a znižuje súčasne s otáčkami motora, na rozmiestnenie dier to nemá vplyv.
Ak zníženie otáčok motora nezlepší kvalitu dier pri používaní dlhších pevných alebo ihličkových hrotov, nastavte tlmič Roto-Link.
Note: Vo väčšine podmienok je najlepšie výrobné nastavenie.
Ak je predná časť dier oválna alebo sa vytvárajú trsy, pevnejšie nastavenie tlmiča Roto-Link pomáha pri vytláčaní dier a zlepšuje ich kvalitu.
Ak je zadná časť dier oválna alebo sa vytvárajú trsy, mäkšie nastavenie tlmiča Roto-Link pomáha zlepšiť kvalitu dier.
Note: Ak znova použijete prevzdušňovacie hroty alebo akékoľvek minihroty, musíte vrátiť tlmič Roto-Link do pôvodnej polohy.
Stroj zaparkujte na rovnom povrchu, úplne zdvihnite a západkou zaistite riadidlo, čím sa zatiahne parkovacia brzda, vypnite motor, vyberte kľúč a počkajte, kým sa všetky pohyblivé časti neprestanú pohybovať.
Zložte kryt prevzdušňovacej hlavy. Pozrite si časť Zloženie krytu prevzdušňovacej hlavy.
Prevzdušňovaciu hlavu zaistite servisnou západkou. Pozrite si časť Podopretie prevzdušňovacej hlavy servisnou západkou.
Note: Na každom ramene udupávača sa z výroby 1 rozpera Roto-Link nachádza na hriadeli tlmiča Roto-Link a 1 rozpera je v odloženej polohe.
Note: Nastavenie tlmičov Roto-Link umožňuje používať stroj pri maximálnych otáčkach motora (3400 ot./min.), no možno budete potrebovať prevzdušňovať pri nižších otáčkach motora, aby sa zlepšila kvalita dier.
Demontujte 2 poistné matice s prírubou zaisťujúce hriadeľ tlmiča Roto-Link na zadnom ráme stroja (Obrázok 121).

Demontujte rozperu (ak je odložená) a tvrdené oválne podložky.
Otočte článok a hriadeľ tlmiča nadol (Obrázok 122).

Umiestnite rozperu Roto-Link a opravte nasledujúce podmienky, pri ktorých sa zasypávajú diery:
Note: Každá rozpera predstavuje 12,7 mm. Spodná rozpera tlmiča musí zostať namontovaná na hriadeli tlmiča.
Ak je predná časť dier oválna alebo sa vytvárajú trsy – umiestnite rozpery nad zadný rám v odloženej polohe.
Ak je zadná časť dier oválna alebo sa vytvárajú trsy – umiestnite obe rozpery nad zadný rám na obe strany hriadeľa tlmiča Roto-Link.
Otočte článok a hriadeľ tlmiča nahor a zasuňte výstupky cez otvory v zadnom ráme stroja.
Zaistite hriadeľ tlmiča a rozpery na zadnom ráme tvrdenými oválnymi podložkami a poistnými maticami (Obrázok 123).

Poistné matice s prírubou utiahnite momentom 47 až 61 N∙m.
Kroky 1 až 7 zopakujte na ďalších 2 ramenách udupávača.
Odložte servisnú zarážku. Pozrite si časť Odloženie servisnej západky.
Nasaďte kryt prevzdušňovacej hlavy. Pozrite si časť Nasadenie krytu prevzdušňovacej hlavy.
Kalibrujte výšku hrotov od zeme. Pozrite si časť Kalibrácia výšky hrotov od zeme.
Zájdite so strojom na skúšobné miesto, prevzdušnite trávnik a porovnajte kvalitu dier.
Ak sa kvalita dier zlepšila, zopakujte kroky v častiach Príprava stroja, Nastavenie tlmičov Roto-Link a Nasadenie krytu prevzdušňovacej hlavy nastavte tlmič Roto-Link na zvyšných 3 ramenách udupávača.
Stroj zaparkujte na rovnom povrchu, úplne zdvihnite a západkou zaistite riadidlo, čím sa zatiahne parkovacia brzda, vypnite motor, vyberte kľúč a počkajte, kým sa všetky pohyblivé časti neprestanú pohybovať.
Keď stroj nepoužívate, spustite prevzdušňovaciu hlavu alebo ju zaistite servisnou západkou.
Všetky časti stroja uchovávajte v dobrom prevádzkovom stave a utiahnite všetok hardvér.
Vymeňte všetky opotrebované, poškodené alebo chýbajúce štítky.
| Servisný interval | Postup pri údržbe |
|---|---|
| Pri každom použití alebo denne |
|
Important: Na čistenie stroja nepoužívajte poloslanú ani upravenú vodu.
Important: Stroj neumývajte vodou pod tlakom.
Stroj zaparkujte na rovnom povrchu, úplne zdvihnite a západkou zaistite riadidlo, čím sa zatiahne parkovacia brzda, vypnite motor, vyberte kľúč a počkajte, kým sa všetky pohyblivé časti neprestanú pohybovať.
Stroj dôkladne umyte.
Použite záhradnú hadicu s dýzou, aby ste zabránili preniknutiu vody do tesnení a kontaminácii maziva ložísk.
Pomocou kefy odstráňte zaschnutý materiál.
Na čistenie krytov používajte jemný čistiaci prostriedok.
Po čistení nanášajte pravidelne vosk na autá, aby sa zachovala lesklá povrchová úprava krytu.
Skontrolujte, či nie je stroj poškodený, či neuniká olej a či nie sú opotrebované súčasti a hroty.
Hroty demontujte, vyčistite a naolejujte. Na ložiská prevzdušňovacej hlavy nastriekajte jemnú olejovú vrstvu (spoje kľuky a tlmiča).
Important: Ak sa stroj chystáte skladovať viac ako niekoľko dní, zaistite prevzdušňovaciu hlavu servisnou západkou.
Na prednej a zadnej strane stroja sa nachádzajú obruče bodov viazania (Obrázok 124, Obrázok 125 a Obrázok 126).
Note: Na viazanie stroja používajte popruhy so správnou menovitou hodnotou a schválené ministerstvom dopravy. Informácie o hmotnosti stroja nájdete v časti Technické údaje.



Jazda so strojom na ulici alebo na ceste bez smeroviek, svetiel, reflexného značenia alebo označenia pomaly idúceho vozidla je nebezpečná a môže viesť k nehode s následným zranením osôb.
So strojom nejazdite po verejnej ulici ani po ceste.
Important: Pri nakladaní stroja na príves alebo kamión používajte rampy s plnou šírkou.
Stroj naložte na príves alebo kamión (prevzdušňovacou hlavou dopredu – preferovaná poloha).
Úplne zdvihnite a západkou zaistite riadidlo, čím sa zatiahne parkovacia brzda, vypnite motor, vyberte kľúč a počkajte, kým sa všetky pohyblivé časti neprestanú pohybovať.
Prevzdušňovaciu hlavu zaistite servisnou západkou. Pozrite si časť Podopretie prevzdušňovacej hlavy servisnou západkou.
Zatvorte uzatvárací ventil paliva, pozrite si časť Ventil odpojenia prívodu paliva.
Pomocou káblov, reťazí alebo popruhov priviažte stroj na bodoch viazania k prívesu alebo kamiónu. Pozrite si časť Body viazania.
| Hmotnosť | 745 kg alebo 829 kg s 2 voliteľnými závažiami |
| Šírka | Minimálne 130 cm |
| Dĺžka | Minimálne 267 cm |
| Uhol sklonu rampy | Maximálne 3,5/12 (16°) |
| Otočenie nákladu | Prevzdušňovacou hlavou dopredu (preferovaná poloha) |
| Prípustná celková hmotnosť prípojného vozidla | Väčšia ako celková hmotnosť prívesu |
Note: Z lokality www.Toro.com si prevezmite bezplatnú kópiu schémy zapojenia elektrického alebo hydraulického systému a pomocou prepojenia zameraného na príručky na domácej stránke vyhľadajte svoj stroj.
Note: Pre ďalšie postupy údržby si prečítajte používateľskú príručku k motoru.
Note: Určite ľavú a pravú stranu stroja pri normálnej prevádzkovej polohe.
Stroj zaparkujte na rovnom povrchu, úplne zdvihnite a západkou zaistite riadidlo, čím sa zatiahne parkovacia brzda, vypnite motor, vyberte kľúč a počkajte, kým sa všetky pohyblivé časti neprestanú pohybovať. Pred úpravou, servisom, čistením alebo skladovaním nechajte stroj vychladnúť.
Vykonávajte len pokyny údržby popísané v tejto príručke. Ak stroj vyžaduje väčšiu opravu alebo potrebujete pomoc, obráťte sa na autorizovaného distribútora spoločnosti Toro.
Uistite sa, že je stroj v bezpečnom prevádzkovom stave tým, že budú všetky matice a skrutky neustále utiahnuté.
Ak je to možné, nevykonávajte údržbu pri spustenom motore. Nepribližujte sa k pohyblivým častiam.
Opatrne uvoľnite tlak z komponentov s uloženou energiou.
Denne kontrolujte montážne skrutky hrotov a uistite sa, že sú utiahnuté podľa špecifikácie.
Pred vykonaním údržby alebo nastavením stroja sa uistite, že sú všetky kryty nasadené a že je kapota bezpečne zatvorená.
| Servisný interval | Postup pri údržbe |
|---|---|
| Po prvých 8 hodinách |
|
| Po prvých 50 hodinách |
|
| Pri každom použití alebo denne |
|
| Po každých 25 hodinách prevádzky |
|
| Po každých 50 hodinách prevádzky |
|
| Po každých 100 hodinách prevádzky |
|
| Po každých 200 hodinách prevádzky |
|
| Po každých 250 hodinách prevádzky |
|
| Po každých 400 hodinách prevádzky |
|
| Po každých 500 hodinách prevádzky |
|
| Pred uskladnením |
|
| Každý rok |
|
Important: Pre ďalšie postupy údržby si prečítajte používateľskú príručku k motoru.
Túto stranu skopírujte na účely pravidelného používania.
| Položka kontrolného zoznamu údržby | Na týždeň: | ||||||
|---|---|---|---|---|---|---|---|
| Pondelok | Utorok | Streda | Štvrtok | Piatok | Sobota | Nedeľa | |
| Skontrolujte prevádzku bezpečnostného ochranného systému. | |||||||
| Skontrolujte prevádzku parkovacej brzdy. | |||||||
| Skontrolujte hladinu motorového oleja. | |||||||
| Skontrolujte hladinu paliva.. | |||||||
| Skontrolujte vzduchový filter. | |||||||
| Skontrolujte, či sa na motore nenachádzajú nečistoty. | |||||||
| Skontrolujte nezvyčajné zvuky motora. | |||||||
| Skontrolujte nezvyčajné zvuky pri prevádzke. | |||||||
| Skontrolujte hladinu hydraulickej kvapaliny. | |||||||
| Skontrolujte, či nie sú poškodené hydraulické hadice. | |||||||
| Skontrolujte, či nedochádza k úniku kvapalín. | |||||||
| Skontrolujte prevádzku nástrojov. | |||||||
| Skontrolujte stav hrotov. | |||||||
| Opravte poškodený náter. | |||||||
Important: Pre ďalšie postupy údržby si prečítajte používateľskú príručku k motoru.
| Osoba, ktorá vykonala kontrolu: | ||
| Položka | Dátum | Informácie |
| 1 | ||
| 2 | ||
| 3 | ||
| 4 | ||
| 5 | ||
| 6 | ||
| 7 | ||
| 8 | ||
Ak necháte kľúče v zapaľovaní, iná osoba môže náhodne naštartovať motor a vážne zraniť vás alebo iné osoby v okolí.
Stroj zaparkujte na rovnom povrchu, úplne zdvihnite a západkou zaistite riadidlo, čím sa zatiahne parkovacia brzda, vypnite motor, vyberte kľúč a počkajte, kým sa všetky pohyblivé časti neprestanú pohybovať.
Important: Príchytky na krytoch tohto stroja sú navrhnuté tak, aby na kryte zostali aj po demontáži. Otočením o niekoľko otáčok uvoľnite všetky príchytky na všetkých krytoch tak, aby boli kryty voľné, no stále zostali pripevnené. Potom ich uvoľnite úplne, aby sa kryty demontovali. Zabránite tým náhodnému odskrutkovaniu skrutiek z príchytiek.
Stroj zaparkujte na rovnom povrchu.
Úplne zdvihnite a západkou zaistite riadidlo a zatiahnite tak parkovaciu brzdu. Pozrite si časť Zatiahnutie parkovacej brzdy.
Skôr než odídete od stroja, vypnite motor, vyberte kľúč a počkajte, kým sa nezastavia všetky pohyblivé súčasti. Pozrite si časť Vypnutie motora.
Nechajte stroj vychladnúť.
Ak nie je stroj vhodne podopretý blokmi alebo stojanmi, môže sa pohnúť alebo spadnúť a spôsobiť tak zranenie osôb.
Pri výmene nadstavcov, pneumatík alebo vykonávaní iného servisu používajte správne bloky, zdviháky a stojany.
Uistite sa, že je stroj zaparkovaný na pevnom rovnom povrchu, napríklad na betónovej podlahe.
Pred zdvihnutím stroja demontujte všetky nadstavce, ktoré môžu prekážať pri bezpečnom a vhodnom zdvíhaní stroja.
Kolesá vždy podložte alebo zablokujte. Na podopretie zdvihnutého stroja použite stojany alebo pevné drevené bloky.
Pripravte stroj na údržbu. Pozrite si časť Príprava stroja na údržbu.
Podložte zadné pneumatiky, aby ste zabránili pohybu stroja.
Important: Ak chcete predísť poškodeniu motora kolesa, nepoužívajte motor predného kolesa ako bod podopretia.
Zdvihák bezpečne umiestnite pod predné rameno podpery kolesa (Obrázok 127).

Prednú časť stroja zdvihnite zo zeme.
Pod prednú časť rámu umiestnite stojany alebo bloky z tvrdého dreva a podoprite tak stroj.
Pripravte stroj na údržbu. Pozrite si časť Príprava stroja na údržbu.
Podložte predné pneumatiky, aby ste zabránili pohybu stroja.
Important: Ak chcete predísť poškodeniu motora kolesa, nepoužívajte motor zadného kolesa ako bod podopretia.
Stojan bezpečne umiestnite pod dosku rámu, dovnútra zadného kolesa (Obrázok 128).

Note: Ak je k dispozícii, na zdvihnutie zadnej časti stroja použite zdvihák. Ako body pripevnenia zdviháka použite očká v puzdrách ložísk prevzdušňovacej hlavy (Obrázok 129).

Zadnú časť stroja zdvihnite zo zeme.
Pod rám umiestnite stojany alebo bloky z tvrdého dreva a podoprite tak stroj.
Zarovnajte montážnu konzolu krytu remeňa s podpornou konzolou krytu na ráme stroja (Obrázok 133).

Spustite kryt remeňa (Obrázok 134).

Úplne spustite rukoväť západky a zaistite kryt (Obrázok 135).

Ak má stroj lanko západky krytu remeňa s označením CE, zasuňte skrutku lanka do otvoru v západke krytu a utiahnite skrutku (Obrázok 136).


Ak má stroj zámky západky s označením CE, uvoľňujte skrutku dosky zámku, kým neuvidíte otvor v bočnej strane krytu prevzdušňovacej hlavy (Obrázok 138).

Otočte dosku zámku tak, aby ste videli západku (Obrázok 138).
Zopakujte kroky 1 až 2 na druhej strane krytu.
Odistite kryt prevzdušňovacej hlavy v 4 bodoch západky (Obrázok 137 a Obrázok 139).

Zdvihnite kryt prevzdušňovacej hlavy zo stroja (Obrázok 140).

Zarovnajte kryt prevzdušňovacej hlavy so strojom, ako je znázornené na Obrázok 141.

Zaistite kryt prevzdušňovacej hlavy západkou v 4 bodoch (Obrázok 142).
Ak má stroj zámky západky s označením CE, otáčajte dosky zámku, kým sa nezarovná s otvorom v bočnej strane krytu prevzdušňovacej hlavy (Obrázok 143).



Utiahnite skrutku dosky zámku (Obrázok 143).
Zopakujte kroky 3 až 4 na druhej strane krytu.
| Servisný interval | Postup pri údržbe |
|---|---|
| Po každých 500 hodinách prevádzky |
|
| Každý rok |
|
Stroj nemá žiadne mazacie armatúry, ktoré sa musia mazať.
Important: Ložiská zriedkavo zlyhávajú v dôsledku chyby materiálov alebo spracovania. Najčastejšími dôvodmi zlyhania sú vlhkosť a kontaminácia, ktoré preniknú cez ochranné tesnenia. Pravidelne sa musí vykonávať údržba mazaných ložísk, aby sa z priestoru ložísk odstránili škodlivé nečistoty. Utesnené ložiská sa musia na začiatku naplniť špeciálnym mazivom a musia mať zabudované tesnenie, ktoré udrží kontaminujúce látky a vlhkosť mimo valivých prvkov ložísk.
Utesnené ložiská nevyžadujú žiadne mazanie ani krátkodobú údržbu. Minimalizuje sa tak požadovaný pravidelný servis a znižuje sa pravdepodobnosť poškodenia trávnika z dôvodu kontaminácie mazivom. Balíky týchto utesnených ložísk zaručia pri bežnom používaní dobrý výkon a životnosť, no mala by sa vykonávať pravidelná kontrola stavu ložísk a integrity tesnení s cieľom predísť prestojom. Ložiská po každej sezóne skontrolujte a v prípade poškodenia alebo opotrebovania ich vymeňte. Ložiská by mali fungovať hladko bez nežiaducich sprievodných javov, ako je vysoká teplota, hluk, uvoľnenie či korózia.
V dôsledku prevádzkových podmienok, ktorým sú tieto balíky ložísk/tesnení vystavené (napríklad piesok, chemický postrek trávnika, voda, nárazy a pod.), sa považujú za položky, ktoré sa bežne opotrebúvajú. Na ložiská, ktoré sa poškodia z iného dôvodu, ako sú chyby materiálov alebo spracovania, sa zvyčajne nevzťahuje záruka.
Note: Používaním nevhodných postupov umývania môžete negatívne ovplyvniť ložiská. Stroj neumývajte, keď je ešte horúci, a vyhýbajte sa priamemu vysokotlakovému čisteniu ložísk vodou alebo postrekom.
Nové ložiská na novom stroji bežne z tesnení vytláčajú trošku maziva. Vytlačené mazivo sčernie z dôvodu nahromadenia nečistôt, nie pre nadmerné teplo. Prebytočné mazivo z tesnení sa odporúča utrieť po prvých 8 hodinách. Priestor okolo tesniacej hrany sa vždy môže zdať vlhký. Neovplyvňuje to životnosť ložísk a tesniaca hrana je vďaka tomu neustále namazaná.
Pred kontrolou oleja alebo pridávaním oleja do kľukovej skrine vypnite motor.
Nemeňte ani neprekračujte otáčky motora.
| Servisný interval | Postup pri údržbe |
|---|---|
| Po každých 25 hodinách prevádzky |
|
| Po každých 100 hodinách prevádzky |
|
Pripravte stroj na údržbu. Pozrite si časť Príprava stroja na údržbu.
Vyčistite okolie vzduchového filtra, aby sa do motora nedostali nečistoty a nepoškodili ho.
Odskrutkujte gombík a zložte kryt vzduchového filtra (Obrázok 144).

Opatrne vysuňte penový predfilter z papierovej vložky (Obrázok 144).
Odskrutkujte maticu krytu a zložte kryt, rozperu a papierový filter (Obrázok 144).
Important: Ak je penová vložka roztrhnutá alebo opotrebovaná, vymeňte ju.
Penový predfilter umyte v roztoku tekutého mydla a teplej vody. Po umytí ho dôkladne vypláchnite.
Predfilter vysušte tak, že ho zabalíte do čistej handričky a vytlačíte vodu (nežmýkajte ho).
Na predfilter naneste 3 až 6 cl oleja (Obrázok 145).

Predfilter stlačte, aby sa olej rovnomerne rozložil.
Skontrolujte, či nie je papierový filter roztrhnutý, či na ňom nie je mastný film alebo či nie je poškodené gumené tesnenie (Obrázok 146).

Important: Papierovú vložku nikdy nečistite. Ak je papierová vložka znečistená alebo poškodená, vymeňte ju.
Important: Ak chcete predísť poškodeniu motora, vždy používajte motor s vloženou kompletnou zostavou penového a papierového vzduchového filtra.
Opatrne zasuňte penový predfilter do papierového filtra (Obrázok 147).

Na základňu vzduchového filtra umiestnite zostavu vzduchového filtra.
Nasaďte kryt, rozperu a uzavretú maticu.
Maticu utiahnite momentom 11 N·m.
Nasaďte kryt vzduchového filtra a zaistite ho gombíkom.
Typ oleja: vysokokvalitný detergentný motorový olej API servisnej klasifikácie SJ alebo vyššej
Viskozita oleja: pozrite si tabuľku uvedenú nižšie:

| Servisný interval | Postup pri údržbe |
|---|---|
| Pri každom použití alebo denne |
|
Motor sa dodáva s olejom v kľukovej skrini. Pred prvým naštartovaním motora a po ňom však skontrolujte hladinu oleja.
Používajte vysokokvalitný motorový olej, ako je opísané v časti Špecifikácia motorového oleja.
Important: Neprepĺňajte kľukovú skriňu olejom.Nepoužívajte motor s olejom pod značkou nízkej hladiny.
Note: Najvhodnejší čas na kontrolu motorového oleja je vtedy, keď je motor studený alebo pred naštartovaním motora v daný deň. Ak ste už naštartovali motor, pred kontrolou nechajte olej stekať späť do olejovej vane minimálne 10 minút.
Pripravte stroj na údržbu. Pozrite si časť Príprava stroja na údržbu.
Nechajte motor vychladnúť.
Vyčistite okolie zátky plniaceho otvoru oleja a mierky (Obrázok 149).

Vyberte mierku, utrite ju dočista a potom ju úplne zasuňte.
Mierku vyberte a skontrolujte hladinu oleja.
Hladina motorového oleja musí byť medzi značkou F (plná) a L (nízka) na mierke.
Ak je hladina oleja pod značkou L (nízka), zložte zátku plniaceho hrdla a dolievajte špecifikovaný olej, kým nedosiahne po značku F (plná) na mierke.
Nasaďte zátku plniaceho otvoru oleja a mierku.
| Servisný interval | Postup pri údržbe |
|---|---|
| Po prvých 50 hodinách |
|
| Po každých 100 hodinách prevádzky |
|
Kapacita kľukovej skrine: s filtrom približne 1,9 l.
Naštartujte motor a nechajte ho bežať po dobu 5 minút. Tým sa olej zohreje a ľahšie vytečie.
Stroj zaparkujte tak, aby bola vypúšťacia strana o niečo nižšie ako opačná strana, aby sa zaistilo úplné vytečenie oleja. Vypnite motor, úplne zdvihnite a západkou zaistite riadidlo, čím sa zatiahne parkovacia brzda, a vyberte kľúč.
Pod vypúšťaciu zátku oleja umiestnite záchytnú nádobu a zložte zátku (Obrázok 150).
Note: Nechajte olej úplne vytiecť.

Naskrutkujte vypúšťaciu zátku oleja na motor a utiahnite ju.
Note: Použitý olej likvidujte v certifikovanom recyklačnom stredisku.
Pod olejový filter umiestnite plytkú nádobu a vyberte filter (Obrázok 150).
Note: Použitý olejový filter likvidujte v certifikovanom recyklačnom stredisku.
Povrch adaptéra filtra utrite dočista.
Nový olejový filter naplňte po spodnú časť závitov špecifikovaným olejom.
Nechajte filter absorbovať olej 2 minúty a potom vylejte nadbytočný olej.
Na tesnenie na filtri naneste tenkú vrstvu nového oleja.
Olejový filter zaskrutkujte na adaptér filtra, kým sa tesnenie nedotkne adaptéra filtra (Obrázok 150), a potom filter utiahnite o ďalšej ½ otáčky.

Vyčistite okolie zátky plniaceho otvoru oleja a mierky (Obrázok 152).

Odstráňte viečko na plnenie oleja a pomaly nalejte cca 80 % špecifikovaného množstva oleja cez kryt ventilu.
Pomaly pridávajte ďalší olej, aby hladina dosiahla po značku F (plná) na mierke. Pozrite si časti Špecifikácia motorového oleja a Kontrola hladiny motorového oleja.
Important: Neprepĺňajte kľukovú skriňu olejom.
Nasaďte zátku plniaceho otvoru oleja a mierku.
| Servisný interval | Postup pri údržbe |
|---|---|
| Po každých 200 hodinách prevádzky |
|
Pripravte stroj na údržbu. Pozrite si časť Príprava stroja na údržbu.
Zo zapaľovacích sviečok odpojte káble (Obrázok 153).

Vyčistite priestor okolo zapaľovacích sviečok.
Pomocou kľúča na zapaľovaciu sviečku vyberte obe zapaľovacie sviečky a kovové tesnenia.
Typ zapaľovacej sviečky: Champion RC12YC alebo ekvivalentná
Vzduchová medzera: 0,75 mm
Pozrite sa na stred oboch zapaľovacích sviečok (Obrázok 154). Ak vidíte na izolačnom prvku svetlohnedú alebo sivú farbu, motor funguje správne. Čierny povlak na izolačnom prvku zvyčajne signalizuje znečistenie vzduchového filtra.
Important: Zapaľovacie sviečky nikdy nečistite. Ak majú zapaľovacie sviečky tmavý povlak, opotrebované elektródy či olejový film alebo sú prasknuté, vždy ich vymeňte.

Skontrolujte medzeru medzi strednou a bočnou elektródou.
Ak nie je medzera správna, bočnú elektródu ohnite.
Pred inštaláciou každej zapaľovacej sviečky sa presvedčte, či je medzi stredovou a postrannou elektródou správna vzduchová medzera. Na demontáž a montáž zapaľovacích sviečok použite kľúč na zapaľovacie sviečky a vzduchovú medzeru skontrolujte a upravte pomocou hrúbkomera alebo škáromera. V prípade potreby nainštalujte nové zapaľovacie sviečky.
Zaskrutkujte zapaľovacie sviečky do otvorov na zapaľovacie sviečky v motore.
Pomocou kľúča na zapaľovaciu sviečku a uťahovacieho kľúča utiahnite zapaľovacie sviečky momentom 27 N∙m.
Pripojte drôty k zapaľovacím sviečkam (Obrázok 155).

| Servisný interval | Postup pri údržbe |
|---|---|
| Pri každom použití alebo denne |
|
Pred každým použitím mriežku motora skontrolujte a vyčistite. Odstráňte z mriežky prívodu vzduchu do motora všetku nahromadenú trávu, nečistoty alebo iné úlomky.
Palivo a palivové výpary sú za určitých podmienok extrémne horľavé a výbušné. Požiar alebo výbuch paliva môže popáliť vás a iné osoby a spôsobiť poškodenie majetku.
Palivo do palivovej nádrže dopĺňajte vonku v otvorenom priestore s vypnutým a studeným motorom. Rozliate palivo poutierajte.
Nenapĺňajte palivovú nádrž úplne doplna. Palivo do palivovej nádrže doplňte po hladinu 25 mm pod vrchnou časťou nádrže, nie plniaceho otvoru. Tento prázdny priestor v nádrži dovoľuje rozťahovanie paliva.
Pri manipulácii s palivom nikdy nefajčite a nepribližujte sa k otvorenému ohňu alebo k miestam, kde by iskra mohla zapáliť palivové výpary.
Palivo skladujte v čistých, schválených bezpečnostných nádobách s umiestneným viečkom.
| Servisný interval | Postup pri údržbe |
|---|---|
| Po každých 100 hodinách prevádzky |
|
Important: Znečistený filter po demontáži z palivového potrubia nikdy nemontujte späť.
Pripravte stroj na údržbu. Pozrite si časť Príprava stroja na údržbu.
Zatvorte ventil odpojenia prívodu paliva (Obrázok 156).


Súčasne stlačte konce hadicových svoriek a vysuňte ich z filtra.
Vyberte filter z palivových hadíc.
Zarovnajte palivový filter so šípkou ukazujúcou k motoru a namontujte palivovú hadicu na armatúry filtra.
Umiestnite hadicové svorky blízko k palivovému filtru a utiahnite svorku.
Poutierajte všetko rozliate palivo.
Otvorte uzatvárací ventil paliva.
Za určitých podmienok je palivo extrémne horľavé a veľmi výbušné. Požiar alebo výbuch paliva môže popáliť vás a iné osoby a môže spôsobiť poškodenie majetku.
Po vychladnutí motora vypustite palivo z palivovej nádrže. Robte to vonku na otvorenom priestranstve. Rozliate palivo poutierajte.
Pri vypúšťaní paliva nikdy nefajčite a nepribližujte sa k otvorenému ohňu ani k miestam, kde by iskra mohla zapáliť palivové výpary.
Pripravte stroj na údržbu. Pozrite si časť Príprava stroja na údržbu.
Zatvorte ventil odpojenia prívodu paliva (Obrázok 157).


Uvoľnite hadicovú svorku na palivovom filtri a zasuňte ju nahor do palivového potrubia smerom od palivového filtra.
Vytiahnite palivové potrubie z palivového filtra.
Otvorte ventil odpojenia prívodu paliva a nechajte palivo vytiecť do kanistra na palivo alebo do záchytnej nádoby.
Note: Teraz je najvhodnejší čas nainštalovať nový palivový filter, pretože palivová nádrž je prázdna.
Namontujte palivovú hadicu na armatúru filtra.
Umiestnite hadicovú svorku blízko k palivovému filtru a utiahnite svorku.
Pred opravovaním stroja odpojte batériu. Najskôr odpojte záporný a potom kladný pól. Najprv pripojte kladný a potom záporný pól.
Batériu nabíjajte v otvorenom a dobre vetranom priestore, v ktorom sa nevyskytujú iskry ani plamene. Pred pripojením alebo odpojením batérie odpojte nabíjačku.
Používajte ochranný odev a používajte izolované nástroje.
| Servisný interval | Postup pri údržbe |
|---|---|
| Každý rok |
|
Vrchnú časť batérie udržiavajte čistú.
Odistite a otvorte dvierka priehradky na batériu (Obrázok 158).

Vrchnú časť batérie čistite kefou namočenou v roztoku amoniaku alebo zažívacej sódy.
Important: Pri čistení neskladajte zátku plniaceho otvoru.
Čistou vodou dôkladne opláchnite povrch batérie a priehradky na batériu.
Zatvorte a zaistite dvierka priehradky na batériu.
| Servisný interval | Postup pri údržbe |
|---|---|
| Každý rok |
|
Svorky batérie alebo kovové nástroje by mohli spôsobiť skrat cez kovové časti a iskrenie. Iskry môžu spôsobiť explóziu plynov batérie s následným poranením osôb.
Pri demontáži alebo montáži batérie nedovoľte, aby sa póly batérie dotkli kovových častí stroja.
Nedovoľte, aby kovové nástroje spôsobili skrat medzi svorkami akumulátora a kovovými časťami stroja.
Nesprávne vedenie káblov batérie by mohlo viesť k poškodeniu stroja a káblov a spôsobiť iskrenie. Iskry môžu spôsobiť explóziu plynov batérie s následným poranením osôb.
Pred odpojením kladného (červeného) kábla vždy najskôr odpojte záporný (čierny) kábel batérie.
Pred pripojením záporného (čierneho) kábla vždy najskôr pripojte kladný (červený) kábel batérie.
Odistite a otvorte dvierka priehradky na batériu (Obrázok 159).

Skontrolujte, či sú svorky káblov batérie bezpečne zaistené.
Utiahnite voľný hardvér svoriek káblov batérie.
Skontrolujte, či nie sú svorky káblov a póly batérie zhrdzavené.
Ak sú póly zhrdzavené, vyberte záporný kábel batérie.
Vyberte kladný kábel batérie.
Očistite svorky káblov a póly batérie.
Pripojte kladný kábel batérie.
Pripojte záporný kábel batérie.
Na káblové svorky a póly batérie naneste ochranné mazivo Grafo 112X (diel č. 505-47 od spoločnosti Toro).
Zatvorte a zaistite dvierka priehradky na batériu.
Elektrický systém je chránený poistkou. Ak sa poistka otvára, skontrolujte uzemnenie komponentu a vodiča.
Odistite a otvorte dvierka priehradky na batériu (Obrázok 160).

Zložte kryt z poistkovej skrinky (Obrázok 161).
Note: Poistka ventilátora sa nachádza v rade za batériou (Obrázok 162).


Vyberte otvorenú poistku.
Namontujte novú poistku s menovitou hodnotou prúdu označenou na štítku na poistkovej skrinke.
Nasaďte kryt na poistkovú skrinku (alebo na radovú poistku ventilátora).
Zatvorte a zaistite dvierka priehradky na batériu.
| Servisný interval | Postup pri údržbe |
|---|---|
| Po každých 50 hodinách prevádzky |
|
Pripravte stroj na údržbu. Pozrite si časť Príprava stroja na údržbu.
Preverte, či je vo všetkých pneumatikách správny tlak vzduchu 0,83 baru. Pneumatiky kontrolujte v studenom stave – vtedy je meranie tlaku najpresnejšie.
Important: Nerovnomerný tlak vzduchu môže viesť k nerovnomernej hĺbke prevzdušňovania.

Závažie kolesa je veľmi ťažké, váži 33 kg.
Pri jeho demontáži zo zostavy pneumatiky postupujte opatrne.
| Servisný interval | Postup pri údržbe |
|---|---|
| Každý rok |
|
Hnacie remene stroja sú odolné. Bežné vystavenie pôsobeniu UV žiarenia, ozónu alebo náhodné vystavenie pôsobeniu chemických látok však môže časom gumu narušiť a spôsobiť predčasné opotrebovanie alebo zásadnú stratu (t. j. oddeľovanie alebo stratu vrstiev remeňov).
Demontujte kryt remeňa. Pozrite si časť Demontáž krytu remeňa.
Skontrolujte remene hydraulického čerpadla, pomocného hriadeľa a kľukovej skrine (Obrázok 164), či nie sú poškodené, opotrebované, nadmerne popraskané alebo či na nich nie sú veľké zachytené kusy nečistôt.
Note: V prípade potreby remene vymeňte.

Nasaďte kryt remeňa. Pozrite si časť Montáž krytu remeňa.
| Servisný interval | Postup pri údržbe |
|---|---|
| Po prvých 8 hodinách |
|
Pripravte stroj na údržbu. Pozrite si časť Príprava stroja na údržbu.
Demontujte kryt remeňa. Pozrite si časť Demontáž krytu remeňa.
Uvoľňujte skrutku s hlavou s prírubou a poistnú maticu s prírubou zaisťujúce remenicu napínacej kladky remeňa hydraulického čerpadla, kým sa skrutka nepresunie do otvoru v podpere napínacej kladky (Obrázok 165).


Ťuknite na vrchnú časť remenice napínacej kladky a pomocou napínacej pružiny upravte napnutie remeňa.
Important: Remeň nenapínajte viac, ako dovoľuje napínacia pružina, pretože môže dôjsť k poškodeniu komponentu.
Skrutku s hlavou s prírubou a poistnú maticu s prírubou utiahnite momentom 37 až 45 N∙m.
Nasaďte kryt remeňa. Pozrite si časť Montáž krytu remeňa.
V prípade vstreknutia kvapaliny pod pokožku ihneď vyhľadajte lekársku pomoc. Vstreknutú kvapalinu musí lekár chirurgicky odstrániť v priebehu niekoľkých hodín.
Pred natlakovaním hydraulického systému skontrolujte, či sú všetky hadice a vedenia hydraulickej kvapaliny v dobrom stave a či sú všetky hydraulické spojenia a armatúry pevne utiahnuté.
Nepribližujte sa žiadnou časťou tela ani rukami k otvorom ani dýzam, z ktorých uniká hydraulická kvapalina pod vysokým tlakom.
Na zisťovanie únikov hydraulickej kvapaliny používajte kartón alebo papier.
Pred vykonaním ľubovoľnej práce na hydraulickom systéme uvoľnite z hydraulického systému všetok tlak.
Prevzdušňovaciu hlavu zaistite servisnou západkou. Pozrite si časť Podopretie prevzdušňovacej hlavy servisnou západkou.
Vypnite motor.
Kľúč v zapaľovaní otočte do polohy PREVáDZKA.
V informačnom centre prejdite na položku HLAVNá PONUKA.
Stláčajte tlačidlo nadol, kým sa nevyberie možnosť SERVIS, a potom stlačte tlačidlo výberu (Obrázok 166).

Note: Prevzdušňovacia hlava sa spúšťa, kým ju úplne nezaistí servisná západka.
Stláčajte tlačidlo nadol, kým sa nevyberie možnosť SPUSTENIE PRI SERVISE, a potom stlačte tlačidlo výberu (Obrázok 167).

Kľúč otočte do polohy STOP.
Note: Naštartujte motor a nechajte ho bežať, aby sa prevzdušňovacia hlava zdvihla hydraulicky a aby ste mohli odložiť servisnú západku. Pozrite si časť Odloženie servisnej západky.
| Servisný interval | Postup pri údržbe |
|---|---|
| Pri každom použití alebo denne |
|
Pred každým použitím skontrolujte tesnosť hydraulických potrubí a hadíc, či nie sú uvoľnené armatúry, zlomené hadice, uvoľnené montážne podpery, opotrebenie a poškodenie vplyvom počasia alebo chemické poškodenie. Pred prevádzkou stroja vymeňte opotrebované alebo poškodené hydraulické potrubie.
Note: Zabráňte tomu, aby sa v okolí hydraulického systému hromadili nečistoty.
Zásobník sa vo výrobe plní vysokokvalitnou hydraulickou kvapalinou. Pred prvým naštartovaním motora a potom každý deň kontrolujte hladinu hydraulickej kvapaliny. Pozrite si časť Kontrola hladiny motorového oleja.
Odporúčaná hydraulická kvapalina: hydraulická kvapalina predlžujúca životnosť od spoločnosti Toro PX, k dispozícii v 19 l nádobách alebo 208 l bubnoch.
Note: Stroj používajúci odporúčanú kvapalinu vyžaduje menej časté výmeny kvapaliny a filtra.
Alternatívne hydraulické kvapaliny: ak nie je k dispozícii hydraulická kvapalina predlžujúca životnosť od spoločnosti Toro PX, môžete použiť inú štandardnú hydraulickú kvapalinu na báze petroleja s parametrami, ktoré zodpovedajú uvedenému rozsahu všetkých nasledujúcich vlastností materiálu a spĺňajú priemyselné normy. Nepoužívajte syntetickú kvapalinu. Vhodný produkt vám pomôže nájsť distribútor mazív.
Note: Spoločnosť Toro nenesie zodpovednosť za škody spôsobené použitím nevhodných náhradných produktov. Používajte preto len produkty od renomovaných výrobcov, ktorí ručia za svoje odporúčania.
| Vlastnosti materiálu: | ||
| Viskozita, ASTM D445 | cSt pri 40 °C, 44 až 48 | |
| Index viskozity, ASTM D2270 | 140 alebo vyšší | |
| Bod tuhnutia, ASTM D97 | –37 °C až –45 °C | |
| Priemyselné parametre: | Eaton Vickers 694 (I-286-S, M-2950-S/35VQ25 alebo M-2952-S) | |
Note: Mnoho hydraulických kvapalín je takmer bezfarebných, takže je ťažké zistiť netesnosti. K dispozícii je prísada do hydraulickej kvapaliny s červeným farbivom dodávaná vo fľašiach s objemom 20 ml. Jedna fľaša postačuje na 15 – 22 l hydraulickej kvapaliny. Objednajte si od autorizovaného distribútora spoločnosti Toro diel č. 44-2500.
Important: Syntetická, biologicky rozložiteľná hydraulická kvapalina Toro Premium je jediná syntetická, biologicky rozložiteľná kvapalina schválená spoločnosťou Toro. Táto kvapalina je kompatibilná s elastomérmi používanými v hydraulických systémoch od spoločnosti Toro a je vhodná pre rôzne teplotné podmienky. Táto kvapalina je kompatibilná s tradičnými minerálnymi olejmi, no na dosiahnutie maximálnej biologickej rozložiteľnosti a výkonu sa musí hydraulický systém dôkladne prepláchnuť štandardnou kvapalinou. Olej je k dispozícii v 19 l alebo 208 l nádobách a poskytne vám ich autorizovaný distribútor spoločnosti Toro.
| Servisný interval | Postup pri údržbe |
|---|---|
| Pri každom použití alebo denne |
|
Important: Keď je vaša prevzdušňovacia hlava v zdvihnutej polohe, skontrolujte hladinu hydraulickej kvapaliny pred prvým naštartovaním motora a následne každý deň.
Zásobník hydraulickej kvapaliny sa vo výrobe plní vysokokvalitnou hydraulickou kvapalinou.
Pripravte stroj na údržbu. Pozrite si časť Príprava stroja na údržbu.
Demontujte kryt remeňa. Pozrite si časť Demontáž krytu remeňa.
Vyčistite priestor okolo plniaceho hrdla a uzáveru hydraulickej nádrže (Obrázok 168). Zložte uzáver z plniaceho hrdla.

Vyberte mierku z plniaceho hrdla a utrite ju čistou handričkou. Zasuňte mierku do plniaceho hrdla. Potom ju vyberte a skontrolujte hladinu kvapaliny. Hladina kvapaliny musí byť po značku na mierke (Obrázok 169).

Ak je hladina nízka, dolejte špecifikovanú hydraulickú kvapalinu až po značku Full (Plná).
Namontujte mierku a uzáver na plniace hrdlo.
Nasaďte kryt remeňa. Pozrite si časť Montáž krytu remeňa.
| Servisný interval | Postup pri údržbe |
|---|---|
| Po každých 200 hodinách prevádzky |
|
| Po každých 400 hodinách prevádzky |
|
Objem nádrže hydraulickej kvapaliny: približne 6,6 l
Important: Nepoužívajte automobilové olejové filtre, inak sa môže vyskytnúť vážne poškodenie hydraulického systému.
Note: Vybratím vratného filtra sa vypustí celá nádrž kvapaliny.
Pripravte stroj na údržbu. Pozrite si časť Príprava stroja na údržbu.
Pod filtre umiestnite záchytnú nádobu, vyberte staré filtre a dočista utrite povrch tesnenia adaptéra filtra (Obrázok 170).

Na tesnenie na nových filtroch naneste tenkú vrstvu čistej hydraulickej kvapaliny.
Namontujte na adaptéry filtrov hydraulické filtre. Každý filter otáčajte v smere hodinových ručičiek, kým sa tesnenie nedotkne adaptéra filtra, a potom každý filter utiahnite o ďalšej ½ otáčky.
Dolievajte špecifikovanú hydraulickú kvapalinu, kým nedosiahne po značku Plná na mierke. Pozrite si časti Špecifikácie hydraulickej kvapaliny a Kontrola hladiny hydraulickej kvapaliny.
Naštartujte motor a nechajte ho bežať 2 minúty, aby sa zo systému vypustil vzduch. Vypnite motor, vyberte kľúč a skontrolujte úniky hydraulickej kvapaliny.
Skontrolujte hladinu hydraulickej kvapaliny. V prípade potreby dolievajte špecifikovanú hydraulickú kvapalinu, kým nedosiahne po značku PLNá na mierke.
Note: Neprepĺňajte nádrž hydraulickou kvapalinou.
Nasaďte kryt remeňa. Pozrite si časť Montáž krytu remeňa.
| Servisný interval | Postup pri údržbe |
|---|---|
| Po prvých 8 hodinách |
|
| Po každých 250 hodinách prevádzky |
|
Pripravte stroj na údržbu. Pozrite si časť Príprava stroja na údržbu.
Zložte kryt prevzdušňovacej hlavy. Pozrite si časť Zloženie krytu prevzdušňovacej hlavy.
Skontrolujte príchytky prevzdušňovacej hlavy, rukoväti rotavátora a svorníky kolies a uistite sa, že sú správne utiahnuté. Požiadavky týkajúce sa utiahnutia príchytiek sú uvedené na štítku s informáciami o uťahovaní skrutiek na drážke podpery prevzdušňovacej hlavy (Obrázok 171).

Nasaďte kryt prevzdušňovacej hlavy. Pozrite si časť Nasadenie krytu prevzdušňovacej hlavy.
Pripravte stroj na údržbu. Pozrite si časť Príprava stroja na údržbu.
Uvoľnite skrutky s hlavou a poistné matice s prírubou zaisťujúce bočný štít na ráme prevzdušňovacej hlavy (Obrázok 172).

Štít posúvajte nahor alebo nadol, kým medzi štítom a zemou nevznikne medzera 25 až 38 mm.
Utiahnite skrutky s hlavou a poistné matice s prírubou.
Zopakujte kroky 2 až 4 na druhej strane stroja.
Vymeňte kryty trávnika, ak sú zlomené alebo opotrebované na menej ako 6 mm. Zlomené kryty trávnika sa môžu zachytávať a poškodzovať trávnik.

Značky časovania prevzdušňovacej hlavy sú ľahko identifikovateľné podľa značiek na liatine na 3 puzdrách ložísk.

Pred opustením pozície operátora vykonajte nasledujúce opatrenia:
Stroj zaparkujte na rovnom povrchu.
Úplne zdvihnite a západkou zaistite riadidlo a zatiahnite tak parkovaciu brzdu.
Vypnite motor a vyberte kľúč (ak sa používa).
Počkajte, kým sa nezastavia všetky pohyblivé časti.
Pred úpravou, servisom, čistením alebo skladovaním nechajte stroj vychladnúť.
Neskladujte stroj ani nádobu na palivo na miestach, kde sa vyskytuje otvorený oheň, iskry alebo zapaľovací plamienok, napríklad na ohrievači vody alebo inom spotrebiči.
Pri nabíjaní batérie sa vytvárajú plyny, ktoré môžu explodovať.
Nikdy nefajčite v blízkosti batérie a nepribližujte sa k nej s iskrami ani plameňmi.
Pripravte stroj na údržbu. Pozrite si časť Príprava stroja na údržbu.
Odpojte drôt zapaľovacej sviečky.
Z vonkajších častí celého stroja, najmä z motora a hydraulického systému, odstráňte trávu, nečistoty a hlinu. Odstráňte nečistoty a plevy z vonkajších častí hlavy valcov motora a plášťa dúchadla.
Vykonajte servis čističa vzduchu. Pozrite si časť Údržba vzduchového filtra.
Vymeňte motorový olej. Pozrite si časť Výmena motorového oleja a filtra.
Vymeňte hydraulické filtre a kvapalinu. Pozrite si časť Výmena hydraulickej kvapaliny a filtrov.
Skontrolujte tlak pneumatík. Pozrite si časť Kontrola tlaku pneumatík.
Skontrolujte stav hrotov.
Ak stroj skladujete po sezóne, vykonajte všetky kroky uvedené v časti Uskladnenie strojana dobu kratšiu ako 30 dní a toto:
Skontrolujte a utiahnite všetky západky, matice a skrutky. Každú poškodenú alebo opotrebovanú časť opravte alebo vymeňte.
Umyte a vysušte celý stroj. Demontujte, vyčistite a naolejujte hroty. Na ložiská prevzdušňovacej hlavy nastriekajte jemnú olejovú vrstvu (spoje kľuky a tlmiča).
Important: Stroj môžete umývať jemným čistiacim prostriedkom a vodou. Na umývanie stroja nepoužívajte tlak. Vyhnite sa nadmernému používaniu vody, najmä v blízkosti ovládacieho panela, motora, hydraulických čerpadiel a motorov.
Note: Po umytí nechajte stroj 2 až 5 minút bežať pri vysokých voľnobežných otáčkach motora.
Natrite všetky poškriabané alebo kovové plochy. Farbu na takýto náter dodáva autorizovaný distribútor spoločnosti Toro.
Ak sa stroj chystáte skladovať viac ako niekoľko dní, zaistite servisnú západku.
Stroj skladujte v čistej a suchej garáži alebo skladovacom priestore. Vyberte kľúč zo spínača zapaľovania a odložte ho mimo dosahu detí alebo iných neoprávnených osôb.
Stroj zakryte, aby ste ho chránili, a udržiavajte ho v čistote.
Do paliva v nádrži pridajte stabilizátor/kondicionér na báze nafty. Dodržte pokyny na zmiešanie od výrobcu stabilizátora. Nepoužívajte stabilizátor na báze alkoholu (etanolu ani metanolu).
Note: Stabilizátor/kondicionér paliva je najúčinnejší, keď sa zmieša s čerstvým palivom a používa sa neustále.
Important: Palivo obsahujúce stabilizátor/kondicionér neskladujte dlhšie, ako odporúča výrobca stabilizátora paliva.
Naštartujte motor a upravené palivo sa do palivového systému dostane za 5 minút.
Vypnite motor, nechajte ho vychladnúť a vypustite palivovú nádrž. Pozrite si časť Vypúšťanie palivovej nádrže.
Naštartujte motor a nechajte ho v prevádzke, kým sa nezastaví.
Použite sýtič motora. Naštartujte motor a nechajte ho bežať, až kým ho už nebude možné naštartovať.
Vyberte zapaľovacie sviečky a skontrolujte ich stav. Pozrite si časť Servis zapaľovacích sviečok. Po vybratí zapaľovacích sviečok z motora nalejte do otvoru na každej sviečke 2 polievkové lyžice motorového oleja. Teraz pomocou štartéra roztočte motor, čím sa olej distribuuje dovnútra valcov. Namontujte zapaľovacie sviečky. Neinštalujte káble na zapaľovacie sviečky.
Note: Palivo zlikvidujte správnym spôsobom. Recyklujte ho podľa miestnych predpisov.
Odpojte svorky batérie z pólov batérie a vyberte batériu zo stroja.
Batériu, svorky a póly vyčistite drôtenou kefou a roztokom zažívacej sódy.
Na káblové svorky a póly batérie naneste ochranné mazivo Grafo 112X (diel č. 505-47 od spoločnosti Toro) alebo vazelínu, aby ste predišli korózii.
Batériu pomaly nabíjajte 24 hodín, a to každých 60 dní, aby ste predišli tvoreniu sírana olovnatého v batérii. Ak chcete zabrániť zamrznutiu batérie, uistite sa, že je úplne nabitá. Relatívna hustota v úplne nabitej batérii je 1,265 až 1,299.
Batériu skladujte na polici alebo stroji. Ak ju skladujete na stroji, nechajte káble odpojené. Batériu skladujte v chladnom prostredí, aby ste zabránili rýchlemu zhoršeniu stavu nabitia.
| Problem | Possible Cause | Corrective Action |
|---|---|---|
| Štartér nenaštartujte motor. |
|
|
| Motor neštartuje, štartuje ťažko alebo sa zastavuje. |
|
|
| Motor stráca výkon. |
|
|
| Motor sa prehrieva. |
|
|
| Dochádza k abnormálnym vibráciám. |
|
|
| Stroj nejazdí. |
|
|
| Prevzdušňovacia hlava nejazdí. |
|
|
| Hlava pri prevzdušňovaní nadskakuje. |
|
|
| Na vstupe sa na trávniku tvoria trsy/trávnik sa poškodzuje. |
|
|
| Pri používaní hrotov s bočným vysúvaním valcov zeminy sa na dierach vytvárajú trsy. |
|
|
| Trávnik sa pri prevzdušňovaní zdvíha/poškodzuje. |
|
|
| Predná časť diery je jamkovitá alebo zatlačená. |
|
|