| Servisný interval | Postup pri údržbe |
|---|---|
| Pri každom použití alebo denne |
|
Tento stroj je pojazdná kosačka s kotúčovými čepeľami určená na používanie profesionálnymi operátormi v komerčných aplikáciách. Primárne je určený na kosenie trávy na udržiavaných trávnikoch. Používanie tohto výrobku na iné účely, ako je určené, môže byť pre vás a osoby v blízkosti nebezpečné.
Pri prevádzke v autonómnom režime je táto robotická kosačka s kotúčovými čepeľami určená na použitie profesionálnymi, najatými prevádzkovateľmi na autonómnu starostlivosť o trávnik v komerčných aplikáciách. Primárne je určená na kosenie trávy na dobre udržiavaných trávnikoch na pozemkoch, ktoré spĺňajú požiadavky spoločnosti Toro uvedené v Kritériá pre posúdenie vhodnosti lokality pre autonómnu prevádzku. Používanie tohto výrobku na iné účely, ako je určené, môže byť pre vás a osoby v blízkosti nebezpečné.
Pozorne si prečítajte tieto informácie s cieľom oboznámiť sa, ako správne prevádzkovať a udržiavať produkt a tiež ako predchádzať zraneniam a poškodeniu produktu. Nesiete zodpovednosť za správnu a bezpečnú prevádzku produktu.
Na lokalite www.Toro.com získate ďalšie informácie vrátane bezpečnostných tipov, školiacich materiálov týkajúcich sa prevádzky, informácií o príslušenstve a tiež pomoc pri hľadaní predajcu alebo registrácii výrobku.
Ak potrebujete servis, originálne diely od spoločnosti Toro alebo doplňujúce informácie, obráťte sa na autorizovaného distribútora spoločnosti Toro a pripravte si číslo modelu a sériové číslo svojho produktu. Obrázok 1 identifikuje umiestnenie čísla modelu a sériového čísla na výrobku. Čísla napíšte do poskytnutého priestoru.
Important: Pomocou mobilného zariadenia môžete naskenovať kód QR na štítku so sériovým číslom (ak sa nachádza na stroji) a získate tak prístup k informáciám o záruke, náhradných dieloch a k ďalším informáciám o výrobku.

Symbol bezpečnostného upozornenia (Obrázok 2) zobrazený v tejto príručke aj na stroji identifikuje dôležité bezpečnostné upozornenia, ktoré je nutné dodržiavať, aby ste predišli nehodám.

Symbol bezpečnostného upozornenia sa zobrazí nad informáciami, ktoré vás upozorňujú na nebezpečné činnosti alebo situácie: nasleduje za ním slovo NEBEZPEČENSTVO, VÝSTRAHA alebo UPOZORNENIE.
NEBEZPEČENSTVO označuje bezprostredne hroziacu nebezpečnú situáciu, ktorá, ak sa jej nezabráni, povedie k smrti alebo vážnemu úrazu.
VÝSTRAHA označuje potenciálne nebezpečnú situáciu, ktorá, ak sa jej nezabráni, môže viesť k smrti alebo vážnemu úrazu.
UPOZORNENIE označuje potenciálne nebezpečnú situáciu, ktorá, ak sa jej nezabráni, môže viesť k menšiemu až strednému úrazu.
V tejto príručke sa používajú na zvýraznenie informácií aj dve ďalšie slová. Dôležité upriamuje pozornosť na špeciálne mechanické informácie a Poznámka zdôrazňuje všeobecné informácie, ktorým treba venovať osobitnú pozornosť.
Tento stroj je navrhnutý na prevádzku v dvoch režimoch:
Manuálny režim: prevádzkový režim stroja, v ktorom funkcie stroja ovláda operátor.
Autonómny režim: prevádzkový režim stroja, v ktorom stroj vykonáva funkcie súvisiace s jeho definovanými úlohami bez zásahu operátora. Prevádzku namiesto toho monitoruje kvalifikovaný prevádzkový technik.
Pri prevádzke stroja(-ov) v autonómnom režime vo vhodnej lokalite postupujte podľa týchto pokynov.
Priama trasa je trasa, po ktorej sa stroje môžu pohybovať bez toho, aby narazili na prekážky, keď sú prevádzkované v autonómnom režime.
Prekážka bráni tomu, aby boli stroje nepretržite prevádzkované v autonómnom režime. Systém detekcie prekážok je navrhnutý tak, aby zastavil stroj, keď deteguje niektorú z nasledujúcich prekážok:
ploty (napr. masívne steny alebo drôtené ploty; laná a dočasné oplotenia sa nepovažujú za dostatočné prekážky),
oporné múry,
súvislé rady živých plotov alebo porastov vyšších ako 1 m alebo bez medzier väčších ako šírka stroja,
priekopy,
vodné toky,
jazerá,
budovy,
sklony príliš strmé na to, aby ich stroje prekonali,
akýkoľvek iný neprejazdný terén, ktorý stroj fyzicky nedokáže prekonať.
Autonómna prevádzková zóna (AOA) je zóna definovaná prevádzkovateľom, v ktorej môžu stroje v autonómnom režime postupovať po priamej trase.
Neprevádzková zóna (NOA) je zóna definovaná prevádzkovateľom, v ktorej stroje v autonómnom režime nemôžu postupovať po priamej trase.
Vhodná lokalita spĺňa všetky Bezpečnostné kritériá autonómnej prevádzkovej zóny.
Predtým, ako povolíte prevádzku stroja v autonómnom režime, uistite sa, že hranica zóny AOA je nastavená najmenej 10 m od akéhokoľvek z nasledujúcich nebezpečenstiev:
Note: Ak sa medzi strojom a niektorým z nasledujúcich nebezpečenstiev nachádza prekážka (napr. pevná stena alebo neprechodný terén), uistite sa, že hranica zóny AOA je nastavená najmenej 2 m od tejto prekážky.
Verejná cesta je cesta, na ktorej je povolená jazda vozidiel (napr. automobilov, terénnych vozidiel a bicyklov), ale nie je určená pre chodcov.
Ak sú verejné priestory alebo chodníky počas autonómnej prevádzky uzavreté pre verejnosť, vyššie uvedené obmedzenia týkajúce sa hraníc zóny AOA sa neuplatňujú.
Verejná cyklistická trasa je trasa určená na každodenné využívanie širokou verejnosťou, na ktorej je povolená jazda na ľahkých dvojkolesových dopravných prostriedkoch (napr. bicykloch a kolobežkách).
Ak sú verejné priestory alebo chodníky počas autonómnej prevádzky uzavreté pre verejnosť, vyššie uvedené obmedzenia týkajúce sa hraníc zóny AOA sa neuplatňujú.
Verejný chodník je verejná cesta určená pre širokú verejnosť, na ktorej nie je povolená jazda vozidiel.
Ak sú verejné priestory alebo chodníky počas autonómnej prevádzky uzavreté pre verejnosť, vyššie uvedené obmedzenia týkajúce sa hraníc zóny AOA sa neuplatňujú.
Hlboký výkop alebo spád je piesková jama alebo priehlbina s hĺbkou 1,5 m alebo viac v okruhu 1,0 m od okraja jamy.
Priestory technickej údržby zahŕňajú budovy a príslušné vonkajšie priestory, ktoré slúžia výlučne personálu pracoviska na údržbu a skladovanie zariadení vrátane strojov. Verejnosť a ostatní zamestnanci pracoviska, ktorí sa nezúčastňujú na údržbe zariadení, nemajú prístup do priestorov technickej údržby ani do príslušných vonkajších priestorov.
Súkromný pozemok je akákoľvek zóna, do ktorej nemáte povolený vstup.
Important: Príliš strmé svahy môžu byť zahrnuté do zóny AOA alebo sa môžu nachádzať vo vzdialenosti menšej ako 10 m od hranice zóny AOA, musia však byť ohraničené hranicou zóny NOA.
Zmerajte uhly svahu tak, že na najstrmšiu časť svahu položíte drevenú dosku s dĺžkou 1,25 m a na dosku umiestnite sklonomer.
Nedovoľte, aby boli stroje prevádzkované v autonómnom režime na príliš strmých svahoch, ako je tu definované.
Stroj nepoužívajte na svahoch so sklonom 14° alebo viac (25 %) na horizontálnej vzdialenosti väčšej ako 10 m.
Stroj nepoužívajte na svahoch so sklonom väčším ako 15° (27 %).
Kvalifikovaný prevádzkovateľ stroja (prevádzkový technik)
Jedna alebo viacero osôb zodpovedných za dohľad nad prevádzkou strojov. Prevádzkovateľ preukáže:
Správne ovládanie stroja
Všeobecnú znalosť energetických, hnacích a riadiacich systémov strojov
Absolvovanie školenia, prečítanie si a porozumenie používateľským príručkám strojov
Kvalifikovaný operátor (operátor)
Jeden alebo viacero zamestnancov zákazníka, ktorí sú zodpovední za manuálne ovládanie stroja, keď je v manuálnom režime.
Núdzové zastavenie na zariadení
Tlačidlo núdzového zastavenia (e-stop), ktoré je umiestnené na stroji a pripevnené k nemu. Tento spínač funguje len vtedy, keď je stroj v autonómnom režime.
Mobilné zariadenie
Mobilné zariadenie prevádzkovateľa (napr. smartfón alebo tablet), ktoré sa pripája k stroju za účelom programovania, riadenia a monitorovania stroja počas jeho prevádzky v autonómnom režime. Toto zariadenie slúži ako diaľkové vypínacie zariadenie, ktoré musí mať prevádzkovateľ pri sebe, aby v prípade potreby mohol na príkaz zastaviť všetky funkcie strojov.
Rada – hlásenie, ktoré informuje používateľa o chybe obsluhy alebo o čomkoľvek, čo môže spôsobiť pozastavenie alebo zastavenie úlohy a môže si vyžiadať zásah používateľa.
App – skratka pre softvérovú aplikáciu. Počítačový program v mobilnom zariadení, ktorý vykonáva jednu alebo viacero úloh. Tiež nazývaná aplikácia, mobilná aplikácia alebo webová aplikácia.
Autonómny ovládací systém (ACS) – systém pozostávajúci zo softvéru a hardvéru, ktorý umožňuje stroju vykonávať úlohy bez zásahu človeka počas dlhého časového obdobia.
Autonómny režim – prevádzkový režim stroja, v ktorom stroj vykonáva funkcie súvisiace s jeho definovanými úlohami bez zásahu operátora. Protiklad k manuálnemu režimu.
Autonómna prevádzková zóna (AOA) – zóna, v ktorej je povolená autonómna prevádzka. V rámci tejto zóny sa stroj môže slobodne rozhodnúť, akými dráhami sa bude pohybovať pri presune z jedného miesta na druhé. Ide zvyčajne o zónu s malým počtom pevných prekážok. V prostredí golfového ihriska sa v tejto oblasti nachádza aspoň časť fairwaye alebo miesto vyzdvihnutia.
Základná stanica – v kontexte terénneho geodetického merania ide o prijímač GNSS umiestnený na presne známej, pevnej polohe, ktorý slúži na odvod korekčných údajov pre prenosné prijímače GNSS v okolí. Pozri tiež Globálny systém polohovania prijímač GNSS.
Hranica – niečo, čo označuje alebo vymedzuje limit alebo rozsah. V prípade robota ide o vonkajšiu, nepriechodnú hranicu pracovnej zóny, trasy alebo zakázanej zóny. Takisto sa nazýva obvod. Pozri tiež: Prevádzková zóna; Trasa; Zakázaná zóna.
Stredová čiara – čiara, ktorá vedie stredom celej fairwaye. Pri kosení v tvare motýlika stroj pri kosení kopíruje zakrivenie tejto línie.
Súvislá kosená plocha (CMA) – plocha, na ktorej sa vykonáva kosenie. Na mape je znázornená svetlozelenou čiarou vnútri AOA. Týmto sa určí plocha, ktorú stroj pokosí. CMA môže mať vnútorné otvory, ide však o jediný uzavretý priestor, ktorý sa musí v celom rozsahu nachádzať v rámci jednej AOA. Na golfovom ihrisku to zvyčajne zodpovedá fairwayi alebo časti fairwaye v prípade, že je fairway rozdelená na viacero častí prírodnými prekážkami (napr. jazerom).
Smer hry (D.o.P) – v golfovej terminológii sa smerom hry rozumie smer od odpaliska ku greenu. Pri autonómnom kosení je možné pri vytváraní vlastných vzorov kosenia využiť smer pohybu. Stroj môže kosiť v smere hry alebo proti nemu, prípadne ho možno naprogramovať tak, aby kosil pod uhlom k smeru hry.
Zakázaná zóna – zóna, ktorú operátor určil ako oblasť, do ktorej robot nesmie vstúpiť. Pozri Neprevádzková zóna (NOA).
Porucha – dôsledok mechanickej, senzorovej alebo softvérovej chyby, ktorý si vyžaduje servis alebo opravu stroja, senzora alebo softvérového kódu.
Globálny navigačný satelitný systém (GNSS) – všeobecný pojem označujúci súbor globálnych konštelácií používaných na lokalizáciu satelitov. Pozri tiež Globálny polohovací systém.
Globálny polohovací systém (GPS) – navigačný systém so sídlom v USA, založený na konštelácii satelitov, ktorý využíva digitálny signál z každého satelitu na odosielanie údajov do prijímača. Tento prijímač potom dokáže určiť približnú vzdialenosť od satelitu, ako aj geografickú polohu (GP) satelitu, čo je miesto na zemi priamo pod satelitom.
GNSS anténa – zariadenie slúžiace na príjem a zosilňovanie rádiových signálov vysielaných na rôznych frekvenciách zo satelitov GNSS. Pozri tiež Globálny navigačný satelitný systém; Globálny polohovací systém.
GNSS prijímač – zariadenie, ktoré dokáže prijímať informácie zo satelitov GNSS. Tiež nazývané satelitné navigačné zariadenie. Pozri tiež Globálny navigačný satelitný systém.
Prejsť na miesto vyzdvihnutia – správanie, pri ktorom sa stroj na požiadanie prevádzkovateľa autonómne vráti na vopred stanovené miesto.
Jamka – typ oblasti zaznamenanej operátorom v rámci CMA, ktorou môže robot prechádzať, ale nesmie ju kosiť. V prípade, že stroj nesmie počas autonómnej prevádzky nikdy vstúpiť do určitej oblasti, zaznamenajte túto oblasť ako NOA; pozri Neprevádzková oblasť (NOA).
Trasy v rámci AOA – trasy, ktorými sa stroj môže pohybovať v rámci AOA. Na mape sú znázornené oranžovými čiarami. Tieto definované trasy zvyčajne zodpovedajú trasám, ktoré už využívajú stroje riadené ľuďmi. Stroj bude pri presúvaní medzi bodmi AOA prechádzať týmito trasami presne alebo s veľmi malou odchýlkou.
LiDAR (laserové snímanie, detekcia a meranie vzdialenosti) ~ pozri Typy senzorov.
Lokalizácia – proces určovania polohy mobilného robota vo vzťahu ku globálnemu referenčnému rámcu. Lokalizácia je jednou zo základných schopností, ktoré musí robot ovládať, pretože znalosť svojej polohy je nevyhnutná na prijímanie rozhodnutí o ďalších krokoch.
Manuálny režim – prevádzkový režim stroja, v ktorom funkcie stroja ovláda operátor. Protiklad k autonómneho režimu.
Mapovanie – postup spočívajúci v zaznamenávaní polohy a tvaru relevantných prvkov v prostredí a ich presnom uložení v globálnom referenčnom rámci.
Úloha – súbor prác, ktoré má stroj vykonať.
Navigácia – schopnosť robota určiť svoju polohu vo vlastnom referenčnom systéme a naplánovať trasu k určitému cieľovému bodu.
Neprevádzková zóna (NOA) – zóna, v ktorej je zakázaná autonómna prevádzka. Tento typ zóny sa používa na označenie prírodnej prekážky alebo prekážky, oblasti v rámci zóny AOA alebo oblasti v rámci zóny CMA, do ktorej by stroj počas autonómnej prevádzky nikdy nemal vstúpiť (napr. jazerá, pieskové výkopy alebo jamy).
Objekt – prekážka alebo stav terénu, ktorý môže spôsobiť poškodenie alebo sa poškodí v prípade kontaktu alebo zrážky so strojom. Predmety dokáže rozpoznať systém detekcie predmetov stroja. Pozri časť Detekcia predmetov.
Detekcia objektov – proces rozpoznávania objektov alebo typov terénu, ktoré bránia pohybu robota.
Prekážka – typ terénneho prvku alebo objektu, ktorý by mohol spôsobiť poškodenie stroja alebo obmedziť jeho prevádzku, ak nie je naprogramovaný tak, aby sa tejto oblasti vyhol.
Blokáda – typ terénneho prvku alebo objektu, ktorý stroj nedokáže prekonať. Príklady blokád:
ploty
budovy,
oporné múry,
vodné útvary,
výkopy,
odvodňovacie otvory pre zavlažovanie,
mreže.
Režim zaparkovania – režim prevádzky stroja, v ktorom je prepínač medzi autonómnym a manuálnym režimom prepnutý do automatického režimu, ale systém ACS nie je pripravený alebo je vypnutý. Režim zaparkovania môže nastať aj vtedy, keď operátor alebo nejaký predmet v okolí preruší autonómnu prevádzku stroja a donúti stroj, aby sa sám zaparkoval, kým sa problém nevyrieši.
Trasa – autonómna, používateľom naprogramovaná cesta, po ktorej sa robot môže pohybovať. Pri úlohe s viacerými fairwayami využíva kosačka trasy na autonómny pohyb medzi fairwayami. Tiež známa ako tranzitná trasa.
Obvod – pozri časť Hranica.
Miesto vyzdvihnutia – miesto v rámci zóny AOA, kde obsluha odstaví/vyzdvihne stroj pred/po kosení alebo iných prácach. Na mape je znázornené modrým písmenom P vnútri modrého kruhu. Stroj sa môže vrátiť do tohto bodu, ak to nariadi prevádzkovateľ.
Tyč – určený bod na mape, ktorý zariadenie považuje za bod NOA. Tieto body sa mapujú jednotlivo a pomocou súboru orientačných bodov je možné presne vymedziť oblasti, ktorým by sa stroj mal vyhnúť. Je to užitočné na vylúčenie oblastí, ktorým by sa stroj mal vyhnúť, bez potreby mapovať celú zónu NOA. Pozri časť Neprevádzková zóna (NOA).
Senzory priblíženia – pozri časť Typy senzorov.
Radar – pozri časť Typy senzorov.
Kinematika v reálnom čase (RTK) – korekcia geografickej polohy v reálnom čase (s presnosťou menej ako 3 cm za optimálnych podmienok) pomocou satelitných signálov zasielaných do stacionárnej a presne lokalizovanej základne. Informácie z RTK sa potom zvyčajne prenášajú do stroja prostredníctvom mobilného internetového pripojenia.
Satelitné navigačné zariadenie – pozri časť Prijímač GNSS.
Snímanie – spätná väzba z okolia robota, ktorá mu umožňuje reagovať na svoje okolie. Senzorické vstupy môžu pochádzať z rôznych typov senzorov.
Senzor – zariadenie, ktoré reaguje na fyzikálne podnety (vrátane okrem iného tepla, svetla, zvuku, tlaku, magnetizmu a pohybu) a prenáša výsledný signál alebo údaje, ktoré slúžia na meranie, ovládanie alebo oboje. Senzor môže napríklad odhadnúť stav robota a jeho okolia. Tieto informácie sa odosielajú do riadiacej jednotky, aby sa zabezpečilo správne fungovanie. Robot potrebuje na efektívne fungovanie množstvo informácií o svojom okolí.
Typy senzorov – senzory poskytujú vstupné údaje podobné ľudským zmyslom a dokážu monitorovať ďalšie fyzikálne vlastnosti okolia, pričom tieto informácie prevádzajú do digitálnej podoby.
Polohové senzory – tieto senzory zisťujú polohu objektu. Môžu udávať absolútnu polohu objektu (jeho umiestnenie) alebo jeho relatívnu polohu (posun) vyjadrenú ako lineárny posun, uhol otáčania alebo trojrozmerný priestor.
Senzory priblíženia – tieto senzory detegujú objekt bez toho, aby sa ho dotýkali.
Ultrazvukový senzor
LiDAR
Radar
Stavy – ide o súbory vlastností stroja a jeho stav v danom okamihu.
Kontrolná aplikácia – pozri časť Aplikácia.
Práca – základný stavebný kameň úlohy. Práce vyberá operátor stroja ako súčasť danej úlohy a predstavujú jednotku práce, ktorú má stroj vykonať autonómne.
Ultrazvukový – pozri časť Typy senzorov.
Výrobok vyhovuje všetkým príslušným európskym smerniciam. Podrobnosti nájdete v samostatnom hárku so špecifickým vyhlásením o zhode.
Používanie alebo prevádzka motora na ľubovoľnom území pokrytom lesom, kríkmi alebo trávou porušuje odsek 4442 alebo 4443 zákona California Public Resource Code, ak nie je motor vybavený zachytávačom iskier definovaným v odseku 4442, ktorý sa udržiava v efektívnom prevádzkovom stave, prípadne ak nie je motor skonštruovaný, vybavený a udržiavaný na predchádzanie požiaru.
Priložená používateľská príručka k motoru obsahuje informácie o Agentúre na ochranu životného prostredia USA (EPA) a kalifornskej smernici týkajúcej sa kontroly emisií – emisné systémy, údržba a záruka. Náhradné diely možno objednávať od výrobcu motora.
Používanie tohto stroja v nadmorskej výške 1 000 m vyžaduje dýzu pre vysokú nadmorskú výšku. Ďalšie informácie nájdete v používateľskej príručke k motoru Kawasaki.
|
Certifikácia týkajúca sa elektromagnetickej kompatibility |
Dôležité upozornenieFederálna komisia pre komunikácie upozorňuje, že akékoľvek zmeny alebo úpravy rádiového modulu v tomto zariadení, ktoré neboli výslovne schválené spoločnosťou Toro, môžu viesť k zrušeniu oprávnenia používateľa na prevádzku zariadenia. Toto zariadenie sa testovalo a zistilo sa, že spĺňa limity úradu FCC uvedené v odseku 15 pre digitálne zariadenie triedy A. Tieto limity sú navrhnuté tak, aby zaručovali primeranú ochranu pred škodlivým rušením pri prevádzke zariadenia v komerčnom prostredí. Toto zariadenie vytvára a využíva rádiofrekvenčnú energiu a môže ju vyžarovať, a ak sa nenamontuje a nepoužíva správne, teda v súlade s týmto návodom na obsluhu, môže spôsobovať škodlivé rušenie rádiového signálu. Prevádzka tohto zariadenia v obytnej oblasti môže spôsobiť rušenie, pričom v takom prípade bude používateľ povinný toto rušenie odstrániť na vlastné náklady. |
|
Toto zariadenie spĺňa požiadavky noriem RSS organizácie Industry Canada, na ktoré sa nevzťahuje povinnosť získania licencie. Prevádzka musí spĺňať tieto dve podmienky: (1) toto zariadenie nemôže spôsobovať rušenie a (2) toto zariadenie musí prijímať akékoľvek rušenie vrátane rušenia spôsobujúceho nežiaducu prevádzku zariadenia. |
|
Le présent appareil est conforme aux CNR d'Industrie Canada applicables aux appareils radio exempts de licence. L'exploitation est autorisée aux deux conditions suivantes : (1) l'appareil ne doit pas produire de brouillage, et (2) l'utilisateur de l'appareil doit accepter tout brouillage radioélectrique subi, même si le brouillage est susceptible d'en compromettre le fonctionnement. |
|
Podľa predpisov Industry Canada smie tento rádiový vysielač pracovať iba s anténou typu a s maximálnym (alebo nižším) ziskom, ktoré pre tento vysielač schválila spoločnosť Industry Canada. Aby sa znížilo potenciálne rádiové rušenie ostatných používateľov, typ antény a jej zisk by mali byť zvolené tak, aby ekvivalentný izotropne vyžiarený výkon (e.i.r.p.) neprekročil hodnotu potrebnú na úspešnú komunikáciu. |
|
Tento rádiový vysielač IC: 26511-RUT956AF bol schválený spoločnosťou Industry Canada na prevádzku s typmi antén uvedenými nižšie s maximálnym povoleným ziskom a požadovanou impedanciou antény pre každý uvedený typ antény. Typy antén, ktoré nie sú zahrnuté v tomto zozname a majú zisk vyšší ako maximálny zisk uvedený pre daný typ, sú prísne zakázané na použitie s týmto zariadením. |
|
Conformément à la réglementation d'Industrie Canada, le présent émetteur radio peut fonctionner avec une antenne d'un type et d'un gain maximal (ou inférieur) approuvé pour l'émetteur par Industrie Canada. Dans le but de réduire les risques de brouillage radioélectrique à l'intention des autres utilisateurs, il faut choisir le type d'antenne et son gain de sorte que la puissance isotrope rayonnée équivalente (p.i.r.e.) ne dépasse pas l'intensité nécessaire à l'établissement d'une communication satisfaisante. |
|
Le présent émetteur radio IC: 26511-RUT956AFa été approuvé par Industrie Canada pour fonctionner avec les types d'antenne énumérés ci-dessous et ayant un gain admissible maximal et l'impédance requise pour chaque type d'antenne. Les types d'antenne non inclus dans cette liste, ou dont le gain est supérieur au gain maximal indiqué, sont strictement interdits pour l'exploitation de l'émetteur. |
|
Anténa: The Toro Company, model 145-0335, TAOGLAS, TLS.01.1F11, všesmerová, maximálny výkon 5,0 (dBi) |
KALIFORNIE
Dôležité upozornenie, poučka 65
Výfukový plyn z tohto výrobku obsahuje chemikálie, ktoré sú v štáte Kalifornia známe tým, že spôsobujú rakovinu, vrodené poruchy alebo iné reprodukčné poškodenie.
Vývody batérie, zvorky a s nimi súvisiace príslušenstvo obsahujú olovo a jeho zlúčeniny, čiže chemické látky, ktoré sú v štátě Kalifornia známe ako látky vyvolávajúce rakovinu a negatívne ovplyvňujúce reprodukciu. Po manipulácii s batériou si riadne umyte ruky.
Používanie tohto produktu môže spôsobiť vystavenie pôsobeniu chemických látok, o ktorých je v štáte Kalifornia známe, že spôsobujú rakovinu a vrodené chyby alebo poškodzujú reprodukčné orgány.
Tento produkt môže odletujúcimi predmetmi amputovať ruky a chodidlá.
Pred naštartovaním motora si prečítajte túto používateľskú príručku a oboznámte sa s jej obsahom.
Práca so strojom si vyžaduje maximálnu pozornosť. Nerozptyľujte sa žiadnym spôsobom, v opačnom prípade môže dôjsť k zraneniu alebo poškodeniu majetku.
Do blízkosti pohyblivých dielov stroja nedávajte ruky ani nohy.
Pri prevádzke stroja musia byť všetky kryty a ostatné bezpečnostné ochranné zariadenia na stroji na mieste a správne funkčné.
Zabráňte okolostojacim a deťom zdržiavať sa v pracovnej oblasti. Nikdy nedovoľte, aby stroj obsluhovali deti.
Ak sa nechystáte prevádzkovať stroj v autonómnom režime, stroj vypnite, vyberte kľúč zo zapaľovania a pred opustením polohy operátora počkajte, kým sa všetky pohyby úplne zastavia. Pred úpravou, servisom, čistením alebo skladovaním nechajte stroj vychladnúť.
Nesprávne používanie alebo údržba
tohto stroja môže mať za následok zranenie.
S cieľom vyhnúť sa potenciálnemu
zraneniu dodržiavajte tieto bezpečnostné pokyny
a vždy venujte pozornosť bezpečnostnému
výstražnému symbolu
, ktorý
znamená Upozornenie, Výstraha alebo Nebezpečenstvo
– osobné bezpečnostné pokyny. Nedodržanie
týchto pokynov môže zapríčiniť
zranenie alebo smrť.
Note: Bezpečnosť v autonómnom režime dopĺňa bezpečnosť v bežnom/manuálnom režime.
Prevádzkovateľ stroja je zodpovedný za všetky nehody alebo nebezpečenstvá, ktoré vzniknú iným osobám alebo v súvislosti s ich majetkom.
Predtým, ako stroj uvediete do autonómneho režimu, si prečítajte všetky tieto pokyny a varovania, porozumejte im a dodržiavajte ich.
Nesprávne používanie alebo údržba tohto stroja môže mať za následok vážne zranenie alebo smrť. Tento potenciál znížite dodržiavaním všetkých bezpečnostných pokynov.
Nedovoľte, aby obsluhu alebo servis stroja vykonávali deti alebo nevyškolené osoby. Obsluhu alebo servis stroja povoľte len ľuďom, ktorí sú zodpovední, zaškolení, oboznámení s pokynmi a fyzicky schopní vykonávať tieto činnosti.
Nikdy nedovoľte, aby stroj obsluhovali alebo servis vykonávali deti alebo nevyškolené osoby. Miestne predpisy môžu obmedzovať vek obsluhy. Majiteľ zodpovedá za školenie všetkých operátorov a mechanikov.
Oboznámte sa s bezpečnou prevádzkou zariadenia, ovládacími prvkami operátora a bezpečnostnými označeniami.
Skôr než odídete z polohy operátora, zatiahnite parkovaciu brzdu, vypnite stroj, vyberte kľúč a počkajte, kým sa všetky časti neprestanú pohybovať. Pred úpravou, servisom, čistením alebo skladovaním nechajte stroj vychladnúť.
Naučte sa, ako sa stroj rýchlo zastavuje a ako sa rýchlo vypína.
Skontrolujte, či sú pripojené a správne fungujú ovládacie prvky vyžadujúce prítomnosť operátora, bezpečnostné spínače a bezpečnostné ochranné zariadenia. Ak nefungujú správne, stroj nepoužívajte.
Pred kosením vždy skontrolujte stroj a uistite sa, že sú rezacie jednotky v dobrom prevádzkovom stave.
Skontrolujte oblasť, v ktorej budete používať stroj, a odstráňte všetky predmety, ktoré by mohli odlietavať od stroja.
Note: Bezpečnosť v autonómnom režime dopĺňa bezpečnosť v bežnom/manuálnom režime.
Skontrolujte oblasť, v ktorej budete používať stroj, a odstráňte všetky cudzie predmety, ktoré by mohli odlietavať od stroja.
Oboznámte sa s bezpečnou prevádzkou zariadenia, ovládacími prvkami operátora a bezpečnostnými označeniami.
Musíte vedieť, ako stroj zastaviť a zároveň zabrániť pohybu akýchkoľvek dielov.
Pri prevádzke stroja musia byť všetky kryty a ostatné bezpečnostné ochranné zariadenia na stroji na mieste a musia fungovať správne.
Zabráňte okolostojacim a deťom zdržiavať sa v autonómnej prevádzkovej zóne. Nikdy nedovoľte, aby stroj obsluhovali alebo naň dohliadali deti. Počas prevádzky tohto stroja v autonómnom režime by na stroj mal dohliadať iba vyškolený personál.
Nesmiete stáť, sedieť ani jazdiť na stroji a ani to nesmiete dovoliť iným osobám, pokiaľ stroj pracuje v autonómnom režime.
Pred spustením stroja pravidelne kontrolujte prevádzkovú zónu, či sa v nej neobjavili nové nebezpečenstvá, a odstráňte ich.
Ak sa stroj prevráti, držte sa ďalej od pohyblivých dielov.
Pri manipulácii s palivom postupujte extrémne opatrne. Palivo je horľavé a jeho výpary sú výbušné.
Zahaste všetky cigarety, cigary, fajky a iné zdroje zapaľovania.
Používajte len schválenú nádobu na palivo.
Kým je motor spustený alebo horúci, neskladajte palivový uzáver ani nedopĺňajte palivo do palivovej nádrže.
Palivo nedopĺňajte ani nevypúšťajte v uzavretom priestore.
Stroj ani nádobu na palivo neskladujte na miestach s otvoreným plameňom, iskrami alebo kontrolkami, napríklad na ohrievači vody alebo inom spotrebiči.
Ak palivo rozlejete, nepokúšajte sa štartovať motor. Vyhýbajte sa akýmkoľvek zdrojom zapaľovania, kým sa nevyvetrajú palivové výpary.
Majiteľ alebo operátor môže predchádzať nehodám, ktoré môžu spôsobiť zranenie alebo poškodenie majetku, a je zodpovedný za takéto nehody.
Noste vhodný odev vrátane ochranných okuliarov, dlhých nohavíc, pevnej protišmykovej obuvi a ochrany sluchu. Dlhé vlasy si zviažte dozadu a nenoste voľný odev ani voľné šperky.
Nepracujte so strojom, ak ste chorí, unavení alebo pod vplyvom alkoholu alebo drog.
Práca so strojom si vyžaduje maximálnu pozornosť. Nerozptyľujte sa žiadnym spôsobom, v opačnom prípade môže dôjsť k zraneniu alebo poškodeniu majetku.
Pred naštartovaním motora sa uistite, že sú všetky pohony v neutrálnej polohe, že je aktivovaná parkovacia brzda a že ste v prevádzkovej polohe.
Na stroji neprevážajte žiadne osoby.
Zabráňte okolostojacim a deťom zdržiavať sa v pracovnej oblasti.
Stroj prevádzkujte len pri dobrej viditeľnosti, aby ste sa vyhli dieram alebo skrytým nebezpečenstvám.
Vyhýbajte sa koseniu mokrej trávy. Znížená trakcia by mohla spôsobiť pošmyknutie stroja.
Udržujte ruky a nohy v bezpečnej vzdialenosti od rezacích jednotiek.
Pred cúvaním sa pozrite dozadu a dole, aby ste sa uistili, že máte voľnú cestu.
Pri prechode do neprehľadných oblastí, kríkov, stromov alebo iných objektov, ktoré by mohli obmedziť viditeľnosť, buďte opatrní.
Keď nekosíte, zastavte rezacie jednotky.
Pri zatáčaní so strojom do zákrut, na križovatkách a chodníkoch spomaľte a buďte veľmi opatrní. Vždy získajte povolenie na cestu.
Motor prevádzkujte len v dobre vetraných oblastiach. Výfukové plyny obsahujú oxid uhoľnatý, ktorý je po vdýchnutí smrteľný.
Naštartovaný stroj nenechávajte bez dozoru.
Ak stroj nenastavujete na prevádzku v autonómnom režime, pred opustením pracovného miesta vykonajte nasledujúce kroky:
Stroj zaparkujte na rovnom povrchu.
Spustite rezacie jednotky na zem a uistite sa, že sú deaktivované.
Zatiahnite parkovaciu brzdu.
Vypnite motor a vyberte kľúč.
Počkajte, kým sa nezastavia všetky pohyblivé časti.
Stroj prevádzkujte len pri dobrej viditeľnosti a za vhodných poveternostných podmienok. Nepracujte so strojom, ak hrozia blesky.
Nedemontujte zo stroja komponenty systému ROPS.
Uistite sa, že je zapnutý bezpečnostný pás a že ho môžete v prípade núdze rýchlo uvoľniť.
Vždy používajte bezpečnostný pás.
Dôkladne skontrolujte prekážky nad hlavou a nedotýkajte sa ich.
Systém ROPS uchovávajte v bezpečnom prevádzkovom stave. Pravidelne ho dôkladne kontrolujte, či nie je poškodený a či sú utiahnuté všetky montážne úchytky.
Vymeňte všetky poškodené komponenty systému ROPS. Neopravujte ani neupravujte ich.
Svahy sú hlavným faktorom pri nehodách súvisiacich so stratou ovládania a pri prevrátení, ktoré môžu mať za následok vážne alebo smrteľné zranenie. Nesiete zodpovednosť za bezpečnú prevádzku na svahu. Pri ovládaní stroja na svahu sa musí postupovať mimoriadne opatrne.
Vyhodnoťte stav konkrétnej lokality, určite, či je svah bezpečný na prevádzku stroja, a zároveň lokalitu preskúmajte. Pri vykonávaní prieskumu sa vždy riaďte zdravým rozumom a dobrým úsudkom.
Pozrite si pokyny týkajúce sa práce so strojom na svahu uvedené nižšie. Pred prevádzkou stroja si preverte stav lokality a určite, či môžete stroj prevádzkovať v podmienkach, ktoré sú v daný deň a na danej lokalite. Zmeny terénu môžu spôsobiť zmenu prevádzky stroja na svahu.
Vyhýbajte sa štartovaniu, zastavovaniu alebo otáčaniu stroja na svahoch. Nevykonávajte náhle zmeny rýchlosti alebo smeru. Zatáčajte pomaly a postupne.
Stroj neprevádzkujte za podmienok, pri ktorých je ohrozená trakcia, riadenie alebo stabilita.
Odstráňte alebo označte prekážky, napríklad priekopy, diery, vyjazdené koľaje, nerovnosti, skaly alebo iné skryté nebezpečenstvá. Vo vysokej tráve môžu byť skryté prekážky. Stroj sa môže na nerovnom teréne prevrátiť.
Majte na pamäti, že pri prevádzke stroja na mokrej tráve, svahoch alebo dole kopcom môže stroj stratiť trakciu. Strata trakcie pohonu kolies môže spôsobiť pošmyknutie a nemožnosť brzdiť a riadiť stroj.
Pri prevádzke stroja v blízkosti spádov, priekop, násypov, vodných prekážok alebo iných nebezpečenstiev musíte postupovať extrémne opatrne. Stroj sa môže náhle prevrátiť, keď koleso prejde cez okraj alebo sa okraj zosype. Zachovávajte bezpečnú vzdialenosť medzi strojom a každým nebezpečným miestom.
Nebezpečenstvá identifikujte pod svahom. Ak hrozia nejaké nebezpečenstvá, svah koste pomocou ručne vedeného stroja.
Ak je to možné, pri prevádzke stroja na svahoch nechajte rezacie jednotky spustené na zemi. Po zdvihnutí rezacích jednotiek pri prevádzke na svahoch môže byť stroj nestabilný.
Pri používaní systémov na zber trávy alebo iných nadstavcov postupujte extrémne opatrne. Môžu zmeniť stabilitu stroja a spôsobiť stratu kontroly.
Ak stroj nepripravujete na prevádzku v autonómnom režime, zatiahnite parkovacie brzdu, vypnite motor, vytiahnite kľúč zo zapaľovania a pred opustením polohy operátora počkajte, kým sa stroj úplne zastaví. Pred úpravou, servisom, čistením alebo skladovaním nechajte stroj vychladnúť.
Z rezacích jednotiek a pohonov odstráňte trávu a nečistoty, aby ste predchádzali požiarom. Vyčistite rozliaty olej alebo palivo.
Počas uskladnenia alebo prepravy stroja vypnite prívod paliva.
Pri preprave alebo nepoužívaní stroja odpojte pohon nadstavca.
Pred uskladnením v akomkoľvek uzavretom priestore nechajte stroj vychladnúť.
Bezpečnostné pásy podľa potreby vyčistite a vykonajte ich údržbu.
Stroj ani nádobu na palivo neskladujte na miestach s otvoreným plameňom, iskrami alebo kontrolkami, napríklad na ohrievači vody alebo iných spotrebičoch.
Ťahajte len so strojom, ktorý má záves navrhnutý na ťahanie. Ťahané zariadenie pripájajte výlučne za čap.
Dodržiavajte odporúčanie výrobcu týkajúce sa hmotnostných limitov ťahaného zariadenia a ťahania na svahoch. Na svahoch môže hmotnosť ťahaného zariadenia spôsobiť stratu trakcie a ovládania.
Nikdy nedovoľte, aby sa v ťahanom zariadení alebo na ňom nachádzali deti alebo iné osoby.
Pri ťahaní jazdite pomaly a zachovávajte dostatočnú vzdialenosť na zastavenie.
Pred opustením pozície operátora vykonajte nasledujúce opatrenia:
Stroj zaparkujte na rovnom povrchu.
Deaktivujte rezacie jednotky.
Zatiahnite parkovaciu brzdu.
Vypnite motor a vyberte kľúč.
Počkajte, kým sa nezastavia všetky pohyblivé časti.
Pred vykonaním údržby nechajte komponenty stroja vychladnúť.
Ak je to možné, nevykonávajte údržbu pri spustenom motore. Nepribližujte sa k pohyblivým častiam.
Pri každej práci pod strojom podoprite stroj montážnym stojanom.
Opatrne uvoľnite tlak z komponentov s uloženou energiou.
Všetky časti stroja uchovávajte v dobrom prevádzkovom stave a utiahnite všetok hardvér.
Vymeňte všetky opotrebované alebo poškodené nálepky.
Ak chcete zaručiť bezpečný a optimálny výkon stroja, používajte len originálne náhradné diely od spoločnosti Toro. Náhradné diely od iných výrobcov by mohli byť nebezpečné a pri ich použití by mohla skončiť platnosť záruky na produkt.
Note: Bezpečnosť v autonómnom režime dopĺňa bezpečnosť v bežnom/manuálnom režime.
Stroj ani softvér v žiadnom prípade neupravujte.
Na stroj nič neukladajte.
Neupravujte ani neprepínajte ovládacie prvky stroja ani bezpečnostné zariadenia.
Nesprávna údržba alebo používanie tohto stroja môže mať za následok zranenie alebo smrť.
Všetky údržbárske práce by mal vykonávať certifikovaný technik.
Ak chcete zaručiť bezpečný a optimálny výkon stroja, používajte len originálne náhradné autonómne diely od spoločnosti Toro. Náhradné autonómne diely od iných výrobcov by mohli byť nebezpečné.
Pred kontrolou oleja alebo dopĺňaním oleja do kľukovej skrine vypnite motor.
Nemeňte ani neprekračujte otáčky motora.
Pred opravou stroja odpojte konektory hlavného napájania.
Batériu nabíjajte v otvorenom a dobre vetranom priestore, v ktorom sa nevyskytujú iskry ani plamene. Pred pripojením alebo odpojením batérie odpojte nabíjačku. Používajte ochranný odev a používajte izolované nástroje.
Skôr než odídete z polohy operátora, vypnite stroj, vyberte kľúč a počkajte, kým sa všetky časti neprestanú pohybovať. Pred úpravou, servisom, čistením alebo skladovaním nechajte stroj vychladnúť.
Stroj ani nádobu na palivo neskladujte na miestach s otvoreným plameňom, iskrami alebo kontrolkami, napríklad na ohrievači vody alebo inom spotrebiči.
![]() |
Bezpečnostné štítky a štítky s pokynmi sú pre operátora ľahko viditeľné a nachádzajú sa v blízkosti každej oblasti potenciálneho nebezpečenstva. Akýkoľvek poškodený alebo chýbajúci štítok nahraďte za nový. |














Popisy režimov uvedených na nálepke 145-0345 nájdete v Definície pojmov.

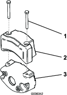
Diely potrebné na prevedenie tohoto kroku:
| Rezacia jednotka (objednáva sa samostatne, obráťte sa na svojho autorizovaného distribútora spoločnosti Toro) | 3 |
| Elektrické protizávažie | 3 |
| Skrutka | 6 |
| Tesniaci krúžok | 3 |
Pripravte rezacie jednotky na montáž. Pozrite si používateľskú príručku k rezacej jednotke.
Na vnútorné drážkovanie spojky pohonu naneste mazivo.
Na každý motor kotúča nasaďte tesniaci krúžok, ako je znázornené na Obrázok 3.

Pomocou 2 skrutiek zaistite elektrické protizávažie na existujúcom protizávaží, ako je znázornené na Obrázok 4.

Namontujte rezacie jednotky. Pozrite si časť Montáž rezacích jednotiek.
Pripojte konektory hlavného napájania. Pozrite si časť Konektory hlavného napájania.
Nastavenia stroja upravte pomocou informačného centra. Pozrite si časť Úprava nastavení stroja pomocou informačného centra.
Diely potrebné na prevedenie tohoto kroku:
| Štítok s rokom výroby | 1 |
| Štítok s varovaním CE (č. dielu 139-8321) | 1 |
| Štítok s označením CE/UKCA (č. dielu 138-9470) | 1 |
Ak tento stroj používate v krajine, ktorá dodržiava normy CE/UKCA, nainštalujte nasledujúce štítky:
Pneumatiky pri odosielaní zo závodu nafukujeme nadmerne. Pred naštartovaním stroja znížte tlak na správnu úroveň. Pozrite si časť Kontrola tlaku v pneumatikách.
Uistite sa, že všetci používatelia stroja majú prihlasovacie údaje do systému myTurf®. Pozrite si príručku k softvéru myTurf.
Pridajte stroj ako prostriedok do systému myTurf®. Pozrite si príručku k softvéru myTurf®.
Technici, ktorí majú prístup k materiálom spoločnosti Toro, nájdu pokyny na aktiváciu alebo predĺženie mobilnej služby alebo RTK službu v servisnom stredisku GeoLink®.
Note: Na autonómnu prevádzku stroja sú potrebné obe.
Vyhľadajte servisný bulletin s názvom Postup aktivácie GeoLink®“.
Postupujte podľa pokynov uvedených v servisnom bulletine a vykonajte všetky kroky.
Predtým, ako budete pokračovať, počkajte, kým vám spoločnosť Toro zašle prihlasovacie údaje pre mobilnú sieť a RTK.
Zasuňte kľúč a otočte ho do polohy ZAP.
Pripojte sa k stroju pomocou kontrolnej aplikácie GeoLink® Mow.
V hornom paneli ponúk vyberte tlačidlo NASTAVENIA.
V časti Lokálny referenčný bodnastavte súradnice a výšku lokálneho referenčného bodu, ktorý bude stroj používať na lokalizáciu pomocou GNSS RTK.
Note: Pre súradnice použite desatinné stupne a pre výšku metre.
V časti Úpravy NTRIP zadajte údaje o vysielači NTRIP.
V časti Prístupové údaje zadajte údaje týkajúce sa predplatného RTK.
Note: Odporúča sa vykonať tento test priamo na mieste, kde budete stroj prevádzkovať. Týmto spôsobom získate presnú predstavu o sile signálu, ktorý prichádza do stroja počas bežnej prevádzky.
Zasuňte kľúč a otočte ho do polohy ZAP.
Presuňte stroj do vonkajšej oblasti.
Pripojte sa k stroju pomocou kontrolnej aplikácie GeoLink® Mow.
V hornom paneli ponúk vyberte tlačidlo DIAGNOSTIKA.
V časti Mobilná sieť skontrolujte, či je stroj pripojený k mobilnej sieti.
V časti Lokalizácia skontrolujte, či je k stroju nadviazané RTK pripojenie.
Note: Pripojenie zariadenia k mobilnej sieti alebo k základni RTK môže trvať niekoľko minút.
Pred aktiváciou autonómneho režimu skontrolujte, či senzory systému detekcie objektov fungujú správne. Pozri Overovanie systému detekcie objektov.
Zasuňte kľúč a otočte ho do polohy ZAP.
Presuňte stroj do vonkajšej oblasti.
Pre aktiváciu automatického režimu podržte spínač automatického/manuálneho režimu po dobu 2 sekúnd vľavo. Pozri Spínač autonómneho/manuálneho režimu.
Pripojte sa k stroju pomocou kontrolnej aplikácie GeoLink® Mow.
V hornom paneli ponúk vyberte tlačidlo DIAGNOSTIKA.
Vyberte diagnostické polia, aby sa otvorili podrobné rozbaľovacie ponuky. Uistite sa, že systém ACS funguje správne.
Skontrolujte, či na strešnej lište stroja nie sú ohnuté antény.
Zasuňte kľúč a otočte ho do polohy ZAP.
Presuňte stroj do oblasti kosenia.
Nastavte testovaciu CMA. Pozri Mapovanie autonómnej prevádzkovej zóny a Zmapovanie súvislej kosenej plochy.
Vytvorte úlohu, ktorú má kosačka vykonať: ako prvú úlohu nech vykoná čistenie fairwaye v smere hodinových ručičiek. Potom nech vykoná čistenie proti smeru hodinových ručičiek na tej istej fairwayi; pozri Vytvorenie úlohy a Vytvorenie vlastného vzoru kosenia
Vykonajte úlohu. Pozri Vykonávanie úlohy.
Počas úlohy sledujte stroj a všímajte si akékoľvek nezrovnalosti v trase pohybu medzi priechodmi v smere hodinových ručičiek a proti smeru hodinových ručičiek.
Important: Ak zistíte rozdiely, môže to byť spôsobené nesprávnym vycentrovaním antén. Kontaktujte technickú podporu.


Kľúčový spínač má 3 polohy: VYP., ZAP. a ŠTART (Obrázok 9).
Pomocou kľúčového spínača štartujete motor, vypínate motor alebo jazdíte so strojom bez výkonu motora. Pozrite si časti Naštartovanie motora,Vypnutie motora a Jazda so strojom bez výkonu motora.

Prepínač na ovládanie funkcií (Obrázok 8) ponúka 2 trakčné polohy plus polohu NEUTRáL.
Poloha NEUTRáL – neutrál a ostrenie
Poloha KOSENIE – používa sa pri kosení
Poloha PREPRAVA – používa sa pri preprave
Keď je stroj v pohybe, môžete prepnúť z polohy KOSENIE do polohy PREPRAVA alebo z polohy PREPRAVA do polohy KOSENIE (nie do polohy NEUTRáL). Nedôjde k žiadnemu poškodeniu.
Prepínač môžete prepnúť z polohy PREPRAVA alebo KOSENIE do polohy NEUTRáL a stroj sa zastaví. Ak sa pokúsite prepnúť z polohy NEUTRáL do polohy KOSENIE alebo PREPRAVA, kým nie je pedál v polohe NEUTRáL, zobrazí sa rada.
Joystick na zdvíhanie/spúšťanie (Obrázok 8) zdvíha alebo spúšťa rezacie jednotky. Joystick môže aktivovať alebo deaktivovať kotúče rezacích jednotiek v závislosti od polohy prepínača na ovládanie funkcií:
Prepínač na ovládanie funkcií v polohe NEUTRáL: rezacie jednotky sa zdvíhajú alebo spúšťajú, kým posúvate joystick dopredu alebo dozadu, no kotúče sa neaktivujú, kým stroj nebude v režime ostrenia.
Prepínač na ovládanie funkcií v polohe KOSENIE: posúvaním joysticku dopredu počas kosenia sa spustia rezacie jednotky a aktivujú sa kotúče. Potiahnutím joysticku dozadu sa kotúče zastavia a rezacie jednotky sa zdvihnú.
Ak chcete kotúče zastaviť bez zdvihnutia rezacích jednotiek, nakrátko potiahnite joystick dozadu a uvoľnite ho. Opätovným posunutím joysticku dopredu sa spustia kotúče alebo opätovným potiahnutím dozadu sa zdvihnú rezacie jednotky. Túto funkciu musíte aktivovať v informačnom centre. Pozrite si časť Úprava oneskorenia odpojenia.
Prepínač na ovládanie funkcií v polohe PREPRAVA: rezacie jednotky možno zdvihnúť, no kotúče sa neaktivujú. Ak sa pokúsite spustiť rezacie jednotky, v informačnom centre sa zobrazí rada.
Pedál trakčného pohonu (Obrázok 10) má 3 funkcie: jazda so strojom dopredu, jazda so strojom dozadu a zastavenie stroja. Ak chcete jazdiť dopredu, stlačte vrchnú časť pedála. Ak chcete jazdiť dozadu, stlačte spodnú časť pedála.
Ak chcete stroj zastaviť, nechajte pedál presunúť do polohy NEUTRáL. Kým sa stroj hýbe dopredu, nenechávajte pätu na pedáli trakčného pohonu v polohe DOZADU (Obrázok 11).


Maximálnu rýchlosť jazdy v manuálnom režime môžete nastaviť takto:
Rýchlosť 4,8 až 8 km/h pri kosení dopredu
Rýchlosť 8 až 16 km/h pri preprave
Rýchlosť 3,2 až 8 km/h pri cúvaní
Stlačte pedál (Obrázok 10) a zdvihnite alebo spustite rameno volantu do pohodlnej polohy pre operátora a potom uvoľnite pedál a uzamknite rameno na mieste.
Stlačením brzdového pedála (Obrázok 12) zastavíte stroj.

Zatiahnutím parkovacej brzdy (Obrázok 12) zabráňte pohybu stroja. Ak chcete zatiahnuť parkovaciu brzdu, zatlačte brzdový pedál a stlačte vrchnú časť, aby sa zaistila. Ak chcete uvoľniť parkovaciu brzdu, stláčajte brzdový pedál, kým sa neuvoľní zarážka parkovacej brzdy.
Okrem tlačidla zastavenia v kontrolnej aplikácii je ďalším spôsobom zastavenia stroja stlačenie spínača núdzového zastavenia na zadnej strane stroja.
V prípade deaktivácie núdzového zastavenia:
Potiahnite spínač smerom von.
Prepnite spínač autonómneho/manuálneho režimu do polohy pre automatický režim.
Important: Spínač núdzového zastavenia funguje len vtedy, keď je stroj prevádzkovaný v autonómnom režime. Aktivácia spínača núdzového zastavenia nemá vplyv na stroj pracujúci v manuálnom režime.

Stlačte a podržte spínač autonómneho/manuálneho režimu v ľavej polohe po dobu 2 sekúnd, aby ste aktivovali AUTONóMNY režim.
Stlačte spínač do pravej polohy, aby ste aktivovali MANUáLNY REžIM.

Autonómna stavová kontrolka signalizuje aktuálny stav autonómneho režimu stroja:
Stála biela – ACS je zapnutý a v manuálnom režime
Stála zelená – prebieha autonómny režim; nepribližujte sa
Blikajúca zelená – v autonómnom režime, ale v blízkosti sa nachádza prekážka
Stála červená – možno sa priblížiť. Stroj je zaparkovaný
Kontrolná aplikácia GeoLink® Mow slúži na nastavenie a ovládanie stroja určeného na autonómne kosenie.
| Položka na lište ponuky | Opis |
| DOMOV | Ponuka DOMOV je úvodná obrazovka webovej aplikácie a obsahuje odkazy na ponuky OVLáDACí PANEL, ÚLOHY, MAPAa NASTAVENIA, ako aj odkazy na podmienky používania a právne upozornenia. |
| OVLáDACí PANEL | V ponuke OVLáDACí PANEL sú uvedené aktuálne stavy strojov a stavy úloh. Ovládacie tlačidlá v spodnej časti obrazovky slúžia aj na diaľkové ovládanie stroja. |
| ÚLOHY | Ponuka ÚLOHY obsahuje sekcie na vytváranie nových úloh, ako aj na prezeranie aktuálnych úloh a histórie úloh. V tejto ponuke môžete vytvoriť vlastné vzory kosenia. |
| MAPA |
Ponuka MAPA zobrazuje mapu vášho pozemku a všetky zmapované fairwaye. Obsahuje tiež ovládacie prvky na mapovanie prevádzkových zón a ďalšie autonómne funkcie. Počas prevádzky stroja ju možno využiť na monitorovanie stroja v priebehu úlohy. |
| NASTAVENIA | Ponuka NASTAVENIA vám umožňuje meniť nastavenia RTK a prihlasovacie údaje, všeobecné prevádzkové nastavenia a osobné preferencie stroja. |
| POMOCNíK |
Ponuka POMOCNíK vám umožňuje prístup k údajom mapy, protokolom stroja, používateľskej príručke, údajom o výkone a informáciám o verzii softvéru. |
| DIAGNOSTIKA |
V ponuke DIAGNOSTIKA sú uvedené stavy rôznych dielov stroja, vrátane hardvéru, senzorov a informácií o lokalizácii a pripojení. Tieto informácie možno využiť na riešenie problémov so strojom, pretože vám rýchlo ukážu, ktoré ovládacie prvky stroja sú aktivované, deaktivované alebo vykazujú poruchy. |
| ODHLáSENIE SA |
Odhláste sa zo svojho účtu myTurf®. |
| Položka ponuky | Opis | |
| Lokálny referenčný bod | ||
| ZEMEPISNá šíRKA | Nastavte zemepisnú šírku lokálneho referenčného bodu, ktorý stroj používa na lokalizáciu pomocou GNSS RTK. Použite formát desatinných stupňov. | |
| ZEMEPISNá DĺžKA | Nastavte zemepisnú dĺžku lokálneho referenčného bodu, ktorý stroj používa na lokalizáciu pomocou GNSS RTK. Použite formát desatinných stupňov. | |
| VýšKA | Nastavte výšku (v metroch) lokálneho referenčného bodu, ktorý stroj používa na lokalizáciu pomocou GNSS RTK. | |
| Úpravy NTRIP | ||
| NáZOV HOSTITEľA | Nastavte názov pripojenia URL pre vysielač NTRIP (RTK). | |
| ČíSLO PORTU | Nastavte číslo portu pre vysielač. | |
| PRIPOJOVACí BOD | Nastavte názov pripojovacieho bodu pre prúd odchádzajúcich údajov GNSS z vysielača. | |
| Správa NMEA GGA | ||
| POVINNé | Aktivuje alebo deaktivuje správy NMEA GGA. Položka Povinné je predvolene aktivovaná. | |
| OBDOBIE AKTUALIZáCIE | Nastavte frekvenciu správ NMEA GGA. Predvolené nastavenie je 5 sekúnd. | |
| Prístupové údaje | ||
| UžíVATEľSKé MENO | Zadajte používateľské meno pre predplatné RTK. | |
| HESLO | Zadajte heslo pre predplatné RTK. | |
| Mapa | ||
| ZAMKNúť MAPU | Zruší možnosť upravovať, mazať alebo vytvárať nové zmapované oblasti. | |
| Kosenie | ||
| PREKRýVANIE | Nastavte mieru prekrývania pri jednotlivých prejazdoch počas kosenia. | |
| Rýchlosti stroja | ||
| HLAVNá RýCHLOSť KOSENIA | Nastavte maximálnu povolenú rýchlosť stroja počas kosenia. | |
| RýCHLOSť KOSENIA PO OBVODE | Nastavte maximálnu povolenú rýchlosť stroja pri čistiacich prejazdoch. | |
| PREPRAVNá RýCHLOSť | Nastavte maximálnu povolenú rýchlosť stroja, keď nekosíte. | |
| Informácie o stroji | ||
| POPISNý NáZOV | Zadajte názov stroja. Bude sa používať v správach zasielaných na telefón prevádzkovateľa. | |
| Informácie o používateľovi | ||
| JAZYK | Nastavte jazyk používateľského rozhrania. | |
| JEDNOTKY | Nastavte jednotky merania pre aplikáciu. | |
| RESET NASTAVENí NA TOVáRENSKé NASTAVENIA | Vyberte túto možnosť, ak sa chcete vrátiť k predvoleným továrenským nastaveniam. | |
Note: Po zmene nastavení vyberte možnosť Uložiť, aby ste nastavenia uložili, a potom stlačte tlačidlo na stroji, aby sa nastavenia aktivovali.
| Položka ponuky |
| MOBILNá SIEť > NáZOV OPERáTORA |
| MOBILNá SIEť > TYP PRIPOJENIA |
| MOBILNá SIEť > KVALITA SIGNáLU |
| LOKALIZáCIA > STAV GNSS |
| LOKALIZáCIA > PRESNOSť GNSS |
| LOKALIZáCIA > PLATNé SATELITY |
| LOKALIZáCIA > SATELITY ROVER |
| LOKALIZáCIA > ZáKLADNé SATELITY |
| LOKALIZáCIA > PRIPOJENIE RTK |
| LOKALIZáCIA > PRESNOSť LOKALIZáCIE |
| NúDZOVé ZASTAVENIE |
| SENZORY > VZDIALENOSť LIDAR |
| SENZORY > PREDNý ľAVý SONAR |
| SENZORY > ZADNý ľAVý SONAR |
| SENZORY > ZADNý PRAVý SONAR |
| SENZORY > PREDNý PRAVý SONAR |
| SENZORY > ĽAVý HORNý SONAR |
| SENZORY > PRAVý HORNý SONAR |
| SENZORY > OKOLIE RADARU |
Note: Stroj sa môže zastaviť, ak sa v poliach KVALITA SIGNáLU alebo PRIPOJENIE RTK zobrazí hodnota ZLE. Stroj nemá dostatočne silné pripojenie k mobilnej sieti alebo k základni RTK, aby mohol fungovať.
| Položka ponuky | Opis | |
| Stav stroja | ||
| STAV | Zobrazuje aktuálny stav stroja. Zoznam stavov stroja nájdete v časti Stav stroja. | |
| GNSS | Zobrazuje kvalitu signálu GNSS. 90 % alebo viac je dobré; 60 % alebo menej je zlé. Na diagnostiku problémov s GNSS/lokalizáciou použite ponuku DIAGNOSTIKA a zoznam LOKALIZáCIA . | |
| RýCHLOSť | Zobrazuje aktuálnu rýchlosť stroja. | |
| Stav úlohy | ||
| STAV | Zobrazuje stav aktuálnej úlohy, jej priebeh a čas, ktorý zostáva do jej dokončenia. Zoznam stavov a úloh nájdete v časti Stav úlohy. Ak nie je vybraná žiadna úloha, zoznam bude prázdny. | |
| ÚLOHA | Zobrazí identifikačné číslo vybranej úlohy. | |
| FAIRWAYE | Zobrazuje fairwaye v poradí pre aktuálnu úlohu, ako aj ukazovateľ priebehu pre každú fairway. | |
| VZOR | Zobrazuje vzor kosenia pre aktuálnu úlohu. Načítanie môže trvať až 10 sekúnd. | |
| PRIEBEH | Zobrazuje percentuálny priebeh aktuálnej úlohy. Načítanie môže trvať až 10 sekúnd. | |
| ZOSTáVAJúCI čAS | Zobrazuje odhadovaný čas do ukončenia úlohy. | |
| POKRAčOVAť | Tlačidlo sa zobrazí 10 minút predtým, ako má stroj podľa plánu pokosiť ďalšiu fairway v rámci úlohy. Na mobilné zariadenie prevádzkovateľa sa odošle textová správa s odkazom na OVLáDACí PANEL. Kliknite na tlačidlo, prečítajte si schvaľovaciu dohodu a kliknite na Prijať, aby ste stroju povolili prejsť na ďalšiu fairway. | |
Význam indikácie stavu stroja nájdete v nasledujúcej tabuľke:
| Displej | Význam | Riešenie (ak je k dispozícii) |
| Neznáme | Neznáma chyba | Naštartujte stroj kľúčom. Note: Môže to trvať až 5 minút. |
| Nastavenie | Prebieha inštalácia. | Počkajte a držte sa ďalej od stroja. |
| Nečinnosť | Stroj je nastavený na STAV NEčINNOSTI. | Nastavte režim na MANUáLNY alebo AUTOMATICKý. |
| Manuálny režim | Stroj je nastavený na MANUáLNY režim. | |
| Nastavenie | Stroj je nastavený na AUTOMATICKý režim. | Stlačte Chod a potvrďte upozornenie. |
| Čaká sa na upozornenie | Aplikácia čaká, kým potvrdíte toto upozornenie. | Stlačte Chod a potvrďte upozornenie. |
| Kalibruje sa | Stroj prechádza do autonómneho režimu. | Počkajte aspoň 3 minúty a držte sa v bezpečnej vzdialenosti od stroja. |
| V pohotovostnom režime | Stroj je v autonómnom režime a je v stave nečinnosti. | Naplánujte úlohu a stlačte Chod. |
| Vykonávanie | Stroj práve vykonáva úlohu. | |
| Presun do bočného zastavenia | Stroj sa sám zaparkuje na boku. | |
| Presun do miesta vyzdvihnutia | Stroj sa presúva na miesto vyzdvihnutia. | |
| Presun k bodu | Stroj sa presúva do bodu, ktorý operátor vybral na mape. | |
| Zaparkovanie | Stroj je v režime ZAPARKOVANIA. |
Note: Ak je riešením počkať, malo by stačiť počkať 30 sekúnd, aby sa stav zmenil na iný. Ak nie, stroj reštartujte.
Význam indikátora stavu úlohy nájdete v nasledujúcej tabuľke:
| Displej | Význam | Riešenie (ak je k dispozícii) |
| Chyba | Neznáma chyba | Naštartujte stroj kľúčom. Note: Môže to trvať až 5 minút. |
| Nastavenie | Nastavuje sa | Počkajte. |
| Spúšťa sa | Spúšťa sa | Počkajte. |
| Načítava sa | Načítavanie úloh | Počkajte. |
| Pripravuje sa | Načítavanie úloh | Počkajte. |
| Nečinnosť | Nebola vybraná žiadna úloha | Naplánujte úlohu a stlačte Chod. |
| Kosenie | Kosenie | |
| Pozastavené | Úloha je pozastavená. | Stlačte Chod, aby ste pokračovali v úlohe. |
| Zrušené | Úloha bola zrušená. | Vytvorte úlohu. |
| Dokončené | Úloha bola úspešne dokončená. | Naplánujte novú úlohu a stlačte Chod. |
| Čaká sa |
Note: Ak je riešením počkať, počkajte 3 minúty, aby sa stav mohol zmeniť na iný. Ak nedochádza k pokroku, stroj reštartujte.
Obrazovka OVLáDACí PANEL obsahuje tlačidlá na ovládanie stroja počas úlohy.

Diagnostické hlásenia sa zobrazujú vždy, keď stroj vykonáva dôležitú činnosť alebo zistí poruchu.
Note: Správy môžete filtrovať podľa úrovne závažnosti tak, že v pravom hornom rohu vyberiete príslušnú úroveň závažnosti pomocou tlačidiel.
| Ikona | Význam |
Informácie ![]() | Informácie s radou o dôležitých opatreniach. |
Problém ![]() | So strojom je nejaký problém, ale stroj bude naďalej fungovať. |
Chyba ![]() | Na stroji sa vyskytla chyba, ktorá bráni jeho prevádzke. |
| Displej | Význam | Riešenie (ak je k dispozícii) |
| Zrušená úloha ## | Operátor zrušil úlohu. | Naplánujte novú úlohu a stlačte Chod. |
| Zrušenie úlohy ## | Operátor ruší úlohu | Naplánujte novú úlohu a stlačte Chod. |
| Úloha splnená ## | Úloha je splnená. | Naplánujte novú úlohu a stlačte Chod. |
| Chyba počas úlohy ## | Pri úlohe došlo k chybe a zariadenie nemôže fungovať. |
|
| Vykonávanie úlohy ## | Úloha sa vykonáva. | |
| Inicializácia úlohy ## | Úloha sa čoskoro spustí. | |
| Načítavanie úlohy ## | Úloha načítava podrobnosti o úlohe. | |
| Pozastaviť úlohu ## | Operátor pozastavil úlohu. | |
| Príchod do bodu bočného zastavenia | Stroj dorazil do bočného koncového bodu podľa pokynov operátora. | |
| Príchod na miesto vyzdvihnutia | Stroj dorazil na miesto vyzdvihnutia podľa pokynov operátora. | |
| Systém sa spustil | Kľúč stroja je v polohe ZAP. a systém ACS sa spustí. | |
| Príchod do určeného miesta | Stroj dorazil na miesto určené operátorom. | |
| Úlohu nie je možné pripraviť | Pri spracúvaní podrobností úlohy došlo k chybe. | |
| Náročná počiatočná poloha. | Stroj sa nachádza v náročnej počiatočnej polohe. | |
| Príprava na vykonanie úlohy ## | Úloha sa spracúva. | |
| Mapa je prázdna | V databáze chýbajú všetky údaje o mapách. |
| Položka ponuky | Definícia |
| ÚDAJE O MAPE |
Stiahnite si, exportujte a importujte súbory máp používané na stroji. Exportujte mapy do ostatných strojov vo vozovom parku alebo, importujte do stroja ďalšie mapy s odlišnými trasami s cieľom obmedziť zbytočné prejazdy. Pozri Ukladanie a exportovanie údajov z mapy. |
| PROTOKOLY |
V tejto časti si môžete stiahnuť protokoly zo stroja. Máte na výber, či si stiahnete kompletné protokoly, alebo len najnovšiu správu protokolu. Pomocou ovládacích prvkov pre zaznamenávanie úplných vzoriek môžete zaznamenať aj konkrétne časové obdobie. Note: Vzhľadom na veľký objem týchto súborov sa neodporúča sťahovať ich cez mobilné pripojenie. |
| PRíRUčKA |
Kliknite na tento odkaz a prečítajte si online používateľskú príručku. |
| POčíTADLá VýKONU ACS |
Zobrazte si údaje týkajúce sa výkonu a histórie autonómneho stroja. |
| INFORMáCIE O SOFTVéRI |
Zobrazte si verzie softvéru pre jednotlivé autonómne systémy. |
Na displeji informačného centra (Obrázok 16) sa zobrazujú informácie o stroji, napríklad prevádzkový stav, rôzne diagnostické a iné informácie o stroji.

Note: Funkciu jednotlivých tlačidiel možno zmeniť v závislosti od toho, čo v danej chvíli potrebujete. Každé tlačidlo je označené ikonou zodpovedajúcou aktuálnej funkcii.
Pomocou navigačných tlačidiel prechádzajte medzi viacerými obrazovkami a položkami ponúk:
Úvodná obrazovka: po prepnutí kľúča do polohy ZAP. sa na nej na niekoľko sekúnd zobrazia aktuálne informácie o stroji.
Hlavná informačná obrazovka (Obrázok 17): keď je kľúč v polohe ZAPNUTé, zobrazujú sa na nej aktuálne informácie o stroji.

Obrazovka motora eReel (Obrázok 18): zobrazujú sa na nej informácie o otáčkach a prúde každého motora rezacej jednotky.

Informačná obrazovka trakčného pohonu (Obrázok 19): zobrazujú sa na nej informácie o aktuálnom uhle riadenia a prúdovej intenzite priradenej každému motoru trakčného pohonu.

Hlavná ponuka: pozrite si časť Oboznámenie sa s položkami ponuky informačného centra.
![]() | Hodinové počítadlo |
![]() | Prepínač na ovládanie funkcií je v polohe NEUTRáL. |
![]() | Prepínač na ovládanie funkcií je v polohe PREPRAVA. |
![]() | Prepínač na ovládanie funkcií je v polohe KOSENIE. |
![]() | V manuálnom režime musí operátor sedieť na sedadle. |
![]() | Parkovacia brzda je zatiahnutá. |
![]() | Elektrická parkovacia brzda je zatiahnutá. |
![]() | Naštartujte motor. |
![]() | Motor |
![]() | Pomocný hriadeľ je aktivovaný. |
![]() | Pomocný hriadeľ je deaktivovaný. |
![]() | Batéria |
![]() | Signalizuje zdvíhanie rezacích jednotiek. |
![]() | Signalizuje spúšťanie rezacích jednotiek. |
![]() | Aktívne |
![]() | Neaktívne |
![]() | Predchádzajúce |
![]() | Ďalšie |
![]() | Zvýšenie |
![]() | Zníženie |
![]() | Predchádzajúca obrazovka |
![]() | Ďalšia obrazovka |
![]() | Zvýšenie hodnoty |
![]() | Zníženie hodnoty |
![]() | Ponuka |
![]() | Posunutie nahor/nadol |
![]() | Posunutie doľava/doprava |
Ak chcete otvoriť hlavnú ponuku, na ľubovoľnej informačnej obrazovke stlačte tlačidlo Späť/ukončiť.
V nasledujúcich tabuľkách nájdete opis možností dostupných v ponukách:
| Položka ponuky | Opis |
| PORUCHY | Ponuka PORUCHY obsahuje zoznam posledných porúch stroja. Ďalšie informácie o ponuke PORUCHY nájdete v servisnej príručke alebo vám ich poskytne autorizovaný distribútor spoločnosti Toro. |
| SERVIS | Ponuka SERVIS obsahuje informácie o stroji, napríklad o hodinách používania, počítadlách a kalibrácii. Môžete tiež aktivovať postup ostrenia rezacej jednotky. Pozrite si tabuľku v časti Servis. |
| DIAGNOSTIKA | Ponuka DIAGNOSTIKA obsahuje zoznam rôznych aktuálnych stavov a údajov stroja. Tieto informácie môžete používať na riešenie určitých problémov, pretože v nej rýchlo zistíte, ktoré ovládacie prvky stroja sú zapnuté/vypnuté, a obsahuje zoznamy úrovní ovládania (napríklad hodnoty snímača). Pozrite si tabuľku v časti Diagnostika. |
| NASTAVENIA | Ponuka NASTAVENIA umožňuje upravovať nastavenia displeja informačného centra. Pozrite si tabuľku v časti Nastavenia. |
| NASTAVENIA STROJA | Ponuka NASTAVENIA STROJA umožňuje upravovať nastavenia stroja, napríklad otáčky kotúča, maximálnu rýchlosť kosenia a maximálnu prepravnú rýchlosť. Pozrite si tabuľku v časti Nastavenia stroja. |
| INFORMáCIE | Ponuka INFORMáCIE obsahuje číslo modelu, sériové číslo a verziu softvéru stroja. Pozrite si tabuľku v časti Informácie. |
AUTONóMNY REžIM![]() | V ponuke AUTONóMNEHO REžIMU sú uvedené nastavenia na testovanie autonómnej prevádzky stroja. |
| Položka ponuky | Opis |
| HOURS (Hodiny) | Obsahuje celkový počet hodín, počas ktorých boli kľúč, motor, kotúče a ostrenie zapnuté, ako aj ďalší naplánovaný servis. |
| COUNTS (Počet) | Obsahuje počet štartov, kosení, odpojení, ostrení a prípadov, keď sa motor štartoval dlhšie ako 30 sekúnd. |
| BACKLAP (Ostrenie) | Aktivuje/deaktivuje postup ostrenia rezacej jednotky (po aktivácii tohto postupu môžete režim deaktivovať využitím tohto nastavenia alebo prepnutím kľúča do polohy VYP.). |
CALIBRATION (Kalibrácia)![]() | Umožňuje kalibrovať systém riadenia, trakčný systém a mechanizmy zdvíhania. Ďalšie informácie o kalibrácii nájdete v servisnej príručke. |
| Položka ponuky | Opis |
| MOTOR | Uvádza vstupy a výstupy štartovania motora. |
| AKTIVáCIA 48 V | Uvádza vstupy a výstupy pre 48 V systém. |
| GENERáTOR | Uvádza vstupy a výstupy generátora. |
| TRAKCIA | Uvádza vstupy a výstupy pre pedál trakčného pohonu. |
| RIADENIE | Uvádza vstupy a výstupy systému riadenia. |
| ZDVIHNúť/SPUSTIť | Uvádza vstupy a výstupy zdvíhania a spúšťania rezacích jednotiek. |
| POMOCNý HRIADEľ | Uvádza vstupy a výstupy aktivácie okruhu vývodového hriadeľa. |
ŠTATISTIKA CAN![]() | Uvádza vstupy a výstupy pre CAN. |
| 12 V SYSTéM | Uvádza vstupy a výstupy pre 12 V systém. |
| AUTONóMNY REžIM | Uvádza vstupy a výstupy pre autonómny systém. |
| Položka ponuky | Opis |
| ZADANIE KóDU PIN | Umožňuje osobe (nadriadenému/mechanikovi), ktorú autorizovala vaša spoločnosť pridelením kódu PIN, prístup k chráneným ponukám. |
| PODSVIETENIE | Ovláda jas displeja LCD. |
| JAZYK | Ovláda jazyk používaný v informačnom centre. |
| VEľKOSť PíSMA | Ovláda veľkosť písma v informačnom centre. |
| JEDNOTKY | Ovláda jednotky používané v informačnom centre. V tejto ponuke sú na výber anglické alebo metrické jednotky. |
CHRáNIť NASTAVENIA ![]() | Ovláda chránené ponuky. |
OBNOVIť PREDVOLENé HODNOTY![]() | Obnoví predvolené nastavenia informačného centra. |
| Položka ponuky | Opis |
ČAS ODPOJENIA ![]() | Ovláda oneskorenie odpojenia. |
OTáčKY KOTúčA ![]() | Ovláda otáčky čepelí na rezacích jednotkách. |
RýCHLOSť SPúšťANIA![]() | Nastavuje rýchlosť spúšťania rezacích jednotiek na zem na kosenie. |
RýCHLOSť OSTRENIA![]() | Ovláda otáčky ostrenia. |
OVLáDANIE KOSENIA ![]() | Zapína alebo vypína funkciu automatického ovládania kosenia. |
POčET čEPELí ![]() | Nastavuje počet čepelí v každom kotúči. Toto nastavenie je potrebné len v prípade, ak je funkcia OVLáDANIE KOSENIA nastavená na možnosť ZAP. |
VýšKA KOSENIA![]() | Nastavuje požadovanú výšku kosenia. Toto nastavenie je potrebné len v prípade, ak je funkcia OVLáDANIE KOSENIA nastavená na možnosť ZAP. |
MAX. RýCHLOSť KOSENIA ![]() | Nastavuje maximálnu rýchlosť stroja pri kosení. |
MAX. RýCHLOSť PREPRAVY ![]() | Nastavuje maximálnu rýchlosť stroja pri preprave. |
MAX. RýCHLOSť CúVANIA ![]() | Nastavuje maximálnu rýchlosť stroja pri kosení smerom dozadu. |
SPOMALIť A ZABOčIť ![]() | Aktivuje alebo deaktivuje funkciu spomalenia a zabočenia. |
SúPRAVA 3WD ![]() | Aktivuje alebo deaktivuje pojazdnú súpravu s pohonom troch kolies. |
| Položka ponuky | Opis |
| MODEL | Uvádza číslo modelu stroja. |
| Sériové číslo | Uvádza sériové číslo stroja. |
| REVíZIA SOFTVéRU | Uvádza revíziu softvéru hlavného ovládacieho prvku. |
| S/W Rev ACS | Uvádza revíziu softvéru ACS. |
XDM-2700 ![]() | Uvádza revíziu softvéru informačného centra. |
REZACIA JEDNOTKA 1![]() | Uvádza revíziu softvéru motora strednej rezacej jednotky. |
REZACIA JEDNOTKA 2![]() | Uvádza revíziu softvéru motora prednej ľavej rezacej jednotky. |
REZACIA JEDNOTKA 3![]() | Uvádza revíziu softvéru motora prednej pravej rezacej jednotky. |
GENERáTOR![]() | Uvádza sériové číslo generátora. |
ZDVIHNúť SPUSTIť 1![]() | Uvádza číslo dielu softvéru a verziu revízie strednej rezacej jednotky. |
ZDVIHNúť SPUSTIť 2![]() | Uvádza číslo dielu softvéru a verziu revízie prednej ľavej rezacej jednotky. |
ZDVIHNúť SPUSTIť 3![]() | Uvádza číslo dielu softvéru a verziu revízie prednej pravej rezacej jednotky. |
TRAKčNý POHON1![]() | Uvádza číslo dielu softvéru a verziu revízie motora predného pravého trakčného pohonu. |
TRAKčNý POHON2![]() | Uvádza číslo dielu softvéru a verziu revízie motora predného ľavého trakčného pohonu. |
TRAKčNý POHON3![]() | Uvádza číslo dielu softvéru a verziu revízie pojazdnej súpravy s pohonom troch kolies (ak je súčasťou výbavy). |
RIADENIE![]() | Uvádza číslo dielu softvéru a verziu revízie motora zadného riadenia. |
| Položka ponuky | Opis |
| SIMULáCIA KOSENIA | Dodržiava sa autonómne správanie, ale rezacie jednotky sa neaktivujú. |
| PREPíSAť ACS – DOLNá HRANICA | Dodržiava sa autonómne správanie, avšak rezacie jednotky sa spustia len do výšky povolenej parametrom DOLNá HRANICA. |
| DOLNá HRANICA | Percentuálny podiel dolnej polohy, ktorú riadi ACS. Stačí nastaviť hodnotu 85, aby sa rezacie jednotky spustili, ale nedotkli sa zeme. |
Note:
Chránené
v chránených ponukách – dostupné
len po zadaní kódu PIN. Pozrite si časť Prístup k položke Chránené ponuky.
Note: Predvolený kód PIN stroja nastavený vo výrobe je buď 0000, alebo 1234.Ak zmeníte kód PIN a zabudnete ho, so žiadosťou o pomoc sa obráťte na autorizovaného distribútora spoločnosti Toro.
V časti HLAVNá PONUKA prejdite nadol na ponuku NASTAVENIA a stlačte tlačidlo výberu (Obrázok 20).

V ponuke NASTAVENIA prejdite na položku ZADANIE KóDU PIN a stlačte tlačidlo výberu (Obrázok 21A).

Ak chcete zadať kód PIN, stlačte navigačné tlačidlo nahor/nadol a podržte ho, kým sa nezobrazí správna prvá číslica. Potom stlačením pravého navigačného tlačidla prejdite na ďalšiu číslicu (Obrázok 21B a Obrázok 21C). Tento krok opakujte, kým nezadáte poslednú číslicu.
Stlačte tlačidlo výberu (Obrázok 21D).
Note: Ak displej prijme kód PIN a chránená
ponuka sa odblokuje, v pravom hornom rohu obrazovky sa zobrazí
skratka
.
Ak chcete zamknúť chránenú ponuku, otočte kľúčový spínač do polohy VYPNUTé a potom do polohy ZAPNUTé.
V ponuke NASTAVENIA prejdite na položku CHRáNIť NASTAVENIA.
Ak chcete zobraziť a zmeniť nastavenia
bez zadania kódu PIN, pomocou tlačidla výberu
zmeňte nastavenie položky CHRáNIť
NASTAVENIA na možnosť
(Vypnuté).
Ak chcete zobraziť a zmeniť nastavenia
zadaním kódu PIN, pomocou tlačidla výberu
zmeňte nastavenie položky CHRáNIť
NASTAVENIA na možnosť
(Zapnuté), nastavte
kód PIN a kľúč v zapaľovaní
otočte do polohy VYPNUTé a potom
do polohy ZAPNUTé.

Bliká načerveno – aktívna porucha
Svieti načerveno – aktívna rada
Svieti namodro – kalibrácia/dialógové správy
Svieti nazeleno – bežná prevádzka
LED diódy č. 1 svietia na modro a ak stroj nie je v manuálnom režime, môžu sa zobraziť nasledujúce správy. Počkajte alebo postupujte podľa pokynov na displeji, aby ste mohli stroj obsluhovať:
STROJ NIE JE PRIPRAVENý NA AUTONóMNU PREVáDZKU
SYSTéM ACS NIE JE PRIPRAVENý, POčKAJTE, PROSíM
PODRžTE TLAčIDLO AKTIVáCIA AUTONóMNEHO REžIMU PO DOBU 2 SEKúND
AUTONóMNY REžIM, OPUSTITE STROJ A POUžITE APLIKáCIU
Oznámenia pre operátora sa zobrazia automaticky na obrazovke informačného centra alebo v oznamovacej aplikácii, keď niektorá funkcia stroja vyžaduje dodatočný úkon. Ak sa napríklad pokúšate naštartovať motor so stlačeným pedálom trakčného pohonu, zobrazí sa rada, že pedál trakčného pohonu musí byť v polohe NEUTRAL (NEUTRáL).
Každá rada má svoj kód (písmeno a číslo), popis problému (prvý riadok správy, napr. autonómny režim zamietnutý, autonómny režim prerušený), príčinu (zobrazená príčina oznámenia) a riešenie (druhý riadok textu).
Note: Oznámenia sa nezaznamenávajú do denníka chýb.
Všetky oznámenia informačného centra nájdete v nasledujúcej tabuľke:
Note: Radu môžete z obrazovky displeja informačného centra vymazať stlačením ľubovoľného tlačidla.
| Kód | Problém | Príčina | Riešenie |
| B2900 | Autonómna prevádzka zamietnutá | Parkovacia brzda zatiahnutá | Uvoľnite parkovaciu brzdu |
| B2901 | Autonómna prevádzka zamietnutá | Nie je v polohe KOSENIE | Posuňte spínač ovládania funkcií do polohy KOSENIE |
| B2902 | Autonómna prevádzka zamietnutá | Operátor sa nachádza na sedadle | Opustite sedadlo operátora |
| B2903 | Autonómna prevádzka zamietnutá | Pedál trakčného pohonu je stlačený | Presuňte pedál trakčného pohonu do polohy NEUTRáL |
| B2904 | Autonómna prevádzka zamietnutá | Spínač joysticku je aktivovaný | Deaktivujte spínač joysticku |
| B2905 | Autonómna prevádzka zamietnutá | Volant sa hýbe | Prestaňte hýbať volantom |
| B2906 | Autonómna prevádzka zamietnutá | Stroj nie je pripravený | Počkajte alebo odstráňte poruchu |
| B2907 | Autonómna prevádzka zamietnutá | ACS nie je pripravený | Počkajte alebo odstráňte poruchu |
| B2908 | Autonómna prevádzka zamietnutá | Rôzne | Pozrite sa do kontrolnej aplikácie |
| B2910 | Automatická prevádzka prerušená | Operátor prerušil operáciu | Resetujte spínač autonómneho/manuálneho režimu |
| B2911 | Automatická prevádzka prerušená | Aktívna/e porucha/y | Je potrebný servis stroja. Odstráňte aktívne poruchy |
| B2912 | Automatická prevádzka prerušená | Detegovaná prítomnosť operátora | Resetujte spínač autonómneho/manuálneho režimu |
| B2913 | Automatická prevádzka prerušená | Detegovaný objekt | Resetujte spínač autonómneho/manuálneho režimu |
| B2914 | Automatická prevádzka prerušená | Rôzne | Pozrite sa do kontrolnej aplikácie |
| B2940 | Autonómna prevádzka obmedzená | Rôzne | Pozrite sa do kontrolnej aplikácie |
| B2950 | Autonómna prevádzka pozastavená | Rôzne | Pozrite sa do kontrolnej aplikácie |
Všetky oznámenia týkajúce sa kontrolnej aplikácie nájdete v nasledujúcej tabuľke:
| Kód | Problém | Príčina | Riešenie |
| B2908-1 | Autonómna prevádzka zamietnutá | Stroj sa nachádza mimo AOA | Presuňte stroj do AOA |
| B2908-2 | Autonómna prevádzka zamietnutá | Mapa nie je platná |
|
| B2914-1 | Autonómna prevádzka prerušená | Bol prekročený maximálny povolený svah |
|
| B2914-2 | Autonómna prevádzka prerušená | Stroj ukončil autonómnu prevádzku |
|
| B2914-3 | Autonómna prevádzka prerušená | IMU nefunguje správne. Prevádzka nie je možná |
|
| B2914-4 | Autonómna prevádzka prerušená | Bolo aktivované núdzové zastavenie | Uvoľnite tlačidlo núdzového zastavenia a obnovte autonómnu prevádzku |
| B2914-5 | Autonómna prevádzka prerušená | Spustil sa ľavý predný sonar |
|
| B2914-6 | Autonómna prevádzka prerušená | Spustil sa zadný ľavý sonar |
|
| B2914-7 | Autonómna prevádzka prerušená | Spustil sa zadný pravý sonar |
|
| B2914-8 | Autonómna prevádzka prerušená | Spustil sa pravý predný sonar |
|
| B2914-9 | Autonómna prevádzka prerušená | Bolo aktivované radarové pole v blízkosti |
|
| B2914-10 | Autonómna prevádzka prerušená | Spustil sa ľavý horný sonar |
|
| B2914-11 | Autonómna prevádzka prerušená | Spustil sa pravý horný sonar |
|
| B2914-12 | Autonómna prevádzka prerušená | Spínač autonómneho/manuálneho režimu je nastavený na manuálny režim |
Resetujte spínač autonómneho/manuálneho režimu |
| B2940-1 | Zhoršená výkonnosť autonómnej prevádzky | Prekážka v blízkosti stroja narúša jeho prevádzku |
|
| B2940-2 | Zhoršená výkonnosť autonómnej prevádzky | Teplota stroja je mimo prevádzkových limitov | Výkon môže byť znížený, ale stroj je plne funkčnýAk problém pretrváva, kontaktujte technickú podporu |
| B2940-3 | Zhoršená výkonnosť autonómnej prevádzky | Kolesá preklzávajú |
|
| B2940-4 | Zhoršená výkonnosť autonómnej prevádzky | Chyba IMU je mimo prevádzkových limitov | Výkon môže byť znížený, ale stroj je plne funkčnýAk problém pretrváva, kontaktujte technickú podporu |
| B2940-5 | Zhoršená výkonnosť autonómnej prevádzky | Vzdialenosť od základne je mimo prevádzkových limitov | Výkon môže byť znížený, ale stroj je plne funkčný |
| B2940-6 | Zhoršená výkonnosť autonómnej prevádzky | Pripojenie k mobilnej sieti nie je k dispozícii |
|
| B2940-7 | Zhoršená výkonnosť autonómnej prevádzky | Teplota LiDARu je mimo prevádzkových limitov |
|
| B2950-1 | Autonómna prevádzka pozastavená | Vzdialenosť od aktuálnej polohy k poslednej polohe stroja je mimo prevádzkových limitov |
|
| B2950-2 | Autonómna prevádzka pozastavená | Chyba navigácie |
|
| B2950-3 | Autonómna prevádzka pozastavená | Doba odozvy PC je mimo prevádzkových limitov | Výkon môže byť znížený, ale stroj je plne funkčnýAk problém pretrváva, kontaktujte technickú podporu |
| B2950-4 | Autonómna prevádzka pozastavená | Kvalita signálu základne je mimo prevádzkových limitov |
|
| B2950-5 | Autonómna prevádzka pozastavená | Nízka kvalita GNSS RTK |
|
| B2950-6 | Autonómna prevádzka pozastavená | Stroj je pripojený k inej základni, ako bola tá, ktorá sa používala pri mapovaní |
|
| B2950-7 | Autonómna prevádzka pozastavená | Presnosť polohy mimo prevádzkových limitov |
|
| B2950-8 | Autonómna prevádzka pozastavená | V subsystéme zdvíhania/spúšťania sa vyskytol problém |
|
| B2950-9 | Autonómna prevádzka pozastavená | Subsystém vývodového hriadeľa vykazuje problém |
|
| B2950-10 | Autonómna prevádzka pozastavená | V riadiacom podsystéme sa vyskytol problém |
|
| B2950-11 | Autonómna prevádzka pozastavená | V trakčnom subsystéme sa vyskytol problém |
|
| B2950-12 | Autonómna prevádzka pozastavená | Pri spracúvaní podrobností úlohy došlo k chybe |
|
| B2950-13 | Autonómna prevádzka pozastavená | Náročná počiatočná pozícia |
Presuňte stroj do otvorenej oblasti, aby sa urýchlila prevádzka |
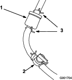
Pred prácou na stroji alebo montážou či demontážou rezacích jednotiek alebo prácou s nimi odpojte zdroj napájania stroja tak, že oddelíte konektory hlavného napájania (Obrázok 23), ktoré sa nachádzajú na základni priečneho stabilizátora na ľavej strane trakčnej jednotky. Pred prevádzkou stroja zapojte konektory.

Ak neodpojíte napájanie stroja, niekto môže stroj náhodne zapnúť, čo môže spôsobiť vážne zranenie osôb.
Pred prácou na stroji vždy rozpojte konektory.
Informácie o rozmeroch a hmotnosti nájdete na Obrázok 25 a v časti Tabuľka špecifikácií.
Note: Špecifikácie a dizajn sa môžu zmeniť bez predchádzajúceho upozornenia.

| Šírka kosenia | 151 cm |
| Rozchod kolies | 134 cm |
| Rázvor kolies | 127 cm |
| Celková dĺžka | 239 cm |
| Celková šírka | 185 cm |
| Celková výška | 211 cm |
| Hmotnosť* | 841 kg |
| * Trakčná jednotka vybavená 8-čepeľovými rezacími jednotkami, bez paliva, bez operátora a so štandardným sedadlom. | |
K dispozícii je celý rad schválených nadstavcov a príslušenstva značky Toro na použitie so strojom pre posilnenie a rozšírenie jeho možností. Ak chcete získať zoznam všetkých schválených nadstavcov a príslušenstva, obráťte sa na autorizovaného servisného predajcu alebo autorizovaného distribútora spoločnosti Toro, prípadne navštívte lokalitu www.Toro.com.
Ak chcete zaručiť optimálny výkon a zachovať platnosť bezpečnostnej certifikácie stroja, používajte len originálne náhradné diely a príslušenstvo značky Toro. Náhradné diely a príslušenstvo od iných výrobcov by mohlo byť nebezpečné a pri jeho použití by mohla skončiť platnosť záruky na produkt.
Prevádzkovateľ je zodpovedný za kontrolu strojov pred použitím, aby sa zaistilo, že sú pripravené na spoľahlivú prevádzku. Kontroly zahŕňajú okrem iného nasledovné kroky:
Pred každodenným nasadením skontrolujte, či senzory správne fungujú, či sú zbavené prachu a nečistôt a či sú nasmerované správnym smerom.
Pred každodenným nasadením strojov vykonajte každodenné kontroly bežnej dennej prevádzky podľa potreby. Potvrdenie je v aplikácii.
Stroj nebude fungovať autonómne, kým prevádzkovateľ neprijme podmienky uvedené v dohode o používaní kontrolnej aplikácie.
Vykonajte všetky ďalšie údržbárske práce alebo kontroly prevádzkovej pripravenosti podľa pokynov uvedených v školení alebo v návode na obsluhu príslušných strojov.
Mobilné zariadenie pripojené k stroju prostredníctvom aplikácie pre autonómne ovládanie majte vždy pri sebe.
Prevádzkovateľ je zodpovedný za to, aby boli pred spustením autonómnej prevádzky zmapované všetky riziká. Prevádzkové zóny musia spĺňať požiadavky uvedené v Požiadavky na mapovanie.
Prevádzkovateľ je zodpovedný za spustenie autonómnej prevádzky strojov z prípravnej zóny v rámci oblasti autonómnej prevádzky. Stroj musí kvalifikovaný operátor v manuálnom režime prepraviť do tejto prekládkovej zóny a späť do skladu.
Pred spustením stroja a počas jeho prevádzky je prevádzkovateľ zodpovedný za kontrolu prevádzkových priestorov (vrátane okrem iného priestoru pre autonómnu prevádzku), súvislej kosenej plochy a tranzitných trás s cieľom zistiť a odstrániť nebezpečenstvá, medzi ktoré patria okrem iného:
Predmety v pracovnej zóne, ako sú palice, kamene, nečistoty, golfové vybavenie, vysunuté zavlažovacie zariadenia a akékoľvek iné predmety, ktoré nie sú určené na rezanie čepeľami alebo iné kosenie
Okolostojaci a deti
Miesta, kde sa nesmie kosiť, napríklad miesta, na ktorých prebieha rekonštrukcia, stojatá voda, poškodený trávnik atď.
Kvalifikovaný operátor môže byť nútený kosiť so strojom v manuálnom režime, ak je autonómna prevádzka stroja obmedzená okrem iného nasledujúcimi faktormi:
Nedostatočný bezdrôtový signál (napr. mobilný signál, pripojenie GNSS atď.)
Nedostatočná presnosť GNSS a/alebo RTK korekcie
Obmedzenie prevádzkovej zóny pre stroje na základe posúdenia staveniska a v súlade s ním
Oblasť príliš blízko hranice AOA alebo nehybných prekážok
Pred nasadením kosačky do autonómnej prevádzky musia platiť nasledujúce podmienky:
Kvalifikácia prevádzkovateľa
Som vyškolený a spoločnosťou Toro certifikovaný prevádzkovateľ pre autonómne kosačky.
Fungovanie stroja
Za posledných 12 hodín som skontroloval, či sú všetky senzory na detekciu objektov bezpečne upevnené na stroji, či správne fungujú a či sú nasmerované správnym smerom.
Note: Ak chcete skontrolovať, či senzory fungujú správne, prečítajte si a vykonajte kroky uvedené v Overovanie systému detekcie objektov.
Uistite sa, či je stroj zapnutý.
Uistite sa, že kontrolná aplikácia je pripojená k stroju.
Prejdite na stránku DIAGNOSTIKA.
Rozbaľte zoznam Senzory.
Prejdite okolo stroja a skontrolujte, či všetky kontrolky svietia na červeno. Predné a horné senzory ignorujte, pretože slúžia na detekciu spádov.
Overil som, že rezacie kotúče sú v dobrom prevádzkovom stave a nie sú zanesené nečistotami ani upchaté. Pozri Údržba rezacej jednotky.
Predbežná obhliadka staveniska
Preveril som všetky fairwaye, ktoré sa majú kosiť automaticky, a týmto potvrdzujem nasledujúce:
V prevádzkovej zóne sa nenachádzajú žiadne predmety, ktoré by mohli narušiť prevádzku stroja alebo ktoré by stroj mohol vyhodiť.
Stojatá voda, konáre stromov, predmety, ktoré nepatria na trávnik, jamy alebo vymyté miesta atď. boli buď opravené, alebo odstránené.
Všetky zavlažovacie hlavice sú úplne zasunuté do zeme.
Z oblasti autonómnej prevádzky boli odstránené všetky predpokladané prekážky, vrátane hrablí na výsypy, značiek ihriska, značiek, lanových ohrád, pohyblivých značiek pre vozíky, stĺpikov a kolíkov.
Okolostojace osoby a deti sa nachádzajú mimo oblasti autonómnej prevádzky.
Hneď po spustení stroja
Overím, či všetky zvukové a vizuálne výstražné signály na stroji fungujú správne:
Predtým, ako sa stroj pohne, zaznie na 2 sekundy varovný zvukový signál.
Počas jazdy v autonómnom režime budú oranžové svetlá vpredu a vzadu na stroji nepretržite blikať. Kontrolka autonómneho režimu bude svietiť na zeleno.
Ak stroj nebude fungovať správne, okamžite ho zastavím a odstránim problém(y) pred obnovením prevádzky.
Ak máte akékoľvek otázky alebo pochybnosti týkajúce sa niektorej z položiek v tomto zozname, prečítajte si používateľskú príručku.
Objem palivovej nádrže: 18,5 l
Odporúčané palivo: bezolovnatý benzín s oktánovým číslom 87 alebo vyšším (použitím metódy klasifikácie (R+M)/2).
Etanol: benzín s obsahom až 10 % etanolu alebo 15 % MTBE (metyltercbutyléter) je prijateľný. Etanol a MTBE nie sú rovnaké látky. Benzín s 15 % etanolu (E15) nie je schválený na používanie.
Nikdy nepoužívajte benzín, ktorý obsahuje viac ako 10 % etanolu, napríklad E15 (obsahuje 15 % etanolu), E20 (obsahuje 20 % etanolu) alebo E85 (obsahuje až 85 % etanolu).
Nepoužívajte palivo s obsahom metanolu.
V zimnom období neuskladňujte palivo v palivovej nádrži ani v palivových kanistroch bez použitia palivového stabilizátora.
Do benzínu nepridávajte olej.
Najlepšie výsledky dosiahnete, ak budete používať len čisté a čerstvé palivo (nie staršie ako 30 dní).
Používanie neschváleného benzínu môže spôsobiť problémy s výkonom alebo poškodenie motora, na ktoré sa nemusí vzťahovať záruka.
Important: Nepoužívajte iné aditíva paliva ako stabilizátor/kondicionér paliva. Nepoužívajte stabilizátory paliva na báze alkoholu, ako je napríklad etanol, metanol alebo izopropanol.
Zatiahnite parkovaciu brzdu, vypnite motor, vyberte kľúč a počkajte, kým sa všetky časti neprestanú pohybovať.
Vyčistite priestor okolo uzáveru palivovej nádrže a zložte ho (Obrázok 26).

Špecifikované palivo do palivovej nádrže doplňte po hladinu 25 mm pod spodnou časťou plniaceho otvoru. Tento priestor v nádrži dovoľuje rozťahovanie paliva.
Important: Nenapĺňajte palivovú nádrž úplne doplna.
Nasaďte uzáver.
Note: Po zaistení uzáveru budete počuť kliknutie.
Poutierajte všetko rozliate palivo.
Informačné centrum využíva na identifikáciu jednotlivých rezacích jednotiek číslice 1, 2 a 3 (napríklad REZACIA JEDNOTKA1, REZACIA JEDNOTKA2 a REZACIA JEDNOTKA3 v ponuke INFORMáCIE).
1 označuje strednú rezaciu jednotku (Obrázok 27)
2 označuje prednú ľavú rezaciu jednotku (Obrázok 27)
3 označuje prednú pravú rezaciu jednotku (Obrázok 27)

Informačné centrum môžete použiť na úpravu nasledujúcich nastavení stroja:
Oneskorenie odpojenia. Pozrite si časť Úprava oneskorenia odpojenia.
Otáčky kotúča pri kosení. Pozrite si časť Nastavenie otáčok kotúča pri kosení.
Otáčky kotúča pri ostrení rezacích jednotiek. Pozrite si časť Nastavenie otáčok kotúča pri ostrení.
Ovládanie kosenia. Pozrite si časť Nastavenie funkcie ovládania kosenia.
Výška kosenia. Pozrite si časť Nastavenie výšky kosenia.
Počet čepelí rezacích jednotiek. Pozrite si časť Nastavenie počtu čepelí rezacích jednotiek.
Maximálna rýchlosť pri kosení. Pozrite si časť Nastavenie maximálnej rýchlosti pri kosení.
Rýchlosť spúšťania rezacích jednotiek. Pozrite si časť Nastavenie rýchlosti spúšťania rezacích jednotiek.
Maximálna prepravná rýchlosť. Pozrite si časť Nastavenie maximálnej rýchlosti pri preprave.
Maximálna rýchlosť pri cúvaní. Pozrite si časť Nastavenie maximálnej rýchlosti pri cúvaní.
Spomalenie a zabočenie. Pozrite si časť Nastavenie funkcie spomalenia a zabočenia.
Deaktivácia namontovanej pojazdnej súpravy s pohonom troch kolies. Pozrite si časť Deaktivácia namontovanej pojazdnej súpravy s pohonom troch kolies.
Note: Každé nastavenie je chránené prístupovým kódom. Pred úpravou nastavení možno budete musieť zadať prístupový kód.
Prejdite na položku ČAS ODPOJENIA a upravte oneskorenie odpojenia. Funkcia oneskorenia odpojenia umožňuje vypnúť rezacie jednotky bez zdvihnutia. Nastavenie oneskorenia predstavuje maximálny čas, za ktorý zostane joystick na zdvíhanie/spúšťanie v zadnej polohe, aby sa aktivovala táto funkcia.
V nasledujúcej tabuľke nájdete možnosti času oneskorenia a príslušné intervaly:
| Interval | Čas oneskorenia (v sekundách) |
| 1 | Vyp. |
| 2 | 0,050 |
| 3 | 0,100 |
| 4 | 0,150 |
| 5 | 0,200 |
| 6 | 0,250 |
| 7 | 0,300 |
| 8 | 0,350 |
| 9 | 0,400 |
| 10 | 0,450 |
Note: Predvolené výrobné nastavenie je 1, čo túto funkciu deaktivuje.
Prejdite na položku OTáčKY KOTúčA a upravte otáčky kotúča počas kosenia. Toto nastavenie možno upraviť, keď je ovládanie kosenia nastavené na možnosť VYP. Pozrite si časť Nastavenie funkcie ovládania kosenia.
V nasledujúcej tabuľke nájdete možnosti otáčok kotúča a príslušné intervaly:
| Interval | Otáčky kotúča (ot./min.) |
| 1 | 800 |
| 2 | 950 |
| 3 | 1100 |
| 4 | 1250 |
| 5 | 1400 |
| 6 | 1550 |
| 7 | 1700 |
| 8 | 1850 |
| 9 | 2000 |
Note: Predvolené výrobné nastavenie je 1550 ot./min. (číslo intervalu 6).
Prejdite na položku RýCHLOSť SPúšťANIA a nastavte rýchlosť, akou sa rezacie jednotky počas kosenia spúšťajú na zem. Prepínať môžete medzi možnosťami 1 (najnižšia rýchlosť) a 9 (najvyššia rýchlosť).
Pred kosením rýchlosť spúšťania otestujte. Rýchlosť podľa potreby upravte.
Note: Predvolené výrobné nastavenie je 5.
Prejdite na položku OTáčKY OSTRENIA ZA MINúTU a upravte otáčky kotúča počas ostrenia.
V nasledujúcej tabuľke nájdete možnosti otáčok kotúča a príslušné intervaly:
| Interval | Otáčky kotúča (ot./min.) |
| 1 | 200 |
| 2 | 240 |
| 3 | 280 |
| 4 | 320 |
| 5 | 360 |
| 6 | 400 |
| 7 | 440 |
| 8 | 480 |
| 9 | 520 |
Note: Predvolené výrobné nastavenie je 200 ot./min. (číslo intervalu 1).
Stroj je vybavený systémom Radius Dependent Speed™ (RDS), ktorý čaká na schválenie patentu, aby sa dosahovala konzistentne vysoká kvalita kosenia a jednotný výsledok. Systém RDS ovláda kosenie a nezávislé otáčanie kolies, ktoré sa líši v závislosti od otáčok každého motora kotúča a každého motora trakčného pohonu, aby sa dosahovalo konštantné kosenie a eliminovalo sa odieranie trávnika pri otáčaní počas kosenia.
Keď stroj počas kosenia zatáča (napríklad počas čistiaceho prechodu), kotúč na vnútornej strane sa otáča pomalšie ako kotúč na vonkajšej strane zatáčania. Stredný kotúč vyrovnáva rozdiel medzi rýchlosťou vnútorného a vonkajšieho kotúča, aby všetky tri rezacie jednotky kosili rovnako. Čím je zatáčanie ostrejšie, tým väčší je rozdiel v rýchlosti kotúčov. Ak stroj ešte aj počas kosenia mení rýchlosť, systém RDS upravuje rýchlosť kotúčov tak, aby sa dosahovalo konštantné kosenie. Táto funkcia eliminuje rednutie trávnika na strane vnútorného kotúča (v porovnaní s ostatnými pojazdnými kosačkami na fairway), čo doslova eliminuje nezačistené okraje.
Systém RDS tiež upravuje otáčky každého motora kolies počas zatáčania, podobne ako sa menia otáčky motora kotúča pri zatáčaní. Motor vnútorného kolesa bude mať nižšie otáčky za minútu ako motor vonkajšieho kolesa. Minimalizuje sa tým odieranie kolies pri zatáčaní a môžu sa eliminovať nezačistené okraje.
Prejdite na položku OVLáDANIE KOSENIA a nastavte funkciu systému RDS.
Ovládanie kosenia nastavené na možnosť ZAP.: stroj využíva nastavenia možností VýšKA KOSENIA a POčET čEPELí a otáčky ľavého a pravého kolesa na určenie otáčok každého kotúča.
Ovládanie kosenia nastavené na možnosť VYP.: stroj využíva vaše nastavenie možnosti OTáčKY KOTúčA.
Note: Predvolené výrobné nastavenie je ZAP.
Prejdite na položku VýšKA KOSENIA a nastavte výšku kosenia. Ak chcete používať túto funkciu, funkcia ovládania kosenia musí byť nastavená na možnosť ZAP. Pozrite si časť Nastavenie funkcie ovládania kosenia.
Note: Predvolené výrobné nastavenie je 12,7 mm.
Prejdite na položku POčET čEPELí a nastavte počet čepelí rezacích jednotiek. Určte počet čepelí vo vašich namontovaných rezacích jednotkách a vyberte príslušnú hodnotu (5, 8, 11 alebo 14).
Note: Predvolené výrobné nastavenie je 8.
Prejdite na položku MAX. RýCHLOSť KOSENIA a nastavte maximálnu rýchlosť pri kosení. Rýchlosť môžete nastaviť od 4,8 km/h do 8,0 km/h v intervale 0,3 km/h.
Note: Predvolené výrobné nastavenie je 6,1 km/h.
Prejdite na položku MAX. RýCHLOSť PREPRAVY a nastavte maximálnu rýchlosť pri preprave. Rýchlosť môžete nastaviť od 8,0 km/h do 16,0 km/h v intervale 0,8 km/h.
Note: Predvolené výrobné nastavenie je 16,0 km/h.
Prejdite na položku MAX. RýCHLOSť CúVANIA a nastavte maximálnu rýchlosť pri cúvaní. Rýchlosť môžete nastaviť od 3,2 km/h do 8,0 km/h v intervale 0,8 km/h.
Note: Predvolené výrobné nastavenie je 4,0 km/h.
Note: Pre verzie softvéru stroja A až D je maximálna rýchlosť 4,8 km/h. Aktualizujte softvér stroja, aby ste mohli nastaviť maximálnu rýchlosť na 8,0 km/h.
Prejdite na položku SPOMALIť A ZABOčIť a nastavte funkciu spomalenia a zabočenia. Funkcia spomalenia a zabočenia znižuje rýchlosť stroja pri zatáčaní stroja na ďalší prechod na greene.
Note: Predvolené výrobné nastavenie je VYP.
Prejdite na položku SúPRAVA 3WD a deaktivujte namontovanú pojazdnú súpravu s pohonom troch kolies.
Note: Po namontovaní pojazdnej súpravy s pohonom troch kolies je súprava automaticky aktivovaná.
Pri kalibrácii stroja sa v informačnom centre zobrazujú správy v dialógových oknách. Tieto správy vás sprevádzajú procesom kalibrácie.
V nasledujúcej tabuľke nájdete zoznam všetkých správ v dialógových oknách:
| Číslo správy | Text správy v informačnom centre |
| 1 | Vráťte pedál do neutrálu |
| 4 | Presuňte pedál do polohy maximálnej rýchlosti jazdy dopredu a podržte ho |
| 5 | Úspešná kalibrácia maximálnej rýchlosti jazdy dopredu |
| 9 | Kalibrácia polohy maximálnej rýchlosti jazdy dopredu zlyhala. Napätie je mimo špecifikácie. |
| 13 | Presuňte pedál do polohy maximálnej rýchlosti cúvania a podržte ho |
| 14 | Úspešná kalibrácia maximálnej rýchlosti cúvania |
| 16 | Kalibrácia polohy maximálnej rýchlosti cúvania zlyhala. Napätie je mimo špecifikácie. |
| 17 | Kalibrácia zlyhala. Neznáma poloha pedála. |
| 18 | Vráťte pedál do neutrálu. Pokračovať? |
| 100 | Aktivovaná kalibrácia |
| 101 | Dokončená kalibrácia |
| 102 | Otočte kľúčový spínač |
| 110 | Zakážte kalibráciu. Komponent nereaguje. |
| 111 | Zakážte kalibráciu. Komponent nie je pripravený. |
| 112 | Zakážte kalibráciu. Aktívna porucha. |
| 113 | Zakážte kalibráciu. Operátor nesedí na sedadle. |
| 114 | Zakážte kalibráciu. Nie je v neutrále. |
| 115 | Zakážte kalibráciu. V neutrále. |
| 116 | Zakážte kalibráciu. Zatiahnutá parkovacia brzda. |
| 300 | Vráťte pedál do neutrálu |
| 301 | Vyrovnajte volant. Pokračovať? |
| 302 | Manuálne vyrovnajte zadné koleso. Pokračovať? |
| 303 | Zadné koleso otočte úplne doľava. Pokračovať? |
| 304 | Zadné koleso otočte úplne doprava. Pokračovať? |
| 305 | Stred zadného kolesa je mimo rozsahu |
| 306 | Uhol zadného kolesa je mimo rozsahu |
| 400 | Varovanie: Stroj musí byť na zdvihákoch. Pokračovať? |
| 401 | Zakážte kalibráciu. Otvorené relé. |
| 402 | Zakážte kalibráciu. Pedál v neutrále. |
| 403 | Vráťte pedál do neutrálu |
| 404 | Počkajte na zastavenie kolies |
| 405 | Presuňte pedál do polohy maximálnej rýchlosti jazdy dopredu a podržte ho |
| 406 | Aktívna kalibrácia. Podržte pedál. |
| 500 | Aktívne vysunutie zdvíhania/spúšťania |
| 501 | Aktívne stiahnutie zdvíhania/spúšťania |
| 502 | Posuňte joystick do polohy spúšťania |
| 503 | Posuňte joystick do polohy zdvíhania |
| 504 | Je namontovaná rezacia jednotka? Pokračovať? |
| 1100 | Aktivované diagnostické správy trakčného pohonu |
| 1101 | Aktivované diagnostické správy riadenia |
| 1102 | Aktivované bezpečnostné diagnostické správy |
| Servisný interval | Postup pri údržbe |
|---|---|
| Pri každom použití alebo denne |
|
Každý deň pred naštartovaním stroja vykonajte nasledujúce postupy:
Skontrolujte hladinu motorového oleja. Pozrite si časť Kontrola motorového oleja.
Skontrolujte kontakt kotúča a noža plošiny. Pozrite si časť Kontrola kontaktu kotúča a noža plošiny.
Skontrolujte tlak v pneumatikách. Pozrite si časť Kontrola tlaku v pneumatikách.
Skontrolujte bezpečnostný ochranný systém. Pozrite si časť Oboznámenie sa s bezpečnostným ochranným systémom.
Skontrolujte hladinu paliva a v prípade potreby ho doplňte. Pozrite si časť Plnenie palivovej nádrže.
Aktivovaním parkovacej brzdy skontrolujte funkciu parkovacej brzdy a uistite sa, či sa aktivuje. Pozrite si časť Parkovacia brzda.
Skontrolujte a vyčistite snímače (podľa potreby). Pozri Kontrola senzorov a držiakov senzorovČistenie senzorov.
Informácie o výmene oleja a postupoch údržby odporúčaných počas zábehu nájdete v používateľskej príručke k motoru dodanej so strojom.
Zábeh vyžaduje len 8 hodín prevádzky.
Keďže prvé hodiny prevádzky sú kritické pre budúcu spoľahlivosť stroja, dôsledne monitorujte jeho funkcie a výkon, aby ste si všimli aj drobné nedostatky a napravili ich, aby neviedli k závažným problémom. Stroj počas zábehu pravidelne kontrolujte, či z neho neuniká olej, nie sú uvoľnené príchytky alebo či nedošlo k inej poruche.
Note: Skontrolujte oblasti pod rezacími jednotkami a zaistite tak, že sa na nich nenachádzajú žiadne nečistoty.
Zasuňte kľúč a otočte ho do polohy ZAP.
Počkajte, kým sa v informačnom centre nezobrazí úvodná obrazovka, potom kľúč posuňte do polohy ŠTART a podržte ho v nej, kým motor nenaštartuje.
Po naštartovaní motora zložte ruku z kľúča. Kľúč sa automaticky posunie do polohy ZAP.
Note: Ak sa motor štartuje dlhšie ako 30 sekúnd, dôjde k poruche.
Sadnite si na sedadlo operátora a zapnite si bezpečnostný pás.
Posuňte prepínač na ovládanie funkcií do polohy KOSENIE.
Uvoľnite parkovaciu brzdu.
Joystick na zdvíhanie/spúšťanie dočasne posuňte dopredu.
Rezacie jednotky by sa mali spustiť a všetky kotúče by sa mali otáčať.
Joystick na zdvíhanie/spúšťanie posuňte dozadu.
Rezacie kotúče by sa mali prestať otáčať a rezacie jednotky by sa mali zdvihnúť úplne do prepravnej polohy.
Stroj presuňte na rovný povrch.
Posuňte prepínač na ovládanie funkcií do polohy NEUTRáL.
Zatiahnite parkovaciu brzdu.
Otočením kľúča do polohy VYP. vypnete motor.
Vytiahnite kľúč.
| Servisný interval | Postup pri údržbe |
|---|---|
| Pri každom použití alebo denne |
|
Ak sú bezpečnostné ochranné spínače odpojené alebo poškodené, stroj by sa mohol neočakávane naštartovať a spôsobiť zranenie osôb.
Nemanipulujte s ochrannými spínačmi.
Denne kontrolujte prevádzku ochranných spínačov a pred prevádzkou stroja vymeňte všetky poškodené spínače.
Účel bezpečnostného ochranného systému je zabrániť prevádzke stroja, keď hrozí reálne riziko zranenia osôb alebo poškodenia stroja.
Bezpečnostný ochranný systém bráni pohybu stroja, kým nie sú splnené tieto podmienky:
Parkovacia brzda je uvoľnená.
Sedíte na sedadle operátora (pokiaľ stroj nepracuje v autonómnom režime).
Prepínač na ovládanie funkcií je v polohe KOSENIE alebo PREPRAVA.
Bezpečnostný ochranný systém navyše zabraňuje prevádzke kotúčov, kým nie je prepínač na ovládanie funkcií v polohe KOSENIE (s výnimkou prípadu, keď je stroj v režime ostrenia).
Zapnite manuálny režim a vykonajte nasledujúce kroky na kontrolu systému blokovania:
Vstaňte zo sedadla, naštartujte motor, uvoľnite parkovaciu brzdu, posuňte prepínač na ovládanie funkcií do polohy KOSENIE alebo PREPRAVA a stlačte pedál trakčného pohonu.
Stroj by sa nemal hýbať, pretože nesedíte. Signalizuje to, že ochranný systém funguje správne. Ak nefunguje správne, opravte problém.
Sadnite si na sedadlo, naštartujte motor, zatiahnite parkovaciu brzdu, posuňte prepínač na ovládanie funkcií do polohy KOSENIE alebo PREPRAVA a stlačte pedál trakčného pohonu.
Stroj by sa nemal hýbať, pretože je zatiahnutá parkovacia brzda. Signalizuje to, že ochranný systém funguje správne. Ak nefunguje správne, opravte problém.
Sadnite si na sedadlo, naštartujte motor, uvoľnite parkovaciu brzdu, posuňte prepínač na ovládanie funkcií do polohy NEUTRáL a stlačte pedál trakčného pohonu.
Stroj by sa nemal hýbať, pretože prepínač na ovládanie funkcií je v polohe NEUTRáL. Signalizuje to, že ochranný systém funguje správne. Ak nefunguje správne, opravte problém.
Sadnite si na sedadlo, stlačte pedál trakčného pohonu do polohy NEUTRáL, posuňte prepínač na ovládanie funkcií do polohy NEUTRáL, zatiahnite parkovaciu brzdu, naštartujte motor a posuňte joystick na zdvíhanie/spúšťanie dopredu, aby sa spustili rezacie jednotky.
Rezacie jednotky by sa mali spustiť, no nemali by sa začať otáčať. Ak sa začnú otáčať, ochranný systém nefunguje správne. Tento problém opravte ešte pred prevádzkou stroja.
Uistite sa, že sú rezacie jednotky úplne zdvihnuté.
Sadnite si na sedadlo, uvoľnite parkovaciu brzdu, posuňte prepínač na ovládanie funkcií do polohy PREPRAVA a jazdite so strojom bez kosenia.
Do náročných oblastí vždy jazdite nižšou rýchlosťou a opatrne zdolávajte nerovnosti terénu.
Oboznámte sa so šírkou stroja. Nepokúšajte sa prechádzať medzi objektmi, ktoré sú blízko pri sebe, aby ste predišli nákladnému poškodeniu a prestoju.
Pripojenie k stroju prostredníctvom kontrolnej aplikácie Geolink® Mow vám umožňuje programovať, monitorovať a ovládať stroj na diaľku.
Do adresy URL zadajte sériové číslo vášho stroja, aby ste sa k nemu pripojili.
Formát URL adresy je tacs
Prihláste sa do kontrolnej aplikácie GeoLink® Mow pomocou svojich prihlasovacích údajov do služby myTurf®.
Note: Ak sa nemôžete pripojiť k stroju, skontrolujte, či bol stroj pridaný do inventára vášho klubu ako prostriedok. Pozri príručku k softvéru myTurf®.
Note: Prehľad funkcií mapovania nájdete v Vysvetlenie ponuky Mapa.
Hranica AOA by sa nemala mapovať pod stromami ani inými prekážkami, pretože by to mohlo narušiť komunikáciu GNSS so strojom (Obrázok 29).

Zóny AOA a CMA musia byť mapované v smere hodinových ručičiek. V prípade jám a NOAsa mapuje proti smeru hodinových ručičiek.
Pri mapovaní hraníc zón AOA alebo CMA začnite a ukončite hranicu na priamke.
Pred spustením akéhokoľvek mapovacieho procesu sa uistite, že stroj má silný signál GNSS. Pozri stavové pole Presnosť na stránke MAPA alebo v Ponuka Diagnostika.
Počas mapovania alebo tesne pred ním by sa stroj nemal prevádzkovať v spiatočke. Pred začatím mapovania si starostlivo naplánujte trasu.
| Bod k bodu | Minimálna vzdialenosť |
| Vzdialenosť medzi CMA a AOA alebo NOA | 1,5 m |
| Šírka CMA | 4,5 m |
Note: Pre dosiahnutie najlepšieho výkonu sa odporúča, aby vzdialenosť medzi AOA a CMA bola 5 m, pretože stroj tak získa dostatok priestoru na efektívne otáčanie, čím sa úlohy dokončia rýchlejšie.

Postupujte podľa nasledujúcich krokov a vytvorte trasu pre autonómne kosenie:
Zmapujte autonómnu prevádzkovú zónu (AOA). Pozri Mapovanie autonómnej prevádzkovej zóny.
Zmapujte súvislú kosenú plochu (CMA). Pozri Zmapovanie súvislej kosenej plochy.
Zaznačte neprevádzkové zóny (NOA, jamy a stĺpy). Pozri Mapovanie neprevádzkových zón a Vytváranie kolíkov.
Zmapujte tranzitné trasy . Pozri Mapovanie tranzitnej trasy.
Vytvorte miesta vyzdvihnutia. Pozri Vytváranie miest vyzdvihnutia.
Predtým, ako začnete kosačku používať v autonómnom režime, musíte pomocou mapovania naprogramovať hranice autonómnej prevádzkovej zóny (AOA).
Important: Pred vytvorením mapy si prezrite priestory a zaznamenajte si všetky prekážky, aby sa v autonómnej prevádzkovej zóne nenachádzali žiadne prekážky ani aby sa stroj nenachádzal príliš blízko prekážok. V autonómnej prevádzkovej zóne sa nesmú nachádzať žiadne prekážky, ktoré by stroj nedokázal detegovať, ktoré by mohli stroj poškodiť alebo ktoré by mohli predstavovať bezpečnostné riziko.Prevádzkovateľ má za úlohu zabezpečiť, aby boli všetky predmety alebo prekážky mimo autonómnej prevádzkovej zóny riadne zmapované. Pozri Mapovanie neprevádzkových zón a Vytváranie kolíkov.Ak sa medzi strojom a niektorým z nebezpečenstiev uvedených v Bezpečnostné kritériá autonómnej prevádzkovej zóny nachádza prekážka (napr. pevná stena alebo neprechodný terén), uistite sa, že hranica zóny AOA je nastavená najmenej 2 m od prekážky.
Note: Odporúča sa určiť jeden z vašich strojov ako hlavný stroj pre mapovanie celého chodu. To by bol jediný stroj vo vašom vozovom parku, ktorý vytvára nové zmapované oblasti alebo upravuje existujúce zmapované oblasti. Ostatné stroje vo vozovom parku by využívali súbor s mapami vytvorený hlavným mapovacím strojom.Je povinnosťou prevádzkovateľa zabezpečiť, aby bol na každý stroj vo vozovom parku nainštalovaný správny súbor s mapami.
Pripojte sa k stroju pomocou kontrolnej aplikácie GeoLink® Mow.
Na úvodnej obrazovke stlačte tlačidlo ponuky v pravom hornom rohu a vyberte možnosť MAPA.
Prejdite so strojom na miesto, kde chcete začať mapovať AOA.
Note: Venujte pozornosť farbe stavových polí v pravom dolnom rohu obrazovky: Presnosť a Voľný priestor. Ak je farba červená, znamená to, že stroj má nízku presnosť lokalizácie alebo deteguje objekt v blízkosti. Stroj nemôže v tejto oblasti mapovať, preto ho premiestnite na iné východiskové miesto a skúste to znova.
Note: Odporúča sa začať s mapovaním AOA v oblasti s rozpoznateľnými orientačnými bodmi, ako sú napríklad zavlažovacie vlajky alebo iné terénne prvky.
V bočnom paneli vyberte položku AOA alebo kliknite na rozbaľovacie červené tlačidlo a následne vyberte položku Obvod.
Za orientačný bod si vezmite predný ľavý roh ľavej rezacej jednotky, najskôr stroj presúvajte po priamke a potom zmapujte obvod AOA v smere hodinových ručičiek.
Pri mapovaní venujte pozornosť farebným stavovým poliam v pravom dolnom rohu obrazovky: Rýchlosť, Presnosťa Voľný priestor. Ak je farba žltá alebo červená, znamená to, že sa stroj pohybuje príliš rýchlo, má nízku presnosť lokalizácie alebo deteguje objekt v blízkosti. Znížte rýchlosť stroja, zastavte a počkajte, alebo sa presuňte na iné miesto a skúste mapovanie znova.
Zelená farba znamená, že stroj spĺňa ideálne parametre mapovania.
Žltá farba znamená, že stroj sa blíži k hraniciam mapovacích parametrov.
Červená farba znamená, že stroj pravdepodobne nezachytil hranicu, má nízku presnosť lokalizácie alebo deteguje objekt v blízkosti.
Akonáhle sa priblížite k začiatku čiary AOA, spomaľte stroj a vyberte možnosť Uložiť.
V dialógovom okne vyberte Áno.
Kliknite na tlačidlo Uložiť , aby ste hranice uložili.
Obnovte mapu, aby ste videli dokončenú zónu AOA.
Skontrolujte, či sa nevyskytujú chyby v mapovaní, a podľa potreby ich odstráňte.
Prejdite so strojom do oblasti v rámci zóny AOA, kde chcete začať mapovať svoju súvislú kosenú plochu (CMA).
Note: Pre dosiahnutie optimálneho výkonu by hranica CMA mala byť vzdialená najmenej 5 m od hranice AOA. To zabezpečí dobrú účinnosť otáčania počas autonómnej prevádzky. Požiadavky na minimálnu vzdialenosť nájdete v Požiadavky na mapovanie, treba však počítať s nižšou účinnosťou otáčania a dlhšou dobou trvania úlohy.
Kliknite na červené tlačidlo v pravom dolnom rohu obrazovky.
V ponuke vyberte CMA a potom Obvod.
Za orientačný bod si vezmite predný ľavý roh ľavej rezacej jednotky, najskôr stroj presúvajte po priamke a potom zmapujte obvod CMA v smere hodinových ručičiek.
Note: Venujte pozornosť farebným stavovým poliam v pravom dolnom rohu obrazovky: Rýchlosť, Presnosťa Voľný priestor. Ak je farba žltá alebo červená, znamená to, že sa stroj pohybuje príliš rýchlo, má nízku presnosť lokalizácie alebo deteguje objekt v blízkosti. Znížte rýchlosť stroja, zastavte a počkajte, alebo sa presuňte na iné miesto a skúste mapovanie znova.
Zelená farba znamená, že stroj spĺňa ideálne parametre mapovania.
Žltá farba znamená, že stroj sa blíži k hraniciam mapovacích parametrov.
Červená farba znamená, že stroj pravdepodobne nezachytil hranicu, má nízku presnosť lokalizácie alebo deteguje objekt v blízkosti.
Akonáhle sa priblížite k začiatku čiary CMA, spomaľte stroj a vyberte možnosť Uložiť.
V dialógovom okne vyberte Áno .
Kliknite na tlačidlo Uložiť , aby ste hranice uložili.
Zmapovanie D.O.P (smer jazdy) fairwayu:
Prejdite strojom do počiatočného bodu kdekoľvek v rámci CMA.
Zvoľte D.O.P a presuňte kosačku o 5 m v smere jazdy.
Vyberte možnosť Uložiť.
Zmapujte stredovú čiaru:
Prejdite so strojom na miesto, ktoré sa nachádza 1 m od hranice CMA na oboch koncoch fairwayeu.
Vyberte Stredovú čiaru a prejdite so strojom po strede fairwayeu.
Note: Uistite sa, že os sa na oboch koncoch ihriska tiahne 1 m za hranice CMA.
Keď stroj prejde na druhý koniec CMA, vyberte možnosť Uložiť.
Ak chcete vytvoriť oblasť, ktorou môže stroj prechádzať, ale nebude ju kosiť, vyberte možnosť Jama, prejdite okolo tejto oblasti proti smeru hodinových ručičiek a vyberte možnosť Uložiť.
Znovu kliknite na možnosť Uložiť, aby ste uložili svoju zónu CMA.
Skontrolujte, či sa nevyskytujú chyby v mapovaní, a podľa potreby ich odstráňte.
Vyberte chybu, aby ste si zobrazili ďalšie informácie o chybe a jej umiestnení.
Important: Neprevádzkové zóny by sa mali využívať na mapovanie veľkých objektov alebo prekážok, ako sú stromy, násypy, zavlažovacie hlavice, prekážky nad hlavou atď., alebo menších prekážok, ktoré stroj nedokáže detegovať, ako sú napríklad drôty nachádzajúce sa v zóne AOA. Je povinnosťou prevádzkovateľa zabezpečiť, aby boli všetky predmety alebo prekážky zaznamenané do mapy ešte pred spustením autonómnej prevádzky. Postupujte podľa pokynov v Požiadavky na mapovanie.NOA nie je možné zmapovať priamo v rámci CMA. Pred zmapovaním NOA najprv vytvorte v rámci CMA prvok Jama.
Ak chcete vytvoriť oblasť v prvku Jama v rámci CMA, ktorú stroj nikdy neprejde, prejdite do možnosti Jama, vyberte NOA, prejdite proti smeru hodinových ručičiek okolo tejto oblasti a vyberte možnosť Uložiť.
Ak chcete vytvoriť oblasť v rámci AOA, ale mimo CMA, ktorou stroj nikdy neprejde, presuňte sa do oblasti mimo CMA, vyberte NOA, obíďte túto oblasť proti smeru hodinových ručičiek a vyberte možnosť Uložiť.
Important: Kolíky sú zóny NOA s malým priemerom (1 m), ktoré zabraňujú stroju prechádzať cez zóny AOA, v ktorých sa nachádzajú malé predmety, ako sú stĺpiky, odtokové kanály alebo zavlažovacie hlavice. V blízkosti seba je možné umiestniť viacero kolíkov a vytvoriť tak bariéru.
V ponuke MAPA vyberte položku Kolík.
Akonáhle sa predný ľavý roh ľavej rezacej jednotky priblíži k prekážke, ktorú chcete zmapovať, vyberte Kolík a Uložiť.
Na mape sa zobrazí červený kruh, ktorý znázorňuje kolík.
Tranzitné trasy sú trasy, po ktorých sa kosačka pohybuje pri presúvaní medzi prevádzkovými zónami. Šírka tranzitných trás musí byť minimálne 3,5 m.
Presuňte stroj do bodu v rámci zóny AOA, kde má tranzitná trasa začínať.
Note: Tranzitné trasy môžu začínať kdekoľvek v rámci zóny AOA, vrátane zóny CMA, avšak pre dosiahnutie najlepšieho výkonu sa odporúča začať trasu v blízkosti hranice zóny AOA.
V ponuke MAPA vyberte možnosť Trasa.
Keď ste pripravený/á na mapovanie, vyberte možnosť Trasa a prejdite presnú cestu, ktorú chcete, aby stroj prešiel medzi dvomi zónami AOA.
Keď sa stroj nachádza v druhej zóne AOA a ste spokojný/á s trasou, vyberte možnosť Uložiť.
Na mape sa zobrazí oranžová čiara znázorňujúca trasu.
Miesta vyzdvihnutia sú oblasti v rámci zóny AOA, kde operátor môže stroj kedykoľvek počas kosenia odložiť alebo vyzdvihnúť. AOA je možné vytvoriť špeciálne pre odberné miesta a prepojiť ich s fairwayou pomocou tranzitných ciest. Prostredníctvom kontrolnej aplikácie môže operátor kedykoľvek nariadiť stroju, aby sa vrátil do tohto bodu.
Presuňte sa so strojom do oblasti v rámci zóny AOA, kde chcete vytvoriť miesto vyzdvihnutia.
Vyberte Vyzdvihnúť, Boda Uložiť.
Bod vyzdvihnutia sa vytvorí v mieste predného ľavého rohu ľavej rezacej jednotky.


V ponuke MAPA vyberte možnosť Vrstvy mapy.
Zobrazia sa možnosti Súhrn, Presnosťa Detekcia objektov.
| Vrstva | Opis |
| Zhrnutie | Zobrazuje prevádzkové zóny, tranzitné trasy, miesta vyzdvihnutia a stĺpy. Vyznačuje sa tiež značnou nepresnosťou a problémami s detekciou objektov. |
| Presnosť | Zobrazuje presnosť GNSS a RTK pre zmapované oblasti. |
| Detekcia objektov | Zobrazuje, či stroj zaznamenal objekty v blízkosti v zmapovaných oblastiach. |
Vyberte vrstvu mapy, ktorú chcete zobraziť.
V ponuke MAPA vyberte ľubovoľný bod v časti CMA na fairwayi, čím sa otvoria okná Fairway a Vlastnosti, Stredová čiaraa Jamky.
V okne Vlastnosti zmeňte názov fairwaye alebo uhol smeru jazdy.
Vyberte možnosť Uložiť.
Pomocou funkcie Vyhladenie môžete vylepšiť vzhľad stredovej čiary na rezaní v štýle smokingu. Ak chcete upraviť trasu stredovej čiary, odstráňte ju a vytvorte novú.
V okne Stredová čiara vyberte možnosť Vyhladenie alebo Odstrániť.
V okne Fairway odstráňte všetky zmapované prvky kliknutím na ikonu koša vedľa nich.
Note: Pred začatím úlohy sa uistite, že tieto oblasti sú opäť zmapované a všetky chyby sú odstránené.
V okne Jamy môžete zobraziť alebo odstrániť akékoľvek zmapované otvory.
Vyberte možnosť +Pridať, aby ste vytvorili jamu.
Úloha predstavuje sled aktivít na fairwayi. Akonáhle stroj dokončí úlohu, okamžite začne s ďalšou úlohou. Ak už nie sú k dispozícii žiadne ďalšie úlohy, zariadenie sa presunie na okraj konečnej fairwaye, pokiaľ mu operátor nenariadi, aby sa presunulo niekam inam.
Pripojte sa k stroju pomocou kontrolnej aplikácie GeoLink® Mow.
Na úvodnej obrazovke vyberte tlačidlo ÚLOHY.
Kliknite na tlačidlo + Nová úloha.
Zo zoznamu zmapovaných CMA vyberte fairwaye, ktoré chcete pokosiť.
Note: Vyberte si fairwaye v poradí, v akom ich chcete pokosiť.
Note: Uistite sa, že všetky CMA v rámci úlohy sú prepojené prostredníctvom AOA alebo tranzitných trás.
Vyberte si režim kosenia z Obľúbené alebo vytvorte nový režim kosenia v časti Vlastné.
Zadajte telefónne číslo prevádzkovateľa a kliknite na tlačidlo Uložiť.
Note: Vďaka tomu môže stroj posielať upozornenia prostredníctvom textových správ, ak sa zastaví a vyžaduje manuálny zásah zo strany prevádzkovateľa.
Vyberte možnosť Uložiť.
Ak je kosačka počas tohto kroku v stave nečinnosti, začne plniť úlohu.
Note: Po uložení úlohy sa táto úloha zobrazí v časti ÚLOHY.
Kliknite na tlačidlo ÚLOHY.
Po výbere položky Nová úlohavyberte v časti s názvom Výber vzoru koseniapoložku Vlastný vzor.
Zobrazia sa tri možnosti vzorov: Pruhy, Smokingalebo Čistenie.
Možnosti pre Pruhy sú:
| Možnosť | Definícia |
| Relatívny/Absolútny | Či stroj používa smer hry alebo absolútne stupne ako referenčný bod |
| Typ smeru (od -180 do 180 alebo od 0 do 360) | Rozdiel v stupňoch v porovnaní s vyššie zvolenou možnosťou. Napríklad ak je zvolený režim relatívny“, zadaním hodnoty 40 bude stroj kosiť pod uhlom 40° (v smere hodinových ručičiek) od smeru jazdy. Pri záporných hodnotách stroj kosí proti smeru hodinových ručičiek v porovnaní so smerom jazdy.40° v absolútnych stupňoch by znamenalo, že stroj bude kosiť pod uhlom 40° od severnej polohy. |
| Viacnásobné čiary | Určuje šírku pruhov. Môže mať šírku až 5 strojových šírok |
| Obrátený | Ovláda smer kosenia |
| Čistenie | Zapnutím tohto nastavenia sa spustia čistiace prechody |
| Optimalizovať zákruty | Zapnutím tohto nastavenia bude stroj na konci každého prechodu vykonávať otočky s podobným polomerom |
Možnosti pre Smoking sú:
| Možnosť | Definícia |
| Smer | Určuje, či kosačka bude kosiť fairway v smere hodinových ručičiek alebo proti smeru hodinových ručičiek |
| Čistenie | Zapnutím tohto nastavenia sa spustia čistiace prechody |
Možnosť pre Čistenie je:
| Možnosť | Definícia |
| Smer | Určuje, či bude kosačka vykonávať dokončovacie prejazdy v smere hodinových ručičiek alebo proti smeru hodinových ručičiek |
Zadajte telefónne číslo mobilného zariadenia prevádzkovateľa a kliknutím na Uložiť úlohu uložte.
Pred nasadením kosačky do autonómneho režimu je potrebné skontrolovať systém detekcie prekážok, aby ste sa uistili, že funguje správne.
Zasuňte kľúč a otočte ho do polohy ZAP.
Pripojte sa k stroju pomocou kontrolnej aplikácie GeoLink® Mow.
Vyberte možnosť DIAGNOSTIKA.
Rozbaľte časť Detekcia objektov.
Prejdite k jednotlivým senzorom na stroji a
skontrolujte, či sa kruh pri každom príslušnom
senzore v zozname Detekcia objektov na obrazovke
zmení na červenú farbu
.
Úplný prehľad všetkých senzorov nájdete v Súčasti stroja.
Odstúpte o pár krokov od prednej časti
stroja a indikátor Radarové pole ďaleko by mal zmeniť farbu na žltú
.
Po overení funkčnosti všetkých
senzorov sa vzdiaľte od stroja. Všetky polohy v zozname Detekcia objektov by sa mali zmeniť na zelené
.
| Farba | Význam |
![]() | Nie je nadviazané pripojenie k zariadeniu. |
![]() | Systém neprenáša údaje. |
![]() | Výkon systému je dobrý alebo zariadenie nezaznamenáva žiadne prekážky v okolí. |
![]() | Výkon systému je nízky alebo zariadenie zaznamenáva prekážky v okolí, avšak je schopné fungovať. |
![]() | Systém bráni prevádzke stroja. Skontrolujte poškodený diel, odstráňte problém alebo premiestnite stroj na iné miesto. |
Uvoľnite parkovaciu brzdu.
Nastavte spínač ovládania funkcií do polohy KOSENIE.
Odstráňte všetky aktuálne poruchy strojov.
Vstaňte zo sedadla operátora a prejdite do zadnej časti stroja. Uistite sa, že sa nachádzate mimo nebezpečnej zóny kosenia.
Stlačte a podržte spínač autonómneho/manuálneho režimu do polohy AUTONóMNY REžIM po dobu 2 sekúnd.
Počkajte, kým kontrolka autonómneho režimu nezačne svietiť stálou zelenou farbou a kým stroj dvakrát nepípne. To znamená, že je aktivovaný autonómny režim.
Stroj je teraz možné ovládať pomocou kontrolnej aplikácie.
Uistite sa, že všetky senzory fungujú správne. Pozri Overovanie systému detekcie objektov.
Nastavte stroj do polohy AOA.
Aktivujte autonómny režim. Postupujte podľa krokov uvedených v Aktivácia autonómneho režimu
V kontrolnej aplikácii vyberte v ponuke OVLáDACí PANEL tlačidlo Chod.
Important: Ak vykonávate úlohu na fairwayi po prvýkrát, sledujte kosačku, aby ste sa uistili, že úlohu vykonáva správne, a až potom sa venujte iným úlohám.
Potvrďte dohodu vo vyskakovacom okne, aby ste mohli spustiť úlohu.
Kliknite na tlačidlo ÚLOHY. Vytvorené úlohy sa zobrazia na stránke.
Aktívne úlohy obsahujú časovač v tvare presýpacích hodín a prehľad informácií o úlohe.
Vyberte si jednu z úloh na tejto stránke. Zobrazia sa ďalšie informácie o vybranej úlohe.
| Displej | Význam |
| Č. úlohy | Zobrazí číslo úlohy |
| Stav | Pozri Ovládací panel – stavy úlohy |
| Čas spustenia | Kedy sa úloha začala |
| Čas dokončenia | Kedy sa predpokladá ukončenie úlohy |
| Pokosená zóna | Celková plocha, ktorú stroj doteraz pokosil |
| Prejdená vzdialenosť | Vzdialenosť, ktorú stroj doteraz prešiel |
| Pracovný čas | Ako dlho trvá súčasná úloha |
| Priebeh | Zobrazuje percentuálny podiel splnenia úlohy |
| Vzor | Zobrazí názov vzoru pre aktuálnu úlohu |
| Vlastnosti | Zobrazí vlastnosti vybraného vzoru kosenia. Pozri Vytvorenie vlastného vzoru kosenia |
Senzory na stroji detegujú prekážky a v prípade ich aktivácie automaticky spôsobia spomalenie alebo zastavenie stroja. Stroj monitoruje tri zóny: bezpečnostnú zónu, nebezpečné zóny a detekciu spádov.

| Obrázok 33 – referencia | Meranie |
| A | 8 m |
| B | 3 m |
Ak stroj zaznamená nehybný predmet v pomocnej zóne, začne spomaľovať a oranžové kontrolky začnú blikať častejšie. Akonáhle sa stroj priblíži k objektu a objekt sa nachádza tesne mimo nebezpečnej zóny, stroj prejde do voľnobehu, odpojí sa vývodový hriadeľ a stroj po 1 minúte pošle textovú správu na mobilné zariadenie prevádzkovateľa. Po tom, čo prevádzkovateľ odstráni prekážku, môže úlohu na diaľku obnoviť pomocou svojho mobilného zariadenia.
Ak stroj náhle zaznamená prítomnosť predmetu v nebezpečnej zóne, okamžite sa zastaví, odpojí sa vývodový hriadeľ, motor sa vypne, stroj prejde do režimu ZAPARKOVANIA a odošle textovú správu prevádzkovateľovi. Prevádzkovateľ musí následne odstrániť prekážku a manuálne prepnúť prepínač medzi autonómnym a manuálnym režimom, aby sa mohlo pokračovať v úlohe.
Funkcia detekcie spádov zistí, či sa stroj dostane do blízkosti nebezpečného spádu. Ak stroj narazí na nebezpečný terén, okamžite prejde do režimu ZAPARKOVANIA a pošle textovú správu prevádzkovateľovi. Prevádzkovateľ musí následne manuálne presunúť stroj do bezpečnej oblasti a prepnúť prepínač medzi autonómnym a manuálnym režimom, aby sa mohlo pokračovať v úlohe.
Important: Systém detekcie spádu by sa nikdy nemal aktivovať, ak sú prekážky riadne zaznamenané prevádzkovateľom.Vykonajte skúšobnú úlohu, aby ste zistili, či sa vyskytujú nejaké problémy so spádmi. Vytvorte nové zóny AOA, CMA alebo NOA, aby stroj obchádzal tieto miesta so spádmi.
Kontrolná aplikácia disponuje funkciou na export a zdieľanie súborov s mapami medzi vozidlami vo vozovom parku.
Important: Odporúča sa určiť jeden z vašich strojov ako hlavný stroj pre mapovanie chodu. To by mal byť jediný stroj vo vašom vozovom parku, ktorý vytvára nové zmapované oblasti alebo upravuje existujúce zmapované oblasti.Je povinnosťou prevádzkovateľa zabezpečiť, aby bol na každý stroj vo vozovom parku nainštalovaný správny súbor s mapami.
Vložte kľúč do hlavného mapovacieho stroja a otočte ho do polohy ZAP. Počkajte 2 minúty.
Pripojte sa k stroju pomocou kontrolnej aplikácie GeoLink® Mow.
V hornom paneli ponúk kliknite na tlačidlo POMOCNíK.
Kliknite na tlačidlo Exportovať databázu máp, aby ste vytvorili a stiahli kópiu súboru s mapou.
Týmto sa uloží kópia vášho súboru s mapou do priečinka so stiahnutými súbormi vo vašom zariadení.
Načítajte súbor s mapou do ostatných strojov vo vašom vozovom parku:
V prípade každého stroja, ktorý nie je primárny, vložte kľúč a otočte ho do polohy ZAP .
Pripojte sa ku každému stroju pomocou kontrolnej aplikácie GeoLink® Mow.
V hornom paneli ponúk vyberte tlačidlo NASTAVENIA.
Vypnite možnosť Zamknúť mapu.
V hornom paneli ponúk kliknite na tlačidlo POMOCNíK.
Kliknite na tlačidlo Odstrániť VŠETKY údaje z máp.
Note: Pred stlačením tlačidla sa uistite, že nemáte žiadne aktívne úlohy.
Kliknite na tlačidlo Vybrať súbor a otvorte súbor, ktorý ste si predtým stiahli do svojho zariadenia.
Kliknite na tlačidlo Importovať databázu mapy.
V ponuke NASTAVENIA zapnite funkciu Zamknúť mapu.
Tieto kroky zopakujte pre všetky ostatné stroje vo vozovom parku.
Ak autonómny ovládací systém nie je k dispozícii alebo nefunguje správne, môže byť potrebné tento systém obísť, aby bolo možné stroj ovládať manuálne.
Odstráňte pravý kryt elektrického systému. Pozri Vyhľadanie poistiek pre 12V systém.
Nájdite konektor na hlavnom káblovom zväzku stroja a namontujte konektor loopback.

Pred kosením greenov nájdite voľný priestor a vyskúšajte si na ňom základné funkcie stroja (napríklad štartovanie a zastavenie stroja, zdvihnutie a spustenie rezacích jednotiek a zatáčanie).
Skontrolujte, či sa na greene nenachádzajú nečistoty, a odstráňte všetko, čo by mohlo počas kosenia poškodiť rezacie jednotky. Vyberte vlajku z držiaka a určte najvhodnejší smer kosenia. Smer kosenia určte na základe predchádzajúceho smeru kosenia. Koste vždy v opačnom vzore ako pri predchádzajúcom kosení, aby neboli steblá trávy poľahnuté a bola väčšia pravdepodobnosť, že sa skosia.
Začnite na jednom okraji greenu, aby ste využili postup kosenia v slučkách.
Note: Spevňovanie sa tak znižuje na minimum a na greenoch vznikajú úhľadné a pekné vzory.
Posuňte prepínač na ovládanie funkcií do polohy KOSENIE.
Potlačte páčku zdvíhania/spúšťania pri kosení dopredu, keď predné okraje rezacích jednotiek prechádzajú cez vonkajší okraj greenu.
Note: Rezacie jednotky sa tak spustia na trávnik a spustia sa kotúče.
Important: Keď sa predné rezacie jednotky mierne zdvihnú alebo spustia, stredná rezacia jednotka ich kopíruje. Mali by ste si preto nacvičiť správne načasovanie na minimalizovanie čistiaceho kosenia a zabránenie zasiahnutiu okraja.Stredná rezacia jednotka sa zdvíha a spúšťa na základe pojazdovej rýchlosti. Pri nižšej pojazdovej rýchlosti sa zvyšuje oneskorenie zdvíhania alebo spúšťania. Vyššia rýchlosť znižuje oneskorenie zdvíhania alebo spúšťania. Stroj monitoruje pojazdovú rýchlosť a aktualizuje oneskorenie tak, aby sa všetky tri rezacie jednotky spúšťali v rade.
Keď sa vraciate, čiastočne prechádzajte aj po predtým kosenom páse.
Note: Ak chcete pomoc pri vytváraní rovných čiar na greene a ak chcete stroj udržiavať v rovnomernej vzdialenosti od okraja predchádzajúceho riadka, pred strojom na okraji nepokosenej časti greenu si predstavujte pomyselnú čiaru dlhú približne 1,8 až 3 metre (Obrázok 36). Do pomyselnej čiary zahrňte vonkajší okraj volantu, t. j. okraj volantu musí byť zarovnaný s bodom, ktorý máte vždy v rovnakej vzdialenosti od prednej časti stroja.
Keď predné okraje zberných košov presiahnu okraj greenu, potiahnite joystick na zdvíhanie/spúšťanie dozadu a držte ho, kým sa nezdvihnú všetky rezacie jednotky. Zastavia sa kotúče a zdvihnú sa rezacie jednotky.
Important: Tento krok načasujte správne, aby ste nezasiahli okraj, no zároveň pokoste čo najväčšiu plochu greenu, aby sa minimalizoval objem trávy ponechaný na skosenie okolo vonkajšieho okraja.
Ak chcete skrátiť prevádzkový čas a zjednodušiť zarovnanie ďalšieho riadka, stroj dočasne otočte opačným smerom a potom ho otočte smerom k nepokosenej časti. Tento pohyb vytvorí otočku v tvare slzy (Obrázok 35), čím sa stroj rýchlo dostane na začiatok nového riadka.
Note: Ak je aktivovaná funkcia spomalenia a zabočenia, stroj počas zatáčania spomalí bez toho, aby ste museli uvoľniť tlak na pedál trakčného pohonu.

Note: Pokúste sa robiť čo najkratšie zatáčky s výnimkou kosenia v teplejšom počasí – širší oblúk minimalizuje poškodenie trávnika.

Important: Stroj nikdy nezastavujte na greene, najmä nie vtedy, keď sú aktivované rezacie jednotky, pretože sa môže poškodiť trávnik. Zastavenie stroja na greene môže zanechať stopy alebo odtlačky kolies.
Green dokoste tak, že skosíte vonkajší okraj. Zmeňte smer kosenia použitý pri predchádzajúcom kosení.
Informácie o vylepšení vzhľadu trávnika po kosení a eliminácii nezačistených okrajov nájdete v časti Kosenie okraja a dokončenie kosenia.
Note: Majte vždy na pamäti počasie a stav trávnika a uistite sa, že zmeníte smer kosenia použitý pri predchádzajúcom kosení.
Keď dokosíte vonkajší okraj, posuňte joystick na zdvíhanie/spúšťanie dozadu a zastavte kotúče (ak je aktivovaná funkcia oneskorenia odpojenia). Potom so strojom odíďte z greenu. Keď sú všetky rezacie jednotky mimo greenu, posuňte joystick na zdvíhanie/spúšťanie dozadu a zdvihnite rezacie jednotky.
Note: Tento krok minimalizuje trsy trávy, ktoré zostávajú na greene.
Vráťte vlajku na miesto.
| Servisný interval | Postup pri údržbe |
|---|---|
| Pri každom použití alebo denne |
|
Po kosení stroj dôkladne vypláchnite záhradnou hadicou bez dýzy, aby nadmerný tlak vody nekontaminoval a nepoškodil tesnenia, ložiská a elektroniku. Neumývajte vodou teplý motor ani elektrické prípojky.
Important: Na čistenie stroja nepoužívajte poloslanú ani upravenú vodu.
Important: Stroj nečistite zariadením s vysokým tlakom vody. Zariadenie na čistenie vysokým tlakom môže poškodiť elektrický systém, uvoľniť dôležité štítky alebo vymyť potrebné mazivo na trecích bodoch. Voda sa môže dostať pod tesnenia a môže kontaminovať puzdrá obsahujúce olej alebo mazivo. Vyhnite sa nadmernému používaniu vody v blízkosti ovládacieho panela, motora a batérie.
Important: Neumývajte stroj, kým motor beží. Umývanie stroja so spusteným motorom môže spôsobiť vnútorné poškodenie motora.
Important: Nestriekajte vodu do výfuku. Voda vo výfuku môže spôsobiť vnútorné poškodenie motora alebo znížiť výkon motora.
Po vyčistení stroja skontrolujte, či sú rezacie jednotky ostré.
Pri nakladaní a vykladaní stroja do vlečky alebo kamiónu buďte opatrní.
Pri nakladaní stroja na príves alebo kamión používajte rampu s plnou šírkou.
Stroj bezpečne pripevnite k prívesu popruhmi, reťazami, káblami alebo lanami. Predné aj zadné popruhy by mali smerovať nadol a smerom od stroja (Obrázok 37).

Po zaistení stroja pred prepravou zatvorte uzatvárací ventil prívodu paliva.
Note: Informácie o tomto postupe nájdete v časti Obrázok 38.

Ak chcete stroj ťahať, musíte vykonať nasledujúci postup na uvoľnenie mechanizmu brzdy:
Zatiahnite parkovaciu brzdu.
Vyberte kľúč a odpojte konektory hlavného napájania.
Important: Ak sú počas ťahania konektory hlavného napájania pripojené, môže dôjsť k poškodeniu elektrických častí.
Zatvorte ventil odpojenia prívodu paliva.
Na oboch stranách podložte predné pneumatiky.
Uvoľnením matice zaisťujúcej očko na konzole pružiny uvoľnite tlak vyvíjaný na pružinu.
Demontujte pružinu.
Do otvoru v konzole ramena zasuňte račnu (⅜") a zatlačte hriadeľ mechanizmu.
Keď sa mechanizmus uvoľní z brzdy, stroj sa môže voľne pohybovať. Voľne sa pohybujúci stroj môže spôsobiť vážne zranenie okolostojacich osôb.
Ak sa stroj neťahá, zatiahnite parkovaciu brzdu.
Zatiahnite parkovaciu brzdu.
Vyberte spod pneumatík kliny.
Ak je namontovaná pojazdná súprava s pohonom troch kolies, odpojte konektory kabeláže súpravy z hlavnej kabeláže.
Important: Ak je počas ťahania pripojená kabeláž súpravy a stroja, môže dôjsť k poškodeniu elektrických častí.
Keď je stroj pripravený na ťahanie, uvoľnite parkovaciu brzdu.
Na sedadle by mal sedieť pomocník so zapnutým bezpečnostným pásom a počas ťahania stroja by mal používať brzdu.
Note: Zaručí sa tak, že je stroj pri ťahaní po nerovnostiach a svahoch pod kontrolou.
Na ťahanie stroja použite vidlicu zadného samonastavovacieho kolesa (Obrázok 39).
Important: Pri ťahaní stroja neprekračujte rýchlosť 5 km/h. Môžu sa poškodiť elektrické komponenty.

Po odtiahnutí stroja na požadované miesto vykonajte nasledujúce kroky:
Zatiahnite parkovaciu brzdu.
Demontujte ťahací popruh z vidlice samonastavovacieho kolesa.
Pripravte stroj na prevádzku utiahnutím matice očka tak, aby bola dĺžka pružiny po namontovaní 11,4 cm (Obrázok 38).
So strojom môžete jazdiť využitím výkonu batérie stroja. Túto funkciu možno používať v nasledujúcich prípadoch:
Presúvanie stroja v servisnej dielni.
Presúvanie stroja z greenu po vypnutí motora.
Stroj možno len prepravovať. Nemôžete aktivovať rezacie jednotky. Táto funkcia sa používa jednu minútu a otočením kľúčového spínača môžete vynulovať minútu času prepravy.
Sadnite si na sedadlo operátora a zapnite si bezpečnostný pás.
Kľúč otočte do polohy ZAP.
Posuňte prepínač na ovládanie funkcií do polohy KOSENIE alebo PREPRAVA.
Uvoľnite parkovaciu brzdu.
Na prepravu stroja používajte pedál trakčného pohonu.
Note: Pojazdová rýchlosť smerom dopredu je obmedzená na 4,8 km/h a pojazdová rýchlosť pri cúvaní je obmedzená na 4,0 km/h.
Important: Nadmerné alebo dlhšie používanie tejto funkcie môže skrátiť životnosť batérií.
| Servisný interval | Postup pri údržbe |
|---|---|
| Po prvých 8 hodinách |
|
| Po prvých 50 hodinách |
|
| Pri každom použití alebo denne |
|
| Po každých 25 hodinách prevádzky |
|
| Po každých 50 hodinách prevádzky |
|
| Po každých 100 hodinách prevádzky |
|
| Po každých 200 hodinách prevádzky |
|
| Po každých 800 hodinách prevádzky |
|
| Po každých 1000 hodinách prevádzky |
|
| Každé 2 roky |
|
Túto stranu skopírujte na účely pravidelného používania.
| Položka kontrolného zoznamu údržby | Na týždeň: | ||||||
|---|---|---|---|---|---|---|---|
| Pondelok | Utorok | Streda | Štvrtok | Piatok | Sobota | Nedeľa | |
| Skontrolujte prevádzku bezpečnostných ochranných spínačov. | |||||||
| Skontrolujte prevádzku nástrojov. | |||||||
| Skontrolujte prevádzku brzdy. | |||||||
| Skontrolujte hladinu motorového oleja. | |||||||
| Skontrolujte hladinu paliva. | |||||||
| Vyčistite rebrá chladiaceho systému motora. | |||||||
| Skontrolujte predčistič vzduchového filtra. | |||||||
| Skontrolujte všetky nezvyčajné zvuky motora. | |||||||
| Skontrolujte tlak v pneumatikách. | |||||||
| Skontrolujte nastavenie vzdialenosti kotúča od noža plošiny. | |||||||
| Skontrolujte nastavenie výšky kosenia. | |||||||
| Opravte poškodený náter. | |||||||
| Skontrolujte senzory a ich držiaky. | |||||||
| Umyte stroj. | |||||||
| Poznámky k problematickým oblastiam | ||
| Osoba, ktorá vykonala kontrolu: | ||
| Položka | Dátum | Informácie |
Mechanické alebo hydraulické zdviháky nemusia udržať stroj a môžu spôsobiť vážne zranenie.
Na podopretie zdvihnutého stroja použite zdviháky.
Na zdvíhanie stroja používajte len mechanické alebo hydraulické zdviháky.
Zdvihák umiestnite do požadovaného bodu podopretia (Obrázok 40):
Stúpačka na ľavej strane stroja
Konzola zdviháka na pravej strane stroja
Vidlica samonastavovacieho kolesa v zadnej časti stroja

Po zdvihnutí stroja použite zdvihák na podopretie stroja na nasledujúcich miestach (Obrázok 41):
Držiaky batérie v zadnej časti stroja
Otočné montážne držiaky rezacích jednotiek v prednej časti stroja

| Servisný interval | Postup pri údržbe |
|---|---|
| Po každých 25 hodinách prevádzky |
|
| Po každých 100 hodinách prevádzky |
|
| Po každých 200 hodinách prevádzky |
|
Skontrolujte penovú a papierovú vložku a v prípade poškodenia alebo nadmerného znečistenia ich vymeňte.
Important: Penovú ani papierovú vložku neolejujte.
Stroj zaparkujte na rovnom povrchu, spustite rezacie jednotky a zatiahnite parkovaciu brzdu.
Vypnite motor a vyberte kľúč.
Vyčistite okolie vzduchového filtra, aby sa do motora nedostali nečistoty a nepoškodili ho (Obrázok 43).
Uvoľnite gombíky krytu a zložte kryt vzduchového filtra (Obrázok 43).
Uvoľnite hadicovú svorku a vyberte zostavu vzduchového filtra (Obrázok 43).
Opatrne vytiahnite penovú vložku z papierovej vložky (Obrázok 43).

Penovú vložku umyte v roztoku tekutého mydla a teplej vody. Keď je vložka čistá, dôkladne ju opláchnite.
Vložku vysušte tak, že ju zabalíte do čistej handričky a vyžmýkate.
Important: Penovú vložku nekrúťte, pretože by sa mohla roztrhnúť.Ak je penová vložka roztrhnutá alebo opotrebovaná, vymeňte ju.
Papierovú vložku vyčistite tak, že ju zľahka poklepete, čím odstránite prach. Ak je papierová vložka veľmi znečistená, vymeňte ju za novú (Obrázok 43).
Skontrolujte, či prvok nie je roztrhnutý, či na ňom nie je mastný film alebo či nie je poškodené gumové tesnenie.
Ak je papierová vložka poškodená, vymeňte ju.
Important: Papierový filter nečistite.
Important: Ak chcete predísť poškodeniu motora, vždy používajte motor s vloženou kompletnou zostavou penového a papierového vzduchového filtra.
Motor sa dodáva s olejom v kľukovej skrini. Pred prvým naštartovaním motora a po ňom musíte skontrolovať hladinu oleja.
Servisná klasifikácia API oleja: SJ alebo vyššia
Viskozita oleja: SAE 30
Note: Používajte ľubovoľný vysokokvalitný detergentný olej.
| Servisný interval | Postup pri údržbe |
|---|---|
| Pri každom použití alebo denne |
|
Motory sa môžu počas bežnej prevádzky extrémne zahriať.
Pred kontrolou oleja alebo vykonaním akejkoľvek údržby motora nechajte motor vychladnúť.
Informácie o tomto postupe nájdete v časti Obrázok 44.
Stroj zaparkujte na rovnom povrchu, spustite rezacie jednotky, zatiahnite parkovaciu brzdu, vypnite motor a vyberte kľúč.
Odskrutkujte mierku, vyberte ju a utrite čistou handričkou.
Mierku zasuňte do rúrky.
Vytiahnite mierku z rúrky a skontrolujte hladinu oleja.
Ak je hladina oleja nízka, cez rúrku mierky dolievajte do motora olej, kým nebude hladina oleja siahať po značku FULL (Plné) na mierke.
Olej dolievajte pomaly a často kontrolujte hladinu.
Important: Neprepĺňajte motor olejom.
Namontujte mierku.


| Servisný interval | Postup pri údržbe |
|---|---|
| Po prvých 8 hodinách |
|
| Po každých 100 hodinách prevádzky |
|
Motory sa môžu počas bežnej prevádzky extrémne zahriať.
Pred výmenou oleja alebo olejového filtra či vykonaním akejkoľvek údržby motora nechajte motor vychladnúť.
Objem motorového oleja: 1,7 l s filtrom
Zložte vypúšťaciu zátku (Obrázok 45) a nechajte olej vytiecť do záchytnej nádoby.

Vyčistite závity na vypúšťacej zátke a nasaďte ju (Obrázok 45).
Vyberte olejový filter (Obrázok 46).


Na tesnenie nového filtra naneste tenkú vrstvu čistého oleja.
Filter montujte rukou, kým sa tesnenie nedotkne adaptéra filtra. Potom ho ešte otočte o ¾ až jedno otočenie. Neuťahujte ho nadmerne.
Doplňte do kľukovej skrine olej. Pozrite si časť Kontrola motorového oleja.
Olejový filter a použitý olej vhodným spôsobom zlikvidujte.
| Servisný interval | Postup pri údržbe |
|---|---|
| Po každých 100 hodinách prevádzky |
|
Motory sa môžu počas bežnej prevádzky extrémne zahriať.
Pred servisom zapaľovacej sviečky alebo vykonaním akejkoľvek údržby motora nechajte motor vychladnúť.
Pred inštaláciou zapaľovacej sviečky sa presvedčte, či je medzi stredovou a postrannou elektródou správna vzduchová medzera. Na demontáž a montáž zapaľovacích sviečok použite kľúč na zapaľovacie sviečky a vzduchovú medzeru skontrolujte a upravte pomocou hrúbkomera alebo škáromera. V prípade potreby nainštalujte nové zapaľovacie sviečky.
Typ zapaľovacej sviečky: NGK® BPR4ES alebo ekvivalent
Vzduchová medzera: 0,75 mm
Stroj zaparkujte na rovnom povrchu, spustite rezacie jednotky a zatiahnite parkovaciu brzdu.
Vypnite motor a vyberte kľúč.
Vyhľadajte čiapočky zapaľovacích sviečok.
Vyčistite priestor okolo čiapočiek zapaľovacích sviečok, aby do valca nespadla žiadna cudzia látka.
Odpojte čiapočky zo zapaľovacích sviečok (Obrázok 47).

Vyberte zapaľovacie sviečky z motora.
Important: Ak má sviečka tmavý povlak, opotrebované elektródy či olejový film alebo je prasknutá, vždy ju vymeňte.
Zapaľovaciu sviečku vyčistite drôtenou kefou a odstráňte všetky uhlíkové nánosy.
Čističom karburátora umyte sviečku a uistite sa, že ste odstránili všetky cudzie látky.
Skontrolujte zapaľovacie sviečky, či nie sú prasknuté, či nemajú opotrebované elektródy, či na nich nie je čierny povlak alebo olejový film, prípadne či nie sú opotrebované alebo poškodené.
V prípade potreby zapaľovaciu sviečku vymeňte. Vymeňte všetky zapaľovacie sviečky, hoci je potrebné vymeniť len jednu.
Skontrolujte medzeru zapaľovacej sviečky a v prípade potreby ju upravte. Ak chcete medzeru zmeniť, pomocou nástroja na zapaľovacie sviečky ohnite len bočnú elektródu.
Upravte medzeru na 0,75 mm.

Ak vidíte na izolačnom prvku svetlohnedú alebo sivú farbu, motor funguje správne. Čierny povlak na izolačnom prvku zvyčajne signalizuje znečistenie vzduchového filtra.
Informácie o tomto postupe nájdete v časti Obrázok 49.
Vložte do motora zapaľovaciu sviečku.
Zapaľovaciu sviečku utiahnite momentom 22 N·m.
Znova pripojte čiapočky zapaľovacích sviečok.

| Servisný interval | Postup pri údržbe |
|---|---|
| Po každých 1000 hodinách prevádzky |
|
Radový palivový filter sa nachádza medzi uzatváracím ventilom prívodu paliva a motorom.
Za určitých podmienok je palivo extrémne horľavé a veľmi výbušné. Požiar alebo výbuch paliva môže popáliť vás a iné osoby a môže poškodiť majetok.
Po vychladnutí motora vypustite palivo z palivovej nádrže. Robte to vonku na otvorenom priestranstve. Utrite všetko rozliate palivo.
Pri vypúšťaní paliva nikdy nefajčite a nepribližujte sa k otvorenému ohňu ani k miestam, kde by iskra mohla zapáliť výpary.
Zatvorte ventil odpojenia prívodu paliva (Obrázok 50).

Pod filter umiestnite záchytnú nádobu, uvoľnite hadicovú svorku na strane filtra s karburátorom a vytiahnite palivovú rúrku z filtra (Obrázok 50).
Uvoľnite druhú hadicovú svorku a vyberte filter.
Skontrolujte, či nie sú palivové rúrky prasknuté, opotrebené alebo poškodené, a v prípade potreby ich vymeňte.
Vložte nový filter so šípkou na tele filtra ukazujúcou smerom od palivovej nádrže.
Uistite sa, či sú hadice a hadicové svorky zaistené na filtri.
Otvorte uzatvárací ventil prívodu paliva a naplňte nádrž. Skontrolujte palivové rúrky, či nedochádza k úniku alebo či nemajú uvoľnené prípojky.
| Servisný interval | Postup pri údržbe |
|---|---|
| Každé 2 roky |
|
Skontrolujte palivové potrubie, či nie je opotrebované, poškodené alebo či nemá uvoľnené prípojky.
Konektory hlavného napájania zaisťujú napájanie batérií stroja. Napájanie odpojíte rozpojením konektorov. Napájanie pripojíte zapojením konektorov. Pozrite si časť Konektory hlavného napájania.
Nesprávne vedenie káblov batérie by mohlo viesť k poškodeniu stroja a káblov a spôsobiť iskrenie. Iskry môžu spôsobiť explóziu plynov batérie s následným poranením osôb.
Pred odpojením kladného (červeného) kábla vždy najskôr odpojte záporný (čierny) kábel batérie.
Pred pripojením záporného (čierneho) kábla vždy najskôr pripojte kladný (červený) kábel batérie.
12 V batéria AGM (elektrolyt nasiaknutý do textílie zo skleného vlákna) (Obrázok 51) napája informačné centrum, mechanizmus brzdy, ovládací prvok stroja a izolačný modul zbernice CAN.

Zložte kryt na pravej strane.
Zložte kryt batérie.
Odpojte od batérie káble.
Pripojte nabíjačku k svorkám batérie a nabite ju.
V súvislosti s nabíjačkou batérie upozorňujeme na nasledujúce informácie:
Uistite sa, že sa konektory nabíjačky batérie nedotýkajú navzájom ani rámu stroja. Odporúča sa používať menšie konektory.
Preferuje sa nabíjačka batérie s nastavením nabíjania AGM.
Maximálny nabíjací prúd: 2,4 A
Maximálne nabíjacie napätie: 14,3 V
Po dokončení nabíjania pripojte káble batérie k batérii.
Na batériu nasaďte kryt.
Nasaďte kryt na pravej strane.
Important: Nabíjanie systému 48 V batérií sa neodporúča.
Systém 48 V batérií pozostáva zo 4 batérií (12 V, AGM [elektrolyt nasiaknutý do textílie zo skleného vlákna]). Batérie sa nachádzajú pod krytmi na oboch stranách stroja. Pozrite si časť Obrázok 52. Tento systém poskytuje napájanie kolesám trakčného pohonu, motorom rezacích jednotiek, motoru riadenia a zdvíhacím mechanizmom.

Poistky v 48 V elektrickom systéme sa nachádzajú pod sedadlom (Obrázok 53).

Poistky generátora (100 A) a motora pravého kolesa (60 A) sa nachádzajú pod sedadlom (Obrázok 58).

Poistka motora ľavého kolesa (60 A) sa nachádza pod krytom na ľavej strane stroja blízko poistiek obvodu pohonu kolies (Obrázok 59).

Poistka elektrického systému sa nachádza pod konektormi hlavného napájania (Obrázok 60).

| Servisný interval | Postup pri údržbe |
|---|---|
| Pri každom použití alebo denne |
|
Tlak v pneumatikách všetkých 3 kolies upravujte podľa stavu trávnika, a to minimálne od 83 do maximálne 110 kPa.
Important: Uistite sa, že tlak v pneumatikách všetkých kolies je rovnaký. Ak je tlak v pneumatikách jednotlivých kolies odlišný, ovplyvňuje to výkon stroja.
| Servisný interval | Postup pri údržbe |
|---|---|
| Po prvých 8 hodinách |
|
| Po každých 200 hodinách prevádzky |
|
Nedodržanie správneho utiahnutia matíc kolies by mohlo spôsobiť zranenie.
Matice kolies utiahnite špecifikovaným momentom v špecifikovaných intervaloch.
Špecifikácia utiahnutia matice kolesa: 108 až 122 N∙m
Ak chcete zaručiť rovnomernú distribúciu, matice kolies uťahujte podľa vzoru znázorneného na Obrázok 63.

| Servisný interval | Postup pri údržbe |
|---|---|
| Po prvých 8 hodinách |
|
| Po každých 800 hodinách prevádzky |
|
Špecifikácia kvapaliny: SAE 80W90
Objem prevodového oleja: približne 384 ml
Zdvihnite stroj. Pozrite si časť Zdvihnutie stroja.
Important: Stroj musí byť na rovnom povrchu, aby sa do prevodovky mohol doplniť správny objem kvapaliny.Uistite sa, že je stroj na zdvihákoch vyrovnaný.
Pri demontáži ľavej a pravej pneumatiky vykonajte nasledujúce kroky:
Uvoľnite a odskrutkujte svorníky kolies (Obrázok 64).

Demontujte ľavú a pravú pneumatiku.
Pod zostavu motora kolies umiestnite záchytnú nádobu (Obrázok 65).

Zložte uzáver z vypúšťacieho portu (Obrázok 65).
Note: Vypúšťací port sa nachádza v spodnej časti prevodovky.
Note: Z prevodovky nechajte vytiecť všetok olej.
Vyčistite uzáver.
Nasaďte uzáver na vypúšťací port (Obrázok 65).
Z vrchnej časti prevodovky demontujte odvzdušňovaciu hadicu a armatúru (Obrázok 66).

Do prevodovky cez plniace hrdlo nalejte 384 ml špecifikovanej kvapaliny.
Na plniace hrdlo nasaďte odvzdušňovaciu hadicu a armatúru (Obrázok 66).
Pri montáži pneumatík vykonajte nasledujúce kroky:
Ľavú a pravú pneumatiku zasuňte na náboje kolies.
Nasaďte svorníky kolies (Obrázok 64).
Svorníky kolies utiahnite špecifikovaným momentom uvedeným v časti Kontrola uťahovacieho momentu matíc kolies.
Ak brzda nedrží stroj počas parkovania, môžete brzdy nastaviť. Obráťte sa na autorizovaného distribútora spoločnosti Toro alebo si pozrite ďalšie informácie v servisnej príručke.
Opotrebovaná alebo poškodená čepeľ alebo nôž plošiny sa môže zlomiť a kúsok môže odletieť smerom k vám alebo okolostojacim osobám, čo môže viesť k vážnemu zraneniu alebo smrti.
Pravidelne kontrolujte, či nie sú čepele a nože plošiny nadmerne opotrebované alebo poškodené.
Pri kontrole čepelí postupujte obozretne. Pri vykonávaní servisu noste rukavice a postupujte opatrne. Čepele a nože plošiny len vymieňajte alebo ostrite. Nikdy ich nevyrovnávajte ani nezvárajte.
Na strojoch s viacerými rezacími jednotkami dávajte pri otáčaní rezacej jednotky pozor. Môže spôsobiť otáčanie kotúčov v ďalších rezacích jednotkách.
Note: Keď nie sú rezacie jednotky pripojené k stroju, motory kotúčov rezacích jednotiek odložte na odkladacie miesto v prednej časti ramien odpruženia, aby sa nepoškodili.
Important: Odpruženie nezdvíhajte do prepravnej polohy, keď sú motory kotúčov v držiakoch v ráme stroja. Môžu sa poškodiť motory alebo hadice.
Important: Vždy keď musíte nakloniť rezaciu jednotku, podoprite zadnú časť rezacej jednotky a dbajte na to, aby matice na regulačných skrutkách na tyči plošiny neboli umiestnené na pracovnom povrchu (Obrázok 67).

Keď sa dotknete horúceho motora alebo výfuku, môžete sa vážne popáliť.
Pred montážou rezacích jednotiek počkajte, kým horúci motor alebo výfuk nevychladne.
Pred montážou rezacích jednotiek sa musí odpruženie spustiť. Pri spúšťaní odpruženia vykonajte nasledujúce kroky:
Stroj zaparkujte na čistom rovnom povrchu.
Prepínač na ovládanie funkcií nastavte do polohy NEUTRáL.
Naštartujte motor alebo otočte kľúč do polohy ZAP.
Pomocou joysticku na zdvíhanie/spúšťanie spustite odpruženie.
Zatiahnite parkovaciu brzdu, vypnite motor a vyberte kľúč.
Pri montáži rezacích jednotiek vykonajte nasledujúce kroky:
Odpojte konektory hlavného napájania. Pozrite si časť Konektory hlavného napájania.
Ak neodpojíte napájanie stroja, niekto môže rezacie jednotky náhodne spustiť, čo môže spôsobiť vážne zranenie rúk a nôh.
Pred prácou na rezacích jednotkách vždy odpojte konektory hlavného napájania.
Rezaciu jednotku umiestnite pod stredné rameno odpruženia.
Otvorte západky na tyči ramena odpruženia (Obrázok 68), zatlačte rameno odpruženia nadol tak, aby tyč zapadla do oboch otvorov v ramenách na rezacej jednotke, a uistite sa, že západky sú pod priečnikom rezacej jednotky (Obrázok 69).


Západky zatvorte zatlačením nadol a okolo tyče rezacej jednotky a zaistite ich na mieste (Obrázok 68).
Note: Budete počuť kliknutie a pocítite, že západky sa správne zaistili na mieste.
Na drážkový hriadeľ motora rezacej jednotky naneste čisté mazivo (Obrázok 70).
Motor zasuňte do ľavej strany rezacej jednotky (pri pohľade z polohy operátora) a ťahajte zaisťovaciu tyč motora na rezacej jednotke smerom k motoru, kým nebudete na oboch stranách motora počuť kliknutie (Obrázok 70).

Tento postup zopakujte s ostatnými rezacími jednotkami.
Pripojte konektory hlavného napájania. Pozrite si časť Konektory hlavného napájania.
Keď sa dotknete horúceho motora alebo výfuku, môžete sa vážne popáliť.
Pred montážou rezacích jednotiek počkajte, kým horúci motor alebo výfuk nevychladne.
Stroj zaparkujte na čistom rovnom povrchu, prepínač na ovládanie funkcií nastavte do polohy NEUTRáL a pomocou joysticku na zdvíhanie/spúšťanie spustite rezacie jednotky.
Zatiahnite parkovaciu brzdu, vypnite motor a vyberte kľúč.
Odpojte konektory hlavného napájania. Pozrite si časť Konektory hlavného napájania.
Ak neodpojíte napájanie stroja, niekto môže rezacie jednotky náhodne spustiť, čo môže spôsobiť vážne zranenie rúk a nôh.
Pred prácou na rezacích jednotkách vždy samostatne odpojte konektory hlavného napájania.
Zaisťovaciu tyč motora vytlačte z otvorov na motore smerom k rezacej jednotke a vyberte motor z rezacej jednotky.

Motor presuňte na odkladacie miesto v prednej časti ramena odpruženia (Obrázok 72).

Note: Pri ostrení, nastavovaní výšky kosenia alebo vykonávaní iných postupov údržby na rezacích jednotkách odložte motory kotúčov rezacích jednotiek na odkladacie miesto v prednej časti ramien odpruženia, aby sa nepoškodili.
Important: Odpruženie nezdvíhajte do prepravnej polohy, keď sú motory kotúčov v držiakoch v ráme stroja. Môžu sa poškodiť motory alebo hadice. Ak musíte trakčnú jednotku posunúť bez namontovaných rezacích jednotiek, zaistite ich na ramenách odpruženia zväzovacími remienkami na káble.
Otvorte západky na tyči ramena odpruženia rezacej jednotky, ktorú demontujete (Obrázok 68).
Odpojte západky z tyče rezacej jednotky.
Otočte rezaciu jednotku smerom von spod ramena odpruženia.
Podľa potreby zopakujte kroky 4 až 8 na ostatných rezacích jednotkách.
Pripojte konektory hlavného napájania. Pozrite si časť Konektory hlavného napájania.
| Servisný interval | Postup pri údržbe |
|---|---|
| Pri každom použití alebo denne |
|
Každý deň pred prevádzkou stroja skontrolujte kontakt kotúča a noža plošiny, a to aj vtedy, ak bola kvalita kosenia predtým prijateľná. Kotúč a nôž plošiny sa musia zľahka dotýkať po celej dĺžke. Pozrite si používateľskú príručku k rezacej jednotke.
Pred kontrolou kotúčov odpojte konektory hlavného napájania. Pozri Konektory hlavného napájania. Po dokončení kontroly ich pripojte.
Kontakt s nožmi plošiny, čepeľami kotúčov alebo inými pohybujúcimi sa časťami môže mať za následok zranenie osôb.
Prstami, rukami ani oblečením sa nepribližujte k nožom plošiny, čepeliam kotúčov ani iným pohybujúcim sa častiam.
Nikdy sa nepokúšajte otáčať kotúče rukou alebo nohou, kým motor beží.
Stroj zaparkujte na rovnom povrchu, spustite rezacie jednotky, prepínač na ovládanie funkcií posuňte do polohy NEUTRáL, zatiahnite parkovaciu brzdu, vypnite motor a vyberte kľúč.
Urobte na všetkých rezacích jednotkách, ktoré chcete ostriť, úvodné nastavenia kotúča a noža plošiny vhodné pre ostrenie. Pozrite si používateľskú príručku k rezacej jednotke.
Vložte kľúč do spínača a naštartujte motor.
Na ovládacom prvku informačného centra v ponuke SERVIS vyberte položku BACKLAP (Ostrenie).
Položku BACKLAP (Ostrenie) nastavte na možnosť ON (Zap.).
Zobrazte hlavnú ponuku a prejdite na časť Nastavenia.
V ponuke NASTAVENIA prejdite na položku OTáčKY OSTRENIA ZA MINúTU a pomocou tlačidla ± vyberte požadované otáčky ostrenia.
S prepínačom na ovládanie funkcií v polohe NEUTRáL posuňte joystick na zdvíhanie/spúšťanie dopredu a spustite ostrenie vyhradených kotúčov.
Pomocou kefy s dlhou rukoväťou naneste zmes používanú pri ostrení. Nikdy nepoužívajte kefu s krátkou rukoväťou.
Ak sa kotúče pri ostrení zastavia alebo sú nestále, vyberte vyššie nastavenie otáčok kotúčov, kým sa otáčky nestabilizujú.
Ak chcete pri ostrení upraviť rezacie jednotky, posunutím joysticku na zdvíhanie/spúšťanie dozadu vypnite kotúče a motor. Po dokončení úprav zopakujte kroky 3 až 9.
Tento postup zopakujte pre všetky rezacie jednotky, ktoré chcete ostriť.
Po dokončení vráťte nastavenie položky OSTRENIE v informačnom centre na možnosť VYP. alebo otočte kľúč do polohy VYP. a stroj vráťte do režimu kosenia dopredu.
Zmyte všetku zmes používanú pri ostrení z rezacích jednotiek. Kontakt kotúča rezacej jednotky a noža plošiny upravte podľa potreby. Ovládací prvok otáčok kotúča rezacej jednotky posuňte do požadovanej polohy kosenia.
Important: Rezacie jednotky nečistite vysokým tlakom vody. Môžu sa poškodiť ložiská a tesnenia.
| Servisný interval | Postup pri údržbe |
|---|---|
| Pri každom použití alebo denne |
|

Ohnutý alebo zlomený senzor či držiak senzoru zvyšuje riziko poruchy systému detekcie objektov, čo môže viesť k vážnym zraneniam alebo smrti.
Ak sú niektoré senzory alebo ich držiaky ohnuté alebo poškodené, ihneď ich opravte alebo vymeňte.
Pred autonómnou prevádzkou stroja skontrolujte senzory a ich držiaky.
| Servisný interval | Postup pri údržbe |
|---|---|
| Pri každom použití alebo denne |
|
Senzory čistite vždy, keď sa na nich nahromadia viditeľné nečistoty alebo keď nefungujú.
Vyhnite sa nadmernému čisteniu senzorov, pretože by to mohlo senzor poškodiť.
Umiestnenie senzorov nájdete v Obrázok 73.
Important: Pri čistení akéhokoľvek senzora nepoužívajte vodu pod vysokým tlakom.
Pomocou čistiaceho prostriedku Simple Green® alebo iného podobného jemného mydla odstráňte zo senzorov sonaru alebo radaru všetky zvyšky a nečistoty.
Note: Pri čistení senzora LiDAR nepoužívajte tvrdú vodu.
Určite vhodný spôsob čistenia:
Na senzore vyhľadajte prvých 5 znakov sériového čísla. Sériové číslo sa nachádza na štítku na spodnej strane senzora.
Ak sa prvých 5 znakov nachádza v rozsahu AE001–AE229, pokračujte krokom 2.
Ak je prvých 5 znakov AE230 alebo vyššie, pokračujte krokom 3 alebo 4.
Umyte mydlovou vodou.
Pomocou rozprašovača s čistou teplou vodou odstráňte nečistoty z objektívu senzora.
Important: Neodstraňujte nečistoty ani prach priamo zo senzora. To by mohlo poškriabať šošovku.
Senzor jemne utrite handričkou z mikrovlákna namočenou v teplej vode s trochou mydla.
Note: Utierajte po obryse objektívu, nie hore a dole po senzore.
Senzor postriekajte čistou vodou, aby ste z neho spláchli zvyšky mydla, a potom ho osušte čistou utierkou z mikrovlákna.
Čistite izopropylalkoholom.
Pomocou rozprašovača s čistou teplou vodou odstráňte nečistoty z objektívu senzora.
Important: Neodstraňujte nečistoty ani prach priamo zo senzora. To by mohlo poškriabať šošovku.
Pomocou izopropylalkoholu a čistej utierky z mikrovlákna odstráňte zo senzora všetky zvyšky nečistôt alebo prachu.
Senzor jemne utrite handričkou z mikrovlákna namočenou v teplej vode s trochou mydla.
Note: Utierajte po obryse objektívu, nie hore a dole po senzore.
Senzor postriekajte čistou vodou, aby ste z neho spláchli zvyšky mydla, a potom ho osušte čistou utierkou z mikrovlákna.
Čistite pomocou čističa optiky NACL.
Spoločnosť North American Coating Laboratories (NACL) vyvinula čistiaci roztok určený pre určité optické zariadenia. Môžete si ho objednať priamo u spoločnosti pomocou nasledujúcich údajov:
Číslo dielu NACL: 98-0020
Popis produktu NACL: Čistič optiky NACL Precision Optics, 6 oz
Nastriekajte roztok čističa Precision Optics Cleaner od spoločnosti NACL na čistú a suchú utierku z mikrovlákna.
Jemne utierajte po obryse objektívu, nie hore a dole po senzore.
Ak chcete stroj dlhšie skladovať, vykonajte kroky uvedené v časti Príprava stroja na uskladnenie.
Ak je to možné, stroj skladujte na teplom a suchom mieste.
Batérie (či už sú vložené v stroji, alebo sú z neho vybraté) sa musia skladovať vo vhodnom prostredí:
Odporúčaná teplota pri skladovaní je od 10 °C do 25 °C.
Skladovanie pri extrémnej teplote spôsobí rýchlejšie vybíjanie.
Ak sa očakáva, že teplota na dlhšie klesne pod bod mrazu, vyberte batérie zo stroja a uskladnite ich v teplejšom prostredí.
Odpojte konektory hlavného napájania. Pozrite si časť Konektory hlavného napájania.
Odstráňte nahromadené nečistoty a starú pokosenú trávu. V prípade potreby naostrite kotúče a nože plošiny. Pozrite si používateľskú príručku k rezacej jednotke. Na nože plošiny a čepele kotúčov naneste antikorózny prostriedok.
Z palivovej nádrže sa musí vypustiť všetko palivo. Motor nechajte v prevádzke, kým sa nezastaví. Vymeňte palivový filter. Pozrite si časť Výmena palivového filtra.
Keď je motor ešte stále zohriaty, vypustite olej z kľukovej skrine. Nalejte do nej čerstvý olej. Pozrite si časť Výmena motorového oleja a filtra.
Vyberte zapaľovacie sviečky, nalejte do valcov 30 ml oleja SAE 30 a štartujte motor, aby sa olej rovnomerne distribuoval. Vymeňte zapaľovacie sviečky. Pozrite si časť Servis zapaľovacej sviečky.
Odstráňte nečistoty a plevy z valca, rebier hlavy valcov a plášťa dúchadla.
Odpojte káble od 12 V batérie.
Uistite sa, že sú 12 V a 48 V batérie úplne nabité. Pokyny na nabíjanie nájdete v servisnej príručke k trakčnej jednotke.
Po každých 6 mesiacoch skladovania skontrolujte úroveň nabitia batérie a nabite ju.
Zdvihnite a podoprite stroj, aby hmotnosť stroja nebola rozložená na pneumatikách.