| Intervalo de mantenimiento y servicio | Procedimiento de mantenimiento |
|---|---|
| Cada vez que se utilice o diariamente |
|
Esta máquina es una segadora de green de asiento, equipada con cuchillas de molinete, diseñada para ser usada por operadores profesionales contratados en aplicaciones comerciales. Se ha diseñado principalmente para cortar hierba en césped bien mantenido. El uso de este producto para otros propósitos que los previstos podría ser peligroso para usted y para otras personas.
Lea este manual detenidamente para aprender a utilizar y mantener correctamente su producto, y para evitar lesiones y daños al producto. Usted es responsable de utilizar el producto de forma correcta y segura.
Visite www.Toro.com para obtener más información, incluidos consejos de seguridad, materiales de formación, información sobre accesorios, ayuda para encontrar a un distribuidor o para registrar su producto.
Cuando necesite asistencia técnica, piezas genuinas Toro o información adicional, póngase en contacto con un distribuidor autorizado Toro y tenga a mano los números de modelo y serie de su producto. Figura 1 identifica la ubicación de los números de modelo y serie en el producto. Escriba los números en el espacio provisto.
Important: Con su dispositivo móvil, puede escanear el código QR de la calcomanía del número de serie (en su caso) para acceder a información sobre la garantía, las piezas, y otra información sobre el producto.

Este manual identifica peligros potenciales y contiene mensajes de seguridad identificados por el símbolo de alerta de seguridad (Figura 2), que señala un peligro que puede causar lesiones graves o la muerte si usted no sigue las precauciones recomendadas.

Este manual utiliza 2 palabras más para resaltar información. Importante llama la atención sobre información mecánica especial, y Nota resalta información general que merece una atención especial.
Este producto cumple todas las directivas europeas aplicables; si desea más detalles, consulte la Declaración de Conformidad (Declaration of Conformity – DOC) de cada producto.
El uso o la operación del motor en cualquier terreno forestal, de monte o cubierto de hierba a menos que el motor esté equipado con parachispas (conforme a la definición de la sección 4442) mantenido en buenas condiciones de funcionamiento, o que el motor haya sido fabricado, equipado y mantenido para la prevención de incendios, constituye una infracción de la legislación de California (Sección 4442 o 4443 del California Public Resource Code).
El Manual del propietario del motor adjunto ofrece información sobre las normas de la U.S. Environmental Protection Agency (EPA) y de la California Emission Control Regulation sobre sistemas de emisiones, mantenimiento y garantía. Puede solicitarse un manual nuevo al fabricante del motor.
Si la máquina está equipada con un dispositivo telemático, consulte a su distribuidor autorizado Toro para obtener instrucciones para activar el dispositivo.
CALIFORNIA
Advertencia de la Propuesta 65
Es sabido por el Estado de California que los gases de escape de los motores diesel y algunos de sus componentes causan cáncer, defectos congénitos y otros peligros para la reproducción.
Los bornes, terminales y otros accesorios de la batería contienen plomo y compuestos de plomo, productos químicos reconocidos por el Estado de California como causantes de cáncer y daños reproductivos. Lávese las manos después de manejar el material.
El uso de este producto puede provocar la exposición a sustancias químicas que el Estado de California considera causantes de cáncer, defectos congénitos u otros trastornos del sistema reproductor.
Este producto es capaz de amputar manos y pies y de lanzar objetos al aire.
Lea y comprenda el contenido de este manual del operador antes de arrancar el motor.
Preste toda su atención al utilizar la máquina. No realice ninguna actividad que genere distracciones, de lo contrario pueden producirse lesiones o daños en la propiedad.
No coloque las manos o los pies cerca de componentes en movimiento de la máquina.
No utilice la máquina a menos que tenga instalados y estén en funcionamiento todos los protectores y otros dispositivos de seguridad.
Mantenga a otras personas, especialmente a los niños, alejadas del área de operación. Nunca permita a los niños utilizar la máquina.
Apague la máquina, retire la llave y espere a que se detenga todo movimiento antes de dejar el puesto del operador. Deje que la máquina se enfríe antes de realizar ajustes, tareas de mantenimiento y de limpieza o de guardarla.
El uso o mantenimiento incorrecto de esta máquina puede
causar lesiones. Para reducir el peligro de lesiones, cumpla estas
instrucciones de seguridad y preste atención siempre al símbolo
de alerta de seguridad
, que significa: Cuidado, Advertencia
o Peligro – instrucción relativa a la seguridad personal.
El incumplimiento de estas instrucciones puede dar lugar a lesiones
personales o la muerte.
![]() |
Las calcomanías e instrucciones de seguridad están a la vista del operador y están ubicadas cerca de cualquier zona de peligro potencial. Sustituya cualquier pegatina que esté dañada o que falte. |













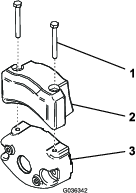
Piezas necesarias en este paso:
| Barra antivuelco | 1 |
| Perno (½" x 3¾") | 4 |
| Tuerca con arandela prensada (½") | 4 |
Retire el soporte superior de la caja.
Retire la barra antivuelco de la caja.
Retire los 3 pernos que sujetan la cubierta derecha a la máquina, y retire la cubierta lateral.
Retire los 2 pernos que sujetan el soporte del bloque de fusibles al soporte del ROPS, como se muestra en la Figura 3.

Alinee el soporte del bloque de fusibles en el soporte derecho del ROPS y utilice 4 pernos (½" x 3¾") y 4 tuercas con arandela prensada (½") para instalar la barra antivuelco en los soportes del ROPS en cada lado de la máquina.
Apriete las fijaciones a entre 136 y 149 N∙m.
Utilice los 3 pernos que retiró anteriormente para sujetar la cubierta derecha a la máquina.
Piezas necesarias en este paso:
| Kit de asiento (pedir por separado; póngase en contacto con su distribuidor autorizado Toro) | 1 |
Adquiera el kit de asiento deseado en su distribuidor e instálelo en la máquina; consulte lasInstrucciones de instalación del kit.
Piezas necesarias en este paso:
| Pegatina de mantenimiento (Pieza N.º 139-2728) | 1 |
| Pegatina de control de corte (115-8156) | 1 |
Instale la pegatina de mantenimiento (Pieza N.º 139-2728) y la pegatina de control de corte (Pieza N.º 115-8156) en el asiento; consulte la Figura 4 para el asiento Premium (Modelo 04719) o la Figura 5 para el asiento estándar (Modelo 04508).


Piezas necesarias en este paso:
| Volante | 1 |
| Contratuerca (1½") | 1 |
| Arandela | 1 |
| Tapón del volante | 1 |
Piezas necesarias en este paso:
| Dispositivo telemático | 1 |
| Soporte del dispositivo | 1 |
| Arnés de cables de la telemática | 1 |
| Perno de cabeza hexagonal (n.º 10 × 1") | 4 |
| Contratuerca (n.º 10) | 4 |
| Perno en U | 1 |
| Tuerca con arandela prensada (⅜") | 2 |
| Brida | 4 |
Utilice 4 pernos de cabeza hexagonal (n.º 10 × 1") y 4 contratuercas (n.º 10) para sujetar el dispositivo telemático al soporte del dispositivo (Figura 7).

Utilice un perno en U y 2 tuercas con arandela prensada (⅜") para sujetar el soporte del dispositivo encima del tubo del manual de la barra antivuelco (Figura 8).

Instale el conector marcado P02 del arnés de cables de la telemática en el dispositivo telemático (Figura 9).

Retire la cubierta lateral derecha (Figura 10) de la máquina.

Enrute el arnés de cables hacia abajo por la barra antivuelco y conecte el conector del arnés de cables marcado P01 al conector del arnés de cables de la máquina marcado P49 (Figura 11).
Sujete el arnés de la telemática al arnés principal con una brida (Figura 11).

Sujete el arnés a la barra antivuelco con bridas, como se muestra en la figura.

Instale la cubierta lateral derecha en la máquina (Figura 10).
Cargue la batería; consulte Carga de la batería.
Piezas necesarias en este paso:
| Gancho del recogedor | 6 |
| Pernos con arandela prensada | 12 |
Instale los 6 ganchos de los recogedores en los extremos de las barras de los brazos de suspensión usando 12 pernos con arandela prensada (Figura 13).

Piezas necesarias en este paso:
| Barra de ajuste | 1 |
| Unidad de corte (disponible a través de su distribuidor autorizado Toro) | 3 |
| Recogedor | 3 |
| Contrapeso del motor de molinete eléctrico | 3 |
| Tornillo | 6 |
| Junta tórica | 3 |
Prepare las unidades de corte para su instalación; consulte el Manual del operador de la unidad de corte.
Aplique grasa al diámetro interno del acoplamiento de tracción.
Instale una junta tórica en cada motor del molinete, tal y como se muestra en la Figura 14.

Instale el contrapeso del motor de molinete eléctrico; consulte Instalación de los contrapesos eléctricos.
Instale las unidades de corte; consulte Instalación de las unidades de corte.
La máquina dispone de una función de control de corte que varía la velocidad de los molinetes en función de la velocidad de la máquina para mantener una frecuencia de corte constante. De esta manera se logra una calidad de corte uniformemente alta, y un aspecto homogéneo después de la siega. La función de control de corte está desactivada por defecto; para configurarla y activarla, consulte Ajuste de la función de control de corte.
Piezas necesarias en este paso:
| Kit de pesos, Pieza N.º 121-6665 (se compra por separado) Nota: Este kit no es necesario para unidades que tengan instalado el kit de tracción a 3 ruedas. | 1 |
Esta unidad cumple la norma EN ISO 5395:2013 y la norma ANSI B71.4-2017 cuando está equipada con el Kit de pesos, Pieza N.º 121–6665.
Note: Si la unidad está equipada con un kit de tracción a 3 ruedas, no se requiere peso adicional para cumplir las normas EN ISO 5395:2013 y ANSI B71.4–2017.
Piezas necesarias en este paso:
| Kit de protector CE – Pieza N.º 04443 (se vende por separado) | 1 |
Instale el Kit de protector CE; consulte las instrucciones de instalación del Kit de protector CE para unidad de tracción Greensmaster TriFlex 3420.
Piezas necesarias en este paso:
| Pegatina de advertencia (Pieza N.º 136-8505) | 1 |
| Pegatina con marca CE | 1 |
| Pegatina con el año de fabricación | 1 |
Si utiliza esta máquina en un país que se rija por las normas CE, siga estos pasos después de instalar el kit de protector en la máquina:
Coloque la pegatina de advertencia CE (Pieza N.º 136-8505) sobre la pegatina de advertencia existente (Pieza N.º 136-8506). La Figura 15 muestra la ubicación de la pegatina de advertencia.

Aplique la pegatina con marca CE al bastidor debajo de la parte delantera del asiento (Figura 16).

Coloque la pegatina del año de producción junto a la placa con el número de serie (Figura 17).

Los neumáticos se sobreinflan en fábrica para el transporte. Reduzca la presión al nivel correcto antes de arrancar la máquina; consulte Comprobación de la presión de los neumáticos.
Bruña los frenos; consulte Bruñido de los frenos.

El pedal de tracción (Figura 19) tiene 3 funciones: desplazar la máquina hacia adelante, desplazarla hacia atrás, y parar la máquina. Pise la parte superior del pedal para desplazarse hacia delante y la parte inferior para desplazarse hacia atrás, o para ayudar en el frenado al desplazarse hacia adelante. Deje que el pedal se desplace a la posición de punto muerto para detener la máquina. Para su comodidad, no apoye el talón sobre la sección de marcha atrás del pedal de tracción mientras conduce la máquina hacia adelante (Figura 20).


Las velocidades de avance son las siguientes:
Velocidad de siega hacia adelante: 3,2 a 8 km/h
Velocidad máxima de transporte: 16 km/h
Velocidad en marcha atrás: 4,0 km/h
Pise el pedal (Figura 19) y eleve o baje el brazo de dirección a la posición más cómoda; luego suelte el pedal para bloquear el brazo.
Con la palanca del acelerador (Figura 21) puede controlar la velocidad del motor. Mueva la palanca del acelerador hacia la posición RáPIDO para aumentar la velocidad del motor; muévala hacia LENTO para disminuir la velocidad del motor.
Note: No es posible apagar el motor usando la palanca del acelerador.

Si se mueve el control (Figura 21) hacia adelante durante la siega, se bajan las unidades de corte y se ponen en movimiento los molinetes. Tire del control hacia atrás para parar los molinetes y elevar las unidades de corte. Para parar los molinetes sin elevar las unidades de corte, tire hacia atrás del control momentáneamente y suéltelo. Arranque los molinetes moviendo el control hacia adelante.
La palanca de control funcional (Figura 21) ofrece dos selecciones de tracción, más una posición de punto muerto. Está permitido cambiar de segar a transporte, o de transporte a segar (no a punto muerto) con la máquina en movimiento; no se producirá daño alguno.
Posición TRASERA – punto muerto; utilice esta posición para autoafilar los molinetes
Posición CENTRAL – utilice esta posición para la siega
Posición DELANTERA – utilice esta posición para conducir la máquina entre diferentes lugares de trabajo
Introduzca la llave de contacto (Figura 21) y gírela en sentido horario a la posición de ARRANQUE para arrancar el motor. Suelte la llave en cuanto arranque el motor; la llave vuelve a la posición de CONECTADO. Gire la llave hacia la izquierda, a la posición PARADA para parar el motor.
Tire de la palanca del freno (Figura 22) para poner el freno de estacionamiento. Para quitarlo, apriete la palanca de liberación situada debajo de la palanca del freno y bájela a la posición de quitado. Accione el freno de estacionamiento siempre que vaya a dejar la máquina desatendida.

La pantalla del InfoCenter muestra información sobre la máquina, como por ejemplo el estado operativo, diferentes diagnósticos y otra información sobre la máquina.

Note: El propósito de cada botón puede variar dependiendo de lo que se necesite en cada momento. El icono de cada botón indicará su función en cada momento.
Utilice los botones de navegación para desplazarse entre la pantalla de información principal, la pantalla del motor eReel y los elementos de los menús:
Pantalla principal de información (Figura 24): muestra información actual de la máquina con la llave en la posición de CONECTADO.

Pantalla de motores eReel (Figura 25): muestra la velocidad y la corriente de cada motor de las unidades de corte.

Menú principal: consulte Uso de los menús.
![]() | Horímetro |
![]() | El interruptor de control de funciones está en la posición de PUNTO MUERTO. |
![]() | El interruptor de control de funciones está en la posición de TRANSPORTE. |
![]() | El interruptor de control de funciones está en la posición de SIEGA. |
![]() | El operador debe sentarse en el asiento. |
![]() | El freno de estacionamiento está accionado. |
![]() | Arranque el motor. |
![]() | Motor |
![]() | Refrigerante del motor |
![]() | Bujía |
![]() | La TDF está engranada. |
![]() | La TDF está desengranada. |
![]() | Batería |
![]() | Indica que las unidades de corte se están elevando. |
![]() | Indica que las unidades de corte se están bajando. |
![]() | Activar |
![]() | Inactivo |
![]() | Anterior |
![]() | Siguiente |
![]() | Aumentar |
![]() | Reducir |
![]() | Pantalla anterior |
![]() | Siguiente pantalla |
![]() | Aumentar el valor |
![]() | Reducir el valor |
![]() | Menú |
![]() | Desplazamiento hacia arriba/hacia abajo |
![]() | Desplazamiento hacia la izquierda/hacia la derecha |
Para entrar en el sistema de menús del InfoCenter, pulse el botón de ACCESO A LOS MENúS en la pantalla principal. De este modo accede al MENú PRINCIPAL. Las tablas siguientes contienen un resumen de las opciones disponibles en cada menú.
| Elemento del menú | Descripción |
| FAULT (Fallos) | El menú FAULTS (Fallos) contiene una lista de los fallos recientes de la máquina. Consulte el manual de mantenimiento o póngase en contacto con su distribuidor Toro autorizado si desea más información sobre el menú FALLOS y la información que contiene. |
| SERVICE (Mantenimiento) | El menú MANTENIMIENTO contiene información sobre la máquina, como por ejemplo horas de uso y otros datos similares. Consulte la tabla Sevice (Mantenimiento). |
| DIAGNOSTICS (Diagnósticos) | El menú DIAGNOSTICS (Diagnósticos) muestra diversos estados actuales de la máquina. Puede utilizar esta información para identificar y resolver algunos problemas, puesto que indica rápidamente qué controles de la máquina están activados/encendidos, y cuáles están desactivados/apagados. |
| SETTINGS (Ajustes) | Con el menú SETTINGS (Ajustes), puede modificar los ajustes de la pantalla del InfoCenter. Consulte la tabla Settings (Ajustes). |
MACHINE SETTINGS (Ajustes de la
máquina) ![]() | En el menú MACHINE SETTINGS (Ajustes de la máquina) puede establecer ajustes de la máquina como la velocidad de los molinetes, la velocidad máxima de siega y la velocidad máxima de transporte. Consulte la tabla Machine Settings (Ajustes de la máquina). |
| ABOUT (Acerca de) | El menú ABOUT (Acerca de) muestra el número de modelo, el número de serie y la versión del software de su máquina. Consulte la tabla About (Acerca de). |
| Elemento del menú | Descripción |
| HOURS (HORAS) | Muestra el número total de horas durante las que la máquina, el motor, los molinetes, el autoafilado y el ventilador han estado encendidos, así como el número de horas de transporte y de sobrecalentamiento de la máquina. |
| COUNTS (RECUENTOS) | Indica el número de precalentamientos y arranques de la máquina. |
| BACKLAP (AUTOAFILADO) | CONECTA/DESCONECTA el autoafilado (una vez que está conectado, puede desconectar el autoafilado con este ajuste o desconectando la llave de contacto). |
| Elemento del menú | Descripción |
| ENTER PIN (Introducir PIN) | Permite que una persona (superintendente o mecánico) autorizada por la empresa con código PIN acceda a los menús protegidos. |
| BACKLIGHT (Retroiluminación) | Controla el brillo de la pantalla LCD. |
| LANGUAGE (Idioma) | Controla el idioma utilizado en el InfoCenter. |
| FONT SIZE (Tamaño de fuente) | Controla el tamaño de la fuente en el InfoCenter. |
| UNITS (Unidades) | Controla las unidades utilizadas en el InfoCenter. Las opciones de menú son Inglés o Métrico. |
PROTECT SETTINGS (Proteger ajustes) ![]() | Controla los menús protegidos. |
RESET DEFAULTS (Restablecer ajustes
predeterminados) ![]() | Reinicia el InfoCenter con los valores predeterminados. |
| Elemento del menú | Descripción |
RESET DEFAULTS (Restablecer ajustes
predeterminados) ![]() | Reinicia el InfoCenter con los valores predeterminados. |
RAISE DELAY (Demora de elevación) ![]() | Controla el tiempo de la demora de elevación de la unidad de corte central. |
LOWER DELAY (Demora de bajada) ![]() | Controla el tiempo de la demora de bajada de la unidad de corte central. |
TAPOFF TIME (Tiempo de Apagado
rápido) ![]() | Controla la demora del apagado rápido. |
REEL SPEED (Velocidad de los molinetes) ![]() | Controla la velocidad de las cuchillas en las unidades de corte. |
BACKLAP SPEED (Velocidad de autoafilado) ![]() | Controla la velocidad del autoafilado. |
CLIP CONTROL (Control de corte) ![]() | Activa/desactiva la función de control de corte automático. |
BLADE COUNT (Número de cuchillas) ![]() | Ajusta el número de cuchillas en cada molinete. Este ajuste solo es necesario si el CLIP CONTROL (Control de corte) está CONECTADO. |
HEIGHT OF CUT (Altura de corte) ![]() | Establece la altura de corte deseada. Este ajuste solo es necesario si el CLIP CONTROL (Control de corte) está CONECTADO. |
| Elemento del menú | Descripción |
| MODEL (Modelo) | Muestra el número de modelo de la máquina. |
| SN | Muestra el número de serie de la máquina. |
| S/W REV (Versión de SW) | Indica la versión del software del controlador maestro. |
XDM-2700 ![]() | Indica la revisión de software del InfoCenter. |
CUTTING UNIT 1 (Unidad de corte
1) ![]() | Indica la versión del software del motor de la unidad de corte central. |
CUTTING UNIT 2 (Unidad de corte
2) ![]() | Indica la versión del software del motor de la unidad de corte delantera izquierda. |
CUTTING UNIT 3 (Unidad de corte
3) ![]() | Indica la revisión de software del motor de la unidad de corte delantera derecha. |
GENERADOR![]() | Indica el número de serie del generador. |
Note:
Protegido
en menús protegidos – accesible solo al introducir el
PIN; consulte Acceso a los menús protegidos.
Note: El PIN predeterminado de fábrica de la máquina es 0000 o bien 1234.Si ha cambiado el código PIN y lo ha olvidado, póngase en contacto con su Distribuidor Autorizado Toro para obtener ayuda.
En el menú PRINCIPAL, vaya al menú SETTINGS (Ajustes) y pulse el botón de selección (Figura 26).

En el menú SETTINGS (Ajustes), vaya a ENTER PIN (Introducir PIN) y pulse el botón de selección (Figura 27A).

Para introducir el código PIN, presione los botones de navegación Arriba/Abajo hasta que aparezca el primer dígito correcto y, a continuación, pulse el botón de navegación Derecha para desplazarse al dígito siguiente (Figura 27B y Figura 27C). Repita este paso hasta que haya introducido el último dígito.
Pulse el botón de selección (Figura 27D).
Note: Si la pantalla acepta el código PIN y el menú
protegido se desbloquea, aparece
en la esquina superior derecha de la pantalla.
Para bloquear el menú protegido, gire el interruptor de encendido a la posición DESCONECTADO y luego a la posición CONECTADO.
En SETTINGS (Ajustes), vaya a PROTECT SETTINGS (Proteger ajustes).
Para ver y modificar los ajustes sin introducir un
código PIN, utilice el botón de selección para
cambiar PROTECT SETTINGS (Proteger ajustes)
a
(Desactivado).
Para ver y modificar los ajustes con un código
PIN, utilice el botón de selección para cambiar PROTECT SETTINGS (Proteger ajustes) a
(Activado), introduzca
el código PIN y gire la llave del interruptor de encendido
a la posición de DESCONECTADO y
luego a la posición de CONECTADO.

Rojo intermitente — fallo activo
Rojo fijo — aviso activo
Azul fijo — Mensajes de calibración/diálogo
Verde fijo — operación normal
Ajuste como desee el tiempo de demora de la elevación y la bajada de la unidad de corte central con el InfoCenter, de 1 a 10, según se indica en la siguiente tabla. El ajuste de fábrica es el 6 (375 ms) y está optimizado para una velocidad de siega de 6,1 km/h.
| Incremento número | Tiempo de demora (segundos) |
| 1 | 0,100 |
| 2 | 0,150 |
| 3 | 0,200 |
| 4 | 0,250 |
| 5 | 0,300 |
| 6 | 0,375 |
| 7 | 0,475 |
| 8 | 0,600 |
| 9 | 0,750 |
| 10 | 0,925 |
La función de demora del Apagado rápido permite desactivar las unidades de corte sin elevarlas, y puede ajustarse con el InfoCenter. La demora representa el tiempo máximo que el joystick de elevación/bajada debe permanecer en la posición Elevar para activar esta función. El ajuste de fábrica es el 1, que deshabilita esta función.
| Incremento número | Tiempo de demora (segundos) |
| 1 | Desconectado |
| 2 | 0,050 |
| 3 | 0,100 |
| 4 | 0,150 |
| 5 | 0,200 |
| 6 | 0,250 |
| 7 | 0,300 |
| 8 | 0,350 |
| 9 | 0,400 |
| 10 | 0,450 |
Para obtener una calidad de corte alta y un aspecto uniforme después de la siega, la máquina dispone de una función de control de corte que varía la velocidad de los molinetes según la velocidad de la máquina, para mantener un corte constante. Esta función está DESACTIVADA por defecto. Si activa esta función, asegúrese de que el número de cuchillas y la altura de corte estén configurados en el valor idóneo en el menú SETTINGS (Ajustes).
La función de control de corte ajusta automáticamente la velocidad del molinete para que coincida con la velocidad de la máquina. Si opta por no utilizar la función de control de corte, ajuste la velocidad del molinete de forma manual del siguiente modo:
Seleccione el ajuste de altura de corte de las unidades de corte.
Seleccione la velocidad de avance más adecuada para las condiciones existentes.
Usando el gráfico apropiado (Figura 29) para unidades de corte de 5, 8, 11 o 14 cuchillas, determine el ajuste correcto para la velocidad de los molinetes.

Para establecer la velocidad de los molinetes en el InfoCenter, abra el menú principal y desplácese hacia abajo hasta la opción SETTINGS (Ajustes).
En el menú SETTINGS (Ajustes), desplácese hacia abajo hasta REEL SPEED (Velocidad de los molinetes) y utilice el botón idóneo para establecer la velocidad de los molinetes que desee.
El icono del indicador del registro de fallos aparece en la pantalla principal si se detecta un fallo en la máquina. Cuando este icono aparezca, habrá una nueva entrada en el menú de Fallos que usted o su distribuidor puede utilizar para identificar el problema.
Para obtener una lista de fallos, consulte a su distribuidor Autorizado Toro o el Manual de mantenimiento.
La palanca de ajuste del asiento, situada en la esquina delantera izquierda del asiento (Figura 30), permite ajustar el asiento hacia adelante o hacia atrás.
Note: Si necesita ajustar más el asiento, puede retirar las cuatro tuercas que sujetan los raíles guía del asiento a la base y trasladar los raíles guía del asiento al segundo conjunto de taladros de montaje.

Cierre la válvula de cierre de combustible (Figura 31) (situada detrás del asiento y debajo del depósito de combustible) antes de almacenar la máquina o de transportarla en un camión o un remolque.

Antes de instalar, retirar o trabajar en las unidades de corte, desconecte las unidades de corte de la fuente de alimentación desenchufando el conector de alimentación de las unidades de corte (Figura 32), situado en la base del poste anti-vuelco en el lado izquierdo de la unidad de tracción. Enchufe los conectores antes de utilizar la máquina.

Si no desconecta la alimentación de las unidades de corte, alguien podría ponerlas en marcha accidentalmente y causarle heridas muy graves en las manos o en los pies.
Desenchufe siempre los conectores de alimentación de las unidades de corte antes de trabajar en las unidades de corte.
Note: Las especificaciones y diseños están sujetos a modificación sin previo aviso.
| Anchura de corte | 151 cm |
| Altura mínima sobre el suelo (en la línea central de la máquina) | 11 cm |
| Banda de rodadura (hasta el centro de los neumáticos) | 128 cm |
| Banda de rodadura (hasta el exterior de los neumáticos) | 154 cm |
| Distancia entre ejes | 119 cm |
| Longitud total (con recogedores) | 249 cm |
| Anchura total | 179 cm |
| Altura total | 205 cm |
| Peso neto con molinete de 8 cuchillas | 766 kg |
| Peso neto con molinete de 11 cuchillas | 770 kg |
Está disponible una selección de aperos y accesorios homologados por Toro que se pueden utilizar con la máquina a fin de potenciar y aumentar sus prestaciones. Póngase en contacto con su servicio técnico autorizado o con su distribuidor Toro autorizado, o bien visite www.Toro.com para obtener una lista de todos los aperos y accesorios homologados.
Para asegurar un rendimiento óptimo y mantener la certificación de seguridad de la máquina, utilice solamente piezas y accesorios genuinos Toro. Las piezas de repuesto y accesorios de otros fabricantes podrían ser peligrosos, y su uso podría invalidar la garantía del producto.
Note: Los lados derecho e izquierdo de la máquina se determinan desde la posición normal del operador.
No deje nunca que la máquina sea utilizada o mantenida por niños o por personas que no hayan recibido la formación adecuada al respecto. La normativa local puede imponer límites sobre la edad del operador. El propietario es responsable de proporcionar formación a todos los operadores y mecánicos.
Familiarícese con la operación segura del equipo, los controles del operador y las señales de seguridad.
Accione el freno de estacionamiento, apague la máquina, retire la llave y espere a que se detenga todo movimiento antes de dejar el puesto del operador. Deje que la máquina se enfríe antes de realizar ajustes, tareas de mantenimiento y de limpieza o de guardarla.
Sepa cómo detener la máquina y apagar la máquina rápidamente.
Compruebe que los controles de presencia del operador, los interruptores de seguridad y los dispositivos protectores de seguridad están colocados y que funcionan correctamente. No utilice la máquina si no funcionan correctamente.
Antes de segar, siempre inspeccione la máquina para asegurarse de que las unidades de corte están en buenas condiciones de funcionamiento.
Inspeccione la zona en la que va a utilizar la máquina y retire cualquier objeto que pudiera ser arrojado por la máquina.
Extreme las precauciones al manejar el combustible. Es inflamable y sus vapores son explosivos.
Apague cualquier cigarrillo, cigarro, pipa u otra fuente de ignición.
Utilice solamente un recipiente de combustible homologado.
No retire la tapa de combustible ni llene el depósito de combustible si el motor está en marcha o está caliente.
No añada ni drene combustible en un lugar cerrado.
No guarde la máquina o un recipiente de combustible en un lugar donde pudiera haber una llama desnuda, chispas o una llama piloto, por ejemplo en un calentador de agua u otro electrodoméstico.
Si se derrama combustible, no intente arrancar el motor; evite crear fuentes de ignición hasta que los vapores del combustible se hayan disipado.
Capacidad del depósito de combustible: 20,4 litros
Combustible recomendado:
Para obtener los mejores resultados, utilice únicamente combustible diésel o combustibles biodiésel limpios y nuevos con contenido sulfúrico bajo (<500 ppm) o ultrabajo (<15 ppm). El número mínimo de cetanos debe ser de 40. Compre el combustible en cantidades que puedan ser consumidas en 180 días para asegurarse de que el combustible es nuevo.
Utilice combustible diésel tipo verano (Nº 2-D) a temperaturas superiores a -7 °C y combustible tipo invierno (Nº 1-D o mezcla de Nº 1-D/2-D) a temperaturas inferiores a -7 °C. El uso de combustible tipo invierno a bajas temperaturas proporciona un punto de inflamación menor y características de flujo en frío que facilitarán el arranque y reducirán la obturación del filtro del combustible.
Note: El uso de combustible tipo verano con temperaturas por encima de los -7 °C contribuirá a aumentar la vida útil de la bomba para el combustible y a incrementar la potencia en comparación con el combustible tipo invierno.
Esta máquina puede emplear también un combustible mezclado de biodiésel de hasta B20 (20 % biodiésel, 80 % petrodiésel). La porción de petrodiésel debe ser bajo o ultrabajo en azufre. Observe las siguientes precauciones:
La parte de biodiésel del combustible deberá cumplir con la especificación ASTM D6751 o EN 14214.
La composición del combustible mezclado deberá cumplir con ASTM D975 o EN 590.
Las superficies pintadas podrían sufrir daños por las mezclas de biodiésel.
Utilice B5 (contenido de biodiésel del 5%) o mezclas menores cuando hace frío.
Vigile las juntas herméticas, las mangueras y obturadores en contacto con el combustible ya que pueden degradarse con el paso del tiempo.
Es previsible la obturación del filtro del combustible durante un tiempo tras pasarse a las mezclas de biodiésel.
Póngase en contacto con su distribuidor autorizado Toro si desea más información sobre el biodiésel.
Limpie alrededor del tapón de combustible y retírelo (Figura 33).

Añada combustible del tipo especificado al depósito de combustible hasta que el nivel esté a 25 mm por debajo del extremo inferior del cuello de llenado. Este espacio vacío en el depósito permite la dilatación del combustible.
Important: No llene completamente el depósito de combustible.
Coloque el tapón.
Note: Oirá un clic cuando el tapón esté encajado.
Limpie cualquier combustible derramado.
| Intervalo de mantenimiento y servicio | Procedimiento de mantenimiento |
|---|---|
| Cada vez que se utilice o diariamente |
|
Antes de arrancar la máquina cada día, haga lo siguiente:
Compruebe el nivel de aceite del motor.
Drenaje del agua del filtro de combustible.
Compruebe el sistema de refrigeración.
Comprobación de la presión de los neumáticos.
Compruebe el nivel de fluido hidráulico.
Comprobación del contacto molinete-contracuchilla.
El propietario/operador puede prevenir y es responsable de cualquier accidente que pudiera provocar lesiones personales o daños materiales.
Lleve ropa adecuada, incluida protección ocular, pantalones largos, calzado resistente y antideslizante y protección auricular. Si tiene el pelo largo, recójaselo, y no lleve prendas o joyas sueltas.
No utilice la máquina si está enfermo, cansado o bajo la influencia de alcohol o drogas.
Preste toda su atención al utilizar la máquina. No realice ninguna actividad que genere distracciones, de lo contrario pueden producirse lesiones o daños en la propiedad.
Antes de arrancar el motor, asegúrese de que todas las transmisiones están en punto muerto, de que el freno estacionamiento está accionado y de que usted se encuentra en la posición del operador.
No lleve pasajeros en la máquina.
Mantenga a otras personas, especialmente a los niños, alejadas del área de operación. Si es necesario que estén presentes otros trabajadores, tenga cuidado y asegúrese de que los recogedores están instalados en la máquina.
Utilice la máquina únicamente con buena visibilidad para evitar agujeros y peligros ocultos.
Evite segar la hierba mojada. La reducción de la tracción podría hacer que la máquina se resbalara.
Mantenga las manos y los pies alejados de las unidades de corte.
Mire hacia atrás y hacia abajo antes de poner marcha atrás para asegurarse de que el camino está despejado.
Tenga cuidado al acercarse a esquinas ciegas, arbustos, árboles u otros objetos que puedan dificultar la visión.
Pare las unidades de corte si no está segando.
Vaya más despacio y tenga cuidado al girar y al cruzar calles y aceras con la máquina. Ceda el paso siempre.
Accione el motor únicamente en áreas bien ventiladas. Los gases de escape contienen monóxido de carbono, que resulta letal si se inhala.
No deje la máquina desatendida mientras esté funcionando.
Antes de abandonar la posición del operador, haga lo siguiente:
Aparque la máquina en una superficie nivelada.
Baje las unidades de corte al suelo y asegúrese de que están desengranadas.
Accione el freno de estacionamiento.
Apague el motor y retire la llave.
Espere a que se detenga todo movimiento.
Utilice la máquina únicamente si existen condiciones meteorológicas y de visibilidad adecuadas. No utilice la máquina cuando exista riesgo de caída de rayos.
No retire ninguno de los componentes del ROPS de la máquina.
Asegúrese de abrocharse el cinturón de seguridad y de que puede desabrocharlo rápidamente en caso de emergencia.
Lleve puesto siempre el cinturón de seguridad.
Compruebe detenidamente si hay obstrucciones sobre la máquina y no entre en contacto con ellas.
Mantenga el ROPS en condiciones seguras de funcionamiento, inspeccionándolo periódicamente en busca de daños y manteniendo bien apretados todas las fijaciones de montaje.
Sustituya todos los componentes del ROPS dañados. No los repare ni los modifique.
Las pendientes son una de las principales causas de accidentes por pérdida de control y vuelcos, que pueden causar lesiones graves o la muerte. Usted es responsable de la seguridad cuando trabaja en pendientes. La conducción de la máquina en pendientes requiere extremar la precaución.
Evalúe las condiciones del lugar de trabajo para determinar si es seguro trabajar en la pendiente con la máquina; puede ser necesario realizar un estudio detallado de la zona. Aplique siempre el sentido común y un buen criterio a la hora de realizar esta valoración.
Revise las instrucciones sobre pendientes, que se indican a continuación, para conducir la máquina en pendientes. Antes de utilizar la máquina, revise las condiciones del lugar de trabajo para determinar si la máquina puede utilizarse en las condiciones reinantes en un día y un lugar determinados. Los cambios en el terreno pueden producir un cambio en el funcionamiento de la máquina en pendientes.
Evite arrancar, parar o girar la máquina en cuestas o pendientes. Evite realizar cambios bruscos de velocidad o de dirección. Realice giros de forma lenta y gradual.
No utilice la máquina en condiciones que puedan comprometer la tracción, la dirección o la estabilidad de la máquina.
Retire o señale obstrucciones como terraplenes, baches, surcos, montículos, rocas u otros peligros ocultos. La hierba alta puede ocultar obstrucciones. Un terreno irregular podría hacer volcar la máquina.
Tenga en cuenta que conducir en hierba mojada, atravesar pendientes empinadas, o bajar cuestas puede hacer que la máquina pierda tracción. La pérdida de tracción de las ruedas motrices puede hacer que la máquina patine, así como sufrir pérdida de frenado o de dirección.
Extreme las precauciones cuando utilice la máquina cerca de terraplenes, fosas, taludes, obstáculos de agua u otros obstáculos. La máquina podría volcar repentinamente si una rueda pasa por el borde de un terraplén o fosa, o si se socava un talud. Establezca un área de seguridad entre la máquina y cualquier peligro.
Identifique peligros situados en la base de la pendiente. Si hay algún peligro, siegue la pendiente con una máquina controlada por un peatón.
Si es posible, mantenga las unidades de corte bajadas hasta el suelo al utilizar la máquina en pendientes. Si las unidades de corte se elevan en pendientes, la máquina puede desestabilizarse.
Extreme las precauciones cuando utilice sistemas de recogida de hierba u otros accesorios. Estos pueden cambiar la estabilidad de la máquina y causar pérdidas de control.
Consulte el Manual del propietario del motor, suministrado con la máquina, si desea información sobre los procedimientos de cambio de aceite y mantenimiento recomendados durante el periodo de rodaje.
Sólo se necesitan 8 horas de uso para completar el periodo de rodaje.
Puesto que las primeras horas de operación son de vital importancia para la futura fiabilidad de la máquina, usted debe vigilar de cerca su rendimiento y sus funciones para poder observar y corregir pequeñas dificultades que podrían convertirse en problemas importantes. Inspeccione la máquina frecuentemente durante el rodaje buscando señales de fugas de aceite, cierres sueltos o cualquier otra señal de funcionamiento indebido.
Important: No utilice éter u otros tipos de fluido de arranque.
Note: Puede ser necesario purgar el sistema de combustible si ha ocurrido alguna de las situaciones siguientes:
Arranque inicial de un motor nuevo.
El motor se ha parado debido a falta de combustible.
Se han realizado tareas de mantenimiento sobre componentes del sistema de combustible, por ejemplo, sustitución del filtro, etc.
Consulte el manual del propietario de su motor.
Siéntese en el asiento, bloquee el freno de estacionamiento, desengrane el control de elevación/bajada de las unidades de corte y mueva la palanca de control funcional a la posición de PUNTO MUERTO.
Retire el pie del pedal de tracción y asegúrese de que el pedal esté en la posición de PUNTO MUERTO.
Mueva la palanca del acelerador a la posición LENTO.
Introduzca la llave en el interruptor y gírela a la posición de CONECTADO. Manténgala en la posición de CONECTADO hasta que se apague el indicador de la bujía (aproximadamente 6 segundos).
Gire la llave de contacto a la posición de ARRANQUE.
Important: Para evitar que se sobrecaliente el motor de arranque, no lo haga funcionar durante más de 10 segundos. Después de 10 segundos de arranque continuo, espere 60 segundos antes de utilizar el motor de arranque de nuevo.
Suelte la llave cuando el motor arranque y deje que vuelva a la posición de CONECTADO.
Deje que el motor se caliente durante unos minutos antes de usar la máquina.
Important: Cuando se arranca el motor por primera vez, o después de realizar mantenimiento en el motor, haga funcionar la máquina en marcha adelante y marcha atrás durante 1 o 2 minutos. Gire el volante a derecha e izquierda para comprobar la respuesta de la dirección. A continuación, pare el motor y espere a que se detengan todas las piezas en movimiento; consulte Para parar el motor. Compruebe que no haya fugas de aceite, piezas sueltas u otros desperfectos evidentes.
Mueva la palanca del acelerador a la posición de RáPIDO.
Mueva la palanca de control de elevación/bajada momentáneamente hacia adelante.
Las unidades de corte deben bajar y todos los molinetes deben girar.
Note: La palanca funcional debe estar en la posición central (siega) para que los molinetes giren mientras bajan las unidades de corte
Mueva la palanca de control de elevación/bajada de las unidades de corte hacia atrás.
Los molinetes deben dejar de rotar y las unidades de corte deben elevarse completamente hasta la posición de transporte.
Ponga el freno para que la máquina no pueda desplazarse, y pise el pedal de tracción en las posiciones de marcha hacia delante y marcha atrás.
Continúe el procedimiento anterior durante 1–2 minutos. Mueva la palanca de control funcional a la posición de PUNTO MUERTO, ponga el freno de estacionamiento y apague el motor.
Compruebe que no haya fugas de fluido y apriete los acoplamientos hidráulicos si encuentra alguna fuga.
Note: Cuando la máquina está nueva y los cojinetes y los molinetes están apretados, es necesario utilizar la posición de RáPIDO de la palanca del acelerador para esta comprobación. Es posible que no sea necesario usar el ajuste Rápido después del periodo de rodaje.
Note: Si siguen apareciendo fugas de fluido, póngase en contacto con su distribuidor Toro autorizado para solicitar ayuda y, en caso de necesidad, piezas de repuesto.
Important: Un poco de fluido en las juntas del motor o de las ruedas es normal. Las juntas requieren una pequeña cantidad de lubricante para funcionar correctamente.
Mueva la palanca del acelerador a la posición de LENTO, mueva hacia atrás el control de elevación/bajada de las unidades de corte y mueva la palanca de control funcional a PUNTO MUERTO.
Gire la llave de arranque a la posición DESCONECTADO para apagar el motor. Retire la llave de contacto para evitar un arranque accidental.
Cierre la válvula de cierre de combustible antes de almacenar la máquina.
| Intervalo de mantenimiento y servicio | Procedimiento de mantenimiento |
|---|---|
| Cada vez que se utilice o diariamente |
|
Si los interruptores de seguridad son desconectados o están dañados, la máquina podría ponerse en marcha inesperadamente, causando lesiones personales.
No manipule los interruptores de seguridad.
Compruebe la operación de los interruptores de seguridad cada día, y sustituya cualquier interruptor dañado antes de operar la máquina.
El propósito del sistema de interruptores de seguridad es impedir la operación de la máquina cuando hay riesgo de lesiones para usted o daños a la máquina.
El sistema de interruptores de seguridad impide que el motor arranque, a menos que:
El pedal de tracción se encuentra en la posición de PUNTO MUERTO.
La palanca de control funcional se encuentra en la posición de PUNTO MUERTO.
El sistema de interruptores de seguridad impide que la máquina se desplace, a menos que:
El freno de estacionamiento esté quitado.
Usted está sentado en el asiento del operador.
La palanca de control funcional se encuentra en la posición de SIEGA o de TRANSPORTE.
El sistema de interruptores de seguridad impide que se pongan en marcha los molinetes a menos que la palanca de control funcional esté en la posición de SIEGA.
| Intervalo de mantenimiento y servicio | Procedimiento de mantenimiento |
|---|---|
| Cada vez que se utilice o diariamente |
|
Realice las siguientes comprobaciones del sistema cada día para garantizar que el sistema de seguridad funciona correctamente:
Siéntese en el asiento, mueva el pedal de tracción a la posición de PUNTO MUERTO, mueva la palanca de control funcional a la posición de PUNTO MUERTO y accione el freno de estacionamiento.
Intente mover el pedal de tracción hacia adelante o hacia atrás.
El pedal no debe desplazarse, lo que indica que el sistema de seguridad funciona correctamente. Corrija el problema si el funcionamiento no es el correcto.
Siéntese en el asiento, mueva el pedal de tracción a la posición de PUNTO MUERTO, mueva la palanca de control funcional a la posición de PUNTO MUERTO y accione el freno de estacionamiento.
Mueva la palanca de control funcional a la posición de PUNTO MUERTO o la posición de TRANSPORTE e intente arrancar el motor.
El motor no debe girar o arrancar, lo que indica que el sistema de seguridad funciona correctamente. Corrija el problema si el funcionamiento no es el correcto.
Siéntese en el asiento, mueva el pedal de tracción a la posición de PUNTO MUERTO, mueva la palanca de control funcional a la posición de PUNTO MUERTO y accione el freno de estacionamiento.
Arranque el motor y mueva la palanca de control funcional a la posición de SIEGA o a la posición de TRANSPORTE.
El motor debe apagarse, lo que indica que el sistema de seguridad funciona correctamente.
Corrija el problema si el funcionamiento no es el correcto.
Siéntese en el asiento, mueva el pedal de tracción a la posición de PUNTO MUERTO, mueva la palanca de control funcional a la posición de PUNTO MUERTO y accione el freno de estacionamiento.
Arranque el motor.
Quite el freno de estacionamiento, mueva la palanca de control funcional a la posición de SEGAR y levántese del asiento.
El motor debe apagarse, lo que indica que el sistema de seguridad funciona correctamente. Corrija el problema si el funcionamiento no es el correcto.
Siéntese en el asiento, mueva el pedal de tracción a la posición de PUNTO MUERTO, mueva la palanca de control funcional a la posición de PUNTO MUERTO y accione el freno de estacionamiento.
Arranque el motor.
Mueva la palanca de control de elevación/bajada de las unidades de corte hacia adelante para bajar las unidades de corte. Las unidades de corte deben bajar pero no deben empezar a girar.
Si empiezan a girar, el sistema de seguridad no funciona correctamente; corrija el problema antes de utilizar la máquina.
Asegúrese de que las unidades de corte estén totalmente elevadas.
Mueva la palanca de control funcional a la posición de TRANSPORTE.
Utilice los frenos para ralentizar la máquina al bajar cuestas empinadas para evitar perder el control.
Siempre acérquese a terrenos irregulares a velocidad reducida y tenga cuidado al atravesar zonas muy onduladas.
Familiarícese con la anchura de la máquina. No intente pasar entre objetos que están muy juntos, para evitar costosos daños y tiempo de reparación.
Important: Si la alarma del detector de fugas (si el modelo está equipado con una) suena o si observa una fuga de aceite mientras siega un green, eleve las unidades de corte inmediatamente, lleve la máquina directamente fuera del green y pare la máquina en una zona alejada del green. Determine la causa de la fuga y corrija el problema.
Antes de segar greens, busque una zona despejada y practique las funciones básicas de la máquina (por ejemplo, arrancar y parar la máquina, elevar y bajar las unidades de corte, y girar).
Asegúrese de que no haya residuos en el green, retire la bandera del hoyo y determine la mejor dirección de siega. La dirección dependerá de la dirección de siega anterior. Siegue siempre con un patrón opuesto al de la siega anterior, de manera que las hojas de hierba tengan menos tendencia a quedar aplastadas y a ser difíciles de atrapar entre las cuchillas del molinete y la contracuchilla.
Acérquese al green con la palanca de control funcional en la posición de SIEGA y el acelerador a toda velocidad.
Empiece en un borde del green para poder utilizar el procedimiento de corte en bandas.
Note: Esto reduce al mínimo la compactación y deja un dibujo atractivo y limpio en los greens.
Mueva hacia adelante la palanca de elevación/bajada de las unidades de corte cuando los bordes delanteros de los recogedores crucen el borde exterior del green.
Note: Este procedimiento baja las unidades de corte al suelo y pone en movimiento los molinetes.
Important: La unidad de corte central baja y se eleva un poco después de las unidades de corte delanteras; por tanto, debe practicar para perfeccionar la sincronización necesaria a fin de minimizar los retoques necesarios después de la siega.
Note: La demora en la elevación y bajada de la unidad de corte central depende de la temperatura del fluido hidráulico. Con fluido hidráulico frío, la demora aumenta. Al aumentar la temperatura del fluido, disminuye la demora.
Debe haber un solape mínimo con las pasadas anteriores.
Note: Para ayudar a mantener una línea recta a través del green y mantener la máquina a la misma distancia de la pasada anterior, imagínese una línea que va desde un punto situado a 1,8–3 m aproximadamente por delante de la máquina, hasta el borde de la parte no segada del green (Figura 35). Incluya el borde exterior del volante como parte de la línea imaginaria, es decir, mantenga el borde del volante alineado con un punto que se mantiene siempre a la misma distancia de la parte delantera de la máquina.
Cuando el borde delantero de los recogedores cruce el borde exterior del green, mueva hacia atrás la palanca de elevación/bajada de las unidades de corte y manténgala en esa posición hasta que se hayan elevado todas las unidades de corte. De este modo se detienen los molinetes y se elevan las unidades de corte.
Important: Sincronice correctamente este paso para segar la mayor parte posible del green sin adentrarse en la zona que lo rodea, con el fin de minimizar la cantidad de hierba a recortar en la periferia del green.
Para ganar tiempo y facilitar la alineación correcta para la pasada siguiente, gire la máquina momentáneamente en la dirección opuesta, y luego gire hacia la parte que todavía no está cortada. Este movimiento es un giro en forma de lágrima (Figura 34), que permite alinear la máquina rápidamente para la pasada siguiente.

Note: Procure que el giro sea lo más corto posible, aunque si hace calor, un arco más amplio minimiza la posibilidad de dañar el césped.

Note: El volante no vuelve a su posición original después de completar un giro.
Important: No pare la máquina nunca en el green con las unidades de corte engranadas, porque pueden producirse daños en el césped. Si detiene la máquina en un green mojado, las ruedas pueden dejar señales o huecos.
Termine de segar el green cortando por la periferia. Cambie la dirección de siega respecto a la siega anterior.
Note: Utilice la palanca del acelerador para ajustar la velocidad de la máquina al cortar la periferia. De esta manera la frecuencia de corte se adapta al green y el anillo tríplex puede verse reducido.
Note: Tenga siempre en cuenta las condiciones climatológicas y las del césped, y asegúrese de cambiar la dirección de siega respecto a la siega anterior.
Cuando termine de segar la periferia del green, pare los molinetes mediante un golpecito hacia atrás en la palanca de elevación/bajada de las unidades de corte, y salga del green. Cuando todas las unidades de corte hayan salido del green, eleve las unidades de corte.
Note: Este paso minimiza la acumulación de recortes en el green.
Vuelva a colocar la bandera.
Vacíe todos los recortes de los recogedores antes de transportar la máquina al green siguiente.
Note: Los recortes de hierba mojados y pesados suponen una carga excesiva en los recogedores y añaden peso innecesario a la máquina, lo que aumenta la carga sobre los sistemas de la máquina (por ejemplo, el motor, el sistema hidráulico y los frenos).
Ponga el freno de estacionamiento, apague el motor, retire la llave y espere a que se detenga todo movimiento antes de abandonar el puesto del operador. Deje que la máquina se enfríe antes de realizar ajustes, tareas de mantenimiento y de limpieza o de guardarla.
Limpie la hierba y los residuos de las unidades de corte y las transmisiones para ayudar a prevenir incendios. Limpie cualquier aceite o combustible derramado.
Cierre el combustible si va a almacenar o transportar la máquina.
Desengrane la transmisión al accesorio siempre que transporte la máquina o no la esté utilizando.
Espere a que se enfríe la máquina antes de guardarla en un recinto cerrado.
Realice el mantenimiento de los cinturones y límpielos cuando sea necesario.
No guarde la máquina o un recipiente de combustible en un lugar donde pudiera haber una llama desnuda, chispas o una llama piloto, por ejemplo en un calentador de agua u otro electrodoméstico.
Remolque únicamente si la máquina tiene un enganche diseñado para el remolcado. Enganche el equipo a remolcar únicamente en el punto de enganche.
Siga las recomendaciones del fabricante del apero sobre los límites de peso de los equipos remolcados y sobre remolcar en pendientes. En las pendientes, el peso del equipo remolcado puede causar una pérdida de tracción y de control.
No deje que suban niños u otras personas en los equipos remolcados.
Conduzca lentamente y deje una distancia de parada mayor mientras se realizan tareas de remolcado.
| Intervalo de mantenimiento y servicio | Procedimiento de mantenimiento |
|---|---|
| Cada vez que se utilice o diariamente |
|
Después de segar, lave a fondo la máquina con una manguera de jardín sin boquilla para evitar que la presión excesiva de agua pueda contaminar y dañar las juntas y los cojinetes. No lave un motor caliente ni las conexiones eléctricas con agua.
Important: No utilice agua reciclada o salada para limpiar la máquina.
Important: No utilice equipos de lavado a presión para lavar la máquina. Estos equipos pueden dañar el sistema eléctrico, hacer que se desprendan calcomanías importantes, o eliminar grasa necesaria en los puntos de fricción. Evite el uso excesivo de agua cerca del panel de control, el motor y la batería.
Important: No lave la máquina con el motor en funcionamiento. Si se lava la máquina con el motor en funcionamiento pueden producirse daños internos en el motor.
Después de limpiar la máquina, haga lo siguiente:
Compruebe que no hay fugas de fluido hidráulico, o daños o desgaste en los componentes mecánicos e hidráulicos.
Compruebe que las cuchillas de las unidades de corte están afiladas.
Lubrique el conjunto del eje del freno con aceite o lubricante en spray SAE 30 para impedir la corrosión y mantener la máquina en condiciones satisfactorias durante la siguiente operación de siega.
Tenga cuidado al cargar o descargar la máquina en/desde un remolque o un camión.
Utilice una rampa de ancho completo para cargar la máquina en un remolque o un camión.
Amarre la máquina firmemente con correas, cadenas, cables o cuerdas. Tanto la correa delantera como la trasera deben orientarse hacia abajo y hacia fuera respecto a la máquina (Figura 36).

En caso de emergencia, es posible remolcar la máquina hasta 0,4 km.
Important: No remolque la máquina a más de 3 a 5 km/h, para evitar dañar el sistema de transmisión. Si es necesario trasladar la máquina más de 0,4 km, transpórtela sobre un camión o un remolque.
Localice la válvula de desvío en la bomba (Figura 37).

Abra la válvula de desvío girando la válvula 3 vueltas en sentido antihorario.
Antes de arrancar el motor, apriete la válvula de desvío a 12 N·m.
Important: No arranque el motor con la válvula de desvío abierta.
Si no se mantiene debidamente la máquina, los sistemas de la máquina podrían fallar de forma prematura, con lo que podría sufrir lesiones usted o causarlas a otras personas.
Mantenga la máquina en condiciones de funcionamiento óptimas, tal y como se indica en estas instrucciones.
Note: Los lados derecho e izquierdo de la máquina se determinan desde la posición normal del operador.
Note: Para descargar una copia gratuita del esquema eléctrico o hidráulico, visite www.toro.com y busque su máquina en el enlace Manuales de la página de inicio.
Important: Consulte los demás procedimientos de mantenimiento del manual del propietario del motor.
Si deja la llave en el interruptor de encendido, alguien podría arrancar el motor accidentalmente y causar lesiones graves a usted o a otras personas.
Retire la llave del interruptor de encendido y desconecte los cables de las bujías antes de realizar cualquier operación de mantenimiento. Aparte los cables para evitar su contacto accidental con las bujías.
Antes de dejar el puesto del operador, realice lo siguiente:
Aparque la máquina en una superficie nivelada.
Desengrane la(s) unidad(es) de corte.
Accione el freno de estacionamiento.
Apague el motor y retire la llave.
Espere a que se detenga todo movimiento.
Deje que los componentes de la máquina se enfríen antes de realizar el mantenimiento.
Si es posible, no realice tareas de mantenimiento con el motor en marcha. Manténgase alejado de las piezas en movimiento.
Apoye la máquina con caballetes siempre que trabaje debajo de la máquina.
Alivie con cuidado la tensión de aquellos componentes que tengan energía almacenada.
Mantenga todas las piezas en buen estado de funcionamiento y todos los herrajes bien apretados.
Sustituya cualquier calcomanía desgastada o deteriorada.
Para garantizar un rendimiento seguro y óptimo de la máquina, utilice únicamente piezas de repuesto genuinas Toro. Las piezas de repuesto de otros fabricantes podrían ser peligrosas y su uso podría invalidar la garantía del producto.
| Intervalo de mantenimiento y servicio | Procedimiento de mantenimiento |
|---|---|
| Después de la primera hora |
|
| Después de las primeras 8 horas |
|
| Después de las primeras 10 horas |
|
| Después de las primeras 50 horas |
|
| Cada vez que se utilice o diariamente |
|
| Cada 50 horas |
|
| Cada 100 horas |
|
| Cada 200 horas |
|
| Cada 400 horas |
|
| Cada 500 horas |
|
| Cada 800 horas |
|
| Cada 1000 horas |
|
| Cada 2000 horas |
|
| Cada año |
|
| Cada 2 años |
|
Duplique esta página para su uso rutinario.
| Elemento a comprobar | Para la semana de: | ||||||
|---|---|---|---|---|---|---|---|
| Lun. | Mar. | Miér. | Jue. | Vie. | Sáb. | Dom. | |
| Compruebe el funcionamiento de los interruptores de seguridad. | |||||||
| Compruebe la operación de los instrumentos. | |||||||
| Compruebe el funcionamiento de los frenos. | |||||||
| Compruebe/vacíe el filtro de combustible/separador de agua. | |||||||
| Compruebe el nivel de combustible. | |||||||
| Compruebe el nivel de fluido hidráulico. | |||||||
| Compruebe el nivel de aceite del motor. | |||||||
| Limpie la rejilla y el radiador. | |||||||
| Inspeccione el filtro de aire. | |||||||
| Compruebe que no haya ruidos extraños en el motor. | |||||||
| Compruebe el ajuste entre el molinete y la contracuchilla. | |||||||
| Compruebe que las mangueras hidráulicas no están dañadas. | |||||||
| Compruebe que no haya fugas de fluidos. | |||||||
| Compruebe la presión de los neumáticos. | |||||||
| Compruebe el ajuste de altura de corte. | |||||||
| Retoque cualquier pintura dañada. | |||||||
| Lave la unidad | |||||||
| Inspección realizada por: | ||
| Elemento | Fecha | Información |
| Intervalo de mantenimiento y servicio | Procedimiento de mantenimiento |
|---|---|
| Cada 400 horas |
|
Lubrique los engrasadores regularmente con grasa de litio Nº 2.
Limpie el engrasador para evitar que penetre materia extraña en el cojinete o el casquillo (Figura 38).

Bombee grasa en el cojinete o casquillo hasta que la grasa sea visible. Limpie cualquier exceso de grasa.
Apague el motor antes de comprobar el aceite o añadir aceite al cárter.
No cambie la velocidad del regulador ni haga funcionar el motor a una velocidad excesiva.
| Intervalo de mantenimiento y servicio | Procedimiento de mantenimiento |
|---|---|
| Cada 200 horas |
|
Inspeccione la carcasa del limpiador de aire en busca de daños que pudieran causar una fuga de aire y sustitúyala si fuera necesario. Compruebe todo el sistema de admisión en busca de fugas, daños o abrazaderas sueltas.
El cambiar el filtro antes de que sea necesario aumenta la posibilidad de que entre suciedad en el motor al retirar el filtro.
Asegúrese de que la tapa queda bien asentado y que hace un buen sello con la carcasa del limpiador de aire.
Abra los enganches que sujetan la tapa del limpiador de aire a la carcasa del limpiador de aire (Figura 39).

Retire la tapa de la carcasa del limpiador de aire.
Antes de retirar el filtro, utilice aire a baja presión (2,76 bar, limpio y seco) para retirar cualquier cantidad importante de residuos que se haya acumulado entre el exterior del filtro primario y el cartucho. Este proceso de limpieza evita que los residuos se introduzcan en la entrada de aire al retirar el filtro primario.
Important: Evite utilizar aire a alta presión, porque podría empujar la suciedad a través del filtro a la entrada.
Retire y cambie el filtro primario del siguiente modo:
Important: No limpie el elemento usado.
Inspeccione el nuevo filtro por si hubiera sufrido daños durante el transporte; no utilice el elemento si presenta daños.
Extraiga con cuidado el filtro antiguo de la carcasa del filtro y deséchelo.
Introduzca el filtro nuevo presionando el borde exterior del elemento para asentarlo en el cartucho y compruebe el extremo sellante del filtro y la carcasa.
Important: No aplique presión al centro flexible del filtro.
Limpie el orificio de salida de suciedad de la cubierta extraíble. Retire la válvula de salida de goma de la cubierta, limpie el hueco y cambie la válvula de salida.
Instale la tapa orientando la válvula de salida de goma hacia abajo – aproximadamente entre las 5 y las 7, visto desde el extremo.
Cierre los enganches (Figura 39).
| Intervalo de mantenimiento y servicio | Procedimiento de mantenimiento |
|---|---|
| Cada vez que se utilice o diariamente |
|
El motor se suministra con 3,7 litros (con filtro) de aceite en el cárter; sin embargo, es necesario comprobar el nivel de aceite antes y después de la primera puesta en marcha del motor.
Utilice aceite para motores de alta calidad que cumpla las siguientes especificaciones:
Nivel de clasificación API: CH–4, CI–4 o superior.
Aceite preferido: SAE 10W–30
Aceite alternativo: SAE 15W–40
Su distribuidor dispone de aceite para motores Toro Premium, de viscosidad 10W-30. Consulte los números de pieza en el Catálogo de piezas.
Note: El mejor momento para comprobar el aceite del motor es cuando el motor está frío, antes de arrancarlo al principio de la jornada. Si ya se ha arrancado, deje que el aceite se drene al cárter durante al menos 10 minutos antes de comprobar el nivel. Si el nivel del aceite está en o por debajo de la marca Añadir de la varilla, añada aceite hasta que el nivel llegue a la marca LLENO. No llene demasiado.
Important: Mantenga el nivel del aceite del motor entre los límites superior e inferior en el indicador de aceite; el motor puede fallar si se acciona con aceite insuficiente o en exceso.
Coloque la máquina en una superficie nivelada.
Retire la varilla y límpiela con un paño limpio (Figura 41).
Important: Retire la varilla mientras se llena de aceite el motor. Al añadir aceite de motor o al cambiar el aceite, debe haber holgura entre el dispositivo de llenado de aceite y el orificio de llenado de la tapa de las válvulas, según se muestra en Figura 40. Esta holgura es necesaria para permitir la ventilación durante el llenado, lo cual evita que el aceite se derrame sobre el respiradero.


Introduzca la varilla en el tubo asegurándose de que entre a fondo.
Retire la varilla del tubo y verifique el nivel de aceite
Note: Si el nivel de aceite es bajo, retire el tapón de llenado de la cubierta de la válvula y añada lentamente suficiente aceite para elevar el nivel a la marca “Full” (Lleno) de la varilla.Añada el aceite lentamente y compruebe el nivel a menudo durante este proceso. No llene demasiado.
Vuelva a colocar la varilla.
Arranque el motor y déjelo funcionar a velocidad de ralentí durante 30 segundos, luego pare el motor. Espere 30 segundos, luego repita los pasos 2 a 5.
Coloque el tapón y la varilla firmemente.
| Intervalo de mantenimiento y servicio | Procedimiento de mantenimiento |
|---|---|
| Después de las primeras 50 horas |
|
| Cada 100 horas |
|
Retire el tapón de vaciado y deje fluir el aceite a un recipiente apropiado. Cuando el aceite deje de fluir, coloque el tapón de vaciado (Figura 42).

Retire el filtro de aceite (Figura 43). Aplique una capa ligera de aceite limpio a la junta del filtro nuevo.

Enrosque el filtro a mano hasta que la junta toque el adaptador del filtro, luego apriete ½ a ¾ de vuelta más. No apriete demasiado.
Añada aceite al cárter; consulte Comprobación del aceite del motor.
Elimine correctamente el aceite usado.
| Intervalo de mantenimiento y servicio | Procedimiento de mantenimiento |
|---|---|
| Cada vez que se utilice o diariamente |
|
Aparque la máquina en una superficie nivelada y pare el motor.
Coloque un recipiente debajo del filtro de combustible.
Abra el tapón de vaciado del filtro de combustible aproximadamente una vuelta y drene cualquier agua acumulada (Figura 44).

Apriete el tapón después del vaciado.
Note: Puesto que el agua acumulada estará mezclada con combustible diésel, drene el filtro de combustible en un recipiente apropiado y elimínela correctamente.
| Intervalo de mantenimiento y servicio | Procedimiento de mantenimiento |
|---|---|
| Cada 500 horas |
|
Cierre la válvula de cierre del combustible (Figura 45), situada debajo del depósito de combustible.

Limpie la zona de montaje del cartucho del filtro (Figura 46).
Coloque un recipiente debajo del filtro de combustible.
Abra el tapón de vaciado del filtro (Figura 46).

Desenrosque el cartucho del filtro y elimínelo según la normativa local.
Enrosque el filtro a mano hasta que la junta toque el adaptador del filtro, luego apriete ½ a ¾ de vuelta más.
Asegúrese de que el tapón de vaciado del filtro está cerrado. Abra la válvula de cierre del combustible.
| Intervalo de mantenimiento y servicio | Procedimiento de mantenimiento |
|---|---|
| Cada 2 años |
|
Compruebe que los tubos de combustible no están deteriorados o dañados, y que las conexiones no están sueltas.
Desconecte la batería antes de reparar la máquina. Desconecte primero el terminal negativo y luego el positivo. Conecte primero el terminal positivo y luego el negativo.
Cargue la batería en una zona abierta y bien ventilada, lejos de chispas y llamas. Desenchufe el cargador antes de conectar o desconectar la batería. Lleve ropa protectora y utilice herramientas aisladas.
Los bornes de la batería o una herramienta metálica podrían hacer cortocircuito si entran en contacto con los componentes metálicos, causando chispas. Las chispas podrían hacer explotar los gases de la batería, causando lesiones personales.
Al retirar o colocar la batería, no deje que los bornes toquen ninguna parte metálica de la máquina.
No deje que las herramientas metálicas hagan cortocircuito entre los bornes de la batería y las partes metálicas de la máquina.
Un enrutado incorrecto de los cables de la batería podría dañar la máquina y los cables, causando chispas. Las chispas podrían hacer explotar los gases de la batería, causando lesiones personales.
Desconecte siempre el cable negativo (negro) de la batería antes de desconectar el cable positivo (rojo).
Un enrutado incorrecto de los cables de la batería podría dañar la máquina y los cables, causando chispas. Las chispas podrían hacer explotar los gases de la batería, causando lesiones personales.
Conecte siempre el cable positivo (rojo) de la batería antes de conectar el cable negativo (negro).
Los bornes de la batería o una herramienta metálica podrían hacer cortocircuito si entran en contacto con los componentes metálicos de la máquina, causando chispas. Las chispas podrían hacer explotar los gases de la batería, causando lesiones personales.
Al retirar o colocar la batería, no deje que los bornes toquen ninguna parte metálica de la máquina.
No deje que las herramientas metálicas hagan cortocircuito entre los bornes de la batería y las partes metálicas de la máquina.
Desconecte la batería; consulte Desconexión de la batería.
Retire las fijaciones que sujetan la batería a la bandeja (Figura 49) y levante la batería para sacarla.

Conecte un cargador de batería de 2 a 4 amperios a los bornes de la batería. Cargue la batería durante al menos 2 horas a 4 amperios o durante al menos 4 horas a 2 amperios, hasta que la gravedad específica sea de 1,250 o más y la temperatura sea de al menos 16 °C con todas las celdas liberando gas.
El proceso de carga de la batería produce gases que pueden explotar.
No fume nunca cerca de la batería, y mantenga alejados de la batería chispas y llamas.
Important: Si no carga la batería durante al menos el tiempo especificado, puede acortar la vida de la batería.
Cuando la batería esté cargada, desconecte el cargador de la toma de electricidad, luego de los bornes de la batería.
Coloque la batería en la bandeja y sujétela con las varillas y las fijaciones que retiró anteriormente (Figura 49).
Conecte la batería; consulte Conexión de la batería.
Si es necesario arrancar la máquina con la batería de otro vehículo, puede utilizarse el borne positivo alternativo (situado en el solenoide del motor de arranque) en lugar del borne positivo de la batería (Figura 52).

| Intervalo de mantenimiento y servicio | Procedimiento de mantenimiento |
|---|---|
| Cada vez que se utilice o diariamente |
|
Varíe la presión de las 3 ruedas, dependiendo de las condiciones del césped, desde un mínimo de 0,83 bar a un máximo de 1,10 bar.
| Intervalo de mantenimiento y servicio | Procedimiento de mantenimiento |
|---|---|
| Después de la primera hora |
|
| Después de las primeras 10 horas |
|
| Cada 200 horas |
|
Si no se mantienen correctamente apretadas las tuercas de las ruedas, podrían producirse lesiones personales.
Apriete las tuercas de las ruedas al par especificado en los intervalos especificados.
Especificación del par de apriete de las tuercas de las ruedas:95 a 122 N·m
Note: Para asegurar una distribución uniforme, apriete las tuercas de las ruedas siguiendo un patrón en forma de X.
Si la máquina se desplaza cuando el pedal de control de tracción está en PUNTO MUERTO, ajuste el mecanismo de retorno a punto muerto.
Asegúrese de que la válvula de desvío está cerrada.
Levante la máquina y apóyela sobre el bastidor de manera que una de las ruedas delanteras esté levantada del suelo.
Note: Si la máquina está equipada con un kit de tracción a 3 ruedas, eleve y bloquee también la rueda trasera.
Arranque el motor, ponga el acelerador en la posición de LENTO y compruebe que la rueda delantera que está levantada del suelo no gira.
Si la rueda está girando, pare el motor y proceda de la manera siguiente:
Afloje la tuerca que sujeta el excéntrico a la parte superior del hidrostato (Figura 53).

Mueva la palanca de control funcional a la posición de PUNTO MUERTO y el acelerador a la posición de LENTO. Arranque el motor.
Gire el excéntrico hasta que no haya movimiento en ningún sentido. Cuando la rueda deje de girar, apriete la tuerca para bloquear el excéntrico y el ajuste (Figura 53). Compruebe el ajuste con el acelerador en las posiciones LENTO y RáPIDO.
Note: Si la rueda sigue girando con el excéntrico en su ajuste máximo, póngase en contacto con su distribuidor Toro autorizado o consulte el Manual de mantenimiento para realizar más ajustes.
El pedal de tracción viene ajustado para la velocidad máxima de transporte, pero puede ser necesario ajustarlo si el pedal hace su recorrido completo antes de llegar al tope, o si se desea reducir la velocidad de transporte.
Para obtener la velocidad máxima de transporte, ponga la palanca de control funcional en la posición de TRANSPORTE y pise el pedal de tracción. Si el pedal toca el tope (Figura 54) antes de que se note tensión en el cable, ajústelo como se indica a continuación:

Ponga la palanca de control funcional en la posición de TRANSPORTE y afloje la contratuerca que fija el tope del pedal a la chapa del suelo (Figura 54).
Apriete el tope del pedal hasta que no esté en contacto con el pedal de tracción.
Siga aplicando una carga ligera sobre el pedal de transporte y ajuste el tope hasta que entre en contacto con la varilla del pedal, y apriete las tuercas.
Important: Asegúrese de que el cable no está demasiado tensado; si lo está, se acortará su vida útil.
Pise el pedal de tracción y afloje la contratuerca que fija el tope del pedal a la chapa del suelo.
Afloje el tope del pedal hasta obtener la velocidad de transporte deseada.
Apriete la contratuerca para afianzar el ajuste del tope.
La velocidad de siega es ajustada en fábrica a 6,1 km/h.
La velocidad de avance puede ajustarse entre 0 y 8 km/h.
Afloje la contratuerca del tornillo de caperuza del muñón (Figura 55).
Afloje la tuerca que fija los soportes de bloqueo y siega de la articulación del pedal.

Gire el perno del muñón en el sentido de las agujas del reloj para reducir la velocidad de siega, y en el sentido contrario para aumentarla.
Apriete la contratuerca del perno del muñón y la tuerca de la articulación del pedal para bloquear el ajuste (Figura 55). Compruebe el funcionamiento, y vuelva a ajustar si es necesario.
La ingestión del refrigerante del motor puede causar envenenamiento; manténgalo fuera del alcance de niños y animales domésticos.
Una descarga de refrigerante caliente bajo presión, o cualquier contacto con el radiador caliente y los componentes que lo rodean, puede causar quemaduras graves.
Siempre deje que el motor se enfríe durante al menos 15 minutos antes de retirar el tapón del radiador.
Utilice un trapo al abrir el tapón del radiador y ábralo lentamente para permitir la salida del vapor.
| Intervalo de mantenimiento y servicio | Procedimiento de mantenimiento |
|---|---|
| Cada vez que se utilice o diariamente |
|
Para evitar el recalentamiento del sistema, mantenga limpios el radiador y la rejilla. Compruebe y limpie la rejilla y el radiador cada día o, si fuese necesario, cada hora. Limpie estos componentes con más frecuencia en condiciones de mucho polvo o suciedad.
Retire la rejilla del radiador (Figura 56).

Trabajando desde el lado del ventilador, limpie el radiador con aire comprimido.
Limpie e instale la rejilla.
| Intervalo de mantenimiento y servicio | Procedimiento de mantenimiento |
|---|---|
| Cada vez que se utilice o diariamente |
|
La capacidad del sistema de refrigeración es de aproximadamente 4,6 litros.
Rellene el sistema de refrigeración con una solución al 50% de agua y anticongelante permanente de etilenglicol. Compruebe el nivel del refrigerante al principio de cada jornada de trabajo antes de arrancar el motor.
Si el motor ha estado en marcha, puede haber fugas de refrigerante caliente y bajo presión, que puede causar quemaduras.
No retire el tapón del radiador cuando el motor está en marcha.
Utilice un trapo al abrir el tapón del radiador y ábralo lentamente para permitir la salida del vapor.
Aparque la máquina en una superficie nivelada.
Compruebe el nivel de refrigerante (Figura 56 y Figura 57).
Con el motor frío, el nivel del refrigerante debe estar entre las rayas del depósito de reserva.

Si el nivel de refrigerante es bajo, quite el tapón del depósito de reserva y añada una mezcla al 50% de agua y anticongelante permanente de etilenglicol. No llene demasiado.
Instale el tapón del depósito auxiliar.
| Intervalo de mantenimiento y servicio | Procedimiento de mantenimiento |
|---|---|
| Cada año |
|
Aplique los frenos firmemente y conduzca la máquina, a velocidad de siega, hasta que el olor indique que los frenos están calientes. Puede ser necesario ajustar los frenos después del periodo de rodaje; consulte Ajuste de los frenos.
Si el freno no es capaz de retener la máquina cuando está aparcada, puede ajustar los frenos usando el mecanismo situado junto al tambor del freno. Consulte con su Servicio Técnico Autorizado o remítase al Manual de mantenimiento para obtener más información.
Note: Debe bruñir los frenos cada año; consulte Bruñido de los frenos.
| Intervalo de mantenimiento y servicio | Procedimiento de mantenimiento |
|---|---|
| Después de las primeras 8 horas |
|
Asegúrese de que la correa está correctamente tensada para asegurar el funcionamiento correcto de la máquina y para evitar un desgaste innecesario.
Aparque la máquina sobre una superficie nivelada, pare el motor, accione el freno de estacionamiento, retire la llave y espere a que se detengan todas las piezas en movimiento.
Con el dedo pulgar, aplique una presión moderada a la correa entre las poleas (10 kg). La correa debe desviarse de 7 a 9 mm. Si no es así, complete el procedimiento siguiente para ajustar la tensión de la correa:

Afloje los pernos que sujetan el alternador al motor y a la correa de ajuste.
Inspeccione la correa en busca de desgaste o daños, y cámbiela si está desgastada.
Usando una palanca colocada entre el alternador y el bloque motor, extraiga el alternador hasta que obtenga la tensión correcta en la correa, y apriete los pernos.
Busque atención médica inmediatamente si el fluido penetra en la piel. Un médico deberá eliminar quirúrgicamente el fluido inyectado en pocas horas.
Asegúrese de que todas las mangueras y líneas de fluido hidráulicos están en buenas condiciones de uso, y que todos los acoplamientos y conexiones hidráulicos están apretados, antes de aplicar presión al sistema hidráulico.
Mantenga el cuerpo y las manos alejados de fugas pequeñas o boquillas que liberan fluido hidráulico a alta presión.
Utilice un cartón o un papel para buscar fugas hidráulicas.
Alivie de manera segura toda presión en el sistema hidráulico antes de realizar trabajo alguno en el sistema hidráulico.
Important: Cualquiera que sea el tipo de fluido hidráulico utilizado, cualquier máquina que se utilice para segar calles, para el verticorte o a temperatura ambiente superior a los 29 °C debe tener instalado un Kit de enfriador de aceite (Pieza Nº 117-9314).
El depósito se llena en la fábrica con fluido hidráulico de alta calidad. Compruebe el nivel del fluido hidráulico antes de arrancar el motor por primera vez y luego a diario; consulte Comprobación del nivel de fluido hidráulico.
Fluido hidráulico recomendado: fluido hidráulico Toro PX Extended Life, disponible en recipientes de 19 litros o en bidones de 208 litros.
Note: Una máquina que utilice el fluido de recambio recomendado necesita menos cambios de filtro y de fluido.
Fluidos hidráulicos alternativos: si no se encuentra disponible el fluido hidráulico Toro PX Extended Life, puede utilizar otro fluido hidráulico convencional basado en petróleo cuyas especificaciones referentes a todas las propiedades materiales estén dentro de los intervalos relacionados a continuación y que cumpla las normas industriales. No utilice fluidos sintéticos. Consulte a su distribuidor de lubricantes para identificar un producto satisfactorio.
Note: Toro no asume responsabilidad alguna por daños causados por sustituciones no adecuadas, por lo que debe utilizar solamente productos de fabricantes reputados que respalden sus recomendaciones.
| Propiedades de materiales: | ||
| Viscosidad, ASTM D445 | cSt a 40 °C 44 a 48 | |
| Índice de viscosidad ASTM D2270 | 140 o más | |
| Punto de descongelación, ASTM D97 | -37 °C a -45 °C | |
| Especificaciones industriales: | Eaton Vickers 694 (I-286-S, M-2950-S/35VQ25 o M-2952-S) | |
Note: La mayoría de los fluidos hidráulicos son casi incoloros, por lo que es difícil detectar fugas. Está disponible un aditivo de tinte rojo para el fluido hidráulico, en botellas de 20 ml. Una botella es suficiente para 15 a 22 litros de fluido hidráulico. Solicite el N.º de pieza 44-2500 a su distribuidor autorizado Toro.
Important: El fluido hidráulico biodegradable Toro Premium Synthetic es el único fluido sintético biodegradable homologado por Toro. Este fluido es compatible con los elastómeros usados en los sistemas hidráulicos Toro, y es apropiado para un amplio intervalo de temperaturas. Este fluido es compatible con aceites minerales convencionales, pero para obtener la máxima biodegradabilidad y rendimiento es necesario purgar el sistema hidráulico completamente de fluido convencional. Su distribuidor Toro autorizado dispone de este aceite en recipientes de 19 litros o en bidones de 208 litros.
| Intervalo de mantenimiento y servicio | Procedimiento de mantenimiento |
|---|---|
| Cada vez que se utilice o diariamente |
|
El depósito de fluido hidráulico se llena en fábrica con fluido hidráulico de alta calidad. Cada día, antes de usar la máquina, compruebe el nivel del fluido hidráulico. Su máquina tiene una varilla o un mirilla de plástico blanco situada en la parte delantera del depósito de fluido hidráulico (detrás del asiento, en el lado izquierdo de la máquina) que se utiliza para comprobar el nivel de fluido hidráulico. El fluido debe estar entre las líneas de la mirilla o las marcas de la varilla; si no es así, añada más fluido apropiado.
Consulte la Figura 59 durante este procedimiento.

Coloque la máquina en una superficie nivelada.
Note: Asegúrese de que la máquina se ha enfriado para que el fluido esté frío.
Compruebe el nivel de fluido del depósito de su máquina.
Si el depósito tiene mirilla, compruebe el nivel de fluido en la mirilla y vaya al paso 5.
Si el depósito no tiene mirilla, localice la varilla en la parte superior del depósito hidráulico y vaya al paso 3.
Retire la varilla y límpiela con un trapo limpio, luego vuelva a enroscar la varilla en el depósito.
Retire la varilla y compruebe el nivel de fluido. Si el fluido está entre las marcas de la varilla, el nivel es correcto. Si el nivel no está entre las marcas, es necesario añadir fluido.
Retire el tapón o la varilla (dependiendo de la máquina) del depósito de fluido hidráulico y llene el depósito lentamente con fluido hidráulico de alta calidad del tipo correcto, hasta que el nivel esté entre las dos líneas de la mirilla o las dos marcas de la varilla.
Instale el tapón o la varilla y limpie cualquier fluido derramado.
Important: Verifique el nivel del fluido hidráulico antes de arrancar el motor por primera vez y luego a diario.
| Intervalo de mantenimiento y servicio | Procedimiento de mantenimiento |
|---|---|
| Cada 800 horas |
|
| Cada 1000 horas |
|
| Cada 2000 horas |
|
Capacidad de fluido hidráulico: 25,7 litros
Si el fluido se contamina, póngase en contacto con su distribuidor Toro autorizado para purgar el sistema. El fluido contaminado tiene un aspecto lechoso o negro en comparación con el fluido limpio.
Limpie la zona de montaje del filtro (Figura 60). Coloque un recipiente debajo del filtro y retire el filtro.

Note: Si no se va a drenar el fluido, desconecte y tapone la línea hidráulica que va al filtro.
Llene el filtro nuevo con fluido hidráulico del tipo correcto, lubrique la junta y apriételo a mano hasta que la junta entre en contacto con la base del filtro. Luego apriételo ¾ de vuelta más.
Llene el depósito hidráulico con fluido hidráulico; consulte Especificación del fluido hidráulico y Comprobación del nivel de fluido hidráulico.
Arranque la máquina y déjela funcionar al ralentí durante 3 a 5 minutos para hacer circular el aceite y eliminar el aire que esté atrapado en el sistema. Pare el motor y compruebe el nivel de fluido.
Elimine adecuadamente el aceite y el filtro.
| Intervalo de mantenimiento y servicio | Procedimiento de mantenimiento |
|---|---|
| Cada vez que se utilice o diariamente |
|
Cada día, compruebe que las líneas y mangueras hidráulicas no tienen fugas, que no están dobladas, que los soportes no están sueltos, y que no haya desgaste, elementos sueltos, o deterioro causado por agentes ambientales o químicos. Haga todas las reparaciones necesarias antes de operar la máquina.
Una cuchilla o una contracuchilla desgastada o dañada puede romperse, y un trozo de la cuchilla podría ser arrojado hacia usted u otra persona, lo que puede provocar lesiones personales graves o la muerte.
Inspeccione periódicamente las cuchillas y las contracuchillas, para asegurarse de que no presentan un desgaste excesivo ni daños.
Tenga cuidado al comprobar las cuchillas. Lleve guantes y extreme las precauciones durante su mantenimiento. Las cuchillas y las contracuchillas solo se pueden cambiar o afilar; no las enderece ni las suelde nunca.
En máquinas con múltiples unidades de corte, tenga cuidado al girar una unidad de corte, ya que puede hacer que giren los molinetes en las otras unidades de corte.
Note: Antes de afilar, ajustar la altura de corte o realizar otros procedimientos de mantenimiento sobre las unidades de corte, guarde los motores de los molinetes de las unidades de corte en el lugar de almacenamiento situado en la parte delantera de los brazos de suspensión para evitar que se dañen.
Important: No eleve la suspensión a la posición de transporte cuando los motores del molinete están en los soportes del bastidor de la máquina. Podrían dañarse los motores o los manguitos.
Important: Cuando sea necesario inclinar la unidad de corte, apoye la parte trasera de la unidad de corte para asegurarse de que las tuercas de los tornillos de ajuste de la barra de asiento no estén apoyadas en la superficie de trabajo (Figura 61).

Sujete el contrapeso eléctrico al contrapeso existente con 2 tornillos, según se muestra en Figura 62.

Desenchufe los conectores de alimentación de las unidades de corte; consulte Conectores de alimentación de las unidades de corte.
Si no desconecta la alimentación de las unidades de corte, alguien podría ponerlas en marcha accidentalmente y causarle heridas muy graves en las manos o en los pies.
Separe siempre los conectores de la alimentación de las unidades de corte antes de trabajar en dichas unidades.
Levante el reposapiés y gírelo hacia arriba, para tener acceso a la posición de la unidad de corte central (Figura 63).
El reposapiés puede atrapar los dedos si se cae y se cierra.
Mantenga los dedos alejados de la zona de asiento del reposapiés mientras esté abierto.

Coloque la unidad de corte debajo del brazo de suspensión central.
Con los enganches del brazo de suspensión orientados hacia arriba (es decir, abiertos (Figura 64), empuje hacia abajo el brazo de suspensión de modo que la barra encaje en la barra situada en la parte superior de la unidad de corte (Figura 65).


Presione los enganches hacia abajo alrededor de la barra de la unidad de corte y bloquéelas (Figura 64).
Note: Puede escuchar y sentir un “clic” cuando los enganches se cierren y bloqueen correctamente.
Cubra el eje acanalado del motor de la unidad de corte con grasa limpia (Figura 66).
Introduzca el motor en el lado izquierdo de la unidad de corte (visto desde el puesto del operador) y tire de la barra de retención del motor en la unidad de corte hacia el motor hasta que oiga un “clic” en ambos lados del motor (Figura 66).

Monte un recogedor en los ganchos del brazo de suspensión.
Repita el procedimiento en las otras unidades de corte.
Enchufe los conectores de alimentación de las unidades de corte; consulte Conectores de alimentación de las unidades de corte.
Desenchufe los conectores de alimentación de las unidades de corte; consulte Conectores de alimentación de las unidades de corte.
Si no desconecta la alimentación de las unidades de corte, alguien podría ponerlas en marcha accidentalmente y causarle heridas muy graves en las manos o en los pies.
Separe siempre los conectores de la alimentación de las unidades de corte antes de trabajar en dichas unidades.
Aparque la máquina en una superficie nivelada y limpia, baje las unidades de corte al suelo hasta que el sistema hidráulico de la suspensión esté totalmente extendido, apague el motor y accione el freno de estacionamiento.
Retire la barra de retención del motor de las ranuras del motor, hacia la unidad de corte, y retire el motor de la unidad de corte.

Mueva el motor al lugar de almacenamiento en la parte delantera del brazo de suspensión (Figura 68).

Note: Antes de afilar, ajustar la altura de corte o realizar otros procedimientos de mantenimiento sobre las unidades de corte, guarde los motores de los molinetes de las unidades de corte en el lugar de almacenamiento situado en la parte delantera de los brazos de suspensión para evitar que se dañen.
Important: No eleve la suspensión a la posición de transporte cuando los motores del molinete están en los soportes del bastidor de la máquina. Podrían dañarse los motores o las mangueras. Si es necesario trasladar la unidad de tracción sin tener instaladas las unidades de corte, sujételas a los brazos de suspensión usando bridas.
Abra los enganches de la barra del brazo de suspensión de la unidad de corte que está retirando (Figura 64).
Desconecte los enganches de la barra de la unidad de corte.
Retire la unidad de corte de debajo del brazo de suspensión.
Repita los pasos 3 a 7 en las demás unidades de corte.
Enchufe los conectores de alimentación de las unidades de corte; consulte Conectores de alimentación de las unidades de corte.
| Intervalo de mantenimiento y servicio | Procedimiento de mantenimiento |
|---|---|
| Cada vez que se utilice o diariamente |
|
Cada día, antes de usar la máquina, compruebe el contacto entre el molinete y la contracuchilla, aunque anteriormente la calidad de corte haya sido aceptable. Debe haber un contacto ligero en toda la longitud del molinete y la contracuchilla; consulte el Manual del operador de la unidad de corte.
Antes de comprobar los molinetes, desenchufe los conectores de alimentación de las unidades de corte; consulte Conectores de alimentación de las unidades de corte. Cuando haya terminado, vuélvalos a conectar.
El contacto con los molinetes u otras piezas en movimiento puede causar lesiones personales.
Mantenga las manos, los pies y la ropa alejados de los molinetes u otras piezas en movimiento.
No intente nunca girar los molinetes con la mano o con el pie con el motor en marcha.
Aparque la máquina en una superficie nivelada, baje las unidades de corte, apague el motor, retire la llave y accione el freno de estacionamiento.
Retire la cubierta de plástico en el lado izquierdo del asiento.
Realice los ajustes iniciales de molinete a contracuchilla apropiados para el autoafilado en todas las unidades de corte que se vayan a autoafilar; consulte el Manual del operador de la unidad de corte.
Arranque el motor y déjelo funcionar a velocidad de ralentí bajo. Si el motor se cala, aumente la velocidad del motor.
En el control de InfoCenter, en el menú MANTENIMIENTO, seleccione AUTOAFILADO.
Ajuste AUTOAFILADO en CONECTADO.
Vaya al Menú principal y desplácese hasta Ajustes.
En el menú AJUSTES, vaya a VELOCIDAD DE AUTOAFILADO y utilice el botón ± para establecer la velocidad de autoafilado que desee.
Con la palanca de control funcional en la posición de PUNTO MUERTO, mueva hacia adelante el control de elevación/bajada de las unidades de corte para iniciar la operación de autoafilado en los molinetes seleccionados.
Aplique pasta de autoafilado con una brocha de mango largo. No utilice nunca una brocha de mango corto.
Si los molinetes se atascan o si la velocidad no es estable durante el autoafilado, seleccione una velocidad más alta hasta que la velocidad se estabilice.
Para ajustar las unidades de corte durante el autoafilado, pare los molinetes moviendo hacia atrás el control de elevación/bajada de las unidades de corte y apague el motor. Una vez completados los ajustes, repita los pasos4 a 10.
Repita el procedimiento para todas las unidades de corte que desea autoafilar.
Cuando acabe, vuelva a ajustar en el InfoCenter el ajuste de AUTOAFILADO a DESCONECTADO o bien gire la llave de contacto a la posición de DESCONECTADO para que la máquina vuelva a la operación de corte hacia delante.
Lave las unidades de corte para eliminar toda la pasta de autoafilado. Ajuste el molinete de la unidad de corte a la contracuchilla según sea necesario. Mueva el control de velocidad de los molinetes de la unidad de corte a la posición de siega deseada.
Apague la máquina, retire la llave y espere a que se detenga todo movimiento antes de dejar el puesto del operador. Deje que la máquina se enfríe antes de realizar ajustes, tareas de mantenimiento y de limpieza o de guardarla.
No guarde la máquina o un recipiente de combustible en un lugar donde pudiera haber una llama desnuda, chispas o una llama piloto, por ejemplo en un calentador de agua u otro electrodoméstico.
Si usted va a almacenar la máquina durante un periodo de tiempo prolongado, debe seguir estos pasos antes del almacenamiento:
Consulte Seguridad durante el almacenamiento.
Retire cualquier acumulación de suciedad y recortes de hierba. Afile las cuchillas y las contracuchillas, si es necesario; consulte el Manual del operador de la unidad de corte. Utilice un anticorrosivo en las contracuchillas y las cuchillas. Engrase y lubrique todos los puntos de lubricación.
Coloque bloques debajo de las ruedas para que los neumáticos no soporten peso alguno.
Drene y cambie el fluido hidráulico y el filtro; inspeccione los manguitos y los acoplamientos hidráulicos. Cambiar si es necesario; consulte Cambio del fluido hidráulico y del filtro y Comprobación de líneas y mangueras hidráulicas.
El depósito de combustible debe quedar vacío. Haga funcionar el motor hasta que se pare por falta de combustible. Cambie el filtro de combustible, consulte Sustitución del filtro de combustible/separador de agua.
Con el motor todavía caliente, drene el aceite del cárter. Vuelva a llenar con aceite limpio; consulte Cambio del aceite de motor y el filtro.
Limpie la suciedad y la broza del cilindro, de las aletas de la culata y de la carcasa del soplador.
Retire la batería y cárguela completamente. Guárdela en una estantería o en la máquina. Deje desconectados los cables si la guarda en la máquina. Guarde la batería en un ambiente fresco para evitar el rápido deterioro de la carga.
Si es posible, almacene la máquina en un lugar cálido y seco.