Karbantartás
Note: A gép jobb és bal oldalát normál üzemeltetési helyzetben határozza meg.
Biztonsági tudnivalók karbantartáskor
Vigyázat
Ha a kulcsot a gyújtáskapcsolóban hagyja, mások véletlenül beindíthatják a motort, és a közelben állók súlyos sérülését okozhatják.
Karbantartási munkák előtt vegye ki a kulcsot a gyújtáskapcsolóból.
-
Parkoljon le sík talajon, kapcsolja ki a segédhidraulika-rendszert, engedje le a munkaeszközt, húzza be a rögzítőféket (ha van), állítsa le a motort és vegye ki a kulcsot. Várja meg, amíg minden mozgás leáll, és a gép lehűl, mielőtt beállítást, tisztítást, tárolást vagy javítást végezne.
-
Törölje fel a kiömlött olajat és üzemanyagot.
-
Ne engedje, hogy a gépet oktatásban nem részesült személyzet üzemeltesse.
-
Szükség esetén emelővel támassza alá az alkatrészeket.
-
Az energiát tároló alkatrészekből engedje ki óvatosan a nyomást; lásd: A hidraulika-rendszer nyomásának megszüntetése.
-
Kösse le az akkumulátort, mielőtt bármilyen javításba kezd; lásd: Az akkumulátorleválasztó kapcsoló használata.
-
Tartsa távol kezét és lábát a mozgó alkatrészektől. Ha lehetséges, járó gépen ne végezzen beállításokat.
-
Tartsa az összes részegységet megfelelő üzemállapotban, a kötőelemeket pedig kellően meghúzva. Cseréljen ki minden kopott vagy sérült matricát.
-
Ne bolygassa a biztonsági berendezéseket.
-
Csak a Toro által jóváhagyott munkaeszközöket használjon. A munkaeszköz megváltoztathatja a gép stabilitását és működési jellemzőit. A garanciát érvénytelenítheti, ha a gépet nem jóváhagyott munkaeszközzel használja.
-
Csak eredeti Toro-cserealkatrészt használjon.
-
Ha a karbantartáshoz vagy javításhoz a rakodókaroknak megemelt helyzetben kell lenniük, rögzítse a karokat megemelt helyzetben a munkahengerretesz(ek) segítségével.
-
A gép biztonságos karbantartásával kapcsolatban vegye figyelembe a helyi előírásokat, és helyezzen el egy figyelmeztető címkét a kezelőpanelen, hogy másokat is tájékoztasson a folyamatban lévő karbantartásról.
Ajánlott karbantartási ütemterv(ek)
| Karbantartási időköz | Karbantartási intézkedés |
|---|---|
| Az első 8 óra után |
|
| Az első 50 óra után |
|
| Minden egyes használat előtt, vagy naponta |
|
| Minden 25 órában |
|
| Minden 50 órában |
|
| Minden 100 órában |
|
| Minden 250 órában |
|
| Minden 400 órában |
|
| Minden 500 órában |
|
| Minden 1000 órában |
|
| 1500 üzemóránként vagy kétévente, amelyik korábban esedékessé válik |
|
| Évente |
|
| Évente, vagy tárolás előtt |
|
| Minden 2 évben |
|
Important: A további karbantartási eljárásokra vonatkozóan lásd a motor kezelői kézikönyvét.
Karbantartás előtti intézkedések
A munkahengerreteszek használata
Figyelmeztetés
A rakodókarok megemelt helyzetből leereszkedhetnek, zúzódást okozva az alattuk tartózkodó személynek, ami halálos balesetet vagy súlyos sérüléseket okozhat.
A megemelt rakodókarokat igénylő karbantartás megkezdése előtt helyezze be a munkahengerretesz(eke)t.
A munkahengerreteszek behelyezése
-
Szerelje le a munkaeszközt.
-
Emelje fel a rakodókarokat teljesen felemelt helyzetbe.
-
Állítsa le a motort és vegye ki az indítókulcsot.
-
Távolítsa el a 2 csapot, amelyek a munkahengerreteszeket a gép oldalán található oszlopokhoz rögzítik.
-
Csúsztassa rá a munkahengerreteszt a munkahengerrúdra (Ábra 32).

-
Ismételje meg a 4. és az 5. lépést a gép másik oldalán.
-
Lassan engedje le a rakodókarokat, amíg a munkahengerreteszek a munkahengerházakhoz és a rúdvégekhez nem érnek.
A munkahengerreteszek eltávolítása és tárolása
Important: A gép használatának megkezdése előtt távolítsa el a munkahengerreteszeket a rudakról, és rögzítse azokat a tárolási helyzetükben.
-
Indítsa be a motort.
-
Emelje fel a rakodókarokat teljesen felemelt helyzetbe.
-
Állítsa le a motort és vegye ki az indítókulcsot.
-
Távolítsa el a munkahengerreteszeket biztosító csapokat.
-
Helyezze a munkahengerreteszeket a gép oldalán levő oszlopokra és rögzítse azokat a csapokkal.
-
Engedje le a rakodókarokat.
Hozzáférés a belső alkatrészekhez
Figyelmeztetés
A burkolatok, fedelek és válaszfalak kinyitása vagy eltávolítása járó motor mellett lehetővé teszi, hogy mozgó alkatrészekkel érintkezzen. A mozgó alkatrészek érintése halált vagy súlyos személyi sérülést okozhat.
A burkolat, a fedél vagy a válaszfalak kinyitása vagy eltávolítása előtt állítsa le a motort, vegye ki a kulcsot a kapcsolóból, és várja meg, amíg a motor lehűl.
A motorháztető felnyitása
-
Lazítsa meg a motorháztetőt rögzítő csavart.

-
Nyissa ki a motorháztetőt a reteszkulccsal, majd nyomja meg a gombot a retesz kioldásához.

-
Nyissa fel a motorháztetőt..
A motorháztető lecsukása
-
Csukja le a motorháztetőt.
-
Nyomja le a reteszt a motorháztető rögzítéséhez.
-
Reteszelje a motorháztetőt a reteszkulcs segítségével, majd húzza meg a rögzítőcsavart.
A hátsó fedél eltávolítása
-
Távolítsa el a hátsó fedél felső részét rögzítő 2 csavart.

-
Emelje ki a fedelet a hűtőkonzolon lévő nyílásokból.

A hátsó burkolat visszaszereléséhez végezze el az eljárást fordítva.
Az alsó lemez eltávolítása
-
Távolítsa el az alsó lemezt rögzítő 2 csavart.

-
Távolítsa el az alsó lemezt.
Az elülső fedél eltávolítása
-
Emelje fel a rakodókarokat és biztosítsa őket a munkahengerreteszekkel.
-
Lazítsa meg az elülső fedelet a géphez rögzítő 2 csavart.

-
Csúsztassa le a fedelet a gépről.
-
A fedél felszerelésekor húzza meg a csavarokat 41 Nm nyomatékkal.
Az elülső fedélegység eltávolítása
-
Emelje fel a rakodókarokat, és biztosítsa őket a munkahengerreteszekkel.
-
Nyissa fel a motorháztetőt.
-
Távolítsa el a fedélegységet a géphez rögzítő 4 csavart.

-
Távolítsa el a fedélegységet.
Az elülső szerviznyílásfedél eltávolítása
Lazítsa meg a 2 csavart, majd vegye le az elülső szerviznyílásfedelet.

Az oldalsó védőrácsok eltávolítása
-
Nyissa fel a motorháztetőt.
-
Csúsztassa ki a rácsot az elülső és hátsó nyílásokból.

Kenés
A gép zsírzása
| Karbantartási időköz | Karbantartási intézkedés |
|---|---|
| Minden egyes használat előtt, vagy naponta |
|
Kenőzsír típusa: univerzális kenőzsír.
-
Parkolja le a gépet sík talajon, engedje le a rakodókarokat, és húzza be a rögzítőféket.
-
Állítsa le a motort és vegye ki az indítókulcsot.
-
Tisztítsa le ronggyal a zsírzószemeket.

-
Csatlakoztasson zsírzóprést mindegyik zsírzószemre.
-
Pumpálja addig a zsírt a zsírzószemekbe, amíg a csapágyakból ki nem türemkedik (kb. 3 pumpálás).
-
Törölje le a felesleges zsírt.
Motor karbantartása
A motorral kapcsolatos óvintézkedések
-
Az olajszint ellenőrzését és a forgattyúházba az olaj betöltését álló motornál végezze.
-
Ne változtassa meg a motor szabályozási beállítását, és ne pörgesse túl a motort.
-
Tartsa távol kezét, lábát, arcát, testrészeit és ruházatát a kipufogótól és egyéb forró felületektől.
A légszűrő szervizelése
| Karbantartási időköz | Karbantartási intézkedés |
|---|---|
| Minden egyes használat előtt, vagy naponta |
|
| Minden 25 órában |
|
| Minden 500 órában |
|
A légszűrő ellenőrzése
Important: A károsodása megelőzése érdekében csak úgy indítsa be a motort, ha a légszűrőbetét és a légszűrőfedél is a helyén van.
Important: Csak akkor cserélje a légszűrőbetétet, ha a légszűrő-eltömődés visszajelzője pirosra vált. A légszűrőbetét korábbi cseréjével csak növekszik annak kockázata, hogy szennyeződés jut a motorba, amikor a légszűrőbetétet eltávolítja.
-
Parkolja le a gépet sík talajon, engedje le a rakodókarokat, és húzza be a rögzítőféket.
-
Állítsa le a motort és vegye ki az indítókulcsot.
-
Nyissa fel a motorháztetőt.
-
Ellenőrizze a légszűrőházat olyan sérülések szempontjából, amelyek levegőszivárgást okozhatnak. Ellenőrizze a teljes szívórendszert szivárgás, károsodás és laza tömlőbilincsek szempontjából. Javítsa meg vagy cserélje ki a hibás alkatrészeket.
-
Húzza ki a légszűrőfedélen található reteszt, majd csavarja el, és húzza le a fedelet.
Important: Ne távolítsa el a légszűrőbetéteket.

-
Nyomja össze két oldalról a porvédő sapkát, hogy kinyíljon, majd ütögesse ki belőle a port.
-
Fúvassa tisztára 205 kPa alatti nyomású sűrített levegővel a légszűrőfedél belsejét.
Important: Ne használja a sűrített levegőt a légszűrőház kitisztítására.
-
Ellenőrizze a légszűrő-eltömődés visszajelzőjét.
-
Ha a légszűrő-eltömődés visszajelzője átlátszó, szerelje vissza a légszűrőfedelet úgy, hogy a porvédő sapka lefelé nézzen, és biztosítsa a reteszeket.
-
Ha a légszűrő-eltömődés visszajelzője piros, cserélje ki a légszűrőbetétet előírás szerint.

-
A szűrő(k) cseréje
-
Csúsztassa ki óvatosan az elsődleges szűrőt a légszűrőházból.
Note: Ügyeljen arra, hogy ne ütődjön a szűrőbetét a szűrőháznak.
Important: Ne kísérelje meg a légszűrőbetét tisztítását.

-
A biztonsági szűrő cseréje esetén óvatosan csúsztassa ki az elsődleges szűrőt a légszűrőházból.
-
Vizsgálja meg az új légszűrőbetéte(ke)t szakadás, olajos réteg és a gumitömítés épsége szempontjából. Nézzen át a szűrő anyagán, miközben erős fény felé tartja a külső részét; a szűrő anyagán világos foltként jelennek meg a lyukak.
Ha a szűrőbetét károsodott, ne használja.
-
Szerelje be óvatosan a szűrőbetéte(ke)t.
Note: A beszerelés során a külső peremét nyomva gondoskodjon arról, hogy teljesen felüljön a szűrő a helyén.
Important: Ne nyomja meg a szűrő puha belső részét.
-
Szerelje vissza a légszűrőfedelet úgy, hogy a porvédő sapka lefelé nézzen, és biztosítsa a reteszeket, lásd: Ábra 43.
-
Csukja le a motorháztetőt.
-
A rakodókarok leengedése.
A motorolaj szervizelése
| Karbantartási időköz | Karbantartási intézkedés |
|---|---|
| Minden egyes használat előtt, vagy naponta |
|
| Minden 250 órában |
|
Motorolaj-előírások
Az olaj típusa:
-
CD, CF, CF-4, CI-4 API-besorolás
-
E3, E-4, E-5 ACEA-besorolás
-
DH-1 JASO-besorolás
Motorolaj feltöltési mennyisége: szűrővel együtt 3,6 l

Note: A Toro Premium Engine motorolaj a hivatalos márkakereskedőknél kapható.
A motor olajszintjének ellenőrzése
-
Parkolja le a gépet sík talajon, engedje le a rakodókarokat, és húzza be a rögzítőféket.
-
Állítsa le a motort, vegye ki a kulcsot és hagyja a motort lehűlni.
-
Nyissa fel a motorháztetőt.
-
Távolítsa el a bal oldali védőrácsot.
-
Tisztítsa meg a nívópálca és az olajbetöltőnyílás-sapka környékét.

-
Ellenőrizze az olajszintet, szükség szerint töltsön utána.
Important: Ne töltse túl a forgattyúsházat olajjal; ha túl magas olajszint mellett járatja a motort, a motor károsodhat.

-
Csukja le a motorháztetőt.
A motorolaj és az olajszűrő cseréje
-
Szerelje le a munkaeszközöket.
-
Indítsa be a motort, és járassa 5 percig.
Note: Így az olaj felmelegszik és könnyebben leürül.
-
Parkolja le a gépet sík talajon.
-
Emelje fel a rakodókarokat, és helyezze be a munkahengerreteszeket.
-
Húzza be a rögzítőféket.
-
Állítsa le a motort és vegye ki az indítókulcsot.
-
Az olajat a kezelőállás alatt tudja leüríteni.
Vigyázat
Ha a gép működött, az alkatrészei forróak lehetnek. A forró alkatrészek érintése kisebb vagy közepes személyi sérülést okozhat.
Járjon el körültekintően, az olaj és/vagy az olajszűrő cseréje során ne érjen forró alkatrészekhez.


-
Húzza meg a leeresztőcsavart 46–56 Nm nyomatékkal.
-
Nyissa fel a motorháztetőt.
-
Távolítsa el a bal oldali védőrácsot; lásd: Az oldalsó védőrácsok eltávolítása.
-
Helyezzen egy lapos edényt vagy egy rongyot a szűrő alá az olaj felfogásához.
-
Cserélje le az olajszűrőt.

-
Vegye le az olajbetöltőnyílás-sapkát és öntse be lassan a megadott olajmennyiség nagyjából 80%-át a szelepfedélen keresztül.
-
Ellenőrizze az olajszintet.
-
Töltse be lassan a maradék olajat, hogy a szintje a nívópálca felső jelzéséig érjen.
-
Szerelje vissza az olajbetöltőnyílás-sapkát.
-
Szerelje fel a bal oldali védőrácsot.
-
Csukja le a motorháztetőt.
Üzemanyagrendszer karbantartása
Veszély
Az üzemanyag bizonyos feltételek mellett rendkívül gyúlékony és robbanásveszélyes. Az üzemanyag okozta tűz vagy robbanás megégetheti Önt vagy másokat, és anyagi károkat okozhat.
Az üzemanyaggal kapcsolatos óvintézkedések teljes listájáért lásd: Üzemanyaggal kapcsolatos óvintézkedések.
A vízleválasztó leürítése
| Karbantartási időköz | Karbantartási intézkedés |
|---|---|
| Minden 50 órában |
|
-
Parkolja le a gépet sík talajon, engedje le a rakodókarokat, és húzza be a rögzítőféket.
-
Állítsa le a motort és vegye ki az indítókulcsot.
-
Távolítsa el a hátsó burkolatot.
-
Helyezzen egy edényt a vízleválasztó alá.

-
Nyissa meg a szűrőtartály alján található leeresztő szelepet és engedje le a vizet belőle.
-
Húzza meg a leeresztőszelepet.
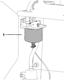
A vízleválasztó szűrőjének cseréje
| Karbantartási időköz | Karbantartási intézkedés |
|---|---|
| Minden 500 órában |
|
-
Parkolja le a gépet sík talajon, engedje le a rakodókarokat, és húzza be a rögzítőféket.
-
Állítsa le a motort és vegye ki az indítókulcsot.
-
Távolítsa el a hátsó fedelet, lásd: A hátsó fedél eltávolítása.
-
Tisztítsa meg a vízleválasztó szűrő rögzítése körüli területet.

-
Távolítsa el a szűrőtartályt, és tisztítsa meg a rögzítési felületet
-
Kenje meg az új szűrőtartály tömítését tiszta olajjal.
-
Töltse fel a tartályt üzemanyaggal.
-
Szerelje fel és húzza meg kézzel a szűrőházat annyira, hogy a tömítése felfeküdjön a felszerelési felületre, majd húzzon még rajta további ½ fordulatot.
-
Szerelje a helyére a hátsó burkolatot.
Az üzemanyag-vezetékek és csatlakozók vizsgálata
| Karbantartási időköz | Karbantartási intézkedés |
|---|---|
| Minden 400 órában |
|
Vizsgálja meg az üzemanyag-vezetékeket elhasználódás, károsodás és laza csatlakozások szempontjából. Húzza meg a lelazult csatlakozókat, a károsodott üzemanyag-vezetékekkel kapcsolatban forduljon hivatalos márkakereskedőhöz.
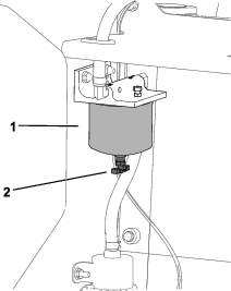
Az átfolyó üzemanyagszűrő cseréje
| Karbantartási időköz | Karbantartási intézkedés |
|---|---|
| Minden 500 órában |
|
-
Parkolja le a gépet sík talajon, engedje le a rakodókarokat, és húzza be a rögzítőféket.
-
Állítsa le a motort és vegye ki az indítókulcsot.
-
Távolítsa el a hátsó fedelet, lásd: A hátsó fedél eltávolítása.
-
Cserélje ki a-szűrőt az ábra alapján.
Note: Ügyeljen arra, hogy a szűrőn található jelölés megegyezzen a tüzelőanyag áramlási irányával.

-
Szerelje a helyére a hátsó burkolatot.
Az üzemanyagrendszer légtelenítése
A motor beindítása előtt légtelenítenie kell az üzemanyagrendszert az alábbiak közül bármelyik esemény esetén:
-
Új gép első beindítása
-
A motor leállt, mert kifogyott az üzemanyag.
-
Karbantartás történt az üzemanyagrendszer elemein (pl. szűrőcsere).
-
Fordítsa az indítókulcsot ÜZEM helyzetbe.
-
A motor beindítása előtt hagyja 2 percig járni az üzemanyag-szivattyút.
Az üzemanyagtartály(ok) leürítése
| Karbantartási időköz | Karbantartási intézkedés |
|---|---|
| Minden 2 évben |
|
Üríttesse le és tisztíttassa ki az üzemanyagtartály(oka)t hivatalos márkaszervizzel.
Elektromos berendezés karbantartása
Az elektromos rendszerrel kapcsolatos óvintézkedések
-
Kösse le az akkumulátort, mielőtt bármilyen javításba kezd; lásd: Az akkumulátorleválasztó kapcsoló használata.
-
Az akkumulátor töltését végezze nyitott, jól szellőző helyen, szikráktól és nyílt lángtól távol. A töltőt az akkumulátorra való csatlakoztatása vagy leválasztása előtt húzza ki a konnektorból. Viseljen védőöltözéket, és használjon szigetelt szerszámokat.
-
Az akkumulátorsav mérgező és maró hatású. Ügyeljen arra, nehogy a bőrére, a szemébe vagy az öltözékére kerüljön. Védje arcát, szemét és ruházatát, amikor akkumulátorral foglalkozik.
-
Az akkumulátor gázai berobbanhatnak. Tartsa távol a cigarettákat, a szikrákat és a lángokat az akkumulátortól.
Az akkumulátor szervizelése
| Karbantartási időköz | Karbantartási intézkedés |
|---|---|
| Minden 50 órában |
|
Az akkumulátorleválasztó kapcsoló használata
Vigyázat
A forró felületekkel való érintkezés kisebb vagy közepes súlyosságú sérüléseket okozhat.
Tartsa távol kezét, lábát, arcát, ruházatát és más testrészeit a kipufogótól és egyéb forró felületektől.
-
Parkolja le a gépet sík talajon, engedje le a rakodókarokat, és húzza be a rögzítőféket.
-
Állítsa le a motort és vegye ki az indítókulcsot.
-
Nyissa fel a motorháztetőt.
-
Kapcsolja az akkumulátorleválasztó kapcsolót BE vagy KI helyzetbe az alábbiak elvégzéséhez:
-
A gép áramellátásának biztosításához fordítsa el az akkumulátorleválasztó kapcsolót jobbra, BE helyzetbe (Ábra 54).
-
A gép áramellátásának megszüntetéséhez fordítsa el az akkumulátorleválasztó kapcsolót balra, KI helyzetbe (Ábra 54).

-
Az akkumulátor eltávolítása
Figyelmeztetés
Az akkumulátor kábeleinek helytelen elvezetése szikrákat okozva károsíthatja a gépet és a kábeleket. A szikrák hatására az akkumulátor gázai berobbanhatnak, ami halálhoz vagy személyi sérüléshez vezethet.
Először mindig a negatív (fekete) akkumulátorkábelt kösse le, csak ezután a pozitív (piros) kábelt.
-
Szerelje le a munkaeszközöket.
-
Parkolja le a gépet sík talajon.
-
Emelje fel a rakodókarokat, és helyezze be a munkahengerreteszeket.
-
Húzza be a rögzítőféket.
-
Állítsa le a motort és vegye ki az indítókulcsot.
-
Távolítsa el az elülső fedélegységet; lásd: Az elülső fedélegység eltávolítása.
-
Kösse le a negatív (fekete) akkumulátorkábelt az akkumulátor pólusáról. Őrizze meg a kötőelemeket.

-
Húzza le a gumisapkát a pozitív (piros) kábel sarujáról.
-
Kösse le a pozitív (piros) akkumulátorkábelt az akkumulátor pólusáról. Őrizze meg a kötőelemeket.
-
Távolítsa el a szárnyas anyákat, rudakat és a szíjat.
-
Vegye ki az akkumulátort.
Az akkumulátor töltése
Figyelmeztetés
Az akkumulátor töltésekor gázok keletkeznek, amelyek berobbanhatnak, halált vagy személyi sérülést okozva.
Ne dohányozzon az akkumulátor közelében, és tartson távol minden szikrát, nyílt lángot az akkumulátortól.
Important: Az akkumulátort tartsa mindig teljesen feltöltve (1,265-ös fajsúly). Különösen fontos az akkumulátort megvédeni a károsodástól 0 °C alatti hőmérsékleten.
-
Szerelje ki az akkumulátort a gépből; lásd Az akkumulátor eltávolítása.
-
Töltse az akkumulátort 4–8 órán át 3–4 A áramerősséggel (Ábra 56). Ne töltse túl az akkumulátort.

-
Ha az akkumulátor teljesen feltöltődött, húzza ki a töltőt a konnektorból, majd kösse le az akkumulátor pólusairól (Ábra 56).
Az akkumulátor tisztítása
Note: Tartsa tisztán a kivezetéseket és a teljes akkumulátorházat, hogy megnövelje az akkumulátor élettartamát.
-
Parkolja le a gépet sík talajon, engedje le a rakodókarokat, és húzza be a rögzítőféket.
-
Állítsa le a motort és vegye ki az indítókulcsot.
-
Szerelje ki az akkumulátort a gépből; Az akkumulátor eltávolítása.
-
Mossa le kívülről az akkumulátort vízben feloldott szódabikarbónával.
-
Öblítse le az akkumulátort tiszta vízzel.
-
Vonja be az akkumulátorpólusokat és a kábelcsatlakozókat Grafo 112X védőzsírral vagy vazelinnel a korrózió megelőzésére.
-
Szerelje be az akkumulátort; lásd: Az akkumulátor beszerelése.
Az akkumulátor beszerelése
Figyelmeztetés
Az akkumulátor kábeleinek helytelen elvezetése szikrákat okozva károsíthatja a gépet és a kábeleket. A szikrák hatására az akkumulátor gázai berobbanhatnak, ami halálhoz vagy személyi sérüléshez vezethet.
Először mindig a pozitív (piros) akkumulátorkábelt kösse vissza, és csak ezután a negatív (fekete) kábelt.
-
Helyezze az akkumulátort az akkumulátortálcára, majd rögzítse a szíj, a szárnyas anyák és a rudak segítségével.

-
Az előzőleg eltávolított kötőelemek segítségével kösse vissza a pozitív (piros) akkumulátorkábelt a pozitív (+) akkumulátorpólusra.
-
Csúsztassa a piros gumisapkát a pozitív (+) akkumulátorpólusra.
-
Az előzőleg leszerelt rögzítőelemek segítségével szerelje fel a negatív (fekete) akkumulátorkábelt a negatív (–) akkumulátorpólusra.
-
Szerelje a helyére az elülső fedélegységet.
A csereakkumulátor karbantartása
Az eredeti akkumulátor karbantartásmentes, nem igényel karbantartást. A csereakkumulátor karbantartása tekintetében olvassa el az akkumulátor gyártójának utasításait.
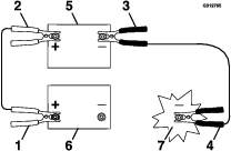
A gép elindítása külső akkumulátorról
Figyelmeztetés
A külső akkumulátorról történő indításkor gázok keletkeznek, amelyek berobbanhatnak, halált vagy személyi sérülést okozva.
Ne dohányozzon az akkumulátor közelében, és tartson távol minden szikrát, nyílt lángot az akkumulátortól.
-
Parkolja le a gépet sík talajon, engedje le a rakodókarokat, és húzza be a rögzítőféket.
-
Állítsa le a motort és vegye ki az indítókulcsot.
-
Távolítsa el az elülső fedelet.
-
A segédindítás előtt ellenőrizze és tisztítsa le a korróziót az akkumulátor pólusairól. Ellenőrizze, hogy a csatlakozások szorosak-e.
Vigyázat
A korrózió vagy a meglazult csatlakozások nem kívánt feszültségnövekedést okozhatnak a segédindítási eljárás során, ami kisebb vagy közepes súlyosságú személyi sérüléssel is járhat.
Ne kísérelje meg a gép segédindítását laza vagy korrodált akkumulátorcsatlakozók esetén, mert a motor károsodhat.
Veszély
Ha olyan lemerült akkumulátornál hajtja végre a segédindítást, amely megrepedt, megfagyott, alacsony az elektrolitszintje vagy szakadt/zárlatos cellával rendelkezik, robbanás következhet be, amely halálhoz vagy súlyos személyi sérüléshez vezethet.
Ne végezzen segédindítást lemerült akkumulátornál ilyen feltételek mellett.
-
Ügyeljen arra, hogy a segédindító akkumulátor egy jó minőségű, teljesen feltöltött, legalább 12,6 V-os ólom-sav akkumulátor legyen.
Note: Használjon megfelelően méretezett, minél rövidebb segédindító kábeleket, hogy minimalizálja a rendszerek közti feszültségesést. Ügyeljen arra, hogy a kábeleken színkód vagy címke jelezze a megfelelő polaritást.
Figyelmeztetés
Az akkumulátorok savat tartalmaznak és robbanásveszélyes gázokat bocsátanak ki, amelyek halálos balesetet vagy súlyos sérüléseket okozhatnak.
-
Szemét és arcát mindig óvja védőeszközzel az akkumulátortól.
-
Ne hajoljon az akkumulátorok fölé.
Note: Ügyeljen arra, hogy a szellőzőkupakok szintben legyenek, szorosan meghúzva. Helyezzen egy nedves rongyot (ha van) mindkét akkumulátor szellőzőkupakjaira. Arról is gondoskodjon, hogy a gépek ne érjenek egymáshoz, valamint hogy mindkét elektromos rendszer ki legyen kapcsolva, és azonos névleges rendszerfeszültséggel rendelkezzen. Ezek az utasítások csak a negatív földelésű rendszerekre vonatkoznak.
-
-
Csatlakoztassa a pozitív (+) kábelt a lemerült akkumulátor az indítómotorra vagy annak behúzó tekercsére kötött pozitív (+) pólusához a jelzett módon.

-
Csatlakoztassa a pozitív (+) segédindító kábel másik végét a másik gép akkumulátorának pozitív pólusához.
-
Csatlakoztassa a negatív (–) segédindító kábel egyik végét a másik gép akkumulátorának negatív pólusához.
-
Csatlakoztassa a negatív (–) segédindító kábel másik végét egy testelési ponthoz, például festetlen csavarhoz vagy alvázmerevítőhöz.
-
Indítsa be a másik gép motorját. Járassa pár percig, majd indítsa be a saját gép motorját.
-
Kösse le a kábeleket a csatlakoztatásukhoz képest fordított sorrendben.
-
Szerelje helyére az elülső fedelet.
A biztosítékok szervizelése
Az elektromos rendszert biztosítékok védik. A biztosítékok nem igényelnek karbantartást, de ha valamelyik kiég, ellenőrizni kell az általa védett részegységet/áramkört rövidzárlat vagy egyéb hiba szempontjából.

| 1 | 2 | 3 | 4 | 5 | 6 | 7 | 8 | 9 | 10 | 11 | 12 | |
| A | X | X | X | X | X | X | Tartozék | Rendszer áramellátása | Rendszer áramellátása 2 | |||
| (10 A) | (15 A) | (7,5 A) | ||||||||||
| B | X | X | X | X | X | X | Lámpák/USB | Telematika | Rendszer áramellátása 4 | |||
| (15 A) | (10 A) | (7,5 A) | ||||||||||
| C | X | X | X | X | X | X | Kürt | TDM 2002 | Rendszer áramellátása 3 | |||
| (20 A) | (10 A) | (7,5 A) | ||||||||||
| D | X | X | X | X | X | X | X | X | (Relé) | (Relé) | ||
| E | X | X | X | X | X | X | X | X | ||||
Note: Ha a gép nem indul be, kiéghetett a főáramkör vagy a kezelőpanel/relé biztosítéka.
Hajtóműrendszer karbantartása
A lánctalpak szervizelése
| Karbantartási időköz | Karbantartási intézkedés |
|---|---|
| Az első 8 óra után |
|
| Az első 50 óra után |
|
| Minden egyes használat előtt, vagy naponta |
|
| Minden 50 órában |
|
A lánctalpak megtisztítása
-
Parkolja le a gépet sík talajon.
-
A felszerelt kanalat fordítsa a talaj felé, majd engedje le a talajra annyira, hogy a vontatóegység eleje pár centire elemelkedjen a talajtól.
-
Húzza be a rögzítőféket.
-
Állítsa le a motort és vegye ki az indítókulcsot.
-
Locsolótömlő vagy nagynyomású mosó segítségével mossa ki a szennyeződéseket a lánctalprendszerből.
Important: Ügyeljen arra, hogy a nagynyomású vízsugár csak a lánctalp környékére irányuljon. A vontatóegység többi részét ne nagynyomású vízsugárral mossa. Ne irányítsa a nagynyomású vízsugarat a hajtókerék és a vontatóegység közé, mert ezzel károsíthatja a motor tömítéseit. A nagynyomású vízsugár károsíthatja az elektromos rendszert és a hidraulikarendszer szelepeit, vagy kimoshatja a zsírt.
Important: Tisztítsa le teljesen a futógörgőket, az első kereket, a hátsó kereket és a hajtókereket. A futógörgők tiszta állapotban szabadon elforgathatók.

A lánctalpfeszesség ellenőrzése és beállítása
Emelje meg/támassza alá a gép egyik oldalát, majd a lánctalp saját súlyát felhasználva ellenőrizze, hogy a futógörgő pereme és a lánctalp közti hézag 19 mm-e. Ha nem ennyi, állítson a lánctalp feszességén az alábbi eljárással.

-
Parkolja le a gépet sík talajon, engedje le a rakodókarokat, és húzza be a rögzítőféket.
-
Állítsa le a motort és vegye ki az indítókulcsot.
-
Emelje el annyira a gépnek azt az oldalát, amelyiken állít, hogy a lánctalp ne érjen a talajhoz.
-
Lazítsa meg a hátsó fedélen lévő csavarokat, és vegye le a fedelet.

-
Lazítsa meg az ellenanyát és fordítsa el a feszítőcsavart az óramutató járásával megegyező irányba addig, amíg a lánctalp belógása 19 mm nem lesz.

-
Húzza meg az ellenanyát.
-
Szerelje fel a fedelet és húzza meg a csavarokat.
-
Ismételje meg az eljárást a másik lánctalpnál.
-
Közlekedjen a géppel, majd parkolja le sík talajon, húzza be a rögzítőféket, állítsa le a motort és vegye ki az indítókulcsot.
-
Ellenőrizze, hogy a lánctalp belógása 19 mm-e. Állítson utána szükség szerint.
A lánctalpak cseréje
A lánctalpak leszerelése
-
Szerelje le a munkaeszközöket.
-
Parkolja le a gépet sík talajon úgy, hogy a hajtókeréknek csak az egyik fele kapcsolódjon a lánctalphoz.

-
Engedje le a rakodókarokat.
-
Állítsa le a motort és vegye ki az indítókulcsot.
-
Emelje fel a gépet a talajról úgy, hogy a lánctalp alsó része legalább 10,2 cm-re elemelkedjen a talajtól. Támassza alá a gépet emelőállványokkal.
Note: Használjon olyan emelőállványt, amely elbírja a gép súlyát.
Figyelmeztetés
A mechanikus vagy hidraulikus emelők nem feltétlenül bírják el hosszabb távon a gépet, így halált vagy súlyos sérülést is okozhatnak.
Használjon emelőállványt a gép alátámasztására.
-
Lazítsa meg a hátsó fedélen lévő csavarokat, majd vegye le a fedelet.

-
Lazítsa meg az ellenanyát, és fordítsa el a feszítőcsavart a feszesség megszüntetéséhez.

-
Távolítsa el a hajtókerék azon szegmensét, amely nem kapcsolódik a lánctalphoz.
Important: Ha nem távolítja el a hajtókerékszegmenst, akkor előfordulhat, hogy annak károsodása nélkül csak nehezen tud majd új lánctalpat felszerelni.

-
Indítsa el a gépet és engedje ki a rögzítőféket.
-
Tolja előre a haladást vezérlő kart annyira, hogy a hajtókerék másik fele elváljon a lánctalptól

-
Állítsa le a motort és vegye ki az indítókulcsot.
-
Távolítsa el a lánctalpat a lánctalpvázról, a hajtókerékagyról, majd az első görgőről.
A lánctalpak felszerelése
-
Fűzze az új lánctalpat az első kerékre.

-
Tolja rá a lánctalpat a futógörgők alá és közé, majd fűzze rá a hátsó kerékre.
-
Indítsa be a motort és engedje ki a rögzítőféket.
-
Tolja előre a haladást vezérlő kart annyira, hogy a hajtókerékfél a lánctalphoz kapcsolódjon.

-
Állítsa le a motort és vegye ki az indítókulcsot.
-
Kenje be menetrögzítő pasztával a leszerelt hajtókerékfél csavarjait, majd szerelje vissza a másik hajtókerékfelet. Húzza meg a csavarokat 80–99 Nm nyomatékkal.

-
Forgassa addig a feszítőcsavart, amíg a lánctalp belógása 19 mm nem lesz.

-
Húzza meg az ellenanyát.
-
Szerelje fel a fedelet, és húzza meg a csavarokat.
-
Ismételje meg az eljárást a másik lánctalp cseréje során.
-
Engedje a talajra a gépet.
-
Közlekedjen a géppel, majd parkolja le sík talajon, húzza be a rögzítőféket, állítsa le a motort és vegye ki az indítókulcsot.
-
Ellenőrizze, hogy a lánctalp belógása megfelelő-e; lásd: A lánctalpfeszesség ellenőrzése és beállítása.
Hűtőrendszer karbantartása
A hűtőrendszerrel kapcsolatos óvintézkedések
-
A hűtőfolyadék lenyelése mérgezést okozhat; gyermekektől és háziállatoktól elzárva tartandó.
-
A nyomás alatt lévő forró kiáramló hűtőfolyadék, valamint a forró hűtő és kapcsolódó alkatrészei súlyos égési sérüléseket okozhatnak.
-
Hagyja hűlni a motort legalább 15 percig, mielőtt levenné a hűtősapkát.
-
A hűtősapka levételéhez használjon rongyot, a sapkát pedig lassan nyissa meg, hogy a gőz eltávozhasson.
-
A hűtőrendszer szervizelése
| Karbantartási időköz | Karbantartási intézkedés |
|---|---|
| Minden egyes használat előtt, vagy naponta |
|
| Minden 100 órában |
|
A hűtőrács tisztítása
| Karbantartási időköz | Karbantartási intézkedés |
|---|---|
| Minden egyes használat előtt, vagy naponta |
|
Távolítson el minden felgyűlt füvet, koszt és egyéb szennyeződést a hűtőrácsról sűrített levegővel.
A hűtőfolyadék szintjének ellenőrzése
Mennyiség: 4,4 l
Típus: víz és tartósan használható etilén-glikolos fagyálló 50/50 arányú keveréke.
Important: Ne távolítsa el a hűtősapkát a gép hátuljánál, ha a kiegyenlítőtartály nem üres; ellenkező esetben hűtőfolyadék szivároghat ki.
-
Parkolja le a gépet sík talajon, engedje le a rakodókarokat, és húzza be a rögzítőféket.
-
Állítsa le a motort, vegye ki a kulcsot és hagyja a motort lehűlni.
-
Nyissa fel a motorháztetőt.
-
Ellenőrizze a hűtőfolyadék szintjét a tágulási tartályban.
A hűtőfolyadék szintjének a tágulási tartályoldalán található jelnél vagy fölötte kell lennie.

-
Ha a hűtőfolyadék szintje alacsony, vegye le a tágulási tartály sapkáját és töltsön be víz és etilén-glikol 50/50 arányú keverékéből álló fagyállót.
Important: Ne töltse túl a tágulási tartályt.
-
Tegye vissza a tágulási tartály sapkáját.
-
Csukja le a motorháztetőt.
A hűtőfolyadék cseréje
| Karbantartási időköz | Karbantartási intézkedés |
|---|---|
| Évente |
|
Cseréltesse le a hűtőfolyadékot hivatalos márkaszervizben évente.
Ha hűtőfolyadékot kell utántöltenie, lásd: A hűtőfolyadék szintjének ellenőrzése.
Kezelőberendezés karbantartása
A kezelőszervek beállítása
A gyár a gép kibocsátása előtt beállítja a kezelőszerveket. Ugyanakkor több üzemórányi használat után előfordulhat, hogy állítani kell a haladás vezérlésén, a haladást vezérlő kar SEMLEGES helyzetén és a teljes sebességgel előre helyzet követésén.
Állíttassa be a kezelőszerveket a hivatalos márkakereskedővel.
Hidraulikarendszer karbantartása
A hidraulika-rendszerrel kapcsolatos óvintézkedések
-
Ha hidraulikafolyadék került a bőre alá, azonnal kérjen orvosi segítséget. A bejutott folyadékot pár órán belül orvossal sebészileg el kell távolíttatni.
-
Mielőtt nyomás alá helyezi a hidraulika-rendszert, győződjön meg arról, hogy minden hidraulikatömlő és -vezeték megfelelő állapotban van, és az összes hidraulikus csatlakozó és szerelvény szorosan illeszkedik.
-
Egyetlen testrészével se kerüljön közel olyan szivárgó kis átmérőjű lyukakhoz vagy fúvókákhoz, ahonnan nagynyomású hidraulikafolyadék távozhat.
-
Kartonlap vagy papírlap segítségével ellenőrizze, nem szivárog-e a hidraulikafolyadék.
-
Szüntesse meg biztonságosan a nyomást a hidraulika-rendszerben, mielőtt bármilyen munkába kezd rajta.
A hidraulika-rendszer nyomásának megszüntetése
A hidraulikarendszer nyomásának megszüntetéséhez működő motor esetén kapcsolja ki a segédhidraulika-rendszert, és engedje le teljesen a rakodókarokat.
A motor leállítása után a nyomásmentesítéshez állítsa a gyújtáskapcsolót BE állásba, tartsa lenyomva a gép aktiváló kapcsoló alsó részét, majd mozgassa a rakodókar/munkaeszköz billentő kart az előre helyzetek között, hogy leengedje a rakodókarokat. A gyújtáskapcsoló BE helyzetében nyomja meg többször a segédhidraulika kapcsolóját.

A hidraulikafolyadékra vonatkozó előírások
| Karbantartási időköz | Karbantartási intézkedés |
|---|---|
| Minden 100 órában |
|
| Minden 400 órában |
|
| Minden 1000 órában |
|
A hidraulikarendszer befogadóképessége: 43,5 l
Javasolt hidraulikafolyadék: Toro PX Extended Life Hydraulic Fluid
Note: A javasolt cserefolyadék használata esetén ritkábban kell cserélni a folyadékot és a szűrőt.
Alternatív hidraulikafolyadékok: ha a Toro PX Extended Life Hydraulic Fluid nem kapható, használhat hagyományos, olyan petróleumalapú hidraulikafolyadékot, amelynek a tulajdonságai megfelelnek az alábbi anyagjellemzőknek és megfelel az iparági szabványoknak. Ne használjon szintetikus folyadékot. Forduljon a kenőanyag forgalmazójához a megfelelő termékkel kapcsolatban.
Note: A Toro nem vállalja a felelősséget a nem megfelelő helyettesítő termék használatából eredő károkért, használja ezért megbízható, neves gyártó termékét.
| Anyagjellemzők: | ||
| Viszkozitás, ASTM D445 | 40 °C-on 44–48 cSt | |
| Viszkozitási index, ASTM D2270 | 140 vagy magasabb | |
| Dermedéspont, ASTM D97 | –37 °C és –45 °C között | |
| Iparági előírások: | Eaton Vickers 694 (I-286-S, M-2950-S/35VQ25 vagy M-2952-S) | |
Note: Sok hidraulikafolyadék majdnem színtelen, ezért nehéz észrevenni a szivárgását. A hidraulikafolyadékhoz piros festékadalék kapható 20 ml-es palackban. A palack tartalma 15–22 l hidraulikafolyadékhoz elegendő. 44-2500 cikkszámon megrendelhető a hivatalos Toro-forgalmazótól.
A hidraulikafolyadék szintjének ellenőrzése
| Karbantartási időköz | Karbantartási intézkedés |
|---|---|
| Minden egyes használat előtt, vagy naponta |
|
Important: Csak megfelelő hidraulikafolyadékot használjon. A nem megfelelő folyadékok károsíthatják a hidraulika-rendszert. Lásd: A hidraulikafolyadékra vonatkozó előírások.
-
Szerelje le a munkaeszközöket.
-
Parkolja le a gépet sík talajon.
-
Engedje le teljesen a rakodókarokat, és hajtsa hátra a munkaeszköz szerelőlapját.
-
Húzza be a rögzítőféket.
-
Állítsa le a motort és vegye ki az indítókulcsot.
-
Nézzen a gép jobb oldalán lévő kémlelőüvegbe. Ha a hidraulikafolyadék nem látható a kémlelőüvegben, akkor töltsön be folyadékot az alábbi módon:

-
Távolítsa el a csavart és az anyát.

-
Emelje fel a konzolt.
-
Tisztítsa meg a betöltőnyílás-sapka körüli területet, majd vegye le a sapkát.

-
Töltsön be hidraulikafolyadékot, amíg az meg nem jelenik a kémlelőüvegben.
-
Szerelje vissza a betöltőnyílás-sapkát.
-
Hajtsa le a konzolt, majd rögzítse csavarral és anyával.
-
A hidraulikaszűrő cseréje
Important: Ne helyettesítse gépjármű-olajszűrővel, különben a hidraulika-rendszer súlyosan károsodhat.
-
Szerelje le a munkaeszközöket.
-
Parkolja le a gépet sík talajon.
-
Emelje fel a rakodókarokat, és helyezze be a munkahengerreteszeket.
-
Húzza be a rögzítőféket.
-
Állítsa le a motort, vegye ki a kulcsot és hagyja a motort lehűlni.
-
Távolítsa el az elülső szerviznyílásfedelet.
-
Helyezzen egy leeresztőedényt a szűrő alá, majd cserélje ki a szűrőt.

-
Törölje le a folyadékcseppeket, ha vannak.
-
Indítsa be a motort és járassa nagyjából 2 percig a rendszer légtelenítéséhez.
-
Állítsa le a motort és keressen esetleges szivárgást.
-
Ellenőrizze a folyadékszintet a hidraulikatartályban; lásd: A hidraulikafolyadék szintjének ellenőrzése. Töltsön be annyi folyadékot, hogy a szint elérje a nívópálca jelzését.
Important: Ne töltse túl a tartályt.
-
Szerelje helyére az elülső fedelet.
-
Távolítsa el és tegye el a munkahengerreteszeket, majd engedje le a rakodókarokat.
A hidraulikafolyadék cseréje
-
Parkolja le a gépet sík talajon, engedje le a rakodókarokat, és húzza be a rögzítőféket.
-
Állítsa le a motort és vegye ki az indítókulcsot.
-
Helyezzen egy nagyobb (legalább 57 l-es) edényt a hidraulikatartályon lévő leeresztőcsavar alá.

-
Szerelje ki a leeresztőcsavart, és engedje le az olajat az edénybe.
-
Ha az olaj leürült, szerelje vissza és húzza meg a leeresztőcsavart.
Note: A fáradt olaj ártalmatlanítását végezze tanúsítással rendelkező újrahasznosító központban.
-
Töltse fel a hidraulikatartályt hidraulikafolyadékkal; lásd: A hidraulikafolyadékra vonatkozó előírások.
-
Indítsa be a motort, és járassa pár percig.
-
Állítsa le a motort és vegye ki az indítókulcsot.
-
Ellenőrizze a hidraulikafolyadék-szintet, szükség esetén töltsön utána; lásd: A hidraulikafolyadék szintjének ellenőrzése.
Tisztítás
A hulladékok eltávolítása
| Karbantartási időköz | Karbantartási intézkedés |
|---|---|
| Minden egyes használat előtt, vagy naponta |
|
Important: Eltömődött hűtőrácsokkal és/vagy hűtőburkolatokkal üzemeltetve a motor a túlhevüléstől károsodhat.
-
Parkolja le a gépet sík talajon, engedje le a rakodókarokat, és húzza be a rögzítőféket.
-
Állítsa le a motort, vegye ki a kulcsot és hagyja a motort lehűlni.
-
Nyissa fel a motorháztetőt.
-
Tisztítson le minden hulladékot az első és az oldalsó rácsokról.
-
Törölje le a szennyeződést a légszűrőről.
-
Tisztítson le minden, a motorra és az olajhűtő bordáira rakódott hulladékot kefével vagy légárammal.
Important: Eltömődött hűtőrácsokkal és/vagy hűtőburkolatokkal üzemeltetve a motor a túlhevüléstől károsodhat.
-
Tisztítsa le a hulladékot a motorháztető nyílásáról, a kipufogódobról, a hőpajzsokról és a hűtőrácsról (adott esetben).
-
Csukja le a motorháztetőt.
A gép lemosása
Nagynyomású mosó használata esetén az alábbi módon járjon el:
-
Viseljen a nagynyomású mosóhoz megfelelő személyi védőfelszerelést.
-
Legyen minden védőburkolat a helyén a gépen.
-
Ügyeljen arra, hogy ne érje vízpermet az elektronikus részegységeket.
-
Ne irányítsa a vízsugarat a címkék szélére.
-
Csak a gép külsejét mossa le. Ne irányítsa a vízsugarat közvetlenül a gép nyílásaiba.
-
Csak a gép koszos részeire irányítsa a vízsugarat.
-
Használjon 40°-os vagy nagyobb szögű szórófúvókát. A 40°-os fúvóka rendszerint fehér.
-
Mosáskor tartsa a nagynyomású mosó fúvókájának csúcsát legalább 61 cm távolságra a felülettől.
-
Használjon 137,9 bar alatti nyomású és percenként 7,6 l alatti szállítású mosót.
-
A sérült vagy leváló címkéket cserélje ki.
-
A lemosás után kenje meg az összes zsírzási pontot; lásd: A gép zsírzása.
Az alváz megtisztítása
| Karbantartási időköz | Karbantartási intézkedés |
|---|---|
| Minden 100 órában |
|
Az alvázon a motor alatt idővel kosz és hulladék gyűlhet fel, amelyet el kell távolítani. Nyissa fel a motorháztetőt, és vizsgálja meg a motor alatti területet rendszeresen zseblámpával. Ha a lerakódás már 2,5–5 cm mély, tisztítsa le az alvázat.
-
Parkolja le a gépet sík talajon, engedje le a rakodókarokat, és húzza be a rögzítőféket.
-
Állítsa le a motort és vegye ki az indítókulcsot.
-
Emelje meg a gép elejét, hogy az hátrafelé lejtsen.
-
Távolítsa el az alsó lemezt, lásd: Az alsó lemez eltávolítása.
-
Távolítsa el az elülső fedélegységet; lásd: Az elülső fedélegység eltávolítása.
-
Permetezzen vizet az alvázba a kosz és a lerakódások eltávolításához.
Note: A víz a gép hátuljánál távozik.
Important: Ne permetezzen vizet a motorba.
-
Zsírozza meg a gépet; lásd: A gép zsírzása.
-
Szerelje fel az alsó lemezt.
-
Szerelje a helyére az elülső fedélegységet.
-
Engedje le a gépet a talajra.


), amelynek jelentése lehet Figyelem, Vigyázat
vagy Veszély – személyes biztonsági utasítások.
Az utasítások be nem tartása súlyos személyi
sérüléshez vagy halálhoz vezethet.





















































































