| Huoltoväli | Huoltotoimenpide |
|---|---|
| Aina ennen käyttöä tai päivittäin |
|
Tätä työajoneuvoa ei ole tarkoitus käyttää yleisillä teillä. Se on tarkoitettu ihmisten ja materiaalien kuljetukseen. Tuotteen käyttäminen muuhun kuin sen aiottuun käyttötarkoitukseen voi olla vaarallista käyttäjälle ja sivullisille.
Lue nämä tiedot huolellisesti, jotta opit käyttämään ja huoltamaan laitetta asianmukaisesti sekä välttämään tapaturmia ja laitevaurioita. Olet itse vastuussa tuotteen asianmukaisesta ja turvallisesta käytöstä.
Vieraile osoitteessa www.Toro.com, jos tarvitset tuoteturvallisuuteen ja käyttökoulutukseen liittyviä materiaaleja tai tietoja lisävarusteista tai lähimmästä jälleenmyyjästä tai jos haluat rekisteröidä tuotteesi.
Aina kun tarvitset huoltoa, alkuperäisiä Toro-varaosia tai lisätietoja, ota yhteys valtuutettuun huoltoliikkeeseen tai Toron asiakaspalveluun. Ota tällöin tuotteesi malli- ja sarjanumerot valmiiksi esiin. Kuva 1 näyttää laitteen malli- ja sarjanumeron sijainnin. Kirjoita numerot annettuun tilaan.
Important: Skannaa sarjanumerokilvessä (jos varusteena) oleva QR-koodi mobiililaitteella, niin saat tuotetietoja sekä takuu- ja varaosatietoja.

Tämä tuote on asianmukaisten eurooppalaisten direktiivien mukainen. Lisätietoja on erillisessä tuotekohtaisessa vaatimustenmukaisuusvakuutuksessa.
Jos koneessa on telematiikkalaite, saat ohjeet laitteen aktivointiin valtuutetulta Toro-jälleenmyyjältä.
|
Sähkömagneettisen yhteensopivuuden sertifiointi |
|
Yhdysvallat: Tämä laite on FCC:n sääntöjen osan 15 mukainen. Käyttöön liittyvät seuraavat kaksi ehtoa: (1) tämä laite ei saa aiheuttaa haitallisia häiriöitä ja (2) tämän laitteen täytyy pystyä käsittelemään kaikki sen mahdollisesti vastaanottamat häiriöt, mukaan lukien häiriöt, jotka saattavat aiheuttaa ei-toivottua toimintaa. |
|
FCC-TUNNUS: APV-3640LB IC: 5843C-3640LB |
|
Tämä laite on testattu, ja sen on todettu täyttävän FCC-sääntöjen osan 15 mukaiset luokan B digitaalisen laitteen raja-arvot. Nämä raja-arvot on suunniteltu tarjoamaan kohtuullinen suoja haitallisilta häiriöiltä asuinrakennuksissa. Tämä laite tuottaa, käyttää ja voi säteillä radiotaajuusenergiaa, ja jos sitä ei asenneta ja käytetä ohjeiden mukaisesti, se voi aiheuttaa haitallisia häiriöitä radioviestinnälle. Ei kuitenkaan voida taata, ettei häiriöitä esiinny jossain tietyssä asennuksessa. Jos tämä laite kuitenkin aiheuttaa haitallisia häiriöitä radio- tai televisiovastaanottoon, minkä voi havaita kytkemällä laitteen virran pois ja sitten takaisin, käyttäjän kannattaa yrittää korjata häiriöitä yhdellä tai useammalla seuraavista tavoista:
|
|
Argentiina |
![]() |
|
Australia |
![]() |
|
Marokko |
|
|---|---|
|
AGREE PAR L’ANRT MAROC |
|
|
Numéro d’agrément: |
MR00004789ANRT20024 |
|
Date d’agrément: |
11/4/2024 |
|
Uusi-Seelanti |
|
|
|
Etelä-Korea |
![]() |
KALIFORNIA
Lakiesityksen 65 mukainen varoitus
Tämän tuotteen virtajohto sisältää lyijyä, joka Kalifornian osavaltion tietojen mukaan aiheuttaa synnynnäisiä epämuodostumia tai muuta lisääntymiseen liittyvää haittaa. Pese kädet, kun olet käsitellyt näitä osia.
Akun liitännät, navat ja niihin liittyvät lisävarusteet sisältävät lyijyä ja lyijy-yhdisteitä, joiden tiedetään aiheuttavan syöpää ja haittaavan lisääntymistä. Pese kädet, kun olet käsitellyt näitä osia.
Tässä käyttöoppaassa ja koneessa oleva varoitusmerkintä (Kuva 2) ilmaisee tärkeitä turvallisuuteen liittyviä tietoja, joita on noudatettava onnettomuuksien estämiseksi.

Varoitusmerkintä näkyy vaarallisista toimista tai tilanteista varoittavien tietojen yläpuolella, ja sitä seuraa sana HENGENVAARA, VAROITUS tai HUOMIO.
HENGENVAARA tarkoittaa välitöntä vaaratilannetta, joka johtaa kuolemaan tai vakavaan loukkaantumiseen, jos varoitusmerkintää ei noudateta.
VAROITUS tarkoittaa mahdollista vaaratilannetta, joka voi johtaa kuolemaan tai vakavaan loukkaantumiseen, jos varoitusmerkintää ei noudateta.
HUOMIO tarkoittaa mahdollista vaaratilannetta, joka voi aiheuttaa lievän tai kohtalaisen loukkaantumisen, jos varoitusmerkintää ei noudateta.
Lisäksi tässä käyttöoppaassa käytetään kahta seuraavaa termiä tietojen korostamiseksi. Tärkeää kiinnittää huomiota mekaanisiin erikoistietoihin ja Huomautus korostaa erityishuomion ansaitsevia yleistietoja.
Tämä tuote voi aiheuttaa henkilövahingon. Noudata aina kaikkia turvallisuusohjeita, jotta vakavilta loukkaantumisilta vältytään.
Lue ja sisäistä tämän käyttöoppaan sisältö ennen koneen käynnistämistä. Huolehdi siitä, että kaikki tuotteen käyttäjät tietävät, miten sitä käytetään, ja ymmärtävät varoitukset.
Koneen käyttö vaatii käyttäjän täyden huomion. Jos käyttäjän huomio keskittyy muualle, saattaa seurata henkilö- tai omaisuusvahinko.
Älä laita käsiä tai jalkoja koneen liikkuvien osien lähelle.
Älä käytä konetta ilman paikallaan olevia ja toimivia suojuksia ja muita suojalaitteita.
Älä päästä sivullisia tai lapsia käyttöalueelle. Älä koskaan anna lasten käyttää konetta.
Pysäytä kone, sammuta moottori ja irrota virta-avain ennen huoltoa.
Laitteen asiaton käyttö tai huolto voi aiheuttaa tapaturman.
Vähennä loukkaantumisriskiä noudattamalla näitä
turvallisuusohjeita ja huomioimalla aina varoitusmerkki
, joka tarkoittaa varoitusta,
vaaraa tai hengenvaaraa – henkilöturvallisuusohjeet. Ohjeiden
noudattamatta jättäminen saattaa johtaa henkilövahinkoon
tai kuolemaan.
![]() |
Turva- ja ohjetarrat on sijoitettu hyvin näkyville paikoille mahdollisten vaara-alueiden lähettyville. Korvaa vioittuneet tai kadonneet tarrat uusilla. |
















Vaiheeseen tarvittavat osat:
| Ohjauspyörä | 1 |
| Ruuvi | 5 |
| Jousi | 2 |
| Ohjauspyörän suojus | 1 |
| Sokka | 1 |
Katso Kuva 3.
Aseta ohjauspyörä ohjausakselille.
Varmista, että ohjauspyörä on keskellä (eli tasaisen pohjan on oltava maanpinnan suuntainen).
Kiinnitä ohjauspyörä ohjausakseliin lukkomutterilla.
Kiristä lukkomutteri momenttiin 27 N·m.
Kiinnitä sokka ohjauspyörän suojukseen kahdella ruuvilla ja kahdella jousella.
Kiinnitä ohjauspyörän suojus ohjauspyörään kolmella ruuvilla.
Kiristä ruuvit momenttiin 0,6 N·m.

Lataa kone. Katso kohta Tietoja litium-ioniakun laturista.
Tarkista jarrunesteen määrä ennen koneen ensimmäistä käynnistystä. Katso kohta Jarrunesteen määrän tarkistus.
Tarkista vaihteistoöljyn määrä ennen koneen ensimmäistä käynnistystä. Katso kohta Vaihteistoöljyn määrän tarkistus.
Tarkista rengaspaine. Katso Rengaspaineen tarkistus.
Jotta jarrujärjestelmä toimisi parhaalla mahdollisella tavalla, aja jarrut sisään ennen käyttöä.
Kiihdytä kone täyteen nopeuteen ja pysäytä se sitten nopeasti painamalla jarrua siten, että renkaat eivät lukkiudu.
Toista tämä kymmenen kertaa. Odota pysähdysten välillä yksi minuutti jarrujen ylikuumenemisen välttämiseksi.

Note: Ohjauspyörä on poistettu kuvasta selkeyden vuoksi (Kuva 5).

Kuljettaja voi vaihdella laitteen ajonopeutta kaasupolkimella. Laite käynnistetään kaasupoljinta painamalla. Kun poljinta painetaan lisää, ajonopeus kasvaa. Polkimen vapauttaminen hidastaa vauhtia, ja laite sammuu.
Suorituskyky-tilassa eteenpäinajon enimmäisnopeus on 26 km/h.
Eco-tilassa eteenpäinajon enimmäisnopeus on 18 km/h.
Jarrun avulla kone voidaan pysäyttää tai sen vauhtia hidastaa.
Jos konetta käytetään, kun jarrut ovat kuluneet tai ne on säädetty väärin, seurauksena voi olla henkilövahinko.
Jos jarrupoljin voidaan painaa alle 25 mm:n päähän koneen lattialevystä, jarrut on säädettävä tai korjattava.
Suunnanvalitsimessa (Kuva 5) on kaksi asentoa: ETEENPäIN ja PERUUTUS.
Note: Mikä tahansa kahdesta asennosta voi olla valittuna, mutta kone liikkuu vain ETEENPäIN- ja PERUUTUS-asennoissa.
Anna äänimerkki painamalla äänimerkkikytkintä (Kuva 5).
Ajovaloja käytetään valokytkimellä (Kuva 5). Sytytä ajovalot painamalla valokytkintä ylöspäin. Sammuta valot painamalla valokytkintä alaspäin.
USB-portti (Kuva 5) on tarkoitettu mobiililaitteille.
Important: Kun USB-portti ei ole käytössä, suojaa se vaurioilta kumitulpalla.
Kytke ja katkaise koneesta virta tai aseta kone KULJETUS-tilaan virtalukolla (Kuva 5).
Virtalukossa on kolme asentoa: KäYNNISSä, PYSäYTYS ja KULJETUS.
Kun virta-avain käännetään myötäpäivään KäYNNISSä-asentoon, konetta voidaan käyttää.
Kun kone on pysähtynyt, katkaise siitä virta kääntämällä virta-avain vastapäivään POIS-asentoon. Irrota virta-avain, kun poistut koneen luota.
Vapauta seisontajarru kääntämällä virta-avain KULJETUS-asentoon ja pitämällä sitä käännettynä viiden sekunnin ajan.
Näytössä on tietoja koneen käyttötilasta, vianmääritystietoja ja muita koneeseen liittyviä tietoja (Kuva 6).

Näytössä on aloitusnäyttö, ajonäyttö ja latausnäyttö (Kuva 7, Kuva 8 ja Kuva 9).
Kuva 8 näyttää, mitä näyttöön ilmestyy, kun konetta käytetään. Aloitusnäyttö ilmestyy muutamaksi sekunniksi sen jälkeen, kun olet kääntänyt virta-avaimen KäYNNISSä-asentoon. Sen jälkeen ilmestyy ajonäyttö.



Suunnan asennon näyttävä ajonäyttö (Kuva 10) ilmestyy, kun suuntaa vaihdetaan.

Koneen nykyisen nopeuden näyttävä ajonäyttö (Kuva 11) ilmestyy, kun konetta ajetaan.

Aktiivinen vikakoodi (Kuva 12) ilmestyy näyttöön, jos koneessa on ongelma.

Kun kylmän akun ilmaisin (Kuva 13) vilkkuu ajonäytössä käytön aikana, koneen suorituskyky muuttuu, kunnes akun lämpötila on yli 0 °C.

Kylmän akun ilmaisin näkyy myös latausnäytössä (Kuva 14), kun akut ovat liian kylmiä ladattavaksi.

![]() | Suunta: ETEENPäIN-asento |
![]() | Kuljetus: VAPAA-asento |
![]() | Suunta: PERUUTUS-asento |
![]() | Seisontajarru on kytketty. |
![]() | Tuntilaskuri |
![]() | Akun jännite |
![]() | Akun varaustaso |
![]() |
Akku latautumassa |
![]() |
Akun alhaisen varaustilan ilmoitus |
![]() | Eco-tila on päällä. |
![]() | Aktiivinen vika |
![]() | Kuuman akun ilmaisin: akun lämpötila on yli 67 °C |
![]() | Kylmän akun ilmaisin: akun lämpötila on alle 0 °CF) |
![]() | Akut ovat liian kylmät ladattavaksi. |
Nopeudenrajoittimen kytkimessä (Kuva 15), joka sijaitsee konepellin alla, on kaksi asentoa: SUORITUSKYKY ja ECO (Säästö). Kun kytkin käännetään myötäpäivään ECO-tilaan, enimmäisnopeus on 18 km/h. Kun kytkin käännetään vastapäivään SUORITUSKYKY-asentoon, koneen enimmäisnopeudeksi palautetaan 26 km/h.

Toinen matkustajan käsituki sijaitsee kojetaulun oikealla puolella ja toinen istuimen ulkopuolella (Kuva 16).

Note: Ominaisuuksia ja rakennetta voidaan muuttaa ilmoittamatta.
| Omapaino | Kuivana 571 kg |
| Nimelliskapasiteetti (tasaisella alustalla) | Yhteensä 767 kg, mukaan lukien käyttäjän paino (90,7 kg), matkustajan paino (90,7 kg), kuorma, perävaunun aisapaino, perävaunun kokonaispaino sekä lisävarusteet ja lisälaitteet |
| Ajoneuvon kokonaispaino (tasaisella alustalla) | Yhteensä 1 338 kg mukaan lukien kaikki yllä mainitut painot |
| Enimmäiskuljetuskapasiteetti (tasaisella alustalla) | Yhteensä 567 kg, mukaan lukien perävaunun aisapaino ja perävaunun kokonaispaino |
| Hinauskyky: | |
| Tavallinen vetokoukku | Aisapaino: 45 kg |
| Perävaunun kokonaispaino: 363 kg | |
| Raskaan käytön vetokoukku | Aisapaino: 45 kg |
| Perävaunun kokonaispaino: 544 kg | |
| Kokonaisleveys | 155 cm |
| Kokonaispituus | 307 cm |
| Maavara | 28 cm edessä ilman kuormaa tai käyttäjää, 17 cm takana ilman kuormaa tai käyttäjää |
| Akseliväli | 206 cm |
| Raideväli (keskiviivasta keskiviivaan) | 125 cm edessä, 120 cm takana |
| Kuljetuslavan pituus | 113 cm, 137 cm ulkopuolelta |
| Kuljetuslavan leveys | 125 cm sisäpuolelta, 155 cm lokasuojien ulkopuolelta |
| Kuljetuslavan korkeus | 25 cm sisäpuolelta |
Koneeseen on saatavana valikoima Toron hyväksymiä lisälaitteita ja -varusteita, joiden avulla voidaan parantaa ja laajentaa sen ominaisuuksia. Ota yhteys valtuutettuun huoltoliikkeeseen tai valtuutettuun Toro-jälleenmyyjään tai siirry osoitteeseen www.Toro.com, jossa on luettelo hyväksytyistä lisälaitteista ja -varusteista.
Käytä vain aitoja Toro-varaosia ja -lisävarusteita, jotta kone toimisi parhaalla mahdollisella tavalla ja sen turvasertifiointi pysyisi voimassa. Muiden valmistajien varaosat ja lisävarusteet voivat osoittautua vaarallisiksi, ja niiden käyttö voi johtaa tuotteen takuun raukeamiseen.
Älä anna lasten, kouluttamattomien henkilöiden tai fyysisesti rajoittuneiden henkilöiden käyttää tai huoltaa laitetta. Paikalliset säännökset saattavat asettaa rajoituksia käyttäjän iälle. Omistaja vastaa käyttäjien ja mekaanikkojen koulutuksesta.
Tutustu laitteen turvallisen käytön ohjeisiin, ohjauslaitteisiin ja turvamerkintöihin.
Sammuta kone, irrota virta-avain ja odota, että kaikki liikkuvat osat pysähtyvät, ennen kuin poistut käyttäjän paikalta. Koneen on annettava jäähtyä ennen sen säätöä, huoltoa, puhdistusta tai varastointia.
Selvitä, miten kone pysäytetään ja sen virta katkaistaan nopeasti.
Varmista, että käyttäjän ja matkustajien yhteismäärä ei ylitä koneeseen asennettujen käsitukien määrää.
Tarkista, että kaikki turvalaitteet ja tarrat ovat paikoillaan. Korjaa tai vaihda kaikki turvalaitteet ja vaihda kaikki epäselvät tai puuttuvat tarrat. Älä käytä konetta, mikäli ne eivät ole paikoillaan tai toimi kunnolla.
| Huoltoväli | Huoltotoimenpide |
|---|---|
| Aina ennen käyttöä tai päivittäin |
|
Suorita kohdan osassa ”Ennen jokaista käyttökertaa tai päivittäin” mainitut toimet ennen koneen käynnistystä päivittäin.
| Huoltoväli | Huoltotoimenpide |
|---|---|
| Aina ennen käyttöä tai päivittäin |
|
Rengaspaine: 0,55–1,03 bar
Important: Rengaspaine ei saa ylittää renkaiden kylkeen merkittyä enimmäispainetta.
Note: Vaadittava rengaspaine riippuu kuljetettavasta hyötykuormasta.
Tarkista rengaspaine.
Note: Etu- ja takapyörien rengaspaineen on oltava 0,55–1,03 bar.
Käytä alhaisempaa rengaspainetta, jos kuorma on kevyempi, jos maaperä ei saa tiivistyä, jos haluat tasaisemman kyydin tai jos maahan ei saa jäädä renkaanjälkiä.
Käytä suurempia rengaspaineita, jos laitteella kuljetetaan raskaampia kuormia suuremmalla nopeudella.
Säädä rengaspainetta tarpeen mukaan lisäämällä tai poistamalla ilmaa.

| Huoltoväli | Huoltotoimenpide |
|---|---|
| 100 ensimmäisen käyttötunnin jälkeen |
|
Noudata uuden koneen sisäänajoon liittyviä ohjeita, jotta koneen suorituskyky olisi mahdollisimman hyvä ja jotta kone kestäisi pitkään.
Varmista, että jarrut on ajettu sisään. Katso jarrujen sisäänajo-ohjeet käyttöönottoa käsittelevästä kohdasta.
Tarkista jarruneste. Katso kohta Jarrunesteen määrän tarkistus.
Katso kaikki sisäänajon aikaiset erityistarkistukset kohdasta .
Tarkista etu- ja takaripustuksen asento ja säädä sitä tarvittaessa. Katso kohta Etupyörien suuntauksen säätö.
Koneen saatuasi lataa akut 100 %:iin, jotta akun suorituskyky ja kesto olisivat optimaaliset.
Omistaja ja käyttäjä voivat estää loukkaantumisia tai omaisuusvahinkoja aiheuttavat tapaturmat ja ovat siksi vastuussa niistä.
Matkustajien on istuttava heille tarkoitetuilla istumapaikoilla. Matkustajien kuljettaminen kuljetuslavalla on kielletty. Pidä sivulliset ja lemmikit poissa koneen luota käytön aikana.
Käytä asianmukaista vaatetusta, mukaan lukien silmäsuojaimia, pitkälahkeisia housuja ja lujatekoisia liukastumisen estäviä jalkineita. Älä käytä löysiä vaatteita tai roikkuvia koruja, ja kiinnitä pitkät hiukset.
Koneen käyttö vaatii käyttäjän täyden huomion. Jos käyttäjän huomio keskittyy muualle, saattaa seurata henkilö- tai omaisuusvahinko.
Älä käytä konetta sairaana, väsyneenä tai alkoholin tai huumausaineiden vaikutuksen alaisena.
Älä ylitä koneen enimmäiskokonaispainoa (GVW).
Ole erityisen varovainen, kun käytät, jarrutat tai käännät konetta, jonka kuljetuslavalla on raskas kuorma.
Kuljetuslavalla kuljetettava ylikokoinen kuorma heikentää laitteen vakautta. Älä ylitä lavan kantokapasiteettia.
Esineet, joita ei voi kiinnittää laitteeseen, vaikuttavat negatiivisesti laitteen ohjaukseen, jarrutukseen ja vakauteen. Kun kuljetat materiaalia, jota ei voida kiinnittää koneeseen, ole varovainen ohjatessasi konetta tai jarruttaessasi.
Vähennä laitteen ajonopeutta ja kuormaa, kun käytät laitetta karkeassa, epätasaisessa maastossa tai lähellä reunakiviä, kuoppia ja muita äkkinäisiä maaston muutoksia. Kuorma voi siirtyä, mikä heikentää laitteen vakautta.
Varmista ennen koneen käynnistämistä, että seisontajarru on kytketty. Käynnistä kone ollessasi käyttäjän paikalla.
Käyttäjän ja matkustajien on istuttava aina koneen ollessa liikkeessä. Käyttäjän on pidettävä molemmat kädet ohjauspyörällä, ja matkustajien on pidettävä kiinni koneen käsituista. Pidä kädet ja jalat aina laitteen sisäpuolella.
Käytä laitetta vain, kun näkyvyys on hyvä. Varo kuoppia, uria, töyssyjä, kiviä ja muita piileviä vaaroja. Maaston epätasaisuudet voivat kaataa koneen. Korkea ruoho voi peittää esteet. Ole varovainen lähestyessäsi kulmia, joissa on huono näkyvyys, pensaita, puita tai muita näköesteitä.
Älä aja konetta pudotusten, ojien tai vallien lähettyvillä. Kone voi kaatua yllättäen, jos pyörä menee reunan yli tai jos reuna sortuu.
Tarkkaile ympäristöä ja vältä matalia esteitä, kuten puiden oksia, ovien kamanoita ja kulkusiltoja.
Katso taakse ja alas ennen koneen peruuttamista ja varmista, että reitti on vapaa.
Jos ajat koneella julkisilla teillä, noudata liikennesääntöjä ja käytä kaikkia lain määräämiä lisävarusteita, kuten valoja, suuntavilkkuja ja hitaan ajoneuvon merkkejä.
Jos kone tärisee epänormaalisti, pysäytä se välittömästi ja katkaise virta. Odota, että kaikkien osien liike on pysähtynyt, ja tarkista, että koneessa ei ole vaurioita. Korjaa koneen vauriot ennen kuin jatkat sen käyttöä.
Pysähtymismatka märällä alustalla voi olla pitempi kuin kuivalla. Kuivaa märät jarrut ajamalla hitaasti tasaisella alustalla ja painamalla samalla jarrupoljinta kevyesti.
Koneen käyttö suurella nopeudella ja nopea pysäytys tämän jälkeen saattaa aiheuttaa takapyörien lukkiutumisen, mikä puolestaan heikentää koneen hallittavuutta.
Älä koske moottoriin sen käydessä tai liian pian sen sammuttamisen jälkeen. Nämä osat saattavat olla niin kuumia, että ne aiheuttavat palovamman.
Älä jätä käynnissä olevaa konetta ilman valvontaa.
Tee seuraavat toimet ennen käyttäjän paikalta poistumista:
Pysäköi kone tasaiselle alustalle.
Tarkista, että seisontajarru on kytkettynä.
Katkaise koneesta virta ja irrota virta-avain.
Odota, että kaikki liikkuvat osat ovat pysähtyneet.
Älä käytä konetta ukonilman aikana.
Käytä vain The Toro Companyn hyväksymiä lisälaitteita ja varusteita.
Note: Koneeseen on saatavana lisävarusteena kaksipylväinen kaatumissuojausjärjestelmä (ROPS). Käytä kaatumissuojausjärjestelmää työskenneltäessä pudotusten tai veden lähellä, epätasaisessa maastossa tai rinteissä, joihin liittyy kaatumisriski. Lisätietoja saa valtuutetulta Toro-jälleenmyyjältä.
Rinteissä on huomattava koneen hallinnan menettämisen ja kaatumisen vaara. Tällaiset onnettomuudet voivat aiheuttaa vakavan tapaturman tai kuoleman.
Tarkasta käyttöpaikka ja määritä, millä rinteillä konetta voidaan käyttää turvallisesti. Laadi omat toimintatavat ja ohjeet näissä rinteissä käyttöä varten. Tämä tarkastus on tehtävä huolellisesti ja harkiten.
Jos koneen käyttö rinteessä ei vaikuta turvalliselta työskentelyn aikana, älä käytä konetta rinteessä.
Liiku rinteissä hitaasti ja varovasti. Älä muuta koneen nopeutta tai suuntaa äkillisesti.
Vältä koneen käyttöä märässä maastossa. Renkaat voivat menettää pidon. Kone voi kaatua jo ennen kuin renkaat menettävät pidon.
Aja rinteet kohtisuoraan ylös ja alas.
Jos koneen vauhti alkaa hidastua ylämäkeen ajettaessa, kytke jarrut vähän kerrallaan ja peruuta kone hitaasti suoraan alaspäin rinnettä.
Kääntyminen ajettaessa rinnettä ylös tai alas voi olla vaarallista. Jos rinteessä on käännyttävä, tee se hitaasti ja varovasti.
Raskaat kuormat vaikuttavat vakauteen rinteessä. Vähennä kuormaa ja laitteen nopeutta ajaessasi rinnettä ylös tai alas tai jos kuorman painopiste on korkealla. Kiinnitä kuorma kuljetuslavalle, jotta kuorma ei voi liikkua. Noudata erityistä varovaisuutta, kun kuljetat helposti siirtyviä kuormia (kuten nesteitä, kiviä ja hiekkaa).
Vältä koneen käynnistämistä, pysäyttämistä tai kääntämistä rinteissä erityisesti, jos koneessa on kuorma. Pysähtyminen alamäessä kestää kauemmin kuin pysähtyminen tasaisella alustalla. Jos laite on pysäytettävä, vältä äkkinäisiä nopeuden muutoksia, joiden seurauksena laite voi kaatua tai kallistua. Älä kytke jarruja nopeasti vieriessäsi taaksepäin, koska kone voi kaatua.
Älä ylitä laitteen kokonaispainoa (GVW), kun kuljetuslavalla on kuormaa ja/tai kun laitteella vedetään perävaunua. Katso kohta Tekniset tiedot.
Jaa kuljetuslavan kuorma tasaisesti, jotta laitteen vakaus ja hallittavuus paranevat.
Varmista ennen tyhjennystä, että laitteen takana ei ole ketään.
Älä tyhjennä lastattua kuljetuslavaa laitteen ollessa sivuttain rinteessä. Painon jakautumisen muutos voi kaataa laitteen.
Nostettu lava voi pudota ja vahingoittaa lavan alla olevia henkilöitä.
Varmista aina ennen kuin ryhdyt työskentelemään lavan alla, että kannatintanko pitää lavaa ylhäällä.
Poista lavalta kuorma kokonaan ennen lavan nostamista.
Jos laitetta ajetaan kuljetuslava nostettuna, laite saattaa kaatua tai vieriä helpommin. Kuljetuslava saattaa vaurioitua, jos konetta käytetään kuljetuslava nostettuna.
Käytä konetta vain, kun kuljetuslava on alhaalla.
Laske kuljetuslava tyhjennyksen jälkeen.
Jos kuorman painopiste on lähellä kuljetuslavan takaosaa salpoja vapautettaessa, lava saattaa kallistua auki odottamatta ja aiheuttaa henkilövahinkoja käyttäjälle tai sivullisille.
Keskitä kuormat kuljetuslavan keskelle, mikäli se on mahdollista.
Pitele kuljetuslavaa alhaalla salpoja vapautettaessa ja varmista, ettei kukaan nojaa lavaan tai seiso sen takana.
Poista lavalta kaikki tavarat ennen lavan nostamista laitteen huoltoa varten.
Lava voi olla hyvin painava. Kädet tai muut vartalon osat voivat murskaantua sen painosta.
Pidä kädet ja muut vartalon osat etäällä, kun lasket lavan alas.
Jos laitteen kuljetuslavalla oli ennen tyhjennystä irtonaista materiaalia, kuten hiekkaa, soraa tai puruja, tyhjennettyä materiaalia on voinut jäädä perälaudan saranoihin. Tee seuraavat toimet ennen perälaudan sulkemista.
Poista käsin mahdollisimman paljon materiaalia saranoiden alueelta.
Käännä perälautaa noin 45° (Kuva 21).

Kääntele ja ravistele perälautaa edestakaisin useita kertoja (Kuva 21).
Note: Tämä irrottaa lisää materiaalia saranoista.
Laske perälauta ja tarkista, onko saranoissa yhä materiaalia.
Toista vaiheet 1–4, kunnes saranoissa ei ole enää materiaalia.
Käännä perälautaa ylös ja eteenpäin, kunnes perälaudan lukituslaipat ovat samassa tasossa kuin kuljetuslavan perälaudan syvennys (Kuva 20).
Note: Kohdista perälaudan lukituslaipat ja kuljetuslavan perälaudan laippojen väliset pystysuuntaiset aukot nostamalla tai laskemalla perälautaa.
Laske perälautaa, kunnes se asettuu kuljetuslavan takaosaan (Kuva 20).
Note: Perälaudan lukituslaipat kiinnitetään kuljetuslavan perälaudan laipoilla.
Katso akkujärjestelmän varaustaso näytöstä. Katso kohta Näyttö.
Jos akun varaustaso muuttuu liian alhaiseksi (alle 10 %), näyttöön ilmestyy ilmoitus akun alhaisesta varaustasosta. Kun työskentelet tällä akun varaustasolla, kuljeta kone akkujen latauspaikkaan ja lataa akut täyteen. Katso kohta Tietoja litium-ioniakun laturista.
Jos konetta käytetään akun varaustason ollessa tyhjä, kone toimii alhaisemmalla nopeudella (eli 5 km/h).
Important: Jos pysäytät koneen rinteeseen, pysäytä kone ja pidä konetta paikallaan käyttöjarruilla. Koneen hidastaminen mäessä kaasupoljinta käyttämällä voi aiheuttaa moottorin ylikuumenemisen tai akkujen tyhjentymisen.
Nosta jalka kaasupolkimelta.
Käytä käyttöjarruja painamalla jarrupoljinta hitaasti, kunnes kone on pysähtynyt täysin. Seisontajarru kytkeytyy, kun kone on kokonaan pysähtynyt.
Note: Pysähtymismatka voi vaihdella koneen kuorman ja nopeuden mukaan.
Noudata seuraavia ohjeita kuljetuslavan lastauksessa ja laitteen käytössä:
Ota huomioon laitteen kuormauskapasiteetti ja rajoita lavalla kuljetettavaa painoa kohdan Tekniset tiedot ohjeiden sekä laitteessa olevan enimmäiskokonaispainoa osoittavan merkinnän mukaan.
Note: Nimelliskuormitettavuus koskee vain laitteen käyttöä tasaisella alustalla.
Vähennä kuljetuslavalla olevan kuorman painoa rinteissä tai epätasaisessa maastossa.
Kuljeta vähemmän kuormaa, jos kuormassa on korkeita materiaaleja (joiden painopiste on korkealla), kuten tiilipinoja, puutavaraa tai lannoitesäkkejä. Lastaa kuorma niin matalaksi kuin mahdollista ja varmista, ettei kuorma haittaa näkyvyyttä käytön aikana laitteen taakse.
Pidä kuorma kuljetuslavan keskellä lastaamalla se seuraavasti:
Sijoita kuljetuslavalla olevan kuorman paino tasaisesti molemmille puolille.
Important: Laite voi kaatua helpommin, jos kuljetuslavan toisella puolella on enemmän kuormaa.
Sijoita kuljetuslavalla olevan kuorman paino tasaisesti eteen ja taakse.
Important: Kuorman sijoittaminen taka-akselin taakse vähentää etupyörien pitoa ja voi aiheuttaa hallinnan menetyksen tai laitteen kaatumisen.
Ole erityisen varovainen, kun kuljetat lavalla ylikokoisia kuormia ja varsinkin silloin, jos ylikokoisen kuorman painoa ei voi keskittää kuljetuslavalle.
Kiinnitä kuorma kuljetuslavalle aina kun mahdollista, jotta kuorma ei pääse siirtymään.
Kun kuljetat nesteitä, ole varovainen ylä- ja alamäissä, äkillisissä nopeuden muutoksissa tai pysähdyksissä ja epätasaisella alustalla.
Kuljetuslavan tilavuus on 0,37 m3. Lavalle sijoitettavan materiaalin määrä laitteen painorajoituksia ylittämättä voi vaihdella merkittävästi materiaalin tiheyden mukaan.
Katso eri materiaalien lastausrajoitukset seuraavasta taulukosta:
| Materiaali | Tiheys | Kuljetuslavan enimmäiskapasiteetti(tasaisella alustalla) |
| Sora, kuiva | 1 522 kg/m3 | Täysi |
| Sora, märkä | 1 922 kg/m3 | 3/4 täysi |
| Hiekka, kuiva | 1 442 kg/m3 | Täysi |
| Hiekka, märkä | 1 922 kg/m3 | 3/4 täysi |
| Puu | 721 kg/m3 | Täysi |
| Kaarna | < 721 kg/m3 | Täysi |
| Multa, tiivis | 1 602 kg/m3 | 3/4 täysi (noin) |
Tee seuraavat toimet ennen käyttäjän paikalta poistumista:
Pysäköi kone tasaiselle alustalle.
Tarkista, että seisontajarru on kytkettynä.
Katkaise koneesta virta ja irrota virta-avain.
Odota, että kaikki liikkuvat osat ovat pysähtyneet.
Koneen on annettava jäähtyä ennen sen säätöä, huoltoa, puhdistusta tai varastointia.
Älä säilytä konetta tilassa, jossa on avotuli, kipinöitä tai varmistusliekki (esimerkiksi vedenlämmitin tai muu vastaava laite).
Pidä kaikki koneen osat hyvässä kunnossa ja kaikki kiinnitykset tiukalla.
Huolla ja puhdista turvavyöt tarpeen mukaan.
Vaihda kaikki kuluneet, vaurioituneet tai puuttuvat tarrat.
VAROITUS: Tulipalo- ja sähköiskuvaara – akuissa ei ole käyttäjän huollettavia osia.
Tarkista maassasi käytettävä jännite ennen laturin käyttöä.
Konetta ei saa ladata kosteassa ympäristössä. Se on suojattava sateelta ja lumelta.
Muun kuin Toron suositteleman tai myymän lisävarusteen käyttö voi aiheuttaa tapaturman, palovaaran tai sähköiskun.
Akun räjähdysvaaraa voi vähentää noudattamalla näitä ohjeita ja akkulaturin läheisyydessä käytettävien laitteiden ohjeita.
Yliladatut akut voivat muodostaa räjähdysherkkiä kaasuja.
Ota yhteys valtuutettuun Toro-jälleenmyyjään akun huoltamista tai vaihtamista varten.
Älä anna lasten tai kouluttamattomien henkilöiden käyttää tai huoltaa laturia. Paikalliset säännökset saattavat asettaa rajoituksia käyttäjän iälle. Omistaja vastaa käyttäjien ja mekaanikkojen koulutuksesta.
Perehdy kaikkiin laturissa ja käyttöoppaassa oleviin ohjeisiin ennen laturin käyttöä ja noudata niitä. Varmista, että osaat käyttää laturia asianmukaisesti.
Pidä sivulliset ja lapset loitolla latauksen aikana.
Ennen latauksen aloittamista sammuta kone ja odota, kunnes se on kokonaan sammunut. Jos näin ei tehdä, saattaa syntyä valokaari.
Käytä laturia vain tässä käyttöoppaassa määritetyllä jännitealueella. Käytä vain Toron hyväksymää virtajohtoa.
Pyydä oikea laturi ja virtajohto valtuutetulta Toro-jälleenmyyjältä.
Älä lataa jäätynyttä akkua.
Virtajohtoa on käsiteltävä varovasti. Älä irrota laturia pistorasiasta vetämällä virtajohdosta. Säilytä johto niin ettei se altistu kuumudelle, öljylle ja teräville kulmille.
Kytke laturi suoraan maadoitettuun pistorasiaan. Laturia ei saa kytkeä maadoittamattomaan pistorasiaan, vaikka käytettäisiin maadoitettua sovitinta.
Älä muuta laitteen mukana toimitettua virtajohtoa tai pistotulppaa.
Poista metalliesineet, kuten sormukset, rannekkeet, kaulakorut ja kellot litium-ioniakun parissa työskentelyn aikana. Litium-ioniakun muodostama virta voi aiheuttaa vakavan palovamman.
Käytä jatkojohtoa, joka pystyy käsittelemään tässä käyttöoppaassa määritettyä latauksen ampeerilukua. Jos lataat ulkona, käytä ulkokäyttöön tarkoitettua jatkojohtoa.
Jos virtajohto vaurioituu, kun se kytketään, irrota johto pistorasiasta ja hanki uusi johto valtuutetulta Toro-jälleenmyyjältä.
Irrota laturi pistorasiasta, kun laturia ei käytetä, ennen kuin laturia siirretään ja ennen kuin laturi huolletaan.
Älä pura laturia.
Toimita laturi valtuutetulle Toro-jälleenmyyjälle huoltoa ja korjausta varten.
Vähennä sähköiskuvaaraa irrottamalla virtajohto pistorasiasta ennen huoltoa tai puhdistusta.
Pidä turva- ja käyttöohjemerkinnät hyvässä kunnossa ja vaihda ne tarvittaessa.
Älä käytä laturia, jos johto tai pistotulppa on vaurioitunut. Hanki uusi johto ottamalla yhteys valtuutettuun Toro-jälleenmyyjään.
Jos laturi on vaurioitunut, älä käytä sitä. Toimita se valtuutetulle Toro-jälleenmyyjälle.
Ole varovainen lastatessasi konetta perävaunuun tai lavalle.
Käytä täysleveää ramppia lastatessasi konetta perävaunuun tai lavalle.
Kiinnitä kone tiukasti.
Katso koneen kiinnityspisteiden sijainnit kuvista (Kuva 22) ja (Kuva 23).
Note: Lastaa kone perävaunuun siten, että koneen etuosa osoittaa eteenpäin. Jos tämä ei ole mahdollista, kiinnitä konepelti runkoon hihnalla tai irrota konepelti ja kuljeta se erikseen kiinnitettynä. Muuten konepelti voi irrota kuljetuksen aikana.


Hätätapauksessa konetta voidaan hinata lyhyen matkaa. Tämän ei kuitenkaan pidä olla normaalikäytäntö.
Hinaaminen liian kovalla nopeudella voi heikentää ohjattavuutta, mistä voi olla seurauksena henkilövahinko.
Laitteen hinausnopeus saa olla korkeintaan 8 km/h.
Hinaamiseen tarvitaan kaksi henkilöä. Jos konetta on siirrettävä pidempi matka, käytä kuljetukseen lava-autoa tai perävaunua.
Kiinnitä hinausköysi koneen rungon etuosassa olevaan hinaussilmukkaan.
Vapauta seisontajarru kääntämällä virta-avain KULJETUS-asentoon ja pitämällä sitä käännettynä viiden sekunnin ajan.
Note: Näyttöön pitäisi tulla näkyviin N-symboli (VAPAA-asento).
Laitteella voidaan vetää perävaunuja. Koneeseen on saatavana vetokoukku. Lisätietoja saa ottamalla yhteyden valtuutettuun huoltoliikkeeseen.
Älä ylikuormita laitetta tai perävaunua, kun kuljetat lastia tai vedät perävaunua. Laitteen tai perävaunun ylikuormitus voi heikentää suorituskykyä tai vaurioittaa jarruja, vaihteistoa, ohjausta, ripustusta, runkorakennetta tai renkaita.
Lastaa perävaunu aina siten, että 60 % lastin painosta on perävaunun etuosassa. Näin noin 10 % perävaunun kokonaispainosta tulee laitteen vetokoukulle.
Lastaa kuljetuslavalle aina kuormaa, kun käytät perävaunua, jotta jarrutusteho ja pito olisivat riittävät. Älä ylitä perävaunun kokonaispainorajoja.
Vältä perävaunullisen laitteen pysäköimistä rinteeseen. Jos mäkeen pysäköiminen on kuitenkin välttämätöntä, kiilaa perävaunun pyörät.
Yhdysvaltain liikenneministeriö ja kansainväliset kuljetusalan viranomaiset edellyttävät, että litium-ioniakkuja kuljetetaan erikoispakkauksissa ja että niitä kuljettavat vain valtuutetut kuljetusyhtiöt. Yhdysvalloissa on sallittua kuljettaa akkuja, kun ne on asennettu koneen voimanlähteeksi, mutta joitakin rajoituksia on voimassa. Lisätietoja akkujen tai akuilla varustetun koneen kuljetusta koskevista säännöistä saa liikenne- ja viestintäministeriöstä.
Lisätietoja akun lähettämisestä saa valtuutetulta Toro-jälleenmyyjältä.
Jos kone koskettaa veteen latauksen aikana, seurauksena saattaa olla hengenvaarallinen sähköisku.
Älä käsittele pistotulppaa tai laturia märin käsin tai kun seisot vedessä.
Älä lataa akkuja sateessa tai märissä olosuhteissa.
Laturin kolminastaisen maadoitetun pistotulpan (tyyppi B) tarkoitus on vähentää sähköiskuvaaraa. Jos pistoke ei sovi seinän pistorasiaan, saatavana on muita maadoitettuja pistoketyyppejä. Ota yhteys valtuutettuun Toro-jälleenmyyjään.
Älä muuta laturia tai virtajohdon pistotulppaa mitenkään.
Important: Tarkista ajoittain, että virtajohdon eristyksessä ei ole reikiä tai halkeamia. Älä käytä viallista johtoa. Älä anna johdon kulkea seisovan veden tai märän ruohon läpi.
Katso kuvasta lisätietoja virtalähteen vaatimuksista (Kuva 24).

Kytke virtajohto koneen laturiliitäntään (Kuva 25).
Vaurioitunut laturin johto voi aiheuttaa sähköiskun tai tulipalon.
Tarkasta virtajohto huolellisesti ennen laturin käyttöä. Jos johto on vaurioitunut, älä käytä laturia, ennen kuin johto on vaihdettu.

Kytke virtajohdon toisen pään pistotulppa maadoitettuun pistorasiaan.
Akkujen lataaminen muulla kuin Toro-laturilla voi aiheuttaa ylikuumentumista ja muita vikoja, jotka voivat aiheuttaa tapaturmia tai omaisuusvahinkoja.
Lataa akut Toron toimittamalla laturilla.
Suositeltu latauslämpötila-alue: 0...45 °C
Important: Lataa akkuja vain lämpötiloissa, jotka ovat suositellun alueen sisällä.
Note: Laturi ei toimi lämpötiloissa, jotka ovat ilmoitettujen vähimmäis- ja enimmäislämpötilojen ulkopuolella. Kuuman tai kylmän akun ilmaisimet näkyvät näytössä.
Latauksen tila näkyy näytössä.
Vian sattuessa näyttöön tulee virheilmoitus. Katso ohjeet virheen korjaamiseen huolto-oppaasta.
Irrota virtajohto koneen laturiliitännästä.
Varastoi johto siten, että se ei vaurioidu.
Kytke koneeseen virta.
Tarkista varaustaso. Katso kohta Näyttö.
Älä anna tehtävään kouluttamattomien henkilöiden huoltaa konetta.
Tee seuraavat toimet ennen käyttäjän paikalta poistumista:
Pysäköi kone tasaiselle alustalle.
Tarkista, että seisontajarru on kytkettynä.
Katkaise koneesta virta ja irrota virta-avain.
Odota, että kaikki liikkuvat osat ovat pysähtyneet.
Koneen on annettava jäähtyä ennen sen säätöä, huoltoa, puhdistusta tai varastointia.
Tue kone pukkien varaan aina koneen alla työskenneltäessä.
Älä työskentele nostetun lavan alla ilman asianmukaista lavan tukitankoa.
Älä lataa akkuja koneen huollon aikana.
Pidä kaikki kiinnitykset tiukalla, jotta koko kone pysyy hyvässä kunnossa.
Palovaara pienenee, kun koneen alue pidetään puhtaana liiallisesta rasvasta, ruohosta, lehdistä ja kerääntyvästä liasta.
Jos mahdollista, älä huolla konetta sen ollessa käynnissä. Pysy etäällä liikkuvista osista.
Jos koneen on oltava käynnissä huoltosäädön aikana, pidä kädet, jalat, vaatteet ja kaikki kehon osat kaukana liikkuvista osista. Pidä sivulliset turvallisen matkan päässä koneesta.
Tarkista seisontajarrun toiminta huoltoaikataulun suositusten mukaisesti. Säädä ja huolla se tarvittaessa.
Pidä kaikki koneen osat hyvässä kunnossa ja kaikki kiinnitykset tiukalla. Vaihda kaikki kuluneet tai vaurioituneet turvamerkinnät.
Älä koskaan yritä muuttaa turvalaitteiden käyttötarkoitusta tai vähentää turvalaitteen tarjoamaa suojaa.
Jos ajoneuvo vaatii suurempaa korjausta tai jos tarvitset apua, ota yhteys valtuutettuun Toro-jälleenmyyjään.
Muutosten tekeminen koneeseen saattaa vaikuttaa sen toimintaan, suorituskykyyn ja kestävyyteen, mikä voi johtaa tapaturmaan tai hengenvaaraan. Seurauksena voi olla myös The Toro® Companyn ajoneuvolle myöntämän takuun raukeaminen.
| Huoltoväli | Huoltotoimenpide |
|---|---|
| 100 ensimmäisen käyttötunnin jälkeen |
|
| Aina ennen käyttöä tai päivittäin |
|
| 100 käyttötunnin välein |
|
| 200 käyttötunnin välein |
|
| 300 käyttötunnin välein |
|
| 400 käyttötunnin välein |
|
| 800 käyttötunnin välein |
|
| 1000 käyttötunnin välein |
|
Note: Kytkentäkaavion voi tarvittaessa ladata maksuttomasti osoitteesta www.Toro.com etsimällä oman koneen kotisivulla olevasta opaslinkistä.
Koneen kunnossapidon laiminlyönti voi aiheuttaa koneen järjestelmien ennenaikaisen vioittumisen, mikä voi johtaa käyttäjän tai sivullisten loukkaantumiseen.
Pidä kone hyvin huollettuna ja hyvässä toimintakunnossa näiden ohjeiden mukaisesti.
Vain pätevä ja valtuutettu henkilöstö saa kunnostaa, korjata, säätää ja tarkistaa laitteen.
Vältä tulipalon vaaroja ja pidä palontorjuntavarusteet aina käsillä työskentelyalueella. Älä tarkista nesteiden määrää avoliekillä.
Älä puhdista osia syttyviä puhdistusnesteitä sisältävissä avoimissa astioissa.
Jos jätät avaimen virtalukkoon, joku voi vahingossa käynnistää koneen ja vahingoittaa vakavasti lähellä olevia henkilöitä.
Sammuta kone ja irrota avain virtalukosta ennen kaikkia huoltotoimia.
Ota tästä sivusta kopioita.
| Tarkistettavat kohdat | Viikolle: | ||||||
|---|---|---|---|---|---|---|---|
| Maanantai | Tiistai | Keskiviikko | Torstai | Perjantai | Lauantai | Sunnuntai | |
| Tarkista jarrujen ja seisontajarrun toiminta. | |||||||
| Tarkista suunnanvalitsimen toiminta. | |||||||
| Tarkista jarrunesteen määrä. | |||||||
| Kuuntele, kuuluuko käytettäessä outoja ääniä. | |||||||
| Tarkista rengaspaine. | |||||||
| Tarkista nestevuodot. | |||||||
| Tarkista mittareiden toiminta. | |||||||
| Tarkista kaasupolkimen toiminta. | |||||||
| Korjaa maalipinnan vauriot. | |||||||
| Pese kone. | |||||||
| Korjaa maalipinnan vauriot. | |||||||
Important: Jos laitetta käytetään joissain alla olevista olosuhteista, huollot on suoritettava kaksi kertaa tavallista useammin:
Käyttö aavikolla
Käyttö kylmässä ilmastossa (alle 10 °C)
Perävaunun vetäminen
Toistuva käyttö pölyisissä olosuhteissa
Käyttö rakennustyömaalla
Jos ajoneuvo on ollut pitkään käytössä mutaisissa, hiekkaisissa, märissä tai vastaavissa likaisissa olosuhteissa, suorita seuraavat toimenpiteet:
Tarkistuta ja puhdistuta jarrut mahdollisimman pian. Näin mikään hankaava materiaali ei pääse aiheuttamaan liiallista kulumista.
Käytä koneen pesuun pelkkää vettä tai lisää veteen mietoa pesuainetta.
Important: Älä puhdista konetta suolapitoisella tai kierrätetyllä vedellä.
Pysäköi kone tasaiselle alustalle.
Tarkista, että seisontajarru on kytkettynä.
Katkaise koneesta virta ja irrota virta-avain.
Laite voi olla epävakaa käytettäessä tunkkia. Kone saattaa luiskahtaa tunkilta, jolloin koneen alla olevat voivat loukkaantua.
Älä käynnistä konetta, kun se on nostettu tunkilla.
Poista aina avain virtalukosta, ennen kuin nouset pois koneesta.
Aseta pyöriin vierimisen estävät kiilat, kun konetta tuetaan nostolaitteella.
Tue kone nostamisen jälkeen pukeilla.
Important: Aina kun konetta käytetään kunnossapitoa ja/tai vianmääritystä varten, koneen takapyörät on nostettava 25 mm irti maasta asettamalla akselipukit taka-akselin tueksi.
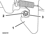
Koneen etupään nostokohta sijaitsee rungon etuosassa hinaussilmukan takana (Kuva 26).

Koneen takapään nostokohta sijaitsee akseliputkien alla (Kuva 27).

| Huoltoväli | Huoltotoimenpide |
|---|---|
| 300 käyttötunnin välein |
|
Käytettävä rasva: Mobilgrease XHP™-222
Nosta koneen etuosa ja tue se pukeilla.
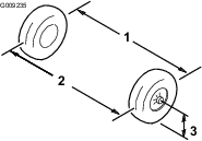
Irrota neljä pyöränmutteria, joilla pyörä on kiinnitetty napaan (Kuva 29).

Irrota laippakantapultit (⅜ × ¾ tuumaa), joilla jarrukokoonpanon kannatin on kiinnitetty karaan, ja irrota jarru karasta (Kuva 30).
Note: Tue jarrukokoonpano ennen siirtymistä seuraavaan vaiheeseen.

Irrota pölysuojus navasta (Kuva 31).

Irrota sokka ja mutterin pidike karasta ja olkamutterista (Kuva 31).
Irrota olkamutteri karasta, ja irrota sitten napa ja jarrukiekko karasta (Kuva 31 ja Kuva 32).

Pyyhi kara puhtaaksi rievulla.
Toista vaiheet 1–7 navalle ja jarrukiekolle koneen toisella puolella.
Irrota ulompi laakeri ja laakerin kehä navasta (Kuva 33).

Irrota sisemmän laakerin tiiviste navasta (Kuva 33)
Pyyhi tiiviste puhtaaksi ja tarkista, ettei se ole kulunut tai vaurioitunut.
Note: Älä käytä puhdistusainetta tiivisteen puhdistamiseen. Vaihda tiiviste, jos se on kulunut tai vaurioitunut.
Puhdista laakerit ja laakerien kehät ja tarkista, etteivät ne ole kuluneet tai vaurioituneet.
Note: Vaihda kaikki kuluneet ja vaurioituneet osat. Varmista, että laakerit ja laakerien kehät ovat puhtaat ja kuivat.
Puhdista laakeriaukko ja napa rasvasta, liasta ja roskista (Kuva 33).
Tiivistä laakerit määritysten mukaisella rasvalla.
Täytä laakeriaukko 50–80-prosenttisesti määritysten mukaisella rasvalla (Kuva 33).
Aseta sisempi laakeri navan sisemmän puolen laakerin kehään ja asenna tiiviste (Kuva 33).
Toista vaiheet 1–8 toisen navan laakereille.
Levitä karaan ohut kerros määritysten mukaista rasvaa (Kuva 34).

Aseta napa ja jarrukiekko karaan jarrukiekko edellä (Kuva 34).
Aseta ulompi laakeri karaan ja ulompaan laakerin kehään (Kuva 34).
Aseta lukkolevy karaan (Kuva 34).
Kierrä olkamutteri karaan ja kiristä mutteri momenttiin 15 N·m pyörittäen samalla napaa, jotta laakeri asettuu paikalleen (Kuva 34).
Löysää olkamutteria, kunnes napa pyörii vapaasti.
Kiristä olkamutteri momenttiin 1,70–2,26 N·m.
Aseta kiinnike mutterin päälle ja tarkista, että kiinnikkeen lovi ja karassa oleva sokan aukko ovat kohdakkain (Kuva 35).
Note: Jos kiinnikkeen lovi ja karan aukko eivät ole kohdakkain, kohdista ne kiristämällä olkamutteria korkeintaan momenttiin 2,26 N·m.

Asenna sokka ja taivuta sen varret kiinnikkeen ympärille (Kuva 35).
Asenna pölysuojus napaan (Kuva 35).
Toista vaiheet 1–10 navalle ja jarrukiekolle koneen toisella puolella.
Puhdista kaksi laippakantapulttia (⅜ × ¾ tuumaa) ja levitä keskivahvaa kierrelukitetta pulttien kierteisiin.
Kohdista jarrupalat jarrukiekon molemmille puolille (Kuva 30) ja kohdista jarrusatulan kannattimen reiät karan rungossa oleviin jarrun kiinnityskohdan reikiin (Kuva 34).
Kiinnitä jarrusatulan kannatin karan runkoon (Kuva 30) kahdella laippakantapultilla (⅜ × ¾ tuumaa).
Kiristä kaksi laippakantapulttia momenttiin 47–54 N·m.
Kohdista pyörässä olevat reiät navan tappeihin ja aseta pyörä napaan niin, että venttilinvarsi osoittaa ulospäin (Kuva 29).
Note: Varmista, että pyörän kiinnityspinta on navan tasalla.
Kiinnitä pyörä napaan pyöränmuttereilla (Kuva 29).
Kiristä pyöränmutterit momenttiin 108–122 N·m.
Toista vaiheet 1–5 jarrulle ja pyörälle koneen toisella puolella.
Irrota akkulaturin virtajohto, jos se on kytketty.
Nosta kuljetuslava.
Siirrä akun kytkin haluttuun asentoon kuvan mukaisesti (Kuva 36).

Note: Koneessa on neljä litium-ioniakkua.
Litium-ioniakku on hävitettävä tai kierrätettävä paikallisten ja kansallisten säännösten mukaisesti. Jos akku tarvitsee huoltoa, kysy neuvoa valtuutetulta Toro-jälleenmyyjältä.
Älä avaa akkua. Jos akun kanssa on ongelmia, kysy neuvoa valtuutetulta Toro-jälleenmyyjältä.
Akuissa on suurjännite, joka voi aiheuttaa palovammoja tai antaa sähköiskun.
Älä yritä avata akkuja.
Jos akun kotelo on haljennut, sitä on käsiteltävä erittäin varovasti.
Käytä vain akkuja varten suunniteltua laturia.
Litium-ioniakut kykenevät tuottamaan työtehtäviin tarvittavan varauksen koko käyttöikänsä ajan.
Akkujen paras mahdollinen käyttöikä ja toiminta saavutetaan noudattamalla seuraavia ohjeita:
Älä avaa akkua.
Varastoi kone puhtaassa, kuivassa autotallissa tai varastotilassa suojassa suoralta auringonvalolta, lämmönlähteiltä, sateelta ja kosteudelta. Älä säilytä konetta paikassa, jonka lämpötila on kohdassa Akkujen varastointivaatimukset määritetyn lämpötila-alueen ulkopuolella. Näiden rajojen ulkopuoliset lämpötilat vahingoittavat akkuja. Korkea säilytyslämpötila vähentää erityisesti täyteen ladatun akun käyttöikää.
Yli 10 päivää kestävässä säilytyksessä on huolehdittava, että kone on viileässä ja kuivassa paikassa suojassa auringonvalolta, sateelta ja kosteudelta.
Käytä valoja vain tarvittaessa.
Important: Kaikki sähkötyöt on teetettävä valtuutetulla Toro-jälleenmyyjällä.
Laturin huoltotoimiin kuuluu pääasiassa vain sen suojaaminen vaurioilta ja säältä.
Puhdista akkulaturin johdot ja kotelo nihkeällä liinalla jokaisen käytön jälkeen.
Note: Älä pyyhi pois napojen eristerasvaa.
Keri johdot, kun niitä ei käytetä.
Tarkista ajoittain, että johdot ovat ehjiä. Vaihda ne tarvittaessa Toron hyväksymiin varaosiin.
Tyyppi: Katso Osaluettelo.
Katkaise akun virta. Katso kohta Akun kytkimen käyttö.
Avaa konepelti.
Irrota sähköjohtojen liitin lamppukokoonpanon liitännästä (Kuva 39).

Irrota pikakiinnikkeet, jotka kiinnittävät ajovalon sen pidikkeeseen (Kuva 39).
Note: Säilytä kaikki osat uuden ajovalon asennusta varten.
Irrota ajovalokokoonpano siirtämällä sitä eteenpäin etupuskurissa olevan aukon kautta (Kuva 39).
Asenna uusi ajovalo puskurissa olevan aukon kautta (Kuva 39).
Note: Varmista, että säätötapit ovat linjassa puskurin takana olevan asennuskannakkeen aukkojen kanssa.
Kiinnitä ajovalokokoonpano vaiheessa 4 irrotetuilla pikakiinnikkeillä.
Kytke sähköjohtojen liitin lamppukokoonpanon liitäntään (Kuva 39).
Säädä ajovalot siten, että ne osoittavat haluttuun suuntaan. Katso Ajovalojen säätö.
Säädä ajovalon suuntaus seuraavasti aina, kun ajovalokokoonpano vaihdetaan tai irrotetaan.
Pysäköi laite tasaiselle alustalle niin, että ajovalot ovat noin 7,6 m:n päässä seinästä (Kuva 40).
Mittaa etäisyys lattiasta ajovalon keskelle ja tee seinään merkki samalle korkeudelle.
Käännä virta-avain KäYNNISSä-asentoon ja sytytä ajovalot.
Katso, mihin kohtaan seinää ajovalot osoittavat.
Ajovalojen säteen kirkkaimman osan tulee olla 20 cm seinään tehdyn merkin alapuolella (Kuva 40).

Käännä ajovalokokoonpanoa ja säädä ajovalojen suuntausta kääntämällä ajovalokokoonpanon takaosassa olevia säätöruuveja (Kuva 39).
Kytke akun virta. Katso kohta Akun kytkimen käyttö.
| Huoltoväli | Huoltotoimenpide |
|---|---|
| 100 käyttötunnin välein |
|
Tarkista, ettei renkaissa ja vanteissa ole kulumia tai vaurioita.
Note: Reunakiveykseen tai vastaavaan osuminen voi vaurioittaa rengasta tai vannetta ja vioittaa pyörien suuntausta, joten tarkista renkaiden kunto pienenkin onnettomuuden jälkeen.
Kiristä pyöränmutterit momenttiin 108–122 N·m.
| Huoltoväli | Huoltotoimenpide |
|---|---|
| 100 käyttötunnin välein |
|
Kun ohjauspyörä on keskikohdassa (Kuva 41), käännä ohjauspyörää vasemmalle tai oikealle. Jos ohjauspyörää käännetään yli 13 mm vasemmalle tai oikealle eivätkä renkaat käänny, tarkista seuraavat ohjaus- ja jousitusosat ja varmista, että ne eivät ole löysällä tai vaurioituneet:
Ohjausakselin ja ohjaushammastangon kokoonpanon välinen nivel
Important: Tarkista hammaspyörän akselin tiivisteen kunto ja kiinnitys (Kuva 42).
Ohjaushammastangon kokoonpanon raidetangot


| Huoltoväli | Huoltotoimenpide |
|---|---|
| 100 käyttötunnin välein |
|
Tarkista rengaspaineet ja varmista, että eturenkaiden paine on 0,83 bar.
Lisää kuljettajan istuimelle paino, joka vastaa keskimääräistä laitteen käyttäjän painoa, tai pyydä käyttäjää istumaan istuimella. Käyttäjän painon on pysyttävä istuimella koko säätötoimenpiteen ajan.
Työnnä laitetta tasaisella alustalla suoraan taaksepäin 2–3 m ja sitten suoraan eteenpäin alkuperäiseen aloituskohtaan. Näin jousitus pääsee asettumaan käyttäjän paikalla.
Omistajan hankkimat työkalut: mutteriavain (Toro-osa 132-5069), ota yhteys valtuutettuun Toro-jälleenmyyjään.
Important: Säädä kallistuskulmaa vain, jos käytössä on etulisälaite tai jos renkaat kuluvat epätasaisesti.
Tarkista kallistuksen suuntaus kussakin pyörässä. Suuntauksen on oltava niin lähellä neutraalia (nollaa) kuin mahdollista.
Note: Renkaat on suunnattava niin, että kulutuspinta on tasaisesti maassa, jotta renkaiden epätasainen kuluminen vähenee.
Jos pyörien kallistuksen suuntaus ei ole oikea, suuntaa pyörä pyörittämällä iskunvaimentimen kaulusta mutteriavaimella (Kuva 43).

Important: Varmista ennen aurauskulman säätöä, että kallistus on säädetty niin lähelle neutraalia kuin mahdollista. Katso kohta Kallistuksen säätö.
Varmista, että eturenkaat osoittavat suoraan eteenpäin.
Mittaa eturenkaiden välinen etäisyys akselin korkeudelta eturenkaiden edestä ja takaa (Kuva 44).

Jos mittaustulos ei ole 0–6 mm, löysää raidetankojen ulommissa päissä olevia vastamuttereita (Kuva 45).

Pyöritä molempia raidetankoja, jolloin renkaiden etupuoli liikkuu sisään- tai ulospäin.
Kiristä raidetangon vastamutterit, kun säätö on oikea.
Varmista, että ohjauspyörä kääntyy kunnolla molempiin suuntiin.
| Huoltoväli | Huoltotoimenpide |
|---|---|
| 100 käyttötunnin välein |
|
Irrota vaihteiston täyttötulppa (Kuva 46).
Note: Nesteen pinnan tulee ulottua täyttötulpan alareunaan saakka.

Jos öljyä on vähän, irrota täyttötulppa ja lisää määrityksen mukaista öljyä (katso kohta Vaihteistoöljyn vaihto), kunnes sitä valuu ulos aukosta (Kuva 46).
Asenna täyttötulppa ja kiristä se momenttiin 27–41 N·m.
| Huoltoväli | Huoltotoimenpide |
|---|---|
| 100 käyttötunnin välein |
|
| 800 käyttötunnin välein |
|
Nesteen tyyppi: Mobil 424
Öljytilavuus: 0,95 l
Aseta tyhjennysastia vaihteiston tyhjennystulpan alle (Kuva 47).

Irrota täyttötulppa (Kuva 47).
Irrota tyhjennystulppa ja anna kaiken öljyn valua pois.
Asenna tyhjennystulppa ja kiristä se momenttiin 12–19 N·m.
Lisää vaihteistoon määrityksen mukaista öljyä täyttötulpan aukon kautta, kunnes sitä valuu ulos täyttöaukosta.
Asenna täyttötulppa ja kiristä se momenttiin 27–41 N·m.
| Huoltoväli | Huoltotoimenpide |
|---|---|
| 100 käyttötunnin välein |
|
Important: Jarrut ovat erittäin tärkeät koneen turvallisuuden kannalta. Tarkasta ne huolellisesti suositellun huoltovälin mukaisesti, jotta ne toimivat mahdollisimman tehokkaasti ja turvallisesti.
Tarkista jarrupäällysteen kuluneisuus ja vauriot. Jos päällysteen (jarrupalan) paksuus on alle 1,6 mm, vaihda jarrupäällyste.
Tarkista jarrulevy ja muut osat liiallisen kulumisen ja muodonmuutosten varalta. Vaihda vääntyneet osat.
Tarkista, että jarruputkissa, liittimissä ja pidikkeissä ei ole vuotoja, haurastumia tai löysiä liitäntöjä.
Note: Korjaa vaurioituneet tai vuotavat jarrujärjestelmän osat ennen koneen käyttöä.
Tarkista jarrunesteen määrä. Katso kohta Jarrunesteen määrän tarkistus.
| Huoltoväli | Huoltotoimenpide |
|---|---|
| Aina ennen käyttöä tai päivittäin |
|
Jarrunesteen tyyppi: DOT 3
| Huoltoväli | Huoltotoimenpide |
|---|---|
| 1000 käyttötunnin välein |
|
Ota yhteys valtuutettuun Toro-jälleenmyyjään.
Jos kuljetuslavan salpojen säätö on väärä, kuljetuslava tärisee ajon aikana pystysuunnassa. Salpojen pidikkeitä voi säätää, jotta salvat pitävät kuljetuslavan tiukasti runkoa vasten.
| Huoltoväli | Huoltotoimenpide |
|---|---|
| Aina ennen käyttöä tai päivittäin |
|
Käytä koneen pesuun pelkkää vettä tai lisää veteen mietoa pesuainetta tarvittaessa. Koneen voi pestä rievulla.
Important: Älä puhdista konetta suolapitoisella tai kierrätetyllä vedellä.
Important: Konetta ei suositella pestäväksi painepesurilla. Painepesu voi vahingoittaa sähköjärjestelmää, irrottaa tärkeitä tarroja tai huuhtoa pois tarpeellisen rasvan kitkakohdista. Vältä liiallista veden käyttöä erityisesti ohjauspaneelin, moottorin, moottorinohjaimen, laturin, kojelaudan taustan ja akkujen lähellä.
Sammuta kone, irrota virta-avain ja odota, että kaikki liikkuvat osat pysähtyvät, ennen kuin poistut käyttäjän paikalta. Anna koneen jäähtyä ennen sen säätöä, huoltoa, puhdistusta tai varastointia.
Omistaja on vastuussa lataus- ja varastointialueiden tai -tilojen sekä tarkastustoimenpiteiden säännöllisestä tarkastamisesta sen varmistamiseksi, että vaatimuksia noudatetaan.
| Huoltoväli | Huoltotoimenpide |
|---|---|
| 200 käyttötunnin välein |
|
| 400 käyttötunnin välein |
|
Pysäköi kone tasaiselle alustalle, katkaise koneesta virta ja irrota virta-avain.
Puhdista kone kauttaaltaan liasta ja rasvasta, myös moottorin kotelon ulkopinnalta.
Important: Kone voidaan pestä miedolla pesuaineella ja vedellä. Älä pese konetta painepesurilla. Painepesu voi vahingoittaa sähköjärjestelmää tai huuhtoa pois tarpeellisen rasvan kitkakohdista. Vältä liiallista veden käyttöä erityisesti ohjauspaneelin, valojen, moottorin ja akun läheisyydessä.
Tarkista jarrut. Katso kohta Jarrujen tarkistus.
Tarkista rengaspaine. Katso kohta Rengaspaineen tarkistus.
Tarkista ja kiristä kaikki pultit, mutterit ja ruuvit. Korjaa tai vaihda kaikki vaurioituneet osat.
Maalaa kaikki naarmuuntuneet tai paljaat metallipinnat.
Note: Maalia on saatavissa valtuutetulta Toro-jälleenmyyjältä.
Peitä kone suojataksesi sen ja pitääksesi sen puhtaana.
Note: Akkuja ei tarvitse irrottaa koneesta varastointia varten.
Katso varastoinnin lämpötilarajat seuraavasta taulukosta:
| Varastointilämpötila | Asianmukainen varastointiaika |
| 45...55 °C | 1 viikko |
| 25...45 °C | 3 viikkoa |
| –20...+25 °C | 52 viikkoa |
Important: Näiden rajojen ulkopuoliset lämpötilat vahingoittavat akkuja.Akkujen säilytyslämpötila vaikuttaa niiden käyttöikään. Pitkäaikainen varastointi erittäin korkeassa lämpötilassa lyhentää akkujen käyttöikää. Konetta saa varastoida yli 25 °C:n lämpötiloissa vain taulukossa ilmoitetun ajan.
Ennen varastointia lataa tai tyhjennä akut 40–60 %:iin.
Note: Akkujen käyttöiän kannalta optimaalinen varaustaso on 50 %. Akkujen käyttöikä lyhenee, jos akut ladataan ennen varastointia 100 %:iin.Jos aiot varastoida koneen pitemmäksi aikaa, lataa akut noin 60 %:iin.
Tarkista akkujen varaustaso kuuden kuukauden varastoinnin välein ja varmista, että se on 40–60 %. Jos varaus on alle 40 %, lataa akut 40–60 %:iin.
Lataamisen jälkeen irrota akkulaturi virtalähteestä.
Jos jätät laturin koneeseen, se sammuu akkujen latauduttua täyteen eikä kytkeydy takaisin päälle, ellei laturia irroteta ja kytketä uudelleen.