| Underhållsintervall | Underhållsförfarande |
|---|---|
| Varje användning eller dagligen |
|
Detta arbetsfordon är främst avsett för användning i terräng för att transportera personer och gods. Det kan medföra fara för dig och kringstående om maskinen används i andra syften än vad som avsetts.
Läs den här informationen noga så att du lär dig att använda och underhålla produkten på rätt sätt, och för att undvika person- och produktskador. Du är ansvarig för att produkten används på ett korrekt och säkert sätt.
Besök www.Toro.com om du behöver utbildningsmaterial för säkerhet och drift, information om tillbehör, hjälp med att hitta en återförsäljare eller om du vill registrera din produkt.
Kontakta en auktoriserad återförsäljare eller Toros kundservice och ha produktens modell- och serienummer till hands om du har behov av service, Toro originaldelar eller ytterligare information. Figur 1 visar var du finner produktens modell- och serienummer. Skriv in numren i det tomma utrymmet.
Important: Skanna rutkoden på serienummerdekalen (i förekommande fall) med en mobil enhet för att få tillgång till information om garanti, reservdelar och annat.

Produkten uppfyller alla relevanta europeiska direktiv. Mer information finns i produktens separata försäkran om överensstämmelse.
Om maskinen är utrustad med en telematikenhet kontaktar du en auktoriserad Toro-återförsäljare för anvisningar om hur du aktiverar enheten.
|
Certifiering av elektromagnetisk kompatibilitet |
|
Hushåll: Den här enheten uppfyller kraven i enlighet med del 15 i FCC-reglerna. Följande två villkor ställs för driften: (1) Den här enheten får inte orsaka störningar och (2) enheten måste tåla alla eventuella störningar som den kan utsättas för, inklusive störningar som kan orsaka oavsiktlig användning. |
|
FCC ID: APV-3640LB IC: 5843C-3640LB |
|
Utrustningen har testats och befunnits överensstämma med gränserna för en digital enhet av klass B, i enlighet med del 15 i FCC-reglerna. Dessa begränsningar är avsedda att utgöra ett skäligt skydd mot skadliga störningar av installationer inom bostadsområden. Utrustningen genererar, använder och kan utsända radiofrekvensenergi och kan, om den inte monteras och används i enlighet med instruktionerna, orsaka skadlig störning av radiokommunikation. Det ges dock ingen garanti för att vissa installationer inte kommer att medföra störningar. Du kan prova om den här utrustningen stör radio- eller tv-mottagningen genom att starta och stänga av utrustningen. Om den orsakar störningar kan du försöka att avhjälpa problemet genom att vidta någon eller några av följande åtgärder:
|
|
Argentina |
![]() |
|
Australien |
![]() |
|
Marocko |
|
|---|---|
|
AGREE PAR L’ANRT MAROC |
|
|
Numéro d’agrément: |
MR00004789ANRT20024 |
|
Date d’agrément: |
11/4/2024 |
|
Nya Zeeland |
|
|
|
Sydkorea |
![]() |
KALIFORNIEN
Proposition 65 Varning
Kabeln till denna produkt innehåller bly, en kemikalie som av den amerikanska delstaten Kalifornien anses orsaka fosterskador och andra fortplantningsskador. Tvätta händerna efter hantering.
Batteripoler och kabelanslutningar med tillbehör innehåller bly och blyföreningar, kemikalier som den amerikanska delstaten Kalifornien anser kan orsaka cancer och fortplantningsskador. Tvätta händerna efter hantering.
Varningssymbolen (Figur 2) som visas i den här bruksanvisningen och på maskinen markerar viktiga säkerhetsmeddelanden som du måste följa för att förhindra olyckor.

Varningssymbolen visas ovanför information som varnar dig för farliga handlingar eller situationer och följs av orden FARA, VARNING eller VAR FÖRSIKTIG.
FARA indikerar en överhängande fara som, om den inte undviks, kommer att leda till dödsfall eller allvarliga personskador.
VARNING indikerar en potentiellt farlig situation som, om den inte undviks, kan leda till dödsfall eller allvarliga personskador.
VAR FÖRSIKTIG indikerar en potentiellt farlig situation som, om den inte undviks, kan leda till mindre eller måttliga personskador.
Två andra beteckningar används för att markera information i denna bruksanvisning. Viktigt anger speciell teknisk information och Observera anger allmän information värd att notera.
Den här produkten kan orsaka personskador. Följ alltid alla säkerhetsanvisningar för att undvika allvarliga personskador.
Läs och se till att du har förstått innehållet i den här bruksanvisningen innan du startar maskinen. Se till att alla som använder den här produkten förstår varningarna och vet hur produkten ska användas.
Håll koncentrationen helt på maskinen när du använder den. Ägna dig inte åt aktiviteter som kan distrahera dig, eftersom personskador eller skador på egendom då kan uppstå.
Håll händer och fötter på avstånd från maskinens rörliga komponenter.
Kör endast maskinen om skydd och andra säkerhetsanordningar sitter på plats och fungerar.
Håll kringstående och barn på säkert avstånd från arbetsområdet. Låt aldrig barn köra maskinen.
Stanna, stäng av maskinen och ta ut nyckeln innan du utför service.
Felaktigt bruk eller underhåll av maskinen kan leda till
personskador. För att minska risken för skador ska du alltid
följa säkerhetsanvisningarna och uppmärksamma varningssymbolen
. Symbolen betyder Var försiktig,
Varning eller Fara – anvisning om personsäkerhet. Underlåtenhet
att följa anvisningarna kan leda till personskador och innebära
livsfara.
![]() |
Säkerhetsdekalerna och säkerhetsinstruktionerna är fullt synliga för föraren och finns nära alla potentiella farozoner. Ersätt dekaler som har skadats eller saknas. |
















Delar som behövs till detta steg:
| Ratt | 1 |
| Skruv | 5 |
| Fjäder | 2 |
| Rattskydd | 1 |
| Rattklämma | 1 |
Se Figur 3 för detta förfarande.
Placera ratten på styraxeln.
Se till att ratten är centrerad (dvs. den plana bottnen ska vara parallell med marken).
Använd låsmuttern för att fästa ratten vid styraxeln.
Dra åt låsmuttern till 27 Nm.
Använd två skruvar och två fjädrar för att fästa rattklämman på rattskyddet.
Fäst rattskyddet på ratten med tre skruvar.
Dra åt de tre skruvarna till 0,6 Nm.

Ladda maskinen. Se Så här fungerar litiumjonbatteriladdaren.
Kontrollera bromsvätskenivån innan du startar maskinen. Se Kontrollera bromsvätskenivån.
Kontrollera växellådsvätskans nivå innan du startar maskinen. Se Kontrollera växellådsvätskans nivå.
Kontrollera lufttrycket i däcken. Se Kontrollera däcktrycket.
Polera (kör in) bromsarna innan du använder maskinen, för att garantera bästa prestanda för bromssystemet.
Kör maskinen i högsta hastighet och ansätt bromsarna så att den stannar snabbt, men utan att bromsarna låser sig.
Upprepa detta tio gånger, men vänta i en minut mellan stoppen så att du inte överhettar bromsarna.

Note: Ratten är borttagen från Figur 5 av tydlighetsskäl.

Med hjälp av gaspedalen kan du variera maskinens markhastighet. Tryck ned gaspedalen för att starta maskinen. Om du trycker ned pedalen längre ökar hastigheten. Om du släpper pedalen saktar maskinen ned och stängs av.
Hastigheten framåt är 26 km/h i prestandaläget.
Hastigheten framåt är 18 km/h i ekonomiläget.
Använd bromspedalen för att stanna eller sänka farten på maskinen.
Användning av en maskin med slitna eller felinställda bromsar kan leda till personskador.
Om bromspedalen förflyttar sig inom 25 mm från maskinens golvplatta ska bromsarna justeras eller repareras.
Körriktningsväljaren (Figur 5) har två lägen: FRAMåT och BAKåT.
Note: Maskinen kan vara i drift i valfritt läge, men rör sig bara i lägena FRAMåT och BAKåT.
Tryck på signalhornsomkopplaren (Figur 5) när du vill att signalhornet ska ljuda.
Använd ljusomkopplaren (Figur 5) för att slå på strålkastarna. Tryck ljusomkopplaren uppåt för att slå på strålkastarna. Tryck ljusomkopplaren nedåt för att slå av dem.
Använd USB-porten (Figur 5) för att ladda mobila enheter.
Important: För in gummipluggen i USB-porten när den inte används för att förhindra skador.
Tändningslåset (Figur 5) används för att starta och stänga av maskinen eller sätta maskinen i TRANSPORTLäGE.
Tändningslåset har tre lägen: På, AV och TRANSPORT.
Vrid nyckeln medsols till läget På när du vill använda maskinen.
Stäng av maskinen genom att vrida nyckeln motsols till det AVSTäNGDA läget när maskinen har stannat. Ta ut nyckeln varje gång du lämnar maskinen.
Koppla ur parkeringsbromsen genom att vrida och hålla tändningslåset på plats i fem sekunder för att placera maskinen i TRANSPORTLäGET.
På displayen visas information om maskinen, till exempel driftsstatus, diagnosinformation och övrig information om maskinen (Figur 6).

Det finns en startskärm, körskärm och laddningsskärm på displayen (Figur 7, Figur 8 och Figur 9).
Figur 8 visar vad du kan se på displayen när du kör maskinen. Startskärmen visas i några sekunder efter att du har vridit nyckeln till PåSLAGET läge. Sedan visas körskärmen.



Körskärmen med riktningspositionen (Figur 10) visas när du ändrar riktning.

Körskärmen med aktuell maskinhastighet (Figur 11) visas när du kör maskinen.

En aktiv felkod (Figur 12) visas på displayen om det finns ett problem med maskinen.

När indikatorn för kallt batteri (Figur 13) blinkar på körskärmen under drift ändras maskinens prestanda tills batteritemperaturen är över 0 °C.

Indikatorn för kallt batteri visas också på laddningsskärmen (Figur 14) när batterierna är för kalla för att laddas.

![]() | Riktning – FRAMåTLäGE |
![]() | Transport – NEUTRALLäGE |
![]() | Riktning – BACKLäGE |
![]() | Parkeringsbromsen är inkopplad. |
![]() | Timmätare |
![]() | Batterispänning |
![]() | Batteriets laddningsnivå |
![]() |
Batteriet laddas |
![]() |
Meddelande om låg batterinivå |
![]() | Ekonomiläge är på. |
![]() | Aktivt fel |
![]() | Indikator för hett batteri – batteritemperaturen är högre än 67 °C |
![]() | Indikator för kallt batteri – batteritemperaturen är lägre än 0 °C |
![]() | Batterierna är för kalla för att laddas. |
Huvudomkopplaren för hastighetsbegränsning sitter under motorhuven (Figur 15) och har två lägen: PRESTANDALäGE och EKONOMILäGE. Vrid omkopplaren medurs till EKONOMILäGET för att begränsa maskinens maxhastighet till 18 km/h. Vrid omkopplaren moturs till PRESTANDALäGET för att återställa maskinens maxhastighet till 26 km/h.

Passagerarhandtagen sitter till höger om instrumentbrädan och på utsidan av varje säte (Figur 16).

Note: Delarnas mått och utseende kan ändras utan föregående meddelande.
| Grundvikt | Torr 571 kg |
| Märkkapacitet (på plant underlag) | 767 kg totalt, inklusive en förare på 90,7 kg och en passagerare på 90,7 kg, last, bogseröglans vikt, släpets bruttovikt, tillbehör och redskap |
| Fordonets bruttovikt – på plant underlag | 1 338 kg totalt, inklusive alla vikter som räknas upp ovan |
| Maximal lastkapacitet (på plant underlag) | 567 kg totalt, inklusive bogseröglans vikt och släpets bruttovikt |
| Bogseringskapacitet: | |
| Standardkrok | Bogseröglans vikt: 45 kg |
| Släpets bruttovikt: 363 kg | |
| Stark dragkrok | Bogseröglans vikt: 45 kg |
| Släpets bruttovikt: 544 kg | |
| Total bredd | 155 cm |
| Total längd | 307 cm |
| Markfrigång | 28 cm fram utan last eller förare, 17 cm bak utan last eller förare |
| Hjulbas | 206 cm |
| Spårvidd (centrumlinje till centrumlinje) | 125 cm fram, 120 cm bak |
| Lastflakets längd | 113 cm, 137 cm på utsidan |
| Lastflakets bredd | 125 cm på insidan, 155 cm på utsidan av de formpressade stänkskärmarna |
| Lastflakets höjd | 25 cm på insidan |
Det finns ett urval av godkända Toro-redskap och -tillbehör som du kan använda för att förbättra och utöka maskinens kapacitet. Kontakta en auktoriserad återförsäljare eller auktoriserad Toro-distributör, eller gå till www.Toro.com för att se en lista över alla godkända redskap och tillbehör.
Använd endast originalreservdelar och tillbehör från Toro för att garantera optimal prestanda och fortlöpande säkerhet för produkten. Det kan vara farligt att använda reservdelar och tillbehör från andra tillverkare och det kan göra produktgarantin ogiltig.
Låt aldrig barn eller personer som inte är utbildade eller fysiskt kapabla köra eller utföra underhåll på maskinen. Lokala bestämmelser kan begränsa användarens ålder. Det är ägaren som ansvarar för att utbilda alla förare och mekaniker.
Lär dig hur man använder utrustningen på ett säkert sätt och bekanta dig med manöverreglage och säkerhetsskyltar.
Stäng av maskinen, ta ut nyckeln och vänta tills alla rörliga delar har stannat innan du kliver ur förarsätet. Låt maskinen svalna innan du justerar, rengör, förvarar eller utför underhåll på den.
Lär dig att stanna och stänga av maskinen snabbt.
Kontrollera att det inte finns fler personer (du och din[a] passagerare) i fordonet än antalet handtag som finns på maskinen.
Kontrollera att samtliga säkerhetsanordningar och dekaler är på plats. Byt ut eller ersätt alla säkerhetsanordningar och ersätt alla dekaler som är oläsliga eller saknas. Kör inte maskinen om dessa inte sitter på plats eller inte fungerar som de ska.
| Underhållsintervall | Underhållsförfarande |
|---|---|
| Varje användning eller dagligen |
|
Varje dag innan maskinen startas ska de procedurer som ska genomföras dagligen och innan varje användning, vilka anges i , utföras.
| Underhållsintervall | Underhållsförfarande |
|---|---|
| Varje användning eller dagligen |
|
Specifikationer för däckens lufttryck: 0,55–1,03 bar
Important: Överskrid inte det maximala lufttrycket som anges på däckets sida.
Note: Vilket lufttryck som krävs i däcken bestäms av hur mycket last som du ska transportera.
Kontrollera lufttrycket i däcken.
Note: Lufttrycket i fram- och bakdäcken ska vara 0,55–1,03 bar.
Använd ett lägre lufttryck i däcken för lättare laster, för att minska jordkompakteringen, för en jämnare körning och för att minimera däckavtrycken på marken.
Använd ett högre lufttryck i däcken för transport av tyngre laster i högre hastigheter.
Justera vid behov lufttrycket i däcken genom att fylla på eller tappa ur luft.

| Underhållsintervall | Underhållsförfarande |
|---|---|
| Efter de första 100 timmarna |
|
Utför riktlinjerna i Köra in en ny maskin för tillbörlig maskinprestanda och lång maskinlivslängd.
Se till att bromsarna har körts in. Se avsnittet om att köra in bromsar i Inställningar.
Kontrollera bromsvätskan. Se Kontrollera bromsvätskenivån.
Se för eventuella specialkontroller vid låganvändning.
Kontrollera inställningen av den främre och bakre fjädringen och justera vid behov. Se Justera framhjulens inriktning.
Ladda batterierna till 100 % när du får maskinen för optimal batteriprestanda och -livslängd.
Ägaren/föraren kan förebygga och ansvarar för olyckor som kan ge upphov till personskador eller skador på egendom.
Passagerare får endast sitta på avsedda sittplatser. Kör inte passagerare på lastflaket. Håll kringstående och husdjur på avstånd från maskinen under drift.
Använd lämpliga kläder, inklusive ögonskydd, långbyxor och kraftiga halkfria skor. Sätt upp långt hår och använd inte hängande smycken eller löst sittande kläder.
Håll koncentrationen helt på maskinen när du använder den. Ägna dig inte åt aktiviteter som kan distrahera dig, eftersom personskador eller skador på egendom då kan uppstå.
Kör inte maskinen om du är sjuk, trött eller påverkad av alkohol eller läkemedel.
Överskrid inte maskinens maximala bruttovikt.
Var extra försiktig när du bromsar eller svänger med tung last på lastflaket.
Om du transporterar överdimensionerade laster på lastflaket försämras maskinens stabilitet. Överskrid inte flakets lastkapacitet.
Maskinens styrning, bromsning och stabilitet påverkas negativt när du transporterar en last som inte kan bindas fast vid maskinen. Var försiktig med styrning och inbromsning om du transporterar material som inte kan bindas fast på maskinen.
Sänk maskinens hastighet och minska maskinens last när du kör i svår, ojämn terräng samt nära trottoarkanter, hål och andra plötsliga terrängförändringar. Lasten kan glida och göra maskinen ostadig.
Se till att parkeringsbromsen är inkopplad och att du sitter i förarsätet innan du startar maskinen.
Du och passagerarna bör förbli sittande så länge maskinen är i rörelse. Håll båda händerna på ratten. Passagerarna bör använda de avsedda handtagen. Håll alltid armar och ben innanför maskinens kaross.
Använd endast maskinen när sikten är god. Se upp för hål, rötter, ojämnheter, stenar och andra dolda risker. Ojämn terräng kan göra att maskinen välter. Det kan finnas dolda hinder i högt gräs. Var försiktig när du närmar dig hörn med skymd sikt, buskage, träd eller andra objekt som kan försämra sikten.
Kör inte maskinen i närheten av stup, diken eller flodbäddar. Maskinen kan välta plötsligt om ett hjul kör över en kant eller kanten ger med sig.
Var alltid uppmärksam på och undvik lågt sittande utskjutande föremål som t.ex. trädgrenar, dörrposter, gångbroar o.s.v.
Titta bakåt och nedåt innan du backar för att se till att vägen är fri.
Vid användning av maskinen på allmän väg ska alla trafikbestämmelser följas och extrautrustning som kan vara obligatorisk enligt lag användas, såsom lampor, blinkers och skyltar för att indikera långsamt gående fordon (LGF).
Om maskinen vibrerar onormalt ska du omedelbart parkera och stänga av den, vänta tills all rörelse har avstannat och sedan undersöka om det finns skador. Reparera alla skador på maskinen innan du börjar använda den igen.
Det kan ta längre tid att stanna maskinen på vått underlag än på torrt underlag. Kör långsamt på plant underlag samtidigt som du trampar lätt på bromspedalen för att torka bromsarna om de är våta.
Om du kör maskinen i hög hastighet och sedan stannar tvärt kan detta leda till att bakhjulen låser sig, vilket påverkar din förmåga att kontrollera maskinen.
Rör inte vid motorn medan motorn är igång eller strax efter att du har stängt av motorn. Dessa områden kan vara så heta att de orsakar brännskador.
Lämna inte en maskin som är i gång utan uppsikt.
Gör följande innan du lämnar förarplatsen:
Parkera maskinen på en plan yta.
Kontrollera att parkeringsbromsen är inkopplad.
Stäng av maskinen och ta ut nyckeln.
Vänta tills alla rörliga delar har stannat.
Använd inte maskinen när det finns risk för blixtnedslag.
Använd endast tillbehör och redskap som har godkänts The Toro Company.
Note: Det finns ett vältskyddssystem med två stolpar som tillval för maskinen. Använd ett vältskydd om du ska klippa i närheten av stup och vattendrag, i ojämn terräng eller i sluttningar, vilket kan leda till att maskinen välter. Kontakta en auktoriserad Toro-återförsäljare för mer information.
Sluttningar är en betydande faktor vid olyckor som orsakas av förlorad kontroll eller tippning. Sådana olyckor kan leda till allvarliga personskador eller dödsfall.
Undersök platsen för att avgöra vilka sluttningar som är säkra för maskindrift och fastställ egna rutiner och regler för körning i dessa sluttningar. Använd alltid sunt förnuft och gott omdöme när du utför kontrollen.
Om du känner dig osäker när du kör maskinen i sluttningar ska du inte köra där.
Rörelse i sluttningar ska ske långsamt och gradvis. Ändra inte maskinens hastighet eller riktning tvärt.
Undvik att köra maskinen i våt terräng. Däcken kan förlora greppet. Maskinen kan välta innan däcken förlorar greppet.
Kör rakt uppför och nedför sluttningar.
Om du börjar förlora fart när du kör uppför en sluttning ska du gradvis koppla in bromsarna och långsamt backa rakt nedför sluttningen.
Det kan vara farligt att svänga när du kör uppför eller nedför en sluttning. Om du måste svänga när du kör i en sluttning ska detta göras långsamt och försiktigt.
Tunga laster påverkar stabiliteten i sluttningar. Minska lastens vikt och sänk färdhastigheten när du kör i sluttningar eller om lasten har en hög tyngdpunkt. Surra fast lasten på maskinens lastflak så att den inte glider. Var extra försiktig när du transporterar laster som lätt glider (t.ex. vätska, sten, sand o.s.v.).
Undvik att starta, stänga av eller vända maskinen i en sluttning, särskilt om du transporterar en last. Det tar längre tid att stanna när man kör nedför en sluttning än när man kör på plan mark. Om du måste stanna maskinen bör du undvika plötsliga hastighetsförändringar, eftersom dessa kan leda till att maskinen tippar eller välter. Bromsa inte plötsligt när du rullar bakåt, eftersom detta kan få maskinen att välta.
Överskrid inte maskinens bruttovikt när du kör med en last på lastflaket och/eller bogserar en släpvagn. Se Specifikationer.
Fördela lasten jämnt på lastflaket för att öka stabiliteten och kontrollen över maskinen.
Se till att det inte står någon bakom maskinen innan du tippar lasten.
Tippa inte ett lastat lastflak när maskinen står i sidled i en sluttning. Ändringen av viktfördelningen kan få maskinen att välta.
Ett upphöjt flak kan falla ned och skada någon som arbetar under det.
Sätt alltid upp flaket med stöttan innan du påbörjar arbetet under det.
Ta bort allt lastmaterial från flaket innan du höjer det.
Om maskinen körs med lastflaket i upphöjt läge kan maskinen lättare tippa eller välta. Flakets konstruktion kan skadas om flaket är upphöjt medan maskinen används.
Kör maskinen med lastflaket nedfällt.
Sänk ned lastflaket när du har tömt det.
Om lasten ligger på den bakre delen av lastflaket när du lossar spärrarna kan flaket tippa och oväntat öppnas, vilket kan medföra att du eller andra skadas.
Placera om möjligt lasten mitt på lastflaket.
Håll ned lastflaket och kontrollera att ingen lutar sig över flaket eller står bakom det när du lossar spärrarna.
Ta bort all last från flaket innan du höjer upp flaket för underhåll av maskinen.
Flaket kan vara tungt. Händer eller andra kroppsdelar kan krossas.
Håll undan händer och andra kroppsdelar när du sänker ned flaket.
Om du har lastat av löst material som sand, sten eller träflis från maskinens lastflak så kan en del av materialet ha fastnat i området kring flakskyddets gångjärn. Utför följande innan du stänger flakskyddet.
Använd dina händer för att ta bort så mycket av materialet som möjligt från området kring gångjärnen.
Fäll flakskyddet till cirka 45 graders läge (Figur 21).

Skaka flakskyddet med korta rörelser för att vrida det framåt och bakåt flera gånger (Figur 21).
Note: Detta hjälper dig att få bort material från området kring gångjärnen.
Sänk ned flakskyddet och kontrollera om det finns material kvar runt gångjärnen.
Upprepa steg 1 till 4 tills allt material är borta från området runt gångjärnen.
Fäll flakskyddet uppåt och framåt tills flakskyddets låsflänsar är i linje med lastflakets flakskyddsfördjupning (Figur 20).
Note: Fäll flakskyddet framåt eller bakåt för att rikta in flakskyddets låsflänsar efter de vertikala öppningarna mellan lastflakets flakskyddsflänsar.
Fäll flakskyddet bakåt tills det sitter på plats bak på lastflaket (Figur 20).
Note: Flakskyddets låsflänsar hakas fast ordentligt i lastflakets flakskyddsflänsar.
Se displayen för att fastställa batterisystemets laddningsnivå. Se Panel.
Om batterinivån blir för låg (dvs. under 10 %) visas en ikon om låg batterinivå på skärmen. När du använder maskinen vid den här batterinivån ska du köra maskinen till ett batteriladdningsområde och ladda batterierna. Se Så här fungerar litiumjonbatteriladdaren.
Om du använder maskinen när batteriladdningsnivån är tom körs maskinen med reducerad hastighet (dvs. 5 km/h).
Important: Använd fotbromsarna för att stanna maskinen i en sluttning och för att hålla kvar den på plats. Om gaspedalen används för att orsaka motorstopp i sluttningen kan motorn överhettas eller batterierna laddas ur.
Ta bort foten från gaspedalen.
Ansätt bromsarna genom att långsamt trampa ner bromspedalen tills maskinen har stannat helt. Parkeringsbromsen kopplas in när maskinen har stannat helt.
Note: Bromssträckan kan variera beroende på maskinens last och hastighet.
Tillämpa följande riktlinjer när du lastar lastflaket och använder maskinen:
Notera maskinens viktkapacitet och begränsa vikten på den last du transporterar på lastflaket enlighet med Specifikationer och dekalen med maskinens bruttovikt.
Note: Tillåten last gäller endast när maskinen används på plant underlag.
Minska vikten på den last du transporterar på lastflaket när du kör i sluttningar och ojämn terräng.
Minska vikten på den last du transporterar när materialet har en hög tyngdpunkt, t.ex. staplar med tegelstenar, timmer eller säckar med gödningsmedel. Fördela lasten så lågt som möjligt för att säkerställa att lasten inte försämrar sikten bakåt vid användning av maskinen.
Centrera lasten genom att lasta lastflaket på följande sätt:
Fördela vikten på lastflaket jämnt mellan sidorna.
Important: Det är troligare att maskinen välter om lasten är placerad på ena sidan av lastflaket.
Fördela vikten på lastflaket jämnt mellan fram- och bakkanten.
Important: Om du placerar lasten bakom bakaxeln minskas framhjulens dragkraft, vilket kan leda till att du tappar kontrollen över manövreringen eller att maskinen välter.
Var extra försiktig när du transporterar överdimensionerade laster på lastflaket, i synnerhet om du inte kan centrera den överdimensionerade lastens vikt på lastflaket.
Säkra om möjligt lasten genom att binda fast den på lastflaket så att den inte glider.
Vid transport av vätskor ska du vara försiktig i upp- och nedförsbackar, vid plötsliga hastighetsförändringar och stopp samt vid körning på ojämnt underlag.
Lastlådan rymmer 0,37 m3. Mängden (volymen) material som kan placeras på flaket utan att maskinens tillåtna last överstigs kan variera stort beroende på materialets densitet.
I följande tabell anges lastvolymbegränsningar för olika material:
| Material | Densitet | Maximal lastkapacitet(på plant underlag) |
| Grus, torrt | 1 522 kg/m3 | Full |
| Grus, vått | 1 922 kg/m3 | Trekvartsfull |
| Sand, torr | 1 442 kg/m3 | Full |
| Sand, våt | 1 922 kg/m3 | Trekvartsfull |
| Trä | 721 kg/m3 | Full |
| Bark | < 721 kg/m3 | Full |
| Jord, packad | 1 602 kg/m3 | Trekvartsfull (cirka) |
Gör följande innan du lämnar förarplatsen:
Parkera maskinen på en plan yta.
Kontrollera att parkeringsbromsen är inkopplad.
Stäng av maskinen och ta ut nyckeln.
Vänta tills alla rörliga delar har stannat.
Låt maskinen svalna innan du justerar, rengör, förvarar eller utför underhåll på den.
Förvara inte maskinen i närheten av en öppen låga, gnista eller tändlåga, t.ex. nära en varmvattenberedare eller någon annan utrustning.
Håll alla maskindelar i gott bruksskick och samtliga fästelement åtdragna.
Underhåll och rengör säkerhetsbälten vid behov.
Byt ut slitna och skadade dekaler eller ersätt de som saknas.
VARNING: Risk för brand och elektriska stötar – batterierna har inga delar som kan servas av användaren.
Bekräfta vilken spänning som är tillgänglig i ditt land innan du använder laddaren.
Ladda inte maskinen i en fuktig miljö och skydda den från regn och snö.
Användning av tillbehör som inte rekommenderas eller säljs av Toro kan leda till brandrisk, elektriska stötar och skador.
För att minska risken för batteriexplosion ska du följa dessa anvisningar och anvisningarna för all utrustning som du tänker använda i närheten av laddaren.
Batterier kan avge explosiva gaser om de är kraftigt överladdade.
Kontakta en auktoriserad Toro-återförsäljare för att serva eller byta ut ett batteri.
Låt aldrig barn eller personer som inte utbildats använda eller utföra service på laddaren. Lokala bestämmelser kan begränsa användarens ålder. Det är ägaren som ansvarar för att utbilda alla förare och mekaniker.
Läs, ta till dig och följ alla anvisningar på laddaren och i bruksanvisningen innan du använder laddaren. Bekanta dig med hur laddaren ska användas.
Håll kringstående och barn på avstånd under laddning.
Stäng av maskinen och vänta tills maskinen är helt avstängd innan du laddar den. Underlåtenhet att göra detta kan orsaka överslag.
Använd laddaren endast inom det spänningsområde som anges i bruksanvisningen och använd endast en nätsladd som godkänts av Toro.
Kontakta en auktoriserad Toro-återförsäljare för att få rätt laddare och nätsladd.
Ladda aldrig ett fruset batteri.
Använd sladden med varsamhet. Dra inte i strömsladden för att koppla loss laddaren från uttaget. Förvara sladden på en plats där den inte utsetts för värme, olja eller vassa kanter.
Anslut laddaren direkt till ett jordat uttag. Anslut inte laddaren till ett ojordat uttag, inte ens med en jordadapter.
Manipulera inte den medföljande strömsladden eller kontakten.
Ta av dig metallföremål som ringar, armband, halsband och klockor när du arbetar med litiumjonbatterier. Ett litiumjonbatteri kan producera tillräckligt med ström för att orsaka en allvarlig brännskada.
Använd en förlängningssladd som klarar strömstyrkan som anges i bruksanvisningen. Om du laddar utomhus ska du använda en förlängningssladd som är avsedd för utomhusbruk.
Om strömsladden är skadad när den sätts i kopplar du loss den från vägguttaget och kontaktar en auktoriserad Toro-återförsäljare för att byta sladden.
Koppla bort laddaren från eluttaget när den inte används, innan du flyttar den till en annan plats samt innan underhåll utförs på den.
Ta inte isär laddaren.
Ta laddaren till en auktoriserad Toro-återförsäljare om service eller reparation behövs.
Lossa strömsladden från uttaget innan du påbörjar underhåll eller rengöring för att minska risken för elektriska stötar.
Underhåll eller byt vid behov ut etiketter med säkerhetsföreskrifter och instruktioner.
Använd inte laddaren med en skadad sladd eller kontakt. Kontakta en auktoriserad Toro-återförsäljare för att få en ny sladd.
Använd inte laddaren om den är skadad. Ta med den till en auktoriserad Toro-återförsäljare.
Var försiktig när du lastar på eller av maskinen från en släpvagn eller lastbil.
Använd ramper i fullbredd för att lasta maskinen på en släpvagn eller lastbil.
Bind fast maskinen så att den sitter säkert.
Se Figur 22 och Figur 23 för fästpunkternas placering på maskinen.
Note: Lasta maskinen på släpet med maskinens front framåt. Om det inte går ska maskinens huv fästas vid ramen med en rem, eller också ska huven demonteras samt transporteras och fästas separat så att den inte blåser av under transporten.


I nödfall kan du bogsera maskinen en kortare sträcka. Denna metod rekommenderas dock inte som en standardprocedur.
Bogsering i höga hastigheter kan bidra till förlorad styrkontroll och leda till personskador.
Bogsera aldrig maskinen snabbare än i 8 km/h.
Bogsering av maskinen är ett jobb som kräver två personer. Om maskinen måste flyttas en längre sträcka bör den transporteras på en lastbil eller ett släp.
Fäst en bogserlina i bogseröglan framtill på maskinens ram.
Koppla ur parkeringsbromsen genom att vrida och hålla tändningslåset på plats i fem sekunder för att placera maskinen i TRANSPORTLäGET.
Note: Symbolen ”N” (dvs. NEUTRALLäGET ) ska visas på displayen.
Maskinen kan dra släp efter sig. Det finns en bogserkrok för maskinen. Kontakta en auktoriserad återförsäljare för att få information.
Lasta inte maskinen eller släpet för tungt när du drar en last eller bogserar ett släp. Överbelastning av maskinen eller släpet kan bidra till försämrad prestanda eller skador på bromsar, växellåda, styrning, fjädring, karosseri eller däck.
Lasta alltid ett släp med 60 % av lastvikten på släpets främre del. Detta placerar ca 10 % av släpets bruttovikt på maskinens bogserkrok.
För att ge korrekt bromsning och drivning ska lastflaket alltid lastas vid körning med släp. Överstig inte bruttoviktsgränserna för fordon eller släp.
Undvik att parkera en maskin med släp i en sluttning. Om du måste parkera i en sluttning ska du blockera släpets hjul.
Den amerikanska transportmyndigheten och andra internationella transportmyndigheter kräver att litiumjonbatterier endast transporteras i speciella förpackningar av speditörer som har specialtillstånd för sådan batteritransport. I USA är det dock tillåtet att transportera batterier om de är monterade på maskinen som batteridriven utrustning, förutsatt att vissa föreskrifter följs. Kontakta den amerikanska transportmyndigheten eller lämpligt statligt organ i ditt land angående detaljerade föreskrifter angående transport av batterierna eller maskinen utrustad med batterierna.
Kontakta din auktoriserade Toro-återförsäljare för mer information om hur du transporterar ett batteri.
Kontakt med vatten under laddning av maskinen kan orsaka elektriska stötar som kan leda till personskador och innebära livsfara.
Hantera inte kontakten eller laddaren med våta händer eller när du befinner dig i vatten.
Ladda inte batterierna under regniga eller våta förhållanden.
För att minska risken för elektriska stötar har denna laddare en jordad kontakt med 3 stift (typ B). Om kontakten inte passar i vägguttaget finns andra jordade kontakttyper tillgängliga. Kontakta en auktoriserad Toro-återförsäljare.
Ändra inte laddaren eller strömsladden på något sätt.
Important: Kontrollera regelbundet att det inte finns några hål eller sprickor i strömsladdens isolering. Använd inte en skadad sladd. Dra inte sladden genom stillastående vatten eller vått gräs.
Se Figur 24 för krav på strömkällor.

Sätt i strömsladden i maskinens laddningsuttag (Figur 25).
En skadad laddarsladd kan leda till elektriska stötar och brand.
Inspektera strömsladden noga innan du börjar använda laddaren. Använd inte laddaren om sladden är skadad; införskaffa en ny sladd.

Sätt i strömsladdens väggkontakt i ett jordat eluttag.
Om du försöker ladda batterierna med en laddare som inte tillhandahålls av Toro kan det leda till för hög värme och andra relaterade produktfel, vilket kan leda till egendomsskador och/eller personskador.
Använd laddare från Toro för att ladda batterierna.
Rekommenderat temperaturintervall för laddning: 0–45 °C
Important: Ladda endast batterierna inom det rekommenderade temperaturintervallet.
Note: Laddaren kommer inte att fungera vid temperaturer som överskrider lägsta eller högsta angivna temperatur. Indikatorerna för varmt eller kallt batteri visas på skärmen
Laddningsstatus visas på skärmen.
Om ett fel uppstår visas ett felmeddelande på skärmen. Information om hur du åtgärdar ett fel finns i maskinens servicehandbok.
Koppla bort strömsladden från maskinens laddningsuttag.
Var försiktig när du lägger undan sladden i förvaring så att den inte skadas.
Sätt på maskinen.
Kontrollera laddningsnivån. Se Panel.
Låt inte obehöriga personer serva maskinen.
Gör följande innan du lämnar förarplatsen:
Parkera maskinen på en plan yta.
Kontrollera att parkeringsbromsen är inkopplad.
Stäng av maskinen och ta ut nyckeln.
Vänta tills alla rörliga delar har stannat.
Låt maskinen svalna innan du justerar, rengör, förvarar eller utför underhåll på den.
Stötta upp maskinen med pallbockar så fort du ska arbeta under maskinen.
Arbeta aldrig under ett upphöjt flak utan att den tillbörliga flaksäkerhetsstöttan är på plats.
Ladda inte batterierna medan du utför underhåll på maskinen.
Håll all maskinvara ordentligt åtdragen för att försäkra att hela maskinen är i gott skick.
Minska brandrisken genom att hålla området runt maskinen fritt från fett, gräs, löv och smutsansamlingar.
Utför om möjligt inget underhåll på maskinen medan den är igång. Håll dig på avstånd från rörliga delar.
Om maskinen måste vara igång för att du ska kunna utföra visst underhåll måste du hålla klädesplagg, händer, fötter och andra kroppsdelar borta från alla rörliga delar. Håll kringstående på behörigt avstånd från maskinen.
Kontrollera parkeringsbromsens funktion så som rekommenderas i schemat för underhåll och justera och serva den vid behov.
Håll alla maskindelar i gott bruksskick och all maskinvara ordentligt åtdragen. Byt ut alla slitna eller skadade dekaler.
Mixtra aldrig med den avsedda funktionen hos en säkerhetsanordning och reducera inte det skydd en säkerhetsanordning ger.
Vid eventuellt behov av större reparationer eller assistans ska du kontakta en auktoriserad Toro-återförsäljare.
Ändringar av maskinen kan påverka dess funktion, prestanda, hållbarhet och användning, och kan leda till personskador och innebära livsfara. Sådan användning kan göra att garantin från Toro® upphör att gälla.
| Underhållsintervall | Underhållsförfarande |
|---|---|
| Efter de första 100 timmarna |
|
| Varje användning eller dagligen |
|
| Var 100:e timme |
|
| Var 200:e timme |
|
| Var 300:e timme |
|
| Var 400:e timme |
|
| Var 800:e timme |
|
| Var 1000:e timme |
|
Note: Hämta en kostnadsfri kopia av elschemat genom att gå till www.Toro.com, klicka på länken Manuals och söka efter din maskin.
Dåligt underhållna maskiner kan gå sönder i förtid och eventuellt skada dig eller andra.
Följ dessa anvisningar för att underhålla och hålla maskinen i gott bruksskick.
Låt endast behörig och auktoriserad personal underhålla, reparera, justera och inspektera maskinen.
Undvik brandrisker och se till att det alltid finns brandsläckningsutrustning på arbetsområdet. Använd inte en öppen låga för att kontrollera vätskenivåer.
Använd inte öppna kärl med brandfarliga rengöringsvätskor för att rengöra delar.
Om du lämnar nyckeln i tändningslåset kan någon råka starta maskinen av misstag och skada dig eller någon annan allvarligt.
Stäng av maskinen och ta ut nyckeln ur låset innan du utför något underhåll.
Kopiera sidan och använd den regelbundet.
| Kontrollpunkt | Vecka: | ||||||
|---|---|---|---|---|---|---|---|
| Måndag | Tisdag | Onsdag | Torsdag | Fredag | Lördag | Söndag | |
| Kontrollera bromsen och parkeringsbromsen. | |||||||
| Kontrollera driften för körriktningsväljaren. | |||||||
| Kontrollera bromsvätskenivån. | |||||||
| Kontrollera om det förekommer missljud vid användningen. | |||||||
| Kontrollera däcktrycket. | |||||||
| Undersök om systemet har oljeläckor. | |||||||
| Kontrollera instrumentfunktionen. | |||||||
| Kontrollera gaspedaldriften. | |||||||
| Applicera förbättringsfärg på eventuell skadad lack. | |||||||
| Tvätta maskinen. | |||||||
| Applicera förbättringsfärg på eventuell skadad lack. | |||||||
Important: Om maskinen utsätts för något av nedanstående förhållanden ska underhåll utföras dubbelt så ofta:
Arbete i öken
Arbete i kallt klimat – under 10 °C
Bogsering av släp
Regelbundet arbete i dammiga förhållanden
Byggarbete
Gör följande efter drift i lera, sand, vatten eller liknande smutsiga förhållanden under en längre tid:
Kontrollera bromsarna och rengör dem så snart som möjligt. Detta förhindrar att slipande material orsakar onödigt slitage på bromsarna.
Använd enbart vatten, alternativt med ett milt tvättmedel, när du tvättar maskinen.
Important: Använd inte bräckt eller återvunnet vatten vid rengöring av maskinen.
Parkera maskinen på en plan yta.
Kontrollera att parkeringsbromsen är inkopplad.
Stäng av maskinen och ta ut nyckeln.
Maskinen kan vara ostadig vid användning av domkraft. Maskinen kan glida av domkraften och skada någon som befinner sig under den.
Starta inte maskinen när den stöttas upp med en domkraft.
Ta alltid ut nyckeln ur tändningslåset innan du kliver ut ur maskinen.
Blockera hjulen när maskinen stöttas upp med en lyftutrustning.
Använd domkrafter för att stötta upp maskinen när den är upphöjd.
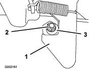
Important: När maskinen genomgår rutinunderhåll och/eller maskindiagnostik ska maskinens bakhjul vara 25 mm ovanför marken och bakaxeln ska stöttas upp med domkrafter.
Lyftpunkten framtill på maskinen sitter på ramens framsida under dragöglan (Figur 26).

Lyftpunkten baktill på maskinen sitter under axelrören (Figur 27).

| Underhållsintervall | Underhållsförfarande |
|---|---|
| Var 300:e timme |
|
Fett som ska användas: Mobilgrease XHP™-222
Höj upp maskinens främre del och stötta upp den med domkrafter.
Ta bort de fyra hjulmuttrar som håller fast hjulet vid navet (Figur 29).

Ta bort de flänsskruvar (⅜ x ¾ tum) som håller fast fästet för bromsenheten vid spindeln, och separera bromsen från spindeln (Figur 30).
Note: Stötta upp bromsenheten innan du fortsätter med nästa steg.

Ta av dammkåpan från navet (Figur 31).

Ta bort saxpinnen och mutterhållaren från spindeln och spindelmuttern (Figur 31).
Avlägsna spindelmuttern från spindeln och skilj sedan navet och rotorn från spindeln (Figur 31 och Figur 32).

Torka av spindeln med en trasa.
Upprepa steg 1–7 för navet och rotorn på maskinens andra sida.
Avlägsna det yttre lagret och lagerbanan från navet (Figur 33)

Ta bort tätningen och det inre lagret från navet (Figur 33)
Torka av tätningen och kontrollera om den är sliten eller skadad.
Note: Rengör inte tätningen med rengöringsvätska. Byt ut tätningen om den är sliten eller skadad.
Torka av lagren och banorna, och kontrollera om de är slitna eller skadade.
Note: Byt ut alla slitna eller skadade delar. Se till att lagren och banorna är torra och rena.
Avlägsna allt fett, smuts och skräp från håligheten i navet (Figur 33).
Fyll lagren med det angivna fettet.
Fyll navets hålighet till 50–80 % med angivet fett (Figur 33).
Montera det inre lagret på banan på navets insida, och montera tätningen (Figur 33).
Upprepa steg 1–8 för lagren på det andra navet.
Stryk på ett tunt lager av det angivna fettet på spindeln (Figur 34).

Montera navet och rotorn på spindeln med rotorn inåt (Figur 34).
Montera det yttre lagret på spindeln och placera lagret på den yttre banan (Figur 34).
Montera säkringsbrickan på spindeln (Figur 34).
Gänga på spindelmuttern på spindeln och dra åt muttern till 15 Nm samtidigt som du roterar navet för att ställa in lagren (Figur 34).
Lossa spindelmuttern så att navet roterar fritt.
Dra åt spindelmuttern till 1,70–2,26 Nm.
Montera hållaren över muttern och kontrollera inriktningen mellan skåran i hållaren och hålet i spindeln för saxpinnen (Figur 35).
Note: Om skåran på hållaren och hålet i spindeln inte är korrekt inriktade mot varandra riktar du in dem genom att dra åt spindelmuttern till högst 2,26 Nm.

Montera saxpinnen och böj benen runt hållaren (Figur 35).
Montera dammkåpan på navet (Figur 35).
Upprepa steg 1–10 för navet och rotorn på maskinens andra sida.
Rengör de två flänsskruvarna (⅜ x ¾ tum) och stryk på medelstark gängtätningsmassa på skruvgängorna.
Rikta in bromsklossarna på vardera sidan om rotorn (Figur 30) och hålen i bromsokets fäste med hålen i bromsfästet på spindelramen (Figur 34).
Fäst bromsokets fäste på spindelramen (Figur 30) med de två flänsskruvarna (⅜ x ¾ tum).
Dra åt de två flänsskruvarna till 47–54 Nm.
Rikta in hålen i hjulet med tapparna i navet, och montera hjulet på navet med ventilskaftet utåt (Figur 29).
Note: Se till att hjulets fästyta ligger rakt mot navet.
Fäst hjulet vid navet med hjulmuttrarna (Figur 29).
Dra åt hjulmuttrarna till 108–122 Nm.
Upprepa steg 1–5 för bromsen och hjulet på maskinens andra sida.
Koppla ur strömsladden till batteriladdaren om den är ansluten.
Höj upp lastflaket.
Flytta bortkopplingsbrytaren för batteri till önskat läge enligt Figur 36.

Note: Maskinen är försedd med fyra litiumjonbatterier.
Ett litiumjonbatteri måste kasseras eller återvinnas i enlighet med lokala och statliga bestämmelser. Om batteriet kräver service ska du kontakta en auktoriserad Toro-återförsäljare för att få hjälp.
Öppna inte batteriet. Om du har problem med batteriet ska du kontakta en auktoriserad Toro-återförsäljare för att få hjälp.
Batterierna innehåller hög spänning som kan orsaka brännskador eller ge elektriska stötar.
Försök inte öppna batterierna.
Var väldigt försiktig när du hanterar ett batteri med sprucket hölje.
Använd endast laddaren som är avsedd för batterierna.
Litiumjonbatterierna har en tillräcklig laddning för att utföra avsett arbete under sin livslängd.
Följ dessa riktlinjer för att uppnå maximal batterilivslängd och -användning:
Öppna inte batteriet.
Förvara/parkera maskinen i ett rent och torrt garage eller förvaringsområde och skydda den från direkt solljus, värmekällor, regn och våta förhållanden. Förvara den inte i utrymmen där temperaturen överstiger det intervall som anges i Förvaringskrav för batterier. Temperaturer utanför detta intervall skadar batterierna. Höga temperaturer vid förvaring, särskilt då batteriet har hög laddning, minskar batteriernas livslängd.
Om maskinen ska stå i förvar i mer än tio dagar ska du se till att den står svalt och torrt, skyddad från direkt solljus, regn och våta förhållanden.
Använd endast ljuset när det är nödvändigt.
Important: Alla elektriska reparationer ska endast utföras av auktoriserade Toro-återförsäljare.
Laddaren kräver inte mycket underhåll, annat än att den måste skyddas från skador och väder och vind.
Rengör batteriladdarens sladdar och låda med en något fuktig trasa efter varje användning.
Note: Tvätta inte bort det icke-ledande fettet från terminalerna.
Rulla ihop sladdarna då de inte används.
Undersök regelbundet sladdarna så att de är i gott skick och byt vid behov ut dem mot delar som godkänts av Toro.
Specifikation: Se reservdelskatalogen.
Slå av batteriströmmen. Se Använda bortkopplingsbrytaren för batteriet.
Öppna motorhuven.
Koppla loss kablagets elektriska anslutning från lampenhetens kontakt (Figur 39).

Ta bort snabbklämmorna som fäster strålkastaren vid strålkastarfästet (Figur 39).
Note: Spara alla delar för montering av den nya strålkastaren.
Demontera strålkastarenheten genom att flytta den framåt genom öppningen i den främre stötdämparen (Figur 39).
För in den nya strålkastaren genom öppningen i stötdämparen (Figur 39).
Note: Kontrollera att justerstolparna är inriktade efter hålen i monteringsfästet bakom stötdämparen.
Fäst strålkastarenheten med de snabbklämmor som du tog bort i steg 4.
Anslut kablagets elektriska anslutning till lampenhetens kontakt (Figur 39).
Justera strålkastarna så att ljuset riktas dit du vill, se Justera strålkastarna.
Justera strålkastarljusets riktning på följande vis när du byter ut eller demonterar en strålkastarenhet.
Parkera maskinen på ett plant underlag med strålkastarna ca 7,6 m från en vägg (Figur 40).
Mät avståndet från golvet till strålkastarens mitt och gör en markering på väggen i samma höjd.
Vrid tändningslåset till det PåSLAGNA läget och slå på strålkastarna.
Notera strålkastarnas inriktning på väggen.
Den ljusstarkaste delen av ljuskäglan ska vara 20 cm nedanför markeringen du gjorde på väggen (Figur 40).

Vrid justerskruvarna (Figur 39) på baksidan av strålkastarenheten för att vrida enheten och rikta in ljuskäglan.
Anslut batteriströmmen. Se Använda bortkopplingsbrytaren för batteriet.
| Underhållsintervall | Underhållsförfarande |
|---|---|
| Var 100:e timme |
|
Kontrollera om det finns tecken på slitage på däck och fälgar.
Note: Olyckor under drift, som att köra in i trottoarer, kan skada ett däck eller en fälg samt störa inställningen av hjulen. Kontrollera därför däckens skick efter en olycka.
Dra åt hjulmuttrarna till mellan 108 och 122 Nm.
| Underhållsintervall | Underhållsförfarande |
|---|---|
| Var 100:e timme |
|
Centrera ratten (Figur 41) och sväng den åt vänster eller höger. Om du vrider ratten mer än 13 mm åt vänster eller höger och däcken inte svänger ska du kontrollera följande styrnings- och fjädringskomponenter och se till att de inte är lösa eller skadade:
Styraxeln till kulleden för styrkuggstången
Important: Kontrollera att drevets axeltätning fungerar säkert och är i gott skick (Figur 42).
Styrkuggstångens dragstänger


| Underhållsintervall | Underhållsförfarande |
|---|---|
| Var 100:e timme |
|
Kontrollera däcktrycket och se till att det ligger på 0,83 bar i framhjulen.
Låt antingen en förare sitta på sätet eller lägg dit en tyngd som väger ungefär lika mycket som en genomsnittlig förare. Tyngden/föraren måste stanna kvar på sätet under hela justeringsproceduren.
Rulla maskinen 2 till 3 meter rakt bakåt på ett plant underlag, och rulla sedan tillbaka den till ursprungsläget. Detta gör att upphängningen stabiliserar sig i driftsläget.
Verktyg som tillhandahålls av ägaren: rörtång, Toro artikelnr 132-5069. Finns hos auktoriserade Toro-återförsäljare.
Important: Justera lutningen utåt endast om du använder ett främre redskap eller vid ojämnt däckslitage.
Kontrollera lutningsriktningen för varje hjul. Riktningen bör vara så nära neutralläget (noll) som möjligt.
Note: Däcken bör ha samma riktning som slitspåret när de är på marken för att minska ojämnt däckslitage.
Justera hjulet till rätt riktning genom att rotera kragen på stötdämparen med rörtången om hjullutningen är felinställd (Figur 43).

Important: Se till att lutningen är så nära neutralläget som möjligt innan du justerar skränkningen. Se Justera lutningen.
Se till att framdäcken är riktade rakt framåt.
Mät avståndet mellan de båda framhjulen vid axelhöjd, både framtill och baktill på framhjulen (Figur 44).

Om måttet inte hamnar inom 0–6 mm ska du lossa kontramuttrarna i den yttre änden av dragstängerna (Figur 45).

Vrid bägge dragstängerna för att flytta framdelen på hjulet inåt eller utåt.
Dra åt dragstängernas kontramuttrar när justeringen är korrekt.
Se till att ratten kan svängas helt i bägge riktningar.
| Underhållsintervall | Underhållsförfarande |
|---|---|
| Var 100:e timme |
|
Ta bort växellådans påfyllningsplugg (Figur 46).
Note: Vätskenivån ska ligga i jämnhöjd med påfyllningspluggens nederkant.

Om vätskenivån är låg ska du ta bort påfyllningspluggen och fylla på med angiven vätska [anges i Byta ut växellådsvätskan] tills den rinner ut ur hålet (Figur 46).
Sätt fast påfyllningspluggen och dra åt den till ett moment på 27–41 Nm.
| Underhållsintervall | Underhållsförfarande |
|---|---|
| Var 100:e timme |
|
| Var 800:e timme |
|
Vätsketyp: Mobil 424
Vätskekapacitet: 0,95 liter
Placera ett kärl under växellådans avtappningsplugg (Figur 47).

Ta bort påfyllningspluggen (Figur 47).
Ta bort avtappningspluggen och låt all vätska rinna ut helt.
Montera avtappningspluggen och dra åt den till ett moment på 12–19 Nm.
Fyll växellådan med angiven vätska genom påfyllningsplugghålet tills den rinner ut ur påfyllningshålet.
Sätt fast påfyllningspluggen och dra åt den till ett moment på 27–41 Nm.
| Underhållsintervall | Underhållsförfarande |
|---|---|
| Var 100:e timme |
|
Important: Bromsar är en mycket viktig säkerhetsdel av maskinen. Kontrollera dem noggrant vid det rekommenderade serviceintervallet för att försäkra optimal prestanda och säkerhet.
Undersök bromsbeläggen för att kontrollera att de inte är sliten eller skadad. Om bromsbeläggets (bromsklossens) tjocklek är mindre än 1,6 mm ska bromsbelägget bytas ut.
Undersök bromslamellen och andra delar för tecken på överdrivet slitage eller deformering. Byt ut skadade komponenter.
Kontrollera att inte bromsleledningarna, kopplingarna och klämmorna läcker, har försämrats eller om det finns lösa anslutningar.
Note: Byt ut skadade eller läckande bromssystemkomponenter innan du använder maskinen.
Kontrollera bromsvätskenivån. Se Kontrollera bromsvätskenivån.
| Underhållsintervall | Underhållsförfarande |
|---|---|
| Varje användning eller dagligen |
|
Bromsvätsketyp: DOT 3
| Underhållsintervall | Underhållsförfarande |
|---|---|
| Var 1000:e timme |
|
Kontakta en auktoriserad Toro-återförsäljare.
Om lastflakets spärrhakar inte är korrekt inställda så vibrerar lastflaket under körning. Du kan justera spärrstiften så att spärrhakarna håller fast lastflaket ordentligt vid chassit.
| Underhållsintervall | Underhållsförfarande |
|---|---|
| Varje användning eller dagligen |
|
Tvätta maskinen efter behov med enbart vatten, alternativt med ett milt tvättmedel. Du kan använda en trasa när du tvättar maskinen.
Important: Använd inte bräckt eller återvunnet vatten vid rengöring av maskinen.
Important: Trycksatt vatten (högtryckstvätt) rekommenderas inte för tvätt av maskinen. Det kan skada elsystemet, lossa viktiga dekaler eller tvätta bort fett som behövs vid friktionspunkter. Använd inte alltför mycket vatten – i synnerhet inte nära kontrollpanelen, motorn, motorns styrenhet, laddaren, instrumentpanelens baksida och batterierna.
Stäng av maskinen, ta ut nyckeln och vänta tills alla rörliga delar har stannat innan du kliver ur förarsätet. Låt maskinen svalna innan du justerar, rengör, förvarar eller utför underhåll på den.
Ägaren ansvarar för att regelbundet inspektera laddnings- och förvaringsutrymmen eller anläggningar och granska förfaranden för att säkerställa att kraven följs.
| Underhållsintervall | Underhållsförfarande |
|---|---|
| Var 200:e timme |
|
| Var 400:e timme |
|
Parkera maskinen på ett plant underlag, slå av maskinen och ta ut nyckeln.
Rensa bort smuts och beläggningar från hela maskinen, inklusive utsidan av motorkåpan.
Important: Tvätta maskinen med ett milt rengöringsmedel och vatten. Använd inte högtrycksvatten för att tvätta maskinen. Högtryckstvätt kan skada elsystemet och tvätta bort fett som behövs vid friktionspunkter. Spola inte med för mycket vatten, i synnerhet inte i närheten av kontrollpanelen, lamporna, motorn och batteriet.
Kontrollera bromsarna. Se Kontrollera bromsarna.
Kontrollera lufttrycket i däcken. Se Kontrollera däcktrycket.
Kontrollera och dra åt alla bultar, muttrar och skruvar. Reparera eller byt ut skadade delar.
Måla i lackskador och bara metallytor.
Note: Färg finns att köpa hos auktoriserade Toro-återförsäljare.
Täck över maskinen för att skydda den och hålla den ren.
Note: Du behöver inte ta bort batterierna från maskinen vid förvaring.
Se temperaturgränserna för förvaring i följande tabell:
| Förvaringstemperatur | Lämplig förvaringstid |
| 45 °C till 55 °C | 1 vecka |
| 25 °C till 45 °C | 3 veckor |
| -20 °C till 25 °C | 52 veckor |
Important: Temperaturer utanför dessa intervall är skadliga för batterierna.Batteriernas förvaringstemperatur påverkar deras livslängd på lång sikt. Förvaring i extrema temperaturer under långa tidsperioder minskar batteriernas livslängd. Vid temperaturer över 25 °C ska du endast förvara maskinen under den tid som anges i tabellen.
Innan du förvarar maskinen ska du ladda upp eller ur batterierna till mellan 40 % och 60 %.
Note: En laddning på 50 % är optimal för att säkerställa maximal batterilivslängd. När batterierna laddas till 100 % före förvaring förkortas batterilivslängden.I det fall maskinen kommer att förvaras under en längre tidsperiod ska batterierna laddas till cirka 60 %.
Kontrollera batteriladdningsnivån var sjätte månad av förvarning och säkerställ att laddningen är mellan 40 % och 60 %. Om laddningen är lägre än 40 % ska du ladda batterierna till mellan 40 % och 60 %.
När batterierna har laddats färdigt kopplar du loss batteriladdaren från strömmen.
Om du låter laddaren förbli ansluten till maskinen kommer den att stängas av när batterierna är fulladdade och inte slås på igen om den inte kopplas loss och sedan ansluts på nytt.